Скачать ТУ 9462-001-84299122-2010 Ампулы медицинские бесцветные и коричневые из стекла 1-го гидролитического класса

Дата актуализации: 01.01.2021

ТУ 9462-001-84299122-2010

Ампулы медицинские бесцветные и коричневые из стекла 1-го гидролитического класса

Обозначение: ТУ 9462-001-84299122-2010
Обозначение англ: TU 9462-001-84299122-2010
Статус:введен впервые
Название рус.:Ампулы медицинские бесцветные и коричневые из стекла 1-го гидролитического класса
Дата добавления в базу:01.02.2020
Дата актуализации:01.01.2021
Дата введения:26.03.2010
Область применения:Технические условия распространяются на ампулы медицинские бесцветные и коричневые из стекла 1-го гидролитического класса, предназначенные для фасовки, транспортирования и хранения лекарственных средств, витаминов, инъекционных растворов
Оглавление:1 Технические требования
   1.1 Основные параметры и характеристики
   1.2 Маркировка
   1.3 Упаковка
2 Правила приемки
3 Методы испытаний
4 Транспортирование и хранение
5 Указания по применению
6 Гарантии изготовителя (поставщика)
Приложение А. Перечень документов, на которые даны ссылки в ТУ
Приложение Б1. Открытая ампула с пережимом
Приложение Б2. Открытая ампула с раструбом и пережимом
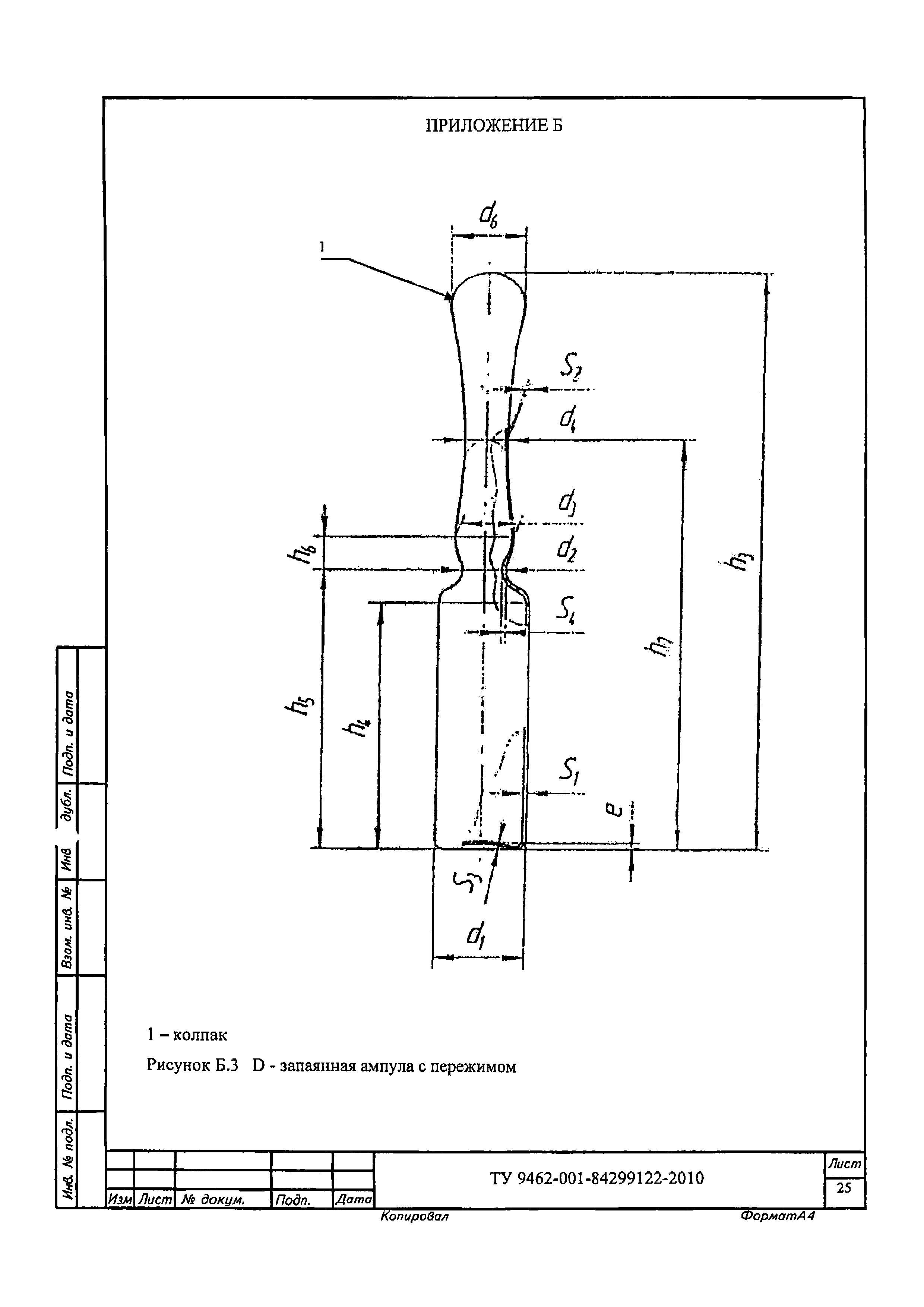
Приложение Б3. Запаянная ампула с пережимом
Приложение Б4. Схема установки для определения силы излома ампул
Приложение В. Таблицы вместимости
Приложение Г. Перечень стандартной контрольно-измерительной аппаратуры, рекомендуемой для проверки и испытаний ампул
Разработан: ООО ШОТТ Фармасьютикал Пэккэджинг
Утверждён:26.03.2010 ООО ШОТТ Фармасьютикал Пэккэджинг
Принят:26.03.2010 ООО Профессиональное Сертификационное Агентство
Список изменений:
Нормативные ссылки:
ТУ 9462-001-84299122-2010ТУ 9462-001-84299122-2010ТУ 9462-001-84299122-2010ТУ 9462-001-84299122-2010ТУ 9462-001-84299122-2010ТУ 9462-001-84299122-2010ТУ 9462-001-84299122-2010ТУ 9462-001-84299122-2010ТУ 9462-001-84299122-2010ТУ 9462-001-84299122-2010ТУ 9462-001-84299122-2010ТУ 9462-001-84299122-2010ТУ 9462-001-84299122-2010ТУ 9462-001-84299122-2010ТУ 9462-001-84299122-2010ТУ 9462-001-84299122-2010ТУ 9462-001-84299122-2010ТУ 9462-001-84299122-2010ТУ 9462-001-84299122-2010ТУ 9462-001-84299122-2010ТУ 9462-001-84299122-2010ТУ 9462-001-84299122-2010ТУ 9462-001-84299122-2010ТУ 9462-001-84299122-2010ТУ 9462-001-84299122-2010ТУ 9462-001-84299122-2010ТУ 9462-001-84299122-2010ТУ 9462-001-84299122-2010ТУ 9462-001-84299122-2010ТУ 9462-001-84299122-2010ТУ 9462-001-84299122-2010

Текстовое изменение № 1 от 20.12.2012

№ 1№ 1№ 1№ 1№ 1

Текстовое изменение № 2 от 01.02.2016

№ 2№ 2№ 2№ 2№ 2№ 2№ 2№ 2№ 2№ 2№ 2№ 2№ 2№ 2№ 2№ 2№ 2№ 2