МИНИСТЕРСТВО ВНУТРЕННИХ ДЕЛ
РОССИЙСКОЙ ФЕДЕРАЦИИ
ГОСУДАРСТВЕННАЯ ПРОТИВОПОЖАРНАЯ СЛУЖБА
НОРМЫ ПОЖАРНОЙ БЕЗОПАСНОСТИ
СПЕЦИАЛЬНАЯ ЗАЩИТНАЯ ОДЕЖДА ПОЖАРНЫХ
ОТ ПОВЫШЕННЫХ ТЕПЛОВЫХ
ВОЗДЕЙСТВИЙ.
ОБЩИЕ ТЕХНИЧЕСКИЕ ТРЕБОВАНИЯ.
МЕТОДЫ ИСПЫТАНИЙ
НПБ 161-97*
МОСКВА 2000
Разработаны Федеральным государственным учреждением «Всероссийский научно-исследовательский ордена «Знак Почета» институт противопожарной обороны Министерства внутренних дел Российской Федерации» (ФГУ ВНИИПО МВД России).
Внесены ФГУ ВНИИПО МВД России.
Подготовлены к утверждению отделом пожарной техники и вооружения Главного управления Государственной противопожарной службы Министерства внутренних дел Российской Федерации (ГУГПС МВД России).
Утверждены главным государственным инспектором Российской Федерации по пожарному надзору.
Введены в действие приказом ГУГПС МВД России от 20 ноября 1997 г. № 70.
Дата введения в действие 1 декабря 1997 г.
Подготовлены с учетом изменений, утвержденных приказами ГУГПС МВД России от 7 июня 1999 г. № 44, 25 декабря 1999 г. № 101, 7 августа 2000 г. № 46 и 24 августа 2000 г. № 48.
МИНИСТЕРСТВО ВНУТРЕННИХ ДЕЛ РОССИЙСКОЙ ФЕДЕРАЦИИ
ГОСУДАРСТВЕННАЯ ПРОТИВОПОЖАРНАЯ СЛУЖБА
НОРМЫ ПОЖАРНОЙ БЕЗОПАСНОСТИ
СПЕЦИАЛЬНАЯ ЗАЩИТНАЯ ОДЕЖДА ПОЖАРНЫХ ОТ ПОВЫШЕННЫХ ТЕПЛОВЫХ ВОЗДЕЙСТВИЙ. ОБЩИЕ ТЕХНИЧЕСКИЕ ТРЕБОВАНИЯ. МЕТОДЫ ИСПЫТАНИЙ
SPECIAL CLOTHING FOR FIREMEN PROTECTION AGAINST HEAT. GENERAL TECHNICAL REQUIREMENTS. TEST METHODS
НПБ 161-97*
Дата введения 01.12.1997 г.
Настоящие нормы определяют общие технические требования и методы испытаний специальной защитной одежды пожарных от повышенных тепловых воздействий (интенсивного теплового излучения, высоких температур, открытого пламени) и материалов, используемых для ее изготовления.
Настоящие нормы распространяются на выпускаемую и вновь разрабатываемую специальную защитную одежду пожарных от повышенных тепловых воздействий (далее - СЗО ПТВ) автономного типа с пассивной защитой, предназначенную для оснащения подразделений пожарной охраны. Нормы распространяются на СЗО ПТВ, изготовленную из материалов с металлизированными покрытиями, и не применяются к специальной защитной одежде изолирующего типа и боевой одежде пожарных.
Настоящие нормы могут использоваться при сертификационных испытаниях всех видов СЗО ПТВ, в том числе и приобретенных за рубежом.
В нормах использованы ссылки на следующие стандарты и технические условия:
ГОСТ 2.103-88 ЕСКД. Стадии разработки.
ГОСТ 2.601-95 ЕСКД. Эксплуатационные документы.
ГОСТ 12.1.044-89 ССБТ. Пожаровзрывоопасность веществ и материалов. Номенклатура показателей и методы их определения.
ГОСТ 12.4.118-82 ССБТ. Пленочные полимерные материалы и искусственные кожи для средств защиты рук. Метод определения стойкости к проколу.
ГОСТ 12.4.141-84 ССБТ. Кожа искусственная и пленочные материалы для средств индивидуальной защиты.
ГОСТ 15.001-88* Система разработки и постановки продукции на производство. Продукция производственно-технического назначения.
ГОСТ 27.410-87 Надежность в технике. Методы контроля показателей надежности и планы контрольных испытаний на надежность.
ГОСТ 166-89 Штангенциркули. Технические условия.
ГОСТ 3811-72 Материалы текстильные. Ткани, нетканые полотна и штучные изделия текстильные. Методы определения линейных размеров, линейной и поверхностной плотностей.
ГОСТ 3816-81 Полотна текстильные. Методы определения гигроскопических и водоотталкивающих свойств.
ГОСТ 5009-82 Шкурка шлифовальная. Технические условия.
ГОСТ 8977-74 Кожа искусственная и плёночные материалы. Методы определения жёсткости и упругости.
ГОСТ 8978-75 Кожи искусственные и пленочные материалы. Метод определения устойчивости к многократному изгибу.
ГОСТ 10550-75 Материалы для одежды. Методы определения жесткости при изгибе.
ГОСТ 10581-91 Изделия швейные и трикотажные. Маркировка, упаковка, транспортирование и хранение.
ГОСТ 10681-75 Материалы текстильные. Климатические условия для кондиционирования и испытания проб и методы их определения.
ГОСТ 15150-69 Машины, приборы и другие технические изделия. Исполнение для различных климатических районов. Категории, условия эксплуатации, хранения и транспортирования в части воздействия климатических факторов внешней среды.
ГОСТ 17073-71 Кожа искусственная. Метод определения толщины и массы 1 м кв.
ГОСТ 17074-71 Кожа искусственная. Метод определения сопротивления раздиранию.
ГОСТ 17316-71 Кожа искусственная. Метод определения разрывной нагрузки и удлинения при разрыве.
ГОСТ 17317-88 Кожа искусственная. Метод определения прочности связи между слоями.
ГОСТ 17435-72 Линейки чертежные. Технические условия.
ГОСТ 17521-72 Типовые фигуры мужчин. Размерные признаки для проектирования одежды.
ГОСТ 29122-91 Средства индивидуальной защиты. Требования к стежкам, строчкам и швам.
ГОСТ Р 50810-95 Пожарная безопасность текстильных материалов. Ткани декоративные. Метод испытания на воспламеняемость и классификация.
НПБ 157-99 Боевая одежда пожарного. Общие технические требования. Методы испытаний.
EN 368 Защитная одежда. Защита от жидких химических веществ. Метод испытаний: сопротивление материалов при проникновении жидкостей.
Специальная защитная одежда пожарных от повышенных тепловых воздействий (СЗО ПТВ) - одежда, изготавливаемая с использованием материалов с металлизированными покрытиями, предназначенная для защиты пожарного от повышенных тепловых воздействий (интенсивного теплового излучения, высоких температур окружающей среды, кратковременного контакта с открытым пламенем) и вредных факторов окружающей среды, возникающих при тушении пожаров и проведении связанных с ними первоочередных аварийно-спасательных работ в непосредственной близости к открытому пламени, а также от неблагоприятных климатических воздействий: отрицательных температур, ветра, осадков.
Автономный тип защитной одежды - защитная одежда, используемая с дыхательным аппаратом как источником снабжения воздухом и не связанная коммуникационно с какой-либо базой.
СЗО ПТВ с пассивной защитой - СЗО ПТВ, в которой защита пожарного от повышенных тепловых воздействий осуществляется применением материалов с низкой теплопроводностью и высокой теплоемкостью без обеспечения теплосъема хладоносителями при помощи принудительной циркуляции.
Фурнитура - детали и комплектующие изделия (в том числе из металла, материалов с металлизированными покрытиями и пластмасс), используемые в качестве застежек, дополнительных креплений и отделки СЗО.
Материал верха - наружный слой пакета материалов и тканей, используемых для изготовления СЗО ПТВ, имеющий металлизированное покрытие с высокой степенью отражения инфракрасного излучения и обеспечивающий защиту от высоких температур окружающей среды и открытого пламени.
Теплоизоляционная подкладка - слой, входящий в состав пакета материалов и тканей, обладающий низкой теплопроводностью и предназначенный для защиты от конвективного тепла, а также от неблагоприятных климатических воздействий.
Внутренний слой - слой, входящий в состав пакета материалов и тканей, предназначенный для обеспечения гигиенических свойств изделия.
Составная часть СЗО ПТВ - изделие, входящее в состав СЗО ПТВ, по технологии изготовления являющееся самостоятельным, в конструкции которого предусмотрена возможность его стыковки с другими составными частями СЗО ПТВ при помощи соединительных узлов.
Соединительный узел СЗО ПТВ - конструктивный элемент, обеспечивающий быстрое и надежное соединение составных частей СЗО ПТВ с помощью фурнитуры.
Гарантийный срок эксплуатации СЗО ПТВ - период времени, в течение которого СЗО ПТВ должна сохранять свои эксплуатационные свойства.
4.1. СЗО ПТВ, материалы, комплектующие изделия и фурнитура, применяемые для ее изготовления, а также конструктивное исполнение должны отвечать требованиям настоящих норм.
4.2*. Продукция, изготавливаемая отечественными предприятиями, допускается к проведению сертификационных испытаний в области пожарной безопасности, если она в установленном порядке прошла все стадии и этапы разработки, предусмотренные ГОСТ 15.001, ГОСТ 2.103, все виды испытаний (включая межведомственные приемочные), имеет полный комплект конструкторской документации на серийное производство с присвоенной в установленном порядке литерой «А», согласованной с государственным заказчиком пожарно-технической продукции.
Продукция, импортируемая российским потребителям, допускается к проведению сертификационных испытаний в области пожарной безопасности, если она сопровождается эксплуатационной документацией, которая должна быть оформлена на русском языке по ГОСТ 2.601 и одобрена государственным заказчиком пожарно-технической продукции.
Экспертиза конструкторской документации обязательна при организации и проведении сертификационных испытаний в области пожарной безопасности.
4.3*. Все материалы (ткани), используемые для изготовления СЗО ПТВ, кроме изготовленных из натуральных волокон, должны иметь гигиеническое заключение Минздрава России.
* Звездочкой помечены пункты, в которые внесены изменения приказами ГУГПС МВД России от 7 июня 1999 г. № 44, 25 декабря 1999 г. № 101, 7 августа 2000 г. № 46 и 24 августа 2000 г. № 48.
4.4. СЗО ПТВ должна изготавливаться из термостойких материалов и тканей с металлизированным покрытием, соответствующих по своим показателям требованиям настоящих норм и имеющих сертификат соответствия.
4.5. СЗО ПТВ должна обеспечивать возможность ее эксплуатации в районах с умеренным и холодным климатом (категория УХЛ-1 по ГОСТ 15150).
4.6*. В зависимости от степени тепловой защиты СЗО ПТВ подразделяется на три типа исполнения: тяжелый, полутяжелый и легкий в соответствии с табл. 1.
Таблица 1*
|
Условия эксплуатации |
|||||
|
Температура, °C |
Время воздействия, с, не менее |
Тепловой поток, кВт/м2 |
Время воздействия, с, не менее |
Допустимое время воздействия открытого пламени, с, не более |
|
|
Тяжелый |
200 |
960 |
18,0 |
960 |
30 |
|
800 |
20 |
25,0 |
240 |
||
|
40,0 |
120 |
||||
|
Полутяжелый |
200 |
600 |
10,0 |
900 |
20 |
|
18,0 |
600 |
||||
|
Легкий |
200 |
480 |
10,0 |
480 |
15 |
5.1. СЗО ПТВ должна состоять, как правило, из следующих частей:
- для костюмов тяжёлого типа: комбинезона, средств защиты рук, ног и головы (капюшон). Допускается изготавливать комбинезон и капюшон как единое целое;
- для костюмов полутяжёлого типа: комбинезона или куртки с брюками (полукомбинезоном), капюшона, средств защиты рук и ног. Капюшон может быть выполнен совместно с комбинезоном или курткой;
- для лёгкого типа: капюшона с удлинённой пелериной, средств защиты рук и ног.
а)* устойчивость к воздействию теплового потока1:
18,0 кВт/м2, с, не менее................................................................ 960
25,0 кВт/м2, с, не менее................................................................ 240
40,0 кВт/м2, с, не менее.................................................. 120 (п. 9.2);
б)* устойчивость к воздействию температуры, с:
200 °С, не менее............................................................................ 960
800 °С, не менее................................................................ 20 (п. 9.9);
в)* коэффициент ослабления инфракрасного излучения должен составлять не менее 60 % (п. 9.2);
г) стекло иллюминатора должно выдерживать одиночные удары кинетической энергией не менее 1,2 Дж (п. 9.10);
д) стекло иллюминатора должно быть панорамным, радиус изгиба должен составлять от (115 ± 2) до (250 ± 2) мм;
е)* габаритные размеры стекла должны составлять: высота от (150 ± 2) до (200 ± 2) мм, ширина от (230 ± 2) до (350 ± 02) мм.
* В зависимости от типа исполнения изделия (см. табл. 1).
5.5*. Конструкция СЗО ПТВ полутяжелого и легкого типа должна быть совместима с боевой одеждой пожарного I уровня защиты по НПБ 157.
5.8. СЗО ПТВ должна изготавливаться не менее трех условных размеров, охватывающих размеры типовых фигур мужчин по ГОСТ 17521 в диапазоне: рост от 158 до 182 см, обхват груди от 96 до 112 см. Для СЗО ПТВ тяжелого типа допускается изготовление одного условного размера, в этом случае конструкция изделия должна обеспечивать возможность регулировки по фигуре человека.
5.10. Конструкция СЗО ПТВ полутяжелого и легкого типа должна обеспечивать возможность работы пожарного как с использованием средств защиты органов дыхания, так и без них.
5.11. Конструкция СЗО ПТВ тяжелого и полутяжелого типа должна обеспечивать возможность приема и передачи информации: звуковой, зрительной или с помощью специальных устройств. При выполнении в СЗО ПТВ работ, не требующих высокого качества связи, должна обеспечиваться разборчивость передаваемой речи - не менее 80 % слов, для требующих высокого качества связи - не менее 94 % слов (п. 9.24).
5.13. Фурнитура, крепящаяся на материале верха СЗО ПТВ, не должна соприкасаться с внутренней поверхностью теплоизоляционной подкладки.
5.14*. Ладонная часть средств защиты рук и подошвенная часть средств защиты ног, входящих в состав СЗО ПТВ, должны изготавливаться из материалов, имеющих повышенную износоустойчивость и достаточную эластичность: устойчивость к истиранию должна составлять не менее 10000 циклов (п. 9.21), устойчивость к многократному изгибу - не менее 10000 циклов (п. 9.20), жесткость при изгибе - не более 0,4 Н (п. 9.19), устойчивость к проколу - не менее 80 Н (п. 9.28), сопротивление порезу - не менее 20 Н/мм (п. 9.29).
5.16. Соединительные узлы составных частей СЗО ПТВ должны быть максимально унифицированы и сохранять работоспособность при повышенных тепловых воздействиях.
6.1. Требования к стежкам, строчкам и швам - по ГОСТ 29122.
6.2. Все швы на наружном слое должны выполняться термостойкими нитками, которые по разрывной нагрузке и устойчивости к повышенным тепловым воздействиям соответствуют требованиям, предъявляемым к аналогичным показателям материала верха, изложенным в настоящих нормах.
6.3. Требования к изготовлению составных частей СЗО ПТВ и соединительных узлов должны устанавливаться нормативной документацией на конкретное изделие.
6.4. Применяемый для СЗО ПТВ материал верха должен быть технологичным при изготовлении изделий (раскрое и пошиве на промышленном оборудовании, используемом при серийном производстве): не должен иметь высокую осыпаемость, в местах швов не должно быть отслаивания металлизированного покрытия от основы.
Перечень возможных неисправностей СЗО ПТВ и описание методов их устранения должны быть изложены в руководстве по эксплуатации на конкретное изделие.
7.3. Вероятность безотказной работы Р(t) СЗО ПТВ в течение допускаемого времени применения t при условиях работы в соответствии с табл. 1 настоящих норм должна быть равна 0,990.
Критерием оценки безотказности СЗО ПТВ является температура подкостюмного пространства в процессе работы, её значение в любой точке в течение времени работы t не должно превышать 50 °С.
7.4. Отказом считается превышение значения температуры подкостюмного пространства в течение времени работы t более 50 °С при условии соблюдения правил эксплуатации, а также термические и механические повреждения СЗО ПТВ, не подлежащие восстановительному ремонту в условиях потребителя.
8.1*. Требования к эксплуатационным показателям материала верха СЗО ПТВ.
Требования, предъявляемые к теплофизическим и физико-механическим показателям материала верха СЗО ПТВ, изложены в табл. 2.
Таблица 2
|
Значение показателя |
Метод испытаний |
Примечания |
|
|
Устойчивость к воздействию температуры 200 °С, с, не менее: |
п. 9.6 |
Испытания проводятся в том числе и на образцах с фрагментами швов и фурнитурой, установленной на СЗО ПТВ |
|
|
- тяжелый тип |
960 |
||
|
- полутяжелый тип |
600 |
||
|
- легкий тип |
480 |
||
|
Устойчивость к воздействию открытого пламени, с, не менее: |
п. 9.3 |
||
|
- тяжелый тип |
30 |
||
|
- полутяжелый тип |
20 |
||
|
- легкий тип |
15 |
||
|
Устойчивость к контакту с нагретыми до 400 °С твердыми поверхностями, с, не менее |
5 |
п. 9.8 |
|
|
Кислородный индекс, % (об.), не менее |
27 |
п. 9.11 |
|
|
Коэффициент ослабления инфракрасного излучения, %, не менее |
70 |
п. 9.2 |
* Для материалов, изготовленных методом дублирования |
|
80 |
|||
|
Масса 1 м2, г, не более |
750 |
п. 9.12 |
|
|
Разрывная нагрузка, Н, не менее: |
п. 9.14 |
||
|
- по основе |
500 |
||
|
- по утку |
500 |
||
|
Сопротивление раздиранию, Н, не менее |
п. 9.15 |
||
|
- по основе |
40 |
||
|
- по утку |
40 |
||
|
Прочность связи пленочного покрытия с основой, Н/м, не менее: |
п. 9.16 |
||
|
- но основе |
400 |
||
|
- по утку |
300 |
||
|
Усадка после нагревания, %, не более |
3 |
п. 9.6 |
|
|
Жесткость при изгибе, Н, не более |
0,3 |
п. 9.19 |
|
|
Устойчивость к многократному изгибу, циклов, не менее |
9000 |
п. 9.20 |
* Для материалов, изготовленных методом дублирования |
|
5000 |
|||
|
Устойчивость к истиранию, циклов, не менее |
1000 |
п. 9.21 |
* Для материалов, изготовленных методом дублирования |
|
1500 |
|||
|
Морозостойкость, °С, не выше |
Минус 40 |
п. 9.22 |
8.2. Требования к эксплуатационным показателям материалов теплоизоляционной подкладки СЗО ПТВ.
Требования, предъявляемые к теплофизическим и физико-механическим показателям материалов, используемых в качестве теплоизоляционной подкладки СЗО ПТВ тяжелого типа, изложены в табл. 3.
Требования к теплофизическим показателям пакета материалов и тканей, входящих в состав СЗО ПТВ, изложены в табл. 4.
Состав пакета материалов и тканей для различных типов СЗО ПТВ должен соответствовать п. 5.6 и п. 5.7 настоящих норм.
Таблица 3
|
Значение показателя |
Метод испытаний |
|
|
Поверхностная плотность, г/м2, не более |
360 |
п. 9.13 |
|
Жесткость при изгибе, Н, не более |
0,2 |
п. 9.19 |
|
Гигроскопичность, %, не более |
9 |
п. 9.17 |
|
Кислородный индекс, % (об.), не менее |
26 |
п. 9.11 |
|
Устойчивость к воздействию температуры 200 °С, с, не менее |
480 |
п. 9.6 |
8.4. Требования к защитным, эргономическим и физиолого-гигиеническим показателям СЗО ПТВ.
8.4.1*. СЗО ПТВ должна обеспечивать защиту пожарного от повышенных тепловых (см. табл. 1) и механических воздействий. Проверяется при проведении огневых полигонных испытаний в соответствии с п. 9.25 настоящих норм.
8.4.2. Конструкция СЗО ПТВ, используемые материалы и комплектующие изделия должны позволять пожарному эффективно выполнять все виды работ, связанные с тушением пожаров и ликвидацией последствий аварий.
8.4.3*. Масса СЗО ПТВ без системы жизнеобеспечения должна быть не более:
- для СЗО ПТВ тяжелого типа - 16 кг;
- для СЗО ПТВ полутяжелого типа - 10 кг;
- для СЗО ПТВ лёгкого типа - 4 кг.
Масса СЗО ПТВ определяется по п. 9.30.
- для СЗО ПТВ тяжелого типа - 180 с (с одним ассистентом);
- для СЗО ПТВ полутяжелого типа - 80 с;
- для СЗО ПТВ лёгкого типа - 50 с.
Таблица 4
|
Значение показателя |
Метод испытаний |
Примечание |
|||
|
Тип СЗО ПТВ1 |
|||||
|
1 |
2 |
3 |
|||
|
Устойчивость к воздействию теплового потока, с, не менее: |
п. 9.2 |
Испытания проводятся в том числе и на образцах с фрагментами швов и фурнитурой |
|||
|
- 40 кВт/м2 |
120 |
- |
- |
||
|
- 25 кВт/м2 |
240 |
- |
- |
||
|
- 18 кВт/м2 |
960 |
600 |
- |
||
|
- 10 кВт/м2 |
- |
900 |
480 |
||
|
Устойчивость к воздействию температуры 800 °С, с, не менее |
20 |
- |
- |
п. 9.7 |
|
|
Устойчивость к воздействию открытого пламени, с, не менее |
30 |
20 |
15 |
п. 9.4 |
|
|
Теплопроводность, Вт/(м·град), не более |
0,06 |
п. 9.5 |
|||
|
Устойчивость к воздействию слабых (до 20 %) кислот и щелочей (H2SO4, НСl, КОН, NaOH), нефти и нефтепродуктов, объем стока при нулевом проникновении, %, не менее |
80 |
п. 9.18 |
|||
1 Тип исполнения СЗО ПТВ: 1 - тяжелый; 2 - полутяжелый; 3 - легкий.
8.4.5*. При работе в условиях, оговоренных в табл. 1, СЗО ПТВ должна обеспечивать физиологическое состояние человека в соответствии со следующими параметрами:
- температура тела, °С, не более - 37,8;
- частота сердечных сокращений, уд/мин, не более - 170;
- влагопотери, г/ч, не более - 800;
- теплоощущения, баллы - от 7 до 8.
8.4.6*. Физиологическое время работы в СЗО ПТВ при нормальных условиях и нагрузке средней тяжести должно соответствовать указанному в табл. 5.
Таблица 5
|
Время работы, мин, не более |
|
|
Тяжелый |
20 |
|
Полутяжелый |
30 |
|
Легкий |
Не ограничено |
8.4.7. Проверка соответствия защитных, эргономических и физиолого-гигиенических показателей СЗО ПТВ требованиям настоящих норм осуществляется при проведении огневых полигонных (п. 9.25) и эксплуатационных (п. 9.26) испытаний.
9.1. Подготовка образцов
9.1.1. Число и размеры образцов для различных типов испытаний определяются соответствующей нормативной и технической документацией.
9.1.2. Отбор образцов для испытаний материала верха осуществляется следующим образом: от рулона материала отрезают точечную пробу требуемого размера, отступив не менее:
- от конца рулона 1500 мм;
- от кромочного края 50 мм.
Образцы должны иметь однородную поверхность без видимых дефектов лицевой и изнаночной сторон.
9.1.3. Вес материалы перед испытаниями должны быть выдержаны в климатических условиях по ГОСТ 10681.
9.2.1. Испытательное оборудование и средства измерения.
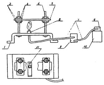
Испытания проводятся на лабораторной установке, принципиальная схема которой приведена на рис. 1.
В качестве источника излучения используется радиационная панель размером 210×210 мм с нагревательным элементом в виде спирали из нихромовой проволоки, позволяющая устанавливать тепловой поток в пределах от 10 до 90 кВт/м2.
Для измерения значений плотности теплового потока используется датчик типа Гордона с диапазоном измерения от 5 до 100 кВт/м2 и погрешностью измерений не более 8 %, который выводится на вторичный прибор с классом точности не более 0,15. Датчик теплового потока устанавливается в держатель образца (рис. 1). На поверхности держателя устанавливается металлизированная ткань толщиной до 1 мм (металлизацией к держателю), которая имеет центральное сквозное отверстие с диаметром 15 мм.
На ткани крепятся три термоэлектрических преобразователя типа ХК (хромель-копель) под углом 120 град друг к другу на диаметре (20 ± 2) мм от центра датчика. Способ крепления - пришиваются нитками в месте спая на длину не менее 5 мм. Термоэлектрические преобразователи используются для измерения температуры на внутренней поверхности пакета материалов и на внутренней поверхности иллюминатора.
9.2.2. Отбор образцов.
На испытания отбираются:
9.2.2.1*. Для определения коэффициента ослабления инфракрасного излучения (см. пункт 8.1 настоящих норм) не менее 5 образцов материала верха СЗО ПТВ размером 210×70 мм.
9.2.2.2*. Для определения устойчивости СЗО ПТВ к воздействию теплового потока (см. пункт 8.3 настоящих норм) не менее 14 образцов (6 - вырезанных по основе и 8 - по утку), состоящих из пакета материалов и тканей, входящих в состав СЗО ПТВ, размером 210×70 мм.
9.2.2.3*. Для определения устойчивости иллюминатора к воздействию теплового потока (см. пункт 5.2 а) настоящих норм) и коэффициента ослабления инфракрасного излучения (см. пункт 5.2 в) настоящих норм) не менее 5 образцов иллюминатора.
Рис. 1. Принципиальная схема установки для определения устойчивости к воздействию теплового потока:
1 - платформа; 2 - груз; 3 - нити; 4 - датчик теплового потока; 5 - зажим; 6 - термоэлектрический преобразователь; 7 - держатель; 8 - экран; 9 - заслонка; 10 - система охлаждения; 11 - радиационная панель; 12 - образец
9.2.3. Порядок проведения испытаний.
9.2.3.1. Включить радиационную панель, регистрирующие приборы и систему охлаждения.
9.2.3.2. Прогреть радиационную панель в течение (25 ± 5) мин от начала включения источника питания.
9.2.3.3. Поднять защитную заслонку, что открывает доступ теплового потока к датчику. Изменяя расстояние между источником теплового излучения и датчиком, установить держатель образца на таком расстоянии от радиационной панели, при котором значение плотности теплового потока, падающего на образец, равно указанным в пунктах 5.2, 8.3 и табл. 1 настоящих норм.
9.2.3.4. Дождаться установления температурного равновесия датчика и возвратить заслонку в исходное положение. Зафиксировать расстояние от экрана до держателя на платформе и закрепить образец (п. 9.2.2.1 и п. 9.2.2.2) на рабочем участке датчика с помощью зажимов, обеспечив его натяжение с помощью груза массой (200 ± 10) г и нитей.
Образец п. 9.2.2.3 устанавливается непосредственно на платформу в вертикальном положении.
9.2.3.5. Поднять заслонку и выдержать образец под действием теплового потока установленной плотности:
- для образца материала верха (п. 9.2.2.1) в течение времени, указанного в табл. 1 настоящих норм;
- для образца пакета материалов и тканей, входящих в состав СЗО ПТВ (п. 9.2.2.2), в течение времени, указанного в пункте 8.3 настоящих норм;
- для образца иллюминатора (п. 9.2.2.3) в течение времени, указанного в пункте 5.2 настоящих норм.
9.2.3.6. По истечении времени выдержки образца измерить плотность теплового потока, прошедшего через образец. Для образца п. 9.2.2.2 дополнительно измеряется температура на внутренней поверхности. За температуру на внутренней поверхности принимать среднеарифметическое значение показаний трех термоэлектрических преобразователей.
9.2.3.7*. Коэффициент ослабления инфракрасного излучения рассчитывается по формуле
котр = [(Q0 - Qn)/Q0] · 100, %, (1)
где Qn - плотность теплового потока, падающего на образец, кВт/м2;
Qn - плотность теплового потока, прошедшего через образец, кВт/м2.
9.2.4*. Оценка результатов испытаний.
Материал верха СЗО ПТВ (п. 9.2.2.1) считается выдержавшим испытания, если коэффициент ослабления инфракрасного излучения всех образцов составил не менее 70 %.
Пакет материалов СЗО ПТВ (п. 9.2.2.2) считается выдержавшим испытания, если на всех образцах не произошло:
- разрушения наружной поверхности (трещин, прогара, оплавления и т.д.);
- отслоения металлизированного слоя от тканевой основы;
- усадки более 5 %;
- воспламенения;
- превышения среднеарифметического значения температуры на внутренней поверхности композиции слоев СЗО ПТВ более 50 °С в нормированное время;
- снижения физико-механических показателей (разрывная нагрузка, сопротивление раздиранию) материала верха более чем на 20 % от нормативного значения.
Иллюминатор (п. 9.2.2.3) считается выдержавшим испытания, если на всех образцах не произошло:
- термических разрушений (трещин, деформации, оплавления и т.д.);
- изменения цвета стекла (помутнения, потемнения).
Значение коэффициента отражения инфракрасного излучения должно составлять не менее 60 %.
9.3. Метод определения устойчивости материала верха к воздействию открытого пламени
9.3.1. Отбор образцов.
Испытаниям подвергается не менее пяти образцов материала верха СЗО ПТВ размером 60×140 мм.
9.3.2. Испытательное оборудование.
Испытания проводятся на лабораторной установке, принципиальная схема которой приведена на рис. 2. Конструктивное исполнение горелки соответствует ГОСТ Р 50810. Расстояние между установочными шпильками рамки: ширина 40 мм; высота 110 мм.
Рис. 2. Принципиальная схема установки для определения устойчивости материала верха к воздействию открытого пламени:
1 - направляющие основания; 2 - ролики; 3 - основание штатива; 4 - каретка; 5 - штатив; 6 - кронштейн; 7 - держатель образца; 8 - маховик; 9 - образец; 10 - игольчатый клапан; 11 - горелка; 12 - устройство для замера высоты пламени; 13 - ручка изменения положении горелки; 14 - гибкие трубки; 15 - регулируемые опоры; 16 - редуктор; 17 - газовый баллон; 18 - штанга
9.3.3. Порядок проведения испытаний.
9.3.3.1. Закрепить образец на установочных шпильках рамки с обеспечением следующих расстояний:
- от образца до каркаса рамки - (20 ± 2) мм;
- от уровня нижних установочных шпилек до нижнего края образца - (15 ± 2) мм;
- от установочных шпилек до боковых краев образца - (10 ± 2) мм.
9.3.3.3. Отвести образец от горелки на расстояние не менее 150 мм.
9.3.3.4. Зажечь горелку и прогреть ее в течение 2 мин. Установить высоту пламени, измеренную как расстояние между верхней частью трубки горелки и верхом конусной желтой части пламени (40 ± 2) мм. Все эти операции проделывать при тусклом освещении.
9.3.3.5. Подвести образец в зону горения, расположение образца относительно горелки должно быть таким же, как описано в п. 9.3.3.2. Включить секундомер и после времени воздействия открытого пламени, соответствующего указанному в табл. 2, удалить образец из зоны горения. Измерить время остаточного горения и остаточного тления.
9.3.4. Оценка результатов испытаний.
Материал верха СЗО ПТВ считается выдержавшим испытания, если у всех образцов время остаточного горения и тления составило не более 3 с; площадь повреждения наружного металлизированного или напыленного покрытия составила не более 25 % от общей площади испытываемого образца.
9.4.1. Отбор образцов.
На испытания отбирается не менее пяти образцов пакетов материалов и тканей, входящих в состав СЗО ПТВ, размером 220×140 мм. Внутренняя сторона и края пакетов изолируются материалом верха СЗО ПТВ.
9.4.2. Испытательное оборудование и средства измерения.
Схема установки приведена на рис. 3. Установка имеет специальный фиксатор, позволяющий осуществлять подвод и удаление горелки от образца, исключая ее опрокидывание. Расстояние от станины до сопла горелки (40 ± 1) мм. Для испытаний используется горелка с диаметром сопла (1,0 ± 0,1) мм и бытовой газ пропан.
9.4.3. Порядок проведения испытаний.
Открывают баллон с газом, и после зажигания горелки прогревают ее в течение 2 мин. Затем при помощи регулирующего подачу газа устройства устанавливают высоту пламени (200 ± 15) мм. Высота пламени измеряется как расстояние между верхней частью сопла горелки и верхом конусной желтой части пламени при вертикальном направлении горелки.
Образец закрепляется в горизонтальном положении с обеспечением расстояния от верхнего края сопла горелки до наружной поверхности образца (90 ± 2) мм. Испытаниям подвергается наружная сторона пакета материалов.
Горелку перемещают в сторону образца (рис. 3) таким образом, чтобы обеспечить воздействие пламени на центральную часть пакета, и включают секундомер. Образец выдерживают в зоне воздействия открытого пламени в течение времени, указанного в табл. 4 настоящих норм, затем горелку отводят от образца в исходное положение.
9.4.4. Оценка результатов испытаний.
Пакет материалов и тканей считается выдержавшим испытания, если у всех образцов не наблюдалось:
- остаточного горения и тления более 2 с;
- разрушения тканевой основы материала верха (сквозной прогар);
- разрушения входящих в состав пакета материалов теплоизоляционной подкладки и внутреннего слоя (оплавление, обугливание, прогар и т.п.).
Рис. 3. Принципиальная схема установки для определения устойчивости пакетов материалов к воздействию открытого пламени:
1 - станина; 2 - пластины; 3 - гайки; 4 - стойки; 5 - испытываемый образец; 6 - горелка; 7 - гибкие трубки для подачи газа; 8 - устройство, регулирующее подачу газа; 9 - редуктор; 10 - баллон с газом; 11 - фиксатор положения горелки
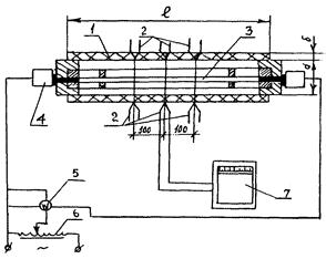
9.5. Метод определения теплопроводности
9.5.1. Отбор образцов.
На испытания отбирается не менее трех образцов размером: длиной l и шириной, равной длине окружности с диаметром d (рис. 4), состоящих из пакетов материалов и тканей, входящих в состав СЗО ПТВ.
9.5.2. Испытания проводятся на лабораторной установке, принципиальная схема которой приведена на рис. 4.
В качестве рабочего участка используется горизонтально расположенная металлическая труба длиной l, превышающей наружный диаметр d не менее чем в 9 раз, внутри которой находится электронагреватель. На рабочем участке трубы закрепляется испытываемый образец толщиной δ.
Мощность, подаваемая на нагреватель, регулируется лабораторным автотрансформатором. Измерение напряжения и силы тока, подаваемого на нагреватель, производится приборами с классом точности не ниже 0,2.
Рис. 4. Принципиальная схема установки для определения теплопроводности:
1 - испытываемый материал; 2 - термоэлектрические преобразователи; 3 - электронагреватель; 4 - токопроводящая втулка; 5 - ваттметр; 6 - автотрансформатор; 7 - потенциометр
Для измерения температуры на внутренней поверхности образца используют три термоэлектрических преобразователя типа ХК (хромель-копель) с диаметром кабельной части не более 1,5 мм и погрешностью измерения не более ±1 °С. Размещение термоэлектрических преобразователей показано на рис. 4, а крепление осуществляется следующим образом:
- на материале - пришиваются в месте спая на длину не менее 5 мм и закрываются куском бязи (поверхностной плотностью не более 250 г/м2) на всю длину цилиндрической трубы;
- на металлической трубе - зачеканиваются в трубу на глубину не более 3 мм и длину не менее 5 мм.
Для измерения температуры наружной поверхности образца используют три термоэлектрических преобразователя аналогичного типа, которые пришиваются на материале верха в месте спая на длину не менее 5 мм и закрываются куском бязи на всю длину цилиндрической трубы (рис. 4).
Термоэлектрические преобразователи выводятся на вторичный прибор для измерения рабочей температуры с классом точности не ниже 0,1 и пределами измерения от 0 до 200 °С.
9.5.3*. Порядок проведения испытаний.
Образец сшивают в виде цилиндра и надевают на металлическую трубу. Устанавливают термоэлектрические преобразователи на наружную поверхность образца. Включают установку и создают тепловой поток. Тепловой поток считается стационарным, если значения температуры во всех шести точках измерения остаются неизменными (в пределах 2 °С) на протяжении не менее 10 мин. Кроме этого, разница значений температуры между показаниями трех термоэлектрических преобразователей на материале должна быть не более 12 °С. При достижении стационарного режима фиксируют значения температур.
Далее аналогично повторяют испытания при значениях мощности электронагревателя, отличающихся от первоначального режима на (10 ± 2) и (20 ± 2) Вт соответственно.
9.5.4*. Обработка результатов испытаний.
Коэффициент теплопроводности каждого образца определяют по формуле
(2)
где Q - стационарный тепловой поток (равный показаниям вольтметра и амперметра), Вт; t1 и t2 - среднеарифметические значения температур на внутренней и внешней (соответственно) поверхностях образца, °С; δ - толщина испытываемого образца, м, измеряемая с погрешностью ±0,0001 м; d - наружный диаметр цилиндрического нагревателя, м; l - длина трубы, м.
За результат испытания принимается среднеарифметическое значение коэффициента теплопроводности.
9.6. Метод определения устойчивости к воздействию температуры 200 °С и усадки после нагревания
9.6.1*. Отбор образцов.
На испытания отбирается не менее 14 образцов (6 - вырезанных по основе и 8 - по утку) материала верха или материала теплоизоляционной подкладки размером 220×70 мм. Образцы сшиваются по короткой стороне, и им придается форма цилиндра.
9.6.2. Испытательное оборудование и средства измерения.
Установка представляет собой электропечь с принудительной вентиляцией воздуха:
- объём рабочей камеры, м3, не менее....................................... 0,010
- рабочая температура, °С, не менее............................................ 200
- погрешность установки температуры, °С, не более.................. ±5
- секундомер с погрешностью измерения не более 5 с за время не более 1 ч;
- линейка ГОСТ 17435 для измерения линейных размеров образцов материала верха СЗО ПТВ с ценой делений не более 1 мм.
9.6.3. Порядок проведения испытаний.
Создать температуру в камере 200 °С. Открыть дверь камеры и установить в ней образец материала, закреплённый на держателе, таким образом, чтобы он находился в центре объема печи. Время установки образца не более 5 с. Затем закрыть дверцу и с этого момента отсчитывать время выдержки. По истечении указанного времени (табл. 2; 3) открыть дверцу и вынуть образец. У образцов материала верха по окончании опытов измеряются линейные размеры (длина и ширина).
9.6.4. Оценка результатов испытаний.
Для каждого образца материала верха после воздействия на него температуры 200 °С определяется коэффициент усадки после нагревания по формуле
Кус = [(S0 - Sn)S0] · 100, %, (3)
где S0 - площадь образца до испытаний, м2; Sn - площадь образца после испытаний, м2.
Материал считается выдержавшим испытания, если на всех образцах не произошло:
- разрушения материала (прогара, оплавления, обугливания и т.д.);
- отслоения металлизированного слоя от тканевой основы (для материала верха);
- воспламенения;
- снижения физико-механических показателей (разрывная нагрузка, сопротивление раздиранию) материала верха более чем на 20 % от нормативного значения.
Коэффициент усадки должен составлять не более 5 %.
9.7.1. Отбор образцов.
На испытания отбирается не менее пяти образцов, состоящих из материалов и тканей, входящих в состав СЗО ПТВ, размером 360×300 мм.
9.7.2. Испытательное оборудование и средства измерения:
- электрическая печь со следующими характеристиками:
объем рабочей камеры, м3, не менее.................................................................. 0,010
рабочая температура, °С, не менее....................................................................... 800
погрешность установки температуры, °С, не более............................................. ±5
- термоэлектрический преобразователь, использующийся для измерения температуры на внутренней поверхности пакета материалов, типа ХА (хромель-алюмелевый) или ХК (хромель-копелевый) с диаметром кабельной части не более 1,5 мм и погрешностью измерения не более ±1 °С;
- термоэлектрический преобразователь выводится на вторичный прибор для измерения температуры с классом точности не ниже 0,5 и пределами измерения от 0 до 200 °С;
- секундомер с погрешностью измерения не более 5 с за время не более 1 ч.
Принципиальная схема установки приведена на рис. 5.
9.7.3. Порядок проведения испытаний.
К центральной части внутренней поверхности образца пришить в виде кармана отрезок материала верха толщиной не более 1 мм размером 80×70 мм металлизированным слоем наружу, в который установить термоэлектрический преобразователь.
Испытываемый образец закрепить на рамке держателя при помощи установочных шпилек и гаек в вертикальном положении.
Установить температуру в рабочей камере электропечи 800 °С. Открыть до отказа дверь камеры и при помощи направляющих установить держатель таким образом, чтобы рамка с образцом полностью закрывала вход в рабочую камеру печи (рис. 5). Время установки образца не более 5 с. Включить секундомер, зафиксировать время, в течение которого температура на внутренней поверхности образца достигнет значения 50 °С, затем держатель с образцом отвести от камеры печи.
Рис. 5. Принципиальная схема установки для определения устойчивости пакета материалов к воздействию температуры 800 °С:
1 - испытываемый образец; 2 - шпильки; 3 - держатель образца; 4 - дверь камеры; 5 - электропечь; 6 - термоэлектрический преобразователь; 7 - измеритель температуры
9.7.4. Оценка результатов испытаний.
Пакет материалов СЗО ПТВ считается выдержавшим испытания, если на всех образцах не произошло:
- разрушения тканевой основы материала верха (сквозного прогара, обугливания, оплавления и т.п.);
- превышения значения температуры на внутренней поверхности более 50 °С в течение времени, указанного в табл. 4 настоящих норм.
9.8. Метод определения устойчивости к контакту с нагретыми до 400 °С твердыми поверхностями
9.8.1*. Отбор образцов.
На испытания представляется не менее 14 образцов (6 - вырезанных по основе и 8 - по утку) из материала верха размером 220×70 мм.
9.8.2. Испытательное оборудование и средства измерения:
- электропечь со следующими характеристиками:
объём рабочей камеры, м3, не менее.................................................................. 0,010
рабочая температура, °С, не менее....................................................................... 400
погрешность установки температуры, °С, не более............................................. ±5
- контактирующая пластина из керамических материалов с габаритными размерами, мм:
длина.................................................................................................................. 140 ± 3
ширина.............................................................................................................. 140 ± 3
высота.................................................................................................................... 6 ± 1
- держатель образцов с габаритными размерами, мм:
длина.................................................................................................................. 100 ± 3
ширина................................................................................................................ 50 ± 3
высота.................................................................................................................. 80 ± 3
- термоэлектрический преобразователь типа ХА (хромель-алюмелевый) с диаметром кабельной части не более 1,5 мм и погрешностью измерения не более ±1 °С;
- термоэлектрический преобразователь выводится на вторичный прибор для измерения рабочей температуры с классом точности не более 0,5 и пределами измерений от 0 до 200 °С;
- секундомер с погрешностью измерения не более 5 с за время не более 1 ч.
Термоэлектрический преобразователь устанавливается таким образом, чтобы место спая касалось контактирующей поверхности, как показано на рис. 6. При этом термоэлектрический преобразователь сверху экранируется от окружающей среды при помощи металлизированной кремнеземной ткани толщиной (2 ± 1) мм.
9.8.3. Порядок проведения испытаний.
Включить электропечь. Установить температуру контактирующей поверхности, находящейся в рабочей камере, 400 °С и поддерживать ее в течение всего опыта. Открыть дверь камеры печи и установить в ней образец, закреплённый на держателе (рис. 6). Держатель должен обеспечивать площадь соприкосновения образца с нагретой поверхностью не менее 0,002 м2. Время установки образца не более 5 с. Закрыть дверцу и с этого момента отсчитывать время выдержки. Через 5 с открыть дверцу и вынуть держатель с образцом.
Рис. 6. Установка для определения устойчивости материала верха к контакту с нагретыми до 400 °С твердыми поверхностями:
1 - термоэлектрический преобразователь; 2 - держатель; 3 - исследуемый образец; 4 - керамическая пластина
9.8.4*. Оценка результатов испытаний.
Материал верха СЗО ПТВ считается выдержавшим испытания, если на всех образцах не произошло:
- разрушения наружной поверхности (трещин, прогара, оплавления и т.д.);
- усадки более 5 %;
- воспламенения;
- снижения физико-механических показателей (разрывная нагрузка, сопротивление раздиранию) материала верха более чем на 20 % от нормативного значения.
9.9. Метод определения устойчивости иллюминатора к воздействию температуры 200 °С
9.9.1. Отбор образцов.
На испытания отбирается не менее пяти образцов стекла иллюминатора СЗО ПТВ.
9.9.2. Испытательное оборудование и средства измерения:
- электрическая печь со следующими характеристиками:
объем рабочей камеры, м3, не менее.................................................................. 0,010
рабочая температура, °С, не менее....................................................................... 800
погрешность установки температуры, °С, не более............................................. ±5
- секундомер с погрешностью измерения не более 5 с за время не более 1 ч.
Принципиальная схема установки приведена на рис. 7.
Рис. 7. Принципиальная схема установки для определения устойчивости иллюминатора к воздействию температуры 200 °С:
1 - макет иллюминатора; 2 - образец стекла; 3 - держатель образца; 4 - дверь камеры; 5 - электропечь
9.9.3. Порядок проведения испытаний.
Установить испытываемый образец стекла в макет иллюминатора, закрепленный на держателе.
Включить электропечь, дождаться установления в рабочей камере температуры 200 °С. Открыть до отказа дверь камеры и при помощи направляющих установить держатель с образцом таким образом, чтобы вход в рабочую камеру печи был полностью закрыт. Время установки образца не более 5 с. Отсчитать с момента установки образца время выдержки (600 ± 5) с, затем держатель с образцом отвести от камеры печи.
9.9.4. Оценка результатов испытаний.
Стекло иллюминатора считается выдержавшим испытания, если на всех образцах не произошло:
- термических разрушений (трещин, деформации, оплавления и т.п.);
- изменения цвета стекла (помутнения, потемнения).
9.10. Метод проверки иллюминатора на механическую прочность
9.10.1. Отбор образцов.
На испытания представляется один образец средства защиты головы СЗО ПТВ с обзорным иллюминатором.
9.10.2. Испытательное оборудование.
Испытания проводятся на установке, принципиальная схема которой приведена на рис. 8. Испытания проводятся при помощи свободно падающего с высоты ударника, обеспечивающего энергию одиночного удара от 1,2753 до 1,3442 Дж. Рабочая часть ударника имеет форму полусферы радиусом (11 ± 1) мм.

Рис. 8. Установка для проверки иллюминатора на механическую прочность:
1 - станина; 2 - стойки; 3 - держатель; 4 - направляющая труба; 5 - ударник; 6 - спусковое устройство; 7 - испытываемое средство защиты головы; 8 - устройство для закрепления испытываемого средства защиты
9.10.3. Порядок проведения испытаний.
Образец надевают на макет головы человека и располагают таким образом, чтобы обеспечить горизонтальное положение иллюминатора лицевой частью вверх. Между моделью головы и иллюминатором прокладывают лист мягкой резины толщиной 1,5 мм.
Точки приложения ударов должны находиться внутри окружности радиусом 15 мм, проведенной из центра иллюминатора на уровне проекции глаз на иллюминатор.
Ударник устанавливают в держателе стенда, после чего при помощи спускового устройства ему придают свободное падение на поверхность иллюминатора. Таким образом производят три удара с одинаковой энергией по стеклу иллюминатора.
9.10.4. Оценка результатов испытаний.
Иллюминатор считается выдержавшим испытания, если после трех ударов на его поверхности не образовалось трещин, сколов и других повреждений.
9.11. Метод определения кислородного индекса
Кислородный индекс для материалов СЗО ПТВ определяется по ГОСТ 12.1.044.
9.12. Метод определения массы материала верха
Масса 1 м2 материала верха СЗО ПТВ определяется по ГОСТ 17073.
9.13. Метод определения поверхностной плотности
Поверхностная плотность материала теплоизоляционной подкладки определяется по ГОСТ 3811.
9.14*. Метод определения разрывной нагрузки
Разрывная нагрузка материала верха СЗО ПТВ определяется по ГОСТ 17316.
9.15. Метод определения сопротивления раздиранию
Сопротивление раздиранию для материала верха СЗО ПТВ определяется по ГОСТ 17074.
9.16. Метод определения прочности связи плёночного покрытия с основой
Прочность связи плёночного покрытия с основой для материала верха СЗО ПТВ определяется по ГОСТ 17317.
9.17. Метод определения гигроскопичности
Гигроскопичность материала теплоизоляционной подкладки СЗО ПТВ определяется по ГОСТ 3816.
9.18. Метод определения устойчивости к воздействию кислот, щелочей, нефти и нефтепродуктов
Устойчивость к воздействию кислот, щелочей, нефти и нефтепродуктов пакета материалов и тканей, входящих в состав СЗО ПТВ, определяется по EN 368.
9.19. Метод определения жёсткости при изгибе
Жёсткость при изгибе для материала верха СЗО ПТВ, ладонной части средств защиты рук и подошвенной части средств защиты ног, входящих в состав СЗО ПТВ, определяется по ГОСТ 8977; для материалов теплоизоляционной подкладки - по ГОСТ 10550.
9.20. Метод определения устойчивости к многократному изгибу
Устойчивость к многократному изгибу для материала верха СЗО ПТВ, ладонной части средств защиты рук и подошвенной части средств защиты ног, входящих в состав СЗО ПТВ, определяется по ГОСТ 8978.
9.21*. Метод определения устойчивости к истиранию
9.21.1. Отбор образцов.
На испытания отбирается не менее 5 образцов материала верха или материалов ладонной и подошвенной частей СЗО ПТВ размером 300×120 мм.
9.21.2. Испытательное оборудование и средства измерения. Испытания проводят на установке, конструкция которой обеспечивает возвратно-поступательное движение абразива в горизонтальной плоскости. Схема установки приведена на рис. 9.
В качестве абразива используется:
для испытаний материала верха СЗО ПТВ - серошинельное сукно;
для испытаний материалов ладонной и подошвенной частей СЗО ПТВ - шкурка шлифовальная 14 А 32 НМ ГОСТ 5009.
Рис. 9. Принципиальная схема установки по определению устойчивости материалов к истиранию:
1 - образец; 2 - абразив; 3 - зажим; 4 - счетчик; 5 - подвеска с грузами; 6 - пускатель; 7 - мотор
Площадь поверхности абразивного материала, которая соприкасается с поверхностью испытываемого образца, составляет 0,01 м2.
Толщина образцов определяется с помощью штангенциркуля (ГОСТ 166) с диапазоном измерений от 0 до 125 мм и ценой деления 0,1 мм. Масса образцов проверяется на весах с пределами измерения 0 - 1000 г и погрешностью ±1 г.
9.21.3. Порядок проведения испытаний.
До начала испытаний у образцов материалов ладонной и подошвенной частей СЗО ПТВ определяют массу и толщину.
Образцы заправляют в зажимы (см. рис. 9), сначала в левый (неподвижный), а затем в правый (подвижный). Расстояние между щитком и краем рамки подвижного зажима должно быть (25 ± 5) мм.
На подвеску устанавливают грузы, массу которых выбирают в зависимости от массы и толщины образца по табл. 6.
Счетчик числа циклов перемещения абразива устанавливают на ноль и включают прибор. После проведения необходимого числа циклов истирания (п. 5.14, табл. 2 настоящих норм) прибор останавливают, с подвески снимают грузы, образцы вынимают из зажимов.
У образцов материала верха СЗО ПТВ определяют коэффициент ослабления инфракрасного излучения в соответствии с п. 9.2 настоящих норм.
У образцов материалов ладонной и подошвенной частей СЗО ПТВ измеряют массу и толщину.
Таблица 6
|
Масса, г |
Толщина образца, мм |
Масса груза натяжения, г |
||
|
1 м2 |
образца |
|||
|
1. Материал верха СЗО ПТВ |
250 - 500 |
- |
- |
1000 |
|
500 - 750 |
- |
- |
2000 |
|
|
2. Материалы ладонной и подошвенной частей СЗО ПТВ |
- |
До 30 |
До 2 |
1000 |
|
- |
Свыше 30 |
Свыше 2 |
2000 |
|
9.21.4. Оценка результатов испытаний.
Материал верха СЗО ПТВ считается выдержавшим испытания, если на всех образцах не произошло:
снижения значения коэффициента ослабления инфракрасного излучения более чем на 25 % от нормативного значения;
разрушения металлизированного покрытия (трещин, сдиров, отслоения покрытия от тканевой основы и т.п.).
Материалы ладонной и подошвенной частей СЗО ПТВ считаются выдержавшими испытания, если на всех образцах не произошло снижения массы и толщины более чем на 30 % от нормативного значения.
9.22*. Метод определения морозостойкости
9.22.1. Отбор образцов.
На испытания отбирается не менее 14 образцов ткани верха (6 - вырезанных по основе и 8 - по утку) размером 220×70 мм. Образцы сшиваются по короткой стороне, и им придается форма цилиндра.
9.22.2. Испытательное оборудование.
Установка представляет собой криокамеру с принудительной вентиляцией воздуха:
- объем рабочей камеры, м3, не менее...................................................... 0,010
- рабочая температура, °С, не более................................................... минус 40
9.22.3. Методика испытаний.
Довести температуру в камере до минус 40 °С. Открыть дверь камеры и установить в ней образец, закрепленный на держателе таким образом, чтобы он висел в центре объема печи. Выдержать образец в течение не менее 60 мин.
9.22.4. Оценка результатов испытаний.
Ткань верха БОП считается выдержавшей испытания, если на всех образцах не произошло:
- отслоения покрытия от тканевой основы (для материалов с полимерным пленочным покрытием);
- снижения физико-механических показателей (разрывная нагрузка, раздирающая нагрузка по пп. 9.14, 9.15) более чем на 20 %.
9.23. Метод определения линейных размеров
Линейные размеры определять с погрешностью не более ±1 мм.
9.24. Определение разборчивости передаваемой речи
Разборчивость передаваемой речи (п. 5.11) проверяется при проведении полигонных испытаний на открытом воздухе без посторонних звуковых помех. Испытателю, экипированному в СЗО ПТВ, с расстояния 2 м передаются не менее 10 различных команд, записанных на магнитофон с громкостью 60 дБ, которые он обязан выполнить. Проверка проводится с участием не менее пяти испытателей. Все команды испытателями должны быть выполнены.
9.25. Порядок проведения огневых полигонных испытаний
Огневые полигонные испытания должны проводиться на готовых изделиях в соответствии с Единой методикой огневых полигонных испытаний специальной защитной одежды пожарных по проверке эксплуатационных показателей (приложение А).
9.26. Порядок проведения эксплуатационных испытаний
Эксплуатационные испытания СЗО ПТВ должны проводиться в подразделениях пожарной охраны с целью получения замечаний практических работников по основным защитным, эргономическим и физиолого-гигиеническим характеристикам и определения возможных путей доработки СЗО ПТВ по конструкции и используемым материалам (методика проведения эксплуатационных испытаний разрабатывается для каждого конкретного вида СЗО ПТВ и согласовывается с заказчиком и потребителем продукции).
По результатам испытаний составляется протокол, в котором должны быть отражены описание объекта испытаний, условия проведения испытаний (срок, количество выездов на пожар, воздействие тех или иных опасных факторов и их количественные характеристики, климатические условия), результаты осмотра СЗО ПТВ, отзывы практических работников и выводы. Выводы обязательно должны содержать фразу с констатацией: выдержали изделия испытания или нет.
Проверка надежности СЗО ПТВ осуществляется путем сбора статистических данных при проведении периодических и эксплуатационных испытаний.
В соответствии с ГОСТ 27.410 по одноступенчатому методу контроля (при значениях риска изготовителя a и риска потребителя b, равных 0,1) приемочный и браковочный уровни показателя надежности (Рa и Рb) должны быть равны соответственно: Рa = 0,990, Рb = 0,930. Число образцов изделий для испытаний должно быть не менее 55. Время испытаний (наработка) должно соответствовать ресурсу безотказной работы, оговоренному в нормативной или технической документации на конкретное изделие. Число отказов за время испытаний Сa не должно превышать приемочного числа отказов, равного 1.
9.28*. Метод определения устойчивости к проколу
Устойчивость к проколу материалов ладонной части средств защиты рук и подошвенной части средств защиты ног, входящих в состав СЗО ПТВ, определяют по ГОСТ 12.4.118.
9. 29*. Метод определения сопротивления порезу
Сопротивление порезу материалов ладонной части средств защиты рук и подошвенной части средств защиты ног, входящих в состав СЗО ПТВ, определяют по ГОСТ 12.4.141.
9.30*. Метод определения массы СЗО ПТВ
На испытания отбирают не менее трех образцов СЗО ПТВ наибольшего размера.
Массу СЗО ПТВ определяют путем взвешивания на весах с пределами измерения 0,5 - 20 кг и точностью не менее 0,05 кг.
Масса каждого образца должна соответствовать значениям, указанным в п. 8.4.3 настоящих норм.
10.1. Маркировка, упаковка, транспортирование и хранение СЗО ПТВ должны осуществляться по ГОСТ 10581 с дополнениями, предусмотренными нормативной документацией на конкретные изделия.
10.2*. На СЗО ПТВ должна быть этикетка с указанием:
- предприятия-изготовителя;
- типа СЗО ПТВ;
- условного размера;
- даты изготовления.
Сведения о продукции, отражаемые на изделии и поясняющие порядок его применения, правила безопасности и назначение функциональных деталей, должны быть исполнены на русском языке.
10.3*. Каждый комплект СЗО ПТВ должен иметь руководство по эксплуатации изделия и паспорт, составленные в соответствии с ГОСТ 2.601.
Содержание различных видов испытаний СЗО ПТВ, проводимых при разработке и производстве изделий, приведено в табл. 7.
Таблица 7*
|
Проверяемые параметры, №№ пунктов настоящего стандарта |
Метод испытаний, №№ пунктов настоящего стандарта |
Проведение испытаний на стадиях |
|||
|
разработки |
освоения производства |
серийного изготовления |
|||
|
Лабораторные |
+ |
+ |
- |
||
|
Эксплуатационные |
+ |
+ |
- |
||
|
Огневые полигонные |
- |
+ |
- |
||
|
Межведомственные |
- |
+ |
- |
||
|
Периодические |
- |
- |
+ |
||
|
Сертификационные |
5.2 - 5.12; 8.1; 8.2 (для зарубежной СЗО ПТВ); 8.3 (таблица 4, строки 1 - 4); 8.4.1; 8.4.3; 8.4.4; 10 |
- |
- |
+ |
|
(обязательное)
А.1. Введение
А.1.1. Настоящая методика устанавливает объём и порядок проведения испытаний специальной защитной одежды (СЗО) пожарных по эксплуатационным показателям.
Понятие эксплуатационные показатели является интегральным и включает в себя:
- показатели защиты;
- показатели надёжности;
- показатели эргономики;
- физиолого-гигиенические показатели.
А.1.2. Огневые полигонные испытания являются составной частью межведомственных приемочных и сертификационных испытаний.
А.1.3. Настоящая методика определяет:
- единый порядок проведения испытаний как серийно выпускаемых изделий, так и вновь разрабатываемых;
- общие показатели, проверяемые при проведении испытаний СЗО;
- различные виды испытаний (камерные и полигонные);
- единый порядок оформления результатов испытаний;
- общие требования техники безопасности при проведении испытаний.
А.1.4. Настоящая методика может быть использована при разработке ГОСТ и НПБ на методы испытаний спецодежды пожарных, программ испытаний применительно к конкретным видам СЗО и месту испытаний (полигон, термокамера и т.п.).
А.1.5. К испытаниям допускается СЗО, изготовленная в соответствии с имеющейся нормативно-технической документацией (НТД), представляемой вместе с изделием.
А.2. Объект испытаний
А.2.1. Объектом испытаний являются различные типы СЗО, предназначенной для защиты от опасных и вредных факторов пожара, а также опасных производственных факторов и неблагоприятных климатических воздействий.
А.2.2. Объектом испытаний может быть СЗО, используемая в пожарной охране, предлагаемая к использованию изготовителем (в том числе зарубежными фирмами), а также разрабатываемая по заданию ГУГПС МВД России или в инициативном порядке.
А.3. Цель испытаний
А.3.1. Испытания согласно настоящей методике проводятся с целью:
- определения соответствия основных защитных, эргономических и физиолого-гигиенических показателей изделия требованиям нормативно-технической документации, ГОСТ и т.п., а также определения возможных путей его доработки (при необходимости);
- отработки тактических приёмов использования СЗО в натурных условиях;
- сравнения эксплуатационных показателей разрабатываемых изделий с серийно выпускаемой СЗО пожарных России и зарубежными аналогами;
- сбора статистических данных для определения надёжности СЗО пожарных;
- сбора и обработки полученной информации для включения в ремонтную и эксплуатационную документацию на изделие.
А.4. Отбор образцов
А.4.1. Для проведения испытаний СЗО отбор образцов осуществляется в соответствии с требованиями НТД на испытываемое изделие.
А.4.2. В случае отсутствия в НТД сведений по объёму выборки из партии изделий отбирается произвольное количество образцов (по согласованию между заказчиком, изготовителем и потребителем), зависящее от объёма испытаний, вида изделия, требований боевого устава пожарной охраны, требований техники безопасности и т.д., но не менее трёх.
А.4.3. При формировании выборки используется принцип случайного отбора образцов.
А.4.4. Перед проведением испытаний образцы должны быть кондиционированы (выдержаны) в течение 24 ч при температуре 20 °С и относительной влажности не более 60 %.
А.4.5. В процессе всего периода испытаний образцы СЗО должны храниться в соответствии с требованиями, указанными в НТД на испытываемое изделие.
А.5. Методы и процедура испытаний
А.5.1. Общие положения.
А.5.1.1. Испытания организовывает и проводит ВНИИПО МВД России совместно с разработчиком, заказчиком и потребителем продукции.
В испытаниях, независимо от места их проведения, вправе принять участие изготовитель и органы, осуществляющие надзор за безопасностью, охраной здоровья и природы. По требованию заказчика или по решению разработчика проведение испытаний может быть поручено специализированной испытательной организации (испытательному центру) или изготовителю.
Показатели не должны превышать следующих величин:
- температура тела (аксиллярная), °С.................................................................. 36,8
- частота пульса, уд/мин........................................................................................... 80
- артериальное давление, мм рт. ст................................................. 120 - 130/60 - 80
А.5.1.3. Допуск испытателя к работе в СЗО может разрешить только врач-физиолог, о чём делается соответствующая запись в формуляре испытаний (приложение 1).
А.5.1.4. После медицинского обследования с испытателями, страховщиками и бригадой, обслуживающей испытания, проводится инструктаж, в ходе которого каждой группе лиц ставятся задачи, указывается подробно порядок их выполнения, изучаются вопросы техники безопасности (ТБ). Инструктаж проводит руководитель испытаний с регистрацией в специальном журнале (приложение 2).
А.5.1.5. Перед испытаниями проводят занятия с испытателями по изучению конструкции, а также руководства по эксплуатации изделия.
А.5.1.6. Контроль за физическим состоянием испытателей осуществляется с помощью радиотелеметрических систем, которые регистрируют частоту сердечных сокращений, температуру тела и другие показатели состояния организма человека. В случае их отсутствия контроль за физическим состоянием осуществляется субъективно (визуально или по самочувствию испытателей), а также замером частоты пульса, артериального давления после выполнения комплекса упражнений и физиологических показателей во время специальных перерывов (отдыха).
А.5.1.7. В процессе испытаний постоянно поддерживается связь с испытателями с помощью носимых радиостанций.
А.5.1.8. Испытания по проверке эксплуатационных показателей СЗО включают в себя:
- рассмотрение документации;
- проверку внешнего вида;
- тренировочные занятия - проверку эргономических показателей;
- испытания на манекене (при необходимости);
- испытания с участием испытателей-добровольцев.
А.5.1.9. Рассмотрение документации включает в себя определение соответствия ее требованиям ГОСТов и других руководящих документов в части правильности оформления, полноты содержания.
Техническая документация должна включать в себя технические условия, паспорт, руководство по эксплуатации (допускаются их проекты). Помимо перечисленных могут быть представлены другие документы по усмотрению сторон.
А.5.2. Внешний осмотр СЗО и определение готовности ее к испытаниям.
А.5.2.1. При внешнем осмотре определяется качество изготовления изделия, комплектность, масса комплекта, целостность швов, общий внешний вид. По результатам внешнего осмотра делается вывод о готовности изделия к испытаниям.
А.5.2.2. О готовности изделий и дыхательных аппаратов (при необходимости их применения с СЗО) делается запись в формуляре испытаний (приложение 1).
А.5.3. Проверка эргономических показателей.
Проверка эргономических показателей осуществляется на основе требований «Наставления по пожарно-строевой подготовке», «Боевого устава пожарной охраны», «Наставления по ГДЗС».
А.5.3.1. Проверка эргономических показателей включает в себя проведение тренировочных занятий: одевание испытателей в СЗО и выполнение физических упражнений с целью адаптации испытателей (приседания, наклоны туловища вперёд и вбок, попеременные маховые движения руками и ногами, ходьба). При этом обращается внимание на удобство надевания и снятия СЗО в комплекте с дыхательным аппаратом, удобство пользования и надёжность фурнитуры.
При помощи секундомера замеряется время экипировки испытателя в СЗО с ассистентами или без них в зависимости от вида изделия.
А.5.3.2. При проверке эргономических показателей определяется возможность выполнения в СЗО различных видов работ от лёгкой до тяжёлой, включая следующие её разновидности: открывание и закрывание вентилей (задвижек) на трубопроводах, стропальные работы, вскрытие и разборку строительных конструкций, эвакуацию (спасание) испытателя из условной опасной зоны, работу с различными видами пожарно-технического вооружения (ПТВ), а также проведение боевых развёртываний от АЦ (АНР) с прокладкой рукавных линий и подачей стволов и т.д.
СЗО должна позволять выполнять указанные виды работ на поверхностях с углом наклона к горизонту до 20°, загромождённых различными предметами и элементами строительных конструкций, а также другими препятствиями в виде наземных трубопроводов, ограждений, бортиков и т.д.
При отработке варианта спасания один из испытателей имитирует падение, а двое других осуществляют его эвакуацию из опасной зоны.
Обязательно выполнение работ, связанных с преодолением маршевых лестниц, подъёмом и спуском по приставным лестницам, трапам, мостикам и т.д.
А.5.3.3. Все упражнения выполняются звеном в составе не менее трёх человек, а при боевом развёртывании на АЦ (АНР) экипируется всё отделение.
А.5.3.4. При проверке эргономических показателей обращается внимание на удобство выполнения следующих упражнений: поднятия тяжестей, подъёма ног, рук, поворота головы (обзорность), ходьбы, бега, а также различных движений, связанных с работой дыхательного аппарата и радиостанции.
А.5.3.5. После завершения указанных упражнений испытатели снимают СЗО, выключаются из дыхательного аппарата (при работе в нём) и проходят медицинское освидетельствование. У них замеряется частота пульса, артериальное давление, температура (аксиллярная) и масса тела.
Допустимые значения показателей:
- температура тела, °С, не более........................................................................... 37,8
- частота пульса, уд/мин, не более........................................................................ 170
- артериальное давление, мм рт. ст................................................. 160 - 180/50 - 80
А.5.3.6. Далее проводится опрос испытателей об их субъективных ощущениях, оценках показателей СЗО и визуальный осмотр изделий. В процессе опроса должно быть констатировано, что испытатели адаптировались к работе в СЗО и готовы к продолжению испытаний.
А.5.3.7. Перечень выполненных работ, данные медицинского обследования и субъективная оценка по испытаниям изделия заносятся в формуляр (приложение 1), заполняемый на каждого испытателя.
А.5.3.8. На каждый образец СЗО заводится формуляр, в котором указывается: дата, условия испытаний, виды выполненных работ и время, а также результаты визуального осмотра после испытаний (приложение 3).
А.5.4. Испытания СЗО пожарных на манекене.
А.5.4.1. Испытания на манекене могут проводиться как в камере, так и в полигонных условиях.
Испытания на манекене проводятся в случае, когда это необходимо по соображениям техники безопасности, перед проведением испытаний с участием испытателей-добровольцев.
Цель испытаний на манекене - оценка защитных показателей СЗО в зависимости от температуры подкостюмного пространства.
А.5.4.2. Экипировка манекена включает СЗО, необходимое снаряжение и дыхательную аппаратуру (в зависимости от вида изделия).
Экипированный в СЗО манекен устанавливается на специальном стенде для термических испытаний и крепится специальными скобами (см. рис. А.1 и рис. А.2).
А.5.4.3 Для контроля за температурой в под костюмном пространстве на манекене устанавливаются термоэлектрические преобразователи типа ХА или ХК (с диаметром не более 0,5 мм и диапазоном измерений от 0 до 200 °С) в точках, соответствующих точкам для измерения средневзвешенной температуры кожи человека (табл. А.1).
Примечание. Метод установки термоэлектрических преобразователей должен обеспечивать их плотное прилегание к поверхности манекена.
Значения температур регистрируются при помощи потенциометра (класс точности не более 0,5 и диапазон измерений от 0,5 до 200 °С); прибора типа А-565 (класс точности 0,1 и диапазон измерений от 0 до 1200 °С) или других приборов аналогичного назначения и класса точности.
Место вывода термопар из подкостюмного пространства дополнительно теплоизолируется.
Таблица А.1
|
Место установки на манекене |
|
|
1 |
Лоб |
|
2 |
Грудь |
|
3 |
Живот |
|
4 |
Поясница |
|
5 |
Спина |
|
6 |
Предплечье |
|
7 |
Плечо |
|
8 |
Кисть |
|
9 |
Бедро |
|
10 |
Стопа |
|
11 |
Голень |
А.5.4.4. При достижении необходимых показаний температур и теплового потока (согласно НТД) в рабочей зоне устанавливается поворотный кронштейн с манекеном, экипированным в СЗО.
Значения температур окружающей среды фиксируются термоэлектрическими преобразователями (ХК или ХА диаметром не более 0,5 мм) с выводом значений на потенциометр типа КСП-4 (класс точности не более 0,5) или на прибор типа А-565 (класс точности 0,1).
Уровень теплового потока измеряется при помощи неселективных датчиков теплового потока (ДТП), выведенных на милливольтметр (А-565) с классом точности 0,1.
Схема установки манекена и регистрирующей аппаратуры показана на рис. А.3.
А.5.4.5. Во время опыта осуществляется контроль за ростом температуры в подкостюмном пространстве, регистрируется время.
А.5.4.6. Для контроля за состоянием изделия и манекена в течение каждого опыта проводится не менее трёх контрольных заходов в рабочую зону лиц, обслуживающих испытания, экипированных в теплоотражательные (теплозащитные) комплекты с использованием дыхательных аппаратов.
А.5.4.7. При достижении в любой точке подкостюмного пространства температуры 50 °С опыт прекращается и кронштейн с манекеном выносится из рабочей зоны. Контроль за изменением температуры в подкостюмном пространстве продолжается до тех пор, пока температура не начнёт снижаться.
А.5.4.8. После окончания опыта изделие снимается с манекена и проводится его визуальный осмотр с целью выявления термических разрушений и определения возможности проведения дальнейших его испытаний.
А.5.4.9. При положительных результатах испытаний на манекене и готовности СЗО к дальнейшим опытам проводятся испытания изделия с участием испытателей-добровольцев. Решение о проведении испытаний с участием испытателей-добровольцев принимает руководитель испытаний.
А.5.5. Испытания СЗО пожарных с участием испытателей-добровольцев.

Рис. А.1. Стенд для термических испытаний
А.5.5.1. При создании в рабочей зоне (камера, полигон и т.д.) контрольных условий испытатели, экипированные в СЗО (при выполнении п. А.5.1.2 настоящей методики), заходят в рабочую зону и находятся там до окончания опыта, время которого определяется:
- показаниями телеметрической системы (при ее использовании);
- субъективными ощущениями испытателя;
- израсходованием запаса кислорода (воздуха) в дыхательном аппарате;
- достижением времени защитного действия СЗО, определённого НТД на изделие;
- сроком выполнения поставленной задачи.
А.5.5.2. Во время нахождения в рабочей зоне испытатели выполняют комплекс физических упражнений: приседания, наклоны туловища вперёд и вбок, попеременные маховые движения руками и ногами, ходьба, подъём и перенос тяжестей, включая работу с ПТВ и боевое развёртывание.
А.5.5.3. При работе испытателей физическая нагрузка должна чередоваться с отдыхом, за время которого проводится медицинское обследование испытателей.
Примерный режим работы испытателей в изолирующих средствах индивидуальной защиты тяжёлого типа (ТК-800, костюм для пожарных, охраняющих АЭС, термоагрессивостойкий костюм и т.п.):
- спокойная ходьба - 3 мин;
- работа с ПТВ - 4 мин;
- отдых стоя (медицинский контроль) - 2 мин;
- вращение маховика (штурвала) задвижки - 2 мин;
- стропальные работы (крепление троса к задвижке) - 2 мин;
- ходьба с переноской груза - 4 мин;
- отдых стоя (медицинский контроль) - 2 мин;
- вынос пострадавшего из опасной зоны - 2 мин;
- тушение пожара (работа с ручными пожарными стволами, пеногенераторами и т.п.) - 5 мин;
- отдых стоя (медицинский контроль) - 2 мин.
Нарастание частоты пульса после проведения испытаний не должно превышать 170 уд/мин.
Если за это время у испытателя физиологические показатели не достигли предельно допустимых величин, то работа продолжается снова в том же порядке.
При нормальном течении опыта команду на выход испытателей из рабочей зоны даёт руководитель испытаний.

Рис. А.2. Стенд для термических испытаний:
1 - труба Æ 28×2,5, l = 1600 - 1 шт. (стойка); 2 - лист δ = 2, 400×400 Ст.3 - 1 шт. (поворотная площадка с отверстиями для тросов); 3 - труба Æ 42×3, l = 130 - 1 шт. (крестовина); 4 - труба Æ 50×3, l = 150 - 1 шт.; 5 - лист δ = 2, 300×300 Ст.3 - 1 шт.; 6 - уголок № 4 - 4 шт.; 7 - болт М10×25 с гайкой М10 - 4 шт.
А.5.5.4. Испытания немедленно прекращают в случае возникновения непредвиденных обстоятельств, которые могут представлять опасность для испытателей и присутствующих на испытаниях людей.
А.5.5.5. После выхода из рабочей зоны испытатели снимают спецодежду и у них измеряют физиологические показатели: частоту пульса, температуру тела (аксиллярную), артериальное давление и влагопотери. Записывают остаточное давление кислорода (воздуха) в баллоне дыхательного аппарата.
А.5.5.6. Проводится опрос испытателей об их самочувствии, условиях работы в СЗО, субъективных оценках и ощущениях, а также визуальный осмотр изделий.
Рис. A.3. Схема испытаний костюма на манекене:
1 - манекен; 2 - датчики тепловых потоков; 3 - термоэлектрические преобразователи на вешках; 4 - измерительная аппаратура
А.5.5.7. Результаты испытаний, медицинских показаний, опроса испытателей и осмотра изделий заносятся в формуляры (приложения 1 и 5).
А.6. Средства испытаний
А.6.1. Камерные испытания проводятся в лабораторной камере «Неман» или другой аналогичной камере, не уступающей по своим характеристикам данной:
- длина, м.................................................................................................................. 2,3
- ширина, м............................................................................................................... 2,3
- высота, м................................................................................................................ 1,9
- температурный режим камеры, °С.......................................... от минус 70 до 300
- погрешность измерений, %..................................................................................... 1
А.6.2. Для замера температуры газовоздушной среды и температуры в подкостюмном пространстве используют термоэлектрические преобразователи типа ХК (ХА), диаметр которых не более 0,5 мм. Температура регистрируется потенциометром КСП-4 с классом точности 0,5; прибором типа А-565 с классом точности 0,1 либо другой аналогичной аппаратурой. Термоэлектрические преобразователи для защиты от теплового потока экранируются металлизированной тканью.
А.6.3. Поверхностная плотность теплового потока измеряется при помощи неселективных датчиков теплового потока (ДТП), выведенных на милливольтметр (А-565) с классом точности 0,1.
А.6.4. Замеры физиологических и антропометрических показателей осуществляются при помощи стандартного медицинского оборудования.
А.6.5. Время испытаний регистрируется при помощи секундомера с точностью измерений (7 ± 0,1) с.
А.6.6. В процессе испытаний для связи с испытателями используются штатные радиостанции.
А.6.7. В качестве дыхательных аппаратов используются кислородно-изолирующие противогазы (КИП-8) и аппараты, работающие на сжатом воздухе, типа АСВ-2 (АИР-317).
А.6.8. При проведении испытаний используется фото- и видеосъёмка.
А.6.9. В процессе испытаний допускается использовать другие средства испытаний аналогичного назначения, обеспечивающие данную точность измерения проверяемых параметров.
А.6.10. Испытания СЗО пожарных по проверке эксплуатационных показателей осуществляются на любом полигоне или любом приспособленном для этих целей месте, имеющем необходимое оборудование и тренажеры с использованием вышеописанных средств измерения в соответствии с назначением спецодежды, указанным в НТД.
А.6.11. Все средства испытаний должны пройти метрологический контроль и быть аттестованы.
А.7. Условия испытаний
А.7.1. Испытания проводятся при температуре газовоздушной среды и тепловых потоках, указанных в НТД на испытываемое изделие.
А.7.2. В случае отсутствия в НТД климатических условий эксплуатации испытания проводятся по значениям показателей на аналогичные серийно выпускаемые изделия.
А.8. Представление данных испытаний
А.8.1. На каждого испытателя заводится формуляр (приложение 1), который содержит:
- данные об испытателе (Ф. И. О., возраст, степень тренированности);
- данные о СЗО;
- антропометрические и физиологические данные до и после испытания;
- данные о дыхательном аппарате;
- условия и место проведения испытаний;
- перечень выполненных работ;
- результаты опроса испытателей.
А.8.2. Результаты измерений антропометрических и физиологических показателей до и после испытаний сводятся в таблицы (приложение 4).
А.8.3. Результаты замеров температуры и теплового потока сводятся в таблицы, и составляются графики изменения данных величин во времени (приложение 5).
А.8.4. Представляются результаты фото- и видеосъёмки.
А.9. Оформление результатов испытаний
А.9.1. Полученные результаты испытаний представляются в протоколе испытаний в виде описания условий эксперимента, таблиц, графиков, формуляров, фотографий и выводов (приложение 6).
А.9.2. Протокол испытаний подписывается лицом, ответственным за проведение испытаний, утверждается руководством института и направляется для принятия решения в ГУГПС МВД России.
А.10. Требования безопасности и охраны окружающей среды
А.10.1. Все участники испытаний проходят общий инструктаж по правилам техники безопасности и расписываются в специальном журнале инструктажа по ТБ (приложение 2).
А.10.2. Ответственность за организацию работ по обеспечению ТБ при проведении испытаний несёт руководитель испытаний или лицо, назначенное приказом на проведение испытаний.
Перед началом испытаний он обязан:
- проинструктировать личный состав о порядке проведения испытаний и уточнить функции всех участников испытаний;
- установить единый сигнал оповещения людей об опасности;
- получить заключение врача и опросить участников испытания о состоянии здоровья;
- проверить исправность технологического и измерительного оборудования, а также средств пожаротушения и дыхательных аппаратов;
- определить совместно с испытателями и страховщиками пути выхода из опасной зоны.
А.10.3. Испытания СЗО пожарных по проверке эксплуатационных показателей должны проводиться на специально оборудованных и предназначенных для данных целей полигонах или приспособленных для этого местах при выполнении требований ТБ.
А.10.4. В качестве испытателей допускаются лица, имеющие практический опыт работы в условиях повышенных температур, со стажем работы в пожарной охране не менее трёх лет и допущенные по состоянию здоровья к работе в средствах индивидуальной защиты органов дыхания в соответствии с приказом МВД России от 2 октября 1995 г. № 370.
А.10.5. Для имитации пожара разрешается применять нетоксичные огнеопасные жидкости.
А.10.6. Не допускать растекания жидкости на путях движения личного состава.
А.10.7. Наполнение оборудования и лотков нефтепродуктами разрешается проводить только после их охлаждения.
A.10.8. Розжиг осуществлять с помощью факела длиной не менее 1 м.
А.10.9. Все измерительные приборы, датчики, соприкасающиеся с кожей человека, подвергаются мойке и дезинфекции спиртом после каждого применения.
А.10.10. Обслуживающий персонал и регистрирующая аппаратура должны находиться в безопасной зоне, защищенной специальным экраном.
А.10.11. Дыхательные аппараты дезинфицируются и проверяются согласно требованиям «Наставления по газодымозащитной службе в пожарной охране».
Контроль за расходом кислорода (воздуха) в дыхательном аппарате осуществляется в процессе испытания каждым испытателем индивидуально или ответственным за технику безопасности.
А.10.12. На каждого испытателя выделяется по два страховщика, экипированных в СЗО (боевая одежда или ТОК в зависимости от условий испытаний). Страховщики занимают возможно близкую к испытателю позицию (вне опасной зоны) и наблюдают за его работой. При необходимости безотлагательно приступают к эвакуации испытателя.
А.10.13. Для общей страховки, контроля за обстановкой и оказания экстренной помощи пострадавшим выставляется пост безопасности - пожарный автомобиль с боевым расчётом, экипированным в СЗО, рукавной линией на два ствола ГПС-600 в непосредственной близости от опасной зоны. Перед испытаниями пожарный автомобиль должен быть проверен на подачу пены.
Перечень ГОСТов, использованных при разработке методики:
- ГОСТ Р 1.2-92 Порядок разработки государственных стандартов.
- ГОСТ Р 1.5-92 Общие требования к построению, изложению, оформлению и содержанию стандартов.
- ГОСТ 12.4.176-89 ССБТ. Одежда специальная для защиты от теплового излучения. Требования к защитным свойствам и метод определения теплового состояния человека.
- ГОСТ 12.4.139-84 ССБТ. Костюм изолирующий автономный теплозащитный. Технические требования и методы испытаний.
- ГОСТ 15150-69 Машины, приборы и другие технические изделия.
- ГОСТ 20489-75 Материалы для одежды. Метод определения суммарного теплового сопротивления.
- ГОСТ 22977-78 Изделия швейные, детали. Термины и определения.
- ГОСТ 23619-79 Материалы и изделия огнеупорные теплоизоляционные стекловолокнистые.
- ГОСТ 18273-80 Ватины холстопрошивные шерстяные.
- ГОСТ 24103-80 Изделия швейные. Термины и определения дефектов.
- ГОСТ 26281-84 Материалы и изделия строительные теплоизоляционные. Правила приёмки.
- ГОСТ 28073-89 Методы определения разрывной нагрузки, удлинения ниточных швов, раздвигаемости нитей ткани в швах.
- ГОСТ 12.0.003 ССБТ. Опасные и вредные производственные факторы. Классификация.
- ГОСТ 12.2.047 ССБТ. Пожарная техника. Термины и определения.
- ГОСТ 12.2.037 ССБТ. Техника пожарная. Требования безопасности.
- ГОСТ 12.4.008 ССБТ. Средства индивидуальной защиты. Метод определения поля зрения.
- ГОСТ 12.4.011 ССБТ. Средства защиты работающих. Общие требования классификации.
- ГОСТ 12.4.082 ССБТ. Метод определения работоспособности человека в средствах индивидуальной защиты.
- ГОСТ 21964 Внешние воздействующие факторы. Классификация, номенклатура и характеристики.
- ГОСТ 25866 Эксплуатация техники. Термины и определения.
- ГОСТ 26883 Внешние воздействующие факторы. Термины и определения.
- ISO 6942-81 Одежда для защиты от воздействия тепли и пламени, методика оценки поведения материалов и выполненных на их основе композиций под воздействием теплового излучения.
- ISO 6941-84 Материалы текстильные. Ткани. Проведение при возгорании. Изменение свойств распространения пламени на вертикально расположенных образцах.
- ISO 2801-73 Одежда тепло- и огнезащитная. Общие рекомендации для потребителей.
«___» ____________ 200 г.
|
1. Данные о СЗО _________________________________________________________ ___________________________________________________________________________ ___________________________________________________________________________ ___________________________________________________________________________ 2. Данные о дыхательном аппарате __________________________________________ ___________________________________________________________________________ 3. Данные об испытателе: Ф. И. О. _________________________________________________________________ Возраст _________________________ Рост ___________________________________ Стаж работы в пожарной охране, лет ________________________________________ Степень тренированности при высоких температурах __________________________
4. Условия испытаний: Место испытаний ________________________________________________________ ___________________________________________________________________________ Температура воздуха, °С ___________________________________________________ Давление в дыхательном аппарате, атм: - до испытания ___________________________________________________________ - после испытания ________________________________________________________ 5. Запись наблюдений
6. Страховщики
7. Дополнительные данные: костюм ______________________________________________ к работе подготовлен дыхательный аппарат __________________________________ к работе подготовлен 8. Результаты внешнего осмотра СЗО после испытаний ___________________________________________________________________________ ___________________________________________________________________________ ___________________________________________________________________________ ___________________________________________________________________________ ___________________________________________________________________________ 9. Замечания испытателя по результатам работы в СЗО ___________________________________________________________________________ ___________________________________________________________________________ ___________________________________________________________________________ ___________________________________________________________________________ ___________________________________________________________________________ ___________________________________________________________________________ ___________________________________________________________________________ ___________________________________________________________________________ Испытатель ________________________________ ( ) С инструкцией по эксплуатации СЗО и правилами техники безопасности ознакомлен ________________________________ ( ) Заключение врача: По состоянию здоровья испытатель _____________ годен для проведения испытаний _________________________________ ( ) Ответственный за ТБ _____________________ ( ) Руководитель испытаний __________________ ( ) |
|
№ п/п |
Дата проведения испытаний |
Ф. И. О. лица, прошедшего инструктаж |
Подпись |
Ф. И. О. лица, проводившего инструктаж |
Подписи |
|
1 |
2 |
3 |
4 |
5 |
6 |
Вид спецодежды _______________________________________
ТУ ____________________ Заводской номер _____________
Условный размер _________________
|
№ п/п |
Дата проведения испытаний |
Условия испытаний |
Виды выполняемых работ |
Время работы в СЗО, мин |
Результаты визуального осмотра |
Примечания |
|
1 |
2 |
3 |
4 |
5 |
6 |
7 |
|
п/п |
Ф. И. О. испытателя |
Возраст, лет |
Стаж работы в ПО, лет |
Вес, кг |
Рост, м |
Степень тепловой выносливости |
Тип дыхательного аппарата |
Вид выполняемых работ |
Время работы мин, |
Температура тела, °С |
Частота пульса, уд/мин |
Артериальное давление, мм рт. ст. |
Влагопотери, кг |
|||
|
до |
после |
до |
после |
до |
после |
|||||||||||
|
1 |
2 |
3 |
4 |
5 |
6 |
7 |
8 |
9 |
10 |
11 |
12 |
13 |
14 |
15 |
16 |
17 |
|
№ п/п |
Время, мин |
Температура (замеряемая термопарами), °С |
Тепловой поток, кВт/м2 |
||||||||||
|
1 |
2 |
3 |
4 |
5 |
6 |
7 |
8 |
9 |
10 |
11 |
|||
Графики изменения температур газовоздушной смеси и в подкостюмном пространстве, а также теплового потока во времени

УТВЕРЖДАЮ
Начальник ФГУ ВНИИПО МВД России генерал-майор внутренней службы
Н.П. Копылов
«_____» __________________ 200 г.
|
Всероссийский научно-исследовательский институт противопожарной обороны МВД России провёл _________________________________________________________ ___________________________________________________________________________ (вид испытаний) ___________________________________________________________________________ ___________________________________________________________________________ (наименование и обозначение изделия) ___________________________________________________________________________ в соответствии с аттестованной Единой методикой огневых полигонных испытаний специальной защитной одежды пожарных по проверке эксплуатационных показателей в период с «___» ___________ по «___» __________ 200 г. В результате испытаний установлено следующее: Раздел 1. Характеристика испытываемого изделия _____________________________ ___________________________________________________________________________ Раздел 2. Условия и место испытаний _______________________________________ ___________________________________________________________________________ Раздел 3. Средства испытаний ______________________________________________ ___________________________________________________________________________ Раздел 4. Результаты испытаний ____________________________________________ ___________________________________________________________________________ Раздел 5. Выводы и предложения ___________________________________________ ___________________________________________________________________________ Подпись _________ _______________________________________________________ (должность и фамилия ответственного за проведение испытаний) |
Опыт №
|
Дата «__» ________ 200 г. Скорость ветра ____ м/с Влажность воздуха ___ % |
Время начала _____ ч ____ мин Время окончания ____ ч ___ мин Температура окружающей среды _________ °С |
СХЕМА ИСПЫТАНИЙ
|
Ф. И. О. испытателей |
Тип костюма |
РЕЗУЛЬТАТЫ
|
Время, мин |
Температура на вешках, °С |
Тепловой поток, кВт/м2 |
Примечания |
||||
|
1 |
2 |
3 |
4 |
1 |
2 |
||
СОДЕРЖАНИЕ