Alarms guarding surface vibration detectors for blocking of structures and safes. General technical requirements and test methods

ФЕДЕРАЛЬНОЕ АГЕНТСТВО
ПО ТЕХНИЧЕСКОМУ РЕГУЛИРОВАНИЮ И МЕТРОЛОГИИ

НАЦИОНАЛЬНЫЙ
СТАНДАРТ
РОССИЙСКОЙ
ФЕДЕРАЦИИ

ГОСТ Р
53702-2009

ИЗВЕЩАТЕЛИ ОХРАННЫЕ ПОВЕРХНОСТНЫЕ
ВИБРАЦИОННЫЕ ДЛЯ БЛОКИРОВКИ
СТРОИТЕЛЬНЫХ КОНСТРУКЦИЙ
ЗАКРЫТЫХ ПОМЕЩЕНИЙ И СЕЙФОВ

Общие технические требования и методы испытаний

Москва

Стандартинформ

2011

Предисловие

Цели и принципы стандартизации в Российской Федерации установлены Федеральным законом от 27 декабря 2002 г. № 184-ФЗ «О техническом регулировании», а правила применения национальных стандартов Российской Федерации - ГОСТ Р 1.0-2004 «Стандартизация в Российской Федерации. Основные положения»

Сведения о стандарте

1 РАЗРАБОТАН Федеральным государственным учреждением «Научно-исследовательский центр «Охрана» Министерства внутренних дел Российской Федерации» (ФГУ НИЦ «Охрана» МВД России)

2 ВНЕСЕН Техническим комитетом по стандартизации ТК 234 «Системы тревожной сигнализации и противокриминальной защиты»

3 УТВЕРЖДЕН И ВВЕДЕН В ДЕЙСТВИЕ Приказом Федерального агентства по техническому регулированию и метрологии от 15 декабря 2009 г. № 1138-ст

4 В настоящем стандарте реализованы нормы Федеральных законов: от 30.12.2009 г. № 384-ФЗ «Технический регламент о безопасности зданий и сооружений»; от 22.06.2008 г. № 123-Ф3 «Технический регламент о требованиях пожарной безопасности»; от 27.12.2009 г. № 347-Ф3 «Технический регламент о безопасности низковольтного оборудования»; от 26.06.2008 г. № 102-ФЗ «Об обеспечении единства измерений», а также Закона Российской Федерации от 07.02.1992 г. № 2300-1 «О защите прав потребителей»

5 ВВЕДЕН ВПЕРВЫЕ

Информация об изменениях к настоящему стандарту публикуется в ежегодно издаваемом информационном указателе «Национальные стандарты», а текст изменений и поправок - в ежемесячно издаваемых информационных указателях «Национальные стандарты». В случае пересмотра (замены) или отмены настоящего стандарта соответствующее уведомление будет опубликовано в ежемесячно издаваемом информационном указателе «Национальные стандарты». Соответствующая информация, уведомления и тексты размещаются также в информационной системе общего пользования на официальном сайте Федерального агентства по техническому регулированию и метрологии в сети Интернет

СОДЕРЖАНИЕ

1 Область применения. 3

2 Нормативные ссылки. 3

3 Термины и определения. 5

4 Технические требования. 7

4.1 Общие требования. 7

4.2 Функциональные требования. 7

4.3 Требования к электропитанию извещателей. 8

4.4 Требования устойчивости извещателей к воздействию внешних факторов. 8

4.5 Требования защиты от саботажа. 9

4.6 Требования к интерфейсу. 9

4.7 Требования к конструкции. 10

4.8 Требования к материалам и комплектующим изделиям.. 11

4.9 Требования электромагнитной совместимости. 11

4.10 Требования надежности. 11

4.11 Требования безопасности. 11

4.12 Требования к сопроводительным (эксплуатационным) документам.. 11

4.13 Требования к комплектности извещателей. 12

4.14 Требования к маркировке, упаковке, транспортированию и хранению.. 12

5 Методы испытаний. 13

5.1 Общие положения. 13

5.2 Функциональные испытания. 14

5.3 Испытания на соответствие требованиям к электропитанию.. 18

5.4 Испытания на устойчивость к воздействию внешних факторов. 18

5.5 Проверка соответствия требованиям защиты от саботажа. 21

5.6 Проверка параметров интерфейса. 21

5.7 Испытания на соответствие требованиям к конструкции. 21

5.8 Контроль материалов и комплектующих изделий. 22

5.9 Испытания на электромагнитную совместимость. 22

5.10 Испытания на надежность. 22

5.11 Испытания на безопасность. 22

5.12 Проверка сопроводительных документов. 23

5.13 Проверка комплектности извещателей. 23

5.14 Проверка выполнения требований к маркировке, упаковке, транспортированию и хранению.. 23

Приложение А (рекомендуемое) Соотношение между логарифмическими уровнями ускорения (вибрации) в децибелах и его значениями в метрах в секунду в квадрате. 23

Библиография. 24

НАЦИОНАЛЬНЫЙ СТАНДАРТ РОССИЙСКОЙ ФЕДЕРАЦИИ

ИЗВЕЩАТЕЛИ ОХРАННЫЕ ПОВЕРХНОСТНЫЕ ВИБРАЦИОННЫЕ
ДЛЯ БЛОКИРОВКИ СТРОИТЕЛЬНЫХ КОНСТРУКЦИЙ
ЗАКРЫТЫХ ПОМЕЩЕНИЙ И СЕЙФОВ

Общие технические требования и методы испытаний

Alarms guarding surface vibration detectors for blocking of structures and safes.
General technical requirements and test methods

Дата введения - 2010-09-01

1 Область применения

Настоящий стандарт распространяется на вновь разрабатываемые и модернизируемые охранные поверхностные вибрационные извещатели (далее - извещатели), устанавливаемые в помещениях и предназначенные для работы в системах тревожной сигнализации по ГОСТ Р 50775 с целью обнаружения разрушающих воздействий на строительные конструкции и сейфы при попытке нарушителя проникнуть в помещение через строительную конструкцию или взломать сейф.

Настоящий стандарт должен применяться совместно с ГОСТ Р 50775 и ГОСТ Р 52435.

Стандарт не распространяется на извещатели специального назначения.

2 Нормативные ссылки

В настоящем стандарте использованы нормативные ссылки на следующие стандарты:

ГОСТ Р 8.568-97 Государственная система обеспечения единства измерений. Аттестация испытательного оборудования. Основные положения

ГОСТ Р ИСО 7619-2-2009 Резина вулканизованная или термопластичная. Определение твердости при вдавливании. Часть 2. Метод измерения с применением карманного твердомера IRHD

ГОСТ Р ИСО/ТО 8550-1-2007 Статистические методы. Руководство по выбору и применению систем статистического приемочного контроля дискретных единиц продукции в партиях. Часть 1. Общие требования

ГОСТ Р ИСО 9001-2008 Системы менеджмента качества. Требования

ГОСТ Р ИСО 10012-2008 Менеджмент организации. Системы менеджмента измерений. Требования к процессам измерений и измерительному оборудованию

ГОСТ Р ИСО/ТС 10811-1-2007 Вибрация и удар. Вибрация в помещениях с установленным оборудованием. Часть 1. Измерения и оценка

ГОСТ Р ИСО/ТС 10811-2-2007 Вибрация и удар. Вибрация в помещениях с установленным оборудованием. Часть 2. Классификация

ГОСТ Р ИСО 16063-1-2009 Вибрация. Методы калибровки датчиков вибрации и удара. Часть 1. Основные положения

ГОСТ Р ИСО/МЭК 17025-2006 Общие требования к компетентности испытательных и калибровочных лабораторий

ГОСТ Р ИСО 22742-2006 Автоматическая идентификация. Кодирование штриховое. Символы линейного штрихового кода и двумерные символы на упаковке продукции

ГОСТ Р 50009-2000 Совместимость технических средств электромагнитная. Технические средства охранной сигнализации. Требования и методы испытаний

ГОСТ Р 50775-95 (МЭК 60839-1-1:1988) Системы тревожной сигнализации. Часть 1. Общие требования. Раздел 1. Общие положения

ГОСТ Р 50862-2005 Сейфы, сейфовые комнаты и хранилища. Требования и методы испытаний на устойчивость к взлому и огнестойкость

ГОСТ Р 51242-98 Конструкции защитные механические и электромеханические для дверных и оконных проемов. Требования и методы испытаний на устойчивость к разрушающим воздействиям

ГОСТ Р 52161.1-2004 (МЭК 60335-1:2001) Безопасность бытовых и аналогичных электрических приборов. Часть 1. Общие требования

ГОСТ Р 52435-2005 Технические средства охранной сигнализации. Классификация. Общие технические требования и методы испытаний

ГОСТ Р 52437-2005 Средства защитные банковские. Депозитные и индивидуальные сейфы. Общие технические условия

ГОСТ Р 52551-2006 Системы охраны и безопасности. Термины и определения

ГОСТ Р 52892-2007 Вибрация и удар. Вибрация зданий. Измерение вибрации и оценка ее воздействия на конструкцию

ГОСТ Р 52931-2008 Приборы контроля и регулирования технологических процессов. Общие технические условия

ГОСТ Р 53188.1-2008 (МЭК 61672-1:2002) Шумомеры. Часть 1. Технические требования

ГОСТ Р 53228-2008 Весы неавтоматического действия. Часть 1. Метрологические и технические требования. Испытания

ГОСТ Р МЭК 60065-2005 Аудио-, видео- и аналогичная электронная аппаратура. Требования безопасности

ГОСТ Р МЭК 60068-2-1-2009* Испытания на воздействие внешних факторов. Часть 2-1. Испытания. Испытание А: Холод

ГОСТ Р МЭК 60068-2-2-2009* Испытания на воздействие внешних факторов. Часть 2-2. Испытания. Испытание В: Сухое тепло

_____________

* Действует с 01.01.2011 г.

ГОСТ 2.053-2006 Единая система конструкторской документации. Эксплуатационные документы. Общие положения

ГОСТ 2.601-2006 Единая система конструкторской документации. Эксплуатационные документы

ГОСТ 2.610-2006 Единая система конструкторской документации. Правила выполнения эксплуатационных документов

ГОСТ 9.014-78 Единая система защиты от коррозии и старения. Временная противокоррозионная защита изделий. Общие требования

ГОСТ 12.1.003-83 Система стандартов безопасности труда. Шум. Общие требования безопасности

ГОСТ 12.1.050-86 Система стандартов безопасности труда. Методы измерения шума на рабочих местах

ГОСТ 15.309-98 Системы разработки и постановки продукции на производство. Испытания и приемка выпускаемой продукции. Основные положения

ГОСТ 166-89 (ИСО 5399:1976) Штангенциркули. Технические условия

ГОСТ 4784-97 Алюминий и сплавы алюминиевые деформируемые. Марки

ГОСТ ИСО 5348-2002 Вибрация и удар. Механическое крепление акселерометров

ГОСТ 7502-98 Рулетки измерительные металлические. Технические условия

ГОСТ ИСО 8041-2006 (ИСО 8041:2005) Вибрация. Воздействие вибрации на человека. Средства измерений

ГОСТ 14192-96 Маркировка грузов

ГОСТ 14254-96 (МЭК 60529:2001) Степени защиты, обеспечиваемые оболочками (код IP)

ГОСТ 17168-82 Фильтры электронные октавные и третьоктавные. Общие технические требования и методы испытаний (МЭК 61260:1995, NEQ)

ГОСТ 23170-78 Упаковка для изделий машиностроения. Общие требования

ГОСТ 24297-87 Входной контроль продукции. Основные положения

ГОСТ 26828-86 Изделия машиностроения и приборостроения. Маркировка

ГОСТ 28198-89 (МЭК 60068-1:1994) Основные методы испытаний на воздействие внешних факторов. Часть 1. Общие положения и руководство

ГОСТ 28199-89 (МЭК 68-2-1-74)* Основные методы испытаний на воздействие внешних факторов. Часть 2. Испытания. Испытание А: Холод

ГОСТ 28200-89 (МЭК 68-2-2-74)* Основные методы испытаний на воздействие внешних факторов. Часть 2. Испытания. Испытания В: Сухое тепло

_____________

* Действует до 01.01.2011 г.

ГОСТ 28203-89 (МЭК 60068-2-6-82) Основные методы испытаний на воздействие внешних факторов. Часть 2. Испытания. Испытание Fc и руководство: Вибрация (синусоидальная)

ГОСТ 28594-90 Аппаратура радиоэлектронная бытовая. Упаковка, маркировка, транспортирование и хранение

ГОСТ 30109-94 Двери деревянные. Методы испытаний на сопротивление взлому

ГОСТ 30296-95 Аппаратура общего назначения для определения основных параметров вибрационных процессов. Общие технические требования

Примечание - При пользовании настоящим стандартом целесообразно проверить действие ссылочных стандартов и классификаторов в информационной системе общего пользования - на официальном сайте Федерального агентства по техническому регулированию и метрологии в сети Интернет по адресу http://gost.ru или по ежегодно издаваемому информационному указателю «Национальные стандарты», который опубликован по состоянию на 1 января текущего года, и по соответствующим ежемесячно издаваемым информационным указателям, опубликованным в текущем году. Если ссылочный стандарт заменен (изменен), то при пользовании настоящим стандартом следует руководствоваться заменяющим (измененным) стандартом. Если ссылочный стандарт отменен без замены, то положение, в котором дана ссылка на него, применяется в части, не затрагивающей эту ссылку.

3 Термины и определения

В настоящем стандарте применены термины по [1], ГОСТ ИСО 8041, ГОСТ Р 50775, ГОСТ Р 52435, ГОСТ Р 52551, а также следующие термины с соответствующими определениями:

3.1 охраняемая конструкция: Обладающая регламентированными защитными свойствами строительная (инженерная) конструкция или ее часть, наиболее уязвимая для разрушающего воздействия, являющаяся объектом охраны.

3.2 регламентированное защитное свойство: Необходимый класс защиты (устойчивости), установленный в нормативном документе** на конкретный вид охраняемой конструкции в зависимости от ее функционального назначения.

_____________

** Например, в ГОСТ Р 50862, ГОСТ Р 51242, [2], [3].

Примечание - Конкретные виды охраняемых конструкций и их регламентированные защитные свойства указывают в технических условиях (ТУ) и сопроводительных документах на извещатели конкретных типов.

3.3 охраняемая зона: Часть поверхности или вся поверхность охраняемой конструкции, при разрушающем воздействии на которую извещатель формирует извещение о тревоге.

3.4 регламентированное средство воздействия: Физическое средство нанесения разрушающего воздействия на охраняемую конструкцию, используемое для контроля соответствия извещателей требованиям настоящего стандарта.

Примечание - В качестве регламентированных средств воздействия, как правило, используют инструменты по ГОСТ Р 50862. Конкретные виды и категории инструментов устанавливают в ТУ на извещатели конкретных типов.

3.5 разрушающее воздействие: Прямое воздействие (механическое, термическое, комбинированное) на охраняемую конструкцию, нарушающее ее защитные свойства и (или) создающее угрозу нарушения механической безопасности.

3.6 извещатель охранный поверхностный вибрационный: Извещатель с чувствительным элементом, устанавливаемым на поверхности охраняемой конструкции, формирующий извещение о тревоге при возникновении вибрации, вызванной разрушающим воздействием на охраняемую конструкцию.

3.7 извещатель одноблочный (однозонный): Извещатель, состоящий из чувствительного элемента и процессора, расположенных в одном корпусе, контролирующий одну охраняемую зону.

3.8 извещатель многоблочный (многозонный): Извещатель, состоящий из процессорного блока и выполненных в отдельных корпусах датчиков вибрации, соединенных с процессорным блоком электрическими линиями, контролирующий несколько охраняемых зон, число которых соответствует числу датчиков вибрации.

3.9 чувствительный элемент: Составная часть одноблочного извещателя или датчика вибрации многоблочного извещателя, осуществляющая преобразование механических колебаний (вибраций) охраняемой конструкции в переменный электрический сигнал.

3.10 датчик вибрации: Составная, конструктивно законченная часть (отдельный блок) многоблочного извещателя, осуществляющая предварительную обработку и передачу сигналов с чувствительного элемента на процессорный блок.

3.11 процессорный блок: Составная, конструктивно законченная часть (отдельный блок) многоблочного извещателя, включающая в себя процессор, осуществляющая прием, обработку и анализ сигналов, поступающих с датчиков вибрации, контролирующая электрические соединения с датчиками вибрации, формирующая извещения и индикацию, обеспечивающая управление режимами работы извещателя.

3.12 чувствительность извещателя: Значение амплитуды вибрации охраняемой зоны, при превышении которой извещатель должен формировать извещение о тревоге.

3.13 рабочая частота извещателя: Частота (частоты) вибрации охраняемой зоны, селектируемая извещателем для распознавания разрушающего воздействия.

3.14 дальность действия извещателя: Расстояние от извещателя до наиболее удаленной точки на границе охраняемой зоны.

3.15 максимальная дальность действия извещателя: Дальность действия извещателя, отрегулированного на максимальную чувствительность.

3.16 охраняемая площадь: Геометрическое значение площади охраняемой зоны, определяемое математическими методами исходя из установленного значения дальности действия извещателя.

3.17 максимальная охраняемая площадь: Охраняемая площадь, определяемая исходя из максимальной дальности действия извещателя.

3.18 рабочее положение извещателя (датчика вибрации): Положение извещателя (датчика вибрации) на охраняемой конструкции, обеспечивающее его работоспособное состояние и использование по назначению.

3.19 крепежное устройство: Отдельное устройство (изделие), предназначенное для механического соединения извещателя (датчика вибрации) с поверхностью охраняемой конструкции при его установке в рабочее положение.

3.20 тестовое воздействие: Воздействие на извещатель синусоидальной вибрации, значения параметров которой соответствуют требованиям, установленным в ТУ на извещатели конкретных типов, создаваемое косвенными методами с целью имитации разрушающего воздействия, распознаваемого извещателем, или вибрационной помехи.

3.21 генератор тестовых сигналов: Устройство, генерирующее электрические сигналы, обеспечивающие формирование тестовых воздействий с помощью вибростенда.

3.22 вибростенд: Устройство, предназначенное для формирования тестовых воздействий.

3.23 селективный вольтметр: Вольтметр, способный выделять отдельные гармонические составляющие сигнала сложной формы и определять среднеквадратическое значение их напряжения на рабочей частоте (частотах) извещателей.

4 Технические требования

4.1 Общие требования

4.1.1 Извещатели должны изготавливаться в соответствии с требованиями ГОСТ Р 52435, ГОСТ Р 50775, настоящего стандарта и ТУ на извещатели конкретных типов.

4.1.2 Общие требования к обеспечению качества извещателей - по ГОСТ Р ИСО 9001.

4.2 Функциональные требования

4.2.1 Рабочая частота

4.2.1.1 Рабочая частота (частоты) извещателей должна(ы) отвечать критериями обеспечения чувствительности, помехоустойчивости и метрологической совместимости извещателей со средствами измерений параметров вибрации.

4.2.1.2 Для обеспечения чувствительности извещателей их рабочая частота (частоты) должна(ы) соответствовать частоте доминирующей составляющей спектра сигнала вибрации охраняемой конструкции при разрушающем воздействии на нее (см. ГОСТ Р 52892, раздел 6).

4.2.1.3 Для обеспечения помехоустойчивости извещателей их рабочая частота (частоты) должна(ы) быть вне диапазона частот вибрации зданий (сооружений) от неразрушающих воздействий естественных, техногенных и (или) антропогенных факторов случайного характера (см. ГОСТ Р ИСО/ТС 10811-2, ГОСТ Р 52892).

4.2.1.4 Для обеспечения требований 4.2.1.2 - 4.2.1.3 с учетом метрологической совместимости извещателей со средствами измерений параметров вибрации по ГОСТ ИСО 8041, ГОСТ Р 53188.1, ГОСТ 30296 рабочую частоту (частоты) извещателей рекомендуется выбрать из ряда среднегеометрических частот полос пропускания фильтров по ГОСТ 17168 в диапазоне частот от 2000 до 16000 Гц.

4.2.1.5 Конкретное значение рабочей частоты (частот) извещателей и допускаемые отклонения от него должны быть установлены в ТУ на извещатели конкретных типов.

4.2.2 Чувствительность

Извещатели должны обладать чувствительностью, достаточной для распознавания в границах охраняемой зоны разрушающих воздействий на охраняемую конструкцию.

Примечание - Конкретные виды разрушающих воздействий и минимальные значения их длительности, распознаваемые извещателями, должны быть установлены в ТУ на извещатели конкретных типов.

За единицу чувствительности извещателей, как правило, принимают единицу амплитуды ускорения (вибрации), аа, м/с2, или логарифмический уровень ускорения, La, дБ, определяемый по формуле

                                                        (1)

где аа - амплитуда ускорения, распознаваемая извещателями, м/с2;

а0 - опорное значение ускорения, равное 10-6 м/с2.

Соотношение между логарифмическими уровнями ускорения в децибелах и его значениями в метрах в секунду в квадрате приведено в приложении А.

Конкретное значение чувствительности извещателей и допускаемые отклонения от него должны быть установлены в ТУ на извещатели конкретных типов.

4.2.3 Дальность действия

Максимальную дальность действия извещателей, измеряемую по поверхности охраняемой конструкции, рекомендуется выбирать из ряда 1,0; 1,2; 1,4; 1,6; 1,8; 2,0; 2,4; 3,0 м, в зависимости от вида, структуры и материала охраняемой конструкции, ее регламентированных защитных свойств, с учетом особенностей распространения (затухания) сигналов вибрации от места несения разрушающего воздействия до места размещения чувствительного элемента извещателей.

Конкретное значение максимальной дальности действия извещателей и допускаемые отклонения от него должны быть установлены в ТУ на извещатели конкретных типов. Для различных видов охраняемых конструкций допускается устанавливать различные значения максимальной дальности действия извещателей.

4.2.4 Охраняемая площадь

На сплошной однотипной конструкции охраняемая площадь равна площади круга с центром в точке размещения чувствительного элемента извещателя и радиусом, соответствующим дальности действия, установленной в 4.2.3 для конкретного вида охраняемой конструкции.

Максимальное значение охраняемой площади и конфигурацию охраняемой зоны для конкретного вида охраняемой конструкции устанавливают в ТУ на извещатели конкретных типов.

4.2.5 Время технической готовности

Время технической готовности извещателей - по ГОСТ Р 52435.

4.2.6 Длительность извещения о тревоге

Длительность извещения о тревоге - по ГОСТ Р 52435.

4.2.7 Восстановление нормального состояния извещателей

После выдачи извещения о тревоге и при отсутствии разрушающих воздействий на охраняемую конструкцию извещатели должны восстановить свое нормальное состояние (вернуться в дежурный режим) за время не более 10 с.

4.2.8 Помехоустойчивость при механическом ударе по охраняемой конструкции

Извещатели должны оставаться в нормальном состоянии (не выдавать извещение о тревоге) при механическом ударе по охраняемой конструкции энергией (1,9 ± 0,1) Дж со скоростью (3,12 ± 0,12) м/с на расстоянии (0,25 ± 0,05) м от точки размещения чувствительного элемента извещателей.

4.2.9 Помехоустойчивость при вибрационной помехе

Извещатели должны сохранять нормальное состояние (не выдавать извещение о тревоге) при вибрационной помехе, возникающей при вибрации здания (сооружения) от случайных неразрушающих воздействий естественных, техногенных и (или) антропогенных факторов.

Конкретные значения параметров вибрационной помехи (частота, уровень, длительность) должны соответствовать ГОСТ Р ИСО/ТС 10811-2, ГОСТ Р 52892 и быть установлены в ТУ на извещатели конкретных типов.

4.3 Требования к электропитанию извещателей

4.3.1 Требования к электропитанию извещателей - по ГОСТ Р 52435 и настоящему стандарту.

4.3.2 Конкретные значения параметров электропитания извещателей, в том числе требования к потребляемому току и (или) потребляемой мощности, в зависимости от вида электропитания извещателей по ГОСТ Р 52435, должны быть установлены в ТУ на извещатели конкретных типов.

4.3.3 Для извещателей с электропитанием от автономных источников (батарей гальванических элементов) в ТУ на извещатели конкретных типов должны быть указаны конкретные виды (типы) автономных источников электропитания со ссылками на соответствующие стандарты или ТУ, а также время работы извещателей (в нормальном состоянии) от таких источников.

4.3.4 При снижении напряжения электропитания до предельного значения, установленного в ТУ на извещатели конкретных типов, извещатели должны формировать извещение о неисправности.

4.4 Требования устойчивости извещателей к воздействию внешних факторов

4.4.1 Сухое тепло

Извещатели должны сохранять работоспособное состояние при температуре окружающей среды до 50 °С.

4.4.2 Холод

Извещатели должны сохранять работоспособное состояние при температуре окружающей среды до минус 30 °С.

4.4.3 Повышенная влажность

Извещатели должны сохранять работоспособное состояние в условиях повышенной до 90 % относительной влажности воздуха при температуре 25 °С.

Примечание - В ТУ на извещатели конкретных типов допускается устанавливать более широкий диапазон температур окружающей среды, чем установленные в 4.4.1 и 4.4.2, а также превышающие установленные в 4.4.3 значения относительной влажности воздуха и (или) температуры окружающей среды.

4.4.4 Синусоидальная вибрация

Извещатели должны сохранять работоспособное состояние после воздействия синусоидальной вибрации в диапазоне частот от 10 до 55 Гц при амплитуде ускорения 4,9 м/с2 (0,5g).

4.4.5 Импульсный механический удар

Извещатели должны сохранять работоспособное состояние после нанесения по корпусам их отдельных блоков импульсного механического удара массой (1,7 ± 0,2) кг энергией (1,9 ± 0,1) Дж.

4.4.6 Транспортирование

Извещатели в упаковке должны выдерживать при транспортировании:

- транспортную тряску с ускорением 30 м/с2 при частоте от 10 до 120 ударов в минуту или 15000 ударов с тем же ускорением;

- температуру окружающей среды от минус 50 °С до плюс 50 °С;

- относительную влажность воздуха (95 ± 3) % при температуре 35 °С.

4.5 Требования защиты от саботажа

4.5.1 Защита от вскрытия

Защита от вскрытия - по ГОСТ Р 52435.

Примечание - В многоблочных извещателях должна быть обеспечена защита от вскрытия всех отдельных блоков (процессорного блока и датчиков вибрации).

4.5.2 Контроль рабочего положения

Извещатели должны быть оснащены встроенным устройством контроля их рабочего положения, обеспечивающим формирование извещения о неисправности при нарушении механического контакта извещателей (датчиков вибрации) с поверхностью охраняемой конструкции (несанкционированном снятии или повреждении в процессе эксплуатации).

4.5.3 Требования к соединительным линиям

Электрические линии, соединяющие датчики вибрации с процессорным блоком, являются частью многоблочного извещателя. При любом нарушении этих линий (обрыве, коротком замыкании), препятствующем прохождению сигнала, извещатели должны выдавать извещение о неисправности.

4.6 Требования к интерфейсу

4.6.1 Требования к интерфейсу извещателей - по ГОСТ Р 52435, настоящему стандарту и ТУ на извещатели конкретных типов.

4.6.2 Электрическое сопротивление коммутационных устройств (элементов), установленных на выходе извещателей для формирования извещений, должно быть не более 50 Ом при токе (30 ± 1) мА в нормальном состоянии извещателей и не менее 200 кОм при напряжении (72 ± 2) В во время формирования извещений о тревоге или неисправности.

4.6.3 Для извещателей с электропитанием от шлейфа охранной сигнализации или автономных источников электропитания, а также для беспроводных и адресных извещателей требования к интерфейсу устанавливают в ТУ на извещатели конкретных типов.

4.7 Требования к конструкции

4.7.1 Требования к конструкции извещателей - по ГОСТ Р 52435 (5.2.8), настоящему стандарту, ТУ и конструкторским документам на извещатели конкретных типов.

4.7.2 Оболочка извещателей должна обеспечивать:

- защиту людей, животных и растений от прикосновения к токоведущим частям, находящимся внутри оболочки;

- защиту чувствительных и других элементов извещателей, находящихся внутри оболочки, от случайного или умышленного повреждения;

- защиту извещателей от проникновения в них твердых инородных тел, например песка, пыли, сыпучих отделочных материалов с поверхности охраняемой конструкции, живых организмов, которые могут привести к нарушению работоспособности извещателей;

- защиту извещателей от вредных воздействий проникающей в них воды;

- пожарозащищенность по [4] (статья 22).

Для выполнения указанных требований степень защиты оболочки извещателей должна быть не ниже IР41 по ГОСТ 14254.

4.7.3 Конструкция извещателей должна обеспечивать их надежное механическое крепление к поверхности охраняемой конструкции в рабочем положении с соблюдением требований ГОСТ ИСО 5348 и устойчивое функционирование в течение срока службы извещателей.

Для обеспечения указанных требований конструкцией извещателей должны быть предусмотрены крепежные устройства (система крепления), соответствующие видам охраняемых конструкций, указанным в ТУ на извещатели конкретных типов.

Конструкция крепежных устройств должна обеспечивать плотное механическое соединение извещателей (датчиков вибрации) с поверхностью охраняемой конструкции, долговременную фиксацию извещателей в рабочем положении и эффективную передачу вибрации на чувствительный элемент с минимальными искажениями.

4.7.4 Конструкцией извещателей может быть предусмотрена возможность регулирования их чувствительности, а в многоблочных извещателях - независимое регулирование чувствительности каждого датчика вибрации. В беспроводных и адресных извещателях может быть предусмотрено дистанционное регулирование чувствительности при установке извещателей на охраняемом объекте.

При возможности указанного регулирования отношение значений максимальной и минимальной чувствительности или их разность (если чувствительность указана в логарифмических единицах) устанавливают в ТУ на извещатели конкретных типов.

4.7.5 Конструкцией извещателей должна быть предусмотрена индикация формируемых извещений (о тревоге, неисправности), рабочих режимов (настройки, тестирования) и регулировок, осуществляемых на охраняемом объекте.

С целью исключения возможности распознавания нарушителем информации о состоянии извещателей по их индикации конструкцией извещателей должен быть предусмотрен режим работы с полным или частичным отключением (маскированием) индикации.

Число индикаторов и режимы их работы устанавливают в ТУ на извещатели конкретных типов.

Предпочтительными являются следующие цвета индикации:

- красный - для индикации формируемых извещений;

- желтый - для индикации режимов работы;

- зеленый - для индикации распознаваемых воздействий.

4.7.6 В многоблочных извещателях должно быть обеспечено хранение в энергонезависимой памяти числа датчиков вибрации, подключенных к процессорному блоку. При изменении этого числа извещатель должен формировать извещение о неисправности.

4.7.7 Конструкция многоблочных извещателей должна обеспечивать возможность взаимозаменяемости отдельных блоков одного типа.

4.7.8 В целях обеспечения требований 4.2.2, 4.7.5, 4.7.6 в ТУ на многоблочные извещатели конкретных типов должны быть установлены дополнительные требования к конструкции, электромеханическим и электрическим параметрам датчиков вибрации и процессорного блока, а также параметрам их интерфейса.

4.7.9 Размеры и масса извещателей вместе с крепежными устройствами должны определяться изготовителем исходя из области применения извещателей (видов и характеристик охраняемых конструкций) с учетом рекомендуемых минимальных характеристик датчиков вибрации по ГОСТ ИСО 8041 (для измерений общей вибрации внутри помещений).

Максимальные значения размеров и массы извещателей вместе с крепежными устройствами должны быть установлены в ТУ на извещатели конкретных типов.

4.8 Требования к материалам и комплектующим изделиям

4.8.1 Материалы (вещества) и комплектующие (покупные) изделия, применяемые для изготовления извещателей, в том числе крепежные и кабельные изделия, должны:

- соответствовать требованиям безопасности (см. [5], статья 7);

- иметь срок службы, превышающий средний срок службы извещателей по ГОСТ Р 52435 с учетом срока хранения;

- соответствовать условиям эксплуатации извещателей (см. 4.4), установленным в ТУ на извещатели конкретных типов;

- иметь документы, подтверждающие качество продукции, срок службы и безопасность.

4.8.2 Порядок проведения входного контроля материалов и комплектующих изделий, применяемых для изготовления извещателей, должен соответствовать требованиям ГОСТ 24297 и быть установлен в ТУ на извещатели конкретных типов.

4.9 Требования электромагнитной совместимости

Требования электромагнитной совместимости - по ГОСТ Р 52435.

4.10 Требования надежности

4.10.1 Требования надежности извещателей - по ГОСТ Р 52435.

4.10.2 Конкретные требования надежности извещателей, в том числе критерии выявления отказа извещателей (отдельных блоков) в процессе их эксплуатации и порядок проведения периодических проверок работоспособности извещателей (тестирования) на охраняемом объекте, должны быть установлены в ТУ и эксплуатационных документах на извещатели конкретных типов.

4.11 Требования безопасности

4.11.1 Требования безопасности - по [6], ГОСТ Р 52435 (раздел 6) и настоящему стандарту.

4.11.2 Класс извещателей по способу защиты человека от поражения электрическим током должен соответствовать ГОСТ Р 52161.1 и быть установлен в ТУ на извещатели конкретных типов в зависимости от вида их электропитания по ГОСТ Р 52435.

4.11.3 Требования к электрической прочности и сопротивлению изоляции электрических цепей извещателей должны быть установлены в ТУ на извещатели конкретных типов по ГОСТ Р 52931 в зависимости от вида электропитания извещателей по ГОСТ Р 52435.

4.11.4 Конструкция извещателей должна соответствовать требованиям пожарной безопасности по ГОСТ Р МЭК 60065 в аварийном режиме работы и при нарушении правил эксплуатации.

4.12 Требования к сопроводительным (эксплуатационным) документам

4.12.1 Сопроводительные (эксплуатационные) документы на извещатели должны соответствовать требованиям [5] (статья 10), [6] (статья 7), ГОСТ 2.601, ГОСТ 2.610, ГОСТ 2.053 (для электронной формы документов), настоящего стандарта и ТУ на извещатели конкретных типов.

4.12.2 В сопроводительных (эксплуатационных) документах на извещатели должны быть приведены:

- виды охраняемых конструкций и их регламентированные защитные свойства, необходимые для эффективного выполнения извещателями функционального назначения, в том числе по ГОСТ Р 52435 (5.1.2) и ГОСТ Р 52437 (5.5.4);

- данные о числе охраняемых зон;

- способы установки извещателей на охраняемых конструкциях и варианты размещения их на охраняемом объекте;

- описание крепежных устройств;

- схемы подключения извещателей для эксплуатации;

- виды (типы) электрических кабелей, применяемых для соединения отдельных блоков извещателей, с указанием максимальной допускаемой длины этих кабелей;

- рекомендации по обеспечению устойчивого и безопасного функционирования извещателей на охраняемом объекте и их техническому обслуживанию по [7], [8].

4.13 Требования к комплектности извещателей

4.13.1 Извещатели должны поставляться потребителям в комплекте с крепежными устройствами и сопроводительными (нормативными) документами.

4.13.2 По отдельному заказу извещатели могут поставляться в комплекте с источником электропитания и кабелями для соединения отдельных блоков извещателей (датчиков вибрации с процессорным блоком).

4.13.3 Дополнительные требования к комплектности извещателей устанавливают в ТУ на извещатели конкретных типов.

4.14 Требования к маркировке, упаковке, транспортированию и хранению

4.14.1 Общие требования к маркировке, упаковке, транспортированию и хранению извещателей - по ГОСТ 28594.

4.14.2 Маркировку извещателей выполняют в соответствии с требованиями [6] (статья 6), ГОСТ Р 50775, ГОСТ 26828, настоящего стандарта и ТУ на извещатели конкретных типов.

4.14.3 Маркировку наносят на несъемные части извещателей (отдельных блоков) в доступном для обозрения месте, как правило, на основную часть корпуса, в которой размещены чувствительный элемент и (или) печатная плата с элементами электрической схемы извещателей.

4.14.4 Маркировка извещателей должна быть разборчивой, легко читаемой, сохраняться в течение установленного срока службы извещателей и содержать следующую информацию:

- наименование (тип, модификация) извещателя (отдельного блока);

- фирменное наименование и (или) коммерческое обозначение (при его наличии) предприятия-изготовителя (поставщика);

- заводской номер извещателя (отдельного блока) или номер партии;

- дату изготовления;

- код IP по ГОСТ 14254.

Извещатели с электропитанием от сети переменного тока должны иметь маркировку по ГОСТ Р 52161.1.

4.14.5 На потребительской таре извещателей должна быть нанесена следующая информация:

- наименование (тип, модификация) извещателя и его условное обозначение, зарегистрированное в установленном порядке;

- фирменное наименование и коммерческое обозначение (при его наличии) предприятия-изготовителя (поставщика), его почтовый адрес и номер телефона (факса), а также адрес электронной почты и (или) официального сайта в сети Интернет (при их наличии);

- номинальное значение напряжения электропитания или диапазон напряжения;

- условное обозначение рода электрического тока или номинальная частота переменного тока.

В дополнение к указанным сведениям на потребительскую тару извещателей может быть нанесена следующая информация:

- область применения;

- основные потребительские свойства (функциональные характеристики);

- графическое изображение внешнего вида;

- товарный знак и знак охраны товарного знака (при наличии свидетельства о государственной регистрации);

- знак обращения на рынке, знак соответствия, знак регистра систем качества, другие средства идентификации (при наличии подтверждающих документов).

4.14.6 Требования к маркировке транспортной тары (комбинированной упаковки) - по ГОСТ 14192.

4.14.7 В целях обеспечения автоматической идентификации извещателей на этапах их производства, упаковывания, хранения, транспортирования, реализации и гарантийного обслуживания на потребительскую и (или) транспортную тару извещателей рекомендуется наносить штриховой код по ГОСТ Р ИСО 22742.

4.15 Упаковка извещателей - по ГОСТ 23170, консервация (при необходимости) - по ГОСТ 9.014.

4.16 Упакованные извещатели допускается транспортировать любым видом транспорта в соответствии с правилами перевозки грузов, действующими на транспорте конкретного вида.

4.17 Требования к транспортированию и хранению извещателей должны быть установлены в ТУ на извещатели конкретных типов.

5 Методы испытаний

5.1 Общие положения

5.1.1 Общие положения для проведения испытаний извещателей - по [9], ГОСТ 15.309, ГОСТ Р 52435, настоящему стандарту и ТУ на извещатели конкретных типов.

5.1.2 Последовательность, периодичность и порядок проведения испытаний устанавливают в ТУ на извещатели конкретных типов в соответствии с методами испытаний, изложенными в настоящем стандарте, с необходимыми уточнениями и дополнениями.

5.1.3 Отбор образцов извещателей для проведения отдельных видов испытаний, установленных в ТУ на извещатели конкретных типов, проводят по одной из схем, приведенных в ГОСТ Р ИСО/ТО 8550-1.

5.1.4 Требования к помещениям для проведения испытаний извещателей - по ГОСТ Р ИСО/МЭК 17025 и настоящему стандарту.

5.1.5 Помещения, в которых проводят испытания извещателей, должны иметь размеры, позволяющие проводить измерения максимальных значений дальности действия извещателей и их зоны обнаружения.

5.1.6 Помещения, в которых проводят испытания извещателей, должны соответствовать нормам шума по ГОСТ 12.1.003 для 2-й категории рабочих мест (лабораторий для проведения измерительных и аналитических работ), а также санитарным нормам вибрации рабочих мест (см. [10], таблица 8).

Кроме этого, при проведении испытаний извещателей на соответствие функциональным требованиям уровень корректированного ускорения (вибрации) по ГОСТ ИСО 8041 в месте расположения извещателей (датчиков вибрации) на охраняемой конструкции не должен превышать 65 дБ в номинальном диапазоне (диапазонах) частот по ГОСТ 17168, соответствующем рабочей частоте (частотам) извещателей.

Измерение уровня шума в помещении проводят по ГОСТ 12.1.050 с помощью микрофона и шумомера по ГОСТ Р 53188.1. При этом микрофон располагают на расстоянии не более 0,1 м от мест расположения чувствительного элемента извещателей, а также в нескольких произвольных точках помещения, определяемых исходя из его конструктивных особенностей, наличия и расположения источников шума, условий проведения испытаний извещателей и мест их размещения.

Контроль вибрации помещения проводят по ГОСТ Р ИСО/ТС 10811-1 с помощью шумомера по ГОСТ Р 53188.1 и эталонного акселерометра по ГОСТ ИСО 8041, устанавливаемого на охраняемую конструкцию в планируемых местах размещения чувствительного элемента извещателей, соблюдая требования ГОСТ ИСО 5348.

5.1.7 Испытательное оборудование и средства измерений должны соответствовать общим требованиям ГОСТ Р ИСО 10012, быть поверены и аттестованы по ГОСТ Р 8.568.

Средства измерений параметров вибрации должны соответствовать требованиям ГОСТ ИСО 8041, ГОСТ Р 53188.1, ГОСТ 30296, средства воздействия - ГОСТ Р 50862.

Акселерометры должны быть калиброваны одним из методов по ГОСТ Р ИСО 16063-1.

5.1.8 Испытания извещателей проводят в нормальных атмосферных условиях по ГОСТ 28198 и при номинальном напряжении электропитания извещателей по ГОСТ Р 52435, если иное не установлено в методе испытаний.

Примечание - Если до начала испытаний извещатели находились в атмосферных условиях, отличающихся от нормальных, то перед испытаниями их следует выдержать при нормальных атмосферных условиях по ГОСТ 28198 не менее 6 ч, если иное не установлено в ТУ на извещатели конкретных типов.

5.1.9 Испытания, проводимые при включенном электропитании извещателей, следует начинать по истечении времени их технической готовности (см. 4.2.5).

Если в процессе проведения испытаний произошло формирование извещения о тревоге или неисправности, то испытания продолжают после восстановления нормального состояния извещателей (см. 4.2.7).

5.1.10 Испытания на воздействие климатических факторов проводят, как правило, в климатической камере, не извлекая извещатели из камеры для проведения функциональных испытаний. В технически обоснованных случаях допускается извлекать извещатели из климатической камеры и проводить функциональные испытания в течение времени, достаточного для сохранения температуры, при которой проводилось испытание, но не более 5 мин.

5.1.11 Не допускается проводить испытания при одновременном воздействии на извещатели нескольких внешних факторов, за исключением случаев, указанных в ТУ на извещатели конкретных типов.

5.2 Функциональные испытания

5.2.1 Проверка рабочей частоты и испытания чувствительности извещателей

Испытания на соответствие рабочей частоты (см. 4.2.1) и чувствительности (см. 4.2.2) извещателей функциональным требованиям проводят на установке, схема которой представлена на рисунке 1.

1 - источник электропитания; 2 - селективный вольтметр; 3 - извещатель (датчик вибрации);
4 - эталонный акселерометр по ГОСТ ИСО 8041; 5 - вибростенд; 6 - вибрирующая платформа вибростенда;
7 - приемно-контрольный прибор; 8 - генератор тестовых сигналов

Рисунок 1 - Схема установки для проведения испытания на соответствие
рабочей частоты и чувствительности извещателей функциональным требованиям

Извещатель (датчик вибрации) устанавливают в рабочее положение на вибрирующую платформу вибростенда и закрепляют с помощью крепежных устройств, предусмотренных конструкцией извещателя, с соблюдением требований ГОСТ ИСО 5348.

В процессе испытаний вибростенд, управляемый генератором тестовых сигналов, формирует тестовое воздействие с параметрами, установленными в ТУ на извещатели конкретных типов, с целью имитации разрушающего воздействия на охраняемую конструкцию.

До момента завершения указанного тестового воздействия извещатель должен сформировать извещение о тревоге, а приемно-контрольный прибор - зафиксировать это извещение.

Для извещателей, в которых предусмотрена возможность регулирования чувствительности, испытания проводят при максимальном и минимальном значениях чувствительности.

Соответствующие виды индикации, указанные в ТУ на извещатели конкретных типов, контролируют визуально.

5.2.2 Испытания дальности действия

Перед испытаниями дальности действия (см. 4.2.3) извещатель (датчик вибрации) устанавливают в рабочее положение на охраняемой конструкции, регулируют дальность действия (если это предусмотрено конструкцией извещателя) в соответствии с указаниями, приведенными в ТУ и (или) сопроводительных (эксплуатационных) документах на извещатели конкретных типов.

Испытания проводят в соответствии со схемой, представленной на рисунке 2, поочередно на всех видах охраняемых конструкций, указанных в ТУ на извещатели конкретных типов.

Примечание - Допускается вместо охраняемой конструкции использовать имитирующий стенд.

1 - фрагмент охраняемой конструкции; 2 - точка размещения чувствительного элемента извещателя;
3 - граница охраняемой зоны; 4 - место нанесения разрушающего воздействия;
Lmax - максимальная дальность действия извещателя

Рисунок 2 - Схема контроля дальности действия извещателей

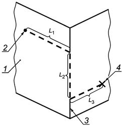
Если направление измерения дальности действия извещателя пересекается с линией изгиба (линиями изгибов) охраняемой конструкции под прямым углом, то измерение дальности действия извещателя проводят перпендикулярно и вдоль этой линии, как показано на рисунке 3. При этом суммарное значение максимальной дальности действия извещателя, Lmax, м, определяют по формуле

                                                       (2)

где L1 - расстояние, м, измеренное от извещателя до линии изгиба охраняемой конструкции перпендикулярно к этой линии;

L2 - расстояние, м, измеренное по линии изгиба охраняемой конструкции;

L3 - расстояние, м, измеренное от линии изгиба охраняемой конструкции до места нанесения разрушающего воздействия.

1 - фрагмент охраняемой конструкции; 2 - точка размещения чувствительного элемента извещателя;
3 - линия изгиба охраняемой конструкции; 4 - место нанесения разрушающего воздействия;
L1, L2, L3 - измеряемые расстояния

Рисунок 3 - Схема контроля дальности действия извещателей
при изгибе охраняемой конструкции под прямым углом

Разрушающие воздействия на охраняемую конструкцию наносят соответствующими данному виду охраняемой конструкции регламентированными средствами воздействия на расстоянии максимальной дальности действия от чувствительного элемента извещателя.

Примечание - Для измерения расстояний используют измерительную металлическую рулетку по ГОСТ 7502.

В процессе нанесения разрушающего воздействия на охраняемую конструкцию извещатель должен сформировать извещение о тревоге, а приемно-контрольный прибор - зафиксировать это извещение.

Соответствующие виды индикации, указанные в ТУ на извещатели конкретных типов, контролируют визуально.

5.2.3 Контроль охраняемой площади

Контролируемое значение охраняемой извещателями площади (см. 4.2.4) рассчитывают соответствующими для данной конфигурации охраняемой зоны математическими методами, приведенными в ТУ на извещатели конкретных типов.

Если испытания проводят на сплошной однотипной охраняемой конструкции, на поверхности которой охраняемая зона имеет форму круга (центр которого находится в точке размещения чувствительного элемента извещателя) радиусом R, м, соответствующим его дальности действия, то охраняемую площадь S, м2, рассчитывают по формуле

S ≈ 3,1416×R2,                                                       (3)

где R - дальность действия извещателя на данной конструкции, м.

Допускается вместо охраняемой конструкции использовать имитирующий стенд.

5.2.4 Контроль времени технической готовности извещателей

Метод контроля времени технической готовности извещателей (см. 4.2.5) устанавливают в ТУ на извещатели конкретных типов.

5.2.5 Контроль длительности извещения о тревоге

Метод контроля длительности извещения о тревоге (см. 4.2.6) устанавливают в ТУ на извещатели конкретных типов.

Допускается данное испытание проводить совместно с испытаниями по 5.2.1 и 5.2.2.

5.2.6 Контроль времени восстановления нормального состояния извещателей

Метод контроля времени восстановления нормального состояния извещателей (см. 4.2.7) устанавливают в ТУ на извещатели конкретных типов.

Допускается данное испытание проводить совместно с испытаниями по 5.2.1 и 5.2.2.

5.2.7 Испытания помехоустойчивости при механическом ударе по охраняемой конструкции

Испытания помехоусточивости извещателей при механическом ударе по охраняемой конструкции (см. 4.2.8) проводят в соответствии со схемой, представленной на рисунке 4, поочередно на всех видах охраняемых конструкций, указанных в ТУ на извещатели конкретных типов.

1 - фрагмент строительной конструкции; 2 - точка размещения чувствительного элемента извещателя;
3 - нить подвеса испытательного шара; 4 - точка крепления нити подвеса испытательного шара
на поверхности охраняемой конструкции; 5 - испытательный шар

Рисунок 4 - Схема испытаний помехоустойчивости извещателей
при механическом ударе по охраняемой конструкции

Перед испытаниями извещатель (датчик вибрации) устанавливают в рабочее положение.

Если в извещателе предусмотрена возможность регулирования чувствительности, то перед испытаниями извещатель (датчик вибрации) должен быть отрегулирован на максимальную чувствительность.

В качестве испытательного шара, как правило, используют резиновый шар массой (0,39 ± 0,01) кг твердостью (60 ± 5) международных единиц IRHD по ГОСТ Р ИСО 7619-2, подвешенный на нити длиной (0,50 ± 0,01) м.

Примечание - Массу испытательного шара контролируют с помощью лабораторных весов по ГОСТ Р 53228, а длину нити подвеса испытательного шара - с помощью измерительной металлической рулетки по ГОСТ 7502.

В процессе испытаний по охраняемой конструкции (см. рисунок 4) на расстоянии (0,25 ± 0,05) м от точки размещения чувствительного элемента извещателя наносят одиночный механический удар энергией (1,9 ± 0,1) Дж следующим образом:

- свободный конец нити подвеса испытательного шара закрепляют на поверхности охраняемой конструкции так, чтобы в свободном положении испытательный шар находился в непосредственной близости к месту нанесения удара по охраняемой конструкции (на расстоянии от точки размещения чувствительного элемента извещателя, указанном выше);

- отклоняют нить подвеса испытательного шара по вертикали на угол α = 90° с допускаемым отклонением минус 5° без провисания нити в плоскости, перпендикулярной к плоскости поверхности охраняемой конструкции, на которой установлен извещатель, и отпускают испытательный шар для нанесения удара по конструкции;

- после нанесения первого удара шар фиксируют во время обратного движения, исключая повторные удары.

Во время и после нанесения одиночного механического удара по охраняемой конструкции извещатель должен сохранять нормальное состояние.

Соответствующие виды индикации, указанные в ТУ на извещатели конкретных типов, контролируют визуально.

5.2.8 Испытания помехоустойчивости при вибрационной помехе

Условия проведения испытаний помехоустойчивости извещателей при вибрационной помехе (см. 4.2.9) - в соответствии с 5.2.1.

В процессе проведения испытаний вибростенд, управляемый генератором тестовых сигналов, формирует тестовое воздействие с параметрами вибрационной помехи, установленными в ТУ на извещатели конкретных типов.

В процессе тестового воздействия извещатель должен сохранять нормальное состояние, фиксируемое приемно-контрольным прибором.

Для извещателей, в которых предусмотрена возможность регулирования чувствительности, испытания проводят при максимальном значении чувствительности.

Соответствующие виды индикации, указанные в ТУ на извещатели конкретных типов, контролируют визуально.

5.3 Испытания на соответствие требованиям к электропитанию

5.3.1 Для проверки соответствия извещателя требованиям 4.3.1 проводят испытания по 5.2.1 при минимальном и максимальном значениях напряжения электропитания.

Во время изменений напряжения электропитания извещатель должен сохранять нормальное состояние.

5.3.2 Методы испытаний извещателя на соответствие требованиям 4.3.2 - 4.3.4 устанавливают в ТУ на извещатели конкретных типов.

5.4 Испытания на устойчивость к воздействию внешних факторов

5.4.1 Испытания на воздействие сухого тепла

Испытания извещателей на воздействие сухого тепла (см. 4.4.1) проводят по ГОСТ 28200* (испытание Вb) и настоящему стандарту.

_____________

* Действует до 01.01.2011, с 01.01.2011 действует ГОСТ Р МЭК 60068-2-2.

Извещатель помещают в климатическую камеру и включают его электропитание.

Температуру в камере повышают до 50 °С со скоростью 1 °С в минуту с допускаемым отклонением минус 0,5 °С. Извещатель выдерживают при этой температуре не менее 2 ч. Допускаемая погрешность поддерживаемой температуры ±3 °С.

После испытаний проверяют работоспособность извещателей.

Метод определения работоспособности извещателя устанавливают в ТУ на извещатели конкретных типов.

5.4.2 Испытания на воздействие холода

Испытания извещателей на воздействие холода (см. 4.4.2) проводят по ГОСТ 28199** (испытание Аb) и настоящему стандарту.

_____________

** Действует до 01.01.2011, с 01.01.2011 действует ГОСТ Р МЭК 60068-2-1.

Извещатель помещают в климатическую камеру и выключают его электропитание.

Температуру в камере понижают до минус 30 °С со скоростью 1 °С в минуту с допускаемым отклонением минус 0,5 °С. Извещатель выдерживают при этой температуре не менее 2 ч. Допускаемая погрешность поддерживаемой температуры ±3 °С.

После испытаний проверяют работоспособность извещателей.

Метод определения работоспособности извещателя устанавливают в ТУ на извещатели конкретных типов.

5.4.3 Испытания на воздействие повышенной влажности

При испытании на воздействие повышенной влажности воздуха (см. 4.4.3) извещатель помещают в климатическую камеру и включают его электропитание.

Температуру в камере повышают до 25 °С со скоростью 1 °С в минуту с допускаемым отклонением минус 0,5 °С. Извещатель выдерживают при этой температуре не менее 2 ч. Допускаемая погрешность поддерживаемой температуры ±3 °С.

Влажность воздуха в камере повышают до 90 % со скоростью не более 0,5 % в минуту. Извещатели выдерживают при этих условиях не менее 48 ч. Допускаемая погрешность поддерживаемой температуры ±3 °С.

После испытаний проверяют работоспособность извещателей.

Метод определения работоспособности извещателя устанавливают в ТУ на извещатели конкретных типов.

Примечание - Если в ТУ на извещатели конкретных типов установлен более широкий диапазон температур окружающей среды, чем указан в 4.4.1 и 4.4.2, а также превышающие установленные в 4.4.3 значения относительной влажности воздуха и (или) температуры окружающей среды, то испытания по 5.4.1 - 5.4.3 проводят в соответствии с требованиями устойчивости извещателей к воздействию внешних факторов, установленными в ТУ на извещатели конкретных типов.

5.4.4 Испытания на воздействие синусоидальной вибрации

Испытания извещателей на воздействие синусоидальной вибрации (см. 4.4.4) проводят по ГОСТ 28203 и настоящему стандарту.

Извещатель закрепляют на вибростенде последовательно в трех взаимно перпендикулярных положениях.

В каждом положении извещатель подвергают воздействию синусоидальной вибрации: 20 циклов качаний частоты по каждой оси в диапазоне от 10 до 55 Гц при амплитуде ускорения 4,9 м/с2 (0,5g).

После испытаний извещатель снимают с вибростенда, проводят визуальный осмотр и проверку его работоспособности. На извещателе не должно быть видимых невооруженным глазом повреждений.

Метод определения работоспособности извещателя устанавливают в ТУ на извещатели конкретных типов.

5.4.5 Испытания на воздействие импульсного механического удара

При испытании на воздействие импульсного механического удара (см. 4.4.5) извещатель устанавливают на твердое основание и закрепляют с помощью специальных элементов креплений. Включают электропитание извещателя и по его корпусу в горизонтальном и вертикальном направлениях наносят удары энергией (1,9 ± 0,1) Дж молотком массой (1,7 ± 0,2) кг, изготовленным из алюминиевого сплава марки Д1 по ГОСТ 4784.

По извещателю, находящемуся в нормальном состоянии, наносят по одному удару в каждом направлении. Точки приложения ударов устанавливают в ТУ на извещатели конкретных типов.

После испытаний проводят внешний осмотр и проверку работоспособности извещателя. На извещателе не должно быть видимых невооруженным глазом повреждений.

Метод определения работоспособности извещателя устанавливают в ТУ на извещатели конкретных типов.

5.4.6 Транспортирование

5.4.6.1 При испытании на воздействие транспортной тряски (см. 4.4.6) извещатель, упакованный в транспортную тару, закрепляют на ударном стенде в соответствии с манипуляционными знаками и подвергают воздействию транспортной тряски. Во время испытаний должны быть обеспечены следующие условия:

- число ударов в минуту - от 10 до 120;

- максимальное ускорение - 30 м/с2;

- продолжительность испытания - 2 ч.

Допускается проводить испытание при воздействии 15000 ударов с тем же максимальным ускорением.

После испытания проводят визуальный осмотр и проверку работоспособности извещателя. На извещателе не должно быть видимых невооруженным глазом повреждений.

Метод определения работоспособности извещателя устанавливают в ТУ на извещатели конкретных типов.

5.4.6.2 При испытании на воздействие сухого тепла при транспортировании (см. 4.4.6) извещатель, упакованный в транспортную тару, помещают в климатическую камеру, повышают температуру до (50 ± 3) °С со скоростью 1 °С в минуту с допускаемым отклонением минус 0,5 °С и выдерживают не менее 6 ч. Допускаемая погрешность поддерживаемой температуры ±3 °С.

После окончания испытания извещатель извлекают из камеры, распаковывают и проводят внешний осмотр. На извещателе не должно быть видимых невооруженным глазом повреждений.

Извещатель выдерживают в нормальных атмосферных условиях по ГОСТ 28198 не менее 6 ч, если иное не установлено в ТУ на извещатели конкретных типов, а затем проверяют его работоспособность.

Метод определения работоспособности извещателя устанавливают в ТУ на извещатели конкретных типов.

5.4.6.3 При испытании на воздействие холода при транспортировании (см. 4.4.6) извещатель, упакованный в транспортную тару, помещают в климатическую камеру и понижают температуру до минус (50 ± 3) °С со скоростью 1 °С в минуту с допускаемым отклонением минус 0,5 °С. Извещатель выдерживают в этих условиях не менее 6 ч. Допускаемая погрешность поддерживаемой температуры ±3 °С.

После испытания извещатель извлекают из камеры, распаковывают и проводят внешний осмотр. На извещателе не должно быть видимых невооруженным глазом повреждений.

Извещатель выдерживают в нормальных атмосферных условиях по ГОСТ 28198 не менее 6 ч, если иное не установлено в ТУ на извещатели конкретных типов, а затем проверяют его работоспособность.

Метод определения работоспособности извещателя устанавливают в ТУ на извещатели конкретных типов.

5.4.6.4 При испытании на воздействие повышенной влажности при транспортировании (см. 4.4.6) извещатель, упакованный в транспортную тару, помещают в климатическую камеру, в которой устанавливают относительную влажность воздуха (95 ± 3) % при температуре (35 ± 3) °С. Извещатель выдерживают в этих условиях в течение 48 ч. По истечении указанного времени извещатель извлекают из климатической камеры, распаковывают и выдерживают в нормальных атмосферных условиях по ГОСТ 28198 не менее 6 ч, если иное не установлено в ТУ на извещатели конкретных типов.

После испытания проводят внешний осмотр извещателя и проверку его работоспособности. На извещателе не должно быть видимых невооруженным глазом повреждений.

Метод определения работоспособности извещателя устанавливают в ТУ на извещатели конкретных типов.

5.5 Проверка соответствия требованиям защиты от саботажа

5.5.1 Испытания защиты от вскрытия

Для проверки защиты от вскрытия (см. 4.5.1) в соответствии с указаниями, приведенными в сопроводительных (эксплуатационных) документах на извещатели конкретных типов, проводят предусмотренное конструкцией вскрытие корпуса извещателя для получения штатного доступа к органам управления, регулировки, клеммам подключения внешних электрических цепей и элементам фиксации на охраняемой конструкции.

В момент получения такого доступа или в процессе вскрытия корпуса извещатель должен сформировать извещение о вскрытии.

При испытании многоблочных извещателей поочередно вскрывают корпуса процессорного блока и одного (любого) датчика вибрации, подключенного к процессорному блоку.

5.5.2 Испытания устройства контроля рабочего положения

Испытания устройств контроля рабочего положения извещателей (см. 4.5.2) проводят следующим образом. В соответствии с указаниями, приведенными в сопроводительных (эксплуатационных) документах на извещатели конкретных типов, производят механическое отсоединение извещателя от поверхности охраняемой конструкции и снимают его с этой поверхности.

В момент снятия извещателя с поверхности охраняемой конструкции или в процессе механического отсоединения извещатель должен сформировать извещение о вскрытии.

5.5.3 Испытания защиты соединительных линий

Испытания защиты соединительных линий (см. 4.5.3) проводят для многоблочных извещателей поочередной имитацией повреждений (обрыв, короткое замыкание) линий соединения датчиков вибрации с процессорным блоком.

В момент повреждения соединительных линий извещатель должен сформировать извещение о неисправности.

5.6 Проверка параметров интерфейса

5.6.1 Метод контроля интерфейса извещателей (см. 4.6) устанавливают в ТУ на извещатели конкретных типов.

5.7 Испытания на соответствие требованиям к конструкции

5.7.1 Проверку выполнения требований к конструкции извещателей (см. 4.7.1) проводят по ГОСТ Р 52435 и настоящему стандарту.

5.7.2 Испытания на соответствие требованиям к степени защиты оболочки извещателей (см. 4.7.2) проводят по ГОСТ 14254 на образцах, прошедших испытания по 5.4.1 - 5.4.6, 5.5.1.

5.7.3 Испытание на соответствие требованиям надежности и безопасности установки извещателей на охраняемой конструкции (см. 4.7.3) проводят в процессе испытаний по 5.4.4, 5.4.5.

5.7.4 Испытания регулировки чувствительности извещателей (см. 4.7.3) проводят в процессе испытаний по 5.2.1. При этом контролируют максимальную и минимальную чувствительность, а также их отношение или разность (если чувствительность задана в логарифмических единицах).

5.7.5 Метод контроля индикации извещателей (см. 4.7.5) устанавливают в ТУ на извещатели конкретных типов.

5.7.6 Выполнение многоблочными извещателями требований к обеспечению хранения информации о числе подключенных к процессорному блоку датчиков вибрации (см. 4.7.6) контролируют в процессе испытаний по 5.2.4.

Метод контроля устанавливают в ТУ на извещатели конкретных типов.

5.7.7 Обеспечение многоблочными извещателями возможности взаимозаменяемости однотипных отдельных блоков (см. 4.7.6) контролируют следующим образом. При выключенном электропитании извещателя проводят поочередную замену процессорного блока и любого из датчиков вибрации, подключенных к процессорному блоку. После каждой замены проверяют работоспособность извещателя.

Метод проверки работоспособности извещателей устанавливают в ТУ на извещатели конкретных типов.

5.7.8 Метод контроля выполнения многоблочными извещателями дополнительных требований к конструкции, электромеханическим, электрическим параметрам и интерфейсу (см. 4.7.8) устанавливают в ТУ на извещатели конкретных типов.

5.7.9 Размеры извещателей и крепежных устройств (см. 4.7.8) проверяют с помощью штангенциркуля по ГОСТ 166. Массу извещателей (всех отдельных блоков) проверяют вместе с крепежными устройствами путем взвешивания на лабораторных весах по ГОСТ Р 53228, обеспечивающих необходимые пределы и точность измерений. Полученные значения не должны превышать установленных в ТУ на извещатели конкретных типов.

5.8 Контроль материалов и комплектующих изделий

Выполнение требований к материалам (веществам) и комплектующим (покупным) изделиям (см. 4.8) проверяют по наличию, содержанию и срокам действия документов, подтверждающих качество, срок службы (годности) и безопасность продукции, - сопроводительных документов, сертификатов соответствия или деклараций о соответствии (см. [11]), санитарно-эпидемиологических заключений или свидетельство государственной регистрации (см. [12]).

Примечание - Единые реестры сертификатов соответствия и деклараций о соответствии размещены в информационной системе общего пользования - на официальном сайте Федерального агентства по техническому регулированию и метрологии в сети Интернет по адресу: http://gost.ru, реестры санитарно-эпидемиологических заключений и свидетельств о государственной регистрации - на официальном сайте Федеральной службы по надзору в сфере защиты прав потребителей и благополучия человека по адресу: http://rospotrebnadzor.ru.

Условия и порядок проведения входного контроля материалов и комплектующих изделий устанавливают в ТУ на извещатели конкретных типов по ГОСТ 24297.

5.9 Испытания на электромагнитную совместимость

Испытания на электромагнитную совместимость (см. 4.9) проводят по ГОСТ Р 50009.

Во время испытаний извещателей на устойчивость к воздействию электромагнитных помех извещатели должны сохранять нормальное состояние.

После испытаний проверяют работоспособность извещателей. Метод определения работоспособности извещателей устанавливают в ТУ на извещатели конкретных типов.

5.10 Испытания на надежность

Методы испытаний на надежность (см. 4.10) устанавливают в ТУ на извещатели конкретных типов в соответствии с ГОСТ Р 52435.

5.11 Испытания на безопасность

5.11.1 Проверку соответствия извещателей требованиям безопасности (см. 4.11.1) проводят по ГОСТ Р 52435 и настоящему стандарту.

5.11.1 Проверку извещателей по способу защиты человека от поражения электрическим током (см. 4.11.2) проводят по ГОСТ Р 52161.1.

5.11.2 Испытания электрической прочности изоляции и изоляция электрических цепей извещателей (см. 4.11.3) проводят по ГОСТ Р 52931.

Извещатели считают выдержавшими испытание:

- если в течение 1 мин после приложения напряжения не произошло пробоя или перекрытия изоляции;

- если измеренное значение сопротивления изоляции соответствует установленному в ТУ на извещатели конкретных типов.

Примечание - Электрические цепи, подвергаемые испытаниям, точки приложения испытательного напряжения и подключения средств измерений сопротивления изоляции устанавливают в ТУ на извещатели конкретных типов.

5.11.3 Выполнения требований пожарной безопасности, обеспечиваемых конструкцией извещателей (см. 4.11.4), контролируют по ГОСТ Р МЭК 60065 и в процессе проведения испытаний по 5.7.2, 5.8.

5.12 Проверка сопроводительных документов

Сопроводительные (эксплуатационные) документы извещателей (см. 4.12) проверяют на соответствие их комплектности, построения, содержания и изложения требованиям настоящего стандарта и ТУ на извещатели конкретных типов.

5.13 Проверка комплектности извещателей

Комплектность извещателей (см. 4.13) проверяют визуально.

Комплект поставки извещателей должен соответствовать требованиям настоящего стандарта и ТУ на извещатели конкретных типов.

5.14 Проверка выполнения требований к маркировке, упаковке, транспортированию и хранению

Маркировку и упаковку извещателей (см. 4.14) проверяют визуально на соответствие требованиям настоящего стандарта и ТУ на извещатели конкретных типов, в том числе в процессе проведения испытаний по 5.4.6.

Приложение А
(рекомендуемое)

Соотношение между логарифмическими уровнями ускорения (вибрации)
в децибелах и его значениями в метрах в секунду в квадрате

Таблица А.1

Десятки, ДБ

Единицы, дБ

0

1

2

3

4

5

6

7

8

9

60

1×10-3

1,12×10-3

1,26×10-3

1,41×10-3

1,58×10-3

1,78×10-3

10-3

2,24×10-3

2,51×10-3

2,82×10-3

70

3,16×10-3

3,55×10-3

3,98×10-3

4,47×10-3

5,1×10-3

5,62×10-3

6,31×10-3

7,08×10-3

7,94×10-3

8,91×10-3

80

1×10-2

1,12×10-2

1,26×10-2

1,41×10-2

1,58×10-2

1,78×10-2

10-2

2,24×10-2

2,51×10-2

2,82×10-2

90

3,16×10-2

3,55×10-2

3,98×10-2

4,47×10-2

5,1×10-2

5,62×10-2

6,31×10-2

7,08×10-2

7,94×10-2

8,91×10-2

100

1×10-1

1,12×10-1

1,26×10-1

1,41×10-1

1,58×10-1

1,78×10-1

10-1

2,24×10-1

2,51×10-1

2,82×10-1

110

3,16×10-1

3,55×10-1

3,98×10-1

4,47×10-1

5,1×10-1

5,62×10-1

6,31×10-1

7,08×10-1

7,94×10-1

8,91×10-1

120

1

1,12

1,26

1,41

1,58

1,78

2

2,24

2,51

2,82

130

3,16

3,55

3,98

4,47

5,1

5,62

6,31

7,08

7,94

8,91

140

1×10

1,12×10

1,26×10

1,41×10

1,58×10

1,78×10

2×10

2,24×10

2,51×10

2,82×10

150

3,16×10

3,55×10

3,98×10

4,47×10

5,1×10

5,62×10

6,31×10

7,08×10

7,94×10

8,91×10

160

1×102

1,12×102

1,26×102

1,41×102

1,58×102

1,78×102

102

2,24×102

2,51×102

2,82×102

Библиография

[1]

Федеральный закон от 30 декабря 2009 г. № 384-ФЗ «Технический регламент о безопасности зданий и сооружений»

[2]

РД 78.36.003-2002

«Инженерно-техническая укрепленность. Технические средства охраны. Требования и нормы проектирования по защите объектов от преступных посягательств» (утвержден Министерством внутренних дел РФ 6 ноября 2002 г.)

[3]

ВНП 001-01/Банк России

«Ведомственные нормы проектирования. Здания территориальных главных управлений, национальных банков и расчетно-кассовых центров Центрального банка Российской Федерации» (утвержден Приказом Центрального банка Российской Федерации 10 января 2002 г. № ОД-7)

[4]

Федеральный закон от 22 июля 2008 г. № 123-ФЗ «Технический регламент о требованиях пожарной безопасности»

[5]

Закон Российской Федерации от 7 февраля 1992 г. № 2300-1 «О защите прав потребителей»

[6]

Федеральный закон от 27 декабря 2009 г. № 347-ФЗ «Технический регламент о безопасности низковольтного оборудования»

[7]

Приказ Министерства внутренних дел Российской Федерации от 16 ноября 2006 г. № 937 «Об утверждении Инструкции по организации технической эксплуатации технических средств охраны на объектах, охраняемых подразделениями милиции вневедомственной охраны при органах внутренних дел Российской Федерации»

[8]

Приказ Министерства энергетики Российской Федерации от 13 января 2003 г. № 6 «Об утверждении правил технической эксплуатации электроустановок потребителей»

[9]

Федеральный закон от 26 июня 2008 г. № 102-ФЗ «Об обеспечении единства измерений»

[10]

СН 2.2.4/2.1.8.566-96

«Производственная вибрация, вибрация в помещениях жилых и общественных зданий». Санитарные нормы» (утвержден Постановлением Государственного комитета санитарно-эпидемиологического надзора РФ от 31 октября 1996 г. № 40)

[11]

Постановление Правительства Российской Федерации от 1 декабря 2009 г. № 982 «Об утверждении единого перечня продукции, подлежащей обязательной сертификации, и единого перечня продукции, подтверждение соответствия которой осуществляется в форме принятия декларации о соответствии»

[12]

Приказ Федеральной службы по надзору в сфере защиты прав потребителей и благополучия человека от 19 июля 2007 г. № 224 «О санитарно-эпидемиологических экспертизах, обследованиях, исследованиях, испытаниях и токсикологических, гигиенических и иных видах оценок»

Ключевые слова: охранная сигнализация, системы охранной сигнализации, охранный извещатель, извещатели охранные поверхностные вибрационные, строительные конструкции, закрытые помещения, сейфы, требования, методы испытаний