Главная // Актуальные документы // Актуальные документы (обновление с 03.11.2025 по 29.11.2025) // ГОСТ (Государственный стандарт)СПРАВКА
Источник публикации
М.: ФГБУ "Институт стандартизации", 2025
Примечание к документу
Документ
вводится в действие с 01.09.2026 с правом досрочного применения.
Название документа
"ГОСТ 35304-2025. Межгосударственный стандарт. Изделия кондитерские. Определение содержания общего диоксида серы оптимизированным методом Монье-Вильямса"
(введен в действие Приказом Росстандарта от 02.09.2025 N 983-ст)
"ГОСТ 35304-2025. Межгосударственный стандарт. Изделия кондитерские. Определение содержания общего диоксида серы оптимизированным методом Монье-Вильямса"
(введен в действие Приказом Росстандарта от 02.09.2025 N 983-ст)
агентства по техническому
регулированию и метрологии
от 2 сентября 2025 г. N 983-ст
МЕЖГОСУДАРСТВЕННЫЙ СТАНДАРТ
ИЗДЕЛИЯ КОНДИТЕРСКИЕ
ОПРЕДЕЛЕНИЕ СОДЕРЖАНИЯ ОБЩЕГО ДИОКСИДА СЕРЫ
ОПТИМИЗИРОВАННЫМ МЕТОДОМ МОНЬЕ-ВИЛЬЯМСА
Confectionery. Determination of total sulfur dioxide
content by the optimized Monier-Williams method
ГОСТ 35304-2025
Дата введения
1 сентября 2026 года
с правом досрочного применения
Цели, основные принципы и общие правила проведения работ по межгосударственной стандартизации установлены
ГОСТ 1.0 "Межгосударственная система стандартизации. Основные положения" и
ГОСТ 1.2 "Межгосударственная система стандартизации. Стандарты межгосударственные, правила и рекомендации по межгосударственной стандартизации. Правила разработки, принятия, обновления и отмены"
1 РАЗРАБОТАН Федеральным государственным бюджетным научным учреждением "Федеральный научный центр пищевых систем им. В.М. Горбатова" РАН (ФГБНУ "ФНЦ пищевых систем им. В.М. Горбатова" РАН)
2 ВНЕСЕН Федеральным агентством по техническому регулированию и метрологии
3 ПРИНЯТ Межгосударственным советом по стандартизации, метрологии и сертификации (протокол от 31 июля 2025 г. N 187-П)
За принятие проголосовали:
Краткое наименование страны по МК (ИСО 3166) 004-97 | Код страны по МК (ИСО 3166) 004-97 | Сокращенное наименование национального органа по стандартизации |
Армения | AM | ЗАО "Национальный орган по стандартизации и метрологии" Республики Армения |
Беларусь | BY | Госстандарт Республики Беларусь |
Казахстан | KZ | Госстандарт Республики Казахстан |
Киргизия | KG | Кыргызстандарт |
Россия | RU | Росстандарт |
4
Приказом Федерального агентства по техническому регулированию и метрологии от 2 сентября 2025 г. N 983-ст межгосударственный стандарт ГОСТ 35304-2025 введен в действие в качестве национального стандарта Российской Федерации с 1 сентября 2026 г. с правом досрочного применения
5 ВВЕДЕН ВПЕРВЫЕ
Информация о введении в действие (прекращении действия) настоящего стандарта и изменений к нему на территории указанных выше государств публикуется в указателях национальных стандартов, издаваемых в этих государствах, а также в сети Интернет на сайтах соответствующих национальных органов по стандартизации.
В случае пересмотра, изменения или отмены настоящего стандарта соответствующая информация будет опубликована на официальном интернет-сайте Межгосударственного совета по стандартизации, метрологии и сертификации в каталоге "Межгосударственные стандарты"
Настоящий стандарт распространяется на кондитерские изделия, сырье и полуфабрикаты для их производства и устанавливает определение содержания общего (свободного и связанного) диоксида серы (далее - общего диоксида серы) оптимизированным методом Монье-Вильямса.
Стандарт не распространяется на полуфабрикаты для производства кондитерских изделий, содержащие в своем составе сероорганические соединения природного происхождения (диметилсульфид, метантиол и др.), такие как яичный белок, желток, меланж, с массовой долей в составе более 50%.
Диапазон измерений массовой доли общего диоксида серы - от 10 до 1000 мг/кг (от 0,001% до 0,1%).
В настоящем стандарте использованы нормативные ссылки на следующие межгосударственные стандарты:
ГОСТ 12.1.004 Система стандартов безопасности труда. Пожарная безопасность. Общие требования
ГОСТ 12.1.007 Система стандартов безопасности труда. Вредные вещества. Классификация и общие требования безопасности
ГОСТ 12.1.019 Система стандартов безопасности труда. Электробезопасность. Общие требования и номенклатура видов защиты
ГОСТ 12.4.009 Система стандартов безопасности труда. Пожарная техника для защиты объектов. Основные виды. Размещение и обслуживание
ГОСТ 1770 (ИСО 1042-83, ИСО 4788-80) Посуда мерная лабораторная стеклянная. Цилиндры, мензурки, колбы, пробирки. Общие технические условия
ГОСТ 4204 Реактивы. Кислота серная. Технические условия
ГОСТ 4328 Реактивы. Натрия гидроокись. Технические условия
ГОСТ 4517-2016 Реактивы. Методы приготовления вспомогательных реактивов и растворов, применяемых при анализе
ГОСТ 5904 Изделия кондитерские. Правила приемки и методы отбора проб
ГОСТ 5962 Спирт этиловый ректификованный из пищевого сырья. Технические условия
ГОСТ 6709 <1> Вода дистиллированная. Технические условия
--------------------------------
ГОСТ 8682 (ИСО 383-76) Посуда лабораторная стеклянная. Шлифы конические взаимозаменяемые
ГОСТ 9147 Посуда и оборудование лабораторные фарфоровые. Технические условия
ГОСТ 9293 (ИСО 2435-73) Азот газообразный и жидкий. Технические условия
ГОСТ 10929 Реактивы. Водорода пероксид. Технические условия
ГОСТ 14919 Электроплиты, электроплитки и жарочные электрошкафы бытовые. Общие технические условия
ГОСТ 25336 Посуда и оборудование лабораторные стеклянные. Типы, основные параметры и размеры
ГОСТ 25794.1 Реактивы. Методы приготовления титрованных растворов для кислотно-основного титрования
ГОСТ 26678 Холодильники и морозильники бытовые электрические компрессионные параметрического ряда. Общие технические условия
ГОСТ 29169 (ИСО 648-77) Посуда лабораторная стеклянная. Пипетки с одной отметкой
ГОСТ 29227 (ИСО 835-1-81) Посуда лабораторная стеклянная. Пипетки градуированные. Часть 1. Общие требования
ГОСТ 29252 (ИСО 385-2-84) Посуда лабораторная стеклянная. Бюретки. Часть 2. Бюретки без установленного времени ожидания
ГОСТ OIML R 76-1 Государственная система обеспечения единства измерений. Весы неавтоматического действия. Часть 1. Метрологические и технические требования. Испытания
ГОСТ ISO 3696 Вода для лабораторного анализа. Технические требования и методы контроля <1>
--------------------------------
<1> В Российской Федерации действует
ГОСТ Р 52501-2005 (ИСО 3696:1987) "Вода для лабораторного анализа. Технические условия".
ГОСТ ИСО 5725-2-2003 <2> Точность (правильность и прецизионность) методов и результатов измерений. Часть 2. Основной метод определения повторяемости и воспроизводимости стандартного метода измерений
--------------------------------
ГОСТ ИСО 5725-6 <3> Точность (правильность и прецизионность) методов и результатов измерений. Часть 6. Использование значений точности на практике
--------------------------------
ГОСТ ISO/IEC 17025 Общие требования к компетентности испытательных и калибровочных лабораторий
Примечание - При пользовании настоящим стандартом целесообразно проверить действие ссылочных стандартов и классификаторов на официальном интернет-сайте Межгосударственного совета по стандартизации, метрологии и сертификации (www.easc.by) или по указателям национальных стандартов, издаваемым в государствах, указанных в предисловии, или на официальных сайтах соответствующих национальных органов по стандартизации. Если на документ дана недатированная ссылка, то следует использовать документ, действующий на текущий момент, с учетом всех внесенных в него изменений. Если заменен ссылочный документ, на который дана датированная ссылка, то следует использовать указанную версию этого документа. Если после принятия настоящего стандарта в ссылочный документ, на который дана датированная ссылка, внесено изменение, затрагивающее положение, на которое дана ссылка, то это положение применяется без учета данного изменения. Если ссылочный документ отменен без замены, то положение, в котором дана ссылка на него, применяется в части, не затрагивающей эту ссылку.
В настоящем стандарте применены следующие термины с соответствующими определениями:
3.1
свободный диоксид серы: Диоксид серы в форме ангидрида сернистой кислоты SO
2 и в форме неорганических сульфитов

и

.
3.2 связанный диоксид серы: Диоксид серы, химически связанный с органическими соединениями, содержащими полярные карбонильные группы (альдегидами, кетонами, углеводами).
3.3 общий диоксид серы: Суммарное содержание всех форм свободного и связанного диоксида серы в пересчете на SO2.
Метод основан на дистилляции в потоке инертного газа общего диоксида серы, выделяющегося из продукта при нагревании в кислой среде, окислении его раствором пероксида водорода (поглотительным раствором) и последующем титровании образовавшейся серной кислоты гидроокисью натрия в присутствии индикатора.
5 Требования безопасности
5.1 При подготовке и проведении измерений необходимо соблюдать требования техники безопасности при работе с химическими реактивами по
ГОСТ 12.1.007.
5.2 Помещение, в котором проводят измерения, должно быть оборудовано приточно-вытяжной вентиляцией. Работу необходимо проводить, соблюдая правила личной гигиены и противопожарной безопасности в соответствии с требованиями
ГОСТ 12.1.004, и иметь средства пожаротушения по
ГОСТ 12.4.009.
5.3 При работе с электроприборами необходимо соблюдать требования безопасности по
ГОСТ 12.1.019.
6 Требования к условиям измерений
При выполнении измерений в лаборатории должны быть соблюдены следующие условия:
- температура окружающего воздуха ..................... (23 +/- 5) °C;
- относительная влажность воздуха ..................... 20% - 75%;
- атмосферное давление ................................ 93,3 - 107 кПа.
В помещениях, предназначенных для проведения измерений, не должно быть загрязненности воздуха рабочей зоны пылью, агрессивными веществами, должны отсутствовать вибрация или другие факторы, влияющие на измерения.
7 Требования к квалификации оператора
К выполнению измерений и обработке результатов допускается специалист, имеющий опыт работы в химической лаборатории, освоивший метод и прошедший инструктаж по технике безопасности и охране труда при работе с вредными веществами и пожарной безопасности.
8 Средства измерений, вспомогательное оборудование, материалы и реактивы
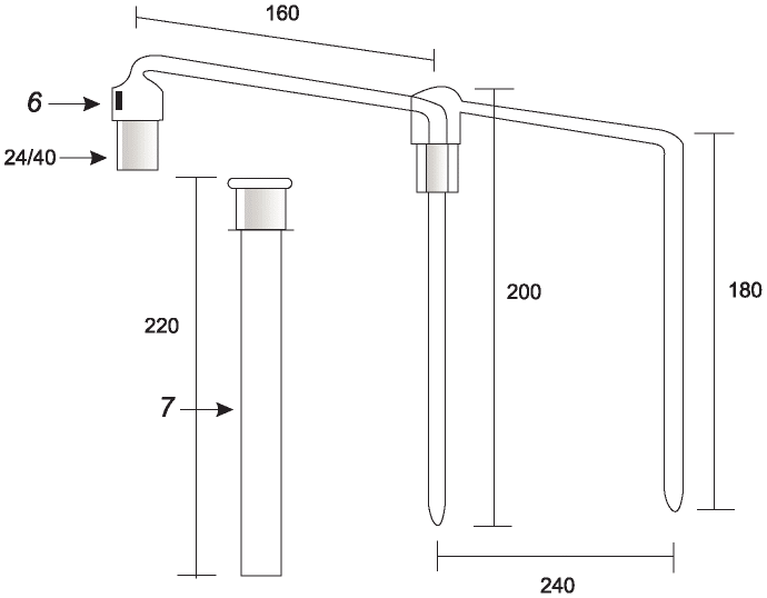
Установка для дистилляции в сборе (см.
рисунок А.1) или серийно выпускаемые комплектные установки для определения общего диоксида серы в продовольственном сырье, ингредиентах и готовых пищевых продуктах (приведены в
[1]).
Примечание - Пример серийно выпускаемых комплектных установок для определения общего диоксида серы в сборе приведен на
рисунке А.2.
Весы неавтоматического действия по
ГОСТ OIML R 76-1, с пределами допускаемой абсолютной погрешности взвешивания +/- 0,01 г.
Бюретки 1-2-2-10-0,02 или 1-2-2-25-0,05 по
ГОСТ 29252.
Пипетки по
ГОСТ 29227 или по
ГОСТ 29169 с одной меткой 2-го класса точности вместимостью 5, 10 и 25 см
3.
Колбы мерные 2-100-2, 2-250-2 и 2-1000-2 по
ГОСТ 1770.
Колбонагреватель или электроплитка по
ГОСТ 14919 с температурой нагрева не менее 200 °C.
Гомогенизатор типа с частотой вращения от 8000 до 24000 об/мин.
Стаканы лабораторные В-1-100 и В-1-200 по
ГОСТ 25336.
Колбы конические вместимостью 250 см по
ГОСТ 25336.
Спирт этиловый ректификованный из пищевого сырья по
ГОСТ 5962.
Индикатор метиловый красный, ч. д. а., по нормативным документам государства, принявшего стандарт.
Индикатор метиленовый голубой (синий), ч. д. а., по нормативным документам государства, принявшего стандарт.
Натрия гидроокись по
ГОСТ 4328, х. ч. или стандарт-титр по нормативным документам государства, принявшего стандарт.
Вода дистиллированная по
ГОСТ 6709 или вода для лабораторного анализа по ГОСТ ISO 3696, 2 степени чистоты, с учетом документов по стандартизации государства, принявшего настоящий стандарт.
Азот газообразный по
ГОСТ 9293 повышенной чистоты, в баллоне, оснащенном редуктором и регулятором (вентилем) расхода газа.
Стеклянная или пластмассовая банка с крышкой вместимостью 200 - 400 см3.
Емкости из темного стекла.
Примечание - Допускается применение других средств измерений с метрологическими характеристиками и вспомогательного оборудования с техническими характеристиками не хуже, а также материалов и реактивов по качеству не ниже указанных в настоящем стандарте.
9 Отбор и подготовка проб
9.1 Отбор и подготовка проб - по
ГОСТ 5904 с учетом документов по стандартизации государства, принявшего настоящий стандарт.
Отбор и подготовка проб сырья и полуфабрикатов для производства кондитерских изделий - по нормативным документам государства, принявшего настоящий стандарт.
До проведения измерений пробы хранят в условиях, установленных в нормативном документе на конкретный вид продукции. При хранении в условиях низких температур пробы до проведения исследований хранят в холодильнике в стеклянных или пластмассовых банках с крышками в соответствии с нормативным документом на продукцию.
10 Подготовка к измерению
10.1 Подготовка установки для дистилляции
10.1.1 Собирают установку для дистилляции диоксида серы как показано на
рисунке А.1 а), либо в соответствии с эксплуатационной документацией в случае применения серийно выпускаемых комплектных установок.
Детали установки соединяют между собой с помощью конических взаимозаменяемых шлифов по
ГОСТ 8682 и закрепляют пружинами.
10.2 Приготовление растворов
10.2.1 Приготовление раствора гидроокиси натрия молярной концентрации c(NaOH) = 0,1 моль/дм3
Приготовление раствора гидроокиси натрия молярной концентрации 0,1 моль/дм
3 и установление его точной концентрации проводят по
ГОСТ 25794.1
Срок хранения раствора в закрытой емкости из полимерного материала - не более 1 мес. При наличии видимого осадка или помутнении раствор применению не подлежит.
10.2.2 Приготовление раствора гидроокиси натрия молярной концентрации c(NaOH) = 0,01 моль/дм3
В мерную колбу вместимостью 250 см
3 вносят 25 см
3 раствора, приготовленного по
10.2.1, доводят объем раствора до метки дистиллированной водой и перемешивают. Раствор готовят непосредственно в день проведения измерений.
10.2.3 Приготовление раствора смешанного индикатора
0,1 г метилового красного и 0,05 г метиленового синего растворяют в 100 см3 50%-ного раствора этилового спирта в воде.
Срок хранения раствора не более 1 мес в емкости из темного стекла.
Примечание - Смешанный индикатор необходимо приготовить за три дня до проведения анализа, так как свежеприготовленный индикатор даст голубой цвет. Хранить рекомендуется в холодильнике при 4 °C, во избежание образования хлопьевидного осадка.
10.2.4 Приготовление раствора пероксида водорода с массовой долей 3%
Приготовление раствора пероксида водорода с массовой долей 3% проводят по ГОСТ 4517-2016
(пункт 4.43), с учетом документов по стандартизации государства, принявшего настоящий стандарт.
10.2.5 Приготовление раствора серной кислоты с массовой долей 25%
Приготовление раствора серной кислоты с массовой долей 25% проводят по ГОСТ 4517-2016
(пункт 4.89), с учетом документов по стандартизации государства, принявшего настоящий стандарт.
В случае применения серийно выпускаемых комплектных установок определение общего диоксида серы проводят в соответствии с руководством по эксплуатации.
Проводят два параллельных измерения в условиях повторяемости в соответствии с требованиями ГОСТ ИСО 5725-2-2003 (подраздел 3.14).
11.1 Перегонка
В зависимости от предполагаемого содержания общего диоксида серы (см. таблицу 1) пробу, подготовленную по
разделу 9, предварительно измельченную на гомогенизаторе до однородного состояния, взвешивают в стакане с точностью до 0,01 г и количественно переносят через воронку в перегонную колбу, ополаскивая стакан и воронку небольшими порциями дистиллированной воды так, чтобы общий объем воды в колбе составлял примерно 300 см
3. Для равномерного нагрева и предотвращения прилипания пробы к колбе можно использовать стеклянные кипелки (шарики).
Таблица 1
Рекомендуемая масса пробы в зависимости от ожидаемого
содержания диоксида серы в продуктах
Ожидаемое содержание SO2 в продукте, мг/кг | Масса пробы для определения, г |
До 10 | 150 - 100 |
от 10 " 20 | 50 - 100 |
" 20 " 100 | 50 - 10 |
" 100 " 200 | 5 - 10 |
" 200 " 500 | 2 - 5 |
свыше 500 | менее 2 |
| | ИС МЕГАНОРМ: примечание. В официальном тексте документа, видимо, допущена опечатка: имеется в виду рис. А.1 б), а не рис. А.2 б). | |
Перегонную колбу помещают в колбонагреватель установки, соединяют с обратным холодильником (предварительно подсоединенным к подаче воды для охлаждения при помощи гибкого шланга), капельной воронкой и поглотителями (см.
рисунок А.1 а), В поглотители (см.
рисунок А.2 б) приливают по 30 - 50 см
3 раствора пероксида водорода с массовой долей 3%, приготовленного по
10.2.4, 1 см
3 смешанного индикатора, приготовленного по
10.2.3, и нейтрализуют смесь, добавляя по каплям раствор гидроокиси натрия молярной концентрации 0,01 моль/дм
3, приготовленного по
10.2.2, до появления зеленой окраски.
Примечание - В случае затруднения в визуальном определении точки эквивалентности при титровании серной кислоты раствором гидроокиси натрия проводят контроль правильности определения точки эквивалентности при титровании: непосредственно перед использованием необходимо добавить три капли индикатора метилового красного и оттитровать раствором гидроокиси натрия молярной концентрации 0,01 моль/дм3 до перехода окраски в желтый цвет. Если конечная точка превышена, раствор пероксида водорода с массовой долей 3% необходимо приготовить заново, предварительно перед использованием установив концентрацию пероксида водорода ареометром, и в зависимости от результата полученной плотности приготовить требуемую концентрацию. Также можно использовать метод титрования для установления точной концентрации 3% раствора пероксида водорода. Для этого рекомендуется использовать справочную литературу и пособия по технике лабораторных работ.
В капельную воронку наливают 30 - 50 см
3 раствора серной кислоты, приготовленной по
10.2.5.
Баллон с азотом присоединяют через вентиль точной регулировки (регулятор расхода) к перегонной колбе при помощи силиконовой трубки (резинового шланга) достаточной длины, чтобы можно было подавать азот на расстоянии 2,5 см от дна колбы. Перед началом нагрева рекомендуется включить подачу азота (0,2 дм3/мин). Продувают азотом 5 - 10 мин для вытеснения воздуха из системы, затем прекращают подачу азота.
Далее включают регулируемый нагрев и быстро добавляют из капельной воронки кислоту в колбу. Когда вся кислота будет добавлена, открывают подачу азота, устанавливая расход 0,2 дм3/мин (на редукторе к баллону), одновременно нагревая содержимое до кипения, но чтобы не происходило бурного вскипания или вспенивания (температура должна быть не более 95 °C, обязательно!). Общее время перегонки составляет 60 мин. Выделяющийся общий диоксид серы увлекается потоком азота в поглотитель, о чем свидетельствует изменение окраски из зеленой в сине-зеленую или фиолетовую.
По истечении указанного времени сначала отсоединяют поглотители (во избежание всасывания содержимого из них обратно в перегонную колбу), затем прекращают нагрев и отключают подачу азота.
11.2 Титрование
Содержимое поглотителей количественно переносят в коническую колбу вместимостью 250 см
3 (поглотители желательно промыть небольшим количеством дистиллированной воды и смывы добавить к раствору) и быстро титруют из бюретки раствором гидроокиси натрия молярной концентрации 0,01 моль/дм
3, приготовленным по
10.2.2, до перехода окраски раствора из сине-зеленой (фиолетовой) в зеленую (при прогнозируемом содержании общего диоксида серы свыше 500 мг/кг рекомендуется титровать раствором гидроокиси натрия молярной концентрации 0,1 моль/дм
3, приготовленным по
10.2.1).
Регистрируют объем раствора гидроокиси натрия V, см3, пошедшего на титрование содержимого поглотителей.
12 Обработка и оформление результатов
12.1 Содержание общего диоксида серы

, мг/кг, вычисляют по формуле

, (1)
где V - объем раствора гидроокиси натрия, израсходованный на титрование содержимого поглотителей, см3;
C - фактическая молярная концентрация раствора гидроокиси натрия, моль/дм3;
32 - масса эквивалента диоксида серы, г/моль;
1000 - коэффициент пересчета;
m - масса пробы продукта, г.
За окончательный результат принимают среднее арифметическое значение результатов двух измерений, вычисленное до второго десятичного знака и округленное до первого десятичного знака, выполненных в условиях повторяемости, и удовлетворяющих условию приемлемости

, (2)
где X1 и X2 - значения результатов измерений содержания общего диоксида серы, полученные в условиях повторяемости, мг/кг;
rотн - значение предела повторяемости при
P = 0,95, % (см.
таблицу 2).
12.2 Расхождение между двумя результатами измерений, выполненными в условиях воспроизводимости, не должны превышать:

, (3)
где X1 - среднее значение результата измерений содержания общего диоксида серы, полученное в одной лаборатории, мг/кг;
X2 - среднее значение результата измерений содержания общего диоксида серы, полученное в другой лаборатории, мг/кг;
Rотн - значение предела воспроизводимости при
P = 0,95, % (см.
таблицу 2).
12.3 Результат измерения в документах, предусматривающих его использование, представляют в виде:

, (4)

, (5)
где
Xср - среднее арифметическое значение результатов двух определений, признанных приемлемыми по
12.1, мг/кг;

- границы относительной погрешности при
P = 0,95, % (см.
таблицу 2).
Числовое значение рассчитанной абсолютной погрешности должно оканчиваться цифрой того же разряда, что и значение результата измерения.
В случае если результат измерения содержания общего диоксида серы выходит за пределы границ диапазона измерений, то приводят следующую запись:
"Содержание общего диоксида серы - менее 10 мг/кг" или "Содержание общего диоксида серы - более 10000 мг/кг".
12.4 Пересчет содержания общего диоксида серы на соли сернистой кислоты (сульфиты) при использовании солей сернистой кислоты производят по формуле

, (6)
где

- содержание общего диоксида серы, мг/кг;
13 Метрологические характеристики
13.1 Метрологические характеристики метода при доверительной вероятности P = 0,95 приведены в таблице 2.
Диапазон измерений, мг/кг | Границы относительной погрешности при P = 0,95  , % | Предел повторяемости (n = 2) rотн, % | Предел воспроизводимости (m = 2) Rотн, % |
Содержание общего диоксида серы от 10 до 100 | 12 | 10 | 15 |
Содержание общего диоксида серы от 100,1 до 1000 | 8 | 8 | 12 |
Содержание общего диоксида серы от 1000,1 до 10000 | 5 | 5 | 10 |
14 Контроль точности результатов измерений
14.1 Контроль стабильности результатов измерений (повторяемости, и погрешности) проводят в соответствии с порядком, установленным в лаборатории, по ГОСТ ИСО 5725-6.
14.2 Проверку приемлемости результатов измерений, полученных в условиях повторяемости, осуществляют в соответствии с требованиями ГОСТ ИСО 5725-2. Расхождение между результатами измерений не должно превышать предела повторяемости
rотн. Значения
rотн приведены в
таблице 2. Проверку проводят для каждого определения образца.
14.3 Проверку приемлемости результатов измерений, полученных в условиях воспроизводимости, проводят с учетом требований ГОСТ ИСО 5725-2. Расхождение между результатами измерений, выполненных в двух разных лабораториях, не должно превышать предела воспроизводимости
Rотн. Значения
Rотн приведены в
таблице 2.
14.4 Контроль точности с использованием образцов для контроля
В качестве средств контроля могут быть использованы образцы для контроля (ОК) диоксида серы, приготовленные в соответствии с
приложением Б, с проведением всех операций согласно настоящему стандарту.
Контроль погрешности с применением ОК состоит в сравнении значения A с результатом измерения содержания общего диоксида серы, полученного по настоящей методике X.
Результат контрольной процедуры

- оценку погрешности результата измерений содержания общего диоксида серы рассчитывают по формуле

. (7)
Результат контрольной процедуры признают удовлетворительным, если

, (8)
где

- значения относительной погрешности измерений, приведенные в
таблице 2 для соответствующего поддиапазона измерений.
При невыполнении
условия (8) контрольную процедуру повторяют. При повторном невыполнении
условия (8) выясняют причины, приведшие к неудовлетворительным результатам, и устраняют их.
14.5 Периодичность контроля и процедуры контроля стабильности результатов определений
Периодичность контроля исполнителем процедуры выполнения измерений, а также реализуемые процедуры контроля стабильности результатов выполняемых измерений регламентируют в руководстве по качеству лаборатории в соответствии с
ГОСТ ISO/IEC 17025. Допускается проводить контроль стабильности по
[3].
14.6 Информация об экспериментах, на основе которых были установлены значения показателей точности (правильности и прецизионности), представлена в
приложении В.
(справочное)
УСТАНОВКИ ДЛЯ ДИСТИЛЛЯЦИИ ОБЩЕГО ДИОКСИДА СЕРЫ
А.1 На рисунках А.1 а) и А.1 б) приведены примеры сбора установки (сборной) для дистилляции диоксида серы в токе азота.
а) Конструкция установки для дистилляции в токе азота
б) Увеличенная схема поглотителя установки Монье-Вильямса
1 - колба круглодонная вместимостью 1000 см3, с тремя
горловинами, с взаимозаменяемыми конусами 24/40 (перегонная
колба); 2 - воронка делительная вместимостью более 100 см3;
3 - входной адаптер со шланговым соединением; 4 - трубка
для подачи газа со шланговым соединением достаточной длины,
чтобы можно было подавать азот на расстоянии 2,5 см от дна
колбы 1; 5 - обратный холодильник с длиной кожуха не менее
300 мм (рекомендуется); 6 - поглотители в соответствии
около 25 мм, глубиной не менее 220 мм
А.2 На рисунке А.2 представлен образец серийно выпускаемых комплектных установок для определения общего диоксида серы в продовольственном сырье, ингредиентах и готовых пищевых продуктах по AOAC 990.28 в сборе.
Рисунок А.2 - Установка для дистилляции
сернистой кислоты KSO2
(справочное)
МЕТОДИКА ПРИГОТОВЛЕНИЯ ОБРАЗЦОВ ДЛЯ КОНТРОЛЯ ДИОКСИДА СЕРЫ
Б.1 Метрологические характеристики ОК приведены в таблице Б.1.
Таблица Б.1
Наименование характеристики | Значение характеристики для ОК |
ОК1 | ОК2 |
Значение содержания общего диоксида серы, мг/кг | 100 | 1000 |
Границы абсолютной погрешности содержания общего диоксида серы (P = 0,95), мг/кг | +/- 10 | +/- 50 |
Расчет метрологических характеристик ОК проводят в соответствии с требованиями
[4],
[5].
Б.2 Средства измерений, вспомогательное оборудование, реактивы и материалы
Кислота сернистая, водный раствор с массовой долей 5% - 6%, CAS N 7782-99-2.
Вода для лабораторного анализа по ГОСТ ISO 3696, 2 степени чистоты.
Б.3 Приготовление растворов для внутрилабораторного контроля
Б.3.1 Приготовление образца для контроля ОК1
В мерную колбу вместимостью 100 см
3 пипеткой вносят 0,2 см
3 раствора сернистой кислоты (см.
Б.2), доводят до метки водой при температуре (20 +/- 5) °C и перемешивают.
Б.3.2 Приготовление образца для контроля ОК2
В мерную колбу вместимостью 100 см
3 пипеткой вносят 2,0 см
3 раствора сернистой кислоты (см.
Б.2), доводят до метки водой при температуре (20 +/- 5) °C и перемешивают.
Б.4 Условия хранения
Растворы ОК1 и ОК2 используют свежеприготовленными в течение рабочего дня.
Допускается использование ОК, приготовленных по
[5].
(справочное)
ИНФОРМАЦИЯ О ПРОВЕДЕННОМ МЕЖЛАБОРАТОРНОМ ЭКСПЕРИМЕНТЕ
В.1 Данные, относящиеся к оценке характеристик прецизионности [среднеквадратичного отклонения повторяемости, среднеквадратичного отклонения воспроизводимости], получены из межлабораторного эксперимента, организованного и проведенного в соответствии с ГОСТ ИСО 5725-6 или по нормативным документам государства, принявшего стандарт.
В.2 Показатели точности (границы, в которых находится относительная погрешность измерений с доверительной вероятностью
P = (0,95) оценены с применением ОК в сочетании с методом добавок
[6].
В.3 Дополнительная информация, относящаяся к проведенному межлабораторному эксперименту:
5 лабораторий-участниц;
образцы, использованные для межлабораторного эксперимента (зефир в шоколаде, печенье курабье, арахис в шоколаде, печенье картошка, горький шоколад).
В.4 Сводная информация по результатам, полученным при межлабораторном эксперименте, представлена в таблице В.1.
Таблица В.1
Образец для эксперимента | 1 | 2 | 3 | 4 | 5 |
Количество результатов, принятых в расчет, шт. | 12 | 12 | 13 | 11 | 11 |
Среднее значение, мг/кг | 108,6 | 21,58 | 239,51 | 995,97 | 9985,01 |
Стандартное отклонение воспроизводимости, % | 2,41 | 3,08 | 0,75 | 0,73 | 0,13 |
| AOAC 990.28 | Official Method 990.28, BS EN 1988-1:1998 "Sulfites in Foods, Optimized Monier-Williams Method" |
| Технический регламент Таможенного союза | Требования безопасности пищевых добавок, ароматизаторов и технологических вспомогательных средств |
| | Государственная система обеспечения единства измерений. Внутренний контроль качества результатов количественного химического анализа |
| | Государственная система обеспечения единства измерений. Смеси аттестованные. Общие требования к разработке |
| | Государственная система обеспечения единства измерений. Образцы для контроля точности результатов испытаний пищевой продукции. Общие положения |
| | Государственная система обеспечения единства измерений. Показатели точности, правильности, прецизионности методик количественного химического анализа. Методы оценки |
УДК 637.5.04.07:006.354 | |
Ключевые слова: изделия кондитерские, полуфабрикаты, сырье, диоксид серы, сульфиты, титриметрический метод, метод Монье-Вильямса |