Главная // Актуальные документы // Актуальные документы (обновление с 29.09.2025 по 01.11.2025) // ГОСТ (Государственный стандарт)
СПРАВКА
Источник публикации
М.: ФГБУ "Институт стандартизации", 2025
Примечание к документу
Документ вводится в действие с 01.06.2026.
Название документа
"ГОСТ 35290-2025. Межгосударственный стандарт. Материалы рулонные водо- и ветроводозащитные для крыш из штучных кровельных материалов. Общие технические условия"
(введен в действие Приказом Росстандарта от 12.09.2025 N 1030-ст)

"ГОСТ 35290-2025. Межгосударственный стандарт. Материалы рулонные водо- и ветроводозащитные для крыш из штучных кровельных материалов. Общие технические условия"
(введен в действие Приказом Росстандарта от 12.09.2025 N 1030-ст)


Содержание


Введен в действие
Приказом Федерального
агентства по техническому
регулированию и метрологии
от 12 сентября 2025 г. N 1030-ст
МЕЖГОСУДАРСТВЕННЫЙ СТАНДАРТ
МАТЕРИАЛЫ РУЛОННЫЕ ВОДО- И ВЕТРОВОДОЗАЩИТНЫЕ ДЛЯ КРЫШ
ИЗ ШТУЧНЫХ КРОВЕЛЬНЫХ МАТЕРИАЛОВ
ОБЩИЕ ТЕХНИЧЕСКИЕ УСЛОВИЯ
Materials roll water- and wind-protective for roofs
from piece roofing materials. General specifications
(EN 13859-1:2014, NEQ)
ГОСТ 35290-2025
МКС 91.100.50
Дата введения
1 июня 2026 года
Предисловие
Цели, основные принципы и общие правила проведения работ по межгосударственной стандартизации установлены ГОСТ 1.0 "Межгосударственная система стандартизации. Основные положения" и ГОСТ 1.2 "Межгосударственная система стандартизации. Стандарты межгосударственные, правила и рекомендации по межгосударственной стандартизации. Правила разработки, принятия, обновления и отмены"
Сведения о стандарте
1 РАЗРАБОТАН Национальным кровельным союзом (НКС)
2 ВНЕСЕН Техническим комитетом по стандартизации ТК 144 "Строительные материалы и изделия"
3 ПРИНЯТ Межгосударственным советом по стандартизации, метрологии и сертификации (протокол от 31 июля 2025 г. N 187-П)
За принятие проголосовали:
Краткое наименование страны по МК (ИСО 3166) 004-97
Код страны по МК (ИСО 3166) 004-97
Сокращенное наименование национального органа по стандартизации
Армения
AM
ЗАО "Национальный орган по стандартизации и метрологии" Республики Армения
Беларусь
BY
Госстандарт Республики Беларусь
Киргизия
KG
Кыргызстандарт
Россия
RU
Росстандарт
Узбекистан
UZ
Узбекское агентство по техническому регулированию
4 Приказом Федерального агентства по техническому регулированию и метрологии от 12 сентября 2025 г. N 1030-ст межгосударственный стандарт ГОСТ 35290-2025 введен в действие в качестве национального стандарта Российской Федерации с 1 июня 2026 г.
5 Настоящий стандарт разработан с учетом основных нормативных положений европейского стандарта EN 13859-1:2014 "Листы гибкие рулонные гидроизоляционные. Определения и характеристики. Часть 1. Подкладочные основания для дискретных кровель" ("Flexible sheets for waterproofing - Definitions and characteristics of underlays - Part 1: Underlays for discontinuous roofing", NEQ)
6 ВВЕДЕН ВПЕРВЫЕ
7 Настоящий стандарт разработан на основе применения ГОСТ Р 58913-2020 <1>
--------------------------------
<1> Приказом Федерального агентства по техническому регулированию и метрологии от 12 сентября 2025 г. N 1030-ст ГОСТ Р 58913-2020 отменен с 1 июня 2026 г.
Информация о введении в действие (прекращении действия) настоящего стандарта и изменений к нему на территории указанных выше государств публикуется в указателях национальных стандартов, издаваемых в этих государствах, а также в сети Интернет на сайтах соответствующих национальных органов по стандартизации.
В случае пересмотра, изменения или отмены настоящего стандарта соответствующая информация будет опубликована на официальном интернет-сайте Межгосударственного совета по стандартизации, метрологии и сертификации в каталоге "Межгосударственные стандарты"
1 Область применения
Настоящий стандарт распространяется на рулонные водо- и ветроводозащитные (диффузионные) гибкие полимерные материалы (далее - материалы), применяемые при строительстве крыш с кровлей из штучных и иных материалов, стен и прочих ограждающих конструкций. Настоящий стандарт устанавливает требования к продукции и методам испытаний, а также оценку соответствия продукции требованиям настоящего стандарта.
2 Нормативные ссылки
В настоящем стандарте использованы нормативные ссылки на следующие межгосударственные стандарты:
ГОСТ 2678 Материалы рулонные кровельные и гидроизоляционные. Методы испытаний
ГОСТ 25898 Материалы и изделия строительные. Методы определения паропроницаемости и сопротивления паропроницанию
ГОСТ 26602.2 Блоки оконные и дверные. Методы определения воздухо- и водопроницаемости
ГОСТ 30244 Материалы строительные. Методы испытаний на горючесть
ГОСТ 30402 Материалы строительные. Метод испытания на воспламеняемость
ГОСТ 30444 Материалы строительные. Метод испытания на распространение пламени <1>
--------------------------------
<1> В Российской Федерации действует ГОСТ Р 51032-97 "Материалы строительные. Метод испытания на распространение пламени".
ГОСТ 31898-1-2011 (EN 12310-1:1999) Материалы кровельные и гидроизоляционные гибкие битумосодержащие. Метод определения сопротивления раздиру стержнем гвоздя
ГОСТ 31899-2 (EN 12311-2:2000) Материалы кровельные и гидроизоляционные гибкие полимерные (термопластичные или эластомерные). Метод определения деформативно-прочностных свойств
ГОСТ 32317-2012 (EN 1297:2004) Материалы кровельные и гидроизоляционные гибкие битумосодержащие и полимерные (термопластичные или эластомерные). Метод испытания на старение под воздействием искусственных климатических факторов: УФ-излучения, повышенной температуры и воды
ГОСТ EN 1107-2 Материалы кровельные и гидроизоляционные гибкие полимерные (термопластичные или эластомерные). Метод определения изменения линейных размеров
ГОСТ EN 1296 Материалы кровельные и гидроизоляционные гибкие битумосодержащие и полимерные (термопластичные или эластомерные). Метод искусственного термического старения
ГОСТ EN 1849-2 Материалы кровельные и гидроизоляционные гибкие полимерные (термопластичные или эластомерные). Методы определения толщины и массы на единицу площади
ГОСТ EN 1850-2 Материалы кровельные и гидроизоляционные гибкие полимерные (термопластичные или эластомерные). Метод определения видимых дефектов
ГОСТ EN 1928 Материалы кровельные и гидроизоляционные гибкие битумосодержащие и полимерные (термопластичные или эластомерные). Метод определения водонепроницаемости
ГОСТ EN 13111 Материалы кровельные и гидроизоляционные гибкие. Водозащитные и диффузионные пленки для кровель из штучных материалов и стен. Метод определения водонепроницаемости
ГОСТ EN 13416 Материалы кровельные и гидроизоляционные гибкие битумосодержащие и полимерные (термопластичные или эластомерные). Правила отбора образцов
ГОСТ ISO 9001 Системы менеджмента качества. Требования <1>
--------------------------------
<1> В Российской Федерации действует ГОСТ Р ИСО 9001-2015 "Системы менеджмента качества. Требования".
ГОСТ ISO 9237 Материалы текстильные. Метод определения воздухопроницаемости
Примечание - При пользовании настоящим стандартом целесообразно проверить действие ссылочных стандартов и классификаторов на официальном интернет-сайте Межгосударственного совета по стандартизации, метрологии и сертификации (www.easc.by) или по указателям национальных стандартов, издаваемым в государствах, указанных в предисловии, или на официальных сайтах соответствующих национальных органов по стандартизации. Если на документ дана недатированная ссылка, то следует использовать документ, действующий на текущий момент, с учетом всех внесенных в него изменений. Если заменен ссылочный документ, на который дана датированная ссылка, то следует использовать указанную версию этого документа. Если после принятия настоящего стандарта в ссылочный документ, на который дана датированная ссылка, внесено изменение, затрагивающее положение, на которое дана ссылка, то это положение применяется без учета данного изменения. Если ссылочный документ отменен без замены, то положение, в котором дана ссылка на него, применяется в части, не затрагивающей эту ссылку.
3 Термины и определения
В настоящем стандарте применены следующие термины с соответствующими определениями:
3.1 водозащитная пленка: Подкровельный водоизоляционный рулонный материал, защищающий нижерасположенные слои конструкции крыши от атмосферных осадков, применяемый в стропильной конструкции крыши с двумя вентиляционными каналами (зазорами), где удаление водяного пара происходит за счет конвективного движения воздуха в вентиляционном канале.
3.2 водонепроницаемость шва: Состояние, при котором не наблюдается проникновения воды сквозь шов в течение всего тестового периода под воздействием соответствующего давления.
3.3
выборка (sample): Рулон материала, отобранный из партии, от которого отрезают полосу материала для вырубки образцов для испытаний.
[ГОСТ 32805-2014, пункт 3.18]
3.4
декларированное производителем значение; ДЗП: Значение характеристики, декларированное производителем, с декларированными предельными отклонениями.
[ГОСТ 32805-2014, пункт 3.12]
3.5 ветроводозащитная (диффузионная) пленка: Водоизоляционный паропроницаемый рулонный материал, защищающий внутренние слои ограждающей конструкции от атмосферных осадков и конденсата, применяемый в конструкциях с одним вентиляционным каналом (зазором), ограничивающий конвективное движение воздуха через теплоизоляцию и не препятствующий выводу водяного пара из конструкции.
3.6
квалификационные испытания: Контрольные испытания установочной серии или первой промышленной партии, проводимые с целью оценки готовности предприятия к выпуску продукции данного типа в заданном объеме.
[ГОСТ 16504-81, статья 45]
3.7
образец для испытаний (test specimen): Образец материала строго определенных размеров, вырубленный из полосы материала.
[ГОСТ 32805-2014, пункт 3.20]
3.8
отбор образцов (sampling): Процедура, используемая для формирования выборки рулонов из партии для приготовления образцов и проведения испытаний.
[ГОСТ 32805-2014, пункт 3.17]
3.9
периодические испытания: Контрольные испытания выпускаемой продукции, проводимые в объемах и в сроки, установленные нормативно-технической документацией, с целью контроля стабильности качества продукции и возможности продолжения ее выпуска.
[ГОСТ 16504-81, статья 48]
3.10
полоса материала: Часть рулона, попавшего в выборку, из которой вырубают образцы для испытаний материала.
[ГОСТ 32805-2014, пункт 3.19]
3.11
предельное значение показателя, установленное производителем; ПЗП: Значение верхнего или нижнего предела характеристики, которому должна соответствовать продукция при испытании, установленное производителем с учетом требований настоящего стандарта.
[ГОСТ 32805-2014, пункт 3.11]
3.12
приемо-сдаточные испытания: Контрольные испытания продукции при приемочном контроле.
[ГОСТ 16504-81, статья 47]
3.13
ИС МЕГАНОРМ: примечание.
В официальном тексте документа, видимо, допущена опечатка: имеется в виду статья 50 ГОСТ 16504-81, а не статья 48.
типовые испытания: Контрольные испытания выпускаемой продукции, проводимые с целью оценки эффективности и целесообразности вносимых изменений в конструкцию, рецептуру или технологический процесс.
[ГОСТ 16504-81, статья 48]
4 Классификация
4.1 Материалы подразделяют на водо- и ветроводозащитные (диффузионные) пленки.
4.2 По степени водонепроницаемости материалы подразделяют на классы W1, W2, W3.
5 Технические требования
5.1 Общие положения
5.1.1 Материалы должны соответствовать требованиям настоящего стандарта.
5.1.2 Среднее арифметическое значение, вычисленное из ряда результатов испытаний, должно находиться в пределах допусков, заявленных для данного показателя.
5.1.3 В пределах допусков должно находиться 95% отдельных результатов, если иное не указано в настоящем стандарте.
5.1.4 Испытания материалов для определения показателей, указанных в настоящем стандарте, проводимые с различными целями, кроме контроля готовой продукции на предприятии, должны быть начаты не позднее 1 мес после отгрузки продукции с предприятия. В течение этого срока материал должен храниться в соответствии с требованиями производителя по условиям хранения.
5.2 Видимые дефекты
Полотно материала не должно иметь видимых дефектов.
5.3 Длина, ширина, прямолинейность
Допустимое предельное отклонение по длине полотна - минус 0,5%. Допустимые предельные отклонения по ширине полотна - от минус 0,5% до плюс 1,5%.
Максимальное отклонение от прямолинейности полотна материала в рулоне не должно превышать 30 мм на каждые 10 м длины полотна. Для рулонов длиной менее 10 м максимальное отклонение от прямолинейности устанавливают пропорционально длине полотна (например, отклонение 15 мм на 5 м длины).
5.4 Масса на единицу площади
Масса на единицу площади материала должна соответствовать ДЗП.
5.5 Водонепроницаемость
5.5.1 Класс W1
Материал относится к классу водонепроницаемости W1, если он проходит испытание на водонепроницаемость в соответствии с 7.5.1. Если материал не проходит испытание на водонепроницаемость по 7.5.1, его следует испытывать в соответствии с 5.5.2.
5.5.2 Класс W2
Материал, не прошедший испытание по 7.5.1, испытывают в соответствии с 7.5.2. Если измеренное среднее значение объема воды, проникшей через образец для испытаний, составляет не более 100 см3, материал относят к классу водонепроницаемости W2.
5.5.3 Класс W3
Если материал не проходит испытание, указанное в 5.5.2, например средний измеренный объем воды, проникшей через образец для испытаний, превышает 100 см3, материал относят к классу водонепроницаемости W3.
Материалы, которые не подвергались испытаниям, также относят к классу водонепроницаемости W3.
5.6 Паропроницаемость
Водозащитные пленки не испытывают.
Паропроницаемость ветроводозащитных (диффузионных) пленок должна быть равна или более ПЗП.
5.7 Деформативно-прочностные свойства
Деформативно-прочностные свойства (максимальная сила растяжения в продольном и поперечном направлениях, относительное удлинение при разрыве в продольном и поперечном направлениях) должны соответствовать ДЗП.
5.8 Сопротивление раздиру стержнем гвоздя
Сопротивление раздиру стержнем гвоздя (в продольном и поперечном направлениях) должно соответствовать ДЗП.
5.9 Стабильность размеров
Изменения размеров не должны превышать ПЗП.
5.10 Гибкость при низких температурах
Материал должен выдерживать испытание, проведенное в соответствии с 7.10 (отсутствие трещин и отслаивания на лицевой стороне образцов).
5.11 Стойкость к искусственному старению
В нормативной документации на конкретную продукцию производитель должен указать деформативно-прочностные свойства и класс водонепроницаемости материала до и после искусственного старения. Деформативно-прочностные свойства искусственно состаренного материала должны соответствовать ДЗП. Водонепроницаемость искусственно состаренного материала должна относиться к тому же заявленному изготовителем классу, который определен в 5.5.
5.12 Воздухопроницаемость
Воздухопроницаемость определяют при необходимости. Воздухопроницаемость должна быть равна или менее ПЗП.
5.13 Водонепроницаемость швов
Водонепроницаемость швов определяют для материалов класса W1 с интегрированным клеевым слоем по требованию заказчика. Материал должен выдержать испытание.
5.14 Показатели пожарной опасности
Для материалов определяют следующие показатели пожарной опасности:
- группу горючести;
- группу воспламеняемости;
- группу распространения пламени.
5.15 Требования к сырью
5.15.1 При производстве рулонных водо- и ветроводозащитных (диффузионных) гибких полимерных материалов необходимо соблюдать следующие требования к применению переработанного сырья:
- при изготовлении материала допускается применение вторичного материального ресурса;
- обрезки кромок от производства нетканых материалов допускается применять при производстве нетканых материалов.
5.15.2 Допускается применение отходов и обрезков, полученных при производстве рулонных водо- и ветроводозащитных (диффузионных) гибких полимерных материалов, а также других строительных материалов (профилированных мембран, отсечной изоляции, разделительных пленок и других изоляционных материалов).
5.16 Маркировка
При поставке на каждом рулоне или каждой упаковке должны быть указаны следующие данные:
- дата изготовления или идентификационный номер;
- торговое наименование изделия;
- длина и ширина полотна;
- масса изделия;
- иная информация по решению изготовителя.
Особенности маркировки должны быть приведены в нормативной документации изготовителя на конкретный вид материала.
5.17 Упаковка
Упаковка должна обеспечивать защиту материалов от механических повреждений и атмосферных осадков при транспортировании и хранении.
6 Правила приемки
6.1 Приемку готовой продукции (по результатам оценки соответствия материалов требованиям настоящего стандарта и заявленным значениям показателей) осуществляет служба контроля качества (ОТК) изготовителя.
Приемку готовой продукции осуществляют партиями. Партией считается совокупность продукции одного вида, изготовленной из одного и того же сырья, по одной и той же технологии, в течение срока, установленного изготовителем.
6.2 Для проверки соответствия готовой продукции требованиям настоящего стандарта проводят квалификационные, приемо-сдаточные, периодические и типовые испытания.
6.3 Приемо-сдаточные испытания проводят в соответствии с перечнем показателей, установленным изготовителем в нормативной документации на конкретную продукцию.
6.4 При квалификационных и типовых испытаниях определяют показатели по следующим показателям:
- длина, ширина, прямолинейность;
- масса на единицу площади;
- водонепроницаемость (для материалов класса W1, W2);
- паропроницаемость;
- деформативно-прочностные свойства;
- сопротивление раздиру стержнем гвоздя;
- стабильность размеров;
- стойкость к искусственному старению.
6.5 Показатели пожарной опасности (группу горючести, группу воспламеняемости, группу распространения пламени) определяют при постановке продукции на производство, при каждом изменении сырья и/или технологии производства.
6.6 Периодичность испытаний, а также перечень показателей, определяемых при периодических испытаниях, приведены в таблице 1.
Таблица 1
Перечень контролируемых показателей при проведении
периодических испытаний материалов, минимальная
периодичность при проведении периодических
испытаний материалов
Показатель
Раздел
Метод испытаний
Периодические испытания
Видимые дефекты
По 7.2
Один раз за смену
Длина, ширина, прямолинейность
По 7.3
Один раз за 40 смен
Масса на единицу площади
По 7.4
Один раз за смену
Водонепроницаемость (для материалов класса W1, W2)
По 7.5
Один раз за 40 смен
Паропроницаемость
По 7.6
Один раз за 40 смен
Деформативно-прочностные свойства
По 7.7
Один раз за 10 смен
Сопротивление раздиру стержнем гвоздя
По 7.8
Один раз за 40 смен
Стабильность размеров
По 7.9
Один раз в год
Стойкость к искусственному старению
По 7.11
Один раз в два года
Необходимость проведения испытания по определению гибкости при низких температурах, воздухопроницаемости и водонепроницаемости швов определяет изготовитель.
Материалы могут быть сгруппированы для проведения испытаний, если они имеют одинаковые основные показатели и изготовлены по одной технологии из аналогичных сырьевых компонентов.
6.7 Выборку проводят в соответствии с требованиями ГОСТ EN 13416.
6.8 При положительных результатах приемо-сдаточных испытаний ОТК оформляет документ о качестве на принятую продукцию. В документе о качестве должны быть указаны значения показателей материала, определенные в соответствии с методами испытаний, приведенными в настоящем стандарте, и должна содержаться следующая информация:
- наименование материала или его товарный знак;
- наименование и адрес изготовителя;
- назначение материала;
- результаты испытаний и класс водонепроницаемости;
- знак системы сертификации при его наличии;
- информация для потребителя (например, ограничения, касающиеся применения и хранения материала, техники безопасности при его укладке и эксплуатации);
- иная информация по решению изготовителя.
Пример документа о качестве приведен в приложении А.
6.9 Изготовитель должен хранить результаты квалификационных и типовых испытаний не менее пяти лет.
7 Методы испытаний
7.1 Отбор образцов
Отбор образцов проводят в соответствии с требованиями ГОСТ EN 13416.
7.2 Видимые дефекты
Видимые дефекты определяют в соответствии с ГОСТ EN 1850-2.
7.3 Длина, ширина, прямолинейность
Длину, ширину и прямолинейность полотна материала в рулоне определяют в соответствии с нормативно-технической документацией, действующей в странах, принявших настоящий стандарт <1>.
--------------------------------
<1> В Российской Федерации действует ГОСТ Р 56582-2015 "Материалы кровельные и гидроизоляционные гибкие полимерные (термопластичные и эластомерные). Методы определения длины, ширины, прямолинейности и плоскостности".
7.4 Масса на единицу площади
Массу на единицу площади определяют в соответствии с требованиями ГОСТ EN 1849-2.
7.5 Определение класса водонепроницаемости
7.5.1 Класс W1 водонепроницаемости определяют в соответствии с ГОСТ EN 1928 (метод A) со следующими изменениями:
- водяной столб должен составлять 200 мм;
- используют воду, окрашенную индикаторной смесью, указанной в ГОСТ EN 1928, для обнаружения следов проникания воды;
- используют один слой лабораторной фильтровальной бумаги с массой на единицу площади 80 г/м2;
- продолжительность испытания образца под давлением - 2 ч;
- используют три образца для испытаний.
7.5.2 Если испытание по 7.5.1 показало отрицательный результат, материал испытывают на соответствие классу водонепроницаемости W2. Испытания проводят в соответствии с ГОСТ EN 13111. Материал относят к классу W2 при условии, что через него проникло не более 100 см3 воды.
7.6 Паропроницаемость
7.6.1 Паропроницаемость для водозащитных пленок не определяют.
7.6.2 Паропроницаемость ветроводозащитных (диффузионных) пленок определяют в соответствии с требованиями ГОСТ 25898.
7.7 Деформативно-прочностные свойства
Деформативно-прочностные свойства неармированных материалов определяют в соответствии с требованиями ГОСТ 31899-2.
Деформативно-прочностные свойства армированных материалов определяют в соответствии с требованиями, указанными в приложении Б.
7.8 Сопротивление раздиру стержнем гвоздя
Для неармированных материалов сопротивление раздиру стержнем гвоздя определяют в соответствии с требованиями ГОСТ 31898-1.
Для армированных материалов сопротивление раздиру стержнем гвоздя определяют в соответствии с требованиями, указанными в приложении В.
7.9 Стабильность размеров
Стабильность размеров определяют в соответствии с требованиями ГОСТ EN 1107-2.
7.10 Гибкость при низких температурах
Гибкость при низких температурах определяют в соответствии с требованиями ГОСТ 2678.
7.11 Стойкость к искусственному старению
Стойкость к искусственному старению определяют в соответствии с требованиями, указанными в приложении Г.
7.12 Воздухопроницаемость
Воздухопроницаемость определяют в соответствии с требованиями ГОСТ 26602.2 или ГОСТ ISO 9237.
7.13 Водонепроницаемость швов
Водонепроницаемость швов определяют в соответствии с требованиями, указанными в приложении Д.
7.14 Показатели пожарной опасности
Для материалов необходимо определять следующие показатели пожарной опасности:
- группу горючести по ГОСТ 30244;
- группу воспламеняемости по ГОСТ 30402;
- группу распространения пламени по ГОСТ 30444.
8 Транспортирование и хранение
Транспортирование и хранение осуществляют в соответствии с требованиями и указаниями изготовителя.
9 Гарантии изготовителя
9.1 Изготовитель гарантирует соответствие материалов требованиям настоящего стандарта в течение гарантийного срока хранения при соблюдении потребителем условий транспортирования и хранения.
9.2 Гарантийный срок хранения указывает изготовитель для конкретного типа материала.
Приложение А
(рекомендуемое)
ДОКУМЕНТ О КАЧЕСТВЕ
А.1 Документ о качестве должен содержать данные в соответствии с подразделом 6.5, а также информацию для потребителя (см. таблицу А.1).
Таблица А.1
Информация для потребителя
Параметр
Метод проведения испытаний
Выражение результата
Значение <1>
Длина, м
По 7.3
ДЗП
-
Ширина, м
По 7.3
ДЗП
-
Прямолинейность
По 7.3
Соответствует/не соответствует
-
Масса на единицу площади, г/м2
По 7.4
ДЗП
-
Водонепроницаемость
По 7.5
Класс W1, W2 или W3
-
Паропроницаемость, мг/(м·ч·Па) (для ветроводозащитных (диффузионных) пленок)
По 7.6.2
>= ПЗП
-
Максимальная сила растяжения, Н/50 мм
По 7.7
ДЗП
-
Относительное удлинение при разрыве, %
По 7.7
ДЗП
-
Сопротивление раздиру стержнем гвоздя, Н
По 7.8
ДЗП
-
Стабильность размеров, %
По 7.9
<= ПЗП
-
Стойкость к искусственному старению:
По 7.11
-
- водонепроницаемость
По 7.5
Класс W1, W2 или W3
- максимальная сила растяжения, Н/50 мм
По 7.7
ДЗП
- относительное удлинение при разрыве, %
По 7.7
ДЗП
Показатели пожарной опасности
По 7.14
Группа горючести, группа воспламеняемости, группа распространения пламени
-
<1> Заполняет изготовитель.
Приложение Б
(обязательное)
ОПРЕДЕЛЕНИЕ ДЕФОРМАТИВНО-ПРОЧНОСТНЫХ СВОЙСТВ
Б.1 Общие положения
Деформативно-прочностные свойства армированных рулонных изделий определяют путем испытаний в соответствии с ГОСТ 31899-2 с учетом требований, указанных в Б.2 - Б.7.
Б.2 Оборудование
Разрывная машина - в соответствии с ГОСТ 31899-2.
Б.3 Отбор образцов
Образцы для испытаний отбираются в соответствии с ГОСТ EN 13416.
Б.4 Подготовка образцов для испытаний
Необходимо подготовить два комплекта образцов для испытаний: один комплект из пяти образцов, вырезанных в продольном направлении изготовления, другой комплект из пяти образцов, вырезанных в поперечном направлении.
Образцы для испытаний вырезают из полосы материала на расстоянии не менее 100 мм от края листа с помощью шаблона или вырубного ножа, который дает возможность подготовить прямоугольные образцы для испытаний шириной (100,0 +/- 0,5) мм и длиной не менее 200 мм плюс две длины зажима, при этом испытуемое направление является наиболее длинным.
Временное защитное покрытие следует удалить.
Перед проведением испытаний образцы для испытаний кондиционируют не менее 20 ч при температуре (23 +/- 2) °C и относительной влажности воздуха в диапазоне от 30% до 70%.
Б.5 Проведение испытания
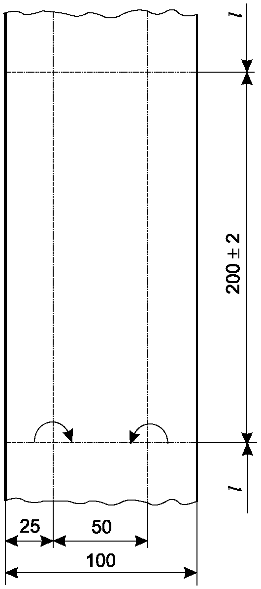
Образец для испытаний шириной 100 мм складывают и соединяют в середине, как показано на рисунке Б.1, крепко зажимают в машине для испытания на растяжение, с соблюдением правильного выравнивания осей образца и зажимов. Расстояние в свету между зажимами должно составлять (200 +/- 1) мм. Перед началом проведения испытаний прилагают предварительную нагрузку 5 Н для того, чтобы убрать провисание образца для испытаний. Загнутые края должны соединяться посередине листа без нахлеста. Отклонение линии соединения от середины не должно превышать +/- 1 мм.
Б.6 Обработка результатов
Растягивают образец до разрушения, определяют по датчику усилия и расстояния или по зарегистрированным данным максимальную силу растяжения и соответствующее ей относительное удлинение при разрыве образца как отношение значения удлинения рабочего участка образца при разрыве образца к значению базовой длины образца, выраженное в процентах.
В случае разрушения образца внутри зажимов на расстоянии менее 10 мм от наружного края зажимов или при его выскальзывании из зажимов результаты испытаний не учитывают и проводят повторные испытания.
Максимальная сила растяжения должна быть выражена в ньютонах на 50 мм, Н/50 мм, поэтому измеренные значения максимальной силы растяжения образцов для испытаний шириной 100 мм должны быть умножены на 0,5.
Для каждого образца фиксируют максимальную силу растяжения, выраженную в ньютонах на 50 мм (Н/50 мм), и соответствующее относительное удлинение при разрыве, а также направление вырубки образца для испытаний.
На основании результатов испытания пяти образцов для каждого направления вычисляют среднее арифметическое значение и среднеквадратическое отклонение максимальной силы растяжения, Н/50 мм, и относительного удлинения при разрыве, %.
Среднее значение максимальной силы растяжения округляют до 5 Н/50 мм, а среднее значение относительного удлинения при разрыве округляют до 1%.
l - длина захвата
Рисунок Б.1 - Складывание образца для испытаний
Б.7 Протокол испытаний
Протокол испытаний должен содержать следующую информацию:
а) данные, необходимые для идентификации испытуемого материала;
б) обозначение настоящего стандарта и отклонение от его требований;
в) информацию об отборе образцов в соответствии с Б.3;
г) информацию о подготовке образцов для испытаний в соответствии с Б.4;
д) результаты испытаний в соответствии с Б.6 с указанием направления вырубки образцов для испытаний;
е) дату проведения испытания(й).
Приложение В
(обязательное)
МЕТОД ОПРЕДЕЛЕНИЯ СОПРОТИВЛЕНИЯ РАЗДИРУ СТЕРЖНЕМ ГВОЗДЯ
В.1 Общие сведения
Определение сопротивления раздиру стержнем гвоздя армированных изделий определяют путем проведения испытаний испытаниями в соответствии с ГОСТ 31898-1 с учетом требований, приведенных в В.2 - В.7.
В.2 Оборудование
Для проведения испытания применяют разрывную машину на растяжение в соответствии с ГОСТ 31898-1. Ширина зажимов должна быть не менее 50 мм.
В.3 Отбор образцов
Образцы для испытаний отбирают в соответствии с ГОСТ EN 13416.
В.4 Подготовка образцов для испытаний
Необходимо подготовить два комплекта образцов для испытаний: один комплект из пяти образцов, вырезанных в продольном направлении изготовления, другой комплект из пяти образцов, вырезанных в поперечном направлении.
Размер образцов для испытаний: ширина - (200 +/- 1,0) мм, длина - не менее 200 мм.
В.5 Метод проведения испытаний
Образец для испытаний складывают, как показано на рисунке В.1, вставляют между рычагами плотно пригнанного хомута, и заостренный стержень гвоздя диаметром (2,5 +/- 0,1) мм проталкивают через установочные отверстия в рычагах хомута таким образом, чтобы стержень проткнул один слой образца на центральной линии на расстоянии (50 +/- 5) мм от свободного конца, находящегося внутри хомута.
1 - верхний зажим; 2 - положение гвоздя
Рисунок В.1 - Схема складывания и закрепления
образца для испытаний
Схематическое изображение установки для испытаний приведено в ГОСТ 31898-1. Толщина образца e является толщиной сложенного образца согласно ГОСТ 31898-1-2011 (рисунок 1).
В.6 Обработка результатов
За значение сопротивления раздиру стержнем гвоздя принимают значение максимальной силы растяжения, зарегистрированное в процессе испытания.
Для каждого образца фиксируют максимальную силу растяжения, Н, и направление вырубки образца.
Сопротивление раздиру стержнем гвоздя для каждого направления вычисляют как среднее арифметическое значение результатов испытаний пяти образцов, округленное до 5 Н.
В.7 Протокол испытаний
Протокол испытаний должен содержать следующую информацию:
а) данные, необходимые для идентификации испытуемого материала;
б) обозначение настоящего стандарта и отклонение от его требований;
в) информацию об отборе образцов в соответствии с В.3;
г) подробную информацию о подготовке образцов для испытаний в соответствии с В.4;
д) результаты испытаний в соответствии с В.6 с указанием направления испытаний;
е) дату проведения испытания(й).
Приложение Г
(обязательное)
ИСКУССТВЕННОЕ СТАРЕНИЕ ПОД ВОЗДЕЙСТВИЕМ УЛЬТРАФИОЛЕТОВОГО
ИЗЛУЧЕНИЯ И ТЕПЛА И ОЦЕНКА ЕГО ВЛИЯНИЯ НА СВОЙСТВА МАТЕРИАЛА
Г.1 Общие сведения
Искусственное старение проводят в соответствии с ГОСТ 32317 и ГОСТ EN 1296 с учетом требований, указанных в Г.2 - Г.7.
Г.2 Сущность метода
При проведении искусственного старения образцы для испытаний подвергают длительному воздействию УФ-излучения при повышенной температуре без орошения водой с последующим воздействием воздуха при повышенной температуре в течение заданного промежутка времени.
Для оценки влияния искусственного старения на свойства материала проводят испытания с целью определения водонепроницаемости (за исключением материалов класса W3) и деформативно-прочностных свойств на образцах, подвергшихся искусственному старению, и на образцах, не подвергавшихся искусственному старению.
Г.3 Оборудование
Г.3.1 Для воздействия УФ-излучением и повышенной температурой используют прибор, указанный в ГОСТ 32317-2012 (пункт 5.1), без орошения водой.
Г.3.2 Для проведения испытания методом искусственного термического старения используют сушильный шкаф с циркуляцией воздуха в соответствии с ГОСТ EN 1296. Сушильный шкаф с циркуляцией воздуха должен быть оборудован рамками, способными удерживать образцы для испытаний в вертикальном положении без подвергания напряжению во время проведения испытаний. Поток воздуха должен быть постоянным, ламинарным, скорость воздуха не должна превышать 0,05 м/с. Более высокая скорость воздуха может отрицательно влиять на эксплуатационные качества изделия. Использование более высокой скорости воздуха должно быть зарегистрировано в отчете об испытаниях.
Г.4 Подготовка образцов для испытаний
Образцы для определения водонепроницаемости и деформативно-прочностных свойств материала подготавливают в зависимости от класса материала и наличия армирования в соответствии с 7.5 и 7.7 (два комплекта). Один комплект образцов используют для определения водонепроницаемости и деформативно-прочностных свойств материала, не подвергавшегося искусственному старению. Другой комплект образцов подвергают искусственному старению.
Г.5 Метод проведения испытаний
Г.5.1 Определяют водонепроницаемость в соответствии с 7.5 и деформативно-прочностные свойства материала в соответствии с 7.7, используя первый комплект образцов.
Г.5.2 Второй комплект образцов помещают в аппарат искусственной погоды и подвергают воздействию УФ-излучения и повышенной температуры по ГОСТ 32317 с соблюдением следующих условий:
- температура на поверхности образцов (по термометру с черной панелью) должна быть (50 +/- 3) °C;
- рекомендуемая общая продолжительность УФ-излучения составляет 336 ч, что соответствует поглощенной дозе УФ-излучения 55 МДж/м2.
Г.5.3 После искусственного старения по Г.5.2 образцы для испытаний переносят в сушильный шкаф с циркуляцией воздуха (по Г.3.2) для воздействия воздухом при температуре (70 +/- 2) °C в течение 90 сут по ГОСТ EN 1296.
Г.5.4 Образцы, подвергшиеся искусственному старению по Г.5.2 и Г.5.3, используют для определения водонепроницаемости в соответствии с 7.5 и деформативно-прочностных свойств в соответствии с 7.7.
Г.6 Обработка результатов испытаний
Образцы для испытаний, подвергшиеся искусственному старению по Г.5.2 и Г.5.3, осматривают и фиксируют видимые изменения.
Обработка результатов определения водонепроницаемости - в соответствии с 7.5, обработка результатов определения деформативно-прочностных свойств - в соответствии с 7.7.
Г.7 Протокол испытаний
Протокол испытаний должен содержать следующую информацию:
а) данные, необходимые для идентификации испытуемого материала;
- обозначение, изготовитель или поставщик изделия,
- тип изделия (код изделия, если он применяется),
- упаковка,
- форма, в которой материал поступает в лабораторию,
- в случае необходимости, другая информация;
б) обозначение настоящего стандарта и отклонение от его требований;
в) информацию об отборе и подготовке образцов для испытаний (см. Г.4):
- лицо/организация, проводившие отбор образцов,
- место проведения отбора образцов,
- кондиционирование,
- отклонение от требований Г.4 и Г.5, при его наличии,
- общую информацию, относящуюся к испытаниям, включая общую продолжительность воздействия,
- события, которые могли повлиять на результат;
г) информацию о средствах испытаний (см. Г.3):
- тип и модель аппарата,
- тип используемой УФ-лампы, включая относительное спектральное распределение энергии;
д) результаты испытаний:
- видимые изменения образцов, подвергшихся искусственному старению,
- результаты определения водонепроницаемости и деформативно-прочностных свойств материала, не подвергавшегося искусственному старению,
- результаты определения водонепроницаемости и деформативно-прочностных свойств материала, подвергшегося искусственному старению;
е) дату проведения испытания(й).
Приложение Д
(рекомендуемое)
ОПРЕДЕЛЕНИЕ ВОДОНЕПРОНИЦАЕМОСТИ ШВОВ
Д.1 Общие положения
Водонепроницаемость швов определяют для материалов с интегрированным клеевым слоем в соответствии с ГОСТ EN 1928 (метод A) с учетом требований, указанных в Д.2 - Д.7.
Д.2 Процедура
Образец со швом должен быть выдержан под непрерывным давлением 2000 Па (соответствует 200 мм водяного столба) в течение всего испытания.
Образец должен быть размещен таким же образом, как при эксплуатации, чтобы под воздействием воды оказалась его внешняя поверхность. Тест следует проводить без лабораторной фильтровальной бумаги, с/без индикатора и без стекла.
Д.3 Уплотнительные прокладки
Уплотнительные прокладки необходимо выбирать исходя из тестируемого материала (резина, герметик, металлические кольца с канавкой и гребнем и т.п.). Используемые приспособления следует описывать в отчете об испытаниях.
Д.4 Подготовка образцов
Образцы должны быть соединены таким образом, каким они будут соединяться на строительной площадке. Максимальный свободный нахлест полотнищ - 50 мм.
После формирования шва до проведения испытания должно пройти не менее 6 ч при температуре (23 +/- 5) °C, если изготовителем не рекомендовано иное.
Шов должен быть расположен в центре испытуемого образца. Для исследования необходимы три образца.
Д.5 Испытание
Давление, равное 2000 Па, прикладывают к нижней стороне образца в течение 2 ч. Проникновение воды через шов оценивают визуально по состоянию верхней стороны образца.
Д.6 Обработка результатов испытаний
Образец, на котором наблюдается видимое проникновение воды сквозь шов, считают не прошедшим испытание. Соединение листов признают водонепроницаемым, когда все три испытуемых образца прошли тест с положительным результатом.
Д.7 Протокол испытаний
Протокол испытаний должен содержать следующую информацию:
а) обозначение настоящего стандарта и описание любых отклонений от указанного метода;
б) тип шва и продолжительность хранения испытуемого образца;
в) тип используемых уплотнительных прокладок;
г) результаты испытания, как указано в Д.6;
д) дату проведения испытания.
УДК 692.415.001.4:006.354
МКС 91.100.50
NEQ
Ключевые слова: водоизоляция, ветроизоляция, подкровельные пленки, кровельные материалы, строительство