Главная // Актуальные документы // ГОСТ (Государственный стандарт)СПРАВКА
Источник публикации
В данном виде документ опубликован не был.
Первоначальный текст документа опубликован в издании:
М.: ИПК Издательство стандартов, 1996.
Информацию о публикации документов, создающих данную редакцию, см. в справке к этим документам.
Примечание к документу
С 1 июля 2003 года до вступления в силу технических регламентов акты федеральных органов исполнительной власти в сфере технического регулирования носят рекомендательный характер и подлежат обязательному исполнению только в части, соответствующей целям, указанным в
пункте 1 статьи 46 Федерального закона от 27.12.2002 N 184-ФЗ.
Изменение N 1, принятое Постановлением Госстроя РФ от 02.09.2002 N 113,
введено в действие на территории Российской Федерации с 1 января 2003 года.
Текст документа приведен с учетом
поправки, опубликованной, в "ИУС", N 4, 1998,
поправки, опубликованной, в "ИУС", N 12, 1998.
Взамен ГОСТ 2678-87.
Название документа
"ГОСТ 2678-94. Материалы рулонные кровельные и гидроизоляционные. Методы испытаний"
(введен в действие Постановлением Минстроя РФ от 06.04.1995 N 18-30)
(ред. от 02.09.2002)
"ГОСТ 2678-94. Материалы рулонные кровельные и гидроизоляционные. Методы испытаний"
(введен в действие Постановлением Минстроя РФ от 06.04.1995 N 18-30)
(ред. от 02.09.2002)
Постановлением Минстроя РФ
от 6 апреля 1995 г. N 18-30
МЕЖГОСУДАРСТВЕННЫЙ СТАНДАРТ
МАТЕРИАЛЫ РУЛОННЫЕ КРОВЕЛЬНЫЕ И ГИДРОИЗОЛЯЦИОННЫЕ
МЕТОДЫ ИСПЫТАНИЙ
Rolled roofing and waterproof materials.
Methods of testing
ГОСТ 2678-94
| | Список изменяющих документов Постановлением Госстроя от 02.09.2002 N 113) | |
1. Разработан институтом ВНИИстройполимер АООТ "Полимерстройматериалы" Российской Федерации.
Внесен Минстроем России.
2. Принят Межгосударственной научно-технической комиссией по стандартизации и техническому нормированию в строительстве (МНТКС) 17 марта 1994 г.
За принятие проголосовали:
────────────────────────────┬─────────────────────────────────────
Наименование государства │Наименование органа государственного
│ управления строительством
────────────────────────────┼─────────────────────────────────────
Азербайджанская Республика │Госстрой Азербайджанской Республики
Республика Армения │Госупрархитектуры Республики Армения
Республика Беларусь │Госстрой Республики Беларусь
Республика Казахстан │Минстрой Республики Казахстан
Кыргызская Республика │Госстрой Кыргызской Республики
Республика Молдова │Минархстрой Республики Молдова
Российская Федерация │Минстрой России
Республика Таджикистан │Госстрой Республики Таджикистан
3. Введен в действие с 1 января 1996 г. в качестве государственного стандарта Российской Федерации Постановлением Минстроя России от 06.04.1995 г. N 18-30.
4. Взамен ГОСТ 2678-87.
Настоящий стандарт распространяется на рулонные кровельные и гидроизоляционные битумные, битумно-полимерные и полимерные материалы и устанавливает методы испытаний следующих показателей:
- внешнего вида;
- линейных размеров и площади;
- разрывной силы при растяжении, условной прочности, условного напряжения, относительного удлинения и относительного остаточного удлинения;
- сопротивления раздиру;
- твердости по Шору А;
- гибкости;
- водопоглощения;
- водонепроницаемости;
- теплостойкости;
- изменения линейных размеров полимерных материалов и изола при нагревании;
- потери массы при нагревании;
- массы покровного состава и содержания наполнителя;
- массы абсолютно сухой основы и отношения массы пропиточного битума к массе абсолютно сухой основы;
- массы основы при стандартной влажности;
- массы вяжущего, массы вяжущего с наплавляемой стороны, массы основы и содержания наполнителя в вяжущем материале на стекловолокнистой основе;
- массы вяжущего и температуры размягчения вяжущего материала типа фольгоизол;
- массы растворимой части битумного состава;
- массы 1 м2 материала;
- температуры хрупкости покровного состава и вяжущего;
- температуры размягчения покровного состава и вяжущего для материалов на картонной, асбестовой и стекловолокнистой основах;
- потери посыпки;
- снижения разрывной силы водонасыщенного материала;
- цветостойкости посыпки;
- справочной массы рулона;
- полноты пропитки;
- горючести.
Применение остальных методов и периодичность проведения испытаний устанавливаются в нормативной документации (НД) на продукцию конкретного вида.
Содержание вредных веществ в воздухе при производстве и применении рулонных кровельных и гидроизоляционных материалов определяют по методикам, утвержденным или согласованным органами Государственного санэпиднадзора.
В настоящем стандарте использованы ссылки на следующие стандарты:
ГОСТ 4-84 Углерод четыреххлористый технический. Технические условия
ГОСТ 262-93 Резина. Метод определения сопротивления раздиру
ГОСТ 263-75 Резина. Метод определения твердости по Шору А
Абзац исключен с 1 января 2003 года. -
Изменение N 1, принятое Постановлением Госстроя РФ от 02.09.2002 N 113.
Абзац исключен с 1 января 2003 года. -
Изменение N 1, принятое Постановлением Госстроя РФ от 02.09.2002 N 113.
Абзац исключен с 1 января 2003 года. -
Изменение N 1, принятое Постановлением Госстроя РФ от 02.09.2002 N 113.
ГОСТ 6613-86 Сетки проволочные тканые с квадратными ячейками. Технические условия
Абзац исключен с 1 января 2003 года. -
Изменение N 1, принятое Постановлением Госстроя РФ от 02.09.2002 N 113.
Абзац исключен с 1 января 2003 года. -
Изменение N 1, принятое Постановлением Госстроя РФ от 02.09.2002 N 113.
Абзац исключен с 1 января 2003 года. -
Изменение N 1, принятое Постановлением Госстроя РФ от 02.09.2002 N 113.
ГОСТ 9880-76 Толуол каменноугольный и сланцевый. Технические условия
Абзац исключен с 1 января 2003 года. -
Изменение N 1, принятое Постановлением Госстроя РФ от 02.09.2002 N 113.
Абзац исключен с 1 января 2003 года. -
Изменение N 1, принятое Постановлением Госстроя РФ от 02.09.2002 N 113.
ГОСТ 11358-89 Толщиномеры и стенкомеры индикаторные с ценой деления 0,01 и 0,1 мм. Технические условия
ГОСТ 11506-73 Битумы нефтяные. Метод определения температуры размягчения по кольцу и шару
ГОСТ 11507-78 Битумы нефтяные. Метод определения температуры хрупкости по Фраасу
Абзац исключен с 1 января 2003 года. -
Изменение N 1, принятое Постановлением Госстроя РФ от 02.09.2002 N 113.
ГОСТ 19265-73 Прутки и полосы из быстрорежущей стали. Технические условия
ГОСТ 19728.17-74 Тальк и талькомагнезит. Метод определения потери массы при прокаливании
Абзац исключен с 1 января 2003 года. -
Изменение N 1, принятое Постановлением Госстроя РФ от 02.09.2002 N 113.
Абзац исключен с 1 января 2003 года. -
Изменение N 1, принятое Постановлением Госстроя РФ от 02.09.2002 N 113.
Абзац исключен с 1 января 2003 года. -
Изменение N 1, принятое Постановлением Госстроя РФ от 02.09.2002 N 113.
ГОСТ 30244-94 Материалы строительные. Методы испытания на воспламеняемость
ГОСТ 30444-97 Материалы строительные. Метод испытания на распространение пламени
ГОСТ 30402-96 Материалы строительные. Метод испытания на воспламеняемость
ГОСТ 9389-75 Проволока стальная углеродистая пружинная. Технические условия
(абзац введен
Изменением N 1, принятым Постановлением Госстроя РФ от 02.09.2002 N 113)
ГОСТ 23750-79 Аппараты искусственной погоды на ксеноновых излучателях. Общие технические требования
(абзац введен
Изменением N 1, принятым Постановлением Госстроя РФ от 02.09.2002 N 113)
ГОСТ 30547-97 Материалы рулонные кровельные и гидроизоляционные. Общие технические условия.
(абзац введен
Изменением N 1, принятым Постановлением Госстроя РФ от 02.09.2002 N 113)
3.1.1. Объем выборки в зависимости от объема партии устанавливают в соответствии с
ГОСТ 30547.
(в ред.
Изменения N 1, принятого Постановлением Госстроя РФ от 02.09.2002 N 113)
3.1.2. Рулоны перед проверкой должны быть предварительно выдержаны не менее 10 ч при температуре воздуха (20 +/- 5) °C.
3.1.3. От каждого рулона, удовлетворяющего требованиям по внешнему виду и размерам, на расстоянии не менее 1 м от конца полотна отрезают на всю ширину полотна полосу длиной не менее 750 мм для испытания основных битумных и битумно-полимерных материалов и не менее 450 мм - для испытания безосновных битумных и битумно-полимерных и всех видов полимерных материалов.
(в ред.
Изменения N 1, принятого Постановлением Госстроя РФ от 02.09.2002 N 113)
Для проверки полноты пропитки от каждого рулона отрезают поперечную полосу материала на всю ширину полотна длиной (50 +/- 5) мм.
Из полосы материала по его ширине вырезают образцы для испытаний, при этом из каждых трех образцов два должны быть вырезаны на расстоянии не менее 25 мм от краев и один - посередине полосы.
Образцы перед испытанием должны быть предварительно выдержаны не менее 2 ч при температуре (20 +/- 5) °C.
Подготовку образцов к испытанию и проведение испытаний, если нет других указаний, следует проводить при температуре (20 +/- 5) °C.
3.1.4. Высушивание образцов (проб) до постоянной массы проводят при температуре 105 - 110 °C. Расхождение между последовательными взвешиваниями, выполненными не ранее чем через 30 мин. высушивания и охлаждения в эксикаторе, не должно превышать 0,04 г.
3.1.5. За величину показателя, имеющего числовое значение, принимают для рулона - среднее арифметическое значение результатов испытаний всех образцов, отобранных от рулона; а для партии - среднее арифметическое значение результатов испытаний всех рулонов в выборке.
3.2. Проверка внешнего вида
3.2.1. Упаковку и маркировку рулонов проверяют визуально.
(в ред.
Изменения N 1, принятого Постановлением Госстроя РФ от 02.09.2002 N 113)
3.2.2. Ровность торцов определяют металлическим измерительным инструментом с ценой деления 1 мм.
(п. 3.2.2 в ред.
Изменения N 1, принятого Постановлением Госстроя РФ от 02.09.2002 N 113)
3.2.3. Равномерность распределения посыпки, наличие или отсутствие слипаемости, дыр, трещин, разрывов и складок, а также количество полотен в рулоне устанавливают визуальным осмотром развернутого на всю длину полотна рулона, а при длине рулона более 15 м - на длине не менее 10 м.
Количество полотен в рулоне длиной более 15 м определяют при намотке.
3.2.4. Длину надрывов на кромках (краях) полотна измеряют металлическим измерительным инструментом с ценой деления 1 мм.
(п. 3.2.4 в ред.
Изменения N 1, принятого Постановлением Госстроя РФ от 02.09.2002 N 113)
3.3. Определение линейных размеров и площади
3.3.1. Линейные размеры (ширину и длину) полотна материала измеряют металлической линейкой и металлической рулеткой с ценой деления 1 мм, толщину (кроме материалов с крупнозернистой или чешуйчатой посыпкой) индикаторным ручным толщиномером с пределом измерений до 10 мм и ценой деления 0,01 мм или другим измерительным инструментом, обеспечивающим ту же погрешность измерения.
(в ред.
Изменения N 1, принятого Постановлением Госстроя РФ от 02.09.2002 N 113)
Длину полотна материала в рулоне измеряют по краю полотна, ширину - на расстоянии не менее 1 м от края полотна.
Результат округляют до 0,1 м (для длины полотна материала) и до 1 мм (для ширины полотна материала).
Для рулонов длиной более 15 м длину полотна материала в рулоне определяют по счетчику при намотке.
Поверка счетчика должна проводиться в установленном порядке.
Толщину материала измеряют на трех образцах размерами (100 х 50) +/- 1 мм посередине каждого образца.
Результат округляют до 0,01 мм.
3.3.2. Площадь полотна рулона вычисляют по результатам измерений длины и ширины (3.3.1).
Результат округляют до 0,1 м2.
3.4. Определение разрывной силы при растяжении, условной прочности, условного напряжения, относительного удлинения и относительного остаточного удлинения
3.4.1. Средства испытания и вспомогательные устройства
Разрывная машина для испытаний, обеспечивающая:
- рабочую часть шкалы силоизмерителя в пределах измерений 0 - 1000 Н (0 - 100 кгс) с ценой деления не более 2 Н (0,2 кгс);
- предел допускаемой погрешности измерения нагрузки (усилий) не должен превышать +/- 1% (для испытания основных материалов и изола);
- постоянную скорость перемещения подвижного захвата (100 +/- 10) мм/мин.
(в ред.
Изменения N 1, принятого Постановлением Госстроя РФ от 02.09.2002 N 113)
Разрывная машина для испытаний, обеспечивающая:
- рабочую часть шкалы силоизмерителя в пределах измерений 0 - 100 Н (0 - 10 кгс) с ценой деления не более 0,05 Н (0,005 кгс);
- предел допускаемой погрешности измерения нагрузки (усилий) не должен превышать +/- 1% (для испытания безосновных материалов, кроме изола);
- постоянную скорость перемещения подвижного захвата (500 +/- 50) мм/мин.
При наличии устройства, регистрирующего силу в зависимости от удлинения образца, погрешность регистрации силы на диаграмме не должна превышать +/- 2%.
При наличии шкалы, градуированной в единицах напряжения, или печатающего устройства суммарная погрешность регистрации показателей не должна превышать +/- 5%.
Толщиномер индикаторный ручной с пределом измерений до 10 мм и ценой деления 0,01 мм по
ГОСТ 11358 или другой толщиномер, обеспечивающий ту же погрешность измерения.
Линейка металлическая с ценой деления 1 мм.
(в ред.
Изменения N 1, принятого Постановлением Госстроя РФ от 02.09.2002 N 113)
3.4.2. Порядок подготовки к проведению испытания
3.4.2.1. Испытание основных наплавляемых и ненаплавляемых битумных и битумно-полимерных материалов проводят на трех образцах-полосках размерами [(300 х 50) +/- 1] мм, вырезанных в продольном направлении.
(в ред.
Изменения N 1, принятого Постановлением Госстроя РФ от 02.09.2002 N 113)
3.4.2.2. Испытание безосновных битумных и битумно-полимерных и всех видов полимерных материалов проводят на трех образцах-лопатках, вырубленных в продольном направлении штанцевыми ножами, форма и угол заточки режущей кромки которых должны соответствовать указанным в
Приложениях А и
Б.
(в ред.
Изменения N 1, принятого Постановлением Госстроя РФ от 02.09.2002 N 113)
Тип образца-лопатки указывают в стандарте или технических условиях на конкретный вид продукции.
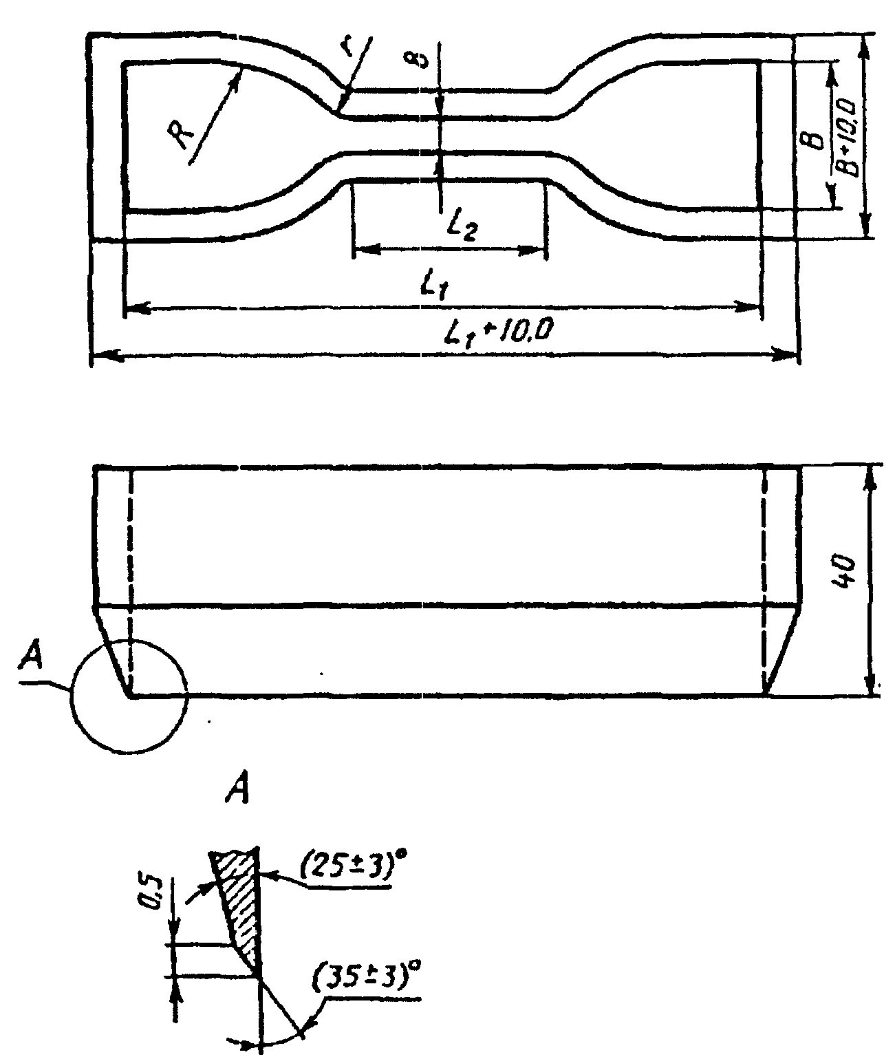
3.4.2.3. Типы и размеры образцов-лопаток должны соответствовать указанным в таблице 1 и на
рисунках 1,
2.
Таблица 1
В миллиметрах
┌────────────────────────────────┬───────────────────────────────┐
│ Наименование размера │ Размер образца-лопатки │
│ ├────────────────┬──────────────┤
│ │ Тип 1 │ Тип 2 │
├────────────────────────────────┼────────────────┼──────────────┤
│Общая длина L │ 250 +/- 1 │ 115 +/- 1 │
│ 1 │ │ │
│Ширина широкой части B │ 60 +/- 1 │ 25 +/- 1 │
│Ширина узкой (рабочей) части b │ 50 +/- 1 │ 6 +/- 0,4 │
│Длина узкой (рабочей) части L │ 116 +/- 1 │ 33 +/- 1 │
│ 2 │ │ │
│Радиус большой R │ 75 +/- 1 │ 25 +/- 1 │
│Радиус малый r │ - │ 14 +/- 1 │
└────────────────────────────────┴────────────────┴──────────────┘
Рисунок 1. Образец-лопатка типа 1
Рисунок 2. Образец-лопатка типа 2
3.4.2.4. Отклонение от ширины ножа на длине рабочего участка не должно быть более 0,025 мм.
Разность между максимальной и минимальной толщиной образца на рабочем участке не должна быть для образца-лопатки типа 1 более 0,2 мм, а для типа 2 - более 0,05 мм.
Рабочий участок (l) отмечают параллельными метками, наносимыми штампом, схема которого дана в
Приложении В, или вручную.
Длина рабочего участка (l) для образца-полоски (150 +/- 1) мм, для образца-лопатки типа 1 - (100 +/- 1) мм, а для образца-лопатки типа 2 - (25,0 +/- 0,5) мм.
(в ред.
Изменения N 1, принятого Постановлением Госстроя РФ от 02.09.2002 N 113)
3.4.2.5. Для обеспечения одинакового крепления образца в захватах разрывной машины наносят установочные метки, расстояние

между которыми для образца-полоски - (200 +/- 1) мм, для образца-лопатки типа 1 - (150 +/- 1)мм, для образца-лопатки типа 2 - (50 +/- 1) мм.
(в ред.
Изменения N 1, принятого Постановлением Госстроя РФ от 02.09.2002 N 113)
Метки должны быть нанесены симметрично относительно центра образца.
3.4.2.6. Толщину образца-лопатки измеряют в трех точках на рабочем участке. За результат измерения принимают среднее арифметическое результатов трех измерений.
За ширину рабочего участка образца-лопатки принимают расстояние между режущими кромками ножа на его узкой части.
3.4.3. Порядок проведения испытания
3.4.3.1. Образец помещают в захваты разрывной машины по установочным меткам так, чтобы продольные оси захватов и продольная ось образца совпали между собой и с направлением движения подвижного захвата. Для образцов-полосок допускается при закреплении образца в зажимах перегибать его концы через специальный стержень во избежание выскальзывания материала из зажима, либо использовать другие способы закрепления образца, обеспечивающие надежность крепления. Устанавливают скорость перемещения подвижного захвата, указанную в стандарте или технических условиях на продукцию конкретного вида.
(в ред.
Изменения N 1, принятого Постановлением Госстроя РФ от 02.09.2002 N 113)
3.4.3.2. Для определения разрывной силы, условной прочности, условного напряжения и относительного удлинения фиксируют силу и длину рабочего участка в момент разрыва или максимального значения силы

. При наличии в машине шкалы деформации фиксируют удлинение образца. В случае разрыва образца вне рабочего участка или на его границе результаты испытаний не учитывают и проводят повторные испытания. При проведении испытания на образцах-полосках в случае разрыва образца внутри зажима или на его границе допускается учитывать результаты испытаний, если они выше требований нормативного документа.
(в ред.
Изменения N 1, принятого Постановлением Госстроя РФ от 02.09.2002 N 113)
3.4.3.3. Для определения относительного остаточного удлинения части разорванного образца, освобожденные из захватов машины, помещают на горизонтальную поверхность и через (120 +/- 2) с после разрыва измеряют расстояние, ограничивающее рабочий участок двух сложенных вместе (без зазора) по месту разрыва частей образца

.
3.4.4. Правила обработки результатов испытания
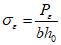
3.4.4.1. Условную прочность

в мегапаскалях (килограммах-силы на квадратный сантиметр) образца-лопатки вычисляют по формуле

, (1)
где

- разрывная сила, Н (кгс);
b - ширина образца-лопатки, м (см);

- среднее значение толщины образца-лопатки на рабочем участке, м (см).
Результат округляют до 0,1 МПа (1,0 кгс/см2).
3.4.4.2. Условное напряжение

в мегапаскалях (килограммах-силы на квадратный сантиметр) образца-лопатки вычисляют по формуле

, (2)
где

- максимальная сила при испытании на растяжение, Н (кгс);
b - ширина образца-лопатки, м (см);

- среднее значение толщины образца-лопатки на рабочем участке, м (см).
Результат округляют до 0,1 МПа (1,0 кгс/см2).
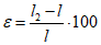
3.4.4.3. Относительное удлинение

в процентах вычисляют по формуле

, (3)
где

- длина рабочего участка образца до испытания, мм;

- длина рабочего участка образца в момент разрыва или максимального значения силы, мм.
Результат округляют до 1%.
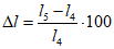
3.4.4.4. Относительное остаточное удлинение

в процентах вычисляют по формуле

, (4)
где l - длина рабочего участка образца до испытания, мм;

- длина рабочего участка образца (двух сложенных вместе частей разорванного образца), мм.
Результат округляют до 1%.
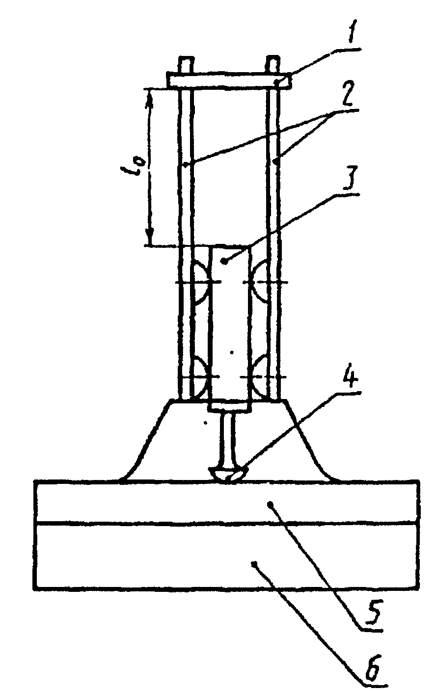
3.5. Определение сопротивления статическому продавливанию
3.5.1. Средства и вспомогательные устройства
Нагружающее устройство для испытания, принципиальная схема которого приведена на рисунке 3.
1 - гайка-маховик; 2 - подъемный столик; 3 - индентор;
4 - призма рычага основной нагрузки; 5 - шпиндель с грузом
предварительной нагрузки; 6 - отсчетное устройство; 7 - рукоятка
приложения и снятия основной нагрузки; 8 - грузы для
основной нагрузки; 9 - корпус
Рисунок 3
Устройство для испытания должно обеспечивать:
- плавное приложение нагрузки (100 +/- 10) Н или (250 +/- 10) Н;
- постоянство воздействия нагрузки в течение времени, необходимого для испытания;
- вертикальный ход индентора не менее 4 мм.
Стальной шарик диаметром (10,0 +/- 0,1) мм.
Подложки размерами (150 х 150 х 20) +/- 1 мм.
(в ред.
Изменения N 1, принятого Постановлением Госстроя РФ от 02.09.2002 N 113)
3.5.2. Порядок подготовки к проведению испытания
3.5.2.1. Испытание проводят на трех образцах размерами (150 х 150) +/- 1 мм.
3.5.2.2. На подъемный столик укладывают подложку, материал которой должен быть указан в НД на продукцию конкретного вида. На нее лицевой стороной вверх укладывают образец. В центр образца помещают шарик и перемещают подъемный столик так, чтобы шарик касался индентора. Момент касания определяют по отсчетному устройству.
3.5.3. Порядок проведения испытания
Задают нагрузку, указанную в НД на продукцию конкретного вида, и плавно прикладывают ее к образцу. Образец выдерживают в таком положении в течение (24,0 +/- 0,2) ч, затем снимают нагрузку, возвращая индентор в исходное положение, опускают подъемный столик, удаляют шарик и подвергают испытанию на водонепроницаемость по
3.11.
3.5.4. Образец считают выдержавшим испытание, если при испытании на водонепроницаемость в условиях, приведенных в НД на продукцию конкретного вида, на его поверхности не будет признаков проникания воды.
(п. 3.5.4 в ред.
Изменения N 1, принятого Постановлением Госстроя РФ от 02.09.2002 N 113)
3.6. Определение сопротивления динамическому продавливанию
3.6.1. Средства испытания и вспомогательные устройства
Устройство, схема которого приведена на рисунке 4, или иное устройство, обеспечивающее удар с энергией (9,0 +/- 0,1) Дж при массе бойка с индентором, равной (2,00 +/- 0,03) кг, расстояние между бойком и ограничителем

должно составлять (45,9 +/- 0,1) см.
1 - ограничитель; 2 - стальные направляющие;
3 - свинцовый боек;
4 - индентор из стали Ст3 с радиусом закругления
(25,0 +/- 0,3) мм; 5 - испытуемый образец;
6 - подложка
Рисунок 4
Подложка размерами (150 х 150 х 20)+/- 1 мм.
(в ред.
Изменения N 1, принятого Постановлением Госстроя РФ от 02.09.2002 N 113)
Уровень.
3.6.2. Порядок подготовки к проведению испытания
3.6.2.1. Испытания проводят на трех образцах размерами (150 х 150) +/- 1 мм.
3.6.2.2. Подложку, материал которой должен быть указан в НД на продукцию конкретного вида, устанавливают на столе горизонтально по уровню и сверху укладывают образец лицевой поверхностью вверх. В центр образца устанавливают устройство, обеспечивая плавное касание поверхности индентором.
3.6.3. Порядок проведения испытания
Боек вручную поднимают до касания ограничителя и отпускают. Удаляют устройство и снимают образец. Образец подвергают испытанию на водонепроницаемость по
3.11.
3.6.4. Образец считают выдержавшим испытание, если при испытании на водонепроницаемость в условиях, приведенных в НД на продукцию конкретного вида, на его поверхности не будет признаков проникания воды.
(п. 3.6.4 в ред.
Изменения N 1, принятого Постановлением Госстроя РФ от 02.09.2002 N 113)
3.7. Определение сопротивления раздиру
Сопротивление раздиру полимерных материалов определяют по
ГОСТ 262.
3.8. Определение твердости по Шору А
3.8.1. Средства испытания и вспомогательные устройства
Толщиномер индикаторный ручной с пределом измерения до 10 мм и ценой деления 0,01 мм по
ГОСТ 11358 или другой толщиномер, обеспечивающий ту же погрешность измерений.
Секундомер.
Уровень.
3.8.2. Порядок подготовки к проведению испытания
3.8.2.1. Испытание проводят на образце размерами (55 х 55) +/- 1 мм и толщиной не менее 6 мм.
3.8.2.2. Образцы размерами (55 х 55) +/- 1 мм укладывают в несколько слоев лицевой стороной вверх, при этом общая толщина испытуемого образца должна быть не менее 6 мм.
Количество слоев, обеспечивающее достижение такой толщины, должно быть указано в НД на продукцию конкретного вида.
3.8.2.3. Измеряют толщину образца в трех точках, расстояние между которыми должно быть не менее 5 мм, а расстояние от точки измерения до края образца не менее 15 мм. Разность максимального и минимального значений не должна превышать допусков на толщину испытуемого материала.
3.8.3. Порядок проведения испытания
3.8.3.1. Образец укладывают по уровню на гладкую горизонтальную поверхность. Твердомер устанавливают на образец без толчков и ударов в перпендикулярном положении так, чтобы опорная поверхность площадки прибора соприкасалась с поверхностью образца.
Твердомер нагружают вручную.
3.8.3.2. Отсчет твердости производят по истечении 3 - 4 с с момента прижатия твердомера к образцу.
3.8.3.3. Твердость измеряют в трех точках (в границах участка измерения толщины) образца, расстояние между которыми должно быть не менее 10 мм.
3.8.4. Правила обработки результатов испытания
За твердость по Шору А в условных единицах для материала в рулоне принимают среднее арифметическое результатов трех измерений, округленное до целого числа.
3.9. Определение гибкости
3.9.1. Средства испытания и вспомогательные устройства
Камера морозильная или холодильник, обеспечивающая создание заданной температуры.
(в ред.
Изменения N 1, принятого Постановлением Госстроя РФ от 02.09.2002 N 113)
Брус испытательный (рисунок 5), изготовленный из твердой древесины, пластмассы или другого материала низкой теплопроводности, имеющий с одной стороны закругление радиусом R. Радиус должен быть указан в НД на продукцию конкретного вида.
Рисунок 5
Секундомер.
Линейка металлическая с ценой деления 1 мм.
(в ред.
Изменения N 1, принятого Постановлением Госстроя РФ от 02.09.2002 N 113)
Смесь охлаждающая.
Сосуд.
(в ред.
Изменения N 1, принятого Постановлением Госстроя РФ от 02.09.2002 N 113)
Абзац исключен с 1 января 2003 года. -
Изменение N 1, принятое Постановлением Госстроя РФ от 02.09.2002 N 113.
3.9.2. Порядок подготовки к проведению испытания
3.9.2.1. Испытание проводят на трех образцах размерами (150 х 20) +/- 1 мм, вырезанных в продольном направлении.
3.9.2.2. Образцы и испытательный брус помещают в морозильную камеру, холодильник или охлаждающую смесь и выдерживают при заданной температуре (20,0 +/- 0,5) мин.
Состав охлаждающей смеси и температуру испытания указывают в НД на продукцию конкретного вида.
При проведении испытания при температуре >= 0 °C с применением охлаждающей смеси в качестве последней используют воду со льдом, температура которой должна соответствовать установленной в НД на продукцию конкретного вида.
(п. 3.9.2.2 в ред.
Изменения N 1, принятого Постановлением Госстроя РФ от 02.09.2002 N 113)
3.9.3. Порядок проведения испытания
3.9.3.1. По истечении заданного времени образец и испытательный брус извлекают из испытательной среды и прикладывают к ровной поверхности бруса нижней стороной таким образом, чтобы к нему прилегало около 0,25 длины образца. Свободный конец образца изгибают в течение (5 +/- 1) с вокруг закругленной части бруса до достижения другой ровной поверхности (образец принимает U-образную форму).
(в ред.
Изменения N 1, принятого Постановлением Госстроя РФ от 02.09.2002 N 113)
3.9.3.2. Производят контроль внешнего вида образца. Время с момента извлечения образца из испытательной среды и до конца испытания не должно превышать 15 с.
(в ред.
Изменения N 1, принятого Постановлением Госстроя РФ от 02.09.2002 N 113)
3.9.4. Правила обработки результатов испытания
Образец считают выдержавшим испытание, если на его лицевой стороне (для фольгоизола - на слое вяжущего) не появятся трещины (разрывы слоя вяжущего) и отслаивание вяжущего или посыпки.
3.10. Определение водопоглощения
3.10.1. Средства испытания и вспомогательные устройства
Весы лабораторные с допускаемой погрешностью не более 0,02 г.
Абзац исключен с 1 января 2003 года. -
Изменение N 1, принятое Постановлением Госстроя РФ от 02.09.2002 N 113.
Электроплита с закрытой спиралью.
(в ред.
Изменения N 1, принятого Постановлением Госстроя РФ от 02.09.2002 N 113)
Щипцы тигельные типа ЩТ или пинцет.
(в ред.
Изменения N 1, принятого Постановлением Госстроя РФ от 02.09.2002 N 113)
Щетка.
Пригруз массой (1,0 +/- 0,1) кг.
Секундомер.
Линейка металлическая с ценой деления 1 мм.
(в ред.
Изменения N 1, принятого Постановлением Госстроя РФ от 02.09.2002 N 113)
Битум с температурой размягчения не ниже 70 °C.
(в ред.
Изменения N 1, принятого Постановлением Госстроя РФ от 02.09.2002 N 113)
Сосуд для воды.
Емкость металлическая размерами не менее 120 х 250 мм.
Ткань хлопчатобумажная или бумага фильтровальная.
3.10.2. Порядок подготовки к проведению испытания
3.10.2.1. Испытания проводят на трех образцах размерами [(100 х 100) +/- 1] мм.
(п. 3.10.2.1 в ред.
Изменения N 1, принятого Постановлением Госстроя РФ от 02.09.2002 N 113)
3.10.2.2. Пылевидную посыпку с образца материала счищают хлопчатобумажной тканью или щеткой, прокладочный материал (пленку, бумагу и т.п.) перед испытанием удаляют с образца.
3.10.2.3. Для материалов с крупнозернистой или чешуйчатой посыпкой допускается проводить испытание на шести образцах размерами [(100 х 100) +/- 1] мм с изготовлением сдвоенных образцов.
(в ред.
Изменения N 1, принятого Постановлением Госстроя РФ от 02.09.2002 N 113)
Для этого каждый из двух образцов берут пинцетом или щипцами лицевой стороной (крупнозернистой или чешуйчатой посыпкой) вниз и подогревают над электроплиткой таким образом, чтобы на поверхности образца, обращенной к плитке, не появились пузыри. Затем оба образца складывают друг с другом подплавленными поверхностями так, чтобы края обоих образцов совпадали между собой, и устанавливают на (30 +/- 1) мин. пригруз.
3.10.2.4. Для устранения влияния капиллярного подсоса торцы образца материала на картонной и асбестовой основах погружают на 3 - 5 мм в битум, разогретый до температуры 160 - 180 °C, а затем охлаждают в течение не менее 1 ч.
(в ред.
Изменения N 1, принятого Постановлением Госстроя РФ от 02.09.2002 N 113)
3.10.3. Порядок проведения испытания
Подготовленный образец взвешивают

, а затем погружают на 60 +/- 5) с в сосуд с водой, после чего его извлекают из воды, вытирают хлопчатобумажной тканью или фильтровальной бумагой в течение 30 - 60 с и взвешивают

. Затем образец снова помещают в воду таким образом, чтобы слой воды над ним был не менее 50 мм и выдерживают в течение времени, указанного в НД на продукцию конкретного вида. После этого образец извлекают из воды, осушают и взвешивают

.
(в ред.
Изменения N 1, принятого Постановлением Госстроя РФ от 02.09.2002 N 113)
Время с момента извлечения образца из воды до взвешивания не должно превышать 60 с.
3.10.4. Правила обработки результатов испытания
Водопоглощение (W) в процентах по массе вычисляют по формуле

, (5)
где

- масса сухого образца, г;

- масса образца после одноминутной выдержки в воде, г;

- масса образца после заданной выдержки в воде, г.
Результат округляют до 0,1%.
3.11. Определение водонепроницаемости
3.11.1. Средства испытания и вспомогательные устройства
Устройство, схема которого приведена на рисунке 6, или устройство аналогичного типа, снабженное манометром и обеспечивающее создание избыточного гидростатического давления до 0,3 МПа (3 кгс/см2).
1 - рабочая камера; 2 - резиновые прокладки;
3 - образец; 4 - контактная сетка; 5 - прижимная плита;
6 - зажимные винты; 7, 8 - краны; 9 - резиновая трубка,
соединяющая с водопроводом; 10 - манометр
Рисунок 6
Труба из нержавеющего металла или металла с антикоррозионным покрытием диаметром 100 - 110 мм, толщиной 1,5 - 2,5 мм, длиной не более 120 мм с одним отшлифованным торцом и риской на внутренней поверхности трубы на высоте не менее 100 мм для установления уровня водяного столба, обеспечивающего создание избыточного гидростатического давления 0,001 МПа (0,01 кгс/см2).
(в ред.
Изменения N 1, принятого Постановлением Госстроя РФ от 02.09.2002 N 113)
Линейка металлическая с ценой деления 1 мм.
(в ред.
Изменения N 1, принятого Постановлением Госстроя РФ от 02.09.2002 N 113)
Секундомер.
Пластинка стеклянная размерами (150 х 150) +/- 1 мм.
Емкость металлическая размерами в плане не менее 150 х 150 мм.
Подставка, позволяющая производить визуальный осмотр образца в процессе испытания.
Бумага фильтровальная.
Битум нефтяной с температурой размягчения не ниже 70 °C.
(в ред.
Изменения N 1, принятого Постановлением Госстроя РФ от 02.09.2002 N 113)
3.11.2. Порядок подготовки к проведению испытания
3.11.2.1. Испытание проводят на трех образцах размерами (150 х 150) +/- 1 мм.
3.11.2.2. Испытание при давлении до 0,3 МПа (3 кгс/см2)
В верхней части рабочей камеры устройства (рисунок 6) укладывают резиновую прокладку шириной (15 +/- 1) мм, затем образец лицевой стороной (посыпкой) к воде и вторую резиновую прокладку. На образец укладывают контактную сетку толщиной 3 - 4 мм с отверстиями диаметром не более 5 мм, закрывают плитой и плотно прижимают винтами. При помощи кранов устанавливают давление, указанное в НД на продукцию конкретного вида.
(в ред.
Изменения N 1, принятого Постановлением Госстроя РФ от 02.09.2002 N 113)
3.11.2.3. Испытание при давлении не менее 0,001 МПа (0,01 кгс/см2)
(в ред.
Изменения N 1, принятого Постановлением Госстроя РФ от 02.09.2002 N 113)
На подставку помещают стеклянную пластинку, сверху - фильтровальную бумагу на всю поверхность пластинки, затем укладывают образец лицевой стороной вверх.
В середине образца устанавливают трубу и по ее окружности с образца при необходимости удаляют посыпку на ширину не менее 2 мм. Затем трубу снимают, погружают отшлифованный торец трубы на 10 - 15 мм в битум, нагретый до температуры 120 - 140 °C и выдерживают в нем 40 - 60 с, дают стечь избытку битума в течение 5 - 6 с и устанавливают трубу на образец. Подготовленный к испытанию образец охлаждают.
Абзац исключен с 1 января 2003 года. -
Изменение N 1, принятое Постановлением Госстроя РФ от 02.09.2002 N 113.
3.11.3. Порядок проведения испытания
3.11.3.1. Испытание при давлении до 0,3 МПа (3 кгс/см2)
Образец выдерживают при заданном давлении в течение времени, установленного в НД на продукцию конкретного вида.
3.11.3.2. Испытание при давлении не менее 0,001 МПа (0,01 кгс/см2)
(в ред.
Изменения N 1, принятого Постановлением Госстроя РФ от 02.09.2002 N 113)
В трубу до риски наливают воду, количество которой поддерживают на постоянном уровне в течение времени, установленного в НД на продукцию конкретного вида.
Через каждые 24 ч проверяют наличие мокрого пятна на фильтровальной бумаге. При появлении признаков воды испытание прекращают.
3.11.4. Правила обработки результатов испытания
Образец считают выдержавшим испытание, если в течение установленного времени при заданном давлении на его поверхности не появится вода.
3.12. Определение теплостойкости
3.12.1. Средства испытания и вспомогательные устройства
Шкаф электрический сушильный, обеспечивающий поддержание температуры до 200 °C.
Линейка металлическая с ценой деления 1 мм.
(в ред.
Изменения N 1, принятого Постановлением Госстроя РФ от 02.09.2002 N 113)
3.12.2. Порядок подготовки к проведению испытания
Испытание проводят на трех образцах размерами (100 х 50) +/- 1 мм, вырезанных в продольном направлении.
Сушильный шкаф нагревают до температуры, указанной в НД на продукцию конкретного вида.
Образец материала подвешивают в вертикальном положении на расстоянии не менее 50 мм от стенок шкафа.
Образец безосновного материала должен быть закреплен по всей ширине в деревянном зажиме.
3.12.3. Порядок проведения испытания
Образцы выдерживают в сушильном шкафу при заданной температуре в течение времени, установленного в НД на продукцию конкретного вида.
Затем образцы извлекают из шкафа, охлаждают и визуально осматривают.
3.12.4. Правила обработки результатов испытания
Образец считают выдержавшим испытание на теплостойкость, если на его поверхности отсутствуют вздутия и следы перемещения покровного состава или вяжущего и сползание посыпки.
(в ред.
Изменения N 1, принятого Постановлением Госстроя РФ от 02.09.2002 N 113)
3.13. Определение изменения линейных размеров полимерных материалов и изола при нагревании
3.13.1. Средства испытания и вспомогательные устройства
Шкаф электрический сушильный, обеспечивающий поддержание температуры до 300 °C.
Линейка металлическая с ценой деления 1 мм.
(в ред.
Изменения N 1, принятого Постановлением Госстроя РФ от 02.09.2002 N 113)
Штангенциркуль.
(в ред.
Изменения N 1, принятого Постановлением Госстроя РФ от 02.09.2002 N 113)
3.13.2. Порядок подготовки к проведению испытания
3.13.2.1. Испытание проводят на трех образцах размерами (100 х 50) +/- 1 мм, вырезанных в продольном направлении.
3.13.2.2. Замеряют первоначальную длину

образца штангенциркулем с погрешностью не более 0,2 мм.
Сушильный шкаф нагревают до температуры, указанной в НД на продукцию конкретного вида.
Образец безосновного материала закрепляют по всей ширине в деревянном зажиме и подвешивают в вертикальном положении на расстоянии не менее 50 мм от стенок шкафа.
3.13.3. Порядок проведения испытания
Образцы выдерживают в сушильном шкафу при заданной температуре в течение времени, установленного в НД на продукцию конкретного вида. Затем образцы извлекают из шкафа, охлаждают и замеряют длину

.
3.13.4. Правила обработки результатов испытания
Измерение длины

в процентах вычисляют по формуле

, (6)
где

- длина образца до испытания, мм;

- длина образца после испытания, мм.
Результат округляют до 1%.
3.14. Определение потери массы при нагревании
3.14.1. Средства испытания и вспомогательные устройства
Шкаф электрический сушильный, обеспечивающий поддержание температуры до 200 °C.
Весы лабораторные с допускаемой погрешностью не более 0,05 г.
Эксикатор.
(в ред.
Изменения N 1, принятого Постановлением Госстроя РФ от 02.09.2002 N 113)
Линейка металлическая с ценой деления 1 мм.
(в ред.
Изменения N 1, принятого Постановлением Госстроя РФ от 02.09.2002 N 113)
3.14.2. Порядок подготовки к проведению испытания
Сушильный шкаф нагревают до температуры, указанной в НД на продукцию конкретного вида.
Образец материала взвешивают (

) и подвешивают в вертикальном положении на расстоянии не менее 50 мм от стенок шкафа (образец безосновного материала должен быть закреплен по всей ширине в деревянном зажиме).
3.14.3. Порядок проведения испытания
Образцы выдерживают в сушильном шкафу при заданной температуре в течение времени, установленного в НД на продукцию конкретного вида. Затем образцы извлекают из шкафа, охлаждают в эксикаторе и взвешивают (

).
3.14.4. Порядок обработки результатов испытания
Потерю массы при нагревании (Q) в процентах вычисляют по формуле

, (7)
где

- масса образца до испытания, г;

- масса образца после испытания, г.
Результат округляют до 0,1%.
3.15. Определение массы покровного состава и содержания наполнителя
3.15.1. Средства испытания и вспомогательные устройства
Весы лабораторные с допускаемой погрешностью не более 0,02 г.
Насадка стеклянная лабораторная для экстрагирования типа НЭТ с колбой вместимостью 500 или 1000 см3 и холодильником или аналогичный прибор, обеспечивающий полное экстрагирование образцов и аттестованный в установленном порядке.
(в ред.
Изменения N 1, принятого Постановлением Госстроя РФ от 02.09.2002 N 113)
Электропечь камерная.
Электроплитка с закрытой спиралью.
(в ред.
Изменения N 1, принятого Постановлением Госстроя РФ от 02.09.2002 N 113)
Шкаф электрический сушильный, обеспечивающий поддержание температуры до 200 °C.
Линейка металлическая с ценой деления 1 мм.
(в ред.
Изменения N 1, принятого Постановлением Госстроя РФ от 02.09.2002 N 113)
Эксикатор.
(в ред.
Изменения N 1, принятого Постановлением Госстроя РФ от 02.09.2002 N 113)
Набор сит с металлическими сетками по
ГОСТ 6613.
Щипцы тигельные типа ЩТ или пинцет медицинский.
(в ред.
Изменения N 1, принятого Постановлением Госстроя РФ от 02.09.2002 N 113)
Тигель.
(в ред.
Изменения N 1, принятого Постановлением Госстроя РФ от 02.09.2002 N 113)
Баня водяная.
Нож.
Ткань хлопчатобумажная или бумага фильтровальная.
Щетка волосяная.
Углерод четыреххлористый технический по
ГОСТ 4.
3.15.2. Порядок подготовки к проведению испытания
3.15.2.1. Испытание проводят на трех образцах размерами (100 х 50) +/- 1 мм, вырезанных в продольном направлении.
3.15.2.2. Пылевидную посыпку с образца материала счищают хлопчатобумажной тканью или щеткой, а затем образец взвешивают (

).
3.15.3. Порядок проведения испытания
3.15.3.1. Материалы с пылевидной посыпкой
Образец материала берут щипцами или пинцетом лицевой стороной вверх и подогревают над электроплиткой таким образом, чтобы на поверхности образца, обращенной к плитке, не появились пузыри. Затем горячим ножом снимают подогретый слой покровного состава материала с нижней стороны до основы, не нарушая при этом ее целостности.
Образец, очищенный с нижней или наплавляемой стороны от покровного состава, взвешивают (

). Затем таким же способом снимают покровный состав с лицевой стороны образца.
Образец, очищенный с обеих сторон от покровного состава, взвешивают (

).
Покровный состав, снятый с трех образцов (не менее 1 г), помещают в предварительно прокаленный и взвешенный тигель (

) и взвешивают (

). Тигель с навеской помещают в электропечь, нагревают до температуры (600 +/- 10) °C и сжигают навеску до полного озоления остатка.
После сжигания тигель с навеской охлаждают в эксикаторе не менее 30 мин. и взвешивают (

).
Охлаждение и взвешивание повторяют до получения расхождения между последовательными взвешиваниями не более 0,04 г.
При определении содержания наполнителя в покровном составе параллельно определяют содержание сгораемых веществ А в наполнителе по ГОСТ 19728.17 при температуре прокаливания пробы (600 +/- 10) °C.
(абзац введен
Изменением N 1, принятым Постановлением Госстроя РФ от 02.09.2002 N 113)
3.15.3.2. Материалы с крупнозернистой или чешуйчатой посыпкой (метод экстрагирования)
(в ред.
Изменения N 1, принятого Постановлением Госстроя РФ от 02.09.2002 N 113)
Слой покровного состава с нижней или наплавляемой стороны образца снимают, как указано выше, после чего образец взвешивают (

) . Затем снимают слой покровного состава вместе с посыпкой с лицевой стороны образца в сухую предварительно взвешенную экстракционную гильзу (

), изготовленную из фильтровальной бумаги, высушенной до постоянной массы, и взвешивают (

).
Гильзу с покровным составом и посыпкой помещают в экстрактор, заливают одним из вышеперечисленных растворителей в полуторном или двукратном количестве от рабочего объема экстрактора и начинают экстрагировать. Экстрагирование проводят до появления бесцветного раствора, и затем при бесцветном растворе экстрагируют еще (30 +/- 1) мин.
После окончания экстрагирования гильзу с содержимым вынимают из экстрактора и выдерживают в вытяжном шкафу для удаления растворителя в течение 20 - 30 мин., а затем высушивают до постоянной массы.
Извлеченный после экстрагирования из гильзы минеральный материал рассеивают на сите с сеткой N 02. Затем взвешивают материал (

), прошедший через сито, и материал (

), оставшийся на сите.
(в ред.
Изменения N 1, принятого Постановлением Госстроя РФ от 02.09.2002 N 113)
3.15.3.2а Материалы с крупнозернистой посыпкой (метод сжигания)
Слой покровного состава с нижней или наплавляемой стороны образца снимают, как указано в 3.15.3.1, после чего образец взвешивают

. Затем снимают слой покровного состава вместе с посыпкой с лицевой стороны образца и помещают в предварительно прокаленный и взвешенный тигель

и взвешивают

. Тигель с навеской помещают в электропечь, нагревают до температуры (600 +/- 10) °C и сжигают навеску до полного озоления остатка.
После сжигания тигель с навеской охлаждают в эксикаторе в течение (30 - 40) мин.
Извлеченный после сжигания минеральный остаток рассеивают на сите с сеткой N 02 и взвешивают материал, прошедший через сито

, и материал, оставшийся на сите

.
Параллельно определяют содержание сгораемых веществ в посыпке

и наполнителе А (при его определении в покровном составе) по ГОСТ 19728.17, температура прокаливания (600 +/- 10) °C.
(п. 3.15.3.2а введен
Изменением N 1, принятым Постановлением Госстроя РФ от 02.09.2002 N 113)
3.15.4. Правила обработки результатов испытания
3.15.4.1. Массу покровного состава с нижней или наплавляемой стороны материала (

) в граммах на квадратный метр вычисляют по формуле

, (10)
где

- масса образца с покровным составом, г;

- масса образца после снятия покровного состава с нижней или наплавляемой стороны, г;
200 - коэффициент приведения площади образца к 1 м2.
Результат округляют до 1 г.
3.15.4.2. Массу покровного состава с лицевой стороны материала (

) в граммах на квадратный метр вычисляют по формулам:
1) для материалов с пылевидной посыпкой

, (11)
где

- масса образца после снятия покровного состава с нижней или наплавляемой и лицевой сторон, г;
2) для материалов с крупнозернистой или чешуйчатой посыпкой (метод экстрагирования)
(в ред.
Изменения N 1, принятого Постановлением Госстроя РФ от 02.09.2002 N 113)

, (12)
где

- масса гильзы, г;

- масса гильзы с покровным составом и посыпкой до экстрагирования, г;

- масса материала, оставшегося на сите после рассева, г.
3) для материалов с крупнозернистой посыпкой (метод сжигания)

, (12а)
где

- масса тигля с навеской до прокаливания;

- масса пустого прокаленного тигля, г;

- масса материала, оставшегося на сите после рассева, г;

- содержание сгораемых веществ в посыпке, %.
Результат округляют до 1 г.
(перечисление 3) введено
Изменением N 1, принятым Постановлением Госстроя РФ от 02.09.2002 N 113)
3.15.4.3. Массу покровного состава материала (

) в граммах на квадратный метр вычисляют по формуле

. (13)
3.15.4.4. Содержание наполнителя (N) в процентах от массы покровного состава вычисляют по формулам:
1) для материалов с пылевидной посыпкой

, (14)
где

- масса пустого прокаленного тигля, г;

- масса тигля с навеской до прокаливания, г;

- масса тигля с навеской после прокаливания, г;
A - содержание сгораемых веществ в наполнителе, %.
Абзац исключен с 1 января 2003 года. -
Изменение N 1, принятое Постановлением Госстроя РФ от 02.09.2002 N 113.
2) для материалов с крупнозернистой или чешуйчатой посыпкой (метод экстрагирования)
(в ред.
Изменения N 1, принятого Постановлением Госстроя РФ от 02.09.2002 N 113)

, (15)
где

- масса наполнителя, г;

- масса покровного состава с лицевой стороны, г;
200 - коэффициент приведения площади образца к 1 м2.
Абзац исключен с 1 января 2003 года. -
Изменение N 1, принятое Постановлением Госстроя РФ от 02.09.2002 N 113.
3) для материалов с крупнозернистой посыпкой (метод сжигания)

, (15а)
где

- масса наполнителя, г;

- масса покровного состава с лицевой стороны, г;
А - содержание сгораемых веществ в наполнителе, %;
200 - коэффициент приведения площади образца к 1 м2;
Результат округляют до 1%."
При осуществлении технологического контроля допускается определять:
- содержание массы покровного состава экспресс-методом, приведенным в
Приложении Г;
- содержание наполнителя в покровном составе на пробах покровного состава, отобранных в процессе изготовления из покровной ванны, методом сжигания, приведенным в
Приложении Г.
(перечисление 3) введено
Изменением N 1, принятым Постановлением Госстроя РФ от 02.09.2002 N 113)
3.16. Определение массы абсолютно сухой основы и отношения массы пропиточного битума к массе абсолютно сухой основы
3.16.1. Средства испытания и вспомогательные устройства
Весы лабораторные с допускаемой погрешностью не более 0,02 г.
Насадка стеклянная лабораторная для экстрагирования типа НЭТ с колбой вместимостью 500 или 1000 см3 и холодильником или аналогичный прибор, обеспечивающий полное экстрагирование образцов и аттестованный в установленном порядке.
(в ред.
Изменения N 1, принятого Постановлением Госстроя РФ от 02.09.2002 N 113)
Шкаф электрический сушильный, обеспечивающий поддержание температуры до 200 °C.
Эксикатор.
(в ред.
Изменения N 1, принятого Постановлением Госстроя РФ от 02.09.2002 N 113)
Баня водяная.
Углерод четыреххлористый технический по
ГОСТ 4.
Бумага фильтровальная.
3.16.2. Порядок подготовки к проведению испытания и проведение испытания
3.16.2.1. Испытание проводят на трех образцах, оставшихся после снятия покровного состава по
3.15.3.
3.16.2.2. Экстрагирование проводят в соответствии с
3.15.3.2. После окончания экстрагирования образец извлекают из экстрактора, выдерживают в вытяжном шкафу для удаления растворителя в течение 20 - 30 мин., а затем высушивают до постоянной массы (

).
3.16.3. Правила обработки результатов испытания
3.16.3.1. Массу абсолютно сухой основы (

) в граммах вычисляют по формуле

, (16)
где

- масса образца до экстрагирования, определенная по
3.15.3.1, г;

- масса образца после экстрагирования, г;

- коэффициент, учитывающий содержание нерастворимых веществ, не извлекаемых при экстрагировании и удержанных в порах картона, определяемый по формуле

.

зависит от растворимости битума Д, определяемой по
ГОСТ 20739, и составляет при Д = 99% - 0,0101; при Д = 98% - 0,0204.
Результат округляют до 1 г.
3.16.3.2. Отношение массы пропиточного битума к массе абсолютно сухой основы (O) вычисляют по формуле

. (17)
Результат округляют до 0,01.
При осуществлении технологического контроля допускается определять массу абсолютно сухой основы и отношения массы пропиточного битума к массе абсолютно сухой основы экспресс-методом, приведенным в
Приложении Г.
(абзац введен
Изменением N 1, принятым Постановлением Госстроя РФ от 02.09.2002 N 113)
3.17. Определение массы основы при стандартной или фактической влажности
(в ред.
Изменения N 1, принятого Постановлением Госстроя РФ от 02.09.2002 N 113)
Массу основы при стандартной влажности (

) в граммах на квадратный метр устанавливают на основе результатов экстрагирования образцов в соответствии с
3.15.3.2 и вычисляют по формуле

, (18)
где

- масса абсолютно сухой основы образца, г;

- коэффициент приведения массы абсолютно сухой основы к массе основы при стандартной или фактической влажности, определяемой по формуле
(в ред.
Изменения N 1, принятого Постановлением Госстроя РФ от 02.09.2002 N 113)

, (19)
где

- влажность основы, нормированная НД на продукцию конкретного вида, или фактическая влажность, % по массе;
(в ред.
Изменения N 1, принятого Постановлением Госстроя РФ от 02.09.2002 N 113)
200 - коэффициент приведения площади образца к 1 м2.
Результат округляют до 1 г.
3.18. Определение массы вяжущего, массы основы и содержания наполнителя в вяжущем материала на стекловолокнистой, комбинированной основе или основе из полимерных волокон (метод экстрагирования).
(в ред.
Изменения N 1, принятого Постановлением Госстроя РФ от 02.09.2002 N 113)
3.18.1. Средства испытания и вспомогательные устройства
Весы лабораторные с допускаемой погрешностью не более 0,02 г.
Насадка стеклянная лабораторная для экстрагирования типа НЭТ с колбой вместимостью 500 или 1000 см3 и холодильником или аналогичный прибор, обеспечивающий полное экстрагирование образцов и аттестованный в установленном порядке.
(в ред.
Изменения N 1, принятого Постановлением Госстроя РФ от 02.09.2002 N 113)
Шкаф электрический сушильный, обеспечивающий поддержание температуры до 200 °C.
Электроплитка с закрытой спиралью.
(в ред.
Изменения N 1, принятого Постановлением Госстроя РФ от 02.09.2002 N 113)
Линейка металлическая с ценой деления 1 мм.
(в ред.
Изменения N 1, принятого Постановлением Госстроя РФ от 02.09.2002 N 113)
Эксикатор.
(в ред.
Изменения N 1, принятого Постановлением Госстроя РФ от 02.09.2002 N 113)
Нож.
Набор сит с металлическими сетками по
ГОСТ 6613.
Щипцы тигельные типа ЩТ или пинцет медицинский.
(в ред.
Изменения N 1, принятого Постановлением Госстроя РФ от 02.09.2002 N 113)
Баня водяная.
Углерод четыреххлористый по
ГОСТ 4.
Ткань хлопчатобумажная или бумага фильтровальная.
Щетка волосяная.
3.18.2. Порядок подготовки к проведению испытания
3.18.2.1. Испытание проводят на трех образцах размерами (100 х 50) +/- 1 мм, вырезанных в продольном направлении.
3.18.2.2. Образец материала очищают хлопчатобумажной тканью или щеткой от пылевидной посыпки, помещают в экстракционную гильзу (во избежание потери крупнозернистой или чешуйчатой посыпки и наполнителя во время экстрагирования) и взвешивают (

).
3.18.3 Порядок проведения испытания
3.18.3.1. Экстрагирование проводят в соответствии с
3.15.3.2, используя один из растворителей, перечисленных в
3.18.1. По окончании экстрагирования гильзу с образцом извлекают из экстрактора, выдерживают в вытяжном шкафу для удаления растворителя в течение 20 - 30 мин, а затем высушивают до постоянной массы (

).
3.18.3.2. Материалы с пылевидной посыпкой
Извлеченные из гильзы после экстрагирования наполнитель и основу взвешивают (соответственно

и

).
3.18.3.3. Материалы с крупнозернистой и чешуйчатой посыпкой
Извлеченный после экстрагирования из гильзы минеральный материал, состоящий из крупнозернистой или чешуйчатой посыпки и наполнителя, рассеивают на сите с сеткой N 02. Наполнитель, прошедший через сито, взвешивают (

). Основу материала взвешивают (

).
(в ред.
Изменения N 1, принятого Постановлением Госстроя РФ от 02.09.2002 N 113)
3.18.4. Правила обработки результатов испытания
3.18.4.1. Массу вяжущего (

) в граммах на квадратный метр материала вычисляют по формуле

, (20)
где

- масса образца с гильзой до экстрагирования, г;

- масса образца с гильзой после экстрагирования, г;

- масса наполнителя, г;
200 - коэффициент приведения площади образца к 1 м2.
Результат округляют до 1 г.
3.18.4.2. Массу 1 м2 основы (

) в граммах вычисляют по формуле

, (21)
где

- масса основы образца после экстрагирования, г;
Результат округляют до 1 г.
3.18.4.3. Содержание наполнителя (N) в процентах от массы вяжущего вычисляют по формуле

, (22)
где 200 - коэффициент приведения площади образца к 1 м2;

- масса вяжущего на 1 м2 материала, г.
Результат округляют до 1%.
3.18а. Определение массы вяжущего, массы основы и содержания наполнителя в вяжущем материала на стекловолокнистой основе с пылевидной и крупнозернистой посыпкой (метод сжигания).
3.18а.1. Средства испытания и вспомогательные устройства
Весы лабораторные с допускаемой погрешностью не более 0,02 г.
Линейка металлическая с ценой деления 1 мм.
Эксикатор.
Щипцы тигельные ЩТ или пинцет медицинский.
Набор сит с металлическими сетками по
ГОСТ 6613.
Ткань хлопчатобумажная или бумага фильтровальная.
Щетка волосяная.
Электропечь камерная.
Тигель.
3.18а.2. Порядок подготовки к проведению испытания
3.18а.2.1. Испытание проводят на трех образцах размерами [(100 х 50) +/- 1] мм, вырезанных в продольном направлении.
3.18а.2.2. Образец материала очищают хлопчатобумажной тканью, бумагой или щеткой от пылевидной посыпки и взвешивают

.
3.18а.3. Порядок проведения испытания
3.18а.3.1. Образец, очищенный от пылевидной посыпки, помещают в предварительно прокаленный тигель. Тигель с образцом помещают в электропечь, нагревают до температуры (600 +/- 10) °C и сжигают образец до полного озоления вяжущего.
После сжигания тигель охлаждают в эксикаторе в течение (30 - 35) мин.
3.18а.3.2. Материалы с пылевидной посыпкой
Извлеченные из тигля наполнитель и основу взвешивают (соответственно

и

).
При определении содержания наполнителя в вяжущем параллельно определяют содержание сгораемых веществ А в наполнителе по ГОСТ 19728.17 при температуре прокаливания пробы (600 +/- 10) °C.
3.18а.3.3. Материалы с крупнозернистой посыпкой
Вынимают из тигля щипцами или пинцетом основу материала и взвешивают (

).
Из тигля извлекают минеральный остаток, состоящий из крупнозернистой посыпки и наполнителя, и рассеивают на сите с сеткой N 02. Затем взвешивают наполнитель (

), прошедший через сито, и посыпку (

), оставшуюся на сетке.
Параллельно определяют содержание сгораемых веществ в посыпке

и наполнителе А (при его определении в вяжущем) по ГОСТ 19728.17 при температуре прокаливания (600 +/- 10) °C.
3.18а.4. Правила обработки результатов испытания
3.18а.4.1. Массу вяжущего

, г/м2, вычисляют по формулам:
1) для материалов с пылевидной посыпкой

, (22а)
где

- масса образца до сжигания, г;

- масса основы после сжигания, г;
200 - коэффициент приведения площади образца к 1 м2.
Результат округляют до 1 г.
2) для материалов с крупнозернистой посыпкой

, (22б)
где

- масса образца до сжигания, г;

- масса основы после сжигания, г;

- содержание сгораемых веществ в посыпке;

- масса посыпки, оставшейся на сите после рассева, г;
200 - коэффициент приведения площади образца к 1 м2.
Результат округляют до 1 г.
3.18а.4.2. Массу основы

, г, вычисляют по формуле

, (22в)
где

- масса основы после прокаливания, г;
200 - коэффициент приведения площади образца к 1 м2.
Результат округляют до 1 г.
3.18а.4.3. Содержание наполнителя (N), % от массы вяжущего, вычисляют по формуле

, (22г)
где

- масса наполнителя, г;

- масса вяжущего, г;
А - содержание сгораемых веществ в наполнителе, %;
200 - коэффициент приведения площади образца к 1 м2.
Результат округляют до 1%.
При осуществлении технологического контроля допускается определять содержание наполнителя в вяжущем на пробах вяжущего, отобранных в процессе изготовления из покровной ванны, методом сжигания, приведенным в
Приложении Г.
(п. 3.18а введен
Изменением N 1, принятым Постановлением Госстроя РФ от 02.09.2002 N 113)
3.19. Определение массы вяжущего с наплавляемой стороны
3.19.1. Средства испытания и вспомогательные устройства
Весы лабораторные с допускаемой погрешностью не более 0,02 г.
Электроплитка с закрытой спиралью.
(в ред.
Изменения N 1, принятого Постановлением Госстроя РФ от 02.09.2002 N 113)
Щипцы тигельные типа ЩТ или пинцет медицинский.
(в ред.
Изменения N 1, принятого Постановлением Госстроя РФ от 02.09.2002 N 113)
Линейка металлическая с ценой деления 1 мм.
(в ред.
Изменения N 1, принятого Постановлением Госстроя РФ от 02.09.2002 N 113)
Нож.
Ткань хлопчатобумажная.
Щетка.
3.19.2. Порядок подготовки к проведению испытания
3.19.2.1. Испытание проводят на трех образцах размерами (100 х 50) +/- 1 мм, вырезанных в продольном направлении.
3.19.2.2. Пылевидную посыпку с образца материала счищают хлопчатобумажной тканью или щеткой, а затем образец взвешивают (

).
3.19.3. Порядок проведения испытания
Образец материала берут щипцами или пинцетом наплавляемой стороной вниз и подогревают над электроплиткой таким образом, чтобы на поверхности образца, обращенной к плитке, не появились пузыри. Затем горячим ножом снимают подогретый слой вяжущего с наплавляемой стороны до основы, не нарушая при этом ее целостности.
Образец, очищенный от вяжущего, взвешивают (

).
3.19.4. Правила обработки результатов испытания
Массу вяжущего с наплавляемой стороны материала (

) в граммах на квадратный метр вычисляют по формуле

, (23)
где

- масса образца, г;

- масса образца после снятия вяжущего, г;
200 - коэффициент приведения площади образца к 1 м2.
Результат округляют до 1 г.
3.20. Определение массы вяжущего и температуры размягчения вяжущего материалов типа фольгоизол
3.20.1. Средства испытания и вспомогательные устройства
Весы лабораторные с допускаемой погрешностью не более 0,02 г.
Шкаф электрический сушильный со смотровым стеклом, обеспечивающий поддержание температуры до 200 °C.
Линейка металлическая с ценой деления 1 мм.
(в ред.
Изменения N 1, принятого Постановлением Госстроя РФ от 02.09.2002 N 113)
Бумага писчая.
3.20.2. Порядок подготовки к проведению испытания и проведение испытания
3.20.2.1. Испытания проводят на трех образцах размерами (100 х 100) +/- 1 мм.
3.20.2.2. От одного рулона партии основы, используемой для изготовления материала, вырезают три образца размерами (100 х 100) +/- 1 мм.
Образцы материала и основы взвешивают (

и

).
Затем с образца материала снимают слой вяжущего массой не менее 15 г в соответствии с
3.15.3.1. Из полученной пробы берут навеску массой (12 +/- 1) г, скатывают в шарик, который укладывают в центр очерченного на бумаге круга диаметром (60 +/- 1) мм и помещают в сушильный шкаф при температуре (18 +/- 2) °C на ровную горизонтальную поверхность. Температуру в шкафу поднимают со скоростью 3 °C/мин. до температуры, при которой шарик растечется по площади круга.
3.20.3. Правила обработки результатов испытания
3.20.3.1. Массу вяжущего (

) в граммах на квадратный метр вычисляют по формуле

, (24)
где

- масса образца материала, г;

- масса образца основы, г;
100 - коэффициент приведения площади образца к 1 м2.
Результат округляют до 1 г.
3.21. Определение массы растворимой части битумного состава
3.21.1. Средства испытания и вспомогательные устройства
Весы лабораторные с допускаемой погрешностью не более 0,02 г.
Насадка стеклянная лабораторная для экстрагирования типа НЭТ с колбой вместимостью 500 или 1000 см3 и холодильником или аналогичный прибор, обеспечивающий полное экстрагирование образцов и аттестованный в установленном порядке.
(в ред.
Изменения N 1, принятого Постановлением Госстроя РФ от 02.09.2002 N 113)
Шкаф электрический сушильный, обеспечивающий поддержание температуры до 200 °C.
Линейка металлическая с ценой деления 1 мм.
(в ред.
Изменения N 1, принятого Постановлением Госстроя РФ от 02.09.2002 N 113)
Эксикатор.
(в ред.
Изменения N 1, принятого Постановлением Госстроя РФ от 02.09.2002 N 113)
Баня водяная.
Углерод четыреххлористый по
ГОСТ 4.
Ткань хлопчатобумажная или бумага фильтровальная.
3.21.2. Порядок подготовки к проведению испытания
3.21.2.1. Испытания проводят на трех образцах размерами (50 х 50) +/- 1 мм.
3.21.2.2. В сухую экстракционную гильзу, высушенную до постоянной массы, заворачивают образец и взвешивают (

).
3.21.3. Порядок проведения испытания
Экстрагирование проводят в соответствии с
3.15.3.2. После окончания экстрагирования гильзу вместе с содержимым вынимают из экстрактора, выдерживают в вытяжном шкафу для удаления растворителя в течение 20 - 30 мин., высушивают до постоянной массы и взвешивают (

).
3.21.4. Правила обработки результатов испытания
Массу растворимой части битумного состава (

) в граммах на квадратный метр вычисляют по формуле

, (25)
где

- масса гильзы с образцом до экстрагирования, г;

- масса гильзы с образцом после экстрагирования, г;
400 - коэффициент приведения площади образца к 1 м2.
Результат округляют до 1 г.
3.22. Определение массы 1 м2 материала
3.22.1. Средства испытания и вспомогательные устройства
Весы лабораторные с допускаемой погрешностью не более 0,02 г.
Линейка металлическая с ценой деления 1 мм.
(в ред.
Изменения N 1, принятого Постановлением Госстроя РФ от 02.09.2002 N 113)
3.22.2. Порядок подготовки к проведению испытания, проведение испытания и правила обработки результатов испытания
3.22.2.1. Испытание проводят на трех образцах размерами (100 х 100) +/- 1 мм.
3.22.2.2. Массу 1 м2 материала (

) в граммах устанавливают на основании взвешивания образцов и вычисляют по формуле

, (26)
где

- масса образца, г;
100 - коэффициент приведения площади образца к 1 м2.
Результат округляют до 1 г.
3.23. Определение температуры хрупкости покровного состава и вяжущего
Температуру хрупкости покровного состава и вяжущего определяют по
ГОСТ 11507 на одной пробе от каждого отобранного в соответствии с 3.1.1 рулона. Пробы покровного состава снимают с нижней стороны трех образцов размерами (100 х 100) +/- 1 мм в соответствии с
3.15.3.1. Допускается отбор проб в процессе изготовления.
(в ред.
Изменения N 1, принятого Постановлением Госстроя РФ от 02.09.2002 N 113)
При отборе проб в процессе изготовления определение проводят на двух пробах.
(в ред.
Изменения N 1, принятого Постановлением Госстроя РФ от 02.09.2002 N 113)
Объем одной пробы 50 - 100 г.
3.24. Определение температуры размягчения покровного состава и вяжущего
Температуру размягчения покровного состава и вяжущего определяют по
ГОСТ 11506 на одной пробе от каждого отобранного в соответствии с 3.1.1 рулона. Разрешается применять гладкое или ступенчатое кольцо с верхним внутренним диаметром (17,7 +/- 0,2) мм.
(в ред.
Изменения N 1, принятого Постановлением Госстроя РФ от 02.09.2002 N 113)
Пробы покровного состава снимают с нижней стороны трех образцов размерами (100 х 100) +/- 1 мм в соответствии с
3.15.3.1. Допускается отбор проб в процессе изготовления.
При отборе проб в процессе изготовления определение проводят на двух пробах.
(в ред.
Изменения N 1, принятого Постановлением Госстроя РФ от 02.09.2002 N 113)
Объем одной пробы 50 - 100 г.
3.25. Определение потери посыпки
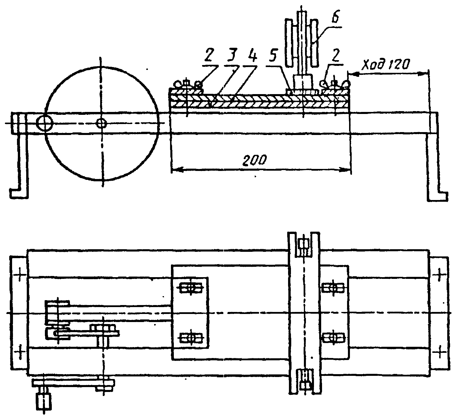
3.25.1. Средства испытания и вспомогательные устройства
Устройство, схема которого приведена на рисунке 7, или устройство аналогичного типа с рабочим органом в виде щетки, обеспечивающее перемещение образца на расстояние (120 +/- 2) мм. Щетка представляет собой металлический блок размерами [(60 х 40) +/- 2] мм и может быть изготовлена в двух вариантах:
- с 880 отверстиями, расположенными равномерно по всей площади щетки на расстоянии (1,65 +/- 0,05) мм друг от друга, в каждое из которых вставлено волокно, выступающее на (16,0 +/- 0,5) мм;
- с 22 отверстиями, просверленными с помощью сверла на глубину (16,0 +/- 0,5) мм на расстоянии (10,0 +/- 0,5) мм друг от друга, в каждое из которых вставлены 40 волокон, выступающих на (16,0 +/- 0,5) мм.
Волокна изготовлены из стальной пружинной проволоки класса 2 диаметром 0,2 мм нормальной точности по
ГОСТ 9389.
Допускается использование щетки в виде блока из дерева или другого материала размерами [(60 х 40) +/- 2] мм с прикрепленной к нему игольчатой лентой 1, 2, 3 номер 14 (диаметр проволоки - 0,5 мм) для шерсточесальных машин.
(в ред.
Изменения N 1, принятого Постановлением Госстроя РФ от 02.09.2002 N 113)
1 - рукоятка; 2 - зажимные винты; 3 - пластинка;
4 - образец; 5 - щетка; 6 - груз
Рисунок 7
Весы лабораторные с допускаемой погрешностью не более 0,02 г.
Секундомер.
Линейка металлическая с ценой деления 1 мм.
(в ред.
Изменения N 1, принятого Постановлением Госстроя РФ от 02.09.2002 N 113)
3.25.2. Порядок подготовки к проведению испытания
3.25.2.1. Испытание проводят на трех образцах размерами (170 х 50) +/- 1 мм, вырезанных в продольном направлении.
3.25.2.2. Образец взвешивают

и закрепляют зажимными винтами на подвижной каретке устройства посыпкой вверх. Устанавливают груз массой (2,0 +/- 0,1) кг и вращением рукоятки пластину с образцом перемещают в двух взаимно противоположных направлениях под щеткой с грузом один раз, если иное количество перемещений не установлено в нормативном документе на конкретные виды материалов. Время одного перемещения в двух взаимно противоположных направлениях - (30 +/- 1) с. После испытания образец встряхивают для освобождения от отставшей посыпки и взвешивают

.
(п. 3.25.2.2 в ред.
Изменения N 1, принятого Постановлением Госстроя РФ от 02.09.2002 N 113)
3.25.3. Правила обработки результатов испытания
Потерю посыпки (П) в граммах на образец вычисляют по формуле

, (27)
где

- масса образца до испытания, г;

- масса образца после испытания, г.
Результат округляют до 0,1 г.
3.26. Определение снижения разрывной силы водонасыщенного материала
3.26.1. Средства испытания и вспомогательные устройства
Машина разрывная, имеющая рабочую часть шкалы силоизмерителя в пределах измерений 0 - 1000 Н (1 - 100 кгс) с ценой деления не более 2 Н (0,2 кгс) и допускаемой погрешностью показаний измеряемой нагрузки не более +/- 1%. Машина должна обеспечивать постоянную скорость перемещения подвижного захвата (50 +/- 5) мм/мин.
Линейка металлическая с ценой деления 1 мм.
(в ред.
Изменения N 1, принятого Постановлением Госстроя РФ от 02.09.2002 N 113)
Секундомер.
Битум с температурой размягчения не ниже 70 °C.
(в ред.
Изменения N 1, принятого Постановлением Госстроя РФ от 02.09.2002 N 113)
Емкость металлическая размерами (320 х 50) +/- 10 мм.
Сосуд для воды.
Ткань хлопчатобумажная или бумага фильтровальная.
3.26.2. Порядок подготовки к проведению испытания
3.26.2.1. Испытание проводят на двух образцах-полосках размерами (300 х 200) +/- 1 мм, вырезанных в продольном направлении.
3.26.2.2. Перед испытанием проводят обработку торцов одной полосы, для чего торцы полосы погружают на 3 - 5 мин. в битум, разогретый до температуры 160 - 180 °C, а затем охлаждают.
3.26.3. Порядок проведения испытания
Обработанную полосу помещают в сосуд с водой таким образом, чтобы слой воды над ней был не менее 50 мм, и выдерживают не менее 24 ч. Затем полосу вынимают из воды, осушают хлопчатобумажной тканью или фильтровальной бумагой. Из сухой и водонасыщенной полос вырезают в продольном направлении по три образца размерами (220 х 50) +/- 1 мм и проводят испытания в соответствии с
3.4.3.
Испытание проводят не позднее чем через 20 мин. после извлечения полосы из воды.
3.26.4. Правила обработки результатов испытания
Снижение разрывной силы водонасыщенного материала (

) в процентах вычисляют по формуле

, (28)
где

- разрывная сила сухого образца, Н (кгс);

- разрывная сила водонасыщенного образца, Н (кгс).
Результат округляют до 1%.
3.27. Определение цветостойкости посыпки
3.27.1. Аппарат искусственной погоды (АИП) типа "Ксенотест" с ксеноновым излучателем по ГОСТ 23750 или другой аппарат, обеспечивающий:
- создание, регулирование и поддержание заданных значений температуры с допустимой погрешностью не более +/- 2 °C;
- интенсивность ультрафиолетового излучения в диапазоне длин волн (280 - 400) нм не ниже 60 Вт/м;
- вращение барабана испытательной камеры вокруг источника светового излучения со скоростью не более 1 об/мин., если в конструкции АИП предусмотрено вращение испытательной камеры.
АИП должен быть укомплектован:
- кассетами или другими устройствами для закрепления образцов на барабане испытательной камеры;
- термометром с черной панелью, установленным в держателе таким образом, чтобы его черная сторона была обращена к лампе;
- фотоинтенсиметром, обеспечивающим измерение интенсивности УФ-области (240 - 400) нм с погрешностью измерения не более 15%.
Бумага светонепроницаемая.
Линейка металлическая с ценой деления 1 мм.
(п. 3.27.1 в ред.
Изменения N 1, принятого Постановлением Госстроя РФ от 02.09.2002 N 113)
3.27.2. Порядок подготовки к проведению испытания
3.27.2.1. Цветостойкость посыпки определяют на образцах, полученных путем нанесения посыпки на твердую подложку (бумага, картон, рулонный материал и др.).
(п. 3.27.2.1 в ред.
Изменения N 1, принятого Постановлением Госстроя РФ от 02.09.2002 N 113)
3.27.2.2. Испытание проводят на трех образцах размерами [(100 х 50) +/- 1] мм.
(п. 3.27.2.2 в ред.
Изменения N 1, принятого Постановлением Госстроя РФ от 02.09.2002 N 113)
3.27.2.3. Образцы закрепляют на кассетах или других приспособлениях и размещают их на барабане испытательной камеры АИП; расстояние от центра источника излучения до поверхности образцов должно составлять (40 +/- 5) см. Половину каждого образца закрывают 3 - 4 слоями светонепроницаемой бумаги.
(п. 3.27.2.3 введен
Изменением N 1, принятым Постановлением Госстроя РФ от 02.09.2002 N 113)
3.27.2.4. Значение температуры на поверхности образцов при облучении (по термометру с черной панелью) устанавливают в пределах (55 +/- 3) °C.
(п. 3.27.2.4 введен
Изменением N 1, принятым Постановлением Госстроя РФ от 02.09.2002 N 113)
3.27.3. Порядок проведения испытания
Образцы облучают в течение времени, указанного в НД на продукцию конкретного вида, а затем их осматривают.
(в ред.
Изменения N 1, принятого Постановлением Госстроя РФ от 02.09.2002 N 113)
3.27.4. Правила обработки результатов испытания
Образец считают выдержавшим испытание, если при визуальном сравнении испытанной (открытой) половины образца с закрытой от облучения половиной образца не будет установлено изменение цвета посыпки.
3.28. Определение справочной массы рулона
Справочную массу рулона определяют взвешиванием на весах с допустимой погрешностью не более 0,5 кг.
3.29. Определение полноты пропитки
Для определения полноты пропитки поперечную полосу материала разрывают в пяти местах таким образом, чтобы обнажился внутренний слой основы. Материал считают выдержавшим испытание, если при визуальном осмотре не обнаружено наличие светлых прослоек непропитанной основы и посторонних включений.
3.30. Определение показателей пожарной опасности
3.31. Правила оформления результатов испытаний
В протоколе об испытании в соответствии с требованиями, указанными в НТД на продукцию конкретного вида, со ссылкой на данный стандарт, следует указать:
1) наименование испытанного материала по НТД;
2) внешний вид - упаковка и маркировка, ровность торцов, равномерность распределения посыпки, наличие или отсутствие слипаемости, дыр, трещин разрывов и складок, количество полотен в рулоне, длина надрывов;
3) линейные размеры и площадь - длина в метрах, ширина и толщина в миллиметрах, площадь в квадратных метрах;
4) разрывную силу при растяжении в Н (кгс), условную прочность в МПа (кгс/см2), условное напряжение в МПа (кгс/см2), относительное и относительное остаточное удлинение в процентах;
5) сопротивление статическому продавливанию - наличие (или отсутствие) воды на поверхности образца после испытания при давлении не менее 0,001 МПа (0,01 кгс/см2) в течение не менее 24 ч;
6) сопротивление динамическому продавливанию - наличие (или отсутствие) воды на поверхности образца после испытания при давлении не менее 0,001 МПа (0,01 кгс/см2) в течение не менее 24 ч;
7) сопротивление раздиру полимерных материалов;
8) твердость по Шору А в условных единицах;
9) гибкость - наличие (или отсутствие) трещин на поверхности образца;
10) водопоглощение в процентах по массе;
11) водонепроницаемость - наличие (или отсутствие) воды на поверхности образца;
12) теплостойкость - наличие (или отсутствие) вздутий и следов перемещения покровного состава;
13) изменение линейных размеров при нагревании в процентах;
14) потерю массы при нагревании в процентах;
15) массу покровного состава в г/м2 и содержание наполнителя в процентах;
16) массу абсолютно сухой основы в г/м2 и отношение массы пропиточного битума к массе абсолютно сухой основы;
17) массу основы при стандартной влажности в г/м2;
18) массу вяжущего в г/м2, массу основы в г/м2 и содержание наполнителя в процентах в вяжущем материалов на стекловолокнистой основе;
19) массу вяжущего с наплавляемой стороны в г/м2;
20) массу вяжущего в г/м2 и температуру размягчения вяжущего в °C материалов типа фольгоизол;
21) массу растворимой части битумного состава в г/м2;
22) массу 1 м2 материала в граммах;
23) температуру хрупкости покровного состава и вяжущего в °C;
24) температуру размягчения покровного состава в °C;
25) потерю посыпки в г/образец;
26) снижение разрывной силы водонасыщенного материала в %;
27) цветостойкость посыпки - наличие (или отсутствие) изменения цвета;
28) полноту пропитки - наличие (или отсутствие) светлых прослоек непропитанной основы и посторонних включений;
29) горючесть;
30) дату и место проведения испытания.
3.32. Допустимая погрешность испытания
Допустимая погрешность методов испытания - 10%.
(обязательное)
ФОРМА И УГОЛ ЗАТОЧКИ РЕЖУЩЕЙ КРОМКИ НОЖА
ДЛЯ ВЫРУБКИ ОБРАЗЦОВ-ЛОПАТОК ТИПА 1
Термообработать до твердости 61 ... 63

Рисунок А.1
(обязательное)
ФОРМА И УГОЛ ЗАТОЧКИ РЕЖУЩЕЙ КРОМКИ НОЖА
ДЛЯ ВЫРУБКИ ОБРАЗЦОВ-ЛОПАТОК ТИПА 2
Термообработать до твердости 61 ... 63

Рисунок Б.1
(рекомендуемое)
СХЕМА ШТАМПА ДЛЯ НАНЕСЕНИЯ МЕТОК НА ОБРАЗЕЦ
с -

- метки, ограничивающие рабочий участок на образце;
а -

- установочные метки
Рисунок В.1
(рекомендуемое)
ОПРЕДЕЛЕНИЯ СОДЕРЖАНИЯ НАПОЛНИТЕЛЯ,
МАССЫ АБСОЛЮТНО СУХОЙ ОСНОВЫ, ОТНОШЕНИЯ МАССЫ
ПРОПИТОЧНОГО БИТУМА К МАССЕ АБСОЛЮТНО СУХОЙ ОСНОВЫ
И МАССЫ ПОКРОВНОГО СОСТАВА ПРИ ОСУЩЕСТВЛЕНИИ
ТЕХНОЛОГИЧЕСКОГО КОНТРОЛЯ
Г.1. Метод определения содержания наполнителя в покровном составе или вяжущем
Г.1.1. Средства испытания и вспомогательные устройства
Весы лабораторные с допускаемой погрешностью 0,02 г.
Тигель.
Электропечь камерная.
Эксикатор.
Г.1.2. Отбор проб
Пробы покровного состава или вяжущего отбирают в процессе изготовления из покровной ванны. Определение проводят на двух пробах. Объем одной пробы - (50 - 100) г.
Г.1.3. Порядок проведения испытания
От каждой отобранной пробы берут навеску покровного состава или вяжущего (массой не менее 1 г), помещают в предварительно прокаленный и взвешенный тигель

и взвешивают

. Тигель с навеской помещают в электропечь, нагревают до температуры (600 +/- 10) °C и сжигают навеску до полного озоления покровного состава или вяжущего.
После сжигания тигель с навеской охлаждают в эксикаторе в течение не менее 30 мин. и взвешивают

.
Охлаждение и взвешивание повторяют до получения расхождения между последовательными взвешиваниями не более 0,04 г.
Параллельно определяют содержание сгораемых веществ в наполнителе по ГОСТ 19728.17 при температуре прокаливания (600 +/- 10) °C.
Г.1.4. Правила обработки результатов испытания
Содержание наполнителя N, % от массы покровного состава или вяжущего, вычисляют по
формуле (14) (3.15.4.4).
Г.2. Экспресс-метод определения массы абсолютно сухой основы, отношения массы пропиточного битума к массе абсолютно основы, массы покровного состава
Г.2.1. Средства испытания и вспомогательные устройства
Весы лабораторные с допускаемой погрешностью не более 0,02 г.
Линейка металлическая с ценой деления 1 мм.
Г.2.2. Порядок подготовки к проведению испытания и проведение испытания
Испытание проводят на образцах размерами [(100 х 50) +/- 1] мм, вырезанных в продольном направлении.
Последовательно отбирают и взвешивают образцы с технологической линии по ходу процесса производства:
- образец основы на размоточном станке

;
- образец пропитанной основы после пропиточной ванны

;
- образец с покровным составом после покровной ванны

.
Последние два образца перед взвешиванием охлаждают в течение (30 - 40) мин.
Г.2.3. Правила обработки результатов испытания
Г.2.3.1. Массу абсолютно сухой основы

, г, вычисляют по формуле

, (Г.1)
где

- масса основы при стандартной или фактической влажности, г;

- коэффициент приведения массы абсолютно сухой основы к массе основы при стандартной или фактической влажности, определяемый по
формуле (19) (3.17).
Результат округляют до 1 г.
Г.2.3.2. Отношение массы пропиточного битума к массе абсолютно сухой основы

вычисляют по формуле

, (Г.2)
где

- масса образца пропитанной основы, г;

- масса образца абсолютно сухой основы, г.
Результат округляют до 1 г.
Г.2.3.3. Массу покровного состава

, г/м2, вычисляют по формуле

, (Г.3)
где

- масса образца пропитанной основы, г;

- масса образца с покровным составом, г;
200 - коэффициент приведения площади образца к 1 м2.