Главная // Актуальные документы // ГОСТ (Государственный стандарт)
СПРАВКА
Источник публикации
М.: Стандартинформ, 2013
Примечание к документу
Документ введен в действие с 1 июля 2013 года.
Название документа
"ГОСТ 31898-1-2011 (EN 12310-1:1999). Межгосударственный стандарт. Материалы кровельные и гидроизоляционные гибкие битумосодержащие. Метод определения сопротивления раздиру стержнем гвоздя"
(введен в действие Приказом Росстандарта от 27.12.2012 N 1996-ст)


"ГОСТ 31898-1-2011 (EN 12310-1:1999). Межгосударственный стандарт. Материалы кровельные и гидроизоляционные гибкие битумосодержащие. Метод определения сопротивления раздиру стержнем гвоздя"
(введен в действие Приказом Росстандарта от 27.12.2012 N 1996-ст)


Содержание


Введен в действие
Приказом Федерального
агентства по техническому
регулированию и метрологии
от 27 декабря 2012 г. N 1996-ст
МЕЖГОСУДАРСТВЕННЫЙ СТАНДАРТ
МАТЕРИАЛЫ КРОВЕЛЬНЫЕ И ГИДРОИЗОЛЯЦИОННЫЕ
ГИБКИЕ БИТУМОСОДЕРЖАЩИЕ
МЕТОД ОПРЕДЕЛЕНИЯ СОПРОТИВЛЕНИЯ РАЗДИРУ СТЕРЖНЕМ ГВОЗДЯ
Roofing and hydraulic-insulating flexible bitumen-based
materials. Method for determination of resistance
to tearing by nail shank
(EN 12310-1:1999, MOD)
ГОСТ 31898-1-2011
(EN 12310-1:1999)
МКС 91.100.99
Дата введения
1 июля 2013 года
Предисловие
Цели, основные принципы и основной порядок проведения работ по межгосударственной стандартизации установлены ГОСТ 1.0-92 "Межгосударственная система стандартизации. Основные положения" и ГОСТ 1.2-2009 "Межгосударственная система стандартизации. Стандарты межгосударственные, правила и рекомендации по межгосударственной стандартизации. Правила разработки, принятия, применения, обновления и отмены".
Сведения о стандарте
1. Подготовлен Корпорацией "ТехноНИКОЛЬ" и федеральным государственным бюджетным учреждением "Научно-исследовательский институт строительной физики Российской академии архитектуры и строительных наук" ("НИИСФ РААСН") на основе аутентичного перевода на русский язык европейского регионального стандарта, указанного в пункте 4.
2. Внесен Техническим комитетом по стандартизации ТК 465 "Строительство".
3. Принят Межгосударственной научно-технической комиссией по стандартизации, техническому нормированию и оценке соответствия в строительстве (МНТКС) (приложение Д к Протоколу от 8 декабря 2011 г. N 39).
За принятие проголосовали:
Краткое наименование страны по МК (ISO 3166) 004-97
Код страны по МК (ISO 3166) 004-97
Сокращенное наименование национального органа государственного управления строительством
Азербайджан
AZ
Государственный комитет градостроительства и архитектуры
Армения
AM
Министерство градостроительства
Казахстан
KZ
Агентство по делам строительства и жилищно-коммунального хозяйства
Киргизия
KG
Госстрой
Молдова
MD
Министерство строительства и регионального развития
Россия
RU
Министерство регионального развития
Таджикистан
TJ
Агентство по строительству и архитектуре при Правительстве
Узбекистан
UZ
Госархитектстрой
4. Настоящий стандарт модифицирован по отношению к европейскому региональному стандарту EN 12310-1:1999. Flexible sheets for waterproofing - Part 1: Bitumen sheets for roof waterproofing - Determination of resistance to tearing (nail shank) (Материалы гибкие гидроизоляционные. Часть 1: Материалы кровельные и гидроизоляционные битумосодержащие. Определение сопротивления раздиру стержнем гвоздя) путем исключения из раздела "Нормативные ссылки" и текста настоящего стандарта ссылки на EN 10002-2.
Измененный текст раздела "Нормативные ссылки" выделен в тексте стандарта курсивом.
Наименование настоящего стандарта изменено относительно наименования европейского регионального стандарта для приведения в соответствие с ГОСТ 1.5-2001 (подраздел 3.6).
Перевод с английского языка (en).
Степень соответствия - модифицированная (MOD).
5. Приказом Федерального агентства по техническому регулированию и метрологии от 27 декабря 2012 г. N 1996-ст межгосударственный стандарт ГОСТ 31898-1-2011 (EN 12310-1:1999) введен в действие в качестве национального стандарта Российской Федерации с 1 июля 2013 г.
6. Введен впервые.
Информация об изменениях к настоящему стандарту публикуется в ежегодном информационном указателе "Национальные стандарты", а текст изменений и поправок - в ежемесячном информационном указателе "Национальные стандарты". В случае пересмотра (замены) или отмены настоящего стандарта соответствующее уведомление будет опубликовано в ежемесячном информационном указателе "Национальные стандарты". Соответствующая информация, уведомление и тексты размещаются также в информационной системе общего пользования - на официальном сайте Федерального агентства по техническому регулированию и метрологии в сети Интернет.
Введение
Применение настоящего стандарта, устанавливающего метод определения сопротивления раздиру стержнем гвоздя кровельных и гидроизоляционных гибких битумосодержащих материалов, позволяет получить адекватную оценку качества материалов, производимых в государствах Евразийского экономического сообщества и странах ЕС, а также обеспечить конкурентоспособность продукции на международном рынке.
Настоящий стандарт применяют, если заключенные контракты или другие согласованные условия предусматривают применение материалов с характеристиками, гармонизированными с требованиями европейских региональных стандартов, а также в случаях, когда это технически и экономически целесообразно.
1. Область применения
Настоящий стандарт распространяется на кровельные и гидроизоляционные гибкие битумосодержащие материалы (далее - материалы) и устанавливает метод определения сопротивления раздиру стержнем гвоздя.
Настоящий стандарт предназначен для определения характеристик материалов после их изготовления или поставки, до их укладки. Требования настоящего стандарта распространяются только на материалы и не применимы для определения характеристик изготовленных из них гидроизоляционных систем после производства работ.
Настоящий стандарт предназначен для определения характеристик основных или безосновных материалов конкретных видов.
2. Нормативные ссылки
Настоящий стандарт не содержит нормативных ссылок.
3. Термины и определения
В настоящем стандарте применен следующий термин с соответствующим определением:
3.1. Сопротивление раздиру стержнем гвоздя [resistance to tearing (nail shank)]: сила растяжения, необходимая для раздира образца, пробитого стержнем гвоздя.
4. Сущность метода
Испытание заключается в измерении силы, необходимой для полного раздира образца при разрастании уже имеющегося в образце отверстия, пробитого стержнем гвоздя. Сила, необходимая для раздира, прикладывается к образцу в направлении, перпендикулярном к оси стержня гвоздя.
5. Средства испытаний
5.1. Разрывная машина
Разрывная машина для испытаний с устройством для регистрации силы и соответствующего удлинения образца, обеспечивающая:
- наибольшую предельную нагрузку не менее 2000 Н;
- постоянную скорость перемещения подвижного зажима (100 +/- 10) мм/мин;
- предел допускаемой погрешности измерения силы +/- 2%.
Ширина зажимов должна быть не менее 100 мм.
Способ крепления образца в зажимах должен обеспечивать равномерное распределение силы растяжения по всей его ширине при проведении испытания, а также исключать разрушение образца внутри зажима или на его границе.
Выскальзывание образца из зажимов при проведении испытания не должно превышать 2 мм.
Для предотвращения выскальзывания образца из зажимов, превышающего 2 мм, допускается предварительно охлаждать зажимы.
5.2. Вспомогательные устройства
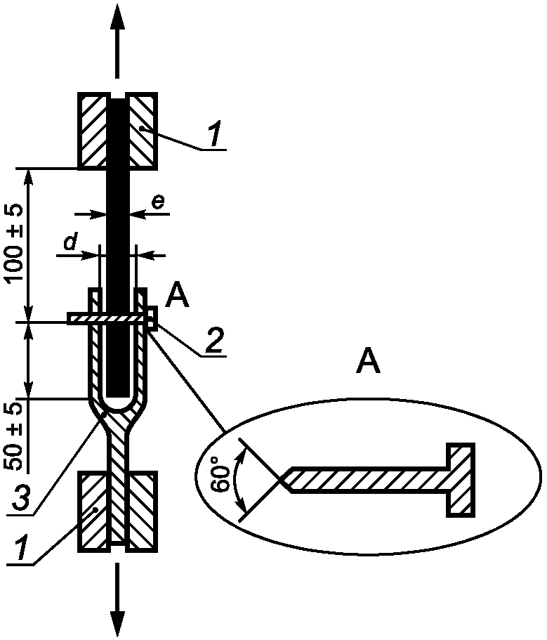
Захватное устройство вилочного типа с двумя зубцами с просверленными в них отверстиями для стержня гвоздя, позволяющее закрепить образец по схеме, приведенной на рисунке 1.
Металлический гвоздь диаметром (2,5 +/- 0,1) мм.
e - толщина образца; d - расстояние между зубцами
(e + 1 <= d <= e + 2); 1 - зажимы разрывной машины;
2 - гвоздь диаметром (2,5 +/- 0,1) мм;
3 - захватное устройство
Рисунок 1. Схема закрепления образца
6. Отбор образцов
Отбор образцов проводят в соответствии с требованиями нормативных или технических документов на материалы конкретных видов.
7. Подготовка образцов для испытаний
Для проведения испытаний готовят по пять образцов-полосок шириной (100 +/- 1) мм и длиной не менее 200 мм, вырубленных в продольном и (или) поперечном направлении.
Образцы вырубают из полосы материала, отобранной для испытания, на расстоянии не менее 100 мм от края полотна с помощью шаблона или вырубного ножа. Направление длины образцов соответствует направлению силы растяжения при проведении испытания.
Для материалов с армированной кромкой для механического крепления образцы вырубают на участке армирования.
Защитную пленку перед проведением испытаний удаляют.
Образцы перед испытанием выдерживают не менее 20 ч при температуре (23 +/- 2) °C и относительной влажности (50 +/- 20)%.
8. Методика проведения испытаний
Образец помещают между зубцами захватного устройства и продевают гвоздь через отверстия в зубцах так, чтобы он прошел через продольную ось испытуемого образца на расстоянии (50 +/- 5) мм от края образца, находящегося между зубцами (см. рисунок 1).
Захватное устройство с закрепленным в нем образцом устанавливают в нижнем зажиме разрывной машины, затем закрепляют свободный конец образца в верхнем подвижном зажиме так, чтобы расстояние между гвоздем и верхним зажимом составляло (100 +/- 5) мм, как показано на рисунке 1.
ИС МЕГАНОРМ: примечание.
Текст дан в соответствии с официальным текстом документа.
Прикладывают постоянно нарастающую силу растяжения при скорости перемещения подвижного зажима (100 + 10) мм/мин до раздира образца, пробитого стержнем гвоздя.
Испытания проводят при температуре (23 +/- 2) °C.
Регистрируют значения силы растяжения в течение всего процесса раздира.
9. Обработка и представление результатов испытаний,
точность метода
9.1. Обработка результатов
За величину сопротивления раздиру стержнем гвоздя принимают значение максимальной силы растяжения, зарегистрированное в процессе испытания.
Для каждого образца записывают максимальную силу растяжения в ньютонах и направление вырубки образца.
Сопротивление раздиру стержнем гвоздя для каждого направления вычисляют как среднеарифметическое значение результатов испытаний пяти образцов, округленное до 5 Н.
9.2. Точность метода
Настоящий стандарт не содержит данных о точности метода.
10. Отчет об испытаниях
Отчет об испытаниях должен содержать:
a) данные, необходимые для идентификации испытуемого материала;
b) ссылку на настоящий стандарт и отклонения от его требований;
c) информацию об отборе образцов в соответствии с разделом 6;
d) информацию о подготовке образцов в соответствии с разделом 7;
e) результаты испытаний в соответствии с 9.1;
f) дату проведения испытаний.