Главная // Актуальные документы // Актуальные документы (обновление 2025.02.03-2025.03.01) // ГОСТ (Государственный стандарт)СПРАВКА
Источник публикации
М.: ФГБУ "Институт стандартизации", 2025
Примечание к документу
Документ
вводится в действие с 01.12.2025.
Название документа
"ГОСТ ISO 10326-2-2024. Межгосударственный стандарт. Вибрация. Лабораторный метод оценки вибрации сидений транспортных средств. Часть 2. Железнодорожный транспорт"
(введен в действие Приказом Росстандарта от 16.12.2024 N 1906-ст)
"ГОСТ ISO 10326-2-2024. Межгосударственный стандарт. Вибрация. Лабораторный метод оценки вибрации сидений транспортных средств. Часть 2. Железнодорожный транспорт"
(введен в действие Приказом Росстандарта от 16.12.2024 N 1906-ст)
агентства по техническому
регулированию и метрологии
от 16 декабря 2024 г. N 1906-ст
МЕЖГОСУДАРСТВЕННЫЙ СТАНДАРТ
ВИБРАЦИЯ
ЛАБОРАТОРНЫЙ МЕТОД ОЦЕНКИ ВИБРАЦИИ СИДЕНИЙ
ТРАНСПОРТНЫХ СРЕДСТВ
ЧАСТЬ 2
ЖЕЛЕЗНОДОРОЖНЫЙ ТРАНСПОРТ
Mechanical vibration. Laboratory method for evaluating
vehicle seat vibration. Part 2. Application
to railway vehicles
(ISO 10326-2:2022, IDT)
ГОСТ ISO 10326-2-2024
Дата введения
1 декабря 2025 года
Цели, основные принципы и общие правила проведения работ по межгосударственной стандартизации установлены
ГОСТ 1.0 "Межгосударственная система стандартизации. Основные положения" и
ГОСТ 1.2 "Межгосударственная система стандартизации. Стандарты межгосударственные, правила и рекомендации по межгосударственной стандартизации. Правила разработки, принятия, обновления и отмены"
1 ПОДГОТОВЛЕН Обществом с ограниченной ответственностью "Электронные технологии и метрологические системы" (ООО "ЭТМС") и Закрытым акционерным обществом "Научно-исследовательский центр контроля и диагностики технических систем" (ЗАО "НИЦ КД") на основе собственного перевода на русский язык англоязычной версии стандарта, указанного в
пункте 5
2 ВНЕСЕН Федеральным агентством по техническому регулированию и метрологии
3 ПРИНЯТ Межгосударственным советом по стандартизации, метрологии и сертификации (протокол от 31 октября 2024 г. N 178-П)
За принятие проголосовали:
Краткое наименование страны по МК (ИСО 3166) 004-97 | Код страны по МК (ИСО 3166) 004-97 | Сокращенное наименование национального органа по стандартизации |
Армения | AM | ЗАО "Национальный орган по стандартизации и метрологии" Республики Армения |
Киргизия | KG | Кыргызстандарт |
Россия | RU | Росстандарт |
Узбекистан | UZ | Узбекское агентство по техническому регулированию |
4
Приказом Федерального агентства по техническому регулированию и метрологии от 16 декабря 2024 г. N 1906-ст межгосударственный стандарт ГОСТ ISO 10326-2-2024 введен в действие в качестве национального стандарта Российской Федерации с 1 декабря 2025 г.
5 Настоящий стандарт идентичен международному стандарту ISO 10326-2:2022 "Вибрация. Лабораторный метод оценки вибрации сидений транспортных средств. Часть 2. Железнодорожный транспорт" ("Mechanical vibration - Laboratory method for evaluating vehicle seat vibration - Part 2: Application to railway vehicles", IDT).
Международный стандарт разработан Техническим комитетом TC 108 "Вибрация, удар и контроль состояния", подкомитетом 4 "Воздействие на человека вибрации и ударов" Международной организации по стандартизации (ISO).
При применении настоящего стандарта рекомендуется использовать вместо ссылочных международных стандартов соответствующие им межгосударственные стандарты, сведения о которых приведены в дополнительном
приложении ДА
Информация о введении в действие (прекращении действия) настоящего стандарта и изменений к нему на территории указанных выше государств публикуется в указателях национальных стандартов, издаваемых в этих государствах, а также в сети Интернет на сайтах соответствующих национальных органов по стандартизации.
В случае пересмотра, изменения или отмены настоящего стандарта соответствующая информация будет опубликована на официальном интернет-сайте Межгосударственного совета по стандартизации, метрологии и сертификации в каталоге "Межгосударственные стандарты"
Вибрация на железнодорожном транспорте, как правило, невысока. Однако особенности конструкции сиденья могут привести к усилению вибрации в месте контакта сиденья с пассажиром или членом поездной бригады по сравнению с вибрацией у его основания. Поэтому для прогнозирования ожидаемого воздействия вибрации важно иметь представление о динамическом поведении сиденья в целом и отдельных его частей (подвески, обивки и пр.). Такие сведения позволяют определить оптимальную конструкцию сиденья и в конечном счете обеспечить безопасность членов поездной бригады и комфорт пассажиров во время поездки (оценка степени комфорта пассажиров железнодорожного транспорта - в соответствии с
[2] или
[4]).
Результаты лабораторных испытаний сидений, выполненных в условиях воспроизводимости, дополняют данные, полученные в реальных условиях их эксплуатации.
Вибрация основания сиденья железнодорожного транспорта представляет собой случайный нестационарный широкополосный процесс. Спектр вибраций зависит от вида транспортного средства, его нагрузки, состояния профиля колес, геометрии и качества пути и т.д. Поэтому в соответствии с настоящим стандартом возбуждение сиденья моделируется разными типами вибрации (см.
раздел 11):
- псевдослучайными широкополосными колебаниями, последовательно прилагаемыми в направлении трех осей: X, Y и Z. Возбуждение имеет простую форму спектра и мощность, достаточную, чтобы охватить большинство воздействий, наблюдаемых в реальных условиях движения транспорта;
- теми же псевдослучайными широкополосными колебаниями, но прилагаемыми в направлении осей X, Y и Z одновременно. Это позволяет учитывать отклики на вибрацию, действующую в поперечном направлении, что в большей степени соответствует реальным условиям эксплуатации сиденья. Кроме того, такой тип возбуждения позволяет сократить общее время испытаний;
- гармонической вибрацией, позволяющей оценить нелинейность отклика;
- вибрацией, воспроизводящей реальные воздействия на транспорте. Используют возбуждение, созданное искусственно или на основе реальной записи процесса, последовательно вдоль каждой из осей X, Y и Z или, если позволяет испытательное оборудование, по всем осям одновременно. Такой тип возбуждения дает возможность оценить реальный отклик сиденья в условиях его эксплуатации, особенно с учетом того, что поведение сиденья вместе с сидящим на нем человеком принципиально нелинейно.
Применимость испытаний с воспроизведением псевдослучайного возбуждения зависит от того, в какой степени нелинейностью системы "человек-сиденье" можно пренебречь. Допущение о линейности системы проверяют в процессе испытаний с приложением высокоамплитудного гармонического воздействия на частотах, соответствующих пикам частотной характеристики сиденья и полученных в ходе испытаний на псевдослучайную вибрацию.
Поскольку отклик сиденья во время лабораторных испытаний с применением псевдослучайного возбуждения может существенно отличаться от наблюдаемого в реальных условиях, полученные результаты не следует сравнивать с какими-либо предельными (допустимыми) значениями. Целью таких испытаний является определение частотных характеристик системы "сиденье-человек" в точках на подушке и спинке сиденья в трех направлениях движения: x, y и z. Они наглядно демонстрируют направление передаваемого возбуждения, области частот с большим и малым усилением вибрации и степень этого усиления. Все это дает основу для сравнения сидений разных конструкций.
Для железнодорожного транспорта характерен диапазон частот возбуждения от 0,5 до 50 Гц. На частотах ниже 0,5 Гц сиденья передают вибрацию без усиления. Вибрация же на частотах свыше 50 Гц в обычных условиях эксплуатации сиденья слишком мала, чтобы вызвать ощущение дискомфорта. Если сиденье снабжено собственной подвеской, то его характеристики оценивают по ISO 10326-1.
Настоящий стандарт устанавливает требования к проведению лабораторных испытаний сидений, предназначенных для использования пассажирами и членами поездной бригады железнодорожных транспортных средств (локомотивов, прицепных и самоходных вагонов) и не имеющих собственной виброизолирующей подвески (испытания сидений с виброизолирующей подвеской - по ISO 10326-1).
Испытания проводят с применением возбуждения прямолинейной вибрацией вдоль трех взаимно перпендикулярных осей в диапазоне частот от 0,5 до 50 Гц.
Получаемые в результате испытаний частотные характеристики сидений позволяют оценить, каким образом вибрация передается через сиденье пассажиру или члену поездной бригады. Кроме того, они позволяют оценить вибрацию сиденья с точки зрения комфорта находящегося на нем человека.
Испытания проводят с применением возбуждения вибрацией разных типов в зависимости от имеющихся сведений об условиях эксплуатации сидений и возможностей испытательного оборудования.
В настоящем стандарте использованы нормативные ссылки на следующие стандарты [для датированных ссылок применяют только указанное издание ссылочного стандарта, для недатированных - последнее издание (включая все изменения)]:
ISO 2041, Mechanical vibration, shock and condition monitoring - Vocabulary (Вибрация, удар и контроль состояния. Словарь)
ISO 2631-1, Mechanical vibration and shock - Evaluation of human exposure to whole-body vibration - Part 1: General requirements (Вибрация и удар. Оценка воздействия общей вибрации на человека. Часть 1. Общие требования)
<1>
--------------------------------
<1> В применяемом международном стандарте ISO 10326-2:2022 стандарт ISO 2631-1, ссылка на который носит нормативный характер, ошибочно помещен в Библиографию.
ISO 5347 (все части), Methods for the calibration of vibration and shock pick-ups (Методы калибровки датчиков вибрации и удара)
ISO 5348, Mechanical vibration and shock - Mechanical mounting of accelerometers (Вибрация и удар. Механическое крепление акселерометров)
ISO 8041-1, Human response to vibration - Measuring instrumentation - Part 1: General purpose vibration meters (Воздействие вибрации на человека. Средства измерений. Часть 1. Виброметры общего назначения)
ISO 10326-1:2016, Mechanical vibration - Laboratory method for evaluating vehicle seat vibration - Part 1: Basic requirements (Вибрация. Лабораторный метод оценки вибрации сидений транспортных средств. Часть 1. Общие требования)
ISO 13090-1, Mechanical vibration and shock - Guidance on safety aspects of tests and experiments with people - Part 1: Exposure to whole-body mechanical vibration and repeated shock (Вибрация и удар. Меры безопасности при проведении испытаний и экспериментов с участием людей. Часть 1. Воздействие общей вибрации и повторяющихся ударов)
ISO 16063 (все части), Methods for the calibration of vibration and shock transducers (Методы калибровки преобразователей вибрации и удара)
3 Термины, определения, обозначения и сокращения
3.1 Термины и определения
В настоящем стандарте применены термины и определения по ISO 2041.
ИСО и МЭК ведут терминологические базы данных для использования в стандартизации по следующим адресам:
- платформа онлайн-просмотра ИСО: доступна на https://www.iso.org/obp;
- Электропедия МЭК: доступна на http://www.electropedia.org/.
3.2 Обозначения и сокращения
В настоящем стандарте применены следующие условные обозначения и сокращения.
arms - среднеквадратичное значение ускорения, м/с2;
aw - среднеквадратичное значение корректированного ускорения (функция частотной коррекции - по ISO 2631-1), м/с2;
W(f) - функция частотной коррекции для оценки степени дискомфорта, связанного с воздействием вибрации (см. ISO 2631-1);
a(t) - мгновенное значение ускорения, м/с2;
a(t, Be, f) - мгновенное значение ускорения a(t) после прохождения фильтра с полосой пропускания от (f - Be/2) до (f + Be/2), м/с2;
b(t) - мгновенное значение ускорения, м/с2;
b(t, Be, f) - мгновенное значение ускорения b(t) после прохождения фильтра с полосой пропускания от (f - Be/2) до (f + Be/2), м/с2;
b'(
t,
Be,
f) - мгновенное значение ускорения
b(
t) после прохождения фильтра с полосой пропускания от (
f -
Be/2) до (
f +
Be/2) и сдвига фазы колебания на

, м/с
2;
B - точка измерения ускорения на спинке сиденья;
Be - интервал разрешения в процессе частотного анализа, Гц;
Cab(f) - действительная часть Gab(f), (м/с2)2/Гц;
d - амплитуда перемещения на одной частоте колебаний, м;
f - частота, Гц;
fr - частота, соответствующая пику частотной характеристики, Гц;
Gaa(f) - спектральная плотность мощности ускорения a(t), определяемая как средний квадрат ускорения в единичной полосе частот, (м/с2)2/Гц;
Gab(f) - взаимная спектральная плотность мощности двух сигналов ускорения, a(t) и b(t), являющаяся комплексной функцией частоты, (м/с2)2/Гц;
|Gab(f)| - модуль Gab(f), (м/с2)2/Гц;
Gbb(f) - спектральная плотность мощности ускорения b(t), определяемая как средний квадрат ускорения в единичной полосе частот, (м/с2)2/Гц;
H(f) - частотная (амплитудно-частотная) характеристика, являющаяся безразмерной комплексной функцией частоты;
P - точка измерения ускорения на испытательной платформе;
СПМ - спектральная плотность мощности;
Qab(f) - мнимая часть Gab(f), (м/с2)2/Гц;
S - точка измерения ускорения на подушке сиденья;
t - время, с;
T - период измерения и анализа сигнала, с;
TR - коэффициент передачи (безразмерная величина);
x, y и z - символы, используемые для обозначения направлений действия вибрации на подушке и спинке сиденья (точки S и B);
X, Y и Z - символы, используемые для обозначения направлений действия вибрации на платформе в точке P;

- функция когерентности сигналов ускорения
a(
t) и
b(
t) (безразмерная функция, принимающая значения от 0 до 1);

- фаза
Gab(
f), являющаяся действительной функцией частоты, рад.
В качестве подстрочных индексов в настоящем стандарте использованы следующие обозначения:
i - индекс, указывающий направление движения платформы и принимающий значение X, Y или Z;
k - индекс, указывающий направление движения в точках B и S и принимающий значение x, y или z;
rms - среднеквадратичное значение;
s - индекс, указывающий на то, что данная величина является усредненной по результатам трех последовательных испытаний;
w - индекс, указывающий на то, что данный параметр был получен на основе корректированного по частоте сигнала ускорения;

- индекс, указывающий точку измерения ускорения на сиденье и принимающий значение S (подушка сиденья) или B (спинка сиденья).
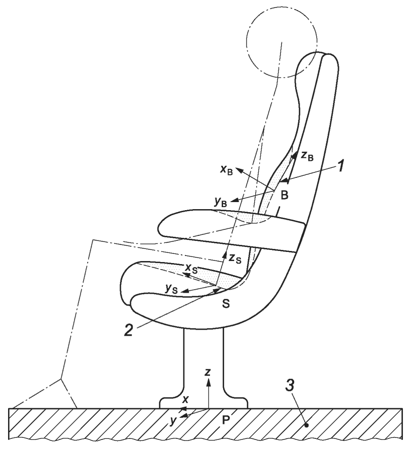
4 Направления действия вибрации
Для описания воздействия общей вибрации на человека в настоящем стандарте использованы две базицентрические системы координат (
x,
y,
z) по ISO 2631-1 с центрами, соответственно, на поверхности контакта ягодиц сидящего человека и подушки сиденья и на поверхности контакта спины и спинки сиденья (см.
рисунок 1).
1 - спинка сиденья; 2 - подушка сиденья; 3 - платформа
вибростенда; B - точка измерений ускорения на спинке
сиденья; S - точка измерений ускорения на подушке сиденья;
P - точка измерений ускорения на платформе
Примечание - Стрелки указывают положительное направление осей.
Рисунок 1 - Направления измерений вибрации
Система координат, используемая для описания прямолинейной вибрации транспортного средства, определена как ортогональная система координат с осями, параллельными основным осям транспортного средства. При этом ось X направлена вдоль транспортного средства, ось Y - поперек, а ось Z - вверх, перпендикулярно к плоскости, образованной осями X и Y. Оси системы координат, используемой для описания вибрации транспортного средства, обычно непараллельны осям системы координат, связанной с сиденьем (например, из-за того, что подушка сиденья или само сиденье могут быть расположены под некоторым углом к продольной оси транспортного средства).
5 Характеристики вибрации и передаточных свойств сиденья
5.1 Характеристики вибрации
5.1.1 Общие положения
Для описания вибрации используют три параметра: среднеквадратичное значение ускорения, спектральную плотность мощности ускорения и взаимную спектральную плотность мощности ускорения.
5.1.2 Среднеквадратичное значение ускорения arms
Среднеквадратичное значение сигнала ускорения arms определяют одним из методов в соответствии с формулой

(1)
5.1.3 Спектральная плотность мощности ускорения Gaa(f)
Спектральную плотность мощности ускорения Gaa(f) определяют одним из методов в соответствии с формулой

(2)
5.1.4 Взаимная спектральная плотность мощности ускорения Gab(f)
Этот параметр используют для описания связи двух сигналов ускорения, один из которых, a(t), представляет собой входной сигнал возбуждения колебаний сиденья, а другой, b(t), - отклик системы "сиденье-человек" в заданной точке. Взаимную спектральную плотность мощности ускорения Gab(f), определяют одним из методов в соответствии с формулой

(3)
где
5.2 Характеристики передаточных свойств сиденья
5.2.1 Общие положения
Для описания передачи вибрации от точки крепления сиденья [сигнал ускорения
a(
t)] до точки контакта сиденья с телом человека [сигнал ускорения
b(
t)] используют характеристики, указанные в
5.2.2 -
5.2.5.
5.2.2 Частотная характеристика H(f)
Частотная характеристика H(f) представляет собой безразмерную комплексную функцию частоты f. Ее определяют одним из методов в соответствии с формулой
H(
f) =
Gab(
f)/
Gaa(
f). (4)
5.2.3 Функция когерентности 
Функция когерентности

представляет собой безразмерную действительную функцию частоты
f. Ее определяют одним из методов в соответствии с формулой

(5)
где
Gbb(
f) вычисляют по
формуле (2) с заменой
a(
t,
Be,
f) на
b(
t,
Be,
f).
5.2.4 Коэффициент передачи TR
Коэффициент передачи TR представляет собой безразмерную действительную величину, которая определена как отношение среднеквадратичных значений ускорений, измеренных соответственно в точке контакта человека с поверхностью сиденья и на платформе, где это сиденье установлено.
Примечание 1 - Значение коэффициента передачи зависит от входной вибрации (на платформе), в частности от соотношения между ее частотными составляющими.
Примечание 2 - Коэффициент передачи на одной фиксированной частоте (резонансной частоте сиденья) в ISO 10326-1 обозначен T.
5.2.5 Коэффициент передачи корректированного ускорения TRw и коэффициент SEAT
Коэффициент передачи TRw представляет собой коэффициент передачи, рассчитанный для корректированных ускорений (см. ISO 2631-1). Вид функций частотной коррекции и их допуски - по ISO 8041-1.
Введенный ISO 10326-1 коэффициент SEAT позволяет оценить возможности конструкции сиденья для повышения комфорта занимающего его человека. Если значение данного фактора более единицы, то дискомфорт усиливается, а если менее - то сиденье входную вибрацию ослабляет. Коэффициент SEAT позволяет предсказать, насколько изменится степень комфорта в случае применения сиденья с упругой подвеской по сравнению с жестким сиденьем в соответствии со своим определением:

(6)
где awS - среднеквадратичное значение корректированного ускорения на подушке сиденья;
awP - среднеквадратичное значение корректированного ускорения на платформе,
и по результатам измерений в соответствии с формулой

(7)
где GSS(f) - спектральная плотность мощности ускорения, измеренного на подушке сиденья;
GPP(f) - спектральная плотность мощности ускорения, измеренного на платформе;
W(f) - функция частотной коррекции для оценки степени дискомфорта, связанного с воздействием вибрации (см. ISO 2631-1).
Значение коэффициента SEAT может быть рассчитано по результатам измерений вибрации на полу транспортного средства в том месте, где будет установлено сиденье, по формуле

(8)
где GTT(f) - спектральная плотность мощности ускорения, измеренного на полу транспортного средства;
W(f) - функция частотной коррекции для оценки степени дискомфорта, связанного с воздействием вибрации (см. ISO 2631-1);
H(
f) - частотная характеристика, рассчитанная по
формуле (4) и определяющая отклик на подушке транспортного средства при заданном ускорении на платформе.
Метод лабораторных испытаний, описанный в настоящем стандарте, предполагает использование вибростенда, посредством которого в точках крепления испытуемого сиденья с находящимся на нем испытателем последовательно возбуждается прямолинейная вибрация в направлениях X, Y и Z.
Настоящий стандарт устанавливает метод определения характеристик передачи вибрации, действующей в одном из направлений,
X,
Y и
Z, или во всех направлениях сразу, от возбуждаемого основания сиденья (точка P на
рисунке 1) до двух точек на поверхности сиденья: на подушке (точка S) и на спинке (точка B). В каждой из этих точек на поверхности сиденья необходимо измерять отклик (одновременно по всем трем направлениям,
x,
y и
z) и рассчитывать частотную характеристику сиденья
H(
f), коэффициент передачи
TR и коэффициент передачи корректированного ускорения
TRw.
Требования к вибрации, воспроизводимой на платформе вибростенда, определены в
разделе 11.
В соответствии с
рисунком 1 в ходе испытаний должны быть проведены измерения:
- трех входных сигналов ускорения на платформе, точка P;
- трех выходных сигналов ускорения на подушке сиденья, точка S;
- трех выходных сигналов ускорения на спинке сиденья, точка B.
Точка P должна быть расположена на платформе вибростенда на расстоянии менее 100 мм от вертикальной проекции точки S.
Средства измерений должны соответствовать требованиям ISO 10326-1:2016 (разделы 4 и 5) и ISO 8041-1.
Для проведения измерений используют тонкий полужесткий установочный диск по ISO 10326-1:2016 (5.2.3) с закрепленным в нем трехкомпонентным акселерометром, который должен находиться на центральной линии подушки сиденья посередине между седалищными буграми испытателя. Форма и материал установочного диска не должны вызывать неудобства для испытателя в процессе испытаний. Акселерометр в точке S должен обеспечивать одновременное измерение ускорений в направлениях осей
xS,
yS и
zS, как изображено на
рисунке 1.
Для измерений в точке на спинке сиденья используют тот же полужесткий установочный диск, закрепляемый так, чтобы акселерометр был расположен по центру спинки в наивысшей точке контакта сиденья со спиной испытателя. На практике обычно невозможно точно совместить оси чувствительности акселерометра с направлениями движения платформы вибростенда, но расхождение между ними не должно превышать 15° для каждого направления.
9 Требования безопасности
Требования безопасности в ходе проведения испытаний - по ISO 13090-1.
10 Требования к сиденьям и испытателям
Сиденье, используемое в испытаниях, должно быть представительным для модели данного вида. При необходимости и в соответствии с рекомендациями изготовителя сидений испытуемый образец перед проведением испытаний может быть приработан и отрегулирован по фигуре и массе испытателя, если это предусмотрено конструкцией сиденья.
Если неотъемлемой частью сиденья является устройство для его крепления на транспортном средстве, это же устройство необходимо использовать для крепления сиденья к платформе вибростенда, что обеспечит получение результатов испытаний, соответствующих конкретным жесткостным и демпфирующим характеристикам данного устройства.
При отсутствии устройства крепления сиденье жестко закрепляют на платформе вибростенда.
Если сиденье снабжено устройствами регулировки положения, в процессе испытаний его устанавливают в положение, наиболее часто используемое при движении транспорта. Если сиденье сконструировано под несколько поз сидящего на нем человека, то испытания проводят при принятии испытателем каждой из таких поз.
Предварительную приработку сиденья следует проводить в лаборатории. По ее завершении на подушку сиденья в точке, определенной в
10.2, кладут инерционную массу (75 +/- 0,75) кг. После этого сиденье в течение 2 ч подвергают воздействию гармонического возбуждения на частоте низшего резонанса сиденья (определяемой расчетным методом или по результатам предшествующих экспериментов). Амплитуду возбуждения следует отрегулировать таким образом, чтобы среднеквадратичное значение ускорения инерционной массы составляло 3 м/с
2.
Испытания проводят с участием не менее двух испытателей, которые занимают сиденье поочередно (в том числе в случае двухместного или многоместного сиденья).
До начала испытаний испытатель должен найти положение, которое он будет сохранять в течение всего испытания. В том случае, если испытанию подвергают сиденье машиниста, испытатель должен принять в нем нормальное рабочее положение. При испытаниях пассажирских сидений, предусматривающих возможность изменения позы за счет наклона подушки или спинки сиденья, рекомендуется проводить испытания для 2 - 3 таких поз, например для положений спинки "прямо", "максимальный наклон назад" и, если есть, "наклон вперед".
Ступни испытателя должны опираться на платформу вибростенда или, при необходимости, на жесткое приспособление, являющееся составной частью платформы. Спина должна естественным образом опираться на спинку сиденья, локти - на подлокотники (если таковые имеются), а кисти - свободно лежать на бедрах.
На многоместном сиденье испытатель должен занять такое положение, чтобы среднеквадратичное значение ускорения подушки сиденья в вертикальном направлении при вертикальном возбуждении было максимальным. Это положение находят в процессе предварительных испытаний.
До начала испытаний испытатель должен находиться на сиденье в течение периода времени, достаточного, чтобы обеспечить установившуюся деформацию и смещение материала подушки сиденья, а также температурную стабилизацию акселерометров на подушке и на спинке сиденья. Обычно для этих целей требуется около 10 мин.
Испытания проводят последовательно для как минимум двух испытателей. Их массы должны быть в диапазоне соответственно от 52,25 до 55 кг и от 90 до 94,5 кг. Чтобы удовлетворить данное требование, на испытателя может быть надет пояс с грузом, масса которого составляет до 10% требуемого значения массы испытателя. Рекомендуется привлекать к участию в испытаниях представителей групп с разным строением тела, которые могут пользоваться данным сиденьем при его эксплуатации.
Примечание - Поза испытателя может быть определена в соответствии с
[3].
11 Воспроизводимая вибрация
В процессе испытаний исследуют динамическое поведение системы "сиденье-человек" посредством приложения одного из следующих двух видов нагружения:
- широкополосной псевдослучайной вибрации заданного уровня, действующей в одном направлении или во всех трех направлениях (X, Y и Z) одновременно. Кроме того, для обнаружения возможной нелинейности отклика поведение системы исследуют при ее возбуждении гармонической вибрацией;
- вибрации, соответствующей реальным условиям эксплуатации сиденья (в виде зафиксированной временной реализации или смоделированного сигнала с заданным спектром возбуждения) в одном направлении или во всех трех направлениях (X, Y и Z) одновременно.
11.2 Псевдослучайная вибрация
11.2.1 Формирование заданного сигнала возбуждения
Управляющий сигнал для возбуждения платформы вибростенда должен быть псевдослучайного типа.
Данный тип возбуждения предотвращает эффект "просачивания спектров" при анализе. Спектр возбуждения легко может быть сформирован таким образом, чтобы возбуждать только необходимые частоты в диапазоне частот испытаний. В частности, при формировании спектра может быть предусмотрена компенсация собственной частотной характеристики испытательного оборудования, что позволяет получить спектр во всем диапазоне частот в соответствии с
формулами (9) и
(10). Кроме того, оценка параметров может быть получена усреднением по нескольким последовательностям сигнала. Общий сигнал возбуждения должен состоять из 18 блоков одинаковой длины, каждый длительностью не менее 5 с в зависимости от требуемого разрешения по частоте (пять секунд - минимальная длительность последовательности, позволяющая обеспечить разрешение по частоте 0,2 Гц и менее). Общая длительность возбуждения, таким образом, должна составлять как минимум 18·5 с = 90 с.
Сигнал в каждом блоке должен представлять собой сумму синусоидальных сигналов, число которых зависит от разрешения по частоте. Амплитуда каждой составляющей определяется огибающей СПМ в соответствии с
формулами (9) и
(10). Фазы синусоидальных составляющих должны быть случайным образом равномерно распределены в диапазоне от 0 до

.
В
приложении A приведена примерная схема формирования управляющего сигнала возбуждения.
Более простой способ формирования псевдослучайного сигнала с применением генератора случайных чисел описан в
11.2.5.
11.2.2 Спектральная плотность мощности
Спектральная плотность мощности ускорения Gaa(f), (м/с2)2/Гц, в точке возбуждения в каждом из направлений, X, Y или Z, определена в диапазоне частот f, Гц, от 0,5 до 50 Гц следующими формулами:
Gaa(
f) = 0,05
f4,
f < 1 Гц; (9)
Gaa(
f) = 0,05, 1 Гц <=
f <= 50 Гц. (10)
Разрешение по частоте должно быть 0,2 Гц или выше.
11.2.3 Среднеквадратичное значение ускорения
Среднеквадратичное значение ускорения в диапазоне частот от 0,5 до 50 Гц должно быть равно 0,8 м/с2.
11.2.4 Допуски
Во время проведения испытаний СПМ ускорения, измеренная на платформе вибростенда в точке P, во всем диапазоне частот от 0,5 до 50 Гц, не должна отличаться от заданной более чем на +/- 20%. Допуск на среднеквадратичное значение ускорения - +/- 0,16 м/с2.
11.2.5 Возбуждение в нескольких направлениях
Если исполнительные устройства испытательного оборудования способны возбуждать вибрацию в трех (или более) направлениях, то измерение коэффициента передачи сиденья может быть выполнено с одновременным возбуждением вибрации по этим направлениям. Псевдослучайный сигнал может быть получен, как указано в
11.2.1, или с применением генератора случайных чисел, позволяющего сформировать 90-секундные последовательности независимых отсчетов для возбуждения по каждой из трех осей. Для получения СПМ по
11.2.2 к сигналу для каждого направления возбуждения применяют низкочастотную и высокочастотную фильтрацию с последующей коррекцией формы спектра, при этом:
- частоты среза фильтров верхних и нижних частот должны быть 0,5 и 50 Гц соответственно;
- устройство коррекции должно обеспечивать среднеквадратичное значение ускорения в диапазоне частот от 0,5 до 50 Гц, равное 0,8 м/с2;
- допуск на среднеквадратичное значение ускорения в точке должен составлять +/- 0,16 м/с2, а на каждую частотную составляющую спектра - +/- 20%.
Указанная процедура позволяет получить три независимых сигнала возбуждения вдоль осей X, Y и Z.
11.3 Гармоническое возбуждение
Сиденье должно быть подвергнуто возбуждению гармонической вибрацией на частотах, для которых по результатам испытаний на псевдослучайную вибрацию были получены максимальные значения модуля частотной характеристики.
Если ярко выраженных пиков характеристики не обнаружено, возбуждение следует подавать на частотах 1,5 и 10 Гц.
Возбуждение осуществляют последовательно с размахом ускорения (0,5 +/- 0,1) м/с2 и (1 +/- 0,1) м/с2.
В
приложении A в качестве примера приведена блок-схема формирования управляющего сигнала возбуждения.
11.4 Вибрация, представительная для реальных условий эксплуатации
Для воспроизведения более реалистичных условий применения сиденья рекомендуется использовать возбуждение, характерное для его эксплуатации. При этом динамический отклик сиденья будет получен с учетом имеющейся нелинейности.
Вибрацию, наблюдаемую на полу транспортного средства в направлениях X, Y и Z, используют в качестве управляющего сигнала вибростенда. Сигнал ускорения на платформе подвергают высокочастотной и низкочастотной фильтрации с частотами среза 0,5 и 50 Гц соответственно, а также коррекции для компенсации частотной характеристики вибростенда.
Процедура моделирования сигнала вибрации включает в себя следующие шаги:
- с помощью генератора случайных чисел создают 90-секундные последовательности отсчетов для каждого из трех направлений возбуждения;
- пропускают полученный сигнал через фильтр, позволяющий получить воспроизводимый сигнал, как описано в
приложении B;
- корректируют полученный сигнал с учетом частотной характеристики вибростенда для получения заданного среднеквадратичного значения ускорения.
Данный способ допускает формирование однонаправленного возбуждения, но при наличии соответствующего оборудования испытания с одновременным возбуждением вибрации в трех направлениях являются предпочтительными.
12.1 Псевдослучайная вибрация и вибрация, представительная для реальных условий эксплуатации
Для обоих видов сигналов и обоих способов возбуждения (в одном или в трех направлениях) динамическое поведение сиденья описывают с помощью одних и тех же характеристик.
Для каждой точки измерений, S и B, рассчитывают:
- частотные характеристики

(в виде модуля и фазы с разрешением 0,2 Гц и менее в диапазоне частот от 0,5 до 50 Гц);
- функции когерентности

;
- коэффициенты передачи

;
- коэффициенты передачи корректированного сигнала

и коэффициенты SEAT (измеренные или предсказанные).
Может оказаться, что значение функции когерентности, соответствующей определенной частотной характеристике, будет относительно мало. Обычно такое имеет место, когда измеряют ускорение сиденья в направлении, отличном от направления возбуждения. На тех частотах, где значение функции когерентности падает ниже 0,6, полученные значения соответствующей частотной характеристики нельзя считать достоверными. Тем не менее в протоколе испытаний следует приводить полученную частотную характеристику (модуль и фазу) полностью.
12.2 Гармоническая вибрация
Для каждой частоты fr, где по результатам испытаний на псевдослучайную вибрацию были обнаружены отчетливые пики на графике модуля соответствующей частотной характеристики H(f), должны быть получены два новых значения модуля частотной характеристики, H(fr), в условиях возбуждения сиденья гармонической вибрацией с размахом ускорения 0,5 и 1 м/с2 соответственно.
После этого определяют разность между двумя полученными значениями модуля H(fr). Эту разность выражают в процентах от максимального из двух полученных значений.
Если разность превышает 30%, это является свидетельством существенно нелинейного поведения сиденья на данной частоте и для данных направлений возбуждения и отклика.
13.1 Подготовка к проведению испытаний
Сиденье устанавливают на платформе вибростенда, осуществляют его приработку и подгонку под фигуру и массу испытателя. Положение акселерометров на сиденье регулируют таким образом, чтобы их оси чувствительности совпадали с направлениями, указанными на
рисунке 1.
Средства измерений должны быть собраны в измерительную цепь. Акселерометры должны быть калиброваны одним из методов по ISO 5347 или ISO 16063 и закреплены, особенно в точке P, с соблюдением рекомендаций ISO 5348.
13.2 Испытание с возбуждением псевдослучайной вибрации и вибрации, представительной для реальных условий эксплуатации
Первый испытатель занимает место на сиденье. Для каждого положения сиденья выполняют следующую процедуру.
Последовательно или одновременно возбуждают вибрацию в направлениях X, Y и Z.
Для каждого направления возбуждения воспроизводимая вибрация должна удовлетворять требованиям
раздела 11. Длительность соответствующего испытания должна составлять как минимум 90 с. Каждое испытание необходимо повторять до тех пор, пока модуль частотной характеристики для каждого из трех последних испытаний не будет отличаться от их среднеарифметического значения более чем на +/- 5% во всем диапазоне частот, от 0,5 до 50 Гц. Частотная характеристика, функция когерентности и коэффициент передачи, усредненные по трем последним испытаниям, должны быть выражены в виде

,

и

.
После этого место на сиденье занимает второй испытатель, и выполняют новую серию испытаний в соответствии с требованиями настоящего подраздела.
13.3 Испытание с возбуждением гармонической вибрации
Сиденье подвергают возбуждению в соответствии с требованиями
11.3.
Каждое испытание повторяют до тех пор, пока модуль частотной характеристики для каждого из трех последних испытаний не будет отличаться от их среднего арифметического значения более чем на +/- 5%. Полученное среднеарифметическое значение является окончательным результатом и должно быть выражено в форме модуля частотной характеристики

.
Если испытания показали нелинейность отклика системы "сиденье-испытатель", то характеристики динамического поведения системы рекомендуется получить с применением возбуждения, представительного для реальных условий эксплуатации (см.
11.4), а не псевдослучайного возбуждения.
Должны быть подробно описаны все устройства для установки и крепления сиденья к платформе вибростенда. Должны быть подробно описаны положения точек измерений на подушке и спинке сиденья.
Должно быть описано состояние сиденья (в частности, является ли оно новым или бывшим в эксплуатации), поскольку результаты испытаний могут зависеть от срока эксплуатации сиденья и качества его обслуживания.
Должны быть указаны масса, рост, пол и возраст каждого испытателя.
Если сиденье имеет несколько посадочных мест, должно быть указано, какое место занимали испытатели в процессе испытаний.
Должно быть описано положение сиденья во время испытаний (в нормальном положении, с максимальным наклоном назад, с наклоном вперед).
Измерительная цепь должна быть описана в соответствии с требованиями ISO 10326-1.
14.4 Результаты испытаний
Результаты испытаний должны быть представлены следующим образом.
Результаты испытаний с воспроизведением псевдослучайной вибрации должны быть представлены в числовом и графическом виде.
Модуль и фаза каждой частотной характеристики, а также функция когерентности должны быть представлены в виде ряда значений, соответствующих частотам от 0,5 до 50 Гц и изменяющихся с шагом 0,2 Гц или менее.
Графики должны быть представлены, как показано на
рисунке 2.
X1 - точка S; X2 - точка B
Примечание - Для каждой точки и каждого направления измерений верхний график - модуль частотной характеристики (в условных единицах), средний график - фаза частотной характеристики, нижний график - функция когерентности.
Рисунок 2 - Пример представления результатов испытаний
на псевдослучайную вибрацию
Должны быть представлены значения коэффициента передачи и коэффициента SEAT, а также указаны среднеквадратичные значения ускорения, на основании которых были рассчитаны эти коэффициенты.
Результаты испытаний с воспроизведением синусоидальной вибрации должны быть представлены в соответствии с
таблицей 1.
Таблица 1
Пример представления результатов испытаний
с гармоническим возбуждением
Модуль частотной характеристики на частотах fr (определены по результатам испытаний с воспроизведением псевдослучайной вибрации) <a> |
| 5 Гц | 36 Гц |
HsSXx | | |
Амплитуда гармонической вибрации 0,5 м/с2 | 1,38 | 1,59 |
Амплитуда гармонической вибрации 1 м/с2 | 1,07 | 1,55 |
Разность (в процентах максимального значения), % | 22 | 3 |
HsSXy | | |
Амплитуда гармонической вибрации 0,5 м/с2 | 0,24 | 0,25 |
Амплитуда гармонической вибрации 1 м/с2 | 0,23 | 0,21 |
Разность (в процентах максимального значения), % | 4 | 16 |
HsSXz | | |
Амплитуда гармонической вибрации 0,5 м/с2 | 1,13 | 0,78 |
Амплитуда гармонической вибрации 1 м/с2 | 1,04 | 0,67 |
Разность (в процентах максимального значения), % | 8 | 14 |
HsBXx | | |
Амплитуда гармонической вибрации 0,5 м/с2 | 2,02 | 4,64 |
Амплитуда гармонической вибрации 1 м/с2 | 2,39 | 4,84 |
Разность (в процентах максимального значения), % | 15 | 4 |
HsBXy | | |
Амплитуда гармонической вибрации 0,5 м/с2 | 0,055 | 0,12 |
Амплитуда гармонической вибрации 1 м/с2 | 0,050 | 0,13 |
Разность (в процентах максимального значения), % | 9 | 8 |
HsBXz | | |
Амплитуда гармонической вибрации 0,5 м/с2 | 0,53 | 1,78 |
Амплитуда гармонической вибрации 1 м/с2 | 0,46 | 1,99 |
Разность (в процентах максимального значения), % | 13 | 11 |
<a> Возбуждение прямолинейной гармонической вибрацией в направлении X Испытатель N 1 Масса: 55 кг Рост: 1,66 м Пол: женский Возраст: 32 года |
(справочное)
ПРИМЕР ПРОЦЕДУРЫ ФОРМИРОВАНИЯ УПРАВЛЯЮЩЕГО
СИГНАЛА ВОЗБУЖДЕНИЯ
A.1 Общие положения
В настоящем приложении даны примеры методов, которые могут быть использованы для создания управляющего сигнала вибростенда.
Рассматриваются два метода возбуждения:
- с воспроизведением псевдослучайного сигнала;
- с воспроизведением синусоидального сигнала только на резонансных частотах, которые были выявлены в ходе испытаний с возбуждением псевдослучайной вибрацией.
A.2 Возбуждение псевдослучайной вибрации
Сигнал для данного возбуждения представляет собой сумму синусоидальных сигналов, фазы которых распределены случайным образом.
Если разрешение по частоте Be составляет 0,2 Гц, сигнал возбуждения может охватывать диапазон частот от 0,4 до 50 Гц.
Отсюда следует, что в спектре сигнала возбуждения содержится (50 Гц - 0,4 Гц)/0,2 Гц + 1 = 249 линий.
Настоящий стандарт определяет возбуждение через его спектральную плотность мощности
Gaa(
f) (см.
11.2).
Для управления вибрацией, воспроизводимой вибростендом, обычно используют сигнал перемещения. Если в амплитудном спектре перемещения (с разрешением по частоте Be) линии на частоте f соответствует амплитуда перемещения d, соответствующая СПМ ускорения Gaa(f) будет иметь вид

(A.1)
Соответственно амплитуду d рассчитывают по формуле

(A.2)
Испытания могут быть выполнены в соответствии с блок-схемой, приведенной на
рисунке A.1.
Рисунок A.1 - Блок-схема процедуры испытаний с возбуждением
псевдослучайной вибрации
A.3 Возбуждение гармонической вибрации
Каждое испытание может быть выполнено в соответствии с блок-схемой, показанной на
рисунке A.2.
Рисунок A.2 - Блок-схема процедуры испытаний с возбуждением
гармонической вибрации
(рекомендуемое)
ФОРМИРОВАНИЕ УПРАВЛЯЮЩЕГО СИГНАЛА ВИБРАЦИИ, ПРЕДСТАВИТЕЛЬНОЙ
ДЛЯ РЕАЛЬНЫХ УСЛОВИЙ ЭКСПЛУАТАЦИИ
B.1 Общие положения
В настоящем приложении приведен метод формирования управляющего сигнала на основе результатов измерений или моделирования вибрации на полу транспортного средства.
Поскольку система "человек-сиденье" может быть существенно нелинейной, получаемые в результате испытаний значения коэффициентов передачи и SEAT будут зависеть от сигнала возбуждения. Чтобы эти коэффициенты были репрезентативны, для возбуждения используют сигнал вибрации, представительной для реальных условий эксплуатации.
Вибрация на транспорте зависит от многих условий, таких как тип железнодорожного подвижного состава, скорость движения, состояние рельсового пути. Для испытаний с целью оценки динамических свойств сиденья используют записи вибрации на полу транспортного средства в направлениях X, Y и Z для конкретных заданных условий.
При использовании прямого метода формирования сигнала возбуждения записанный сигнал ускорения следует пропустить через фильтры верхних и нижних частот с частотами среза соответственно 0,5 и 50 Гц, после чего выполнить коррекцию на частотную характеристику испытательного оборудования (см.
рисунок B.1).
Y3 - ускорение по оси X, м/с2; Y2 - ускорение по оси Y,
м/с2; Y1 - ускорение по оси Z, м/с2; t - время, с
Рисунок B.1 - Фильтрованные сигналы ускорения
В настоящем приложении рассмотрен другой метод, обеспечивающий лучшую воспроизводимость результатов испытаний. Данный метод включает в себя проектирование фильтров на основе характеристик записанного сигнала ускорения.
B.2 Проектирование фильтров по записям сигнала ускорения
Искомые характеристики фильтров определяют на основе спектров записанных сигналов ускорения в направлениях X, Y и Z. Тогда после фильтрации сгенерированного случайного сигнала его спектр будет совпадать со спектром записанного сигнала ускорения, и данный случайный сигнал будет использован в качестве управляющего при возбуждении вибрации платформы вибростенда.
Ниже приведена пошаговая цифровая реализация данной процедуры с приложением соответствующих кодов в среде Matlab.
Фильтрованные сигналы ускорения
На
рисунке B.1 показаны сигналы ускорения вдоль осей
X,
Y и
Z после прохождения полосового фильтра с частотами среза 0,5 и 50 Гц.
Код Matlab:
load('AccData');%load the measured data file
accX = floor_acceleration_X;
accY = floor_acceleration_Y;
accZ = floor_acceleration_Z;
fs = 400; %sampling rate used for data acquisition
%bandpass filtering at 0,5 Hz (High Pass) and at 50 Hz (Low Pass)
[accXf] = bandpass(accX,[0.5 50],fs);
[accYf] = bandpass(accY,[0.5 50],fs);
[accZf] = bandpass(accZ,[0.5 50],fs);
l=length(accXf);
t=linspace(0,90,1);
figure(1)
subplot(3,1,1)
plot(t,accXf)
ylabel('X-axis')
title('Bandpass filtered measured acceleration [m.s-2]')
subplot (3,1,2)
plot(t,accYf)
ylabel('Y-axis')
subplot(3,1,3)
plot(t,accZf)
xlabel('Time [s]')
ylabel('Z-axis')
Спектры фильтрованных сигналов ускорения
Рассчитывают спектры фильтрованных сигналов ускорения, показанных на
рисунке B.1.
В качестве примера на
рисунке B.2 показан рассчитанный с использованием функции PWELCH в Matlab спектр для ускорения вдоль оси
X.
Y2 - СПМ фильтрованного сигнала ускорения по оси X,
(м/с2)2/Гц; Y1 - смоделированная частотная характеристика
фильтра H(f); f - частота, Гц
Рисунок B.2 - Спектральная плотность мощности фильтрованного
сигнала ускорения (вверху) и смоделированная на его основе
передаточная функция фильтра (внизу)
Частотные характеристики фильтров
Для проектирования фильтра, у которого форма частотной характеристики совпадает с формой СПМ измеренного сигнала ускорения, использована модель авторегрессии - скользящего среднего (АРСС).
Функция yulewalk в Matlab позволяет синтезировать рекурсивный фильтр по заданной кусочно-линейной аппроксимации спектра. Выражение [b,a] = yulewalk(n,f,m) находит параметры БИХ-фильтра по входным значениям n, f и m, где n - порядок фильтра, а f и m - параметры, с помощью которых осуществляется подгонка частотной характеристики под заданную форму спектра сигнала.
На
рисунке B.2 для сравнения приведены формы СПМ сигнала и передаточной функции фильтра, синтезированного с применением АРСС.
Код Matlab:
%Spectrum of the measured acceleration
n = 6; %also corresponding to the n-order of the filter
nfft =

; %number of point for the Fast Fourier Transformation
segment = nfft/2; %size of the window for FFT calculation
overlap = segment/2; %50 overlapping
%spectral density calculation:
[ACCXf,F] = pwelch(accXf,segment,overlap,nfft,fs);
figure(2)
subplot(2,1,1)
plot(F,ACCXf,'b')
axis([0 fs/2 0 max(ACCXf)])
grid on
ylabelf('PSD of acceleration in X-axis [

/Hz]')
legend('Measured acceleration')
title('Spectrum')
%Filter design corresponding to the spectral density of the measured acceleration
ARMA method)
Bz, Az] = yulewalk(

,2*F/fs,ACCXf/max(ACCXf));
H_, F_] = freqz(Bz,Az,

,'whole',fs);
subplot(2,1,2)
plot(F_,abs(H_),'m')
axis([0 fs/2 0 1])
grid on
xlabel('Frequency [Hz]')
ylabel('H(f)')
legend('Designed filter')
B.3 Воспроизведение заданного возбуждения
Процедура воспроизведения возбуждения по записи сигнала ускорения, представительного для реальных условий эксплуатации сиденья, включает в себя:
- генерирование независимых 90-секундных выборок для каждого из трех направлений возбуждения с помощью генератора случайных чисел;
- пропускание полученных цифровых сигналов через фильтры, синтезированные в соответствии с
B.2;
- внесение коррекции для учета передаточных свойств вибростенда и получения требуемых среднеквадратичных значений ускорения.
На
рисунках B.3 и
B.4 сравниваются измеренный и воспроизведенный сигналы ускорения во временной и частотной областях соответственно.
Y2 - измеренный сигнал ускорения, м/с2;
Y1 - воспроизведенный сигнал ускорения, м/с2; t - время, с
Рисунок B.3 - Измеренный (вверху) и воспроизведенный
(внизу) сигналы ускорения
Y - СПМ измеренного (сплошная линия) и воспроизведенного
(штриховая линия) сигналов ускорения, (м/с2)2/Гц;
f - частота, Гц
Рисунок B.4 - СПМ измеренного (вверху) и воспроизведенного
(внизу) сигналов ускорения
Код Matlab:
% Generate a random signal having the same frequency response as the
% measured acceleration
a_ = randn(size(t));
a_ = filter(Bz,Az,a_);
rms_accXf=norm(accXf)/sqrt(l);
rms_a_=norm(a_/sqrt(l);
a_ = a_/rms_a_*rms_accXf;
% [~, ~, A_, ~, ~, ARMS_] = periodo-
gram_fct(a_,fs,nfft,segment,tenetre,overlap);
[RandXf,F] = pwelch(a_,segment,overlap,nfft,fs);
% Comparison: "Measured acceleration" vs "Designed acceleration"
%in time domain
maxi = max([ max(abs(accXf)) max(abs(a_)) ]);
mini = -maxi;
figure(3)
subplot(2,1,1)
plot(t,accXf,'b')
axis([0 t(end) mini maxi])
grid on
ylabel('Measured acceleration [m.s-2]')
title('Comparison in the time domain')
% legend('Measured acceleration')
subplot(2,1,2)
plot(t,a_,'r')
axis([0 t(end) mini maxi])
grid on
xlabel('Time [s]')
ylabel('Filtered random signal')
% legend(['a_r_m_s = ', num2str(rms(a_)), ' m.s-2'])
%in frequency domain
figure(4)
maxi = max([ max(ACCXf) max(RandXf) ]);
plot(F,ACCXf,'b')
hold on
plot(F,RandXf,'r')
axis([0 fs/2 0 maxi])
grid on
xlabel('Frequency [Hz]')
ylabel('PSD of acceleration

/Hz')
legend('Measured acceleration','Designed acceleration')
title('Comparison in the frequency domain')
(справочное)
СВЕДЕНИЯ О СООТВЕТСТВИИ ССЫЛОЧНЫХ МЕЖДУНАРОДНЫХ СТАНДАРТОВ
МЕЖГОСУДАРСТВЕННЫМ СТАНДАРТАМ
Таблица ДА.1
Обозначение ссылочного международного стандарта | Степень соответствия | Обозначение и наименование соответствующего межгосударственного стандарта |
ISO 2041 | - | |
ISO 2631-1 | MOD | ГОСТ 31191.1-2004 "Вибрация и удар. Измерение общей вибрации и оценка ее воздействия на человека. Часть 1. Общие требования" |
ISO 5347 (все части) | - | |
ISO 5348 | IDT | ГОСТ ISO 5348 "Вибрация и удар. Механическое крепление акселерометров" (проект) |
ISO 8041-1 | - | |
ISO 10326-1:2016 | IDT | ГОСТ ISO 10326-1 "Вибрация. Лабораторный метод оценки вибрации транспортных средств. Часть 1. Общие требования" (проект) |
ISO 13090-1 | MOD | ГОСТ 31194.1-2004 "Вибрация и удар. Меры безопасности при проведении испытаний с участием людей. Общие требования" |
ISO 16063 (все части) | IDT | |
<*> Соответствующий межгосударственный стандарт отсутствует. До его принятия рекомендуется использовать перевод на русский язык данного международного стандарта. Примечание - В настоящей таблице использованы следующие условные обозначения степени соответствия стандартов: - IDT - идентичные стандарты; - MOD - модифицированные стандарты. |
--------------------------------
<1> В Российской Федерации действует
ГОСТ Р ИСО 2041-2012 "Вибрация, удар и контроль технического состояния. Термины и определения".
<2> В Российской Федерации действует
ГОСТ Р 59701.1-2022 (ИСО 8041-1:2017) "Вибрация. Средства измерений общей и локальной вибрации. Часть 1. Виброметры общего назначения".
<3> Введены также следующие части ISO 16063 по определению коэффициента преобразования преобразователей вибрации и удара:
-
ГОСТ ISO 16063-11-2013 "Вибрация. Методы калибровки датчиков вибрации и удара. Часть 11. Первичная вибрационная калибровка методами лазерной интерферометрии";
-
ГОСТ ISO 16063-12-2013 "Вибрация. Методы калибровки датчиков вибрации и удара. Часть 12. Первичная вибрационная калибровка на основе принципа взаимности";
-
ГОСТ ISO 16063-21-2013 "Вибрация. Методы калибровки датчиков вибрации и удара. Часть 21. Вибрационная калибровка сравнением с эталонным преобразователем".
[1] | | |
| ISO 26314 | Mechanical vibration and shock - Evaluation of human exposure to whole-body vibration - Part 4: Guidelines for the evaluation of the effects of vibration and rotational motion on passenger and crew comfort in fixed-guideway transport systems (Вибрация и удар. Оценка воздействия общей вибрации на человека. Часть 4. Руководство по оценке влияния вибрации и угловых колебаний на комфорт пассажиров и бригады транспортных средств с фиксированными направляющими движения) <2> |
| ISO/TR 10687 | Mechanical vibration - Description and determination of seated postures with reference to whole-body vibration (Вибрация. Описание и определение поз сидящего человека при воздействии общей вибрации) |
| EN 12299 | Railway applications - Ride comfort for passengers - Measurement and evaluation (Железнодорожный транспорт. Комфорт пассажиров при движении. Измерения и оценка) |
[5] | Gong and Griffin; Measuring, evaluating and assessing the transmission of vibration through the seats of railway vehicles; Journal of Rail and Rapide Transit; 2016 |
[6] | Isufi L., Simonetto L., Filtering A.M.A.G. arXiv: 1602.04436v2; 2016 |
--------------------------------
<1> В применяемом международном стандарте ISO 10326-2:2022 указан ISO 2631-1, который перенесен в
раздел 2 ввиду наличия ссылок на него нормативного характера.
<2> Рекомендуется применять гармонизированный стандарт
ГОСТ 31191.4-2006 "Вибрация и удар. Измерение общей вибрации и оценка ее воздействия на человека. Часть 4. Руководство по оценке влияния вибрации на комфорт пассажиров и бригады рельсового транспортного средства".
УДК 534.322.3.08:006.354 | | IDT |
Ключевые слова: вибрация, железнодорожный транспорт, сиденье, испытания, псевдослучайная вибрация, гармоническая вибрация |