Главная // Актуальные документы // Заявка (форма)СПРАВКА
Источник публикации
М., 2012
Примечание к документу
Документ утратил силу с 01.07.2017 в связи с изданием
Распоряжения ОАО "РЖД" от 14.12.2016 N 2540р, утвердившего новую
Инструкцию по обеспечению безопасности движения поездов при производстве путевых работ.
Документ введен в действие с 01.03.2013 (
Распоряжение ОАО "РЖД" от 29.12.2012 N 2790р).
Название документа
"Инструкция по обеспечению безопасности движения поездов при производстве путевых работ"
(утв. Распоряжением ОАО "РЖД" от 29.12.2012 N 2790р)
"Инструкция по обеспечению безопасности движения поездов при производстве путевых работ"
(утв. Распоряжением ОАО "РЖД" от 29.12.2012 N 2790р)
от 29 декабря 2012 г. N 2790р
ИНСТРУКЦИЯ
ПО ОБЕСПЕЧЕНИЮ БЕЗОПАСНОСТИ ДВИЖЕНИЯ
ПОЕЗДОВ ПРИ ПРОИЗВОДСТВЕ ПУТЕВЫХ РАБОТ
1.1. Инструкция по обеспечению безопасности движения поездов при производстве путевых работ (далее - Инструкция) устанавливает порядок обеспечения безопасности движения поездов при производстве работ по реконструкции (модернизации), ремонту и содержанию железнодорожного пути, сооружений и устройств путевого хозяйства, а также строительных работ на перегонах и железнодорожных станциях (далее - путевые работы).
Требования настоящей Инструкции распространяются на участки, на которых осуществляется движение поездов с наибольшими установленными скоростями: пассажирских - до 200 км/ч, рефрижераторных - до 120 км/ч, грузовых - до 90 км/ч. Данные требования являются обязательными для всех работников путевого хозяйства и других хозяйств железнодорожного магистрального транспорта, связанных с движением поездов и производством работ на железнодорожном пути, а также для работников строительных организаций, производящих работы на железнодорожном пути.
1.2. Все путевые работы должны выполняться в соответствии со следующими нормативными документами:
Правилами технической эксплуатации железных дорог Российской Федерации
[1];
Инструкцией по сигнализации на железных дорогах Российской Федерации
[2];
Инструкцией по движению поездов и маневровой работе на железных дорогах Российской Федерации
[3];
Положением о системе ведения путевого хозяйства ОАО "Российские железные дороги"
[4];
Инструкцией по обеспечению безопасности движения поездов при технической эксплуатации устройств и систем СЦБ
[6];
Инструкцией по устройству, укладке, содержанию и ремонту бесстыкового пути
[7];
| | ИС МЕГАНОРМ: примечание. "Технические условия на работы по реконструкции (модернизации) и ремонту железнодорожного пути", утв. Распоряжением ОАО "РЖД" 02.05.2012 N 859р, утратили силу в связи с введением в действие с 1 февраля 2013 года "Технических условий на работы по реконструкции (модернизации) и ремонту железнодорожного пути", утв. Распоряжением ОАО "РЖД" от 18.01.2013 N 75р. | |
Техническими условиями на работы по реконструкции (модернизации) и ремонту железнодорожного пути
[8];
Инструкцией о порядке предоставления и использования "окон" для ремонтных и строительно-монтажных работ на железных дорогах ОАО "РЖД"
[9];
Инструкцией о порядке обращения хозяйственных поездов, сформированных из специального железнодорожного подвижного состава
[10];
Приказом N 41 "Нормы допускаемых скоростей движения подвижного состава по железнодорожным путям колеи 1520 (1524) мм федерального железнодорожного транспорта"
[11];
Приказом N 17ЦЗ "Нормы допускаемых скоростей движения специального подвижного состава (мотовозов, дрезин, специальных автомотрис, железнодорожно-строительных машин) по железнодорожным путям колеи 1520 (1524) мм федерального железнодорожного транспорта"
[12];
Правилами и технологией выполнения основных работ при текущем содержании пути
[13];
Правилами по охране труда при содержании и ремонте железнодорожного пути и сооружений
[14];
Правилами электробезопасности для работников ОАО "РЖД" при обслуживании электрифицированных железнодорожных путей
[15];
утвержденными проектами, технологическими процессами ремонтов пути.
1.3. Все путевые работы должны выполняться под руководством должностных лиц, прошедших испытания в знании нормативных актов, указанных в
п. 1.2 настоящей Инструкции.
Руководители работ обеспечивают постоянный контроль за соблюдением правил производства путевых работ и несут ответственность за безопасность движения поездов.
Если должностное лицо руководит работой впервые, то на месте производства путевых работ обязательно присутствие более опытного работника пути, старшего по должности, на которого возлагается ответственность за безопасность движения поездов.
1.4. При производстве путевых работ на участках, оборудованных автоблокировкой и электрической централизацией или другими устройствами, включенными в зависимость с сигналами (рельсовые цепи, КТСМ САУТ, УКСПС, КГУ и т.д.), руководители работ должны контролировать правильность применения работниками приемов труда с целью исключения возможности разрыва или закорачивания рельсовой цепи и последующего перекрытия сигнала. Выполняемые на таких участках работы по перечню, изложенному в
приложении 1 настоящей Инструкции, должны согласовываться с дистанцией сигнализации, централизации и блокировки.
1.5. При производстве путевых работ на электрифицированных участках руководители работ должны принимать меры, обеспечивающие сохранность контактной подвески, воздушных линий и опор контактной сети. Выполняемые на таких участках работы по перечню, изложенному в
приложении 2 настоящей Инструкции, согласовываются с руководителями дистанции электроснабжения или района контактной сети.
1.6. Места производства путевых работ, вызывающие нарушение габарита подвижного состава, целостности, прочности и устойчивости пути и сооружений, а также препятствия на пути или около него в пределах габарита приближения строений, должны ограждаться соответствующими переносными сигналами и сигнальными знаками установленного типа и окраски (
приложения 3 -
6 настоящей Инструкции). Для установки переносных сигналов остановки - красных щитов - могут применяться приспособления, указанные в
приложении 7 настоящей Инструкции.
Запрещается:
приступать к путевым работам до ограждения соответствующими сигналами места производства работ или препятствия, опасного для движения;
снимать сигналы, ограждающие препятствие или место производства путевых работ, до устранения препятствия, полного окончания работ, проверки состояния пути, сооружений и контактной сети, соблюдения габарита.
Полным окончанием путевых работ считается выполнение такого объема работ, который обеспечивает безопасный пропуск поездов по месту работ со скоростями движения, установленными по фактическому состоянию пути и сооружений в соответствии с требованиями
раздела 2 настоящей Инструкции.
1.7. Перед производством путевых работ, ограждаемых сигналами остановки или уменьшения скорости, и во всех других случаях, когда требуется предупредить локомотивные бригады об особых условиях следования, на поезда должны выдаваться предупреждения, заявки на выдачу которых составляются по
форме 1 -
6 (приложение 8 настоящей Инструкции).
Предупреждения об особой бдительности и более частой подаче оповестительных сигналов выдаются также в случаях, предусмотренных
Правилами по охране труда при содержании и ремонте железнодорожного пути и сооружений
[14]. Заявки на выдачу таких предупреждений составляются по
форме 7 (приложение 8 настоящей Инструкции). От лиц, производящих путевые работы и руководящих передвижением транспортных средств на пути, а также от локомотивных бригад требуется в этих случаях проявление особой бдительности.
При производстве путевых работ на станционных путях делается запись в Журнале осмотра путей, стрелочных переводов, устройств СЦБ, связи и контактной сети
формы ДУ-46 (Журнал осмотра). Пример записей приведен в
приложениях 12 и
13 настоящей Инструкции.
1.8. При выполнении плановых путевых работ на электрифицированных участках, когда требуется снятие напряжения с контактной сети, воздушной линии, или требуется присутствие работников электроснабжения, руководитель путевых работ не менее чем за сутки дает письменную заявку (телефонограмму, телеграмму) в адрес начальника дистанции электроснабжения о предстоящем производстве путевых работ вблизи устройств контактной сети, воздушной линии с указанием характера, места, начала и продолжительности работ.
Демонтаж и восстановление заземлений при смене рельсов и других работах производятся работниками, выполняющими путевые работы, проинструктированными представителем дистанции электроснабжения и под его наблюдением, а заземление напольных устройств СЦБ - под наблюдением электромеханика дистанции сигнализации, централизации и блокировки.
Представитель дистанции электроснабжения в инструктаже на месте путевых работ должен указать, что заземление опор контактной сети разрешается отсоединять от рельса только по его команде после снятия напряжения с контактной сети. Отключение от рельсов или от средних точек дроссель-трансформаторов заземления напольных устройств сигнализации, централизации и блокировки можно производить только после разрешения электромеханика СЦБ.
2. УСЛОВИЯ И СКОРОСТИ ПРОПУСКА ПОЕЗДОВ
ПО МЕСТУ ПРОИЗВОДСТВА РАБОТ
2.1. Ремонт сооружений и устройств должен производиться при безусловном обеспечении безопасности движения поездов и безопасности труда работающих, как правило, без нарушения графика движения поездов.
2.2. Подготовленный к пропуску поездов железнодорожный путь должен отвечать следующим требованиям:
2.2.1. На звеньевом пути с деревянными шпалами рельсы должны быть пришиты на каждом конце шпалы (бруса) не менее чем на два основных и два обшивочных костыля. При скорости пропуска поездов 80 км/ч и более рельсы в кривых радиусом 1200 м и менее должны быть зашиты на три основных и два обшивочных костыля.
На участках пути с деревянными шпалами в прямых и кривых участках радиусом более 1200 м допускается расшивать (зашивать) путь через шпалу при скорости пропуска поездов 25 км/ч и менее.
На пути с железобетонными шпалами при скоростях более 60 км/ч все клеммные, закладные болты (скрепление типа КБ и ЖБР-65), шурупы (скрепление типа ЖБР-65Ш, ЖБР-65ПШМ, ЖБР-65ПШ, W30), монорегуляторы (скрепление АРС) и клеммы скреплений (Pandrol) должны быть поставлены на место и закреплены (вместе с клеммами) в проектном (рабочем) положении на всех шпалах.
Замена инвентарных рельсов на сварные рельсовые плети, смена плетей или разрядка температурных напряжений в плетях производятся в "окно". При подготовительных работах до "окна", а также при открытии движения после его завершения допускается частичное снятие клемм (или перевод их в монтажное положение) на инвентарных рельсах (сменяемых или разряжаемых плетях).
При всех видах скреплений инвентарные рельсы (сменяемые или разряжаемые плети) должны оставаться закрепленными на всех предстыковых шпалах и на каждой 2 - 5 шпалах с ограничением скорости движения поездов в соответствии с таблицей 2.1,
2.2,
2.3.
Таблица 2.1
Допускаемые скорости движения поездов в зависимости от схемы
закрепления клемм на участках со скреплением ЖБР-65,
ЖБР-65Ш, ЖБР-65ПШ, ЖБР-65ПШМ, W30
Радиус кривой, м | Допускаемая скорость (км/ч) при закреплении рельсов (рельсовых плетей) |
на каждой 2-ой шпале | на каждой 3-ей шпале | на каждой 4-ой шпале | на каждой 5-ой шпале |
1000 и более | 60 | 60 | 40 | 25 |
600 - 999 | 60 | 40 | 25 | Не допускается |
350 - 599 | 40 | 25 | Не допускается | Не допускается |
250 - 349 | 25 | 25 | Не допускается | Не допускается |
При этом на всех остальных шпалах со скреплениями ЖБР-65 всех указанных разновидностей и W30 клеммы должны быть установлены в монтажное положение, а болты или шурупы затянуты крутящим моментом 50 - 100 Н·м.
Таблица 2.2
Допускаемые скорости движения поездов
в зависимости от схемы закрепления клемм
на участках со скреплением АРС, Pandrol
Радиус кривой, м | Допускаемая скорость (км/ч) при закреплении рельсов (рельсовых плетей) |
на каждой 2-ой шпале | на каждой 3-ей шпале | на каждой 4-ой шпале | на каждой 5-ой шпале |
более 1000 | 60 | 60 | 40 | 25 |
от 600 до 1000 | 60 | 40 | 25 | Не допускается |
менее 600 | Не допускается | 25 | Не допускается | Не допускается |
Таблица 2.3
Допускаемые скорости движения поездов
в зависимости от схемы закрепления клемм на участках
с подкладочными скреплениями КБ65
Радиус кривой, м | Допускаемая скорость (км/ч) при закреплении рельсов (рельсовых плетей) |
на каждой 2-ой шпале | на каждой 3-ей шпале | на каждой 4-ой шпале | на каждой 5-ой шпале | на каждой 6-ой шпале |
1000 и более | 60 | 40 | 40 | 25 | 25 |
600 - 999 | 60 | 40 | 40 | 25 | 25 |
350 - 599 | 40 | 25 | 25 | 25 | 25 |
250 - 349 | 25 | 25 | 25 | 25 | 25 |
Разрядка температурных напряжений в плетях должна производиться по технологическим процессам, разработанным для прямых и кривых участков пути с различными типами промежуточных рельсовых скреплений, утвержденным установленным в ОАО "РЖД" порядком.
Для снятия температурных напряжений в плети, после освобождения от закрепления на шпалах и в стыках, плети должны быть вывешены на роликовые опоры или парные пластины с низким коэффициентом скольжения (полиэтиленовые) общей толщиной 10 - 12 мм, устанавливаемые на каждой 15 шпале.
При использовании парных полиэтиленовых пластин работы по разрядке напряжений на участках с подкладочным скреплением КБ65 могут производиться без перерыва движения поездов, но с ограничением скорости до 25 км/ч, на мостах и тоннелях - 15 км/ч и наличии инвентарных накладок и рельсовых вкладышей, при этом клеммы могут не сниматься.
При вывешивании рельсовых плетей на роликовые опоры независимо от конструкции скреплений и при установке парных пластин при бесподкладочных скреплениях и всех типах подкладочных скреплений, кроме КБ65, работы по разрядке температурных напряжений должны выполняться в "окно".
2.2.2. При разгонке зазоров и разрядке температурных напряжений в плетях бесстыкового пути рельсовый стык, в зазор которого временно на период производства работ установлен рельсовый вкладыш, должен быть соединен накладками и закреплен с одного конца рельса при четырехдырных накладках полным количеством путевых болтов, при шестидырных - не менее чем двумя, а с другого конца рельса - двумя болтами, один из которых должен проходить через вкладыш.
Для соединения стыков с вкладышами разрешается применять инвентарные накладки с увеличенными болтовыми отверстиями или стандартные шестидырные накладки с четырьмя струбцинами. Вкладыш во всех случаях должен быть закреплен болтом. Вкладыши, инвентарные накладки и струбцины должны быть утвержденных типов. Скорость пропуска поездов по стыкам, в которых установлены вкладыши, не должна превышать 25 км/ч при рельсах Р50 и тяжелее и 15 км/ч при рельсах легче Р50.
2.2.3. Для соединения рельсов без болтовых отверстий (при ликвидации разрывов рельсовых плетей и изломов рельсов для временного пропуска поездов) разрешается применять стандартные шестидырные накладки, стягиваемые четырьмя струбцинами, утвержденной ОАО "РЖД" конструкции.
При краткосрочном восстановлении плетей применяются струбцины типа ПСС-36, рисунок 2.1 или конструкции ПТКБ ЦП,
рисунок 2.2.
Рисунок 2.1. Одинарная (шириной 70 мм)
и двойная (шириной 140 мм) струбцины ПСС-36
1 - струбцина; 2 - гайка М27; 3 - болт М27
Рисунок 2.2. Струбцина по проекту ПТКБ ЦП (а)
и схемы установки струбцин при изломе между шпалами (б)
и на шпале (в)
Струбцины ПСС-36 стягиваются высокопрочными болтами с затяжкой гаек болтов крутящим моментом не менее 1100 Н·м. При затяжке болтов должно производиться обязательное обстукивание накладок молотками. По завершении затяжки гайки болтов струбцин должны быть зафиксированы стопорными скобами. Скорость движения по участку, где произведено краткосрочное восстановление плети с использованием струбцин ПСС-36, при зазоре в месте излома 25 мм и менее, не должна превышать 50 км/ч, а при зазоре более 25 мм (25 - 40 мм) - 25 км/ч.
На линиях совмещенного движения, где обращаются скоростные поезда типа Сапсан, Аллегро, Дезиро, при зазоре в месте излома до 25 мм скорость движения указанных поездов по участку, где произведено краткосрочное восстановление плети с использованием струбцин ПСС-36, не должна превышать 70 км/ч. Струбцины ПСС-36 при краткосрочном восстановлении плетей могут находиться в пути не более 4-х часов, в течение которых должно быть организовано временное или окончательное восстановление плети.
При применении струбцин ПТКБ ЦП
(рисунок 2.2) болты затягиваются крутящим моментом 600 Н·м.
Скорость движения поездов по участку, где краткосрочное восстановление производилось с использованием струбцин ПТКБ ЦП, не должна превышать 25 км/ч, а время нахождения их в пути - не более 3-х часов, в течение которых должно быть организовано временное или окончательное восстановление плети. При этом стык должен находиться под непрерывным наблюдением специально выделенного работника, по должности не ниже монтера пути 4-го разряда, который должен следить за раскрытием зазора в стыке и в случае превышения им 40 мм остановить движение поездов.
2.2.4. Все шпалы и переводные брусья должны быть уложены на свои места и подбиты. Для пропуска поезда со скоростью до 60 км/ч допускается подбивка шпал только под рельсами.
2.2.5. Мостовые брусья должны быть прикреплены к балкам пролетных строений лапчатыми болтами, а безбалластные железобетонные плиты - полным количеством шпилек.
При пропуске поездов со скоростью до 25 км/ч допускается прикреплять лапчатыми болтами каждый четвертый брус, а безбалластные железобетонные плиты - не менее чем четырьмя шпильками, расположенными не реже, чем через 1 м.
Разрешается при производстве путевых работ пропуск поездов со скоростью до 40 км/ч при снятых контруголках (контррельсах). При этом лапчатые болты должны быть установлены не реже, чем на каждом втором брусе, а безбалластные железобетонные плиты закреплены полностью.
2.2.6. Ширина плеча балластной призмы должна быть не менее: на звеньевом пути - 20 см, на бесстыковом - 25 см.
Шпальные ящики должны быть заполнены балластом не менее, чем на 2/3 толщины шпалы. Допускается оставлять незасыпанными не более двух подряд шпальных ящиков при условии, что между ними будет не менее 10 ящиков, заполненных балластом.
После окончания основных работ в "окно" и при скорости пропуска поездов до 60 км/ч допускается на железобетонных и деревянных шпалах оставлять шпальные ящики незаполненными балластом внутри колеи при условии, что на бесстыковом пути ширина плеча балластной призмы обеспечивается не менее 25 см, а на звеньевом пути - не менее 20 см.
2.2.7. В период подготовительных работ, на звеньевом пути должна быть проведена разгонка или регулировка зазоров, балласт может быть удален из шпальных ящиков по концам шпал и за их торцами. При этом скорости пропуска поездов не должны превышать: 40 км/ч при рельсах Р50 и тяжелее в прямых и в кривых радиусом 1200 м и более, 25 км/ч во всех остальных случаях.
2.2.8. Непосредственно перед предоставлением "окна" для подготовки мест зарядки машин допускается вырезка балласта ниже подошвы шпал с подведением под них в подрельсовых сечениях лежней (шпал). Скорость пропуска поездов по таким местам устанавливается не более 25 км/ч.
2.2.9. Крутизна отводов по обеим рельсовым нитям при подъемке и понижении пути должна быть плавная и не превышать:
| при скорости движения поездов | 161 - 200 км/ч; |
| " | 141 - 160 км/ч; |
| " | 121 - 140 км/ч; |
| " | 101 - 120 км/ч; |
| " | 81 - 100 км/ч; |
| " | 61 - 80 км/ч; |
| " | 41 - 60 км/ч; |
| " | не более 40 км/ч. |
Крутизна отвода более

не допускается.
2.2.10. Уклоны отводов возвышения наружного рельса в переходных кривых должны быть одинаковыми по всей длине. При этом при длине переходной кривой более 60 м допускается иметь разные уклоны отводов на отрезке переходной кривой длиной не менее 30 м. Наибольший уклон отвода не должен превышать величин, приведенных в таблице 2.4.
Таблица 2.4
Допускаемые уклоны отвода возвышения
наружного рельса в кривых
Максимальный уклон отвода возвышения (i), мм/м, не более | Допускаемая скорость поездов, км/ч |
пассажирских | грузовых |
0,9 | 200 | 90 |
1,0 | 180 | 90 |
1,1 | 160 | 90 |
1,2 | 140 | 90 |
| | ИС МЕГАНОРМ: примечание. Текст дан в соответствии с официальным текстом документа. | |
|
1,3 | 2 | 3 |
1,4 | 120 | 90 |
1,5 | 110 | 90 |
1,6 | 100 | 90 |
1,7 | 95 | 85 |
1,8 | 90 | 80 |
1,9 | 85 | 80 |
2,1 | 80 | 75 |
2,3 | 75 | 70 |
2,5 | 70 | 65 |
2,7 | 65 | 60 |
2,9 | 55 |
3,0 | 50 |
3,1 | 40 |
3,2 | 25 |
Более 3,2 | Закрытие движения |
2.2.11. При превышении допускаемого уклона отвода ширины колеи для установленной скорости, определяемого на базе 2 м, скорость уменьшается до значений, соответствующих фактическому уклону отвода, вплоть до закрытия перегона для движения поездов.
Уклоны отвода ширины колеи допускаются не более:

при скорости движения поездов более 140 км/ч;

при скорости движения поездов 121 - 140 км/ч;

при скорости движения поездов 101 - 120 км/ч;

при скорости движения поездов 81 - 100 км/ч;

при скорости движения поездов 61 - 80 км/ч;

при скорости движения поездов 26 - 60 км/ч;

при скорости движения поездов не более 25 км/ч.
2.2.12. При выявлении рельсов с боковым износом более 18 до 20 мм включительно скорость движения поездов ограничивается до 80 км/ч пассажирским поездам и до 70 км/ч грузовым поездам (в кривых радиусом 350 м и менее - 70/60 км/ч соответственно), более 20 мм до 25 мм включительно - до 50 км/ч, свыше 25 мм - до 25 км/ч.
2.2.13. Скорости пропуска поездов в период обкатки пути после путевых работ, связанных с укладкой решетки, очисткой балластного слоя, понижением или подъемкой пути устанавливаются по таблице 2.5 настоящей Инструкции.
Таблица 2.5
Скорости пропуска поездов в период обкатки пути
Уровень, мм | Перекос, мм, при расстоянии между вершинами пик до 20 м | Разность в смежных стрелах, мм, измеренных от середины хорды длиной 20 м | Скорость пропуска поездов по месту работ, км/ч |
При создании слоя чистого балласта до 25 см, с применением ВПО | при создании слоя чистого балласта более 25 см, с применением: |
ВПО или ВПР | ВПО плюс ВПР | ВПО плюс ВПР плюс ДСП |
До 20 | До 20 | До 35 | 60 | 50 | 60 | 70 |
До 30 | 21 - 25 | 36 - 50 | 40 | 25 | 40 | 50 |
До 40 | 26 - 30 | 51 - 65 | 25 | 15 | 25 | 25 |
Примечание. ВПО - выправочно-подбивочно-отделочная машина непрерывного действия; ВПР - выправочно-подбивочно-рихтовочная машина цикличного действия; ДСП - динамический стабилизатор пути.
Запрещается открывать движение поездов (или движение поездов закрывается в период обкатки пути) при величинах неровностей: уровень - более 40 мм; перекосы - более 30 мм; просадки - более 30 мм; разность смежных стрел изгиба - более 65 мм.
При обкатке пути после выполнения путевых работ разрешается дифференцированная выдача предупреждений на грузовые и пассажирские поезда в соответствии с таблицей 2.6 настоящей Инструкции.
Таблица 2.6
Выдача предупреждений с дифференцированными скоростями
для грузовых и пассажирских поездов
Скорость пропуска грузовых поездов, км/ч | Скорость пропуска пассажирских поездов, км/ч |
"Сапсан", "Аллегро" и другие скоростные и высокоскоростные пассажирские поезда | с локомотивами ЧС200, ЧС8, ЧС7, ЧС6, ЧС4, ЧС2, ТЭП60, ТЭП70, ЭП-10, ЭП-20 эл. поезда, дизель-поезда |
25 | 40 | 40 |
40 | 80 | 50 |
50 | 90 | 60 |
60 | 100 | 70 |
70 | 120 | 80 |
80 | 140 | 100 |
Примечание. На пассажирские поезда с другими локомотивами, одиночно следующие локомотивы всех типов и дрезины (автомотрисы) предупреждения выдаются как на грузовые поезда.
2.3. Перечень путевых работ, выполняемых с закрытием перегона (пути, стрелочного перевода) или в интервалах между поездами, скорости пропуска поездов, формы заявки на выдачу предупреждений и должностные лица, осуществляющие руководство этими работами приведены в таблице 2.7.
Таблица 2.7
Перечень работ, скорости пропуска поездов,
формы заявок на выдачу предупреждений и должностных лиц,
имеющих право руководить работами
N п/п | Наименование работ | Скорость пропуска поездов, км/ч | Форма заявки на выдачу предупреждений | Руководитель работ |
Работы, места производства которых ограждаются сигналами остановки |
1. | Перешивка пути с одновременной расшивкой более трех смежных концов шпал, а с применением стяжного прибора с одновременной расшивкой более шести смежных концов шпал в прямых участках пути и по внутренней нити кривых, и более трех смежных концов шпал по наружной нити кривых | Без снижения скорости | 2 | Бригадир пути |
2. | Одиночная смена рельсов и отдельных металлических частей нецентрализованных стрелочных переводов | То же | 2 | То же |
3. | Смена накладок или элементов изоляции изолирующих стыков | Без снижения скорости | 2 | Бригадир пути |
4. | Исправление пути и стрелочных переводов на пучинах с укладкой пучинных подкладок при общей толщине свыше 50 мм | 25 | 1 | Дорожный мастер |
5. | Сплошная замена рельсов новыми или старогодными того же типа или другого с заменой или без замены подкладок: | | | |
на перегоне и станции при фронте работ 200 м | 25 | 1 | Дорожный мастер ПЧ или ПМС |
и менее на фронте работ более 200 м | 25 | 1 | Старший дорожный мастер (начальник участка) ПЧ или ПМС |
6. | Регулировка зазоров без разрыва рельсовой колеи приборами, препятствующими движению поездов | Без снижения скорости | 2 | Бригадир пути |
7. | Разгонка зазоров с разрывом рельсовой колеи приборами, препятствующими движению поездов при рельсах: | | | |
Р50 и тяжелее | 25 | 1 | Дорожный мастер |
легче Р50 | 15 | 1 | То же |
с применением гидравлического натяжного устройства ГНУ | Без снижения скорости | 2 | То же |
8. | Подготовка места зарядки щебнеочистительной техники с подведением лежней под шпалы | 25 | 1 | Дорожный мастер |
9. | Выправка бесстыкового пути со скреплением АРС с укладкой регулировочных прокладок толщиной до 11 мм | Без снижения скорости | 2 | Бригадир пути |
10. | То же, с толщиной более 11 мм до 20 мм | 40 | 1 | Дорожный мастер ПЧ или ПМС |
11. | Рихтовка бесстыкового пути со сдвижкой до 10 мм рихтовочными приборами при допускаемых изменениях температуры и радиусах кривых согласно Инструкции по устройству, укладке, содержанию и ремонту бесстыкового пути | Без снижения скорости | 2 | Бригадир пути |
12. | Рихтовка бесстыкового и звеньевого пути рихтовочными приборами одновременно на величину от 10 до 60 мм | 25 | 1 | Дорожный мастер |
13. | Смена рельсов в уравнительных пролетах бесстыкового пути или сезонных уравнительных рельсов на мостах | Без снижения скорости | 2 | То же |
14. | Замена инвентарных рельсов на рельсовые плети или смена рельсовых плетей или разрядка температурных напряжений при всех видах скреплений | | 1 | Начальник ПМС или ПЧ и их заместители |
15. | Работа моторного гайковерта на перегоне | Без снижения скорости | 2 | Старший дорожный мастер (начальник участка) |
16. | Алюминотермитная сварка рельсовых стыков и стыков в пределах стрелочных переводов | 25 | 1 | Дорожный мастер ПЧ или ПМС |
17. | Временное восстановление лопнувшей плети бесстыкового пути с вырезкой дефектного места и установкой рельса с накладками и полным количеством болтов | 25 | 1 | Дорожный мастер |
18. | Одиночная смена металлических частей централизованных стрелочных переводов | Без снижения скорости | 2 | Дорожный мастер |
19. | Перешивка стрелочного перевода по ординатам (при перешивке только бокового пути скорость по прямому пути после снятия сигналов остановки не ограничивается | 25 | 1 | Дорожный мастер |
20. | Смена крестовин с непрерывной поверхностью катания и остряков централизованных стрелочных переводов | Без снижения скорости | 2 | Дорожный мастер |
21. | Сплошная смена металлических частей стрелочного перевода | 25 | 1 | Начальник участка (старший дорожный мастер) |
22. | Сплошная смена переводных брусьев и одиночная смена флюгарочных брусьев или брусьев, на которых крепятся устройства для перевода стрелок или подвижных сердечников крестовин | 25 | 1 | Дорожный мастер |
23. | Монтаж арматуры пневматической обдувки и электрообогрева на стрелочных переводах | Без снижения скорости | 2 | Бригадир пути |
24. | Выправка опорных частей мостов | 25 | 1 | Начальник ПЧ или его заместитель |
25. | Сплошная смена мостовых брусьев на мостах длиной | | | |
более 50 м | 25 | 1 | Начальник ПЧ или его заместитель |
до 50 м | 25 | 1 | Старший дорожный мастер (начальник участка) или мостовой мастер |
26. | Смена плит безбалластного мостового полотна (БМП) | 25 | 1 | Начальники ПМС или ПЧ и их заместители |
27. | Одиночная смена: | | | |
мостовых или мауэрлатных брусьев и шпал на мостах | 40 | 1 | Старший дорожный мастер (начальник участка) или мостовой мастер |
подферменных брусьев | 25 | 1 | То же |
28. | Замена на мостах отдельных остряков или рамных рельсов уравнительных приборов | 40 | 1 | Старший дорожный мастер (начальник участка) или мостовой мастер |
29. | Смена элементов контруголков (контррельсов) и противоугонных уголков (охранных брусьев) | 40 | 1 | Дорожный или мостовой мастер |
30. | Очистка водоотводных трубок на железобетонных пролетных строениях с вырезкой и уборкой балласта над ними | 25 | 1 | Дорожный мастер |
31. | Работы на искусственных сооружениях и земляном полотне, выполняемые без нарушения их целостности при размещении механизмов, оборудования и материалов с нарушением габарита приближения строений | Без снижения скорости | 2 | Старший дорожный мастер (начальник участка), мостовой или тоннельный мастер |
32. | Укладка подвесных пакетов (рельсовых или специальной конструкции) и движение по ним до окончания их осадки | 25 | 1 | Заместитель начальника ПЧ |
33. | Сколка наледей в тоннелях | Без снижения скоростей | 2 | Тоннельный мастер |
Работы, места производства которых ограждаются сигналами уменьшения скорости |
34. | Очистка щебня в шпальных ящиках на глубину до 10 см ниже подошвы шпал на длине пути до 25 м с одновременным производством работ в каждом 10 ящике в местах одиночных выплесков на бесстыковом пути | 40 | 3 | Дорожный мастер |
35. | Очистка щебня в шпальных ящиках на звеньевом пути на глубину до 10 см ниже подошвы шпал в местах одиночных выплесков при условии одновременного производства работ в каждом 6-ом ящике | 40 | 3 | Бригадир пути |
36. | Смена и добавление шпал с вырезкой балласта до их подошвы при ремонтах пути при условии, чтобы между одновременно сменяемыми шпалами было не менее трех шпал | 25 | 3 | Бригадир пути |
37. | Выправка звеньевого пути с рельсами Р50 и тяжелее с подъемкой одновременно на высоту от 20 до 60 мм | 40 | 3 | Бригадир пути |
38. | Выправка звеньевого пути с рельсами Р43 и легче с подъемкой одновременно на высоту от 20 до 60 мм | 25 | 3 | То же |
39. | Выправка бесстыкового пути с подъемкой одновременно на высоту от 20 до 60 мм | 25 | 3 | Дорожный мастер |
40. | Снятие регулировочных прокладок из-под рельсов на скреплении раздельного типа в период подготовки пути для работы машин в "окно" | 40 | 3 | Бригадир пути |
41. | Рихтовка звеньевого пути одновременно на величину от 20 до 60 мм | 25 | 3 | Бригадир пути |
| Исправление пути с укладкой пучинных подкладок суммарной толщиной: | | | |
от 10 до 25 мм | 40 | 3 | Бригадир пути |
от 26 до 50 мм | 25 | 3 | То же |
43. | Наплавка в пути рельсовых концов | 40 | 3 | Бригадир пути и мастер наплавочной колонны |
44. | Наплавка лежащих в пути крестовин стрелочных переводов и их науглероживание | 40 | 3 | То же |
45. | Устройство поперечных дренажных прорезей с установкой рельсовых пакетов | 25 | 3 | Производитель работ или старший дорожный мастер (начальник участка) |
46. | Обкатка пути после: замены путевой решетки; очистки щебня на глубину более 15 см; постановки на новый балласт | В соответствии с п. 2.6 настоящей Инструкции | 3 | То же |
Работы, места производства которых ограждаются сигнальными знаками "С" (о подаче свистка) |
47. | Очистка или замена балласта в шпальных ящиках до нижней постели шпалы на звеньевом пути при условии не более чем на 4 ящиках на звене длиной 25 м при расстоянии между ящиками не менее 4 м | Без снижения скорости | 7 | Бригадир пути |
48. | Одиночная смена шпал на звеньевом пути при условии, чтобы между одновременно сменяемыми шпалами было не менее шести шпал | Без снижения скорости | 7 | Монтер пути 4-го разряда |
49. | Одиночная смена шпал на бесстыковом пути, в т.ч. в уравнительных пролетах с вывеской решетки до 2 см при температуре рельсов, не превышающей температуру закрепления на прямых - на 20 °C, кривых радиусом 800 м и более - на 15 °C, 600 - 799 м - на 10 °C, 350 - 599 м - на 5 °C при условии производства этих работ одновременно не чаще, чем через 20 шпал | Без снижения скорости | 7 | Бригадир пути |
50. | Выправка пути с одновременной подъемкой до 20 мм | То же | 7 | Бригадир пути |
51. | Исправление отклонений по уровню, просадок и перекосов укладкой или заменой регулировочных прокладок толщиной до 10 мм, при раздельном и бесподкладочном скреплении | Без снижения скорости | 7 | Монтер пути 5-го разряда |
52. | Перегонка отдельных шпал | Без снижения скорости | 7 | Монтер пути 4-го разряда |
53. | Перешивка пути с одновременной расшивкой не более трех смежных концов шпал, а с применением стяжного прибора с одновременной расшивкой не более шести смежных концов шпал в прямых участках и по внутренней нити кривых и не более трех смежных концов шпал по наружной нити кривых | То же | 7 | Бригадир пути |
54. | Регулировка ширины колеи при раздельном скреплении с одновременным ослаблением закладных и клеммных болтов не более чем на трех концах шпал | Без снижения скорости | 7 | Бригадир пути |
55. | Одиночная смена элементов промежуточных рельсовых скреплений при одновременной расшивке (ослаблении болтов) не более трех смежных концов шпал, при расстоянии между группами работающих бригад не менее 10 шпал на звеньевом пути и переводных брусьев на стрелочных переводах | Без снижения скорости | 7 | Монтер пути 4-го разряда |
56. | Рихтовка звеньевого пути одновременно на величину до 20 мм | Без снижения скорости | 7 | Бригадир пути |
57. | Исправление пути и стрелочных переводов на пучинах укладкой пучинных карточек суммарной толщиной до 10 мм | То же | 7 | Монтер пути 5-го разряда |
58. | Другие работы, выполняемые путевой бригадой непосредственно на пути и не требующие ограждения сигналами остановки или уменьшения скорости | То же | 7 | По усмотрению бригадира не ниже монтера пути 3 разряда |
59. | Работы на искусственных сооружениях и земляном полотне, выполняемые без нарушения их целостности при размещении механизмов, оборудования и материалов без нарушения габаритов приближения строений | Без снижения скорости | Не выдается | По усмотрению мостового или дорожного мастера |
Примечание. 1. При необходимости подъемки или рихтовки пути на величину более 6 см эти работы должны выполняться на пути, закрытом для движения поездов.
2. Если при исправлении пути на пучинах укладываются пучинные прокладки, отличающиеся по толщине от лежащих в пути пучинных прокладок более чем на 15 мм, то место работ ограждается сигналами остановки, а поезда пропускаются со скоростью, указанной в
п. 42 таблицы 2.7.
3. На период болезни или отпуска руководителя работ, указанного в
таблице 2.7, работами могут руководить лица, имеющие право замещения, оформленные приказом руководителя структурного подразделения: монтер пути 5-го разряда замещает бригадира пути, бригадир пути - дорожного мастера, а дорожный мастер - старшего дорожного мастера (начальника участка) дистанции пути, сдавших испытания в знании
Правил технической эксплуатации железных дорог Российской Федерации
[1].
2.4. Выполнение путевых работ на бесстыковом пути должно осуществляться в строгом соответствии с
Инструкцией по устройству, укладке, содержанию и ремонту бесстыкового пути
[7] при температурах в пределах допускаемых отклонений от температуры закрепления рельсовых плетей.
2.5. Подготовительные работы к "окну" должны организовываться таким образом, чтобы состояние пути до "окна" обеспечивало безопасный пропуск поездов со скоростью до 60 км/ч, но не менее 25 км/ч.
2.6. Состояние пути после "окна" должно обеспечивать, в зависимости от характера и условий производства путевых работ, следующие скорости пропуска поездов:
2.6.1. После замены путевой решетки, очистки или замены балласта, подъемки или понижения пути:
с применением выправочно-подбивочных и уплотнительно-стабилизирующих машин скорость первых одного-двух поездов по пути с рельсами Р50 и тяжелее - не более 25 км/ч, с рельсами легче Р50 - не более 15 км/ч, последующих поездов согласно
таблице 2.5;
при отсутствии выправочно-подбивочных и других уплотнительно-стабилизирующих машин первые один-два поезда должны пропускаться со скоростью не более 15 км/ч, последующие в течение 3 ч - не более 25 км/ч, затем при рельсах Р65 и тяжелее - не более 50 км/ч и при рельсах Р50 и легче - не более 40 км/ч.
2.6.2. После сплошной смены металлических частей стрелочного перевода, глухого пересечения, переводных брусьев, постановки стрелочных переводов на щебень и сплошной смены мостовых брусьев скорость пропуска первых двух-трех поездов должна быть не более 25 км/ч, последующих - не более 60 км/ч на период отделочных работ.
2.6.3. После сплошной смены рельсов на костыльном скреплении без замены подкладок и пропуска первых одного-двух поездов со скоростью не более 25 км/ч, последующие поезда в период заключительных работ должны пропускаться со скоростью не более 50 км/ч, а с заменой подкладок - не более 25 км/ч. Скорость пропуска поездов после сплошной смены рельсов или разрядки напряжений в рельсовых плетях бесстыкового пути устанавливается в соответствии с
п. 2.2 и
таблиц 2.1,
2.2 и
2.3 настоящей Инструкции.
2.6.4. После окончания сварки рельсов машиной ПРСМ не ранее чем через 10 мин. поезда пропускаются со скоростью не более 25 км/ч на период остывания сварного шва до естественной температуры рельса после окончания работ. Дальнейшее повышение скорости возможно после проверки стыка средствами диагностики и заключения оператора дефектоскопии.
2.6.5. После выполнения путевых работ на звеньевом пути (при текущем содержании) по выправке и рихтовке пути машинами при сдвижке и подъемке пути до 20 мм пропуск поездов должен осуществляться без снижения установленной скорости, а при сдвижке более 20 до 60 мм - не более 60 км/ч для первых двух-трех поездов; на бесстыковом пути - во всех случаях не более 60 км/ч для первых двух-трех поездов.
2.6.6. Скорость движения поездов по инвентарным рельсам должна быть не менее 60 км/ч на путях 1 и 2 классов и не менее 40 км/ч на путях 3 - 5 классов, при этом укладываемые в путь инвентарные рельсы должны отвечать требованиям таблицы 2.8 (не более), мм.
Таблица 2.8
Требования к инвентарным рельсам
Показатели | Реконструкция (модернизация), капитальный ремонт на новых материалах (не более), мм | Капитальный ремонт на старогодных материалах (не более), мм |
Боковой износ | 2 | 4 (3 класс) 6 (4, 5 класс) |
Вертикальный износ | 3 | 6 (3 - 5 класс) |
Смятие головки | - | 2 (3 класс) 3 (4, 5 класс) |
Провисание концов | 2 | 3 (3 - 5 класс) |
Разность по высоте смежных рельсов: | | |
вертикальная ступенька в стыке | 1 | 2 (3 - 5 класс) |
горизонтальная ступенька в стыке | 1 | 1 (3 - 5 класс) |
2.6.7. Скорость пропуска поездов после путевых работ по усилению и переустройству искусственных сооружений, включая замену пролетных строений, устройство участков переходного пути с переменной жесткостью, а также по ремонту земляного полотна должна соответствовать предусмотренной в проекте организации этих работ, а при отсутствии его устанавливается начальником дистанции пути в зависимости от состояния указанных сооружений, но не менее 15 км/ч. Пропуск поездов по рельсовым и другим пакетам должен осуществляться со скоростью согласно проекту и фактическому состоянию пути.
2.7. Перед пропуском поездов по месту путевых работ руководитель обязан подготовить железнодорожный путь к безопасному пропуску поездов.
При этом необходимо проверить, не осталось ли на пути и вблизи него каких-нибудь предметов или инструмента, нарушающих габарит, все ли работники сошли с пути на обочину, после чего дать указание снять сигналы, перейти самому на ту же обочину и подавать сигнал свободного пропуска или уменьшения скорости. После пропуска первых 1 - 2 поездов путь должен быть осмотрен вторично руководителем работ или по его поручению выделенными работниками, и появившиеся расстройства должны быть устранены.
2.8. На электрифицированных участках движение поездов после производства путевых работ может быть открыто только после подключения перемычек дроссель-трансформаторов, заземлений опор, сооружений к рельсам и установки стыковых, электротяговых соединителей. Допускается постановка на инвентарных рельсах стыков на графитовую смазку с установкой тарельчатых шайб или пружинных рельсовых соединителей вместо приварных на срок не более 3-х месяцев. По истечении 3-х месяцев стыковые соединители должны быть приведены в соответствие с требованиями эксплуатации данного участка пути.
2.9. Организация и выполнение путевых работ должна обеспечивать к окончанию "окна" завершение комплекса работ, гарантирующего безопасное движение поездов со скоростями, соответствующими состоянию пути после открытия перегона или предусмотренными графиком движения поездов, технологией работ, проектом производства работ или другими нормативами.
3. ПОРЯДОК ПРОИЗВОДСТВА РАБОТ В "ОКНО"
С ПРИМЕНЕНИЕМ ПУТЕВЫХ МАШИН
3.1. На производство путевых работ, требующих по своему характеру закрытия перегона на однопутном участке, одного или несколько путей на двух и многопутных участках, а также приемо-отправочного пути железнодорожной станции, должно быть получено разрешение владельца инфраструктуры.
При наличии соответствующего разрешения на закрытие и открытие перегона (железнодорожного пути перегона или железнодорожной станции) время начала работ и их окончания оформляются приказом поездного диспетчера (ДНЦ).
Для производства больших по объему путевых работ в графике движения поездов должны предусматриваться "окна" и учитываться ограничения скорости, вызываемые этими работами.
Для выполнения работ по текущему содержанию пути, искусственных сооружений, контактной сети и устройств СЦБ должны предоставляться предусматриваемые в графике движения поездов технологические "окна" продолжительностью 1,5 - 2 ч; а при производстве этих работ комплексами машин, специализированными бригадами и механизированными колоннами - продолжительностью 3 - 4 часа в соответствии с порядком, установленным владельцем инфраструктуры.
Для технического обслуживания и ремонта устройств механизации и автоматизации сортировочных горок, связи, железнодорожных путей и других сооружений и устройств на горках должны предоставляться технологические "окна" продолжительностью 0,7 - 1,5 ч.
В случае отказов устройств инфраструктуры, предоставляющих угрозу безопасности движения, должны предоставляться технологические "окна" по заявке руководителя работ вне зависимости от поездной обстановки.
3.2. С целью рационального использования времени "окна" все работы, которые необходимо выполнить на участке работ, должны производиться максимально возможно в совмещенные по направлению и времени "окна" (в створе).
3.3. Предоставление "окон" и закрытие пути или перегона производится в соответствии с
Инструкцией о порядке предоставления и использования "окон" для ремонтных и строительно-монтажных работ на железных дорогах ОАО "РЖД"
[9].
3.4. О предстоящем закрытии перегона на однопутном участке, на двух- и многопутном участке одного или нескольких железнодорожных путей начальник региональной дирекции управления движением подписывает распоряжение о предоставлении "окна" и уведомляет соответствующих руководителей работ.
В разрешении на производство работ должны быть указаны: виды работ; время, на которое согласовано закрытие перегона или отдельного железнодорожного пути (одного из железнодорожных путей многопутного перегона); должность и фамилия лица, осуществляющего единое руководство этими работами.
Фамилию и должность руководителя работ ДНЦ обязан сообщить дежурным по станциям, ограничивающим перегон.
Запрещается предоставление "окна" для производства работ на перегоне и станции при отсутствии руководителя данных работ, указанного в разрешении.
3.5. Руководство работами в "окна" осуществляет:
3.5.1. При работе путевой машинной станции (далее - ПМС):
при выполнении комплекса работ по реконструкции (модернизации), капитальным ремонтам на новых и старогодных материалах с глубокой очисткой балластной призмы, выправкой и стабилизацией пути - начальник (заместитель начальника) ПМС;
при глубокой очистке щебня, с сопутствующими работами в объеме, среднего ремонта, и создании слоя чистого балласта не менее 31 - 40 см ниже постели шпал - заместитель начальника ПМС;
при очистке щебня на глубину 30 см и менее ниже постели шпал с сопутствующими работами в объеме среднего ремонта - старший дорожный мастер (начальник участка).
При работе ПМС, на весь период ремонта, ПЧ прикомандировывает к ПМС своего работника по квалификации не ниже дорожного мастера для контроля за качеством работ и соблюдением требований по безопасности движения поездов. Представитель ПЧ определяет на участке работ, связанных с нарушением целостности и устойчивости пути, техническое состояние пути и передает установленным порядком ДНЦ уведомление об окончании работ и возможности открытия перегона, а также выдачу и отмену предупреждений об ограничении скоростей движения поездов по месту работ.
3.5.2. При работе дистанции пути (далее - ПЧ):
при замене рельсошпальной решетки - начальник (заместитель начальника) дистанции пути;
при глубокой очистке, с сопутствующими работами в объеме среднего ремонта, и создании слоя чистого балласта 31 - 40 см ниже постели шпал - заместитель начальника дистанции пути;
при очистке щебня на глубину 30 см и менее ниже подошвы шпал с сопутствующими работами в объеме среднего ремонта - старший дорожный мастер (начальник участка).
3.5.3. Руководство путевыми работами, выполняемыми с применением отдельных путевых машин, осуществляют работники ПЧ и ПМС, прошедшие соответствующее обучение, по должности не ниже приведенной в
таблице 3.1.
3.6. В соответствии с разрешением на производство путевых работ перед закрытием пути перегона (перегона) не позднее, чем за два часа до установленного времени начала "окна" руководитель работ передает дежурным по станциям (ДСП), ограничивающим перегон, и ДНЦ заявку о последовательности отправления на закрываемый перегон хозяйственных поездов с указанием для каждого поезда километра и пикета первоначальной остановки на закрытом перегоне (или главном пути) и станции, куда они должны следовать по окончании работ.
Таблица 3.1
Перечень работников ПЧ и ПМС, имеющих право
руководить работой путевых машин
N п/п | Применяемые машины | Дистанция пути (ПЧ) | Путевая машинная станция (ПМС) |
Работник по должности не ниже |
Старший дорожный мастер (нач. участка ПЧУ) ПДС | Дорожный мастер (ПД) | Бригадир пути (ПДБ) | Старший дорожный мастер (ПДС) | Дорожный мастер (ПД) | Бригадир пути (ПДБ) |
1. | Снегоочистители всех типов при работе на перегонах и станциях | | + | - | - | - | - |
2. | Снегоуборочные машины всех типов: | | | | | | |
- на перегоне | + | - | - | - | - |
- на станции | | + | | - | - |
3. | Снегоуборочные поезда: | | | | | | |
- на перегоне | + | - | - | - | - |
- на станции | | + | | + | - |
4. | Краны стреловые всех типов грузоподъемностью более 25 т | + | - | - | + | - | - |
5. | Краны путеукладочные и стреловые всех типов грузоподъемностью до 25 т | | + | - | | + | - |
6. | Погрузочный кран ПКД | | - | - | | + | - |
7. | Укладочные краны для замены стрелочных переводов УК-25СП, УК-25/28СП | + | - | - | + | - | - |
8. | ВПО-3000 и их модификации | | + | - | | + | - |
9. | Выправочно-подбивочно-рихтовочные машины ВПР-1200, ВПРС-500, Р-2000, ВПР-02, ВПР-03, ВПРС-02, ВПРС-03, ВПРС-05 Дуоматик и аналогичных типов зарубежных фирм: | | | | | | |
- на бесстыковом пути | + | - | + | - |
- на звеньевом пути | | + | + | + |
10. | Электробалластеры ЭЛБ-1, ЭЛБ-3, ЭЛБ-3МК, ЭЛБ-4 | | + | - | | + | - |
11. | Путевые струги ПС-2, МОП, СС-1 и других типов | | + | - | | + | - |
12. | Уборочная машина УМ (модуль ЩОМ-6): | | | | | | - |
- на перегоне | + | - | + | - |
- на станции | | + | + | - |
13. | Путевые рельсосварочные машины ПРСМ всех типов | | + | - | | + | - |
14. | Машины для выправки, шлифования и подбивки стыков (МВС) и их модификации: | | | | | | |
- на перегоне и главных путях станции | + | - | + | - |
- на станционных путях | | + | + | - |
15. | Выгрузка сварных рельсовых плетей из рельсовозного состава | + | - | - | + | - | - |
16. | Хоппер-дозаторы всех типов | | + | - | | + | - |
17. | Землеуборочная машина Балашенко: | | | | | | |
- на перегоне | + | - | + | - |
- на станции | | + | + | - |
18. | Дрезины АГМС, ДГКу, АСГ, АГС; мотовозы МПТ-4, МПТ-6, автомотриса АГД с прицепом УП-4, автодрезина АС-4 и их модификации | | + | - | | + | - |
19. | Путеремонтные летучки на железнодорожном ходу типа ПРЛ: | | | | | | |
- на перегоне | + | - | + | - |
- на станции | | + | + | - |
20. | Машины для очистки рельсов и скреплений РОМ-3, РОМ-4 и их модификации | | | + | | | + |
21. | Динамический стабилизатор пути ДСП | | + | - | | + | - |
22. | Планировщик балласта: | | | | | | |
- на перегоне | + | - | + | + |
- на станции | | + | | + |
23. | Машина для замены шпал МШЗ и другие: | | | | | | |
- на перегоне | + | - | + | - |
- на станции | | + | + | - |
24. | Путевой гайковерт ПМГ и другие | | + | | | | + |
25. | Машина пневмоочистительная ПОМ-1 | + | | | | | |
Примечания.
1. На период болезни или отпуска руководителя работ, указанного в
таблице 3.1, работой путевых машин могут руководить лица, имеющие право замещения, оформленное приказом руководителя структурного подразделения: монтер пути 5 разряда замещает бригадира пути, бригадир пути - дорожного мастера, дорожный мастер - старшего дорожного мастера (начальника участка) ПЧ или ПМС, или работники выше по должности, указанной в
таблице 3.1.
2. При работе путевых машин в темное время суток руководство работами должно возлагаться на руководителя, стоящего по должности выше, чем предусмотрено в
таблице 3.1.
Форма и способ предоставления заявки руководителем работ ДНЦ устанавливаются владельцем инфраструктуры.
3.7. С наступлением срока начала путевых работ с закрытием перегона (пути) ДНЦ устанавливает отсутствие на нем поездов, после чего дает дежурным по станциям, ограничивающим перегон, и руководителю работ приказ о закрытии перегона (пути). В исключительных случаях при отсутствии на месте путевых работ телефонной или радиосвязи с ДНЦ приказ о состоявшемся фактическом закрытии перегона или пути передается руководителю работ дежурным по станции ближайшей к месту путевых работ (по телефону, через нарочного, командируемого с места работ). Разрешается также применение средств ремонтно-оперативной радиосвязи (система технологической ремонтно-оперативной связи ОАО "РЖД" на базе сетей подвижной связи стандарта GSM, GSM-P, TETRA и МВ диапазонах).
Запрещается приступать к путевым работам до получения руководителем работ приказа ДНЦ (письменного, по телефону или радиосвязи) о состоявшемся закрытии перегона или пути, а на электрифицированных участках получение руководителем работ письменного разрешения от представителя дистанции электроснабжения о снятии напряжения в контактной сети и установки заземляющих штанг, и до ограждения места работ сигналами в соответствии с требованиями
главы 4 настоящей Инструкции.
3.8. На время производства путевых работ в "окна", владелец инфраструктуры по заявке организации выполняющей путевые работы совместно с руководителем путевых работ обязаны установить постоянную связь (телефонную или по радио) с ДНЦ.
3.9. Отмена "окон" может производиться только в исключительных случаях должностным лицом, подписавшим разрешение (телеграмму) на "окно" или его вышестоящим руководителем, не позднее, чем за 8 часов до планируемого начала "окна".
Отмена "окон" продолжительностью 8 часов и более на двухпутных, 6 часов и более на однопутных участках, должна производиться не позднее, чем за сутки до планируемого начала "окна".
Изменение времени начала "окна" допускается в исключительных случаях, исходя из поездной обстановки приказом ДНЦ по распоряжению начальника диспетчерского центра, но не более, чем на 1 ч от плана.
3.10. Отправление хозяйственных поездов, включая отдельные единицы специального самоходного подвижного состава (далее - ССПС) на перегон или путь перегона, закрытый для ремонта пути, сооружений и устройств, производится по разрешениям на бланке белого цвета с красной полосой по диагонали (бланк
формы ДУ-64). В соответствии с заявкой руководителя работ в разрешении указывается место (километр, пикет) первоначальной остановки каждого хозяйственного поезда.
3.11. На закрытом перегоне (пути) может работать одновременно несколько хозяйственных поездов, в том числе и принадлежащих различным организациям, но находящихся под руководством одного работника, указываемого в разрешении в соответствии с
п. 3.6 настоящей Инструкции.
Машинист локомотива каждого хозяйственного поезда (ССПС) должен следовать до места, указанного в разрешении на бланке белого цвета с красной полосой по диагонали (бланк
формы ДУ-64). Первый поезд следует с установленной скоростью, последующие - не более 20 км/ч. Места первоначальной остановки хозяйственных поездов (ССПС), последовательно отправляемых на перегон, должны находиться на расстоянии не менее 1 км друг от друга. В случае, если расстояние от станции отправления до места работ не позволяет выдержать интервалы не менее 1 км между попутными хозяйственными поездами, то в разрешениях на бланках белого цвета с красной полосой по диагонали
(ДУ-64), выдаваемых каждому хозяйственному поезду должны указываться километры и пикеты первоначальной остановки в соответствии с разрешением на производство работ и заявкой руководителя работ. У места остановки хозяйственного поезда (ССПС), идущего вслед, должен быть сигналист с красным сигналом.
При отправлении хозяйственных поездов (ССПС), на закрытый путь перегона с соседних раздельных пунктов навстречу друг другу дежурные по обеим станциям, по указанию ДНЦ в разрешениях на бланке белого цвета с красной полосой по диагонали
(ДУ-64) после записи о цели отправления вносят запись по форме:
"На перегон отправлен встречный хозяйственный поезд N...".
Хозяйственные поезда (ССПС), отправляемые на закрытый перегон с различных раздельных пунктов навстречу друг другу, должны следовать с особой бдительностью со скоростью не более 20 км/ч только до места, указанного в разрешении (приказе), где по указанию руководителя работ устанавливается переносной сигнал остановки, находящийся под охраной стоящего около него сигналиста с ручным красным сигналом. Расстояние между пунктами остановки встречных поездов должно быть не менее 1 км. Машинист локомотива хозяйственного поезда (ССПС) после остановки на указанном в разрешении месте сообщает по радиосвязи машинисту локомотива встречного хозяйственного поезда и машинистам хозяйственных поездов (ССПС), движущимся вслед, о своем местонахождении.
При отправлении хозяйственного поезда вслед уже отправившимся хозяйственным поездом (ССПС) дежурный по станции в разрешении на бланке
формы ДУ-64 после записи о цели отправления вносит запись следующего содержания: "Впереди отправлен хозяйственный поезд N...".
После остановки дальнейшее передвижение хозяйственных поездов (ССПС), по перегону осуществляется по указанию руководителя работ со скоростью не более 20 км/ч с особой бдительностью. О своих последующих передвижениях до начала места производства работ машинисты встречных хозяйственных поездов (ССПС) уведомляют друг друга по радиосвязи.
В темное время суток и при плохой видимости сигналов (туман, метель, кривые и др.), а также при других неблагоприятных условиях сигналист в местах остановки хозяйственных поездов должен укладывать петарды.
3.12. Заявки на выдачу предупреждений для выполнения подготовительных работ, выполняемых в день "окна", выдаются по
форме 3 приложения 8 настоящей Инструкции. Перед открытием перегона представитель дистанции пути по должности не ниже дорожного мастера ответственный по контролю за качество работ и соблюдением требований по безопасности движения поездов в "окно", через ДНЦ выдает предупреждение об ограничении скорости движения поездов в зависимости от состояния пути после выполнения работ в "окно".
3.13. Если работы производятся на перегоне, оборудованном автоблокировкой, то по согласованию с ДНЦ разрешается отправлять хозяйственные поезда (ССПС) к месту работ по сигналам автоблокировки, не ожидая закрытия перегона.
Машинисту каждого хозяйственного поезда (ССПС) выдается предупреждение об остановке на перегоне в месте, указанном в заявке руководителя работ.
Разрешение на бланке
формы ДУ-64 при отправлении таких поездов на перегон, подлежащий закрытию, вручается руководителю работ или уполномоченному им работнику, который передает его машинисту локомотива хозяйственного поезда (ССПС), после его остановки на перегоне в обусловленном месте и получения приказа ДНЦ о закрытии перегона. Перегон или соответствующий путь перегона закрывается для ремонтных работ приказом ДНЦ после освобождения от поездов, отправленных впереди хозяйственных поездов.
На больших по времени хода перегонах с благоприятным планом и профилем пути, не оборудованных автоблокировкой, по указанию ДНЦ разрешается отправлять хозяйственные поезда (ССПС) к месту работы, не ожидая закрытия перегона, вслед за ранее отправленным грузовым поездом, но не менее, чем через 5 минут после его отправления. Разрешение передается ДСП станций, ограничивающих перегон, и руководителю работ регистрируемым приказом ДНЦ: "В связи с предстоящим закрытием перегона... (... пути перегона...) для производства работ разрешаю отправить на этот перегон по... пути хозяйственного поезда со станции... вслед за поездом N... ДНЦ...".
В этом случае каждый хозяйственный поезд отправляется по разрешению на бланке
формы ДУ-64. В соответствии с заявкой руководителя в разрешении указывается место (километр, пикет) первоначальной остановки каждого поезда на перегоне. Машинисту первого хозяйственного поезда (ССПС) вручается также предупреждение: "Впереди Вас в... ч... мин отправлен поезд N..., сообщение о прибытии которого не получено".
3.14. Отправляемые со станции в одном поезде для одновременной работы на перегоне хозяйственные поезда, ССПС могут на перегоне расцепляться или соединяться по указанию руководителя работ. Возможный состав и порядок размещения в таких хозяйственных поездах несамоходных путевых машин и ССПС определяется руководителем работ.
Принцип формирования и порядок обслуживания основных хозяйственных поездов и путевых машин для выполнения комплексных путевых работ изложены в
приложении 9 настоящей Инструкции.
Если при выполнении путевых работ необходимо иное размещение комплекта машин в поезде, то расстановка и соединение их в один поезд для отправки на перегон устанавливаются руководителем работ.
При отправлении со станции нескольких хозяйственных поездов, соединенных друг с другом для последующей их работы на перегоне, по указанию руководителя работ машинисту локомотива каждого из них должно выдаваться отдельное разрешение на бланке
формы ДУ-64 с присвоением каждому хозяйственному поезду отдельного номера.
При отсутствии разрешения на бланке
формы ДУ-64, руководителю работ запрещается осуществлять расцепку хозяйственных поездов на перегоне.
Основные требования по обеспечению безопасности движения и скорости движения специального подвижного состава при их обращении по железнодорожным путям указаны в Нормах допускаемых скоростей движения специального подвижного состава (мотовозов, дрезин, специальных автомотрис, железнодорожно-строительных машин) по железнодорожным путям колеи 1520 (1524) мм федерального железнодорожного транспорта (далее Нормы допускаемых скоростей движения ССПС)
[12].
Допускаемые скорости движения специального подвижного состава и основные требования при транспортировке путевых машин изложены в
приложении 10 настоящей Инструкции.
3.15. Хозяйственные поезда (ССПС) при производстве работ на перегоне или в пределах станции должны сопровождаться руководителем работ или уполномоченным им работником. По указанию уполномоченного представителя владельца инфраструктуры на хозяйственные поезда, в необходимых случаях, могут назначаться главные кондукторы.
3.16. Ко времени окончания установленного перерыва в движении поездов для производства работ последние должны быть полностью закончены, путь, сооружения и устройства, в том числе габарит приближения строений, приведены в состояние, обеспечивающее безопасное движение поездов, сигналы остановки сняты с оставлением, если необходимо, сигналов уменьшения скорости и соответствующих сигнальных знаков.
3.17. Отправление хозяйственных поездов (ССПС) с перегона производится по указанию руководителя работ, согласованному предварительно с ДНЦ. О намеченном порядке возвращения хозяйственных поездов (ССПС) с перегона ДНЦ ставит в известность дежурных по станциям, ограничивающим перегон.
По окончании работы хозяйственных поездов (ССПС) руководитель путевых работ обязан лично или через подчиненных работников осмотреть железнодорожный путь и другие ремонтируемые устройства на всем протяжении участка путевых работ, обеспечить немедленное устранение обнаруженных недостатков, препятствующих нормальному движению, а также проверить, не нарушают ли установленных габаритов находящиеся на участке материалы и механизмы.
3.18. Открытие перегона (железнодорожного пути) производится приказом ДНЦ только после получения уведомления (письменного, по телефону или радиосвязи), от уполномоченного представителя подразделения путевого хозяйства владельца инфраструктуры об окончании путевых работ или работ на искусственных сооружениях, об отсутствии на перегоне хозяйственных поездов (ССПС) (или об их отправлении по правильному железнодорожному пути двухпутного перегона), а также выдаче или отмене предупреждений об ограничении скорости движения поездов по месту работ и других препятствий для безопасного движения поездов независимо от того, какая организация выполняла работы.
Указанное уведомление передается ДНЦ непосредственно или через дежурного по ближайшей станции. Полученное по телефону или радиосвязи уведомление ДНЦ записывает в Журнал диспетчерских распоряжений.
3.19. Восстановление действия существующих устройств СЦБ и связи или электроснабжения (если работа их нарушалась) производится после получения уведомления от уполномоченного представителя структурных подразделений СЦБ, связи или энергоснабжения владельца инфраструктуры.
3.20. Если на двухпутных перегонах, оборудованных автоблокировкой, хозяйственные поезда после окончания работ отправляются на станцию по правильному пути, то их движение независимо от наличия у машинистов разрешения на бланке
формы ДУ-64 производится по сигналам автоблокировки с установленной скоростью. В остальных случаях скорость следования возвращаемых после работы на перегоне хозяйственных поездов (кроме первого) должна быть не более 20 км/ч, а расстояние между ними - не менее 1 км.
Скорость движения хозяйственного поезда (ССПС) вагонами вперед при наличии радиосвязи между локомотивом и путевой машиной в голове поезда в зависимости от конструкции путевых машин допускается не более 40 км/ч.
3.21. Хозяйственные поезда (ССПС), следующие с перегона после работы друг за другом, разрешается принимать на один и тот же железнодорожный путь станции или на свободный участок другого пути, занятого подвижным составом. При этом хозяйственные поезда (ССПС), прибывающие с перегона, принимаются на свободный участок пути станции при запрещающем показании входного светофора порядком, предусмотренным
Инструкцией по движению поездов и маневровой работе на железных дорогах Российской Федерации
[3]. При входе поезда на станцию машинист должен соблюдать особую бдительность и быть готовым к немедленной остановке, если встретится препятствие для дальнейшего движения.
3.22. Отправление хозяйственных поездов (ССПС) на перегоны (пути перегонов), где не производятся работы по ремонту пути, сооружений и устройств или где характер работ не требует закрытия перегона (железнодорожного пути), осуществляется по устному указанию поездного диспетчера.
Указанные поезда отправляются на перегон по разрешениям, предусмотренным для соответствующих средств сигнализации и связи.
Руководителю работ и машинисту локомотива хозяйственного поезда (ССПС) выдается предупреждение о времени прибытия (возвращения) поезда на станцию. Занимать перегон сверх времени, указанного в предупреждении, запрещается.
До выезда хозяйственного поезда (ССПС) с перегона руководитель работ обязан убедиться в отсутствии препятствий для его нормального движения поездов.
3.23. Порядок движения поездов по оставшемуся пути (путям) на двух- и многопутных перегонах, в период закрытия для путевых работ одного из путей с учетом осуществления необходимых мер по лучшему использованию пропускной способности (пропуск соединенных поездов, движение поездов с разграничением времени, применение временных устройств автоблокировки, открытие временных постов и др.), устанавливается региональной дирекцией управления движением.
3.24. Если хозяйственный поезд (ССПС) имеет стоянку на перегоне, то около остановившегося хозяйственного поезда (ССПС) должен находиться с ручным красным сигналом главный кондуктор, а при его отсутствии - руководитель работ или уполномоченный им работник пути, выполняющий обязанности главного кондуктора. Он обязан проверить видимость хвостовых сигналов, внимательно наблюдать за перегоном и в случае появления вслед идущего поезда принять меры к его остановке.
3.25. Если хозяйственный поезд (ССПС) производит работы на перегоне двухпутной линии, связанные с выходом частей машины за пределы габарита подвижного состава со стороны междупутья, или из полувагонов через люки выгружают балласт, то участок работы по соседнему пути ограждается с обеих сторон сигналами остановки. Всем поездам, следующим по соседнему пути, выдаются предупреждения. Заявка на них составляется по
форме 6 (приложение 8 настоящей Инструкции).
3.26. У хозяйственного поезда (ССПС), работающего с выходом частей машины за пределы габарита подвижного состава со стороны междупутья, на обочине соседнего пути должен находиться сигналист с красным сигналом.
Ограждение соседнего пути сигналами остановки производят сигналисты, которые укладывают по три петарды на расстоянии 1 000 м от хозяйственного поезда (ССПС) и, отойдя от петард на 20 м в направлении места работ, показывают красный сигнал в сторону возможного подхода поезда. На участках, где обращаются пассажирские поезда со скоростью выше 120 км/ч, петарды укладываются на расстоянии в соответствии с требованиями
таблицы 4.1 настоящей Инструкции. При появлении поезда сигналист у петард извещает об этом руководителя работ порядком, установленным
п. 4.10 настоящей Инструкции.
Руководитель путевых работ после получения от сигналиста извещения о подходе по соседнему пути поезда обязан немедленно прекратить работу хозяйственных поездов (ССПС), проверить соблюдение габарита, после чего дать разрешение сигналистам о снятии красных щитов и петард в порядке, установленном в
п. 4.10 настоящей Инструкции.
3.27. При работе хозяйственных поездов (ССПС) на двух- и многопутных участках при пропуске поездов по соседнему пути должны соблюдаться следующие требования:
3.27.1. При работе щебнеочистительных машин других типов, а также выправочно-подбивочно-отделочной машины типа ВПО-3000 и ее модификаций (далее - ВПО-3000), имеющих негабаритность в рабочем положении, пропуск поездов с негабаритными грузами по соседнему пути запрещается. Пропуск по соседнему пути других поездов осуществляется после прекращения работы указанных выше машин.
3.27.2. Работа путевых машин должна быть прекращена, рабочие органы со стороны междупутья приведены в пределы габарита, обслуживающий персонал должен находиться в кабинах или специальных площадках на машинах, монтеры пути - в колее закрытого пути или на обочине ремонтируемого пути, сигналы остановки и петарды, если они устанавливались, сняты.
3.27.3. Во время пропуска поездов ни одна из частей машины не должна выступать в сторону междупутья на расстояние более 1950 мм от оси ремонтируемого (реконструируемого) пути.
3.27.4. Во время приведения рабочих органов машины (устройства) в рабочее положение (при зарядке) и в транспортное положение (при разрядке) при условии выхода отдельных ее частей в сторону междупутья за расстояние 1950 мм от оси ремонтируемого пути, пропуск поездов по соседнему пути не допускается. Место зарядки (разрядки) должно ограждаться сигналами остановки.
3.27.5. Машинисты путевых машин, у которых планировщики балласта или плуги в рабочем положении выходят за расстояние 1950 мм от оси ремонтируемого пути в сторону междупутья, обязаны перед пропуском поезда по соседнему пути прекратить работу, а рабочие органы со стороны междупутья убрать в пределы габарита.
3.28. Выправочно-подбивочно-отделочная машина (ВПО-3000) должна работать на перегоне с соблюдением дополнительных требований:
перед работой машины на двух- и многопутном участках пути подкрылок с закрылком и соединительной тягой планировщика откосов со стороны междупутья должны быть сняты;
во время приведения рабочих органов машины в рабочее положение (при зарядке) и в транспортное положение (при разрядке) при условии выхода отдельных ее частей в сторону междупутья за расстояние 1950 мм от оси ремонтируемого пути пропуск поездов по соседнему пути не допускается;
для пропуска поездов по соседнему пути работа выправочно-подбивочных рабочих органов прекращается, при этом со стороны междупутья, кроме планировщика откосов, должны быть опущены на балласт и прикрыты вплотную к несущей балке виброплиты, уплотнитель откосов должен быть поднят в транспортное положение;
во время работы крыло планировщика откосов со стороны междупутья должно быть прикрыто так, чтобы оно не выходило за пределы габаритных размеров передней кабины машины.
3.29. Скорость движения поездов по соседнему пути при работе путевых машин, рабочие органы которых в рабочем положении превышают габарит транспортного положения, ограничивается в зависимости от вида машин, ширины междупутья (с учетом уширения в кривых).
3.29.1. При работе щебнеочистительных машин всех типов и выправочно-подбивочно-отделочной машины типа ВПО скорость пропуска подвижного состава габарита 1-Т по соседнему пути при междупутье 4100 мм в прямых и соответствующего уширения в кривых должна быть не более 40 км/ч, а габарита Т - не более 25 км/ч.
При междупутье более 4100 мм в прямых и соответствующего уширения в кривых разрешается пропуск подвижного состава габаритов 1-Т и Т со скоростью не более 50 км/ч.
3.29.2. При выполнении работ с применением укладочных кранов при междупутье от 4100 до 5500 мм в прямых и соответствующем уширении в кривых пропуск по соседнему пути подвижного состава габаритов 1-Т и Т допускается со скоростью не более 50 км/ч, а при наличии аппаратуры радиосвязи и оповещения для рабочих - не более 60 км/ч.
3.29.3. При одновременной работе на перегоне нескольких хозяйственных поездов (ССПС) скорость пропуска поездов по соседнему пути устанавливается по путевой машине, работа которой требует наибольшее ограничение скорости.
3.30. Путеукладочные краны должны работать с соблюдением следующих требований:
на период пропуска поезда работа крана прекращается, звенья рельсошпальной решетки должны находиться в пакете на кране, или лежать в пути на балластной призме;
рабочие, занятые на перетяжке пакетов, по получении извещения о приближении поезда, должны сойти на обочину ремонтируемого пути.
3.31. При очистке пути роторным снегоочистителем или пневмоочистительной машиной на двухпутном участке, когда второй путь расчищен, поезда, следующие по этому расчищенному пути, пропускаются со скоростью, устанавливаемой руководителем работ, а в необходимых случаях - с проводником. Об этом указывается в предупреждениях, заявки на которые выдаются по
форме 6 (приложение 8 настоящей Инструкции). Место работы роторного снегоочистителя или пневмоочистительной машины ограждается по соседнему пути сигналами остановки. К проходу поезда работа прекращается и крылья снегоочистителя закрываются. Оповещение о приближении поезда и передача распоряжений руководителя работ о снятии сигналов остановки осуществляются порядком, установленным
п. 4.10 настоящей Инструкции.
3.32. При работе снегоочистителя плужного типа или струга на двух- или многопутном участке с закрытыми крыльями со стороны междупутья смежный путь сигналами не ограждается, но поездам, проходящим по соседнему пути, выдаются предупреждения следующего содержания: "На перегоне (станции)... по... пути работает путевой струг (снегоочиститель). При следовании по перегону (станции) соблюдать особую бдительность; перед местами с плохой видимостью подавать повторяющиеся несколько раз оповестительные продолжительные свистки". Эти предупреждения выдаются дежурными по станциям по указанию ДНЦ. При необходимости работы снегоочистителя или струга с открытым крылом со стороны междупутья соседний путь для движения поездов закрывается.
О предстоящих работах по очистке станционных путей от снега с применением снегоуборочных машин, а также при проведении пробных поездок на перегонах в период подготовки к зиме должны ставиться в известность дистанция сигнализации, централизации и блокировки, дистанции электроснабжения.
3.33. При работе на двух- и многопутных участках руководитель работ лично или через сигналиста обязан обеспечить своевременное оповещение монтеров пути и бригады машинистов путевых машин о приближении поездов по соседнему пути, чтобы до их подхода в междупутье не находились люди и все рабочие органы путевых машин со стороны соседнего пути были приведены в состояние, обеспечивающее безопасный пропуск поездов по соседнему пути.
Обслуживание одним сигналистом несколько хозяйственных поездов (ССПС) допускается при нахождении последних в пределах видимости и слышимости звукового сигнала (духового рожка, громкоговорителя и другого звукового сигнала), подаваемого сигналистом при приближении поезда на расстояние не ближе 1200 - 1500 м до места работы ограждаемых машин, в зависимости от топографии трассы и минимальной потребности времени для приведения рабочих органов машин в пределы габарита подвижного состава - путевой машины.
Если это требование из-за большого расстояния между хозяйственными поездами (ССПС) не может быть выполнено одним сигналистом, то у каждого хозяйственного поезда (ССПС) должен выставляться отдельный сигналист.
На работы машинизированных комплексов или отдельных путевых машин этих комплексов руководитель работ подает заявки о выдаче предупреждений в соответствии с
главой 8 и
приложением 8 настоящей Инструкции.
Ответственным за работу всех путевых машин и организацию оповещения монтеров пути и машинистов путевых машин о приближении поездов является руководитель работы машинизированного комплекса.
В
приложении 11 настоящей Инструкции указаны отдельные машины, входящие в состав машинизированных комплексов, которые должны быть ограждены по соседнему пути сигналами остановки.
3.34. Наряду с вышеизложенными условиями производства работ должны соблюдаться требования, изложенные в инструкциях по эксплуатации конкретных путевых машин и специального подвижного состава.
4. ПОРЯДОК ОГРАЖДЕНИЯ МЕСТ ПРОИЗВОДСТВА РАБОТ НА ПЕРЕГОНЕ
4.1. Всякое препятствие для движения поездов (место, требующее остановки) на перегоне и станции, а также место производства путевых работ, опасное для движения поездов и требующее остановки или уменьшения скорости, должно быть ограждено сигналами с обеих сторон независимо от того, ожидается поезд (маневровый состав) или нет.
4.2. Места производства путевых работ на пути, требующие остановки поезда или уменьшения скорости, ограждаются на расстоянии, зависящем от руководящего спуска и максимально допускаемой скорости движения поездов на перегоне.
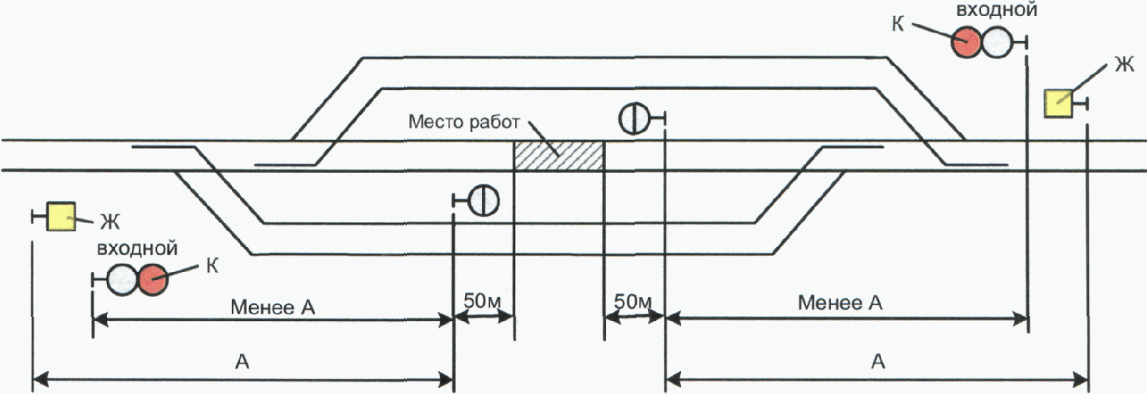
Перечень перегонов с указанием расстояния Б, на котором должны укладываться петарды, и расстояния А, на котором должны устанавливаться сигналы уменьшения скорости, определяется начальником региональной дирекции инфраструктуры в соответствии с таблицей 4.1.
Руководящий спуск и максимальная допускаемая скорость движения поездов на перегоне | Расстояние (м) от сигнальных знаков "Начало опасного места" и "Конец опасного места" от сигналов уменьшения скорости А | Расстояние (м) от переносных красных сигналов у места работ и от места внезапно возникшего препятствия до первой петарды Б |
На перегонах, где имеются руководящие спуски менее 0,006, при скорости движения: | | |
грузовых поездов не более 80 км/ч, пассажирских и рефрижераторных поездов не более 100 км/ч | 800 | 1000 |
рефрижераторных поездов более 100 км/ч, но не более 120 км/ч и пассажирских поездов более 100 км/ч, но не более 140 км/ч | 1000 | 1200 |
грузовых поездов более 80 км/ч, но не более 90 км/ч | 1100 | 1300 |
пассажирских поездов более 140 км/ч, но не более 160 км/ч | 1400 | 1600 |
пассажирских поездов более 160 км/ч, но не более 200 км/ч | 1600 | 2150 |
На перегонах, где имеются руководящие спуски 0,006 и круче, но не более 0,010, при скорости движения: | | |
грузовых поездов не более 80 км/ч, пассажирских и рефрижераторных поездов не более 100 км/ч | 1000 | 1200 |
рефрижераторных поездов более 100 км/ч, но не более 120 км/ч и пассажирских поездов более 100 км/ч, но не более 140 км/ч | 1100 | 1300 |
грузовых поездов более 80 км/ч, но не более 90 км/ч | 1300 | 1500 |
пассажирских поездов более 140 км/ч, но не более 160 км/ч | 1500 | 1700 |
пассажирских поездов более 160 км/ч, но не более 200 км/ч | 1700 | 2250 |
На перегонах, где имеются руководящие спуски круче 0,010 | Устанавливается владельцем инфраструктуры |
Для грузовых поездов со скоростями более 90 км/ч до 140 км/ч | Устанавливается владельцем инфраструктуры |
4.3. Места производства путевых работ, требующие остановки поездов, при фронте работ 200 м и менее на однопутном участке, на одном из путей и на обоих путях двухпутного участка ограждаются сигналами остановки порядком, указанным на рисунке 4.1.
а)
б)
в)
Рисунок 4.1. Схема ограждения мест производства работ
на перегоне, требующих остановки поездов
при фронте работ 200 м и менее:
а - на однопутном участке; б - на одном из путей
двухпутного участка; в - на обоих путях двухпутного участка
На расстоянии 50 м от границ ограждаемого участка с обеих сторон устанавливаются переносные красные сигналы К
(приложение 3), которые находятся под наблюдением руководителя работ. От этих сигналов на расстоянии Б укладывается по три петарды и на расстоянии 200 м от первой, ближайшей к месту работ петарды в направлении от места работ устанавливаются переносные сигналы уменьшения скорости Ж
(приложение 4).
Переносные сигналы уменьшения скорости и петарды должны находиться под охраной сигналистов, которые обязаны стоять в 20 м от первой петарды в сторону места путевых работ с ручными красными сигналами (днем с развернутым красным флагом, ночью с ручным фонарем, красный огонь которого обращен в сторону ожидаемого поезда).
Ограждение производится сигналистами или монтерами пути не ниже 3-го разряда, выдержавшими установленное испытание. Для отличия от других работников железнодорожного транспорта сигналисты должны носить головной убор с верхом желтого цвета или нарукавники и сигнальный жилет в соответствии с
Инструкцией по сигнализации на железнодорожном транспорте Российской Федерации
[2].
При производстве путевых работ развернутым фронтом (более 200 м) места работ ограждаются порядком, указанным на
рисунке 4.2. В этом случае переносные красные сигналы, устанавливаемые на расстоянии 50 м от границ участка, требующего ограждения, должны находиться под охраной стоящих около них сигналистов с ручными красными сигналами.
Места производства работ, требующие остановки поездов на многопутных участках, ограждаются порядком, указанным на
рисунке 4.3. При этом сигналисты могут находиться на междупутье, если его ширина не менее 6 м, а при меньшей ширине междупутья сигналисты следят за подходом поездов, находясь на обочине. В случае подхода поезда по крайнему пути, у которого стоит сигналист, и отсутствия на этом пути препятствия сигналист встречает поезд со свернутым желтым флагом.
На перегонах, где расстояние от переносных красных сигналов до первой, ближайшей к месту работ петарды установлено более 1200 м, а также при плохой видимости, в случае отсутствия радиосвязи или телефонной связи, кроме сигналистов, охраняющих петарды, должны выставляться дополнительные сигналисты, в обязанности которых входит повторение сигналов руководителя работ и основных сигналистов.
4.4. Если место препятствия или производства работ на перегоне находится вблизи станции (расстояние менее Б + 250 м до входного сигнала или сигнального знака "Граница станции"), и оградить это место установленным порядком невозможно, - то со стороны перегона оно ограждается так, как указано в
п. 4.3 настоящей Инструкции, а со стороны станции переносной красный сигнал устанавливается на оси пути против входного сигнала (или сигнального знака "Граница станции") с укладкой трех петард, охраняемых сигналистом (
рисунок 4.4, а,
б).
а)
б)
в)
Рисунок 4.2. Схема ограждения мест производства работ
на перегоне, требующих остановки поездов
при фронте работ более 200 м:
а - на однопутном участке; б - на одном из путей
двухпутного участка; в - на обоих путях двухпутного участка
а)
б)
в)
Рисунок 4.3. Схема ограждения мест
производства работ на многопутном участке перегона,
требующих остановки поездов:
а - крайнего пути трехпутного участка; б - среднего пути
трехпутного участка; в - среднего пути
четырехпутного участка
Рисунок 4.4. Схема ограждения мест
производства работ на перегоне вблизи станций,
требующих остановки поездов:
а - при установке переносного красного сигнала
на оси пути против входного сигнала; б - при установке
переносного сигнала против знака "Граница станции";
в - при расположении места работ на расстоянии менее 60 м
от входного сигнала (или сигнального знака
"Граница станции")
Если место препятствия или производства работ расположено на расстоянии менее 60 м от входного сигнала (или сигнального знака "Граница станции"), то петарды со стороны станции не укладываются
(рисунок 4.4, в).
Когда место работы находится вблизи станции, в Журнал осмотра путей, стрелочных переводов, устройств СЦБ, связи и контактной сети делается запись о приеме поездов с остановкой на станции и о порядке их отправления.
Если по месту путевых работ после их завершения и снятия сигналов остановки поезда должны пропускаться с уменьшением скорости, то со стороны перегона оно ограждается установленным порядком, а со стороны станции против остряков выходной стрелки и против входного сигнала устанавливаются переносные желтые сигналы на расстоянии 50 м от места работ - сигнальные знаки "Начало опасного места" и "Конец опасного места" (рисунок 4.5).
Рисунок 4.5. Схема ограждения мест производства работ
на перегоне вблизи станций, требующих следования поездов
с уменьшенной скоростью
В том случае, когда расстояние от места путевых работ до границы станции менее чем 50 м, сигнальный знак "Начало опасного места" устанавливается против знака "Граница станции".
При производстве путевых работ на пути развернутым фронтом, а также на кривых участках малого радиуса, в выемках и других местах с плохой видимостью сигналов и на участках с интенсивным движением поездов руководитель работ обязан установить связь (телефонную или по радио) с работниками, находящимися у сигналов, ограждающих место работ. Сигналисты и руководитель работ должны иметь носимые радиостанции. Порядок обеспечения связью мест производства работ устанавливается владельцем инфраструктуры.
При подходе поезда к переносному желтому сигналу машинист обязан подать один длинный свисток локомотива (моторвагонного поезда, ССПС), а при подходе к сигналисту с ручным красным сигналом подать сигнал остановки и принять меры к немедленной остановке поезда, чтобы остановиться, не проезжая переносного красного сигнала.
4.5. Места производства путевых работ на перегонах, требующие следования поездов с уменьшенной скоростью, ограждаются с обеих сторон на расстоянии 50 м от границ участка работы переносными сигнальными знаками "Начало опасного места" и "Конец опасного места"
(приложение 5). От этих сигнальных знаков на расстоянии А (рисунок 4.6) устанавливаются переносные сигналы уменьшения скорости на ближайшей обочине с одной стороны пути.
а)
б)
в)
Рисунок 4.6. Схема ограждения мест производства работ
на перегоне, требующих следования поездов
с уменьшенной скоростью:
а - на однопутном участке; б - на одном из путей
двухпутного участка; в - на обоих путях двухпутного участка
Места производства путевых работ, требующие уменьшения скорости движения поездов, на многопутных участках ограждаются порядком, указанным на
рисунке 4.7.
Во всех случаях ограждения мест препятствий или мест производства работ на многопутных участках сигналы и сигнальные знаки, относящиеся к средним путям, устанавливаются на междупутье с правой стороны по направлению движения к месту работ, а сигналы и сигнальные знаки, относящиеся к крайним путям, устанавливаются на ближайшей обочине с одной стороны пути.
Если место, требующее уменьшения скорости на перегоне, расположено вблизи станции и оградить его установленным порядком невозможно, то со стороны перегона оно ограждается так, как установлено для перегона, а со стороны станции переносные сигналы уменьшения скорости устанавливаются против остряков выходной стрелки и против входного сигнала
(рисунок 4.5), а на станциях, имеющих маршрутные сигналы на главных путях, - против маршрутного сигнала.
При подходе поезда к переносному желтому сигналу машинист обязан подать один длинный свисток локомотива (моторвагонного поезда, ССПС) и вести поезд так, чтобы проследовать место, огражденное переносными сигнальными знаками "Начало опасного места" и "Конец опасного места", со скоростью, указанной в предупреждении, а при отсутствии предупреждения - со скоростью не более 25 км/ч.
4.6. Места работ на пути, не требующие ограждения сигналами остановки или уменьшения скорости, но требующие предупреждения работающих о приближении поезда, ограждаются с обеих сторон переносными сигнальными знаками "С"
(приложение 6), которые устанавливаются у пути, где проводятся работы, а также у каждого смежного главного пути. Переносные сигнальные знаки "С" устанавливаются таким же порядком, у смежных главных путей и при производстве работ, огражденных сигналами остановки или сигналами уменьшения скорости.
а)
б)
в)
Рисунок 4.7. Схема ограждения мест производства работ
на многопутном участке перегона, требующих следования
поездов с уменьшенной скоростью:
а - крайнего пути трехпутного участка; б - среднего пути
трехпутного участка; в - среднего пути
четырехпутного участка
Переносные сигнальные знаки "С" устанавливаются на расстоянии 500 - 1500 м от границ участка работ, а на перегонах, где обращаются поезда со скоростью более 120 км/ч, - на расстоянии 800 - 1500 м
(рисунок 4.8).
Машинист локомотива (моторвагонного поезда, ССПС) обязан при подходе к переносному сигнальному знаку "С" подать тифоном оповестительный сигнал - один длинный свисток локомотива (моторвагонного поезда, ССПС).
а)
б)
Рисунок 4.8. Схема ограждения мест производства работ
на перегоне переносными сигнальными знаками "С":
а - на однопутном участке; б - на двухпутном участке
4.7. При производстве путевых работ на мостах и в тоннелях за участок работы принимается полная длина тоннеля или моста, т.е. границами участка работ являются порталы тоннеля или задние грани устоев моста.
Когда при ограждении работ сигналами остановки место укладки петард и установки переносного сигнала уменьшения скорости попадает в тоннель или на мост, укладка петард и установка сигналов уменьшения скорости производятся далее от места путевых работ, за порталом или устоем этих сооружений. Если при этом передача сигналов в сторону места путевых работ становится невозможной, то руководитель работ должен установить телефонную связь или радиосвязь с сигналистами или выставить промежуточных сигналистов.
В аналогичных случаях при ограждении места производства путевых работ переносными сигналами уменьшения скорости или переносными сигнальными знаками "С" они также располагаются далее от места путевых работ, за порталами или устоями этих сооружений.
При наличии на участке моста или тоннеля длиной более 500 м порядок ограждения места работ устанавливает начальник железной дороги.
4.8. При работе с инструментом (электрическим, пневматическим и др.), ухудшающих слышимость, а также при производстве путевых работ в условиях плохой видимости (в круговых кривых, в глубоких выемках, лесистой местности, при наличии строений и других условий, ухудшающих видимость), если работы не требуют ограждения сигналами остановки, руководитель работ для предупреждения рабочих о приближении поездов обязан выставить со стороны плохой видимости сигналиста с духовым рожком, который должен стоять возможно ближе к работающей бригаде так, чтобы приближающийся поезд был виден сигналисту на расстоянии не менее 500 м от места работ при скорости до 120 км/ч и 800 м при скорости более 120 км/ч (например, наверху откоса выемки).
В тех случаях, когда расстояние от места работ до сигналиста и расстояние видимости от сигналиста до приближающегося поезда в сумме составляет менее 500 или 800 м, основной сигналист ставится дальше и выставляется промежуточный сигналист также с духовым рожком для повторения сигналов, подаваемых основным сигналистом. Количество сигналистов определяется исходя из местных условий видимости и скорости движения.
В этих случаях установленным порядком дается заявка по
форме 7 (приложение 8) на выдачу предупреждения на поезда об особой бдительности и более частой подаче оповестительных сигналов.
4.9. Сигналы на местах производства путевых работ, требующих остановки, устанавливаются в следующей последовательности:
4.9.1. Первыми устанавливаются переносные желтые сигналы с правой стороны по направлению движения.
4.9.2. На двух- и многопутных участках одновременно с переносными желтыми сигналами устанавливаются сигнальные знаки "С" у соседнего пути.
4.9.3. Установив желтые сигналы и, если требуется, сигнальные знаки "С" у соседнего пути, сигналисты подходят к месту укладки петард и ожидают распоряжения руководителя работ об укладке петард. Петарды сигналистом укладываются в направлении от желтого сигнала к месту работ. Первой укладывается петарда, ближайшая к переносному желтому сигналу на правом рельсе (если встать лицом к месту работ), второй - петарда через 20 м на левом рельсе и третьей - еще через 20 м на правом рельсе.
После укладки последней петарды сигналист отходит на 20 м в сторону места работ и стоит с ручным красным сигналом (днем красным развернутым флагом, ночью - ручным фонарем с красным огнем) на обочине земляного полотна, охраняя уложенные петарды и установленный переносной желтый сигнал.
4.9.4. Установка красных сигналов и укладка петард производится по распоряжению руководителя работ. Красные сигналы на расстоянии 50 м от места работ устанавливаются внутри колеи у правого рельса по ходу поезда на шестах длиной 2 м.
4.9.5. Распоряжение об установке красных сигналов и укладке петард руководитель работ дает следующим порядком:
при производстве путевых работ на фронте 200 м и менее при наличии связи с сигналистами по телефону или радио руководитель работ, дав указание выделенным для этого монтерам пути об установке переносных красных сигналов на расстоянии 50 м от границ места работ, вызывает по телефону или по радио обоих сигналистов, стоящих у места укладки петард. На вызов сигналисты поочередно отвечают, называя свое место и свою фамилию, например: "Сигналист у петард со стороны станции Свердловск - Иванов", "Сигналист у петард со стороны станции Шарташ - Павлова". Получив ответ от обоих сигналистов, руководитель работ дает распоряжение об укладке петард, например: "Говорит руководитель работ - дорожный мастер Сидоров. Оградите место работ с укладкой петард". Сигналисты поочередно повторяют полученное распоряжение и, выполнив его, докладывают об этом руководителю работ, например: "Место работ со стороны станции Свердловск ограждено, петарды уложены. Сигналист Иванов". Аналогичным порядком докладывает и другой сигналист. Руководитель работ, приняв доклады от сигналистов и убедившись в правильной установке переносных красных сигналов на расстоянии 50 м от границ места работ, дает разрешение приступить к путевым работам;
при производстве путевых работ развернутым фронтом (более 200 м) при наличии связи с сигналистами по телефону или радио руководитель путевых работ вызывает по телефону или радио одновременно всех сигналистов. На вызов сигналисты поочередно отвечают, называя свое место и свою фамилию, например: "Сигналист у петард со стороны станции Свердловск - Иванов", "Сигналист у красного сигнала со стороны станции Свердловск - Петров", "Сигналист у красного сигнала со стороны станции Шарташ - Семенов", "Сигналист у петард со стороны станции Шарташ - Павлова". Получив ответ от всех сигналистов, руководитель работ дает распоряжение об установке сигналов остановки и укладке петард, например: "Говорит руководитель работ - дорожный мастер Сладков. Оградите место работ. Установите красные сигналы и уложите петарды". Сигналисты поочередно повторяют полученное распоряжение и выполнив его, докладывают об этом руководителю работ, например: "Красный сигнал со стороны станции Свердловск установлен. Сигналист Петров" и т.д. Руководитель работ, приняв доклады от сигналистов, дает разрешение приступить к путевым работам;
при производстве путевых работ на фронте 200 м и менее в случае отсутствия или неисправности телефонной или радиосвязи руководитель работ подает сигналистам, стоящим у петард, рожком сигнал остановки (три коротких звука) и одновременно дает указание выделенным монтерам пути установить переносные красные сигналы на расстоянии 50 м от границ места работ. Если сигналисту, охраняющему петарды, не виден красный сигнал, стоящий на расстоянии 50 м от места работ, то по условиям видимости ставятся промежуточные сигналисты с ручными сигналами, передающие сигналы основных сигналистов и руководителя работ. Распоряжение руководителя работ об укладке петард промежуточные сигналисты передают, подавая рожком сигнал остановки и показывая развернутый красный флаг в сторону сигналиста, стоящего у петард. После укладки петард сигналисты, подавая рожком сигнал остановки с одновременным движением по кругу ручным красным сигналом, оповещают руководителя работ о том, что петарды уложены. Промежуточные сигналисты повторяют сигналы, подаваемые сигналистом, стоящим у петард, после чего стоят с ручными красными сигналами. Получив извещение от сигналистов о том, что петарды уложены, и убедившись в правильности установки красных сигналов на расстояние 50 м от места работ, руководитель работ дает разрешение приступить к работам;
при производстве путевых работ развернутым фронтом (более 200 м) в случае отсутствия или неисправности телефонной или радиосвязи с сигналистами руководитель работ подает рожком сигнал остановки (три коротких звука) и одновременно показывает развернутый красный флаг в сторону сигналистов. Сигналисты, назначенные к переносным красным сигналам, устанавливаемым на расстоянии 50 м от границ места работ, дают также рожком сигнал остановки, устанавливают на пути переносные красные сигналы и показывают ручной красный сигнал в сторону сигналиста, стоящего у петард. После укладки петард сигналисты, подавая рожком сигнал остановки одновременным движением по кругу ручным красным сигналом, извещают о том, что петарды уложены. Сигналисты у переносных красных сигналов в 50 м от границ места работ, повторяя эти сигналы, извещают руководителя работ об укладке петард. Если сигналисту, охраняющему петарды, или руководителю работ не виден сигналист, стоящий у переносного красного сигнала в 50 м от границы места работ, то выставляются промежуточные сигналисты с ручными сигналами. Промежуточные сигналисты повторяют сигналы основных сигналистов и руководителя работ, после чего стоят с ручными красными сигналами. Получив извещение от сигналистов о том, что петарды уложены, и убедившись в правильности установки красных сигналов на расстоянии 50 м от границ места работ, руководитель работ дает разрешение приступить к работам.
4.10. Сигналы остановки снимаются следующим порядком:
4.10.1. При производстве путевых работ на фронте 200 м и менее при наличии телефонной или радиосвязи сигналист, охраняющий петарды, услышав или увидев приближающийся поезд, должен немедленно доложить об этом по телефону или радио руководителю работ, например: "Со стороны станции Шарташ приближается поезд. Сигналист у петард Павлова".
Руководитель путевых работ, получив это извещение, должен прекратить работы, привести путь в исправное состояние, проверить соблюдение габарита, дать указание выделенным для этого монтерам пути снять переносные красные сигналы, установленные на расстоянии 50 м от границ места работ, после чего вызвать по телефону или радио обоих сигналистов у петард и разрешить им снять петарды, например: "Говорит руководитель работ - дорожный мастер Сидоров. Разрешаю снять петарды". Сигналисты повторяют полученное указание, называя свое место и свою фамилию. Выполнив распоряжение руководителя работ, они докладывают поочередно об этом, например: "Петарды со стороны станции Шарташ сняты. Сигналист Павлова" и т.д.
4.10.2. При производстве путевых работ развернутым фронтом (более 200 м) при наличии телефонной или радиосвязи сигналист, охраняющий петарды, услышав или увидев приближающийся поезд, должен немедленно доложить по телефону или радио об этом руководителю путевых работ, например: "Со стороны станции Шарташ приближается поезд. Сигналист у петард Павлов". Руководитель работ, получив это извещение, должен немедленно привести путь в исправное состояние, проверить соблюдение габарита, после чего по телефону или радио вызвать всех сигналистов и разрешить им снять красные сигналы и петарды, например: "Говорит руководитель работ - дорожный мастер Сладков. Разрешаю снять красные сигналы и петарды". Сигналисты повторяют полученное указание, называя свое место и свою фамилию. Выполнив распоряжение руководителя работ, они докладывают поочередно об этом, например: "Красный сигнал со стороны станции Шарташ снят. Сигналист Семенова", "Петарды со стороны станции Шарташ сняты. Сигналист Павлова" и т.д.
4.10.3. При производстве путевых работ на фронте 200 м и менее в случае отсутствия или неисправности телефонной или радиосвязи сигналист, охраняющий петарды, услышав или увидев приближающийся поезд, должен подавать руководителю путевых работ сигналы: рожком (один длинный звук при подходе нечетного поезда и два длинных звука при подходе четного поезда) и ручным красным сигналом (движением сверху вниз).
Руководитель путевых работ, получив от сигналиста, стоящего у петард, извещение о приближающемся поезде, обязан привести путь в исправное состояние, проверить соблюдение габарита, после чего поручить выделенным для этого монтерам пути снять переносные красные сигналы, установленные на расстоянии 50 м от границ места работ, и, подавая рожком сигнал (один длинный звук) с одновременным движением развернутым желтым флагом над головой слева направо и справа налево, разрешить сигналистам снять петарды.
Сигналист, стоящий у петард, может снять их по сигналу руководителя работ только тогда, когда снят красный сигнал, установленный на расстоянии 50 м от границы места работ. После снятия петард он извещает об этом руководителя работ, подавая периодически рожком сигнал бдительности (один короткий и один длинный звук) с одновременным движением развернутым желтым флагом над головой слева направо и справа налево. При наличии промежуточных сигналистов последние повторяют сигналы, подаваемые руководителем работ и основными сигналистами.
4.10.4. При производстве путевых работ развернутым фронтом (более 200 м) в случае отсутствия или неисправности телефонной или радиосвязи сигналист, охраняющий петарды, услышав или увидев приближающийся поезд, должен подавать сигналы рожком (один длинный звук при подходе нечетного поезда и два длинных звука при подходе четного поезда) и ручным красным сигналом (движением сверху вниз), извещая этим сигналиста, стоящего у красного сигнала, о подходе поезда. Сигналист, стоящий у красного сигнала, тем же порядком извещает о подходе поезда руководителя работ.
Руководитель путевых работ, получив от сигналиста, стоящего у красного сигнала, извещение о приближении поезда, обязан привести путь в исправное состояние, проверить соблюдение габарита, после чего рожком (один длинный звук) с одновременным движением развернутым желтым флагом над головой слева направо и справа налево разрешить сигналистам снять переносные красные сигналы и петарды. Сигналист, стоящий у красного сигнала на расстоянии 50 м от границы места работ, снимает переносной красный сигнал и передает сигнал руководителя работ сигналисту, стоящему у петард.
Сигналист, стоящий у петард, по полученному сигналу может снять петарды только тогда, когда снят красный сигнал, установленный на расстоянии 50 м от границы места работ. После снятия петард он извещает об этом руководителя работ через сигналиста, стоящего у красного переносного сигнала, подавая периодически рожком сигнал бдительности (один короткий и один длинный звук) с одновременным движением развернутым желтым флагом над головой слева направо и справа налево. При наличии промежуточных сигналистов последние повторяют сигналы, подаваемые руководителем работ и основными сигналистами.
4.11. Если по месту производства путевых работ поезда должны пропускаться с уменьшением скорости, то после снятия сигналов остановки переносные желтые сигналы оставляются на своих местах и дополнительно в 50 м от границы участка путевых работ с правой стороны по направлению движения устанавливаются переносные сигнальные знаки "Начало опасного места" и "Конец опасного места". Знаки устанавливаются таким образом, чтобы сторона знака "Начало опасного места" была обращена в сторону приближающегося поезда, а сторона знака "Конец опасного места" - в сторону места работ. Сигналист, охраняющий петарды, после снятия их встречает поезд с развернутым желтым флагом, а сигналист, охраняющий петарды с другой стороны от места работ, встречает поезд, следующий от места путевых работ, со свернутым желтым флагом.
При развернутом фронте путевых работ сигналисты у переносных красных сигналов, установленных на расстоянии 50 м от места работ, после снятия красных сигналов в том случае, когда по месту работ поезда должны пропускаться с уменьшением скорости, встречают поезд с развернутым желтым флагом.
Если скорость по месту путевых работ уменьшаться не должна, то сигнальные знаки "Начало опасного места" и "Конец опасного места" не устанавливаются, и после того, как сняты петарды, сигналисты встречают поезд со свернутым желтым флагом.
4.12. При производстве путевых работ, требующих ограждения сигналами остановки, в темное время суток, а также в светлое время суток в период тумана, метелей и других неблагоприятных условий видимости место работ ограждается установленным выше порядком, но с заменой красных сигнальных щитов и флагов сигнальными фонарями, которые должны показывать красный огонь в обе стороны. Руководитель работ и сигналисты в темное время суток показывают соответственно следующие ручные сигналы:
Вместо развернутого ручного красного флага | красный огонь ручного фонаря |
Вместо развернутого ручного желтого флага | медленное движение вверх и вниз ручного фонаря с прозрачно-белым огнем |
Вместо свернутого ручного желтого флага | прозрачно-белый огонь ручного фонаря, не производя им движений |
4.13. Переносные сигналы уменьшения скорости устанавливаются с обеих сторон места работ с правой стороны пути по направлению движения на расстоянии не ближе 3100 мм от оси крайнего пути на шестах высотой 3 м.
Сигнальные знаки "Начало опасного места" и "Конец опасного места" устанавливаются в 50 м от границ места работ с обеих его сторон с правой стороны пути по направлению движения на расстоянии не ближе 3100 мм от оси крайнего пути на шестах высотой 3 м.
Сигналы уменьшения скорости и сигнальные знаки "Начало опасного места" и "Конец опасного места" на трех-, многопутных участках и в пределах станции, а также сигнальные знаки "С" на трех- и многопутных участках устанавливаются: при недостаточной ширине междупутья (менее 5,45 м) - на шестах высотой 1,2 м (карликовый переносной сигнал или сигнальный знак); при достаточной ширине междупутья (5,45 м и более) - на шестах нормальной высоты.
4.14. Сигналы уменьшения скорости и сигнальные знаки "Начало опасного места" и "Конец опасного места" снимаются после окончания работ и приведения пути в состояние, обеспечивающее пропуск поездов с установленными скоростями.
4.15. Сигналисты, монтеры пути не ниже 3-го разряда (прошедшие обучение), выделяемые для ограждения путевых работ, должны иметь при себе необходимые сигнальные приборы и принадлежности: комплект ручных сигналов, духовой рожок и запас петард (в коробках).
4.16. Распоряжение о снятии сигналов может дать только лицо, давшее распоряжение об их установке, или лицо, заранее им уполномоченное и указанное сигналистам.
4.17. Места, через которые поезда могут проходить только с проводником (со скоростью менее 15 км/ч) (рисунок 4.9, а), а также сплетения путей на двухпутных участках в одном уровне ограждаются как место препятствия для движения, но без укладки петард
(рисунок 4.9, б). Об установке этих сигналов на поезда выдаются письменные предупреждения. При необходимости пропустить с проводником поезд, на который не выдано предупреждение, укладка петард обязательна.
а)
Рисунок 4.9. Схема ограждения мест, по которым поезда
пропускаются с проводником:
а - с использованием переносных красных сигналов;
б - с использованием светофоров прикрытия
Порядок встречи и сопровождения поездов проводниками в каждом отдельном случае устанавливается начальником дистанции пути. Проводники должны встречать поезда у переносных красных сигналов (стоящих на пути на расстоянии 50 м от границ ограждаемого участка) с ручными красными сигналами и иметь головные уборы с верхом желтого цвета.
Если пропуск поездов с проводником устанавливается на продолжительное время, то переносные красные сигналы допускается заменять светофорами прикрытия, оставляемыми в закрытом положении, с установкой впереди них предупредительных светофоров. Об установке светофоров прикрытия объявляется приказом начальника региональной дирекции инфраструктуры, и в этом случае предупреждения на поезда не выдаются.
При открытии с обеих сторон ограждаемого места путевых постов движение поездов между этими постами производится по одному из применяемых средств сигнализации и связи без проводника. В отдельных случаях при этом для наблюдения за следованием поезда по огражденному месту с установленной скоростью может назначаться и проводник.
5. ПОРЯДОК ПРОИЗВОДСТВА РАБОТ В ПРЕДЕЛАХ СТАНЦИИ
5.1. На станционных путях запрещается производить путевые работы, требующие ограждения сигналами остановки или ограничения скорости движения поездов, без согласия дежурного по станции и без предварительной записи руководителем работ в Журнале осмотра путей, стрелочных переводов, устройств СЦБ, связи и контактной сети (далее - Журнал осмотра по
форме ДУ-46). На участках, оборудованных диспетчерской централизацией, такие работы должны выполняться с согласия поездного диспетчера.
При обнаружении на станции места внезапно возникшего препятствия или неисправности, угрожающей безопасности движения поездов, дорожный мастер (или бригадир пути) немедленно ограждает место сигналами остановки или сигналами уменьшения скорости. В Журнале осмотра делается запись о немедленном закрытии движения по месту препятствия или ограничению скорости по неисправности пути или стрелочных переводов.
Запись в Журнале осмотра об ограничении скорости движения поездов должна содержать слова "согласно выданному предупреждению", т.е. должна быть подана заявка на выдачу предупреждения порядком, указанным в
главе 8 настоящей Инструкции.
При выполнении работ по устранению внезапно возникших неисправностей запись о начале и окончании работ может заменяться регистрируемой в этом же журнале телефонограммой, передаваемой руководителем работ дежурному по станции (на участках с диспетчерской централизацией - поездному диспетчеру).
Ввод устройств в действие по окончании работ производится дежурным по станции на основании записи руководителя работ в Журнале осмотра или регистрируемой в том же журнале телефонограммой, переданной дежурному по станции с последующей личной подписью руководителя работ.
5.2. При ограждении на станционном пути препятствия или производства путевых работ сигналами остановки, движение поездов по путям и стрелочным переводам, на которых производятся эти работы, прекращается. Все ведущие к этому месту стрелки устанавливаются в такое положение, чтобы на него не мог выехать подвижной состав, и запираются на навесной замок или типовую скобу. На месте препятствия или производства путевых работ на оси пути устанавливается переносной красный сигнал.
В этом случае в Журнале осмотра руководителем путевых работ делаются записи применительно к
форме А (приложение 12). При ограждении места работ сигналами ограничения скорости движения поездов на главных, приемо-отправочных и других путях руководитель работ делает запись в Журнале осмотра применительно к
форме Б (приложение 12).
5.3. Порядок и время производства путевых работ, требующих закрытия станционных путей и стрелочных переводов, руководитель работ согласовывает с дежурным по станции, а при работах, при которых может быть нарушено действие устройств СЦБ - и с электромехаником или старшим электромехаником дистанции сигнализации, централизации и блокировки. При производстве путевых работ с закрытием или ограничением движения поездов силами ПЧ, ПМС или строительной организацией запись в журнале осмотров делается представителем дистанции пути по должности не ниже бригадира пути. В записи указывается вид и место работы, какие пути и стрелочные переводы, и с какого времени закрываются для движения или требуют ограничения скорости движения поездов, а также какие стрелки, ведущие к месту работы, и в каком положении должны быть заперты на замок или зашиты. Под записью расписывается дежурный по станции и, при необходимости, представитель ПЧ.
Для пропуска поезда по ремонтируемой стрелке, выключенной из централизации, она закрепляется и запирается порядком, изложенным в
п. 5.6 настоящей Инструкции и схемам, указанным в
приложениях 14,
16.
5.4. Дежурный по станции после ознакомления с содержанием записи представителя ПЧ в Журнале осмотра дает указания дежурным по постам, сигналистам, дежурным стрелочных постов, составителям, а через них и машинистам локомотивов, работающим на станции, о недопустимости заезда на те или иные пути или участки путей, об ограничении скорости или особой бдительности при следовании по путям, где производятся работы, а о предстоящем пропуске поездов и маневровых передвижениях заблаговременно информирует по парковой связи руководителя работ и работников, находящихся на станционных путях, или включает речевой информатор.
При приеме поездов на пути, где производятся работы, машинистам, в случае необходимости, выдаются предупреждения об ограничении скорости или принятия других мер предосторожности.
5.5. Об окончании работ их руководитель при выполнении работ силами дистанции пути или представитель начальника дистанции по должности не ниже дорожного мастера при выполнении работ силами ПМС или другой ремонтно-строительной организации делает запись в Журнале осмотра. При удаленности места работ от помещения дежурного по станции уведомление об окончании работ предварительно может быть передано телефонограммой с ближайшего поста дежурному по станции с последующим оформлением записи в Журнале осмотра. Телефонограмма регистрируется руководителем путевых работ в специальной книге, которая должна быть пронумерована и заверена подписью начальника ПЧ.
Телефонограмма должна иметь следующее содержание, например: "ДС Пушкино... числа,... месяца 20... г. в... ч... мин работа закончена: путь N... (стрелка N...) может быть открыт для движения поездов со скоростью... км/ч (установленной скоростью). ПД Иванов". Если место работ было ограждено входным сигналом, то в телефонограмме указывается о разрешении его открытия.
Дежурный по станции эту телефонограмму записывает в Журнале осмотра. Руководитель путевых работ или представитель ПЧ обязан в последующем расписаться в Журнале под содержанием этой телефонограммы.
Без телефонограммы или записи в Журнале осмотра руководителя путевых работ или представителя начальника дистанции пути дежурный по станции не имеет права принимать на станцию или отправлять с нее поезда, маршруты которых проходят по месту работ. Для возобновления производства путевых работ, прекращаемых для пропуска поездов, руководитель работ или представитель ПЧ вновь делает соответствующую запись в Журнале осмотра.
5.6. При производстве работ на централизованных стрелках, крестовинах с подвижным сердечником, стрелках, оборудованных ключевой зависимостью, а также на изолированных участках, если при этом нарушается действие устройств СЦБ (сплошная смена стрелочного перевода, смена отдельных частей стрелочного перевода, рамного рельса с остряком, первой соединительной тяги и ее серег, подвижного сердечника крестовины, двуплечих рычагов и первой рабочей тяги на стрелках с крестовинами с непрерывной поверхностью катания, сплошная смена рельсов), обязательно участие электромеханика (старшего электромеханика), который осуществляет и оформляет установленным порядком выключение из централизации, а также включение этих устройств в централизацию после окончания работ. Путевые работы по замене одиночного рельса, изолирующих деталей в изолирующих стыках, связных полосах и распорках стрелочных переводов, серьгах соединительных тяг остряков (кроме первой) в арматуре обдувки и обогрева стрелок производится по графику, согласованному с руководством дистанции сигнализации, централизации и блокировки с согласия дежурного по станции без выключения изолированного участка.
Работа по замене изолирующих деталей в серьгах первой соединительной тяги, контрольных тяг производится с участием электромеханика или электромонтера с оформлением записи в Журнале осмотра.
О характере производимых работ на стрелке, крестовине с подвижным сердечником и порядке движения поездов по ним дорожным мастером или бригадиром пути совместно с дежурным по станции делается соответствующая запись в Журнале осмотра по форме, указанной в
приложении 12. На основании этой записи электромеханик (старший электромеханик) выключает стрелку, а при необходимости и изолированный участок согласно
Инструкции по обеспечению безопасности движения поездов при производстве работ по содержанию и ремонту устройств СЦБ. Крепление остряка к рамному рельсу производится по схеме, указанной в
приложении 16 настоящей Инструкции.
Перед выключением из централизации стрелка должна закрепляться и запираться следующим образом:
с сохранением пользования сигналами (без разъединения остряков) - на типовую скобу
(приложение 16), закладку и навесной замок;
без сохранения пользования сигналами, если остряки отсоединены от электропривода (ручного переводного механизма) - на типовую скобу
(приложение 16), закладку и навесной замок;
без сохранения пользования сигналами, если остряки не отсоединены от электропривода (ручного переводного механизма) - на закладку и навесной замок.
Подвижной сердечник крестовины закрепляется устройством, предусмотренным проектом стрелочного перевода специально для фиксации остряков, и запирается на навесной замок.
При ремонте или неисправности стрелки, когда нарушается механическая связь между остряками (разъединение остряков), ее остряки закрепляются в нужном положении порядком, указанным в
приложении 15, и, кроме того, прижатый остряк запирается на закладку и навесной замок.
При выключении спаренных стрелок без сохранения пользования сигналами стрелка, на которой не производятся ремонтные работы, запирается на закладку и навесной замок, а с сохранением пользования сигналами - она закрепляется типовой скобой и запирается на закладку и навесной замок.
Ключ (ключи) от запертой стрелки (спаренных стрелок) в течение всего периода выключения должен храниться у дежурного по станции (работника, выделенного начальником станции для обслуживания стрелки, ответственного за обеспечение безопасности движения).
Закрепление стрелки типовой скобой при выполнении путевых работ производится работником службы пути с записью в Журнале осмотра (передачей соответствующей телефонограммы). Работник службы пути несет ответственность за надежность закрепления остряков (подвижного сердечника). Запирание стрелки на закладку и навесной замок производится работниками службы управления движением (начальником станции или его представителем), который несет ответственность за правильность положения остряков в маршруте и надежность запирания замком согласно указанию дежурного по станции.
Включение изолированного участка может быть произведено только после совместной проверки электромехаником и дорожным мастером (бригадиром пути) состояния рельсовой цепи (наличия и исправности необходимых типов соединителей, исправности изолирующих элементов стрелочного перевода, изолирующих стыков, подрезки балласта, чистоты головки рельсов и т.д.) и совместной проверки электромехаником и дежурным по станции контроля занятости всех ответвлений путем наложения испытательного шунта.
5.7. Производство путевых работ на станционных путях и стрелочных переводах и порядок их оформления на участках, оборудованных диспетчерской централизацией, устанавливаются специальной инструкцией, утверждаемой начальником дирекции управления движением.
6. ПОРЯДОК ОГРАЖДЕНИЯ МЕСТ ПРОИЗВОДСТВА РАБОТ НА СТАНЦИЯХ
6.1. Всякое препятствие для движения поездов по станционным путям и стрелочным переводам должно быть ограждено сигналами остановки независимо от того, ожидается поезд (маневровый состав) или нет.
На станционных путях при необходимости ограждения места производства путевых работ сигналами остановки путь для движения поездов закрывается, все ведущие к этому месту стрелочные переводы устанавливаются в такое положение, чтобы на него не мог попасть подвижной состав. Стрелочные переводы в таком положении запираются на замок или закрепляются порядком, предусмотренным в
приложениях 14 и
16. На месте производства работ по оси пути устанавливается переносной красный сигнал (рисунок 6.1, а).
а)
Рисунок 6.1. Схема ограждения мест производства работ
на станции, требующих остановки поездов:
а - ведущие к месту производства работ стрелки заперты;
б - остряки стрелок направлены в сторону производства работ
и не заперты; в - остряки стрелочных переводов расположены
ближе 50 м от места производства работ; г - на стрелочном
переводе; д - на стрелочном переводе, когда расположенная
вблизи другая стрелка запирается, чтобы на стрелочный
перевод, где производятся работы, не попал подвижной
состав; е - на стрелочном переводе, когда расположенную
вблизи другую стрелку нельзя запереть так,
чтобы на стрелочный перевод, где производятся работы,
не попал подвижной состав; ж - на входном стрелочном
переводе; з - на выходном стрелочном переводе на двухпутном
участке; и - между выходным стрелочным переводом и входным
сигналом; к - между выходным стрелочным переводом
и знаком "Граница станции" двухпутного участка
Если какие-либо из этих стрелочных переводов направлены остряками в сторону места работ и не имеют возможности изолировать путь, то такое место с обеих сторон ограждается переносными красными сигналами, устанавливаемыми на расстоянии 50 м от границ участка работ
(рисунок 6.1, б).
В том случае, когда остряки стрелочных переводов расположены ближе 50 м от места производства работ, между остряками каждого такого стрелочного перевода устанавливается переносной красный сигнал
(рисунок 6.1, в). При ограждении места производства работ на стрелочном переводе переносные красные сигналы устанавливаются: со стороны крестовины - против предельного столбика на оси каждого из сходящихся путей, с противоположной стороны - в 50 м от остряка стрелки
(рисунок 6.1, г).
Если вблизи от стрелочного перевода, подлежащего ограждению, расположена другая стрелка, которую можно поставить в такое положение, что на стрелочный перевод, где выполняются работы или имеется препятствие, не может выехать подвижной состав, то стрелка в таком положении запирается или зашивается. В этом случае переносной красный сигнал со стороны такой изолирующей стрелки не ставится
(рисунок 6.1, д). Когда стрелку в указанное положение поставить нельзя, то на расстоянии 50 м от места работ в направлении к этой стрелке, а при недостаточном расстоянии - против предельного столбика по оси каждого из сходящихся путей устанавливается переносной красный сигнал
(рисунок 6.1, е).
На однопутном перегоне место препятствия или производства путевых работ на входном стрелочном переводе ограждается со стороны перегона закрытым входным сигналом, а со стороны станции - переносными красными сигналами, устанавливаемыми на оси каждого из сходящихся путей против предельного столбика
(рисунок 6.1, ж).
Если работы выполняются на выходном стрелочном переводе двухпутного участка, то переносной красный сигнал со стороны перегона устанавливается по оси пути против знака "Граница станции"
(рисунок 6.1, з) за исключением станций, имеющих входные светофоры по неправильному пути. В последнем случае стрелочный перевод ограждается входным светофором. Со стороны станции переносные красные сигналы устанавливаются по оси каждого из сходящихся путей против предельного столбика.
На однопутном перегоне место путевых работ между входным стрелочным переводом и входным сигналом ограждается со стороны перегона закрытым входным сигналом, а со стороны станции - переносным красным сигналом, устанавливаемым между остряками входного стрелочного перевода
(рисунок 6.1, и).
Если путевые работы выполняются на двухпутном перегоне между выходным стрелочным переводом и знаком "Граница станции", то переносные красные сигналы устанавливаются со стороны перегона против знака "Граница станции", а со стороны станции - между остряками выходного стрелочного перевода
(рисунок 6.1, к). В том случае, когда станция имеет входной светофор по неправильному пути, то со стороны перегона место работ ограждается закрытым входным сигналом.
Рисунок 6.2. Схема ограждения мест производства работ
на станции, требующих следования поездов
с уменьшенной скоростью:
а - на однопутном участке на главном пути станции,
когда расстояние от сигнального знака "Начало опасного
места" ("Конец опасного места") до входного сигнала более
или равно А; б - на однопутном участке на главном пути
станции, когда расстояние от сигнального знака "Начало
опасного места" ("Конец опасного места") до входного
сигнала менее А; в - на двухпутном участке на главном
пути станции, когда расстояние от сигнального знака
"Начало опасного места" ("Конец опасного места") до знака
"Граница станции" более или равно А; г - на двухпутном
участке на главном пути станции, когда расстояние
от сигнального знака "Начало опасного места" ("Конец
опасного места") до входного сигнала (знака "Граница
станции") менее А; д - на стрелочном переводе;
е - на остальных станционных путях или находящихся
на них стрелочных переводах
6.2. В пределах станции места, требующие ограничения скорости движения поездов, ограждаются следующим порядком:
место работ на главном и приемо-отправочном пути станции, предназначенном для безостановочного пропуска поездов ограждается переносными сигналами уменьшения скорости и сигнальными знаками "Начало опасного места" и "Конец опасного места" (
рисунок 6.2, а,
в);
если расстояние от сигнального знака "Начало опасного места" ("Конец опасного места") до входного сигнала (знака "Граница станции") более или равно А, то сигнал уменьшения скорости устанавливается у входного сигнала (знака "Граница станции") (
рисунок 6.2, а,
в). При этом на станциях, имеющих маршрутные сигналы на главных путях, сигнал уменьшения скорости устанавливается не у входного сигнала, а у маршрутного, если расстояние от сигнального знака "Начало опасного места" до этого сигнала будет более или равно А;
если расстояние от сигнального знака "Начало опасного места" ("Конец опасного места") до входного сигнала (знака "Граница станции") менее А, то сигнал уменьшения скорости устанавливается на перегоне на расстоянии А от сигнального знака "Начало опасного места" ("Конец опасного места") (
рисунок 6.2, б,
г);
если место, требующее уменьшения скорости расположено на стрелочном переводе, то сигнальные знаки "Начало опасного места" и "Конец опасного места" ставятся по прямому и боковому путям
(рисунок 6.2, д), а сигналы уменьшения скорости устанавливаются указанным выше порядком.
Место работ, требующее ограничения скорости, на остальных станционных путях или находящихся на них стрелочных переводах ограждается только переносными сигналами уменьшения скорости, которые устанавливаются напротив остряков стрелок, ведущих к этому месту
(рисунок 6.2, е).
6.3. При производстве путевых работ в пределах станции сигнальные знаки "С" не применяются. Порядок оповещения работающих о движении поездов и маневровых составов на станции устанавливает начальник региональной дирекции по управлению движением.
7. ПОРЯДОК ОГРАЖДЕНИЯ МЕСТ ВНЕЗАПНО ВОЗНИКШЕГО ПРЕПЯТСТВИЯ
ДЛЯ ДВИЖЕНИЯ ПОЕЗДОВ
7.1. Работники железнодорожного транспорта обязаны подавать сигнал остановки поезду или маневрирующему составу и принимать другие меры к их остановке в случаях, угрожающих жизни и здоровью людей или безопасности движения. При обнаружении неисправности сооружений или устройств, создающих угрозу безопасности движения или загрязнения окружающей природной среды, работники должны немедленно принимать меры к ограждению опасного места и устранению неисправности.
7.2. Обходчики искусственных сооружений, монтеры пути, назначаемые для осмотра, и другие работники железной дороги, производящие осмотры пути и имеющие сигнальные приборы и принадлежности, при обнаружении на перегоне внезапно возникшего препятствия для движения поездов (лопнувший рельс, размыв пути, обвал, снежный занос и т.д.) и при отсутствии на месте необходимых переносных сигналов должны немедленно на месте препятствия установить сигнал остановки (днем - красный флаг, ночью - фонарь с красным огнем). Затем сигналом общей тревоги (один длинный и три коротких звука духового рожка), подаваемым непрерывно, вызывать на помощь другого работника железной дороги или же проходящих людей и в зависимости от обстоятельств поступать следующим образом.
7.2.1. Когда имеется твердая уверенность, с какой стороны должен быть первый поезд, тогда необходимо идти навстречу поезду и, пройдя от места препятствия расстояние Б (
п. 4.2 настоящей Инструкции), установленное начальником региональной дирекции инфраструктуры для данного перегона, уложить петарды, после чего уложить петарды с другой стороны препятствия на расстоянии Б от него и вернуться к месту препятствия.
7.2.2. Если подход поезда неизвестен, то следует:
на однопутном участке немедленно на месте препятствия установить сигнал остановки (днем - красный флаг, ночью - фонарь с красным огнем), укрепить его имеющимися средствами, затем уложить в первую очередь петарды на расстоянии Б со стороны спуска к месту препятствия, а на площадке - со стороны худшей видимости (кривая, выемка и др.), затем уложить петарды с другой стороны препятствия на расстоянии Б от него и вернуться к месту препятствия; при одинаковых условиях на подходах оставаться на месте препятствия;
на двух- и многопутном участках при препятствии на одном пути немедленно на месте препятствия установить сигнал остановки (днем - красный флаг, ночью - фонарь с красным огнем), укрепить его имеющимися средствами, затем идти от него в сторону ожидаемого поезда правильного направления и уложить петарды на расстоянии Б, затем уложить петарды с другой стороны препятствия (со стороны неправильного направления) на том же расстоянии и вернуться к месту препятствия; при препятствии на двух и более путях оставаться у места препятствия.
7.2.3. Уходя с места препятствия для укладки петард, необходимо непрерывно подавать сигнал общей тревоги (один длинный и три коротких звука духового рожка), а на месте препятствия оставить красный сигнал (днем - красный флаг, ночью фонарь с красным огнем), укрепив его имеющимися средствами. Красный огонь фонаря должен быть направлен в сторону, противоположную той, куда идет работник железной дороги укладывать петарды. При наличии фонаря с двухсторонним красным светом красный огонь фонаря должен быть направлен в обе стороны.
Если во время следования к месту укладки петард обходчик искусственных сооружений, монтер пути или другой работник, производящий осмотр пути и имеющий сигнальные приборы и принадлежности, услышит или заметит приближающийся поезд, то он должен бежать навстречу поезду, подавая сигнал остановки любым способом (днем - красным флагом или рукой, ночью - красным огнем фонаря), и уложить петарды в том месте, где успеет.
7.2.4. Во всех случаях, когда обходчик искусственных сооружений, монтер пути, назначенный для осмотра, или другой работник, производящий осмотр пути и имеющий сигнальные приборы и принадлежности, остается у места препятствия, он продолжает подавать сигнал общей тревоги и должен прислушиваться и смотреть, не приближается ли поезд. При плохой видимости с места препятствия в выемке можно подняться наверх ее откоса.
Услышав или увидев приближающийся поезд, взять с собой красный сигнал и бежать навстречу поезду, подавая сигнал остановки, и уложить петарды в том месте, где успеет. При одновременном приближении поездов с обеих сторон при препятствии для движения на обоих путях двухпутного участка необходимо бежать навстречу тому поезду, который раньше подойдет к месту препятствия.
7.2.5. Если на сигнал тревоги явится работник железной дороги, имеющий при себе петарды и ручные сигналы, то обнаруживший препятствие обходчик, монтер пути или другой работник, производивший осмотр пути, на месте препятствия устанавливает сигнал остановки, после чего с прибывшим работником ограждают препятствие с обеих сторон петардами на расстоянии Б и остаются у петард в ожидании поезда (рисунок 7.1).
Рисунок 7.1. Схема ограждения мест внезапно возникшего
препятствия для движения поездов
7.2.6. Если прибывший на сигнал тревоги работник не имеет петард и ручных сигналов, то после того как будет установлен сигнал остановки на месте препятствия, монтер пути или другой работник, производивший осмотр пути, выдает прибывшему три петарды, а в дневное время - также и желтый флаг (оставляя красный на месте препятствия), разъясняет порядок укладки петард и подачи сигнала остановки, после чего оба ограждают место препятствия с обеих сторон, укладывая петарды на расстоянии Б, и остаются у петард в ожидании поезда.
7.2.7. Если на сигнал тревоги явится второй работник железной дороги или лицо, не работающее на транспорте, то необходимо послать его за ближайшим бригадиром пути или дорожным мастером.
При наличии на перегоне средств связи (телефон, радио) следует по возможности использовать их для сообщения о случившемся дежурному по станции, поездному диспетчеру, дорожному мастеру или бригадиру пути.
7.2.8. Остановив приближающийся поезд, необходимо предупредить о препятствии машиниста. Место препятствия должно быть осмотрено совместно с машинистом, если по нему можно пропустить поезд (при отсутствии бригадира пути вопрос о возможности пропуска поезда решается машинистом), то поезд пропускается со скоростью 5 км/ч.
Если поезд остановлен у лопнувшего рельса, по которому согласно заключению бригадира пути, а при его отсутствии - машиниста локомотива, возможно пропустить поезд, то по нему разрешается пропустить только один первый поезд. По лопнувшему рельсу в пределах моста и тоннеля пропуск поездов во всех случаях запрещается.
При сквозном поперечном изломе рельсовой плети бесстыкового пути, если образовавшийся зазор менее 40 мм, до вырезки дефектного места допускается концы плети соединить накладками, сжатыми струбцинами (утвержденного типа). В этом случае поезда в течение 3 ч пропускаются по дефектной плети со скоростью не более 25 км/ч. Такой стык должен находиться под непрерывным наблюдением специально выделенного работника.
7.3. При препятствии на одном пути двух- или многопутного участка необходимо остановить поезд, следующий по соседнему пути, и заявить машинисту локомотива о наличии препятствия с указанием километра, пикета и пути.
Машинист локомотива этого поезда должен остановить встречный поезд и предупредить о наличии препятствия для движения. Этот же машинист обязан сообщить дежурному по ближайшей станции или поездному диспетчеру о наличии (с указанием километра, пикета и пути) лопнувшего рельса или другого препятствия для движения. При наличии поездной радиосвязи сообщение об обнаружении препятствия машинист должен передать по радиосвязи дежурному по ближайшей железнодорожной станции или поездному диспетчеру, а при необходимости, и машинисту поезда, следующего по смежному пути.
7.4. При возникновении на переезде неисправности пути, угрожающей безопасности движения поездов, а также при загромождении переезда свалившимся грузом или остановившимся транспортным средством дежурный по переезду поступает согласно
Инструкции по эксплуатации железнодорожных переездов и местной инструкции.
7.5. При обнаружении препятствий, угрожающих безопасности движения поездов, на мосту, в тоннеле или на обвальном участке обходчики искусственных сооружений поступают следующим образом:
если мост, тоннель или обвальный участок оборудованы заградительной светофорной сигнализацией, то обходчик немедленно включает в действие заградительные светофоры, а в случае приближения поезда бежит навстречу ему, подавая сигнал остановки, и укладывая петарды в том месте, где успеет;
если мост, тоннель или обвальный участок не оборудованы заградительной светофорной сигнализацией, то он поступает согласно требованиям
пп. 7.2 -
7.3 настоящей Инструкции, используя при этом для ограждения на охраняемых объектах помощь личного состава военизированной охраны порядком, установленным для каждого объекта начальником железной дороги.
При ограждении препятствия на мосту (в тоннеле) местом препятствия считается полная длина моста (тоннеля).
7.6. Дежурные по переезду, обходчики искусственных сооружений и монтеры пути, назначаемые для осмотра пути, во время дежурства должны иметь необходимые сигнальные приборы и принадлежности, перечень которых для работников путевого хозяйства изложен в
приложении 17 настоящей Инструкции.
7.7. Если обходчик искусственных сооружений, дежурный по переезду или любой другой работник железной дороги заметят в поезде неисправность, требующую остановки поезда (колеса, идущие юзом; колеса, которые издают сильные удары из-за ползунов; пожар; горение букс; падение с поезда человека или груза; неправильное положение груза, могущее вызвать аварию и др.), то они обязаны принять меры к остановке поезда.
После проследования поезда, имевшего в своем составе колесную пару с ползуном (выбоиной) размером более 2 мм, осуществляется осмотр рельсов и стрелочных переводов на участках прохода такой колесной пары.
При этом перегоны для движения поездов впредь до окончания осмотра закрываются в случаях:
если в пути лежат рельсы и стрелочные переводы типа Р43 и легче;
если в пути лежат рельсы и стрелочные переводы типа Р50 и тяжелее, пропустившие тоннаж сверх нормативного;
при температуре воздуха минус 10 °C и ниже в случае прохода колесной пары с ползунами (выбоинами) 3 мм и более в рельсах Р50, 4 мм и более в рельсах Р65 и Р75;
при температуре воздуха выше минус 10 °C в случаях прохода колесной пары с ползунами (выбоинами) 4 мм и более в рельсах Р50, 5 мм и более в рельсах Р65 и Р75.
В остальных случаях впредь до окончания осмотра устанавливается скорость движения поездов 40 км/ч. При обнаружении поврежденных ползуном рельсов и стрелочных переводов порядок следования поездов впредь до их замены устанавливается работником по должности не ниже бригадира пути.
8. ПОРЯДОК ВЫДАЧИ ПРЕДУПРЕЖДЕНИЙ
8.1. В случаях, когда при следовании поездов необходимо обеспечить особую бдительность локомотивных бригад и предупредить их о производстве работ или возникших препятствиях, на поезда выдаются письменные предупреждения.
Предупреждения выдаются:
при неисправности пути, устройств контактной сети, переездной сигнализации, искусственных и других сооружений, а также при производстве ремонтных и строительных работ, требующих ограничения скорости или остановки в пути;
при вводе в действие новых видов средств сигнализации и связи, а также при включении новых, перемещении или упразднении существующих светофоров;
при неисправности путевых устройств автоматической локомотивной сигнализации;
при отправлении поезда с грузами, выходящими за пределы габарита погрузки, когда при следовании этого поезда необходимо ограничить скорость или соблюдать особые условия;
при работе на двухпутном перегоне снегоочистителя, балластера, путеукладчика, подъемного крана, щебнеочистительной и других машин;
при постановке в поезд железнодорожного подвижного состава, который не может следовать со скоростью, установленной для данного участка;
при работе съемных подвижных единиц, а также при перевозке на путевых вагончиках тяжелых грузов;
во всех других случаях, когда требуется уменьшение скорости или остановка поезда в пути, а также когда необходимо предупредить локомотивные бригады об особых условиях следования поезда.
Выдача предупреждений на поезда производится в соответствии с порядком, установленным
Инструкцией по движению поездов и маневровой работе.
8.2. Все предупреждения подразделяются на три вида:
действующие с момента установления до отмены, когда соответствующий руководитель по условиям производства работ не может определить точного срока их окончания;
действующие в течение определенного, установленного руководителем работ срока, указываемого в заявке на выдачу предупреждения;
устанавливаемые для отдельных поездов при необходимости соблюдения особых условий их пропуска (наличие в поезде груза или подвижного состава, который не может следовать с установленной скоростью, при назначении не предусмотренных расписанием остановок и т.д.).
8.3. Заявки о выдаче предупреждений в связи с предстоящим производством плановых путевых работ даются:
дорожными мастерами - на время производства работ, но не более чем на 12 часов;
начальниками дистанции пути - на срок до 5 суток;
заместителями начальников службы пути региональной дирекции инфраструктуры с подтверждением начальника службы пути - на срок до 10 суток.
Не предусмотренные графиком движения поездов предупреждения на более длительные сроки устанавливаются начальником дирекции инфраструктуры. При этом в приказе об установлении предупреждения может быть предоставлено соответствующим работникам право отмены предупреждения после выполнения необходимых работ и восстановления условий для пропуска поездов с нормальной скоростью. Предупреждения, устанавливаемые начальником дирекции инфраструктуры, должны оформляться при поступлении заявки в суточный срок.
Дорожные мастера дают заявки о выдаче предупреждений в следующих случаях:
при работе съемных подвижных единиц (порядок пользования дрезинами, путевыми вагончиками и другими съемными единицами представлен в
разделе 10, а их ограждение сигналами - в
приложении 18);
при перевозке на путевых вагончиках тяжелых грузов, когда на двух- и многопутных перегонах выгружаются материалы на междупутье или когда производится погрузка или выгрузка грузов с поезда, стоящего на соседнем пути;
при работе бригад в условиях плохой видимости с инструментом (электрическим, пневматическим и другим), ухудшающим слышимость;
перед началом производства работ в темное время суток, во время тумана, метели.
Дорожными мастерами, кроме того, даются заявки о выдаче предупреждений в связи с предстоящим производством плановых работ, руководить которыми имеет право бригадир пути или монтер пути в соответствии с перечнем работ, указанным в
таблице 2.7.
8.4. При обнаружении во время проверки пути путеизмерительным или дефектоскопным вагонами, путеизмерительными дефектоскопными мотрисами, мест, угрожающих безопасности движения поездов, заявки на выдачу предупреждений выдаются начальниками этих вагонов, автомотрис или их заместителями.
В случаях, когда с места дать эту заявку не представляется возможным, то для принятия мер по обеспечению безопасности движения поездов (ограждения опасного места, организации работ по устранению отступлений) из путеизмерительного или дефектоскопного вагона высаживается работник дистанции пути, а заявка на выдачу предупреждения или закрытие движения дается по прибытии на станцию, ограничивающую перегон.
8.5. Для выполнения непредвиденных работ по устранению обнаруженных неисправностей пути и сооружений, угрожающих безопасности движения и требующих ограждения сигналами остановки (одиночная смена дефектного рельса, накладок, рамных рельсов с остряками, элементов уравнительных приборов, крестовин, исправление пути на пучинах и т.д.) или сигналами уменьшения скорости, заявки на выдачу предупреждений даются дорожным мастером (при его отсутствии бригадиром пути) с последующим сообщением об этом начальнику дистанции пути.
Руководители работ от ПМС и ремонтно-строительных организаций, выполняющих работы с нарушением целостности пути и сооружений или с нарушением габарита, получают разрешение на производство работ от начальника дистанции пути; последний сам или через уполномоченного им дорожного мастера дает заявки на выдачу и отмену предупреждений, связанных с производством этих работ.
8.6. При возникновении непредвиденных обстоятельств, угрожающих безопасности движения, заявка о выдаче предупреждений передается непосредственно дежурным по станциям, ограничивающим перегон (или одну из этих станций), а на участках с диспетчерской централизацией - поездному диспетчеру. Порядок действий поездного диспетчера, дежурного по станции после получения такой заявки определен в
Инструкции по движению поездов и маневровой работе на железных дорогах Российской Федерации
[3].
Работы по устранению непредвиденных, опасных для движения поездов неисправностей пути, сооружений и устройств, а также связанные с этим передвижения специального самоходного подвижного состава и съемных единиц должны осуществляться немедленно по обнаружении неисправности после соответствующего ограждения места работ. При необходимости выдачи предупреждений, заявки на их выдачу оформляются установленным порядком.
8.7. Заявки на выдачу предупреждений даются письменно, телеграммой, телефонограммой в адрес дежурных по станциям выдачи предупреждений, установленным начальником региональной дирекции управления движением, дежурным по станциям, ограничивающим перегон, на котором устанавливается предупреждение, а на участках с диспетчерской централизацией - также и поездному диспетчеру. Формы заявок на выдачу предупреждений приведены в
приложении 8 настоящей Инструкции.
Письменная заявка, поданная на одну из перечисленных станций, должна быть подтверждена лицом, подписавшим ее, телеграммой или телефонограммой в другие установленные адреса.
Если заявка о выдаче предупреждений делается начальником дистанции пути или другим вышестоящим руководителем, то копия ее адресуется руководителю работ.
Все заявки и телеграммы о предупреждениях (в том числе переданные приказом ДНЦ) дежурным по станциям или оператором при ДСП станции записываются в специальную книгу предупреждений и нумеруются. Нумерация предупреждений ведется помесячно с первого номера, начиная с нуля часов каждого первого числа месяца.
8.8. Телеграммы (телефонограммы) с заявками на выдачу плановых предупреждений должны подаваться с таким расчетом, чтобы дежурным по станции выдачи предупреждений они были получены не позже чем за 3 ч до начала действия предупреждения, а на направлениях, где поезда следуют без остановки более 3 ч, - не позже времени, устанавливаемого начальником региональной дирекции управления движением.
Каждая заявка на выдачу или отмену предупреждения должна оформляться отдельной телеграммой (телефонограммой) и доставляться ДСП станции выдачи предупреждений в письменном виде.
8.9. Порядок передачи заявок, телеграмм или телефонограмм об установлении и отмене предупреждений, обеспечивающий своевременную доставку заявок, телеграмм и телефонограмм в установленные адреса, устанавливается начальником региональной дирекции управления движением.
8.10. Руководителю работ запрещается приступать к работам, а ответственному за безопасное проведение работ давать разрешение о начале работ, не убедившись через поездного диспетчера или дежурного по станции, что на поезда выдаются предупреждения.
Подтверждением о принятии заявки к исполнению являются:
копия телеграммы (телефонограммы) с указанием времени приема и распиской работника телеграфа (дежурного по станции, где телеграфа нет) о принятии телеграммы для передачи в установленные адреса или зафиксированное телефонограммой время ее передачи в установленные адреса с указанием должности и фамилии работника, принявшего эту телефонограмму;
расписка дежурного по станции выдачи предупреждения в получении письменной заявки или расписка дежурного по этой станции в Книге предупреждений под записью работника, сделавшего заявку.
8.11. В заявке о выдаче предупреждений должны указываться:
точное обозначение места действия предупреждения (перегон, станция, номер пути, стрелки, километр и пикет действия предупреждения);
меры предосторожности при движении поездов;
начало и срок действия предупреждения;
причины выдачи предупреждения.
8.12. Предупреждения, устанавливаемые до отмены, выдаются на поезда впредь до получения извещения об отмене.
Предупреждения, устанавливаемые на определенный срок, выдаются на поезда только в течение этого срока. Заявки об отмене таких предупреждений не даются, и выдача их на поезда прекращается, если от руководителя работ не будет получено извещение о необходимости продления установленного срока действия предупреждения.
Когда руководитель путевых работ по каким-либо причинам не может закончить в срок указанные в заявке работы, вызвавшие предупреждение, он обязан до окончания этого срока выслать к выставленным переносным сигналам уменьшения скорости (щитов желтого цвета) сигналистов и известить дежурных по станциям, ограничивающим перегон, о продлении действия предупреждения с указанием нового срока окончания работ.
Дежурный по станции, получивший такую заявку, обязан действовать в соответствии с
Инструкцией по движению поездов и маневровой работе на железных дорогах Российской Федерации
[3].
8.13. Предупреждение, установленное впредь до отмены, имеет право отменить только тот работник, которым оно установлено, или непосредственный его начальник.
Должностные лица, устанавливающие предупреждение, могут поручить подчиненным им руководителям линейных подразделений после выполнения соответствующих работ произвести отмену установленных предупреждений или повысить установленную предупреждением скорость движения поездов. О таком поручении должно быть указано в заявке на выдачу предупреждения.
8.14. Предупреждения, установленные до отмены, после устранения вызвавших их причин, отменяются немедленно подачей телеграммы (телефонограммы) в те же адреса, что и при назначении предупреждений.
Отмена предупреждения может быть произведена также письменно или записью в Книге предупреждений на станции их выдачи лицом, заявляющим отмену, с указанием месяца, числа и времени отмены и с последующим подтверждением этой записи телеграммой (телефонограммой) в установленные адреса.
Отмену предупреждений, выдаваемых по заявке начальника путеизмерительного и дефектоскопного вагона, путеизмерительной и дефектоскопной автомотрисы производит начальник дистанции пути или его заместитель.
8.15. На участках, оборудованных поездной радиосвязью, уведомление об окончании работ ранее срока, указанного в предупреждении, или о повышении установленной предупреждением скорости может быть передано машинисту локомотива по радиосвязи регистрируемым приказом поездного диспетчера.
При отсутствии радиосвязи приказ диспетчера об отмене предупреждения может быть передан машинисту также через дежурного по ближайшей станции, на которой поезд имеет остановку.
8.16. Приказы начальника региональной дирекции инфраструктуры о предупреждениях адресуются начальникам соответствующих структурных подразделений и должны быть немедленно объявлены под расписку поездным диспетчерам, машинистам-инструкторам, поездным машинистам и машинистам (водителям) специального самоходного подвижного состава, дежурным по станциям, дорожным мастерам и бригадирам пути, связанным с обслуживанием участков, на которых устанавливается предупреждение.
Эти приказы вывешиваются в помещениях дежурных по станциям, дежурных по локомотивным депо, а также вклеиваются в Книгу предупреждений, а выписки из них выдаются машинистам поездных локомотивов, машинистам (водителям) специального самоходного подвижного состава.
Руководители структурных подразделений региональной дирекции инфраструктуры и руководители организаций - владельцев специального самоходного подвижного состава по получении приказа в трехсуточный срок обязаны уведомить начальников станций выдачи предупреждений об ознакомлении локомотивных бригад с приказом начальника региональной дирекции инфраструктуры, после чего выдача письменных предупреждений на поезда прекращается. В этот же срок начальники дистанций пути обязаны заменить переносные сигнальные знаки постоянными дисками уменьшения скорости и постоянными сигнальными знаками "Начало опасного места" и "Конец опасного места" (
приложения 4,
5).
8.17. Машинисты локомотивов (моторвагонных поездов, специального самоходного подвижного состава) при следовании по участку должны руководствоваться выданными предупреждениями и внимательно следить за переносными сигналами, установленными на путях.
При следовании поезда по месту работ в период, указанный в предупреждении, установленная предупреждением скорость должна соблюдаться независимо от наличия сигналов ограждения.
В случае отсутствия сигналов ограждения машинист локомотива (моторвагонного поезда, ССПС) обязан сообщить об этом поездному диспетчеру или дежурному по станции, ограничивающей перегон, для принятия мер к устранению данного нарушения.
При прохождении места работ ранее или позднее указанного в предупреждении срока и отсутствии на путях сигналов остановки или уменьшения скорости, скорость следования поезда не снижается.
Независимо от наличия предупреждений и сигналов на пути при следовании во время ливневых дождей по опасным местам, указанным в специальном приказе начальника железной дороги (начальника региональной дирекции инфраструктуры), локомотивные бригады должны проявлять особую бдительность и при необходимости снижать скорость.
8.18. При получении от любого лица заявления о замеченной им на перегоне или станции неисправности пути, контактной сети, сооружений или устройств дежурный по станции обязан записать его в Журнал осмотра и немедленно поставить в известность поездного диспетчера, дежурного по соседней станции и работника, обслуживающего устройства (дорожного мастера, электромеханика СЦБ, электромеханика контактной сети, электромонтера контактной сети, энергодиспетчера и др.).
Если неисправность будет обнаружена машинистом локомотива (моторвагонного поезда, специального самоходного подвижного состава), следующего по перегону, то он обязан снизить скорость, а при необходимости и остановить поезд, объявить об этом по поездной радиосвязи машинистам следующих за ним поездов, дежурному по ближайшей станции или поездному диспетчеру, указав характер неисправности и место (номер пути, километр, пикет), на котором она обнаружена.
Если полученное дежурным по станции заявление (от машиниста локомотива или другого лица) свидетельствует о наличии препятствий для нормального движения поездов, то он обязан принять меры к передаче указанного заявления машинистам поездов, следующих по перегону, а когда характер заявления свидетельствует о невозможности движения поездов - запретить им дальнейшее движение впредь до получения уведомления об устранении препятствия. Не ожидая приказа о закрытии перегона (пути), дежурный по станции обязан также передать дежурному по соседней станции указание о запрещении отправления на перегон других поездов.
Машинисты локомотивов поездов и ССПС, находящихся на перегоне, в зависимости от полученного сообщения обязаны проследовать опасное место с особой бдительностью, при необходимости с пониженной скоростью и готовностью остановиться или же остановить поезд и возобновить движение лишь после получения уведомления об устранении препятствия.
Первый поезд на перегон, с которого получено заявление о наличии препятствия для безопасного движения поездов, может быть отправлен только в сопровождении дорожного мастера или при его отсутствии - бригадира пути, а при повреждениях контактной сети - электромонтера контактной сети.
При нахождении дорожного мастера или бригадира пути на перегоне, когда их местонахождение известно, машинисту поезда выдается предупреждение об остановке и посадке этих работников для сопровождения поезда по опасному месту. В предупреждении указывается об остановке в пределах километра, предшествующего тому, на котором обнаружена неисправность, и дальнейшем следовании по указанию работника, сопровождающего поезд или находящегося в районе опасного места.
Сопровождающий поезд работник, устанавливает порядок пропуска последующих поездов, а при необходимости установленным порядком дает заявку о выдаче на поезда предупреждений.
8.19. Выдача и отмена предупреждений организуется с помощью автоматизированного рабочего места диспетчера дистанции пути (АРМ ДПЧ). АРМ ДПЧ функционирует как линейный терминал Автоматизированной системы учета выдачи и отмены предупреждений (АСУВОП).
В режиме формирования заявки на предупреждение в базу данных АСУВОП передаются данные о дате начала действия предупреждения, месте производства работ. В АРМ ДПЧ из АСУВОП поступает сообщение о номере и дате выдачи предупреждения.
9. ПОРЯДОК ВСТРЕЧИ ПОЕЗДОВ ДЕЖУРНЫМИ ПО ПЕРЕЕЗДАМ
И ДРУГИМИ РАБОТНИКАМИ ПРИ ОСМОТРЕ ЖЕЛЕЗНОДОРОЖНОГО ПУТИ
9.1. Обходчики искусственных сооружений, монтеры пути, назначаемые для осмотра, и дежурные по переезду при нахождении на работе должны встречать поезда. Бригадиры пути, дорожные мастера и другие руководители путевых работ встречают поезда во всех случаях, когда они руководят путевыми работами.
9.2. На перегонах обходчики искусственных сооружений и монтеры пути, назначаемые для осмотра, для встречи поездов должны во всех случаях заблаговременно сходить на обочину (на мостах длиной более 50 м - на специальные площадки, в тоннелях длиной более 50 м - в ниши), когда поезд находится от них на расстоянии не менее 400 м при скоростях до 140 км/ч, а на участках со скоростями движения более 140 км/ч - за 10 мин до прохода скоростного поезда.
Встречать поезда следует с правой стороны по ходу поезда (в кривых участках пути однопутных линий - с внутренней стороны кривой на расстоянии не ближе 2 м, а на участках со скоростями движения 141 - 200 км/ч - не ближе 5 м, от крайнего рельса лицом к пути с полуоборотом головы навстречу движению).
В том случае, когда вслед за проходом поезда по одному пути проходит поезд встречного направления по другому пути, а также в других случаях, когда обходчик, монтер пути, назначаемый для осмотра, не имеют возможности заблаговременно перейти через путь, разрешается встречать поезд с левой стороны по ходу поезда.
Дежурный по переезду должен встречать поезда, как правило, у здания переездного поста, лицом к пути с полуоборотом головы навстречу движению.
| | ИС МЕГАНОРМ: примечание. Текст дан в соответствии с официальным текстом документа. | |
В тех случаях, когда дежурный по переезду, работая на пути или переезде, не имеет возможности заблаговременно перейти путь или подойти к установленному для встречи поездов месту, ему разрешается встречать поезд с любой стороны пути, находясь на расстоянии не ближе 2 м, а на участках со скоростями движения 141 - 200 км/ч - не ближе 5 от крайнего рельса лицом к пути с полуоборотом головы навстречу движению.
Монтер пути, назначаемый для осмотра, или дежурный по переезду, встречая проходящий поезд, одиночно следующий локомотив, дрезину или путевой вагончик, обязаны подавать сигнал рожком (один длинный звук при приближении указанных подвижных единиц нечетного направления и два длинных звука при приближении указанных единиц четного направления) и показывать требуемый сигнал (при свободности пути: днем - желтый свернутый флаг, ночью - прозрачно-белый огонь ручного фонаря; при необходимости уменьшения скорости: днем - желтый развернутый флаг, ночью - медленное движение вверх и вниз фонаря с прозрачно-белым огнем).
В местах, ограждаемых сигналами остановки или уменьшения скорости, обходчик, монтер пути, назначаемый для осмотра, или дежурный по переезду встречают поезда днем и ночью с сигналами соответствующими установленным на пути.
Встречая поезд, обходчик, монтер пути, назначаемый для осмотра, или дежурный по переезду обязаны наблюдать за состоянием поезда и при обнаружении неисправности, угрожающей безопасности движения, принять меры к остановке поезда.
Пропустив поезд, обходчик, монтер пути, назначаемый для осмотра, или дежурный по переезду, оставаясь на прежнем месте, поворачиваются в сторону уходящего поезда для продолжения его осмотра и показывают соответствующий сигнал. Пропустив поезд и убедившись в его исправности, а также в отсутствии поезда встречного направления, обходчик, монтер пути, назначаемый для осмотра, или дежурный по переезду возвращаются к своей прежней работе.
После прохода путевого вагончика, путевой тележки или съемной дрезины обходчик, монтер пути, назначаемый для осмотра, или дежурный по переезду должны заменить желтый сигнал красным и держать его до тех пор, пока не покажется сигналист, ограждающий вагончик или тележку сзади, или пока дрезина, тележка не удалятся от обходчика, монтера пути или дежурного по переезду на расстояние не менее 250 - 300 м.
9.3. В пределах станции монтеры пути, назначаемые для осмотра пути, или дежурные по переездам, встречая поезд, подают сигналы в зависимости от состояния пути независимо от показаний входных, маршрутных, выходных и маневровых сигналов, а в случаях необходимости экстренной остановки поезда или маневрирующего состава принимают меры для остановки поезда.
Ночью в пределах станции сигнал уменьшения скорости подается желтым огнем ручного фонаря, а при отсутствии - медленным движением вверх и вниз ручным фонарем с прозрачно-белым огнем.
10. ПОРЯДОК ПОЛЬЗОВАНИЯ ДРЕЗИНАМИ, ПУТЕВЫМИ ВАГОНЧИКАМИ
И ДРУГИМИ СЪЕМНЫМИ ПОДВИЖНЫМИ ЕДИНИЦАМИ.
ОГРАЖДЕНИЕ ИХ СИГНАЛАМИ
10.1. Мотовозы, автомотрисы и дрезины несъемного типа
10.1.1. К эксплуатации на железнодорожных путях общего пользования допускаются дрезины, мотовозы и автомотрисы (в дальнейшем - машины), конструкция которых соответствует утвержденным или согласованным ОАО "РЖД" проектам и техническим условиям. Вносить изменения в их конструкцию без разрешения ОАО "РЖД" запрещается.
10.1.2. Движение машин, не принадлежащих ОАО "РЖД", по железнодорожным путям общего пользования допускается в исключительных случаях: с разрешения начальника региональной дирекции управления движением с указанием срока действия этого разрешения и района обращения.
Разрешение на право курсирования машин, не принадлежащих ОАО "РЖД", в пределах нескольких железных дорог выдается ОАО "РЖД" с указанием срока действия этого разрешения и района обращения.
10.1.3. Машины, отправляемые на перегон, отправляются к месту производства работ дежурным по станции только с разрешения поездного диспетчера.
При отправлении их с начальных станций дежурный по станции проверяет наличие у водителя (машиниста): свидетельства на право управления; акта годового контрольно-технического осмотра, в том числе и универсального прицепа (или специального прицепа) в случае выезда с прицепной нагрузкой; оформления маршрутного листа, выданного предприятием приписки машины; разрешения на право движения по железнодорожным путям общего пользования моторно-рельсового транспорта.
Исправное техническое состояние машины и прицепных единиц, принадлежащих предприятию, при выезде со станции приписки подтверждается в маршрутном листе подписью лица, ответственного за их эксплуатацию и содержание, или лица, его заменяющего.
Проверку готовности к следованию машины и прицепных единиц после производства работ производит машинист, о чем делается запись в маршрутном листе.
10.1.4. Запрещается:
отправлять пассажирский поезд на перегон вслед за моторно-рельсовым транспортом до прибытия последнего на соседний раздельный пункт;
выезд на перегон моторно-рельсового транспорта несъемного типа, если до прохода скоростного пассажирского поезда остается менее 30 минут.
В случае, если впереди грузового поезда следует моторно-рельсовый транспорт, машинист локомотива грузового поезда должен быть предупрежден об этом дежурным по станции или поездным диспетчером.
10.1.5. При нахождении моторно-рельсового транспорта на приемо-отправочных путях дежурный по станции обязан устанавливать стрелки в положение, исключающее возможность заезда на эти пути, навешивать на стрелочные рукоятки (кнопки) красные колпачки и тщательно следить за занятостью этих путей.
10.1.6. Количество прицепляемых единиц подвижного состава или прицепов к моторно-рельсовому транспорту устанавливается начальником региональной дирекции инфраструктуры в зависимости от паспортных данных, наличия тормозных средств на тяговых и прицепных единицах и допускаемой скорости движения на руководящем спуске.
Следование не оборудованных автотормозами машин в сцепе разрешается в исключительных случаях, но не более двух единиц. При этом на каждой из них должен быть водитель (машинист).
Машины, не имеющие автотормозов, при движении с прицепной нагрузкой должны быть оборудованы устройством от саморасцепа.
10.1.7. Следование машин вагонами вперед осуществляется в соответствии с требованиями
Правил технической эксплуатации железных дорог Российской Федерации
[1],
Инструкции по сигнализации на железнодорожном транспорте
[2] и
Инструкции по движению поездов и маневровой работе на железнодорожном транспорте Российской Федерации
[3].
При следовании машин платформами или прицепами вперед скорость движения поезда устанавливается в соответствии с допускаемыми скоростями движения машин по перегонам, утвержденными владельцем инфраструктуры. Скорость следования машин вагонами вперед допускается не более 25 км/ч, а при наличии радиосвязи на машине - не более 40 км/ч.
10.1.8. Дрезины ДГК, ДГК
у, автомотрисы АГВ, АДМ, мотовозы МПТ-4, МПТ-6, мотовозы-электростанции МЭС и их модификации наряду со следованием своим ходом могут пересылаться в составе грузовых поездов как груз на своих осях с соблюдением требований
Инструкции по движению поездов и маневровой работе на железнодорожном транспорте Российской Федерации
[3], Технических указаний по приведению в транспортное положение и порядку сопровождения специального подвижного состава
[16], Технических указаний по порядку транспортирования и сопровождения путевых машин на железнодорожном ходу
[17] и
Инструкции по эксплуатации и содержанию дрезин, мотовозов и автомотрис (моторно-рельсового транспорта несъемного типа) на железных дорогах
[18].
Автомотрисы АГД-1А (АГД-1), дрезины ДГК, ДГК
у, АГМС, АГМ
у, АЛГ, АС-1, АС-1А, АС-1М, ДМ, ДМ
м, ДМС, ДМС
у, мотовозы МПТ-4, МПТ-6, МК-2/15 и их модификации наряду со следованием своим ходом могут транспортироваться на четырехосных платформах с соблюдением Технических указаний по приведению в транспортное положение и порядку сопровождения путевых машин
[19] и Технических
условий погрузки и крепления грузов в вагонах и контейнерах
[20].
Автомотрисы АГД-1А (АГД-1), АС-3М, АС-4, дрезины АГМС, АГМ
у, АЛГ, АС-1, АС-1А, АС-1М, мотовозы МК-2/15 и их модификации допускается транспортировать отдельным локомотивом с соблюдением требований Технических указаний по приведению в транспортное положение и порядку сопровождения путевых машин
[19].
10.1.9. Дрезины ДГК, ДГКу, автомотрисы АГВ, АДМ, АГВм, мотовозы МПТ-4, МПТ-6, мотовозы-электростанции МЭС и их модификации прицепляются к составу грузового поезда, который не подталкивается, перед последним четырехосным вагоном. В этих случаях шести- или восьмиосный груженый вагон хвостовым вагоном ставить в хвост запрещается. В случае, если по маршруту пересылки моторно-рельсового транспорта имеются участки с подталкиванием, запрещается ставить в поезд вышеуказанные машины. Эти машины должны пересылаться погруженными на платформы.
10.1.10. Скорость следования грузового поезда, в составе которого имеется мотовоз-электростанция МЭС, допускается до 70 км/ч, а при следовании на боковой путь - не более 20 км/ч.
10.1.11. Роспуск машин, прицепленных к поезду, с сортировочных горок не допускается.
10.2. Дрезины съемного типа
10.2.1. Движение съемных дрезин осуществляется с закрытием перегона приказом поездного диспетчера. При этом действие автоматической (полуавтоматической) блокировки прекращается и устанавливается телефонный способ связи.
На перегонах, имеющих тоннели или большие мосты, а также сложные условия плана и профиля пути, порядок движения дрезин устанавливает владелец инфраструктуры.
Движение дрезин не должно вызывать нарушения следования поездов по расписанию.
Порядок извещения дежурных по переезду о движении дрезин в случае их отправления на перегон устанавливается владельцем инфраструктуры.
10.2.2. Следование дрезин с занятием перегона разрешается поездным диспетчером по заявке ответственного работника подразделения пути (не ниже бригадира подразделения пути) или работников других причастных подразделений (СЦБ, связи и электроснабжения), в ведении которых находится дрезина.
10.2.3. В темное время суток, а также при туманах, ливнях, снегопадах, метелях и температуре ниже -5 °C выезд дрезин на перегон запрещается. Доставка рабочих, инструментов и материалов в этом случае должна производиться другими видами транспорта.
10.2.4. Дрезины при движении должны иметь сигналы в соответствии с
Инструкцией по сигнализации на железнодорожном транспорте Российской Федерации
[2].
Запрещается ставить на путь дрезину без сигналов.
10.2.5. Порядок движения дрезин по участкам с диспетчерской сигнализацией устанавливается владельцем инфраструктуры.
10.2.6. Количество людей, сопровождающих дрезину, должно быть не менее для съемных мотодрезин ТД5М и аналогичных - 4 чел.
Старшим, сопровождающим дрезину, может быть работник по должности не ниже бригадира пути, электромеханика или мастера района контактной сети, а при их отсутствии старшим является водитель дрезины.
Снятая с пути дрезина должна быть установлена так, чтобы не нарушался габарит приближения строения.
10.2.7. Если дрезина, отправляемая со станции, должна иметь остановку на перегоне для производства каких-либо работ, дежурный по станции, кроме разрешения на право занятия перегона, выдает предупреждение в соответствии с
Инструкцией по движению поездов. Занимать перегон сверх установленного в предупреждении времени запрещается.
10.2.8. Водитель дрезины должен быть испытан в знании
Правил технической эксплуатации железных дорог Российской Федерации
[1],
Инструкции по сигнализации на железнодорожном транспорте Российской Федерации
[2],
Инструкции по движению поездов и маневровой работе на железнодорожном транспорте Российской Федерации
[3], настоящей Инструкции и правил по технике безопасности и всегда иметь при себе права на управление дрезиной.
Водителям запрещается передавать управление дрезиной лицам, не имеющим прав управления.
10.2.9. Старший работник (руководитель работ), сопровождающий дрезину, является ответственным за безопасность движения дрезины и находящихся на ней людей. Он должен иметь при себе расписание движения поездов и перед отправлением со станции на перегон сверить свои часы с часами дежурного по станции, а также перед выездом убедиться в полной исправности дрезины, проверить наличие сигналов и обеспеченность горючим.
Старший работник, сопровождающий дрезину, не имеет права передвигаться с дрезиной в пределах станции без разрешения дежурного по станции, а также выезжать на перегон без приказа поездного диспетчера или соответствующего разрешения.
При въезде на станцию старший работник должен проявлять особое внимание.
10.2.10. Водитель дрезины при следовании через переезды, особенно не обслуживаемые дежурными работниками, и по участкам, где производятся путевые работы, должен соблюдать особую осторожность.
10.2.11. При прибытии с перегона на станцию старший работник, сопровождающий дрезину, обязан немедленно лично или по телефону сообщить об этом дежурному по станции, после чего руководствоваться его указаниями.
Дежурный по станции обязан отметить в Журнале движения поездов время прибытия дрезины и сообщить об этом дежурному по станции отправления и поездному диспетчеру для последующего открытия перегона и восстановления движения поездов по основным средствам связи.
Если конечный пункт движения дрезины расположен на перегоне, то после ее снятия с пути и установки на расстояние, обеспечивающее габарит, ответственный руководитель дает уведомление об окончании работ поездному диспетчеру или дежурному одной из станций, ограничивающей перегон, на основании которого осуществляется восстановление движения поездов.
10.2.12. Основным ходом дрезины является передний (фарой вперед). Задний ход разрешается как исключение при маневрах на станциях (движение задним ходом по стрелочным переводам, оборудованных ЭЦ, запрещено).
10.2.13. Скорость движения дрезин ТД-5 на перегонах не должна превышать 35 км/ч, по станционным путям - 25 км/ч, а по стрелкам - 15 км/ч. При плохой видимости скорость движения дрезин не должна превышать 25 км/ч, при этом освещение (фара и задний красный сигнальный фонарь) должно быть включено.
10.2.14. Сцепление дрезины с прицепом и прицепов между собой допускается только типовыми приборами и должно производиться в соответствии с
Инструкцией по устройству, уходу и обслуживанию дрезин. Возможность саморасцепа при движении дрезин должна быть исключена.
Запрещается сцеплять дрезину с платформами и вагонами.
10.2.15. Во время движения запрещается: стоять на дрезине или прицепе, сидеть на бортах, переходить с прицепа на прицеп, сходить с дрезины или прицепа и садиться на них до полной остановки, курить во время движения, а также на стоянках при заправке дрезины горючим.
10.2.16. Количество людей для одновременного проезда не должно превышать: на дрезине ТД-5 - 6 чел., на незагруженном прицепе - 10 чел., на груженом прицепе только 1 чел. для торможения прицепа. Перевозка грузов непосредственно на дрезине не допускается.
10.2.17. При выезде дрезины с прицепами для транспортировки рабочих или грузов общее руководство ее работой должен осуществлять работник по должности не ниже бригадира подразделения пути, электромеханика подразделений СЦБ, связи или электроснабжения.
При перевозке на прицепах группы рабочих на каждом прицепе выделяется ответственное лицо - опытный рабочий (старший группы), который должен находиться на этом прицепе и наблюдать за порядком и безопасностью перевозимых на нем людей.
Запрещается следование дрезины с прицепами при отсутствии на прицепах тормозильщиков. После погрузки груза необходимо удостовериться в свободном ходе тормозного рычага. Закладывать тормозной рычаг перевозимым грузом запрещается.
10.3. Путевые вагончики и другие съемные подвижные единицы
10.3.1. Путевые вагончики и другие съемные подвижные единицы (съемные портальные краны, тележки ПКБ, дефектоскопные и путеизмерительные тележки, тележки для измерения волнообразного износа рельсов, модероны, однониточные тележки для перевозки рельсов и подобные им) при нахождении на перегоне должны иметь:
на однопутных и при движении по неправильному пути на двухпутных участках: днем - прямоугольный щит, окрашенный с обеих сторон в красный цвет
(приложение 18), или развернутый красный флаг на шесте; ночью - спереди и сзади красный огонь фонаря, укрепленного на шесте;
на двухпутных участках при следовании по правильному пути: днем - прямоугольный щит, окрашенный с передней стороны в белый и с задней в красный цвет
(приложение 18); ночью - спереди прозрачно-белый огонь и сзади красный огонь фонаря, укрепленного на шесте.
10.3.2. На перегоне путевые вагончики, съемные портальные краны, тележки ПКБ, кроме того, должны быть ограждены с обеих сторон на расстоянии Б (
п. 4.2 настоящей Инструкции) переносными или ручными красными сигналами, переносимыми одновременно с передвижением этих единиц. При работе этих единиц на участках с плохой видимостью (менее 1000 м в каждую сторону), а также при перевозке на них тяжелых грузов (крестовин, рельсов, более двух шпал и др.), на поезда должны выдаваться предупреждения. Заявки на выдачу предупреждений даются по
форме 4 (приложение 8).
10.3.3. Двухколесные однорельсовые тележки, одноосные тележки для перевозки рельсов и другие подобные им съемные подвижные единицы при работе на перегоне ограждаются сигналами остановки, устанавливаемыми на тележке. На участках с плохой видимостью, а также при перевозке тяжелых грузов (рельсов, шпал более двух и др.) ограждение съемных подвижных единиц сигналами производится, так же как и груженого путевого вагончика с ограждением переносными сигналами остановки и с выдачей предупреждений поездам.
10.3.4. Дефектоскопные и путеизмерительные тележки, тележки для измерения волнообразного износа рельсов при работе на перегоне ограждаются сигналами остановки, устанавливаемыми на тележке. На участках с плохой видимостью (менее 1000 м в каждую сторону) тележки, кроме того, ограждаются с обеих сторон переносными сигналами остановки, так же как путевые вагончики, с выдачей предупреждений на поезда.
10.3.5. При работе на станциях путевой вагончик или другая съемная подвижная единица (съемные портальные краны, тележки ПКБ, дефектоскопные и путеизмерительные тележки, тележки для измерения волнообразного износа рельсов, модероны, однониточные тележки для перевозки рельсов и подобные им) должны иметь: днем - щит, окрашенный с обеих сторон в красный цвет или красный флаг на шесте; ночью - спереди и сзади красный огонь фонаря, укрепленного на шесте. Эти единицы, кроме того, должны быть ограждены на расстоянии не менее 50 м с обеих сторон переносными или ручными красными сигналами, переносимыми одновременно с передвижением вагончика или другой подвижной единицы.
10.3.6. Работа путевого вагончика, дефектоскопных и путеизмерительных тележек, тележек по измерению волнообразного износа рельсов или других съемных подвижных единиц на станции может производиться только с согласия дежурного по станции и с предварительной записью руководителя работ при их выполнении силами дистанции пути или представителя дистанции пути по должности не ниже бригадира пути при выполнении работ силами ПМС или ремонтно-строительных организаций в Журнале осмотра путей, стрелочных переводов, устройств СЦБ, связи и контактной сети.
10.3.7. Если на двух- и многопутном участке по смежному пути будет следовать встречный поезд, то красный сигнал, ограждающий путевой вагончик или другую съемную подвижную единицу с передней стороны, до прохода поезда снимается.
10.3.8. Работа и передвижение путевых вагончиков, съемных портальных кранов, тележек ПКБ и других съемных подвижных единиц (двухколесных однорельсовых, одноосных, путеизмерительных и дефектоскопных тележек, тележек для измерения волнообразного износа рельсов и др.) производятся без выдачи поездных документов на право занятия ими перегона. Руководит этими работами бригадир пути, а двухколесными однорельсовыми и одноосными тележками может руководить монтер пути не ниже 4-го разряда. На перегонах, имеющих тоннель или большой мост, а также сложные условия плана и профиля, порядок движения съемных единиц устанавливается владельцем инфраструктуры.
10.3.9. Работа и передвижение путевых вагончиков и других съемных единиц не должны вызывать нарушений следования поездов по расписанию. Для обеспечения этого:
сопровождающий путевой вагончик или другую съемную подвижную единицу старший работник должен иметь при себе выписку из расписания движения поездов и перед отправлением со станции на перегон обязан получить сведения от дежурного о фактическом движении поездов. При хранении вагончиков и других съемных подвижных единиц на перегоне и наличии телефонной связи старший работник, сопровождающий их, при отправлении на перегон должен получить по телефону от дежурного по станции сведения о поездном положении;
количество людей, сопровождающих путевой вагончик или другую съемную подвижную единицу, должно быть достаточным для немедленной уборки их и грузов с пути в случае приближения поезда;
вагончики и другие съемные подвижные единицы, следующие по участку с автоблокировкой, должны иметь оси с изоляцией, чтобы наличие их на блок-участке не вызывало закрытия светофора, ограждающего этот блок-участок; запрещается располагать эти единицы (при их стоянке) на изолирующих стыках;
запрещается оставлять на пути съемные единицы (вагончик, электрошурупный ключ, тележки, портальный кран и др.) без людей, которые в случае необходимости могли бы быстро снять их с пути;
путевые вагончики и другие съемные подвижные единицы должны храниться у путевых зданий, запертыми на замок или в специальных помещениях.
10.3.10. Запрещается выезд на перегон путевых вагончиков и других съемных подвижных единиц без получения от дежурного по станции сведений о фактическом движении поездов.
Выезд путевого вагончика и другой съемной подвижной единицы с перегонов, на которых отсутствует телефонная связь, как исключение для выполнения непредвиденных работ (замены лопнувшего рельса, ликвидации размыва и т.д.) разрешается без указанных сведений и без заявки на выдачу предупреждений. В этом случае сопровождающий путевой вагончик или другую съемную подвижную единицу старший работник по должности должен принять меры к особой бдительности, в частности должен указать сигналистам и сопровождающим съемную подвижную единицу работникам, что поезда не имеют предупреждения об их работе на перегоне.
10.3.11. Накануне того дня, в который предполагается работа вагончика и других съемных единиц, бригадир пути обязан сообщить дорожному мастеру, на каких километрах и в какие часы будет производиться работа. Дорожный мастер в необходимых случаях дает заявку на выдачу предупреждений с сообщением времени работы, и на каких километрах будет работать указанная единица, а бригадиру пути - разрешение на работу вагончика или других съемных подвижных единиц.
10.3.12. Для немедленной ликвидации обнаруженных неисправностей пути допускается пользование путевым вагончиком и другими съемными единицами без предварительной заявки на выдачу предупреждений. Заблаговременно до подхода поезда путевой вагончик и другие съемные подвижные единицы должны быть сняты с пути, а на участках со скоростями более 120 км/ч они должны быть сняты с пути за 10 мин. до прохода поезда и закреплены.
Запрещается выезд на перегон путевых вагончиков и других съемных подвижных единиц, если до подхода поезда со скоростью более 120 км/ч остается меньше 30 мин.
10.3.13. Работа путевых вагончиков и других съемных подвижных единиц ночью, а также при сильном тумане, снегопадах и метелях разрешается только в исключительных случаях при неотложной ликвидации обнаруженных неисправностей пути.
10.3.14. При работе с одноосной тележкой при ней должно находиться не менее двух монтеров пути, а при работе с двухколесной однорельсовой тележкой при ней может быть один монтер пути.
Для быстрого снятия с пути двухколесной однорельсовой тележки и удаления перевозимого груза на габаритное расстояние на двухпутных линиях необходимо ставить ее на полевую (откосную) нить рукояткой в сторону оси пути.
10.3.15. Работники, ограждающие путевые вагончики и другие съемные подвижные единицы, должны быть снабжены, кроме переносных щитов, ручных флагов и сигнальных фонарей, петардами и духовыми рожками для подачи сигналов о приближении поезда, а также сигналами для остановки поезда, если это потребуется. Работники, руководящие передвижением съемных единиц, должны иметь ручные флаги (ночью - сигнальный фонарь), петарды и духовой рожок.
10.3.16. До постановки путевого вагончика на путь должны быть выставлены сигналисты с переносными сигналами остановки для его ограждения. Если переносные сигналы впереди и позади по местным условиям не будут видны, то выставляются промежуточные сигналисты для связи между руководителем работ и основными сигналистами.
При остановке путевого вагончика, а также в случае приближения поезда, когда вагончик с пути не снят, сигналисты укладывают с обеих сторон от вагончика на расстоянии Б, установленном начальником региональной дирекции инфраструктуры для данного перегона, по три петарды и, отойдя от них в сторону вагончика на 20 м, показывают красный сигнал в сторону поезда. Сигналы могут быть сняты только после снятия вагончика. Порядок снятия сигналов тот же, что и при производстве путевых работ.
10.3.17. На двух- и многопутном участке все съемные подвижные единицы, кроме ограждаемых переносными красными сигналами дрезин, должны, как правило, следовать по неправильному пути - навстречу движению поезда.
10.3.18. Не менее чем за 20 минут до прохода скоростного пассажирского поезда все съемные подвижные единицы (ремонтные вышки, путевые вагончики, съемные дефектоскопные и путеизмерительные тележки и др.) должны быть сняты с путей, входящих в маршрут следования этого поезда, а также с путей, имеющих выход на этот маршрут, и закреплены.
11. РАЗМЕЩЕНИЕ МАТЕРИАЛОВ ВЕРХНЕГО СТРОЕНИЯ ПУТИ
11.1. Выгруженные или подготовленные к выгрузке около железнодорожного пути материалы (рельсы, скрепления, шпалы, мостовые и переводные брусья, стрелочные переводы и др.) должны быть уложены и закреплены так, чтобы габарит приближения строений не нарушался.
Грузы (кроме балласта, выгружаемого для путевых работ) при высоте до 1200 мм от уровня головки рельса должны находиться от наружной грани головки крайнего рельса не ближе 2 м, а при большей высоте не ближе 2,5 м.
11.2. Балласт, выгружаемый для путевых работ, на время до укладки его в путь допускается располагать на междупутье и обочине на высоту не более 200 мм от уровня головки рельса. Откос выгружаемого балласта со стороны пути не должен быть круче одинарного. Расстояние на уровне верха головки рельса от боковой рабочей грани головки рельса до откоса выгруженного балласта должно быть не менее 665 мм
(рисунок 11.1, а).
При выгрузке балласта из хоппер-дозаторов в период подготовительных работ разрешается его размещение внутри колеи и по концам шпал на 50 мм ниже уровня верха головок рельсов. После выгрузки балласта руководитель работ должен лично проверить правильность выгрузки его по всему фронту. Все отступления должны быть немедленно устранены. Для этого руководитель работ обязан оставить при себе бригаду рабочих с необходимым инструментом. При наличии отступлений участок должен быть огражден сигналами остановки.
Проверить положение балласта, выгруженного на междупутье и обочину, со стороны пути следует шаблоном
(рисунок 11.2), которым определяются все отступления в крутизне откоса и в расположении откоса относительно путевого рельса. Рельсы на всем участке выгрузки должны быть очищены от балласта и обметены.
11.3. Рельсовые плети, подготовленные для укладки в путь или смененные, могут находиться внутри колеи. Расстояние между ближайшими боковыми гранями головок рабочего и подготовленного для укладки в путь рельсов должно быть не менее 500 мм. Рельсы внутри колеи по высоте ни в одном месте не должны выступать более чем на 50 мм над уровнем верха головок рабочих рельсов
(рисунок 11.1, б).
Рис. 11.1. Порядок размещения материалов
верхнего строения пути:
а - балласта; б - рельсов внутри колеи;
в - рельсов на концах шпал
Рисунок 11.2. Шаблон, применяемый для определения
положения балласта, выгруженного на междупутье
или обочину железнодорожного пути
Рельсовые плети могут располагаться и на концах шпал. В этом случае расстояние между ближайшими боковыми гранями головок подготовленного к укладке и рабочего рельсов должно быть не менее 150 мм. Расстояние от края подошвы подготовленного к укладке рельса до конца шпалы должно быть не менее 50 мм. Рельсы на концах шпал по высоте ни в одном месте не должны выступать за уровень верха головок рабочих рельсов
(рисунок 11.1, в). Для достижения этого в необходимых местах шпалы затесываются.
Подготовленные к укладке в путь рельсы, расположенные как внутри колеи, так и на концах шпал, должны быть сболчены в плети. Каждый стык плети должен иметь не менее двух плотно затянутых болтов. Зазоры в стыках должны соответствовать величине, установленной в зависимости от температуры рельсов.
Каждый из рельсов, подготовленных к укладке в путь, должен быть пришит не менее чем в двух местах двумя костылями, концы крайних рельсов в каждой плети должны быть также пришиты к шпале двумя костылями. На концах участков раскладки рельсов должны быть с торца уложены и прочно закреплены башмаки. Такие же башмаки должны быть уложены на всех концах рельсовых плетей, расположенных с забегом концов.
При раскладке рельсовых плетей с разрывом между концами плетей должны быть вставлены деревянные вкладыши.
При железобетонных шпалах выгруженные плети следует пришивать к деревянным шпальным коротышам, уложенным в шпальные ящики. При этом рельсовые плети должны быть заземлены посредством медной перемычки, соединенной с одним рельсом.
11.4. За выгруженными материалами дорожными мастерами, бригадирами пути, обходчиками железнодорожных путей и искусственных сооружений должно быть установлено наблюдение.
В местах развернутого фронта работ по реконструкции (модернизации), капитальному, усиленному среднему, среднему ремонтам пути и сплошной смене рельсов выгруженные материалы верхнего строения должны находиться под охраной работников, назначаемых исполнителем работ.
11.5. По окончании работы все старогодные материалы должны быть собраны и удалены от пути так, чтобы не нарушался установленный габарит. При этом старогодные шпалы складываются в штабеля; старогодные рельсы подготавливаются к погрузке; скрепления, противоугоны и другие детали верхнего строения собираются и вывозятся к установленным местам хранения или укладываются в специальные контейнеры, в которых хранятся до отправления на станцию. Мостовые брусья убираются за пределы моста и укладываются в штабеля. Вывоз старогодных материалов с перегонов должен быть осуществлен в трехсуточный срок после их изъятия из пути.
По окончании работ в пределах станций все старогодные материалы в тот же день должны быть собраны и перевезены к установленным местам хранения.
Дорожные мастера и бригадиры пути, а также обходчики железнодорожных путей и искусственных сооружений и дежурные по переездам при обнаружении на пути или около него скреплений, деталей вагонов или локомотивов и т.д. должны их убрать и доставить к охраняемым переездам или путевым зданиям, а при невозможности сделать это обходчики или дежурные по переездам сообщают об обнаруженном бригадиру или дорожному мастеру линейного участка (околотка).
11.6. Запрещается производить выгрузку материалов верхнего строения пути вблизи опор контактной сети и мест шунтирования заземления опор (не менее 2 м).
12. ОТВЕТСТВЕННОСТЬ И КОНТРОЛЬ ЗА ОБЕСПЕЧЕНИЕМ БЕЗОПАСНОСТИ
ДВИЖЕНИЯ ПОЕЗДОВ ПРИ ПРОИЗВОДСТВЕ РЕМОНТНО-ПУТЕВЫХ РАБОТ
12.1. Ответственность за безопасность движения поездов при производстве работ на пути и сооружениях, как дистанциями пути, так и путевыми машинными станциями и ремонтно-строительными организациями во время производства работ, полностью несет руководитель работ.
12.2. Работы на закрытом перегоне несколькими линейными подразделениями должны осуществляться под единым руководством ответственного лица, назначаемого в приказе о предоставлении "окна".
12.3. За путевыми машинными станциями и ремонтно-строительными организациями, выполняющими путевые и другие работы, нарушающие целостность пути и сооружений, распоряжением начальника дистанции пути на время производства работ, связанных с ограничением скорости движения поездов с ограждением сигналами остановки или закрытием перегона, закрепляется работник дистанции пути по квалификации не ниже дорожного мастера.
В обязанности работника дистанции пути входят: проверка соблюдения требований настоящей Инструкции, в том числе проверка правильности ограждения места работ, контроль за своевременной выдачей заявок на предупреждения, контроль за качеством работ. По окончании работ, в т.ч. в "окно", он определяет безопасное состояние пути после ремонта и передает установленным порядком поездному диспетчеру, дежурной по станции, ограничивающей перегон уведомление о возможности открытия перегона, а также выдачу и отмену предупреждений об ограничении скорости движения поездов по месту работ.
При нарушении требований настоящей Инструкции во время производства работ путевыми машинными станциями, путевыми колоннами и ремонтно-строительными организациями начальник дистанции пути или уполномоченный им работник дистанции обязан приостановить дальнейшее производство работ и потребовать немедленного устранения нарушений и приведения пути в исправное состояние. Выполнение этих требований является обязательным для руководителя работ.
12.4. На участках работы укрупненных и специализированных бригад дистанций пути, колонн путевых машинных станций и ремонтно-строительных организаций к окончанию работ руководителем работ должно быть проверено соблюдение габарита, путь и искусственные сооружения приведены в исправное состояние, обеспечивающее безопасность движения поездов. При этом на участках, оборудованных автоблокировкой и электрической централизацией стрелок, должны быть в исправности изолирующие стыки, рельсовые соединители, электротяговые и блокировочные джемпера, а также обеспечен необходимый просвет между поверхностью балластного слоя и подошвой рельсов и отвод воды от устройств СЦБ. На электрифицированных участках должны быть приведены в исправное состояние заземление опор и сооружений.
12.5. На участках ремонтно-путевых работ, а также любых работ на земляном полотне и искусственных сооружениях, независимо от времени их выполнения и исполнителя производится ремонт, текущее содержание этих объектов, контроль за их состоянием и ответственность за безопасность движения поездов возлагается на дистанцию пути. Порядок проверки и надзора должен устанавливать начальник дистанции пути исходя из конкретных условий участка и производства работ.
При обнаружении отступлений, требующих ограничения скорости движения поездов, не предусмотренных технологией работ, начальник дистанции пути или уполномоченный им работник должен потребовать от руководителя работ безотлагательного выполнения работ по устранению выявленных отступлений.
12.6. Ответственность за организацию ремонтно-путевых работ, взаимодействие с работниками дистанций сигнализации, централизации и блокировки, электроснабжения на электрифицированных участках и участках автоблокировки несет руководитель работ (дистанции пути, путевой машинной станции, ремонтно-строительные организации).
В обязанности руководителя работ входит контроль за своевременностью снятия напряжения и устройству заземления контактной сети на участке работ, соблюдение правил безопасности и технологии работ.
1.
Правила технической эксплуатации железных дорог Российской Федерации. Утверждены приказом Минтранса России от 21.12.2010 г.
| | ИС МЕГАНОРМ: примечание. В официальном тексте документа, видимо, допущена опечатка: имеется в виду Приказ Минтранса России от 21.12.2010 N 286, а не от 27.03.2012 N 82. | |
2.
Инструкция по сигнализации на железных дорогах Российской Федерации. Утверждена приказом Минтранса России от 27.03.2012 г. N 82.
3.
Инструкция по движению поездов и маневровой работе на железных дорогах Российской Федерации. Приложение N 8 к Правилам технической эксплуатации железных дорог Российской Федерации.
| | ИС МЕГАНОРМ: примечание. В официальном тексте документа, видимо, допущена опечатка: имеется в виду Распоряжение ОАО "РЖД" от 02.05.2012 N 857р, а не N 757р. | |
4.
Положение о системе ведения путевого хозяйства ОАО "Российские железные дороги". Утверждено распоряжением ОАО "РЖД" 02.05.2012 г. N 757р.
5.
Инструкция по текущему содержанию железнодорожного пути. Утверждена ОАО "РЖД" 29.12.2012 г.
6.
Инструкция по обеспечению безопасности движения поездов при технической эксплуатации устройств и систем СЦБ. Утверждена распоряжением ОАО "РЖД" 20.09.2011 г. N 2055р.
7.
Инструкция по устройству, укладке, содержанию и ремонту бесстыкового пути. Утверждена ОАО "РЖД" 29.12.2012 г.
| | ИС МЕГАНОРМ: примечание. "Технические условия на работы по реконструкции (модернизации) и ремонту железнодорожного пути", утв. Распоряжением ОАО "РЖД" 02.05.2012 N 859р, утратили силу в связи с введением в действие с 1 февраля 2013 года "Технических условий на работы по реконструкции (модернизации) и ремонту железнодорожного пути", утв. Распоряжением ОАО "РЖД" от 18.01.2013 N 75р. | |
8. Технические условия на работы по реконструкции (модернизации) и ремонту железнодорожного пути. Утверждены
распоряжением ОАО "РЖД" 02.05.2012 г. N 859р.
9.
Инструкция о порядке предоставления и использования "окон" для ремонтных и строительно-монтажных работ на железных дорогах ОАО "РЖД". Утверждена распоряжением ОАО "РЖД" 29.11.2011 г. N 2560р.
10.
Инструкция о порядке обращения хозяйственных поездов, сформированных из специального железнодорожного подвижного состава. Утверждена МПС России 27.07.2002 г. N ЦП-910.
11. Нормы допускаемых скоростей движения подвижного состава по железнодорожным путям колеи 1520 (1524) мм федерального железнодорожного транспорта.
Приказ МПС Российской Федерации N 41 от 12.11.2001 г.
12. Нормы допускаемых скоростей движения специального подвижного состава (мотовозов, дрезин, специальных автомотрис, железнодорожно-строительных машин) по железнодорожным путям колеи 1520 (1524) мм федерального железнодорожного транспорта.
Приказ МПС Российской Федерации от 20.12.1999 г. N 17ЦЗ;
13.
Правила и технология выполнения основных работ при текущем содержании пути. Утверждены МПС Российской Федерации 30.06.1997 г. N ЦПТ-52.
14.
Правила по охране труда при содержании и ремонте железнодорожного пути и сооружений. Утверждены МПС России 24.02.1999 г. N ПОТ РО-32-ЦП-652-99.
15. Правила электробезопасности для работников ОАО "РЖД" при обслуживании электрифицированных железнодорожных путей. Утверждены ОАО "РЖД" 03.07.2008 г. N 12176.
16. Технические указания по приведению в транспортное положение и порядку сопровождения специального подвижного состава. Утверждены МПС России 03.07.2002 г. N ЦП-908.
17. Технические указания по порядку транспортирования и сопровождения путевых машин на железнодорожном ходу. Утверждены МПС Российской Федерации 29.06.1997 г.
18.
Инструкция по эксплуатации и содержанию дрезин, мотовозов и автомотрис (моторно-рельсового транспорта несъемного типа) на железных дорогах. Утверждена МПС Российской Федерации 10.04.90 г. N ЦРБ-4785.
19. Технические указания по приведению в транспортное положение и порядку сопровождения путевых машин. Утверждены МПС Российской Федерации 15.08.75 г. N ЦПО-274.
20. Технические
условия размещения и крепления грузов в вагонах и контейнерах. Утверждены МПС России 27.05.2003 г. N ЦМ-943.
к Инструкции по обеспечению
безопасности движения поездов
при производстве путевых работ
ПЕРЕЧЕНЬ ПУТЕВЫХ РАБОТ НА СТАНЦИЯХ И ПЕРЕГОНАХ,
ОБОРУДОВАННЫХ УСТРОЙСТВАМИ СЦБ И КТСМ, ПРОИЗВОДСТВО
КОТОРЫХ НЕОБХОДИМО СОГЛАСОВЫВАТЬ С РАБОТНИКАМИ ДИСТАНЦИИ
СИГНАЛИЗАЦИИ, ЦЕНТРАЛИЗАЦИИ И БЛОКИРОВКИ
1. Замена верхнего строения пути (путевой решетки).
2. Сплошная смена рельсов.
3. Сплошная смена стрелочного перевода или глухого пересечения, оборудованного устройствами СЦБ.
4. Снятие и установка рельсовых пакетов.
5. Земляные работы в местах, оборудованных устройствами СЦБ.
6. Смена отдельных металлических частей стрелочного перевода (рамных рельсов с остряками, подвижных сердечников и усовиков крестовин с подвижным сердечником, рамных рельсов, переводного механизма, стрелочных тяг, кулис и болтов в них, серег), оборудованного устройствами СЦБ.
7. Сварочно-наплавочные работы на участках, оборудованных устройствами СЦБ.
8. Работа балластеров, щебнеочистительных машин, путеукладочных кранов, машин типа ВПО, снегоуборочных, машин по ремонту земляного полотна и других путевых машин, при которой может быть нарушено действие устройств СЦБ.
9. Работы вблизи переезда, вызывающие нарушение действия устройств автоматики на нем.
10. Плановые работы по замене изолирующих элементов в изолирующих стыках на раздельных пунктах, имеющих путевое развитие.
11. Одиночная смена рельсов, на которых установлены стыковые электротяговые или другие соединители на раздельных пунктах, имеющих путевое развитие.
12. Подъемка пути на балласт в местах подключения к рельсам устройств СЦБ, КТСМ.
13. Шлифование остряков стрелочных переводов.
Примечания.
1. Работы, выполняемые по
пп. 1 -
5, должны согласовываться с начальником дистанции сигнализации, централизации и блокировки или его заместителями.
2. Работы, выполняемые по
пп. 6 -
10, должны согласовываться с начальником производственного линейного участка или старшим электромехаником СЦБ.
3. Работы, выполняемые по
пп. 11 -
13, должны согласовываться с электромехаником СЦБ.
4. При наличии КТСМ работы по
пп. 8,
10 должны согласовываться также со старшим электромехаником КТСМ, "Диск" и др.
к Инструкции по обеспечению
безопасности движения поездов
при производстве путевых работ
ПЕРЕЧЕНЬ ПУТЕВЫХ РАБОТ, ПРОИЗВОДСТВО КОТОРЫХ НЕОБХОДИМО
СОГЛАСОВЫВАТЬ С РУКОВОДСТВОМ ДИСТАНЦИИ ЭЛЕКТРОСНАБЖЕНИЯ
ИЛИ РАЙОНОМ КОНТАКТНОЙ СЕТИ
На всех железных дорогах
1. Земляные работы в местах, имеющих устройства электроснабжения.
2. Работы на искусственных сооружениях и других местах на расстоянии менее 2 м от проводов, находящихся под напряжением, требующие их отключения.
На электрифицированных участках железных дорог
1. Работы, требующие снятия напряжения в контактной сети, а также другие путевые работы, при которых необходимо отсоединение и присоединение заземлений, отсасывающих фидеров и дроссель-трансформаторов к ним.
2. Рихтовка пути более чем на 2 см.
3. Подъемка пути более чем на 6 см или изменение возвышения наружного рельса кривой свыше 1 см.
4. Работы, вызывающие нарушения габарита подвески контактного провода и опор контактной сети.
5. Работа путеукладочных кранов, щебнеочистительных, балластировочных, выправочно-подбивочных и других путевых машин, при которой требуется снятие напряжения и регулировка контактной сети.
6. Сплошная смена рельсов и стрелочных переводов.
7. Одиночная смена рельсов, на которых установлены стыковые, электротяговые или другие соединители на раздельных пунктах, имеющих путевое развитие.
1 - щит, изготавливается из кровельного железа массой
листа 4,5 кг и окрашивается в красный (К) цвет с обеих
сторон с окаймлением черной (Ч) и белой (Б) полосами.
Для двухпутных участков некоторая часть щитов окрашивается
с одной стороны в красный цвет, с другой в белый; 2 - шест
деревянный, окрашивается поперечными полосами шириной
200 мм поочередно белого и красного цветов; 3 - наконечник,
изготавливается из стали толщиной 1 - 2 мм и окрашивается
в черный цвет
СИГНАЛЫ УМЕНЬШЕНИЯ СКОРОСТИ
а) переносной
1 - щит, изготавливается из кровельного железа массой
листа 4,5 кг и окрашивается в желтый (Ж) цвет, с обратной
стороны в зеленый. Окаймление черной (Ч) и белой (Б)
полосами; 2 - шест деревянный, окрашивается поперечными
полосами шириной 200 мм поочередно белого и желтого цветов;
3 - наконечник, изготавливается из стали толщиной 1 - 2 мм
и окрашивается в черный цвет
б) постоянный
Постоянные диски уменьшения скорости устанавливаются перпендикулярно оси пути
СИГНАЛЬНЫЕ ЗНАКИ "НАЧАЛО ОПАСНОГО МЕСТА"
И "КОНЕЦ ОПАСНОГО МЕСТА"
а) переносные
1 - щит, изготавливается из кровельного железа массой
листа 4,5 кг; 2 - отражатель белого цвета d = 51 мм;
3 - шест деревянный, длина шеста 3000 мм, окрашивается
поперечными полосами шириной 200 мм поочередно белого (Б)
и черного (Ч) цветов; 4 - башмак, изготавливается из стали
толщиной 1 - 2 мм и окрашивается в черный цвет. Знак "Конец
опасного места" помещается на обратной стороне знака
"Начало опасного места". На знаках, применяемых в светлое
время суток, отражатели могут не ставиться, а вместо них
закрашиваются белой краской круги диаметром 51 мм
б) постоянные
Размещение светоотражателей
Знаки устанавливаются перпендикулярно оси пути
СИГНАЛЬНЫЕ ЗНАКИ "С" О ПОДАЧЕ СВИСТКА
а) переносной
1 - щит, изготавливается из кровельного железа массой
листа 4,4 кг и окрашивается: буква "С" черного (Ч) цвета,
нижняя часть щита зеленого (З), обратная сторона щита
черного; 2 - шест деревянный, окрашивается поперечным
и полосами шириной 200 мм поочередно белого (Б)
и зеленого (З) цветов; 3 - башмак, изготавливается
из стали толщиной 1 - 2 мм, окрашивается в черный цвет
б) постоянный
Знак устанавливается перпендикулярно оси пути.
Знак может быть установлен на специальном столбе
или опоре контактной сети
ПРИСПОСОБЛЕНИЕ ДЛЯ ЗАКРЕПЛЕНИЯ ШЕСТА СИГНАЛА
К ПОДОШВЕ РЕЛЬСА
Шов А выполняется ручной электродуговой сваркой
к Инструкции по обеспечению
безопасности движения поездов
при производстве путевых работ
ФОРМЫ ЗАЯВОК НА ВЫДАЧУ ПРЕДУПРЕЖДЕНИЙ
_____________ 20_____________ г. с ______________ ч. _________________ мин.
(дата)
на ________ км, пикеты _____________ перегона _____________________________
(название перегона)
___________ пути, до ______________________________________________________
(номер) (указать часы или "до отмены")
выдавайте поездам предупреждения: "Остановиться у красного сигнала, а при
его отсутствии следовать со скоростью не более _____________________ км/ч".
Форма 2
_____________ 20_____________ г. с ______________ ч. _________________ мин.
(дата)
на ________ км, пикеты _____________ перегона _____________________________
(название перегона)
___________ пути, до ______________________________________________________
(номер) (указать часы или "до отмены")
выдавайте поездам предупреждения: "Остановиться у красного сигнала, а при
его отсутствии следовать с установленной скоростью".
_____________ 20_____________ г. с ______________ ч. _________________ мин.
(дата)
на ________ км, пикеты _____________ перегона _____________________________
(название перегона)
___________ пути, до ______________________________________________________
(номер) (указать часы или "до отмены")
выдавайте поездам предупреждения: "Скорость не более ___________ км/ч
для грузовых и __________________ км/ч для пассажирских".
_____________ 20_____________ г. с ______________ ч. _________________ мин.
(дата)
на ________ км, пикеты _____________ перегона _____________________________
(название перегона)
___________ пути, до ______________________________________________________
(номер) (указать часы или "до отмены")
выдавайте поездам предупреждения: "Работает путевой вагончик (дефектоскоп и
др.), обеспечить особую бдительность и более частую подачу оповестительных
сигналов".
Форма 5
_____________ 20_____________ г. с ______________ ч. _________________ мин.
(дата)
на ________ км, пикеты _____________ перегона _____________________________
(название перегона)
___________ пути
(номер)
до отмены выдавайте предупреждения поездам, следующим по
___________ пути: "Работает струг, подавайте оповестительные сигналы".
(номер)
_____________ 20_____________ г. с ______________ ч. _________________ мин.
(дата)
на ________ км, пикеты _____________ перегона _____________________________
(название перегона)
___________ пути до отмены выдавайте предупреждения поездам, следующим
(номер)
по ___________ пути. Работает _____________________________________________
(номер) (наименование машины)
с нарушением габарита.
Остановиться у красного сигнала, а при его отсутствии следовать со
скоростью не более ________________________ км/ч.
_____________ 20_____________ г. с ______________ ч. _________________ мин.
(дата)
на ________ км, пикеты _____________ перегона _____________________________
(название перегона)
___________ пути, до ______________________________________________________
(номер) (указать часы или "до отмены")
выдавайте поездам предупреждения: "Обеспечить особую бдительность и более
частую подачу оповестительных сигналов".
к Инструкции по обеспечению
безопасности движения поездов
при производстве путевых работ
ПРИНЦИПЫ ФОРМИРОВАНИЯ И ПОРЯДОК ОБСЛУЖИВАНИЯ
ОСНОВНЫХ ХОЗЯЙСТВЕННЫХ ПОЕЗДОВ И ПУТЕВЫХ МАШИН
ДЛЯ ВЫПОЛНЕНИЯ КОМПЛЕКСНЫХ ПУТЕВЫХ РАБОТ
П.9.1. В приложении применяются следующие термины с соответствующими определениями:
П.9.1.1. Специальный подвижной состав (СПС). Несъемные подвижные единицы на железнодорожном ходу:
специальный самоходный подвижной состав (ССПС) - мотовозы, дрезины, специальные автомотрисы для перевозки необходимых для производства работ материалов или доставки работников предприятий ОАО "РЖД" к месту работ, железнодорожно-строительные машины для производства работ по содержанию, обслуживанию и ремонту сооружений и устройств железных дорог, имеющие автономный двигатель с тяговым приводом в транспортном режиме;
специальный несамоходный подвижной состав - железнодорожно-строительные машины без тягового привода в транспортном режиме, прицепе и другой специальный подвижной состав без тягового привода для производства работ по содержанию, обслуживанию и ремонту сооружений и устройств железных дорог.
П.9.1.2. Хозяйственный поезд - поезд, сформированный из действующего локомотива или ССПС, используемого в качестве локомотива, вагонов, выделенных для специальных и технических нужд железных дорог, специального самоходного и несамоходного подвижного состава, предназначенного для выполнения работ по содержанию, обслуживанию и ремонту сооружений и устройств инфраструктуры железнодорожного транспорта.
П.9.2. При реконструкции (модернизации), капитальном ремонте на новых и старогодных материалах, усиленном среднем, среднем и других ремонтах пути с применением машин тяжелого типа формирование хозяйственных поездов и путевых машин на станции отправления на перегон, а также расстановка их на перегоне для выполнения работ должны производиться по распоряжению руководителя работ в соответствии с принятой организацией и технологией выполнения работ.
| | ИС МЕГАНОРМ: примечание. В официальном тексте документа, видимо, допущена опечатка: имеется в виду пункт [10] списка литературы, а не пункт [21]. | |
П.9.3. Хозяйственные поезда, состоящие из отдельных единиц специального подвижного состава (далее - СПС) и предназначенные для проведения работ по реконструкции, капитальному ремонту на новых и старогодных материалах, усиленному среднему и среднему ремонтах пути, планово-предупредительному ремонту и текущему содержанию пути, должны формироваться в соответствии с требованиями
Инструкции о порядке обращения хозяйственных поездов, сформированных из специального железнодорожного подвижного состава
[21], которые отвечают требованиям безопасности движения.
П.9.4. Хозяйственные поезда могут формироваться на железнодорожных станциях, на производственной базе путевой машинной станции или дистанции пути.
П.9.5. Электробалластеры ЭЛБ-1, ЭЛБ-3, ЭЛБ-3МК, ЭЛБ-4 отправляются к месту производства работ и обратно только с отдельным локомотивом или с тяговым модулем (допускается прицепка турного вагона или платформы).
П.9.6. Машины для замены шпал типа МСШУ-4, МСШУ-5.1, МСШУ-5.2, МЗШ-С, МВТХ отправляются к месту производства работ и обратно погруженными на специально оборудованные платформы или вагоны.
П.9.7. Несамоходные щебнеочистительные машины ЩОМ-6, ЩОМ-6Б, ЩОМ-МФ, СЧ-600, СЧ-601, СЧУ-800, АХМ-1, ЩОМ-1200, ЩОМ-700 должны транспортироваться к месту производства работ и обратно, а также по фронту работ только с отдельным локомотивом или с отдельной единицей специального самоходного подвижного состава (тягово-энергетические установки - тяговые модули) типа ТЭУ-400, УТМ-1, УТМ-1А, УТМ-2, УТМ-2М, ПТМ-630, ТЭУ-630, ПА-300, оборудованных системой обеспечения безопасности движения.
Самоходные щебнеочистительные машины ЩОМ-3у, RM-80, RM-76, RM-2002, ОТ-800, ОТ-400, М-42 фирмы Кершо должны следовать к месту производства работ и обратно с отдельным локомотивом. Передвижение указанного специального подвижного состава по фронту разрешается своим ходом.
П.9.8. Специальный подвижной состав типа ВПР, ВПРС, Р, ДСП, ПМГ, РОМ, ПБ, Дуоматик, Унимат Компакт, DGS, SSP-103, GWM110, ПРСМ, СП-93Р, рельсошлифовальные поезда могут следовать на свободный перегон своим ходом в пределах участка обслуживания, установленного приказом заместителя начальника железной дороги.
При необходимости передвижения за пределами этого участка, указанный СПС должен следовать до железнодорожной станции, ограничивающей перегон, на котором будет работать и обратно с отдельным локомотивом или другой самоходной машиной, или в составе хозяйственного поезда. Передвижение таких машин на закрытый перегон с этой железнодорожной станции до места производства работ и обратно разрешается своим ходом.
П.9.9. Выправочно-подбивочно-отделочные машины ВПО-3000, ВПО-3-3000 с турным вагоном для обслуживающей бригады транспортируется отдельным локомотивом со скоростью 50 - 90 км/ч (в зависимости от конструкции машины); в транспортном и рабочем положении с другими хозяйственными поездами и путевыми машинами не соединяется; обязанности главного кондуктора возложены на машиниста ВПО-3000.
В зависимости от поездной ситуации, складывающейся до "окна", вышеперечисленные машины могут размещаться на станциях за один-два перегона (по правильному направлению движения поездов) до ремонтируемого перегона.
Допускается транспортировка отдельных несамоходных машин локомотивом, обслуживаемым в одно лицо. Перечень представлен в таблице П.9.1.
Таблица П.9.1
Перечень путевых машин и работ, при которых
может использоваться локомотив, обслуживаемый в одно лицо
N п/п | Наименование путевых машин и работ | Требования |
1 | 2 | 3 |
1. | Несамоходные путерихтовочные машины | Локомотив должен быть оборудован в соответствии с пунктом 10 Приложения 5 ПТЭ. Обязанности главного кондуктора возлагаются на машиниста машины. В процессе работы сигналы от машины к машинисту локомотива передает руководитель работ. При необходимости, если машинист находится с противоположной стороны по отношению к руководителю работ (со стороны междупутья, в кривых радиусом 1200 м и менее, при движении локомотива задним ходом и при других условиях плохой видимости) между руководителем работ и машинистом локомотива устанавливается промежуточный дублирующий сигналист. Наличие двухсторонней радиосвязи обязательно. Для маневровых передвижений выделяется кондукторская бригада |
2. | Щебнеочистительные машины на железнодорожном ходу, использующие тяговое усилие локомотива |
3. | Выправочно-подбивочно-отделочные машины типа ВПО |
4. | Электробалластеры |
5. | Путевые струги |
6. | Путевые рельсосварочные машины типа ПРСМ |
7. | Стреловые и портальные краны на железнодорожном ходу |
8. | Снегоуборочные поезда для погрузки снега и льда на подвижной состав краном и вручную |
Примечания.
1. Кроме указанных общих требований, на каждой железной дороге должна быть разработана дорожная инструкция, предусматривающая конкретный порядок организации работ.
2. На основе дорожной инструкции должны быть разработаны и утверждены местные инструкции для каждой путевой машины и по каждому виду работ.
3. Разрешается нахождение руководителя работ или другого уполномоченного лица в кабине машиниста локомотива в качестве промежуточного сигналиста.
П.9.10. Путеразборочный поезд (порожние четырехосные платформы, оборудованные устройством УСО, соединенные с укладочным краном УК-25/9 или УК-25/9-18); в транспортном положении под ферму крана УК ставится прикрытие из двух четырехосных платформ, не оборудованных порталами при ферме, расположенной симметрично или трех четырехосных платформ при выдвинутой ферме в рабочее положение; на станции перед выездом на ремонтируемый перегон требуется маневровая перестановка прикрытия из-под фермы крана, обгон локомотива и приведение фермы крана из транспортного положения в рабочее при условии снятия напряжения в контактной сети (при необходимости), транспортная скорость УК-25/9 - 50 км/ч, УК-25/9-18 - 80 км/ч при симметрично расположенной и опущенной ферме и 70 км/ч в прямых и кривых радиусом более 350 м и щебеночном балласте при выдвинутой в рабочее положение и опущенной ферме; на ремонтируемом перегоне в процессе работы путеразборочный поезд разъединяется на три части, а по окончании "окна" соединяется в один поезд; в транспортном положении может соединяться с путеукладочным поездом или с хоппер-дозаторной вертушкой при следовании со звеносборочных баз к месту работ и обратно (с ограничением по массе и длине поезда); размещается на станции отправления на "окно", обслуживается кондукторской бригадой; в составе имеет вагон сопровождения.
П.9.11. Путеукладочный поезд (четырехосные платформы, оборудованные устройством УСО, груженые пакетами звеньев, соединенные с краном УК-25/9 или УК-25/9-18); в транспортном положении под ферму крана УК ставится прикрытие из двух четырехосных платформ, не оборудованных порталами при ферме, расположенной симметрично или трех четырехосных платформ при выдвинутой ферме в рабочее положение; на станции перед выездом на ремонтируемый перегон требуется маневровая перестановка прикрытия из-под фермы крана, обгон локомотива и приведение фермы крана из транспортного положения в рабочее (при необходимости); транспортная скорость УК-25/9 - 50 км/ч, УК-25/9-18 - 80 км/ч при симметрично расположенной и опущенной ферме и 70 км/ч в прямых и кривых радиусом более 350 м и щебеночном балласте при выдвинутой в рабочее положение и опущенной ферме; на ремонтируемый перегон путеукладочный поезд отправляется вагонами вперед со скоростью не более 25 км/ч, при наличии радиосвязи локомотива с укладочным краном в голове поезда - скорость не более 40 км/ч; на ремонтируемом перегоне поезд в процессе работы разъединяется на три части, а в конце "окна" опять соединяется в один поезд для прибытия на станцию; в транспортном положении может соединяться с путеразборочным поездом или с хоппер-дозаторной вертушкой при следовании со звеносборочных баз к месту работ и обратно (с ограничением по массе и длине поезда), обязательно размещается на станции, ограничивающей ремонтируемый перегон; обслуживается кондукторской бригадой; в составе имеет вагон сопровождения.
П.9.12. Количество платформ для перевозки звеньев путевой решетки, а также хоппер-дозаторов определяется в зависимости от объема работ. В состав путеукладочного и путеразборочного поездов включаются моторные платформы, которые на перегон и обратно должны следовать порожними.
П.9.13. Хоппер-дозаторный поезд (хоппер-дозаторная вертушка) с вагоном сопровождения для обслуживающей бригады (крытый четырехосный или ЦМВ), оборудованный пролетной трубой для воздушной рабочей магистрали; транспортная скорость - 60 - 80 км/ч (в зависимости от конструкции хоппер-дозаторов); объем маневровых работ перед выездом на "окно", а также при возвращении обратно на базу ПМС заключается в обгоне локомотива (при необходимости); в транспортном положении может соединяться с путеразборочным или путеукладочным поездами (с ограничением по массе и длине поезда); обслуживается кондукторской бригадой или машинистом хоппер-дозаторного поезда, имеющим удостоверение соответствующей квалификации; на место работ для выгрузки отправляется, как правило, с отдельным локомотивом.
В необходимых случаях допускается постановка хоппер-дозаторов в количестве 6 - 8 шт. в состав путеукладочного поезда за локомотивом.
В зависимости от объема балласта и принятой организации работ (по заявке руководителя работ) в "окно" могут работать один-два отдельных хоппер-дозаторных поезда.
В зависимости от поездной ситуации, складывающейся до "окна", хоппер-дозаторные поезда могут размещаться на станциях за один-два перегона (по правильному направлению движения поездов) до ремонтируемого перегона.
П.9.14. Перед отправлением хозяйственного поезда каждая отдельная единица СПС должна быть приведена в транспортное положение в соответствии с руководством по ее эксплуатации, а поезд обозначен сигналами в соответствии с
Инструкцией по сигнализации на железных дорогах Российской Федерации
[2].
П.9.15. Проверка технического состояния единицы СПС и приведение ее в транспортное положение производится машинистом СПС (или старшим обслуживающей бригады) и ответственным лицом организации-владельца (или руководителя работ). О готовности следования единицы СПС к месту производства работ или обратно последним делается запись в маршрутном листе. На железнодорожной станции отправления о готовности хозяйственного поезда к отправлению руководитель работ (старший обслуживающей бригады СПС) делает запись в журнале формы ДУ-2.
П.9.16. СПС отправляется к месту производства работ дежурным по станции только с разрешения поездного диспетчера.
При отправлении СПС своим ходом дежурный по станции проверяет исправную работу радиосвязи, наличие у машиниста свидетельства на право управления, формуляра машиниста по
форме ТУ-57, удостоверения РБУ-9, удостоверения помощника машиниста по форме ПУ-7, акта контрольно-технического осмотра СПС, разрешения на право движения по сети железных дорог Российской Федерации, а также наличие маршрутного листа, выданного организацией-владельцем с записью о готовности специального подвижного состава к следованию, исправности системы обеспечения безопасности движения и отметки о прохождении бригадой предрейсового медосмотра.
По окончании смены машинист и помощник обязаны пройти послерейсовый осмотр с отметкой в маршрутном листе.
При оставлении бригадой СПС на станциях, где медицинский контроль отсутствует, состояние работоспособности бригады определяет дежурный по станции с отметкой в маршрутном листе.
П.9.17. При следовании специального подвижного состава в транспортном положении с отдельным локомотивом или в составе хозяйственного поезда на остановках продолжительностью более 30 минут обслуживающие и сопровождающие бригады должны осматривать его и проверять исправность ходовых частей, рессорного подвешивания, тормозного и автосцепного оборудования, правильность стопорения рабочих органов, наличие сигнальных принадлежностей. При обнаружении неисправностей, угрожающих безопасности движения, и невозможности их устранения, специальный подвижной состав подлежит отцепке от поезда.
П.9.18. При отправлении хозяйственного поезда к месту работ и обратно, или с базы ПМС, ПЧ на железнодорожную станцию, ограничивающую закрываемый перегон и обратно, или в места временной дислокации и обратно, каждая единица СПС должна сопровождаться машинистом и помощником машиниста или водителем и помощником водителя, а несамоходных единиц СПС типа хоппер-дозаторов, составов для засорителей, платформ - обслуживающей бригадой.
Кроме того, при движении хозяйственного поезда к месту работ и обратно, этот хозяйственный поезд должен сопровождаться руководителем работ (или уполномоченным им работником), обязанным обеспечивать постоянный контроль за безопасностью движения.
П.9.19. При работе на одном перегоне нескольких единиц СПС или хозяйственных поездов, работающих на выполнении отдельных операций после окончания путевых работ на перегоне, допускается сцепление отдельных единиц СПС или нескольких хозяйственных поездов на перегоне для отправления на станцию. Формирование поезда, по возможности должно производиться на площадке и прямом участке пути, заранее согласованном руководителем работ со всеми сопровождающими единицы СПС бригадами.
После окончания формирования хозяйственного поезда на перегоне, отправление поезда производится по указанию руководителя работ в порядке, предусмотренном
Инструкцией по движению поездов и маневровой работе на железных дорогах Российской Федерации
[3].
П.9.20. Допускаемые скорости движения хозяйственного поезда принимаются по наименьшей из допускаемых скоростей, входящих в состав поезда отдельных единиц СПС.
Допускаемые скорости движения хозяйственных поездов не должны превышать скоростей движения, установленных приказом по дороге и установленных
Правилами технической эксплуатации железных дорог Российской Федерации
[1] с учетом фактического состояния железнодорожного пути и ИССО.
Допускаемые скорости движения и основные требования при транспортировке специального подвижного состава приведены в
Приложении 10 к настоящей Инструкции.
Примечание. Представленные в данном приложении принципы формирования и порядок обслуживания рабочих поездов и путевых машин могут корректироваться (по указанию руководителя работ) при внедрении новых технических средств, в зависимости от их назначения и места в технологии работ.
к Инструкции по обеспечению
безопасности движения поездов
при производстве путевых машин
ДОПУСКАЕМЫЕ СКОРОСТИ ДВИЖЕНИЯ И ОСНОВНЫЕ ТРЕБОВАНИЯ
ПРИ ТРАНСПОРТИРОВАНИИ ОСНОВНЫХ ПУТЕВЫХ МАШИН
N п/п | Наименование машин | Наибольшие допускаемые скорости при транспортировке | Основные требования |
1. | Путеукладчики УК-25/9 при следовании в составе поезда или с отдельным локомотивом. Ферма крана опущена и расположена симметрично | По прямым участкам пути и кривым радиусом 600 м и более - 70 км/ч, по кривым радиусом менее 600 м - 40 км/ч. По стрелочным переводам прямого направления - 70 км/ч, бокового направления с крестовинами марки 1/11 - 40 км/ч, марки 1/9 - 25 км/ч | Привести кран в рабочее положение в соответствии с "Инструкцией по приведению в транспортное положение и порядку сопровождения специального подвижного состава" (ЦП-908, далее Инструкция), установить транспортные распорки между стойками обоих порталов. Свободные откидные балки фермы крана поднять в транспортное положение и надежно закрепить растяжками; обеспечить надежность сцепки крана с платформами с постановкой замков расцепных рычагов и специальных болтов в головки автосцепок и включить автотормоза поезда; поставить платформы прикрытия с обеих сторон путеукладчика; при пересылке в грузовых поездах ставятся во второй половине поезда |
2. | Путеукладчик УК-25/9 при следовании в составе рабочего поезда к месту работ и обратно с выдвинутой в рабочее положение, но опущенной фермой | По прямым участкам пути и кривым радиусом 600 м и более - 50 км/ч, по кривым радиусом от 300 до 600 м - 40 км/ч. По стрелочным переводам прямого направления - 50 км/ч, бокового направления с крестовинами марки 1/11 - 40 км/ч, марки 1/9 - 25 км/ч |
3. | Путеукладчик УК 25/9-18 при следовании в составе поезда или с отдельным локомотивом. Ферма крана опущена и расположена симметрично | По прямым участкам пути и кривым радиусом 500 м и более - 80 км/ч, R = 400 - 499 м - 75 км/ч, R = 350 - 399 м - 70 км/ч, R = 300 - 349 м - 65 км/ч. По стрелочным переводам прямого направления - 80 км/ч, бокового направления с крестовинами марки 1/11 - 40 км/ч, марки 1/9 - 25 км/ч |
4. | Путеукладчик УК 25/9-18 при следовании в составе рабочего поезда к месту работ с выдвинутой стрелой в рабочее положение и опущенной фермой | По прямым участкам пути и кривым радиусом более 350 м - 70 км/ч, R = 300 - 349 м - 65 км/ч. По стрелочным переводам прямого направления - 70 км/ч, бокового направления с крестовинами марки 1/11 - 40 км/ч, марки 1/9 - 25 км/ч | |
5. | Путеукладчик УК-25СП, УК-25СПМ при следовании в составе хозяйственного поезда или с отдельным локомотивом | По прямым участкам пути и кривым радиусом 500 м и более - 80 км/ч, R = 400 - 499 м - 75 км/ч, R = 350 - 399 м - 70 км/ч, R = 300 - 349 м - 65 км/ч. По стрелочным переводам прямого направления - 80 км/ч, бокового направления с крестовинами марки 1/11 - 40 км/ч, марки 1/9 - 25 км/ч | Привести в транспортное положение в соответствии с Инструкцией; установить ферму и порталы в транспортное положение и зафиксировать транспортными стяжками |
6. | Погрузочный ПКД для 25-метровых звеньев при следовании в составе поезда | По прямым участкам пути и кривым радиусом 600 м и более - 70 км/ч, по кривым радиусом от 300 до 600 м - 40 км/ч. По стрелочным переводам прямого направления - 70 км/ч, бокового направления с крестовинами марки 1/11 - 40 км/ч, марки 1/9 - 25 км/ч | Привести в транспортное положение в соответствии с Инструкцией. Пересылается в составе грузового поезда в любой части поезда |
7. | Моторная платформа МПД, МПД-2 при следовании в составе грузового поезда или с отдельным локомотивом, или хозяйственного поезда | По прямым участкам пути и кривым радиусом 600 м и более - 90 км/ч, R = 500 - 599 м - 85 км/ч, R = 400 - 499 м - 75 км/ч, R = 350 - 399 м - 70 км/ч, R = 300 - 349 м - 65 км/ч. По стрелочным переводам прямого направления - 90 км/ч, бокового направления с крестовинами марки 1/11 - 40 км/ч, марки 1/9 - 25 км/ч. При следовании в составе хозяйственного поезда скорость должна соответствовать скорости этого поезда. Моторная платформа МПД на тележках Кировского машиностроительного завода - допускаемая скорость по прямым участкам пути и кривым 500 м и более - не более 80 км/ч | Привести в транспортное положение в соответствии с Инструкцией. Пересылается в любой части грузового поезда |
8. | Состав с пакетами звеньев длиной 12,5 м и 25 м с деревянными и железобетонными шпалами | По прямым участкам пути и кривым радиусом 600 м и более - 70 км/ч, по кривым радиусом от 300 до 600 м - 40 км/ч. По стрелочным переводам прямого направления - 70 км/ч, бокового направления с крестовинами марки 1/11 - 40 км/ч, марки 1/9 - 25 км/ч | Погрузка и закрепление пакетов звеньев на платформах производится в соответствии с Инструкцией по закреплению пакетов рельсошпальной решетки на четырехосных платформах и о порядке следования укладочных и разборочных поездов. От продольного перемещения пакеты закрепляются упорами, цепями или шпальными выкладками. На каждой остановке производить тщательный осмотр состояния крепления пакетов и их подтяжку. Включение групп платформ с пакетами звеньев в состав других поездов запрещается. Рукоятки расцепных рычагов автосцепок должны быть заперты на замок |
9. | Выправочно-подбивочно-отделочная машина ВПО-3000 с задней трехосной тележкой со сварной рамой | По прямым участкам пути - 50 км/ч. По стрелочным переводам прямого направления - 50 км/ч, бокового направления - 25 км/ч | Привести в транспортное направление в соответствии с Инструкцией. ВПО-3000 транспортируются только отдельным локомотивом. ВПО-3-3000 может транспортироваться отдельным локомотивом или в составе грузового и хозяйственного поезда |
10. | Выправочно-подбивочно-отделочная машина ВПО-3-3000 при следовании с отдельным локомотивом или в составе поезда | По прямым участкам пути и кривым радиусом более 600 м - 90 км/ч, R = 500 - 599 м - 85 км/ч, R = 400 - 499 м - 75 км/ч, R = 350 - 399 м - 70 км/ч, R = 300 - 349 м - 65 км/ч. По стрелочным переводам прямого направления - 90 км/ч, бокового направления с крестовинами марки 1/11 - 40 км/ч, марки 1/9 - 25 км/ч |
11. | Хоппер-дозаторы ЦНИИ-ДВЗ, ДВЗ-М цельнометаллические (с базой 6650 мм) | По прямым участкам пути - до 80 км/ч. По стрелочным переводам прямого направления - 80 км/ч, бокового направления с крестовинами марки 1/11 - 40 км/ч, марки 1/9 - 25 км/ч | Привести в транспортное положение в соответствии с Инструкцией. Курсирование хоппер-дозаторов по ж.д. путям общего пользования допускается только в замкнутых вертушках с одним турным вагоном для обслуживающей бригады в каждой вертушке. В порожнем состоянии могут пополняться до установленной длины любым подвижным составом, за исключением думпкаров, в соответствии с планом формирования |
12. | Электробалластеры ЭЛБ-1, ЭЛБ-3, ЭЛБ-4 (ЭЛБ-3МК) | По участкам пути - 50 км/ч. По стрелочным переводам прямого направления - 50 км/ч; бокового направления - 25 км/ч | Привести в транспортное положение в соответствии с Инструкцией. Транспортируются отдельным локомотивом или в составе хозяйственного поезда. Пересылаются в поездах, которые не подталкиваются, а на участках, где пропуск поездов без подталкивания невозможен - с отдельным локомотивом. В грузовые поезда ставятся перед последним хвостовым вагоном |
13. | Щебнеочистительная машина ЩОМ-6 (несамоходная) | По прямым участкам пути и кривым радиусом до 300 м - 50 км/ч. По стрелочным переводам прямого направления - 50 км/ч, бокового направления с крестовинами марки 1/11 - 20 км/ч, марки 1/9 - 15 км/ч | Привести в транспортное положение в соответствии с Инструкцией. Транспортируется отдельным локомотивом или в составе хозяйственного поезда. Пересылается отдельным локомотивом |
14. | Щебнеочистительная машина ЩОМ-6Б, ЩОМ-6БМ (несамоходная) | По прямым участкам пути и кривым радиусом 500 м и более - 80 км/ч, R = 400 - 499 м - 75 км/ч, R = 350 - 399 м - 70 км/ч, R = 300 - 349 м - 60 км/ч. По стрелочным переводам прямого направления - 80 км/ч, бокового направления с крестовинами марки 1/11 - 25 км/ч, марки 1/9 - 20 км/ч |
15. | Щебнеочистительная машина RM-80, RM-76 (самоходная) | По прямым участкам пути и кривым радиусом 300 м и более - 60 км/ч. По стрелочным переводам прямого направления - 60 км/ч, бокового направления с крестовинами марки 1/11 - 30 км/ч, марки 1/9 - 30 км/ч | Привести в транспортное положение в соответствии с Инструкцией. Транспортируется своим ходом или отдельным локомотивом. Пересылается отдельным локомотивом. Транспортирование в составе поезда запрещается |
16. | Щебнеочистительная машина ОТ-400 (самоходная) | По прямым участкам пути и кривым радиусом 500 м и более - 80 км/ч, R = 400 - 499 м - 75 км/ч, R = 350 - 399 м - 70 км/ч, R = 300 - 349 м - 65 км/ч. По стрелочным переводам прямого направления - 80 км/ч, бокового направления с крестовинами марки 1/11 и 1/9 - 40 км/ч. При следовании своим ходом скорость не более 55 км/ч | Привести в транспортное положение в соответствии с Инструкцией. Транспортируется своим ходом, отдельным локомотивом. Пересылается отдельным локомотивом. Ставить в состав поезда запрещается |
17. | Щебнеочистительная машина СЧ-600, СЧ-601 (несамоходная) | По прямым участкам пути и кривым радиусом 500 м и более - 80 км/ч, R = 400 - 499 м - 75 км/ч, R = 350 - 399 м - 70 км/ч, R = 300 - 349 м - 65 км/ч. По стрелочным переводам прямого направления - 80 км/ч, бокового направления с крестовинами марки 1/11 и 1/9 - 40 км/ч | Привести в транспортное положение в соответствии с Инструкцией. Транспортируется отдельным локомотивом или в составе хозяйственного поезда. Пересылается отдельным локомотивом |
18. | Щебнеочистительная машина СЧУ-800 (несамоходная) | По прямым участкам пути и кривым радиусом 300 м и более - 60 км/ч. По стрелочным переводам прямого направления - 60 км/ч, бокового направления с крестовинами марки 1/11 и 1/9 - 40 км/ч | Привести в транспортное положение в соответствии с Инструкцией. Транспортируется отдельным локомотивом или в составе хозяйственного поезда. Пересылать разрешается отдельным локомотивом или в составе поезда отдельные единицы машины (концевой вагон МВК, промежуточный вагон МВП с прикрытием, секция ТС-800 с прикрытием, секция ЦС-800 с прикрытием, универсальный тяговый модуль УТМ-2) |
19. | Щебнеочистительная машина ЩОМ-700 (несамоходная) | По прямым участкам пути и кривым радиусом 500 м и более - 80 км/ч, R = 400 - 499 м - 75 км/ч, R = 350 - 399 м - 70 км/ч, R = 300 - 349 м - 65 км/ч. По стрелочным переводам прямого направления - 80 км/ч, бокового направления с крестовинами марки 1/11 и 1/9 - 40 км/ч | Привести в транспортное положение в соответствии с Инструкцией. Транспортируется отдельным локомотивом или в составе хозяйственного поезда. Пересылается отдельным локомотивом или в составе грузового поезда с постановкой перед двумя хвостовыми вагонами |
20. | Щебнеочистительный комплекс ЩОМ-1200 | По прямым участкам пути - 80 км/ч | Привести в транспортное положение в соответствии с Инструкцией по эксплуатации машины. Транспортируется тяговым модулем, отдельным локомотивом. Пересылается отдельным локомотивом |
22. | Щебнеочистительный комплекс RM-2002 (несамоходная) | По прямым участкам пути и кривым радиусом 300 м и более - 80 км/ч. По стрелочным переводам прямого направления - 80 км/ч, бокового направления с крестовинами марки 1/11 и 1/9 - не более 40 км/ч | Привести в транспортное положение в соответствии с Инструкцией по эксплуатации машины. Транспортируется тяговым модулем, отдельным локомотивом. Пересылается отдельным локомотивом |
23. | Состав для засорителей повышенной производительности СЗ-240-6 в порожнем состоянии | По прямым участкам пути и кривым радиусом более 500 м - 80 км/ч, R = 400 - 499 м - 75 км/ч, R = 350 - 399 м - 70 км/ч, R = 300 - 349 м - 65 км/ч. По стрелочным переводам прямого направления - 80 км/ч, бокового направления с крестовинами марки 1/11 и 1/9 - 40 км/ч | Привести в транспортное положение в соответствии с Инструкцией. Транспортируется отдельным локомотивом или в составе хозяйственного поезда. Пересылается в составе грузового поезда, отдельным локомотивом |
24. | Состав для засорителей повышенной производительности СЗ-240-6 в груженом состоянии | По прямым участкам пути и кривым радиусом 300 м и более - 60 км/ч. По стрелочным переводам прямого направления - 60 км/ч, бокового направления с крестовинами марки 1/11 и 1/9 - 25 км/ч |
25. | Платформы для перевозки стрелочных переводов СПС (в порожнем и груженом состоянии) | По прямым участкам пути и кривым радиусом 500 м и более - 80 км/ч, R = 400 - 499 м - 75 км/ч, R = 350 - 399 м - 70 км/ч, R = 300 - 349 м - 65 км/ч. По стрелочным переводам прямого направления - 80 км/ч, бокового направления с крестовинами марки 1/11 и 1/9 - 40 км/ч | Привести в транспортное положение в соответствии с Руководством по эксплуатации. Транспортируются отдельным локомотивом. Пересылаются в порожнем состоянии отдельным локомотивом или в составе грузового поезда |
26. | Механизированные платформы для перевозки стрелочных переводов ППК-2Б, ППК-3В (в порожнем и груженом состоянии) | По прямым участкам пути и кривым радиусом 500 м и более - 80 км/ч, R = 400 - 499 м - 75 км/ч, R = 350 - 399 м - 70 км/ч, R = 300 - 349 м - 65 км/ч. По стрелочным переводам прямого направления - 80 км/ч, бокового направления с крестовинами марки 1/11 и 1/9 - 40 км/ч | Привести в транспортное положение в соответствии с Инструкцией. Транспортируются отдельным локомотивом или в составе хозяйственного поезда. Пересылаются в порожнем состоянии отдельным локомотивом или в составе грузового поезда |
27. | Выправочно-подбивочно-рихтовочная машина ВПР-1200, ВПРС-500, Р-2000 | По прямым участкам пути и кривым радиусом 300 м и более - 80 км/ч. По стрелочным переводам прямого направления - 80 км/ч, бокового направления с крестовинами марки 1/11 и 1/9 - 40 км/ч | Привести в транспортное положение в соответствии с Инструкцией. Транспортируется своим ходом, отдельным локомотивом или в составе хозяйственного поезда. Пересылается отдельным локомотивом или на ж.д. платформе в качестве груза |
28. | Выправочно-подбивочно-рихтовочная машина ВПР-02, ВПРС-02 | По прямым участкам пути и кривым радиусом 500 м и более - 100 км/ч, R = 400 - 499 м - 95 км/ч, R = 350 - 399 м - 85 км/ч, R = 300 - 349 м - 80 км/ч. При следовании своим ходом - не более 80 км/ч. По стрелочным переводам прямого направления - 100 км/ч, бокового направления с крестовинами марки 1/11 и 1/9 - 40 км/ч | Привести в транспортное положение в соответствии с Инструкцией. Транспортируется своим ходом, отдельным локомотивом или в составе хозяйственного поезда. Пересылается отдельным локомотивом или на железнодорожной платформе в качестве груза |
29. | Выправочно-подбивочно-рихтовочная машина 09-32 CSM Duomatic | По прямым участкам пути и кривым радиусом 300 м и более - 70 км/ч. По стрелочным переводам прямого направления - 70 км/ч, бокового направления с крестовинами марки 1/11 и 1/9 - 40 км/ч | Привести в транспортное положение в соответствии с Инструкцией. Транспортируется своим ходом или отдельным локомотивом. Пересылается отдельным локомотивом или на железнодорожной платформе в качестве груза |
30. | Выправочно-подбивочно-рихтовочная машина 08-475/4S (УНИМАТ) для стрелочных переводов | По прямым участкам пути и кривым радиусом 300 м и более - 50 км/ч. По стрелочным переводам прямого направления - 50 км/ч, бокового направления с крестовинами марки 1/11 и 1/9 - 40 км/ч | Привести в транспортное положение в соответствии с Инструкцией. Транспортируется своим ходом или отдельным локомотивом. Пересылается отдельным локомотивом |
31. | Машина для выправки стыков 08-016 STRAIT | По прямым участкам пути и кривым радиусом более 300 м - 70 км/ч. По стрелочным переводам прямого направления - 70 км/ч, бокового направления с крестовинами марки 1/11 и 1/9 - 40 км/ч | Привести в транспортное положение в соответствии с Инструкцией. Транспортируется своим ходом, в составе грузового поезда или отдельным локомотивом. Пересылается отдельным локомотивом или в составе грузового поезда |
32. | Выправочно-подбивочно-рихтовочная машина Unimat Compact 08-275 3S-16 для выправки пути и стрелочных переводов | По прямым участкам пути своим ходом - 80 км/ч, в составе грузового поезда - 100 км/ч | Привести в транспортное положение в соответствии с Инструкцией. Транспортируется своим ходом, отдельным локомотивом или в составе хозяйственного поезда. Пересылается отдельным локомотивом или на железнодорожной платформе в качестве груза |
33. | Машина для шлифовании путей и стрелочных переводов GWM 110 | По прямым участкам пути и кривым радиусом 300 м и более - 80 км/ч. По стрелочным переводам прямого направления - 80 км/ч, бокового направления с крестовинами марки 1/11 и 1/9 - 40 км/ч | Привести в транспортное положение в соответствии с Инструкцией. Транспортируется своим ходом или отдельным локомотивом. Пересылается отдельным локомотивом или в составе грузового поезда |
34. | Подбивочно-выправочные автоматы ПМА-1, ПМА-С | По прямым участкам пути - 90 км/ч | Привести в транспортное положение в соответствии с Инструкцией по эксплуатации машины. Транспортируется своим ходом или отдельным локомотивом. Пересылается отдельным локомотивом |
35. | Динамический стабилизатор пути ДСП | По прямым участкам пути и кривым радиусом 400 м и более - 90 км/ч, R = 350 - 399 м - 85 км/ч, R = 300 - 349 м - 80 км/ч. По стрелочным переводам прямого направления - 90 км/ч, бокового направления с крестовинами марки 1/11 и 1/9 - 40 км/ч. При следовании своим ходом не более 80 км/ч | Привести в транспортное положение в соответствии с Инструкцией. Транспортируется своим ходом, в составе хозяйственного поезда или отдельным локомотивом. Пересылается отдельным локомотивом или в составе грузового поезда |
36. | Динамический стабилизатор пути МДС | По прямым участкам пути - 90 км/ч | Привести в транспортное положение в соответствии с Инструкцией по эксплуатации машины. Транспортируется своим ходом или отдельным локомотивом. Пересылается отдельным локомотивом |
37. | Динамический стабилизатор пути ДСП-С | По прямым участкам пути - 80 км/ч | Привести в транспортное положение в соответствии с Инструкцией по эксплуатации машины. Транспортируется своим ходом или отдельным локомотивом. Пересылается отдельным локомотивом или в составе грузового поезда |
38. | Уборочная машина УМ-1 | По прямым участкам пути и кривым радиусом 500 м и более - 80 км/ч, R = 400 - 499 м и R = 350 - 399 м - 65 км/ч, R = 300 - 349 м - 60 км/ч. По стрелочным переводам прямого направления - 80 км/ч, бокового направления с крестовинами марки 1/11 - 25 км/ч, марки 1/9 - 20 км/ч | Привести в транспортное положение в соответствии с Инструкцией. Транспортируется отдельным локомотивом или в составе хозяйственного поезда. Пересылается отдельным локомотивом или в составе грузового поезда |
39. | Путевой моторный гайковерт ПМГ | По прямым участкам пути и кривым радиусом 500 м и более - 100 км/ч, R = 400 - 499 м - 95 км/ч, R = 350 - 399 м - 85 км/ч, R = 300 - 349 м - 80 км/ч. По стрелочным переводам прямого направления - 100 км/ч, бокового направления с крестовинами марки 1/11 и 1/9 - 40 км/ч | Привести в транспортное положение в соответствии с Инструкцией. Транспортируется своим ходом, в составе хозяйственного поезда, отдельным локомотивом. Пересылается на четырехосной платформе в качестве груза. Запрещается транспортировать в составе грузового поезда |
40. | Планировщик балласта ПБ и ПБ-1 | По прямым участкам пути и кривым радиусом 500 м и более - 80 км/ч, R = 400 - 499 м - 75 км/ч, R = 350 - 399 м - 70 км/ч, R = 300 - 349 м - 65 км/ч. По стрелочным переводам прямого направления - 80 км/ч, бокового направления с крестовинами марки 1/11 и 1/9 - 40 км/ч | Привести в транспортное положение в соответствии с Инструкцией. Транспортируется своим ходом, в составе хозяйственного поезда, отдельным локомотивом. Пересылается на четырехосной платформе в качестве груза. Запрещается транспортировать в составе грузового поезда |
41. | Рельсошлифовальный поезд RR-48 | По прямым участкам пути и кривым радиусом 400 м и более - 75 км/ч, R = 350 - 399 м - 70 км/ч, R = 300 - 349 м - 65 км/ч. По стрелочным переводам прямого направления - 75 км/ч, бокового направления с крестовинами марки 1/11 и 1/9 - 40 км/ч | Привести в транспортное положение в соответствии с Инструкцией. Транспортируется своим ходом или отдельным локомотивом. Пересылается отдельным локомотивом |
42. | Рельсошлифовальный поезд РШП48 | По прямым участкам пути и кривым радиусом 300 м и более - 80 км/ч. По стрелочным переводам прямого направления - 80 км/ч, бокового направления с крестовинами марки 1/11 и 1/9 - 40 км/ч | Привести в транспортное положение в соответствии с Инструкцией. Транспортируется своим ходом или отдельным локомотивом. Пересылается отдельным локомотивом. При транспортировании в холодном состоянии карданные валы должны быть отсоединены |
43. | Машина для нарезки и очистки кюветов МНК-1 | По прямым участкам пути и кривым радиусом 500 м и более - 80 км/ч, R = 400 - 499 м - 75 км/ч, R = 350 - 399 м - 70 км/ч, R = 300 - 349 м - 65 км/ч. По стрелочным переводам прямого направления - 80 км/ч, бокового направления с крестовинами Р65 марки 1/11 - 40 км/ч, марки 1/9 - 30 км/ч; Р50 марки 1/11 - 25 км/ч, марки 1/9 - 20 км/ч. Машина МНК-1 N 1 транспортируется со скоростью не более 60 км/ч | Привести в транспортное положение в соответствии с Инструкцией. Транспортируется отдельным локомотивом или в составе хозяйственного поезда. Пересылается отдельным локомотивом или в составе грузового поезда |
44. | Кюветно-траншейная машина МКТ | По прямым участкам пути - 90 км/ч | Привести в транспортное положение в соответствии с Инструкцией по эксплуатации машины. Транспортируется отдельным локомотивом (тяговым модулем). Пересылается отдельным локомотивом или в составе грузового поезда |
45. | Самоходный землеуборочный поезд СЗП-600Р | По прямым участкам пути - 80 км/ч; своим ходом не более 65 км/ч | Привести в транспортное положение в соответствии с Инструкцией. Транспортируется отдельным локомотивом или в составе хозяйственного поезда. Пересылается отдельным локомотивом или в составе грузового поезда перед последним тормозным вагоном |
46. | Кусторез СП-93Р | По прямым участкам пути и кривым радиусом 500 м и более - 80 км/ч, R = 400 - 499 м - 75 км/ч, R = 350 - 399 м - 70 км/ч, R = 300 - 349 м - 65 км/ч. По стрелочным переводам прямого направления - 80 км/ч, бокового направления с крестовинами марки 1/11 - 30 км/ч, марки 1/9 - 25 км/ч | Привести в транспортное положение в соответствии с Инструкцией |
47. | Путевая землеуборочная машина Балашенко | По прямым участкам пути - 50 км/ч. По стрелочным переводам прямого направления - 50 км/ч, бокового направления с крестовинами марки 1/11 и 1/9 - 25 км/ч | Привести в транспортное положение в соответствии с Инструкцией. Транспортируется отдельным локомотивом или в составе грузового поезда. Ставится в хвосте поезда перед тормозной платформой прикрытия со стороны транспортера |
48. | Путерихтовочная машина ПРБ | По прямым участкам пути и кривым радиусом более 600 м - 70 км/ч, по кривым радиусом менее 600 м - 40 км/ч. По стрелочным переводам прямого направления - 70 км/ч, бокового направления с крестовинами марки 1/11 и 1/9 - 25 км/ч | Привести в транспортное положение в соответствии с Инструкцией. Транспортируется отдельным локомотивом. Пересылается в составе грузового поезда |
49. | Машина для очистки рельсов РОМ-3 (РОМ-3М) | По прямым участкам пути и кривым радиусом 500 м и более - 100 км/ч, R = 400 - 499 м - 95 км/ч, R = 350 - 399 м - 85 км/ч, R = 300 - 349 м - 80 км/ч. По стрелочным переводам прямого направления - 100 км/ч, бокового направления с крестовинами марки 1/11 и 1/9 - 40 км/ч | Привести в транспортное положение в соответствии с Инструкцией. Транспортируется своим ходом или отдельным локомотивом. Пересылается отдельным локомотивом или в составе поезда на платформе в качестве груза (только головная машина), цистерна транспортируется в составе грузового поезда |
50. | Машина для очистки рельсов РОМ-4, МПТ-6.2 | По прямым участкам пути и кривым радиусом 600 м и более - 90 км/ч, R = 500 - 599 м - 85 км/ч, R = 400 - 499 м - 75 км/ч, R = 350 - 399 м - 70 км/ч, R = 300 - 349 м - 65 км/ч. По стрелочным переводам прямого направления - 90 км/ч, бокового направления с крестовинами марки 1/11 и 1/9 - 40 км/ч | Привести в транспортное положение в соответствии с Инструкцией. Транспортируется своим ходом или отдельным локомотивом. Пересылается отдельным локомотивом или в составе грузового поезда на 3-х платформах в качестве груза |
51. | Состав для перевозки 800 м рельсовых плетей (из 4-осных платформ, проект 1814.00.00.000) в груженом состоянии | По прямым участкам пути и кривым радиусом 800 м и более - 80 км/ч, R = 700 - 799 м - 70 км/ч, R = 500 - 699 м - 55 км/ч, R = 400 - 499 м - 45 км/ч, R = 300 - 399 м - 40 км/ч, R = 250 м - 30 км/ч. По стрелочным переводам прямого направления - 80 км/ч, бокового направления с крестовинами марки 1/11 - 40 км/ч, марки 1/9 - 25 км/ч | Привести в транспортное положение в соответствии с Инструкцией по эксплуатации. Транспортируется отдельным локомотивом |
в порожнем состоянии | Установленными для грузовых поездов |
52. | Машина для уплотнения балластной призмы БУМ (БУМ-1М) | По прямым участкам пути и кривым радиусом 500 м и более - 100 км/ч, R = 400 м - 95 км/ч, R = 350 м - 85 км/ч, R = 300 м - 80 км/ч. По стрелочным переводам прямого направления - 100 км/ч, бокового направления с крестовинами марки 1/11 и 1/9 - 40 км/ч | Привести в транспортное положение в соответствии с Инструкцией. Транспортируется своим ходом, в составе хозяйственного поезда, отдельным локомотивом. Пересылается отдельным локомотивом, в составе грузового поезда в качестве груза. Транспортировать в составе грузового поезда запрещается |
53. | Путевая рельсосварочная самоходная машина ПРСМ-3 | По прямому участку пути не более 60 км/ч | Привести в транспортное положение в соответствии с Инструкцией. Транспортируется своим ходом. Пересылается в составе грузового поезда |
54. | Путевая рельсосварочная машина ПРСМ-4, ПРСМ-5 | По прямым участкам пути и кривым радиусом 500 м и более - 100 км/ч, R = 400 - 499 м - 95 км/ч, R = 350 - 399 м - 85 км/ч, R = 300 - 349 м - 80 км/ч. По стрелочным переводам прямого направления - 100 км/ч, бокового направления с крестовинами марки 1/11 и 1/9 - 40 км/ч, в составе грузового поезда - не более 90 км/ч | Привести в транспортное положение в соответствии с Инструкцией. Транспортируется своим ходом или отдельным локомотивом. Пересылается отдельным локомотивом или в составе грузового поезда, ставится в хвосте поезда с прикрытием тормозного четырехосного вагона |
55. | Снегоуборочный поезд с головной машиной СМ-2, СМ-2Б в порожнем и груженом состоянии | По прямым участкам пути и кривым радиусом 300 м и более - 50 км/ч. По стрелочным переводам прямого направления - 50 км/ч, бокового направления с крестовинами марки 1/11 и 1/9 - 40 км/ч | Привести в транспортное положение в соответствии с Инструкцией. Транспортируется отдельным локомотивом. Пересылается отдельным локомотивом или в составе грузового поезда в сцепе с платформой прикрытия со стороны привода транспортера-накопителя |
56. | Снегоуборочный поезд СМ-2М, ПСЭ в порожнем состоянии | По прямым участкам пути и кривым радиусом 600 м и более - 90 км/ч, R = 500 - 599 м - 85 км/ч, R = 400 - 499 м - 75 км/ч, R = 350 - 399 м - 70 км/ч, R = 300 - 349 м - 65 км/ч. По стрелочным переводам прямого направления - 90 км/ч, бокового направления с крестовинами марки 1/11 и 1/9 - 40 км/ч | Привести в транспортное положение в соответствии с Инструкцией. Транспортируется отдельным локомотивом. Пересылается отдельным локомотивом или в составе грузового поезда в сцепе с платформой прикрытия со стороны привода транспортера-накопителя |
в груженом состоянии | Скорость не более 50 км/ч |
57. | Снегоуборочный поезд СМ-3 в порожнем состоянии | По прямым участкам пути и кривым радиусом 600 м и более - 90 км/ч, R = 500 - 599 м - 85 км/ч, R = 400 - 499 м - 75 км/ч, R = 350 - 399 м - 70 км/ч, R = 300 - 349 м - 65 км/ч. По стрелочным переводам прямого направления - 90 км/ч, бокового направления с крестовинами марки 1/11 и 1/9 - 40 км/ч | Привести в транспортное положение в соответствии с Инструкцией. Транспортируется своим ходом или отдельным локомотивом. Пересылается отдельным локомотивом или в составе грузового поезда |
в груженом состоянии | Скорость не более 50 км/ч |
58. | Одновагонный снегоуборщик СМ-4 | По прямым участкам пути - 70 км/ч | Привести в транспортное положение в соответствии с Инструкцией по эксплуатации машины. Транспортируется своим ходом или отдельным локомотивом. Пересылается отдельным локомотивом или в составе поезда |
59. | Снегоуборочная одновагонная самоходная машина СМ-5 в порожнем состоянии | По прямым участкам пути и кривым радиусом 600 м и более - 90 км/ч, R = 500 - 599 м - 85 км/ч, R = 400 - 499 м - 75 км/ч, R = 350 - 399 м - 70 км/ч, R = 300 - 349 м - 65 км/ч. По стрелочным переводам прямого направления - 90 км/ч, бокового направления с крестовинами марки 1/11 и 1/9 - 40 км/ч | Привести в транспортное положение в соответствии с Инструкцией. Транспортируется своим ходом или отдельным локомотивом. Пересылается отдельным локомотивом или в составе грузового поезда |
в груженом состоянии | Скорость не более 40 км/ч, по стрелочным переводам бокового направления с крестовинами марки 1/11 - 20 км/ч, марки 1/9 - 15 км/ч |
60. | Снегоочиститель плужный двухпутный СДП, СДП-М, СДП-М2. Снегоочиститель плужный универсальный СПУ-Н | По прямым участкам пути и кривым радиусом 600 м и более - 90 км/ч, R = 500 - 599 м - 85 км/ч, R = 400 - 499 м - 75 км/ч, R = 350 - 399 м - 70 км/ч, R = 300 - 349 м - 65 км/ч. По стрелочным переводам прямого направления - 90 км/ч, бокового направления с крестовинами марки 1/11 и 1/9 - 40 км/ч | Привести в транспортное положение в соответствии с Инструкцией. Транспортируется отдельным локомотивом. Пересылается отдельным локомотивом или в составе грузового поезда |
61. | Снегоочиститель фрезерно-роторный ФРЭС-2 | По прямым участкам пути и кривым радиусом 500 м и более - 90 км/ч, R = 400 - 499 м - 75 км/ч, R = 350 - 399 м - 70 км/ч, R = 300 - 349 м - 65 км/ч. По стрелочным переводам прямого направления - 90 км/ч, бокового направления с крестовинами марки 1/11 и 1/9 - 40 км/ч | Привести в транспортное положение в соответствии с Инструкцией. Транспортируется отдельным локомотивом. Пересылается отдельным локомотивом |
62. | Снегоочиститель трехроторный электрический ЭСО-3 | По прямым участкам пути - 60 км/ч | Привести в транспортное положение в соответствии с Инструкцией. Транспортируется отдельным локомотивом. Пересылается отдельным локомотивом |
63. | Струг-снегоочиститель СС-1М | По прямым участкам пути и кривым радиусом 500 м и более - 80 км/ч, R = 400 - 499 м - 75 км/ч, R = 350 - 399 м - 70 км/ч, R = 300 - 349 м - 65 км/ч. По стрелочным переводам прямого направления - 80 км/ч, бокового направления с крестовинами марки 1/11 - 40 км/ч, марки 1/9 - 25 км/ч | Привести в транспортное положение в соответствии с Инструкцией. Транспортируется отдельным локомотивом. Пересылается отдельным локомотивом или в составе грузового поезда |
64. | Струг-снегоочиститель СС-3 | Привести в транспортное положение в соответствии с Инструкцией по эксплуатации. Транспортируется и пересылается только с отдельным локомотивом |
65. | Путевые струги ПС-2А, МОП, СС-1 | По прямым участкам пути - 80 км/ч. По стрелочным переводам прямого направления - 80 км/ч, бокового направления с крестовинами марки 1/11 и 1/9 - 35 км/ч | Привести в транспортное положение в соответствии с Инструкцией по эксплуатации. Транспортируются отдельным локомотивом. Пересылаются отдельным локомотивом или в составе грузового поезда. Ставятся в любой части состава, не оборудованные автотормозами, перед последним хвостовым тормозным вагоном |
66. | Дрезина ДГКу | По прямым участкам пути и кривым радиусом 300 м и более - 80 км/ч. По стрелочным переводам прямого направления - 80 км/ч, бокового направления с крестовинами марки 1/11 и 1/9 - 40 км/ч | Привести в транспортное положение в соответствии с Инструкцией. Транспортируется своим ходом, в составе хозяйственного поезда или отдельным локомотивом. Пересылается отдельным локомотивом, в составе грузового поезда или на платформе в качестве груза |
67. | Мотовоз погрузочно-транспортный МПТ, МПТ-4, МПТ-4М, МПТ-6 | По прямым участкам пути и кривым радиусом 500 м и более - 100 км/ч, R = 400 - 499 м - 95 км/ч, R = 350 - 399 м - 85 км/ч, R = 300 - 349 м - 80 км/ч. По стрелочным переводам прямого направления - 100 км/ч, бокового направления с крестовинами марки 1/11 и 1/9 - 40 км/ч; в составе поезда не более 90 км/ч | Привести в транспортное положение в соответствии с Инструкцией. Транспортируется своим ходом, с отдельным локомотивом или в составе хозяйственного поезда. Пересылается отдельным локомотивом, в составе грузового поезда или на железнодорожной платформе в качестве груза |
68. | Автомотриса служебная АС-4, АС-3, АС-3М | По прямым участкам пути и кривым радиусом более 300 м - 60 км/ч. По стрелочным переводам прямого направления - 60 км/ч, бокового направления с крестовинами марки 1/11 и 1/9 - 40 км/ч | Привести в транспортное положение в соответствии с Инструкцией. Транспортируется своим ходом, с отдельным локомотивом или в составе хозяйственного поезда. Пересылается отдельным локомотивом. Транспортировать в составе грузового поезда запрещается |
69. | Автомотрисы грузовые дизельные АГД-1, АГД-1А, АГС-1, АГП-1 и грузовая дизель-генераторная АГД-1М | По прямым участкам пути и кривым радиусом 1000 м и более - 80 км/ч, R = 800 - 999 м - 75 км/ч, R = 600 - 799 м - 70 км/ч, R = 500 - 599 м - 65 км/ч, R = 300 - 499 м - 60 км/ч. По стрелочным переводам прямого направления - 80 км/ч, бокового направления с крестовинами марки 1/11 - 30 км/ч, марки 1/9 - 20 км/ч |
70. | Автодрезина грузовая АГМу, АГМС, АЛГ | По прямым участкам пути не более 65 км/ч | Привести в транспортное положение в соответствии с Инструкцией. Транспортируется своим ходом, с отдельным локомотивом или в составе хозяйственного поезда. Пересылается отдельным локомотивом или на железнодорожной платформе в качестве груза |
71. | Прицеп грузовой УП-3 (УП-3М), УП-2 (УП-4) | По прямым участкам пути и кривым радиусом 1000 м и более - 80 км/ч, R = 700 - 999 м - 75 км/ч, R = 600 - 699 м - 70 км/ч, R = 500 - 599 м - 60 км/ч, R = 400 - 499 м - 55 км/ч, R = 350 - 399 м - 50 км/ч, R = 300 - 349 м - 45 км/ч. По стрелочным переводам прямого направления - 80 км/ч, бокового направления с крестовинами марки 1/11 - 25 км/ч, марки 1/9 - 15 км/ч | Привести в транспортное положение в соответствии с Инструкцией. Транспортируется отдельным локомотивом или в составе хозяйственного поезда. Пересылается на ж.д. платформе в качестве груза. Транспортировать в составе грузового поезда запрещается |
72. | Путеремонтная летучка ПРЛ-3 (ПРЛ-4) при следовании в составе поезда | По прямым участкам пути - 60 км/ч. По стрелочным переводам прямого направления - 60 км/ч, бокового направления с крестовинами марки 1/11 и 1/9 - 25 км/ч | Привести в транспортное положение в соответствии с Инструкцией по эксплуатации машины. Транспортируется отдельным локомотивом. Пересылается в составе грузового поезда. Ставится за последним хвостовым вагоном |
73. | Путеремонтная летучка ПРЛ-3/2 при следовании в составе поезда | По прямым участкам пути - 80 км/ч. По стрелочным переводам прямого направления - 80 км/ч, бокового направления с крестовинами марки 1/11 и 1/9 - 25 км/ч |
74. | Универсальный тяговый модуль УТМ-1, УТМ-1А, УТМ-2 | По прямым участкам пути и кривым радиусом 500 м и более - 80 км/ч, R = 400 - 499 м - 75 км/ч, R = 350 - 399 м - 70 км/ч, R = 300 - 349 м - 65 км/ч. По стрелочным переводам прямого направления - 80 км/ч, бокового направления с крестовинами марки 1/11 и 1/9 - 40 км/ч. При движении своим ходом УТМ-1 и УТМ-1А - не более 65 км/ч, УТМ-2 - не более 60 км/ч | Привести в транспортное положение в соответствии с Инструкцией. Транспортируется своим ходом или с отдельным локомотивом. Пересылается отдельным локомотивом или в составе грузового поезда |
75. | Путевая тяговая машина ПТМ-630 | По прямым участкам пути и кривым радиусом 300 м и более - 60 км/ч. По стрелочным переводам прямого направления - 60 км/ч, бокового направления с крестовинами марки 1/11 и 1/9 - 25 км/ч | Привести в транспортное положение в соответствии с Инструкцией. Транспортируется своим ходом или с отдельным локомотивом. Пересылается отдельным локомотивом или в составе грузового поезда |
76. | Тягово-энергетическая установка ТЭУ-400 | По прямым участкам пути и кривым радиусом 300 м и более - 80 км/ч. По стрелочным переводам прямого направления - 80 км/ч, бокового направления с крестовинами марки 1/11 и 1/9 - 40 км/ч | Привести в транспортное положение в соответствии с Инструкцией. Транспортируется своим ходом или с отдельным локомотивом. Пересылается отдельным локомотивом |
77. | Автомотриса АМ-2, автомотриса дефектоскопная АМД-2 | По прямым участкам пути и кривым радиусом 300 м и более - 50 км/ч. По стрелочным переводам прямого направления - 50 км/ч, бокового направления с крестовинами марки 1/11 и 1/9 - 25 км/ч | Привести в транспортное положение в соответствии с Инструкцией по эксплуатации машины. Транспортируется своим ходом или с отдельным локомотивом. Пересылается отдельным локомотивом или в составе грузового поезда |
78. | Автомотриса служебная АМ-3, автомотриса дефектоскопная АМД-3 | По прямым участкам пути и кривым радиусом 500 м и более - 100 км/ч, R = 400 - 499 м - 95 км/ч, R = 350 - 399 м - 85 км/ч, R = 300 - 349 м - 80 км/ч. По стрелочным переводам прямого направления - 100 км/ч, бокового направления с крестовинами марки 1/11 и 1/9 - 40 км/ч | Привести в транспортное положение в соответствии с Инструкцией по эксплуатации машины. Транспортируется своим ходом или с отдельным локомотивом. Пересылается отдельным локомотивом или в составе грузового поезда |
Примечания. 1. Наибольшая допускаемая скорость движения путевых машин по пути и стрелочным переводам и основание требования к их транспортированию не указанных в данном приложении устанавливаются Инструкцией по эксплуатации конкретных машин.
2. Постановку единиц СПС в состав поезда необходимо осуществлять в соответствии с распоряжением ОАО "РЖД" от 23.12.2010 г. N 2697р.
к Инструкции по обеспечению
безопасности движения поездов
при производстве путевых машин
ОГРАЖДЕНИЕ ПО СОСЕДНЕМУ ПУТИ ОТДЕЛЬНЫХ ПУТЕВЫХ МАШИН,
ВХОДЯЩИХ В МАШИНИЗИРОВАННЫЕ КОМПЛЕКСЫ, ПРИ РАБОТЕ
НА ДВУХ- И МНОГОПУТНЫХ ЛИНИЯХ
N п/п | Наименование машин | Выставляется (+), не выставляется (-) сигналист с ручным красным сигналом |
1. | Рельсоочистительная машина РОМ-3, РОМ-3М | + |
2. | Рельсовозный состав РС, РСУ | + |
3. | Плетеукладчик (тележка, салазки) | + |
4. | Кран типа УК-25/9, УК-25/9-18, УК 25/25 | + |
5. | Моторная платформа типа МПД-2, МПД | - |
6. | Путевой моторный гайковерт типа ПМГ | + |
7. | Путевой струг ПС, струг-очиститель СС-1, СС-1М, СС-3 | + |
8. | Машины для нарезки и очистки кюветов СЗП-600, СЗП-600Р, КТМ, МКТ, МКТ-1П, МНК, КОМ, МКТ-500 | + |
9. | Состав для засорителей СЗ-240-6, СЗ-350-10-2 | - |
10. | Тягово-энергетические модули путевых машин типа ТЭУ, УТМ, ПТМ, ПА | - |
11. | Электробалластер ЭЛБ-1, 3, 4, ЭЛБ-4К | + |
12. | Хоппер-дозаторный состав | + |
13. | Выправочно-подбивочно-отделочные машины: ВПО-3000, ВПО-3-3000 | + |
14. | Щебнеочистительные машины для глубокой очистки балласта: СЧУ-800, СЧУ-801, ЩОМ-700, ЩОМ-6БМ, ЩОМ-6У, СЧ-600, СЧ-601, RM-76, RM-80, ЩОМ-6Б, ОТ-800, ЩОМ-1200, ЩОМ-1200ПУ, РМ-2002, СЧ-1200, ОТ-400 | + |
15. | Выправочно-подбивочно-рихтовочные машины: ВПРС-500, ВПР-1200, ВПР-02, ВПРС-02, ВПРС-05, Унимат 08-32, Дуоматик 09-32, Дуоматик 09-3Х, Дуоматик 09-4Х, ПМА-1, ПМА-С, ВПРС-03, Унимат-08-475 | + |
16. | Динамический стабилизатор пути: ДСП, ДСП-С, МДС | + |
17. | Планировщик балласта типа ПБ, ПБ-01 | + |
18. | Машины для замены шпал в пути: МСШ-1, КШЗ, МСШУ-3, МСШУ-4, МСШУ-5 | + |
19. | Машина для правки рельсовых стыков МПРС | + |
20. | Снегоуборочные машины типа СМ-2, СМ-3, СМ-4, СМ-6, ЗУБ | + |
21. | Машина для ликвидации выплесков (все типы) | + |
22. | Мотовоз погрузочно-транспортного типа МПТ, дрезины ДГКу и другие | + |
23. | Кусторез типа СП-93 | - |
24. | Хоппер-дозаторы с прерывистой разгрузкой | + |
25. | Спецсостав для перевозки блоков стрелочных переводов | - |
26. | Кран типа УК-25СП, МСП | + |
27. | Платформы, оборудованные УСО | - |
28. | Стреловой кран на ж.д. ходу | + |
ПРИМЕРЫ ЗАПИСЕЙ В ЖУРНАЛЕ ОСМОТРА ПУТЕЙ,
СТРЕЛОЧНЫХ ПЕРЕВОДОВ, УСТРОЙСТВ СЦБ, СВЯЗИ И КОНТАКТНОЙ
СЕТИ ПРИ ПРОИЗВОДСТВЕ РАБОТ НА СТАНЦИОННЫХ ПУТЯХ
И СТРЕЛОЧНЫХ ПЕРЕВОДАХ
Месяц, число | Часы и минуты | Выявленные неисправности и повреждения или виды выполненных плановых работ | Время извещения соответствующего работника дистанции пути | Время прибытия соответствующего работника данной дистанции пути для устранения неисправностей или повреждений | Время устранения обнаруженных неисправностей и повреждений, расписка об их устранении |
Месяц, число | Часы и минуты | Способ извещения (телеграммой, по телефону или запиской) | Месяц, число | Часы и минуты | Расписка прибывшего работника в прочтении | Месяц, число | Часы и минуты | Описание причин повреждения или неисправности и изложение принятых мер. Подписи работников, производивших устранение, и отметка дежурного по станции об устранении записанного повреждения |
1 | 2 | 3 | 4 | 5 | 6 | 7 | 8 | 9 | 10 | 11 | 12 |
|
25.VII | 10.00 | 8-й приемо-отправочный путь закрывается для смены рельсов. Стрелки N 38, 41 заперты (зашиты) по направлению на 10-й путь. | - | - | - | - | - | - | 25.VII | 16.00 | Работы по смене рельсов закончены. 8-й путь для движения поездов открыт. Стрелки N 38, 41 расшиты. |
ПД ДСП | | | | | | | | | ПД ШН ДСП |
25.VII | 10.00 | На стрелке N 14 будет производиться смена левого рамного рельса с остряком. Движение по стрелочному переводу N 14 закрывается. Стрелка N 18 заперта (зашита) по направлению на 2-й путь | - | - | - | - | - | - | 25.VII | 11.00 | Работа по смене рамного рельса с остряком на стрелке N 14 закончена. Движение по стрелочному переводу N 14 открывается. Стрелка N 18 расшита. |
ПДБ ДСП | | | | | | | | | ПДБ ШН ДСП |
25.VII | 10.00 | На II гл. пути между входным сигналом и входной стрелкой N 2 будет производиться замена накладок. Путь на указанном участке закрывается для движения поездов. Входной сигнал держите закрытым. | - | - | - | - | - | - | 25.VII | 12.00 | Работы по замене накладок закончены. II главный путь для движения открыт. Входной сигнал может быть открыт. |
ПДБ ДСП | | | | | | | | | ПДБ ДСП |
25.VII | 10.00 | На 5-м приемо-отправочном пути будет работать груженый вагончик. Путь для движения поездов закрывается. Стрелка N 28 заперта (зашита) по направлению на 6-й путь, а стрелка N 30 - по направлению на 4-й путь | - | - | - | - | - | - | 25.VII | 16.00 | Работа груженого вагончика на 5-м пути закончена. Путь для движения поездов открыт. Стрелки N 28, 30 расшиты. |
ПДБ ДСП | | | | | | | | | ПДБ ДСП |
26.VII | 11.00 | На перегоне Покровка-Подсолнечная по I главному пути на 576-м км пк 4 - пк 9 вблизи станции производится разгонка зазоров. Место работ ограждено сигналами остановки. Все поезда, следующие к месту работ, останавливать на станции и дальнейшее следование их разрешать после снятия сигналов остановки согласно действующему предупреждению со скоростью не более 15 км/ч | - | - | - | - | - | - | 26.VII | 17.00 | Работы по разгонке зазоров на 576-м км пк 4 - пк 9 закончены. Предупреждение отменяется. |
ПД ДСП | | | | | | | | | ПД ДСП |
26.VII | 12.00 | На стрелочном переводе N 10 будет производиться сплошная смена металлических частей. Движение поездов по стрелочному переводу N 10 закрывается. На стрелочном переводе N 8 остряки стрелки и подвижной сердечник заперты (зашиты) по направлению на 6-й путь. | - | - | - | - | - | - | 26.VII | 14.35 | Работа по сплошной смене металлических частей стрелочного перевода N 10 закончена. Движение поездов по стрелочному переводу N 10 открывается. На стрелочном переводе N 8 остряки и подвижной сердечник крестовины расшиты. Скорость 25 км/ч согласно выданному предупреждению. |
ПД ДСП | | | | | | | | | ПД ДСП |
26.VII | 10.00 | У сигнала N 4 будет производиться замена изоляции. Движение поездов между сигналом N 4 и стрелкой N 8 закрывается. Стрелка N 14 заперта (зашита) по направлению пути 5. | - | - | - | - | - | - | 26.VII | 10.20 | Торцовые прокладки изолирующего стыка у сигнала N 4 заменены. Движение поездов между сигналом N 4 и стрелкой N 8 открывается. Стрелка N 14 расшита |
ПДБ ДСП | | | | | | | | | ПДБ ШН ДСП |
26.VII | 10.00 | На 8-м пути будет производиться сдвижка пути на величину более 10 см. Путь для движения закрывается. Стрелки N 17 и 16 заперты (зашиты) по направлению пути 7 | - | - | - | - | - | - | 26.VII | 15.00 | Работы по сдвижке пути закончены. Контактная сеть отрегулирована. Движение на 8-ом пути открывается. Скорость движения согласно выданному предупреждению 25 км/ч. |
ПД ДСП | | | | | | | | | ПД ЭЧК ДСП |
26.VII | 10.00 | На 8-м пути будут производиться работы дрезины ДГКу по уборке материалов верхнего строения пути. Путь для движения поездов закрывается (кроме дрезины ДГКу) | - | - | - | - | - | - | 26.VII | 14.00 | Работа дрезины на 8-м пути закончена. Путь для движения поездов открывается. |
ПД ДСП | | | | | | | | | ПД ДСП |
26.VII | 10.00 | На 5-м приемо-отправочном пути лопнул рельс с выколом головки до 150 мм. Путь для движения поездов закрывается. Стрелка N 28 заперта (защита) по направлению на 6-й путь, а стрелка N 30 по направлению на 4-й путь. | - | - | - | - | - | - | 26.VII | 10.50 | На 5-м пути лопнувший рельс заменен. Стрелки N 28 и 30 расшиты. 5-й путь для движения поездов открывается. |
ПДБ ДСП | | | | | | | | | ПД ШН ДСП |
|
26.VIII | 10.00 | На I главном пути между сигналом N 3 и стрелкой N 7 будет производиться подъемка пути до 6 см. Скорость следования поезда по месту работ не более 25 км/ч согласно выданному предупреждению. | - | - | - | - | - | - | 26.VIII | 16.00 | Работы на I главном пути закончены. Предупреждение отменяется. |
ПДБ ДСП | | | | | | | | | ПДБ ДСП |
26.VIII | 10.00 | На 10-м пути будет производиться подъемка пути до 6 см. По месту работ следовать со скоростью не более 25 км/ч согласно выданному предупреждению. | - | - | - | - | - | - | 26.VIII | 17.00 | Работы на 10-м пути закончены. Ограничение скорости отменяется. |
ПДБ ДСП | | | | | | | | | ПДБ ДСП |
Примечание.
После записей работников дистанции пути очередные записи производят работники дистанции сигнализации, централизации и блокировки в соответствии с
Инструкцией по обеспечению безопасности движения поездов при технической эксплуатации устройств и систем СЦБ
[6].
ПРИМЕРЫ ЗАПИСЕЙ В ЖУРНАЛЕ ОСМОТРА ПУТЕЙ,
СТРЕЛОЧНЫХ ПЕРЕВОДОВ, УСТРОЙСТВ СЦБ, СВЯЗИ И КОНТАКТНОЙ
СЕТИ ПРИ ПРОИЗВОДСТВЕ РАБОТ НА ЦЕНТРАЛИЗОВАННЫХ
СТРЕЛОЧНЫХ ПЕРЕВОДАХ
Месяц, число | Часы и минуты | Выявленные неисправности и повреждения или виды выполненных плановых работ | Время извещения соответствующего работника дистанции пути | Время прибытия соответствующего работника дистанции пути для устранения неисправностей или повреждений | Время устранения обнаруженных неисправностей и повреждений, расписка об их устранении |
Месяц, число | Часы и минуты | Способ извещения (телеграммой, по телефону или запиской) | Месяц, число | Часы и минуты | Расписка прибывшего работника в прочтении | Месяц, число | Часы и минуты | Описание причин повреждения или неисправности и изложение принятых мер. Подписи работников, производивших исправление, и отметка дежурного по станции об устранении записанного повреждения |
1 | 2 | 3 | 4 | 5 | 6 | 7 | 8 | 9 | 10 | 11 | 12 |
10.1 | 12.00 | На стрелке N 10 будет производиться смена рамного рельса с остряком. Движение по стрелочному переводу N 10 закрывается. Стрелки N 8, 12 заперты (зашиты) по направлению на 3-й путь. | - | - | - | - | - | - | 10.1 | 13.00 | Работа по смене рамного рельса с остряком на стрелке N 10 закончена. Движение по стрелочному переводу открывается. Стрелки N 8, 12 расшиты. |
ПД ДСП | | | | | | | | | ПД ШН ДСП |
Примечания.
1. После записи дорожного мастера о производстве работ электромеханик и дежурный по станции оформляют выключение стрелки из зависимости установленным порядком.
2. По окончании работ дорожный мастер делает запись в Журнале о разрешении движения поездов по стрелке, а электромеханик и дежурный по станции оформляют установленным порядком включение стрелки в зависимость.
КРЕПЛЕНИЕ ПРИЖАТОГО ОСТРЯКА ПРИ ЗАШИВКЕ СТРЕЛОК
НА ДЕРЕВЯННЫХ БРУСЬЯХ, НЕ ОБОРУДОВАННЫХ ПРИСПОСОБЛЕНИЯМИ
ДЛЯ ЗАПИРАНИЯ ИХ ВИСЯЧИМИ ЗАМКАМИ
КРЕПЛЕНИЕ ОСТРЯКОВ СТРЕЛОК ПРИ ИХ РАЗЪЕДИНЕНИИ
СКОБА ДЛЯ КРЕПЛЕНИЯ ОСТРЯКА К РАМНОМУ РЕЛЬСУ
к Инструкции по обеспечению
безопасности движения поездов
при производстве путевых машин
ПЕРЕЧЕНЬ СИГНАЛЬНЫХ ПРИБОРОВ И ПРИНАДЛЕЖНОСТЕЙ,
КОТОРЫЕ НЕОБХОДИМО ИМЕТЬ РАБОТНИКАМ ПУТЕВОГО ХОЗЯЙСТВА,
СВЯЗАННЫМ С ДВИЖЕНИЕМ ПОЕЗДОВ ПРИ ВЫПОЛНЕНИИ СЛУЖЕБНЫХ
ОБЯЗАННОСТЕЙ В ЗАВИСИМОСТИ ОТ СВЕТЛОГО ИЛИ ТЕМНОГО
ВРЕМЕНИ СУТОК
Перечень работников и путевых машин | Перечень сигнальных приборов и принадлежностей |
Бригадир пути, монтер пути (при самостоятельной работе), обходчик железнодорожных путей и искусственных сооружений, монтер пути, назначенный для осмотра пути, оператор дефектоскопной и путеизмерительной тележек, водитель съемной автодрезины, сигналист или монтер пути не ниже 3-го разряда, выделяемый для ограждения путевых работ | Ручной сигнальный фонарь с показаниями красного и прозрачно-белого огней или желтый и красный сигнальные флаги в чехлах. Коробка петард (6 шт.) для однопутных, две коробки (12 шт.) для двух- и многопутных участков и духовой рожок |
Водитель мотовоза, автомотрисы и дрезины несъемного типа | Два ручных сигнальных фонаря с показаниями красного и прозрачно-белого огней, два желтых и два красных сигнальных флага в чехлах. Коробка петард (6 шт.) для однопутных, две коробки (12 шт.) для двух- и многопутных участков и духовой рожок |
Дежурный по переезду | Ручной сигнальный фонарь с показаниями красного и прозрачно-белого огней (на переезде должно быть дополнительно по одному фонарю с двухсторонним красным и прозрачно-белым огнями на каждый пересекаемый путь и один запасной фонарь), желтый и красный сигнальные флаги в чехлах, коробка петард (6 шт.) на переезд на однопутных, две коробки петард (12 шт.) на двухпутных и три коробки петард (18 шт.) на многопутных участках, духовой рожок, ручной свисток |
Снегоочистители всех систем, струги-снегоочистители, снегоуборочные машины, путеизмерительные и дефектоскопные вагоны | На двухпутных участках: ручной сигнальный фонарь с показаниями желтого, красного и прозрачно-белого огней, три боковых вагонных фонаря с установленным цветом стекол, три желтых флага, три красных флага, две коробки петард (12 шт.), духовой рожок. На однопутных участках: ручной сигнальный фонарь с показаниями желтого, красного и прозрачно-белого огней, два боковых вагонных фонаря с установленным цветом стекол, три желтых флага, один красный флаг, коробка петард (6 шт.), духовой рожок |
Путеукладчики, рельсоукладчики, краны на железнодорожном ходу, щебнеочистительные, балластировочные, выправочно-подбивочно-отделочные машины, электробалластеры, оборудованные навесными рихтовочными устройствами | Ручной сигнальный фонарь с показаниями желтого, красного и прозрачно-белого огней, желтый и красный сигнальные флаги в чехлах, коробка петард (6 шт.), духовой рожок |
СИГНАЛ ДЛЯ СЪЕМНЫХ ДРЕЗИН
Конструкция крепления щита (вид сбоку)
1 - щит, изготавливается из тонкой листовой стали 1,5 - 2 мм или других материалов, обладающих необходимой прочностью против ветровой нагрузки. Крепится к стойке, укрепляемой на дрезине. Щит окрашивается при движении дрезин на однопутных и по неправильному пути двухпутных участках с обеих сторон в красный цвет с черной и белой окантовкой; при движении дрезин на двухпутных участках по правильному пути лицевая сторона окрашивается в белый цвет с черной и белой окантовками, обратная сторона - в красный цвет с черной и белой окантовками; 2 - стойка. Труба и стойка окрашиваются под цвет дрезины.