Главная // Актуальные документы // ИнструкцияСПРАВКА
Источник публикации
М.: Транспорт, 1991
Примечание к документу
Документ
введен в действие с 12 апреля 1990 года.
Название документа
"ЦП-4791. Инструкция по закреплению пакетов звеньев рельсо-шпальной решетки на четырехосных платформах и о порядке следования укладочных и разборочных поездов"
(утв. Министерством путей сообщения СССР 12.04.1990)
"ЦП-4791. Инструкция по закреплению пакетов звеньев рельсо-шпальной решетки на четырехосных платформах и о порядке следования укладочных и разборочных поездов"
(утв. Министерством путей сообщения СССР 12.04.1990)
Утверждено
Министерством путей сообщения СССР
12 апреля 1990 года
МИНИСТЕРСТВО ПУТЕЙ СООБЩЕНИЯ
ГЛАВНОЕ УПРАВЛЕНИЕ ПУТИ
ПРОЕКТНО-ТЕХНОЛОГИЧЕСКО-КОНСТРУКТОРСКОЕ БЮРО
ИНСТРУКЦИЯ
ПО ЗАКРЕПЛЕНИЮ ПАКЕТОВ ЗВЕНЬЕВ РЕЛЬСО-ШПАЛЬНОЙ РЕШЕТКИ
НА ЧЕТЫРЕХОСНЫХ ПЛАТФОРМАХ И О ПОРЯДКЕ СЛЕДОВАНИЯ
УКЛАДОЧНЫХ И РАЗБОРОЧНЫХ ПОЕЗДОВ
ЦП-4791
1.1. Настоящая Инструкция устанавливает порядок погрузки, крепления и транспортировки пакетов звеньев рельсо-шпальной решетки, а также следования укладочных и разборочных поездов.
1.2. Пакеты звеньев рельсо-шпальной решетки должны перевозиться только специально оборудованными для этих целей отдельными составами. Разрешается включение платформ, груженных пакетами звеньев, в составы хозяйственных поездов.
Сцепленные платформы (с установленным оборудованием) сформированного поезда не должны различаться по высоте более чем на 30 мм.
1.3. Для закрепления пакетов звеньев рельсо-шпальной решетки используют следующее схемное оборудование, которое устанавливают на четырехосных платформах, выделяемых для перевозки пакетов из рабочего парка:
унифицированное съемное оборудование (УСО, УСО-2) для перевозки пакетов звеньев рельсо-шпальной решетки (
рис. 1,
2);
съемное оборудование (СО) с универсальными креплениями пакетов звеньев рельсо-шпальной решетки с регулируемой длиной стяжек (проект

) и съемное оборудование для перевозки пакетов звеньев рельсо-шпальной решетки со стяжками постоянной длины (проект 948-000-000) (
рис. 3,
4);
унифицированное съемное оборудование УСО-3АМ для перевозки пакетов звеньев рельсо-шпальной решетки (
рис. 5,
6).
1.4. Оборудование представляет собой комплект устройств, часть которых закрепляют на железнодорожных платформах, а часть непосредственно на пакетах звеньев рельсо-шпальной решетки. Организация, получившая для транспортировки пакетов платформы из рабочего парка, должна смонтировать на платформах обоймы роликового транспортера, съемные порталы (УСО), а также лестницы, переходные фартуки и замки рычагов автосцепки по схемам, указанным на
рис. 1,
2,
4,
5,
6,
7.
1.5. Работа оборудования заключается в том, чтобы обеспечить крепление пакетов звеньев рельсо-шпальной решетки, погруженных на железнодорожные платформы, для безопасного транспортирования их, а также обеспечить перетягивание пакетов по платформам.
| | ИС МЕГАНОРМ: примечание. В официальном тексте документа, видимо, допущена опечатка: имеется в виду пункт 1.6, а не 1.0. | |
1.0. Схема погрузки и закрепления пакетов звеньев рельсо-шпальной решетки зависит от типа рельсов, шпал и длины звена. Пакеты звеньев должны располагаться на платформах и сцепах из двух платформ симметрично по длине и ширине платформы или сцепов. При этом пакет не должен выходить за пределы габарита погрузки. Смещение вертикальных осей рельсов звеньев в пакете относительно нижнего звена при погрузке не должно превышать 50 мм.
1.7. Способ погрузки и закрепления пакетов звеньев рельсо-шпальной решетки, отличающийся от перечисленных в настоящей Инструкции, должен согласовываться с отделом контейнерных перевозок и коммерческой работы отделения железной дороги.
Рис. 1. Четырехосная платформа с унифицированным съемным
оборудованием (УСО, УСО2) для перевозки пакетов звеньев
рельсо-шпальной решетки:
1 - ограничительная цепь; 2 - пакет звеньев длиной 12,5 м;
3 - опора роликового транспортера; 4 - ролик; 5 - лыжа;
6 - портал; 7 - пакет звеньев длиной 25 м; 8 - съемный упор
Рис. 2. Схема установки опор роликового транспортера
на четырехосной платформе с унифицированным съемным
оборудованием (УСО, УСО2) для перевозки пакетов звеньев
рельсо-шпальной решетки
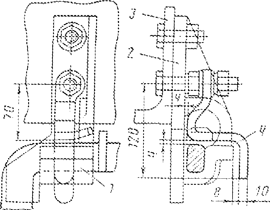
Рис. 3. Четырехосные платформы со съемным оборудованием
закрепления пакетов звеньев рельсо-шпальной решетки:
а - длиной 25 м на сцепе платформ; б - длиной 12,5 м;
1 - шпальная выкладка; 2.3 - торцовые стяжки;
4 - предохранительная скоба; 5 - промежуточная стяжка;
6 - межпакетная звенка; 7 - лыжа; 8 - лесная скоба
Рис. 4. Схема установки опор роликового транспортера
на четырехосной платформе со съемным оборудованием
для перевозки пакетов звеньев рельсо-шпальной решетки
по проектам

, 948-000-000
Рис. 5. Схема установки опор роликового транспортера
на четырехосной платформе с унифицированным съемным
оборудованием УСО-3АМ для перевозки пакетов звеньев
рельсо-шпальной решетки:
1 - поперечная ось платформы; 2 - продольная ось
Рис. 6. Четырехосная платформа с унифицированным съемным
оборудованием УСО-3АМ для перевозки пакетов звеньев
рельсо-шпальной решетки:
1 - ограничительная цепь; 2 - пакет звеньев длиной 12,5 м;
3 - лыжа; 4 - тормоз; 5 - обойма роликового транспортера;
6 - ролик; 7 - портал; 8 - пакет звеньев длиной 25 м;
9 - съемный упор; 10 - закидка
Рис. 7. Установка портала и обойм на платформу
с длиной пола 13400 м (размер в скобках для платформы
с длиной пола 12974 м)
2. ПОГРУЗКА И КРЕПЛЕНИЕ ЗВЕНЬЕВ РЕЛЬСО-ШПАЛЬНОЙ РЕШЕТКИ
ДЛИНОЙ 25 М С ЖЕЛЕЗОБЕТОННЫМИ ШПАЛАМИ
2.1. Перед формированием укладочного (разборочного) поезда опустить упоры для прохождения пакетов. Поднятыми должны быть только два упора на той платформе, где будет закреплен пакет звеньев рельсо-шпальной решетки. Пакет звеньев можно формировать, укладывая нижнее звено на четыре лыжи или переворачивая нижнее звено, и грузить на сцеп из двух четырехосных платформ. Количество звеньев в пакете при размещении его с рельсами всех типов - 6 шт.
Для предотвращения расцепки платформ рукоятки расцепных рычагов должны быть заперты специальными запорами (черт. 0294.0080.00,
рис. 8).
2.2. При использовании платформ с унифицированным съемным оборудованием (УСО, УСО-2, УСО-3АМ) сформированный пакет перетянуть до поднятых упоров, после чего поднять в рабочее положение два других задних упора. При поднятии корпуса упора нужно следить, чтобы он был поднят до упора ограничителя поворота рычага. Зазор между торцом упора и торцом лыжи должен быть не более 50 - 80 мм.
После закрепления пакета упорами ограничительную цепь забросить за крайние шпалы пакета звеньев рельсо-шпальной решетки, продеть цепь в отверстия направителя и втулки на основании портала, выбрать цепь, не натягивая, так, чтобы пакет при продольном перемещении натягивал цепь примерно одновременно с соприкосновением торцов рельсов (лыж) со штоком упора, и зафиксировать положение цепи закидкой.
При использовании унифицированного съемного оборудования УСО-3АМ звенья в пакете закрепляют от сдвижки ограничительной цепью, связанной с амортизатором, который установлен на портале.
Ограничительная цепь используется следующим образом: при постоянном закреплении ограничительной цепи к тяге амортизатора нижний конец цепи после заведения ее в замковое устройство закрепляется после натяжения в замке закидкой за звено, расположенное ближе всех к закидке.
2.3. При использовании съемного оборудования (проект

, 948-000-000) оба торца каждого пакета закрепляют стяжками, как указано в сечении А-А на
рис. 3, а.
На пакетах, погруженных на лыжи, торцовые стяжки 2 и 3 крепят к подошвам рельсов нижнего звена специальной скобой (узлы I, II). На противоположном конце каждой стяжки имеется крюк (узлы IV, V), которым закрепляют ее за головку рельсов верхнего звена, и натяжная гайка для натяжения торцовых стяжек. Кроме того, пакет закрепляют за первую от центра сцепа лесную скобу (узел III), а верхний конец - за головку рельса верхнего звена (сечение Б-Б) при помощи крюка и натяжной гайки, аналогичной креплению торцовой стяжки (узел IV). Торцовые и промежуточные стяжки удерживают звенья от боковых смещений. От продольных перемещений каждый пакет закрепляют шпальными выкладками 1, установленными по обоим концам пакета. Шпальная выкладка состоит из одной шпалы, уложенной поперек платформы, и двух полушпал, уложенных вдоль платформы под шпалы нижнего звена пакета.
Рис. 8. Запор расцепного рычага автосцепки:
1 - расцепной рычаг автосцепки; 2 - кронштейн рычага;
3 - буферный брус; 4 - запор рычага автосцепки
При использовании съемного оборудования для перевозки пакетов 25-метровых звеньев рельсо-шпальной решетки со стяжками постоянной длины (проект 948-000-000) длина стяжек должна быть уменьшена за счет укорочения тяг с последующим загибом и сваркой новых проушин.
2.4. При применении вышеперечисленного съемного оборудования, кроме того, должны быть соблюдены следующие требования:
межпакетные звенки перед транспортировкой должны быть разъединены;
на нижнее звено пакета, погруженного на лыжи, устанавливают дополнительную скобу (см.
рис. 3, а), которая предохраняет шпалы, находящиеся над автосцепкой, от падения на путь.
3. ПОГРУЗКА И КРЕПЛЕНИЕ ЗВЕНЬЕВ РЕЛЬСО-ШПАЛЬНОЙ РЕШЕТКИ
ДЛИНОЙ 25 М С ДЕРЕВЯННЫМИ ШПАЛАМИ
3.1. Пакет звеньев грузят на сцеп из двух четырехосных платформ. Нижнее звено пакета укладывают на четыре лыжи 7 (см.
рис. 3, а), устанавливаемые на ролики транспортера. Допускается погрузка пакета звеньев без применения лыж с переворачиванием нижнего звена шпалами вверх и установкой его головками рельсов на ролики транспортера. При этом на концы рельсов перевернутого звена с одной стороны по направлению перетяжки пакета необходимо устанавливать специальные направители.
При укладке и разборке переворачивать звено следует в полевую сторону пути. Остальные звенья пакета грузят рельсами вверх. Число звеньев в одном пакете в зависимости от типа рельсов и способа погрузки пакетов на платформы не должно превышать:
при погрузке пакета на специальные лыжи и рельсах типа Р43 - 8 звеньев, при рельсах Р50 и Р65 - 7 звеньев, при рельсах типа Р75 - 6 звеньев;
при погрузке пакета (без лыж), у которого нижнее звено повернуто рельсами вниз, при рельсах типов Р43 и Р50 - 8 звеньев, при рельсах типов Р65 и Р75 - 7 звеньев.
При работе на электрифицированных участках число звеньев в пакете уменьшают в зависимости от высоты подвески контактного провода на месте укладки.
Для предотвращения расцепки платформ рукоятки расцепных рычагов должны быть заперты специальными запорами (черт. 0294-0080-00, см.
рис. 8).
3.2. Пакеты звеньев длиной 25 м с деревянными шпалами закрепляют теми же способами, что и пакеты длиной 25 м с железобетонными шпалами в соответствии с
пп. 2.1 -
2.4 настоящей Инструкции. При креплении пакетов, у которых нижнее звено перевернуто с использованием унифицированного съемного оборудования (УСО, УСО-2, УСО-3АМ), зазор между торцами упора и торцом рельса перевернутого звена должен быть 50 - 80 мм. При использовании схемного оборудования (проект

, 948-000-000) торцовые стяжки крепят к подошвам рельсов второго от низа звена.
4. ПОГРУЗКА И КРЕПЛЕНИЕ ЗВЕНЬЕВ РЕЛЬСО-ШПАЛЬНОЙ РЕШЕТКИ
ДЛИНОЙ 12,5 М С ЖЕЛЕЗОБЕТОННЫМИ ШПАЛАМИ
4.1. Пакет звеньев грузят на одну четырехосную платформу, нижнее звено пакета укладывают на две лыжи. Допускается погрузка пакетов звеньев без применения лыж с переворачиванием нижнего звена шпалами вверх.
В одном пакете допускается перевозить 6 звеньев с рельсами всех типов.
4.2. При использовании для перевозки пакетов звеньев платформ с унифицированным оборудованием (проект 0650А-000-00) каждый пакет звеньев закрепляют двумя тисками или четырьмя съемными упорами и четырьмя цепями, как указано в
п. 2.2 настоящей Инструкции, а также должны быть выполнены требования
п. 2.4.
Разрешается закладывать цепь за ближайшие к порталу шпалы. В этом случае для предотвращения падения концевых шпал на путь необходимо удерживать их тросом диаметром 3 - 5 мм, который закрепляют в болтовые отверстия рельсов верхнего и нижнего звеньев пакета.
4.3. При использовании съемного оборудования с универсальным креплением пакетов (проект

) и съемного оборудования для перевозки пакетов 25-метровых звеньев (проект 948-000-000) каждый пакет с обоих торцов закрепляют диагональными растяжками. От продольных перемещений каждый пакет закрепляют шпальными выкладками по обоим его концам.
Шпальные выкладки могут быть заменены съемными упорами, но на первой и последней платформах их оставляют. Межпакетные звенки перед транспортировкой должны быть разъединены.
5. ПОРЯДОК ТРАНСПОРТИРОВКИ ПАКЕТОВ ЗВЕНЬЕВ РЕЛЬСО-ШПАЛЬНОЙ
РЕШЕТКИ И СЛЕДОВАНИЯ ХОЗЯЙСТВЕННЫХ ПОЕЗДОВ
5.1. Руководителем работ по подготовке состава с пакетами звеньев рельсо-шпальной решетки и по его транспортировке назначают работника пути по должности не ниже дорожного мастера.
5.2. Перед отправлением поезда руководитель работ должен лично убедиться в соответствии закрепления пакетов на платформах требованиям настоящей Инструкции.
5.3. Хозяйственные поезда при производстве работ на перегоне или в пределах станции должны сопровождаться руководителем работ или уполномоченным им работником. По указанию начальника отделения дороги на хозяйственные поезда в необходимых случаях назначают главных кондукторов (
п. 2.16 Инструкции по обеспечению безопасности движения поездов при производстве путевых работ).
5.4. Бригада, сопровождающая поезд с пакетами звеньев рельсо-шпальной решетки, во время его следования должна находиться в крытом турном вагоне. Проезд на платформах не допускается. Бригада в пути следования, а также во время стоянки поезда на станциях обязана периодически проверять состояние крепления пакетов и подтягивать ослабевшие стяжки и тиски. В отдельных случаях, когда по условиям движения поездов состав с пакетами звеньев рельсо-шпальной решетки может следовать длительное время без остановки, руководитель работ должен заблаговременно дать заявку поездному диспетчеру о необходимости остановок на промежуточных станциях для проверки надежности крепления пакетов. Протяженность участков между такими остановками определяется приказом по отделению дороги в зависимости от плана и профиля пути.
На электрифицированных линиях ослабевшие стяжки следует подтягивать с торца пакета, чтобы работник, подтягивающий стяжки, не находился сверху пакета. Нельзя приближаться к находящемуся под напряжением контактному проводу на расстояние ближе чем 2 м.
Забираться на пакет для подтяжки стяжек на электрифицированных линиях категорически запрещается.
5.5. Скорость следования состава, груженного пакетами звеньев, которые закреплены в соответствии с требованиями настоящей Инструкции, при отсутствии в нем укладочных кранов допускается: по прямым участкам пути и кривым радиусом 600 м и более - до 70 км/ч; по кривым от 300 до 600 м - 40 км/ч; по стрелочным переводам при движении по прямому пути - 70 км/ч, при движении на боковой путь - 25 км/ч.
5.6. При наличии в составе укладочного (разборочного) поезда укладочного крана УК-25 следование его к месту работ осуществляется с установкой специальных болтов (рис. 9) в головки автосцепок между краном и платформой прикрытия.
Рис. 9 Запорный болт головки автосцепки (черт. 0294.0080):
1 - болт; 2 - малый зуб автосцепки
5.7. Скорость следования состава, груженного пакетами звеньев рельсо-шпальной решетки, при наличии в нем укладочных кранов УК-25 и моторных платформ МПД определяется Приложением 11 Инструкции по обеспечению безопасности движения поездов при производстве путевых работ.
6. СОДЕРЖАНИЕ ЧЕТЫРЕХОСНЫХ ПЛАТФОРМ И СЪЕМНОГО ОБОРУДОВАНИЯ,
ИСПОЛЬЗУЕМЫХ ДЛЯ ПЕРЕВОЗКИ ПАКЕТОВ ЗВЕНЬЕВ
РЕЛЬСО-ШПАЛЬНОЙ РЕШЕТКИ
6.1. Деповской ремонт четырехосных платформ, выделяемых из рабочего парка для транспортировки пакетов звеньев рельсо-шпальной решетки, выполняют предприятия железных дорог по месту нахождения ПМС.
6.2. При возникновении неисправностей в пути следования укладочного (разборочного) поезда ремонт четырехосных платформ выполняют пункты технического осмотра, как правило, безотцепочно. Отцепка платформ допускается при отсутствии возможности безотцепочного ремонта. В этом случае платформа по окончании ремонта должна быть отправлена в ПМС по месту приписки.
6.3. Техническое обслуживание съемных устройств состоит из комплекса профилактических мероприятий по созданию нормальных условий работы, выявлению и устранению возникших дефектов.
6.4. В соответствии с назначением, объемом и периодичностью выполняемых работ техническое обслуживание подразделяют:
на ежесменное, выполняемое регулярно перед погрузкой пакетов звеньев и после выгрузки;
на периодическое, выполняемое один раз в месяц.
Инструкция по закреплению пакетов звеньев рельсо-шпальной решетки на четырехосных платформах и о порядке следования укладочных и разборочных поездов, утвержденная МПС 20.06.72 N ЦП-3031, считается утратившей силу.