Главная // Актуальные документы // РуководствоСПРАВКА
Источник публикации
М.: Стройиздат, 1982
Примечание к документу
Название документа
"Руководство по проектированию теплоизоляции ограждающих конструкций зданий холодильников"
"Руководство по проектированию теплоизоляции ограждающих конструкций зданий холодильников"
ПО ПРОЕКТИРОВАНИЮ ТЕПЛОИЗОЛЯЦИИ ОГРАЖДАЮЩИХ КОНСТРУКЦИЙ
ЗДАНИЙ ХОЛОДИЛЬНИКОВ
Рекомендовано к изданию решением секции "Ограждающие конструкции" НТС ЦНИИПромзданий Госстроя СССР.
Составлено к главам СНиП II-105-74 "Холодильники" и СНиП III-20-74 "Кровли, гидроизоляция, пароизоляция и теплоизоляция".
Содержит методику расчета теплоизоляции и пароизоляции ограждающих конструкций, рекомендации по выбору материалов и конструкций, замене и усилению теплоизоляции, надзору в процессе эксплуатации холодильников.
Рассмотрены вопросы расчета и проектирования тепло- и пароизоляции ограждающих конструкций зданий холодильников, приведены основные требования к материалам и ограждающим конструкциям, рекомендуемые материалы, методики расчета сопротивлений теплопередаче и паропроницанию, рекомендации по надзору в процессе эксплуатации холодильников.
Руководство разработано ЦНИИПромзданий Госстроя СССР (инженеры Б.В. Лифанов, В.А. Файнштейн, В.Т. Ходырева, В.Я. Грушко и кандидаты техн. наук Е.Ф. Дуранов, С.М. Гликин, Г.М. Смилянский) совместно с институтом Гипрохолод Министерства торговли СССР (инженеры В.В. Васютович, Г.А. Карганов) под редакцией канд. техн. наук А.Г. Гиндояна.
Замечания и предложения просим направлять в ЦНИИПромзданий Госстроя СССР по адресу: 127238, Москва, И-238, Дмитровское шоссе, 46.
Для инженерно-технических работников, осуществляющих проектирование, строительство и эксплуатацию холодильников.
1.1. Настоящее Руководство распространяется на проектирование теплоизоляции и пароизоляции ограждающих конструкций строящихся и реконструируемых зданий и помещений, предназначенных для холодильной обработки и хранения пищевых продуктов.
1.2. Руководство содержит основные требования к проектированию теплоизоляции и ограждающих конструкций, рекомендуемые теплоизоляционные и пароизоляционные материалы, требуемые сопротивления теплопередаче, методику определения оптимального сопротивления теплопередаче ограждений и требуемого сопротивления паропроницанию, рекомендации по надзору за ограждающими конструкциями, замене и усилению теплоизоляции в процессе эксплуатации.
1.3. Наряду с настоящим Руководством при проектировании и выполнении теплоизоляции рекомендуется руководствоваться главами СНиП III-20-74 "Кровли, гидроизоляция, пароизоляция и теплоизоляция",
СНиП II-3-79* "Строительная теплотехника",
СНиП II-26-76 "Кровли" и "
Руководством по проектированию, строительству и эксплуатации полов в помещениях с отрицательными температурами среды", М., Стройиздат, 1979.
1.4. Для теплоизоляции ограждений охлаждаемых помещений эффективными материалами следует считать материалы, отвечающие требованиям
п. 4.1.
Примечание. Охлаждаемыми считаются помещения, в которых постоянно поддерживается температура воздуха 12 °C и ниже.
2. ОГРАЖДАЮЩИЕ КОНСТРУКЦИИ
2.1. Наружные стены выполняются, как правило, многослойными, состоящими из двух основных слоев - наружного, совмещающего функции несущего и защитного, и внутреннего теплоизоляционного. В качестве наружного слоя применяются железобетонные панели из тяжелого или облегченного бетонов, стальные или алюминиевые листы, кирпич, различные природные камни.
2.2. Железобетонные панели со слоем эффективной теплоизоляции должны изготовляться из тяжелого бетона с маркой по прочности на сжатие М 300 или из облегченного бетона на пористых заполнителях марки не ниже М 200; марка по морозостойкости должна быть не ниже Мрз 200 для районов с расчетной зимней температурой до минус 40 °C включительно и не ниже Мрз 300 при температуре ниже минус 40 °C (за расчетную зимнюю температуру принимается средняя температура наиболее холодной пятидневки).
Толщина наружного несущего железобетонного слоя панели принимается по расчету на прочность и устойчивость, но не менее 120 мм, защитный слой бетона должен быть не менее 20 мм. Для крепления каркаса теплоизоляции в железобетонных панелях необходимо предусматривать специальные закладные детали.
В качестве облегченных бетонов для изготовления панелей рекомендуется применять керамзитобетон, шунгизитобетон, пемзобетон и бетоны на других пористых заполнителях, обеспечивающих требуемые марки по прочности и морозостойкости. Ячеистые бетоны для панелей наружных стен холодильников применять не допускается.
| | ИС МЕГАНОРМ: примечание. ГОСТ 20882-75 утратил силу с 01.01.1989 (ИУС "Государственные стандарты", N 2, 1990). | |
2.3. Тепло- и пароизолирующие свойства швов между панелями должны быть близкими к свойствам по полю панели. Герметизацию швов рекомендуется осуществлять мастиками марки АМ-0,5 (ГОСТ 20882-75*), "Эластосил 11-06" (ТУ 6-02-775-73) и др.
2.4. Кирпичные стены со слоем эффективной теплоизоляции должны проектироваться из глиняного обыкновенного полнотелого кирпича пластического прессования - не ниже М 100 на тяжелом растворе не ниже М 50.
Для отделки наружных поверхностей кирпичных стен следует применять кирпич керамический лицевой сплошной пластического прессования и другие облицовочные материалы.
В нормальных и сухих зонах (по влажности) допускается предусматривать наружные стены холодильников из силикатного кирпича М 150 или из природных камней не ниже М 75.
Кирпич и естественный камень для стен зданий холодильников емкостью 700 т и более должен иметь марку по морозостойкости не ниже Мрз 25, для зданий холодильников емкостью менее 700 т не ниже Мрз 15.
Кладка из пустотелых камней в наружных ограждающих конструкциях допускается только для зданий холодильников с положительной температурой воздуха в охлаждаемых помещениях.
2.5. Для крепления каркаса теплоизоляции в кирпичные стены должны закладываться деревянные пробки или анкерные болты.
Поверхность кирпичной стены с внутренней стороны должна быть подготовлена для нанесения пароизоляции. Для этого кладка выполняется впустошовку с последующей штукатуркой цементным раствором М 50.
2.6. Металлические облицовки трехслойных панелей должны изготовляться из листов толщиной не менее 0,8 мм с необходимым антикоррозионным покрытием.
2.7. Междукамерные перегородки могут быть крупноблочными, выполненными из керамзитобетонных и пенобетонных блоков, комплексными - в виде кирпичной или панельной железобетонной перегородки с дополнительной теплоизоляцией, а также из панелей с металлическими облицовками (в холодильниках из легких металлических конструкций).
2.8. Железобетонные панели внутренних стен и перегородок со слоем эффективной теплоизоляции должны изготовляться из тяжелого бетона не ниже М 200 или облегченного бетона на пористых заполнителях не ниже М 150, марка по морозостойкости должна быть не ниже Мрз 100. Толщина железобетонной панели должна быть не менее 80 мм.
2.9. Крупноблочные перегородки рекомендуется устанавливать между камерами с перепадом температур не более 5 °C.
2.10. Крепление эффективной теплоизоляции к кирпичным и панельным внутренним стенам и перегородкам осуществляется согласно
пп. 2.2 и
2.5.
2.11. Междуэтажные изолируемые перекрытия многоэтажных холодильников должны проектироваться, как правило, безбалочными из тяжелого бетона М 300 морозостойкостью не ниже Мрз 150. Защитный слой арматуры в железобетонных элементах перекрытий должен быть не менее 20 мм.
2.12. Перекрытия над проветриваемыми подпольями должны проектироваться из тяжелого бетона повышенной плотности марки М 300, морозостойкостью не ниже Мрз 300, марки по водонепроницаемости B6.
2.13. Теплоизоляция, как правило, укладывается по перекрытию сверху насухо. При необходимости подклейки изоляции снизу в железобетонные перекрытия закладываются анкерные болты или выпускаются "усы" из оцинкованной стальной проволоки.
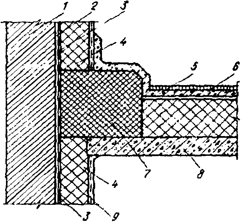
2.14. Примыкание междуэтажных перекрытий к наружным стенам следует осуществлять таким образом, чтобы была исключена возможность образования тепловых "мостиков" (рис. 1).
Рис. 1. Примыкание междуэтажных перекрытий
к наружным стенам
1 - наружный (несущий) слой; 2 - штукатурка (при кирпичных
и блочных стенах); 3 - несгораемый пароизоляционный слой;
4 - теплоизоляционный слой; 5 - армированная бетонная
стяжка; 6 - покрытие пола; 7 - противопожарный пояс;
8 - междуэтажное перекрытие; 9 - отделочный слой
2.15. Покрытия зданий холодильников, как правило, следует выполнять совмещенными, бесчердачными, состоящими из несущих конструкций, теплоизоляции и кровли.
2.16. Покрытия с рулонной или мастичной кровлей должны иметь уклон не менее 1,5%. Уклон кровли многоэтажных зданий, проектируемых с применением типовых конструкций, допускается предусматривать равным 0,5%.
2.17. Несущие конструкции покрытия могут быть железобетонными (как правило, сборными) или металлическими послойной сборки или из панелей.
2.18. Железобетонные несущие конструкции покрытий одноэтажных холодильников допускается проектировать из унифицированных конструкций одноэтажных промышленных зданий. При неустановленной морозостойкости или при морозостойкости этих конструкций ниже Мрз 150, а также при защитном слое менее 20 мм, конструкции с внутренней стороны должны защищаться лакокрасочным покрытием.
2.19. С целью предотвращения промерзания оснований зданий холодильников следует применять системы искусственного обогрева грунтов (электрообогрев, обогрев жидкостью) или отрыв полов от грунта (проветриваемые подполья); в многоэтажных холодильниках рекомендуется также в цокольных или первых этажах располагать камеры с нулевыми или положительными температурами.
2.20. Теплоизоляция полов с искусственным обогревом грунта в зависимости от температуры воздуха в охлаждаемых помещениях и расположения обогревающего устройства может выполняться однослойной (из засыпного или плитного материала) или двухслойной (в виде комбинации засыпного и плитного материала).
Электрообогреваемые полы следует проектировать в соответствии с "
Руководством по проектированию, строительству и эксплуатации полов в помещениях с отрицательными температурами среды" (ЦНИИПромзданий, Гипрохолод. М., Стройиздат, 1979).
2.21. При расположении обогревающей плиты под фундаментами парогидроизоляция должна выполняться непосредственно под плитой по бетонному подстилающему слою, при расположении обогревающей плиты над фундаментами парогидроизоляцию следует выполнять по плите.
2.22. Гидроизоляционные элементы полов должны предусматриваться как для подвалов зданий с помещениями 1 категории степени сухости при III группе трещиностойкости конструкций (по классификации в соответствии с "Указаниями по проектированию гидроизоляции подземных частей зданий и сооружений (СН 301-65*, изд. 1971 г.).
2.23. Конструктивные элементы полов: бетонную подготовку по грунту, обогревающую плиту, гидро- и пароизоляционные слои следует выполнять с деформационными швами шириной 20 - 30 мм по границам участка обогрева. В деформационных швах необходимо предусматривать устройство металлических компенсаторов и герметизацию эластичными мастиками (в соответствии с СН 301-65*).
3. ОБЩИЕ ТРЕБОВАНИЯ К ПРОЕКТИРОВАНИЮ ТЕПЛОИЗОЛЯЦИИ
И ПАРОИЗОЛЯЦИИ ОГРАЖДАЮЩИХ КОНСТРУКЦИЙ ЗДАНИЙ ХОЛОДИЛЬНИКОВ
3.1. Создание ограждений зданий холодильников со стабильными теплоизоляционными свойствами достигается рациональным применением в конструкциях эффективных теплоизоляционных материалов в сочетании с надежной гидропароизоляцией, не допускающей проникания влаги в жидкой фазе и максимально сокращающей проникновение водяных паров в толщу теплоизоляции.
3.2. Тепловая изоляция ограждений охлаждаемых помещений должна быть непрерывной по всей поверхности здания.
3.3. Защита ограждений от увлажнения достигается:
обеспечением величины общего сопротивления теплопередаче ограждения Rо не менее значения, определяемого из условия исключения образования конденсата на теплой поверхности ограждения;
выполнением непрерывного эффективного гидропароизоляционного слоя со стороны большего суммарного давления водяных паров;
герметизацией мест прохождения через пароизоляционный слой анкеров, болтов и других элементов;
расположением материалов в конструкции ограждения в таком порядке, чтобы их сопротивление паропроницанию понижалось в направлении к более холодной поверхности (с этой целью более плотные малопаропроницаемые материалы следует располагать с более теплой стороны);
исключением в толще теплоизоляции пароизоляционных слоев;
креплением теплоизоляционных материалов при изоляции вертикальных поверхностей полосовой или точечной склейкой между собой (наклейку первого слоя плит к изолируемой поверхности следует осуществлять сплошным слоем клея).
3.4. Для пароизоляции ограждающих конструкций следует применять высокоэффективные рулонные материалы, а также битумные мастики и эмульсии, наносимые механизированным путем (набрызгом).
3.5. При расположении пароизоляционного слоя с теплой стороны ограждения отделочный слой изолированной поверхности со стороны охлаждаемых помещений должен быть прочным, паропроницаемым и защищать теплоизоляцию от воздействия огня и механических повреждений.
3.6. Теплоизоляция из сгораемых или трудносгораемых материалов должна защищаться со стороны помещений несгораемым отделочным слоем, а также разделяться противопожарными поясами шириной 500 мм из несгораемых материалов поэтажно и на отсеки площадью не более 500 м2 при применении сгораемых теплоизоляционных материалов и 1000 м2 - при применении трудносгораемых теплоизоляционных материалов.
Противопожарные пояса должны плотно примыкать к огнестойким конструкциям. В них не допускается устройство отверстий и пропуск коммуникаций. Пароизоляционный слой в противопожарных поясах необходимо выполнять из несгораемых материалов.
В процессе производства работ площадь незащищенной теплоизоляции должна быть не более 700 м2, о чем следует указывать в рабочих чертежах строительной части проекта.
3.7. Теплоизоляцию, повреждаемую грызунами, необходимо защищать на высоту 1 м от пола сеткой с ячейками размером 6 x 6 мм из стальной проволоки, заводя ее в пол на 0,5 м.
3.8. Теплоизоляцию обогреваемых полов в помещениях с температурой воздуха -20 °C и ниже следует выполнять из эффективных материалов.
В помещениях с температурой воздуха выше -20 °C теплоизоляцию обогреваемых полов допускается выполнять из засыпных неорганических материалов с объемной массой не более 500 кг/м3 и влажностью не более 2% по объему.
3.9. Гидро- и пароизоляцию конструкций обогреваемых полов следует предусматривать из материалов с повышенной влагостойкостью (изол, полиэтиленовая пленка и другие).
3.10. Для уменьшения теплопритоков через конструкцию совмещенного покрытия верхний слой кровельного ковра целесообразно выполнять из гидроизоляционных материалов с хорошей теплоотражающей способностью. Для уменьшения старения кровлю из битумоосновных материалов следует окрашивать светлыми и атмосфероустойчивыми красками, покрывать светлым гравием и другими атмосферостойкими материалами с коэффициентом поглощения тепла солнечной радиации не более 0,65.
3.11. Колонны в помещениях с обогреваемыми полами при хранении продуктов в специальной упаковке, исключающей их усушку, при температуре воздуха минус 20 °C и выше не изолируются. При температуре воздуха ниже минус 20 °C целесообразно их изолировать в соответствии с п. 3.12.
3.12. Колонны в помещениях с обогреваемыми полами при хранении продуктов без специальной упаковки при температуре воздуха ниже минус 10 °C изолируются на высоту 1,2 м от пола слоем теплоизоляции с сопротивлением теплопередаче, равным 1,25 м2·ч·°C/ккал.
3.13. В зданиях холодильников из легких металлических конструкций стальные колонны при опирании их на конструкцию пола по схеме рис. 2 не изолируются (см. с. 8).
Рис. 2. Схема опирания стальной колонны
на конструкцию обогреваемого пола
1 - колонна; 2 - покрытие пола; 3 - железобетонная
плита; 4 - теплоизоляция; 5 - парогидроизоляция;
6 - бетонная плита с электронагревателями;
7 - бетонная подготовка; 8 - уплотненный грунт
3.14. В состав архитектурно-строительной части проекта холодильника следует включать детали устройства теплоизоляции и пароизоляции ограждающих конструкций, а также необходимые указания по производству работ, в соответствии с главой СНиП III-20-74.
3.15. Схемы теплопароизоляции различных ограждающих конструкций приведены на
рис. 3 -
5 (см. с. 8, 9).
Рис. 3. Схемы теплопароизоляции стен и перегородок
а - кирпичных; б - железобетонных из панелей;
в - внутренних из блоков; 1 - кирпичная кладка;
2 - штукатурка; 3 - пароизоляционный слой;
4 - теплоизоляционный слой; 5 - отделочный слой;
6 - облицовка; 7 - блоки (ячеистый бетон, перлитобетон);
8 - блоки пеностекла; 9 - железобетонная панель
Рис. 4. Схемы теплопароизоляции
покрытий и перекрытий над подпольем
а - покрытие над камерами с нулевыми и отрицательными
температурами; б - покрытие над камерами с плюсовыми
температурами; в - перекрытие над подпольем; 1 - кровельный
ковер с защитным слоем; 2 - пароизоляционный слой;
3 - подстилающий слой; 4 - теплоизоляционный слой;
5 - железобетонная плита покрытия; 6 - покрытие пола;
7 - плита перекрытия
Рис. 5. Схемы теплопароизоляции междуэтажных перекрытий
а - при расположении холодных помещений над теплыми;
б - при расположении теплых помещений над холодными;
1 - покрытие пола; 2 - подстилающий слой;
3 - теплоизоляционный слой; 4 - пароизоляционный слой;
5 - железобетонная плита перекрытия
4. ТЕПЛОИЗОЛЯЦИОННЫЕ МАТЕРИАЛЫ
4.1. Основным требованием к теплоизоляции ограждений охлаждаемых помещений отвечают материалы со следующими свойствами:
с объемной массой (объемным весом) не более 300 кг/м3;
с теплопроводностью при температуре 20 °C не более 0,08 ккал/(м·ч·°C);
с пределом прочности при изгибе не менее 1,0 кгс/см2;
с водопоглощением не более 5% по объему за 24 ч;
с малой гигроскопичностью (максимальная сорбционная влажность при температуре 20 °C менее 3% по объему);
с морозостойкостью не менее 25 циклов теплосмен;
являющиеся несгораемыми или трудносгораемыми.
Кроме перечисленных свойств теплоизоляционные материалы должны обладать устойчивостью к заражению бактериями и грибками (т.е. должны быть биостойкими), не выделять запахов.
4.2. Характеристика теплоизоляционных материалов и рекомендуемые области их применения приведены в табл. 1.
Таблица 1
N п.п. | Материалы | Объемная масса в сухом состоянии  , кг/м 3 | Расчетные коэффициенты | Возгораемость | Назначение |
теплопроводности  , ккал/(м·ч·°C) | паропроницаемости  , г/(м·ч·мм рт. ст.) |
1 | 2 | 3 | 4 | 5 | | 7 |
1 | | 400 | 0,13 | 0,03 | Н | Для устройства перегородок и противопожарных поясов |
500 | 0,17 | 0,03 | Н |
| | ИС МЕГАНОРМ: примечание. Постановлением Госстроя СССР от 30.08.1990 N 75 с 01.01.1991 введен в действие ГОСТ 9757-90. | |
|
2 | Гравий керамзитовый (ГОСТ 9759-76) | 400 | 0,12 | 0,032 | Н | Для теплоизоляции полов на грунтах и устройства выравнивающего слоя |
500 | 0,14 | 0,032 | Н |
| | ИС МЕГАНОРМ: примечание. Взамен ГОСТ 5578-76 Постановлением Минстроя России от 12.04.1995 N 18-37 с 01.01.1996 введен в действие ГОСТ 5578-94. | |
|
3 | Щебень из доменного шлака (ГОСТ 5578-76) | 400 | 0,14 | 0,032 | Н | То же |
4 | Блоки из пеностекла (РСТ БССР 665-71) | 400 | 0,12 | 0,003 | Н | Для теплоизоляции покрытий и полов на грунтах |
300 | 0,10 | 0,003 | Н |
200 | 0,08 | 0,004 | Н |
5 | | 300 | 0,085 | 0,005 | С | Для теплоизоляции покрытий и полов на грунтах |
| | ИС МЕГАНОРМ: примечание. ГОСТ 18109-80 утратил силу с 01.01.1992 в связи с изданием Постановления Госстроя СССР от 14.08.1990 N 70. | |
|
6 | Изделия перлитоцементные (ГОСТ 18109-80) | 300 | 0,08 | - | Н | Для теплоизоляции перекрытий и устройства противопожарных поясов |
250 | 0,075 | - | Н |
7 | Плиты асбестовермикулитовые (ТУ 21-25-61-76 Минпромстройматериалов СССР) | 300 | 0,09 | - | Н | То же |
250 | 0,085 | - | Н |
8 | Изделия перлитофосфогелевые (ГОСТ 21500-76) | 300 | 0,10 | 0,027 | Н | " |
200 | 0,08 | 0,03 | Н |
| | ИС МЕГАНОРМ: примечание. Взамен ГОСТ 10140-71 Постановлением Госстроя СССР от 04.09.1980 N 135 с 01.01.1983 введен в действие ГОСТ 10140-80. | |
|
9 | Плиты теплоизоляционные из минеральной ваты на битумном связующем (ГОСТ 10140-71*) | 250 | 0,075 | 0,060 | С | Для теплоизоляции наружных и внутренних стен, перегородок, покрытий, перекрытий и колонн |
200 | 0,07 | 0,065 | С |
| | ИС МЕГАНОРМ: примечание. Взамен ГОСТ 15588-70 Постановлением Госстроя СССР от 17.06.1986 N 80 с 01.07.1986 введен в действие ГОСТ 15588-86. | |
|
| Плиты теплоизоляционные из пенопласта полистирольного (ГОСТ 15588-70*) | 25 - 40 | 0,040 | 0,006 | С | Для теплоизоляции наружных и внутренних стен, перегородок, покрытий, колонн, дверей, междуэтажных перекрытий и потолков, полов на грунтах |
| | ИС МЕГАНОРМ: примечание. ГОСТ 4861-74 утратил силу с 01.01.1988 (Постановление Госстроя СССР от 26.08.1987 N 193). | |
|
| Плиты торфяные (ГОСТ 4861-74) | 200 | 0,06 | 0,065 | Т | Для теплоизоляции перекрытий, полов на грунтах |
12 | Плиты из пенопласта полистирольного ПС-4 (ТУ 6-05-1178-75) | 80 | 0,045 | 0,006 | С | Для теплоизоляции покрытий, перекрытий, дверей, колонн, полов на грунтах |
13 | Плиты из поливинилхлоридного пенопласта ПВ-1 (ТУ 6-05-1158-74) | 80 | 0,045 | 0,08 | Т | Для теплоизоляции наружных и внутренних стен, покрытий, перекрытий, потолков, колонн, дверей, полов на грунтах |
14 | Жесткий пенополиуретан ППУ-3с (ТУ В-56-70) | 50 | 0,035 | 0,007 | С | Для теплоизоляции наружных и внутренних стен, потолков, колонн и дверей |
| | ИС МЕГАНОРМ: примечание. Постановлением Госстроя СССР от 10.04.1991 N 15 с 01.01.1992 введен в действие ГОСТ 10832-91. | |
|
15 | Песок перлитовый вспученный (ГОСТ 10832-74*) | 400 | 0,08 | 0,04 | Н | Для теплоизоляции полов на грунтах |
200 | 0,07 | 0,045 | Н |
Примечания: 1. В
графе 6 приняты следующие обозначения: Т - трудносгораемый; Н - несгораемый; С - сгораемый.
2. Для материалов, не вошедших в данную таблицу, расчетные значения следует принимать по
прил. 3 главы СНиП II-3-79*.
3. Перлитофосфогелевые изделия допускается применять, как правило, при кирпичных стенах.
4. Расчетные значения коэффициентов теплопроводности приняты для условий Б эксплуатации ограждающих конструкций в соответствии с главой
СНиП II-3-79*.
5. Для материалов, вошедших в данную таблицу, за исключением пеностекла и минераловатных плит, требуется защита от повреждения грызунами.
6. Плиты из пенопласта ПСБ-С
(поз. 10) не допускается применять в покрытиях из стального листа.
7. Плиты торфяные
(поз. 11) допускается применять только огнебиоводостойкие.
Применение других материалов допускается только с разрешения Министерства здравоохранения СССР.
5. ПАРО- И ГИДРОИЗОЛЯЦИЯ ОГРАЖДАЮЩИХ КОНСТРУКЦИЙ
5.1. Пароизоляционные слои ограждающих конструкций должны:
обеспечивать требуемое сопротивление паропроницанию при толщине, как правило, не более 4 мм;
сохранять сопротивление паропроницанию и адгезию к изолируемым поверхностям при воздействии знакопеременных температур;
быть непрерывным и эластичным, обеспечивать паронепроницаемость стыковых соединений;
иметь теплостойкость до 50 °C при применении на вертикальных ограждающих конструкциях (не сползать).
5.2. Характеристики пароизоляционных и гидроизоляционных материалов и рекомендуемые области их применения приведены в табл. 2.
Таблица 2
N п.п. | Материалы | Марка | ГОСТ, ТУ | Сопротивление паропроницанию Rп, м2·ч·мм рт. ст./г | Назначение |
1 | Битумы нефтяные | БН-IV БН-V | | 2,0 (покрытие за один раз) | Для наклейки рулонных парогидроизоляционных материалов на горизонтальные и вертикальные поверхности, а также для наклейки теплоизоляционных материалов |
2 | Мастика битумная | МБК-Г-65; МБК-Г-75; МБК-Г-85; МБК-Г-90 | | 4,8 (покрытие за один раз) | То же |
| Мастика битумно-полимерная эмульсионная | - | - | 50 (покрытие за три раза) | Для выполнения пароизоляционных покрытий механизированным способом |
| | ИС МЕГАНОРМ: примечание. Взамен ГОСТ 10923-82 МНТКС 10.11.1993 принят ГОСТ 10923-93, введенный в действие с 01.01.1995. | |
|
4 | Рубероид | РКМ-350Б РКМ-350В | ГОСТ 10923-76 | 8,3 | Для выполнения пароизоляционных слоев |
| | ИС МЕГАНОРМ: примечание. Взамен ГОСТ 2697-75 Постановлением Госстроя СССР от 31.10.1983 N 294 с 01.01.1985 введен в действие ГОСТ 2697-83. | |
|
5 | Пергамин | П-300; П-350 | ГОСТ 2697-75 | 2,5 | Для выполнения пароизоляционных слоев |
6 | Изол | - | | 40 | Для выполнения пароизоляционных слоев |
7 | Рубероид с эластичным покровным слоем | РэМ-350 | ТУ 21-27-30-72 Минпромстройматериалов | 8,3 | Для выполнения пароизоляционных слоев и нижних слоев кровель |
| | ИС МЕГАНОРМ: примечание. Текст в третьей графе дан в соответствии с официальным текстом документа. | |
|
| | ИС МЕГАНОРМ: примечание. Взамен ГОСТ 7415-74 Постановлением Госстроя СССР от 30.12.1985 N 285 с 01.01.1987 введен в действие ГОСТ 7415-86. | |
|
8 | Гидроизол | ГИ-Г; ГИ-Г | ГОСТ 7415-74* | 10 | То же |
9 | Рубероид | РКК-500А, РКК-400А, РКК-400Б, РКК-400В, РКЧ-350Б, РКЧ-350В | ГОСТ 10923-76 | 8,3 | Для выполнения верхнего слоя кровель |
10 | Стеклорубероид | С-РК; С-РУ | | 10 | Для выполнения верхнего слоя скатных кровель |
11 | Стеклорубероид | С-РМ | | 10 | Для выполнения пароизоляционных покрытий и нижних слоев кровель |
| | ИС МЕГАНОРМ: примечание. Взамен ГОСТ 10354-73 Постановлением Госстандарта СССР от 02.06.1982 N 2253 с 01.07.1983 введен в действие ГОСТ 10354-82. | |
|
12 | Полиэтиленовая пленка | С | ГОСТ 10354-73 | 55 (при толщине 0,16 мм) | Для выполнения парогидроизоляции конструкций обогреваемых полов |
Примечание. Мастика
поз. 3 изготавливается на стройплощадке; технология изготовления и применения ее описана в брошюре ЦНИИТЭИ Мясомолпром "Пароизоляция теплоизоляционных конструкций ограждений холодильников", М., 1969 г.
6. ОПРЕДЕЛЕНИЕ ТРЕБУЕМОГО СОПРОТИВЛЕНИЯ ТЕПЛОПЕРЕДАЧЕ
(КОЭФФИЦИЕНТА ТЕПЛОПЕРЕДАЧИ) ОГРАЖДАЮЩИХ КОНСТРУКЦИЙ
6.1. Требуемое сопротивление теплопередаче

(коэффициент теплопередачи

) наружных стен охлаждаемых помещений для различных районов СССР следует принимать по табл. 3.
Среднегодовая температура воздуха в районе строительства, °C | Сопротивление теплопередаче  , м 2·ч·°C/ккал [(коэффициент теплопередачи , ккал/(м 2·ч·°C)] при температуре воздуха в помещении, °C |
минус 30 | минус 20 | минус 10 | 0 | 10 |
0 и ниже | 6,2 (0,16) | 5,0 (0,20) | 3,8 (0,26) | 2,2 (0,45) | 1,7 (0,58) |
Выше 0 и ниже 10 | 6,7 (0,15) | 5,6 (0,18) | 4,5 (0,22) | 2,7 (0,37) | 1,9 (0,52) |
10 и выше | 7,1 (0,14) | 6,2 (0,16) | 5,5 (0,18) | 3,7 (0,27) | 2,4 (0,42) |
6.2. Требуемое сопротивление теплопередаче

(коэффициент теплопередачи

) покрытий над охлажденными помещениями для различных районов СССР следует принимать по табл. 4.
Таблица 4
Среднегодовая температура наружного воздуха в районе строительства, °C | Сопротивление теплопередаче  , м 2·ч·°C/ккал [(коэффициент теплопередачи , ккал/(м 2·ч·°C)] при температуре воздуха в помещении, °C |
минус 30 | минус 20 | минус 10 | 0 | 10 |
0 и ниже | 6,6 (0,15) | 5,3 (0,19) | 4,2 (0,24) | 2,7 (0,37) | 2,4 (0,42) |
Выше 0 и ниже 10 | 7,2 (0,14) | 6,0 (0,17) | 4,8 (0,21) | 3,1 (0,32) | 2,4 (0,42) |
10 и выше | 7,7 (0,13) | 6,9 (0,15) | 5,5 (0,18) | 4,0 (0,25) | 2,7 (0,37) |
6.3. Требуемое сопротивление теплопередаче

(коэффициент теплопередачи

) обогреваемых полов на грунте следует принимать по табл. 5.
Таблица 5
Температура воздуха в охлаждаемом помещении, °C | Сопротивление теплопередаче  , м 2·ч·°C/ккал [(коэффициент теплопередачи , ккал/(м 2·ч·°C)] |
Минус 4 | 3,3 (0,30) |
" 10 | 4,7 (0,22) |
" 20 | 6,0 (0,17) |
" 30 | 8,5 (0,12) |
6.4. Требуемое сопротивление теплопередаче

(коэффициент теплопередачи

) перекрытий над проветриваемыми подпольями для различных районов СССР следует принимать по табл. 6.
Таблица 6
Среднегодовая температура наружного воздуха в районе строительства, °C | Сопротивление теплопередаче  , м 2·ч·°C/ккал [(коэффициент теплопередачи , ккал/(м 2·ч·°C)] при температуре воздуха в помещении, °C |
минус 30 | минус 20 | минус 10 | 0 и неотапливаемые помещения |
5 и ниже | 6,2 (0,16) | 5,0 (0,20) | 3,6 (0,28) | 2,2 (0,45) |
Выше 5 и ниже 10 | 6,7 (0,15) | 5,6 (0,18) | 4,2 (0,24) | 2,7 (0,37) |
10 и выше | 7,1 (0,14) | 6,2 (0,16) | 5,0 (0,20) | 3,7 (0,27) |
6.5. Требуемое сопротивление теплопередаче

(коэффициент теплопередачи

) для внутренних стен, перегородок и междуэтажных перекрытий охлаждаемых помещений следует принимать по табл. 7.
Таблица 7
Температура воздуха в более теплом помещении, °C | Сопротивление теплопередаче  , м 2·ч·°C/ккал [(коэффициент теплопередачи , ккал/(м 2·ч·°C)], при температуре воздуха в более холодном помещении, °C |
минус 30 | минус 20 | минус 10 | 0 | 10 |
Минус 30 | 2,0 (0,5) | - | - | - | - |
" 20 | 2,3 (0,43) | 2,0 (0,5) | - | - | - |
" 10 | 3,1 (0,32) | 2,3 (0,43) | 1,5 (0,67) | - | - |
0 | 4,5 (0,22) | 4,0 (0,25) | 2,4 (0,42) | 1,0 (1,0) | - |
10 | 5,6 (0,18) | 5,3 (0,19) | 3,4 (0,30) | 2,0 (0,5) | 0,4 (2,5) |
20 | 6,5 (0,16) | 5,6 (0,18) | 5,0 (0,20) | 3,7 (0,27) | 1,5 (0,67) |
6.6. Требуемое сопротивление теплопередаче

(коэффициент теплопередачи

) для внутренних стен, перекрытий и перегородок, отделяющих охлаждаемые помещения от неохлаждаемых и неотапливаемых, следует принимать по табл. 8.
Температура воздуха в охлаждаемом помещении, °C | Сопротивление теплопередаче  , м 2·ч·°C/ккал [(коэффициент теплопередачи , ккал/(м 2·ч·°C)] |
Минус 30 | 5,0 (0,20) |
" 20 | 4,2 (0,24) |
" 10 | 3,6 (0,28) |
0 | 2,4 (0,42) |
10 | 1,5 (0,67) |
6.7. Значения

при температуре воздуха, не указанных в
табл. 3 -
8, следует определять интерполяцией.
6.8. Значения

в
табл. 3 -
8 приведены для теплоизоляционных материалов с коэффициентом теплопроводности не более 0,05 ккал/(м·ч·°C).
Для теплоизоляционных материалов с коэффициентом теплопроводности более 0,05 ккал/(м·ч·°C) значение

для охлаждаемых помещений с внутренней температурой воздуха минус 30 и минус 20 °C следует принимать с коэффициентом 0,9.
Наружные ограждающие конструкции с теплоинерционностью

следует защищать от влияния солнечной радиации (устройство экранов, вентилируемых прослоек и др.). В случае отсутствия защиты значения

в
табл. 3 -
8 следует умножать на коэффициент 1,1.
6.9. Ограждающие конструкции охлаждаемых помещений с температурой воздуха 0 °C и выше необходимо проверять на возможность конденсации влаги с теплой стороны конструкции. Отсутствие конденсации обеспечивается при

не менее определяемого по формуле
| | ИС МЕГАНОРМ: примечание. Взамен СНиП II-А.6-62 Постановлением Госстроя СССР от 10.03.1972 N 38 с 01.10.1972 введены в действие СНиП II-А.6-72. Взамен СНиП II-А.6-72 Постановлением Госстроя СССР от 21.07.1982 N 188 с 01.01.1984 введены в действие СНиП 2.01.01-82. | |
где
tв - расчетная температура внутреннего воздуха, принимаемая по нормам технологического проектирования, °C;
tн - расчетная зимняя температура наружного воздуха, принимаемая в соответствии с табл. 5 главы СНиП II-А.6-72 "Строительная климатология и геофизика" с учетом тепловой инерции ограждающей конструкции;

- температурный перепад между температурой внутреннего воздуха и температурой внутренней поверхности ограждающей конструкции, °C; для наружных стен

, для покрытий и перекрытий

; здесь
tр - температура точки росы при расчетной температуре и относительной влажности воздуха, принимаемых по нормам технологического проектирования;

- коэффициент теплоотдачи внутренней поверхности ограждающих конструкций, принимаемый равным 7,5 ккал/(м
2·ч·°C).
6.10. При технико-экономическом сравнении вариантов ограждающих конструкций с различными теплоизоляционными материалами, а также при экспериментальном проектировании их, экономически целесообразное сопротивление теплопередаче рекомендуется определять в соответствии с п. 6.11.
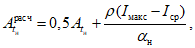
6.11. Экономически целесообразное сопротивление теплопередаче наружных ограждающих конструкций

при температуре воздуха в помещениях ниже минус 5 °C следует определять по формуле
при температуре воздуха в помещениях минус 5 °C и выше
| | ИС МЕГАНОРМ: примечание. Взамен СНиП II-А.6-62 Постановлением Госстроя СССР от 10.03.1972 N 38 с 01.10.1972 введены в действие СНиП II-А.6-72. Взамен СНиП II-А.6-72 Постановлением Госстроя СССР от 21.07.1982 N 188 с 01.01.1984 введены в действие СНиП 2.01.01-82. | |
где

- расчетная максимальная разность температур наружного
tн и внутреннего воздуха
tв, °C;

- среднегодовая разность температур наружного и внутреннего воздуха, °C;

- расчетная средняя за период охлаждения разность температур наружного и внутреннего воздуха, °C;
m1 - коэффициент перевода рабочих ккал в нормальные, принимаемый по
табл. 9;
nох - число месяцев со среднемесячной температурой наружного воздуха выше температуры воздуха в камере, принимаемое по главе СНиП II-А.6-72;
Cиз - стоимость 1 м
3 изоляции в деле.
N п.п. | Температура воздуха в камере, °C | Коэффициент перевода рабочих ккал в нормальные |
1 | Минус 30 | 4,2 |
2 | " 20 | 2,4 |
3 | " 10 | 1,6 |
4 | " 0 | 1,1 |
Расчетная максимальная температура наружного воздуха tн, °C, определяется по формуле
где
tср.м и
tа.м - соответственно средняя и абсолютная максимальные температуры наружного воздуха, принимаемые по табл. 16, 17 главы СНиП II-А.6-72;

- коэффициент поглощения солнечной радиации поверхностью ограждения, принимаемой по
прил. 1;
Iмакс - максимальный поток тепла в июле, поступающий от солнечной радиации (прямой + рассеянной), принимаемый по табл. 8, 9 главы СНиП II-А.6-72;

- расчетная амплитуда колебаний температуры наружного воздуха, °C;

- коэффициент теплоотдачи наружных поверхностей ограждающих конструкций, ккал/(м
2·ч·°C);

- коэффициент теплоинерционности ограждений, принимаемый в зависимости от вида конструкций
(рис. 6) и теплоизоляции по
табл. 10;

- коэффициент, зависящий от длительности времени между часом наибольшего облучения конструкции и максимумом температуры наружного воздуха в 15 ч, определяемый по
табл. 11.
Рис. 6. Схемы ограждающих конструкций зданий холодильников
а - кирпичная стена; б - стена из керамзитобетонных панелей;
в - железобетонное безбалочное покрытие; г - железобетонное
покрытие из ребристых плит; д - панельное покрытие;
е - стена из трехслойных панелей с металлическими
облицовками и трудносгораемым утеплителем; 1 - кирпичная
кладка; 2 - штукатурка; 3 - пароизоляционный слой;
4 - теплоизоляционный слой; 5 - керамзитобетонная панель;
6 - кровельный ковер с защитным слоем; 7 - армированная
бетонная стяжка; 8 - железобетонная плита перекрытия

;
9 - железобетонная плита покрытия

;
10 - металлическая облицовка
Материал эффективной теплоизоляции | Толщина теплоизоляции, мм | Значения коэффициента  для различных конструкций |
| | | | |
Пенополистирол Пенополиуретан | | 100 | 0 | 0,25 | 0,25 | 0,75 | Св. 0,75 |
Жесткие минераловатные плиты. | 100 | 0 | 0,25 | 0,25 | 0.75 | - |
200 | 0 | 0,25 | 0,25 | 0,25 | - |
300 | 0 | 0 | 0 | 0,25 | - |
400 | 0 | 0 | 0 | 0 | - |
Отношение амплитуд  | Значения коэффициента  при различии времени наступления максимумов I и tн в 1 ч |
1 | 2 | 3 | 4 | 5 | 6 | 7 | 8 | 9 | 10 |
1 | 0,99 | 0,96 | 0,92 | 0,87 | 0,79 | 0,71 | 0,61 | 0,50 | 0,38 | 0,26 |
2 | 0,99 | 0,97 | 0,93 | 0,88 | 0,82 | 0,75 | 0,66 | 0,57 | 0,49 | 0,41 |
3 | 0,99 | 0,97 | 0,94 | 0,90 | 0,85 | 0,79 | 0,73 | 0,66 | 0,60 | 0,55 |
4 | 1,00 | 0,98 | 0,96 | 0,93 | 0,89 | 0,85 | 0,81 | 0,76 | 0,73 | 0,69 |
Расчетная амплитуда колебаний температуры наружного воздуха

| | ИС МЕГАНОРМ: примечание. Взамен СНиП II-А.6-62 Постановлением Госстроя СССР от 10.03.1972 N 38 с 01.10.1972 введены в действие СНиП II-А.6-72. Взамен СНиП II-А.6-72 Постановлением Госстроя СССР от 21.07.1982 N 188 с 01.01.1984 введены в действие СНиП 2.01.01-82. | |
где

- средняя амплитуда суточных колебаний температуры наружного воздуха в июле, °C, принимаемая по табл. 2 главы СНиП II-А.6-72;
Iср - среднесуточное значение потока тепла, поступающего в июле от солнечной радиации, ккал/м
2·ч, принимаемое по табл. 8, 9 главы СНиП II-А.6-72;

(для горизонтальных поверхностей);

(для вертикальных поверхностей); здесь
v - минимальная из средних скоростей ветра по румбам за июль, повторяемость которых составляет 16% и более, принимаемая по табл. 7 главы СНиП II-А.6-72, но не менее 1 м/с.
6.12. Расчетная среднегодовая температура наружного воздуха tср с учетом солнечной радиации определяется по формуле
где tср.год - среднегодовая температура наружного воздуха, принимаемая по табл. 1 (графа 14) главы СНиП II-А.6-72; Iср.год - среднее за год количество тепла, поступающего от суммарной (прямой + рассеянной) солнечной радиации, принимаемое по табл. 10 главы СНиП и II-А.6-72; f - коэффициент, принимаемый для горизонтальной поверхности 1,0; для вертикальных северной, северо-восточной и северо-западной ориентации - 0,3; для южной, восточной, западной, юго-восточной и юго-западной - 0,6.
6.13. Расчетная средняя за период охлаждения камеры температура наружного воздуха
tср.ох определяется по формуле
где tср.мес - среднемесячная температура i-го месяца, принимаемая по табл. 1 главы СНиП II-А.6-72.
6.14. Экономически целесообразное сопротивление теплопередаче конструкции обогреваемого пола

рекомендуется определять по формуле
где

- разность средней температуры обогревающего грунт массива (+2 °C) и температуры внутреннего воздуха.
7. ОПРЕДЕЛЕНИЕ ТРЕБУЕМОГО СОПРОТИВЛЕНИЯ ПАРОПРОНИЦАНИЮ
7.1. Величина сопротивления паропроницанию наружных стен и покрытий холодильников должна устанавливаться из условия исключения накопления влаги в теплоизоляционном слое за летний или зимний период.
7.2. Пароизоляцию в конструкциях наружных ограждений рекомендуется принимать по табл. 12 (типы пароизоляции указаны в
прил. 5).
Расчетная влажность наружного воздуха в районе строительства, мб | Температура воздуха в охлаждаемом помещении, °C | Требуемое сопротивление паропроницанию пароизоляции,  , м 2·ч·мм рт. ст./г | Рекомендуемый тип пароизоляции |
До 14 | Минус 10 и ниже | 50 | |
От минус 9 до 1 | 20 | |
От 11 до 17 | Минус 10 и ниже | 70 | |
От минус 9 до 1 | 35 | |
Св. 18 | Минус 10 и ниже | 100 | |
От минус 9 до 1 | 50 | |
| | ИС МЕГАНОРМ: примечание. Взамен СНиП II-А.6-62 Постановлением Госстроя СССР от 10.03.1972 N 38 с 01.10.1972 введены в действие СНиП II-А.6-72. Взамен СНиП II-А.6-72 Постановлением Госстроя СССР от 21.07.1982 N 188 с 01.01.1984 введены в действие СНиП 2.01.01-82. | |
Примечания: 1. За расчетную влажность наружного воздуха принимается наибольшая среднемесячная абсолютная влажность (по главе СНиП II-А.6-72).
2. Для камер с
tк > 1 °C сопротивление паропроницанию определяется по зимним расчетным условиям главы СНиП II-А.6-72 и
СНиП II-3-79*.
3. Сопротивление паропроницанию для совмещенного покрытия определяется с учетом свойств водоизоляционного ковра (по главе
СНиП II-26-76).
4. Пароизоляция в противопожарных поясах принимается
типа П-14.
5. Типы пароизоляции приведены в
прил. 5.
7.3. Требуемое сопротивление паропроницанию внутреннего отделочного слоя

(слоя с более холодной стороны ограждения) должно быть не более значения, определяемого по формуле

(1)
где

- сумма сопротивлений паропроницанию всех слоев ограждения, исключая отделочный слой с холодной стороны, м
2·ч·мм рт. ст./г;

- переводной коэффициент из мб в мм рт. ст., зависящий от температуры внутреннего воздуха охлаждаемого помещения
tв (принимается по
рис. 7);
eн - средняя величина абсолютной влажности наружного воздуха за три наиболее теплых месяца, мб;
eв - расчетная величина абсолютной влажности внутреннего воздуха охлаждаемого помещения, мб, определяется из соотношения

, здесь
E(
tв) - максимальная упругость водяного пара внутреннего воздуха охлаждаемого помещения, мм рт. ст., принимаемая по
прил. 6;

- расчетная относительная влажность внутреннего воздуха охлаждаемого помещения, %, принимается по
прил. 3.
Рис. 7. Зависимость коэффициентов

и
R1 от температуры
внутреннего воздуха охлаждаемых помещений tв
Минимальное значение

может быть обеспечено при выполнении отделочного слоя из перфорированных листовых материалов площадью перфорации 2%. При применении сплошных листовых материалов следует предусматривать зазор, равный 30 мм, между поверхностью теплоизоляции и отделочным слоем.
7.4. При значениях

более полученных по
формуле (1), величина сопротивления паропроницанию пароизоляционного слоя ограждения

должна уточняться из формулы

(2)
где

- сумма сопротивлений паропроницанию всех слоев ограждения, исключая отделочный и пароизоляционный слои, м
2·ч·мм рт. ст./г;
где

- толщина отдельных слоев, м;
- коэффициент паропроницаемости материала отдельных слоев, г/(м·ч·мм рт. ст.).
Величина

должна приниматься не менее значений, указанных в
табл. 12.
7.5. В конструкциях совмещенных покрытий водоизоляционный ковер должен выполнять функции пароизоляционного слоя, величина сопротивления паропроницанию которого принимается не менее значений, указанных в
табл. 12.
7.6. Для исключения накопления влаги в теплоизоляции совмещенных покрытий верхний слой водоизоляционного ковра рекомендуется выполнять из эффективных паронепроницаемых материалов.
7.7. Величину сопротивления паропроницанию слоя пароизоляции в конструкциях обогреваемых полов на грунтах рекомендуется принимать не менее значений, указанных в табл. 13.
Таблица 13
Температура воздуха в охлаждаемом помещении, °C | Требуемое сопротивление паропроницанию пароизоляции  , м 2·ч·мм рт. ст./г | Рекомендуемый тип пароизоляции (см. прил. 5) |
Минус 30 | 75 | |
" 20 | 40 | |
" 10 | 30 | |
" 4 | 30 | |
7.8. Требуемую величину сопротивления паропроницанию пароизоляции

обогреваемых полов на грунте рекомендуется уточнять из условия минимального влагонакопления по следующим формулам:
для однослойной теплоизоляции

(3)
для двухслойной теплоизоляции

(4)
где

- сопротивление паропроницанию слоя теплоизоляции, м
2·ч·мм рт. ст./г;

,

- термическое сопротивление первого и второго слоев теплоизоляции
(рис. 8), м
2·ч·°C/ккал;

,

- сопротивление паропроницанию первого и второго слоев теплоизоляции, м
2·ч·мм рт. ст./г.
Рис. 8. Расчетная схема для определения сопротивления
паропроницанию

конструкций обогреваемых полов
а - при однослойной теплоизоляции; б - при двухслойной
теплоизоляции; 1 - покрытие пола; 2 - железобетонный
подстилающий слой; 3 - теплоизоляционный слой толщиной

;
4 - второй теплоизоляционный слой толщиной

;
5 - первый теплоизоляционный слой толщиной

;
6 - пароизоляционный слой
7.9. Пароизоляцию в конструкциях внутренних стен, перегородок и перекрытий рекомендуется принимать по табл. 14.
Таблица 14
Температура воздуха в помещении, °C | Требуемое сопротивление паропроницанию, пароизоляции,  , м 2·ч·мм рт. ст./г | Рекомендуемый тип пароизоляции (см. прил. 5) |
охлаждаемом | смежном |
Минус 30 | Минус 30 | - | - |
" 20 | 10 | |
" 10 | 15 | |
0 | 20 | |
10 | 30 | |
Минус 20 | Минус 30 | 10 | |
" 20 | - | - |
" 10 | 10 | |
0 | 15 | |
10 | 20 | |
Минус 10 | Минус 30 | 15 | |
" 20 | 10 | |
" 10 | - | - |
0 | 10 | |
10 | 15 | |
0 | Минус 30 | 20 | |
" 20 | 15 | |
" 10 | 10 | |
0 | - | - |
10 | 10 | |
10 | Минус 30 | 30 | |
" 20 | 20 | |
" 10 | 15 | |
0 | 10 | |
10 | - | - |
8. ЭКСПЛУАТАЦИЯ ОГРАЖДАЮЩИХ КОНСТРУКЦИЙ
8.1. В процессе эксплуатации зданий холодильников необходимо обеспечивать сохранность ограждающих конструкций и стабильность их теплозащитных свойств, осуществлять контроль влажности теплоизоляции и коэффициента теплопередачи конструкций.
8.2. Систематическому надзору, периодическим осмотрам и обследованию подлежат все изолированные ограждающие конструкции холодильника: наружные стены и покрытия, стены коридоров, вестибюлей, тамбуров, межкамерные перегородки и стены, разделяющие охлаждаемые и отапливаемые помещения; междуэтажные и подвальные перекрытия; изолированные колонны и двери, а также воздушные завесы и шторы, влияющие на условия эксплуатации и увлажнения теплоизоляционных конструкций.
8.3. Общие технические осмотры проводятся, как правило, два раза в год - весной и осенью. Во время весеннего осмотра (после освобождения здания от снежного покрова) уточняются объем работ по текущему ремонту ограждающих изолированных конструкций на летний период и объем работ по капитальному ремонту на следующий год. К осеннему общему осмотру приступают после окончания всех работ по подготовке здания холодильника к эксплуатации в зимний период.
8.4. Внеочередной осмотр осуществляется после стихийного бедствия (ураган, наводнение и др.). При этом устанавливается характер повреждений конструкций и определяются срочные меры по устранению обнаруженных дефектов. Особое внимание обращают на состояние кровли и системы водостоков.
8.5. Текущий осмотр основных конструкций здания производится, как правило, не реже одного раза в квартал.
8.6. Результаты всех видов осмотров оформляются в виде актов, в которых отмечаются обнаруженные дефекты и указываются пути и сроки их устранения.
8.7. Основными причинами увлажнения теплоизоляции и снижения теплоизоляционной эффективности ограждений в процессе эксплуатации холодильника могут быть:
увлажнение теплоизоляции в период строительства холодильника;
конденсация влаги на поверхности стен вследствие недостаточной толщины и теплоизолирующей способности изоляционного слоя или несоответствия температурно-влажностного режима расчетному;
конденсация влаги на поверхности конструкции вследствие проникновения в охлаждаемые помещения теплого воздуха через дверные и другие проемы; разрушение защитных штукатурных слоев и пароизоляции, а также образование сквозных трещин и щелей в конструкциях стен, перегородок и покрытий;
разрушение или повреждение кровельного гидроизоляционного ковра; повреждение системы водостока, водоотвода и отмостки вокруг здания холодильника;
повреждение пола и постоянное наличие конденсата на нем в виде жидкой влаги;
недостаточная пароизоляция теплоизоляционных конструкций (применение неэффективных материалов и низкое качество работ);
нарушение структуры теплоизоляции и разрушение изоляционной конструкции вследствие увлажнения, попеременного замерзания и оттаивания увлажненного материала или проникшей в конструкцию влаги;
гниение изоляции органического происхождения или разрушение ее грызунами, а также наличие пустот в теплоизоляционном слое.
8.8. В процессе наблюдения за сохранностью изолированных строительных конструкций холодильника необходимо:
следить за состоянием спланированной поверхности вокруг холодильника для отвода атмосферной воды от цоколя и стен подвала;
не допускать складирования материалов, отходов производства, а также устройства цветников и газонов у стен холодильника;
следить за исправным состоянием кровли и устройств по отводу атмосферных и талых вод с крыши холодильника и примыкающих к нему зданий;
своевременно удалять снег от цоколя стен зданий;
не допускать выброса воды и пара у стен холодильника;
не допускать повышенной влажности воздуха и температуры в охлаждаемых помещениях ниже уровня, предусмотренного проектом;
в случае появления в конструкциях трещин немедленно устанавливать маяки и проводить наблюдения за раскрытием трещин (для выявления вызвавших их причин) и конструкциями в целом;
не допускать пробивки отверстий в изолированных конструкциях без письменного разрешения лиц, ответственных за правильную эксплуатацию зданий;
следить за состоянием устройств для обогрева грунта под холодильниками, не допускать снижения температуры в подвальных этажах, не имеющих устройств для обогрева грунта, ниже 0 °C. В зависимости от местных условий иметь утвержденную инструкцию по эксплуатации устройства для предотвращения промерзания грунта.
Б. ПРИЗНАКИ СНИЖЕНИЯ ИЗОЛИРУЮЩЕЙ СПОСОБНОСТИ
КОНСТРУКЦИЙ И ИХ РАЗРУШЕНИЯ
8.9. Основными признаками увлажнения и разрушения теплоизоляции покрытия являются:
образование "воздушных подушек" (местное вздутие) и трещин в кровельном ковре, расслоение ковра;
появление на потолке верхнего этажа и на внутренней поверхности стен (в местах их примыкания к потолку) мокрых бурых пятен;
образование на полу камер ледяных наростов ("сталактитов");
повышение температуры в камерах (в камерах верхнего этажа многоэтажных холодильников) и увеличение нагрузки на холодильное оборудование.
8.10. Основными признаками увлажнения и разрушения теплоизоляции стен, перегородок, перекрытий являются:
образование устойчивых пятен сырости на поверхности наружных стен со стороны фасадов;
образование пятен сырости на фасадах холодильника по периметру примыкания к наружным стенам междуэтажных перекрытий (увлажнение противопожарных поясов, осадка теплоизоляции стен и образование пустот);
разрушение штукатурки и выпучивание теплоизоляции (т.е. ее расслоение и отслоение от ограждающей конструкции и образование пустот);
образование конденсата и наледи на стенках и перегородках со стороны более теплых помещений, разрушение штукатурки и ее отслоение с прилегающим слоем теплоизоляции;
образование конденсата (воды или инея) на потолках нижележащих помещений с более высокой температурой;
ухудшение температурных условий хранения части грузов, расположенных на полу или под потолком (подмораживание или отепление);
выделение характерного запаха при вскрытии штукатурки (поражение теплоизоляции плесенью и гниение);
увеличение расхода энергии на обогрев грунта, понижение температуры грунта и его промерзание (при исправной работе системы обогрева);
повышение температуры в охлаждаемых помещениях и увеличение нагрузки на холодильное оборудование, увеличение усушки продуктов.
В. ОПРЕДЕЛЕНИЕ ФАКТИЧЕСКИХ ТЕПЛОЗАЩИТНЫХ СВОЙСТВ ОГРАЖДЕНИЙ
8.11. Фактические величины коэффициентов теплопередачи ограждений и влажность теплоизоляции рекомендуется определять периодически, примерно через каждые 5 лет эксплуатации, и при появлении внешних признаков значительного снижения их изолирующей способности.
8.12. Величины коэффициентов теплопередачи определяются измерением удельных тепловых потоков через ограждающие конструкции и перепада температур между наружной и внутренней поверхностью, а также определением фактического коэффициента теплопроводности теплоизоляции по известной зависимости от объемного влагосодержания.
8.13. Измерение удельных тепловых потоков осуществляется плоскими тепломерами Ленинградского технологического института холодильной промышленности, ВНИПИ Теплопроект и др.), позволяющими измерять тепловые потоки в пределах от 1,0 до 30 ккал/(м2·ч).
8.14. Выбранный участок для установки тепломеров должен быть характерным для всего исследуемого ограждения с точки зрения лучистого теплообмена. Участок должен быть удален не менее чем на 1,5 м от элементов конструкций, изменяющих направление теплового потока (стык стен, стык перекрытия со стеной и т.д.), быть ровным в районе 1 - 1,5 м от места установки тепломеров, не должен подвергаться непосредственному местному обдуванию.
8.15. На выбранном участке устанавливаются 2 - 3 тепломера (при использовании одного измерителя не исключается возможность установки его на место, не характерное для всей конструкции). Тепломеры необходимо устанавливать на той стороне исследуемой конструкции, где ожидается наименьшее колебание температуры воздуха (при испытании наружных ограждений - со стороны охлаждаемых помещений). Тепломер должен плотно прилегать к поверхности конструкции. Величина удельного теплового потока на исследуемом участке определяется как средняя арифметическая из показаний установленных тепломеров.
8.16. Одновременно с установкой тепломеров рядом с ними с обеих сторон ограждения крепятся датчики для измерения температур наружного и внутреннего воздуха, наружной и внутренней поверхности (термопары или термометры сопротивления). Датчики для измерения температур воздуха устанавливаются на расстоянии 100 мм от поверхности исследуемой конструкции.
8.17. Испытания, во время которых измеряются тепловые потоки, температуры наружного воздуха
tн и воздуха в охлаждаемых помещениях
tв, температуры внутренней

и наружной

поверхности ограждающей конструкции, проводятся круглосуточно при записи показаний через каждые два часа в течение 5 - 7 сут (желательно при автоматической записи показаний). Начало замеров - не менее чем через 2 ч после установки термодатчиков.
8.18. Величины электродвижущей силы тепломеров и термопар переводятся в тепловые потоки и температуры в соответствии с их паспортными характеристиками. Расчетные величины тепловых потоков и температур определяются как средние показания за расчетный период с минимальным колебанием температур.
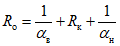
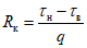
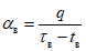
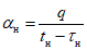
8.19. Значение коэффициента теплопередачи ограждающей конструкции K на основе данных измерения удельных тепловых потоков и температур рассчитывается по формуле
где
Rо - общее сопротивление теплопередаче ограждающей конструкции, м
2·ч·°C/ккал;

; здесь
, 
- коэффициенты теплоотдачи соответственно внутренней и наружной поверхности ограждающей конструкции, ккал/(м
2·ч·°C);
Rк - термическое сопротивление ограждающей конструкции, м
2·ч·°C/ккал;

;

,

- средние за расчетный период исследования значения температуры соответственно наружной и внутренней поверхности ограждающей конструкции, °C;
q - среднее за расчетный период исследования значение удельного теплового потока через ограждающую конструкцию по показаниям тепломеров, ккал/м
2·ч,

,
tв - среднее за расчетный период исследования значение температуры воздуха в охлаждаемом помещении, °C;

,
tн - среднее за расчетный период исследования значение температуры наружного воздуха, °C.
8.20. При определении фактического коэффициента теплопроводности теплоизоляции осуществляется вскрытие конструкции и отбор послойных проб. В процессе вскрытия конструкций и отбора проб определяется вид и состояние теплоизоляционных материалов и пароизоляции, фактическая толщина теплоизоляции. В процессе последующих лабораторных исследований устанавливается влажность материала теплоизоляции и объемная масса в сухом состоянии.
8.21. На исследуемом участке ограждения пробы отбираются в двух-трех местах стальным шлямбуром диаметром 50 мм. Пробы отбираются послойно (через каждые 50 - 60 мм) на всю толщину теплоизоляции. Послойные пробы помещаются в отдельные бюксы и фиксируются в протоколе, затем взвешиваются в лаборатории и высушиваются до постоянной массы. После высушивания определяются объемная масса и объемная влажность проб теплоизоляции. Объемная влажность Wо, %, рассчитывается по формуле
где
Wв - массовая влажность проб;

- объемная масса проб в воздушно-сухом состоянии, кг/м
3.
8.22. Значение коэффициента теплопередачи Kо ограждающей конструкции на основе исследования проб теплоизоляции рассчитывается по формуле:
где

- расчетное сопротивление теплопередаче ограждающей конструкции, определяемое по фактическому коэффициенту теплопроводности материала теплоизоляции в зависимости от объемного влагосодержания, м
2·ч·°C/ккал,
здесь

- толщина отдельных слоев конструкции, м;

- фактический коэффициент теплопроводности материалов отдельных слоев конструкции.
Для наружной поверхности наружных стен, покрытий, перекрытий над проветриваемым подпольем, чердачных перекрытий расчетное значение

; для внутренней поверхности стен, перегородок, полов, потолков расчетное значение

где

,

- толщина отдельных слоев конструкции из зоны соответственно положительной и отрицательной температуры ограждения;

,

- теплопроводность материалов отдельных слоев конструкции из зоны соответственно положительной и отрицательной температуры ограждения с учетом объемной влажности материалов.
8.23. Зоны положительной и отрицательной температур ограждения различных охлаждаемых помещений определяются измерением температур внутри конструкции с помощью термопар. При этом распределение температур внутри конструкции наружных ограждений следует определять для летних условий (июль-август месяцы), соответствующих максимальным теплопритокам в охлаждаемые помещения.
8.24. Значения

для отдельных слоев теплоизоляции принимаются в соответствии с полученными данными по объемной массе и объемной влажности материалов, при положительной или отрицательной температуре по таблицам (А.У. Франчук "Таблицы теплотехнических показателей строительных материалов". М., 1969). Значения

для остальных слоев конструкций (кирпичная кладка, железобетон, штукатурка и др.) принимаются по главе СНиП II-3-79* (
прил. 3, условия эксплуатации Б) и по
прил. 8 настоящего Руководства.
Г. РЕКОМЕНДАЦИИ ПО ЗАМЕНЕ И УСИЛЕНИЮ ТЕПЛОИЗОЛЯЦИИ
8.25. Теплоизоляционные конструкции заменяют при чрезмерном увлажнении, разрушении теплоизоляции, при необходимости капитально-восстановительного ремонта несущего слоя ограждающих конструкций.
Усиление теплоизоляции (т.е. монтаж дополнительного слоя) может выполняться в следующих случаях:
при снижении теплоизолирующей способности ограждений в процессе эксплуатации;
при недостаточной толщине слоя теплоизоляции, выполненной в процессе строительства;
при понижении температуры в охлаждаемых помещениях или изменении температурно-влажностных условий в смежных помещениях;
при целесообразности дополнительного снижения теплопритоков в охлаждаемые помещения за счет увеличения толщины слоя теплоизоляции.
8.26. Допустимый уровень снижения теплоизолирующей способности ограждений определяется техническим состоянием конструкций (влажностью теплоизоляции, внешними признаками недостаточной теплоизолирующей способности, признаками разрушения теплоизоляции), а также соответствующим технико-экономическим анализом.
При отсутствии разрушений теплоизоляционных конструкций необходимость их усиления или замены определяется сопоставлением фактических эксплуатационных расходов и необходимых затрат на ремонтные работы.
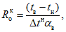
Предельное с экономической точки зрения снижение теплозащитных свойств наружных ограждений

определяется из выражения
Э >= П,
где Э - текущие эксплуатационные затраты на ограждающие конструкции; П - приведенные затраты на замену теплоизоляционных конструкций.
8.27. Предельное снижение теплозащитных свойств, характеризуемое соотношением фактического

и требуемого

(первоначального) сопротивлений теплопередаче ограждений, можно определить из следующей формулы

(5)
где

- расчетная разность температур, °C;
n - длительность работы холодильной установки в течение года, ч;
m - коэффициент перевода рабочих ккал холода в стандартные (
m = 2,4);
a - коэффициент, учитывающий потери холода в трубопроводах (
a = 1,05 - 1,1);
Cx - стоимость стандартной Гкал холода, руб.;
Eн - нормативный коэффициент эффективности капиталовложений;
Eн - 0,15;
Cиз - сметная стоимость изоляционной конструкции, руб./м
3;

- расчетное значение теплопроводности изоляции, ккал (м·ч·°C);
Rк - значение термического сопротивления конструктивной части ограждения (кирпичная стена, плита перекрытий и т.д.), м
2·ч·°C/ккал.
8.28. При снижении теплозащитных свойств наружных ограждений до величины

, определяемой
формулой (5), экономически оправдано выполнить замену теплоизоляционных конструкций на новые, равноценные по первоначальной стоимости единицы термического сопротивления (под стоимостью единицы термического сопротивления теплоизоляционной конструкции подразумевается произведение

).
Расчеты по
формуле (5) показывают, что дальнейшая эксплуатация наружных ограждений камер хранения мороженых грузов с теплозащитными свойствами, сниженными в процессе эксплуатации на 50% и более, экономически не оправдана (дальнейшая эксплуатация приводит к значительному увеличению приведенных затрат, к неоправданным потерям холода и перерасходу электроэнергии).
С технической точки зрения теплоизоляцию следует заменять при влажности более 10% по объему, усиление теплоизоляции при этом выполнять нецелесообразно.
8.29. Теплоизоляционные конструкции заменяют на основе утвержденного проекта. Теплоизоляционные работы осуществляют в основном так же, как и при новом строительстве с соблюдением требований главы СНиП III-20-74.
При замене теплоизоляционных конструкций пароизоляцию выполняют заново.
Пароизоляцию выполняют при температуре изолируемых поверхностей не ниже 5 °C. Старый пароизоляционный слой снимается, изолируемые поверхности очищаются, протираются керосином или соляровым маслом, а затем окрашиваются битумом или битумной мастикой. Поврежденные места на поверхностях ограждений перед окрашиванием выравниваются цементным раствором и просушиваются.
На подготовленную таким образом поверхность наклеивается рулонная пароизоляция или наносится механизированным путем покрытие из битумной мастики (двух-трехразовое покрытие).
Пароизоляционные работы относятся к скрытым и принимаются по акту. Пароизоляционный слой должен быть равномерным по толщине и сплошным (без пропусков, расслоений, воздушных пузырей).
8.30. При замене теплоизоляции наклейка первого слоя плит или блоков к ограждениям осуществляется сплошной промазкой поверхности изделий клеем, а второго и последующих слоев - точечной или полосовой склейкой.
8.31. При усилении теплоизоляции ограждающих конструкций толщина дополнительного слоя теплоизоляции

, м, определяется по формуле
Для усиления теплоизоляции следует применять материалы с наименьшим значением коэффициента теплопроводности.
8.32. Перед усилением теплоизоляции стен и перегородок удаляется отслоившаяся штукатурка (в целом штукатурку не удаляют), восстанавливаются поврежденные места, проверяется плотность прилегания существующей теплоизоляции. При обнаружении неплотностей удаляются штукатурка и отслоившийся участок теплоизоляции. Поверхность дополнительного слоя теплоизоляции со стороны помещений с отрицательной температурой перед оштукатуриванием (или перед облицовкой листовыми материалами) не следует покрывать битумной мастикой. При усилении теплоизоляции стен и перегородок со стороны отапливаемых помещений, коридоров и вестибюлей, поверхность теплоизоляции перед отделкой покрывается слоем битумной мастики.
8.33. Перед усилением теплоизоляции покрытий и чердачных перекрытий необходимо уточнить несущую способность конструкции. Усиление может выполняться при условии, если величина дополнительной нагрузки является допустимой.
Усиление теплоизоляции чердачных перекрытий выполняется со стороны чердака (т.е. сверху). Дополнительный слой теплоизоляции укладывается насухо, защищается слоем пароизоляции и бетонной стяжкой.
Усиление теплоизоляции бесчердачных покрытий выполняется сверху по существующей кровле (или снизу по потолку охлаждаемых помещений). При усилении сверху некачественный кровельный ковер (при наличии большого числа вздутий, расслоений, трещин) целесообразно снять, а бетонную стяжку зачистить и выровнять.
Дополнительный слой теплоизоляции наклеивается точечным или полосовым способом.
Усиление теплоизоляции междуэтажных перекрытий предпочтительно производить снизу (по потолку) с использованием легких и прочных пенопластов (пенополистирол, пенополиуретан). Поверхность теплоизоляции облицовывается листовыми материалами или окрашивается огнезащитными красками.
8.34. При усилении теплоизоляции обогреваемых полов, лежащих на грунте, для сохранения существующих отметок чистого пола удаляется засыпная теплоизоляция. Слой усиления выполняется из эффективных плитных материалов.
КОЭФФИЦИЕНТЫ ПОГЛОЩЕНИЯ СОЛНЕЧНОЙ РАДИАЦИИ МАТЕРИАЛОМ
НАРУЖНОЙ ПОВЕРХНОСТИ ОГРАЖДАЮЩЕЙ КОНСТРУКЦИИ
N п.п. | Материал наружной поверхности ограждающей конструкции | Коэффициент поглощения солнечной радиации  |
1 | Алюминий | 0,5 |
2 | Асбестоцементный лист | 0,5 |
3 | Защитный слой рулонной кровли из светлого гравия | 0,6 |
4 | Кирпич глиняный красный | 0,7 |
5 | То же силикатный | 0,6 |
6 | Облицовка природным камнем белым | 0,45 |
7 | Окраска известковая белая | 0,3 |
8 | Рубероид с песчаной посыпкой | 0,9 |
9 | Сталь листовая, окрашенная белой краской | 0,45 |
10 | Сталь кровельная оцинкованная | 0,65 |
11 | Штукатурка известковая темно-серая | 0,7 |
12 | Штукатурка цементная светло-голубая | 0,3 |
13 | То же, кремовая | 0,4 |
Примечание. Коэффициенты поглощения солнечной радиации приняты в соответствии с главой
СНиП II-3-79.
ПРИМЕРЫ РАСЧЕТА ЭКОНОМИЧЕСКИ ЦЕЛЕСООБРАЗНОГО
СОПРОТИВЛЕНИЯ ТЕПЛОПЕРЕДАЧЕ
ОГРАЖДАЮЩИХ
КОНСТРУКЦИЙ ЗДАНИЯ ХОЛОДИЛЬНИКА
Пример 1.
А. Исходные данные. Требуется определить

покрытия из железобетонной плиты, утепленной полистирольным пенопластом ПСБ-С, объемной массой

, с защитным слоем рулонной кровли из светлого гравия для камеры с
tв - 20 °C в Москве.
Величины теплотехнических и экономических показателей и коэффициентов:
| | ИС МЕГАНОРМ: примечание. Взамен СНиП II-А.6-62 Постановлением Госстроя СССР от 10.03.1972 N 38 с 01.10.1972 введены в действие СНиП II-А.6-72. Взамен СНиП II-А.6-72 Постановлением Госстроя СССР от 21.07.1982 N 188 с 01.01.1984 введены в действие СНиП 2.01.01-82. | |
tа.м = 38 °C;
tср.м = 24,4 °C;
tср.год = 4,8 °C (глава СНиП II-А.6-72, табл. 1);

(глава СНиП II-А.6-72, табл. 2);
v = 3,4 м/с (глава СНиП II-А.6-72, табл. 7);
Iмакс = 594 + 108 = 702 ккал/(М
3·ч);
Iср = 281 ккал/(м
3·ч);
Iср.год = 99,1 ккал/(м
3·ч) (глава СНиП II-А.6-72, табл. 8 и 10);

(глава СНиП II-3-79*,
табл. 7);

;

;
m1 = 2,4 (настоящее руководство,
табл. 9;
10;
11);
f = 1;
Cиз = 104,28 руб./м
3 (в соответствии с ЕРЕР);

.
1. Коэффициент теплоотдачи наружной поверхности покрытия

.
2. Расчетная амплитуда суточных колебаний условной температуры наружного воздуха
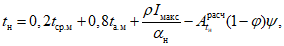
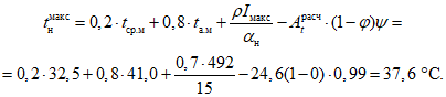
3. Расчетная максимальная температура наружного воздуха
4. Разность между максимальной температурой наружного и температурой внутреннего воздуха
5. Средняя температура наружного воздуха за период охлаждения камеры (камера охлаждается в течение всего года)
6. Разность между средней температурой наружного и внутреннего воздуха за период охлаждения камер
7. Экономически целесообразное сопротивление теплопередаче
Таким образом,

по своей величине превышает

, нормируемое в главе СНиП II-105-74, на 10%.
Пример 2.
А. Исходные данные. Требуется определить

кирпичной стены, ориентированной на юго-запад, утепленной пенопластом ПСБ-С объемной массой

для камеры с
tв = 0 °C в Ереване.
Величины теплотехнических и экономических показателей и коэффициентов:
| | ИС МЕГАНОРМ: примечание. Взамен СНиП II-А.6-62 Постановлением Госстроя СССР от 10.03.1972 N 38 с 01.10.1972 введены в действие СНиП II-А.6-72. Взамен СНиП II-А.6-72 Постановлением Госстроя СССР от 21.07.1982 N 188 с 01.01.1984 введены в действие СНиП 2.01.01-82. | |
tа.м = 41,0 °C;
tср.м = 32,5 °C;
tср.мес = 5,4; 11,8; 17,0; 21,1; 25,1; 24,9; 20,1; 13,6; 6,2 °C;
nох = 9 месяцев (глава СНиП II-А.6-72 табл. 1);

(глава СНиП II-А.6-72, табл. 2);
v = 3,4 м/с (глава СНиП II-А.6-72, табл. 7);
Iмакс = 366 + 126 = 492 ккал/(м
2·ч);
Iср = 127 ккал/м
2·ч;
Iср.год = 167 ккал/м
2 (глава СНиП II-А.6-72, табл. 9 и 10);

;

;

(настоящее Руководство,
табл. 9;
10;
11);
Cиз = 100,17 руб./м
3;

;
f = 0,6.
Б. Расчет.
1. Коэффициент теплоотдачи наружной поверхности стены
2. Расчетная амплитуда суточных колебаний условной температуры наружного воздуха
3. Расчетная максимальная температура наружного воздуха
4. Разность между максимальной температурой наружного и температурой внутреннего воздуха
5. Расчетная средняя температура наружного воздуха за период охлаждения камеры
6. Разность между расчетной средней температурой наружного и внутреннего воздуха за период охлаждения камеры
7. Экономически целесообразное сопротивление теплопередаче
Таким образом,

для массивной конструкции меньше

, нормируемого в главе СНиП II-105-74, на 14,7%.
Пример 3.
Исходные данные по примеру 2, за исключением ограждающей конструкции - панель типа "сэндвич" с алюминиевой обшивкой:

;

.
Б. Расчет.
1. Коэффициент теплоотдачи наружной поверхности стены
2. Расчетная амплитуда суточных колебаний условной температуры наружного воздуха
3. Расчетная максимальная температура наружного воздуха
4. Разность между максимальной температурой наружного и внутреннего воздуха
5. Расчетная средняя температура наружного воздуха за период охлаждения камеры
6. Разность между расчетной средней температурой наружного и внутреннего воздуха за период охлаждения камеры
7. Экономически целесообразное сопротивление теплопередаче
Таким образом,

для облегченной конструкции типа "сэндвич" совпадает по величине с

, нормируемым в главе СНиП II-105-74.
ТЕМПЕРАТУРНО-ВЛАЖНОСТНЫЙ РЕЖИМ ОХЛАЖДАЕМЫХ ПОМЕЩЕНИЙ
N п.п. | Камера | Характеристика помещений |
расчетная температура воздуха, °C | расчетная относительная влажность, % |
1 | Интенсивного замораживания и тоннельные морозилки | Минус 30 | 95 |
2 | Закаливания мороженого | " 30 | - |
3 | Длительного хранения особожирных продуктов (мороженая свинина, птица, жирная рыба) | " 30 | 95 |
4 | Накопительные перед замораживанием | " 20 | 95 |
5 | Разгрузочные после замораживания | " 20 | 95 |
6 | Замораживания масла | " 20 | 85 |
7 | Хранения мороженых продуктов (мясо, масло, рыба) | От минус 20 до минус 25 | 95 |
8 | Хранения жиров, меланжа | Минус 20 | 95 |
9 | Длительного хранения замороженного творога в брикетах | " 20 | 85 95 |
10 | Сортировочная и экспедиция мороженых продуктов | " 12 | 95 |
11 | Интенсивного охлаждения мяса | Минус 10 | - |
12 | Хранения сельди и рыбы соленой | От минус 2 до минус 10 | - |
13 | Охлаждения и краткосрочного (до 15 дней) хранения масла | От минус 5 до минус 8 | 85 |
14 | Хранения икры осетровой и лососевой | От минус 2 до минус 4 | 90 |
15 | Охлаждения и хранения яиц | Минус 2 | 90 |
16 | Хранения охлажденного мяса | От минус 1 до минус 2 | 90 |
17 | Хранения топленого масла | От 0 до минус 5 | 85 |
18 | Хранения рыбы горячего и холодного копчения | От 0 до минус 2 | 80 |
19 | Хранения сыров | От 0 до минус 2 | 80 |
20 | Охлаждения и хранения продуктов в охлажденном состоянии | От +4 до минус 2 | 95 |
21 | Хранения сметаны в кадках | От 0 до минус 1 | 85 |
22 | Сортировочная и экспедиция охлажденных продуктов | 0 | - |
23 | Хранения кулинарии (печеной, вареной, жареной) | От 0 до +2 | 80 |
24 | Хранения охлажденной рыбы | 0 | 90 |
25 | Общая хранения молочной бутылочной продукции | 0 | 85 |
26 | Предварительного охлаждения всех видов плодов на заготовительных холодильниках | 0 | 90 |
27 | Хранения плодов, ягод, овощей | От минус 1 до +4 | 90 |
28 | Хранения всех видов вареных колбасных изделий | 4 | 85 |
29 | Для созревания сыров | 10 | 80 |
30 | Производства фасованного мяса и мясных полуфабрикатов | 12 | 75 |
31 | Колбасных заводов (разрубочные, обвалочные, жиловочные, сушильные и др.) | 12 | 75 |
Примечание. Характеристики охлаждаемых помещений, не приведенные в таблице, рекомендуется определять по соответствующим отраслевым технологическим нормам проектирования, а также по "Рекомендациям по проектированию холодильных установок", М., ВНИХИ, 1962.
ОПРЕДЕЛЕНИЕ ТРЕБУЕМОГО СОПРОТИВЛЕНИЯ ПАРОПРОНИЦАНИЮ
ПАРОИЗОЛЯЦИОННЫХ СЛОЕВ КОНСТРУКЦИЙ ОБОГРЕВАЕМЫХ ПОЛОВ
Пример 1. Требуется определить величину сопротивления паропроницанию слоя пароизоляции конструкции электрообогреваемого пола в камере с температурой tв = -20 °C.
Конструкция пола соответствует
рис. 8,
а.
Теплоизоляционный слой принят из керамзитного гравия с
Сопротивление паропроницанию пароизоляционного слоя

, м
2·ч·мм рт. ст./г, для однослойной теплоизоляционной конструкции определяется по
формуле (3), где коэффициент

(по
рис. 7 при температуре камеры
tв = -20 °C).
Принимаем один слой изола (по
ГОСТ 10296-79) с
Rпи = 40 м
2·ч·мм рт. ст./г.
Пример 2. Требуется определить величину сопротивления паропроницанию слоя пароизоляции конструкции электрообогреваемого пола в камере с температурой tв = -30 °C.
Конструкция пола соответствует
рис. 8,
б.
Исходные данные. Толщина первого слоя теплоизоляции из керамзитового гравия толщиной

; коэффициент паропроницаемости керамзитового гравия

; теплопроводность

. Толщина второго слоя теплоизоляции из полистирольного пенопласта ПСБ-С

; коэффициент паропроницаемости

; теплопроводность

.
Требуемое сопротивление паропроницанию двухслойной теплоизоляционной конструкции пола

определяется по
формуле (4)
термическое сопротивление первого и второго слоев теплоизоляции Rти соответственно равны:
сопротивление паропроницанию

соответственно первого и второго слоев равны:
Численное значение коэффициента

находим в зависимости от температуры камеры
tв = -30 °C; по
рис. 7 
. Подставляя в
формулу (4) значения исходных параметров, получим:
| | ИС МЕГАНОРМ: примечание. Взамен ГОСТ 10354-73 Постановлением Госстандарта СССР от 02.06.1982 N 2253 с 01.07.1983 введен в действие ГОСТ 10354-82. | |
Принимаем два слоя полиэтиленовой пленки марки C (ГОСТ 10354-73), толщиной

,
Rп = 110 м
2·ч·мм рт. ст./г.
Тип пароизоляции | Материалы пароизоляционного слоя |
| Грунтовка битумная Мастика битумная горячая Пергамин (один слой), покрытый сверху слоем горячего битума (для наклейки теплоизоляционных материалов) |
| Грунтовка битумная Мастика битумная горячая Рубероид РКМ-350Б; РКМ-350А (один слой), покрытый сверху слоем битума |
| Грунтовка битумная Мастика битумная горячая Гидроизол ГИ-Г; ГИ-К (один слой), покрытый сверху слоем горячей битумной мастики |
| Грунтовка битумная Мастика битумная горячая Рубероид РКМ-350Б; РКМ-350В; РэМ-350 (два слоя на горячей битумной мастике), покрытый сверху слоем горячей битумной мастики |
| Грунтовка битумная Мастика битумная горячая Гидроизол ГИ-К; ГИ-Г (два слоя на горячей битумной мастике), покрытый сверху слоем горячей битумной мастики |
| Грунтовка битумная Битум горячий Изол (один слой), покрытый сверху слоем горячего битума |
| Изол (один слой), уложенный насухо с проклейкой стыков горячей битумной мастикой |
| Грунтовка битумная Мастика битумная горячая Изол (один слой), покрытый сверху горячей битумной мастикой |
| Мастика битумно-полимерная эмульсионная холодная (трехкратное покрытие распылением) |
| Мастика битумно-полимерная эмульсионная холодная, армированная строительной стеклосеткой (четырехкратное покрытие распылением) |
| Грунтовка битумная Изол (два слоя на горячей битумной мастике), покрытый сверху слоем горячей битумной мастики |
| Полиэтиленовая пленка (два слоя), уложенная насухо с проклейкой стыков битумно-кукерсольной мастикой |
| Изол (два слоя), уложенный насухо с проклейкой стыков горячим битумом |
| Цемент на жидком стекле (1:5) Фольга алюминиевая мягкая (толщина 0,15 - 0,2 мм) |
Примечания: 1. Состав холодной битумно-полимерной мастики, % к массе:
битум БН-IV ....................... 45 - 50;
вода .............................. 45 - 50;
эмульгатор ........................ 2 - 2,5;
латекс СКС-65ГП ................... 2 - 3.
Состав водного раствора эмульгатора, %:
асидолмылонафт .................... 2;
едкий натр технический ............ 0,6 - 0,8;
жидкое стекло ..................... 0,9.
2. Грунтовка и мастика наносятся распылением механизированным способом.
ЗНАЧЕНИЯ МАКСИМАЛЬНОЙ УПРУГОСТИ ВОДЯНОГО ПАРА E В ВОЗДУХЕ
Град | E, мм рт. ст. | Град | E, мм рт. ст. | Град | E, мм рт. ст. |
Для температур от 0 до минус 40 °C |
0,0 | 4,53 | -12,0 | 1,63 | -24,0 | 0,52 |
-0,5 | 4,40 | -12,5 | 1,56 | -24,5 | 0,49 |
-1,0 | 4,22 | -13,0 | 1,49 | -25,0 | 0,47 |
-1,5 | 4,05 | -13,5 | 1,42 | -25,5 | 0,45 |
-2,0 | 3,88 | -14,0 | 1,36 | -26,0 | 0,42 |
-2,5 | 3,72 | -14,5 | 1,30 | -26,5 | 0,40 |
-3,0 | 3,57 | -15,0 | 1,24 | -27,0 | 0,38 |
-3,5 | 3,42 | -15,5 | 1,18 | -27,5 | 0,36 |
-4,0 | 3,28 | - 16,0 | 1,13 | -28,0 | 0,34 |
-4,5 | 3,14 | -16,5 | 1,08 | -28,5 | 0,33 |
-5,0 | 3,01 | - 17,0 | 1,03 | -29,0 | 0,31 |
-5,5 | 2,88 | - 17,5 | 0,98 | -29,5 | 0,29 |
-6,0 | 2,76 | - 18,0 | 0,94 | -30,0 | 0,280 |
-6,5 | 2,65 | - 18,5 | 0,89 | -31,0 | 0,252 |
-7,0 | 2,53 | - 19,0 | 0,85 | -32,0 | 0,227 |
-7,5 | 2,43 | -19,5 | 0,81 | -33,0 | 0,205 |
-8,0 | 2,32 | -20,0 | 0,77 | -34,0 | 0,185 |
-8,5 | 2,22 | -20,5 | 0,74 | -35,0 | 0,177 |
-9,0 | 2,13 | -21,0 | 0,70 | -36,0 | 0,150 |
-9,5 | 2,03 | -21,5 | 0,67 | -37,0 | 0,134 |
-10,0 | 1,95 | -22,0 | 0,64 | -38,0 | 0,119 |
-10,5 | 1,86 | -22,5 | 0,61 | -39,0 | 0,105 |
- 11,0 | 1,78 | -23,0 | 0,58 | -40,0 | 0,098 |
- 11,5 | 1,70 | -23,5 | 0,55 | | |
Для температур от 0 до 30 °C |
0,0 | 4,58 | 10,0 | 9,21 | 20,0 | 17,54 |
0,5 | 4,75 | 10,5 | 9,52 | 20,5 | 18,09 |
1,0 | 4,93 | 11,0 | 9,84 | 21,0 | 18,65 |
1,5 | 5,11 | 11,5 | 10,18 | 21,5 | 19,23 |
2,0 | 5,29 | 12,0 | 10,52 | 22,0 | 19,83 |
2,5 | 5,49 | 12,5 | 10,87 | 22,5 | 20,44 |
3,0 | 5,69 | 13,0 | 11,23 | 23,0 | 21,07 |
3,5 | 5,89 | 13,5 | 11,60 | 23,5 | 21,71 |
4,0 | 6,10 | 14,0 | 10,99 | 24,0 | 22,38 |
4,5 | 6,32 | 14,5 | 12,38 | 24,5 | 23,06 |
5,0 | 6,54 | 15,0 | 12,79 | 25,0 | 23,76 |
5,5 | 6,78 | 15,5 | 13,21 | 25,5 | 24,17 |
6,0 | 7,01 | 16,0 | 13,63 | 26,0 | 25,21 |
6,5 | 7,26 | 16,5 | 14,08 | 26,5 | 25,96 |
7,0 | 7,51 | 17,0 | 14,53 | 27,0 | 26,74 |
7,5 | 7,78 | 17,5 | 15,00 | 27,5 | 27,54 |
8,0 | 8,05 | 18,0 | 15,48 | 28,0 | 28,35 |
8,5 | 8,32 | 18,5 | 15,97 | 28,5 | 29,18 |
9,0 | 8,61 | 19,0 | 16,48 | 29,0 | 30,04 |
9,5 | 8,91 | 19,5 | 17,00 | 29,5 | 30,92 |
| | | | 30,0 | 31,82 |
ПРИМЕР РАСЧЕТА ДОПУСТИМОГО СНИЖЕНИЯ ТЕПЛОЗАЩИТНЫХ
СВОЙСТВ НАРУЖНЫХ ОГРАЖДЕНИЙ ХОЛОДИЛЬНИКА
Рассмотрим наружные кирпичные стены камер хранения мороженых грузов (tк = -20 °C), изолированные различными материалами. Холодильник эксплуатируется в районе Москвы (средняя годовая температура tв = 5 °C).
Определим допустимое с экономической точки зрения снижение теплозащитных свойств наружных стен, выражаемое соотношением фактического и нормативного (первоначального) значений сопротивлений теплоотдаче, т.е.

.
Исходные данные, принимаемые для анализа соотношения

(см.
формулу 5), приводятся в следующей таблице:
Теплоизоляционный материал | Расчетное значение теплопроводности теплоизоляции  , ккал/ (м·ч·°C) | Сметная стоимость теплоизоляционной конструкции Cиз, руб./м3 | Значения величин, одинаковых для всех анализируемых конструкций |
Торфяные плиты | 0,075 | 85 | Rк = 0,6 n = 8640 m = 2,4 a = 1,07 Cx = 0,026 Eн = 0,15 |
Ячеистый бетон (пенобетон) | 0,14 | 32 |
Жесткие минераловатные плиты на битумном связующем | 0,07 | 80 |
Величина допустимого соотношения:
а) при стенах, изолированных торфяными плитами,
б) при стенах, изолированных ячеистым бетоном
в) при стенах, изолированных жесткими минераловатными плитами на битумном связующем
Таким образом, расчетом установлено, что экономически допустимое значение фактического сопротивления теплопередаче наружных стен камер хранения мороженых грузов, изолированных торфяными плитами, составляет 46%; стен, изолированных ячеистым бетоном, 55%; стен, изолированных жесткими минераловатными плитами на битумном связующем, 49% первоначального (проектного) значения.
ОСНОВНЫЕ РАСЧЕТНЫЕ ВЕЛИЧИНЫ ФИЗИЧЕСКИХ ПОКАЗАТЕЛЕЙ
СТРОИТЕЛЬНЫХ МАТЕРИАЛОВ
N п.п. | Материалы | Средняя объемная масса конструкции, кг/м3 | Расчетные значения коэффициента |
теплопроводности , ккал/м·ч·°C | паропроницаемости  , г/(м·ч·мм рт. ст.) |
| 1. Асбестоцементные изделия | | | |
| | ИС МЕГАНОРМ: примечание. Взамен ГОСТ 18124-75 Постановлением Минстроя России от 14.07.1995 N 18-68 с 01.07.1996 введен в действие ГОСТ 18124-95. | |
|
1 | Листы асбестоцементные плоские (ГОСТ 18124-75*) | 1800 | 0,45 | 0,004 |
| 2. Асфальтовые и битумные материалы | | | |
2 | Асфальт в полах и стяжках | 1800 | 0,65 | 0,001 |
|
|
3 | Асфальтобетон (ГОСТ 9128-76) | 2100 | 0,90 | 0,001 |
4 | | 1000 | 0,15 | 0,001 |
| 3. Бетоны | | | |
5 | Железобетон | 2600 | 1,75 | 0,004 |
6 | Бетон на гравии или щебне из природного камня | 2400 | 1,60 | 0,004 |
7 | Шлакобетон на топливных (котельных) шлаках и аглопоритобетон | 1600 | 0,67 | 0,011 |
| То же | 1000 | 0,38 | 0,018 |
8 | Шлакобетон на доменных гранулированных шлаках | 1600 | 0,55 | 0,012 |
9 | Термозитобетон (шлакопемзобетон) | 1600 | 0,55 | 0,012 |
10 | Перлитобетон | 1200 | 0,43 | 0,020 |
11 | Керамзитобетон | 1600 | 0,68 | 0,012 |
12 | Бетоны ячеистые (газобетон, пенобетон) | 800 | 0,32 | 0,018 |
| 4. Грунтовые материалы | | | |
13 | Засыпка из сухого песка | 1600 | 0,50 | 0,022 |
14 | Грунт растительный под зданием | 1800 | 1,00 | - |
| 5. Изделия из дерева | | | |
| | ИС МЕГАНОРМ: примечание. Взамен ГОСТ 4598-74 Постановлением Госстроя СССР от 19.12.1985 N 240 с 31.01.1986 введен в действие ГОСТ 4598-86. | |
|
15 | Плиты древесноволокнистые (ГОСТ 4598-74*) | 600 | 0,14 | 0,017 |
16 | То же | 200 | 0,07 | 0,032 |
| 6. Кирпичная кладка | | | |
| | ИС МЕГАНОРМ: примечание. Взамен ГОСТ 530-80 Постановлением Минстроя России от 05.12.1995 N 18-103 с 01.07.1996 введен в действие ГОСТ 530-95. | |
|
17 | Кирпичная кладка из обыкновенного (ГОСТ 530-80*) глиняного обожженного кирпича на цементно-песчаном растворе | 1800 | 0,70 | 0,014 |
18 | Кладка из силикатного (ГОСТ 379-79) кирпича на цементно-песчаном растворе | 1800 | 0,75 | 0,014 |
| 7. Растворы строительные и штукатурка | | | |
19 | Цементно-песчаный раствор или штукатурка из него | 1800 | 0,80 | 0,012 |
20 | Сложный (песок, известь, цемент) раствор или штукатурка из него | 1700 | 0,75 | 0,013 |
Примечание. Расчетные значения

и

приняты по главе
СНиП II-3-79* (для условий эксплуатации Б).
1. Справочник монтажника под редакцией Кузнецова Г.Ф. "Тепловая изоляция". М., Стройиздат, 1976.
2. "Руководство по эксплуатации и ремонту кровель из рулонных материалов", ЦНИИПромзданий М., Стройиздат, 1969.
3. "
Руководство по проектированию, строительству и эксплуатации полов в помещениях с отрицательными температурами среды", ЦНИИПромзданий, Гипрохолод, М., Стройиздат, 1979.
4. Франчук А.У. "Таблицы теплотехнических показателей строительных материалов", М., Стройиздат, 1969.
5. Смилянский Г.М., Березутский В.И. Материалы и конструкции современных зданий холодильников. Обзор. М., ЦИНИС, 1980 г.
6. Проектирование холодильных сооружений. Справочник. М., Пищепромиздат, 1978 г.