Главная // Актуальные документы // Журнал (форма)СПРАВКА
Источник публикации
М.: Стройиздат, 1979
Примечание к документу
Название документа
"Руководство по проектированию, строительству и эксплуатации полов в помещениях с отрицательными температурами среды"
"Руководство по проектированию, строительству и эксплуатации полов в помещениях с отрицательными температурами среды"
ПО ПРОЕКТИРОВАНИЮ, СТРОИТЕЛЬСТВУ И ЭКСПЛУАТАЦИИ ПОЛОВ
В ПОМЕЩЕНИЯХ С ОТРИЦАТЕЛЬНЫМИ ТЕМПЕРАТУРАМИ СРЕДЫ
Рекомендовано к изданию решением секции ограждающих конструкций НТС ЦНИИПромзданий Госстроя СССР и решением Технического совета Росмясомолторга Министерства торговли РСФСР.
В Руководстве рассматриваются вопросы проектирования, строительства и эксплуатации конструкций полов с системой электрообогрева грунта, приводятся методика расчета, а также рекомендации по конструкциям и материалам полов.
Руководство предназначено для инженерно-технических работников, осуществляющих проектирование, строительство и эксплуатацию холодильников.
"Руководство по проектированию, строительству и эксплуатации полов в помещениях с отрицательными температурами среды" составлено к главам СНиП II-105-74 "Холодильники",
СНиП II-В.8-71 "Полы. Нормы проектирования", СНиП III-В.14-72 "Полы. Правила производства и приемки работ".
Руководство содержит методику расчета полов с системой электрообогрева грунта, рекомендации по конструкциям, материалам, монтажу, приемки и эксплуатации электрообогреваемых полов.
Руководство разработано лабораторией натурных исследований ЦНИИПромзданий Госстроя СССР (канд. техн. наук А.Г. Гиндоян, инженеры Е.Ф. Дуранов, А.И. Горин, В.Я. Грушко, В.Т. Ходырева) совместно с институтом Гипрохолод Министерства торговли СССР (инж. В.А. Файнштейн, В.А. Жилкин) под общим методическим руководством А.Г. Гиндояна.
Все замечания и предложения просим направлять в ЦНИИПромзданий Госстроя СССР по адресу: 127238, Москва, И-238, Дмитровское шоссе, 46.
1.1. Руководством рекомендуется пользоваться при проектировании, строительстве и эксплуатации полов в зданиях холодильников, а также в других зданиях и сооружениях с отрицательными температурами внутреннего воздуха, возводимых на пучинистых грунтах.
1.2. Непучинистые грунты, простирающиеся ниже подошвы фундаментов на глубину, равную 1/3 ширины охлаждаемого здания при ширине здания менее 30 м, или на глубину 10 м при ширине охлаждаемого здания более 30 м, защищать от промерзания не следует.
В соответствии с главой
СНиП II-15-74 "Основания зданий и сооружений. Нормы проектирования" к непучинистым грунтам относятся пески крупные и средней крупности, крупнообломочные грунты с песчаным заполнителем и скальные грунты при любом уровне стояния грунтовых вод.
1.3. Система электрообогрева грунта может применяться во всех строительно-климатических районах, за исключением зон распространения вечномерзлых грунтов.
1.4. Надежность и экономическая эффективность системы электрообогрева грунта зависит от качественного выполнения элементов тепло-, паро- и гидроизоляции полов, соблюдения в процессе эксплуатации заданных температурных режимов охлаждаемых помещений, стабильности теплоизоляционных свойств материалов полов при эксплуатации.
2. КОНСТРУКТИВНЫЕ ТРЕБОВАНИЯ
2.1. При назначении глубины заложения фундаментов наружных стен и колонн рекомендуется руководствоваться следующим:
а) расчетная глубина H сезонного промерзания грунтов по периферии холодного контура определяется по формуле
H = mtHн, (1)
где
Hн - нормативная глубина сезонного промерзания грунта, определенная в соответствии с
п. 3.30 -
3.31 главы СНиП II-15-74;
mt - коэффициент, зависящий от среднегодовой температуры воздуха района строительства t и определяемый по табл. 1.
Таблица 1
tсг, °C | 0 и ниже | 1 | 3 | 5 - 8 |
mt | 1 | 1,1 | 1,2 | 1,3 |
б) глубина заложения фундаментов внутренних колонн и стен не зависит от глубины сезонного промерзания грунта.
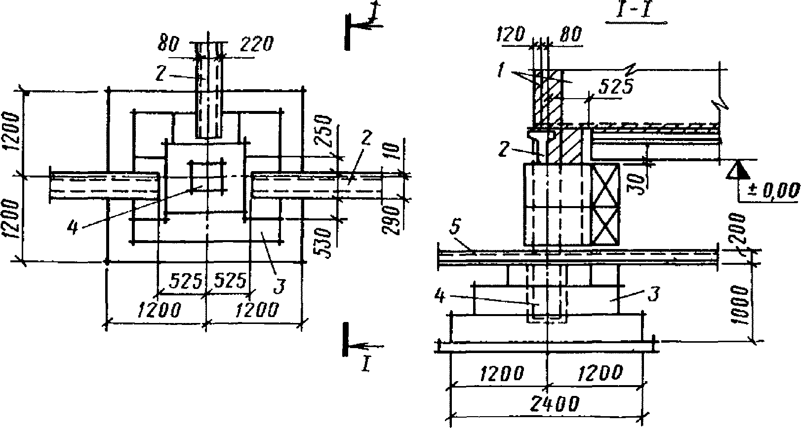
2.2. Внутренние стены и перегородки холодильников рекомендуется проектировать по фундаментным балкам на отметке чистого пола в соответствии с рис. 1.
Рис. 1. Схема устройства внутренних перегородок
по фундаментным балкам
1 - внутренние перегородки; 2 - фундаментные балки;
3 - фундамент под колонну; 4 - колонна;
5 - электрообогревающая плита
При проектировании ленточных фундаментов или фундаментных балок, прорезающих теплоизоляцию пола, необходимо учитывать их влияние на температурный режим полов и грунтов оснований согласно рекомендациям
п. 4.2 настоящего Руководства.
2.3. Конструктивные схемы электрообогреваемых полов на грунтах приведены на рис. 2. Тип покрытия и толщина конструктивных элементов определяются в соответствии с главой
СНиП II-В.8-71 "Полы. Нормы проектирования".
Рис. 2. Конструктивные схемы электрообогреваемых полов
на грунтах
а - при температуре камеры tв = -10 °C;
б и в - при tв = -20 °C; г - при tв = -30 °C; 1 - покрытие;
2 - подстилающий слой (бетон, армобетон или железобетон);
3 - теплоизоляционный слой (керамзитовый гравий или другой
засыпной теплоизоляционный материал);
4 - гидропароизоляционный слой (1 - 2 слоя полиэтиленовой
пленки

с приваркой швов);
5 - обогревающая бетонная плита (

с нагревателями);
6 - подстилающий слой

(подготовка из бетона марки М100);
7 - основание пола (слой щебня

, втрамбованного в грунт);
8 - грунт основания; 9 - теплоизоляционный слой (эффективный
утеплитель из пенополистирола марки ПСБ-С, жесткие
минераловатные плиты и т.п.); 10 - подсыпка гравелистым
или крупным песком влажностью не более 5% с содержанием
пылевидных и глинистых фракций не более 20% по весу;
11 - цементная стяжка,

Коэффициент теплопередачи конструкций электрообогреваемых полов Kо принимают в соответствии с пп. 3.9 и 3.10 главы СНиП II-105-74.
Нормируемые СНиП II-105-74 коэффициенты теплопередачи не дифференцированы по способам обогрева и применяемым теплоизоляционным материалам. При сравнительной технико-экономической оценке различных конструктивных решений электрообогреваемых полов определение коэффициента теплопередачи рекомендуется производить по методике, приведенной в
прил. 1.
2.4. В качестве теплоизоляции рекомендуется применять неорганические материалы (керамзитовый гравий, вспученный перлит, вермикулит, пеностекло, перлитопластобетон, гранулированные шлаки и т.п.) и высокоэффективные теплоизоляционные материалы (пенополистирол марки ПСБ-С, жесткую минераловатную плиту, пенополиуретан).
Применение грунта в качестве теплоизоляции не допускается.
2.5. Теплоизоляция пола предусматривается во всех помещениях холодного контура холодильника, в том числе в неохлаждаемых помещениях, технологически связанных с камерами (закрытые вестибюли, коридоры, лифтовые шахты и т.д.). Расчетная температура воздуха в последних принимается равной средней температуре окружающих камер.
2.6. Обогревающую плиту следует принимать толщиной 100 мм из бетона марки М200 на портландцементе, располагая ее не менее чем на 0,5 - 1 м выше уровня грунтовых вод. При сетке колонн 12 x 6 м и более обогревающую плиту следует располагать непосредственно под слоем теплоизоляции.
2.7. Гидро- и пароизоляция проектируется из материалов с повышенной морозостойкостью, влагостойкостью, водонепроницаемостью, гнилостойкостью, эластичностью (полиэтилен, изол, полиизобутилен) в соответствии с "Указаниями по проектированию гидроизоляции подземных зданий и сооружений" (СН 301-65*) и главой СНиП III-20-74 "Кровли, гидроизоляция, пароизоляция и теплоизоляция".
На рабочих чертежах должно быть детально показано устройство оклеечной парогидроизоляции в местах сопряжения с вертикальными плоскостями (стенами, перегородками, колоннами) с обязательным усилением углов сопряжения (рис. 3) и даны указания о методах и последовательности производства работ.
Рис. 3. Устройство оклеечной парогидроизоляции в местах
сопряжения с вертикальными плоскостями
1 - слой полиэтилена, наклеенный на вертикальные
поверхности; 2 - стена; 3 - угловое усиление
из стеклоткани; 4 - электрообогреваемая плита; 5 - основной
гидроизоляционный слой; 6 - теплоизоляционный слой
пола; 7 - бетонный плинтус; 8 - колонна
При устройстве теплоизоляции из эффективных теплоизоляционных материалов (пенополистирол, пенополиуретан, жесткие минераловатные плиты) необходимо предусматривать гидроизоляцию от возможного ее увлажнения строительной влагой.
2.8. Величина сопротивления паропроницанию пароизоляционного слоя
Rп, м
2·ч·мм рт. ст./г, в зависимости от конструктивного решения теплоизоляции определяется:
а) для однослойной теплоизоляционной конструкции по формуле

(2)
где

- сопротивление паропроницанию теплоизоляционного слоя пола, м
2·ч·мм рт. ст./г,

(3)

- толщина слоя теплоизоляции, м;

- коэффициент паропроницаемости, принимаемый по
табл. 1 прил. 2 главы СНиП II-А.7-71 "Строительная теплотехника. Нормы проектирования";

- коэффициент, зависящий от температуры воздуха камеры
tв и принимаемый по табл. 2.
tв, °C | -4 | -10 | -20 | -25 | -30 | -40 |
| 1,2 | 1,55 | 2,8 | 3,82 | 5,3 | 12,4 |
б) для двухслойной конструкции по формуле

(4)
где Rт1, Rт2 - термические сопротивления первого и второго слоев теплоизоляции, м2·ч·°C/ккал;
Rп1, Rп2 - сопротивления паропроницанию первого и второго слоев теплоизоляции.
Порядковые номера слоев теплоизоляции обозначены согласно расчетной схеме рис. 4.
Рис. 4. Расчетная схема для определения сопротивления
паропроницанию Rп конструкции пола
1 - плоскость конденсации пара; 2, 3 - первый и второй слои
теплоизоляции толщиной соответственно

и

;
4 - слой пароизоляции
2.9. В низкотемпературных камерах рекомендуется устройство теплоизоляции колонн на высоту 1 м от уровня пола из эффективных теплоизоляционных материалов с сопротивлением теплопередаче 1,5 - 2 м2·ч·°C/ккал.
Теплоизоляция колонн должна быть состыкована с теплоизоляцией пола и защищена от механических повреждений.
2.10. В проектах производства работ должна разрабатываться технология устройства полов на грунте, обеспечивающая качественное выполнение гидро- и теплоизоляции в соответствии с требованиями глав СНиП III-В.14-72 и СНиП III-20-74.
Для ограничения влажности материалов теплоизоляции в пределах сорбционного увлажнения в проектах необходимо предусматривать устройство приобъектных складов хранения теплоизоляционных материалов.
3. СИСТЕМА ЭЛЕКТРООБОГРЕВА
3.1. Система электрообогрева проектируется под всеми помещениями холодного контура здания, включая примыкающие к камерам закрытые вестибюли, галереи, коридоры, лифтовые шахты и т.д.
3.2. Систему электрообогрева разбивают на отдельные участки. Участок рекомендуется проектировать под одной камерой. При проектировании под несколькими небольшими камерами с близкими технологическими режимами активную электрическую мощность для всего участка следует определять по наиболее низкой температуре одной камеры.
3.3. Участок электрообогрева состоит из следующих основных элементов: электрических нагревателей, уложенных в бетонную плиту, системы автоматического регулирования температуры плиты, амперметров и счетчиков расхода электроэнергии, понижающего силового трансформатора, соединительных кабелей.
3.4. Электрообогрев грунта осуществляется стальными электронагревателями - стержнями, помещаемыми в тело бетона без электрической изоляции.
3.5. Участок электрообогрева следует питать через трехфазный разделительный понижающий трансформатор. Участки с площадью обогрева до 100 м2 можно питать от однофазных трансформаторов.
Применять автотрансформаторы не допускается.
Рекомендуется применять рабочую ступень напряжения трансформатора 25 и 38 В.
3.6. Трансформатор участка электрообогрева должен иметь со стороны питания 380/220 В: контактор (пускатель) управления, аппарат защиты от перегрузок (выключатель, плавкий предохранитель или автомат) и однофазный счетчик активной электроэнергии.
Со стороны низкого напряжения трансформатор присоединяется непосредственно (без каких-либо аппаратов или приборов) к секциям обогрева, соединенным в треугольник или звезду.
Трансформатор рекомендуется устанавливать вблизи выводов секций по середине обогреваемого участка.
3.7. Стержни-нагреватели из арматурной стали круглого сечения диаметром 6 - 14 мм помещаются в теле горизонтальной бетонной плиты параллельно один другому. Плиту с нагревателями необходимо располагать выше уровня грунтовых вод.
Шаг нагревателей в зависимости от мощности системы электрообогрева рекомендуется выбирать от 0,25 до 0,8 м.
3.8. Стержни в количестве 2 - 8 шт. соединяются параллельно в группы. Соединение следует делать сваркой к сборным шинам из полосовой стали размером 80 x 8 мм или из стали другого сечения, равнозначного по проводимости.
Параллельные стержни длиной более 20 м соединяются в середине стальной уравнительной шиной сечением, равным сечению сборных шин.
Группы нагревателей могут соединяться последовательно, образуя секцию.
3.9. Каждый трехфазный участок обогрева делится на три секции, имеющие самостоятельные выводы стальными шинами.
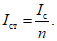
3.10. Обязательным условием надежной и экономичной работы системы электрообогрева является автоматическое регулирование температуры грунта в диапазоне 1 - 2 °C, осуществляемое термометрическими датчиками, устанавливаемыми в специальных колодцах.
3.11. Термометрические датчики устанавливаются в каждой камере, но не менее чем в двух точках обогреваемого участка. Рекомендуется датчики одного участка подключать к двум независимым вторичным приборам, например к многоточечным регулирующим мостам. Приборы контроля и измерения температуры должны обеспечивать точность измерений +/- 0,5 °C.
Выходные контакты вторичных приборов одного участка соединяются параллельно и включаются в цепь автоматического управления трансформатором данного участка электрообогрева.
3.12. Термометрические датчики устанавливаются непосредственно в плите обогрева между нагревателями на расстоянии полушага между ними. Свободные обсадные трубы используются в качестве контрольных. Схема установки термометра сопротивления в конструкции пола приводится на
рис. 5.
Рис. 5. Схема установки термометра сопротивления
в конструкции пола
1 - люк; 2 - заглушка; 3 - соединительный кабель;
4 - держатель термометра; 5 - труба обсадная; 6 - защитная
труба; 7 - обогревающая плита; 8 - электронагреватели;
9 - слой гидропароизоляции; 10 - подготовка из бетона;
11 - щебеночная подготовка; 12 - подстилающий грунт;
13 - уровень масла; 14 - слой засыпки из песка
3.13. Защитные и противопожарные меры и средства систем электрообогрева проектируются в строгом соответствии с "
Правилами устройства электроустановок" (ПУЭ).
3.14. В зависимости от глубины заложения обогревающей плиты, фундаментов колонн и стен рекомендуются следующие три схемы распределения источников обогрева:
первая - равномерное распределение тепловой мощности по площади участка обогрева при постоянном шаге стержней-нагревателей
(рис. 6). Схему рекомендуется применять при отсутствии в площади участка теплопроводных включений в теплоизоляцию полов в виде фундаментов стен и колонн;
вторая - неравномерное распределение тепловой мощности по площади участка обогрева с локальным обогревом зон с теплопроводными включениями при расположении плиты обогрева по основанию фундаментов, когда локальное увеличение мощности обогрева в зоне теплопроводного включения достигается уменьшением шага нагревателей
(рис. 7); выше фундаментов колонн, когда локальное увеличение мощности достигается увеличением количества нагревателей и приближением их к стволу колонны на расстояние 5 - 10 см
(рис. 8);
третья - устройство участков обогрева полов и теплопроводных включений с автономными системами обогрева и регулирования температуры. Схема автономной системы обогрева колонн приводится на
рис. 9.
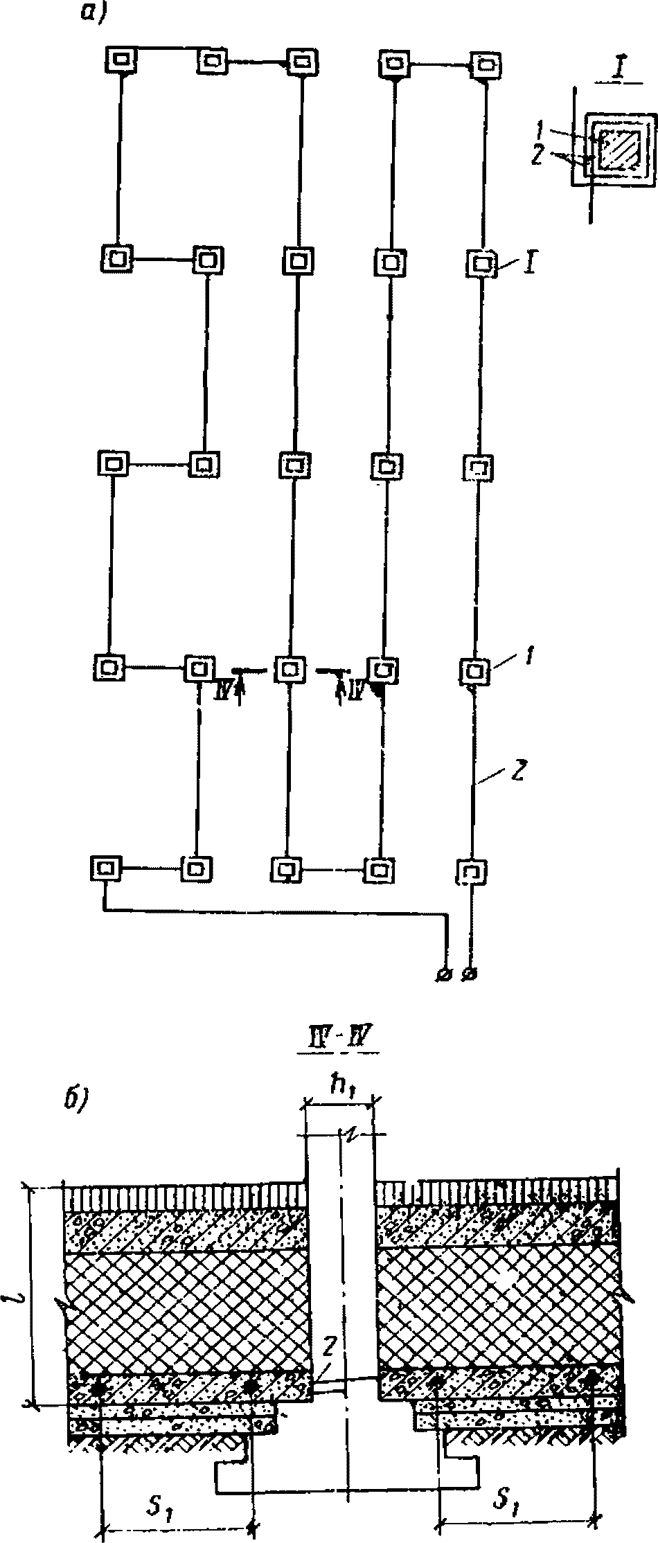
Рис. 6. Схема равномерного распределения тепловой мощности
по площади участка обогрева
а - распределение стержней-нагревателей; б - сечение I-I;
1 - колонна; 2 - стержни-нагреватели; 3 - покрытие;
4 - подстилающий слой; 5 - теплоизоляционный слой;
6 - гидропароизоляция; 7 - обогревающая бетонная плита;
8 - подстилающий слой; 9 - основание пола;
10 - грунт основания
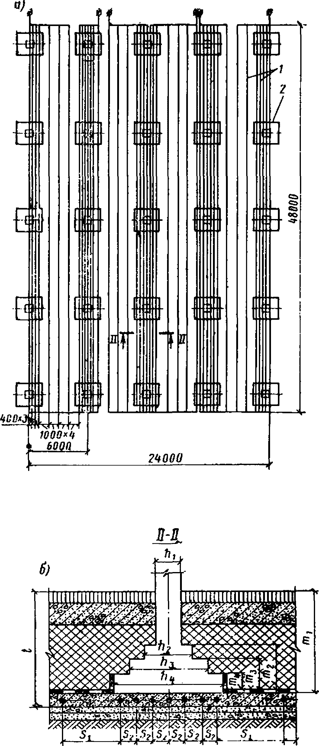
Рис. 7. Схема распределения тепловой мощности
при расположении обогревающей плиты по основанию
фундаментов колонн
а - распределение стержней-нагревателей; б - сечение II-II;
1 - стержни-нагреватели; 2 - фундамент колонны
Рис. 8. Схема распределения тепловой мощности
при расположении обогревающей плиты выше фундаментов колонн
а - распределение стержней-нагревателей; б - сечение
III-III; 1 - колонна; 2 - стержни-нагреватели
Рис. 9. Схема устройства участков обогрева полов
и теплопроводных включений с автономными системами
электрообогрева
а - автономная система обогрева колонн; б - сечение IV-IV;
1 - колонна; 2 - нагреватели из алюминиевого провода
| | ИС МЕГАНОРМ: примечание. В официальном тексте документа, видимо, допущена опечатка: таблица 10 в приложении 3 отсутствует. | |
3.15. Для рекомендованных схем распределения источников обогрева расчет тепловых мощностей производится по
табл. 7 - 10 прил. 3.
4. ОПРЕДЕЛЕНИЕ ТЕПЛОВОЙ МОЩНОСТИ УЧАСТКОВ ЭЛЕКТРООБОГРЕВА
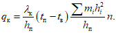
4.1. Искомой величиной теплотехнического расчета полов является тепловая мощность участка системы электрообогрева qF.
4.2. Тепловая мощность участка
qF определяется в зависимости от принятой схемы распределения источников обогрева:
для первой схемы
qF = 1,1Kо(tп - tв)F, (5)
где
Kо - коэффициент теплопередачи, принимаемый в соответствии с
п. 2.3;
tп - расчетная температура плиты электрообогрева, принимаемая равной +2 °C;
tв - расчетная температура воздуха камеры;
F - площадь участка, определяемая по строительным осям ограждающих конструкций;
1,1 - коэффициент, учитывающий двумерность температурного поля;
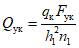
для второй схемы в пределах участка F, включающего n1 колонн площадью сечения одной колонны Fк, стену толщиной bс и длиной L; тепловая мощность участка определяется по формуле
qF =
A1qп +
A2qк +
A3qст, (6)
где
A1,
A2,
A3 - коэффициенты, учитывающие двумерность температурного поля и нестационарный режим работы системы электрообогрева и принимаемые
A1 = 1,3,
A2 = 1,2 и
A3 = 1,2 при расположении плиты электрообогрева по основанию фундаментов колонн и стен
(рис. 7);
A2 = 1,45 и
A3 = 1,55 при расположении плиты электрообогрева выше фундаментов колонн и стен
(рис. 8);
qп, qк, qст - тепловая мощность соответственно в зонах пола без теплопроводных включений, колонн, стен.
Тепловые мощности qп и qст определяются по формулам:
qп =
Kо(
tп -
tв)(
F -
n1Fк -
bсL); (7)

(8)
При устройстве стен и перегородок по фундаментным балкам на нулевых отметках пола в
формуле (6) qст принимается равной нулю.
qк определяется в зависимости от положения плиты обогрева:
а) когда колонна прорезает плиту обогрева - по формуле

(9)
б) когда фундамент колонны опирается на плиту обогрева - по формуле

(10)
hп - глубина заложения плиты обогрева, м;
tп - расчетная температура плиты электрообогрева, принимаемая равной +2 °C;
tв - расчетная температура воздуха камеры, °C;

,

- коэффициенты теплопроводности материалов соответственно колонны и стены, ккал/(м·ч·°C);
F - площадь участка обогрева, определяемая по осям ограждающих конструкций, м2;
Fк - площадь сечения колонн, м2;
mi,
hi - параметры фундамента колонны
(рис. 7).
4.3. При проектировании автономной системы обогрева теплопроводных включений расчет ведется по
формулам (7),
(9),
(10). При этом рекомендуется систему обогрева колонн здания выделить в один самостоятельный участок, а внутренние стены и перегородки запроектировать по фундаментным балкам.
5. ЭЛЕКТРОТЕХНИЧЕСКИЙ РАСЧЕТ СИСТЕМЫ ЭЛЕКТРООБОГРЕВА
5.1. Исходной величиной для расчета системы электрообогрева является требуемая мощность теплового потока qF, равная активной электрической мощности нагревателей.
Искомой величиной - напряжение, В, которое необходимо подвести к выводам шины для получения требуемой мощности.
Участок электрообогрева разбивается на три секции, соединяемые в треугольник или звезду.
Количество участков электрообогрева определяется в зависимости от температурных режимов камер и конструктивных требований рационального размещения системы.
Расчет ведется для секции участка.
5.2. Мощность теплового потока
Pс секции участка определяется по формуле
Pс = 1,16KзqF, (11)
где
qF - максимальная мощность теплового потока, ккал/ч, для заданного участка, определяемая согласно
п. 4.2 настоящего Руководства;
Kз - коэффициент запаса, принимаемый при расчете обогрева пола без зон теплопроводных включений равным 3 и с зонами теплопроводных включений - 1,5.
5.3. Исходя из мощности теплового потока и планировочного решения здания выбираются параметры секции: l - длина одного стержня, км; d - диаметр стержней, мм; s - расстояние между нагревательными стержнями, м; n - количество параллельных стержней в группе; m - четное количество групп в секции.
Диаметр стержней-нагревателей, количество параллельно соединенных стержней в группе, количество групп в секции определяются при расчете последовательным приближением.
5.4. Активное сопротивление
r стержня определяется по формуле
r = r0l, (12)
где r0 - удельное сопротивление, Ом/км, стальных стержней-нагревателей, определяемое в зависимости от диаметра стержней и величины тока при его частоте 50 Гц по табл. 3.
Диаметр стержня, мм | Удельное активное сопротивление r, Ом/км, при силе тока I, А |
10 | 20 | 30 | 40 | 50 |
6 | 13,8 | 12,5 | 11,3 | 10,4 | 10 |
8 | 9,3 | 9,3 | 8,8 | 8,3 | 7,6 |
10 | 7,7 | 7,7 | 7,5 | 7,1 | 6,7 |
12 | 6,7 | 6,7 | 6,5 | 6,1 | 5,7 |
14 | 5,4 | 5,4 | 5,4 | 5,4 | 5,2 |
Общее активное сопротивление секции rс определяется по формуле

(13)
Полное сопротивление секции Zс определяется по формуле

(14)
где

принимается равным 0,7.
Сила тока секции Iс, А, определяется по формуле

(15)
сила тока в стержне Iс, А, определяется по формуле

(16)
Сила тока трансформатора Iт, А, определяется по формулам:
а) при соединении секции в треугольник

(17)
б) при соединении секции в звезду
Iт = Iс. (18)
Напряжение в секции Uс, В, определяется по формуле
Uс = IсZс. (19)
Варьируя параметрами d, m, n, подбирают напряжение секции, близкое к 25 или к 38 В.
Принимая потерю в сети с напряжением 380 В 3%, в подводящих проводах и выводах 4%, в понижающем трансформаторе 3%, определяем расчетное напряжение трансформатора Uт, В, с учетом потерь по формуле

(20)
По расчетным величинам Uт и Iс выбирается тип трансформатора таким образом, чтобы фактическое напряжение с низкой стороны должно быть U'т >= Uт, а фактическая сила тока нагрузки I'т <= Iд предельно допустимой силе тока выбранного трансформатора.
Величина I'т определяется по формуле

(21)
Фактический коэффициент запаса K'з определяется по формуле

(22)
Если не выполняется условие I'т <= Iд, то расчет производится вновь с новыми значениями параметров d, m, n.
Пример расчета приведен в
табл. 7 прил. 3.
6. ТРЕБОВАНИЯ К МОНТАЖУ И ПРИЕМКЕ СИСТЕМ ЭЛЕКТРООБОГРЕВА
6.1. Монтаж систем электрообогрева производится специализированной организацией, которая несет ответственность за качество выполненных работ.
Монтажная организация ведет журнал производства монтажных работ системы электрообогрева. В журнал записываются:
фамилии и должности технических руководителей, ответственных за монтаж и контроль системы электрообогрева;
параметры участков по рабочим чертежам;
время начала и окончания основных этапов работ;
изменения проектных решений системы электрообогрева с соответствующим обоснованием;
фактические параметры участков системы электрообогрева после производства монтажных работ и испытания.
Журнал предъявляется приемной комиссии вместе со всеми техническими документами и передается по акту заказчику при сдаче объекта в эксплуатацию.
6.2. Рекомендуется следующий порядок производства работ по монтажу системы обогрева:
укладка, рихтовка и сварка стержней-нагревателей, сборных и уравнительных шин по первому нижнему слою бетона толщиной 50 мм обогревающей плиты;
устройство вертикальных выводов от секций обогрева и установка гильз для температурных датчиков между стержнями-нагревателями;
электрическое испытание качества сварки на равномерность распределения тока в стержнях-нагревателях с составлением акта, после чего разрешается укладка верхнего слоя бетона;
укладка второго верхнего слоя бетона толщиной 50 мм;
прокладка соединительных проводов от вертикальных выводов секций к трансформатору;
установка колодцев для температурных датчиков;
установка трансформатора и аппаратуры;
испытание системы электрообогрева по программе
прил. 4.
6.3. Стержни-нагреватели, сборные и уравнительные шины, а также вертикальные выводы не должны касаться токопроводящих элементов строительных конструкций.
6.4. Выводы от электронагревателей выполняются из полосовой стали размером 80 x 8 мм с покраской их за два раза асфальтовым лаком. Вертикальные выводы прокладываются в асбестоцементной трубе на высоту 1,5 м от пола с заливкой трубы бетоном.
6.5. Испытания выполняются комиссией, назначаемой приказом. Результаты испытания оформляются актами, форма которых приведена в прил. IV, V главы СНиП III-Г.31-74 "Технологическое оборудование. Основные положения" или по формам главы СНиП III-Г.10.4-67 "Теплоэнергетическое оборудование. Правила производства и приемки монтажных работ".
К акту прилагается исполнительная схема раскладки нагревателей, соединительных и выводных шин.
При сдаче объекта акты предъявляются членам комиссии.
6.6. Система автоматического управления и измерения температуры обогревающей плиты перед сдачей в эксплуатацию должна быть налажена и определена поправка к показанию приборов по каждой точке измерения температуры.
6.7. Сдача-приемка системы электрообогрева производится только после окончания монтажных и наладочных работ на участках электрообогрева и системах автоматического регулирования. Акт готовности оборудования к комплексному опробованию является одновременно актом передачи системы электрообогрева от монтажников заказчику, который несет ответственность за дальнейшую ее эксплуатацию.
При сдаче-приемке системы электрообогрева полов в соответствии с главой СНиП III-33-76 "Электротехнические устройства" оформляется следующая техническая документация: акт об условиях хранения и последующей работе трансформаторов; журнал прокладки и осмотра кабелей; акт готовности плиты электрообогрева под монтаж участков; акт на монтаж оборудования; акт установки термометрических гильз и датчиков; акт испытания и готовности оборудования под нагрузку и эксплуатацию; акт испытания и готовности системы автоматического регулирования температуры; исполнительная схема системы электрообогрева с подписями ответственных лиц монтажной организации; акты на скрытые работы по производству гидроизоляции и теплоизоляции полов.
7. ЭКСПЛУАТАЦИЯ СИСТЕМЫ ЭЛЕКТРООБОГРЕВА И КОНСТРУКЦИЙ
ЗДАНИЙ ХОЛОДИЛЬНИКОВ
7.1. Для защиты обслуживающего персонала от поражения электрическим током все электроустановки должны быть снабжены защитными средствами в соответствии с "
Правилами технической эксплуатации электроустановок потребителей" и "
Правилами технической безопасности при эксплуатации электроустановок потребителей" (3-е изд.). Минэнерго СССР. М.: Атомиздат, 1974.
7.2. Включение системы электрообогрева производится до ввода в действие холодильных агрегатов. Ввод в действие холодильных агрегатов производится после достижения плитой температуры не ниже 2 °C и срабатывания системы автоматического регулирования на отключение обогрева.
7.3. Главным инженером предприятия утверждается инструкция по эксплуатации системы электрообогрева.
Инструкция должна содержать проектные температурные режимы камер; правила пуска и остановки системы; исполнительную схему и маркировку шин, электрокабелей; режим работ участков электрообогрева; электрическую схему участков системы электрообогрева с расстановкой контрольно-измерительных приборов; журнал ежедневного контроля работы системы электрообогрева полов
(прил. 5); перечень лиц, допускаемых к работе с системой электрообогрева.
В инструкции необходимо указать на недопустимость понижения температур камер против проектных.
7.4. Журнал эксплуатации системы электрообогрева ведется ответственным лицом, назначенным приказом главного инженера предприятия.
В журнал вносятся следующие данные: показания термометрических датчиков - ежедневно; фактические режимы (напряжение, сила тока) - ежедневно; температура воздуха камер - ежедневно; данные расхода электроэнергии по участкам; особые условия эксплуатации участков (неисправности); даты проверок термометрических датчиков; срок и проведение ремонтов систем электрообогрева.
Контроль за ведением журнала осуществляется ежеквартально главным инженером предприятия.
7.5. Правильность показаний температуры системы автоматического регулирования подлежит периодической проверке, но не реже двух раз в год с помощью тарировочного прибора, например типа ПИТ-2 (ВНИХИ).
Отклонение температуры от заданной в точке установки датчика не должно превышать +/- 1 °C.
7.6. При понижении температуры грунта ниже допустимой (+1 °C) производят проверку работы системы обогрева с целью обнаружения дефекта. При недостатке выделяемой мощности ее увеличение достигается переключением трансформатора на более высокую ступень. При этом надо иметь в виду, что потребляемая мощность растет в квадратичной зависимости от увеличения подводимого напряжения, в связи с чем при переключении на ступень повышенного напряжения предельно допустимые мощности и сила тока трансформатора могут оказаться недостаточными. В таком случае рекомендуется устанавливать трансформатор большей мощности.
В случае значительного увеличения мощности электронагревателей, требуемой для поддержания температуры грунта в нужных пределах, необходимо проверить качество и состояние тепловой изоляции конструкции пола.
Если на действующем холодильнике теплоизоляция полов не обеспечивает расчетного коэффициента теплопередачи, следует на основании технико-экономического расчета решить вопрос о целесообразности улучшения теплоизоляции или дальнейшего увеличения тепловыделения нагревателей.
7.7. Все изменения в конструкциях зданий холодильников, устройство различных пристроек и проведение реконструкций, в той или иной мере связанных с работой системы электрообогрева, разрешается проводить только при согласовании с проектной организацией.
7.8. Грунтовое основание здания холодильника должно быть защищено от повышения уровня подземных вод вследствие изменения генплана, пристроек, воздействия утечек производственных, сточных и атмосферных вод.
7.9. Отмостки здания холодильника, кровли, канавы и ливнестоки должны быть исправны и систематически очищаться. Отмостки и дороги вокруг холодильника должны иметь уклон от здания в сторону водосброса.
В случае разрушения отмосток или отводящих кюветов, канав, ливнестоков немедленно принимаются меры по их ремонту.
7.10. При необходимости производства строительных работ в зимний период с разработкой грунта вблизи фундаментов не допускается оставлять открытые котлованы во избежание промерзания грунтов, а также заполнения их ливневыми или талыми водами.
Выполнение обратных засыпок и устройство отмосток на месте производства работ необходимо производить в строгом соответствии со СНиП.
7.11. При аварийной опасности надлежит произвести расследование и оформление документов об авариях в соответствии с "
Положением о порядке расследования причин аварий (обрушений) зданий, сооружений, их частей и конструктивных элементов", утвержденным Госстроем СССР в 1973 г.
Для расследования причин возникновения повреждений создается компетентная техническая комиссия в составе представителей местных организаций, проектировщиков, представителей Госархстройконтроля и научно-исследовательских институтов строительного профиля.
Техническая комиссия составляет акт, в котором фиксирует фактические размеры и характер повреждения; результаты сравнения фактически выполненных конструкций с утвержденными проектными решениями; допущенные отклонения от проекта, качество производства работ; степень влияния допущенных нарушений проекта на деформации; результаты проверки правильности проектных решений; выводы и предложения по дальнейшей эксплуатации. В соответствии с решениями технической комиссии разрабатываются мероприятия, обеспечивающие безопасную эксплуатацию здания.
7.12. Оттаивание промерзшего грунта в основании холодильника производится по специально разработанному проектной организацией проекту, которым определяются: способ и сроки равномерного оттаивания грунта; места установки реперов, пикетов, марок и маяков и периодичность проведения контрольных измерений, продолжительность геодезических измерений осадок и наблюдений за маяками; способ контроля за температурой и свойствами грунта при его оттаивании; режим оттаивания, оборудование для выполнения работ по оттаиванию; способ защиты грунта от промерзания для обеспечения нормальной эксплуатации здания в дальнейшем; мероприятия по восстановлению деформированных конструкций зданий.
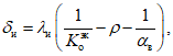
ОПРЕДЕЛЕНИЕ ОПТИМАЛЬНОГО КОЭФФИЦИЕНТА ТЕПЛОПЕРЕДАЧИ
ЭЛЕКТРООБОГРЕВАЕМЫХ КОНСТРУКЦИЙ ПОЛОВ
Экономически целесообразными следует считать конструкции полов, на изготовление и эксплуатацию которых величины приведенных затрат будут минимальными.
Для достижения минимума приведенных затрат коэффициент теплопередачи электрообогреваемых полов

, ккал/(м
2·ч·°C), следует определять:
для однослойной теплоизоляции по формуле

(23)
для двухслойной теплоизоляции по формуле

(24)
Eн - нормативный коэффициент эффективности капитальных вложений, принимаемый равным 0,15;

- доля амортизационных отчислений на капитальный ремонт пола;
Cи, Cи1, Cи2 - стоимости теплоизоляционных материалов с учетом расходов на транспорт и укладку, руб./м3;

,

,

- расчетные коэффициенты теплопроводности теплоизоляционных материалов, ккал/(м·ч·°C), принимаемые по
табл. 1 (гр. 5) прил. 2 главы СНиП II-А.7-71 "Строительная теплотехника. Нормы проектирования";
106 - коэффициент перевода Гкал в ккал;
n - количество часов работы холодильных камер в году;

- перепад температуры между поверхностью обогревающей плиты и воздухом холодильных камер;
tв - температура воздуха в холодильной камере;
tн - расчетная температура обогревающей плиты (при электрообогреве принимается +2 °C);

- коэффициент перевода рабочих калорий холода в "стандартные", зависящий от
tв и принимаемый по табл. 4.
Таблица 4
tв, °C | -4 | - 10 | -20 | -25 | -30 |
| 0,8 | 1,1 | 1,8 | 2,3 | 2,9 |

- коэффициент, учитывающий потери в системе электрообогрева и принимаемый равным 1,2;
Cх - проектная стоимость 1 стандартной Гкал холода, руб.;
Cт - стоимость 1 Гкал тепла, поступающего от электронагревателей, руб.,

;
Cэ - проектная стоимость 1 кВт·ч электроэнергии, руб.
Оптимальная толщина теплоизоляции

, м, определяется из выражения

(25)
где

- сумма термических сопротивлений конструктивных слоев пола кроме теплоизоляции, м
2·ч·°C/ккал;

- коэффициент теплоотдачи внутренней поверхности ограждения, принимаемый равным 7,5 ккал/(м
2·ч·°C).
Пример 1. Определение оптимального коэффициента теплопередачи электрообогреваемой конструкции пола

с однослойной теплоизоляцией из керамзитового гравия с

(см. схему
рис. 2,
б) для холодильника с температурой камеры
tв =
-20 °C, проектируемого в Московской обл.
Исходные данные: Cи = 14,2 руб./м
3;

;
n = 8640;
tв = -20 °C;
tп = 2 °C;

;

;
Cх = 35,7 руб./Гкал;
Cэ = 0,0183 руб./(кВт·ч);
Eп = 0,15;

.
При значениях термических сопротивлений конструктивных слоев пола

оптимальная толщина теплоизоляции из керамзитового гравия согласно
формуле (25) составит:
Толщина теплоизоляционного слоя из керамзитового гравия принимается равной 1 м.
Пример 2. Определение оптимального коэффициента теплопередачи электрообогреваемой конструкции пола

с двухслойной теплоизоляцией: первый слой из керамзитового гравия с

, второй слой - из эффективного утеплителя - пенополистирола марки ПСБ-С с

(см. схему
2 рис. 2), для холодильника с температурой камеры
tв =
-30 °C, проектируемого в Московской обл.

определяется по
формуле (24), при этом кроме исходных данных, приведенных в
прим. 1, принимаются дополнительно следующие данные: стоимость утеплителя из пенополистирола марки ПСБ-С C
и2 = 85,86 руб./м
3; стоимость утеплителя из керамзитового гравия C
и1 = 14,2 руб./м
3; коэффициент теплопроводности утеплителя из пенополистирола

,

.
толщина теплоизоляционного слоя из пенополистирола определяется из выражения

(26)
где h - толщина теплоизоляционных слоев, равная 1 м.
Принимаем 1-й слой плиты пенополистирола толщиной 0,025 м. Толщина слоя из керамзитового гравия составит:

.
Анализ полученных значений

для однослойных и двухслойных конструкций полов для камер с температурами соответственно
tв = -20 и -30 °C показывает, что применение эффективного теплоизоляционного материала со сравнительно высокой стоимостью приведет к незначительному уменьшению экономически оптимального значения коэффициента теплопередачи. Это свидетельствует о том, что свойства теплоизоляции и ее стоимость имеют существенное значение при определении оптимального коэффициента теплопередачи электрообогреваемых конструкций полов.
ОПРЕДЕЛЕНИЕ СОПРОТИВЛЕНИЯ ПАРОПРОНИЦАНИЮ
ПАРОИЗОЛЯЦИОННЫХ СЛОЕВ
Требуемое сопротивление паропроницанию пароизоляционных слоев определяется из условия конденсации пара под подстилающим слоем
2 (см.
рис. 2), что обеспечивает стабильность влажностного состояния теплоизоляции и нормальную ее эксплуатацию в течение 50 лет.
Пример 1. Рассмотрим конструкцию электрообогреваемого пола для камеры с температурой
tв =
-20 °C согласно конструктивной схеме, приведенной на
рис. 2,
б.
Согласно рекомендациям
п. 2.8, сопротивление паропроницанию пароизоляционного слоя
Rп, м
2·ч·мм рт. ст./г, для однослойной теплоизоляционной конструкции определяется по
формуле (2), где значение коэффициента

при температуре камеры
tв = -20 °C принимается из
табл. 2 -

.
| | ИС МЕГАНОРМ: примечание. Взамен ГОСТ 10354-73 Постановлением Госстандарта СССР от 02.06.1982 N 2253 с 01.07.1983 введен в действие ГОСТ 10354-82. | |
Принимаем один слой полиэтиленовой пленки марки C (ГОСТ 10354-73) толщиной

с
Rп = 55 м
2·ч·мм рт. ст./г.
Таким образом, при tв = -20 °C стабильность влажностного состояния теплоизоляционной конструкции электрообогреваемого пола обеспечивается устройством пароизоляции из одного слоя полиэтиленовой пленки толщиной 0,2 мм.
Пример 2. Рассмотрим конструкцию электрообогреваемого пола для камеры с температурой
tв = -30 °C согласно конструктивной схеме, приведенной на
рис. 2, г.
| | ИС МЕГАНОРМ: примечание. Единицы измерения даны в соответствии с официальным текстом документа. | |
Исходные данные. Толщина первого слоя теплоизоляции из керамзитового гравия толщиной

; коэффициент паропроницаемости керамзитового гравия

; коэффициент теплопроводности

. Толщина второго слоя теплоизоляции из пенополистирола марки ПСБ-С

; коэффициент его паропроницаемости

; коэффициент теплопроводности

.
Согласно рекомендациям
п. 2.8 б, требуемое сопротивление паропроницанию двухслойной теплоизоляционной конструкции пола
Rп определяется по
формуле (4)
Термические сопротивления первого и второго слоев теплоизоляции Rт соответственно равны:
Сопротивления паропроницанию Rп соответственно первого и второго слоев равны:
Численное значение коэффициента

находим в зависимости от температуры камеры
tв = -30 °C по
табл. 2 -

. Подставляя в
формулу (4) значения исходных параметров, получим:
| | ИС МЕГАНОРМ: примечание. Взамен ГОСТ 10354-73 Постановлением Госстандарта СССР от 02.06.1982 N 2253 с 01.07.1983 введен в действие ГОСТ 10354-82. | |
Принимаем два слоя полиэтиленовой пленки марки C (ГОСТ 10354-73) толщиной

с
Rп = 110 м
2·ч·мм рт. ст./г.
Таким образом, при tв = -30 °C стабильность влажностного состояния двухслойной теплоизоляционной конструкции электрообогреваемого пола достигается путем устройства двухслойной пароизоляции из полиэтиленовой пленки.
ПРИМЕРЫ РАСЧЕТА УЧАСТКОВ ЭЛЕКТРООБОГРЕВА С РАЗЛИЧНЫМИ
ВАРИАНТАМИ РАЗМЕЩЕНИЯ НАГРЕВАТЕЛЕЙ И ОБОГРЕВАЮЩЕЙ ПЛИТЫ
Для обеспечения равномерной нагрузки питающего трехфазного трансформатора нагреватели участка делятся на три секции согласно схемам, приведенным на
рис. 6 -
9. Расчет различных схем для одной секции приводится в табл. 5 -
8.
Таблица 5
Расчет секции электрообогрева конструкции пола в зоне без
Наименование и обозначение расчетных параметров | Единица измерения | Способ определения параметра | Расчетные величины |
1. Площадь обогрева секции Fс | м2 | | 384 |
2. Температура камеры tв | °C | По проекту | -20 |
3. Температура обогревающей плиты tп | " | Задается из условия исключения промерзания грунта | 2 |
4. Коэффициент теплопередачи Kо | ккал/(м2·ч·°C) | По п. 2.3 настоящего Руководства | 0,144 |
5. Тепловая мощность секции qF | ккал/(м2·ч) | По формуле qF =1,1Kо(tп - tв)Fс | 1338 |
6. Коэффициент запаса Kз | - | По п. 5.2 настоящего Руководства | 3 |
7. Активная электрическая мощность секции Pс | Вт | По формуле Pс = 1,16KзqF | 4656 |
8. Диаметр стержней-нагревателей d | мм | Подбирается по величине активного сопротивления | 8 |
9. Длина стержня-нагревателя l | км | По проекту | 0,048 |
10. Удельное активное сопротивление стержней-нагревателей rо | Ом/км | | 8,3 |
11. Активное сопротивление стержня r | Ом | По формуле r = rоl | 0,4 |
12. Количество параллельных стержней-нагревателей в группе h | шт. | Подбирается по величине активного сопротивления | 7 |
13. Количество групп в секции m | " | То же | 2 |
14. Активное сопротивление секции rс | Ом | По формуле | 0,114 |
15. Коэффициент мощности  | - | По п. 5.4 настоящего Руководства | 0,7 |
16. Полное сопротивление секции Zс | Ом | По формуле | 0,16 |
17. Сила тока секции Iс | А | По формуле | 202 |
18. Напряжение секции Uс | В | По формуле Uс = IсZс | 32,3 |
19. Расчетное напряжение трансформатора Uт | " | По формуле | 35,9 |
20. Трансформатор марки ТНТ-60ВО <1>: | | | |
а) напряжение с низкой стороны U'т | В | По паспорту трансформатора | 42,6 |
б) предельно допустимая сила тока Iд | А | То же | 427 |
21. Сила тока нагрузки трансформатора I'т | " | По формуле | 240 |
22. Фактический коэффициент запаса K'з | - | По формуле | 4,2 |
--------------------------------
<1> Выбирается по величинам
Iс и
Uт.
Таблица 6
Расчет системы электрообогрева конструкции пола в зоне
с теплопроводными включениями при расположении обогревающей
плиты по основанию фундаментов (рис. 7, а)
Наименование и обозначение расчетных параметров | Единица измерения | Способ определения параметра | Расчетные величины |
1. Площадь обогреваемого участка Fу | м2 | | 1152 |
2. Длина обогреваемого участка L | м | То же | 48 |
3. Температура камеры tв | °C | По проекту | -20 |
4. Температура обогревающей плиты tп | " | Задается из условия исключения промерзания грунта | 2 |
5. Коэффициент теплопередачи Kо | ккал/(м2·ч·°C) | По п. 2.3 настоящего Руководства | 0,144 |
6. Количество колонн на участке n1 | шт. | | 25 |
7. Количество рядов колонн N | " | То же | 4 |
8. Площадь обогрева колонн Fук | м2 | По формуле Fук = h1LN | 480 |
9. Площадь обогрева пола (без учета площади обогрева колонн) Fуп | " | По формуле Fуп = Fу - Fук | 672 |
10. Тепловая мощность обогрева: | | | |
а) колонн участка Qук | ккал/ч | По формуле  , | 4232 |
| 1377 |
б) пола участка Qуп | " | По формуле Qуп = kо(tн - tв)Fуп | 2129 |
| | ИС МЕГАНОРМ: примечание. Формула дана в соответствии с официальным текстом документа. | |
|
в) всего обогреваемого участка Qу | " | По формуле Qу = AQ1уп + A2Qук, где A1, A2 определяются согласно п. 4.2 настоящего Руководства | 7420 |
г) одной секции Qс | " | По формуле | 2474 |
11. Коэффициент запаса Kз | - | По п. 5.2 настоящего Руководства | 3 |
12. Активная электрическая мощность секции Pс | Вт | По формуле Pс = 1,16KзQс | 8610 |
13. Диаметр стержней-нагревателей d | мм | Подбирается по величине активного сопротивления | 10 |
14. Длина стержня-нагревателя l | км | По проекту | 0,048 |
15. Удельное активное сопротивление стержней-нагревателей rо (при d = 10 мм) | Ом/км | | 7,1 |
16. Активное сопротивление стержня r | Ом | По формуле r = rоl | 0,34 |
17. Количество параллельных стержней-нагревателей в группе n | шт. | Подбирается по величине активного сопротивления | 7 |
18. Количество групп в секции m | шт. | Подбирается по величине активного сопротивления | 2 |
19. Активное сопротивление секции rс | Ом | По формуле | 0,097 |
20. Коэффициент мощности  | - | По п. 5.4 настоящего Руководства | 0,7 |
21. Полное сопротивление секции Zс | Ом | По формуле | 0,138 |
22. Сила тока секции Iс | А | По формуле | 298 |
23. Напряжение секции Uс | В | По формуле Uс = IсZс | 41,1 |
24. Расчетное напряжение трансформатора Uт | " | По формуле | 45,6 |
25. Трансформатор марки ТНТ-60ВО <1>: | | | |
а) напряжение с низкой стороны U'т | В | По паспорту трансформатора | 47,6 |
б) предельно допустимая сила тока Iд | А | То же | 427 |
26. Сила тока нагрузки трансформатора I'т | " | По формуле | 311 |
27. Фактический коэффициент запаса K'з | - | По формуле | 3,26 |
28. Количество стержней-нагревателей на 1 ряд колонн Mк | шт. | По формуле | 6 |
29. Количество стержней нагревателей на площади обогрева пола (без учета площади обогрева колонн) Mп | " | По формуле Mп = 3mn - MкN | 18 |
30. Общее количество стержней-нагревателей всего участка Mу | " | По формуле Mу = MкN + Mп | 42 |
--------------------------------
<1> Выбирается по величине
Iс и
Uт.
Таблица 7
Расчет системы электрообогрева конструкции пола
в зоне с теплопроводными включениями
при расположении обогревающей плиты выше фундаментов колонн
Наименование и обозначение расчетных параметров | Единица измерения | Способ определения параметра | Расчетные величины |
1. Площадь обогреваемого участка Fу | м2 | | 1152 |
2. Длина обогреваемого участка L | м | То же | 48 |
3. Температура камеры tв | °C | По проекту | -20 |
4. Температура обогревающей плиты tп | " | Задается из условия исключения промерзания грунта | 2 |
5. Коэффициент теплопередачи Kо | ккал/(м2·ч·°C) | По п. 2.3 настоящего Руководства | 0,144 |
6. Количество колонн на участке n1 | шт. | | 25 |
7. Количество рядов колонн N | " | То же | 4 |
8. Площадь обогрева колонн Fук | м2 | По формуле Fук = n1LN | 80 |
9. Площадь обогрева пола (без учета площади обогрева колонн) Fуп | " | По формуле Fуп = Fу - Fук | 1072 |
10. Тепловая мощность обогрева: | | | |
а) колонн участка Qук | ккал/ч | По формуле  , | 2053 |
б) пола участка Qуп | " | По формуле Qуп = Kо(tп - tв)Fуп | 3396 |
в) всего обогреваемого участка Qу | " | По формуле Qу = A1Qуп + A2Qук, где A1, A2 определяются согласно п. 4.2 настоящего Руководства | 6200 |
г) одной секции Qс | " | По формуле | 2066 |
11. Коэффициент запаса Kз | - | По п. 5.2 настоящего Руководства | 3 |
12. Активная электрическая мощность секции Pс | Вт | По формуле Pс = 1,16KзQс | 7191 |
13. Диаметр стержней-нагревателей d | мм | Подбирается по величине активного сопротивления | 10 |
14. Длина стержня-нагревателя l | км | По проекту | 0,048 |
15. Удельное активное сопротивление стержней-нагревателей rо | Ом/км | | 7,1 |
16. Активное сопротивление стержня r | Ом | По формуле r = rоl | 0,34 |
17. Количество параллельных стержней-нагревателей в группе n | шт. | Подбирается по величине активного сопротивления | 7 |
18. Количество групп в секции m | шт. | Подбирается по величине активного сопротивления | 2 |
19. Активное сопротивление секции rс | Ом | По формуле | 0,097 |
20. Коэффициент мощности  | - | По п. 5.4 настоящего Руководства | 0,7 |
21. Полное сопротивление секции Zс | Ом | По формуле | 0,138 |
22. Сила тока секции Iс | А | По формуле | 272 |
23. Напряжение секции Uс | В | По формуле Uс = IсZс | 37,5 |
24. Расчетное напряжение трансформатора Uт | " | По формуле | 41,75 |
25. Трансформатор марки ТНТ-60ВО <1>: | | | |
а) напряжение с низкой стороны U'т | " | По паспорту трансформатора | 47,6 |
б) предельно допустимая сила тока Iд | А | То же | 427 |
26. Сила тока нагрузки трансформатора I'т | " | По формуле | 310 |
27. Фактический коэффициент запаса K'з | - | По формуле | 3,9 |
28. Количество стержней-нагревателей, укладываемых вблизи одного ряда колонн для компенсации их влияния в виде теплопроводных включений M'к | шт. | По формуле | 3 |
29. Количество стержней-нагревателей на всю площадь пола (без учета дополнительных нагревателей M'к) M'п | " | По формуле M'п = 3mn - M'кN | 30 |
30. Общее количество стержней-нагревателей всего участка Mу | " | По формуле Mу = M'кN + M'п | 42 |
--------------------------------
<1> Выбирается по величине
Iс и
Uт.
Таблица 8
Расчет автономной системы обогрева колонн (рис. 9)
Наименование и обозначение расчетных параметров | Единица измерения | Способ определения параметра | Расчетные величины |
1. Количество колонн на участке n1 | шт. | | 25 |
2. Площадь сечения колонны Fк | м2 | По проекту | 0,16 |
3. Суммарная площадь обогрева колонн Fук | " | По формуле Fук = n1Fк | 4 |
4. Температура камеры tв | °C | По проекту | -20 |
5. Тепловая мощность обогрева колонны qк | Ккал/(м2·ч) | | 5,96 |
6. Коэффициент запаса Kз | - | По п. 2.3 настоящего Руководства | 1,5 |
7. Активная электрическая мощность системы обогрева колонны Pк | Вт | По формуле Pк = 1,16Kзqк | 10,5 |
8. Полная электрическая мощность обогрева колонны Pп | " | По формуле Pп = Pкn1 | 262 |
9. Длина нагревателя с соединительными проводами L | км | | 0,348 |
10. Диаметр алюминиевых стержней-нагревателей d | мм | Подбирается по величине активного сопротивления | 1,13 |
11. Количество витков на колонне n2 | шт. | Выбирается по величине активного сопротивления | 2 |
12. Длина нагревателя колонны l' | м | | 3,2 |
13. Электрическая мощность 1 м длины нагревателя Pm | Вт | По формуле | 3,28 |
14. Мощность по всей длине нагревателя Pо | " | По формуле Pо = Pml | 1135 |
15. Удельное активное сопротивление стержней-нагревателей rо | Ом/км | По формуле где  - удельное электрическое сопротивление алюминия | 7,25 |
16. Активное сопротивление всей цепи нагревателей r | Ом | По формуле r = rоL | 2,5 |
17. Сила тока в цепи I | А | По формуле | 21,3 |
18. Напряжение цепи U | В | По формуле U = Ir | 53,21 |
19. Расчетное напряжение трансформатора Uт | " | По формуле | 59 |
20. Трансформатор марки ТПО-202 <1>: | | | |
а) напряжение с низкой стороны U'т | В | По паспорту трансформатора | 60 |
б) предельно допустимая сила тока Iд | А | То же | 300 |
21. Сила тока нагрузки трансформатора I'т | " | По формуле | 21,8 |
22. Фактический коэффициент запаса K'з | - | По формуле | 1,56 |
--------------------------------
<1> Выбирается по величине
Iс и
Uт.
ПРОГРАММА ЭЛЕКТРИЧЕСКИХ ИСПЫТАНИЙ СИСТЕМЫ ЭЛЕКТРООБОГРЕВА
1. Проверяется правильность выполнения электромонтажа системы электрообогрева в соответствии с проектом.
2. Производится проверка качества сварных соединений путем контроля равномерности распределения силы тока между параллельно включенными стержнями.
Измерение силы тока в стержнях-нагревателях производится токоизмерительными клещами. При выявлении неравномерности распределения силы тока устраняют дефекты сварки.
Результаты испытаний оформляются протоколом.
3. После окончательного исполнения каждого трехфазного участка электрообогрева проверяется соответствие фактических электрических параметров проектным. С этой целью участок электрообогрева подключается к трансформатору на расчетное напряжение и измеряются фактические значения электрических параметров согласно номенклатуре, приведенной в табл. 9.
Таблица 9
Номенклатура измеряемых и расчетных параметров
системы электрообогрева
Наименование параметров | Единица измерения | Метод определения | Участок N |
секции N |
1 | 2 | 3 |
1. Напряжение трансформатора Uт | В | Вольтметром | Uт1 | Uт2 | Uт3 |
2. Напряжение секции Uс | " | " | Uс1 | Uс2 | Uс3 |
3. Сила тока секции Iс | А | Амперметром | Iс1 | Iс2 | Iс3 |
4. Сила тока трансформатора Iт (при включении секций по схеме треугольника) | " | " | Iт1 | Iт2 | Iт3 |
5. Активная электрическая мощность секции Pс | Вт | Ваттметром | Pс1 | Pс2 | Pс3 |
6. Активная электрическая мощность участка Pу | " | По формуле Pу = Pс1 + Pс2 + Pс3 | - | Pу | - |
7. Коэффициент мощности секции  | | По формуле | | | |
8. Потери напряжения секции  | В | По формуле | | | |
9. Полное сопротивление секции Zс | Ом | По формуле | Zс1 | Zс2 | Zс3 |
10. Активное сопротивление секции rс | " | По формуле | rс1 | rс2 | rс3 |
11. Коэффициент мощности участка  | - | По формуле | - | | - |
4. Результаты измерений в случае отклонения от расчетных данных сообщаются проектной организации для получения от нее рекомендаций по обеспечению нормальной работы.
5. С начала ввода холодильника в эксплуатацию необходимо контролировать работу системы электрообогрева путем измерения и регистрации температуры обогревающей плиты на каждом участке и наблюдения за выходом на автоматический режим работы системы.
Автоматический режим работы системы электрообогрева должен начаться с момента достижения температуры обогревающей плиты +2 °C.
6. В случае невыхода системы на автоматический режим работы (т.е. при отсутствии периодического включения и отключения нагревателей участков) обратиться в проектную организацию для получения рекомендаций по обеспечению нормальной работы системы электрообогрева.
ЖУРНАЛ ЕЖЕДНЕВНОГО КОНТРОЛЯ РАБОТЫ СИСТЕМЫ
ЭЛЕКТРООБОГРЕВА ПОЛОВ (ФОРМА)
Дата, время смены | Номера | Температура, °C | Сила тока секции, А | Показания электросчетчиков, кВт·ч | Результаты осмотра внешних цепей | Примечание (сроки проведения ремонта, даты проверки датчиков, температуры, особые условия эксплуатации) |
участка обогрева | секций участка | камер | воздуха в камере | обогревающей плиты |
по проекту | фактическая | по проекту | фактическая |
| | | | | | | | | | | |
_________________________ _______________________________________________
(подпись проводившего (должность и подпись лица, ответственного
контроль и дата) за работу электрообогрева)