Главная // Актуальные документы // РуководствоСПРАВКА
Источник публикации
М.: Стройиздат, 1977
Примечание к документу
Название документа
"Руководство по проектированию, изготовлению и применению кирпичных и керамических панелей в строительстве зданий"
"Руководство по проектированию, изготовлению и применению кирпичных и керамических панелей в строительстве зданий"
РУКОВОДСТВО
ПО ПРОЕКТИРОВАНИЮ, ИЗГОТОВЛЕНИЮ И ПРИМЕНЕНИЮ
КИРПИЧНЫХ И КЕРАМИЧЕСКИХ ПАНЕЛЕЙ В СТРОИТЕЛЬСТВЕ ЗДАНИЙ
Рекомендовано к изданию решением Научно-технического совета ЦНИИСК им. В.А. Кучеренко Госстроя СССР.
Руководство содержит сведения о проектировании, изготовлении и применении крупнопанельных перегородок, внутренних несущих и наружных панелей из кирпича и керамических камней для зданий различного назначения. Содержатся сведения о материалах, применяемых для изготовления кирпичных и керамических панелей в заводских условиях и на полигонах, о правилах контроля качества, хранения, транспортировки и монтажа зданий из кирпичных и керамических панелей.
Руководство рассчитано на инженерно-технических работников проектных и строительных организаций.
Одним из прогрессивных направлений в индустриализации строительства зданий является крупнопанельное и каркасно-панельное строительство. Наряду с этим дальнейшее расширение получает использование местных строительных материалов: кирпича, керамических камней, камня естественных пород и других материалов. В стране ежегодно выпускается более 40 млрд. шт. кирпича и керамических камней, и в ближайшие годы производство этих материалов будет постоянно увеличиваться.
Советскими специалистами в конце пятидесятых годов было сделано предложение по применению кирпичных и керамических панелей с целью индустриализации возведения зданий из самых распространенных местных материалов, какими являются кирпич и керамика.
Применение вибрирования при изготовлении панелей из кирпича, керамики и природных камней значительно (до двух раз) увеличивает их прочность и уменьшает деформацию ползучести кладки; это является основой для разработки тонкостенных панелей, являющихся разновидностью крупнопанельных конструкций. Большое значение имеет применение кирпичных панелей при строительстве в зимних условиях и в сейсмических районах.
Научно-исследовательскими организациями ЦНИИСК, НИИСФ, НИИСК Госстроя СССР, ЦНИИ Минтрансстроя и др. были проведены большие исследования по определению прочности, технологических параметров, теплотехнических свойств, по экономике применения кирпичных и керамических панелей. Исследования подтвердили положительные качества нового вида конструкции панелей, что послужило основой для массового строительства домов из этих панелей.
К настоящему времени в стране построено более 4 млн. м2 жилой площади крупнопанельных домов со стенами из кирпичных и керамических панелей. Применение тонкостенных кирпичных панелей, как показал большой опыт строительства, дает возможность до двух раз сократить расход кирпича на возведение дома и соответственно уменьшить вес здания. Стоимость домов снижается до 10% по сравнению с обычными домами с кирпичными стенами ручной кладки. Трудовые затраты уменьшаются на постройке до 40%, а сроки возведения домов сокращаются на 30%.
Опыт эксплуатации домов с кирпичными панелями свидетельствует об их удовлетворительных санитарно-гигиенических свойствах.
Применение кирпичных и керамических панелей осуществляется во многих странах Европы (Франция, Дания и др.), Америки и Африки. Кирпичные и керамические панели применяются на строительстве зданий различного назначения (в том числе в качестве навесных панелей стен зданий высотой до 36 этажей). При этом указывается на значительные выгоды в снижении стоимости и сокращении сроков строительства.
Применение кирпичных и керамических панелей нужно рассматривать как дополнительный резерв расширения полносборного строительства.
При составлении Руководства учтены опыт строительства крупнопанельных домов и научно-исследовательские работы, проведенные в ЦНИИСК, ЦНИИЭП жилища, НИИСФ, ЦНИИОМТП, МНИИТЭП, ВНИПИ труда и НИИСК (Киев), ЦНИИ Минтрансстроя. Руководство разработано ЦНИИСК им. Кучеренко Госстроя СССР (д-р техн. наук Н.В. Морозов, д-р техн. наук С.А. Семенцов, кандидаты техн. наук В.А. Камейко и В.П. Хлебцов).
Все замечания и пожелания просьба направлять по адресу: 109389, Москва, 2-я Институтская, д. 6, ЦНИИСК им. В.А. Кучеренко.
1.1. Настоящее Руководство распространяется на проектирование, изготовление и монтаж ограждающих конструкций из кирпичных и керамических панелей жилых зданий высотой до 12 этажей общественных, производственных и сельскохозяйственных зданий.
Панели из кирпича и керамических камней могут применяться в комбинации с бетонными, железобетонными и другими видами панелей. Например, панели наружных стен могут быть из легких бетонов или листовых материалов, панели внутренних стен и перегородок - из кирпича, а панели перекрытий - из железобетона или керамических камней и т.д.
Примечание. При проектировании зданий, возводимых в сейсмических районах, в районах вечной мерзлоты или подземных выработок, на просадочных грунтах, а также в зданиях с помещениями, к температурно-влажностному режиму которых предъявляются особые требования, или помещений с наличием агрессивной среды (холодильников, производственных помещений химической и цветной металлургии и др.) следует учитывать дополнительные требования, предъявляемые соответствующими нормативными документами.
1.2. Кирпичные панели для внутренних стен и перегородок состоят из одного или двух слоев кирпичной кладки толщиной в 1/2 и 1/4 кирпича с заполнением швов раствором; панели для наружных стен помимо конструктивного кирпичного слоя должны иметь теплоизоляционный слой. Для качественного заполнения швов раствором рекомендуется применять вибрирование или использовать подвижные растворные смеси (литые) с химическими добавками.
Фасадные поверхности стеновых панелей могут иметь естественную фактуру из кирпича (под расшивку), а также фактурный слой из раствора или облицовочных плиток.
Поверхностные слои панелей для внутренних стен и перегородок следует выполнять одновременно с изготовлением панели из того же раствора, который применяется для заполнения швов.
Панели должны иметь конструктивную или, при необходимости, учитываемую расчетом арматуру.
1.3. Панели для наружных стен могут быть изготовлены из керамических камней толщиной в 1,

или 2 камня и армированы конструктивной арматурой. Заполнение растворных швов может быть выполнено с применением вибрации или без нее.
1.4. Кирпичные и керамические панели, поступающие на монтаж, должны иметь заводскую готовность: наружные поверхности - окончательную отделку; поверхности панелей внутренних стен и перегородок, поверхности панелей наружных стен со стороны помещения - подготовлены под окраску или оклейку обоями. В панелях с оконными и дверными проемами должны быть вставлены остекленные оконные или дверные блоки.
1.5. Кирпичные и керамические панели изготавливают с закладными деталями, арматурными выпусками, углублениями для образования шпонок и монтажными петлями.
Примечание. При применении для монтажа захватных устройств по соглашению между предприятием-изготовителем и потребителем панели можно изготавливать без монтажных петель.
1.6. Расчет несущей способности стен из кирпичных и керамических панелей и принципы их конструирования должны производиться в соответствии с главой
СНиП II-В.2-71 "Каменные и армокаменные конструкции. Нормы проектирования", "Указаниями по проектированию конструкций крупнопанельных жилых домов" (СН 321-65) и настоящим Руководством.
При теплотехнических расчетах наружных стен следует руководствоваться главами СНиП II-А.6-72 "Строительная климатология и геофизика" и
II-А.7-71 "Строительная теплотехника. Нормы проектирования".
При проектировании жилых домов следует руководствоваться главой СНиП II-Л.1-71 "Жилые здания. Нормы проектирования".
1.7. Изготовление кирпичных и керамических панелей, как правило, должно быть организовано в цехе при кирпичном заводе. В южных районах страны допускается изготовление панелей стендовым способом на полигонах или непосредственно на строительной площадке.
При изготовлении кирпичных и керамических панелей в цехе уплотнение раствора рекомендуется выполнять методом вибрации: на виброплощадке, с помощью виброщита, вибронасадок. Допускается производить уплотнение раствора в одно- и двухслойных панелях поверхностным вибрированием каждого слоя.
2.1. Материалы, применяемые для изготовления панелей (кирпич, цемент, песок, сталь, отделочные и теплоизоляционные материалы), должны соответствовать требованиям действующих ГОСТов.
2.2. Для изготовления кирпичных и керамических панелей могут применяться глиняный и силикатный кирпич, керамические камни и раствор следующих марок:
а) марки кирпича и керамических камней - М75, М100, М125, М150, М200, М250 и М300;
б) марки раствора - М75, М100, М150 и М200.
Примечание. Применение раствора марок М150, М200 допускается при кирпиче марок М150 и выше.
| | ИС МЕГАНОРМ: примечание. Постановлением Минстроя России от 05.12.1995 N 18-103 с 1 июля 1996 года введен в действие ГОСТ 530-95. | |
2.3. Кирпич, применяемый для изготовления кирпичных панелей, должен отвечать требованиям ГОСТ 530-71*, ГОСТ 379-69, ГОСТ 6316-74 и ГОСТ 7484-69*.
2.4. Раствор, применяемый для изготовления кирпичных панелей, можно готовить из следующих материалов:
| | ИС МЕГАНОРМ: примечание. Постановлением Госстроя СССР от 10.07.1985 N 116 с 1 января 1987 года введен в действие ГОСТ 10178-85. | |
а) портландцемент, пуццолановый портландцемент и шлакопортландцемент, отвечающие требованиям ГОСТ 10178-62*;
б) известь как пластификатор, отвечающая требованиям ГОСТ 9179-70;
в) песок, отвечающий требованиям ГОСТ 8736-67*;
| | ИС МЕГАНОРМ: примечание. Взамен ГОСТ 2874-73 Постановлением Госстандарта СССР от 18.10.1982 N 3989 с 1 января 1985 года введен в действие ГОСТ 2874-82. | |
г) вода, отвечающая требованиям ГОСТ 2874-73.
2.5. Для отделки внешних (фасадных) поверхностей панелей наружных стен могут применяться следующие материалы:
а) кирпич лицевой керамический, отвечающий требованиям ГОСТ 7484-69*;
б) кирпич силикатный, отвечающий требованиям ГОСТ 379-69;
в) плитки керамические, отвечающие требованиям ГОСТ 18623-73, ГОСТ 16132-70*, и стеклянные - ГОСТ 17057-71;
| | ИС МЕГАНОРМ: примечание. Постановлением Госстроя СССР от 29.12.1988 N 260 с 1 января 1990 года введен в действие ГОСТ 965-89. | |
г) цемент портландский белый, отвечающий требованиям ГОСТ 965-66*;
д) крошка мраморная, известняковая, доломитовая или из других горных пород, отвечающая требованиям ГОСТ 8267-75 и имеющая марку М200 и морозостойкость марки Мрз25 и выше;
е) песок, отвечающий требованиям ГОСТ 8736-67*;
ж) вода, отвечающая требованиям ГОСТ 2874-73.
2.6. В качестве утеплителя панелей рекомендуются следующие материалы:
пенопласт плиточный марок ПС-1, ПС-4 (ТУ 6-05-1178-75), ПХВ-1 (ТУ 6-05-1179-75), ПВ-1 (ТУ 05-1158-74);
пенополиуретан жесткий самозатухающий ПП-3Н (ТУ 67-66 ВНИИСС), ППУ-3С (плиточный) (ТУ В-56-70);
перлитопластобетон ППБ (ТУ 480-1-145-74);
пенопласт перлитофосфогелевый ПФГ (ГОСТ 21500-76);
плиты полужесткие и жесткие минераловатные на синтетическом связующем (ГОСТ 9573-72*);
плиты полужесткие из стеклянного штапельного волокна (ГОСТ 10499-67);
| | ИС МЕГАНОРМ: примечание. Взамен ГОСТ 10140-71 с 1 января 1983 года Постановлением Госстроя СССР от 04.09.1980 N 135 введен в действие ГОСТ 10140-80. | |
плиты полужесткие и жесткие минераловатные на битумном связующем (ГОСТ 12394-66 и ГОСТ 10140-71);
| | ИС МЕГАНОРМ: примечание. Взамен ГОСТ 8928-70 Постановлением Госстроя СССР от 26.05.1981 N 79 с 1 января 1982 года введен в действие ГОСТ 8928-81. | |
плиты фибролитовые на портландцементе (ГОСТ 8928-70).
2.7. Для теплоизоляционного слоя кирпичных панелей наружных стен могут применяться жесткие и полужесткие эффективные материалы с объемной массой не более 400 кг/м3 в виде плит или блоков, укладываемых плотно друг к другу, или сплошные слои из теплоизоляционных материалов. При двух слоях утеплителя плиты или блоки должны быть уложены со смещением швов на величину не менее их толщины.
Применение минеральной ваты и теплоизоляционных материалов в рассыпном виде не допускается.
2.8. Сварные каркасы и сетки, используемые для армирования кирпичных и керамических панелей, рекомендуется изготавливать из стали следующих видов и классов:
| | ИС МЕГАНОРМ: примечание. Постановлением Госстандарта СССР от 17.12.1982 N 4800 с 1 июля 1983 года введен в действие ГОСТ 5781-82. | |
а) продольные стержни каркасов из горячекатаной арматурной стали круглого или периодического профиля классов А-I, А-II и А-III по ГОСТ 5781-75;
| | ИС МЕГАНОРМ: примечание. Взамен ГОСТ 6727-53 Постановлением Госстандарта СССР от 15.05.1980 N 2108 с 1 января 1983 года введен в действие ГОСТ 6727-80. | |
б) сетки и поперечные стержни каркасов из холоднотянутой проволоки класса В-I по ГОСТ 6727-53*;
в) гибкие стальные связи из нержавеющей или низколегированной горячекатаной стали с повышенной стойкостью к атмосферной коррозии марок 10ХНДП, 10ХНДПШ по ГОСТ 5058-65**, а также из горячекатаной арматурной стали классов А-I и А-II с защитой ее от коррозии;
г) монтажные петли из горячекатаной гладкой арматурной стали класса А-I по ГОСТ 5781-75;
| | ИС МЕГАНОРМ: примечание. Взамен ГОСТ 380-71 в части марок и химического состава сталей Постановлением Госстандарта СССР от 30.03.88 N 924 с 1 января 1990 года введен в действие ГОСТ 380-88. Взамен ГОСТ 380-88 Постановлением Госстандарта России от 02.06.1997 N 205 с 1 января 1998 года введен в действие ГОСТ 380-94. | |
д) закладные детали и соединительные накладки из горячекатаной полосовой, угловой и фасонной стали группы марок Ст.3 по ГОСТ 380-71*.
| | ИС МЕГАНОРМ: примечание. Взамен СНиП III-В.6-62 Постановлением Госстроя СССР от 08.09.1975 N 146 с 1 июля 1977 года введены в действие СНиП III-23-76. Взамен СНиП III-23-76 Постановлением Госстроя СССР от 13.12.1985 N 223 с 1 июля 1986 года введены в действие СНиП 3.04.03-85. | |
2.9. Защиту арматурных выпусков и закладных деталей от коррозии следует производить в соответствии с главами
СНиП II-28-73 "Защита строительных конструкций от коррозии" и III-В.6-62 "Защита строительных конструкций от коррозии. Правила производства и приемки работ".
2.10. Каменные, теплоизоляционные и отделочные материалы, применяемые для изготовления кирпичных и керамических панелей наружных стен, должны удовлетворять требованиям морозостойкости в соответствии с главой
СНиП II-В.2-71.
3. ПРОЕКТИРОВАНИЕ ПАНЕЛЕЙ СТЕН И ПЕРЕГОРОДОК
ИЗ КИРПИЧА И КЕРАМИЧЕСКИХ КАМНЕЙ
КОНСТРУКЦИИ ПАНЕЛЕЙ ИЗ КИРПИЧА И КЕРАМИЧЕСКИХ КАМНЕЙ
3.1. Кирпичные и керамические панели подразделяются:
по назначению - на панели наружных стен, внутренних стен, перегородок и специального назначения (цокольные, фризовые и др.);
по конструкции - на однослойные и слоистые;
по виду воспринимаемых нагрузок - на несущие, самонесущие и ненесущие (навесные).
Примечание. При установлении числа слоев в конструкции панели отделочные и растворные слои не учитываются.
3.2. Для наружных стен могут применяться следующие кирпичные и керамические панели:
однослойные из керамических эффективных камней или облегченного кирпича
(рис. 1);
двухслойные с утепляющим слоем из жестких теплоизоляционных плит
(рис. 2);
трехслойные со средним утепляющим слоем из жестких и полужестких теплоизоляционных плит
(рис. 3);
составные с раздельно изготовляемыми несущим и утепляющим слоями, а затем объединяемыми сваркой закладных деталей или арматурных выпусков
(рис. 4).
Рис. 1. Однослойная панель из керамических
эффективных камней или облегченного кирпича
1 - вертикальный сварной каркас с подъемной петлей;
2 - горизонтальный сварной каркас; 3 - закладная деталь;
4 - паз для шва
Рис. 2. Двухслойная кирпичная панель наружной стены
а - с утеплителем с наружной стороны; б - с утеплителем
с внутренней стороны; 1 - сварной каркас; 2 - подъемная
петля; 3 - закладная деталь; 4 - сварная сетка;
5 - отделочный слой; 6 - кирпич; 7 - утеплитель
Рис. 3. Трехслойная панель наружной стены
1 - сварной каркас; 2 - монтажная петля; 3 - закладная
деталь; 4 - сварная сетка; 5 - отделочный слой;
6 - кирпич; 7 - утеплитель
Рис. 4. Составная кирпичная панель наружной стены
1 - сварной каркас; 2 - подъемная петля;
3 - закладная деталь для укрупнительной сборки панели;
4 - растворный отделочный слой; 5 - кирпич; 6 - утеплитель
3.3. Наружные стены зданий могут быть запроектированы в трех вариантах разрезки: панель на один шаг (2,8 - 3,6 м), на два шага и ленточной (горизонтальной) разрезки. Панели на один или два шага и высотой на один этаж следует делать замкнутыми по контуру. По низу дверного проема панели следует устанавливать временную монтажную связь.
3.4. Керамические панели наружных стен могут проектироваться в 1,

и 2 камня. Панели из керамических камней, как правило, выполняются с открытой фасадной поверхностью, без отделочного слоя. При изготовлении керамических панелей без применения вибрации следует обязательно соблюдать перевязку швов.
3.5. Двухслойные конструкции кирпичных панелей для наружных стен могут быть приняты в двух вариантах:
внутренний несущий слой в 1/2 кирпича и наружный слой из утеплителя в виде жестких плит с отделочным слоем (
рис. 2, а);
наружный слой в 1/2 кирпича выполняется из лицевого кирпича без отделочного слоя, а внутренний слой - из плит жесткого утеплителя с растворным слоем (
рис. 2, б). Конструкции таких панелей рекомендуются для навесных или самонесущих стен.
Слой раствора в обоих вариантах принимается толщиной не менее 40 мм или не менее 30 мм при наличии облицовки плитками с фасадной поверхности. Растворный слой должен быть армирован сеткой из стержней диаметром 3 мм с размером ячеек не более 150 x 150 мм. Защитный слой раствора должен быть не менее 20 мм. Сетки должны быть связаны с каркасами кирпичного слоя.
3.6. В трехслойных панелях наружный фасадный слой выполняется в 1/4 или 1/2 кирпича, внутренний (со стороны помещения) - в несущих стенах в 1/2 кирпича и средний слой - из плит эффективного утеплителя. Наружный слой в 1/4 или 1/2 кирпича может быть выполнен из лицевого керамического или отборного силикатного кирпича без отделочного слоя. Кирпичные слои соединяются между собой сварными каркасами, расположенными в растворных ребрах по периметру панели и контуру проема (см.
рис. 3). В наружных стенах толщина растворных швов (ребер) из тяжелого раствора, в которых расположены каркасы, и толщина ребер по периметру панели должна быть не более 30 мм.
3.7. Для навесных и самонесущих стен рекомендуется проектировать трехслойные панели с гибкими связями без устройства растворных ребер
(рис. 5). Для устройства гибких связей рекомендуется применять нержавеющую или низколегированную сталь, обладающую повышенной стойкостью к атмосферной коррозии, или обычную сталь с антикоррозионным покрытием из цинка толщиной 100 мкм, нанесенным гальваническим (ванным) способом, или другим покрытием, обеспечивающим сохранность связей в течение всего времени. При проектировании таких стен следует руководствоваться также специальными рекомендациями.
Рис. 5. Трехслойная кирпичная панель
с эффективным утеплителем на гибких связях
1 - сварной каркас; 2 - подъемная петля; 3 - закладная
деталь; 4 - гибкие связи из нержавеющей стали
или из стали с антикоррозионным покрытием;
5 - кирпич; 6 - отделочный слой; 7 - утеплитель
3.8. В трехслойной панели со слоями толщиной 1/2 кирпича утеплителем может служить воздушная прослойка толщиной 4 см, экранированная алюминиевой фольгой. В этом случае каждый слой панели в 1/2 кирпича изготавливают раздельно, а затем к кирпичному слою со стороны помещения приклеивают лист алюминиевой фольги горячей битумной мастикой или другими видами клеящих составов.
Раздельно изготовленные панели соединяются между собой стальными соединительными стержнями на сварке, а для получения замкнутой воздушной прослойки по периметрам панели и оконного проема прокладывается антисептированный деревянный брусок сечением 4 x 4 см.
3.9. Для несущих наружных стен многоэтажных зданий может быть рекомендована конструкция составной панели, состоящей из несущей и теплоизоляционной частей, которые изготовляются раздельно.
Несущая часть - кирпичная панель толщиной 14, 18 или 27 см, имеющая монтажные петли и закладные детали для соединения с теплоизоляционной частью. Теплоизоляционная часть - двухслойная панель, состоящая из отделочного слоя и слоя эффективного утеплителя.
Для отделочного слоя могут быть использованы лицевой керамический или отборный силикатный и глиняный кирпич, керамическая плитка по армированному растворному слою (см.
п. 3.5 настоящего Руководства).
Несущая и теплоизоляционная части наружной панели объединяются в заводских условиях или непосредственно на монтаже сваркой закладных деталей. Такие панели могут применяться в условиях, где отсутствуют транспортные механизмы большой грузоподъемности.
3.10. Панели стен, изготовляемые в горизонтальных формах без кантователя, должны быть рассчитаны на усилия, возникающие в момент подъема. В случаях, когда несущая способность кладки не обеспечивает восприятие растягивающих усилий, панели должны быть армированы сварными сетками или каркасами.
3.11. Диаметр арматуры сеток и растянутой продольной арматуры в каркасах должен быть не менее 3 мм, сжатой продольной арматуры - не менее 6 мм.
Диаметр арматуры в горизонтальных швах кладки должен быть не более:
в случаях пересечения арматуры в швах - 5 мм;
без пересечения арматуры в швах - 8 мм.
Расстояние между стержнями сетки должно быть не более 12 и не менее 3 см.
3.12. Если принятая арматура учитывается при расчете панелей, то процент армирования двойной арматуры должен быть не менее 0,1% (по 0,05% у каждой поверхности панели), для растянутой продольной арматуры - 0,05%.
При армировании панелей конструктивной арматурой площадь сечения вертикальной арматуры панели должна быть не менее 0,25 см2/м длины панели, горизонтальной арматуры - 0,25 см2/м высоты панели.
3.13. В горизонтальном шве под опорами сборных железобетонных или стальных балок или перемычек, укладываемых на панели, должна быть уложена арматурная сетка такой длины, чтобы она не менее чем на 30 см переходила за конец перемычки. Длина опорных участков перемычек должна быть не менее 20 см.
3.14. Соединения панелей наружных и внутренних стен между собой, а также панелей наружных стен с элементами перекрытий рекомендуется выполнять стальными связями, приваренными к закладным деталям, или предусматривать приварку связей к арматурным выпускам панелей.
Сварные закладные детали, не приваренные к арматурным каркасам, рекомендуется проектировать с анкерами из стальных стержней периодического профиля класса А-III. Допускается применять стык панели, выполняемый замоноличиванием бетоном или раствором с перепуском арматуры.
3.15. При применении замоноличиваемых стыков с перепуском арматуры необходимо дополнительно предусматривать сварные монтажные соединения для обеспечения устойчивости здания на период твердения бетона или раствора в стыках.
3.16. Толщина закладных деталей должна быть не менее 6 мм. Суммарное сечение стержней связей в узле для каждого направления должно быть не менее 2 см2. Длина сварных швов определяется расчетом из условия их равнопрочности сечениям связей и должна быть не менее 5 см. Толщина шва (по катету) должна быть не менее 6 мм и не более

, где

- наименьшая толщина свариваемых деталей.
Закладные детали и соединительные стержни должны быть расположены в углублениях (уступах, четвертях) панелей с тем, чтобы обеспечить необходимый защитный слой цементного раствора.
3.17. В панелях длиной до 6 м необходимо устанавливать две подъемные петли, в панелях длиной более 6 м - четыре подъемные петли.
Подъемные петли стеновых панелей рекомендуется проектировать таким образом, чтобы они не выходили за плоскости (грани) панели, имели соответствующую анкеровку или были приварены к арматурным каркасам.
Подъемные петли стеновых панелей рекомендуется использовать в качестве фиксаторов при укладке панелей перекрытий. В тех случаях, когда подъемные петли препятствуют установке панелей перекрытий, их необходимо срезать. Указание об этом должно быть сделано в проекте.
Отгиб подъемных петель в панелях или кирпичных слоях толщиной менее 18 см и при отсутствии углублений на поверхности панели не допускается.
Диаметр подъемных петель панелей должен определяться в зависимости от веса панели согласно СН 321-65. Марку стали принимать по указаниям
п. 2.8 настоящего Руководства и главы
СНиП II-21-75 "Бетонные и железобетонные конструкции".
3.18. В зданиях со стенами из панелей рекомендуется применять элементы перекрытий размером "на комнату" в виде комплексной (составной) крупноразмерной конструкции с акустически неоднородным раздельным полом, обладающей высокой заводской готовностью. Допускается также применение других видов настилов и панелей перекрытий. При проектировании конструкции панельных перекрытий надлежит руководствоваться СН 321-65 и другими нормативными документами. Панели настила перекрытий должны быть связаны между собой и со стеновыми панелями запусками в наружную стену и сваркой закладных деталей. При этом, если расстояние между поперечными стенами 3,6 м и более, то связи устанавливаются не реже чем через 1,8 м. Если расстояние между поперечными стенами 3,2 м и менее, то связи разрешается устраивать только в местах пересечений внутренних и наружных стен. Опорные участки элементов перекрытий должны быть калиброваны и иметь отклонение по высоте не более +/- 5 мм, о чем должно быть сделано указание в проекте.
3.19. Проектная величина опирания настилов и панелей перекрытий на стену определяется расчетом и принимается равной не менее 6 см при пролете перекрытий до 4 м и не менее 8 см при пролетах 4 м и более.
3.20. Пустоты опорных участков пустотелых или ребристых панелей (настилов) перекрытий, опирающихся на стены, должны быть заделаны на заводе специальными бетонными вкладышами на растворе или бетоном, о чем должно быть сделано указание в проекте. Кроме того, должны соблюдаться конструктивные указания СН 321-65.
3.21. Во всех случаях, когда можно ожидать неравномерную осадку зданий (например, при его возведении на разнородных грунтах или отдельными участками в разное время), должны быть сделаны осадочные швы.
Расстояние между температурными швами должно определяться по расчету на температурные воздействия или на основе имеющегося опыта строительства аналогичных зданий. При отсутствии расчетных или натурных обоснований температурные швы в домах с кирпичными наружными стенами должны предусматриваться на расстояниях не более 95 м во II и III климатическом районе и 70 м в I климатическом районе (глава СНиП II-Л.1-71).
3.22. Вертикальные стыки панелей наружных стен должны либо совпадать и перекрываться поперечными несущими стенами, либо должна быть обеспечена нахлестка стыкуемых элементов. В любом случае поперечные несущие стены должны быть заведены в наружные не менее чем на 30 мм (рис. 6).
Рис. 6. Стыки панелей
а, б - вертикальный; в, г - горизонтальный;
1 - упругая прокладка; 2 - мастика; 3 - защитное
покрытие; 4 - бетон или раствор; 5 - шпонки в торце панели;
6 - изоляционная прокладка; 7 - теплоизоляция;
8 - упругая прокладка
Горизонтальные стыки панелей наружных стен рекомендуется располагать на уровне панелей перекрытий. Недопустимо применение плоских горизонтальных стыков между панелями наружных стен толщиной менее 30 см.
При проектировании стыков панелей наружных стен следует руководствоваться МРТУ 7-16-66 и СН 321-65.
3.23. Расчет перемычек, являющихся частью панели (например, над оконными и дверными проемами), производится на нагрузки, передающиеся непосредственно на перемычку в пределах ее пролета в свету, включая вес подоконного участка вышерасположенной панели и нагрузку от простенков, если они расположены полностью или частично над перемычкой, а также на усилия, возникающие при перекосах панелей из-за неравномерных осадок оснований.
При расчете перемычек следует руководствоваться СН 321-65 и настоящим Руководством.
3.24. Расчет перемычек кирпичных панелей следует производить как армированных кирпичных балок.
В случае, если прочность кирпичных кладок при расчете на поперечную силу окажется недостаточной, необходима постановка хомутов, расчет которых производится в соответствии с главой
СНиП II-21-75.
3.25. Участки кирпичной панели под опорами сборных железобетонных перемычек (например, над дверными проемами во внутренних стенах) должны быть проверены расчетом:
а) на местную нагрузку, равную опорному давлению перемычки с учетом всех расчетных нагрузок, передаваемых на эту перемычку в пределах ее пролета в свету;
б) на сумму нагрузки, равной опорной реакции перемычки (с учетом только веса настила панели перекрытия и полезной условной нагрузки, равной 75 кгс/м2) и нагрузки на простенок от вышележащих этажей, соответствующей площади опорного участка.
3.26. Теплотехнический расчет кирпичных и керамических панелей следует производить в соответствии с главой
СНиП II-А.7-71.
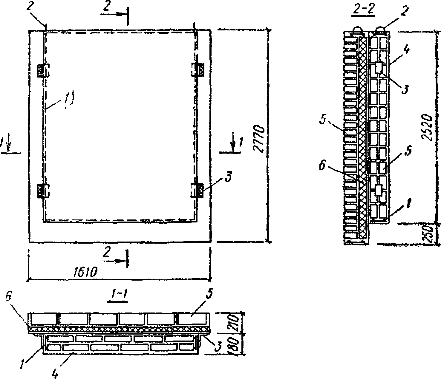
ПАНЕЛИ ВНУТРЕННИХ СТЕН И ПЕРЕГОРОДОК
3.27. Для внутренних несущих стен между помещениями применяются:
однослойные панели в 1/2 кирпича с наружными отделочными слоями и общей толщиной 14 см (
рис. 7, б);
панели из двух слоев по 1/4 кирпича с промежуточными и наружными отделочными слоями при общей толщине 18 см (
рис. 7, в);
панели в два слоя по 1/2 кирпича с промежуточным и наружными отделочными слоями при общей толщине 27 см (рис. 7, г).
Примечание. Минимальная толщина межквартирных стен принята 18 см по условиям требования звукоизоляции. Повышение звукоизоляционных свойств внутренних стен из кирпичных панелей может быть достигнуто также применением слоистых конструкций.
Рис. 7. Панели внутренних стен
а - в 1/4 кирпича; б - в 1/2 кирпича; в - два слоя
по 1/4 кирпича; г - два слоя по 1/2 кирпича; 1 - сварной
каркас; 2 - подъемная петля; 3 - закладная деталь;
4 - сварной каркас только в двухслойных панелях
высотой более 1,5 м; 5 - отделочный слой; 6 - кирпич
3.28. Двухслойные кирпичные панели толщиной 18 и 27 см необходимо изготавливать без сквозных вертикальных швов, применяя сдвижку кирпичных слоев относительно друг друга на 1/2 кирпича.
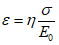
3.29. Кирпичные панели толщиной в 1/4 кирпича с наружными отделочными слоями при общей толщине 8 см следует применять только для ненесущих перегородок производственных зданий (рис. 8) или для межкомнатных перегородок жилых домов (см. рис. 7, а).
Рис. 8. Панель-перегородка для промзданий
а - панель толщиной в 1/4 кирпича;
б - панель толщиной в 1/2 кирпича; 1 - сварной каркас;
2 - монтажная петля; 3 - закладная деталь;
4 - отделочный слой; 5 - кирпич
Принципы конструирования панелей перегородок те же, что и панелей внутренних стен.
3.30. Для изготовления кирпичных панелей несущих стен и перегородок следует применять глиняный или силикатный кирпич и раствор марок, указанных в
п. 2.2 настоящего Руководства.
3.31. Кирпичные панели внутренних несущих стен следует армировать сварными каркасами, устанавливаемыми в растворных швах или ребрах; толщина ребер назначается по конструктивным соображениям, но не менее 30 мм.
Сварные каркасы устанавливают по наружному периметру панели и по контуру проемов.
Вертикальные сварные каркасы устанавливают в растворных швах на расстоянии, не превышающем 1600 мм. Горизонтальные сварные каркасы в двухслойных кирпичных панелях толщиной 18 и 27 см устанавливают в середине высоты панели.
Поперек вертикального сквозного шва двухслойных кирпичных панелей на расстоянии, не превышающем 1000 мм, рекомендуется устанавливать плоские горизонтальные сварные каркасы длиной 500 мм из проволоки диаметром 4 мм.
В местах пересечений горизонтальные каркасы следует пропускать сквозь вертикальные так, чтобы вертикальная арматура была расположена возможно ближе к поверхности панели. При этом должна быть выдержана установленная толщина защитного слоя раствора.
Перед установкой в форму плоские сварные арматурные каркасы рекомендуется объединять в один пространственный блок приваркой мест пересечений контактной точечной сваркой.
РАСЧЕТНЫЕ ХАРАКТЕРИСТИКИ КЛАДКИ ИЗ ВИБРОКИРПИЧНЫХ ПАНЕЛЕЙ
3.32. Расчетные сопротивления сжатию виброкирпичной кладки панелей толщиной 8 см (1/4 кирпича), 12 см (1/2 кирпича), 18 см (2 слоя по 1/4 кирпича) принимаются по табл. 1. Расчетные сопротивления для кладки панелей толщиной в один кирпич принимаются по табл. 1 с коэффициентом 0,85.
Марка кирпича | Расчетное сопротивление R, кгс/см2, при марке раствора |
М200 | М150 | М100 | М75 |
М300 | 56 | 53 | 48 | 45 |
М250 | 52 | 49 | 44 | 41 |
М200 | 48 | 45 | 40 | 36 |
М150 | 40 | 37 | 33 | 31 |
М125 | 36 | 33 | 30 | 29 |
М100 | 31 | 29 | 27 | 26 |
М75 | - | 25 | 23 | 22 |
Примечания: 1. Расчетные сопротивления сжатию виброкирпичной кладки толщиной 25 см и более следует принимать по табл. 1 с коэффициентом 0,85. 2. Расчетные сопротивления, приведенные в табл. 1, относятся к участкам кладки шириной не менее 40 см. Для самонесущих и несущих стен допускается применять панели с простенками шириной менее 40 см, но не менее 32 см; при этом расчетные сопротивления кладки следует принимать с коэффициентом 0,8. |
При освоении заводами производства панелей является обязательной проверка испытаниями образцов этих изделий, изготовленных на заводе. Панели испытываются в натуральную величину или в виде участков шириной не менее 1,5 м, высотой не менее 2 м по программе, разработанной проектной организацией. Испытания должны подтвердить соответствие прочности изделий требованиям проекта.
3.33. Расчетные сопротивления виброкирпичной кладки главным растягивающим усилиям

, учитываемые при расчете перемычек над проемами, принимаются при возможном разрушении по швам (по косой штрабе) равными 1,5 кгс/см2; для перевязанного сечения (при разрушении по кирпичу) при кирпиче марки М75 - 2 кгс/см2, марки М100 - 2,5 кгс/см2, марки М150 - 3 кгс/см2, для кирпича марки М200 и М300

принимаются по экстраполяции.
3.34. Расчетные сопротивления арматуры

в армированной кладке принимаются по
табл. 13 главы СНиП II-В.2-71.
Модуль упругости

(начальный модуль деформации) виброкирпичной кладки определяется по формуле

,
где

- упругая характеристика для соответствующего вида кладки, принимается по
табл. 15 главы СНиП II-В.2-71;

- расчетное сопротивление вибрированной кладки.
3.35. Полная относительная деформация

виброкирпичной кладки при напряжении с учетом ползучести определяется по формуле

,
где

при кладке из глиняного кирпича пластического и полусухого прессования,

при кладке из силикатного кирпича и бетонных камней,

при кладке из природного камня.
3.36. Отношение

- расчетной высоты стены из виброкирпичных панелей в пределах этажа к ее толщине - не должно превышать:

при проценте армирования вертикальной арматурой 0,1 и менее;

при проценте армирования вертикальной арматурой более 0,1.
3.37. При расчете на сжатие наружных стен, выполненных из слоистых панелей, состоящих из виброкирпичных и теплоизоляционных слоев, принимается, что все нагрузки передаются только на несущие слои. При наличии двух виброкирпичных слоев, разделенных теплоизоляцией, каждый слой рассчитывается самостоятельно на приложенные к нему нагрузки.
4. ИЗГОТОВЛЕНИЕ КИРПИЧНЫХ ПАНЕЛЕЙ
4.1. Кирпичные панели изготовляются по рабочим чертежам типовых проектов зданий, утвержденных в установленном порядке.
Примечание. Панели для опытных домов могут быть изготовлены по экспериментальным проектам.
4.2. Кирпичные панели для внутренних и наружных стен зданий изготовляются на цементном растворе. Рекомендуется применять неорганические пластификаторы - глину или известь.
Рабочую консистенцию раствора, определяемую глубиной погружения стандартного конуса, рекомендуется устанавливать в зависимости от способа подачи и метода изготовления панелей. При консистенции раствора, равной 8 - 12 см, кирпич перед укладкой в форму необходимо смачивать.
4.3. Толщина швов между кирпичами при раскладке в форму панели должна быть в пределах 8 - 15 мм.
Примечание. На отдельных участках допускаются швы толщиной до 30 мм.
4.4. Качество сварных сеток и каркасов, используемых при изготовлении панелей, должно соответствовать требованиям действующих ГОСТ, ТУ.
4.5. Прочность кирпичной кладки панели при отпуске на строительную площадку должна соответствовать проектной.
Прочность кирпичной панели определяется по прочности кирпичных призм высотой 40 см и сечением 14 x 40 см, изготовленных по той же технологии и испытанных на сжатие до отправки панелей на строительную площадку. Предельная прочность кладки при сжатии кирпичных призм не должна быть меньше значений, приведенных в табл. 2.
Таблица 2
Марка кирпича | Предельные сопротивления, кгс/см2, при марке раствора |
М200 | М150 | М100 | М75 |
М300 | 140 | 132 | 120 | 112 |
М250 | 130 | 122 | 110 | 102 |
М200 | 120 | 112 | 100 | 90 |
М150 | 100 | 92 | 82 | 77 |
М125 | 90 | 82 | 75 | 72 |
М100 | 77 | 72 | 67 | 65 |
М75 | - | 62 | 57 | 55 |
При освоении заводом производства панелей должны быть выполнены указания
п. 3.32 настоящего Руководства.
4.6. Швы кирпичных панелей должны быть тщательно заполнены раствором.
Толщина внутреннего отделочного растворного слоя должна быть не менее 5 мм, наружного фасадного слоя, укладываемого по кирпичу, - не менее 10 мм, по жесткому или полужесткому утеплителю - не менее 40 мм.
4.7. Установку оконных и дверных блоков и отделку откосов рекомендуется производить в заводских условиях после тепловлажностной обработки панелей.
Не допускается установка оконных и дверных блоков, а также переплетов и дверей, не покрытых олифой. Плоскости коробки, соприкасающейся с панелью, до установки должны быть обиты одним слоем толя. Зазор по периметру коробки и панели следует тщательно проконопатить.
Коробка должна быть надежно закреплена в проеме забивкой гвоздей в деревянные пробки, постановкой скоб и т.п.
4.8. Панели должны иметь однородную структуру отделочного слоя, ровные грани и не иметь трещин. Усадочные трещины затираются на заводе-изготовителе.
Кривизна панелей допускается не более 3 мм/м и не более 6 мм на всю длину панели.
4.9. Отклонения размеров стеновых панелей от проектных не должны превышать следующие величины:
по длине и высоте панели +/- 5 - 10 мм;
по толщине панели +/- 5 мм;
по разности диагоналей 10 мм;
по толщине защитного слоя арматуры +/- 5 мм;
по размерам смещения закладных деталей +/- 5 мм;
по отклонениям в положении оконных
и дверных проемов +/- 5 мм.
ТЕХНОЛОГИЯ ИЗГОТОВЛЕНИЯ КИРПИЧНЫХ ПАНЕЛЕЙ
4.10. Изготовление кирпичных панелей рекомендуется производить в специальных цехах, построенных по типовым проектам при кирпичных заводах.
Примечание. Допускается в начальный период освоения производства панелей строительство цеха по экспериментальному проекту.
Изготовление в заводских условиях может вестись следующими способами: стендовым, агрегатно-поточным и конвейерным.
Изготовление кирпичных панелей рекомендуется производить либо в горизонтальном положении в металлической опалубке, либо в вертикальном положении, при котором могут изготовляться панели с растворным отделочным слоем или без него.
Примечание. Изготовление панелей на открытых полигонах может быть организовано в южных районах страны или в условиях постройки при изготовлении панелей в небольших объемах и в сельском строительстве.
4.11. При производстве кирпичных панелей приготовление раствора производится в растворомешалках с весовым дозированием составляющих.
4.12. Продолжительность перемешивания раствора в растворомешалке должна составлять не менее двух минут.
4.13. Песок для приготовления раствора должен употребляться просеянным с предельной крупностью зерен 2,5 мм.
4.14. Подбор состава раствора из условий прочности и подвижности производится заводской лабораторией.
4.15. Глиняное молоко должно приготовляться на специальной установке с размывом глины водой до насыщения.
4.16. Для подачи раствора из растворного узла к постам формования панелей могут применяться растворонасосы, пневмокамерные питатели, самоходные растворораздатчики, кюбели и др.
4.17. При изготовлении кирпичных панелей уплотнение раствора рекомендуется производить с помощью виброплощадок, виброщитов, вибронасадок и виброреек с частотой колебаний не менее 2800 - 3000 колебаний в минуту и с амплитудой не ниже 0,3 мм. Продолжительность вибрации при использовании виброплощадок и виброщитов должна быть 30 - 40 с.
4.18. До заполнения раствором швов и диафрагм должна производиться проверка правильности расположения арматуры и закладных деталей и их антикоррозионной защиты в соответствии с проектом.
4.19. Укладку кирпича в форму для несущих панелей рекомендуется производить по шаблонам.
4.20. Ускоренное твердение панелей производится в камерах тепловлажностной обработки любого типа. Предпочтение следует дать камерам щелевого типа. Ориентировочные режимы тепловлажностной обработки приведены в табл. 3.
Таблица 3
Панели и способы тепловой обработки | Цикл тепловой обработки, ч |
подъем температуры | тепловая обработка при 75 - 100 °C | остывание до 25 °C | всего |
Камеры с температурой 95 - 100 °C (по методу Семенова): | | | | |
наружные стеновые панели | 2 | 6 | 4 | 12 |
внутренние стеновые панели | 2 | 4 | 2 | 8 |
Камеры с температурой 75 - 80 °C: | | | | |
наружные стеновые панели | 2 | 6 | 2 | 10 |
Примечания: 1. Режимы тепловлажностной обработки кирпичных панелей уточняются заводской лабораторией. 2. Для ускорения твердения раствора могут применяться химические добавки, а также использоваться неостывший кирпич. |
4.21. При тепловлажностной обработке в пропарочных камерах панели верхнего яруса должны защищаться от капель конденсата закрытием формы полиамидными пленками, брезентом или щитами. Колпаки и крышки камер должны иметь уклон для стока конденсата.
4.22. Рекомендуются следующие составы смазок для форм (в процентах по весу):
а) масло трансмиссионное автотракторное (нигрол) . . . . . . . . . . 15
мыло хозяйственное (порошок) . . . . . . . . . . . . . . 0,3 - 0,5
вода . . . . . . . . . . . . . . . . . . . . . . . . . 84,7 - 84,5
б) масло автотракторное (автол) . . . . . . . . . . . . . . . . . . 15
мыло хозяйственное (порошок) . . . . . . . . . . . . . . 0,3 - 0,5
вода . . . . . . . . . . . . . . . . . . . . . . . . . 84,7 - 84,5
в) петролатум . . . . . . . . . . . . . . . . . . . . . . . . . . . 50
керосин или соляровое масло . . . . . . . . . . . . . . . . . . . 50
г) петролатум . . . . . . . . . . . . . . . . . . . . . . . . . . . 33
керосин или соляровое масло . . . . . . . . . . . . . . . . . . . 67
Примечание. Допускаются также другие составы смазок для форм, опробованные при производстве бетонных и железобетонных панелей.
4.23. Стеновые двухслойные панели с эффективным утеплителем из плит изготавливают в соответствии с рабочими чертежами двумя способами: слоем утеплителя вниз и вверх. Панели, облицованные керамической плиткой или лицевым кирпичом, изготавливают лицом вниз.
Состав и очередность операции при изготовлении панели слоем утеплителя вверх и растворным отделочным слоем следующие.
Очищается поверхность формы, собирается бортовая опалубка, устанавливается вкладыш проема, образующий откосы (если формуются панели с проемом), и проверяются размеры сторон и диагоналей. Смазывается поверхность формы. Устанавливается арматура и закрепляются к форме в проектном положении закладные детали. Расстилается раствор толщиной 30 - 40 мм.
По раствору раскладывается кирпич с соблюдением толщины швов между кирпичами 8 - 15 мм. По кирпичу расстилается раствор толщиной 20 - 25 мм и производится вибрация.
По раствору укладываются плиты утеплителя.
По верху уложенных плит утеплителя укладывается на подкладках арматурная сетка и расстилается раствор. Вибрация верхнего растворного слоя осуществляется виброрейкой. Заглаживание поверхности панели производится затирочной машиной. Общий цикл изготовления панелей не должен превышать одного часа.
Состав и очередность операций при изготовлении панели слоем утеплителя вниз с отделочным растворным слоем следующие.
Очищается поверхность формы, собирается бортовая опалубка, устанавливается вкладыш проема, образующий откосы (если формуется панель с проемом), и проверяются размеры сторон и диагоналей опалубки. Поверхность формы смазывается. Устанавливается арматура и закрепляются к форме в проектном положении закладные детали. Под арматурные каркасы и сетки укладываются растворные подкладки или фиксаторы другого типа для соблюдения необходимого защитного слоя. Расстилается раствор толщиной, предусмотренной по проекту.
По раствору укладываются впритык плиты утеплителя. В местах пропуска каркасов арматуры шов должен иметь толщину 25 - 30 мм. По верху уложенного утеплителя расстилается верхний слой раствора толщиной 20 - 25 мм, на раствор укладывается кирпич с соблюдением толщины швов 8 - 15 мм, а по кирпичу расстилается верхний слой раствора толщиной 20 - 25 мм, после чего производится вибрация.
По окончании вибрации укладывается отделочный слой раствора, который разравнивается и уплотняется виброрейкой. Заглаживание поверхности панели производится затирочной машиной.
При отделке панели керамической плиткой поддон формы не смазывается. Ковровая керамика укладывается с учетом совпадения швов между рядами плиток соседних ковров как в горизонтальном, так и в вертикальном направлениях. Отклонение швов допускается не более +/- 1 мм.
По слою керамической плитки укладывается и расстилается растворный слой толщиной 15 - 20 мм. Дальнейшие операции производятся аналогично изготовлению панели без керамической облицовки.
4.24. Стеновые трехслойные панели с эффективным утеплителем изготовляются в той же последовательности, что и панели двухслойные, изготовляемые в положении слоем утеплителя вверх.
Дополнительно производится укладка по утеплителю и раствору второго слоя кирпича и раствора с последующим уплотнением вибрацией. При этом время изготовления панели не должно превышать одного часа. При укладке утеплителя в многослойные панели должны строго соблюдаться проектные размеры толщины слоя утеплителя и растворных ребер.
Плиты утеплителя должны транспортироваться с завода-изготовителя к месту укладки в форму в контейнерах, обеспечивающих сохранность толщины плит и их геометрических размеров. Укладку утеплителя из жестких минераловатных плит рекомендуется производить пакетами.
Поверх кирпичного слоя расстилается слой раствора толщиной 15 - 20 мм и производится вибрирование. Заглаживание поверхности производится затирочной машиной или виброрейкой, после чего панель подвергается тепловлажностной обработке. При послойной вибрации период между укладкой и вибрацией первого и последнего слоев раствора не должен превышать 30 мин.
4.25. При изготовлении панелей внутренних стен толщиной в 1/4, 1/2 кирпича, 2 слоя по 1/4 кирпича и 2 слоя по 1/2 кирпича после подготовки формы, установки арматуры и закрепления закладных деталей к форме расстилается раствор толщиной 20 - 25 мм для панели со слоями в 1/4 кирпича и толщиной 30 - 40 мм для панели со слоями в 1/2 кирпича. На раствор раскладывается кирпич с соблюдением толщины швов 8 - 15 мм. В целях обеспечения постоянства толщины растворных швов раскладку кирпичей следует производить по шаблону. Поверх кирпичного слоя расстилается раствор толщиной 20 - 25 мм. При изготовлении однослойных панелей производится вибрирование и заглаживание верхней поверхности. При изготовлении двухслойных панелей после разравнивания растворного слоя производится раскладка кирпича второго слоя, а затем расстилается раствор верхнего слоя толщиной 20 - 25 мм и производится вибрирование и заглаживание поверхности.
4.26. При изготовлении трехслойных кирпичных панелей с эффективным утеплителем на гибких связях необходимо обеспечить укладку плит утеплителя сплошным слоем без зазоров, чтобы исключить появление растворных диафрагм (мостиков холода).
4.27. Изготовление панели из облицовочного, силикатного кирпича или керамических камней без растворных отделочных слоев для наружных, внутренних стен и перегородок может производиться в вертикальном положении на специальном стенде или в горизонтальном - в металлической форме с матрицей.
Изготовление кирпичных и керамических панелей в вертикальном положении осуществляется на стенде, у которого уровень кладки может изменяться по высоте, чем обеспечиваются оптимальные условия для работы каменщика.
4.28. Панели наружных стен с открытой фактурной поверхностью можно изготовлять в горизонтальных формах с применением матрицы, имеющей гнезда для раскладки кирпича или керамического камня в соответствии с принятым в проекте рисунком. Наличие ребер в матрице обеспечивает расшивку швов кладки заданной конфигурации.
4.29. Форма ребер матрицы может быть круглой, прямоугольной или трапециевидной; трапециевидные ребра должны быть закреплены на днище широким основанием.
В зависимости от способа уплотнения зазоров между кирпичами и выступами матрицы (рис. 9, а), высота ребер может быть различной.
Рис. 9. Матрица для раскладки кирпича
или керамических камней
а - матрица в сочетании с резиновым вкладышем L;
б - матрица, у которой для уплотнения зазоров
между кирпичом и ребрами служит сухой сеяный песок;
1 - кирпич; 2 - основание матрицы; 3 - выступ
матрицы; 4 - вкладыш
4.30. Рекомендуются два способа уплотнения зазоров: сухим сеяным песком или фигурными вкладышами из пористой резины.
При уплотнении зазора песком размеры ячеек матрицы (по днищу), учитывая допуски камня, должны быть на 2 мм больше стандартных размеров кирпича (камня). Высота ребер назначается равной глубине прорезки швов (5 - 10 мм).
После раскладки кирпича (камня) в ячейки матрицы зазоры заполняются сухим сеяным песком, для чего песок ровным (1 - 1,5 мм) слоем наносится на всю поверхность формы (на кирпичи и в промежутки между ними), а затем сметается в швы.
При уплотнении зазора между кирпичом и ребрами матрицы с помощью фигурных вкладышей из пористой резины длина и ширина ячеек матрицы (по днищу) должна быть на 2 мм больше размеров кирпича.
Форма ребер матрицы может быть прямоугольной и трапециевидной. Ширина ребер назначается на 2 мм меньше, чем средняя ширина шва, а высота - равной глубине заданной расшивки швов плюс толщина резинового вкладыша.
Резиновый вкладыш укладывается в каждую ячейку матрицы. Он представляет собой прямоугольную рамку с перемычкой в середине. Ширина контура рамки и перемычки равна 10 мм. Кирпич укладывается в ячейки матрицы на резиновый вкладыш, после чего выполняются операции по армированию панели, заполнению швов раствором, укладке утеплителя и т.д. (см.
рис. 9). Надежность получения хорошей фактурной поверхности панели повысится, если шов между кирпичами заполнить сухим сеяным песком по способу, указанному в
п. 4.30.
КОМПЛЕКТАЦИЯ И ОТДЕЛКА ПАНЕЛЕЙ ДО ПОЛНОЙ ГОТОВНОСТИ
4.31. После тепловлажной обработки производятся распалубка и поворот панели из горизонтального положения в вертикальное с применением кантователя. Съем панели необходимо выполнять без срывов и толчков. Панели должны быть установлены на контрольные стенды и быть доступными для осмотра со всех сторон.
4.32. В случае отделки панели с наружной стороны декоративным раствором фасадную поверхность очищают от цементной пленки, чтобы обнажить структуру раствора фактурного слоя. Очистка панели производится механизированными инструментами - стальными щетками, шлифовальной машиной, пескоструйным аппаратом или звездчатой фрезой.
Панели, облицованные керамическими плитками, после распалубки, пока их поверхность горячая и влажная, должна быть очищена от бумаги и остатков клея на специальном стенде. Очистка производится горячей водой с применением механизированных щеток.
4.33. После распалубки и контроля производятся окончательная отделка и комплектация панелей, которая включает выполнение следующих работ: исправление дефектов плоскостей и откосов, очистку от раствора стальных закладных деталей и очистку кромок панели, установку оконных или дверных блоков, отделку откосов, установку сливов.
Раствор для исправления дефектов должен быть одинаковым по составу с раствором панели или раствором фактурного слоя. В зимних условиях панели после выгрузки из камер тепловлажностной обработки и исправления дефектов должны находиться в теплом помещении не менее суток.
4.34. После комплектации, отделки и исправления дефектов панели принимаются ОТК и направляются на монтажную площадку или склад готовой продукции.
ПРАВИЛА ПРИЕМКИ И КОНТРОЛЬ ИЗГОТОВЛЕНИЯ ПАНЕЛЕЙ
4.35. На заводах, изготавливающих кирпичные и керамические панели, должен осуществляться систематический контроль:
а) качества материалов, поступающих для изготовления панелей, при этом кирпич, керамические камни, утеплитель, арматура и закладные детали проверяются в соответствии с требованиями рабочих чертежей и действующих ГОСТов для каждой партии материала, поступающего одновременно на завод-изготовитель;
б) за соблюдением установленной технологии приготовления раствора, укладки кирпича, камня и утеплителя, установки закладных деталей и арматуры, а также режима твердения панели;
в) качества готовых панелей.
4.36. Завод-изготовитель обязан снабжать каждую партию панелей, отправляемую с завода на стройку, паспортом, в котором указываются номер паспорта, адрес завода-изготовителя, дата изготовления панелей, тип панелей, номер партии, объемная масса и влажность утеплителя, прочность раствора, кирпича и кладки.
Влажность по массе теплоизоляционных материалов, применяемых в панелях наружных стен при отпуске их с завода, не должна превышать (в процентах):
плиты пенопласта - 15;
фибролит цементный - 10;
минераловатные изделия (плиты) - 5.
4.37. Число панелей в партии принимается равным числу элементов, изготовленных в одну смену, по одной технологии и из одних и тех же материалов.
4.38. Предел прочности раствора определяется испытанием на сжатие в соответствии с ГОСТ 5802-66 образцов размером 7 x 7 x 7 см; от каждой партии испытывается не менее трех образцов.
Предел прочности кладки определяется для каждой партии испытанием на сжатие неармированных кирпичных призм, изготовленных по одной технологии с панелями.
Кирпичные призмы, изготовляемые в металлической разборной форме, должны иметь размеры по высоте 40 см и по сечению 14 x 40 см. Призмы изготовляют по три для каждой партии панелей, хранят в одинаковых условиях с панелями и испытывают в момент отправления панелей со склада готовой продукции, но не ранее чем через сутки после пропарки.
Призмы испытывают по перевязанному сечению.
Перед испытанием на опорные поверхности призм, соприкасающиеся с подушкой пресса, устанавливают на прочном растворе металлические плиты. При испытании скорость нарастания нагрузки на образец не должна превышать за 1 с 10% от предполагаемой разрушающей нагрузки. Предел прочности при сжатии кладки определяется как среднее арифметическое значение результатов испытания образцов. Результаты испытаний образцов заносятся в журнал работ.
4.39. Осмотр внешнего вида и качества отделки поверхностей, а также проверка положения закладных деталей крепления производятся поштучно для всех панелей.
Форма и размеры проверяются у всех панелей: проверка производится с помощью стальной рулетки или шаблона с точностью до 1 мм.
Выверка металлических форм должна проводиться не реже одного раза в месяц. Результаты проверки заносятся в специальный журнал. Отклонения размеров форм от проектных размеров изделий не должны быть больше по длине и ширине формы 5 - 10 мм, по высоте - 5 мм, по разностям диагоналей - 10 мм, по неплоскостности бортов формы и вкладыша для крепления оконного блока - 3 мм.
МАРКИРОВКА И ХРАНЕНИЕ ПАНЕЛЕЙ
4.40. На торцовой грани и внутренней видимой поверхности наносятся несмываемой краской марка панели, дата ее изготовления, штамп ОТК и наименование завода-изготовителя. Размеры букв и цифр по высоте должны быть не менее 10 см.
4.41. Склады хранения панелей и приобъектные склады должны быть оборудованы специальными кассетными устройствами для хранения панелей в вертикальном положении; нижняя плоскость панели при хранении на складе должна находиться на 10 см выше уровня земли (на подкладках).
При хранении наружных стеновых панелей на открытом воздухе верхние торцы должны защищаться от увлажнения.
4.42. Погрузка панелей на транспортные средства и разгрузка их на складе должны производиться кранами с применением траверс, обеспечивающих вертикальную передачу усилий от стропов на панель.
5. МОНТАЖ ЗДАНИЙ ИЗ КИРПИЧНЫХ И КЕРАМИЧЕСКИХ ПАНЕЛЕЙ
ТРАНСПОРТИРОВАНИЕ ПАНЕЛЕЙ И ХРАНЕНИЕ ИХ
НА СКЛАДЕ СТРОИТЕЛЬНОЙ ПЛОЩАДКИ
5.1. Перевозка панелей должна осуществляться в вертикальном положении.
Для этой цели могут быть применены следующие транспортные средства:
панелевозы;
автомашины, оборудованные съемными контейнерами и козлами;
автомобильные трайлеры, буксируемые автотягачами, также оборудованные съемными контейнерами или козлами.
При разгрузке на приобъектном складе все панели рассортировываются по типам и маркам. Расположение и число кассет определяются проектом производства работ.
ТРЕБОВАНИЯ, ПРЕДЪЯВЛЯЕМЫЕ К КАЧЕСТВУ ПАНЕЛЕЙ
И МОНТАЖУ НАДЗЕМНОЙ ЧАСТИ ЗДАНИЯ
5.2. Поступающие на строительную площадку панели должны удовлетворять требованиям
гл. 4 настоящего Руководства.
На торце каждой панели, поступающей на монтаж, должны быть нанесены несмываемой краской наименование завода-изготовителя, штамп ОТК, марка панели и дата ее изготовления.
Подъемные петли панелей не должны иметь изломов и разрывов.
На все обнаруженные дефекты и несоответствия проектным требованиям должен быть составлен акт: до исправления дефектов панель не может быть допущена к монтажу. Панели, имеющие трещины или другие дефекты, должны помещаться отдельно под биркой "брак".
5.3. Монтаж сборных конструкций крупнопанельных зданий должен осуществляться по рабочим чертежам и по проекту производства работ.
Монтаж конструкций (элементов) здания рекомендуется осуществлять непосредственно с транспортных средств ("с колес").
5.4. При монтаже здания оси всех сборных элементов должны располагаться в соответствии с проектом. Отклонения не должны превышать допусков, установленных настоящим Руководством.
5.5. Для обеспечения пространственной жесткости здания особое внимание должно быть уделено правильному и точному выполнению всех узлов сопряжений стеновых панелей между собой, а также с панелями перекрытий и с лестничными площадками. При этом:
а) монтаж панелей стен и перекрытий в зданиях высотой до трех этажей осуществляется на растворе марки не ниже М75, в зданиях высотой до пяти этажей - на растворе марки не ниже М100, в более высоких зданиях марка раствора назначается расчетом.
Прочность раствора, применяемого при монтаже зданий, проверяется путем испытания на сжатие (в соответствии с ГОСТ 5802-66) растворных образцов размером 7 x 7 x 7 см в возрасте 28 - 30 дней. От каждой смены монтажа дома испытывается не менее трех образцов;
б) для восприятия давления от стен вышерасположенных этажей, а также для уменьшения звукопроводности перекрытий, состоящих из панелей или настилов с овальными или круглыми отверстиями; в эти отверстия должны быть поставлены по торцам специальные пробки длиной 8 - 12 см из бетона марки не ниже М100 на растворе марки М50. Установка пробок должна выполняться непосредственно на заводе-изготовителе немедленно после окончания вибрации панелей и извлечения пустотообразователей;
в) после установки панелей или укладки настилов перекрытий должна быть осуществлена анкеровка их между собой и с наружными стенами здания путем сварки соединительных стальных стержней согласно проекту.
Соединительные стержни, связывающие панели, не должны иметь изгибов как в горизонтальных, так и в вертикальных плоскостях.
5.6. Особое внимание должно быть уделено правильной укладке ригелей или других опорных элементов под несущие поперечные стены в уровне перекрытий над подвалом или техническим подпольем.
5.7. При монтаже зданий панели стен и перегородок должны устанавливаться строго вертикально (по отвесу) при помощи специальных приспособлений и шаблонов, обеспечивающих совпадение осей несущих стеновых панелей; отклонение верха панели от вертикали не должно быть более 5 мм. Оси внутренних поперечных несущих и продольных самонесущих панелей во всех этажах должны совпадать с разбивочными осями зданий (допускаемое отклонение не должно превышать 5 мм). Наружные панели устанавливаются по наружной (фасадной) плоскости. Панели поперечных стен здания в местах лестничных клеток выравниваются по плоскостям, обращенным в сторону лестничной клетки.
5.8. Верх всех внутренних и соответственно наружных панелей по каждому этажу должен иметь уровень по всему корпусу согласно проекту (допускаемое отклонение не должно превышать +/- 5 мм).
5.9. Панели и настилы перекрытий должны укладываться горизонтально на раствор марки, предусмотренной проектом.
Горизонтальные швы под опорной частью плит перекрытия, а также вертикальные швы между торцами плит должны быть плотно и полностью по всей длине заполнены раствором. Законченные монтажом участки каждого этажа, выполненные в течение смены, должны быть проверены осмотром снизу, и обнаруженные незаполненные швы немедленно зачеканены раствором марки, указанной в
п. 5.5. Запрещается приступать к монтажу последующего этажа, если имеются не заполненные раствором горизонтальные швы под опорой панелей перекрытия.
Допускаемое отклонение отметок верха панели или настила перекрытия не должно превышать +/- 5 мм.
| | ИС МЕГАНОРМ: примечание. Взамен СН 393-69 Постановлением Госстроя СССР от 04.09.1978 N 175 с 1 июля 1979 года введены в действие СН 393-78. | |
5.10. Сварка узлов крепления панелей и плит перекрытия должна быть выполнена в соответствии с проектом и удовлетворять требованиям "Указаний по сварке соединений арматуры и закладных деталей железобетонных конструкций" (СН 393-69). Сварку следует производить электродами с качественными обмазками типа Э-42.
5.11. Сварные швы должны удовлетворять по внешнему осмотру следующим требованиям:
а) шов должен иметь мелкочешуйчатую поверхность без наплывов и плавный переход к основному металлу;
б) шов должен быть по всей длине плотным и не иметь трещин;
в) по длине шва не должно быть незаверенных кратеров.
5.12. Разрешается приступать к монтажу последующего этажа здания только после выполнения в соответствии с проектом на смонтированном этаже:
а) всех сварных соединений и их антикоррозионной защиты;
б) замоноличенных стыков стеновых панелей;
в) заполнения горизонтальных швов под опорами панелей и настилов перекрытий;
г) создания монтажного горизонта;
д) геодезической выноски разбивочных осей здания;
е) подготовленных к монтажу конструкций следующего этажа.
5.13. При производстве всех основных и вспомогательных работ при монтаже зданий надлежит руководствоваться требованиями главы
СНиП III-А.11-70 "Техника безопасности в строительстве".
ТЕХНОЛОГИЧЕСКАЯ ПОСЛЕДОВАТЕЛЬНОСТЬ
И ПРИЕМЫ МОНТАЖА ЗДАНИЙ <1>
--------------------------------
<1> См. также "Руководство по организации труда при производстве строительно-монтажных работ" (гл. 10). М., Стройиздат, 1971.
5.14. Монтаж зданий производится в соответствии с проектом производства работ и указаниями, приведенными в технологических картах.
В целях повышения точности монтажа рекомендуется применение пространственных кондукторов.
5.15. Для выноски разбивочных осей зданий на каждый этаж должны быть установлены контрольные осевые реперы, заложенные на площадке на расстоянии не менее 10 м и от наружной грани стен дома.
Установка реперов производится следующим образом. При помощи теодолита разбивают основные оси здания первого этажа.
В местах, предназначенных для установки реперов, зарываются деревянные стойки на глубину 100 - 160 см в естественных грунтах. Стойку опиливают на уровне земли и бетонируют кругом ее на глубину 45 - 50 см для того, чтобы она не могла смещаться. Точно на оси здания в торец стойки забивают 150-миллиметровый гвоздь без шляпки таким образом, чтобы гвоздь совпадал с осью здания.
На возведенной цокольной части здания ось наносится масляной краской в виде тонкой черты.
Реперы должны быть защищены от повреждения их автотранспортом, и к ним должен быть обеспечен свободный доступ с теодолитом в течение всего периода монтажа здания.
5.16. Разбивочные оси продольных, двух торцовых и всех межсекционных стен фиксируются при помощи теодолита с использованием для этого контрольных осевых реперов.
Перенос осей здания на возводимые этажи производится при помощи теодолита, установленного точно над центром гвоздя репера. Совмещая ось визирования теодолита с осью, нанесенной на цоколе здания, и поворачивая трубу теодолита в вертикальной плоскости, переносят ось здания на верх панелей этажа, смонтированного и принятого по акту, где ось закрепляется риской, нанесенной масляной краской. Имея также риски с обеих сторон здания и натягивая по ним проволоку, получают основные разбивочные оси здания.
Все остальные поперечные разбивочные оси по этажу определяются и фиксируются при помощи стальной рулетки с отсчетом расстояний до осей, определенных и закрепленных при помощи теодолита.
5.17. Установку панелей надземной части здания следует начинать с лестничной клетки по захваткам, посекционно, обеспечивая пространственную устойчивость монтируемых конструкций. Последовательность монтажа панелей должна быть указана в проекте организации и производства работ.
5.18. Первая панель на каждом этаже устанавливается по наружной стене на противоположной от башенного крана стороне. Установку следующих панелей следует производить в порядке движения "на кран".
5.19. Монтаж каждого этажа здания выполняется с соблюдением указанной ниже последовательности производства работ:
а) выноска разбивочных осей;
б) укладка маяков на месте установки панелей в соответствии с требуемым монтажным горизонтом;
в) расстилка раствора под устанавливаемые панели;
г) установка и выверка двух смежных панелей наружной стены с временным их закреплением;
д) устройство гидро- и теплоизоляции вертикального стыка между панелями;
е) установка с выверкой и временным креплением панели внутренней стены, примыкающей к обработанному вертикальному стыку наружных панелей;
ж) сварка панелей между собой с выполнением антикоррозионной защиты и замоноличиванием вертикального стыка бетоном на всю высоту;
з) подача и расстилка раствора под панели или настилы перекрытия;
и) подъем и укладка панелей или настилов перекрытия;
к) крепление панелей или настилов перекрытия между собой с антикоррозионной защитой и замоноличиванием бетоном;
л) определение монтажного горизонта следующего этажа с помощью нивелира.
5.20. Монтаж зданий может вестись несколькими приемами. Один из приемов заключается в следующем: до начала монтажа стеновых панелей в каждом этаже производится при помощи нивелира от высотных неизменных реперов определение монтажного горизонта, т.е. расчетная отметка положения низа монтируемых стеновых панелей следующего этажа, который фиксируется на установленных уже стеновых панелях маяками в двух точках на расстоянии 20 - 30 см от торца каждой стеновой панели. Каждая стеновая панель устанавливается на сплошной слой цементного раствора, подвижность которого определяется погружением стандартного конуса на 6 - 8 см, и на два вышеуказанных маяка. Маяки имеют размеры в плане 50 x 40 мм и по толщине делаются трех размеров: 5, 10 и 15 мм; полная толщина маяков определяется разностью отметок фактического положения верха установленной панели нижележащего этажа и расчетной отметкой монтажного горизонта следующего этажа. Определение толщин производится для каждого маяка. Результаты подсчетов толщин маяков наносятся на схематический план этажа и передаются бригадиру монтажников к исполнению.
5.21. Выверка наружных стеновых панелей производится по наружным граням стен здания до снятия стропов.
Положение панели при ее установке определяется с помощью причального шнура.
5.22. Положение в плане внутренних стеновых панелей определяется с помощью натянутого причального шнура по плоскости стен и по металлическим фиксаторам, заранее приваренным к закладным деталям и обеспечивающим соосность монтажа панелей.
Положение стеновых панелей по вертикали определяется отвесом-линейкой.
5.23. Расстилка раствора по верху панелей с вентиляционными каналами производится с применением раструба из кровельной стали или специальных рамок с заглушками. После укладки раствора рамки снимаются и производится установка вышележащей панели; в этом случае стыки вентиляционных каналов в каждом этаже должны очищаться от раствора. Стальные раструбы могут оставаться в каналах.
5.24. Поверхность разостланного под панель раствора должна быть на 3 - 5 мм выше поверхности уложенных маяков. Под наружными панелями слой раствора не должен доходить на 30 мм до наружной (фасадной) поверхности.
5.25. Толщина горизонтального шва над всеми панелями и вертикального шва у наружных панелей со стороны фасада должна составлять 20 мм. Толщина отдельных швов допускается не более 30 мм и не менее 10 мм.
5.26. Каждая наружная панель после ее установки на раствор и выверки по отвесу-линейке временно укрепляется подкосами. Внутренние стеновые панели кроме подкоса могут быть укреплены угловыми струбцинами с компенсаторами. Освобождение установленной на раствор панели от стропов может быть выполнено только после постановки и закрепления временных подкосов и струбцин. Число приспособлений для временного крепления панелей должно быть приведено в технологической карте. Подкосы и угловые струбцины могут быть сняты только после приварки всех сварных швов закладных деталей.
5.27. Монтаж всех стеновых панелей следует вести таким образом, чтобы устанавливаемая панель не заводилась сверху, а подводилась на высоте 30 - 40 см от перекрытия и приставлялась сбоку к ранее установленным панелям. Установка санитарно-технических кабин может производиться путем опускания их сверху на подсыпку из сухого песка на перекрытие, в котором предварительно заливаются швы цементным раствором.
5.28. Монтаж панелей или настилов перекрытий производится после окончательного монтажа стеновых панелей на одном из участков данной захватки, выверки правильности установленных стеновых панелей и окончательной сварки их стыков.
5.29. Панели или настилы перекрытий свариваются с помощью соединительных стержней со стеновыми панелями и между собой в соответствии с проектом.
5.30. Производство монтажных работ должно надежно обеспечить в стенах прочность, влаго- и воздухонепроницаемость и теплозащиту стыка. Заделку стыков рекомендуется поручить специальным постоянным рабочим из бригады монтажников. Эти рабочие должны быть проинструктированы и подробно ознакомлены с технологией заделки стыков. Технический персонал должен контролировать качество заделки каждого стыка в здании.
5.31. Приемка технадзором законченных работ - заделки стыков, сварки закладных деталей, покрытия цементным раствором монтажных соединительных стержней, проверки наличия звукоизоляционных прокладок и осуществления звукоизоляционных мероприятий - производится поэтажно, о чем составляется акт, к которому должны быть приложены все акты на скрытые работы.