Главная // Актуальные документы // РуководствоСПРАВКА
Источник публикации
М., 2004
Примечание к документу
Название документа
"Руководство по проектированию и устройству стен подвалов, покрытий и полов с теплоизоляцией из экструзионного пенополистирола "URSA FOAM"
"Руководство по проектированию и устройству стен подвалов, покрытий и полов с теплоизоляцией из экструзионного пенополистирола "URSA FOAM"
ОАО "ЦЕНТРАЛЬНЫЙ НАУЧНО-ИССЛЕДОВАТЕЛЬСКИЙ
И ПРОЕКТНО-ЭКСПЕРИМЕНТАЛЬНЫЙ ИНСТИТУТ
ПРОМЫШЛЕННЫХ ЗДАНИЙ И СООРУЖЕНИЙ"
(ОАО "ЦНИИПромзданий")
РУКОВОДСТВО
ПО ПРОЕКТИРОВАНИЮ И УСТРОЙСТВУ СТЕН ПОДВАЛОВ, ПОКРЫТИЙ
И ПОЛОВ С ТЕПЛОИЗОЛЯЦИЕЙ ИЗ ЭКСТРУЗИОННОГО ПЕНОПОЛИСТИРОЛА
"URSA FOAM"
Зам. генерального директора С.М. Гликин
Руководитель отдела А.М. Воронин
1.1. Руководство распространяется на проектирование и устройство стен подвалов, покрытий и полов зданий различного назначения, а также полов зданий холодильников с теплоизоляцией из плитного экструзионного пенополистирола URSA FOAM.
1.2. При проектировании и устройстве теплоизоляции, кроме настоящих рекомендаций, должны выполняться требования действующих норм по технике безопасности.
1.3. Материалы разработаны для следующих условий:
здания одно- и многоэтажные, I - IV степени огнестойкости с сухим и нормальным температурно-влажностным режимом для строительства на всей территории страны;
стены подвала из штучных материалов (кирпич, камни, бетонные блоки) или монолитного железобетона;
температура холодной пятидневки обеспеченностью 0,92 - до минус 55 °C.
1.4. Проектирование следует вести с учетом указаний следующих действующих норм и рекомендаций:
2.1. В качестве теплоизоляции применяются изделия из экструзионного пенополистирола URSA FOAM. В зависимости от плотности и типа поверхности плиты выпускаются шести марок:
URSA FOAM N-III;
URSA FOAM N-III-PZ;
URSA FOAM N-V;
URSA FOAM N-W;
URSA FOAM N-W-PZ.
2.2. Плиты изготовляют номинальным размером 1250 x 600 мм.
Плиты могут иметь гладкую поверхность или термоуплотненную вафельной структуры (PZ) и форму канта "I" или "L".
2.3. Для наружной изоляции стен подвала, расположенных выше уровня земли, рекомендуются плиты марки URSA FOAM N-W и URSA FOAM N-W-PZ.
Для наружной теплоизоляции стен подвала, расположенных ниже уровня земли, а также холодильников - все марки плит в зависимости от величины действующих нагрузок.
Для изоляции покрытий, стен и покрытий холодильников - плиты марок URSA FOAM N-W, URSA FOAM N-W-PZ, URSA FOAM и URSA FOAM N-III-PZ.
Для внутренней теплоизоляции стен подвала рекомендуется применять плиты марок URSA FOAM N-W и URSA FOAM N-W-PZ.
2.4. Для теплоизоляции покрытий и полов рекомендуется применять плиты марок URSA FOAM N-W, URSA FOAM N-W-PZ, URSA FOAM N-III и URSA FOAM N-III-PZ.
Для теплоизоляции покрытий с эксплуатируемой кровлей, в т.ч. с травяным покровом - плиты марок URSA FOAM N-W, URSA FOAM N-W-PZ, URSA FOAM N-III и URSA FOAM-PZ, а при эксплуатируемых кровлях под автостоянки URSA FOAM N-V.
2.5. Для теплоизоляции полов могут применяться все марки плит URSA FOAM в зависимости от величины нагрузки.
2.6. Показатели физико-технических свойств и номенклатура пенополистирольных плит URSA FOAM приведены в таблице 1.
Таблица 1
Наименование показателя, ед. измерения | Норма показателя для плит URSA FOAM, марок |
URSA FOAM N-III | URSA FOAM N-III | URSA FOAM N-III-PZ | URSA FOAM N-V | URSA FOAM N-W | URSA FOAM N-W-PZ |
1. Плотность, кг/м3, в пределах | 35 | 35 | 35 | 40 | 30 | 30 |
2. Прочность на сжатие при 10%-ой линейной деформации, МПа, не менее | 0,32 | 0,32 | 0,32 | 0,5 | 0,33 | 0,33 |
3. Предел прочности при изгибе, МПа (кгс/см2), не менее | 0,54 | 0,54 | 0,54 | 0,43 | 0,37 | 0,37 |
4. Теплопроводность при  Вт/(м·К), не более | 0,031 | 0,031 | 0,031 | 0,031 | 0,03 | 0,03 |
5. Водопоглощение через 24 ч, % по объему, не более | 0,3 | 0,3 | 0,3 | 0,2 | 0,3 | 0,3 |
6. Паропроницаемость, мг/м·ч·Па, не более | 0,015 | 0,015 | 0,015 | 0,009 | 0,022 | 0,022 |
7. Модуль упругости, МПа | 12 | 12 | 12 | 20 | 12 | 12 |
8. Коэффициент линейного расширения, К-1 | 7·10-5 | 7·10-5 | 7·10-5 | 7·10-5 | 7·10-5 | 7·10-5 |
9. Группа горючести | Г1 | Г1 | Г1 | Г1 | Г1 | Г1 |
10. Поверхность | гладкая | гладкая | PZ | гладкая | гладкая | PZ |
11. Форма канта | 1 | L | 1 | L | 1 | 1 |
12. Толщина, мм | 30 - 140 | 30 - 140 | 50 - 140 | 30 - 140 | 20 | 20 |
13. Длина, мм | 1250 | 1250 | 1250 | 1250 | 1250 | 1250 |
14. Ширина, мм | 600 | 600 | 600 | 600 | 600 | 600 |
3. НОРМЫ ТЕПЛОЗАЩИТЫ И ДАННЫЕ ПО ТОЛЩИНЕ ТЕПЛОИЗОЛЯЦИИ
3.1. Минимальное допустимое сопротивление теплопередаче покрытий зданий различного назначения в различных климатических условиях регламентировано
СНиП 23-02-2003 "Тепловая защита зданий".
Сопротивление теплопередаче ограждающих конструкций зданий холодильников регламентировано
СНиП 2.11.02-87 "Холодильники".
Сопротивление теплопередаче стен подвалов, заглубленных ниже уровня земли, принимается с учетом указаний
СНиП 41-01-2003, а расположенных выше уровня земли - по
СНиП 23-02-2003.
Показатель теплоусвоения полов жилых, общественных и производственных зданий не должен превышать значений, приведенных в
СНиП 23-02-2003. В противном случае предусматривается устройство слоя дополнительной теплоизоляции из плит URSA FOAM.
3.2. По назначению рассматриваемые в работе здания образуют следующие группы:
1. Жилые, лечебно-профилактические и детские учреждения, школы, интернаты;
2. Общественные, кроме указанных выше, административные и бытовые, за исключением помещений с влажным режимом;
3. Производственные с сухим и нормальным влажностным режимом;
4. Холодильники.
3.3. При новом строительстве требуемая толщина слоя теплоизоляции из плитного пенополистирола определена из следующих условий:
- в стенах подвала при несущей части стены, выполненной из кирпича или камней толщиной 510 мм или из бетонных блоков толщиной 500 мм с отделочным штукатурным слоем толщиной 20 мм со стороны помещения;
- в покрытиях, выполненных из сборных железобетонных ребристых плит по серии 1.465.1-21, или многопустотных плит толщиной 220 мм по
ГОСТ 9561-91, или из монолитного железобетона и рулонной кровлей по керамзитобетонной стяжке толщиной 30 мм.
3.4. Теплоизоляция стен подвала рассчитывается только для "теплых" подвалов, в которых предусмотрена нижняя разводка труб систем отопления, горячего водоснабжения, а также труб систем водоснабжения и канализации.
При расположении теплоизоляционного слоя с наружной стороны стены ее влажностный режим (при необходимости) должен быть проверен в соответствии с указаниями
СНиП 23-02-2003; зона возможной конденсации влаги при этом совпадает с наружной поверхностью теплоизоляции.
3.5. Требуемое сопротивление теплопередаче стен подвала над уровнем земли принимается равным сопротивлению теплопередаче наружных стен здания, которое находится по табл.
СНиП 23-02-2003 в зависимости от значения градусо-суток отопительного периода.
3.6. Градусо-сутки отопительного периода вычисляются по формуле:

,
где

- расчетная температура внутреннего воздуха в помещении 1-го этажа, °C;

,

- средняя температура, °C, и продолжительность, сут, периода со средней суточной температурой воздуха ниже или равной 8 °C по
СНиП 23-01-99.
3.7. Требуемая толщина теплоизоляции стены подвала, расположенной выше уровня земли, принимается равной толщине теплоизоляции наружной стены и вычисляется по формуле:

,
где

- приведенное сопротивление теплопередаче наружной стены, принятое в зависимости от значения ГСОП, м
2·°C/Вт;

- толщина несущей части стены, м;

- коэффициент теплопроводности материала несущей части стены, Вт/(м·°C).
3.8. Приведенное сопротивление теплопередаче, м2·°C/Вт, стены подвала, расположенной ниже уровня земли, определяемой по формуле:

,
где

- толщина теплоизоляции, м;

- коэффициент теплопроводности материала теплоизоляции, Вт/(м·°C).
3.9. Требуемая толщина теплоизоляции стены подвала, расположенной ниже уровня земли, находится из условия

и вычисляется по формуле:
3.10. Необходимая толщина теплоизоляции из пенополистирольных плит URSA FOAM в стенах подвала перечисленных выше трех групп помещений для всех областных и республиканских центров РФ приведена в таблице 2, в покрытиях - в
таблице 2а, а в полах холодильников в соответствии с требованиями
СНиП 2.11.02-87 - в
таблицах 3,
4 и
5.
Таблица 2
N п/п | Город РФ | Условия эксплуатации | Градусо-сутки | Тип помещения | Стены подвала |
Выше уровня земли | Ниже уровня земли |
 , м 2·°C/Вт | Толщина теплоизоляции, мм | Толщина теплоизоляции, мм |
1 | 2 | 3 | 4 | 5 | 6 | 7 | 8 |
1 | Архангельск | Б | 6170 | 1 | 3,56 | 90 | 70 |
| | | 5670 | 2 | 2,90 | 70 | 50 |
| | | 3 | 2,13 | 50 | 40 |
2 | Астрахань | А | 3540 | 1 | 2,64 | 60 | 70 |
| | | 3200 | 2 | 2,08 | 50 | 40 |
| | | 3 | 1,64 | 30 | 20 |
3 | Анадырь | Б | 9500 | 1 | 4,72 | 130 | 100 |
| | | 8900 | 2 | 3,87 | 100 | 80 |
| | | 3 | 2,76 | 70 | 50 |
4 | Барнаул | А | 6120 | 1 | 3,54 | 90 | 70 |
| | | 5680 | 2 | 2,90 | 70 | 50 |
| | | 3 | 2,13 | 50 | 40 |
5 | Белгород | А | 4180 | 1 | 2,86 | 70 | 50 |
| | | 3800 | 2 | 2,32 | 50 | 40 |
| | | 3 | 1,76 | 40 | 30 |
6 | Благовещенск | Б | 6670 | 1 | 3,74 | 100 | 80 |
| | | 6240 | 2 | 3,07 | 80 | 60 |
| | | 3 | 2,25 | 50 | 40 |
7 | Брянск | Б | 4570 | 1 | 3,00 | 70 | 50 |
| | | 4160 | 2 | 2,45 | 60 | 50 |
| | | 3 | 1,83 | 40 | 30 |
8 | Волгоград | А | 3950 | 1 | 2,78 | 70 | 50 |
| | | 3600 | 2 | 2,24 | 50 | 40 |
| | | 3 | 1,72 | 40 | 30 |
9 | Вологда | Б | 5570 | 1 | 3,35 | 90 | 70 |
| | | 5100 | 2 | 2,73 | 70 | 50 |
| | | 3 | 2,02 | 50 | 40 |
10 | Воронеж | А | 4530 | 1 | 3,0 | 80 | 60 |
| | | 4140 | 2 | 2,44 | 60 | 50 |
| | | 3 | 1,83 | 40 | 30 |
11 | Владимир | Б | 5000 | 1 | 3,3 | 80 | 60 |
| | | 4580 | 2 | 2,57 | 60 | 50 |
| | | 3 | 1,91 | 40 | 30 |
12 | Владивосток | Б | 4680 | 1 | 3,04 | 70 | 50 |
| | | 4300 | 2 | 2,49 | 60 | 50 |
| | | 3 | 1,86 | 40 | 30 |
13 | Владикавказ | А | 3410 | 1 | 2,59 | 60 | 50 |
| | | 3060 | 2 | 2,02 | 40 | 30 |
| | | 3 | 1,61 | 30 | 20 |
14 | Грозный | А | 3060 | 1 | 2,47 | 60 | 50 |
| | | 2740 | 2 | 1,9 | 40 | 30 |
| | | 3 | 1,55 | 30 | 20 |
15 | Екатеринбург | А | 5980 | 1 | 3,49 | 90 | 70 |
| | | 5520 | 2 | 2,85 | 70 | 50 |
| | | 3 | 2,10 | 50 | 40 |
16 | Иваново | Б | 5230 | 1 | 3,23 | 80 | 60 |
| | | 4800 | 2 | 2,64 | 60 | 50 |
| | | 3 | 1,96 | 40 | 30 |
17 | Игарка | Б | 9660 | 1 | 4,78 | 130 | 100 |
| | | 9090 | 2 | 3,93 | 100 | 80 |
| | | 3 | 2,82 | 70 | 50 |
18 | Иркутск | А | 6480 | 1 | 3,79 | 100 | 80 |
| | | 6360 | 2 | 3,12 | 80 | 60 |
| | | 3 | 2,27 | 50 | 40 |
19 | Ижевск | Б | 5680 | 1 | 3,39 | 80 | 60 |
| | | 5240 | 2 | 2,77 | 70 | 50 |
| | | 3 | 20,5 | 40 | 30 |
20 | Йошкар-Ола | Б | 5520 | 1 | 3,33 | 80 | 60 |
| | | 5080 | 2 | 2,72 | 60 | 50 |
| | | 3 | 2,02 | 40 | 30 |
21 | Казань | Б | 5420 | 1 | 3,30 | 80 | 60 |
| | | 4990 | 2 | 2,70 | 60 | 50 |
| | | 3 | 2,0 | 40 | 30 |
22 | Калининград | Б | 3650 | 1 | 2,68 | 60 | 50 |
| | | 3260 | 2 | 2,10 | 50 | 40 |
| | | 3 | 1,65 | 30 | 20 |
23 | Калуга | Б | 4810 | 1 | 3,08 | 80 | 60 |
| | | 4400 | 2 | 2,52 | 60 | 50 |
| | | 3 | 1,88 | 40 | 30 |
24 | Кемерово | А | 6540 | 1 | 3,69 | 90 | 70 |
| | | 6080 | 2 | 3,02 | 70 | 50 |
| | | 3 | 2,21 | 50 | 40 |
25 | Вятка | Б | 5870 | 1 | 3,45 | 90 | 70 |
| | | 5400 | 2 | 2,82 | 70 | 50 |
| | | 3 | 2,08 | 500 | 40 |
26 | Кострома | Б | 5300 | 1 | 3,25 | 80 | 60 |
| | | 4860 | 2 | 2,66 | 60 | 50 |
| | | 3 | 1,97 | 40 | 30 |
27 | Краснодар | А | 2680 | 1 | 2,34 | 50 | 40 |
| | | 2380 | 2 | 1,75 | 30 | 20 |
| | | 3 | 1,48 | 30 | 20 |
28 | Красноярск | А | 6340 | 1 | 3,62 | 90 | 70 |
| | | 5870 | 2 | 2,96 | 70 | 50 |
| | | 3 | 2,17 | 50 | 40 |
29 | Курган | А | 5980 | 1 | 3,49 | 90 | 70 |
| | | 5550 | 2 | 2,86 | 70 | 50 |
| | | 3 | 2,11 | 50 | 40 |
30 | Курск | Б | 4400 | 1 | 2,95 | 70 | 50 |
| | | 4040 | 2 | 2,41 | 60 | 50 |
| | | 3 | 1,80 | 40 | 30 |
31 | Кызыл | А | 7880 | 1 | 4,16 | 110 | 90 |
| | | 7430 | 2 | 3,43 | 90 | 70 |
| | | 3 | 2,49 | 60 | 50 |
32 | Липецк | А | 4730 | 1 | 3,06 | 80 | 60 |
| | | 4320 | 2 | 2,50 | 60 | 50 |
| | | 3 | 1,86 | 40 | 30 |
33 | Магадан | Б | 7800 | 1 | 4,13 | 110 | 90 |
| | | 7230 | 2 | 3,37 | 80 | 60 |
| | | 3 | 2,45 | 60 | 50 |
34 | Махачкала | А | 2560 | 1 | 2,30 | 50 | 40 |
| | | 2260 | 2 | 1,7 | 30 | 20 |
| | | 3 | 1,45 | 30 | 20 |
35 | Москва | Б | 4940 | 1 | 3,13 | 80 | 60 |
| | | 4520 | 2 | 2,55 | 60 | 50 |
| | | 3 | 1,9 | 40 | 30 |
36 | Мурманск | Б | 6380 | 1 | 3,63 | 90 | 70 |
| | | 5830 | 2 | 2,95 | 70 | 60 |
| | | 3 | 2,17 | 50 | 40 |
37 | Нальчик | А | 3260 | 1 | 2,54 | 60 | 50 |
| | | 2920 | 2 | 1,97 | 40 | 30 |
| | | 3 | 1,58 | 30 | 20 |
38 | Нижний Новгород | Б | 5180 | 1 | 3,21 | 80 | 60 |
| | | 4750 | 2 | 2,63 | 60 | 50 |
| | | 3 | 1,95 | 40 | 30 |
39 | Новгород | Б | 4930 | 1 | 3,13 | 80 | 60 |
| | | 4490 | 2 | 2,55 | 60 | 50 |
| | | 3 | 1,9 | 40 | 30 |
40 | Новосибирск | А | 6600 | 1 | 3,71 | 90 | 70 |
| | | 6140 | 2 | 3,04 | 70 | 60 |
| | | 3 | 2,23 | 50 | 40 |
41 | Омск | А | 6280 | 1 | 3,60 | 90 | 70 |
| | | 5840 | 2 | 2,85 | 70 | 60 |
| | | 3 | 2,17 | 50 | 40 |
42 | Оренбург | А | 5310 | 1 | 3,26 | 80 | 60 |
| | | 4900 | 2 | 2,67 | 60 | 50 |
| | | 3 | 1,98 | 40 | 30 |
43 | Орел | Б | 4650 | 1 | 3,03 | 70 | 50 |
| | | 4250 | 2 | 2,48 | 60 | 50 |
| | | 3 | 1,85 | 40 | 30 |
44 | Пенза | А | 5070 | 1 | 3,17 | 80 | 60 |
| | | 4660 | 2 | 2,60 | 60 | 50 |
| | | 3 | 1,93 | 40 | 30 |
45 | Пермь | Б | 5930 | 1 | 3,48 | 90 | 70 |
| | | 5470 | 2 | 2,84 | 70 | 50 |
| | | 3 | 2,09 | 50 | 40 |
46 | Петрозаводск | Б | 5540 | 1 | 3,34 | 80 | 60 |
| | | 5060 | 2 | 2,85 | 70 | 50 |
| | | 3 | 2,10 | 40 | 30 |
47 | Петропавловск-Камчатский | Б | 4760 | 1 | 3,07 | 70 | 50 |
| | | 4250 | 2 | 2,48 | 60 | 50 |
| | | 3 | 1,85 | 40 | 30 |
48 | Псков | Б | 4580 | 1 | 3,0 | 70 | 50 |
| | | 4160 | 2 | 2,45 | 60 | 50 |
| | | 3 | 1,83 | 40 | 30 |
49 | Ростов-на-Дону | А | 3520 | 1 | 2,63 | 60 | 50 |
| | | 3180 | 2 | 2,07 | 40 | 30 |
| | | 3 | 1,64 | 30 | 20 |
50 | Рязань | Б | 4890 | 1 | 3,11 | 80 | 60 |
| | | 4470 | 2 | 2,54 | 60 | 50 |
| | | 3 | 1,90 | 40 | 30 |
51 | Самара | Б | 5110 | 1 | 3,19 | 80 | 60 |
| | | 4710 | 2 | 2,61 | 60 | 50 |
| | | 3 | 1,94 | 40 | 30 |
52 | Санкт-Петербург | Б | 4800 | 1 | 3,08 | 70 | 50 |
| | | 4360 | 2 | 2,51 | 60 | 50 |
| | | 3 | 1,87 | 40 | 30 |
53 | Саранск | А | 5120 | 1 | 3,19 | 80 | 60 |
| | | 4700 | 2 | 2,61 | 60 | 50 |
| | | 3 | 1,94 | 40 | 30 |
54 | Саратов | А | 4760 | 1 | 3,07 | 70 | 50 |
| | | 4370 | 2 | 2,51 | 60 | 50 |
| | | 3 | 1,87 | 40 | 30 |
55 | Салехард | Б | 9170 | 1 | 4,61 | 120 | 100 |
| | | 8590 | 2 | 3,78 | 100 | 80 |
| | | 3 | 2,72 | 60 | 50 |
56 | Смоленск | Б | 4820 | 1 | 3,09 | 80 | 60 |
| | | 4400 | 2 | 2,52 | 60 | 50 |
| | | 3 | 1,88 | 40 | 30 |
57 | Ставрополь | А | 3210 | 1 | 2,52 | 60 | 50 |
| | | 2880 | 2 | 1,95 | 40 | 30 |
| | | 3 | 1,58 | 30 | 20 |
58 | Сыктывкар | Б | 6320 | 1 | 3,61 | 90 | 70 |
| | | 5830 | 2 | 2,95 | 70 | 50 |
| | | 3 | 2,17 | 50 | 40 |
59 | Тамбов | А | 4760 | 1 | 3,07 | 80 | 60 |
| | | 4360 | 2 | 2,51 | 60 | 50 |
| | | 3 | 1,87 | 40 | 30 |
60 | Тверь | Б | 5010 | 1 | 3,15 | 80 | 60 |
| | | 4580 | 2 | 2,57 | 60 | 50 |
| | | 3 | 1,92 | 40 | 30 |
61 | Томск | Б | 6700 | 1 | 3,75 | 100 | 80 |
| | | 6230 | 2 | 3,07 | 70 | 50 |
| | | 3 | 2,25 | 50 | 40 |
62 | Тула | Б | 4760 | 1 | 3,07 | 80 | 60 |
| | | 4350 | 2 | 2,50 | 60 | 50 |
| | | 3 | 1,87 | 40 | 30 |
63 | Тюмень | А | 6120 | 1 | 3,54 | 90 | 70 |
| | | 5670 | 2 | 2,90 | 70 | 50 |
| | | 3 | 2,13 | 50 | 40 |
64 | Ульяновск | А | 5380 | 1 | 3,29 | 80 | 60 |
| | | 4960 | 2 | 2,69 | 60 | 50 |
| | | 3 | 1,99 | 40 | 30 |
65 | Улан-Удэ | А | 7200 | 1 | 3,92 | 100 | 80 |
| | | 6730 | 2 | 3,22 | 80 | 60 |
| | | 3 | 2,35 | 50 | 40 |
66 | Уфа | А | 5520 | 1 | 3,33 | 80 | 60 |
| | | 5090 | 2 | 2,73 | 70 | 50 |
| | | 3 | 2,02 | 40 | 30 |
67 | Хабаровск | Б | 6180 | 1 | 3,56 | 90 | 70 |
| | | 5760 | 2 | 2,93 | 70 | 50 |
| | | 3 | 2,15 | 50 | 40 |
68 | Чебоксары | Б | 5400 | 1 | 3,29 | 80 | 60 |
| | | 4970 | 2 | 2,70 | 60 | 50 |
| | | 3 | 2,00 | 40 | 30 |
69 | Челябинск | А | 5780 | 1 | 3,43 | 90 | 70 |
| | | 5340 | 2 | 2,80 | 70 | 50 |
| | | 3 | 2,07 | 50 | 40 |
70 | Чита | А | 7600 | 1 | 4,06 | 110 | 90 |
| | | 7120 | 2 | 3,34 | 80 | 60 |
| | | 3 | 2,42 | 60 | 50 |
71 | Элиста | А | 3670 | 1 | 2,68 | 60 | 50 |
| | | 3320 | 2 | 2,13 | 50 | 40 |
| | | 3 | 1,66 | 30 | 20 |
72 | Южно-Сахалинск | Б | 5590 | 1 | 3,36 | 80 | 60 |
| | | 5130 | 2 | 2,74 | 60 | 50 |
| | | 3 | 2,03 | 40 | 30 |
73 | Якутск | А | 10400 | 1 | 5,04 | 140 | 110 |
| | | 9900 | 2 | 4,17 | 110 | 90 |
| | | 3 | 2,98 | 70 | 50 |
74 | Ярославль | Б | 5300 | 1 | 3,26 | 80 | 60 |
| | | 4860 | 2 | 2,66 | 60 | 50 |
| | | 3 | 1,97 | 40 | 30 |
N п/п | Город РФ | Условия эксплуатации | Градусо-сутки | Тип помещения | Покрытия |
Новое строительство | Реконструкция |
 , м 2·°C/Вт | Толщина теплоизоляции, мм |  , м 2·°C/Вт | Толщина дополнительной теплоизоляции, мм |
1 | 2 | 3 | 4 | 5 | 6 | 7 | 8 | 9 |
1 | Архангельск | Б | 6170 | 1 | 5,29 | 250 | 1,48 | 190 |
| | | 5670 | 2 | 3,86 | 180 | 1,03 | 140 |
| | | 3 | 2,91 | 130 | 0,78 | 110 |
2 | Астрахань | А | 3540 | 1 | 3,97 | 150 | 1,25 | 110 |
| | | 3200 | 2 | 2,88 | 100 | 0,86 | 80 |
| | | 3 | 2,30 | 80 | 0,66 | 70 |
3 | Анадырь | Б | 9500 | 1 | 6,95 | 330 | 1,74 | 260 |
| | | 8900 | 2 | 5,16 | 240 | 1,22 | 200 |
| | | 3 | 3,72 | 170 | 0,93 | 140 |
4 | Барнаул | А | 6120 | 1 | 5,26 | 200 | 1,71 | 150 |
| | | 5680 | 2 | 3,87 | 140 | 1,20 | 110 |
| | | 3 | 2,92 | 110 | 0,91 | 80 |
5 | Белгород | А | 4180 | 1 | 4,29 | 160 | 1,25 | 120 |
| | | 3800 | 2 | 3,12 | 110 | 0,86 | 90 |
| | | 3 | 2,45 | 90 | 0,66 | 70 |
6 | Благовещенск | Б | 6670 | 1 | 5,54 | 260 | 1,57 | 200 |
| | | 6240 | 2 | 4,10 | 190 | 1,09 | 150 |
| | | 3 | 3,06 | 140 | 0,83 | 110 |
7 | Брянск | Б | 4570 | 1 | 4,49 | 210 | 1,33 | 160 |
| | | 4160 | 2 | 3,26 | 150 | 0,92 | 120 |
| | | 3 | 2,54 | 110 | 0,70 | 90 |
8 | Волгоград | А | 3950 | 1 | 4,17 | 160 | 1,31 | 120 |
| | | 3600 | 2 | 3,04 | 110 | 0,90 | 90 |
| | | 3 | 2,40 | 80 | 0,69 | 70 |
9 | Вологда | Б | 5570 | 1 | 4,98 | 230 | 1,48 | 180 |
| | | 5100 | 2 | 3,64 | 170 | 1,03 | 130 |
| | | 3 | 2,77 | 120 | 0,78 | 100 |
10 | Воронеж | А | 4530 | 1 | 4,47 | 170 | 1,33 | 160 |
| | | 4140 | 2 | 3,26 | 120 | 0,92 | 100 |
| | | 3 | 2,53 | 90 | 0,70 | 80 |
11 | Владимир | Б | 5000 | 1 | 4,70 | 220 | 1,39 | 170 |
| | | 4580 | 2 | 3,43 | 160 | 0,97 | 120 |
| | | 3 | 2,64 | 120 | 0,74 | 100 |
12 | Владивосток | Б | 4680 | 1 | 4,54 | 210 | 1,28 | 160 |
| | | 4300 | 2 | 3,32 | 150 | 0,88 | 120 |
| | | 3 | 2,57 | 110 | 0,67 | 100 |
13 | Владикавказ | А | 3410 | 1 | 3,91 | 150 | 1,10 | 120 |
| | | 3060 | 2 | 2,82 | 100 | 0,76 | 80 |
| | | 3 | 2,26 | 80 | 0,58 | 70 |
14 | Грозный | А | 3060 | 1 | 3,73 | 140 | 1,10 | 110 |
| | | 2740 | 2 | 2,70 | 100 | 0,76 | 80 |
| | | 3 | 2,18 | 80 | 0,58 | 70 |
15 | Екатеринбург | А | 5980 | 1 | 5,19 | 200 | 1,60 | 150 |
| | | 5520 | 2 | 3,81 | 140 | 1,11 | 110 |
| | | 3 | 2,88 | 100 | 0,85 | 80 |
16 | Иваново | Б | 5230 | 1 | 4,82 | 220 | 1,42 | 170 |
| | | 4800 | 2 | 3,52 | 160 | 0,99 | 130 |
| | | 3 | 2,70 | 120 | 0,75 | 100 |
17 | Игарка | Б | 9660 | 1 | 7,03 | 330 | 1,97 | 250 |
| | | 9090 | 2 | 5,24 | 250 | 1,39 | 190 |
| | | 3 | 3,77 | 170 | 1,06 | 140 |
18 | Иркутск | А | 6480 | 1 | 5,62 | 220 | 1,62 | 160 |
| | | 6360 | 2 | 4,16 | 160 | 1,13 | 120 |
| | | 3 | 3,10 | 110 | 0,86 | 90 |
19 | Ижевск | Б | 5680 | 1 | 5,04 | 240 | 1,65 | 240 |
| | | 5240 | 2 | 3,70 | 170 | 1,16 | 130 |
| | | 3 | 2,81 | 120 | 0,88 | 100 |
20 | Йошкар-Ола | Б | 5520 | 1 | 4,96 | 230 | 1,57 | 170 |
| | | 5080 | 2 | 3,63 | 160 | 1,09 | 130 |
| | | 3 | 2,77 | 120 | 0,83 | 120 |
21 | Казань | Б | 5420 | 1 | 4,91 | 230 | 1,51 | 230 |
| | | 4990 | 2 | 3,60 | 160 | 1,05 | 160 |
| | | 3 | 2,75 | 120 | 0,80 | 100 |
22 | Калининград | Б | 3650 | 1 | 4,03 | 180 | 1,10 | 150 |
| | | 3260 | 2 | 2,90 | 130 | 0,76 | 110 |
| | | 3 | 2,31 | 100 | 0,58 | 90 |
23 | Калуга | Б | 4810 | 1 | 4,61 | 210 | 1,36 | 210 |
| | | 4400 | 2 | 3,36 | 150 | 0,95 | 120 |
| | | 3 | 2,60 | 110 | 0,72 | 90 |
24 | Кемерово | А | 6540 | 1 | 5,48 | 210 | 1,71 | 150 |
| | | 6080 | 2 | 4,03 | 150 | 1,20 | 120 |
| | | 3 | 3,02 | 110 | 0,91 | 90 |
25 | Вятка | Б | 5870 | 1 | 5,13 | 240 | 1,54 | 180 |
| | | 5400 | 2 | 3,76 | 170 | 1,07 | 130 |
| | | 3 | 2,85 | 130 | 0,82 | 100 |
26 | Кострома | Б | 5300 | 1 | 4,85 | 230 | 1,42 | 170 |
| | | 4860 | 2 | 3,53 | 160 | 1,03 | 130 |
| | | 3 | 2,71 | 120 | 0,78 | 100 |
27 | Краснодар | А | 2680 | 1 | 3,54 | 130 | 1,13 | 100 |
| | | 2380 | 2 | 2,56 | 90 | 0,78 | 70 |
| | | 3 | 2,10 | 70 | 0,59 | 60 |
28 | Красноярск | А | 6340 | 1 | 5,37 | 210 | 1,74 | 150 |
| | | 5870 | 2 | 3,95 | 150 | 1,22 | 110 |
| | | 3 | 2,97 | 110 | 0,93 | 80 |
29 | Курган | А | 5980 | 1 | 5,20 | 200 | 1,65 | 150 |
| | | 5550 | 2 | 3,82 | 140 | 1,16 | 110 |
| | | 3 | 2,88 | 100 | 0,88 | 80 |
30 | Курск | Б | 4400 | 1 | 4,42 | 200 | 1,33 | 150 |
| | | 4040 | 2 | 3,21 | 140 | 0,92 | 110 |
| | | 3 | 2,51 | 110 | 0,70 | 90 |
31 | Кызыл | А | 7880 | 1 | 6,14 | 240 | 1,97 | 170 |
| | | 7430 | 2 | 4,57 | 170 | 1,39 | 130 |
| | | 3 | 3,35 | 120 | 1,06 | 90 |
32 | Липецк | А | 4730 | 1 | 4,57 | 170 | 1,36 | 130 |
| | | 4320 | 2 | 3,33 | 120 | 0,95 | 100 |
| | | 3 | 2,58 | 90 | 0,72 | 80 |
33 | Магадан | Б | 7800 | 1 | 6,10 | 290 | 1,71 | 220 |
| | | 7230 | 2 | 4,49 | 210 | 1,20 | 160 |
| | | 3 | 3,48 | 160 | 0,91 | 130 |
34 | Махачкала | А | 2560 | 1 | 3,33 | 120 | 0,99 | 100 |
| | | 2260 | 2 | 2,50 | 90 | 0,67 | 80 |
| | | 3 | 2,06 | 70 | 0,51 | 60 |
35 | Москва | Б | 4940 | 1 | 4,67 | 220 | 1,33 | 170 |
| | | 4520 | 2 | 3,41 | 150 | 0,92 | 120 |
| | | 3 | 2,63 | 110 | 0,70 | 100 |
36 | Мурманск | Б | 6380 | 1 | 5,39 | 250 | 1,36 | 200 |
| | | 5830 | 2 | 3,93 | 180 | 0,95 | 150 |
| | | 3 | 2,96 | 130 | 0,72 | 110 |
37 | Нальчик | А | 3260 | 1 | 3,83 | 140 | 1,10 | 110 |
| | | 2920 | 2 | 2,78 | 100 | 0,76 | 80 |
| | | 3 | 2,24 | 80 | 0,58 | 70 |
38 | Нижний Новгород | Б | 5180 | 1 | 4,80 | 220 | 1,45 | 170 |
| | | 4750 | 2 | 3,50 | 160 | 1,01 | 120 |
| | | 3 | 2,69 | 120 | 0,77 | 100 |
39 | Новгород | Б | 4930 | 1 | 4,67 | 220 | 1,36 | 170 |
| | | 4490 | 2 | 3,40 | 150 | 0,95 | 120 |
| | | 3 | 2,63 | 110 | 0,72 | 100 |
40 | Новосибирск | А | 6600 | 1 | 5,50 | 210 | 1,71 | 160 |
| | | 6140 | 2 | 4,06 | 150 | 1,20 | 120 |
| | | 3 | 3,04 | 110 | 0,91 | 90 |
41 | Омск | А | 6280 | 1 | 5,39 | 210 | 1,65 | 150 |
| | | 5840 | 2 | 3,94 | 150 | 1,16 | 110 |
| | | 3 | 2,96 | 110 | 0,88 | 90 |
42 | Оренбург | А | 5310 | 1 | 4,85 | 180 | 1,48 | 140 |
| | | 4900 | 2 | 3,56 | 130 | 1,03 | 100 |
| | | 3 | 2,73 | 100 | 0,78 | 80 |
43 | Орел | Б | 4650 | 1 | 4,53 | 210 | 1,33 | 160 |
| | | 4250 | 2 | 3,30 | 150 | 0,92 | 120 |
| | | 3 | 2,56 | 110 | 0,70 | 90 |
44 | Пенза | А | 5070 | 1 | 4,74 | 180 | 1,42 | 140 |
| | | 4660 | 2 | 3,46 | 130 | 0,99 | 100 |
| | | 3 | 2,66 | 90 | 0,75 | 80 |
45 | Пермь | Б | 5930 | 1 | 5,15 | 240 | 1,60 | 180 |
| | | 5470 | 2 | 3,81 | 170 | 1,11 | 140 |
| | | 3 | 2,88 | 130 | 0,85 | 100 |
46 | Петрозаводск | Б | 5540 | 1 | 4,97 | 230 | 1,42 | 180 |
| | | 5060 | 2 | 3,62 | 160 | 0,99 | 130 |
| | | 3 | 2,53 | 110 | 0,75 | 90 |
47 | Петропавловск-Камчатский | Б | 4760 | 1 | 4,58 | 210 | 1,16 | 170 |
| | | 4250 | 2 | 3,30 | 150 | 0,80 | 130 |
| | | 3 | 2,56 | 110 | 0,61 | 100 |
48 | Псков | Б | 4580 | 1 | 4,49 | 210 | 1,33 | 160 |
| | | 4160 | 2 | 3,26 | 150 | 0,92 | 120 |
| | | 3 | 2,54 | 110 | 0,70 | 90 |
49 | Ростов-на-Дону | А | 3520 | 1 | 3,96 | 150 | 1,22 | 110 |
| | | 3180 | 2 | 2,87 | 100 | 0,84 | 80 |
| | | 3 | 2,29 | 80 | 0,64 | 70 |
50 | Рязань | Б | 4890 | 1 | 4,65 | 220 | 1,36 | 160 |
| | | 4470 | 2 | 3,39 | 150 | 0,95 | 120 |
| | | 3 | 2,62 | 110 | 0,72 | 100 |
51 | Самара | Б | 5110 | 1 | 4,76 | 220 | 1,45 | 170 |
| | | 4710 | 2 | 3,78 | 160 | 1,01 | 120 |
| | | 3 | 2,68 | 120 | 0,77 | 100 |
52 | Санкт-Петербург | Б | 4800 | 1 | 4,60 | 210 | 1,33 | 160 |
| | | 4360 | 2 | 3,34 | 150 | 0,92 | 120 |
| | | 3 | 2,59 | 110 | 0,70 | 90 |
53 | Саранск | А | 5120 | 1 | 4,76 | 180 | 1,45 | 140 |
| | | 4700 | 2 | 3,48 | 130 | 1,01 | 100 |
| | | 3 | 2,62 | 100 | 0,77 | 80 |
54 | Саратов | А | 4760 | 1 | 4,58 | 170 | 1,36 | 130 |
| | | 4370 | 2 | 3,34 | 120 | 0,95 | 100 |
| | | 3 | 2,59 | 90 | 0,72 | 80 |
55 | Салехард | Б | 9170 | 1 | 6,78 | 320 | 1,78 | 250 |
| | | 8590 | 2 | 5,04 | 240 | 1,26 | 190 |
| | | 3 | 3,65 | 170 | 0,96 | 130 |
56 | Смоленск | Б | 4820 | 1 | 4,61 | 210 | 1,33 | 160 |
| | | 4400 | 2 | 3,36 | 150 | 0,92 | 120 |
| | | 3 | 2,60 | 110 | 0,70 | 100 |
57 | Ставрополь | А | 3210 | 1 | 3,80 | 140 | 1,13 | 110 |
| | | 2880 | 2 | 2,75 | 100 | 0,78 | 80 |
| | | 3 | 2,22 | 80 | 0,59 | 70 |
58 | Сыктывкар | Б | 6320 | 1 | 5,37 | 250 | 1,62 | 190 |
| | | 5830 | 2 | 3,95 | 180 | 1,13 | 140 |
| | | 3 | 2,97 | 130 | 0,86 | 110 |
59 | Тамбов | А | 4760 | 1 | 4,58 | 170 | 1,39 | 130 |
| | | 4360 | 2 | 3,35 | 120 | 0,97 | 100 |
| | | 3 | 2,59 | 90 | 0,74 | 80 |
60 | Тверь | Б | 5010 | 1 | 4,70 | 220 | 1,42 | 160 |
| | | 4580 | 2 | 3,43 | 150 | 0,99 | 120 |
| | | 3 | 2,64 | 120 | 0,75 | 90 |
61 | Томск | Б | 6700 | 1 | 5,55 | 290 | 1,74 | 190 |
| | | 6230 | 2 | 4,09 | 190 | 1,22 | 140 |
| | | 3 | 3,09 | 140 | 0,93 | 110 |
62 | Тула | Б | 4760 | 1 | 4,58 | 210 | 1,36 | 160 |
| | | 4350 | 2 | 3,33 | 150 | 0,95 | 120 |
| | | 3 | 2,58 | 110 | 0,72 | 90 |
63 | Тюмень | А | 6120 | 1 | 5,26 | 200 | 1,65 | 150 |
| | | 5670 | 2 | 3,87 | 140 | 1,16 | 110 |
| | | 3 | 2,92 | 110 | 0,88 | 80 |
64 | Ульяновск | А | 5380 | 1 | 4,90 | 190 | 1,48 | 140 |
| | | 4960 | 2 | 3,58 | 130 | 1,03 | 100 |
| | | 3 | 2,69 | 100 | 0,78 | 80 |
65 | Улан-Удэ | А | 7200 | 1 | 5,80 | 220 | 1,65 | 170 |
| | | 6730 | 2 | 4,29 | 160 | 1,16 | 130 |
| | | 3 | 3,18 | 120 | 0,88 | 90 |
66 | Уфа | А | 5520 | 1 | 4,96 | 190 | 1,60 | 140 |
| | | 5090 | 2 | 3,64 | 130 | 1,11 | 100 |
| | | 3 | 2,78 | 100 | 0,95 | 80 |
67 | Хабаровск | Б | 6180 | 1 | 5,30 | 250 | 1,48 | 190 |
| | | 5760 | 2 | 3,90 | 180 | 1,03 | 140 |
| | | 3 | 2,94 | 130 | 0,78 | 110 |
68 | Чебоксары | Б | 5400 | 1 | 4,90 | 230 | 1,51 | 170 |
| | | 4970 | 2 | 3,60 | 160 | 1,05 | 130 |
| | | 3 | 2,75 | 120 | 0,80 | 100 |
69 | Челябинск | А | 5780 | 1 | 5,10 | 190 | 1,57 | 140 |
| | | 5340 | 2 | 3,74 | 140 | 1,09 | 110 |
| | | 3 | 2,84 | 100 | 0,83 | 80 |
70 | Чита | А | 7600 | 1 | 6,0 | 230 | 1,68 | 180 |
| | | 7120 | 2 | 4,45 | 170 | 1,18 | 130 |
| | | 3 | 3,28 | 120 | 0,90 | 100 |
71 | Элиста | А | 3670 | 1 | 4,04 | 150 | 1,25 | 110 |
| | | 3320 | 2 | 2,93 | 110 | 0,86 | 80 |
| | | 3 | 2,33 | 80 | 0,66 | 70 |
72 | Южно-Сахалинск | Б | 5590 | 1 | 4,99 | 230 | 1,28 | 190 |
| | | 5130 | 2 | 3,65 | 170 | 0,88 | 140 |
| | | 3 | 2,78 | 120 | 0,67 | 110 |
73 | Якутск | А | 10400 | 1 | 7,40 | 290 | 2,18 | 210 |
| | | 9900 | 2 | 5,56 | 210 | 1,53 | 170 |
| | | 3 | 3,98 | 150 | 1,17 | 120 |
74 | Ярославль | Б | 5300 | 1 | 4,85 | 230 | 1,48 | 170 |
| | | 4860 | 2 | 3,54 | 160 | 1,03 | 130 |
| | | 3 | 2,72 | 120 | 0,76 | 100 |
Температура воздуха в более теплом помещении, °C | Требуемая толщина теплоизоляции из пенополистирола "URSA FOAM", мм, при температуре воздуха в более холодном помещении, °C |
Минус 30 | Минус 20 | Минус 10 | Минус 5 | 0 | 5 | 12 |
Минус 30 | 60 | - | - | - | - | - | - |
Минус 20 | 70 | 60 | - | - | - | - | - |
Минус 10 | 110 | 90 | 60 | - | - | - | - |
Минус 5 | 120 | 110 | 70 | 60 | - | - | - |
0 | 140 | 120 | 90 | 70 | 60 | - | - |
5 | 140 | 120 | 110 | 90 | 70 | 60 | - |
10 | 160 | 140 | 120 | 110 | 90 | 70 | 60 |
20 | 180 | 160 | 140 | 120 | 90 | 70 | 70 |
Температура воздуха в охлажденных помещениях, °C | Требуемая толщина теплоизоляции из пенополистирола "URSA FOAM", мм |
Минус 1 | 90 |
Минус 10 | 110 |
Минус 20 | 160 |
Минус 30 | 190 |
Среднегодовая температура наружного воздуха в районе строительства, °C | Требуемая толщина теплоизоляции из пенополистирола "URSA FOAM", мм, при температуре воздуха в более холодном помещении, °C |
Минус 30 | Минус 20 | Минус 10 | Минус 5 | 0 и не нормируется |
3 и ниже | 160 | 120 | 110 | 90 | 90 |
выше 3 и ниже 9 | 160 | 140 | 120 | 90 | 90 |
9 и выше | 180 | 160 | 140 | 120 | 110 |
3.11. Требуемая толщина теплоизоляции в полах по необогреваемому грунту принимается по расчету в соответствии с указаниями
СНиП 23-02-2003. При этом пол должен удовлетворять требованиям по показателю теплоусвоения.
3.12. При реконструкции покрытий толщина слоя дополнительной теплоизоляции определена из условия, что покрытия имеют существующее сопротивление теплопередаче, рассчитанное по
формуле 1 главы СНиП II-3-79** выпуска 1986 г. для

и

, и приведена в
таблице 2а. Дополнительная теплоизоляция выполняется по отремонтированному покрытию, включая кровлю.
3.13. Необходимость устройства специального парозащитного слоя (пленка, обмазочная изоляция) определяется расчетом по
СНиП 23-02-2003.
4.1. Теплоизоляция стен подвалов необходима при размещении в подвалах служебно-вспомогательных помещений, складов и т.п. В результате достигается снижение затрат на отопление, исключается возможность образования конденсата на стенах, повышается комфортность и улучшаются условия работы конструкций.
4.2. При отсутствии грунтовых вод для изоляции рекомендуется применять плиты марок URSA FOAM N-W или URSA FOAM N-W-PZ, при наличии грунтовых вод - плиты марок URSA FOAM N-III, URSA FOAM N-III-PZ и URSA FOAM N-V.
4.3. Плитная теплоизоляция располагается по выровненной наружной поверхности стен подвала
(рис. 1) после выполнения по ней гидроизоляции, которая в зависимости от гидроусловий может быть окрасочной или оклеечной (см. "Рекомендации по проектированию гидроизоляции подземных частей зданий и сооружений", М., ЦНИИПромзданий, 1996 г.).
4.4. При невозможности устройства теплоизоляции с наружной стороны поверхности стен подвала допускается размещение ее с внутренней стороны. При этом обязательна проверка на возможность накопления конденсационной влаги в стене согласно
СНиП 23-02-2003.
4.5. Плиты пенополистирола к стене крепят на битумно-цементном клее. В зоне цоколя обязательна установка дюбелей из расчета 4 дюбеля на плиту 1250 x 600 мм.
Примыкание изоляции к окнам и дверям наружных стен подвальных помещений выполняется аналогично таковым для надземной части.
4.6. Работы по теплоизоляции стен, расположенных ниже уровня земли, следует выполнять после завершения гидроизоляционных работ.
4.7. Крепление теплоизоляционных плит к гидроизолированию поверхности производят в следующей последовательности: битуминозный покровный слой гидроизоляции подплавляют в трех - пяти точках и к ним плотно прижимают теплоизоляционную плиту.
4.8. Каждую теплоизоляционную плиту с четвертями укладывают вплотную к соседним плитам с последующей проклейкой швов (стыков) полосой "Герлена" шириной 100 мм.
4.9. При расположении утепляемой подземной конструкции выше уровня грунтовых вод по стыкам теплоизоляционных плит предусматривают наклейку полосы "Герлена" для исключения возможного попадания капиллярной влаги в стыки.
4.10. При наличии грунтовых вод наружную поверхность теплоизоляции целесообразно оштукатуривать по сетке и покрыть гидроизоляционным составом.
4.11. Теплоизоляция стены подвала со стороны помещения может быть также приклеена к поверхности стены либо закреплена механическим способом с последующим устройством отделочного слоя.
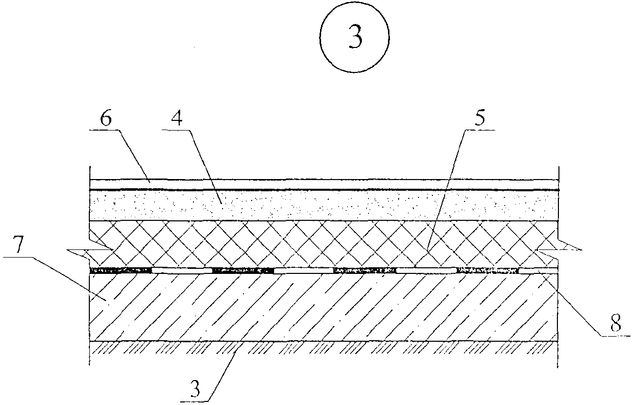
5. ПОКРЫТИЯ С ТРАДИЦИОННОЙ КРОВЛЕЙ
НОВОЕ СТРОИТЕЛЬСТВО
5.1. До начала изоляционных работ должны быть выполнены и приняты все строительно-монтажные работы на изолируемых участках, включая замоноличивание швов между плитами, устройство выравнивающей стяжки из раствора, установку и закрепление к плитам чаш водосточных воронок, компенсаторов деформационных швов, патрубков (или стаканов) для пропуска инженерного оборудования и т.п. Кирпичные парапеты должны быть оштукатурены и иметь необходимые закладные детали.
5.2. Плиты наклеивают точечно на горячей битумной мастике (t < 120 °C) толщиной 2 мм
(ГОСТ 2889-80). При наклейке плиты плотно прижимают друг к другу и к основанию. Точечная либо полосовая приклейка должна быть равномерной и составлять 25 - 35% склеиваемых поверхностей.
Необходимая толщина теплоизоляции из плит пенополистирола при

для разных видов помещений и всех областных и республиканских центров страны приведена в
табл. 2а.
5.3. По плитам теплоизоляции выполняют стяжку из цементно-песчаного раствора марки "50" толщиной не менее 30 мм.
В стяжке предусматривают температурно-усадочные швы шириной 5 - 10 мм, разделяющие ее поверхность на участки размером не более 6 x 6 м. Швы должны располагаться над торцевыми швами несущих плит.
5.4. Уклон кровли определяется конструкцией покрытия и при рулонных материалах не должен превышать 25%. При этом на уклонах более 10% необходимо механическое закрепление кровельного ковра к основанию.
5.5. Кровля может быть выполнена многослойной из рулонных битумно-полимерных материалов или однослойной из полимерных рулонных материалов.
5.6. При кровле из наплавляемых битумно-полимерных материалов возможно решение с выходом паров или с созданием по плитам непрерывного паробарьера, необходимое сопротивление паропроницанию которого определяется расчетом.
При кровлях из битумно-полимерных рулонных материалов цементно-песчаная стяжка должна быть прогрунтована раствором тугоплавкого битума БНК 90/10, БНК 90/30
(ГОСТ 9548-74*) в керосине или соляровом масле в соотношении 1:3.
Наклейку рулонного ковра следует выполнять методом подплавления.
Защитный слой при необходимости может быть выполнен из гравия светлых тонов фракцией 5 - 10 мм
(ГОСТ 8268-82) толщиной 10 мм, втопленного в 2-х мм слой горячей битумной антисептированной мастики слоем 2 мм.
5.7. При однослойной кровле из полимерной пленки конструкция кровли должна предусматривать возможность выхода водяных паров в зоне парапетов, перепада высот и конька, что обеспечивается полосовой приклейкой уложенного по скату слоя рулонного материала с выводом его на вертикальную поверхность парапетов с точечной приклейкой к последним; выход водяных паров обеспечивается через неприклеенные к основанию полосы водоизоляционного ковра.
Стяжка из цементно-песчаного раствора грунтуется смесью клеящей мастики и растворителя в соотношении по массе 1:3 (расход мастики - 200 г/м2).
С наружной стороны пленочная кровля окрашивается за 2 раза раствором бутилкаучуковой мастики в растворителе (бензин, нефрас и т.п.) в соотношении 1:2 с добавкой 15% алюминиевой пудры ПАК-3 или ПАК-4 по
ГОСТ 5494-95; расход мастики - 200 г/м
2.
6. ПОКРЫТИЯ С ИНВЕРСИОННОЙ КРОВЛЕЙ
НОВОЕ СТРОИТЕЛЬСТВО
6.1. Вариант покрытия с теплоизоляцией из стандартных плит URSA FOAM включает:
железобетонные плиты;
стяжку толщиной 20 мм из цементно-песчаного раствора;
кровельный ковер;
слой теплоизоляции;
пригрузочный слой.
6.2. Инверсионные кровли рекомендуется выполнять на покрытиях с уклоном 1,5 - 3%, ендовы выполняются без уклона.
6.3. Подготовка поверхности покрытия, включая устройство по несущим плитам выравнивающей стяжки или уклонообразующего слоя из легкого бетона и выравнивающей затирки (стяжки), - в соответствии с указаниями
п. 5.1.
6.4. Плиты теплоизоляции приклеивают к кровле горячим битумом. Температура приклеивающего состава не должна превышать 120 °C. Приклейка может быть полосовой или точечной, но равномерной.
6.5. По плитам теплоизоляции устраивают фильтрующий слой из негниющих водопропускающих материалов типа геотекстиль (табл. 6). Затем выполняют пригрузку плит теплоизоляции гравием фракцией 20 - 40 мм из расчета 50 кг/м
2 покрытия.
Таблица 6
Фильтрующие материалы (Геотекстиль)
Наименование материала, марка, фирма | Наименование показателей |
Поверхностная плотность, г/м2 | Толщина, мм | Разрывная нагрузка, кгс, вдоль/поперек | Относительное удлинение, %, вдоль/поперек |
Дорнит СП "Веротекс" ТУ 1867882-90 | 250...600 | 3...6 | 55/80...50/26 | 110/90...70/13 |
Геотекс Сургутский ГПЗ ТУ 2282-535-00203521-97 | 450...550 | 4...5 | 74/64...90/60 | 80/100 |
Дорнит Московский НПЗ ТУ 8397-038-35766623-97 | 450 +/- 50 | 4 +/- 0,8 | 39/59 | 120 |
 , фирма Du Pont (США) | 110...190 | 0,41....0,52 | 40/40...80/80 | 60/60...65/65 |
6.6. В любом случае конструкцию покрытия проверяют на несущую способность, а кровлю - на ветровой отсос. В случае необходимости участки кровли с отрицательным давлением ветра (конек, парапет) пригружают дополнительно.
7. ПОКРЫТИЯ С ТРАДИЦИОННОЙ КРОВЛЕЙ
РЕКОНСТРУКЦИЯ
7.1. Дополнительная теплоизоляция устраивается по существующей рулонной кровле, отремонтированной в соответствии с рекомендациями "
Кровли. Руководство по проектированию, устройству, правилам приемки и методам оценки качества" ОАО "ЦНИИПромзданий", 2002 г., при этом особое внимание обращается на состояние примыкания кровли к деформационным швам, парапетам, вентшахтам, трубам. В зоне воронок внутреннего водостока полностью удаляются старая теплоизоляция и кровля. Воронки поднимаются на новый уровень; кровля в зоне примыкания к воронке должна быть понижена относительно прилегающих участков на 15 - 20 мм.
7.2. Над существующими в старой кровле разжелобками плиты пенополистирола по разметке прорезают дисковой пилой, обеспечивая их плотное прилегание к основанию.
7.3. Необходимая толщина слоя теплоизоляции из плит пенополистирола при

для разных видов помещений и всех областных и республиканских центров страны приведена в
табл. 2а.
8. ПОКРЫТИЯ С ИНВЕРСИОННОЙ КРОВЛЕЙ
РЕКОНСТРУКЦИЯ
8.1. Дополнительная теплоизоляция устраивается по существующей рулонной кровле (см.
п. 7.1).
8.2. Укладывают дополнительный теплоизоляционный слой из стандартных плит, указанных в
п. 2.4 с фильтрующим слоем и пригрузкой гравием (см.
п. 6.5 и далее).
Над существующими в старой кровле разжелобками (конек, ендова) плиты теплоизоляции по разметке прорезают дисковой пилой, обеспечивая их плотное прилегание к основанию.
8.3. Необходимая толщина слоя теплоизоляции приведена в
табл. 2а.
9.1. Конструкции полов холодильников представлены:
на междуэтажных перекрытиях многоэтажных холодильников;
на обогреваемых грунтах;
над вентилируемыми подпольями.
9.2. Сборный железобетонный каркас многоэтажных холодильников принят по серии 1.420.1-14 для сетки колонн 6 x 6 м.
9.3. Несущие конструкции перекрытий над проветриваемыми подпольями приняты по серии 1.44-ЗМ/92 "Конструкции железобетонные над холодными вентилируемыми подпольями".
9.4. Требуемое сопротивление паропроницанию полов принимается по главе СНиП 2.11.02-87 "Холодильники": для перекрытий над подпольем - по
табл. 9, междуэтажных перекрытий - по
табл. 10 и для полов на грунте - по
табл. 11.
Пароизоляция выполняется оклеечной - из битумно-полимерных рулонных материалов или из полимерной пленки и располагается, как правило, между плитой перекрытия или подготовкой под полы и теплоизоляционным слоем.
10. ПОЛЫ НА НЕОБОГРЕВАЕМОМ ГРУНТЕ
10.1. Теплоизоляционный слой должен предусматриваться в подвалах на грунте в помещениях с нормируемым теплоусвоением.
10.2. Полы на грунте в помещениях с нормируемой температурой внутреннего воздуха, расположенные выше отмостки здания или ниже ее не более чем на 0,5 м, должны быть утеплены в зоне примыкания пола к наружным стенам или стенам, отделяющим отапливаемые помещения от неотапливаемых, шириной 0,8 м путем укладки по грунту слоя неорганического влагостойкого утеплителя толщиной, определяемой из условия обеспечения термического сопротивления этого слоя утеплителя не менее термического сопротивления наружной стены.
10.3. Требуемая толщина теплоизоляционного слоя должна устанавливаться расчетом в соответствии с указаниями
СНиП 23-02-2003.
11. ОСНОВНЫЕ ПРАВИЛА ТЕХНИКИ БЕЗОПАСНОСТИ
11.1. К производству работ допускаются рабочие, прошедшие медицинский осмотр, обучение правилам техники безопасности, методам ведения этих работ и мерам пожарной безопасности. О проведении инструктажа должно быть отмечено в специальном журнале под расписку. Журнал должен храниться у ответственного за проведение работ на объекте или в строительной организации.
11.2. При устройстве теплоизоляции из экструзионных пенополистирольных плит не допускается проведение сварочных и других работ с использованием оборудования с открытым пламенем и искрообразованием.
11.3. По окончании работ не допускается оставлять неиспользованный гидрофобизированный материал и пенополистирольные плиты на покрытии.
11.4. При производстве работ по устройству изоляционных работ необходимо предусматривать средства пожаротушения - углекислотные огнетушители и песок.
11.5. Не допускается длительное нахождение изоляционных материалов при температуре 70 °C и выше.
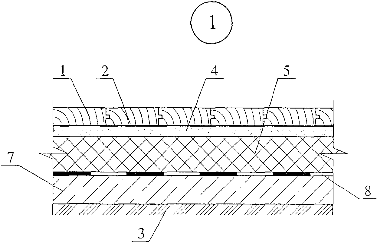
СТЕНЫ ПОДВАЛА
ЭКСПЛИКАЦИЯ
N поз. | Наименование |
1 | Несущая часть стены |
2 | Слой эффективной теплоизоляции |
3 | Отделочный штукатурный слой из цементно-известкового раствора по металлической сетке |
4 | Облицовка плиткой цоколя |
5 | Отмостка |
6 | Горизонтальная гидроизоляция из цементного раствора М100 |
7 | Обмазочная или оклеечная гидроизоляция битуминозными материалами |
8 | Стена подвала из бетонных блоков |
9 | Пол подвала |
10 | Перекрытие над подвалом |
11 | Теплоизоляция стен подвала из экструзионного пенополистирола URSA FOAM |
12 | Лента "Герлен" |
13 | Точечная приклейка плит URSA FOAM битумом с t <= 120 °C |
14 | Штукатурка цементно-песчаным раствором по стеклосетке и металлической сетке |
ПОКРЫТИЯ
ЭКСПЛИКАЦИЯ
N поз. | Наименование |
1 | Железобетонная плита покрытия |
2 | Выравнивающая затирка цементно-песчаным раствором марки 50 толщиной 5...15 мм |
- грунтовка раствором битума в керосине (1:3); |
- пароизоляция (по расчету) - слой стеклорубероида "Бикрост" - 3 мм, ТУ 21-00288739-42-93 |
3 | Точечная приклейка теплоизоляции битумом с t <= 120 °C |
4 | Теплоизоляция - пенополистирольные плиты URSA FOAM |
5 | Стяжка из цементно-песчаного раствора марки 50 - 20 мм |
6 | Кровельный ковер |
7 | Уплотняющие прокладки - ПРП-40 К (2 шт.), ГОСТ 19177-81, перевить; или типа "Вилатерм-СМ" |
8 | Заделка стыка цементно-песчаным раствором |
9 | Дополнительные слои кровельного ковра |
10 | Минеральная вата |
11 | Компенсатор из оцинкованной стали толщиной 0,8 мм |
12 | Выкружка из оцинкованной стали толщиной 0,8 мм |
13 | Стеклоткань |
14 | Рулонный битумно-полимерный материал, уложенный насухо |
15 | Негорючая теплоизоляция, например, пенобетон,  толщина по теплотехническому расчету |
16 | Деревянный антисептированный брусок 40 x 40 x h - 4 шт. |
17 | |
18 | Зажимной хомут |
19 | Опора из легкого бетона |
20 | Фундамент под вентилятор |
21 | Гвоздь с шайбой |
22 | Цементно-песчаный раствор марки 50 |
23 | Защитный фартук из кровельной стали |
24 | Герметизирующая мастика |
25 | Кожух вентилятора |
26 | Колпак водоприемной воронки |
27 | Пропускаемая труба |
28 | Зонт из оцинкованной стали |
29 | Патрубок с фланцем |
30 | Грунтовочный слой |
31 | Разделительный слой из кровельного битумно-полимерного материала |
32 | Противокорневой слой |
33 | Дренажный слой из гравия |
34 | Фильтрующий слой |
35 | Растительный слой |
36 | Тротуар из цементно-песчаного раствора или бетонных плиток, асфальтобетона |
37 | Стальной стакан с фланцем |
38 | Парапетная плита |
39 | Ограждение кровли |
40 | Водоприемная воронка |
41 | Защитная решетка |
42 | Гравийная засыпка |
43 | Пригрузочный слой из гравия,  , ГОСТ 8268-82 (из расчета 50 кг/м 2) |
44 | Предохранительный (фильтрующий) слой - холст из синтетических волокон, ТУ 6-19-290-83 |
45 | Кровельный ковер - два слоя наплавляемого рулонного материала из филизола или один слой полимерной пленки "Кровлен", наклеенной на мастике |
46 | Слой кровельного материала |
47 | Водоприемный стояк |
48 | Прижимной фланец, устанавливаемый на мастику толщиной 5 мм |
49 | Легкий бетон выравнивающего слоя ендовы |
50 | Пробка деревянная антисептированная 65 x 120 x 120 через 510 |
51 | Рейка деревянная антисептированная сеч. 25 x 60 |
52 | Патрубок |
53 | Стальная полоса сеч. 4 x 40 |
54 | |
55 | Рамка из стального уголка |
56 | Легкий бетон |
57 | Пароизоляция |
58 | |
59 | Костыль из стальной полосы 4 x 40 |
60 | Слив из оцинкованной кровельной стали |
61 | Слой песка с размерами частиц до 4-х мм |
62 | Опоры из атмосферостойкой резиновой пластины по ГОСТ 7338-90*, 1 класса, вида Ф, с присоединенными к ней вулканизацией ребрами из той же резины |
63 | Слой щебня (гравия) фракцией 10...20 мм |
64 | Уклонообразующий слой из легкого бетона класса В7,5 с затиркой раствором или стяжка из цементно-песчаного раствора марки 100 |
65 | |
66 | Огрунтовка поверхности под кровлю |
67 | Бортовой камень |
68 | Наклонный бортик из цементно-песчаного раствора |
69 | Слой кровельного материала (усиление ковра) |
70 | Стенка деформационного шва |
71 | Крепежный элемент |
72 | Существующее покрытие |
73 | Восстановленный кровельный ковер |
74 | Новый водоизоляционный ковер |
75 | Сплошная приклейка плит теплоизоляции 1,5 м с каждой стороны ската |
76 | Полоса кровельного материала |
77 | Водоприемный патрубок с фланцем |
































Повышение теплозащиты покрытия с традиционной кровлей
Повышение теплозащиты покрытия с инверсионной кровлей
Повышение теплозащиты в коньке
Повышение теплозащиты в ендове
ПОЛЫ ХОЛОДИЛЬНИКОВ
ЭКСПЛИКАЦИЯ
N поз. | Наименование |
1 | Монолитное бетонное покрытие класса В22,5 - 40 мм |
2 | Армобетонная стяжка - 80 мм |
3 | Слой пергамина насухо с промазкой швов битумной мастикой |
4 | Теплоизоляция - пенополистирольные плиты URSA FOAM |
5 | Оклеечная пароизоляция |
7 | Железобетонная плита перекрытия подполья |
8 | Ригель перекрытия |
9 | Сборные железобетонные плиты 500 x 500 x 40 мм |
10 | Прослойка из цементно-песчаного раствора марки 300 - 15 мм |
11 | Стяжка из бетона класса В15, армированная сеткой 60-3,0-0 по ГОСТ 5336-80 - 80 мм |
12 | Железобетонная плита безбалочного перекрытия - 160 мм |
13 | Цементно-песчаный раствор марки 200 по металлической сетке 35-2,0-0 по ГОСТ 5336-80 |
14 | Противопожарный пояс из пенобетона  |
15 | Железобетонная наружная стеновая панель с теплоизоляцией |
16 | Монолитное бетонное покрытие класса В22,5 - 40 мм |
17 | Фольгоизол по битумной грунтовке - 5 мм |
18 | Стяжка из цементно-песчаного раствора марки 100 - 20 мм |
19 | Уплотненный песок влажностью 10% - 200 мм |
20 | Бетонная подготовка класса В20 с электронагревателями |
21 | Гидроизоляция оклеечная (по расчету) |
22 | Стяжка из бетона В10 с выравниванием поверхности под гидроизоляцию - 50 мм |
23 | Подсыпка местным грунтом с уплотнением |
24 | Грунт основания |
25 | Наружная стена холодильника |
26 | Теплоизоляция стены из пенополистирольных плит URSA FOAM |



ПОЛЫ НА НЕОБОГРЕВАЕМОМ ГРУНТЕ
ЭКСПЛИКАЦИЯ
N поз. | Наименование |
1 | Покрытие из паркета |
2 | Клеевой состав |
3 | Грунт основания |
4 | Стяжка из цементно-песчаного раствора марки 100 - 30 мм |
5 | Теплоизоляция - из плит экструзионного пенополистирола URSA FOAM |
6 | Покрытие пола из линолеума |
7 | Бетонный подстилающий слой |
8 | Гидроизоляция |
9 | Покрытие из керамической плитки |
10 | Шов из цементно-песчаного раствора |
Пример 1. Расчет толщины теплоизоляции стены подвала
Тип здания - жилой дом с нижней разводкой систем отопления и горячего водоснабжения.
Место строительства - Москва.
Конструкция стены - кирпичная с толщиной несущей части 640 мм, утепленная плитным экструзионным пенополистиролом с

и защитным слоем из цементно-известковой штукатурки толщиной 30 мм.
1. Определяем значение градусо-суток отопительного периода:
| | ИС МЕГАНОРМ: примечание. Формула дана в соответствии с официальным текстом документа. | |

.
2. По
СНиП 23-02-2003 находим значение приведенного сопротивления теплопередачи:

.
3. Требуемая толщина теплоизоляции стены подвала, расположенной выше уровня земли:

.
Принимаем толщину теплоизоляции равной 70 мм.
4. Вычисляем толщину теплоизоляции стены подвала, расположенной ниже уровня земли:

.
Принимаем толщину теплоизоляции равной 40 мм.
При размещении теплоизоляционного слоя с внутренней стороны стены определяют расположение зоны конденсации графическим способом.
Пример 2. Определение возможности конденсации влаги внутри стены подвала жилого дома в г. Москве по исходным данным
примера N 1 при условии, что стена при реконструкции утеплена со стороны помещения подвала и оштукатурена цементно-песчаным раствором толщиной 30 мм.
1. Определяем сопротивление паропроницанию слоев стены:

;

;

;

.
2. Вычерчиваем стену в масштабе сопротивлений паропроницаемости (рис. 1).
Рис. 1. Зона конденсации влаги в стене подвала,
утепленной со стороны помещения
1 - стена подвала; 2 - теплоизоляция; 3 - облицовка;
4 - зона конденсации
3. Температуры на границах слоев стены определяются по формуле:

;

;

;

;

.
4. Данным температурам соответствуют следующие значения упругости водяного пара:
5. Значения действительной упругости водяного пара при относительной влажности воздуха в помещении

и наружного воздуха

составляет:

;

.
6. Количество водяного пара, поступающего к зоне конденсации:

.
7. Количество водяного пара, уходящего от левой зоны конденсации:

.
8. Количество водяного пара, конденсирующего в стене:

.
9. В течение месяца в стене сконденсируется влаги:

.
10. Определим скорость удаления влаги в летнее время при следующих исходных параметрах воздуха:

;

;

.
11. Температура в плоскости прилегания пенополистирольной плиты к кирпичной стене:

;

.
12. Этой температуре соответствует максимальная упругость водяного пара

.
13. Другая поверхность зоны конденсации отстоит от внутренней поверхности кирпичной стены на расстоянии:

,
где 0,11 мг/(м2·ч·Па) - коэффициент паропроницаемости кирпичной кладки.
14. Термическое сопротивление зоны конденсации:

.
15. Температура этой поверхности

составит:

.
16. Этой температуре соответствует максимальная упругость водяного пара

.
17. Так как

, то высыхание будет происходить в обоих направлениях.
18. Количество влаги, удаляемой в сторону помещения:

.
19. Количество влаги, удаляемой по направлению к наружной стороне стены:

.
20. Тогда:

.
21. Количество влаги, удаляемой из стены в течение месяца:

, что больше, чем

,
откуда следует, что сконденсирующаяся влага будет удаляться за летний период.
Пример 3. Определение возможности накопления влаги и необходимости устройства дополнительной пароизоляции в многослойном покрытии при реконструкции производственного здания в г. Тамбове (рис. 2).
Рис. 2. Конструкция покрытия с дополнительным
слоем теплоизоляции:
1 - гравий на мастике; 2 - 4 слоя рубероида на битумной
мастике; 3 - стяжка из цементно-песчаного раствора;
4 - экструзионный пенополистирол,

;
5 - 4 слоя рубероида на мастике (существующая кровля);
6 - стяжка из цементно-песчаного раствора;
7 - теплоизоляция из пенобетона,

;
8 - пароизоляция из слоя рубероида на битумной мастике;
9 - железобетонная плита,

Исходные данные:

и

.
1. Фактическое сопротивление теплопередаче покрытия

(м
2·°C)/Вт, равно:
2. По
СНиП 23-01-99 выписываем в таблицу значения среднемесячных температур и давления водяных паров наружного воздуха.
Месяц | 1 | 2 | 3 | 4 | 5 | 6 | 7 | 8 | 9 | 10 | 11 | 12 |
tв, °C | -10,9 | -9,5 | -4,6 | 6,0 | 14,1 | 18,1 | 19,8 | 18,6 | 12,5 | 5,2 | -1,4 | -7,3 |
eв, ГПа | 2,4 | 2,5 | 4,1 | 9,3 | 16,0 | 20 | 23,0 | 21,0 | 14,5 | 8,8 | 5,4 | 3,3 |

.
3. Значения

и

как сумма

:

;
(

- для экструзионного ППС).
4. Вычисляем сопротивление теплопередаче слоев покрытия от внутренней поверхности до плоскости возможной конденсации:

.
5. Продолжительность сезонов и среднемесячные температуры наружного воздуха по
СНиП 23-01-99.
Зима (январь, февраль, декабрь):


.
Весна - осень (март, апрель, октябрь, ноябрь):


.
Лето (май, июнь, июль, август, сентябрь):


.
6. Соответственно значение температур

:

;

;

.
7. Среднемесячным

соответствует:
8. Средние значения:

;

при

;

.
9. Определяем:

,
т.е. по этому условию дополнительной пароизоляции не требуется.
10. Проверяем возможность влагонакопления за период с отрицательными среднемесячными температурами, для чего определяем упругость водяного пара наружного воздуха за период

:

.
Средняя температура наружного воздуха за тот же период:

;

;
этой температуре соответствуют

;
Вычисляем:

,
т.е. по этому условию дополнительной пароизоляции не требуется.