Главная // Актуальные документы // ПротоколСПРАВКА
Источник публикации
Документ опубликован не был
Примечание к документу
Приказом Минрегиона России от 27.12.2010 N 784 с 20 мая 2011 года введен в действие
СП 17.13330.2011 "Свод правил. Кровли. Актуализированная редакция СНиП II-26-76".
Название документа
"Кровли. Руководство по проектированию, устройству, правилам приемки и методам оценки качества"
(рассмотрено и одобрено Протоколом ОАО "ЦНИИПромзданий" от 21.05.2002 N К-34)
"Кровли. Руководство по проектированию, устройству, правилам приемки и методам оценки качества"
(рассмотрено и одобрено Протоколом ОАО "ЦНИИПромзданий" от 21.05.2002 N К-34)
Протоколом ОАО "ЦНИИПромзданий"
от 21 мая 2002 г. N К-34
ОТКРЫТОЕ АКЦИОНЕРНОЕ ОБЩЕСТВО
ЦЕНТРАЛЬНЫЙ НАУЧНО-ИССЛЕДОВАТЕЛЬСКИЙ
И ПРОЕКТНО-ЭКСПЕРИМЕНТАЛЬНЫЙ ИНСТИТУТ
ПРОМЫШЛЕННЫХ ЗДАНИЙ И СООРУЖЕНИЙ
ОАО ЦНИИПромзданий
КРОВЛИ
РУКОВОДСТВО
ПО ПРОЕКТИРОВАНИЮ, УСТРОЙСТВУ, ПРАВИЛАМ
ПРИЕМКИ И МЕТОДАМ ОЦЕНКИ КАЧЕСТВА
Настоящее Руководство разработано в развитие действующей главы
СНиП II-26-76 "Кровли. Нормы проектирования" и распространяется на проектирование и устройство кровель из рулонных, мастичных материалов, асбестоцементных волнистых листов, черепицы, плоских асбестоцементных, битумных и битумно-полимерных плиток, листовой стали, меди, металлического профлиста, металлочерепицы, а также железобетонных панелей лоткового сечения, предназначенных для применения в зданиях различного назначения.
В Руководстве представлены Технические требования
(раздел I), которые необходимо соблюдать для обеспечения эксплуатационной надежности различных видов кровель, и указания по их проектированию, способам устройства, правилам приемки и методам оценки качества
(раздел II). Указания содержат рекомендации, которые обеспечивают соблюдение Технических требований, изложенных в
разделе I.
При проектировании и устройстве кровель, кроме указаний настоящего Руководства, должны выполняться требования действующих норм проектирования, правил техники безопасности, по охране труда и противопожарной безопасности.
Руководство предназначено для проектных и строительных организаций, а также служб эксплуатации
Разработано: ОАО "ЦНИИПромзданий" (С.М. Гликин, канд. техн. наук, Заслуженный строитель России, А.М. Воронин, канд. техн. наук, Почетный строитель России, Л.Б. Синицина, инж.) при участии ОАО ЦНИИОМТП (В.Б. Белевич, доктор техн. наук, Заслуженный строитель России). При разработке документа учтены результаты исследований ОАО "Полимерстройматериалы" (Я.И. Зельманович, канд. хим. наук, Ю.П. Шульженко, инж., А.Р. Нуралов, канд. техн. наук), НИИМосстрой (А.Б. Вальницев, инж.), а также передовой отечественный и зарубежный опыт проектирования и устройства кровель из различных материалов.
Руководство рассмотрено и одобрено секцией строительных конструкций НТС ОАО "ЦНИИПромзданий" - Протокол N К-34 от 21.05.2002.
ТЕХНИЧЕСКИЕ ТРЕБОВАНИЯ, ПРЕДЪЯВЛЯЕМЫЕ К КРОВЛЯМ
Настоящие Технические требования необходимо соблюдать при проектировании и устройстве кровель зданий и сооружений различного назначения: из рулонных, мастичных материалов, асбестоцементных волнистых листов, черепицы, плоских асбестоцементных, битумных и битумно-полимерных плиток, листовой стали, меди, металлического профлиста, металлочерепицы, а также железобетонных панелей лоткового сечения.
Соблюдение изложенных ниже Технических требований обеспечивает эксплуатационную надежность кровель.
В настоящих Технических требованиях использованы ссылки на следующие нормативные документы:
СНиП 10-01-94 Система нормативных документов в строительстве. Основные положения.
ГОСТ 30340-95 "Листы асбестоцементные волнистые. Технические условия".
ГОСТ 30547-97 "Материалы рулонные кровельные и гидроизоляционные. Общие технические условия".
ГОСТ 30693-2000 "Мастики кровельные и гидроизоляционные. Общие технические условия".
В настоящих Технических требованиях использованы термины с соответствующими определениями, приведенными в
Приложении 1 (обязательном).
4.1. Материалы, применяемые для кровель, и основания под кровлю должны отвечать требованиям действующих на них нормативных документов или Технических условий, утвержденных в установленном порядке, или документа, подтверждающего пригодность применения их в строительстве.
4.2. Требуемые уклоны для различных видов кровель необходимо принимать по табл. 1.
Таблица 1
Уклоны, % кровель |
рулонные | мастичные | из асбестоцементных волнистых листов | из мелкоштучных материалов | из листовой стали или меди | из металлического профлиста и металлочерепицы | из железобетонных панелей |
черепица | асбестоцементные плитки | битумные и битумно-полимерные плитки |
0 - 25 <*> | 0 - 25 <*> | не менее 10 | не менее 20 <**> | не менее 50 | не менее 20 | не менее 30 | не менее 10 | не менее 5 |
<*> Уклон 0% - может приниматься при соответствующем обосновании; кровли из полимерных рулонных материалов и полимерных мастик могут предусматриваться на уклонах более 25%, для кровель из битуминозных материалов на таких уклонах требуется предусматривать мероприятия против сползания ковра по основанию. <**> Для глиняной желобчатой черепицы - 30%. |
Уклон кровли в ендове должен быть не менее 0,5% при уклонах скатов покрытия менее 3% и не менее 1% при уклонах скатов 3% и более.
4.3. Для удаления воды с кровель должен предусматриваться внутренний или наружный организованный водоотвод.
Внутренний водоотвод предусматривается преимущественно в отапливаемых зданиях и сооружениях с рулонными и мастичными кровлями.
На кровлях из мелкоштучных материалов, асбестоцементных волнистых листов, листовой стали, меди, металлочерепицы и металлического профлиста должен предусматриваться наружный организованный водоотвод. При соответствующем обосновании может быть предусмотрен внутренний водосток на таких кровлях с отводом воды через воронки в ендовах.
Наружный неорганизованный водоотвод допускается применять на кровлях в зданиях высотой до 10 м при условии устройств козырьков над входами.
4.4. Водосточные воронки внутреннего организованного водоотвода должны располагаться равномерно по площади кровли на пониженных участках.
4.6. Оси воронок внутреннего водоотвода должны находиться на расстоянии не менее 600 мм от парапетов и других выступающих частей здания. Местное понижение кровли в местах установки воронок внутреннего водоотвода должно составлять 15 - 20 мм в радиусе 0,5 м.
4.7. При наружном организованном водоотводе расстояние между водосточными трубами должно быть не более 24 м. Настенные и подвесные желоба должны иметь продольный уклон в пределах 0,5... 1%.
4.8. При кровлях на покрытиях с несущим металлическим профилированным настилом и теплоизоляционным слоем из материалов групп горючести Г1 - Г4 должно быть предусмотрено заполнение пустот гофр настилов на длину 250 мм материалами группы горючести НГ в местах примыкания настилов к стенам, деформационным швам, стенкам фонарей, а также с каждой стороны конька кровли и ендовы.
4.9. Кровли из асбестоцементных волнистых листов, асбестоцементных плоских плиток, цементно-песчаной черепицы, из листовой стали, металлочерепицы и металлического профлиста, а также защитные слои из бетонных плит или цементно-песчаного раствора эксплуатируемых рулонных и мастичных кровель в зависимости от степени агрессивности окружающей среды должны выполняться с учетом требований
СНиП 2.03.11-85. При агрессивной окружающей среде водоизоляционный ковер неэксплуатируемых кровель должен быть из полимерных, битумно-полимерных рулонных или мастичных материалов.
4.10. В кровлях из асбестоцементных волнистых листов, листовой стали, меди, металлического профлиста и металлочерепицы на утепленных покрытиях между слоем теплоизоляции и кровли должен быть предусмотрен зазор, сообщающийся с наружным воздухом на карнизном и коньковом участках, а по верху теплоизоляции из волокнистых материалов - противоветровой барьер из водоизоляционного паропроницаемого материала.
4.11. Во избежание образования со стороны холодного чердака конденсата на поверхностях кровли из асбестоцементных волнистых листов, листовой стали, меди, металлического профлиста и металлочерепицы должна быть обеспечена естественная вентиляция чердака через отверстия в кровле (слуховые окна, вытяжные шахты и т.п.), суммарная площадь которых принимается не менее 1/300 от площади горизонтальной проекции кровли.
5. КРОВЛИ РУЛОННЫЕ И МАСТИЧНЫЕ
5.1. Основание под рулонные и мастичные кровли должно отвечать требованиям, приведенным в табл. 2.
Наименование показателей | Основание |
из теплоизоляционных слоев монолитной укладки на | стяжка из цементно-песчаного раствора | стяжка из песчаного асфальтобетона <*> | из железобетонных плит | поверхность существующей кровли из рулонных или мастичных материалов | из теплоизоляционных плит |
цементном вяжущем | битумном вяжущем | по засыпной теплоизоляции | по теплоизоляционным плитам |
1 | 2 | 3 | 4 | 5 | 6 | 7 | 8 | 9 |
Ровность | Плавно нарастающие неровности вдоль уклона не более +/- 5 мм, а поперек уклона - не более +/- 10 мм, в ендове не более +/- 5 мм; количество неровностей должно быть не более одной на базе 1 м | Перепад между смежными плитами не более 3 мм |
Прочность на сжатие, МПа, не менее | 0,15 | 0,15 | 10 | 5 | 0,8 | - | - | 0,06 при 10%-ой линейной деформации на сжатие |
Влажность, %, не более | 5,0 | По ГОСТ или ТУ на плиты |
Толщина, мм | <**> | <**> | 40 +/- 10% <***> с армированием | 30 +/- 10% <***> | 30 +/- 10% <***> | - | - | <**> |
<*> Не допускается по засыпным и сжимаемым утеплителям. <**> Толщина теплоизоляции по расчету. <***> Приведенные значения являются минимальными для уклонообразующих стяжек. |
5.2. В выравнивающей стяжке из цементно-песчаного раствора по теплоизоляции должны быть предусмотрены температурно-усадочные швы шириной до 15 мм, разделяющие поверхность стяжки на участки не более 6 x 6 м. Эти швы должны располагаться над температурно-усадочными швами в слоях монолитной теплоизоляции.
5.3. Выравнивающие стяжки из песчаного асфальтобетона должны быть разрезаны температурно-усадочными швами шириной до 15 мм на участки не более 4 x 4 м.
5.4. Выравнивающие стяжки из цементно-песчаного раствора и песчаного асфальтобетона по плитам покрытия длиной 6 м должны быть разрезаны температурно-усадочными швами на участки 3 x 3 м. При этом температурно-усадочные швы в стяжках должны располагаться над торцевыми швами несущих плит.
5.5. Температурно-усадочные швы в стяжках, теплоизоляционных слоях монолитной укладки и торцовые стыки несущих плит покрытия должны быть перекрыты полосами шириной не менее 150 мм рулонного водоизоляционного материала с приклейкой их с обеих сторон шва.
5.6. При эксплуатируемых кровлях покрытие должно быть проверено расчетом на действие дополнительных нагрузок от оборудования, транспорта, людей и т.п. в соответствии со
СНиП 2.01.07-85.
5.7. Пароизоляция для предохранения теплоизоляционного слоя и основания под кровлю от увлажнения должна предусматриваться в соответствии с требованиями
раздела 6 СНиП II-3-79* изд. 2000 г.
В местах примыкания теплоизоляционного слоя к стенам, стенкам фонарей, шахтам и оборудованию, проходящему через покрытие или чердачное перекрытие, пароизоляция должна быть поднята на высоту, равную толщине теплоизоляционного слоя, а в местах деформационных швов должна перекрывать края металлического компенсатора.
5.8. Рулонные кровли выполняют из битумных и битумно-полимерных материалов с картонной, стекловолокнистой, комбинированной основами и основой из полимерных волокон (наплавляемых или наклеиваемых на мастиках), а также из эластомерных и термопластичных рулонных кровельных материалов, отвечающих требованиям
ГОСТ 30547-97.
5.9. Количество слоев в основном и дополнительном водоизоляционном ковре рулонных кровель в зависимости от уклона должно быть не менее указанного в табл. 3.
Таблица 3
Вид рулонного материала | Количество слоев водоизоляционного ковра для кровель с уклоном, % |
менее 1,5 | 1,5 менее 3,0 | 3,0 - 25 | более 25 |
1. Битумные и битумно-полимерные наплавляемые рулонные материалы | 2* - 4* ------------- 1** - 2*** | 1* - 4* ------------- 1** - 2*** | 1* - 3* ------------- 1** - 2*** | 1* - 3* ------------- 1** - 2*** |
2. Рулонные материалы, наклеиваемые на мастиках | 4 ------------- 2** - 3*** | 4 ------------- 2** - 3*** | 3 ------------- 2** - 3*** | 3 ------------- 2** - 3*** |
3. Эластомерные и термопластичные рулонные материалы | 1 -- 1 | 1 -- 1 | 1 -- 1 | 1 -- 1 |
Примечание. Над чертой - для основного водоизоляционного ковра: * - в зависимости от показателя гибкости материала; под чертой - для дополнительного: ** - в ендовах, на коньковых и карнизных участках, *** - на примыканиях к вертикальным поверхностям (стенам, парапетам, шахтам, трубам и др.); рекомендуемое количество слоев водоизоляционного ковра в зависимости от вида рулонного кровельного материала представлено в Приложении 2. |
5.10. Мастичные кровли выполняют из битумных, битумно-полимерных, битумно-резиновых, битумно-эмульсионных или полимерных мастик, отвечающих требованиям
ГОСТ 30693-2000, с армирующими стекловолокнистыми прокладками или прокладками из полимерных волокон.
5.11. Горячие и холодные битумные, битумно-резиновые, битумно-полимерные и битумно-эмульсионные мастики, а также наплавляемые материалы для устройства рулонных и мастичных кровель в зависимости от их уклона должны иметь теплостойкость не ниже указанной в табл. 4.
Таблица 4
Материал | Теплостойкость, °С |
для участков кровель с уклоном, % | для мест примыкания |
менее 3,0 | 3,0 менее 10 | 10 - 25 | более 25 |
горячая мастика | 55 --- 65 | 65 --- 75 | 75 --- 85 | 85 ---- 100 | 100 ----- 100 |
холодная мастика | 65 --- 65 | 75 --- 75 | 85 --- 85 | 100 ---- 100 | не допускается -------------------- 100 |
наплавляемый рулонный материал | 70 | 75 | 85 | 100 | 100 |
Примечание. Над чертой - для наклейки рулонных материалов; под чертой - для мастичных кровель; для кровель с переменным уклоном (в покрытиях с сегментными фермами, арками и т.п.) теплостойкость мастики должна назначаться по наибольшему значению уклона. |
5.12. Количество мастичных слоев в зависимости от уклона кровли должно быть не менее указанного в табл. 5.
Таблица 5
Вид мастики и армирующей прокладки | Количество слоев водоизоляционного ковра для кровель с уклоном, % |
0 менее 3 | 3,0 - 25 | более 25 |
1. Битумные, битумно-резиновые, битумно-полимерные, битумно-эмульсионные, полимерные мастики, армированные стекловолокнистыми прокладками или прокладками из полимерных волокон | 3* - 4* ------------- 1** - 2*** | 3* ------------- 1** - 2*** | 3* ------------- 1** - 2*** |
Примечание. Над чертой - для основного водоизоляционного ковра: * - в зависимости от показателя гибкости мастики; под чертой - для дополнительного: ** - в ендовах, на коньковых и карнизных участках, *** - на примыканиях к вертикальным поверхностям (стенам, парапетам, шахтам, трубам и др.); рекомендуемое количество слоев водоизоляционного ковра в зависимости от вида мастики с армирующими прокладками представлено в Приложении 2. |
5.13. В эксплуатируемых и инверсионных кровлях с защитным земляным слоем и травяным покровом водоизоляционный ковер должен быть из гнилостойких материалов и защищен противокорневым слоем.
5.14. Высота наклейки рулонных материалов и мастичных слоев в местах примыканий к вертикальным поверхностям должна быть не менее 100 мм (на высоту наклонного бортика) - для слоев основного водоизоляционного ковра и не менее 250 мм - для дополнительных.
5.15. В кровлях с уклоном до 10%, в которых верхний слой вместо материала с крупнозернистой посыпкой или металлической фольгой выполнен из рулонных битумно-полимерных и битумных материалов с мелкозернистой посыпкой либо легкоплавкой полимерной пленкой или из мастичных материалов, должен предусматриваться защитный слой из гравия или из крупнозернистой посыпки (каменной крошки) с маркой по морозостойкости не ниже 100, втопленных в мастику.
Толщина защитного слоя из гравия должна быть 10 - 15 мм.
Толщина защитного слоя из крупнозернистой посыпки, выполняемого в построечных условиях, должна быть 3 - 5 мм.
В кровлях с уклоном более 10%, выполненных из рулонных битумных или битумно-полимерных материалов, для верхнего слоя ковра должен быть применен рулонный материал с крупнозернистой посыпкой или металлической фольгой.
5.16. В кровлях с уклоном до 2,5% из эластомерных и термопластичных рулонных кровельных материалов, выполненных методом свободной укладки, должен предусматриваться плитный или гравийный пригрузочный слой из расчета 50 кг/м2.
5.17. В мастичных кровлях с уклоном более 10% должен быть предусмотрен защитный слой из окрасочных составов.
5.18. В ендовах кровель с уклоном более 10%, выполненных из мастичных материалов, должен быть предусмотрен защитный слой из гравия или крупнозернистой посыпки на ширину усиления основного водоизоляционного ковра.
5.19. Защитный слой эксплуатируемых кровель должен быть плитным или монолитным из негорючих материалов НГ и маркой по морозостойкости не менее 100, толщиной не менее 30 мм и прочностью, определяемой расчетом на нагрузки в соответствии со
СНиП 2.01.07-85, а при травяном покрове - земляным.
5.20. В защитном слое эксплуатируемых кровель должны быть предусмотрены температурно-усадочные швы шириной 10 мм с шагом не более чем в 1,5 м во взаимно перпендикулярных направлениях, заполняемые герметизирующими составами.
5.21. В местах перепадов высот, на пониженных участках (при наружном неорганизованном водоотводе) защитный слой должен быть выполнен в соответствии с п. 5.19 и 5.20 на ширину не менее 0,75 м.
5.22. На кровлях, где требуется обслуживание размещенного на них оборудования (крышные вентиляторы и т.п.), должны быть предусмотрены ходовые дорожки и площадки вокруг оборудования из материалов по пп. 5.19, 5.20.
6. КРОВЛИ ИЗ АСБЕСТОЦЕМЕНТНЫХ ВОЛНИСТЫХ ЛИСТОВ
6.1. Для устройства кровель могут применяться неокрашенные и окрашенные асбестоцементные волнистые листы и детали, отвечающие требованиям
ГОСТ 30340-95.
6.2. Вид листов и шаг брусков обрешетки, прогонов и элементов крепления должен устанавливаться расчетом на действующие нагрузки в соответствии со
СНиП 2.01.07-85.
6.3. При устройстве основания должны быть соблюдены следующие допуски:
неровности на длине 1 м поверхности основания вдоль ската не более 5 мм, поперек ската 10 мм.
6.4. Поперек ската волна накрывающей кромки асбестоцементного листа должна перекрывать волну накрываемой кромки смежного листа. Вдоль ската кровли нахлестка асбестоцементных волнистых листов должна быть не менее 150 мм.
6.5. При уклоне кровли до 20% должна быть предусмотрена герметизация продольных и поперечных стыков между асбестоцементными волнистыми листами.
6.6. При длине здания более 25 м для компенсации деформаций в кровле должны быть предусмотрены компенсационные швы, располагаемые с шагом 12 м для листов, не защищенных водостойким покрытием, и 24 м - для гидрофобизированных и окрашенных листов.
6.7. Элементы для крепления асбестоцементных волнистых листов к обрешетке и прогонам должны быть с антикоррозионной защитой.
6.8. Количество креплений листов к обрешетке гвоздями или шурупами, определяемое расчетом на действующие нагрузки в соответствии с
п. 6.2, должно быть не менее 4 на лист, а количество противоветровых скоб в карнизном ряду не менее 2 на лист.
6.9. При креплении к прогонам количество крепежных элементов типа "Крюк" определяется расчетом на действующие нагрузки. В карнизных и коньковых листах, а также в рядовых листах при расчетной величине ветрового отсоса более 60 кгс/м2 или при динамических нагрузках должно предусматриваться одно дополнительное крепление на лист.
7. КРОВЛИ ИЗ МЕЛКОШТУЧНЫХ МАТЕРИАЛОВ
7.1. Для кровель из мелкоштучных материалов должны применяться:
- битумно-полимерные и битумные плитки;
- глиняная или цементно-песчаная черепица с прочностью на изгиб в ненасыщенном состоянии не менее 7 МПа и морозостойкостью не менее 50 циклов;
- асбестоцементные плоские прессованные плитки с прочностью на изгиб не менее 18 МПа и морозостойкостью не менее 25 циклов.
7.2. Основание под кровли из глиняной или цементно-песчаной черепицы должно удовлетворять требованиям
п. 6.3 настоящих Норм, а под кровли из плиток должно быть сплошным деревянным.
7.3. Под асбестоцементными, битумными и битумно-полимерными плитками должен быть предусмотрен слой из водоизоляционного рулонного материала.
7.4. Кляммеры и гвозди для крепления черепицы и асбестоцементных кровельных плиток должны быть с антикоррозионной защитой.
8. КРОВЛИ ИЗ ЛИСТОВОЙ СТАЛИ, МЕДИ, МЕТАЛЛИЧЕСКОГО
ПРОФЛИСТА И МЕТАЛЛОЧЕРЕПИЦЫ
8.1. Для кровель из листовой стали и металлочерепицы должна применяться оцинкованная сталь, в том числе с защитным декоративным покрытием, толщиной не менее 0,4 мм, а для кровель из меди - листы толщиной не менее 0,3 мм. Тип и несущая способность основания под кровлю устанавливается расчетом на нагрузки в соответствии со
СНиП 2.01.07-85.
8.2. Металлический профлист для кровель должен иметь высоту гофра не менее 35 мм.
8.3. В ендовах и разжелобках кровель из листовой стали или меди лежащие фальцы должны быть выполнены двойными и загерметизированы.
8.4. В кровлях из металлического профлиста и металлочерепицы при уклонах до 20% должна быть предусмотрена обязательная герметизация продольных и поперечных стыков между листами.
8.5. Величина нахлестки металлического профлиста и металлочерепицы вдоль ската должна быть не менее 250 мм, а поперек ската на один гофр.
8.6. Кляммеры для крепления листовой стали и медного листа к обрешетке, а также стальные шурупы, саморезы и шайбы для крепления металлического профлиста и металлочерепицы должны быть с антикоррозионной защитой.
Количество кляммеров устанавливается расчетом на действующие нагрузки в соответствии со
СНиП 2.01.07-85.
9. КРОВЛИ ИЗ ЖЕЛЕЗОБЕТОННЫХ ПАНЕЛЕЙ
ЛОТКОВОГО СЕЧЕНИЯ (БЕЗРУЛОННЫЕ)
9.1. Для кровель должны использоваться панели из бетонов марок: по водонепроницаемости W-6 - W-8 и морозостойкости не менее F300.
9.2. Панели должны иметь на лицевой поверхности окрасочный водоизоляционный слой.
9.3. В местах пропуска вентиляционных блоков, труб и другого инженерного оборудования в железобетонных панелях должны быть предусмотрены отверстия с обрамлением, выступающим на высоту не менее 100 мм.
9.4. В опорных фризовых панелях должны быть предусмотрены вентиляционные отверстия, общая площадь которых в каждой из продольных стен принимают по аналогии с требованием
п. 4.11.
(обязательное)
ОСНОВНЫЕ ТЕРМИНЫ И ОПРЕДЕЛЕНИЯ
Кровля - верхний водоизолирующий слой покрытия или крыши здания или сооружения.
Основание под кровлю - в кровлях из рулонных и мастичных материалов - поверхность теплоизоляции, несущих плит, стяжек, а также существующей (при ремонте) рулонной или мастичной кровли, по которой укладывают слои водоизоляционного ковра.
В кровлях из асбестоцементных волнистых листов - опоры для закрепления листов (прогоны или обрешетка). В кровлях из металлического профлиста - прогоны. В кровлях из листовой стали, меди, черепицы, металлочерепицы - обрешетка; из плоских асбестоцементных плиток, битумных и битумно-полимерных плиток - сплошной деревянный.
Основной водоизоляционный ковер (в составе рулонных и мастичных кровель) - слои рулонных материалов или слои мастик, армированных прокладками из стеклянных или полимерных волокон, последовательно выполняемые по основанию под кровлю.
Дополнительный водоизоляционный ковер (рулонный или мастичный) - слои из рулонных материалов или мастики, армированные прокладками из стеклянных или полимерных волокон, выполняемые для усиления основного водоизоляционного ковра в ендовах, на карнизных участках, в местах примыкания к стенам, шахтам и другим конструктивным элементам. В кровлях из асбестоцементных и других волнистых листов и мелкоштучных материалов - слои из рулонных битумных материалов на стекловолокнистой или картонной основе либо из эластомерных и термопластичных рулонных кровельных материалов в качестве нижнего водоизоляционного слоя.
Защитный слой - элемент кровли, предохраняющий основной водоизоляционный ковер от механических повреждений, непосредственного воздействия атмосферных факторов, солнечной радиации и распространения огня по поверхности кровли.
Кровля рулонная и мастичная традиционная - кровля из рулонных или мастичных материалов с расположением водоизоляционного ковра по основанию из слоя теплоизоляции или стяжки.
Кровля рулонная и мастичная инверсионная - кровля из рулонных или мастичных материалов с расположением водоизоляционного ковра под слоем теплоизоляции по основанию из монолитного железобетона, сборных железобетонных плит или стяжки, образующей уклон покрытия.
Кровля эксплуатируемая - кровля с рабочим настилом (защитным слоем), рассчитанная на пребывание на ней людей, размещение оборудования или транспортных средств.
Покрытие здания (крыша) - верхнее ограждение здания для защиты внутреннего объема от внешних климатических факторов и воздействий. При наличии пространства (проходного или полупроходного) между крышей и перекрытием верхнего этажа пространство и перекрытие именуются чердачными.
Уклон кровли - отношение падения участка кровли к его длине, выраженное относительной величиной в процентах (%).
(рекомендуемое)
Таблица 1
Кровельный ковер из наплавляемых и полимерных
рулонных материалов
Рулонный материал и его показатели | Количество слоев в основном водоизоляционном ковре - в числителе и минимальная толщина ковра в мм - в знаменателе при уклоне кровли в % | Количество слоев в дополнительном водоизоляционном ковре - в числителе и минимальная толщина ковра в мм - в знаменателе | Защитный слой |
менее 1,5 | 1,5 - менее 3,0 | 3,0 - менее 10 | 10 - 25 | более 25 | парапет, стена и т.п. | ендова | воронка |
Битумный наплавляемый с гибкостью при температуре минус 5 °С <= t <= 5 °С и теплостойкостью в соответствии с п. 5.11 | 4 --- 12 | 4 --- 12 | 3 -- 9 | 3 -- 9 | 3 -- 9 | 2 -- 6 | 1 -- 3 | 2 -- 6 | Из гравия или крупнозернистой посыпки, наклеенных на мастике, либо из крупнозернистой посыпки или металлической фольги на верхнем слое рулонного материала в соответствии с п. 5.15; для эксплуатируемых кровель (на уклонах до 10%) - в соответствии с п. 5.19 |
Битумно-полимерный наплавляемый с гибкостью при температуре минус 15 °С < t <= минус 5 °С и теплостойкостью в соответствии с п. 5.11 | 4 --- 12 | 3 -- 9 | 2 -- 6 | 2 -- 6 | 2 -- 6 | 2 -- 6 | 1 -- 3 | 2 -- 6 | То же |
Битумно-полимерный наплавляемый с гибкостью при температуре не выше минус 15 °С и теплостойкостью в соответствии с п. 5.11 | 3 -- 9 | 2 -- 6 | 2 -- 6 | 2 -- 6 | 2 -- 6 | 2 -- 6 | 1 -- 3 | 2 -- 6 | То же |
Битумно-полимерный наплавляемый с двойной (комбинированной) армирующей основой и гибкостью при температуре не выше минус 25 °С | 2 -- 9 | 1 ---- 4,5 | 1 ---- 4,5 | 1 ---- 4,5 | 1 ---- 4,5 | 1 ---- 4,5 | 1 ---- 4,5 | 1 ---- 4,5 | То же |
Эластомерный вулканизованный или термопластичный с гибкостью при температуре, соответственно, не выше минус 40 °С и минус 20 °С свободно уложенный на основание под кровлю | 1 ---- 1,5 | 1 ---- 1,5 | 1 ---- 1,5 | 1 ---- 1,5 | 1 ---- 1,5 | 1 ---- 1,5 | 1 ---- 1,5 | 1 ---- 1,5 | Пригрузочный слой из гравия в соответствии с п. 5.16; для эксплуатируемых кровель - в соответствии с п. 5.19 |
Таблица 2
Кровельный ковер из рулонных материалов,
наклеиваемых на мастиках
Рулонный материал, приклеивающая мастика и ее показатели | Количество слоев в основном водоизоляционном ковре - в числителе и минимальная толщина ковра в мм из холодных и горячих (в скобках) мастик - в знаменателе при уклоне кровли в % | Количество слоев в дополнительном водоизоляционном ковре - в числителе и минимальная толщина ковра в мм - в знаменателе | Защитный слой |
менее 1,5 | 1,5 - менее 3,0 | 3,0 - менее 10 | 10 - 25 | более 25 | парапет, стена и т.п. | ендова | воронка |
Рубероид, стеклорубероид и им подобные материалы, наклеенные на холодных или горячих мастиках с теплостойкостью в соответствии с п. 5.11 | 4 -------- 10 (12) | 4 -------- 10 (12) | 3 -------- 7,5 (9) | 3 -------- 7,5 (9) | 3 -------- 7,5 (9) | 3 -------- 7,5 (9) | 2 ------ 5 (6) | 2 ------ 5 (6) | Из гравия крупнозернистой посыпки, наклеенных на мастике, либо из крупнозернистой посыпки или металлической фольги на верхнем слое рулонного материала в соответствии с п. 5.15; для эксплуатируемых кровель (на уклонах до 10%) - в соответствии с п. 5.19 |
Эластомерный вулканизованный или термопластичный с гибкостью при температурах, соответственно, не выше минус 40 °С и минус 20 °С, наклеенный, соответственно, на полимерной или горячей мастиках (для термопластичных рулонных материалов с дублирующим слоем из стеклохолста или полиэстера) либо закрепленный механическим способом | 1 ------ 2 (4) | 1 ------ 2 (4) | 1 ------ 2 (4) | 1 ------ 2 (4) | 1 ------ 2 (4) | 1 ------ 2 (4) | 1 ------ 2 (4) | 1 ------ 2 (4) | |
Таблица 3
Кровельный ковер из мастичных материалов
Горячая или холодная мастика и ее показатели | Количество слоев мастик (армирующих прокладок - в скобках) в основном водоизоляционном ковре - в числителе и минимальная толщина ковра из горячих и холодных (в скобках) мастик - в знаменателе при уклоне кровли в % | Количество слоев мастик (армирующих прокладок) в дополнительном водоизоляционном ковре - в числителе и минимальная толщина ковра из горячих (холодных - в скобках) - в знаменателе | Защитный слой |
менее 1,5 | 1,5 - менее 3,0 | 3,0 - менее 10 | 10 - 25 | более 25 | парапет, стена и т.п. | ендова | воронка |
Мастика с гибкостью при температуре минус 15 °С < t <= 5 °С и теплостойкостью в соответствии с п. 5.11 | 4 (3) ------ 8 (6) | 4 (3) ------ 8 (6) | 3 (2) ------- 6 (4,5) | 3 (2) -------- 6 (4,5) | 3 (2) -------- 6 (4,5) | 2 (2) ------ 4 (3) | 1 (1) -------- 2 (1,5) | 1 (1) ------- 2 (1,5) | Из гравия или крупнозернистой посыпки, наклеенных на мастиках в соответствии с п. 5.15; для эксплуатируемых кровель (на уклонах до 10%) - в соответствии с п. 5.19 |
Мастика с гибкостью при температуре минус 30 °С < t <= 15 °С и теплостойкостью в соответствии с п. 5.11 | 4 (2) ------ 8 (6) | 4 (2) ------ 8 (6) | 3 (2) ------- 6 (4,5) | 3 (1) ------- 6 (4,5) | 3 (1) ------- 6 (4,5) | 2 (2) ------ 4 (3) | 1 (1) ------ 2 (15) | 1 (1) ------- 2 (1,5) | То же |
Мастика с гибкостью при температуре не выше минус 30 °С и теплостойкостью в соответствии с п. 5.11 | 3 (2) ------- 6 (4,5) | 3 (2) ------- 6 (4,5) | 3 (1) ------- 6 (4,5) | 3 (1) ------- 6 (4,5) | 3 (1) ------- 6 (4,5) | 2 (2) ------- 4 (3) | 1 (1) ------- 2 (1,5) | 1 (1) ------- 2 (1,5) | То же |
ПРОЕКТИРОВАНИЕ И УСТРОЙСТВО КРОВЕЛЬ, ПРАВИЛА
ПРИЕМКИ И МЕТОДЫ ОЦЕНКИ КАЧЕСТВА
1.1. Настоящий раздел Руководства разработан в развитие главы
СНиП II-26-76 и распространяется на проектирование, устройство и ремонт кровель из битумных, битумно-полимерных, эластомерных и термопластичных рулонных материалов, из мастик с армирующими прокладками, асбестоцементных волнистых листов, глиняной и цементно-песчаной черепицы, плоских асбестоцементных, битумных и битумно-полимерных плиток, листовой стали, меди, металлического профлиста, металлочерепицы, а также железобетонных панелей лоткового сечения, применяемых в зданиях различного назначения.
1.2. В разделе изложены рекомендации по конструктивным решениям основных узлов и способам устройства кровель из материалов и изделий, указанных в п. 1.1, выполнение которых обеспечивает соблюдение технических требований, изложенных в I части документа.
1.3. Работы по устройству кровель рекомендуется производить при температуре наружного воздуха до минус 20 °С и при отсутствии снегопада, гололеда, дождя и ветра. Для выполнения кровельных работ должны привлекаться специализированные организации.
1.4. При организованном и неорганизованном отводе воды с кровель рекомендуется предусматривать мероприятия, исключающие обледенение карнизных участков, водоприемных лотков и водосточных труб (например, электроподогрев и др.).
1.5. Для кровель, на которые возможно воздействие агрессивной химической среды, рекомендуется применять материалы с повышенной стойкостью к химагрессии (например, битумно-полимерные наплавляемые рулонные материалы с основой из полимерных волокон или полимерные рулонные материалы).
1.6. При проектировании и устройстве кровель, кроме указаний настоящего раздела Руководства, необходимо также учитывать рекомендации по применению конкретных кровельных материалов, изложенные в Руководствах, разработанных в развитие главы
СНиП II-26-76.
1.7. При проектировании и устройстве кровель, кроме рекомендаций настоящего раздела Руководства, должны выполняться требования действующих норм проектирования, техники безопасности, правил по охране труда и противопожарной безопасности.
2. КРОВЛИ РУЛОННЫЕ И МАСТИЧНЫЕ
2.1. Конструктивные решения
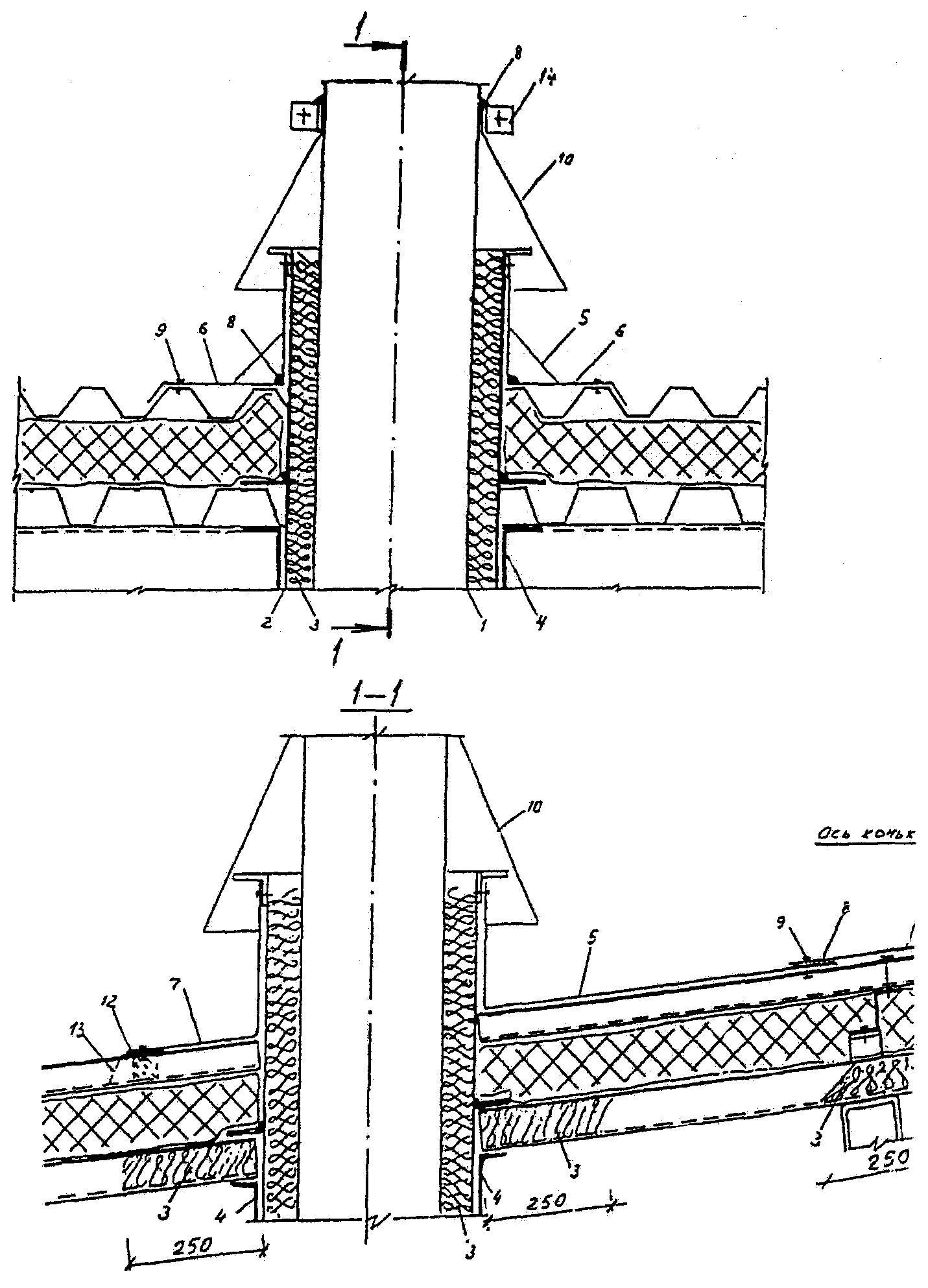
2.1.1. Кровли из рулонных и мастичных материалов могут быть выполнены в традиционном (при расположении водоизоляционного ковра над теплоизоляцией) и инверсионном (при размещении водоизоляционного ковра под теплоизоляцией) вариантах (табл. 1).
Конструктивные решения кровель из рулонных
и мастичных материалов
Вид строительства и схема покрытия | Тип кровли и условные обозначения |
Новое строительство или капремонт с заменой теплоизоляции | К-1 - традиционная неэксплуатируемая на покрытии с применением профилированных листов 1 - профлист; 2 - пароизоляция; 3 - плитный негорючий утеплитель; 4 - сборная стяжка; 5 - грунтовка; 6 - водоизоляционный ковер; 7 - эластомерный или термопластичный пленочный слой; 8 - монопанель; 9 - приклейка битумом |
| К-2 - традиционная неэксплуатируемая на покрытии с применением железобетонных плит 10 - плитный утеплитель; 11 - монолитная выравнивающая стяжка; 12 - монолитный утеплитель; 13 - железобетонная плита; 14 - разделительный слой из рулонного материала (например, пергамина) |
| К-3 - традиционная эксплуатируемая 15 - плитка на цементно-песчаном растворе; 16 - защитный слой из цементно-песчаного раствора или асфальтобетона; 17 - предохранительный (фильтрующий) слой из синтетических волокон (геотекстиль); 18 - дренажный слой из гравия; 19 - почвенный слой |
| К-4 - инверсионная кровля 20 - экструзионный пенополистирол; 21 и 22 - пригрузочный слой из гравия или бетонных плиток; 23 - стяжка из цементно-песчаного раствора или уклонообразующий слой из легкого бетона |
Ремонт существующей (старой) кровли без замены теплоизоляции | К-1', К-2' и К-3' 24 - существующая (старая) кровля; 25 - новый водоизоляционный ковер |
2.1.2. Конструктивное решение покрытия с кровлей в инверсионном варианте включает (см.
табл. 1): железобетонные сборные или монолитные плиты, стяжку из цементно-песчаного раствора или уклонообразующий из легкого бетона, грунтовку, водоизоляционный ковер, теплоизоляцию, предохранительный (фильтрующий) слой-холст противокорневой из синтетических волокон, пригруз из гравия или бетонных плиток из расчета 50 кг/м2.
2.1.3. При выполнении кровли в инверсионном варианте в качестве теплоизоляции должен применяться только плитный экструзионный пенополистирол, характеризующийся практически нулевым водопоглощением, что исключает возможность накопления в нем влаги и размораживания в процессе эксплуатации кровли ("Пеноплекс" по ТУ 5767-002-46261013-99 или аналогичные другие изделия).
2.1.4. При реконструкции или ремонте существующей кровли предварительно необходимо определить возможность сохранения старой теплоизоляции. Целесообразность сохранения ее устанавливают по результатам детального обследования материала теплоизоляции и стяжки с отбором проб и определением их влажностного состояния и прочностных показателей; последние должны удовлетворять требованиям
табл. 2 Технических требований, а влажность - требованиям
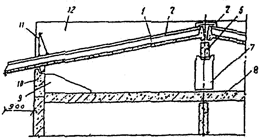
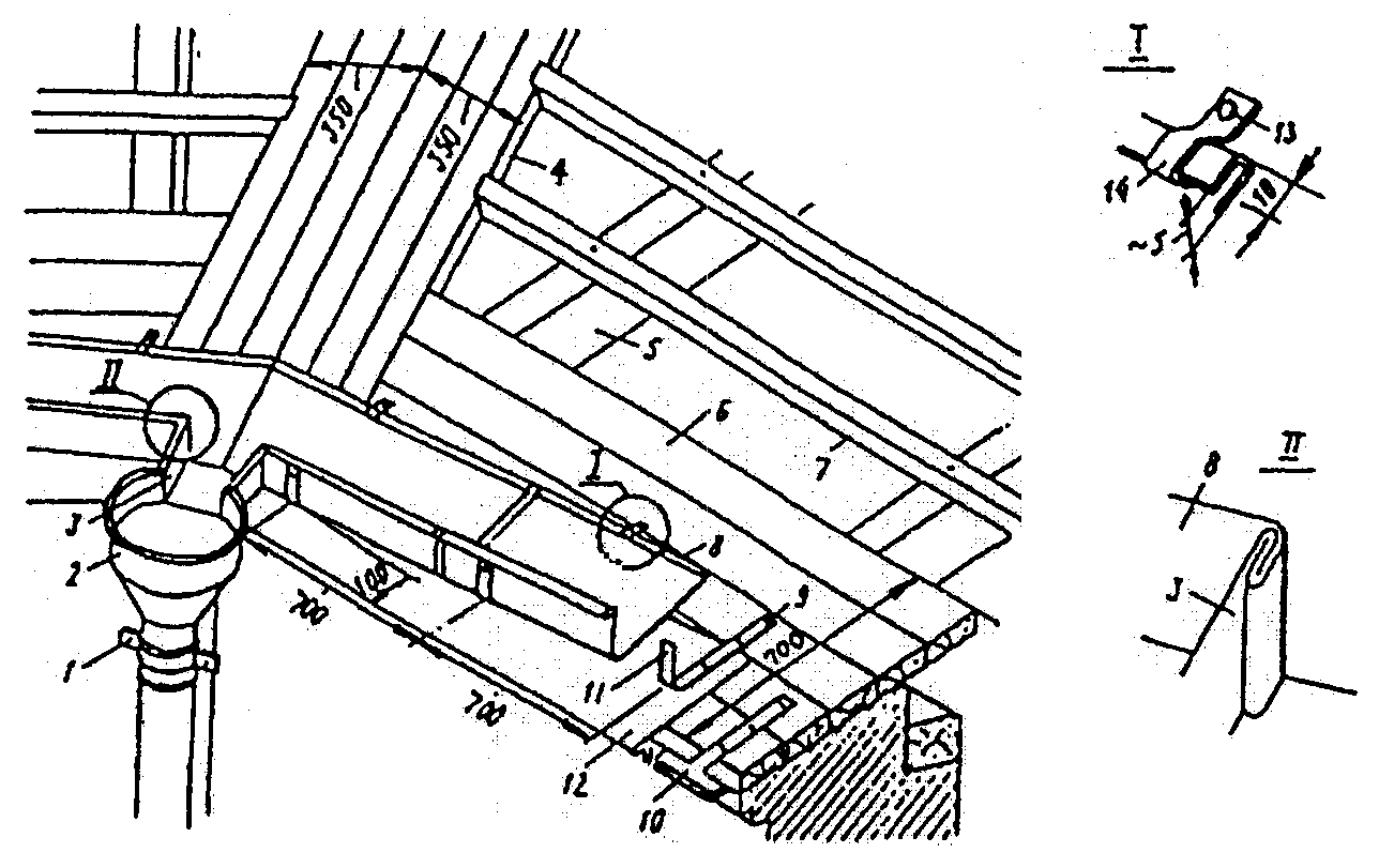
приложения 3* к СНиП II-3-79* издания 2000 г. с учетом допустимого приращения влажности за период влагонакопления, приведенного в табл. 14*. В противном случае теплоизоляцию необходимо заменить или предусмотреть мероприятия, обеспечивающие ее естественную сушку в процессе эксплуатации кровли. Для этого в толще утеплителя и/или в стяжке в двух взаимно перпендикулярных направлениях выполняют каналы, сообщающиеся с наружным воздухом через продухи у карнизов, парапетов, торцевых стен, возвышающихся над кровлей частей зданий, а также через специальные осушающие патрубки, установленные над местом пересечения каналов (рис. 1).

Рис. 1. Вентиляционный патрубок
1 - сборная железобетонная плита; 2 - пароизоляция
(по расчету); 3 - теплоизоляция; 4 - выравнивающая стяжка;
5 - основной кровельный ковер; 6 - дополнительные слои
кровельного ковра; 7 - герметизирующая мастика; 8 - патрубок;
9 - засыпной утеплитель; 10 - грунтовка; 11 - вентилируемые
или диффузионные каналы
2.2. Виды оснований под водоизоляционный ковер
2.2.1. Основанием под водоизоляционный ковер могут служить ровные поверхности:
железобетонных несущих плит, швы между которыми заделаны цементно-песчаным раствором марки не ниже 100 или бетоном класса не ниже В7.5;
теплоизоляционных плит с пределом прочности на сжатие при 10%-ной линейной деформации не менее 0,06 МПа.
При этом в кровлях с наклейкой водоизоляционного ковра холодными мастиками на основе растворителей теплоизоляционные плиты должны обладать устойчивостью к органическим растворителям (бензин, этилацетон, нефрас и др.) и стойкостью к воздействию температур горячих мастик. Возможность применения в качестве основания под водоизоляционный ковер без устройства выравнивающей стяжки плитного утеплителя должна устанавливаться по результатам испытаний их физико-технических свойств, проводимых имеющими лицензию лабораториями;
монолитной теплоизоляции с прочностью на сжатие не менее 0,15 МПа из легких бетонов, а также материалов на основе цементного или битумного вяжущего с эффективными заполнителями - перлита, вермикулита и др.;
| | ИС МЕГАНОРМ: примечание. В официальном тексте документа, видимо, допущена опечатка: имеется в виду ГОСТ 18124-95, а не ГОСТ 18124Н. | |
выравнивающих монолитных стяжек из цементно-песчаного раствора и асфальтобетона с прочностью на сжатие соответственно не менее 5 и 0,8 МПа, а также сборных (сухих) стяжек из асбестоцементных плоских прессованных листов толщиной 10 мм по
ГОСТ 18124Н или цементно-стружечных плит толщиной 12 мм по
ГОСТ 26816.
Под монолитную цементно-песчаную или сборную стяжку минераловатные плиты рекомендуется применять с пределом прочности на сжатие при 10%-ной деформации не менее 0,045 МПа; между цементно-песчаной стяжкой и поверхностью минераловатных плит или другой пористой теплоизоляцией предусматривают разделительный слой из битумного рулонного материала, например пергамина;
водоизоляционного ковра существующих кровель из рулонных или мастичных материалов (при производстве ремонтных работ).
2.2.2. Теплоизоляционные плиты из пенополистирола, фенольного пенопласта и других сгораемых утеплителей могут быть использованы в качестве основания под водоизоляционный ковер из рулонных материалов без устройства выравнивающей стяжки только при свободной укладке рулонного материала, в том числе с механическим креплением его, так как огневой способ наклейки при сгораемом утеплителе недопустим, а использование горячих мастик и холодных клеящих составов на растворителях разрушающе воздействует на такие материалы.
2.3. Устройство основания под водоизоляционный ковер
2.3.1. Теплоизоляционные плиты при укладке по толщине в два и более слоев следует располагать вразбежку с плотным прилеганием друг к другу. Швы между плитами более 5 мм должны быть заполнены теплоизоляционным материалом. Пенополистирольные, минераловатные и другие подобные плиты эффективной теплоизоляции приклеивают точечно к основанию, а при толщине в два и более слоев и между собой. Пенополистирольные плиты рекомендуется наклеивать легкоплавким битумом, нагретым до температуры не более 70 °С; точечная приклейка должна быть равномерной и составлять 25... 35% площади наклеиваемых плит.
2.3.2. Перед выполнением монолитной теплоизоляции на цементном вяжущем следует произвести нивелировку поверхности несущих плит для установки маяков, служащих основанием под рейки для укладки бетонной массы полосами на необходимую высоту. Полосы располагают поперек пролетов; ширина их не должна превышать 1,5 м.
2.3.3. Работа по укладке теплоизоляции должна совмещаться с работами по устройству пароизоляционного слоя (если он требуется по проекту), выполняя их в направлении "на себя" в целях повышения сохранности тепло- и пароизоляции при транспортировании материалов. При этом теплоизоляцию предохраняют от увлажнения атмосферными осадками, укрывая временно брезентом или полиэтиленовой пленкой.
2.3.4. Выравнивающая цементно-песчаная стяжка должна выполняться из жесткого (с осадкой конуса до 30 мм) раствора марок 50 - 100, а асфальтобетонная из горячего мелкозернистого песчаного асфальтобетона. Затирку по сборным железобетонным плитам следует принимать толщиной 10 - 15 мм, а толщину стяжки в соответствии с
табл. 2 главы Технических требований.
2.3.5. Стяжки из песчаного асфальтобетона не допускается применять по сжимаемым (например, минераловатным) и засыпным (из керамзитового гравия и т.п.) теплоизоляционным материалам, а также при наклейке рулонных материалов на холодных кровельных мастиках.
2.3.6. Температурно-усадочные швы в монолитных выравнивающих стяжках рекомендуется выполнять путем прорезки их механической пилой. Допускается образовывать их также путем установки реек при укладке цементно-песчаного раствора или асфальтобетона, которые удаляют после твердения материала стяжки, а швы заполняют мастиками с последующей укладкой на шов полосок рулонного материала шириной 150... 200 мм, приклеивая их с каждой стороны шва на ширину около 50 мм.
2.3.7. Укладку выравнивающей стяжки из цементно-песчаного раствора производят полосами шириной не более 3 м, ограниченными рейками, которые служат маяками. Эту стяжку так же, как и теплоизоляцию, предохраняют от увлажнения атмосферными осадками (см.
п. 2.3.3).
2.3.8. Для обеспечения необходимой адгезии наплавляемых рулонных и мастичных кровельных материалов все поверхности основания из цементно-песчаного раствора или сборных стяжек, бетона, а также поверхность ремонтируемого (старого) водоизоляционного ковра должны быть огрунтованы грунтовочными холодными составами (праймерами), приготовленными из битума и керосина, взятых в соотношении 1:2 (по массе) или из клеящих мастик, разбавленных растворителем или бензином в соотношении 1:2. Грунтовку наносят на выровненную сухую и обеспыленную поверхность при помощи окрасочного распылителя или вручную кистью. Грунтовка должна иметь прочное сцепление с основанием. На приложенном к ней после высыхания ватном тампоне не должно оставаться следов цементного вяжущего или пыли.
2.3.9. Плоские асбестоцементные прессованные листы и цементно-стружечные плиты, используемые в качестве сборной стяжки, во избежание коробления должны быть огрунтованы с обеих сторон. При их раскладке под стыки смежных листов по всей длине должны быть проложены полоски из них шириной 200 мм, огрунтованные с обеих сторон. Сверху на стыки укладывают полоски рулонного материала шириной 150... 200 мм, приклеивая их с каждой стороны стыка на ширину около 50 мм.
2.3.10. При устройстве выравнивающей стяжки из асфальтобетона его укладывают полосами шириной до 2 м, ограниченными двумя рейками или одной рейкой и полосой ранее уложенного асфальта, и уплотняют валиком или катком массой 60 - 80 кг.
2.3.11. При устройстве кровель по основанию из теплоизоляционных плит или при использовании сборной стяжки работы по укладке теплоизоляции или сборной стяжки не должны значительно опережать работы по выполнению нижнего слоя водоизоляционного ковра; их последовательность должна обеспечивать устройство нижнего слоя водоизоляционного ковра в ту же смену, что и укладка теплоизоляционных плит или листов сборной стяжки. В эту же смену теплоизоляционные плиты по торцам выполненного участка рекомендуется оклеить рулонным материалом или окрасить мастикой для исключения возможного увлажнения атмосферными осадками.
2.3.12. В местах примыкания к стенам, парапетам, деформационным швам и другим конструктивным элементам должны быть выполнены наклонные под углом 45° бортики из легкого бетона, цементно-песчаного раствора, асфальтобетона или материала утеплителя. Высота их у мест примыканий кровли должна быть не менее 100 мм. Вертикальные поверхности конструкций, выступающих над кровлей (стенки деформационных швов, парапеты и т.п.), выполненные из кирпича или блоков, должны быть оштукатурены цементно-песчаным раствором на высоту устройства дополнительного водоизоляционного ковра, но не менее 250 мм.
2.3.13. Перед устройством изоляционных слоев основание должно быть сухим, обеспыленным, на нем не допускаются уступы, борозды и другие неровности.
2.4. Водоизоляционный ковер
2.4.1. Конструкция водоизоляционного ковра зависит от уклона, вида рулонного материала и армирующей прокладки и принимается с учетом рекомендаций, изложенных в
Приложении 2.
Водоизоляционный ковер инверсионного и эксплуатируемого типов кровли (см.
табл. 1) следует применять на уклонах до 2,5%. Мастичные кровли рекомендуется преимущественно применять в новом строительстве при сложном рельефе покрытия, а также для ремонта существующих (старых) кровель.
2.4.2. При ремонте кровли без замены существующего водоизоляционного ковра дополнительно наклеивают один-два слоя рулонного материала или устраивают один-два армированных мастичных слоя с учетом рекомендаций, изложенных в
Приложении 2.
2.4.3. В местах перепада высот пролетов, примыканий кровли к парапетам, стенам бортов фонарей, в местах пропуска труб, у водосточных воронок, вентиляционных шахт и т.п. должно предусматриваться устройство дополнительного водоизоляционного ковра, количество слоев которого принимают в соответствии с указаниями Технических требований.
2.5. Устройство водоизоляционного ковра
2.5.1. Перед устройством водоизоляционного ковра должны быть закончены все виды подготовительных работ: подготовка механизмов, оборудования, приспособлений, инструментов и др., осуществлена приемка основания под кровлю и составлены акты на скрытые работы, включая замоноличивание швов между сборными железобетонными плитами, установку и закрепление к несущим плитам или к металлическому профнастилу водосточных воронок, компенсаторов деформационных швов, патрубков (или стаканов) для пропуска инженерного оборудования, анкерных болтов, а в зданиях с покрытиями послойной сборки из металлического профнастила и трудносгораемой теплоизоляции заполнение пустот ребер листов несгораемым материалом в местах примыкания их к стенам, деформационным швам, стенкам фонарей, а также с каждой стороны конька и ендовы на длину 250 мм.
2.5.2. В случае ремонтных работ без замены водоизоляционного ковра с поверхности существующей кровли должны быть удалены свободный гравий и другие посторонние предметы, выполнена очистка от пыли, грязи, ржавчины и т.п. Пузыри, трещины, швы на поверхности существующей рулонной или мастичной кровли должны быть отремонтированы; для этого после надрезки пузырей и их просушки всю поверхность существующей кровли обрабатывают праймером (грунтовочным составом), а затем после высыхания последнего выполняют ремонтные водоизоляционные слои.
2.5.3. Все детали воронок перед устройством водоизоляционного слоя должны быть очищены от ржавчины и покрыты антикоррозионным составом. В случаях, когда ось водоприемной воронки не совпадает с осью водосточной трубы, стыкование их коленом должно осуществляться под углом более 90°. Воронки располагают на пониженных участках кровли: в ендове или в местах наибольшего прогиба несущих конструкций.
2.5.4. В пределах рабочих захваток работы должны начинаться с пониженных участков: карнизных свесов и участков расположения водосточных воронок (ендов). В процессе производства кровельных работ все необходимые материалы должны подаваться в направлении навстречу производственному потоку.
2.5.5. Рулонные кровельные материалы перед употреблением для устранения волн и складок должны быть выдержаны в раскатанном состоянии. При производстве кровельных работ в условиях отрицательных температур битумные и битумно-полимерные рулонные материалы необходимо предварительно отогреть в течение не менее 20 ч до температуры не менее +15 °С. Перекрестная наклейка полотнищ рулонов не допускается. Склеивание полотнищ рулонных материалов между собой должно быть сплошным (без пропусков).
2.5.6. В процессе производства кровельных работ особое внимание должно быть уделено обеспечению требуемой величины нахлестки полотнищ 85 + 15 мм, надежности устройства водоизоляционного ковра у внутреннего и наружного водоотвода, в местах примыкания к стенам, парапетам и другим конструктивным элементам, а также в местах пропуска через кровлю технологических трубопроводов, вентиляционных шахт и т.п.
2.5.7. Для исключения вздутий в кровельном ковре в случае увлажнения основания под кровлю, а также в целях компенсации деформаций несущих конструкций покрытия и предотвращения возможности появления трещин и вздутий в водоизоляционном ковре, наклеиваемом на мастиках, рекомендуется осуществлять точечную или полосовую наклейку полотнищ нижнего слоя водоизоляционного ковра из рулонного материала с оставлением непроклеенных полос шириной 100 мм либо выполнять механическое закрепление его к основанию путем пристрелки дюбелями или нижний слой ковра устраивать из перфорированного рулонного материала. В кровлях из наплавляемых рулонных материалов нижний слой выполняют из перфорированного рулонного материала (типа Изопласт ДЧП-1,5 по ТУ 5774-012-05766480-00 или из рулонного материала с точечно нанесенным в заводских условиях приклеивающим составом "Ренопласт" по ТУ 5774-016-05766480-01).
Точечная и полосовая наклейка должна быть равномерной и составлять 25 - 35% площади наклеиваемых полотнищ; при этом их раскатку следует предусматривать вдоль ската.
2.5.8. При устройстве покрытия из комплексных панелей с нанесенным в заводских условиях водоизоляционным ковром заделка стыков панелей и их оклейка должны производиться после проверки состояния водоизоляционного ковра на смонтированных панелях.
а) Устройство водоизоляционного ковра из битумных
и битумно-полимерных наплавляемых рулонных материалов
2.5.9. Устройство водоизоляционного ковра может осуществляться путем сплошной, полосовой или точечной наклейки нижнего слоя или путем свободной укладки его с механическим креплением к основанию.
2.5.10. Рулонные наплавляемые материалы наклеивают методом подплавления битумно-полимерного слоя или на мастиках.
Наклейку на мастиках рекомендуется использовать преимущественно в тех случаях, когда недопустимо применение метода подплавления битумно-полимерного слоя (объекты газораспределения, размещение на покрытии газопроводов, здания со взрывоопасным производством и т.п.).
2.5.11. Технологические приемы наклейки наплавляемого рулонного материала методом подплавления выполняют в следующей последовательности:
На подготовленное основание раскатывают 2 - 3 рулона, примеряют один рулон по отношению к другому и обеспечивают необходимую нахлестку. Приклеивают концы всех рулонов с одной стороны и полотнища рулонного материала обратно скатывают в рулоны (при значительном охлаждении полотнищ в зимний период эти операции производят при легком подогреве ручной горелкой наружной поверхности рулона).
Разогревая покровный (подплавляемый) слой наплавляемого рулонного материала с одновременным нагревом основания или поверхности ранее наклеенного водоизоляционного слоя, рулон раскатывают, плотно прижимают к основанию и дополнительно прикатывают катком.
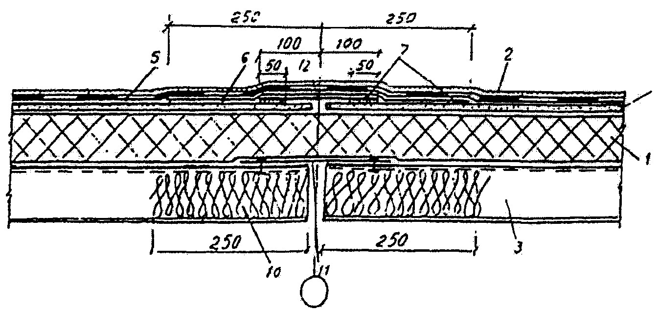
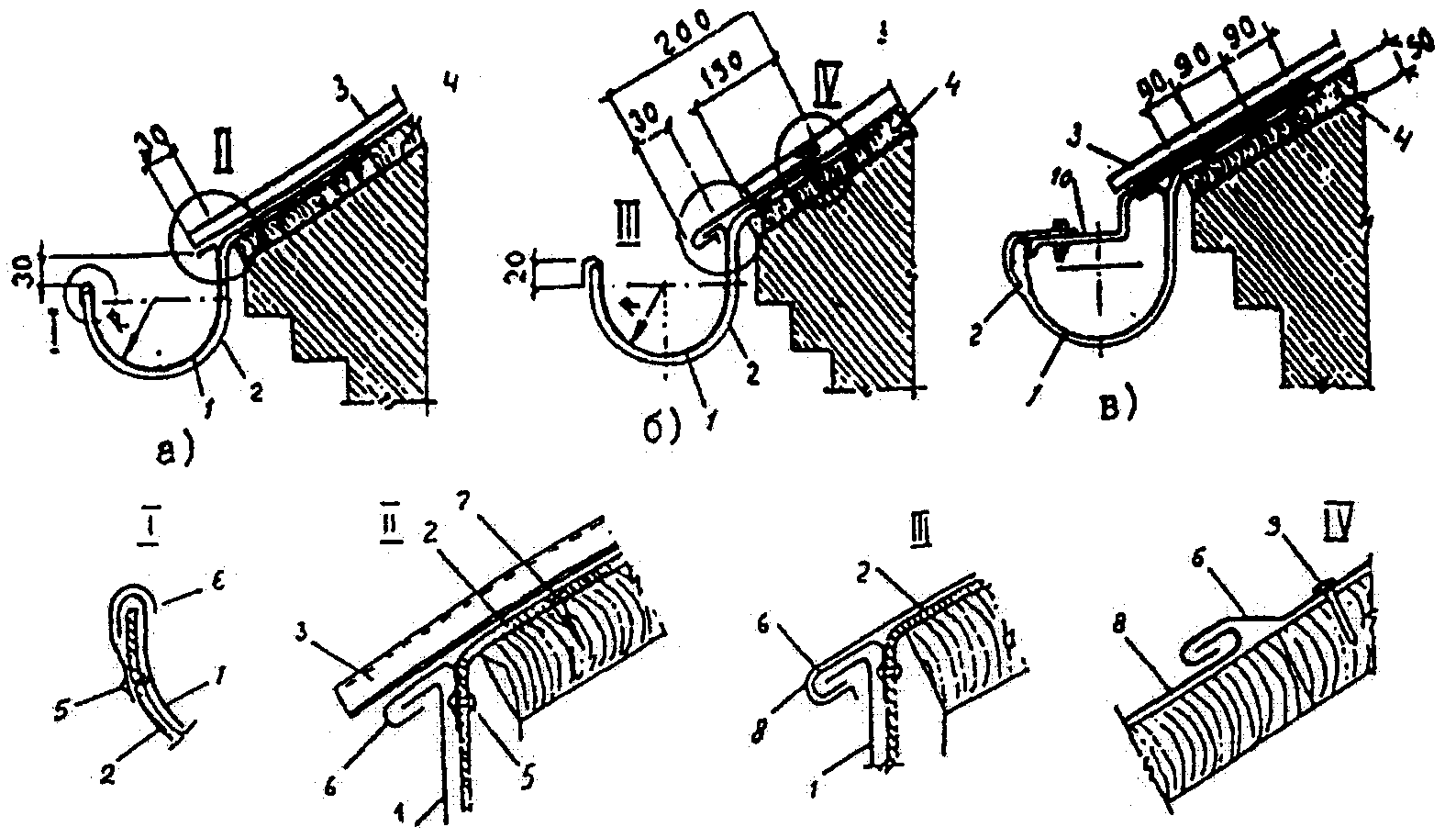
2.5.12. Технологические приемы устройства водоизоляционного ковра методом свободной укладки нижнего слоя с механическим закреплением его выполняют в следующей последовательности (рис. 2):
Рис. 2. Последовательность (а, б, в, г) раскладки рулонных
материалов при устройстве двухслойного водоизоляционного
ковра с механическим закреплением нижнего слоя
1 - переходной наклонный бортик; 2 - ендова; 3 - основание
под кровлю; 4 - нижний слой водоизоляционного ковра;
5 - крепежный элемент с шайбой; 6 - наклейка полотнищ
в местах нахлесток; 7 - верхний (второй) слой
водоизоляционного ковра
на подготовленное под кровлю основание раскатывают рулоны, примеряют один рулон по отношению к другому и обеспечивают нахлестку (продольную и поперечную) (см. рис. 2, а);
полотнища рулонного материала (кроме полотнища, раскатанного вдоль линии водораздела) обратно скатывают в рулоны (при значительном охлаждении полотнищ зимой эти операции производят при легком подогреве ручной горелкой поверхности рулона) (см. рис. 2, б);
полотнище рулонного материала вдоль линии водораздела закрепляют к основанию (см. рис. 2, в) стальными дюбелями с шайбами, затем, разогревая покровный (приклеивающий) слой наплавляемого рулонного материала в месте нахлестки (см. рис. 2, а), рулон раскатывают, плотно прижимая к ранее уложенному полотнищу. После этого свободную кромку раскатанного рулона закрепляют дюбельными гвоздями с шайбами к основанию.
Верхний (второй) слой наплавляемого рулонного материала приклеивают сплошь, а полотнища раскатывают так, чтобы они перекрывали швы нижележащего слоя (см. рис. 2, г). Для нижнего слоя водоизоляционного ковра возможно применение перфорированного рулонного материала.
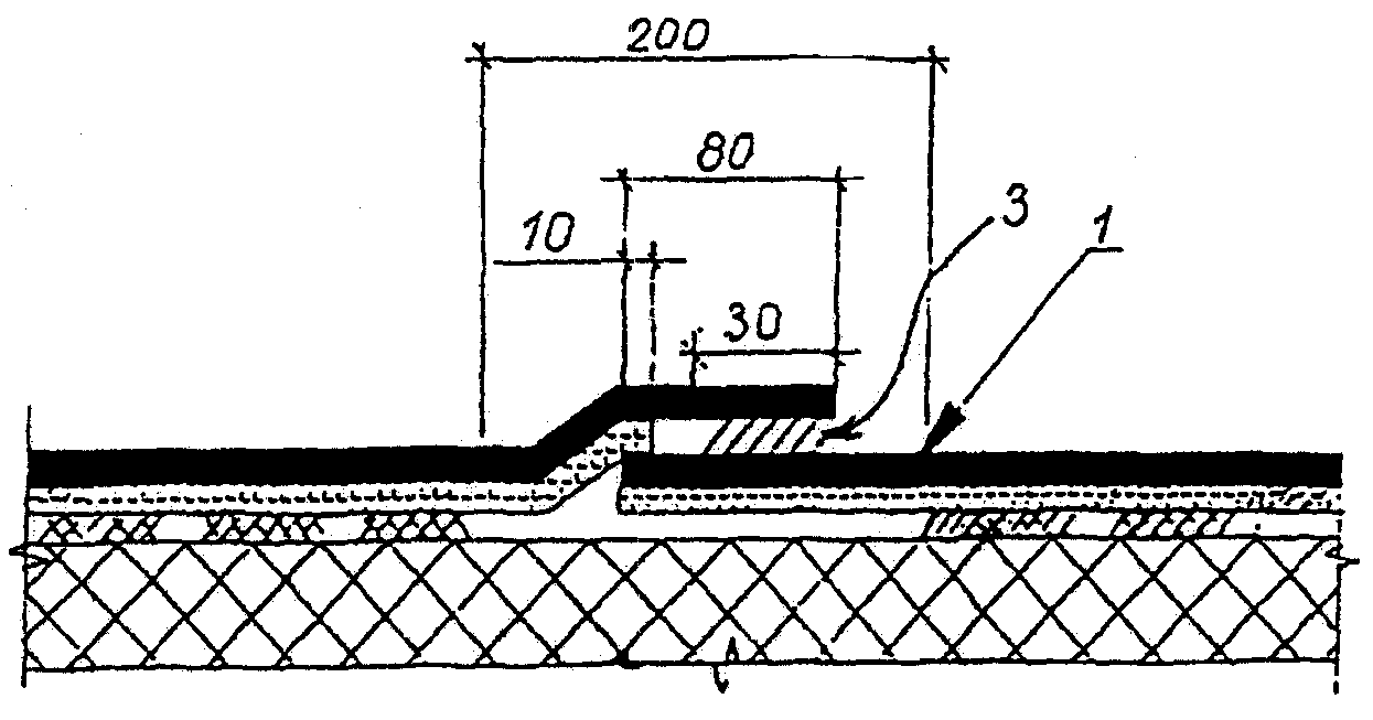
2.5.13. У мест примыкания к стенам, парапетам и т.п. наклейку нижнего полотнища дополнительного водоизоляционного ковра производят только в местах сопряжения с основным водоизоляционным ковром (рис. 3).
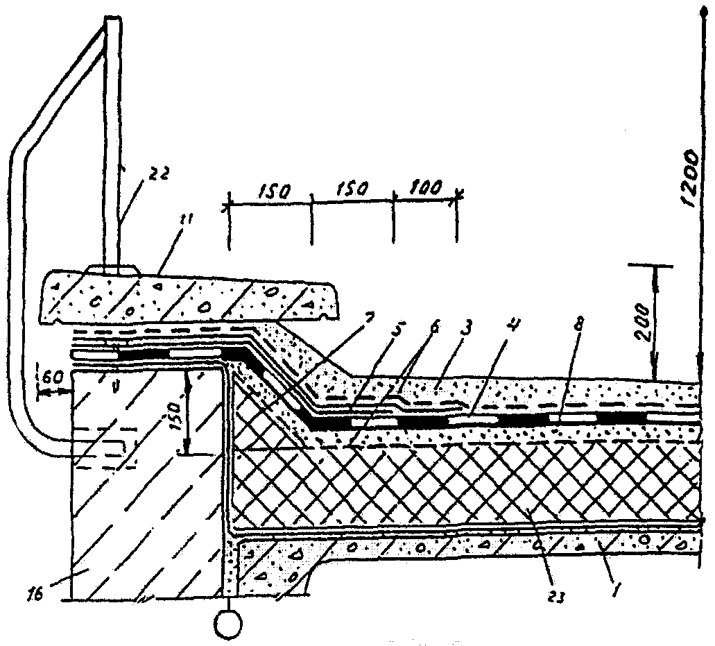
Рис. 3. Примыкание кровли к парапету высотой более
450 мм при механическом закреплении нижнего слоя
водоизоляционного ковра
1 - сборная железобетонная плита; 2 - пароизоляция;
3 - теплоизоляция; 4 - выравнивающая стяжка; 5 - механически
закрепляемый нижний слой основного водоизоляционного ковра;
6 - верхний слой основного водоизоляционного ковра;
7 - крупнозернистая посыпка верхнего слоя основного
водоизоляционного ковра; 8 - крепежный элемент с шайбой;
9 - слои дополнительного водоизоляционного ковра;
10 - оцинкованная кровельная сталь; 11 - герметизирующая
мастика; 12 - костыль 4 x 40 через 6000 мм; 13 - стена;
14 - полоса стальная 4 x 40 мм
б) Устройство водоизоляционного ковра из эластомерных
и термопластичных рулонных материалов
2.5.14. Водоизоляционный ковер из эластомерных и термопластичных рулонных материалов может быть выполнен тремя способами:
методом наклейки;
методом свободной укладки с пригрузом (при однослойном ковре);
методом свободной укладки с механическим креплением.
2.5.15. Устройство водоизоляционного ковра из эластомерных материалов методом наклейки выполняют в следующей последовательности
(рис. 4):
на предварительно огрунтованное основание (вдоль линии водораздела) раскатывают полотнище эластомерного материала и перегибают его по длинной стороне пополам без морщин;
на основание и отогнутую часть полотнища наносят тонкий слой клея и выдерживают до тех пор, пока клей перестанет прилипать при прикосновении сухим пальцем (до "отлипа");
разворачивают смазанную клеем половину полотнища без образования морщин на основание с нанесенным клеевым составом и прикатывают катком массой 2 - 5 кг с мягкой обкладкой;
вторую половину полотнища перегибают на наклеенную половину и приклеивают ее аналогичным способом;
в местах нахлестки на 100 мм смежных полотнищ клеящий состав наносят на предварительно обезжиренные растворителем кромки стыкуемых полотнищ и после выдержки клея до "отлипа" соединяют их с последующей прокаткой мест нахлестки поперек шва роликом массой 2 - 5 кг. Места нахлесток смежных полотнищ дополнительно герметизируют вдоль открытого торца пленки.
Рис. 4. Последовательность наклейки эластомерной пленки
1 - основание под кровлю; 2 - грунтовка; 3 - полотнища
пленки; 4 - сложение пополам крайнего полотнища;
5 и 6 - нанесение клея на отогнутое полотнище и основание
под кровлю; 7 - приклеивание отогнутого полотнища;
8 - сложение пополам смежного (соседнего) полотнища;
9 и 10 - нанесение клея на пленку и основание под кровлю
2.5.16. Термопластичные рулонные материалы, применяемые для наклейки к основанию под кровлю, имеют подложку из полимерных (например, полиэстеровых) волокон. Такую пленку наклеивают на горячем битуме в следующей последовательности:
на поверхности основания под кровлю раскатывают несколько рулонов пленки, примеряют один рулон по отношению к другому, обеспечивают необходимую нахлестку и выдерживают их в течение 30 мин;
одно (крайнее) полотнище перегибают пополам без морщин и вспучиваний;
на поверхность основания под кровлю при помощи специального устройства полосами наносят горячий битум.
При нанесении клея необходимо исключить попадание его в зону устройства будущего термосварного стыка!
Разворачивают половину полотнища пленки на смазанную поверхность основания под кровлю без образования морщин (складок) и разглаживают приклеенное полотнище при помощи мягкого валика или широкой щетки с густым ворсом;
отгибают вторую (неприклеенную) половину крайнего полотнища пленки и наносят клей на основание под кровлю;
отогнутую часть полотнища укладывают на основание под кровлю, придавливая и разглаживая его к наружному краю;
аналогично наклеивают остальные полотнища пленки;
используя рекомендуемое сварочное оборудование, выполняют ("сваривают") стыки неприклеенных кромок смежных полотнищ на ширину не менее 30 мм (рис. 5).
Рис. 5. Стык смежных полотнищ термопластичной пленки
1 - пленка; 2 - полосовая приклейка; 3 - сварной шов;
4 - основание под кровлю
2.5.17. При устройстве однослойного водоизоляционного ковра из эластомерных рулонных материалов методом свободной укладки работы могут производиться с использованием отдельных полотнищ или укрупненных карт площадью 50 - 100 м2. Их выполняют в следующей последовательности:
раскатывают полотнища или заранее заготовленные карты на основание и осуществляют склейку их между собой с последующей герметизацией швов в местах нахлестки в соответствии с указаниями
п. 2.5.15;
на образованный таким образом свободно уложенный на основание однослойный водоизоляционный ковер расстилают распределительный (прокладочный) слой из "ДОРНИТА" (ТУ 1867882-90 или ТУ 8397-038-05766623-97) или "ГЕОТЕКСА" (ТУ 2282-535-00203521-97);
по распределительному слою рассыпают пригрузочный гравийный слой или укладывают бетонные плитки из расчета 50 кг/м2.
2.5.18. Технологические приемы укладки термопластичной пленки при свободной укладке выполняют в следующей последовательности:
раскатывают несколько рулонов пленки на предварительно подготовленное основание с нахлестом 70 мм, дают пленке отлежаться как минимум 30 мин. При укладке пленки по существующей битумной кровле, твердому неровному основанию или по утеплителю из пенопласта или пенополиуретана выполняют предварительную укладку разделительного слоя нетканого материала - геотекстиля;
используя сварочное оборудование, выполняют стык соседних полотнищ с шириной сварного шва не менее 30 мм (рис. 6);
на участках кровли (в зонах примыканий, на криволинейных участках), где невозможно или затруднительно использование автоматического сварочного оборудования, выполняют сварку стыков вручную.
Рис. 6. Стык смежных полотнищ термопластичной пленки
1 - пригруз; 2 - сварка; 3 - пленка; 4 - геотекстиль;
5 - основание под кровлю
2.5.19. Устройство водоизоляционного ковра из эластомерных рулонных материалов методом свободной укладки с механическим креплением осуществляют в следующей последовательности:
раскатывают несколько рулонов эластомерного материала с нахлесткой в 85 + 15 мм;
кромки полотнищ, смежных с полотнищем, уложенным вдоль ендовы, перегибают (на ширину не менее 100 мм) по длинной стороне;
полотнище, уложенное вдоль ендовы (см.
рис. 2), закрепляют крепежными элементами с шайбами;
кромки закрепленного полотнища на ширину нахлестки и отогнутые кромки смежных полотнищ на такую же ширину сначала обезжиривают растворителем, затем смазывают клеящим составом и после выдержки клея до "отлипа" накладывают друг на друга стыкуемые кромки с прокаткой мест нахлестки поперек шва роликом массой 2... 5 кг. Места нахлесток дополнительно герметизируют;
свободные кромки смежных полотнищ закрепляют крепежным элементом с шайбами (см.
рис. 2, в) и эти кромки склеивают с кромками соседних полотнищ аналогичным способом.
2.5.20. Технологические приемы устройства кровли из термопластичной пленки с механическим креплением выполняют в следующей последовательности:
на подготовленной поверхности основания под кровлю раскатывают рулоны, примеряя один рулон по отношению к другому, и обеспечивают нахлестку (продольную на 120 мм и поперечную на 70 мм). При использовании крепежа шириной или диаметром > 45 мм ширину нахлестки увеличивают. При укладке пленки по существующей ("старой") кровле или твердому неровному основанию выполняют предварительную укладку разделительного слоя в соответствии с
п. 2.5.17;
полотнища пленки закрепляют саморезами с использованием металлических пластин;
используя сварочное оборудование, выполняют сварку соседних полотнищ пленки с шириной сварного шва не менее 30 мм с перекрытием механического крепления (рис. 7).
Рис. 7. Стык смежных полотнищ термопластичной пленки
1 - пленка; 2 - сварной шов; 3 - крепежный элемент
с шайбой; 4 - основание под кровлю
2.5.21. Количество крепежа на 1 м2 рассчитывают в зависимости от величины ветровой нагрузки в районе строительства. Максимальная нагрузка на один крепежный элемент 440 Н (~ 56 кгс). Расстояние между элементами от 200 до 550 мм. В зависимости от ширины пленки (100, 150 и 205 см) количество крепежных элементов принимают по табл. 2.
| | ИС МЕГАНОРМ: примечание. Нумерация таблиц дана в соответствии с официальным текстом документа. | |
Таблица 2
Количество крепежа на м2 | Максимальное расстояние между крепежом для пленок шириной |
100 см | 150 см | 205 см |
1,2 | 55 | 55 | 43 |
1,4 | 55 | 51 | 37 |
1,6 | 55 | 45 | 32 |
1,8 | 55 | 40 | 28 |
2,0 | 55 | 36 | 26 |
2,2 | 52 | 33 | 23 |
2,4 | 48 | 30 | 21 |
2,6 | 44 | 28 | 20 |
2,8 | 41 | 26 | |
3,0 | 38 | 24 | |
3,2 | 36 | 23 | |
3,4 | 34 | 21 | |
3,6 | 32 | 20 | |
3,8 | 30 | 20 | |
4,0 | 29 | | |
4,4 | 26 | | |
4,8 | 24 | | |
5,2 | 22 | | |
5,6 | 20 | | |
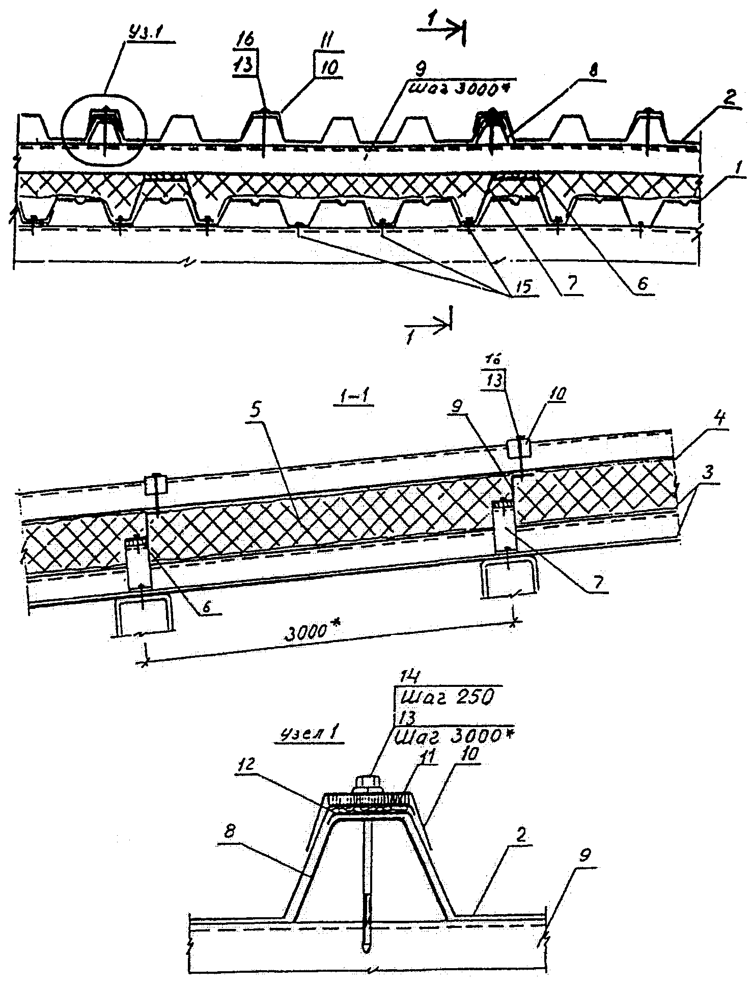
2.5.22. Длина крепежного элемента зависит от основания под кровлю (несущего элемента) и показана на рис. 8.
Рис. 8. Положение конца крепежного элемента
в основании под кровлю (несущем элементе)
в) Устройство водоизоляционного ковра из битумных
и битумно-полимерных рулонных материалов,
наклеиваемых на мастиках
2.5.23. Рулонные материалы перед наклейкой необходимо разместить по месту укладки; раскладка полотнищ должна обеспечивать соблюдение требуемых величин их нахлестки при наклейке (85 + 15 мм).
Мастика должна наноситься равномерным, сплошным (без пропусков) или полосовым слоем. При точечной приклейке полотнищ к основанию мастику наносят после раскладки перфорированного рулонного материала; при частичной приклейке водоизоляционного ковра для нижнего слоя можно использовать также рулонный материал с точечно нанесенным в заводских условиях приклеивающим составом (см.
п. 2.5.7).
В целях снижения трудоемкости кровельных работ предпочтение должно отдаваться холодным клеящим мастикам.
2.5.24. При наклейке полотнищ основного водоизоляционного ковра вдоль ската верхняя часть полотнища нижнего слоя должна перекрывать противоположный скат не менее чем на 1000 мм.
При наклейке полотнищ поперек ската верхняя часть полотнища каждого слоя водоизоляционного ковра, укладываемого на коньке, должна перекрывать противоположный скат на 250 мм.
2.5.25. Температура горячих битумных мастик при нанесении должна составлять 160 °С с предельным отклонением +20 °С. При этом ее следует контролировать не реже 4 раз в смену и заносить в журнал производства работ. Холодная мастика при нанесении в зимнее время должна иметь температуру не ниже 70 °С.
2.5.26. При наклейке основного и дополнительного водоизоляционных ковров горячая мастика должна наноситься слоем толщиной 1,5 - 2,0 мм, а холодная битуминозная толщиной 0,8 - 1,0 мм с допускаемым отклонением +/- 10%.
г) Устройство водоизоляционного ковра из мастичных
материалов с армирующими прокладками
2.5.27. Основной водоизоляционный ковер при устройстве новой кровли выполняют в следующей последовательности
(рис. 9):
на поверхность основания под кровлю, подготовленную для устройства кровли (см.
раздел 2.3), наносят слой мастики и по нему расстилают армирующий рулонный материал (стеклохолст, стеклосетку, стеклоткань или полотно из полимерных волокон), при этом армирующий материал укладывают ступенчатым способом. На пониженном участке, например на карнизном свесе, вначале выполняют два армированных мастичных слоя (рис. 9, а) затем каждое последующее полотнище смещают относительно предыдущего так, чтобы нахлестка составляла 520 мм;
при устройстве мастичной кровли с одной армирующей прокладкой (рис. 9, б) на мастику укладывают прокладку с нахлесткой 85... 100 мм и покрывают ее мастикой.
Рис. 9. Схема расположения слоев
мастичного кровельного ковра
а) с двумя армирующими слоями (ступенчатое
расположение слоев); б) с одним армирующем слоем;
1 - основание под кровлю; 2 - грунтовка;
3 - армирующие слои; 4 - слои мастики;
5 - защитный (окрасочный) слой
2.5.28. Ремонтные изоляционные слои в покрытиях типа П'-1... П'-3 (см.
табл. 1) выполняют в соответствии с указаниями
п. 2.5.27.
Если на поверхности существующей кровли сохранилась крупнозернистая посыпка или гравий, полное удаление которых требует больших затрат, либо если поверхность сильно состаренной кровли имеет большое количество шероховатостей и неровностей, то ремонтный слой рекомендуется выполнять с армирующим слоем из редкой стеклоткани (стеклосетки), которая при укладке повторяет неровности и исключает образование защемленных воздушных полостей.
2.5.29. Защитный слой выполняют по высохшему водоизоляционному ковру.
2.6.1. На кровлях с уклоном до 10% из мастичных или из битумных и битумно-полимерных рулонных материалов с мелкозернистой посыпкой защитный слой рекомендуется выполнять из гравия фракции 5 - 10 мм или крупнозернистой посыпки на мастике. Фракция крупнозернистой посыпки должна быть 3 - 5 мм. Гравий и посыпка должны быть предварительно промыты и просушены.
При уклонах более 10% верхний слой водоизоляционного ковра из рулонных материалов следует выполнять из материалов с крупнозернистой посыпкой, а защитный слой ковра из мастик - окрасочным. В последнем случае в ендовах на ширину дополнительного водоизоляционного ковра защитный слой выполняют из гравия или крупнозернистой посыпки.
| | ИС МЕГАНОРМ: примечание. В официальном тексте документа, видимо, допущена опечатка: имеется в виду ГОСТ 5494, а не ГОСТ 54-94. | |
2.6.2. Для окрасочного защитного слоя рекомендуются следующие составы: бутилкаучуковая мастика с добавлением 10 - 14% наполнителя - алюминиевой пудры ПАК-3 или ПАК-4 по
ГОСТ 54-94;
эмаль ХП-799, включающая хлорсульфополиэтиленовый лак ХП-734 с 25% наполнителя - алюминиевой пудры ПАК-3 или ПАК-4;
хлорсульфополиэтиленовый лак ХП-734 с 25% наполнителя - алюминиевой пудры ПАК-3 или ПАК-4.
2.6.3. В кровлях, подверженных воздействию щелочных производственных выделений, на участках с уклоном 10% и более битумный мастичный и рулонный водоизоляционный ковер должен быть защищен щелочестойкими составами, наносимыми толщиной не менее 0,5 мм. В качестве таких составов рекомендуется применять гуммировочные составы на основе найрита или на основе хлорсульфированного полиэтилена и битума в соотношении 1:2.
2.6.4. В эксплуатируемых кровлях, выполненных в традиционном варианте и предназначенных для размещения кафе, спортивных площадок, соляриев, автостоянок и т.п., защитный слой рекомендуется устраивать из бетонных плит по слою цементно-песчаного раствора толщиной не менее 30 мм либо из цементно-песчаного раствора, песчаного асфальтобетона толщиной не менее 30 мм или монолитного железобетона с соблюдением требований
п. 5.19;
5.20 Технических требований.
2.6.5. В эксплуатируемых кровлях, выполненных в инверсионном варианте, предназначенных для целей, указанных в п. 2.6.5, защитный слой рекомендуется устраивать из бетонных плит по слою цементно-песчаного раствора либо из цементно-песчаного раствора или монолитного железобетона.
2.6.6. Защитный слой традиционных кровель на участках уборки производственной пыли, снега, складирования материалов и т.п. рекомендуется выполнять из цементно-песчаного раствора, песчаного асфальтобетона или плитных материалов, укладываемых на цементно-песчаном растворе с соблюдением требований
п.п. 5.19 и
5.20 Технических требований.
2.6.7. Эксплуатируемые кровли с травяным растительным покровом могут быть выполнены в традиционном или инверсионном вариантах (см.
табл. 1).
При инверсионном варианте кровли по верху утеплителя располагают предохранительный (защитный) слой из геотекстиля, по нему дренажный слой из гравия, а затем фильтрующий слой также из геотекстиля, препятствующий прорастанию корней растительного покрова в ниже расположенный слой.
2.6.8. Максимально допустимая площадь кровли из рулонных и мастичных материалов групп горючести Г-2, Г-3 и Г-4 при общей толщине водоизоляционного ковра до 8 мм, не имеющая защиты слоем гравия, а также площадь участков, разделенных противопожарными поясами (стенами), не должна превышать значений, приведенных в табл. 3.
Таблица 3
Группа горючести (Г) и распространения пламени (РП) водоизоляционного ковра кровли, не ниже | Группа горючести материала и основания под кровлю | Максимально допустимая площадь кровли без гравийного слоя или крупнозернистой посыпки, а также участков кровли, разделенных противопожарными поясами, м |
Г2; РП2 | НГ; Г1 Г2; Г3; Г4 | Без ограничений 10000 |
Г3; РП2 | НГ; Г1 Г2; Г3; Г4 | 10000 6500 |
Г3; РП3 | НГ; Г1 Г2 Г3 Г4 | 5200 3600 2000 1200 |
Г4 | НГ; Г1 Г2 Г3 Г4 | 3600 2000 1200 400 |
2.6.9. Противопожарные пояса должны быть выполнены как защитные слои эксплуатируемых кровель (
п.п. 5.19 и
5.20 в гл. Технических требований) шириной не менее 6 м. Противопожарные пояса должны пересекать основание под кровлю (в том числе теплоизоляцию), выполненное из материалов групп горючести Г-3 и Г-4, на всю толщину этих материалов с учетом требований
СНиП 21-01-97*.
2.7. Устройство защитных слоев
2.7.1. Устройство защитных слоев осуществляют захватками, начиная с пониженных участков (карнизных свесов, ендов), а также мест примыкания кровель к стенам, и ведут их "на себя". Перед устройством защитных слоев поверхность водоизоляционного ковра должна быть сухой и обеспыленной.
2.7.2. В кровлях из рулонных материалов, наклеиваемых на мастиках, защитный слой выполняют в следующей последовательности: на подготовленную поверхность кровельного ковра наносят слой горячей или холодной мастики (см.
п.п. 2.5.25 и
2.5.26) и сразу же покрывают гравием, разравнивая его до толщины 10... 15 мм, или рассыпают крупнозернистую посыпку - толщиной 3... 5 мм.
2.7.3. В кровлях из наплавляемых рулонных материалов гравий и крупнозернистую посыпку наносят на предварительно разогретое (подплавленное) вяжущее верхнего слоя рулонного материала.
2.7.4. Окрасочное защитное покрытие на поверхность водоизоляционного ковра наносят ровным слоем; расход состава зависит от его сухого остатка.
2.7.5. Технологический процесс по устройству окрасочного защитного слоя включает:
нанесение первого слоя, ровно покрывающего поверхность водоизоляционного ковра;
нанесение второго слоя через 2 - 3 часа после высыхания предыдущего при температуре 18 - 23 °С.
При механизированном нанесении окрасочного состава безвоздушными установками вязкость его не должна превышать 100 с, а при ручном нанесении 300 с. Требуемая вязкость состава достигается введением растворителя.
2.8. Детали кровельного ковра
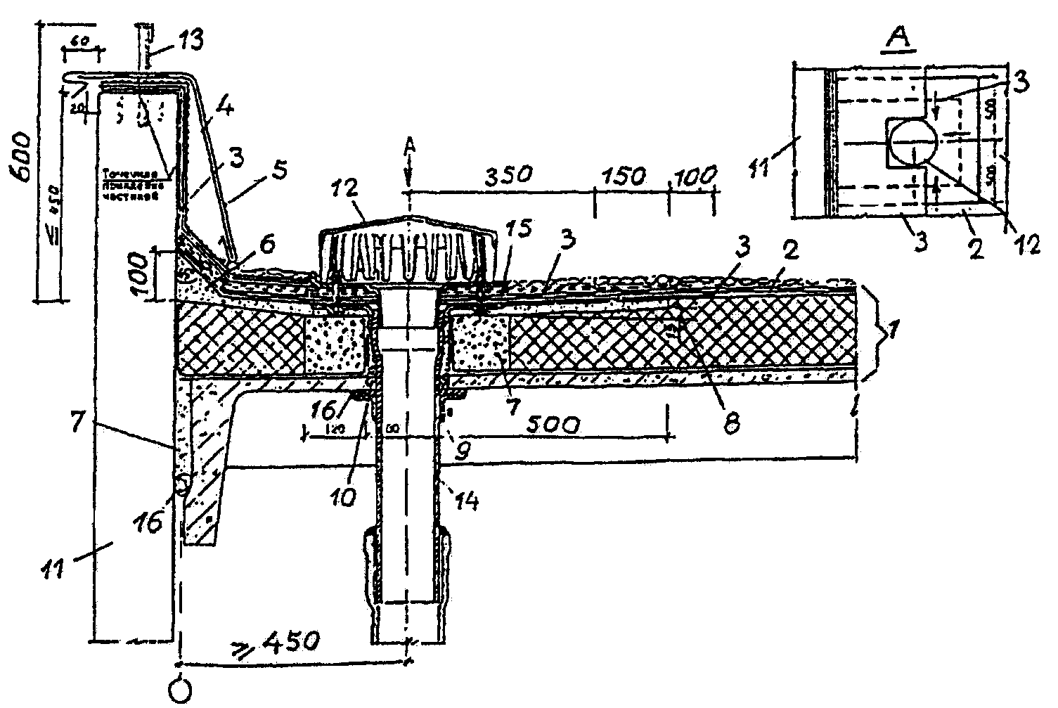
2.8.1. В местах пропуска через кровлю воронок внутреннего водостока слои водоизоляционного ковра должны быть наклеены на водоприемную чашу, которая закрепляется к плитам покрытия хомутом с резиновым уплотнителем; водоприемную чашу рекомендуется опирать на утеплитель из легкого бетона или антисептированные деревянные бруски (рис. 10 и
11). Ось воронки должна находиться на расстоянии не менее 600 мм от парапета и других выступающих частей зданий (см. рис. 10).
Рис. 10. Воронка у примыкания кровли к парапету
1 - покрытие по типу П-2 (см. табл. 1); 2 - основной
водоизоляционный ковер; 3 - дополнительные слои ковра;
4 - костыль (полоса 4 x 40 мм); 5 - защитный фартук;
6 - бортик из цементно-песчаного раствора; 7 - опора
из легкого бетона; 8 - местное понижение воронки;
9 - хомут; 10 - стекловата; 11 - стена; 12 - колпак
водоприемной воронки; 13 - ограждение; 14 - патрубок
с фланцем; 15 - герметизирующая мастика; 16 - уплотнитель
а)
б)
Рис. 11. Водоприемная воронка
а - на покрытии из монопанелей;
б - на эксплуатируемом покрытии;
1 - монопанель; 2 - покрытие по типу П-3 с плитным
утеплителем (табл. 1); 3 - патрубок с фланцем; 4 - прижимной
фланец; 5 - защитный колпак воронки; 6 - стальной поддон;
7 - доборный утеплитель; 8 - опора из легкого бетона;
9 - уплотнитель; 10 - хомут; 11 - основной водоизоляционный
ковер; 12 - дополнительные слои водоизоляционного ковра;
13 - герметизирующая мастика; 14 - водоизоляционный ковер
из эластомерной или термопластичной пленки;
15 - дополнительные прогоны; 16 - опора из деревянных
брусков антисептированных и антипирированных; 17 - местное
понижение воронки; 18 - решетка
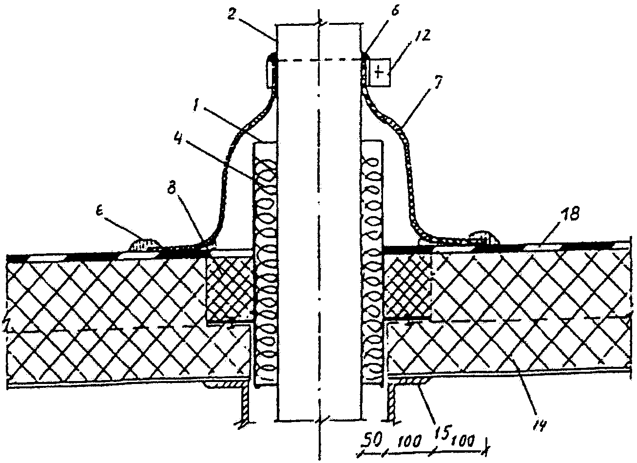
2.8.2. В деформационном шве с металлическими компенсаторами (рис. 12) пароизоляция должна быть наклеена на нижний компенсатор, а в шов уложен сжимаемый утеплитель, например из стеклянного штапельного волокна по
ГОСТ 10499-78 или из минеральной ваты по
ГОСТ 21880-94.
Рис. 12. Деформационный шов
1 - железобетонная плита покрытия; 2 - пароизоляция;
3 - утеплитель; 4 - выравнивающая стяжка; 5 - основной
водоизоляционный ковер; 6 - дополнительный водоизоляционный
ковер; 7 - защитный слой; 8 - бортик; 9 - стальной
компенсатор; 10 - костыль; 11 - защитный фартук
из оцинкованной стали; 12 и 13 - деревянный брусок,
деревянная пробка (антисептированные и антипирированные);
14 - минеральная вата; 15 - разделительный слой;
16 - дополнительный слой пароизоляции; 17 - кладка
из многощелевого или поризованного кирпича; 18 - шуруп
2.8.3. В местах примыкания кровли к парапетам высотой до 450 мм слои дополнительного водоизоляционного ковра должны быть заведены на верхнюю грань парапета с обделкой мест примыкания оцинкованной кровельной сталью и закреплением ее при помощи костылей (
рис. 10, 13, б и
14, а).
При высоте парапета до 200 мм переходной наклонный бортик рекомендуется выполнять до верха парапета (рис. 13, а).
а)
б)
Рис. 13. Примыкание к парапету
а - эксплуатируемой кровли; б - неэксплуатируемой кровли
на покрытии из стальных профнастилов;
1 - железобетонная плита покрытия; 2 - стальной профнастил;
3 - защитный слой из цементно-песчаного раствора
или асфальтобетона; 4 - основной водоизоляционный ковер;
5 - дополнительные слои водоизоляционного ковра;
6 - разделительный слой; 7 - бортик из утеплителя;
8 - стяжка из цементно-песчаного раствора;
9 - водоизоляционный ковер из эластомерной
или термопластичной пленки; 10 - герметик; 11 - парапетная
плита; 12 - защитный фартук; 13 - костыль; 14 - оцинкованная
сталь; 15 - заклепка комбинированная; 16 - стеновая панель;
17 - механическое крепление; 18 - доборный утеплитель;
19 - деревянный антисептированный и антипирированный брусок;
20 - шуруп; 21 - негорючий утеплитель из минеральной
ваты; 22 - ограждение; 23 - теплоизоляция
2.8.4. При устройстве кровли в покрытиях с высоким (более 450 мм) парапетом верхняя часть защитного фартука должна быть закреплена пристрелкой дюбелями и защищена герметиком, а верхняя часть парапета отделана кровельной сталью, закрепляемой костылями, или покрыта парапетными плитами с герметизацией швов между ними (рис. 14, б).
б)
Рис. 14. Примыкание кровли к парапету
при инверсионном варианте
а - парапет высотой до 450 мм; б - парапет высотой
более 450 мм; 1 - покрытие по типу П-4 (см.
табл. 1);
2 - основной водоизоляционный ковер; 3 - дополнительные слои
водоизоляционного ковра; 4 - бортик и заполнение из легкого
бетона; 5 - защитный фартук из оцинкованной стали толщиной
0,8 мм; 6 - стальная полоса 4 x 40 мм; 7 - дюбельный гвоздь;
8 - костыль; 9 - мастика герметизирующая; 10 - ограждение;
11 - плита парапетная; 12 - стена; 13 - сплошная приклейка
плит утеплителя в зоне парапета (1,5 м);
14 - доборный утеплитель
2.8.5. При наружном водоотводе карнизные участки кровли должны быть усилены одним слоем дополнительного водоизоляционного ковра шириной не менее 250 мм, выполненного из рулонного материала, приклеиваемого к основанию под кровлю (при рулонных кровлях), или из одного слоя мастики с одной армирующей прокладкой (при мастичных кровлях).
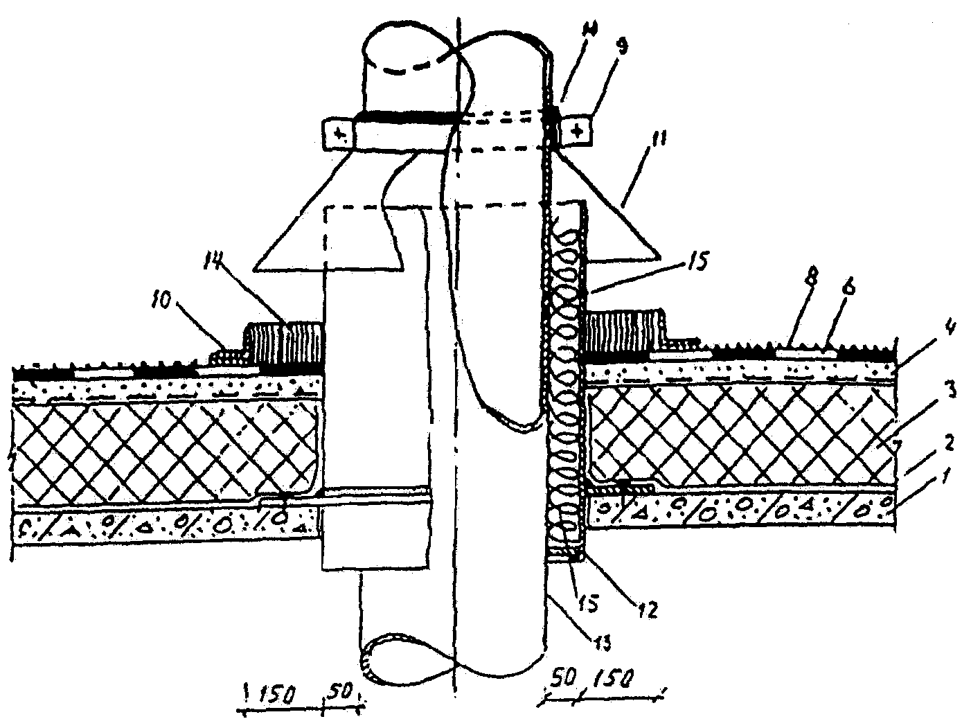
2.8.6. Места пропуска через кровлю труб должны быть выполнены с применением стальных патрубков с фланцами (или железобетонных стаканов) и герметизацией кровли в этом месте. Места пропуска анкеров также должны быть загерметизированы, для чего устанавливается рамка из уголков, которая ограничивает растекание мастики, а пространство между рамкой и патрубком или анкером заполняется герметизирующей мастикой (рис. 15 и
16). Примыкание кровли к патрубкам и анкерам допускается выполнять с применением резиновой фасонной детали
(рис. 16, б).
а)
б)
Рис. 15. Пропуск трубы через покрытие с традиционной кровлей
а - с герметизацией мастикой; б - с устройством бортиков
из раствора; 1 - сборная железобетонная плита покрытия;
2 - пароизоляция; 3 - теплоизоляция; 4 и 5 - выравнивающая
стяжка и бортик из цементно-песчаного раствора; 6 - основной
водоизоляционный ковер; 7 - дополнительные слои
водоизоляционного ковра; 8 - защитный слой; 9 - хомут;
10 - рамка из стального уголка; 11 - зонт из оцинкованной
стали; 12 - патрубок с фланцем; 13 - труба;
14 - герметизирующая мастика; 15 - стекловата
а)
Рис. 16. Примыкание кровли к трубе
а - инверсионной кровли; б - традиционной кровли;
1 - патрубок с фланцем; 2 - труба; 3 - бортик из легкого
бетона; 4 - стекловата; 5 - рамка из стального уголка;
6 - герметизирующая мастика; 7 - фасонная резиновая деталь;
8 - доборный утеплитель; 9 - основной водоизоляционный
ковер; 10 - дополнительные слои водоизоляционного ковра;
11 - зонт; 12 - хомут; 13 - теплоизоляция; 14 - монопанель;
15 - дополнительные прогоны; 16 - предохранительный
(фильтрующий) слой; 17 - пригруз из гравия;
18 - водоизоляционный ковер из эластомерной
или термопластичной пленки
2.8.7. Конек кровли при уклонах 3,0% и более должен быть усилен на ширину 150 - 250 мм с каждой стороны, а ендова - на ширину 500 - 750 мм (от линии перегиба) одним слоем дополнительного водоизоляционного ковра, выполненным из рулонного материала, приклеенного к основанию по продольным кромкам (рис. 17 и
18).
а)
б)
в)
Рис. 17. Конек кровли
а - традиционной; б - инверсионной на покрытии
из железобетона; в - традиционной на покрытии
из стального профлиста; 1 - теплоизоляция; 2 - слой гравия;
3 - стальной профлист; 4 - железобетонная плита покрытия;
5 - основной водоизоляционный ковер; 6 - дополнительный
слой водоизоляционного ковра; 7 - приклеивающий состав;
8 - сплошная приклейка плит утеплителя в зоне конька;
9 - сборная стяжка; 10 - негорючий утеплитель из минеральной
ваты; 11 - оцинкованная сталь; 12 - полоса кровельного
материала над швом в стяжке; 13 - окрасочный слой;
14 - предохранительный (фильтрующий) слой
а)
б)
в)
а - традиционной; б - инверсионной на покрытии
из железобетона; в - традиционной на покрытии
из стального профлиста; 1 - железобетонная плита;
2 - пароизоляция; 3 - теплоизоляция; 4 - цементно-песчаная
стяжка; 5 - дополнительный слой водоизоляционного ковра,
приклеенный по продольным кромкам; 6 - основной
водоизоляционный ковер; 7 - защитный слой; 8 - воронка
внутреннего водостока; 9 - грунтовка; 10 - легкий бетон;
11 - предохранительный (фильтрующий) слой; 12 - пригруз
из гравия; 13 - приклеивающий состав; 14 - комбинированная
заклепка; 15 - негорючий утеплитель из минеральной ваты;
16 - сборная стяжка; 17 - стальной профлист;
18 - оцинкованная сталь толщиной 0,8 мм
2.9. Устройство деталей кровельного ковра
2.9.1. У мест примыкания к выступающим над кровлей конструкциям (стенам, парапетам и т.п.) слои дополнительного водоизоляционного ковра следует наклеивать полотнищами 2 - 2,5 м; при этом на вертикальных поверхностях наклейку производить снизу вверх. Нижний слой рулонного материала дополнительного водоизоляционного ковра у мест примыкания к стенам, парапетам и т.п. должен наклеиваться полосами до сопряжения с основным водоизоляционный ковром в целях обеспечения возможности выхода воздуха из-под кровельного ковра на непроклеенных участках. На участках нахлестки дополнительного водоизоляционного ковра с основным дополнительные слои должны быть наклеены сплошь на ширину 250 мм при двухслойном и на ширину 350 мм при трехслойном водоизоляционном ковре (см.
рис. 3).
Наклейку полотнищ наплавляемого рулонного материала на вертикальные поверхности производят при помощи ручной горелки.
2.9.2. В местах примыкания к выступающим над кровлей поверхностям (парапетам, трубопроводам и т.п.) основной водоизоляционный ковер должен быть поднят до верха наклонного бортика (на высоту 100 мм). Приклейку слоев дополнительного водоизоляционного ковра следует выполнять после устройства верхнего слоя основного водоизоляционного ковра, раскладка и раскрой полотнищ рулонного материала при устройстве основного и дополнительного ковра в углу парапета и на поверхности внешнего угла, например вентшахты, производят в последовательности, показанной на рис. 19 -
21.
а)
б)
Рис. 19. Раскладка и раскрой полотнищ рулонного материала
(а - нижнего слоя, б - верхнего слоя) при устройстве
основного водоизоляционного ковра в углу парапета
1 - парапет; 2 - нижний слой ковра; 3 - нахлестка полотнищ
нижнего слоя; 4 - наклонный переходной бортик; 5 - верхний
слой ковра (с крупнозернистой посыпкой); 6 - нахлестка
полотнищ верхнего слоя ковра
Рис. 20. Раскладка и раскрой полотнищ рулонного материала
при устройстве дополнительного водоизоляционного
ковра в углу парапета
1 - парапет; 2 - основной водоизоляционный ковер;
3 - переходный наклонный бортик; 4 - нижний слой
дополнительного ковра; 5 - верхний слой (с крупнозернистой
посыпкой) дополнительного ковра
Рис. 21. Раскладка и раскрой полотнищ рулонного материала
при устройстве водоизоляционного ковра (а и б - основного,
в и г - дополнительного) на поверхности внешнего
угла, например, вентшахты
1 - стены вентшахты,; 2 - нижний слой основного
водоизоляционного ковра; 3 - верхний слой (с крупнозернистой
посыпкой) основного ковра; 4 - наклонный бортик;
5 - основной водоизоляционный ковер; 6 - нижний слой
дополнительного ковра; 7 - верхний слой (с крупнозернистой
посыпкой) дополнительного ковра
3. КРОВЛИ ИЗ АСБЕСТОЦЕМЕНТНЫХ ВОЛНИСТЫХ ЛИСТОВ
3.1.1. Кровли из асбестоцементных волнистых листов рекомендуется выполнять при устройстве чердачных покрытий гражданских зданий и бесчердачных покрытий неотапливаемых производственных зданий.
3.1.2. Кровли из асбестоцементных волнистых листов рекомендуется предусматривать одно- или двускатными, возможно более простой формы (без ребер и разжелобков), используя преимущественно рядовые листы основных размеров.
3.1.3. Для устройства кровель следует использовать асбестоцементные волнистые листы по
ГОСТ 30340-95.
При этом для чердачных кровель гражданских зданий рекомендуется преимущественно применять асбестоцементные листы профиля 40/150, а для кровель зданий производственного назначения листы профиля 54/200.
3.1.4. Для устройства узлов сопряжения элементов кровли из асбестоцементных волнистых листов рекомендуется применять асбестоцементные фасонные детали, предусмотренные
ГОСТ 30340-95. При отсутствии асбестоцементных фасонных деталей допускается использовать в их качестве коньковые, угловые и лотковые детали, выполненные из тонколистовой оцинкованной стали или алюминиевого сплава.
3.2. Устройство основания
3.2.1. Основание под чердачную кровлю гражданских зданий из асбестоцементных волнистых листов рекомендуется выполнять в виде обрешетки из рядовых брусков сечением 60 x 60 мм с таким расчетом, чтобы на нее можно было уложить целое число листов в продольном и поперечном направлениях. При этом все нечетные бруски должны иметь высоту 60 мм, а четные 63 мм, что позволяет обеспечить плотную продольную нахлестку. Для однотипности целесообразно использовать бруски сечением 60 x 60 мм с наращиванием их по необходимости подкладками толщиной 3 мм. Шаг брусков обрешетки должен составлять не более 750 мм (рис. 22).
Рис. 22. Конструкция рядовой обрешетки и крепление
асбестоцементных волнистых листов
а - продольный разрез ската; б - крепление листов шурупами;
в - дополнительное крепление листов на карнизе;
1 - уравнительная планка; 2 - асбестоцементный лист
3 - обрешеточный брусок; 4 - гвоздь; 5 - резиновая шайба;
6 - карнизный брусок; 7 - шайба; 8 - шуруп; 9 - гвоздь;
10 - противоветровая скоба
3.2.2. На карнизе рекомендуется использовать брусок высотой 65 мм, на коньке два коньковых бруска сечением 70 x 90 мм и 60 x 100 мм, а вдоль конька дополнительные приконьковые бруски того же сечения, что и рядовые (рис. 23).
а)
б)
Рис. 23. Покрытие конька (ребра)
а - последовательность установки коньковых деталей;
б - поперечный разрез конька; 1, 2, 3 - бруски; 4 - рулонный
водоизоляционный материал; 5, 6 - коньки; 7 - скоба;
8 - резиновая шайба; 9 - гвоздь; 10 - лист; 11 - мастика
3.2.3. Обрешетку у дымовой трубы следует выполнять с использованием дополнительных брусков того же сечения, что и рядовые, и располагать их вокруг ствола трубы, в соответствии с требованиями пожарной безопасности.
В ендове обрешетка должна быть выполнена в виде сплошного дощатого настила (рис. 24).
Рис. 24. Устройство ендовы (разжелобка)
1 - сливной лоток; 2 - лист; 3 - дощатое основание ендовы;
4 - брусок; 5 - шуруп; 6 - уравнительная планка; 7 - гвоздь
3.2.4. В зданиях производственного назначения основание под кровлю из асбестоцементных волнистых листов рекомендуется выполнять из стальных или деревянных прогонов, располагаемых с шагом до 1500 мм.
3.3. Устройство водоизоляционного слоя
3.3.1. Перед устройством кровли из асбестоцементных волнистых листов должно быть проверено качество выполненного основания на соответствие требованиям
п.п. 6.2 и
6.3 Технических требований.
3.3.2. Количество асбестоцементных листов, размещаемых в направлении поперек ската, определяют путем деления длины карнизного свеса и двух напусков на фронтонах крыши размером от 50 до 70 мм каждый на полезную ширину листа. Количество горизонтальных рядов на скате устанавливают делением фактической длины ската на полезную длину листа без напуска.
Для устройства водоизоляционного слоя следует применять асбестоцементные листы со срезанными углами. Рядовые листы должны иметь срезанные диагональные противоположные углы. Карнизные, коньковые и краевые листы должны иметь один срезанный угол. Срезку углов не предусматривают только у начальных карнизных и конечных коньковых листов.
3.3.3. Устройство водоизоляционного слоя из асбестоцементных волнистых листов может осуществляться двумя способами: со смещением продольных кромок листов на одну волну по отношению к таким же кромкам листов смежного ряда или с совмещением продольных кромок во всех вышеукладываемых рядах.
3.3.4. Первый способ рекомендуется использовать при узких по уклону и длинных в поперечном направлении скатах, а второй при широких по уклону и коротких в поперечном направлении скатах.
3.3.5. Асбестоцементные волнистые листы к обрешетке следует крепить шиферными гвоздями, шурупами и частично противоветровыми скобами. В карнизном ряду скобы рекомендуется устанавливать по шнуру из расчета по две на лист.
3.3.6. В целях уменьшения возможности задувания осадков в поперечные нахлестки асбестоцементных волнистых листов укладка их должна осуществляться в направлении, противоположном господствующему направлению ветров; под асбестоцементные листы должен быть проложен слой водоизоляционного рулонного материала.
3.3.7. К прогонам асбестоцементные волнистые листы рекомендуется крепить крепежными элементами типа "крюк" (рис. 25). Диаметр отверстий в асбестоцементных волнистых листах следует принимать на 2 - 3 мм более диаметра стержня крепежного элемента. При расчетном ветровом отсосе до 60 кгс/м2 в рядовых кровельных листах крепежные элементы следует устанавливать по нижнему прогону на гребне второй волны, считая от накрывающей. В карнизных и краевых накрывающих листах следует дополнительно устанавливать крепежные элементы по гребням волн, предшествующих накрываемой волне, а в коньковых листах и по гребням второй волны на верхних прогонах. При ветровом отсосе более 60 кгс/м2, а также при динамических воздействиях следует дополнительно устанавливать крепежные элементы на гребне волны, предшествующей накрываемой.
Рис. 25. Способы крепления
асбестоцементных волнистых листов к прогонам
а - швеллерному; б - из уголка; в - деревянному;
1 - прогон; 2 - крепежный элемент типа "крюк"; 3 - шайба
3.3.8. Асбестоцементные волнистые листы вдоль ската следует укладывать в направлении от карниза к коньку, а поперек ската в направлении, противоположном направлению господствующих ветров. Во избежание перегрузок монтаж асбестоцементных волнистых листов рекомендуется вести одновременно на двух скатах.
3.3.9. Воротник дымовой трубы и слуховых окон, а также примыкания к стенам следует выполнять угловыми деталями, которые рекомендуется закреплять шурупами, пропускаемыми через гребни волн рядовых листов (рис. 26). При этом по скату они должны иметь нахлестку не менее 100 мм, а поперек ската не менее чем на одну волну.
а)
б)
в)
Рис. 26. Конструкция примыкания кровли
из асбестоцементных волнистых листов к поперечной (а) и
продольной (б) стенам и устройство воротника дымовой трубы (в)
1 - брусок обрешетки; 2 - асбестоцементный лист;
3 - скоба; 4 - уголковая деталь; 5 - коньковая деталь;
6 - конек; 7 - заполнение мастикой; 8 - заделка раствором;
9 - прокладка из рулонного водоизоляционного материала;
10 - затрубный уголок; 11 - стропильная нога;
12 - оголовок дымовой трубы
Разжелобки до укладки листов на скатах должны быть покрыты лотковыми деталями, которые устанавливают в направлении снизу вверх. Рядовые асбестоцементные листы должны перекрывать продольные кромки лотковых деталей на 150 мм.
3.3.10. Компенсационный шов следует выполнять нахлесткой смежных листов с обеспечением возможности перемещения их на 25 - 30 мм в поперечном направлении, а сверху шов перекрывать лотками, которые устанавливают с нахлесткой 200 мм (рис. 27).
Рис. 27. Компенсационный шов
1 - накрываемый край кровельного покрытия; 2, 3 - скобы;
4 - лотковая деталь; 5 - накрывающий край кровельного
покрытия; 6, 7 - шайбы; 8 - винт с полукруглой
головкой; 9 - заклепка
3.3.11. Конек в направлении навстречу господствующему ветру следует перекрывать коньковыми деталями с прокладкой под них слоя рулонного водоизоляционного материала. Устройство коньков может быть выполнено глухим или с вентиляционными щелями (рис. 28).
Рис. 28. Устройство коньков
а - поперечное сечение глухого конька;
б - поперечное сечение конька с вентиляционными щелями;
в - конек с вентиляционными щелями; 1 - прогон; 2 - крюк;
3 - малая переходная деталь; 4 - прижимная скоба;
5 - коньковая деталь; 6 - гайка; 7 - лист; 8 - гидроизоловая
шайба; 9 - стальная шайба; 10 - гидроизоловая прокладка;
11 - алюминиевая заклепка; 12 - стальная держалка
3.3.12. В целях исключения возможности проникновения атмосферных осадков через места стыкования листов "зазоры" в них размером более 7 мм рекомендуется заполнять герметизирующей нетвердеющей мастикой по
ГОСТ 14791-79 "Мастика герметизирующая нетвердеющая строительная. Технические условия". На уклонах от 10 до 20% продольные и поперечные стыки асбестоцементных листов также должны быть загерметизированы.
4. КРОВЛИ ИЗ МЕЛКОШТУЧНЫХ МАТЕРИАЛОВ
4.1.1. Кровли из мелкоштучных материалов рекомендуется преимущественно применять при устройстве чердачных покрытий малоэтажных зданий гражданского назначения.
4.1.2. Для устройства таких кровель используют: плитки кровельные асбестоцементные (рядовые, краевые и коньковые детали), битумно-полимерные плитки (типа "шинглс"), а также глиняную или цементно-песчаную черепицу (плоскую ленточную, пазовую ленточную, пазовую штампованную и желобчатую).
4.1.3. В кровлях из асбестоцементных, битумных и битумно-полимерных плиток нижний водоизоляционный слой рекомендуется выполнять из битумных или битумно-полимерных рулонных материалов.
4.2. Устройство основания
4.2.1. Основанием под кровлю из мелкоштучных материалов должна быть деревянная обрешетка.
Для кровель из асбестоцементных плиток обрешетку рекомендуется выполнять сплошной или разреженной из досок; для кровель из битумно-полимерных плиток - сплошной двухслойной из досок, а для черепичных кровель - разреженной из брусков сечением 50 x 50, 50 x 60 или 60 x 60 мм.
4.2.2. Во всех случаях в местах разжелобков обрешетка должна выполняться сплошной из досок, а по карнизу устанавливаться доски шириной 140 - 150 мм с защитной уравнительной рейкой по карнизному краю.
4.3. Устройство водоизоляционного слоя
а) из кровельных асбестоцементных плиток
4.3.1. К обрешетке кровельные асбестоцементные плитки следует крепить оцинкованными гвоздями и противоветровыми кнопками. При забивке гвоздей их головки должны только соприкасаться с поверхностью плит во избежание их повреждения. В этой связи целесообразно использовать под головки гвоздей мягкие шайбы из рулонного водоизоляционного материала.
4.3.2. Покрытие скатов кровли асбестоцементными плитками должно начинаться со свеса карниза укладкой краевых плиток на всю его длину и далее параллельными рядами по направлению к коньку.
4.3.3. Покрытие фронтона следует выполнять укладкой краевых плиток с напуском на 20 - 30 мм за край фронтонного свеса, а покрытие коньков и ребер - коньковыми деталями, укладываемыми по слою рулонного водоизоляционного материала (рис. 29).
Рис. 29. Конструкция кровли из асбестоцементных
плоских плиток
а - общий вид; б - поперечный разрез конька; в - продольный
разрез конька; 1 - стропильная нога; 2 - доска обрешетки;
3 - противоветровая кнопка; 4 - половина плитки;
5 - противоветровая скоба 2 x 25 мм; 6 - рядовая плитка;
7 - краевая плитка; 8 - уравнительная деревянная рейка
с сечением 8 x 50 мм; 9 - желобчатый конек; 10 - скоба
сечением 2 x 25 мм; 11 - брус сечением 50 x 80 мм;
12 - рубероидная лента; 13 - накрывающий конец
желобчатого конька
4.3.4. Примыкание кровли из асбестоцементных плиток к вертикальным конструкциям (стенам, парапетам и т.п.) следует выполнять с использованием фартука из оцинкованной стали. В этих же местах также рекомендуется предусмотреть нижний водоизоляционный слой по
п. 4.1.3.
б) из битумных и битумно-полимерных плиток
4.3.5. До укладки плиток вдоль фронтонных и карнизных свесов должны быть установлены фартуки из оцинкованной кровельной стали, которые закрепляют гвоздями ниже капельников (рис. 30).
а)
б)
Рис. 30. Конструктивное решение
кровли из битумных плиток (шинглс)
а - порядок покрытия; б - разрез карниза; 1 - мастика;
2 - битумная плитка; 3 - битумно-полимерный рулонный
материал; 4 - толевые гвозди с шагом 500 мм; 5 - толевые
гвозди с шагом 100 мм; 6 - ветровая доска
4.3.6. На наклонные отвороты фартуков горячей мастикой должны быть наклеены полосы битумно-полимерного рулонного материала шириной 300 мм и закреплены к обрешетке гвоздями.
4.3.7. Нижний слой кровли должен быть выполнен из рулонного водоизоляционного материала, который раскатывают в направлении поперек ската с закреплением верхней по скату кромки рулона гвоздями к обрешетке и наклейкой мастикой нижней кромки рулона на смежное полотнище с нахлесткой 100 мм.
4.3.8. Устройство верхнего водоизоляционного слоя должно начинаться с укладки впритык друг к другу плиток нижнего ряда, каждую из которых крепят к обрешетке гвоздями с подкладкой шайб диаметром 20 мм из жести, а кромочные отвороты плитки приклеивают мастикой. Каждый последующий ряд плиток укладывают с нахлесткой на половину ширины плитки и с боковым смещением на смежную на размер одного кромочного отворота.
4.3.9. Коньки, ребра и разжелобки должны быть покрыты полотнищами рулонного водоизоляционного материала, которые закрепляют к обрешетке гвоздями и приклеивают мастикой. Разжелобки могут быть также покрыты кровельной сталью. Примыкания к вертикальным конструкциям выполняют в соответствии с
п. 4.3.4.
4.3.10. Устройство водоизоляционного слоя из плоской ленточной черепицы может быть выполнено двумя способами: двухслойным или чешуйчатым.
4.3.11. Черепицу следует укладывать в направлении от карниза к коньку с перекрывом вышеуложенными рядами нижеуложенных и с боковым смещением одной относительно другой. При этом нечетные ряды начинают и заканчивают целыми черепицами, а четные - половинками.
4.3.12. Черепица первого ряда должна опираться на два бруска обрешетки с зацеплением шипами за тыльную грань верхнего бруска обрешетки, а во втором ряду за верхний торец первого ряда. Третий и все последующие ряды должны быть выполнены как первый, а приконьковый - как второй.
4.3.13. Все черепицы, укладываемые вдоль карнизных и фронтонных свесов, должны закрепляться независимо от уклона.
4.3.14. Крепление черепицы следует выполнять кляммерами, а также с помощью проволоки к гвоздю, забитому в обрешетку. При использовании кляммер черепицу следует закреплять попарно (рис. 31).
а)
б)
Рис. 31. Узлы черепичной кровли
а - сечение конька; б - примыкание кровли к стене;
1 - кляммера; 2 - брусок обрешетки; 3 - коньковая желобчатая
черепица; 4 - коньковый брус; 5 - проволока для крепления
коньковой черепицы; 6 - глухарь; 7 - скоба; 8 - плоская
ленточная черепица; 9 - стропильная нога; 10 - гвоздь;
12 - рейка; 13 - фартук из кровельной стали
4.3.15. Конек и ребра крыши должны покрываться коньковыми желобчатыми черепицами на цементном растворе. При этом на коньке их следует укладывать в том же направлении, что и при укладке на скате, а на ребрах в направлении снизу вверх. При этом каждая черепица должна быть закреплена проволокой, пропущенной через ушко желобчатой черепицы, к гвоздю, забитому в брусок обрешетки.
4.3.16. Устройство кровли из пазовой ленточной и штампованной черепицы выполняют в один слой. Пазовую ленточную черепицу рекомендуется применять для устройства кровли в крышах простых форм - односкатных, двускатных.
4.3.17. Укладку пазовой и штампованной черепицы на обрешетку рекомендуется начинать с фронтона рядами в направлении от карниза к коньку. Поперечные ряды на скате должны выполняться вразбежку со смещением черепиц в смежных рядах. При этом нечетные ряды выкладываются из цельных черепиц, а четные начинаются и заканчиваются половинками.
4.3.18. Устройство кровли из желобчатой черепицы рекомендуется предусматривать при уклонах 30%, так как при меньшем уклоне не обеспечивается водонепроницаемость кровли, а при большем уклоне - способность черепицы удерживаться на скате.
4.3.19. Желобчатая черепица должна укладываться по сплошному дощатому настилу на известковом растворе с добавкой очесов при толщине слоя 10 - 12 мм в направлении от фронтона слева направо рядами параллельными коньку. При этом каждая верхняя черепица должна входить суженным концом в расширенный конец нижней черепицы не менее чем на 1/6 - 1/4 длины. В покрывающем ряду каждая верхняя черепица расширенным концом должна накрывать суженный конец нижней черепицы на ту же величину.
4.3.20. Примыкание черепичной кровли к стенам следует выполнять с помощью фартука из оцинкованной стали.
5. КРОВЛИ ИЗ ЛИСТОВОЙ СТАЛИ, МЕДИ,
МЕТАЛЛИЧЕСКОГО ПРОФЛИСТА И МЕТАЛЛОЧЕРЕПИЦЫ
5.1.1. Кровли из листовой стали рекомендуется преимущественно применять в малоэтажных жилых зданиях, особенно при сложном профиле крыши.
5.1.2. Кровли из металлического профлиста рекомендуется применять в зданиях производственного назначения, а из металлочерепицы - в гражданских зданиях при наиболее простом профиле крыши.
5.2. Устройство основания
5.2.1. Основанием под кровлю из листовой стали является деревянная обрешетка, которую рекомендуется выполнять из брусков сечением 50 x 50 или досок 50 x 120 либо 50 x 140 мм. Устройство обрешетки должно производиться в направлении от карниза к коньку.
5.2.2. Свес крыши по всему периметру следует выполнять в виде сплошного дощатого настила шириной не менее 700 мм, а далее с шагом не более 200 мм размещать параллельно свесу бруски обрешетки. При этом четыре бруска обрешетки должны чередоваться с доской, на которой располагают лежачие фальцы стыкуемых картин. В разжелобках и ендовах обрешетку следует выполнять в виде сплошного дощатого настила шириной до 800 мм на каждом скате.
5.2.3. Основанием под кровлю из металлочерепицы является обрешетка из досок сечением 32 x 100 мм, располагаемых с шагом, равным размеру поперечной волны (300 - 400 мм).
При этом выходящая на карниз доска должна быть на 10 - 15 мм толще других.
5.2.4. Основанием под кровлю из металлического профлиста должны быть стальные прогоны, располагаемые с шагом от 1,5 до 3 м, которые крепятся к несущим конструкциям покрытия в неотапливаемых зданиях, или дистанционные прогоны, закрепляемые к основным прогонам в отапливаемых зданиях.
5.3. Устройство водоизоляционного слоя
а) из листовой стали или меди
5.3.1. Для рядового покрытия скатов крыши, карнизных свесов, разжелобков и т.д. рекомендуется использовать предварительно подготовленные картины размером не более 710 x 1240 мм.
5.3.2. В зависимости от формы крыши рядовое покрытие выполняют в следующей последовательности: на фронтонных крышах первую полосу картин следует располагать вдоль фронтона или противопожарной стены, а при вальмовых, полувальмовых и многощипцовых - от конька (рис. 32).
Рис. 32. Рядовое покрытие ската листовой сталью или медью
а - укладка рядовых полос; б - примыкание ската к стене;
в - коньковый стоячий фальц; г - крепление фронтонного края
рядовой полосы; 1 - картина в рядовой полосе; 2 - одинарный
лежачий фальц; 3 - одинарный стоячий фальц; 4 - коньковый
стоячий фальц; 5 - доска; 6 - брусок; 7 - фартук;
8 - закладной брусок; 9 - толевой гвоздь; 10 - цементный
раствор; 11 - фронтонная кляммера; 12 - кровельный гвоздь
5.3.3. Скаты крыши следует покрывать картинами после устройства карнизных свесов и настенных желобов.
5.3.4. Фронтонный свес должен свисать с обрешетки на 40 - 50 мм. Фронтонные свесы должны закрепляться на костылях с устройством отворотных лент с капельниками.
5.3.5. Устройство карнизного свеса должно начинаться с установки штырей со скобами и Т-образных костылей. Штыри следует располагать по осям водоприемных воронок, а костыли с шагом 700 мм. Расстояние между штырем и костылем не должно превышать 400 мм. Поперечные планки костылей должны отстоять от свеса дощатого настила на 120 мм (рис. 33).
Рис. 33. Покрытие карнизного свеса
а - карнизный свес; б - последовательность раскладки картин;
в - врезка костыля в настил; 1 - карнизный штырь; 2 - дощатый
настил; 3 - Т-образный костыль; 4 - гвоздь 3,5 x 45 мм;
5 - покрытие свеса картинами 1 - 5
5.3.6. На крыше заготовленные картины от первой до пятой соединяют сначала для одной половины свеса между воронками, потом - для другой, а затем вдоль верхней кромки их закрепляют гвоздями - по три на каждый лист.
5.3.7. Укладку картин на костыли следует производить, начиная от осей воронок или в обе стороны от водораздела.
На водоразделе картины карнизного свеса должны быть соединены двойным лежачим фальцем с промазкой его герметиком.
5.3.8. Разжелобки покрывают отдельными картинами, которые по коротким сторонам у конька и лотка должны соединяться с рядовым покрытием и настенными желобами двойным лежачим фальцем с промазкой герметикой, а к обрешетке крепиться кляммерами, размещаемыми на расстоянии 500 мм друг от друга.
5.3.9. При устройстве настенных и подвесных желобов у воронок и на водоразделе должны быть установлены маячные крючья, а между ними на расстоянии 670 - 730 мм - остальные крючья (рис. 34).
Рис. 34. Устройство настенного желоба
1 - штырь со скобой; 2 - водоприемная воронка; 3 - лоток;
4 - настил разжелобка; 5 - стропильная нога; 6 - карнизный
настил; 7 - обрешетка; 8 - картина настенного желоба;
9, 13 - гвозди; 10 - костыль; 11 - крюк для желоба;
12 - картина карнизного свеса; 14 - кляммера
5.3.10. Сборку картин желобов следует проводить в направлении от водоприемных воронок к водоразделу. При этом борта желобов должны соединяться между собой внахлестку с учетом направления стока воды, а верхняя кромка картин на карнизе должна быть расположена выше борта желоба.
5.3.11. На водоразделе и при стыковании у воронки картины должны быть соединены двойным лежачим фальцем с промазкой герметикой, а борта желобов на крючьях - саморезами. Верхнюю продольную кромку настенных желобов следует соединять с картинами рядового покрытия фальцевым швом.
5.3.12. Лоток должен устанавливаться по оси водоприемного участка с таким расчетом, чтобы его хвостовой отворот находился под концами соединяемых настенных желобов. Борта лотков и желобов соединяют угловыми фальцами, отгибаемыми на внутренние плоскости лотковых бортов.
5.3.13. При использовании подвесных желобов они должны быть расположены с таким расчетом, чтобы стекающая со ската вода не переливалась через его передний борт. Перед установкой лотковых скоб по уровню должна быть проверена горизонтальность передней кромки.
При размещении скоб сначала должны быть установлены две крайние (маячные) скобы, а затем между ними по шнуру остальные. Желоб следует закреплять к лотковым скобам кляммерами (рис. 35).
Рис. 35. Устройство подвесного желоба
а, б, в - варианты устройства желоба (сечения даны
в точках наивысшего подъема);
1 - желоб; 2 - лотковая скоба; 3 - кровля; 4 - настил;
5 - заклепка; 6 - кляммера; 7 - шуруп с головкой впотай;
8 - картина карнизного свеса; 9 - гвоздь; 10 - распорка
Для исключения сползания снега и льда рекомендуется предусматривать на кровле противоснеговые барьеры.
5.3.14. Во избежание повреждения желоба от температурных деформаций в нем должны быть предусмотрены компенсаторы или подвижные швы.
Компенсаторы выполняют в виде водоприемной воронки, в которую с двух сторон входят свободно уложенные концы подвесных желобов.
Подвижной шов должен предусматриваться в точке наивысшего подъема желобов, где концевые торцы желобов заделывают жестяными заглушками с оставлением между торцами температурного зазора в 30 - 40 мм. Оба конца желобов закрывают сверху жестяной крышкой (на два ската), по которой вода стекает в концы желобов.
5.3.15. Водоприемные воронки могут быть выполнены круглой или прямоугольной формы с одним или двумя отверстиями для ввода желобов. Воронка должна закрепляться к карнизу стандартным штырем с обжимным хомутом.
5.3.16. В местах расположения дымовых труб и слуховых окон должно быть предусмотрено устройство воротников из листовой стали. При этом все деревянные элементы обрешетки, прилегающие к стволу дымовой трубы, по противопожарным требованиям должны отстоять от поверхности его стенок на 130 мм.
б) из металлического профлиста
5.3.17. В качестве кровельных листов рекомендуется применять в "перевернутом положении" профили стальные гнутые с цинковым, алюмоцинковым или алюминиевым покрытием заготовки, защитно-декоративным лакокрасочным покрытием и высотой гофра не менее 44 мм.
5.3.18. Наиболее целесообразно кровлю из металлических профлистов применять в зданиях с длиной ската до 12 м.
5.3.19. В утепленных покрытиях (рис. 36) для разрыва "мостиков холода" между верхней полкой дистанционного прогона и профлистом рекомендуется устанавливать прокладки из бакелизированной фанеры толщиной 10 мм, окрашенные за 2 раза пентафталевыми или хлорвиниловыми эмалями. В качестве противоветрового барьера рекомендуется использовать рулонный водоизоляционный паропроницаемый материал.
Рис. 36. Кровля из металлических профилированных листов
1 - несущий стальной профилированный настил покрытия;
2 - стальной профилированный лист кровли (в перевернутом
положении); 3 - пароизоляция из полиэтиленовой пленки;
4 - ветрозащита из водоизоляционного паропроницаемого
материала; 5 - несгораемые мягкие минплиты, минвата;
6 - термовкладыш, например, из бакелизированной фанеры;
7 - опорный элемент из стали толщиной 3 мм; 8 - элемент
жесткости из стали толщиной 2 мм; 9 - дистанционный прогон
ГН65x45x40x3; 10 - шайба стальная; 11 - шайба
уплотнительная (герметизирующая лента); 12 - герметизирующая
мастика; 13 - винт самонарезающий В6x80; 14 - заклепка
комбинированная; 15 - винт самонарезающий В6x25;
16 - шайба неопреновая; * - справочный размер
5.3.20. Крепление профлиста между собой и к прогонам следует выполнять самонарезающими винтами с уплотнительной шайбой из неопреновой резины толщиной 1 мм.
5.3.21. Продольные и поперечные стыки профлиста при уклонах от 10 до 20% рекомендуется загерметизировать нетвердеющими герметиками по
ГОСТ 14791-79.
5.3.22. Примыкание кровли из металлического профлиста к стенам следует осуществлять с устройством фартуков из оцинкованной стали толщиной 0,8 мм, окрашенной с обеих сторон. Крепление их выполняется на заклепках, а между собой одинарным лежачим фальцем. Коньковый и карнизный фасонные элементы, а также фартуки для отделки пропусков через кровлю должны иметь "гребенку" по форме поперечного сечения металлического профлиста (рис. 37 и
38).
а)
б)
в)
Рис. 37. Карниз из металлических профилированных листов
а, б - утепленного; в - холодного покрытий; 1 - несущий
стальной профнастил покрытия; 2 - стальной профлист кровли;
3 - гнутый зетобразный профиль (под стык профлиста);
4 - стеновая панель; 5 - гребенка из оцинкованной кровельной
стали; 6 - дистанционный прогон; 7 - бакелизированная фанера;
8 - маты из минеральной ваты; 9 - пленка полиэтиленовая
(пароизоляция); 10 - прокладка уплотняющая (по форме гофра);
11 - заклепка комбинированная; 12 - винт самонарезающий
с неопреновой шайбой; 13 - прогон покрытия;
14 - противоветровой водоизоляционный паропроницаемый
рулонный материал; 15 - оцинкованная сталь
Рис. 38. Пропуск трубы через кровлю
из металлических профилированных листов
1 - труба; 2 - стакан стальной (квадратный); 3 - минеральная
вата; 4 - дополнительные прогоны; 5, 6, 7 - защитные фартуки
из стали толщиной 0,8 мм; 8 - мастика герметизирующая;
9 - заклепка комбинированная; 10 - зонт из оцинкованной
стали; 11 - коньковый защитный фартук; 12 - уплотнитель
по форме профлиста; 13 - стальная гребенка; 14 - хомут
5.3.23. В качестве металлочерепицы используются профилированные в двух направлениях стальные листы с защитно-декоративным покрытием, как правило, длиной на скат.
5.3.24. В целях исключения возможности конденсатообразования на холодной внутренней поверхности металлочерепицы необходимо обеспечить надежную вентиляцию под кровлей от карниза до конька, а под обрешеткой разместить внахлест рулонный водоизоляционный паропроницаемый материал (рис. 39 и
40).
Рис. 39. Общий вид кровли из металлочерепицы
1 - обрешетка; 2 - водоизоляционный материал;
3 - металлочерепица; 4 - направление движения воздуха
Рис. 40. Карниз кровли из металлочерепицы
1 - доски обрешетки 32 x 100 мм; 2 - лист металлочерепицы;
3 - стропильная нога; 4 - направление движения воздуха;
5 - водоизоляционный рулонный материал; 6 - утеплитель
5.3.25. Монтаж листов металлочерепицы следует производить с торца крыши. При этом капиллярная канавка каждого листа должна быть накрыта последующим листом.
5.3.26. Край листа должен устанавливаться по карнизу с выступом на 40 мм. Рекомендуется вначале по три-четыре листа закрепить одним шурупом на коньке с окончательным закреплением по всей длине после выравнивания по карнизу.
5.3.27. Крепление листов металлочерепицы следует осуществлять шурупами 4,8 x 28 мм с уплотнительной шайбой, которую устанавливают под поперечной волной. На каждый квадратный метр устанавливается 6 шурупов, учитывая при этом, что по краю лист крепится только в каждой второй волне. В местах нахлестки листов по длине, составляющей не менее 250 мм, крепление должно производиться в каждую вторую волну.
5.3.28. В местах ендов должен устанавливаться гладкий лист по сплошной обрешетке, с обязательной герметизацией зазоров между ним и листами металлочерепицы специальной уплотнительной лентой по профилю металлочерепицы.
5.3.29. Конек крыши должен закрываться коньковыми элементами после установки всех рядовых листов металлочерепицы и закрепления уплотнительной ленты. Коньковые элементы должны закрепляться шурупами на каждой второй профильной волне. Места нахлестки листов металлочерепицы при уклонах от 10 до 20% рекомендуется герметизировать герметиками по
ГОСТ 14791-79.
6. КРОВЛИ ИЗ ЖЕЛЕЗОБЕТОННЫХ ПАНЕЛЕЙ
ЛОТКОВОГО СЕЧЕНИЯ (БЕЗРУЛОННЫЕ КРЫШИ)
6.1. Безрулонные крыши из железобетонных панелей лоткового сечения следует применять в зданиях с вентилируемым чердаком.
6.2. В зависимости от способа водоотвода безрулонные крыши могут быть выполнены с внутренним водоотводом или с наружным неорганизованным водоотводом (рис. 41).
а)
б)
Рис. 41. Конструктивные схемы кровель
из железобетонных панелей лоткового сечения
а - с внутренним водоотводом; б - с неорганизованным
водоотводом; 1 - железобетонная кровельная панель;
2 - железобетонный П-образный нащельник; 3 - железобетонный
водосборный лоток; 4 - водосточная воронка; 5 - подкладочная
балка под лоток; 6 - опорная балка; 7 - опорный столик;
8 - утепленная панель перекрытия; 9 - треугольный анкерный
элемент; 10 - опорная фризовая панель; 11 - ограждение
крыши; 12 - торцовая фризовая панель
Безрулонные крыши преимущественно следует предусматривать с внутренним водоотводом. Устройство наружного водоотвода допускается в здании высотой до 4 этажей при отступе здания от "красной" линии не менее чем на 1,5 м проекции свеса крыши.
6.3. Вынос карнизов кровельных панелей при наружном водоотводе за грань наружной стены рекомендуется принимать не менее 900 мм, а при внутреннем водоотводе не менее 100 мм.
6.4. Безрулонные крыши выполняют из железобетонных кровельных панелей с защитой из мастичного или окрасочного состава, железобетонных водосборных лотков (при внутреннем водоотводе) с защитой гидроизоляцией из мастичных или окрасочных составов и доборных элементов (фризовых панелей, опорных столбиков, балок и т.п.).
6.5. Стыки между кровельными панелями, водосборными лотками, а также стыки этих элементов с вентиляционными шахтами, торцовыми фризовыми панелями, стояками вытяжной вентиляции и т.д. следует располагать выше основной водосливной поверхности кровельных панелей и водосборных лотков.
6.6. Водосборные лотки следует выполнять однопролетными. Не допускается пропускать через днище водосборных лотков стояки вытяжной вентиляции, стойки радио, телеантенны и др.
6.7. В крышах с наружным неорганизованным водоотводом устройство конькового стыка между кровельными панелями следует производить с применением П-образных железобетонных нащельников (рис. 42).
Рис. 42. Конструкции стыков кровельных панелей
а, б - стык с перекрытием П-образным нащельником; в - стык
внахлестку; 1 - кровельная панель; 2 - П-образный нащельник;
3 - герметик (прокладка "виларем")
6.8. Стык кровельных панелей с водосборными лотками должен выполняться с перекрытием продольного ребра лотка ребром сливного свеса кровельной панели (рис. 43).
Рис. 43. Конструкции свесов
1 - кровельная панель; 2 - П-образный нащельник;
3 - водосборный лоток; 4 - подкладочная балка
под водосборный лоток; 5 - парапетная фризовая панель;
6 - цементно-песчаный раствор
6.9. Узлы сопряжения кровельных панелей и водосборных лотков с торцовыми фризовыми панелями следует выполнять с заделкой стыка фартуком из оцинкованной стали, который пристреливается дюбелями к фризовой панели с последующей установкой парапетной плитки.
6.10. Сопряжение кровельных панелей с вентиляционными шахтами следует осуществлять с заделкой стыка фартуком из оцинкованной кровельной стали, который пристреливается дюбелями к вертикальной плоскости вентиляционных шахт с прокладкой между стенкой шахты и фартуком ленты из технической резины.
6.11. Сопряжение кровельных панелей со стояками вытяжной вентиляции следует выполнять с заделкой места прохода специальным металлическим кожухом или фартуком из оцинкованной кровельной стали с обжимными кольцами.
6.12. Карнизные свесы кровельных панелей не допускается использовать для подвешивания люлек при монтажных работах.
7. ОСНОВНЫЕ ПРАВИЛА ТЕХНИКИ БЕЗОПАСНОСТИ
7.1. Работы по устройству кровель должны выполняться специализированными бригадами под техническим руководством и контролем инженерно-технических работников организаций, имеющих лицензию на право производства кровельных работ. К производству кровельных работ допускаются рабочие, прошедшие медицинский осмотр, обученные правилам техники безопасности, методам ведения этих работ и мерам пожарной безопасности.
О проведении инструктажей должна быть отметка в специальном журнале под роспись. Журнал должен храниться у ответственного за проведение работ на объекте или в строительной (ремонтной) организации.
Лица, выполняющие работы по разогреву битума, приготовлению битумных мастик и работающие с оборудованием для подогрева кровельных (изоляционных) материалов и подплавления покровного слоя наплавляемого рулонного материала, должны проходить обучение по программам пожарно-технического минимума в обязательном порядке со сдачей зачетов (экзаменов).
В зоне, где производятся кровельные работы, находиться посторонним лицам запрещается.
7.2. У мест выполнения кровельных и изоляционных работ, а также около оборудования, имеющего повышенную пожарную опасность (котлы для варки битума и у мест приготовления битумной мастики, при производстве работ по укладке горючего утеплителя), следует вывешивать стандартные знаки (аншлаги, таблички) безопасности.
7.3. Перед началом ремонтных или строительных работ территория объекта должна быть подготовлена с определением мест установки бытовых вагончиков, мест складирования материалов, баллонов с горючими газами, емкостей с легковоспламеняющимися жидкостями, установки битумоварочных котлов и мест приготовления битумных мастик.
7.4. Бытовые вагончики и склады материалов, включая баллоны, следует размещать на территории согласно требованиям действующих норм и правил. Размещение их в противопожарных разрывах между зданиями и сооружениями, а также загромождение ими проездов (подъездов) к зданиям не допускается.
7.5. Временные строения должны располагаться от других зданий и сооружений на расстоянии не менее 15 м (кроме случаев, когда по другим нормам требуется больший противопожарный разрыв) или у противопожарных стен.
Отдельные блок-контейнерные здания допускается располагать группами не более 10 в группе и площадью не более 800 м2. Расстояние между группами этих зданий и от них до других строений следует принимать не менее 15 м.
7.6. При ремонтах кровли снимаемый горючий материал должен удаляться на специально подготовленную площадку. Устраивать свалки горючих отходов на территории объектов не разрешается. Горючие отходы должны своевременно вывозиться в места, определенные местной администрацией.
7.7. Выполнение работ по устройству кровель одновременно с другими строительно-монтажными работами на кровлях, связанными с применением открытого огня (сварка и т.п.), не допускается.
7.8. До начала производства работ на покрытиях должны быть выполнены все предусмотренные проектом ограждения и выходы на покрытие зданий (из лестничных клеток, по наружным лестницам).
7.9. Противопожарные двери и люки выходов на покрытие должны быть исправны и при проведении работ закрыты. Запирать их на замки или другие запоры запрещается.
Проходы и подступы к эвакуационным выходам и стационарным пожарным лестницам должны быть всегда свободными.
7.10. На проведение всех видов работ с рулонными и мастичными кровельными материалами или с применением горючих утеплителей на временных местах (кроме строительных площадок и частных домовладений) руководитель объекта обязан оформить наряд-допуск.
В наряде-допуске должно быть указано место, технологическая последовательность, способы производства, конкретные противопожарные мероприятия, ответственные лица и срок его действия.
7.11. Устройство кровли из рулонных и мастичных кровельных материалов следует производить участками площадью не более 500 м2.
7.12. При производстве работ по устройству покрытия площадью 1000 м2 и более с применением горючего утеплителя на кровле необходимо предусматривать средства пожаротушения. Расстояние между пожарными кранами следует принимать из условия подачи воды в любую точку кровли не менее чем двумя струями с расходом 5 л/с каждая.
7.13. По окончании рабочей смены не разрешается оставлять неиспользованный горючий утеплитель, кровельные рулонные материалы, газовые баллоны и другие горючие и взрывоопасные вещества и материалы внутри или на покрытиях зданий, а также в противопожарных разрывах.
7.14. Котлы для растопления битумов должны быть исправными. Не разрешается устанавливать котлы в помещениях здания и на покрытиях.
7.15. Котлы допускается устанавливать группами с количеством в группе не более трех. Расстояние между группами котлов должно быть не менее 9 м. Место варки и разогрева битумов должно размещаться на специально отведенных площадках и располагаться на расстоянии:
от зданий и сооружений I и II степеней огнестойкости и класса конструктивной пожарной опасности С0 не менее 10 м;
от зданий и сооружений II степени огнестойкости и класса конструктивной пожарной опасности С1, а также от зданий и сооружений III, IV степеней огнестойкости и классов конструктивной пожарной опасности С0 и С1 не менее 20 м;
от зданий и сооружений III степени огнестойкости и класса конструктивной пожарной опасности С2, IV степени огнестойкости и класса конструктивной пожарной опасности С2 и С3, а также V степени огнестойкости и классов конструктивной пожарной опасности С1, С2 и С3 не менее 30 м.
7.16. Каждый котел должен быть снабжен плотно закрывающейся крышкой из негорючих материалов. Заполнение котлов допускается не более чем на 3/4 их вместимости. Загружаемый в котел битум должен быть сухим.
7.17. Во избежание перелива битума, его попадания в топку и загорания котел необходимо устанавливать наклонно так, чтобы его край, расположенный над топкой, был на 5 - 6 см выше противоположного. Газовый баллон должен размещаться на расстоянии не менее 20 м от котла.
7.18. При работе передвижных котлов горючие материалы (баллоны с газом, емкости с соляровым топливом) должны находиться в вентилируемых шкафах из негорючих материалов, устанавливаемых на расстоянии не менее 20 м от работающих котлов.
Указанные шкафы следует держать постоянно закрытыми на замки.
7.19. Установленный на открытом воздухе битумный котел должен быть оборудован навесом из негорючих материалов.
Место установки котлов должно быть обваловано (или устроены бортики из негорючих материалов) высотой не менее 0,3 м.
7.20. В процессе варки и разогрева битумных составов не разрешается оставлять котлы без присмотра.
7.21. При приготовлении битумной мастики разогрев растворителей не допускается.
При смешивании разогретый битум следует вливать в растворитель (керосин, бензин), постоянно перемешивая мастику деревянной мешалкой.
7.22. Не разрешается пользоваться открытым огнем в радиусе 50 м от места смешивания битума с растворителями.
7.23. Доставку горячей битумной мастики на рабочие места необходимо осуществлять:
в специальных металлических бачках, имеющих форму усеченного конуса, обращенного широкой стороной вниз, с плотно закрывающимися крышками. Крышки должны иметь запорные устройства, исключающие открывание при падении бачка. Переносить мастики в открытой таре не разрешается;
насосом по стальному трубопроводу, закрепленному на вертикальных участках к строительной конструкции, не допуская протечек. На горизонтальных участках допускается подача мастики по термостойкому шлангу.
В месте соединения шланга со стальной трубой должен надеваться предохранительный футляр длиной 40 - 50 см (из брезента или других материалов).
После наполнения емкости установки для нанесения мастики следует откачать мастику из трубопровода.
7.24. После окончания работ топки котлов должны быть потушены.
7.25. Для целей пожаротушения места установки котла (группы котлов) для варки битума необходимо обеспечить ящиком объемом не менее 0,5 м3 с сухим песком, лопатами и пенными огнетушителями.
7.26. Для производства работ с использованием растворителей и битумных мастик должен применяться инструмент, изготовленный из материалов, не дающих искр (алюминий, медь, пластмасса, бронза и т.п.). Промывать инструмент и оборудование, применяемое при производстве работ с горючими веществами, необходимо на открытой площадке или в помещении, имеющем вентиляцию.
7.27. Лица, участвующие в приготовлении составов холодного отверждения и их применении, должны быть обеспечены спецодеждой и средствами индивидуальной защиты. Для защиты органов дыхания - респираторами марок Ф-62III, РУ-60М и типа "Лепесток". Для защиты кожи пастами или мазями типа силиконовых, ПМ-1, ХИОТ БГ и другими, перчатками резиновыми.
На местах проведения работ должны быть вода и аптечка с медикаментами для оказания первой помощи.
7.28. Для безопасного ведения процесса приготовления мастики, окрасочного состава и их нанесения необходимо обеспечить максимальную механизацию всех технологических операций и надлежащую герметизацию и заземление оборудования и коммуникаций, а также исправность электропусковой и контрольно-измерительной аппаратуры.
7.29. Емкости с растворителем и мастикой холодного отвержения должны подноситься к рабочему месту в специальной герметично закрытой таре в количестве, не превышающем однодневного запаса.
7.30. В помещениях для хранения и местах применения растворителей и мастик запрещается обращаться с открытым огнем и производить работы с искрообразованием.
7.31. Переливать и транспортировать растворители и мастику на растворителях следует при хорошем естественном освещении. Электрическое освещение в таких помещениях должно быть выполнено во взрывобезопасном исполнении.
7.32. Растворители и мастики должны храниться в специально оборудованных помещениях в соответствии со
СНиП III-4-80 изд. 1993 г. "Техника безопасности в строительстве". Каждая емкость должна иметь бирку с наименованием содержимого. Порожнюю тару из-под растворителей и мастик следует складировать в закрытых вентилируемых помещениях.
Запрещается ремонтировать (производить сварку, пайку и другие работы) металлическую тару из-под горючих жидкостей до ее промывки паром.
7.33. Помещения, связанные с подготовкой мастик, их разбавлением растворителями и нанесением защитных покрытий, должны быть изолированы от смежных помещений и оборудованы принудительной приточно-вытяжной вентиляцией во взрывобезопасном исполнении.
7.34. Содержание вредных веществ в рабочей зоне не должно превышать предельно допустимых концентраций.
7.35. Контроль за содержанием вредных веществ в рабочей зоне должен проводиться производственными лабораториями в объеме, согласованном с территориальными органами Государственного санитарного надзора.
7.36. Оборудование, используемое для подогрева наплавляемого рулонного кровельного материала (газовые горелки с баллонами и оборудованием), не допускается использовать с неисправностями, способными привести к пожару, а также при отключенных контрольно-измерительных приборах и технологической автоматике, обеспечивающих контроль заданных режимов температуры, давления и других, регламентированных условиями безопасности, параметров.
7.37. При использовании оборудования для подогрева запрещается:
отогревать замерзшие трубопроводы, вентили, редукторы и другие детали газовых установок открытым огнем или раскаленными предметами;
пользоваться шлангами, длина которых превышает 30 м;
перекручивать, заламывать или зажимать газоподводящие шланги;
использовать одежду и рукавицы со следами масел, жиров, бензина, керосина и других горючих жидкостей;
допускать к самостоятельной работе учеников, а также работников, не имеющих квалификационного удостоверения и талона по технике пожарной безопасности.
7.38. Хранение и транспортирование баллонов с газами должно осуществляться только с навинченными на их горловины предохранительными колпаками. При транспортировании баллонов нельзя допускать толчков и ударов.
К месту кровельных работ баллоны должны доставляться на специальных тележках, носилках, санках. Переноска баллонов на плечах и руках не разрешается.
7.39. Баллоны с газом при их хранении, транспортировании и эксплуатации должны быть защищены от действия солнечных лучей и других источников тепла.
Расстояние от горелок (по горизонтали) до баллонов с газом должно быть не менее 5 м.
7.40. При обращении с порожними баллонами из-под горючих газов должны соблюдаться такие же меры безопасности, как и с наполненными баллонами.
7.41. При перерывах в работе, а также в конце рабочей смены оборудование для нагрева кровельного материала должно отключаться, шланги должны быть отсоединены и освобождены от газов и паров горючих жидкостей.
По окончании работ вся аппаратура и оборудование должны быть убраны в специально отведенные помещения (места).
7.42. Кровельный материал, горючий утеплитель и другие горючие вещества и материалы, используемые при работе, необходимо хранить вне строящегося или ремонтируемого здания в отдельно стоящем сооружении или на специальной площадке на расстоянии не менее 24 м от строящихся и временных зданий, сооружений и складов.
7.43. На кровле допускается хранить не более сменной потребности расходных материалов. Запас материалов должен находиться на расстоянии не менее 5 метров от границы зоны выполнения работ.
7.44. У мест проведения работ допускается размещать только баллоны с горючими газами, непосредственно используемые при работе. Создавать запас баллонов или хранить пустые баллоны у мест проведения работ не допускается.
7.45. Складирование материалов и установка баллонов на кровле и в помещениях ближе 5 м от эвакуационных выходов (в том числе подходов к наружным пожарным лестницам) не допускается.
7.46. Емкости с горючими жидкостями следует открывать только перед использованием, а по окончании работы закрывать и сдавать на склад.
Тара из-под горючих жидкостей должна храниться в специально отведенном месте вне мест проведения работ.
7.47. Баллоны с горючими газами и емкости с легковоспламеняющимися жидкостями должны храниться раздельно, в специально приспособленных вентилируемых вагончиках (помещениях) или под навесами за сетчатым ограждением, недоступных для посторонних лиц.
Хранение в одном помещении баллонов с газовыми горелками, а также битума, растворителей и другие горючих жидкостей не допускается.
7.48. При хранении на открытых площадках наплавляемого кровельного материала, битума, горючих утеплителей и других строительных материалов, а также оборудования и грузов в горючей упаковке они должны размещаться в штабелях или группами площадью не более 100 м2. Разрывы между штабелями (группами) и от них до строящихся или подсобных зданий и сооружений должны быть не менее 24 м.
7.49. В местах приготовления и хранения приклеивающих составов и исходных материалов не допускается курение и применение открытого огня.
В случае загорания этих материалов необходимо использовать при тушении углекислотные огнетушители, песок. Использование воды для тушения битумов и растворителей не допускается.
7.50. При обнаружении пожара или признаков горения (задымление, запах гари, повышение температуры и т.п.) необходимо:
немедленно сообщить об этом в пожарную охрану;
принять по возможности меры по эвакуации людей, тушению пожара и обеспечению сохранности материальных ценностей.
7.51. Для обеспечения успешного тушения пожара необходимо обучить работников правилам и способам работы с первичными средствами пожаротушения.
7.52. По окончании работ необходимо провести осмотр рабочих мест и привести их в пожаровзрывобезопасное состояние.
7.53. На объекте должно быть определено лицо, ответственное за сохранность и готовность к действию первичных средств пожаротушения.
7.54. Огнетушители должны всегда содержаться в исправном состоянии, периодически осматриваться, проверяться и своевременно перезаряжаться.
7.55. Использование первичных средств пожаротушения для хозяйственных и прочих нужд, не связанных с тушением пожара, не допускается.
7.56. При расстановке огнетушителей необходимо выполнять условие, что расстояние от возможного очага пожара до места размещения огнетушителя не должно превышать 20 м.
7.57. В зимнее время (при температуре ниже 1 °С) огнетушители необходимо хранить в отапливаемых помещениях, на дверях которых должна быть надпись "Огнетушители".
7.58. Все работники должны уметь пользоваться первичными средствами пожаротушения.
8. ПРАВИЛА ПРИЕМКИ КРОВЕЛЬ
8.1. При приемке кровли должен осуществляться поэтапный приемочный контроль качества устройства пароизоляции, теплоизоляции, основания, водоизоляционного и защитного слоев с записью в журнал работ и составлением актов на скрытые работы.
8.2. На каждом этапе приемки исполнитель (подрядная организация) должен представить заказчику паспорт завода-изготовителя, ГОСТ, Технические условия, сертификат соответствия или Техническое свидетельство на используемые материалы. По требованию заказчика исполнитель обязан провести входной контроль используемых материалов на соответствие их физико-технических показателей данным, представленным в вышеуказанных документах, путем испытания этих материалов в аккредитованных испытательных лабораториях.
8.3. При приемке слоя пароизоляции исполнитель составляет акт на скрытые работы по результатам визуального контроля слоя пароизоляции (наличие трещин, вздутий, разрывов, пробоин, расслоений) и соблюдению указаний п. 5.7 Технических требований.
8.4. При приемке основания исполнитель составляет акты на скрытые работы по результатам инструментального контроля ровности поверхности основания, его влажности, уклона и уровня понижения поверхности в местах расположения воронок внутреннего водостока, а также оценки визуального контроля по соблюдению указаний
пп. 5.2,
5.3,
5.4 и
5.5 Технических требований.
| | ИС МЕГАНОРМ: примечание. В официальном тексте документа, видимо, допущена опечатка: пп. 6.10 и 8.7 Технических требований отсутствуют. | |
8.5. При приемке водоизоляционного слоя исполнитель составляет акты на скрытые работы по результатам инструментального контроля уклона кровли, уровня понижения поверхности в местах расположения воронок внутреннего водоотвода, ширины нахлестки асбестоцементных волнистых листов, металлического профлиста или металлочерепицы вдоль и поперек ската и оценку визуального контроля соблюдения указаний
пп. 5.9,
5.12,
5.14,
5.15,
6.5 -
6.8, 6.10,
7.3,
8.2,
8.4,
8.5, 8.7,
9.2 Технических требований.
8.6. При приемке защитного слоя исполнитель составляет акты по результатам инструментального контроля общей толщины защитного слоя, фракционного состава гравия и оценки визуального контроля соблюдения указаний пп.
5.18,
5.20,
5.21,
5.22 Технических требований.
8.7. Приемка готовой кровли должна оформляться актом с обязательной оценкой качества выполненных работ и выдачей заказчику гарантийного паспорта. В паспорте указывается наименование объекта, объем кровельных работ, их качество и гарантийный срок.
9. МЕТОДЫ ОЦЕНКИ КАЧЕСТВА КРОВЕЛЬ
9.1. Настоящий раздел устанавливает методы определения следующих показателей:
прочности, влажности и морозостойкости материала основания под кровлю;
толщины и ровности поверхности основания под кровлю;
уклона основания под кровлю;
уровня понижения поверхности кровли в местах расположения воронок внутреннего водоотвода;
ширины нахлестки асбестоцементных листов и металлических профлистов вдоль ската;
высоту наклейки рулонного материала в местах примыкания кровли к вертикальным поверхностям;
морозостойкость гравия и бетона для защитного слоя, общую толщину защитного слоя и фракционный состав гравия.
9.2. При испытании элементов кровли на соответствие указаниям Технических требований их результаты фиксируют в протоколе испытательной лаборатории.
9.3. Результаты испытаний при входном или операционном контроле применяемых материалов также фиксируют в протоколе и в акте на скрытые работы.
9.4. Объем выборки при проведении измерительного контроля определяют визуальным осмотром выполненных участков элементов кровли и принимают в количестве не менее 3-х измерений на каждые 70 м2.
9.5. Определение влажности, прочности и морозостойкости основания под кровлю из монолитной теплоизоляции при операционном контроле производят в соответствии с
ГОСТ 17177 и
ГОСТ 10060.1.
9.6. Определение толщины теплоизоляционного слоя и выравнивающей стяжки выполняют с помощью игольчатого толщиномера (рис. 44) или ему подобных устройств с диапазоном измерений 0... 150 мм погрешностью 1 мм и удельной нагрузкой 0,005 кгс/см2; металлической пластины размером 100 x 50 x 3 мм и штангенциркуля по
ГОСТ 166.
Рис. 44. Игольчатый толщиномер
1 - ручка; 2 - втулка; 3 - зажимной винт, 4 - вставка;
5 - корпус; 6 - основание; 7 - крепежный винт; 8 - игла;
9 - крепежный винт; 10 - шкала; 11 - стекло
9.7. Для проведения измерения толщины теплоизоляционного слоя из рыхлых (волокнистых) или насыпных (типа керамзитового гравия) материалов толщиномер устанавливают на поверхность слоя теплоизоляции, затем винтом 3 освобождают вставку 4, левой рукой придерживают корпус 5, а правой - ручку 1. Нажимая правой рукой на ручку 1, опускают вниз вставку 4 с иглой 8, при этом игла 8 вертикально прокалывает слой до упора. После этого левой рукой плавно опускают корпус толщиномера с основанием на поверхность слоя теплоизоляции.
Толщину теплоизоляционного слоя (монолитного или плитного) на основе цементного или битумного вяжущего и толщину выравнивающей стяжки измеряют в процессе устройства этого слоя или стяжки (при операционном контроле) при помощи игольчатого толщиномера, который устанавливают на поверхность теплоизоляционного слоя или стяжки у торцов выполненного участка.
В местах измерения толщины выравнивающей стяжки на поверхность неровной (крупнопористой, засыпной) теплоизоляции предварительно укладывают металлическую пластину и толщину стяжки определяют по формуле:

,
где

- показания толщиномера, мм;
3 - толщина пластины, мм.
Толщину сборной стяжки (из цементно-стружечной плиты или асбестоцементного прессованного листа) измеряют штангенциркулем перед укладкой на теплоизоляцию на 10... 15 плитах. Результат измерения округляют до 1 мм.
9.8. Определение ровности поверхности основания под кровлю выполняют с помощью деревянной или металлической полой (алюминиевой) рейки размером 2000 x 30 x 50 мм и металлической линейки по
ГОСТ 427.
| | ИС МЕГАНОРМ: примечание. В официальном тексте документа, видимо, допущена опечатка: п. 10.4 отсутствует. | |
Рейку укладывают на поверхность основания под кровлю в намеченных местах (см. п. 10.4) и металлической линейкой измеряют по высоте наибольшие отклонения поверхности основания под кровлю от нижней грани рейки. Результат измерения округляют до 1 мм.
9.9. Определение уклона основания под кровлю выполняют с помощью уклономера, схема которого приведена на рис. 45, или ватерпаса с диапазоном измерения 0... 450 и погрешностью 1°.
Рис. 45. Уклономер
а - боковой вид; б - разрез шарнира; в - нижняя часть
маятника; 1 - стальная пластина; 2 - проволочное кольцо;
3 - латунная ось; 4 - планка; 5 - маятник; 6 - направляющая;
7 - рамка; 8 - груз; 9 - указатель;
10 - шкала; 11 - опорная рейка
Опорную рейку уклономера устанавливают на основание под кровлю (поверхность теплоизоляционного слоя, либо выравнивающей стяжки, либо обрешетки) перпендикулярно к коньку, при этом сторона рамки уклономера с маятником должна быть направлена в сторону конька крыши. Указатель маятника покажет величину уклона в градусах, который затем переводят в проценты с помощью графика на рис. 46.
Рис. 46. График определения величины уклона в %
9.10. Влажность выполненного основания под рулонную или мастичную кровлю оценивают перед наклейкой слоев кровельного ковра неразрушающим способом при помощи поверхностного влагомера ВКСМ-12М или ему подобным либо на образцах, взятых (вырезанных, выпиленных) из основания в соответствии с
ГОСТ 5802 или
ГОСТ 17177.
9.11. Определение уровня понижения поверхности кровли в местах расположения воронок выполняют с помощью деревянной или металлической полой рейки размером 1500 x 30 x 50 мм и металлической линейки по
ГОСТ 427.
Рейку укладывают на поверхность кровельного ковра у водоприемного колпака воронки в 4-х местах (как показано на рис. 47) и металлической линейкой измеряют в этих местах глубину понижения уровня кровли от нижней грани рейки. Результат измерения округляют до 1 мм.
Рис. 47. Схема установки рейки на поверхность
водоизоляционного ковра
1 - поверхность ковра; 2 - зона понижения уровня кровли;
3 - водоприемный колпак воронки; а, б, в, г - расположение
рейки;

- места замеров
Отклонение уровня понижения поверхности кровли у воронок должно быть +5 мм.
9.12. Физико-технические показатели используемых материалов при входном контроле определяют в соответствии с действующими ГОСТами и техническими условиями на эти материалы.
9.13. Определение ширины нахлестки асбестоцементных листов и металлических профлистов и металлочерепицы вдоль ската выполняют металлической рулеткой 2-го класса по
ГОСТ 7502 или другим металлическим измерительным инструментом, обеспечивающим ту же погрешность измерений. Для этого рулеткой измеряют расстояние между видимыми концами двух (смежных) элементов (рис. 48) и ширину нахлестки вычисляют по формуле:

,
где l - длина элемента принимается по проекту, м;

- расстояние между концами смежных элементов, м.
Результат округляют до 1 см.
Ширина нахлестки должна быть не менее предусмотренной проектом.
Рис. 48. Схема определения ширины нахлестки
асбестоцементных листов и металлических профлистов
1 - асбестоцементный лист, металлический профлист
или металлочерепица; 2 - обрешетка
9.14. Определение высоты наклейки рулонного материала в местах примыкания кровли к вертикальным поверхностям производят в процессе устройства кровельного ковра (при операционном контроле).
Измерение выполняют металлической линейкой по
ГОСТ 427 или рулеткой 2-го класса по
ГОСТ 7502 через каждые 7... 10 м длины вертикальной поверхности (стены, парапета и т.п.) и на каждом примыкании к локальным выступающим над кровлей конструкциям (вентиляционным шахтам, трубам и т.п.).
Результат округляют до 1 см.
Высота наклейки рулонного материала в местах примыкания должна быть не менее предусмотренной проектом.
| | ИС МЕГАНОРМ: примечание. В официальном тексте документа, видимо, допущена опечатка: имеются в виду ГОСТ 8269.0-97, ГОСТ 10060.1-95, а не ГОСТ 8269, ГОСТ 10060 соответственно. | |
9.15. Определение морозостойкости и фракционного состава гравия для защитного слоя производят при входном контроле по
ГОСТ 8269, а морозостойкость бетона (цементно-песчаного раствора) - по
ГОСТ 5802 и
ГОСТ 10060.
9.16. Определение толщины защитного слоя из гравия, цементно-песчаного раствора и асфальтобетона выполняют игольчатым толщиномером
(рис. 44) в соответствии с
п. 9.7.
В местах определения толщины гравийного защитного слоя очищают от гравия участок диаметром около 150 мм, на него укладывают (по центру участка) металлическую пластину, а на поверхность гравийного слоя устанавливают (над металлической пластиной) игольчатый толщиномер и производят измерение. Отклонение толщины защитного слоя из гравия должно быть +/- 5 мм, а из цементно-песчаного раствора и асфальтобетона +5 мм.
В настоящем Руководстве использованы ссылки на следующие нормативные документы:
ГОСТ 427-75* "Линейки измерительные металлические. Технические условия".
ГОСТ 2678-94 "Материалы рулонные кровельные и гидроизоляционные. Методы испытаний".
| | ИС МЕГАНОРМ: примечание. В официальном тексте документа, видимо, допущена опечатка: имеется в виду ГОСТ 5802-86, а не ГОСТ 5802-85. | |
| | ИС МЕГАНОРМ: примечание. Взамен ГОСТ 7502-89 Постановлением Госстандарта России от 27.07.1999 N 220-ст с 1 июля 2000 года введен в действие ГОСТ 7502-98. | |
ГОСТ 7502-89* "Рулетки измерительные металлические. Технические условия".
| | ИС МЕГАНОРМ: примечание. В официальном тексте документа, видимо, допущена опечатка: имеется в виду ГОСТ 8269.0-97 "Щебень и гравий из плотных горных пород и отходов промышленного производства для строительных работ. Методы физико-механических испытаний". | |
ГОСТ 8269-97 "Щебень из природного камня, гравий и щебень для строительных работ. Методы испытаний".
| | ИС МЕГАНОРМ: примечание. В официальном тексте документа, видимо, допущена опечатка: ГОСТ 10060.1-95 имеет название "Бетоны. Базовый метод определения морозостойкости". | |
ГОСТ 10060.1-95 "Бетоны. Методы контроля морозостойкости. Общие требования".
ГОСТ 10499-95 "Изделия теплоизоляционные из стеклянного штапельного волокна".
ГОСТ 14791-79 "Мастика герметизирующая нетвердеющая строительная. Технические условия".
ГОСТ 16136-80 "Плиты перлитобитумные теплоизоляционные. Технические условия".
ГОСТ 17177-94 "Материалы и изделия строительные теплоизоляционные. Методы испытания".
ГОСТ 18124-95 "Листы асбестоцементные плоские. Технические условия".
ГОСТ 26589-94 "Мастики кровельные и гидроизоляционные. Методы испытаний прочности".
ГОСТ 21880-94* "Маты прошивные из минеральной ваты теплоизоляционные".
ГОСТ 30340-95 "Листы асбестоцементные волнистые. Технические условия".