Главная // Актуальные документы // Правила
СПРАВКА
Источник публикации
М.: АО "ЦИТП им Г.К. Орджоникидзе", 2015
Примечание к документу
Текст данного документа приведен с учетом поправки, утв. Ассоциацией "Национальное объединение строителей", "НОСТРОЙ" 02.06.2017.
Название документа
"СТО НОСТРОЙ 2.9.157-2014. Стандарт организации. Строительные конструкции каменные. Кладка из силикатных изделий (кирпич, камни, блоки и плиты перегородочные). Правила, контроль выполнения и требования к результатам работ"
(утв. и введен в действие Решением Ассоциации "Национальное объединение строителей", "НОСТРОЙ" от 11.12.2014 N 62)

"СТО НОСТРОЙ 2.9.157-2014. Стандарт организации. Строительные конструкции каменные. Кладка из силикатных изделий (кирпич, камни, блоки и плиты перегородочные). Правила, контроль выполнения и требования к результатам работ"
(утв. и введен в действие Решением Ассоциации "Национальное объединение строителей", "НОСТРОЙ" от 11.12.2014 N 62)


Содержание


Утвержден и введен в действие
Решением Совета Национального
объединения строителей
от 11 декабря 2014 г. N 62
СТАНДАРТ ОРГАНИЗАЦИИ
СТРОИТЕЛЬНЫЕ КОНСТРУКЦИИ КАМЕННЫЕ
КЛАДКА ИЗ СИЛИКАТНЫХ ИЗДЕЛИЙ
(КИРПИЧ, КАМНИ, БЛОКИ И ПЛИТЫ ПЕРЕГОРОДОЧНЫЕ)
ПРАВИЛА, КОНТРОЛЬ ВЫПОЛНЕНИЯ И ТРЕБОВАНИЯ
К РЕЗУЛЬТАТАМ РАБОТ
Construction masonry structures.
Masonry of silicate products (brick, stones, blocks
and partition blocks).
Regulations, monitoring of implementation and requirements
to the results of work
СТО НОСТРОЙ 2.9.157-2014
ОКС 91.080
Предисловие
1
РАЗРАБОТАН
ОАО "Научно-исследовательским центром "Строительство", ЦНИИСК им. В.А. Кучеренко
2
ПРЕДСТАВЛЕН НА УТВЕРЖДЕНИЕ
Комитетом по промышленному строительству Национального объединения строителей, протокол от 17 ноября 2014 г. N 30
3
УТВЕРЖДЕН И ВВЕДЕН В ДЕЙСТВИЕ
Решением Совета Национального объединения строителей от 11 декабря 2014 г. N 62
4
ВВЕДЕН
ВПЕРВЫЕ
Введение
Настоящий стандарт разработан в рамках Программы стандартизации Национального объединения строителей и направлен на реализацию положений Градостроительного кодекса Российской Федерации, Федерального закона от 27 декабря 2002 г. N 184-ФЗ "О техническом регулировании", Федерального закона от 30 декабря 2009 г. N 384-ФЗ "Технический регламент о безопасности зданий и сооружений", приказа Министерства регионального развития Российской Федерации от 30 декабря 2009 г. N 624 "Об утверждении Перечня видов работ по инженерным изысканиям, по подготовке проектной документации, по строительству, реконструкции, капитальному ремонту объектов капитального строительства, которые оказывают влияние на безопасность объектов капитального строительства".
В стандарте изложены общие требования к кладке из силикатных изделий (кирпич, камни, блоки, плиты перегородочные), правила и контроль выполнения кладочных работ.
Настоящий стандарт разработан в развитие Свода правил - СП 70.13330.2012 "СНиП 3.03.01-1987 Несущие и ограждающие конструкции", с учетом требований, изложенных в СП 15.13330.2012 "СНиП II-22-81* Каменные и армокаменные конструкции" и ГОСТ 379-2015 "Кирпич, камни, блоки и плиты перегородочные силикатные", с использованием основных положений европейских стандартов EN 1996 часть 1-1 и EN 1996, часть 3, касающихся кладки из силикатных изделий.
Авторский коллектив: А.М. Горбунов, канд. техн. наук С.И. Чигрин (ЦНИИСК им. В.А. Кучеренко), Н.В. Сомов (НП АПСИ), канд. техн. наук М.В. Корнев (ООО "Силикатстрой").
При участии: Я.Р. Мельник (Национальное объединение строителей), канд. техн. наук О.И. Пономарева, М.А. Мухина, О.С. Чигриной (ЦНИИСК им. В.А. Кучеренко), А.Н. Сомова (НП АПСИ).
1 Область применения
1.1 Настоящий стандарт распространяется на кладку из силикатных изделий (кирпича, камней, блоков и плит перегородочных) при новом строительстве, реконструкции и капитальном ремонте объектов различного назначения.
1.2 Настоящий стандарт устанавливает общие требования к кладке из силикатных изделий, к правилам выполнения кладочных работ, а также контролю их выполнения. Положения разделов 5, 6, пункта 9.1 являются рекомендуемыми.
2 Нормативные ссылки
В настоящем стандарте использованы ссылки на следующие стандарты и своды правил:
ГОСТ 166-89 Штангенциркули. Технические условия
ГОСТ 379-2015 Кирпич, камни, блоки и плиты перегородочные силикатные. Общие технические условия <1>
--------------------------------
<1> Приказом Федерального агентства по техническому регулированию и метрологии межгосударственный стандарт ГОСТ 379-2015 введен в действие в качестве национального стандарта Российской Федерации взамен ГОСТ 379-95.
ГОСТ 427-75 Линейки измерительные металлические. Технические условия
ГОСТ 3749-77 Угольники поверочные 90°. Технические условия
ГОСТ 5632-72 Стали высоколегированные и сплавы коррозионно-стойкие, жаростойкие и жаропрочные. Марки
ГОСТ 7502-98 Рулетки измерительные металлические. Технические условия
ГОСТ 7948-80 Отвесы стальные строительные. Технические условия
ГОСТ 9416-83 Уровни строительные. Технические условия
ГОСТ 9533-81 Кельмы, лопатки и отрезовки. Технические условия
ГОСТ 10528-90 Нивелиры. Общие технические условия
ГОСТ 10529-96 Теодолиты. Общие технические условия
ГОСТ 28013-98 Растворы строительные. Общие технические условия
ГОСТ 28638-90 Изделия щетинно-щеточные бытового назначения. Общие технические условия
ИС МЕГАНОРМ: примечание.
В официальном тексте документа, видимо, допущена опечатка: стандарт "Смеси сухие строительные на цементном вяжущем. Общие технические условия" имеет номер ГОСТ 31357-2007, а не ГОСТ 31357-2011.
ГОСТ 31357-2011 Смеси сухие строительные на цементном вяжущем. Общие технические условия
СП 15.13330.2012 "СНиП II-22-81* Каменные и армокаменные конструкции"
СП 29.13330.2011 "СНиП 2.03.13-88 Полы"
СП 48.13330.2011 "СНиП 12-01-2004 Организация строительства"
СП 49.13330.2010 "СНиП 12-03-2001 Безопасность труда в строительстве"
СП 70.13330.2012 "СНиП 3.03.01-87 Несущие и ограждающие конструкции"
СТО НОСТРОЙ 2.23.62-2012 Конструкции ограждающие светопрозрачные. Окна. Часть 2. Правила производства монтажных работ, контроль и требования к результатам работ
СТО НОСТРОЙ 2.33.51-2011 Организация строительного производства. Подготовка и производство строительных и монтажных работ
Примечание - При пользовании настоящим стандартом целесообразно проверить действие ссылочных нормативных документов в информационной системе общего пользования - на официальных сайтах национального органа Российской Федерации по стандартизации и НОСТРОЙ в сети Интернет или по ежегодно издаваемым информационным указателям, опубликованным по состоянию на 1 января текущего года. Если ссылочный нормативный документ заменен (изменен, актуализирован), то при пользовании настоящим стандартом следует руководствоваться заменяющим (измененным, актуализированным) нормативным документом. Если ссылочный нормативный документ отменен без замены, то положение, в котором дана ссылка на него, применяется в части, не затрагивающей эту ссылку.
3 Термины и определения
В настоящем стандарте применены термины в соответствии с Градостроительным кодексом РФ [1], ГОСТ 379, а также следующие термины с соответствующими определениями:
3.1 блок силикатный (блок): Силикатное изделие (3.17) в форме прямоугольного параллелепипеда с шириной тычка (3.18) более 130 мм (по ГОСТ 379-2015, статья 3.4).
Примечание - Поверхность тычка имеет пазы (выемки) и гребни (выступы), образованные при изготовлении блоков для пазогребневого соединения.
3.2 грейферное захватное устройство: Грузозахватное клещевое приспособление, агрегируемое с грузоподъемными механизмами и предназначенное для укладки блоков (3.1) и плит перегородочных (3.12).
3.3 камень силикатный (камень): Силикатное изделие (3.17) в форме прямоугольного параллелепипеда номинальными размерами 250 x 120 x 138 мм (по ГОСТ 379-2015, статья 3.3).
3.4 кирпич силикатный (кирпич): Силикатное изделие (3.17) в форме прямоугольного параллелепипеда, номинальными размерами 250 x 120 x 65 мм (кирпич одинарный) и 250 x 120 x 88 мм (кирпич утолщенный или полуторный).
3.5 кирпич силикатный пустотелый: Кирпич (3.4), имеющий несквозные пустоты различной формы и размеров.
3.6 кладка (кладочные работы): Возведение строительных конструкций из кирпича (3.17), камня (3.3), блоков (3.1) и плит перегородочных (3.12), укладываемых в определенном порядке и соединяемых кладочным раствором (3.16), раствором для тонкошовной кладки (3.15), клеем (3.7) или пазогребневым соединением (3.10).
Примечание - В технической документации термин кладка также определяется как конструкция из кирпича, камня, блоков, укладываемых в определенном порядке и соединенных раствором или клеевым составом (по СП 15.13330).
3.7 клей: Многокомпонентная композиция на основе органических веществ, применяемая для соединения силикатных изделий, способная обеспечить прочностные характеристики кладки при толщине шва не более 2 мм.
3.8 ложок: Наибольшая грань силикатного изделия (3.17), расположенная перпендикулярно к постели (3.14) (по ГОСТ 379-2015, статья 3.22).
3.9 опорный (выравнивающий) ряд кладки: Первый ряд возводимой строительной конструкции, уложенный особенно тщательно на основание.
Примечание - Допустимые неровности горизонтальной поверхности в продольном направлении кладки от минус 2 мм до +1 мм, в поперечном - +/- 1 мм.
3.10 пазогребневое соединение: Соединение, при котором гребень (вертикальный выступ) на тычке (3.18) одного блока (3.1) или плиты перегородочной (3.12) входит в вертикальный паз (вертикальную выемку) на тычке другого блока или плиты перегородочной.
Примечание - Данное соединение позволяет отказаться от применения кладочного раствора (3.16), раствора для тонкошовной кладки (3.15) или клея (3.7) в вертикальных швах кладки.
3.11 перевязка швов: Укладка последующего ряда кирпичей (3.4), камней (3.3), блоков (3.1) и плит перегородочных (3.12) со смещением для перекрытия вертикальных швов предыдущего ряда.
3.12 плита перегородочная силикатная (плита перегородочная): Силикатное изделие (3.17) в форме прямоугольного параллелепипеда с шириной тычка (3.18) не более 130 мм и высотой более 138 мм (по ГОСТ 379-2015, статья 3.5).
Примечание - Поверхность тычка имеет пазы (выемки) и гребни (выступы), выполненные при изготовлении плит перегородочных для пазогребневого соединения.
3.13 половняк: Две части силикатного изделия (3.17), образовавшиеся при его раскалывании, или целое изделие, имеющие сквозные трещины.
3.14 постель: Рабочая грань кирпича (3.14), камня (3.3), блока (3.1) или плиты перегородочной (3.12), расположенная параллельно опорному ряду кладки (3.9) (по ГОСТ 379-2015, статья 3.21).
3.15 раствор для тонкошовной кладки: Затворенная смесь вяжущих неорганических наполнителей, заполнителей, модифицирующих добавок, применяемая для соединения (склеивания) силикатных изделий (3.17), способная обеспечить прочностные характеристики кладки при толщине шва от 2 до 5 мм.
3.16 раствор кладочный: Затворенная смесь одного или нескольких неорганических вяжущих заполнителей и при необходимости противоморозных добавок, применяемая для соединения силикатных изделий (3.17), способная обеспечить прочностные характеристики кладки при толщине шва не менее 10 мм.
3.17 силикатное изделие: Изделие, изготавливаемое путем прессования увлажненной смеси из кремнеземистых материалов и известьсодержащих вяжущих, с последующим твердением под действием водяного пара в автоклаве, и предназначенное для возведения строительных конструкций.
Примечание - В настоящем стандарте рассматриваются следующие силикатные изделия: кирпич (3.4), камень (3.3), блок (3.1), плита перегородочная (3.12), U-образный блок (3.20).
3.18 тычок: Наименьшая грань силикатного изделия (3.17), расположенная перпендикулярно к постели (3.14) (по ГОСТ 379-2015, статья 3.23).
3.19 штраба: Зубчатая или ступенчатая поверхность торца кладки (3.6) для последующей связи с другим участком.
3.20 U-образный блок: Силикатное изделие (3.17) в форме лотка, выполняющее роль несъемной опалубки для изготовления перемычки, армируемой и бетонируемой на строительной площадке.
Примечание - В настоящем разделе после термина, определяемого в каком-либо другом месте настоящего раздела, в скобках следует его порядковый номер. Такой термин может быть заменен в определении его собственным определением. Например:
- кирпич (3.4) определен как "силикатное изделие (3.17) в форме прямоугольного параллелепипеда, номинальными размерами 250 x 120 x 65 мм (кирпич одинарный) и 250 x 120 x 88 мм (кирпич утолщенный или полуторный)";
- силикатное изделие (3.17) определено как "изделие, изготавливаемое путем прессования увлажненной смеси из кремнеземистых материалов и известьсодержащих вяжущих, с последующим твердением под действием водяного пара в автоклаве, и предназначенное для возведения строительных конструкций".
Если термин "силикатное изделие" заменить его собственным определением, то:
- кирпич может быть определен как "изделие, изготавливаемое путем прессования увлажненной смеси из кремнеземистых материалов и известьсодержащих вяжущих, с последующим твердением под действием водяного пара в автоклаве, и предназначенное для возведения строительных конструкций, в форме прямоугольного параллелепипеда, номинальными размерами 250 x 120 x 65 мм (кирпич одинарный) и 250 x 120 x 88 мм (кирпич полуторный)".
4 Обозначения и сокращения
М100 - М300 - марка по прочности изделия (количественная оценка прочности кирпича, блока, камня, плиты перегородочной, соответствующая напряжению сжатия при разрушении в кгс/см2).
F25 - F125 - марка по морозостойкости изделия (количество циклов замораживания-оттаивания, после которых происходит разрушение изделия).
ППР - проект производства работ.
РД - рабочая документация.
5 Общие требования к кладке из силикатных изделий
5.1 Требования к кладке
5.1.1 В зависимости от вида применяемых силикатных изделий различают следующие виды кладки:
- кирпичная;
- каменная;
- мелкоблочная;
- крупноблочная.
ИС МЕГАНОРМ: примечание.
Текст дан в соответствии с официальным текстом документа.
5.1.2 Кирпичную кладку выполняют из силикатного кирпича, в том числе пустотелого, марок М100 - 300.
5.1.3 Каменную кладку выполняют из силикатных камней марок М100 - 300.
5.1.4 Мелкоблочную кладку выполняют из силикатных блоков и плит перегородочных массой до 25 кг включительно, допускающую выполнение кладочных работ вручную.
5.1.5 Крупноблочную кладку выполняют из силикатных блоков и плит перегородочных массой более 25 кг, предусматривая использование грузоподъемных механизмов.
Примечание - Крупноблочная и мелкоблочная кладка имеет ряд существенных преимуществ по сравнению с кирпичной и каменной кладкой:
- высокая скорость возведения строительных конструкций (сокращение трудозатрат);
- сокращение расхода раствора (за счет применения раствора для тонкошовной кладки и отсутствия вертикальных швов);
- ровные поверхности стен, позволяющие отказаться от оштукатуривания;
- высокие значения сопротивления сжатию и несущая способность стен;
- меньшая толщина стен, позволяющая получить помещения большей площади;
- высокая огнестойкость стен;
- лучшие теплотехнические характеристики.
5.1.6 Кирпичную и каменную кладку выполняют по одной из следующих систем перевязки (см. рисунок 1):
- однорядная (ложковые и тычковые ряды чередуются);
- многорядная (ложковые ряды перевязываются через несколько рядов тычковыми);
- трехрядная (каждые три ложковых ряда перевязываются тычковым рядом).
Примечание - Трехрядную систему перевязки чаще всего применяют при выкладывании столбов и простенков для их большей устойчивости.
а) - однорядная; б) - многорядная; в) - трехрядная;
1 - тычковый ряд; 2 - ложковый ряд
Рисунок 1 - Системы перевязки швов кладки
5.1.7 При вынужденных разрывах кладки в последующем соединение стен выполняют следующими способами: наклонной (убежной) или вертикальной штрабой (см. рисунок 2).
а) - штраба наклонная (убежная); б) - штраба вертикальная
на прямом участке; в) - штраба вертикальная в месте
примыкания другой стены; г) - штраба наклонная
(убежная) угловая
Рисунок 2 - Штрабы
5.2 Требования к силикатным изделиям
5.2.1 Силикатные изделия применяют для возведения строительных конструкций однослойных (сплошной кладки) и многослойных (двухслойных или трехслойных с утеплителем и облицовкой из кирпича).
5.2.2 Для кладки строительных конструкций необходимо применять силикатные изделия, соответствующие ГОСТ 379.
5.2.3 Предельные отклонения средних значений размеров применяемых силикатных изделий от номинальных должны соответствовать требованиям ГОСТ 379-2015 (пункт 4.2.2):
Для изделий, предназначенных для кладки на кладочных растворах, предельные отклонения не должны превышать:
- по длине, ширине и высоте +/- 2 мм;
- по параллельности опорных граней +/- 2 мм.
Для изделий, предназначенных для кладки на растворах для тонкошовной кладки и клеях, предельные отклонения не должны превышать:
- по длине и ширине +/- 2 мм;
- по высоте +/- 1 мм;
- по параллельности опорных граней +/- 1 мм.
Для блоков и плит перегородочных предельные отклонения средних значений длины от номинальной допускаются +/- 3 мм.
5.2.4 Силикатные изделия применяются следующих видов:
- кирпич (одинарный и утолщенный);
- камни;
- блоки (в том числе блоки опорного ряда и U-образные блоки);
- плиты перегородочные.
5.2.5 Для кладки строительных конструкций должны применяться лицевые и рядовые кирпич и камни, соответствующие ГОСТ 379-2015 (пункт 5.1.2) по внешнему виду, прочностным показателям, а также количеству половняка.
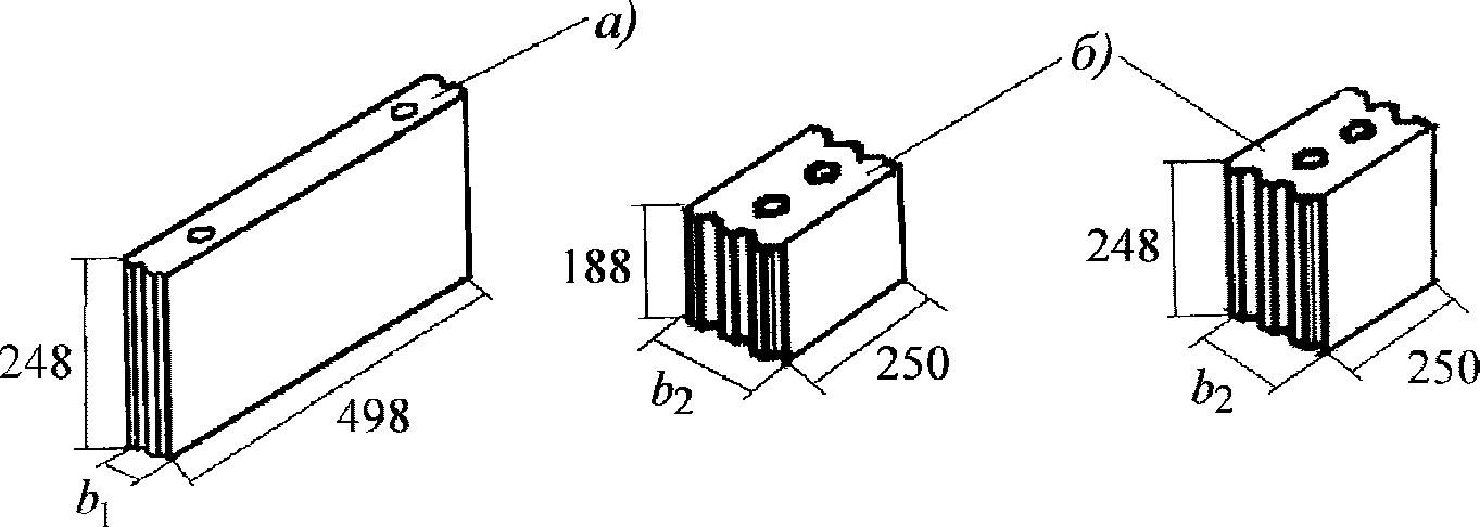
5.2.6 Для кладки строительных конструкций должны применяться блоки и плиты перегородочные, а также блоки и плиты перегородочные укрупненные, соответствующие ГОСТ 379-2015 (таблица А.1).
К первой категории относят (см. рисунок 3) блоки высотой менее 498 мм и плиты перегородочные шириной менее 115 мм.
b1 = 70, 80, 85, 88; b2 = 248, 250, 300, 380
а) - плита перегородочная; б) - блок; b1 - ширина плиты
перегородочной, мм; b2 - ширина блока, мм
Рисунок 3 - Блоки и плиты перегородочные
К укрупненным относят блоки высотой 498 мм и плиты перегородочные шириной 115 мм и более.
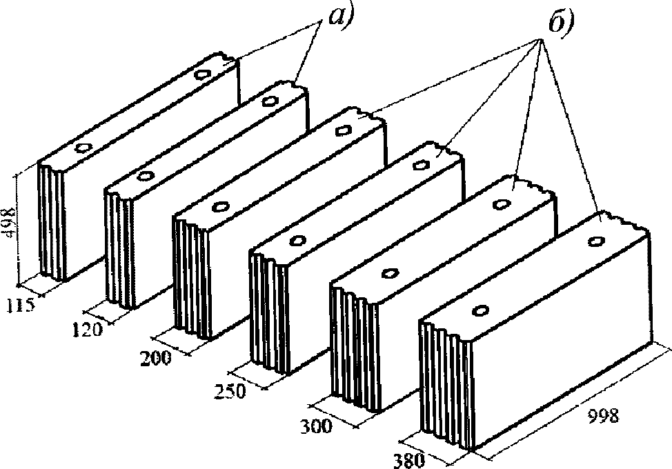
5.2.7 Укрупненные блоки и плиты перегородочные подразделяют на полноразмерные и доборные.
К полноразмерным относят блоки и плиты перегородочные длиной 998 мм (см. рисунок 4).
а) - плита перегородочная; б) - блок, размеры в мм
Рисунок 4 - Блоки и плиты перегородочные полноразмерные
К доборным относят блоки и плиты перегородочные длиной 498 мм (1/1), 373 мм (3/4) и 248 мм (1/2), представленные на рисунке 5, которые облегчают порядовую компоновку кладки.
b = 115, 120, 175, 200, 250, 300, 380 мм;
b - ширина доборных блоков и плит перегородочных, мм
Рисунок 5 - Блоки и плиты перегородочные доборные
Примечание - Полноразмерные и доборные блоки и плиты перегородочные поставляются на строительную площадку в комплекте. Дополнительная распиловка таких изделий на строительной площадке, как правило, не требуется.
5.2.8 Для кладки опорного (выравнивающего) ряда применяют блоки (см. рисунок 6), которые изготавливаются определенной ширины (под конкретную толщину стены), по индивидуальному заказу на заводе-производителе.
b = 70, 80, 88, 115, 120, 175, 200, 250, 300, 380 мм;
h - высота (по индивидуальному заказу)
Рисунок 6 - Блоки опорного (выравнивающего) ряда
Допускается использование в качестве таких блоков элементов, изготовленных на строительной площадке из полнотелых плит перегородочных шириной 70 мм.
5.2.9 Для устройства бетонных поясов, сборно-монолитных перемычек и колонн (стоек) применяют U-образные блоки (см. рисунок 7), которые изготавливаются определенной ширины (под конкретную толщину стены) по индивидуальному заказу на заводе-производителе.
b = 115, 120, 175, 200, 250, 300, 380 мм
Рисунок 7 - U-образные блоки
5.3 Требования к растворам и клею
5.3.1 Для кладки из силикатных изделий используют:
- кладочный раствор (см. 3.16);
- раствор для тонкошовной кладки (см. 3.15);
- клей (см. 3.7).
5.3.2 Кладочный раствор, соответствующий ГОСТ 28013, поставляется на строительную площадку в готовом виде.
Кладочные растворы для кладки блоков и плит перегородочных должны быть марки М75 и выше.
5.3.3 Приготовление раствора для тонкошовной кладки должно производиться из сухой строительной смеси по ГОСТ 31357, в соответствии с инструкцией завода-производителя на строительной площадке непосредственно перед нанесением, используя при этом дрель-миксер с насадкой. Требования к раствору для тонкошовной кладки приведены в СТО СПССС 52208230-001-2015 [2].
Примечание - Раствор для тонкошовной кладки обладает по сравнению с кладочным раствором лучшей адгезией, более высокой пластичностью, водоудерживающей способностью и удобоукладываемостью.
Мелкоблочную и крупноблочную кладку следует преимущественно выполнять на растворах для тонкошовной кладки.
Примечания
1 Крупноблочная кладка, выполняемая на кладочных растворах, затруднительна в исполнении, так как под весом блоков и плит перегородочных происходит выдавливание раствора (при этом прочность кладочного раствора может снижаться), и имеет меньшую прочность, чем кладка, выполняемая на растворах для тонкошовной кладки или клеях.
2 При выполнении мелкоблочной кладки на кладочном растворе с толщиной шва 12 мм возникают растягивающие напряжения и возможно образование продольных трещин на блоках.
Не допускается применение раствора для тонкошовной кладки или клея для кладки из силикатных изделий с отклонением по высоте более 1 мм, а также при возведении сводов.
5.3.4 Клей на строительную площадку поставляется в готовом виде.
5.4 Требования к швам кладки
5.4.1 Толщина горизонтальных швов кладки, выполняемой на кладочных растворах (см. рисунок 8), должна быть не менее 10 мм и не более 15 мм. Горизонтальные швы должны быть полностью заполнены (контроль заполнения см. 11.2.2).
а) - блоки на кладочном растворе; б) - блоки на растворе
для тонкошовной кладки, размеры в мм
Рисунок 8 - Толщина горизонтального шва кладки
При армировании сетками толщина горизонтальных швов кладки не должна превышать 16 мм.
Толщина вертикальных швов кладки, выполняемой на кладочных растворах, должна быть не менее 8 мм и не более 15 мм.
Швы между силикатными изделиями (элементами кладки), в зависимости от принятой в проекте отделки поверхности стен, должны быть полностью заполнены раствором, с последующей расшивкой. При выполнении кладки впустошовку швы должны быть не заполнены на глубину от 1 см до 1,5 см.
Примечание - Расшивка - обработка швов лицевой кладки (кладки наружной поверхности стен из лицевого кирпича или камня) специальным инструментом для их уплотнения и придания декоративных качеств.
Кладка впустошовку - кладка с неполным заполнением швов, выполняемая с целью улучшения сцепления при последующем оштукатуривании.
5.4.2 Толщина горизонтальных швов кладки, выполняемой на растворах для тонкошовной кладки (см. рисунок 8), должна быть не менее 2 мм и не более 5 мм.
5.4.3 Толщина горизонтальных швов кладки, выполняемой на клеях, должна быть не более 2 мм.
6 Применяемые инструменты, приспособления и оборудование
6.1 Инструменты
Применяемые для выполнения кладочных работ инструменты представлены на рисунке 9:
- уровень строительный по ГОСТ 9416;
- резиновый молоток (киянка);
- дрель-миксер;
- насадка для замешивания растворов;
- кельма с зубчатым профилем для выполнения вертикальных швов;
- кельма типа КО по ГОСТ 9533;
- щетка-сметка по ГОСТ 28638;
- шнур-причалка.
а) - уровень; б) - резиновый молоток; в) - дрель-миксер;
г) - насадка; д) - кельма с зубчатым профилем; е) - кельма;
ж) - щетка; з) - причальный шнур (шнур-причалка)
Рисунок 9 - Применяемые инструменты
6.2 Приспособления
6.2.1 Применяемые для выполнения кладочных работ приспособления:
- каретка (салазки) для растворов и клея (см. 6.2.2);
- шаблоны углов (см. 6.2.3);
- маячные рейки (порядовки) (см. 6.2.4).
6.2.2 Каретку (салазки) применяют для выполнения горизонтального шва кладки требуемой толщины, выполняемой на кладочном растворе, растворе для тонкошовной кладки или клее.
При применении раствора для тонкошовной кладки используют каретку (салазки) с зубчатым профилем соответствующих размеров (см. рисунок 10). При применении раствора для тонкошовной кладки рекомендуется каретка (салазки) с внутренним запорным языком.
Примечание - Каретка (салазки) обеспечивает быстрое и равномерное нанесение раствора или клея с минимальными потерями, что позволяет улучшить качество кладки, существенно облегчить труд каменщика и сократить время работы. Толщина горизонтального шва кладки регулируется величиной выставляемого зазора.
Рисунок 10 - Каретка (салазки) для раствора
для тонкошовной кладки
6.2.3 Шаблоны углов (см. рисунок 11), называемые "профилем кладки", применяют для выполнения точной "чистовой" кладки без предварительной "черновой" кладки (предварительной закладки углов наклонными штрабами с двухсторонней ступенчатостью).
Примечание - Установка шаблонов обеспечивает вертикальность кладки, не требует больших затрат времени. При использовании шаблонов не требуется выверка вертикального положения элементов кладки по отвесу или уровню, занимающая много времени, а также исключаются отклонения, характерные для контроля с помощью уровня.
а) - кирпичная кладка на кладочном растворе;
б) - крупноблочная кладка на растворе
для тонкошовной кладки;
1 - кладка; 2 - шаблон угла; 3 - струбцина;
4 - установочная рейка
Рисунок 11 - Шаблоны углов
Шаблоны углов рекомендуется применять при кладке блоков и плит перегородочных, когда используются каретки (салазки) для раствора или клея.
При выполнении кладки под расшивку следует использовать шаблоны углов в виде металлических или деревянных профилей (см. рисунок 12), устанавливаемых внутри возводимой строительной конструкции.
Рисунок 12 - Внутренний угловой профиль
6.2.4 Маячные рейки (порядовки) применяют для разметки рядов кладки, фиксирования отметок оконных и дверных проемов, перемычек, прогонов, плит перекрытий (см. рисунок 13).
Примечание - Как правило, маячные рейки (порядовки) - это деревянные рейки сечением 50 x 50 мм или 70 x 50 мм, длиной до 3 м, на которые нанесены деления (засечки) соответственно высоте ряда кладки.
а) - кирпичная кладка на кладочном растворе;
б) - крупноблочная кладка на растворе для тонкошовной
кладки; 1 - кладка; 2 - маячная рейка (порядовка);
3 - держатель рейки; 4 - клин; 5 - установочная рейка
Рисунок 13 - Маячные рейки (порядовки)
6.3 Оборудование
6.3.1 Для выполнения кладочных работ применяют следующее оборудование:
- леса и подмости (см. 6.3.2);
- грузоподъемные механизмы (см. 6.3.3);
- оборудование для изготовления дополнительных (компенсирующих) элементов (см. 6.3.4).
6.3.2 Для достижения оптимальной высоты рабочей зоны (от 60 до 90 см) применяют леса и подмости следующих видов:
- переставные леса, регулируемые по высоте (см. 6.3.2.1);
- переставные подмости (см. 6.3.2.2);
- подвижные подъемные леса и платформы (см. 6.3.2.3);
- кривошипные подъемные блоки (см. 6.3.2.4).
Примечание - Оптимальная высота рабочей зоны составляет от 60 до 90 см от настила средств подмащивания, что обеспечивает наименьшие физические усилия каменщика и снижение утомляемости, а также способствует высокой производительности труда.
Леса и подмости, применяемые при производстве работ, должны быть инвентарными.
6.3.2.1 Расстояние между стойками переставных лесов (см. рисунок 14) рекомендуется принимать от 2 до 3 м, соответственно длина кладки с лесов может устанавливаться от 2,5 до 4 м. Ширину переставных лесов рекомендуется принимать около 1,5 м.
Рисунок 14 - Переставные леса, размеры в м
6.3.2.2 Для каждой бригады каменщиков рекомендуется предусмотреть переставные подмости (консоль-подставку), изготовленные из легкосплавных материалов (см. рисунок 15).
Рисунок 15 - Переставные подмости (консоль-подставка)
6.3.2.3 Подвижные подъемные леса и платформы, называемые "лифт для каменщика" (см. рисунок 16), следует применять для подъема вверх груза общей массой до 1350 кг.
Рисунок 16 - Подвижные подъемные леса и платформы
Примечание - Высота опорной поверхности подъемных лесов и платформ регулируется от 0,5 до 2 м.
6.3.2.4 Кривошипные подъемные блоки следует применять для установки растворного чана (емкости) на оптимальной высоте рабочей зоны от 60 до 90 см.
Примечание - Использование кривошипных подъемных блоков обеспечивает высокую производительность при наименьшей усталости, так как в этом случае отпадает необходимость наклоняться при каждом заборе раствора.
При отсутствии кривошипного подъемного блока используют подставки, называемые "козлы". Высота подставки (обычно 40 см) выбирается в зависимости от высоты растворного чана (емкости) таким образом, чтобы его верхний край находился на высоте около 75 - 80 см.
Подкладывать под растворный чан (емкость) кирпичи запрещается.
6.3.3 При выполнении мелкоблочной и крупноблочной кладки (см. 5.2.1) следует применять краны малой грузоподъемности (см. рисунок 17) и специальные грейферные захватные устройства (см. рисунок 18). Грузоподъемность применяемого крана должна составлять не менее 200 кг.
Примечание - Грейферное захватное устройство позволяет за один захват поднять и уложить ряд с силикатными изделиями длиной до 2 метров.
Рисунок 17 - Кран малой грузоподъемности
Рисунок 18 - Грейферное захватное устройство, размеры в мм
Монтаж укрупненных блоков производят с помощью крана грузоподъемностью не менее 300 кг.
6.3.4 Для изготовления дополнительных (компенсирующих) элементов применяют следующее оборудование:
- гильотины (см. рисунок 19), преимущественно в случае выполнения кладки на кладочном растворе;
Примечание - Гильотина проста в обслуживании, необходимая сила раскола легко достигается с помощью двойного рычага или гидравлического цилиндра.
Рисунок 19 - Гильотина
- дисковые пилы по камню (ручная или стационарная, см. рисунок 20), в случае выполнения кладки на растворе для тонкошовной кладки, а также для изготовления фигурных элементов.
Примечание - Дисковая пила по камню, в отличие от гильотины, обеспечивает более высокую точность реза, например со стороны вертикального шва. С ее помощью могут также изготавливаться (распиливаться) косые конечные детали для кладки фронтона.
Рисунок 20 - Дисковая стационарная пила
7 Подготовительные работы
7.1 Общие положения
7.1.1 Подготовительные работы выполняются до начала кладочных работ. При подготовительных работах следует учитывать требования СТО НОСТРОЙ 2.33.51.
7.1.2 Подготовительные работы включают:
- приемку проектной и рабочей документации (РД) (см. 7.2);
- приемку материалов и изделий, включая сопроводительную документацию заводов - производителей строительных материалов и изделий (см. 7.3), а также их складирование;
- изготовление дополнительных (компенсирующих) элементов кладки и элементов опорного ряда (при необходимости) (см. 7.4);
- мероприятия по обеспечению строительной готовности объекта для производства кладочных работ (см. 7.5);
- организацию рабочего пространства (см. 7.6).
7.2 Приемка проектной и рабочей документации
7.2.1 При приемке проектной документации анализируется вся поступившая проектная документация, в том числе проект производства работ (ППР) (см. 11.1).
7.2.2 ППР должен быть выполнен в соответствии с требованиями СП 48.13330, СП 49.13330, с учетом положений МДС 12-81-2007 [3], СТО НОСТРОЙ 2.33.51. В случае использования грузоподъемных механизмов - с учетом требований РД 11-06-2007 [4].
В состав ППР должны быть включены технологические карты на возведение строительных конструкций и решения по безопасному выполнению работ, а также:
- решения по организации рабочих мест, путей прохода на рабочие места;
- методы и средства для подъема на этажи материалов и инструмента, применяемых при производстве кладочных работ;
- в случае необходимости, указания мест установки и количества временных дополнительных опор для восприятия нагрузки на перекрытия;
- рекомендации по организации мест стоянок и перемещения грузоподъемных механизмов;
- тип лесов и подмостей и схема их установки;
- порядок складирования материалов;
- указания по разметке осей для кладки стен;
- указания по разбивке углов и мест сопряжений;
- последовательность выполнения работ;
- решения по безопасному выполнению работ (при необходимости, особые меры безопасности);
- ссылки на инструкции, периодичность и объем инструктажа для каменщиков и правила работы с грузоподъемными механизмами.
7.2.3 ППР на выполнение кладочных работ должен содержать технологические карты производства работ с приложением схемы операционного контроля, а также:
- указания по виду силикатных изделий (кирпич, камень, блок, плита перегородочная), применяемых для кладки, их проектные марки по прочности и морозостойкости;
- вид кладки, систему перевязки швов, внешний (фасадный) рисунок облицовки и ее цвет;
- размеры элементов опорного (выравнивающего) ряда и U-образных блоков;
Примечание - Высота элементов опорного ряда зависит от высоты подоконного простенка или перемычки. Она подбирается таким образом, чтобы сократить количество необходимых фигурных элементов (минимум подрезки) и ускорить процесс кладки.
- номинальные размеры компенсирующих элементов кладки, в случае их изготовления на строительной площадке;
- особенности возведения строительных конструкций (например, кладка с заполненными раствором вертикальными швами или без них);
- марки растворов или клея для производства работ (как в летнее, так и зимнее время, для фундаментов, для армированной кладки, для помещений с влажным и мокрым режимом и пр.);
- для кладки в зимних условиях: способ кладки и допустимую высоту кладки; при способе кладки на кладочных растворах с противоморозными химическими добавками - наименьшую прочность раствора на различных стадиях; при способе кладки с прогревом конструкции - продолжительность прогрева, режим прогрева и глубину оттаивания кладки, устанавливаемые расчетом в зависимости от среднесуточной температуры атмосферного воздуха;
- указания по установке угловых и маячных блоков (для крупноблочной кладки);
- при необходимости, указания по укладке блоков и плит перегородочных по визиру;
- порядовый план (схема расположения блоков и плит перегородочных), разработанный и оптимизированный на всю высоту стен (см. рисунок 21).
Примечание - При разработке порядового плана необходимо произвести оптимизацию конструкции стены с целью минимизации количества доборных и компенсирующих элементов (особенно фигурных). При разработке рациональной конструкции стен желательно использовать специальное программное обеспечение.
а) - до оптимизации; б) - после оптимизации
Рисунок 21 - Пример оптимизации конструкции стены по высоте
7.2.4 РД должна содержать рабочие чертежи в виде планов, разрезов, профилей, схем и др.
РД, принимаемая к производству работ, должна быть утверждена техническим заказчиком (далее - заказчик) со штампом "в производство работ".
7.3 Приемка и складирование материалов и изделий
7.3.1 При приемке материалов и изделий, а также сопроводительной документации заводов-производителей до разгрузки необходимо проверить:
- наличие сопроводительных документов (паспорт, сертификат соответствия) на силикатные изделия, сухие смеси, готовые растворы, клей;
- соответствие маркировки (этикеток, ярлыков или бирок) поставленным материалам и изделиям;
- соответствие характеристик материалов и изделий требованиям РД (наименование, марка и цвет изделий);
- пригодность к применению по установленным в сопроводительных документах срокам использования;
- количество, а также целостность упаковки и самих силикатных изделий;
- визуально определить количество боя.
При приемке материалов и изделий производят наружный осмотр и проверку соответствия паспортных данных рабочим чертежам и соответствующим стандартам, а также контроль геометрических размеров принимаемых силикатных изделий на соответствие проекту (см. 11.1.3).
При приемке силикатных изделий подписывают товарно-транспортную накладную и делают запись в журнале входного контроля материалов (см. 11.1.4).
7.3.2 Силикатные изделия поставляются на строительную площадку штабелем (пакетами) на поддонах. Поддоны с силикатными изделиями разгружают с помощью грузоподъемных механизмов на подготовленное ровное основание, перемещение по строительной площадке осуществляется в специальных контейнерах.
7.3.3 Штабели (пакеты) с блоками и плитами перегородочными следует устанавливать на подготовленное основание ровными рядами с тесно прижатыми друг к другу пазогребневыми сторонами, чтобы обеспечивать захват грейферным устройством (клещами).
7.3.4 Места складирования изделий должны быть защищены от поверхностных вод.
7.3.5 Складирование силикатных изделий должно исключать их повреждение или разрушение. При этом:
- укладка на поддонах должна осуществляться не более чем в два яруса;
- укладка в контейнерах - в один ярус;
- укладка без контейнеров - высотой не более 1,7 м.
7.4 Изготовление дополнительных (компенсирующих) элементов
7.4.1 При необходимости до начала кладочных работ из полноразмерных силикатных изделий изготавливают дополнительные (компенсирующие) элементы. Дополнительные (компенсирующие) элементы изготавливают на строительной площадке путем деления полноразмерного элемента при помощи гильотины или дисковой пилы (см. 6.3.4).
7.4.2 Для получения требуемых размеров возводимой строительной конструкции и замыкания ряда (выравнивания его длины и ширины) используют дополнительные (компенсирующие) элементы - A, B, C, D, E (см. рисунок 22).
Рисунок 22 - Дополнительные компенсирующие элементы
во фрагменте стены
7.4.3 Дополнительные (компенсирующие) элементы из блоков и плит перегородочных (см. рисунок 23) должны изготавливаться перед кладкой соответствующей строительной конструкции для всей ее высоты.
Рисунок 23 - Изготовление дополнительных элементов
с помощью гильотины
7.4.4 После изготовления дополнительных (компенсирующих) элементов необходимо выполнить контроль их геометрических размеров (см. 11.1.5).
7.4.5 Требуемая высота и длина дополнительных элементов для выравнивания кладки могут быть определены по месту.
7.4.6 В случае если блоки для опорного ряда не входят в комплект поставки, необходимо до начала работ изготовить элементы опорного ряда требуемой ширины из плит перегородочных полнотелых.
7.5 Мероприятия по обеспечению строительной готовности объекта
7.5.1 Мероприятия по обеспечению строительной готовности объекта для производства кладочных работ включают:
- комплектацию инструментов, приспособлений и оборудования (см. 7.5.2);
- приемку основания для кладки (см. 7.5.3);
- устройство гидроизоляции под опорный (выравнивающий) ряд нижнего этажа (см. 7.5.4);
- разметку осей, углов и мест сопряжений (см. 7.5.5);
- установку шаблонов углов и маячных реек (см. 7.5.6).
7.5.2 Проверку комплектности инструментов, приспособлений и оборудования осуществляют в соответствии с требованиями ППР.
7.5.3 При приемке основания для кладки необходимо проверить его состояние. Основание для кладки должно быть ровным, без нарушения целостности, и чистым - без пыли, снега и наледи, коррозии или отслоений. Результатом приемки основания является акт готовности основания.
7.5.4 Устройство гидроизоляции под опорный (выравнивающий) ряд нижнего этажа (см. рисунок 24) выполняют с учетом требований СП 29.13330.2011 (пункт 7.7). По завершении работ составляют акт освидетельствования скрытых работ по гидроизоляции по форме, согласно РД 11-02-2006 [5].
1 - фундамент; 2 - гидроизоляция; 3 - кладочный раствор;
4 - блоки опорного ряда
Рисунок 24 - Гидроизоляция под опорным (выравнивающим) рядом
нижнего этажа
7.5.5 Разметку осей, углов и мест сопряжений выполняют в соответствии с ППР и РД. По завершении работ составляют акт разбивки осей объекта строительства на местности по форме, согласно РД 11-02-2006 [5].
7.5.6 Шаблоны углов устанавливают до начала кладки на углах здания в местах примыкания стен.
Примечания
1 Как правило, при выполнении кладки на кладочном растворе в качестве шаблонов углов используют угловые металлические или деревянные профили. Закрепляют шаблоны углов скобами с винтовым зажимом или крюками, вставленными в отверстия для крепления причального шнура к профилю, а другим концом - в швы кладки.
2 При выполнении кладки на растворе для тонкошовной кладки в качестве шаблонов углов используют профили, изготовленные преимущественно из деревянных строганых брусьев. Профили устанавливают вертикально по отвесу (по ГОСТ 7948) или уровню (по ГОСТ 9416), с помощью регулируемых в длину установочных реек. Затем на шаблонах углов маркируют высоту перекрытий с помощью шлангового ватерпаса, нивелира (по ГОСТ 10528) или лазерного нивелира (см. рисунок 25). Далее к профилям по высоте прикрепляют контрольную измерительную самоклеящуюся ленту. Затем причальный шнур натягивают и закрепляют с помощью клеммовых креплений или гвоздей. В последующем причальный шнур в любой момент просто и точно регулируется.
Рисунок 25 - Установка шаблонов углов
с помощью шлангового ватерпаса и лазерного уровня
Маячные рейки (порядовки) устанавливают на протяженных участках кладки через каждые 10 - 12 м.
Причальный шнур (см. рисунок 8) натягивают между шаблонами углов и (или) маячными рейками (порядовками), используют как ориентир для обеспечения прямолинейности и горизонтальности рядов кладки, а также одинаковой толщины горизонтальных швов.
7.6 Организация рабочего пространства
7.6.1 Грузоподъемные механизмы установить в соответствии с ППР.
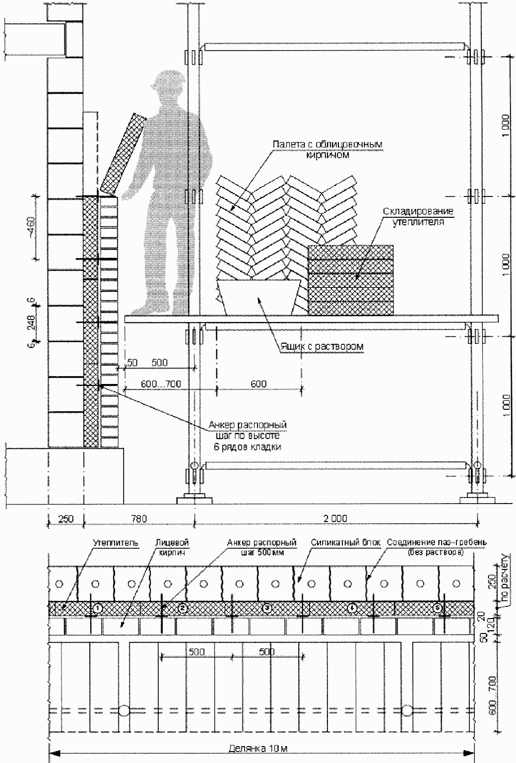
7.6.2 Емкости (чаны) с раствором или клеем установить таким образом, чтобы между ними и возводимой стеной оставалось рабочее пространство около 1,2 м (см. рисунок 26).
Примечание - Данное расстояние между штабелем (пакетом) и емкостью с раствором или клеем является оптимальным, так как в этом случае не требуется совершать большое количество промежуточных шагов, не ограничивается диапазон движений каменщика, в частности при поворотах, не возникает препятствий при установке лесов или подмостей. При этом время цикла уменьшается, производительность труда увеличивается.
Рисунок 26 - Расстояние между емкостью (чаном) с раствором
или клеем и возводимой стеной
Емкости (чаны) с раствором или клеем расставляют на расстоянии от 2,5 до 4 м друг от друга, при этом содержимого растворной каретки должно хватать до следующей емкости (чана).
Примечание - Такая организация рабочего пространства обеспечивает возможность свободного передвижения пакетов с силикатными изделиями.
При использовании передвижной тележки для раствора установка емкостей (чанов) с раствором или клеем не требуется.
7.6.3 Штабели (пакеты) с силикатными изделиями необходимо разместить на одной прямой линии между емкостями (чанами) с раствором или клеем. Штабели (пакеты) с силикатными изделиями должны располагаться продольной стороной параллельно возводимой стене.
8 Производство кладочных работ
8.1 Основные требования к кладочным работам
8.1.1 Кладочные работы выполняют в соответствии с проектом производства работ (ППР), рабочей документацией (РД), с учетом требований СП 15.13330, СП 70.13330.
8.1.2 Кладочные работы включают следующие основные операции:
- выполнение опорного (выравнивающего) ряда кладки (см. 8.2);
- нанесение растворов (кладочного, раствора для тонкошовной кладки) или клея (см. 8.3);
- возведение кладки из силикатных изделий (см. 8.4, 8.5);
- выполнение соединений встык (см. 8.6);
- возведение кладки с помощью грузоподъемных механизмов (см. 8.7);
- устройство оконных и дверных проемов (см. 8.8);
- укладка плит перекрытия (см. 8.9).
8.1.3 При выполнении кладочных работ осуществляют контроль и оценку качества выполнения работ (см. раздел 11). Допустимые отклонения при кладке силикатных изделий приведены в 11.2.7 и 11.2.8.
8.2 Выполнение опорного (выравнивающего) ряда кладки
8.2.1 Опорный (выравнивающий) ряд кладки (далее - опорный ряд) выполняется при возведении конструкций на растворе для тонкошовной кладки и клеях и предназначен для:
- обеспечения ровного горизонтального уровня в продольном и поперечном направлениях для последующих рядов кладки;
Примечание - Неровности бетонного основания не могут быть устранены в дальнейшем с помощью раствора для тонкошовной кладки или клея. Они приводят к пустотам в горизонтальных швах кладки и перекосу блоков и плит перегородочных. Правильное и точное выполнение опорного ряда является залогом высокого качества кладки и достижения заданных показателей прочностных характеристик возводимой строительной конструкции.
- подгонки уровней стыкуемых перевязкой рядов кладки разных направлений;
- получения требуемой высоты кладки.
8.2.2 Кладка каждого этажа начинается с выполнения опорного ряда, с проверкой осей, размеров стен и правильности углов.
8.2.3 Опорный ряд выкладывают на кладочный раствор марки М150 толщиной от 10 до 30 мм по сплошной растворной постели.
8.2.4 Опорный ряд выкладывают из блоков высотой от 70 до 130 мм, выставляя их строго по уровню в продольном и поперечном направлениях (см. рисунок 27). Высота блоков опорного ряда указывается в РД.
Рисунок 27 - Выполнение опорного ряда кладки
Допускается использование в качестве блоков опорного ряда элементов, изготовленных на строительной площадке из плит перегородочных шириной 70 мм и укладываемых в последующем на ложок.
8.2.5 В опорном ряду необходимо оставлять проемы для передвижения грузоподъемных механизмов (см. рисунок 28).
Рисунок 28 - Проемы для передвижения
грузоподъемных механизмов
8.2.6 Кладочный раствор опорного ряда должен "схватиться" в течение одних суток до начала выполнения основной кладки.
8.3 Нанесение растворов или клея
ИС МЕГАНОРМ: примечание.
В официальном тексте документа, видимо, допущена опечатка: имеется в виду ГОСТ 28638, а не ГОСТ 2863.
8.3.1 Перед нанесением растворов (кладочного, раствора для тонкошовной кладки) или клея поверхность уложенных элементов кладки должна быть очищена щеткой по ГОСТ 2863 от грязи и пыли (см. рисунок 29).
Рисунок 29 - Очистка от грязи и пыли поверхности уложенных
элементов кладки перед нанесением раствора или клея
8.3.2 Растворы или клей наносят с помощью каретки (салазок) (см. 6.3) для расстилания ровным слоем. Количество кареток (салазок) должно соответствовать числу каменщиков, а их ширина - необходимой толщине стен.
Раствор для тонкошовной кладки на вертикальные поверхности блоков и плит перегородочных наносят с помощью кельмы с зубчатым профилем соответствующей ширины (см. рисунок 9).
Перед началом работы рекомендуется выполнить проверку оптимальной длины горизонтального шва, получаемого от одного заполнения каретки растворами или клеем, которая должна составлять от 2 до 4 м. При длине шва менее 2 м рекомендуется выбрать каретку с большей вместительностью.
Раствор для тонкошовной кладки в жаркую и (или) ветреную погоду наносят на меньшую длину (от 2 до 2,5 м).
Примечание - При жаркой и (или) ветреной погоде происходит быстрое испарение воды, необходимой для набора прочности раствором для тонкошовной кладки и для адгезии (сцепления с силикатными изделиями).
8.3.3 При температуре воздуха 30 °C и выше уложенные ряды кладки предварительно увлажняют водой (см. рисунок 30).
Рисунок 30 - Предварительное увлажнение рядов кладки
8.3.4 Кладочный раствор наносят слоем 12 мм.
Раствор для тонкошовной кладки наносят слоем 3 - 4 мм для получения толщины горизонтального шва 2 мм после установки блока (см. рисунок 31).
Рисунок 31 - Толщина нанесенного раствора для тонкошовной
кладки и получаемого горизонтального шва
Клей наносят слоем, указанным в инструкции завода-производителя.
8.3.5 Растворы или клей должны быть использованы до начала их схватывания. Добавление воды в схватившиеся растворы или клей запрещается.
Расслоившиеся растворы должны быть перемешаны до употребления.
8.3.6 На время перерывов в работе следует тщательно очищать каретки (салазки) от растворов или клея.
8.4 Возведение кладки из кирпича и камня
8.4.1 Кладка из кирпича и камня (см. 5.2.2 и 5.2.3) должна соответствовать требованиям СП 70.13330.2012 (раздел 9).
Примечание - Методика возведения кирпичной и каменной кладки приведена в МДС 51-1.2000 [6].
8.4.2 Кладку на кладочных растворах в местах взаимных пересечений или примыканий следует возводить, как правило, одновременно.
При вынужденных разрывах кладка должна выполняться наклонной (убежной) или вертикальной штрабой (см. рисунок 2).
8.4.3 При выполнении разрыва кладки вертикальной штрабой в швы кладки следует заложить сетку (арматуру) из продольных стержней диаметром не более 6 мм, из поперечных стержней - 3 мм с расстоянием до 1,5 м по высоте кладки, а также в уровне каждого перекрытия. Количество продольных стержней арматуры определяется в зависимости от толщины стены из расчета один стержень на каждые 12 см толщины, но не менее двух при толщине стены 12 см. Вертикальный шов в процессе возведения кладки полностью заделывается кладочным раствором.
8.4.4 Разность высот кладки, возводимой на кладочных растворах на смежных захватках, и при возведении примыканий наружных и внутренних стен не должна превышать высоты этажа.
8.4.5 Допустимые отклонения в размерах кладки из кирпича и камня приведены в 11.2.7.
8.5 Возведение кладки из блоков и плит перегородочных
8.5.1 Кладка из блоков и плит перегородочных (см. 5.2.4 - 5.2.6) может возводиться вручную и при помощи грузоподъемных механизмов (см. 6.3.3).
Максимально допустимая масса силикатных изделий, укладываемых вручную, не должна превышать 25 кг. При этом максимально допустимая масса силикатных изделий, укладываемых одной рукой, зависит от ширины захвата, и составляет:
- 6 кг при ширине захвата 115 мм и более;
- 7,5 кг при ширине захвата от 40 до 70 мм.
Силикатные изделия массой более 25 кг перемещают и укладывают при помощи грузоподъемных механизмов.
8.5.2 Поверхности блоков и плит перегородочных перед укладкой очищают щеткой по ГОСТ 28638 от грязи и пыли (см. рисунок 32).
Рисунок 32 - Очистка от грязи и пыли поверхности
укладываемых блоков
Сухие изделия при температуре воздуха выше 15 °C необходимо увлажнить за 30 минут перед началом кладки смачиванием с помощью щетки или окунанием в емкость с водой (см. рисунок 33).
Примечание - Сухие изделия от влажных изделий можно отличить визуально (они различны по оттенку) или тактильно (на ощупь).
Рисунок 33 - Увлажнение блоков в жаркую погоду
8.5.3 При установке элементов кладки следует ориентироваться на предварительно натянутый причальный шнур.
Элементы кладки устанавливают вплотную друг к другу. Положение каждого элемента выравнивают с помощью резинового молотка (киянки). Использование клиньев для корректировки элементов запрещается.
8.5.4 Кладка из блоков и плит перегородочных выполняется без заполнения раствором вертикальных швов.
Примечание - Блоки и плиты перегородочные имеют тычковые грани пазогребневой формы. Система соединения "паз-гребень" за счет профиля тычковых граней обеспечивает получение ровных поверхностей стен. В такой кладке исключается поворот элементов (из плоскости кладки).
Необходимость заполнения (замоноличивания) вертикальных швов указывается в РД и выполняется:
- между стенами перпендикулярных направлений (см. рисунок 34);
- в сжатой зоне перемычек (см. рисунок 34);
- в кладке наружных стен подвала в зависимости от направления действующей нагрузки;
- в армированной кладке (кроме кладки с конструктивным армированием);
- в однослойной кладке без штукатурки, к которой предъявляются требования по воздухопроницаемости.
Рисунок 34 - Заполнение вертикальных швов между стенами
перпендикулярных направлений и в сжатой зоне перемычек
Кроме того, в случае образования вертикальных швов шириной 5 мм и более они должны быть заполнены раствором на глубину не менее 1,5 см (см. рисунок 35).
Рисунок 35 - Заполнение вертикальных швов
шириной 5 мм и более
Вытекший из швов раствор загустения убирают металлическим шпателем или кельмой по ГОСТ 9533. Одновременно зашпаклевывают дефектные места - пустоты в боковых стыковых швах или дефекты кромок.
8.5.5 Последовательность (1, 2, 3, 4, 5) кладки блоков и плит перегородочных между параллельными стенами представлена на рисунке 36. Ряд завершается укладкой предпоследнего элемента от стены, противоположной началу кладки. Стыковые швы толщиной 5 мм и более, в случае их образования, следует заполнять (замоноличивать) раствором.
Рисунок 36 - Последовательность кладки блоков и плит
перегородочных между параллельными стенами
8.5.6 В процессе выполнения кладочных работ необходимо контролировать:
- горизонтальность рядов кладки - не реже чем через 1 м по высоте (см. 11.2.5);
- вертикальность поверхностей стен и углов - не реже чем через 0,5 м по высоте (см. 11.2.6).
Отклонения, превышающие допустимые, должны быть устранены незамедлительно путем демонтажа участка с отклонениями и возведения кладки вновь.
8.5.7 При возведении строительных конструкций с применением блоков и плит перегородочных высотой более 300 мм глубина перевязки (u) должна быть равной 0,4h (где h - высота блока).
Глубина перевязки указывается в ППР на кладочных планах. Любые изменения глубины перевязки должны быть согласованы с инженером (прорабом) на строительной площадке.
8.5.8 При возведении строительных конструкций с применением укрупненных блоков высотой 498 мм глубина перевязки (u) может быть уменьшена до величины 0,25h (см. рисунок 37). При этом кладку выполняют на растворе для тонкошовной кладки без заполнения вертикальных швов.
Рисунок 37 - Минимальная глубина перевязки блоков
высотой 498 мм
8.6 Выполнение соединений встык
8.6.1 Соединения стен при кладке на растворе для тонкошовной кладки следует выполнять преимущественно встык. Исключение составляет кладка наружных стен подвалов на растворах для тонкошовной кладки, где углы выкладывают с обязательной перевязкой (перепуском).
Примечание - Соединение стен встык имеет ряд преимуществ перед соединением стен вертикальными или наклонными штрабами:
- облегчение установки, а также перемещения лесов и грузоподъемных механизмов;
- использование меньшего количества компенсирующих элементов;
- экономия времени.
Соединение стен с различной высотой рядов кладки выполняют только встык.
8.6.2 Технология выполнения соединений встык представлена на рисунке 38.
а) - выполнение горизонтального шва; б) - выполнение
вертикального шва; в) - установка первого блока в ряду;
г) - выравнивание установленного блока; д) - установка
последующих блоков; е) - выполнение горизонтального шва
следующего ряда
Рисунок 38 - Рабочие этапы выполнения соединения встык
8.6.3 Соединение встык необходимо выполнять с помощью плоских анкеров, изготавливаемых из перфорированной полосы коррозионно-стойкой стали по ГОСТ 5632, закладываемых в каждый шов кладки. Рекомендуется использовать плоские анкеры длиной 30 см.
8.6.4 Соединение выполняют в следующей последовательности:
- при возведении стены в месте примыкания заложить плоские анкеры в слой раствора для тонкошовной кладки (см. рисунок 39);
Рисунок 39 - Плоский анкер из коррозионно-стойкой стали
- отогнуть вниз выступающую часть плоского анкера в целях безопасности работы;
- перед возведением примыкающей стены вернуть назад (в горизонтальное положение) выступающую часть плоского анкера;
- при возведении примыкающей стены следует нанести раствор для тонкошовной кладки на возведенную стену (см. рисунок 40);
Рисунок 40 - Нанесение раствора для тонкошовной кладки
на возведенную стену
- нанести раствор для тонкошовной кладки на примыкающий к возведенной стене элемент кладки (см. рисунок 41);
Рисунок 41 - Нанесение раствора для тонкошовной кладки
на примыкающий элемент
- раствор для тонкошовной кладки уплотнить через примыкающий элемент с помощью резинового молотка (см. рисунок 42).
Примечание - Соблюдение данной операции особенно важно при возведении конструкций, к которым предъявляются требования звукоизоляции.
Рисунок 42 - Уплотнение раствора для тонкошовной кладки
через примыкающий элемент
8.7 Возведение кладки с помощью грузоподъемных механизмов
8.7.1 Возведение кладки с помощью грузоподъемных механизмов (далее - краны малой грузоподъемности), перемещаемых по перекрытию, осуществляют для облегчения производственного процесса и его рационализации.
С помощью крана малой грузоподъемности укладывают элементы (см. рисунки 43 и 44) на раствор для тонкошовной кладки и выравнивают их положение.
Рисунок 43 - Укладка полноразмерного блока с помощью крана
малой грузоподъемности
Рисунок 44 - Укладка компенсирующего фигурного элемента
с помощью крана малой грузоподъемности
Запрещается оставлять по окончании работы блоки или плиты перегородочные в висячем положении, удерживаемые грейферным захватом.
8.7.2 Технологический процесс возведения кладки должен согласовываться с работой кранов малой грузоподъемности. Организация рабочего пространства при возведении стен с использованием крана малой грузоподъемности представлена на рисунке 45.
Рисунок 45 - Организация рабочего пространства
при использовании кранов малой грузоподъемности
Краны малой грузоподъемности являются мобильными и должны передвигаться параллельно возводимой стене.
Расстояние между стеной и краном малой грузоподъемности должно составлять не более 5 м радиуса поворота стрелы.
Для сокращения продолжительности работ поддоны с силикатными изделиями следует располагать как можно ближе к крану малой грузоподъемности и возводимой стене.
8.7.3 Штабели с силикатными изделиями на рабочем месте (на перекрытии или на площадке основания) должны стоять плотно друг к другу. Для сокращения манипуляций и времени укладки силикатных изделий за один захват грейферного захватного устройства (см. рисунок 46) рекомендуется брать и укладывать по два и более блока или по две плиты перегородочные.
Рисунок 46 - Захват грейферным захватным устройством
двух блоков
8.8 Устройство оконных и дверных проемов
8.8.1 Устройство оконных и дверных проемов рекомендуется выполнять с учетом требований СТО НОСТРОЙ 2.23.62 по одному из следующих вариантов:
- использовать в качестве шаблона рамку из реек (см. рисунок 47) размером, соответствующим размеру оконной или дверной коробки, которые будут вмонтированы позднее;
Рисунок 47 - Применение рамки из реек
при устройстве оконного проема
- монтаж оконных и дверных коробок, в которые позднее будут вставлены окна и двери, осуществлять по ходу выполнения кладки;
Примечание - Таким способом устраивают проемы на всю высоту стены - от пола до потолка, при этом оконные и дверные коробки крепят к перекрытиям.
- монтаж окон и дверей в сборе с коробкой осуществлять по ходу выполнения кладки.
Примечание - Перечисленные варианты позволяют рационализировать процесс возведения конструкций. При этом размеры проемов выдерживаются с необходимой точностью и исключаются отклонения, характерные для контроля с помощью уровня.
8.8.2 В качестве перекрытия оконных и дверных проемов используют:
- сборные железобетонные перемычки, которые монтируют на кладочный раствор по ходу возведения кладки;
- сборно-монолитные перемычки, которые монтируют на раствор для тонкошовной кладки по ходу возведения кладки (см. рисунок 48).
Рисунок 48 - Монтаж оконной перемычки из U-образных блоков
Для устройства сборно-монолитных перемычек при возведении строительных конструкций из блоков и плит перегородочных рекомендуется использовать силикатные U-образные блоки соответствующей ширины и высоты. Вертикальные швы кладки по торцам перемычек должны быть заполнены раствором.
8.9 Укладка балок и плит перекрытия
8.9.1 По окончании кладки каждого этажа должна проводиться проверка горизонтальности верха кладки и отметок обрезов кладки под перекрытие, независимо от промежуточных проверок горизонтальности ее рядов (см. 11.2.5).
Отклонения в отметках по высоте этажа (в пределах допусков) должны исправляться в последующих этажах.
Примечание - Устранять отклонения в отметках по высоте этажа рекомендуется, например:
- в случае применения кладочного раствора - корректировкой толщины шва;
- в случае применения раствора для тонкошовной кладки или клея - высотой опорного (выравнивающего) рядка кладки.
8.9.2 Опирание балок и плит перекрытий следует выполнять непосредственно на блоки через слой кладочного раствора (марки М100 и выше) толщиной не более 15 мм.
8.9.3 Возведение конструкций последующего этажа допускается только после укладки перекрытий, перекрывающих возведенный этаж, и замоноличивания швов плит перекрытия.
8.9.4 Для восприятия нагрузки от крана малой грузоподъемности, поддонов с силикатными изделиями и чанов с раствором или клеем обязательна установка временных монтажных опор в соответствии с ППР (см. рисунок 49).
Рисунок 49 - Установка временных монтажных опор
8.10 Дополнительные требования к кладочным работам
8.10.1 Наружные углы стен в основании должны быть армированы для обеспечения прочности строительной конструкции в соответствии с ППР.
8.10.2 Обрез цоколя и другие выступающие части кладки после их возведения должны быть защищены от попадания атмосферной влаги путем устройства фартуков из кровельной стали или сливов, выполненных кладочным раствором.
8.10.3 Предельная высота возведения свободно стоящих стен (без укладки перекрытий или покрытий) не должна превышать значений, указанных в СП 70.13330.2012 (таблица 9.1). При возведении свободно стоящих стен большей высоты должны применяться временные крепления, обеспечивающие устойчивость стен во время производства работ.
Примечание - Если возводимая стена (высотой H) связана с жесткими конструкциями (в том числе с поперечными стенами), то ее допускаемая высота без устройства временных креплений может быть увеличена на:
- 15% - при расстоянии между этими конструкциями, не превышающем 3,5H;
- 25% - при расстоянии между этими конструкциями, не превышающем 2,5H;
- 40% - при расстоянии между этими конструкциями, не превышающем 1,5H.
8.10.4 Высота перегородок, не раскрепленных временными креплениями, не должна превышать:
- 1,5 м - для перегородок толщиной 7 - 8 см;
- 1,8 м - для перегородок толщиной 9 - 12 см.
При возведении перегородок большей высоты должны применяться временные крепления, обеспечивающие устойчивость стен во время производства работ.
8.10.5 Высота перегородок длиной не более 6 м, закрепляемых в верхней части к перекрытиям, не должна превышать:
- 3,15 м - для перегородок толщиной 7 см;
- 3,6 м - для перегородок толщиной 8 см.
Примечание - В перегородках большей длины должны быть предусмотрены пилястры или стойки (колонны), закрепленные к несущим конструкциям здания. Пилястры, выполняемые из блоков, должны иметь сечение не менее 500 x 250 мм.
8.10.6 При возведении столбов, колонн, пилястр, простенков и карнизов из блоков следует применять целые изделия, без трещин и других повреждений. Перевязку следует производить с использованием доборных блоков. Армирование для повышения прочности нецелесообразно.
8.10.7 Не допускается ослабление конструкции отверстиями, нишами, монтажными проемами, не предусмотренными проектом.
8.10.8 При перерывах в работе и в периоды интенсивных атмосферных осадков верхние ряды кладки следует укрывать от увлажнения (см. рисунок 50). Верх незаконченной кладки должен быть без растворного слоя и защищенным от атмосферных осадков водонепроницаемым экраном (полиэтиленовой пленкой, брезентом, слоем рубероида).
Рисунок 50 - Защита кладки от атмосферных осадков
8.10.9 Скрытые работы, подлежащие освидетельствованию (армирование кладки стен, колонн, перегородок, установка закладных деталей) контролируют в процессе их выполнения. На каждый вид таких работ составляют акт согласно РД 11-02-2006 [5].
8.10.10 С целью своевременного выявления и устранения дефектов осуществляют контроль (см. 11.2.10) каждого возведенного участка конструкции, при котором проверяется на соответствие проекту:
- наличие и месторасположение проемов, карнизов, ниш, пилястр и т.д.;
- примененная система перевязки швов;
- устройство температурно-деформационных швов.
При выполнении кладочных работ осуществляют оценку качества кладки (эстетичный вид): чистота поверхности, отсутствие излишков раствора; а для фасадных стен дополнительно - соблюдение ровности цвета, отсутствие дефектов (сколов, царапин и т.д.).
9 Особенности кладки многослойных стен
9.1 Требования к многослойным стенам
9.1.1 Многослойные стены из силикатных изделий рекомендуется выполнять по одному из типов, представленных в приложении А. Тип многослойной стены указывается в ППР и РД.
9.1.2 Возведение многослойных стен должно выполняться с соблюдением требований, изложенных в СП 70.13330.2012 (подраздел 9.4) и приложении Б.
Примечание - При возведении трехслойных стен следует учитывать размеры силикатных блоков по высоте, количество которых не кратно количеству облицовочного кирпича, в результате чего горизонтальные швы кладки не совпадают, что не позволяет использовать стержневые связи при одновременном возведении внутреннего (несущего) и наружного (облицовочного) слоев.
9.2 Особенности кладки многослойных стен со слоем теплоизоляции
9.2.1 Кладку многослойных стен со слоем теплоизоляции следует выполнять в следующей последовательности:
- выкладывают внутренний (несущий) слой из силикатных изделий на один этаж (см. 9.2.2);
- к внутреннему (несущему) слою монтируют слой теплоизоляции (см. 9.2.3);
- для двухслойных стен - наносят слой штукатурки (см. приложение А);
- для трехслойных стен - выкладывают наружный (облицовочный) слой (см. 9.2.4).
9.2.2 Внутренний (несущий) слой, предназначенный для восприятия действующих на стену нагрузок, должен быть толщиной не менее 130 мм. Кладку внутреннего (несущего) слоя выполняют в соответствии с разделом 8.
9.2.3 При монтаже слоя теплоизоляции необходимо учитывать требования, изложенные в ППР и РД, на применение систем теплоизоляции.
В случае применения теплоизоляционных плит их укладку производят с перевязкой, т.е. смещением (см. рисунок 51), и определенным образом по периметру проемов (см. рисунок 52).
Рисунок 51 - Укладка теплоизоляционных плит
с перевязкой (смещением)
Рисунок 52 - Укладка теплоизоляционных плит
по периметру проема
9.2.4 Кладку наружного (облицовочного) слоя выполняют из лицевого кирпича марки по прочности не менее М125, марки по морозостойкости не менее F50.
Кладку в наружном (облицовочном) слое стены и простенков следует выполнять по единой системе перевязки швов - многорядной или однорядной (цепной) толщиной 120 или 250 мм (см. рисунок 1).
Крепление наружного (облицовочного) слоя толщиной 250 мм связями осуществляют только в уровне перекрытия.
Расшивка наружных швов наружного (облицовочного) слоя должна быть выполнена заподлицо или с внешним валиком.
Примечание - Технология выполнения расшивки наружных швов кладки приведена в МДС 51-1.2000 [6].
9.2.5 При возведении многослойных стен в обязательном порядке следует выполнить вертикальные и горизонтальные температурно-деформационные швы в наружном (облицовочном) слое, в соответствии с ППР и РД.
Вертикальные температурно-деформационные швы в наружном (облицовочном) слое толщиной 120 мм рекомендуется выполнять через каждые 6 м, толщиной 250 мм - в соответствии с СП 15.13330.2012 (таблица 32).
Горизонтальные температурно-деформационные швы выполняют под каждым перекрытием (плитой или балкой). Шов толщиной не менее 30 мм с учетом допускаемого прогиба элементов перекрытия выполняют с герметизацией отверждаемой мастикой и последующей расшивкой заподлицо или внешним валиком.
9.2.6 В трехслойных стенах со слоем теплоизоляции и воздушным зазором (прослойкой) толщина воздушного зазора (прослойки) должна составлять не менее 40 мм и не может быть уменьшена с учетом неровностей теплоизоляционного слоя (см. рисунок 53).
Рисунок 53 - Конструкция со слоем теплоизоляции
и воздушным зазором (прослойкой)
9.2.7 В трехслойных стенах допускается полное заполнение теплоизоляционным материалом (если он предназначен для данной области применения) пространства между слоями кладки без устройства воздушного зазора (прослойки).
9.2.7.1 При использовании в качестве слоя теплоизоляции плит, матов или монолитного пенопласта они должны плотно прилегать к слоям кладки и быть надежно зафиксированы (см. рисунок 54).
Рисунок 54 - Конструкция со слоем теплоизоляции
без воздушного зазора (прослойки)
9.2.7.2 При использовании в качестве слоя теплоизоляции засыпных материалов (гранулятов и сыпучих масс) необходимо обеспечить полное заполнение пространства между слоями кладки и надлежащее уплотнение засыпного материала во избежание его последующей осадки.
9.2.8 По завершении работ составляют акт освидетельствования скрытых работ по утеплению наружных ограждающих конструкций по форме согласно РД 11-02-2006 [5].
9.2.9 После возведения многослойных стен со слоем теплоизоляции необходимо применять тепловизионное обследование с целью:
- выявления скрытых дефектов, допущенных в процессе строительно-монтажных работ;
- контроля качества теплоизоляции в многослойных стенах;
- определения мест расположения теплоизоляции с повышенным влагосодержанием.
Примечание - Методика проведения тепловизионного обследования приведена в рекомендациях МДС 23-1.2007 [7].
9.2.10 По результатам тепловизионного обследования составляют акт, в который необходимо включить чертежи стен с указанием мест дефектов, выявленных тепловизором.
9.2.11 Для устранения выявленных дефектов производят вскрытие фрагментов кладки. По результатам вскрытия фрагмента кладки следует составить соответствующий акт.
9.3 Особенности кладки многослойных стен без слоя теплоизоляции
9.3.1 Для многослойных стен без теплоизоляционного слоя ширина воздушного зазора (прослойки) между слоями кладки должна составлять не менее 60 мм (см. рисунок 55). Ширина воздушного зазора (прослойки) не должна превышать:
- 150 мм - в случае применения стержневых связей;
- 200 мм - в случае применения анкерных связей.
Рисунок 55 - Конструкция без слоя теплоизоляции
9.3.2 Толщина воздушного зазора (прослойки) может быть уменьшена с 60 до 40 мм, если выдавливаемый кладочный раствор удаляется с поверхности внутреннего (несущего) и (или) наружного (облицовочного) слоев кладки со стороны воздушного зазора.
9.3.3 При возведении многослойных стен без слоя теплоизоляции необходимо исключать теплопроводные образования из кладочного раствора между слоями кладки со стороны воздушного зазора (прослойки).
9.4 Соединение слоев кладки
9.4.1 Слои кладки (см. 9.2.1) соединяют при помощи полосовых, стержневых и анкерных связей из коррозионно-стойких сталей по ГОСТ 5632.
9.4.2 Полосовые связи, устанавливаемые в горизонтальные швы кладки, используют при выполнении кладки с применением раствора для тонкошовной кладки.
9.4.3 Стержневые связи, устанавливаемые в горизонтальные швы кладки, используют при выполнении кладки с применением кладочного раствора.
Количество связей на 1 м2 должно быть не менее пяти штук и суммарная площадь поперечного сечения стержневых связей должна быть не менее 0,4 см22 (по СП 15.13330.2012, пункт 9.34).
Допускается применять гибкие полимерные связи на основе стеклопластиковой арматуры, имеющие техническое свидетельство.
9.4.3.1 При использовании стержневых связей максимально допустимое расстояние в свету между слоями кладки не должно превышать 150 мм, а максимальная толщина слоя теплоизоляции - 120 мм.
9.4.3.2 В зависимости от расстояния между слоями кладки и высоты стен (от уровня планировочной отметки грунта) назначают диаметр стержневых связей и их минимальное количество на 1 м2 площади стены. Расстояние между стержневыми связями не должно превышать по вертикали 500 мм, по горизонтали - 750 мм.
9.4.3.3 В трехслойных стенах для предотвращения проникновения влаги в слой теплоизоляции, а также для фиксации теплоизоляционного материала применяют специальные (прижимные влагоотводящие) шайбы. Шайбы устанавливают на стержневые связи (см. рисунок 56) между слоем теплоизоляции и наружным (облицовочным) слоем.
Рисунок 56 - Стержневые связи с прижимными
влагоотводящими шайбами
9.4.3.4 Вдоль температурно-деформационных швов, углов здания, по верхнему обрезу наружного (облицовочного) слоя, а также вокруг проемов следует дополнительно устанавливать по три стержневые связи на каждый метр длины (см. рисунок 57).
Рисунок 57 - Дополнительные стержневые связи
9.4.4 При невозможности использования полосовых или стержневых связей предусматривают анкерные связи в виде дюбель-анкеров (см. рисунок 58). В этом случае внутренний (несущий) слой должен быть выполнен из силикатных изделий с маркой по прочности не менее 125 и долей пустот до 25%.
а) - дюбель-анкер для забивания; б) - дюбель-анкер
для вкручивания; в) - установочный дюбель-анкер
Рисунок 58 - Виды дюбель-анкеров
9.4.4.1 Анкерные связи устанавливают в просверленные в кладке отверстия, при этом расстояние от торца дюбель-анкера до поверхности кладки должно составлять не менее 30 мм.
Не допускается устанавливать анкерные связи в горизонтальные или вертикальные швы кладки.
9.4.4.2 При использовании анкерных связей максимально допустимое расстояние в свету между слоями кладки не должно превышать 200 мм, а максимальная толщина слоя теплоизоляции - 140 мм.
9.4.4.3 При выполнении вертикальных температурно-деформационных швов (не более 2 м от угла - s1 и s2), а также непосредственно в углах, необходимо устанавливать дополнительные дюбель-анкеры (см. рисунок 59).
Рисунок 59 - Дополнительные дюбель-анкеры
10 Производство кладочных работ в зимних условиях
10.1 Требования к кладочным работам в зимних условиях
10.1.1 Зимние условия для кладочных работ определяются среднесуточной температурой атмосферного воздуха плюс 5 °C и минимальной суточной температурой 0 °C и ниже.
10.1.2 Производство кладочных работ в зимних условиях следует выполнять с учетом требований, изложенных в СП 70.13330.2012 (раздел 9.15).
10.1.3 При производстве кладочных работ в зимних условиях ежесменно должен заполняться журнал производства работ, в котором отмечают: участок выполнения работ, объем выполненных работ, температуру наружного воздуха, наличие осадков, вид применяемого раствора, температуру раствора в швах кладки при ее прогреве, время отбора образцов и их количество.
10.2 Особенности кладочных работ в зимних условиях
10.2.1 Увлажнение кладки (см. 8.3.3) и самих изделий (см. 8.5.2) необходимо исключить.
10.2.2 Применение насыщенных водой и впоследствии замерзших силикатных изделий не допускается.
10.2.3 Использование солей и солевых растворов, растворов кислот, противоморозных компонентов (антифризов) и хлорсодержащих антиобледенителей для удаления наледи с кладки запрещается.
10.2.4 Замороженные или поврежденные иным образом участки кладки должны быть удалены перед началом дальнейшего производства кладочных работ.
10.2.5 Возводить кладку на высоту, превышающую установленную для зимних условий в ППР и РД, запрещается.
10.2.6 Кладка из силикатных изделий в зимних условиях может быть выполнена на растворах для тонкошовной кладки, предназначенных для использования при низких температурах и кладочных растворах с противоморозными химическими добавками.
10.3 Способы кладки в зимних условиях
10.3.1 Кладку в зимних условиях выполняют:
- на растворах тонкошовной кладки;
- на кладочных растворах.
10.3.2 Применение растворов для тонкошовной кладки допускается при среднесуточных температурах выше минус 15 °C. При этом должны использоваться растворы для тонкошовной кладки, приготовленные по специальной рецептуре на заводах-производителях.
Свежевозведенная кладка должна быть защищена от воздействия отрицательных температур и заноса снегом, например путем укрытия (см. рисунок 50).
10.3.3 Кладку на кладочных растворах допускается выполнять двумя способами:
- применяя кладочные растворы с противоморозными химическими добавками по специальным техническим условиям;
- способом прогрева.
При выборе способа кладки следует руководствоваться указаниями в ППР с учетом сроков возведения и последующего нагружения кладки, а также метеорологическим прогнозом на период производства работ.
10.3.3.1 Кладку на кладочных растворах с противоморозными химическими добавками допускается выполнять при среднесуточных температурах выше минус 30 °C, при этом марка растворов должна быть не ниже М50.
10.3.3.2 Кладку способом прогрева конструкций необходимо выполнять с соблюдением следующих требований:
- кладочные растворы следует применять марки не ниже М25 без противоморозных химических добавок;
- не допускается прогрев кладки с одной стороны;
- температура внутри прогреваемой части сооружения в наиболее охлажденных местах (у наружных стен на высоте 0,5 м от пола) должна быть не ниже 10 °C;
- утепленная часть сооружения должна быть оборудована вентиляцией, обеспечивающей влажность воздуха в период прогрева не более 70%;
- нагружение прогретой кладки допускается только после контрольных испытаний прочности раствора отогретой кладки;
Примечание - Глубина оттаивания конструкций при прогреве их теплым воздухом с двух сторон принимается по СП 70.13330.2012 (таблица 9.5). Прочность растворов, твердеющих при различных температурах прогрева, приведена в приложении В.
- если фактическая прочность кладки по данным лабораторных испытаний окажется ниже требуемой минимальной, то дальнейшее производство кладочных работ должно быть прекращено до набора прочности раствором.
11 Контроль выполнения работ
11.1 Входной контроль
11.1.1 Входной контроль осуществляют в соответствии с СП 48.13330.2011 (пункт 7.1) с учетом требований настоящего стандарта.
11.1.2 При входном контроле проектной документации проверяют состав ППР и РД, в соответствии с 7.2. В случае отсутствия в ППР и РД какого-либо раздела или его неточности и недостаточности документацию отправляют на доработку.
11.1.3 Входной контроль материалов и изделий следует проводить по 7.3:
- наличие сопроводительных документов на строительные материалы и изделия, отсутствие повреждений упаковок и самих изделий определяют визуально;
- соответствие принимаемых материалов и изделий маркировке, их пригодность к применению, а также соответствие их характеристик проектным контролируют проверкой документов;
Примечание - Методики определения и численные значения характеристик содержатся в стандартах или технических условиях на данные материалы и изделия.
- контроль геометрических размеров принимаемых силикатных изделий на соответствие проекту (см. 7.3.1) выполняют для каждой партии силикатных изделий путем измерения размеров одного изделия с помощью линейки по ГОСТ 427, штангенциркуля по ГОСТ 166.
В случае несоответствия геометрических размеров проектным, а также несоответствия качества или количества материалов и изделий необходимо составить соответствующий акт и оповестить поставщика. При возникновении спорных ситуаций по качеству продукции рекомендуется привлекать независимую лабораторию.
11.1.4 Результаты входного контроля строительных материалов и изделий вносят в журнал входного контроля материалов и (или) изделий.
11.1.5 На этапе подготовительных работ выполняют проверку:
- геометрических размеров изготовленных дополнительных (компенсирующих) элементов (см. 7.4.4) на соответствие ППР и РД. Контроль выполняют для каждого типоразмера путем измерения размеров одного элемента с помощью линейки по ГОСТ 427, штангенциркуля по ГОСТ 166;
- наличия акта освидетельствования скрытых работ по гидроизоляции (см. 7.5.4);
- правильности (соответствия ППР и РД) разбивки осей, углов и мест сопряжений (см. 7.5.5) с помощью металлической рулетки по ГОСТ 7502 и угольника поверочного по ГОСТ 3749;
- правильности (вертикальности) установки шаблонов углов и маячных блоков (см. 7.5.6) с помощью уровня по ГОСТ 9416 и разметки с помощью нивелира по ГОСТ 10528.
11.2 Операционный контроль
11.2.1 После выполнения опорного (выравнивающего) ряда кладки (см. 8.2) контролируют горизонтальность уложенного ряда с помощью уровня по ГОСТ 9416 и нивелира по ГОСТ 10528.
11.2.2 На этапе выполнения кладочных работ выполняют проверку правильности заполнения швов раствором (см. 5.4.1). Правильность заполнения определяют визуально, не менее чем в трех местах каждого этажа здания, снимая кирпич (камень, блок, плиту перегородочную) выполненного ряда. В случае если горизонтальный шов заполнен не полностью, ряд кладки должен быть переложен.
11.2.3 Толщину швов проверяют с помощью линейки по ГОСТ 427 в каждом 5 - 6-м ряду кладки. Толщина швов должна соответствовать требованиям 5.4.
11.2.4 После изготовления дополнительных (компенсирующих) элементов (см. 7.4) по параметрам, определенным в процессе кладки, выполняется контроль их геометрических размеров аналогично 11.1.5.
11.2.5 Горизонтальность рядов кладки (см. 8.5.6) контролируют с помощью уровня по ГОСТ 9416. Отклонение рядов кладки от горизонтали на каждые 10 м длины не должно превышать:
- 15 мм - при использовании блоков и плит перегородочных;
- 20 мм - при использовании кирпича или камня.
В случае если отклонение горизонтальности рядов кладки превышает допустимое, следует переложить последние ряды кладки согласно 8.5.6.
Горизонтальность верха кладки и отметок обрезов кладки под перекрытие (см. 8.9.1) контролируют с помощью нивелира по ГОСТ 10528 до установки плит перекрытия.
Отклонение отметок обрезов кладки под перекрытие от горизонтали на каждые 10 м длины не должно превышать 15 мм.
11.2.6 Вертикальность рядов кладки контролируют с помощью уровня по ГОСТ 9416. Отклонения рядов кладки от вертикали на длине 2 м не должны превышать 5 мм.
Неровности поверхности кладки из плит перегородочных определяют прикладыванием уровня по ГОСТ 9416 или рейки длиной 2 м в любом направлении. Глубина или высота неровностей не должна превышать 5 мм.
Вертикальность поверхностей стен и углов контролируют с помощью теодолита по ГОСТ 10529. Отклонения рядов кладки от вертикали не должны превышать 10 мм в пределах одного этажа и 30 мм по всей высоте здания.
11.2.7 Допустимые отклонения, проверяемые с помощью линейки по ГОСТ 427 или рулетки по ГОСТ 7502, при кладке из силикатного кирпича, камня и блоков:
- толщина стен - 15 мм;
- толщина столбов - 10 мм;
- ширина проемов - +15 мм;
- ширина простенков - минус 15 мм;
- в осях стен - 10 мм;
- в осях смежных оконных проемов - 20 мм;
- средняя толщина вертикальных швов - 10 мм (не менее 5 мм);
- глубина пустошовки (допускается только для вертикальных швов) - 10 мм;
- отклонения в толщине конструкций - 10 мм.
11.2.8 Допустимые отклонения, проверяемые с помощью линейки по ГОСТ 427 или рулетки по ГОСТ 7502, при кладке плит перегородочных:
- от вертикали на 1 м высоты - не более 3 мм, на всю высоту помещения - не более 15 мм;
- искривление лицевой поверхности плиты - не более 3 мм;
- повреждения (несквозные) углов и ребер длиной не более 25 мм не свыше трех на одной плите.
11.2.9 Если обнаруженные фактические отклонения превышают допустимые, указанные в 11.2.7 и 11.2.8, то вопрос о продолжении работ должен быть решен совместно с проектной организацией.
11.2.10 Контроль каждого возведенного участка конструкции (см. 8.10.10) осуществляется визуально.
Инструментальный контроль проводится по необходимости, при выявлении дефектов или их признаков в результате визуального контроля.
Результаты инструментального контроля оформляются соответствующим актом.
11.2.11 Сведения о проведении операционного контроля выполнения работ должны быть задокументированы в журналах работ, оформленных в соответствии с РД 11-05-2007 [8].
11.3 Оценка соответствия выполненных работ
11.3.1 Согласно СП 48.13330 совместно с заказчиком должна быть проведена оценка соответствия выполненных работ требованиям проектной документации и Техническому регламенту [9].
11.3.2 Оценка соответствия выполненных кладочных работ требованиям проектной документации выполняется проведением документарной проверки исполнительной документации, оформленной по требованиям разделов 7 - 10, на полноту и достоверность сведений в представленных материалах, в том числе:
- документации, подтверждающей осуществление контроля качества применяемых строительных материалов и изделий (см. 7.3);
- актов готовности основания (см. 7.5.3);
- актов, оформляемых в ходе освидетельствования скрытых работ (см. 7.5.4, 8.10.9, 9.2.8) и ответственных конструкций;
- актов разбивки осей объекта строительства на местности (см. 7.5.5);
- актов проведенных испытаний (тепловизионного контроля качества тепловой защиты здания, см. 9.2.10);
- общего журнала работ;
- специальных журналов работ (в том числе журнала производства работ в зимних условиях, см. 10.1.3);
- исполнительной документации на строительство с записями о соответствии выполненных в натуре работ проектной и рабочей документации;
- исполнительных схем.
11.3.3 Оценка соответствия выполненных кладочных работ требованиям Технического регламента [9] проводится документарной проверкой изменений в проекте, внесенных после начала работ в процессе возведения конструкций.
Приложение А
(справочное)
ОСНОВНЫЕ ТИПЫ МНОГОСЛОЙНЫХ СТЕН ИЗ СИЛИКАТНЫХ ИЗДЕЛИЙ
Многослойные несущие стены зданий, возводимые из силикатных изделий, имеют конструкции следующих типов:
А.1 Двухслойные стены (см. рисунок А.1, тип 1) состоят из:
- внутреннего (несущего) слоя, возводимого из кирпича, камней или блоков;
- наружного слоя, состоящего из утеплителя и тонкослойной штукатурки. Толщина тонкослойной штукатурки - 4 - 5 мм. Толщина тонкослойной штукатурки, выполняемой над отмосткой на высоту - 2,5 м - 7 - 9 мм.
Рисунок А.1 - Конструкции многослойных стен
А.2 Трехслойные стены (см. рисунок А.1, тип 2) состоят из:
- внутреннего (несущего) слоя, возводимого из кирпича, камней или блоков;
- слоя теплоизоляции из утеплителя (толщиной по расчету);
- наружного (облицовочного) слоя толщиной 120 мм, возводимого из лицевого кирпича.
В трехслойных стенах слой теплоизоляции и наружный (облицовочный) слой опираются поэтажно на монолитные железобетонные консоли перекрытий, монолитные балки-перемычки или на сборные балки-рамки, крепящиеся к перекрытию. Монолитные железобетонные консоли перекрытий должны иметь перфорацию для монтажа слоя теплоизоляции.
А.3 Трехслойные стены (см. рисунок А.1, тип 3) состоят из:
- внутреннего (несущего) слоя, возводимого из кирпича, камней или блоков;
- слоя теплоизоляции из утеплителя (толщиной по расчету);
- наружного (облицовочного) слоя толщиной 250 мм, возводимого из лицевого кирпича.
В такой конструкции не требуется перфорированного консольного элемента, так как несущей способности наружного (облицовочного) слоя стены от собственного веса достаточно для возведения зданий высотой 14 этажей.
А.4 Трехслойные стены с навесными фасадными системами (см. рисунок А.1, тип 4).
Крепление слоя теплоизоляции к внутреннему (несущему) слою стены осуществляется на клеях с дополнительным креплением дюбель-анкерами.
Для навесной фасадной системы с воздушным зазором крепление кронштейнов и направляющих системы осуществляется к внутреннему (несущему) слою стены, а при необходимости - к торцам монолитных перекрытий.
Приложение Б
(рекомендуемое)
ТЕХНОЛОГИЯ ПРОИЗВОДСТВА РАБОТ ПРИ ВОЗВЕДЕНИИ
МНОГОСЛОЙНЫХ СТЕН
Б.1 Для возведения многослойных стен следует применять двухстадийную технологию.
На первой стадии возводится внутренний (несущий или самонесущий) слой стены с инвентарных подмостей по технологии кладки, описанной в разделе 8. В случае необходимости выполняется армирование.
На второй стадии - после завершения кладки внутреннего (несущего или самонесущего) слоя и монтажа перекрытий всего здания - осуществляется цикл работ по устройству слоя теплоизоляции и кладке наружного (облицовочного) слоя стены. Выполнение кладки наружного (облицовочного) слоя и устройство слоя теплоизоляции требует установки инвентарных наружных лесов по периметру здания.
Б.2 Преимуществами двухстадийной технологической схемы являются:
- высокое качество работ по устройству слоя теплоизоляции и наружного (облицовочного) слоя;
- высокий уровень безопасности и удобства выполнения работ;
- удобство осуществления контроля выполнения работ.
Б.3 Возведение многослойной стены требует строгого соблюдения допусков и предельных отклонений, указанных в разделе 11.
Б.4 Требования к армированию кладки многослойных стен.
Б.4.1 Толщина швов кладки, в которых располагается арматура, должна превышать диаметр арматуры не менее чем на 4 мм.
Б.4.2 Для связи наружного (облицовочного) слоя и внутреннего (несущего или самонесущего) слоев без использования теплоизоляции применяют арматурные сварные сетки, стержни Z-образного очертания, изогнутые в виде рамок из коррозионно-стойкой проволоки по ГОСТ 5632. Допускается использование базальтовых сеток.
Б.4.3 Арматурные сварные сетки должны укладываться в швы кладки с полным погружением продольной арматуры в кладочный раствор.
Б.5 Технологические схемы в виде карт технологических процессов и операций возведения многослойных стен представлены на рисунках Б.1 и Б.2.
Примечание - 1, 2, ..., 5 - последовательность установки плит утеплителя, все размеры указаны в миллиметрах.
Рисунок Б.1 - Технология устройства слоя теплоизоляции
Примечание - все размеры указаны в миллиметрах.
Рисунок Б.2 - Устройство наружного (облицовочного) слоя
Приложение В
(справочное)
ПРОЧНОСТЬ РАСТВОРОВ, ТВЕРДЕЮЩИХ ПРИ РАЗЛИЧНЫХ ТЕМПЕРАТУРАХ
(В ПРОЦЕНТАХ МАРОЧНОЙ ПРОЧНОСТИ РАСТВОРОВ)
Время твердения раствора, сутки
Прочность кладочного раствора при температуре твердения
15 °C
20 °C
25 °C
30 °C
35 °C
3
25
35
44
52
61
7
50
59
68
76
84
14
75
84
91
97
102
28
100
106
110
-
-
БИБЛИОГРАФИЯ
[1]
Градостроительный кодекс Российской Федерации
[2]
Стандарт организации
СТО СПССС 52208230-001-2015
Раствор для тонкошовной кладки автоклавных материалов (клей для кладки). Технические требования
[3]
Методическая документация в строительстве МДС 12-81.2007
Методические рекомендации по разработке и оформлению проекта организации строительства и проекта производства работ
[4]
Руководящие документы Федеральной службы по экологическому, технологическому и атомному надзору РД 11-06-2007
Методические рекомендации о порядке разработки проектов производства работ грузоподъемными машинами и технологических карт погрузочно-разгрузочных работ
[5]
Руководящий документ
Требования к составу и порядку ведения исполнительной документации при строительстве, реконструкции, капитальном ремонте объектов капитального строительства и требования, предъявляемые к актам освидетельствования работ, конструкций, участков сетей инженерно-технического обеспечения
[6]
Методическая документация в строительстве
МДС 51-1.2000
Основы технологии кирпичной кладки. Методическое пособие
[7]
Методическая документация в строительстве
МДС 23-1.2007
Методические рекомендации по комплексному теплотехническому обследованию наружных ограждающих конструкций с применением тепловизионной техники
[8]
Руководящий документ
Порядок ведения общего и (или) специального журнала учета выполнения работ при строительстве, реконструкции, капитальном ремонте объектов капитального строительства
[9]
Федеральный закон Российской Федерации от 30 декабря 2009 г. N 384-ФЗ "Технический регламент о безопасности зданий и сооружений"
ОКС 91.080
Виды работ 9.1, 9.2, 32.1 по приказу Минрегиона России от 30 декабря 2009 г. N 624
Ключевые слова: стандарт организации, Национальное объединение строителей, кладка, силикатный кирпич, камень, блок, плита перегородочная, контроль выполнения