Главная // Актуальные документы // ПособиеСПРАВКА
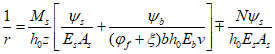
Источник публикации
М.: ЦИТП Госстроя СССР, 1989
Примечание к документу
Название документа
"Пособие по проектированию бетонных и железобетонных конструкций из тяжелых и легких бетонов без предварительного напряжения арматуры (к СНиП 2.03.01-84)"
(утв. Приказом ЦНИИпромзданий Госстроя СССР от 30.11.1984 N 106а)
"Пособие по проектированию бетонных и железобетонных конструкций из тяжелых и легких бетонов без предварительного напряжения арматуры (к СНиП 2.03.01-84)"
(утв. Приказом ЦНИИпромзданий Госстроя СССР от 30.11.1984 N 106а)
Приказом ЦНИИпромзданий Госстроя СССР
от 30 ноября 1984 г. N 106а
ПОСОБИЕ
ПО ПРОЕКТИРОВАНИЮ БЕТОННЫХ И ЖЕЛЕЗОБЕТОННЫХ КОНСТРУКЦИЙ
ИЗ ТЯЖЕЛЫХ И ЛЕГКИХ БЕТОНОВ БЕЗ ПРЕДВАРИТЕЛЬНОГО
НАПРЯЖЕНИЯ АРМАТУРЫ
(к СНиП 2.03.01-84)
Утверждено Приказом ЦНИИпромзданий Госстроя СССР от 30 ноября 1984 г. N 106а.
Рекомендовано к изданию решением секции несущих конструкций научно-технического совета ЦНИИпромзданий Госстроя СССР.
Содержит требования
СНиП 2.03.01-84 к проектированию бетонных и железобетонных конструкций из тяжелых и легких бетонов без предварительного напряжения арматуры; положения, детализирующие эти требования; приближенные способы и примеры расчета, а также рекомендации, необходимые для проектирования.
Для инженеров-проектировщиков, а также студентов строительных вузов.
При пользовании Пособием следует учитывать утвержденные изменения строительных норм и правил и государственных стандартов, публикуемые в журнале "Бюллетень строительной техники", "Сборнике изменений к строительным нормам и правилам" Госстроя СССР и информационном указателе "Государственные стандарты СССР" Госстандарта.
Пособие содержит положения по проектированию бетонных и железобетонных конструкций промышленных и гражданских зданий и сооружений из тяжелых и легких бетонов, выполняемых без предварительного напряжения арматуры.
В Пособии приведены требования
СНиП 2.03.01-84 к проектированию упомянутых бетонных и железобетонных конструкций; положения, детализирующие эти требования; приближенные способы расчета, а также дополнительные рекомендации, необходимые для проектирования. Номера пунктов, таблиц и приложений
СНиП 2.03.01-84 указаны в скобках.
В каждом разделе Пособия даны примеры расчета элементов наиболее типичных случаев, встречающихся в практике проектирования.
Материалы для проектирования редко встречающихся ненапрягаемых конструкций (например, данные для арматуры, упрочненной вытяжкой; расчет элементов с арматурой классов А-IV, А-V и А-VI, имеющей условный предел текучести; расчет элементов на выносливость и т.п.) в настоящее Пособие не включены, а приведены в "Пособии по проектированию предварительно напряженных железобетонных конструкций из тяжелых и легких бетонов" (М., ЦИТП Госстроя СССР, 1986).
В Пособии не приведены особенности проектирования конструкций статически неопределимых и сборно-монолитных, с жесткой арматурой, а также некоторых сооружений (труб, силосов и др.), в частности не рассмотрены вопросы, связанные с определением усилий в этих конструкциях. Эти вопросы освещаются в соответствующих пособиях и рекомендациях.
Единицы физических величин, приведенные в Пособии, соответствуют "
Перечню единиц физических величин, подлежащих применению в строительстве". При этом силы выражаются в ньютонах (Н) или в килоньютонах (кН); линейные размеры - в мм (в основном для сечений элементов) или в м (для элементов или их участков); напряжения, сопротивления, модули упругости - в мегапаскалях (МПа); распределенные нагрузки и усилия - в кН/м или Н/мм. Поскольку 1 МПа = 1 Н/мм
2, при использовании в примерах расчета формул, включающих величины в МПа (напряжения, сопротивления и т.п.), остальные величины приводятся только в Н и мм (мм
2).
В таблицах нормативные и расчетные сопротивления и модули упругости материалов приведены в МПа и в кгс/см2.
В Пособии использованы буквенные обозначения и индексы к ним в соответствий с СТ СЭВ 1565-79. Основные буквенные обозначения применяемых величин приведены в
Прил. 5. Поскольку для индексов используются только буквы латинского алфавита, соответствующие этим индексам поясняющие слова приняты не русские, а, как правило, английские. В связи с этим в
Прил. 5 приведены также все примененные индексы и соответствующие им русские поясняющие слова.
Пособие разработано ЦНИИпромзданий Госстроя СССР (инженеры Б.Ф. Васильев, И.К. Никитин, А.Г. Королькова; канд. техн. наук Л.Л. Лемыш) и НИИЖБ Госстроя СССР (доктора техн. наук А.А. Гвоздев, Ю.П. Гуща, А.С. Залесов; кандидаты техн. наук Е.А. Чистяков, Л.К. Руллэ, Н.М. Мулин, Л.Н. Зайцев, В.В. Фигаровский, Н.Г. Матков, Н.И. Катин, А.М. Фридман, Н.А. Корнев, Т.А. Кузмич) с участием НИЛ ФХММ и ТП Главмоспромстройматериалов (д-р техн. наук С.Ю. Цейтлин; кандидаты техн. наук Э.Г. Ратц, Я.М. Якобсон; инж. Е.З. Ерманок), КТБ Мосоргстройматериалов (канд. техн. наук В.С. Щукин; инженеры В.Л. Айзинсон, Е.М. Травкин, Б.И. Фельцман), ДИСИ Минвуза УССР (д-р техн. наук В.М. Баташов), Гипростроммаша Минстройдормаша СССР (инженеры Л.А. Волков, М.А. Соломович, Т.П. Заневская) и ЦНИИЭП жилища Госстроя СССР (канд. техн. наук Н.С. Стронгин; инж. Е.М. Сурманидзе).
1.1. Рекомендации настоящего Пособия распространяются на проектирование бетонных и железобетонных конструкций, выполняемых без предварительного напряжения арматуры из тяжелого, мелкозернистого и легкого бетонов и эксплуатируемых при систематическом воздействии температур не выше 50 °C и не ниже минус 70 °C.
Примечания. 1. Рекомендации Пособия не распространяются на проектирование бетонных и железобетонных конструкций гидротехнических сооружений, мостов, транспортных тоннелей, труб под насыпями, покрытий автомобильных дорог и аэродромов.
2. Термины "бетоны тяжелые", "бетоны мелкозернистые" и "бетоны легкие" применяются в соответствии с
ГОСТ 25192-82.
Легкие бетоны могут быть плотной и поризованной структур, поэтому в Пособии для краткости используются термины "легкий бетон" - для обозначения легких бетонов плотной структуры и "поризованный бетон" - для обозначения легких бетонов поризованной структуры с межзерновыми пустотами в уплотненной бетонной смеси свыше 6%.
1.2. Вид легких и поризованных бетонов, а также область их применения приведены в
Прил. 1.
1.3. Бетонные и железобетонные конструкции зданий и сооружений, предназначенные для работы в условиях агрессивной среды и повышенной влажности, рекомендуется проектировать с учетом требований
СНиП 2.03.11-85.
1.4
(1.4). Элементы сборных конструкций должны отвечать условиям механизированного изготовления на специализированных предприятиях.
Целесообразно укрупнять элементы сборных конструкций, насколько это позволяют грузоподъемность монтажных механизмов, условия изготовления и транспортирования.
1.5
(1.5). Для монолитных конструкций следует предусматривать унифицированные размеры, позволяющие применять инвентарную опалубку, а также укрупненные пространственные арматурные каркасы.
1.6
(1.6). В сборных конструкциях особое внимание должно быть обращено на прочность и долговечность соединений.
Конструкции узлов и соединений элементов должны обеспечивать с помощью различных конструктивных и технологических мероприятий надежную передачу усилий, прочность самих элементов в зоне стыка, а также связь дополнительно уложенного бетона в стыке с бетоном конструкции.
1.7
(1.7). Бетонные элементы применяются:
а) преимущественно в конструкциях, работающих на сжатие при малых эксцентриситетах продольной силы, не превышающих значений, указанных в
п. 3.4;
б) в отдельных случаях в конструкциях, работающих на сжатие с

эксцентриситетами, а также в изгибаемых конструкциях, когда их разрушение не представляет непосредственной опасности для жизни людей и сохранности оборудования (элементы, лежащие на сплошном основании, и др.).
Примечание. Конструкции рассматриваются как бетонные, если их прочность в стадии эксплуатации обеспечивается одним бетоном.
1.8
(1.8). Расчетная зимняя температура наружного воздуха принимается как средняя температура воздуха наиболее холодной пятидневки в зависимости от района строительства согласно
СНиП 2.01.01-82. Расчетные технологические температуры устанавливаются заданием на проектирование.
Влажность воздуха окружающей среды определяется как средняя относительная влажность наружного воздуха наиболее жаркого месяца в зависимости от района строительства согласно
СНиП 2.01.01-82 или как относительная влажность внутреннего воздуха помещений отапливаемых зданий.
1.9. Численные значения приведенных в настоящем Пособии расчетных характеристик бетона и арматуры, предельно допустимых величин ширины раскрытия трещин и прогибов применяются только при проектировании. Для оценки качества конструкций следует руководствоваться требованиями соответствующих государственных стандартов и технических условий.
ОСНОВНЫЕ РАСЧЕТНЫЕ ТРЕБОВАНИЯ
1.10
(1.10). Бетонные и железобетонные конструкции должны удовлетворять требованиям расчета по несущей способности (предельные состояния первой группы) и по пригодности к нормальной эксплуатации (предельные состояния второй группы).
а) Расчет по предельным состояниям первой группы должен обеспечивать конструкции от:
хрупкого, вязкого или иного характера разрушения (расчет по прочности с учетом в необходимых случаях прогиба конструкции перед разрушением);
потери устойчивости формы конструкции или ее положения;
усталостного разрушения (расчет на выносливость конструкций, находящихся под воздействием многократно повторяющейся нагрузки - подвижной или пульсирующей);
разрушения под совместным воздействием силовых факторов и неблагоприятных влияний внешней среды (периодического или постоянного воздействия агрессивной среды, действия попеременного замораживания и оттаивания и т.п.).
б) Расчет по предельным состояниям второй группы должен обеспечивать конструкции от:
чрезмерного раскрытия трещин (расчет по раскрытию трещин);
чрезмерных перемещений - прогибов, углов, перекоса и поворота, колебаний (расчет по деформациям).
Расчет бетонных конструкций по предельным состояниям второй группы, а также на выносливость может не производиться.
Примечания. 1. Расчет на действие многократно повторяющейся нагрузки, в том числе на выносливость, выполняется в соответствии с рекомендациями "Пособия по проектированию предварительно напряженных железобетонных конструкций из тяжелых и легких бетонов" (М.: ЦИТП Госстроя СССР, 1986).
2. Расчеты на устойчивость формы или положения конструкции, а также на совместное воздействие силовых факторов и неблагоприятных влияний внешней среды выполняются по соответствующим нормативным документам или пособиям.
1.11
(1.11). Расчет по предельным состояниям конструкции в целом, а также отдельных ее элементов должен, как правило, производиться для всех стадий - изготовления, транспортирования, возведения и эксплуатации, при этом расчетные схемы должны отвечать принятым конструктивным решениям.
1.12
(1.12). Значения нагрузок и воздействий, коэффициентов надежности по нагрузке

, коэффициентов сочетаний, а также подразделение нагрузок на постоянные и временные должны приниматься в соответствии с требованиями
СНиП 2.01.07-85.
Значения нагрузок необходимо умножать на коэффициенты надежности по назначению, принимаемые согласно "
Правилам учета степени ответственности зданий и сооружений при проектировании конструкций" <1>, утвержденным Госстроем СССР.
--------------------------------
<1> См.: Бюллетень строительной техники, 1981, N 7.
Нагрузки, учитываемые при расчете по предельным состояниям второй группы (эксплуатационные), следует принимать согласно
пп. 1.15 и
1.17. При этом к длительным нагрузкам относится также часть полного значения кратковременных нагрузок, оговоренных в
СНиП 2.01.07-85, а вводимую в расчет кратковременную нагрузку следует принимать уменьшенной на величину, учтенную в длительной нагрузке (например, если снеговая нагрузка для III района составляет s = 1000 Н/м
2, то снеговая длительная нагрузка будет равна s = 0,3 x 1000 = 300 Н/м
2, а снеговая кратковременная нагрузка - s = 1000 - 300 = 700 Н/м
2).
Коэффициенты сочетаний относятся к полному значению кратковременных нагрузок.
Для не защищенных от солнечной радиации конструкций, предназначенных для работы в климатическом подрайоне IVА согласно
СНиП 2.01.01-82, при расчете должны учитываться температурные климатические воздействия.
1.13
(1.13). При расчете элементов сборных конструкций на воздействие усилий, возникающих при их подъеме, транспортировании и монтаже, нагрузку от веса элемента следует вводить с коэффициентом динамичности, равным:
при транспортировании ............. 1,60
" подъеме и монтаже ............. 1,40
В этом случае следует учитывать также коэффициент надежности по нагрузке.
1.14
(1.15). Усилия в статически неопределимых железобетонных конструкциях от нагрузок и вынужденных перемещений (вследствие изменения температуры, влажности бетона, смещения опор и т.п.), а также усилия в статически определимых конструкциях при расчете их по деформированной схеме следует, как правило, определять с учетом неупругих деформаций бетона и арматуры и наличия трещин.
Для конструкций, методика расчета которых с учетом неупругих свойств железобетона не разработана, а также для промежуточных стадий расчета с учетом неупругих свойств железобетона усилия в статически неопределимых конструкциях допускается определять в предположении их линейной упругости.
1.15
(1.16). Ширина непродолжительного и продолжительного раскрытия трещин для элементов, эксплуатируемых в условиях неагрессивной среды, не должна превышать величин, приведенных в табл. 1.
Элементы, указанные в
поз. 1а табл. 1, можно проектировать без предварительного напряжения лишь при специальном обосновании.
Условия работы конструкций | Предельно допустимая ширина, мм, раскрытия трещин |
непродолжительного acrc1 | продолжительного acrc2 |
1. Элементы, воспринимающие давление жидкостей или газов при сечении: | | |
| 0,2 | 0,1 |
б) частично сжатом | 0,3 | 0,2 |
2. Элементы, воспринимающие давление сыпучих тел | 0,3 | 0,2 |
3. Элементы, эксплуатируемые в грунте при переменном уровне грунтовых вод | 0,3 | 0,2 |
| 0,4 | 0,3 |
Примечание. Под непродолжительным раскрытием трещин понимается их раскрытие при совместном действии постоянных, длительных и кратковременных нагрузок, под продолжительным - только постоянных и длительных нагрузок. При этом коэффициент надежности по нагрузке принимается равным единице.
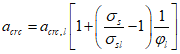
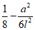
1.16
(1.19). Для железобетонных слабоармированных элементов, характеризующихся тем, что их несущая способность исчерпывается одновременно с образованием трещин в бетоне растянутой зоны, площадь сечения продольной растянутой арматуры должна быть увеличена по сравнению с требуемой из расчета по прочности не менее чем на 15%.
Такое увеличение армирования рекомендуется производить при выполнении условия

,
где

- момент трещинообразования, определяемый согласно
п. 4.2 с заменой значения

на

;

- момент, соответствующий исчерпанию несущей способности и определяемый согласно
пп. 3.15 -
3.80; для внецентренно сжатых и растянутых элементов значения

определяются относительно оси, проходящей через ядровую точку, наиболее удаленную от растянутой зоны (см.
п. 4.2).
Это требование может не распространяться на элементы, лежащие на сплошном основании.
1.17
(1.20). Прогибы элементов железобетонных конструкций не должны превышать предельно допустимых значений, устанавливаемых с учетом следующих требований:
а) технологических (условия нормальной работы кранов, технологических установок, машин и т.п.);
б) конструктивных (влияние соседних элементов, ограничивающих деформации; необходимость выдерживания заданных уклонов и т.п.);
в) эстетических (впечатление людей о пригодности конструкции).
Значения предельно допустимых прогибов приведены в табл. 2.
| | ИС МЕГАНОРМ: примечание. В официальном тексте документа, видимо, допущена опечатка: таблица 4 в СНиП 2.03.01-84 отсутствует. | |
Элементы конструкций | Предельно допустимые прогибы |
1. Подкрановые балки при кранах: | |
ручных | l ---- 500 |
электрических | l ---- 600 |
2. Перекрытия с плоским потолком и элементы покрытия (кроме указанных в поз. 4) при пролетах, м: | |
l < 6 | l ---- 200 |
6 <= l <= 7,5 | 3 см |
l > 7,5 | l ---- 250 |
3. Перекрытия с ребристым потолком и элементы лестниц при пролетах, м: | |
l < 5 | l ---- 200 |
5 <= l <= 10 | 2,5 см |
l > 10 | l ---- 400 |
4. Элементы покрытий сельскохозяйственных зданий производственного назначения при пролетах, м: | |
l < 6 | l ---- 150 |
6 <= l <= 10 | 4 см |
l > 10 | l ---- 250 |
5. Навесные стеновые панели (при расчете из плоскости) при пролетах, м: | |
l < 6 | l ---- 200 |
6 <= l <= 7,5 | 3 см |
l > 7,5 | l ---- 250 |
Обозначение, принятое в
табл. 2: l - пролет балок или плит; для консолей принимается значение l, равное удвоенному вылету консоли.
Расчет по деформациям должен производиться при ограничении: технологическими или конструктивными требованиями - на действие постоянных, длительных и кратковременных нагрузок; эстетическими требованиями - на действие постоянных и длительных нагрузок. При этом принимается

.
При действии постоянных, длительных и кратковременных нагрузок прогиб балок или плит во всех случаях не должен превышать 1/150 пролета и 1/75 вылета консоли.
Значения предельно допустимых прогибов могут быть увеличены на высоту строительного подъема, если это не ограничивается технологическими или конструктивными требованиями.
Если в нижележащем помещении с гладким потолком имеются расположенные поперек пролета элемента l постоянные перегородки (не являющиеся опорами) с расстоянием между ними

, то прогиб элемента в пределах расстояния

(отсчитываемый от линии, соединяющей верхние точки осей перегородок) может быть допущен до

, при этом предельный прогиб всего элемента должен быть не более 1/500l.
1.18
(1.20). Для не связанных с соседними элементами конструкций плит перекрытий, лестничных маршей, площадок и т.п. должна производиться дополнительная проверка по зыбкости: добавочный прогиб от кратковременно действующей сосредоточенной нагрузки 1000 Н при наиболее невыгодной схеме ее приложения должен быть не более 0,7 мм.
1.19
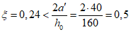
(1.22). Расстояния между температурно-усадочными швами, как правило, должны устанавливаться расчетом. Расчет допускается не производить, если при расчетной температуре наружного воздуха минус 40 °C и выше расстояние между температурно-усадочными швами не превышает значений, приведенных в
табл. 3. Для каркасных зданий и сооружений без мостовых опорных кранов при наличии в рассматриваемом направлении связей (диафрагм жесткости) значения, указанные в
табл. 3, допускается умножать на коэффициент, равный:

,
но не менее единицы,
где

- коэффициент, принимаемый равным

для отапливаемых зданий и

- для неотапливаемых зданий и сооружений (здесь

- расчетные изменения температуры, °C, определяемые в соответствии со
СНиП 2.01.07-85,

- относительное удлинение горизонтальных элементов от вертикальных нагрузок. Допускается принимать для железобетонных элементов

, для стальных

);

(здесь l - длина колонны между точками закрепления, h - высота сечения колонны в рассматриваемом направлении);

(здесь

- влажность наружного воздуха, %, в наиболее жаркий месяц года, принимаемая в соответствии со
СНиП 2.01.01-82).
Конструкции | Наибольшие расстояния, м, между температурно-усадочными швами, допускаемые без расчета, для конструкций, находящихся |
внутри отапливаемых зданий или в грунте | внутри неотапливаемых зданий | на открытом воздухе |
1. Бетонные: | | | |
а) сборные | 40 | 35 | 30 |
б) монолитные: | | | |
при конструктивном армировании | 30 | 25 | 20 |
без конструктивного армирования | 20 | 15 | 10 |
| | | |
а) сборно-каркасные: | | | |
одноэтажные | 72 | 60 | 48 |
многоэтажные | 60 | 50 | 40 |
б) сборно-монолитные и монолитные: | | | |
каркасные | 50 | 40 | 30 |
сплошные | 40 | 30 | 25 |
Примечание. Для железобетонных каркасных зданий
(поз. 2) значения расстояния между температурно-усадочными швами определены при отсутствии связей или при расположении связей в середине температурного блока.
При учете коэффициента

расстояния между температурно-усадочными швами должны быть не более 150 м для отапливаемых зданий из сборных конструкций, 90 м - для отапливаемых зданий из сборно-монолитных и монолитных конструкций; для неотапливаемых зданий и сооружений указанные значения следует уменьшать на 20%.
1.20. При расчете перекрытия по всем предельным состояниям вес перегородок, расположенных вдоль пролета плит, учитывается следующим образом:
а) нагрузка от веса глухой жесткой перегородки (например, железобетонной сборной, выполняемой из горизонтальных элементов, железобетонной или бетонной монолитной, каменной и т.п.) прикладывается сосредоточенно на расстоянии 1/12 длины перегородки от ее краев;
б) при наличии в жесткой перегородке одного проема, целиком расположенного в пределах одной половины перегородки, нагрузка от веса меньшего простенка (включая вес половины надпроемной части перегородки) прикладывается сосредоточенно на расстоянии 1/3 ширины этого простенка от края перегородки, а нагрузка от веса остальной части перегородки - на расстоянии 1/12 длины этой части перегородки от краев проема и перегородки; при ином расположении проема нагрузка прикладывается на расстоянии 1/18 длины соответствующих частей перегородки от их краев;
в) при наличии в жесткой перегородке двух проемов и более нагрузка от веса перегородки прикладывается сосредоточенно по центрам участков, опирающихся на перекрытие;
г) для прочих перегородок 60% их веса принимается распределенным по длине перегородки (на участках между проемами), а 40% - в виде сосредоточенных сил, приложенных в соответствии с
подпунктами "а" - "в".
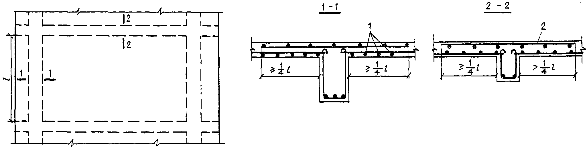
1.21. Распределение местной нагрузки между элементами сборных перекрытий, выполняемых из многопустотных или сплошных плит, при условии обеспечения качественной заливки швов между плитами производится с учетом рекомендаций:
а) при расчете по всем предельным состояниям принимается следующее распределение нагрузки от веса перегородок, расположенных вдоль пролета равных по ширине плит:
если перегородка расположена в пределах одной плиты, на эту плиту передается 50% веса перегородки, а по 25% ее веса передается на две смежные плиты;
если перегородка опирается на две соседние плиты, вес перегородки распределяется поровну между ними;
б) при расчете по предельным состояниям второй группы местные сосредоточенные нагрузки, расположенные в пределах средней трети пролета плиты, распределяются на ширину, не превышающую длины пролета; при расчете по прочности такое распределение сосредоточенных нагрузок может быть допущено лишь при условии соединения смежных плит по длине шпонками, проверяемыми расчетом (см.
п. 3.115).
Примечание. Если перекрытие образовано двумя плитами, опертыми по трем сторонам, при расположении перегородки в пределах одной плиты на эту плиту передается 75% веса перегородки; в этом случае нагрузка от веса перегородки на перекрытие передается, согласно
п. 1.20, при расположении перегородки как вдоль, так и поперек плиты.
2. МАТЕРИАЛЫ ДЛЯ БЕТОННЫХ И ЖЕЛЕЗОБЕТОННЫХ КОНСТРУКЦИЙ
2.1
(2.3). Для бетонных и железобетонных конструкций следует предусматривать бетоны следующих классов и марок:
а) классов по прочности на сжатие:
тяжелый бетон - B3,5; B5; B7,5; B10; B12,5; B15; B20; B25; B30; B35; B40; B45; B50; B55; B60;
мелкозернистый бетон групп:
А - естественного твердения или подвергнутый тепловой обработке при атмосферном давлении на песке с модулем крупности свыше 2,0 - B3,5; B5; B7,5; B10; B12,5; B15; B20; B25; B30; B35; B40;
Б - то же, с модулем крупности 2,0 и менее - B3,5; B5; B7,5; B10; B12,5; B15; B20; B25; B30;
В - подвергнутый автоклавной обработке - B15; B20; B25; B30; B35; B40; B45; B50; B55; B60;
легкий бетон при марках по средней плотности:
D800, D900 - B2,5; B3,5; B5; B7,5
<*>;
D1000, D1100 - B2,5; B3,5; B5; B7,5; B10; B12,5
<*>;
D1200, D1300 - B2,5; B3,5; B5; B7,5; B10; B12,5; B15
<*>;
D1400, D1500 - B3,5; B5; B7,5; B10; B12,5; B15; B20
<*>; B25
<*>; B30
<*>;
D1600, D1700 - B5; B7,5; B10; B12,5; B15; B20; B25
<*>; B30
<*>; B35
<*>;
D1800, D1900 - B10; B12,5; B15; B20; B25
<*>; B30
<*>; B35
<*>; B40
<*>;
D2000 - B20; B25; B30; B35
<*>; B40
<*>;
поризованный бетон при марках по средней плотности:
D800, D900, D1000, D1100, D1200, D1300 - B2,5; B3,5; B5; B7,5;
D1400 - B3,5; B5; B7,5;
б) марок по морозостойкости:
тяжелый и мелкозернистый бетоны - F50; F75; F100; F150; F200; F300; F400; F500;
легкий бетон - F25; F35; F50; F75; F100; F150; F200; F300; F400; F500;
поризованный бетон - F15; F25; F35; F50; F75; F100;
в) марок по водонепроницаемости - W2; W4; W6; W8; W10; W12;
г) марок по средней плотности:
легкий бетон - D800; D900; D1000; D1100; D1200; D1300; D1400; D1500; D1600; D1700; D1800; D1900; D2000;
поризованный бетон - D800; D900; D1000; D1100; D1200; D1300; D1400.
--------------------------------
<*> Данный класс легкого бетона на природных заполнителях, шлаковой пемзе и аглопорите может применяться лишь при согласовании с заводом-изготовителем.
Примечания. 1. Для конструкций, прочность на растяжение которых имеет главенствующее значение, устанавливаются классы бетона по прочности на осевое растяжение

согласно
СНиП 2.03.01-84.
3. Из поризованного бетона по настоящему Пособию могут проектироваться только внецентренно сжатые бетонные и железобетонные элементы.
2.2
(2.4). Возраст бетона, отвечающий его классу по прочности на сжатие, назначается при проектировании, исходя из возможных реальных сроков загружения конструкции проектными нагрузками, способа возведения, условий твердения бетона. При отсутствии этих данных класс бетона устанавливается в возрасте 28 сут.
Значение отпускной прочности бетона в элементах сборных конструкций следует назначать в соответствии с
ГОСТ 13015.0-83 и стандартами на конструкции конкретных видов.
2.3
(2.5). Для железобетонных конструкций не допускается применять:
тяжелый и мелкозернистый бетоны класса по прочности на сжатие ниже B7,5;
для однослойных конструкций - легкий бетон класса по прочности на сжатие B2,5.
Рекомендуется принимать класс бетона по прочности на сжатие:
для железобетонных сжатых стержневых элементов - не ниже B15;
для сильнонагруженных железобетонных сжатых стержневых элементов (например, для колонн, воспринимающих значительные крановые нагрузки, и для колонн нижних этажей многоэтажных зданий) - не ниже B25;
для тонкостенных железобетонных конструкций, а также для стен зданий и сооружений, возводимых в скользящей и переставной опалубках, - не ниже B15.
Для бетонных сжатых элементов не рекомендуется применять бетон класса выше B30.
2.4
(2.8). Для замоноличивания стыков элементов сборных железобетонных конструкций класс бетона следует устанавливать в зависимости от условий работы соединяемых элементов, но принимать не ниже B7,5.
2.5
(2.9). Марки бетона по морозостойкости и водонепроницаемости бетонных и железобетонных конструкций в зависимости от режима их эксплуатации и значений расчетных зимних температур наружного воздуха в районе строительства должны приниматься:
для конструкций зданий и сооружений (кроме наружных стен отапливаемых зданий) - не ниже указанных в табл. 4;
для наружных стен отапливаемых зданий - не ниже указанных в
табл. 5.
Условия работы конструкций | Марка бетона, не ниже |
характеристика режима | расчетная зимняя температура наружного воздуха, °C | по морозостойкости | по водонепроницаемости |
для конструкций (кроме наружных стен отапливаемых зданий) зданий и сооружений класса по степени ответственности |
I | II | III | I | II | III |
1. Попеременное замораживание и оттаивание: | | | | | | | |
а) в водонасыщенном состоянии (например, конструкции, расположенные в сезоннооттаивающем слое грунта в районах вечной мерзлоты) | Ниже минус 40 | F300 | F200 | F150 | W6 | W4 | W2 |
Ниже минус 20 до минус 40 включ. | F200 | F150 | F100 | W4 | W2 | Не нормируется |
Ниже минус 5 до минус 20 включ. | F150 | F100 | F75 | W2 | Не нормируется |
Минус 5 и выше | F100 | F75 | F50 | Не нормируется |
б) в условиях эпизодического водонасыщения (например, надземные конструкции, постоянно подвергающиеся атмосферным воздействиям) | | F200 | F150 | F100 | W4 | W2 | Не нормируется |
Ниже минус 20 до минус 40 включ. | F100 | F75 | F50 | W2 | Не нормируется |
Ниже минус 5 до минус 20 включ. | F75 | F50 | | Не нормируется |
Минус 5 и выше | F50 | | | То же |
в) в условиях воздушно-влажностного состояния при отсутствии эпизодического водонасыщения (например, конструкции, постоянно подвергающиеся воздействию окружающего воздуха, но защищенные от воздействия атмосферных осадков) | Ниже минус 40 | F150 | F100 | F75 | W4 | W2 | Не нормируется |
Ниже минус 20 до минус 40 включ. | F75 | F50 | | Не нормируется |
Ниже минус 5 до минус 20 включ. | F50 | | | То же |
Минус 5 и выше | | | | " |
2. Возможное эпизодическое воздействие температуры ниже 0 °C: | | | | | |
а) в водонасыщенном состоянии (например, конструкции, находящиеся в грунте или под водой) | Ниже минус 40 | F150 | F100 | F75 | " |
Ниже минус 20 до минус 40 включ. | F75 | F50 | F35 | " |
Ниже минус 5 до минус 20 включ. | F50 | | | " |
Минус 5 и выше | | | Не нормируется | " |
б) в условиях воздушно-влажностного состояния (например, внутренние конструкции отапливаемых зданий в периоды строительства и монтажа) | Ниже минус 40 | F75 | F50 | | " |
Ниже минус 20 до минус 40 включ. | F50 | | | " |
Ниже минус 5 до минус 20 включ. | | | | " |
Минус 5 и выше | | | Не нормируется | " |
--------------------------------
<*> Для тяжелого и мелкозернистого бетонов марки по морозостойкости не нормируются.
<**> Для тяжелого, мелкозернистого и легкого бетонов марки по морозостойкости не нормируются.
Примечания. 1. Марки бетона по морозостойкости и водонепроницаемости для конструкций сооружений водоснабжения и канализации, а также для свай и свай-оболочек следует назначать согласно требованиям соответствующих нормативных документов.
2. Расчетные зимние температуры наружного воздуха принимаются согласно указаниям
п. 1.8.
Условия работы конструкций | Минимальная марка бетона по морозостойкости наружных стен отапливаемых зданий из бетонов |
относительная влажность внутреннего воздуха помещения  , % | расчетная зимняя температура наружного воздуха, °C | легкого, поризованного | тяжелого, мелкозернистого |
для зданий класса по степени ответственности |
I | II | III | I | II | III |
1.  | Ниже минус 40 | F100 | F75 | F50 | F200 | F150 | F100 |
Ниже минус 20 до минус 40 включ. | F75 | F50 | F35 | F100 | F75 | F50 |
Ниже минус 5 до минус 20 включ. | F50 | F35 | F25 | F75 | F50 | Не нормируется |
Минус 5 и выше | F35 | F25 | | F50 | Не нормируется |
2.  | Ниже минус 40 | F75 | F50 | F35 | F100 | F75 | F50 |
Ниже минус 20 до минус 40 включ. | F50 | F35 | F25 | F50 | Не нормируется |
Ниже минус 5 до минус 20 включ. | F35 | F25 | | Не нормируется |
Минус 5 и выше | F25 | | Не нормируется |
3.  | Ниже минус 40 | F50 | F35 | F25 | F75 | F50 | Не нормируется |
Ниже минус 20 до минус 40 включ. | F35 | F25 | | Не нормируется |
Ниже минус 5 до минус 20 включ. | F25 | | Не нормируется |
Минус 5 и выше | | Не нормируется |
--------------------------------
<*> Для легких бетонов марки по морозостойкости не нормируются.
Примечания. 1. При наличии паро- и гидроизоляции конструкций из тяжелых, мелкозернистых и легких бетонов их марки по морозостойкости, указанные в настоящей таблице, снижаются на одну ступень.
2. Расчетная зимняя температура наружного воздуха принимается согласно указаниям
п. 1.8.
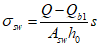
2.6
(2.10). Для замоноличивания стыков элементов сборных конструкций, которые в процессе эксплуатации или монтажа могут подвергаться воздействию отрицательных температур наружного воздуха, следует применять бетоны проектных марок по морозостойкости и водонепроницаемости не ниже принятых для стыкуемых элементов.
2.7. Для легких бетонов марки по средней плотности назначаются в соответствии с табл. 6.
Таблица 6
Класс легкого бетона по прочности на сжатие | Марки по средней плотности для |
керамзитобетона, шунгизитобетона | шлакопемзобетона, шлакобетона | перлитобетона | бетона на природных пористых заполнителях | аглопоритобетона |
B2,5 | D800 - D1000 | D1000 - D1400 | D800 - D900 | D800 - D1200 | D1000 - D1200 |
B3,5 | D800 - D1100 | D1100 - D1500 | D800 - D1000 | D900 - D1300 | D1100 - D1300 |
B5 | D800 - D1200 | D1200 - D1600 | D800 - D1100 | D1000 - D1400 | D1200 - D1400 |
B7,5 | D900 - D1300 | D1300 - D1700 | D900 - D1200 | D1100 - D1500 | D1300 - D1500 |
B10 | D1000 - D1400 | D1400 - D1800 | D1000 - D1300 | D1200 - D1600 | D1400 - D1600 |
B12,5 | D1000 - D1400 | D1400 - D1800 | D1000 - D1400 | D1200 - D1600 | D1400 - D1600 |
B15 | D1200 - D1700 | D1600 - D1800 | D1300 - D1600 | D1500 - D1700 | D1600 - D1800 |
B20 | D1300 - D1800 | D1700 - D1900 | - | D1600 - D1800 | D1700 - D1900 |
B25 | D1300 - D1800 | D1800 - D1900 | - | D1700 - D1900 | D1700 - D1900 |
| D1400 - D1800 | D1900 - D2000 | - | D1800 - D2000 | D1800 - D2000 |
B30 | D1500 - D1800 | - | - | D1900 - D2000 | D1900 - D2000 |
B35 | D1600 - D1900 | - | - | - | - |
B40 | D1700 - D1900 | - | - | - | - |
--------------------------------
<*> Допускается применять при условии получения экономии цемента по сравнению с применением бетона класса B30 и неснижения других технико-экономических показателей конструкции.
Нормативные и расчетные характеристики бетона
2.8
(2.11). Нормативными сопротивлениями бетона являются сопротивление осевому сжатию призм (призменная прочность)

и сопротивление осевому растяжению

.
Нормативные сопротивления бетона

и

в зависимости от класса бетона B даны в табл. 7.
Вид сопротивления | Бетон | Нормативные сопротивления бетона Rbn и Rbtn и расчетные сопротивления для предельных состояний второй группы Rb,ser, Rbt,ser, МПа (кгс/см2), при классе бетона по прочности на сжатие |
B2,5 | B3,5 | B5 | B7,5 | B10 | B12,5 | B15 | B20 |
Сжатие осевое (призменная прочность) Rbn и Rb,ser | Тяжелый, мелкозернистый и легкий | 1,9 (19,4) | 2,7 (27,5) | 3,5 (35,7) | 5,5 (56,1) | 7,5 (76,5) | 9,5 (96,9) | 11,0 (112) | 15,0 (153) |
Растяжение осевое Rbtn и Rbt,ser | Тяжелый, мелкозернистый <1> и легкий на мелком плотном заполнителе | 0,29 (2,96) | 0,39 (4,00) | 0,55 (5,61) | 0,70 (7,14) | 0,85 (8,67) | 1,00 (10,2) | 1,15 (11,7) | 1,40 (14,3) |
Легкий на мелком пористом заполнителе <2> | 0,29 (2,96) | 0,39 (4,00) | 0,55 (5,61) | 0,70 (7,14) | 0,85 (8,67) | 1,00 (10,2) | 1,10 (11,2) | 1,20 (12,2) |
Сжатие осевое (призменная прочность) Rbn и Rb,ser | Тяжелый, мелкозернистый и легкий | 18,5 (189) | 22,0 (224) | 25,5 (260) | 29,0 (296) | 32,0 (326) | 36,0 (367) | 39,5 (403) | 43,0 (438) |
Растяжение осевое Rbtn и Rbt,ser | Тяжелый, мелкозернистый <1> и легкий на мелком плотном заполнителе | 1,60 (16,3) | 1,80 (18,4) | 1,95 (19,9) | 2,10 (21,4) | 2,20 (22,4) | 2,30 (23,5) | 2,40 (24,5) | 2,50 (25,5) |
Легкий на мелком пористом заполнителе <2> | 1,35 (13,8) | 1,50 (15,3) | 1,65 (16,8) | 1,80 (18,4) | - | - | - | - |
--------------------------------
<1> Для мелкозернистого бетона группы Б (см.
п. 2.1) значения

и

уменьшают на 15%.
<2> Для керамзитоперлитобетона на вспученном перлитовом песке значения

и

уменьшают на 15%.
Примечание. Для поризованного бетона значения

и

принимают такими же, как для легкого бетона, а значения

и

умножают на коэффициент 0,7.
2.9 (
2.11,
2.13). Расчетные сопротивления бетона для предельных состояний первой группы

и

определяются путем деления нормативных сопротивлений на коэффициенты надежности по бетону, принимаемые равными: при сжатии

; при растяжении

.
Расчетные сопротивления бетона

и

снижаются (или повышаются) путем умножения на коэффициенты условий работы бетона

, учитывающие характер действия нагрузки, условия работы конструкции, способ ее изготовления, размеры сечения и т.п.
Расчетные сопротивления бетона для предельных состояний второй группы

и

принимаются равными нормативным сопротивлениям и вводятся в расчет с коэффициентом условий работы бетона

.
Расчетные сопротивления бетона в зависимости от класса бетона по прочности на сжатие приведены (с округлением): для предельных состояний первой группы - в табл. 8, второй группы - в
табл. 7.
Вид сопротивления | Бетон | Коэффициент условий работы  | Расчетные сопротивления бетона для предельных состояний первой группы Rb и Rbt, МПа (кгс/см2), при классе бетона по прочности на сжатие |
B2,5 | B3,5 | B5 | B7,5 | B10 | B12,5 | B15 | B20 | B25 | B30 | B35 | B40 | B45 | B50 | B55 | B60 |
Сжатие осевое (призменная прочность) Rb | Тяжелый, мелкозернистый и легкий | 0,9 | 1,3 (13,3) | 1,9 (19,4) | 2,5 (25,5) | 4,0 (40,8) | 5,4 (55) | 6,7 (68,5) | 7,7 (78,5) | 10,5 (107) | 13,0 (133) | 15,5 (158) | 17,5 (178) | 20,0 (204) | 22,5 (230) | 25,0 (255) | 27,0 (275) | 29,5 (300) |
1,0 | 1,5 (15,3) | 2,1 (21,4) | 2,8 (28,6) | 4,5 (45,9) | 6,0 (61,2) | 7,5 (76,5) | 8,5 (86,7) | 11,5 (117) | 14,5 (148) | 17,0 (173) | 19,5 (199) | 22,0 (224) | 25,0 (255) | 27,5 (280) | 30,0 (306) | 33,0 (336) |
1,1 | 1,6 (16,3) | 2,3 (23,4) | 3,1 (32,6) | 4,9 (50) | 6,6 (67,3) | 8,2 (83,5) | 9,4 (96) | 12,5 (128) | 16,0 (163) | 19,0 (194) | 21,5 (219) | 24,0 (245) | 27,5 (280) | 30,5 (310) | 33,0 (334) | 36,5 (370) |
Растяжение осевое Rbt | Тяжелый, мелкозернистый <1> и легкий на мелком плотном заполнителе | 0,9 | 0,18 (1,84) | 0,23 (2,34) | 0,33 (3,33) | 0,43 (4,39) | 0,51 (5,20) | 0,59 (6,01) | 0,67 (6,83) | 0,80 (8,16) | 0,95 (9,7) | 1,10 (11,2) | 1,15 (11,7) | 1,25 (12,7) | 1,30 (13,3) | 1,40 (14,3) | 1,45 (14,8) | 1,50 (15,3) |
1,0 | 0,20 (2,04) | 0,26 (2,65) | 0,37 (3,77) | 0,48 (4,89) | 0,57 (5,81) | 0,66 (6,73) | 0,75 (7,65) | 0,90 (9,18) | 1,05 (10,7) | 1,20 (12,2) | 1,30 (13,3) | 1,40 (14,3) | 1,45 (14,8) | 1,55 (15,8) | 1,60 (16,3) | 1,65 (16,8) |
1,1 | 0,22 (2,24) | 0,29 (2,96) | 0,41 (4,18) | 0,53 (5,40) | 0,63 (6,43) | 0,73 (7,45) | 0,82 (8,36) | 1,00 (10,2) | 1,15 (11,7) | 1,30 (13,3) | 1,45 (14,8) | 1,55 (15,8) | 1,60 (16,3) | 1,70 (17,3) | 1,75 (17,8) | 1,80 (18,4) |
Легкий на мелком пористом заполнителе <2> | 0,9 | 0,18 (1,84) | 0,23 (2,34) | 0,33 (3,33) | 0,43 (4,39) | 0,51 (5,20) | 0,59 (6,01) | 0,66 (6,73) | 0,72 (7,34) | 0,81 (8,26) | 0,90 (9,18) | 1,00 (10,2) | 1,10 (11,2) | - | - | - | - |
1,0 | 0,20 (2,04) | 0,26 (2,65) | 0,37 (3,77) | 0,48 (4,89) | 0,57 (5,81) | 0,66 (6,73) | 0,74 (7,55) | 0,80 (8,16) | 0,90 (9,18) | 1,00 (10,2) | 1,10 (11,2) | 1,20 (12,2) | - | - | - | - |
1,1 | 0,22 (2,24) | 0,29 (2,96) | 0,41 (4,18) | 0,53 (5,40) | 0,63 (6,43) | 0,73 (7,45) | 0,81 (8,26) | 0,90 (9,18) | 1,00 (10,2) | 1,10 (11,2) | 1,2 (12,2) | 1,30 (13,3) | - | - | - | - |
--------------------------------
<1> Для мелкозернистого бетона группы Б (см.
п. 2.1) значения

уменьшают на 15%.
<2> Для керамзитоперлитобетона на вспученном перлитовом песке значения

уменьшают на 15%.
Примечания. 1. Для поризованного бетона значения

принимают такими же, как для легкого бетона, а значения

умножают на коэффициент 0,7.
2. Условия применения коэффициента условий работы

приведены в
п. 3.1.
3. Расчетные сопротивления бетона с коэффициентом условий работы

приняты по
табл. 13 СНиП 2.03.01-84.
В расчетные сопротивления, приведенные в
табл. 8, включен коэффициент условий работы

, учитывающий влияние длительности действия нагрузок и условия нарастания прочности бетона во времени; порядок использования в расчете коэффициентов

приведен в
п. 3.1.
Расчетные сопротивления бетона, приведенные в
табл. 8, в соответствующих случаях следует умножать на коэффициенты условий работы бетона согласно табл. 9.
Факторы, обусловливающие введение коэффициента условий работы | Коэффициент условий работы бетона |
условное обозначение | численное значение |
1. Бетонирование в вертикальном положении, (высота слоя бетонирования более 1,5 м) | | |
2. Бетонирование монолитных столбов и железобетонных колонн с наибольшим размером сечения менее 30 см | | 0,85 |
3. Попеременное замораживание и оттаивание | | |
4. Эксплуатация не защищенных от солнечной радиации конструкций в климатическом подрайоне IVА согласно СНиП 2.01.01-82 | | 0,85 |
| | 0,90 |
6. Бетонные конструкции из тяжелого бетона класса B35 и выше либо из легкого или мелкозернистого бетона класса B25 и выше | | |
7. Бетон для замоноличивания стыков сборных элементов при толщине шва менее 1/5 наименьшего размера сечения элемента и менее 10 см | | 1,15 |
--------------------------------
<*> Для элементов из поризованного бетона

.
Примечания. 1. Коэффициенты условий работы бетона по
поз. 3 -
5 должны учитываться при определении расчетных сопротивлений

и

, а по остальным позициям - только при определений

.
2. Коэффициенты условий работы бетона вводятся независимо друг от друга, но при этом их произведение [включая

(см.
п. 3.1)] должно быть не менее 0,45.
2.10
(2.14). Значения начального модуля упругости бетона

при сжатии и растяжении принимаются по
табл. 11.
Для бетонов, подвергающихся попеременному замораживанию и оттаиванию (см.
поз. 1 табл. 4), значения

, указанные в
табл. 11, следует умножать на коэффициент условий работы

, принимаемый по табл. 10.
Условия эксплуатации конструкции | Расчетная зимняя температура наружного воздуха, °C | Коэффициент условий работы бетона  при попеременном замораживании и оттаивании для бетона |
тяжелого и мелкозернистого | легкого и поризованного |
Попеременное замораживание и оттаивание: | Ниже минус 40 | 0,70 | 0,80 |
Ниже минус 20 до минус 40 включ. | 0,85 | 0,90 |
Ниже минус 5 до минус 20 включ. | 0,90 | 1,00 |
Минус 5 и выше | 0,95 | 1,00 |
| Ниже минус 40 | 0,90 | 1,00 |
Минус 40 и выше | 1,00 | 1,00 |
Примечания. 1. Расчетная зимняя температура наружного воздуха принимается согласно
п. 1.8.
2. При превышении марки бетона по морозостойкости по сравнению с требуемой согласно
табл. 4 коэффициенты настоящей таблицы могут быть увеличены на 0,05 соответственно каждой ступени превышения, однако не могут быть более единицы.
2.11
(2.15). Коэффициент линейной температурной деформации

при изменении температуры от минус 40 до плюс 50 °C в зависимости от вида бетона принимается равным:
для тяжелого, мелкозернистого бетонов и легкого бетона на мелком плотном заполнителе -

;
для легкого бетона на мелком пористом заполнителе -

;
для поризованного бетона -

.
2.12
(2.16). Начальный коэффициент поперечной деформации бетона v (коэффициент Пуассона) принимается равным 0,2 для всех видов бетона, а модуль сдвига бетона G - равным 0,4 соответствующих значений

, указанных в табл. 11.
Бетон | Начальные модули упругости бетона Eb·10-3, МПа (кгс/см2), при классе бетона по прочности на сжатие |
B2,5 | B3,5 | B5 | B7,5 | B10 | B12,5 | B15 | B20 | B25 | B30 | B35 | B40 | B45 | B50 | B55 | B60 |
Тяжелый: | | | | | | | | | | | | | | | | |
естественного твердения | - | 9,5 (96,9) | 13,0 (133) | 16,0 (163) | 18,0 (184) | 21,0 (214) | 23,0 (235) | 27,0 (275) | 30,0 (306) | 32,5 (331) | 34,5 (352) | 36,0 (367) | 37,5 (382) | 39,0 (398) | 39,5 (403) | 40,0 (408) |
подвергнутый тепловой обработке при атмосферном давлении | - | 8,5 (86,7) | 11,5 (117) | 14,5 (148) | 16,0 (163) | 19,0 (194) | 20,5 (209) | 24,0 (245) | 27,0 (275) | 29,0 (296) | 31,0 (316) | 32,5 (332) | 34,0 (347) | 35,0 (357) | 35,5 (362) | 36,0 (367) |
Мелкозернистый групп: | | | | | | | | | | | | | | | | |
А - естественного твердения | - | 7,0 (71,4) | 10,0 (102) | 13,5 (138) | 15,5 (158) | 17,5 (178) | 19,5 (199) | 22,0 (224) | 24,0 (245) | 26,0 (265) | 27,5 (280) | 28,5 (291) | - | - | - | - |
подвергнутый тепловой обработке при атмосферном давлении | - | 6,5 (66,3) | 9,0 (92) | 12,5 (127) | 14,0 (143) | 15,5 (158) | 17,0 (173) | 20,0 (204) | 21,5 (219) | 23,0 (235) | 24,0 (245) | 24,5 (250) | - | - | - | - |
Б - естественного твердения | - | 6,5 (66,3) | 9,0 (91,8) | 12,5 (127) | 14,0 (143) | 15,5 (158) | 17,0 (173) | 20,0 (204) | 21,5 (219) | 23,0 (235) | - | - | - | - | - | - |
подвергнутый тепловой обработке при атмосферном давлении | - | 5,5 (56,1) | 8,0 (81,6) | 11,5 (117) | 13,0 (133) | 14,5 (148) | 15,5 (158) | 17,5 (178) | 19,0 (194) | 20,5 (209) | - | - | - | - | - | - |
В - автоклавного твердения | - | - | - | - | - | - | 16,5 (168) | 18,0 (184) | 19,5 (199) | 21,0 (214) | 22,0 (224) | 23,0 (235) | 23,5 (240) | 24,0 (245) | 24,5 (250) | 25,0 (255) |
Легкий и поризованный марки по средней плотности D: | | | | | | | | | | | | | | | | |
800 | 4,0 (40,8) | 4,5 (45,9) | 5,0 (51,0) | 5,5 (56,1) | - | - | - | - | - | - | - | - | - | - | - | - |
1000 | 5,0 (51,0) | 5,5 (56,1) | 6,3 (64,2) | 7,2 (73,4) | 8,0 (81,6) | 8,4 (85,7) | - | - | - | - | - | - | - | - | - | - |
1200 | 6,0 (61,2) | 6,7 (68,3) | 7,6 (77,5) | 8,7 (88,7) | 9,5 (96,9) | 10,0 (102) | 10,5 (107) | - | - | - | - | - | - | - | - | - |
1400 | 7,0 (71,4) | 7,8 (79,5) | 8,8 (89,7) | 10,0 (102) | 11,0 (112) | 11,7 (119) | 12,5 (127) | 13,5 (138) | 14,5 (148) | 15,5 (158) | - | - | - | - | - | - |
1600 | - | 9,0 (91,8) | 10,0 (102) | 11,5 (117) | 12,5 (127) | 13,2 (135) | 14,0 (143) | 15,5 (158) | 16,5 (168) | 17,5 (178) | 18,0 (184) | - | - | - | - | - |
1800 | - | - | 11,2 (114) | 13,0 (133) | 14,0 (143) | 14,7 (150) | 15,5 (158) | 17,0 (173) | 18,5 (189) | 19,5 (199) | 20,5 (209) | 21,0 (214) | - | - | - | - |
2000 | - | - | - | 14,5 (148) | 16,0 (163) | 17,0 (173) | 18,0 (184) | 19,5 (199) | 21,0 (214) | 22,0 (224) | 23,0 (235) | 23,5 (240) | - | - | - | - |
Примечания. 1. Группы мелкозернистого бетона приведены в
п. 2.1.
2. Для легкого и поризованного бетонов при промежуточных значениях марок по средней плотности начальные модули упругости принимают по линейной интерполяции.
3. Для легкого и поризованного бетонов значения

даны при эксплуатационной весовой влажности w, составляющей для бетона класса B12,5 и выше - 5%, класса B10 и ниже - 10%. Если для бетонов класса B10 и ниже весовая влажность конструкций w, определенная согласно
СНиП II-3-79**, существенно превышает 10%, значения

при необходимости можно несколько увеличить, определяя их по
табл. 11 при условной марке по средней плотности, равной D (100 + w)/110 (где D - принятая марка по средней плотности).
4. Для тяжелого бетона, подвергнутого автоклавной обработке, значения

, указанные в
табл. 11 для бетона естественного твердения, следует умножать на коэффициент 0,75.
5. Для не защищенных от солнечной радиации конструкций, предназначенных для работы в климатическом подрайоне IVА согласно
СНиП 2.01.01-82, значения

, указанные в
табл. 11, следует умножать на коэффициент 0,85.
2.13. Для определения массы железобетонной или бетонной конструкции плотность бетона принимается равной, кг/м
3: для тяжелого бетона - 2400, мелкозернистого - 2200, легкого и поризованного - марке бетона по средней плотности D, умноженной: для бетонов класса B12,5 и выше - на 1,05, для бетонов класса B10 и ниже - 1 + w/100 (где w - весовая влажность бетона при эксплуатации, %, определенная согласно
СНиП II-3-79**; допускается w принимать равной 10%). При расчете конструкций в стадиях изготовления и транспортирования плотность легких и поризованных бетонов определяется с учетом отпускной объемной влажности

по формуле

, где

и 20% соответственно для легкого и поризованного бетонов класса B10 и ниже и

для легких бетонов класса B12,5 и выше.
Плотность железобетона при содержании арматуры 3% и менее может приниматься превышающей плотность бетона на 100 кг/м
3; при содержании арматуры свыше 3% плотность определяется как сумма масс бетона и арматуры на единицу объема железобетонной конструкции. При этом масса 1 м длины арматурной стали принимается по
Прил. 4, а масса полосовой, угловой и фасонной стали - по государственным стандартам. При определении массы наружной ограждающей конструкции из легкого бетона класса B10 и ниже следует учитывать повышенную плотность фактурных слоев.
Для определения нагрузки от собственного веса конструкции удельный вес ее, кН/м3, допускается принимать равным 0,01 плотности, кг/м3.
2.14
(2.19). В качестве ненапрягаемой арматуры железобетонных конструкций (кроме указанных в
п. 2.15):
следует преимущественно применять:
а) стержневую арматуру периодического профиля классов А-III и Ат-IIIС;
б) обыкновенную арматурную проволоку периодического профиля класса Вр-I в сварных сетках и каркасах;
допускается применять:
в) стержневую арматуру периодического профиля класса А-II и гладкую класса А-I для поперечной монтажной и конструктивной арматуры, а также в качестве рабочей продольной, если другие виды арматуры не могут быть использованы;
г) обыкновенную арматурную проволоку класса Вр-I - для вязаных хомутов балок высотой до 400 мм и колонн.
Арматуру классов А-III, Ат-IIIС, А-II и А-I рекомендуется применять в виде сварных каркасов и сварных сеток.
При обосновании экономической целесообразности допускается применять ненапрягаемую арматуру классов А-IV, А-V и А-VI и их модификаций в качестве сжатой арматуры, а класса А-IV - в качестве растянутой. Кроме того, в качестве растянутой арматуры допускается применять арматуру класса А-IIIв. Проектирование элементов с применением арматуры перечисленных классов выполняется в соответствии с "Пособием по проектированию предварительно напряженных железобетонных конструкций из тяжелых и легких бетонов" (М., ЦИТП Госстроя СССР, 1986).
В качестве конструктивной арматуры железобетонных конструкций допускается также применять обыкновенную гладкую проволоку класса В-I.
Примечания. 1. В настоящем Пособии используется термин "стержень" для обозначения арматуры любого диаметра, вида и профиля независимо от того, поставляется она в прутках или мотках (бунтах).
2. В обозначение стержневой арматуры класса А-II специального назначения добавляется буква "с" - Ас-II.
2.15
(2.20). В конструкциях с ненапрягаемой арматурой, находящихся под давлением газов или жидкостей:
следует преимущественно применять:
а) стержневую арматуру классов А-II и А-I;
допускается применять:
б) стержневую арматуру классов А-III и Ат-IIIС;
в) арматурную проволоку класса Вр-I.
2.16
(2.23). При выборе вида и марок стали для арматуры, устанавливаемой по расчету, а также прокатных сталей для закладных деталей должны учитываться температурные условия эксплуатации конструкций и характер их нагружения согласно табл. 12 и
13.
Вид арматуры и документы, регламентирующие ее качество | Класс арматуры | Марка стали | Диаметр арматуры, мм | Условия эксплуатации конструкции при нагрузке |
статической | динамической и многократно повторяющейся |
в отапливаемых зданиях | на открытом воздухе и в неотапливаемых зданиях при расчетной температуре, °C | в отапливаемых зданиях | на открытом воздухе и в неотапливаемых зданиях при расчетной температуре, °C |
до минус 30 включ. | ниже минус 30 до минус 40 включ. | ниже минус 40 до минус 55 включ. | ниже минус 55 до минус 70 включ. | до минус 30 включ. | ниже минус 30 до минус 40 включ. | ниже минус 40 до минус 55 включ. | ниже минус 55 до минус 70 включ. |
| | ИС МЕГАНОРМ: примечание. Приказом Ростехрегулирования от 20.07.2007 N 185-ст с 1 января | |
|
Стержневая горячекатаная гладкая, ГОСТ 5781-82 и ГОСТ 380-71 | А-I | Ст3сп3 | 6 - 40 | + | + | + | + | | + | + | - | - | - |
Ст3пс3 | 6 - 40 | + | + | + | - | - | + | + | - | - | - |
Ст3кп3 | 6 - 40 | + | + | - | - | - | + | + | - | - | - |
ВСт3сп2 | 6 - 40 | + | + | + | + | + | + | + | + | + | + |
ВСт3пс2 | 6 - 40 | + | + | + | - | - | + | + | + | - | - |
ВСт3кп2 | 6 - 40 | + | + | - | - | - | + | + | - | - | - |
ВСт3Гпс2 | 6 - 18 | + | + | + | + | | + | + | + | + | |
Стержневая горячекатаная периодического профиля, ГОСТ 5781-82 | А-II | ВСт5сп2 | 10 - 40 | + | + | + | | | + | + | | - | - |
ВСт5пс2 | 10 - 16 | + | + | + | | - | + | + | | - | - |
| 18 - 40 | + | + | - | - | - | + | | - | - | - |
18Г2С | 40 - 80 | + | + | + | + | | + | + | + | + | |
Ас-II | 10ГТ | 10 - 32 | + | + | + | + | + | + | + | + | + | + |
А-III | 35ГС | 6 - 40 | + | + | + | | - | + | + | | - | - |
25Г2С | 6 - 8 | + | + | + | + | + | + | + | + | + | - |
| 10 - 40 | + | + | + | + | | + | + | + | | - |
32Г2Рпс | 6 - 22 | + | + | + | | - | + | + | | - | - |
| | ИС МЕГАНОРМ: примечание. Взамен ГОСТ 10884-81 Постановлением Госстандарта РФ от 13.04.1995 | |
|
Стержневая термомеханически упрочненная периодического профиля, ГОСТ 10884-81 | Ат-IIIС | БСт5пс; БСт5сп | 10 - 22 | + | + | + | | - | + | + | | - | - |
Обыкновенная арматурная проволока периодического профиля, ГОСТ 6727-80 | Вр-I | - | 3 - 5 | + | + | + | + | + | + | + | + | + | + |
--------------------------------
<1> Допускается применять только в вязаных каркасах и сетках.
Примечания. 1. В таблице знак "+" означает допускается, знак "-" - не допускается.
2. Расчетная температура принимается согласно указаниям
п. 1.8.
3. В данной таблице нагрузки следует относить к динамическим, если доля этих нагрузок при расчете конструкций по прочности превышает 0,1 статической нагрузки; к многократно повторяющимся - нагрузки, при которых требуется расчет конструкций на выносливость.
| | ИС МЕГАНОРМ: примечание. Приказом Ростехрегулирования от 20.07.2007 N 185-ст с 1 января 2008 года введен в действие ГОСТ 380-2005. | |
Характеристика закладных деталей | Расчетная температура, °C |
до минус 30 включ. | ниже минус 30 до минус 40 включ. |
марка стали по ГОСТ 380-71 | толщина проката, мм | марка стали по ГОСТ 380-71 | толщина проката, мм |
1. Рассчитываемые на усилия от нагрузок: | | | | |
а) статических | ВСт3кп2 | 4 - 30 | ВСт3пс6 | 4 - 25 |
б) динамических и многократно повторяющихся | ВСт3пс6 | 4 - 10 | ВСт3пс6 | 4 - 10 |
ВСт3Гпс5 | 11 - 30 | ВСт3Гпс5 | 11 - 30 |
ВСт3сп5 | 11 - 25 | ВСт3сп5 | 11 - 25 |
2. Конструктивные (не рассчитываемые на силовые воздействия) | БСт3кп2 | 4 - 10 | БСт3кп2 | 4 - 10 |
ВСт3кп2 | 4 - 30 | ВСт3кп2 | 4 - 30 |
Примечания. 1. Расчетная температура принимается согласно указаниям
п. 1.8.
2. При применении низколегированной стали, например, марок 10Г2С1, 09Г2С, 15ХСНД, а также при расчетной температуре ниже минус 40 °C выбор марки стали и электродов для закладных деталей следует производить как для стальных сварных конструкций в соответствии с требованиями
СНиП II-23-81.
3. Расчетные сопротивления стали указанных марок принимаются согласно
СНиП II-23-81.
В климатических зонах с расчетной зимней температурой ниже минус 40 °C при проведении строительно-монтажных работ в холодное время года несущая способность в стадии возведения конструкций с арматурой, допускаемой к применению только в отапливаемых зданиях, должна быть обеспечена исходя из расчетного сопротивления арматуры с понижающим коэффициентом 0,7 и расчетной нагрузки с коэффициентом надежности по нагрузке

.
2.17
(2.24). Для монтажных (подъемных) петель элементов сборных железобетонных и бетонных конструкций должна применяться горячекатаная арматурная сталь класса Ас-II марки 10ГТ и класса А-I марок ВСт3сп2 и ВСт3пс2.
В случае, если возможен монтаж конструкций при расчетной зимней температуре ниже минус 40 °C, для монтажных петель не допускается применять сталь марки ВСт3пс2.
Нормативные и расчетные характеристики арматуры
2.18
(2.25). За нормативные сопротивления арматуры

принимаются наименьшие контролируемые значения:
для стержневой арматуры - физического предела текучести;
для обыкновенной арматурной проволоки - напряжения, равного 0,75 временного сопротивления разрыву.
Нормативные сопротивления

для основных видов ненапрягаемой арматуры приведены в табл. 14.
Вид и класс арматуры | Нормативные сопротивления растяжению Rsn и расчетные сопротивления растяжению для предельных состояний второй группы Rs,ser, МПа (кгс/см2) |
Стержневая классов: | |
А-I | 235 (2400) |
А-II | 295 (3000) |
А-III и Ат-IIIС | 390 (4000) |
Проволочная класса Вр-I диаметром, мм: | |
3 | 410 (4200) |
4 | 405 (4150) |
5 | 395 (4050) |
2.19
(2.26). Расчетные сопротивления арматуры растяжению и сжатию соответственно

и

для предельных состояний первой группы определяются путем деления нормативных сопротивлений на коэффициенты надежности по арматуре

, принимаемые равными:
а) для стержневой арматуры классов:
А-I и А-II ................................. 1,05
Ат-IIIС и А-III диаметром 10 - 40 мм ....... 1,07
А-III диаметром 6 - 8 мм ................... 1,10
б) для проволочной арматуры класса Вр-I ....... 1,10.
Расчетные сопротивления арматуры растяжению для предельных состояний второй группы принимаются равными нормативным сопротивлениям.
Расчетные сопротивления арматуры растяжению и сжатию, используемые при расчете по предельным состояниям первой группы, приведены в табл. 15, а при расчете по предельным состояниям второй группы - в
табл. 14.
Вид и класс арматуры | Расчетные сопротивления арматуры для предельных состояний первой группы, МПа (кгс/см2) |
растяжению | сжатию Rsc |
продольной Rs | поперечной (хомутов и отогнутых стержней) Rsw |
Стержневая классов: | | | |
А-I | 225 (2300) | 175 (1800) | 225 (2300) |
А-II | 280 (2850) | 225 (2300) | 280 (2850) |
А-III диаметром, мм: | | | |
6 - 8 | 355 (3600) | | 355 (3600) |
10 - 40 | 365 (3750) | | 365 (3750) |
Ат-IIIС | 365 (3750) | | 365 (3750) |
Проволочная класса Вр-II диаметром, мм: | | | |
3 | 375 (3850) | 270 (2750); 300 (3050) <**> | 375 (3850) |
4 | 365 (3750) | 265 (2700); 295 (3000) <**> | 365 (3750) |
5 | 360 (3700) | 260 (2650); 290 (2950) <**> | 360 (3700) |
--------------------------------
<*> В сварных каркасах для хомутов из арматуры классов А-III и Ат-IIIС, диаметр которых менее 1/3 диаметра продольных стержней, значения

принимаются равными 255 МПа (2600 кгс/см
2).
<**> Для случая применения в вязаных каркасах.
2.20
(2.28). Расчетные сопротивления поперечной арматуры (хомутов и отогнутых стержней)

снижаются по сравнению с

путем умножения на коэффициенты условий работы

и

:
а) независимо от вида и класса арматуры - на коэффициент

= 0,8, учитывающий неравномерность распределения напряжений в арматуре по длине рассматриваемого сечения;
б) для стержневой арматуры классов А-III и Ат-IIIС диаметром менее 1/3 диаметра продольных стержней и для проволочной арматуры класса Вр-I в сварных каркасах - на коэффициент

= 0,9, учитывающий возможность хрупкого разрушения сварного соединения.
Расчетные сопротивления

с учетом указанных коэффициентов условий работы

и

приведены в
табл. 15.
Кроме того, при расположении рассматриваемого сечения в зоне анкеровки арматуры расчетные сопротивления

и

умножаются на коэффициент условий работы

, учитывающий неполную анкеровку арматуры и определяемый согласно
п. 3.44.
Для элементов из легкого бетона класса B7,5 и ниже расчетные сопротивления

поперечной арматуры классов А-I и Вр-I умножаются на коэффициент условий работы

.
2.21
(2.30). Значения модуля упругости арматуры

принимаются равными для арматуры классов:
А-I и А-II ......... 210000 МПа (2100000 кгс/см2)
А-III и Ат-IIIС .... 200000 " (2000000 " )
Вр-I ............... 170000 " (1700000 " )
3. РАСЧЕТ БЕТОННЫХ И ЖЕЛЕЗОБЕТОННЫХ ЭЛЕМЕНТОВ
ПО ПРЕДЕЛЬНЫМ СОСТОЯНИЯМ ПЕРВОЙ ГРУППЫ
3.1. Для учета влияния длительности действия нагрузок на прочность бетона расчет бетонных и железобетонных элементов по прочности в общем случае производится:
а) на действие постоянных, длительных и кратковременных нагрузок, кроме нагрузок непродолжительного действия (ветровых, крановых, от транспортных средств, возникающих при изготовлении, транспортировании и возведении, и т.п.), а также на действие особых нагрузок, вызванных деформациями просадочных, набухающих, вечномерзлых и подобных грунтов; в этом случае расчетные сопротивления бетона сжатию и растяжению соответственно

и

принимаются по
табл. 8 при

;
б) на действие всех нагрузок, включая нагрузки непродолжительного действия; в этом случае расчетные сопротивления бетона

и

принимаются по
табл. 8 при

<*>.
--------------------------------
<*> Если при учете особых нагрузок, согласно указаниям соответствующих норм, вводится дополнительный коэффициент условий работы (например, при учете сейсмических нагрузок), принимается

.
Если конструкция эксплуатируется в условиях, благоприятных для нарастания прочности бетона [твердение под водой, во влажном грунте или при влажности окружающего воздуха свыше 75% (см.
п. 1.8)], расчет по
случаю "а" производится при

.
При отсутствии нагрузок непродолжительного действия, а также аварийных расчет по прочности производится только по
случаю "а".
При наличии нагрузок непродолжительного действия или аварийных расчет производится только по
случаю "б", если выполняется условие

, (1)
где

- усилие (момент

, поперечная сила

или продольная сила

) от нагрузок, используемых при расчете по
случаю "а"; при этом в расчете сечений, нормальных к продольной оси внецентренно нагруженных элементов, момент

принимается относительно оси, проходящей через наиболее растянутый (или менее сжатый) стержень арматуры, а для бетонных элементов - относительно растянутой или наименее сжатой грани;

- усилие от нагрузок, используемых при расчете по
случаю "б".
Допускается производить расчет только по
случаю "б" и при невыполнении
условия (1), принимая расчетные сопротивления бетона

и

(при

= 1,0) с коэффициентом

.
Для внецентренно сжатых элементов, рассчитываемых по недеформированной схеме, значения

и

можно определять без учета прогиба элемента.
Для конструкций, эксплуатируемых в условиях, благоприятных для нарастания прочности бетона,
условие (1) приобретает вид

, а коэффициент

.
РАСЧЕТ БЕТОННЫХ ЭЛЕМЕНТОВ ПО ПРОЧНОСТИ
3.2
(3.1). Расчет по прочности бетонных элементов конструкций должен производиться для сечений, нормальных к их продольной оси. В зависимости от условий работы элементов они рассчитываются без учета, а также с учетом сопротивления бетона растянутой зоны.
Без учета сопротивления бетона растянутой зоны производится расчет внецентренно сжатых элементов, указанных в
п. 1.7а, принимая, что достижение предельного состояния характеризуется разрушением сжатого бетона.
С учетом сопротивления бетона растянутой зоны производится расчет элементов, указанных в
п. 1.7б, а также элементов, в которых не допускаются трещины по условиям эксплуатации конструкций (элементов, подвергающихся давлению воды, карнизов, парапетов и др.). При этом принимается, что достижение предельного состояния характеризуется разрушением бетона растянутой зоны (появлением трещин).
В случае, когда возможно образование наклонных трещин (например, элементы двутаврового и таврового сечений при наличии поперечных сил), должен производиться расчет бетонных элементов из
условия (13).
Кроме того, должен производиться расчет элементов на местное сжатие (смятие) согласно
п. 3.93.
Внецентренно сжатые элементы
3.3 (
3.2,
1.21). При расчете внецентренно сжатых бетонных элементов должен приниматься во внимание случайный эксцентриситет продольного усилия

, обусловленный не учтенными в расчете факторами. Эксцентриситет

в любом случае принимается не менее:
1/600 длины элемента или расстояния между его сечениями, закрепленными от смещения;
1/30 высоты сечения;
10 мм (для сборных элементов при отсутствии других экспериментально обоснованных значений

).
Для элементов статически неопределимых конструкций (например, защемленных по концам стен или столбов) значение эксцентриситета продольной силы относительно центра тяжести приведенного сечения

принимается равным значению эксцентриситета, полученному из статического расчета конструкции, но не менее

.
В элементах статически определимых конструкций эксцентриситет

находится как сумма эксцентриситетов - определяемого из статического расчета конструкции и случайного.
3.4
(3.3). При гибкости элементов

(для прямоугольных сечений при

) необходимо учитывать влияние на их несущую способность прогибов в плоскости эксцентриситета продольного усилия и в нормальной к ней плоскости путем умножения значений

на коэффициент

(см.
п. 3.7). В случае расчета из плоскости эксцентриситета продольного усилия значение

принимается равным значению случайного эксцентриситета.
Применение внецентренно сжатых бетонных элементов (за исключением случаев, предусмотренных в
п. 1.7б) не допускается при эксцентриситетах приложения продольной силы с учетом прогибов


, превышающих:
а) в зависимости от сочетания нагрузок:
при основном сочетании ................... 0,9y
" особом " ................... 0,95y
б) в зависимости от класса бетона:
при классе B10 и выше ................... y - 10
" " B7,5 и ниже ................... y - 20
(здесь y - расстояние от центра тяжести сечения до наиболее сжатого волокна бетона, мм).
3.5
(3.4). Во внецентренно сжатых бетонных элементах в случаях, указанных в
п. 5.122, необходимо предусматривать конструктивную арматуру.
3.6
(3.5). Расчет внецентренно сжатых бетонных элементов должен производиться без учета растянутого бетона из условия

, (2)
где

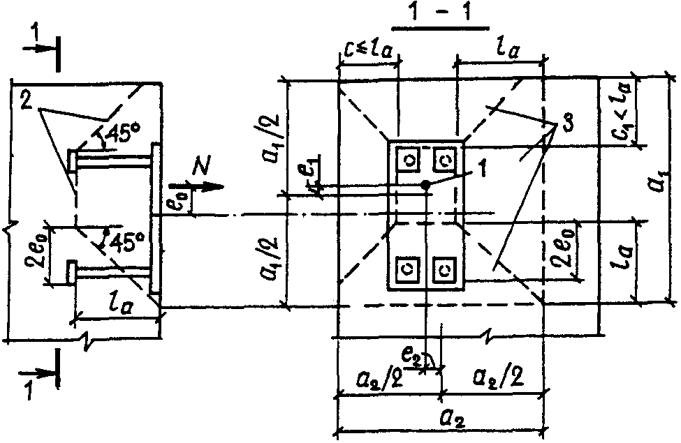
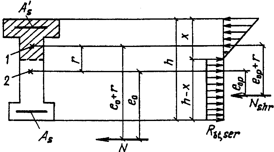
- площадь сжатой зоны бетона, определяемая из условия, что ее центр тяжести совпадает с точкой приложения равнодействующей внешних сил (черт. 1).
Черт. 1. Схема усилий и эпюра напряжений
в поперечном сечении внецентренно сжатого бетонного элемента
без учета сопротивления бетона растянутой зоны
1 - центр тяжести площади сжатой зоны;
2 - то же, площади всего сечения
Для элементов прямоугольного сечения

определяется по формуле

. (3)
Внецентренно сжатые бетонные элементы, в которых появление трещин не допускается по условиям эксплуатации (см.
п. 3.2), независимо от расчета из
условия (2) должны быть проверены с учетом сопротивления бетона растянутой зоны из условия

. (4)
Для элементов прямоугольного сечения условие (4) имеет вид

. (5)
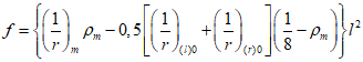
r - расстояние от центра тяжести сечения до ядровой точки, наиболее удаленной от растянутой зоны, определяемое по формуле

; (6)

, но принимается не менее 0,7 и не более 1,0;

- максимальное напряжение сжатия, вычисляемое как для упругого тела;

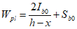
- момент сопротивления сечения для крайнего растянутого волокна с учетом неупругих деформаций растянутого бетона, определяемый в предположении отсутствия продольной силы по формуле

, (7)
где

- момент инерции площади сечения сжатой зоны бетона относительно нулевой линии;

- статический момент площади сечения растянутой зоны бетона относительно нулевой линии;
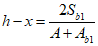
h - x - расстояние от нулевой линии до растянутой грани, равное:

;

- площадь сжатой зоны бетона, дополненная в растянутой зоне прямоугольником шириной b, равной ширине сечения по нулевой линии, и высотой h - x (черт. 2);

- статический момент площади

относительно растянутой грани.
Черт. 2. К определению

Допускается значение

определять по формуле

,
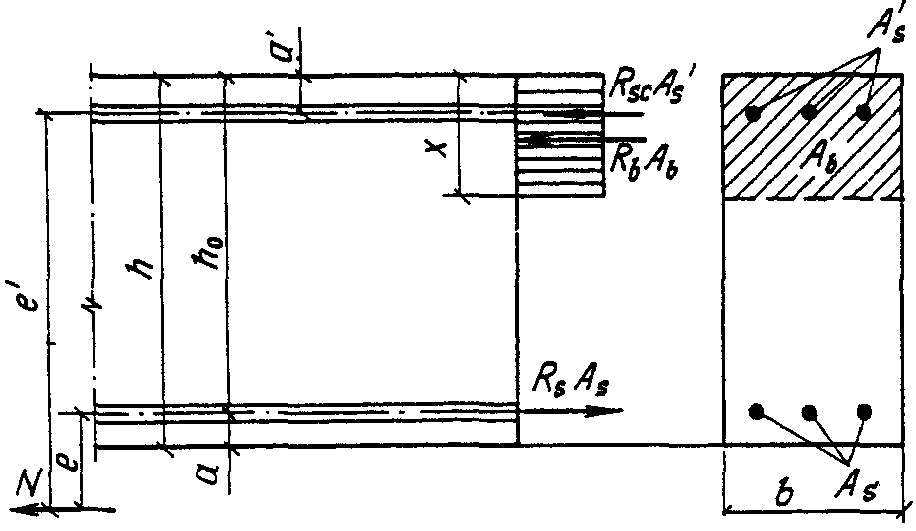
3.7
(3.6). Значение коэффициента

, учитывающего влияние прогиба на значение эксцентриситета продольного усилия

, следует определять по формуле

, (8)
где

- условная критическая сила, определяемая по формуле

(9)
(здесь I - момент инерции бетонного сечения).
Для элементов прямоугольного сечения формула (9) имеет вид

. (9а)

- коэффициент, учитывающий влияние длительного действия нагрузки на прогиб элемента в предельном состоянии, равный:

, (10)
но не более

,
здесь

- коэффициент, принимаемый по
табл. 16;

- момент относительно растянутой или наименее сжатой грани сечения от действия постоянных, длительных и кратковременных нагрузок;

- то же, от действия постоянных и длительных нагрузок;

- коэффициент, принимаемый равным

, но не менее
(здесь

- в МПа).
Примечание. При расчете сечения по
случаям "а" и
"б" (см.
п. 3.1) допускается значение

определять один раз, принимая значение

при

.
Бетон | |
1. Тяжелый | 1,0 |
2. Мелкозернистый групп: | |
А | 1,3 |
Б | 1,5 |
В | 1,0 |
3. Легкий: | |
при искусственных крупных заполнителях и мелком заполнителе: | |
плотном | 1,0 |
пористом | 1,5 |
при естественных крупных заполнителях | 2,5 |
4. Поризованный | 2,0 |
Примечание. Группы мелкозернистого бетона приведены в
п. 2.1.
Характер опирания стен и столбов | Расчетная длина l0 внецентренно сжатых бетонных элементов |
1. С опорами вверху и внизу: | |
а) при шарнирах на двух концах независимо от величины смещения опор | H |
б) при защемлении одного из концов и возможном смещении опор для зданий: | |
многопролетных | 1,25H |
однопролетных | 1,50H |
2. Свободно стоящие | 2,00H |
Обозначение, принятое в
табл. 17: H - высота столба (стены) в пределах этажа за вычетом толщины плиты перекрытия или высота свободно стоящей конструкции.
3.8. Расчет с учетом прогиба внецентренно сжатых бетонных элементов прямоугольного сечения из тяжелого бетона класса не выше B20 допускается производить с помощью графика
(черт. 3). При этом должно выполняться условие

,
где

- определяется по графику
(черт. 3) в зависимости от значений

и

.
Условные обозначения:

при

;

при

.
Черт. 3. График несущей способности
внецентренно сжатых бетонных элементов
3.9
(3.8). Расчет изгибаемых бетонных элементов должен производиться из условия

, (11)
где

- определяется по
формуле (7); для элементов прямоугольного сечения

принимается равным:

. (12)
Кроме того, для элементов таврового и двутаврового сечений должно выполняться условие

, (13)
где

- касательные напряжения, определяемые как для упругого материала на уровне центра тяжести сечения.
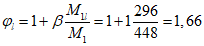
Пример 1. Дано: межквартирная бетонная панель стены толщиной h = 200 мм, высотой H = 2,7 м, изготовленная вертикально (в кассете) из керамзитобетона на кварцевом песке класса B15, марки по средней плотности D1600 (

); полная нагрузка на 1 м стены N = 900 кН, в том числе постоянная и длительная нагрузки

; нагрузки непродолжительного действия отсутствуют.
Требуется проверить прочность панели стены.
Расчет производим согласно
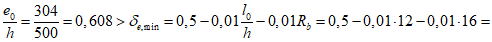
п. 3.6 на действие продольной силы N = 900 кН, приложенной со случайным эксцентриситетом

, определяемым согласно
п. 3.3.
Поскольку

и

, случайный эксцентриситет принимаем равным 10 мм, т.е.

. Закрепление панели сверху и снизу принимаем шарнирным, следовательно, расчетная длина

, согласно
табл. 17, равна

.
Так как гибкость панели

, расчет производим с учетом прогиба согласно
п. 3.7.
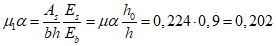
По
формуле (10) определим коэффициент

, принимая

(см.
табл. 16). Поскольку эксцентриситет продольной силы не зависит от характера нагрузок, здесь можно принять

, тогда

.
Поскольку нагрузки непродолжительного действия отсутствуют, расчетное сопротивление бетона

, согласно
п. 3.1, принимаем с учетом коэффициента

, т.е.

, а учитывая, согласно
табл. 9, коэффициенты условий работы

и

, получим

.
Так как

, принимаем

.
Критическую силу

определим по
формуле (9а), принимая площадь сечения A для 1 м длины стены, т.е. A = 200 x 1000 = 200000 мм
2:

,
отсюда

.

=

,
т.е. прочность панели обеспечена.
РАСЧЕТ ЖЕЛЕЗОБЕТОННЫХ ЭЛЕМЕНТОВ ПО ПРОЧНОСТИ
3.10
(3.9). Расчет по прочности железобетонных элементов должен производиться для сечений, нормальных к их продольной оси, а также для наклонных к ней сечений наиболее опасного направления. При наличии крутящих моментов следует проверить прочность пространственных сечений, ограниченных в растянутой зоне спиральной трещиной наиболее опасного из возможных направлений. Кроме того, следует производить расчет элементов на местное действие нагрузки (смятие, продавливание, отрыв).
РАСЧЕТ СЕЧЕНИЙ, НОРМАЛЬНЫХ К ПРОДОЛЬНОЙ ОСИ ЭЛЕМЕНТА
3.11
(3.11). Расчет сечений, нормальных к продольной оси элемента, когда изгибающий момент действует в плоскости оси симметрии сечения и арматура сосредоточена у перпендикулярных указанной плоскости граней элемента, следует производить согласно
пп. 3.15 -
3.23 в зависимости от соотношения между значением относительной высоты сжатой зоны бетона

, определяемой из соответствующих условий равновесия, и значением относительной высоты сжатой зоны бетона

(см.
п. 3.14), при котором предельное состояние элемента наступает одновременно с достижением в растянутой арматуре напряжения, равного расчетному сопротивлению

.
3.12
(3.18). Расчет изгибаемых элементов кольцевого сечения при соотношении внутреннего и наружного радиусов

с арматурой, равномерно распределенной по длине окружности (при числе продольных стержней не менее 6), должен производиться как для внецентренно сжатых элементов согласно
пп. 3.69 и
3.70, принимая значение продольной силы N = 0 и подставляя вместо

значение изгибающего момента M.
3.13. Расчет нормальных сечений, не оговоренных в
пп. 3.11, 3.12 и
3.24, производится по формулам общего случая расчета нормального сечения согласно
п. 3.76, принимая в
формуле (154) N = 0 и заменяя в
условии (153) значение

величиной

- проекцией изгибающего момента на плоскость, перпендикулярную прямой, ограничивающей сжатую зону. Если ось симметрии сечения не совпадает с плоскостью действия момента или вовсе отсутствует, положение границы сжатой зоны должно обеспечить выполнение дополнительного условия параллельности плоскости действия моментов внешних и внутренних сил.
3.14
(3.12). Значение

определяется по формуле

, (14)
где

- характеристика сжатой зоны бетона, определяемая по формуле

, (15)
здесь

- коэффициент, принимаемый равным для бетона:
тяжелого ..................................... 0,85
мелкозернистого (см.
п. 2.1) групп:
А .......................................... 0,80
Б и В ...................................... 0,75
легкого и поризованного ...................... 0,80

- при использовании коэффициента условий работы бетона

(см.
п. 3.1);

- при использовании коэффициента

или

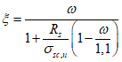
;

- в МПа.
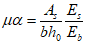
Значения

и

приведены для элементов из тяжелого бетона - в табл. 18, из мелкозернистого группы А, легкого и поризованного бетонов - в
табл. 19.
Коэффициент условий работы бетона  | Класс растянутой арматуры | Обозначение | Значения  ,  ,  и  для элементов из тяжелого бетона классов |
B12,5 | B15 | B20 | B25 | B30 | B35 | B40 | B45 | B50 | B55 | B60 |
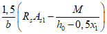
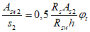
0,9 | Любой | | 0,796 | 0,788 | 0,766 | 0,746 | 0,726 | 0,710 | 0,690 | 0,670 | 0,650 | 0,634 | 0,614 |
А-III (  10 - 40) и Вр-I (  4; 5) | | 0,662 | 0,652 | 0,627 | 0,604 | 0,582 | 0,564 | 0,542 | 0,521 | 0,500 | 0,484 | 0,464 |
| 0,443 | 0,440 | 0,430 | 0,422 | 0,413 | 0,405 | 0,395 | 0,381 | 0,376 | 0,367 | 0,355 |
| 4,96 | 4,82 | 4,51 | 4,26 | 4,03 | 3,86 | 3,68 | 3,50 | 3,36 | 3,23 | 3,09 |
А-II | | 0,689 | 0,680 | 0,650 | 0,632 | 0,610 | 0,592 | 0,571 | 0,550 | 0,531 | 0,512 | 0,490 |
| 0,452 | 0,449 | 0,439 | 0,432 | 0,424 | 0,417 | 0,408 | 0,399 | 0,390 | 0,381 | 0,370 |
| 6,46 | 6,29 | 5,88 | 5,55 | 5,25 | 5,04 | 4,79 | 4,57 | 4,38 | 4,22 | 4,03 |
А-I | | 0,708 | 0,698 | 0,674 | 0,652 | 0,630 | 0,612 | 0,591 | 0,570 | 0,551 | 0,533 | 0,510 |
| 0,457 | 0,455 | 0,447 | 0,439 | 0,432 | 0,425 | 0,416 | 0,407 | 0,399 | 0,391 | 0,380 |
| 8,04 | 7,82 | 7,32 | 6,91 | 6,54 | 6,27 | 5,96 | 5,68 | 5,46 | 5,25 | 5,01 |
1,0 | Любой | | 0,790 | 0,782 | 0,758 | 0,734 | 0,714 | 0,694 | 0,674 | 0,650 | 0,630 | 0,610 | 0,586 |
А-III (  10 - 40) и Bp-I (  4; 5) | | 0,628 | 0,619 | 0,591 | 0,563 | 0,541 | 0,519 | 0,498 | 0,473 | 0,453 | 0,434 | 0,411 |
| 0,431 | 0,427 | 0,416 | 0,405 | 0,395 | 0,384 | 0,374 | 0,361 | 0,350 | 0,340 | 0,327 |
| 3,89 | 3,79 | 3,52 | 3,29 | 3,12 | 2,97 | 2,83 | 2,68 | 2,56 | 2,46 | 2,35 |
А-II | | 0,660 | 0,650 | 0,623 | 0,593 | 0,573 | 0,551 | 0,530 | 0,505 | 0,485 | 0,465 | 0,442 |
| 0,442 | 0,439 | 0,429 | 0,417 | 0,409 | 0,399 | 0,390 | 0,378 | 0,367 | 0,357 | 0,344 |
| 5,07 | 4,94 | 4,60 | 4,29 | 4,07 | 3,87 | 3,69 | 3,49 | 3,34 | 3,21 | 3,06 |
А-I | | 0,682 | 0,673 | 0,645 | 0,618 | 0,596 | 0,575 | 0,553 | 0,528 | 0,508 | 0,488 | 0,464 |
| 0,449 | 0,447 | 0,437 | 0,427 | 0,419 | 0,410 | 0,400 | 0,389 | 0,379 | 0,369 | 0,356 |
| 6,31 | 6,15 | 5,72 | 5,34 | 5,07 | 4,82 | 4,59 | 4,35 | 4,16 | 3,99 | 3,80 |
1,1 | Любой | | 0,784 | 0,775 | 0,750 | 0,722 | 0,698 | 0,678 | 0,653 | 0,630 | 0,606 | 0,586 | 0,558 |
А-III (  10 - 40) и Вр-I (  4; 5) | | 0,621 | 0,610 | 0,581 | 0,550 | 0,523 | 0,502 | 0,481 | 0,453 | 0,429 | 0,411 | 0,385 |
| 0,428 | 0,424 | 0,412 | 0,399 | 0,386 | 0,376 | 0,365 | 0,351 | 0,346 | 0,327 | 0,312 |
| 3,81 | 3,71 | 3,44 | 3,19 | 3,00 | 2,86 | 2,73 | 2,56 | 2,52 | 2,35 | 2,23 |
А-II | | 0,650 | 0,642 | 0,613 | 0,582 | 0,556 | 0,534 | 0,514 | 0,485 | 0,477 | 0,442 | 0,417 |
| 0,439 | 0,436 | 0,425 | 0,413 | 0,401 | 0,391 | 0,382 | 0,361 | 0,363 | 0,344 | 0,330 |
| 4,97 | 4,84 | 4,49 | 4,16 | 3,91 | 3,72 | 3,53 | 3,34 | 3,29 | 3,06 | 2,91 |
А-I | | 0,675 | 0,665 | 0,636 | 0,605 | 0,579 | 0,558 | 0,537 | 0,509 | 0,500 | 0,464 | 0,439 |
| 0,447 | 0,444 | 0,434 | 0,422 | 0,411 | 0,402 | 0,393 | 0,379 | 0,375 | 0,356 | 0,343 |
| 6,19 | 6,02 | 5,59 | 5,17 | 4,86 | 4,63 | 4,42 | 4,16 | 4,09 | 3,80 | 3,62 |
Примечание. Значения

и

, приведенные в
табл. 18, вычислены без учета коэффициентов

по
табл. 9.
Коэффициент условий работы бетона  | Класс растянутой арматуры | Обозначение | Значения  ,  ,  и  для элементов из мелкозернистого бетона группы А, легкого и поризованного бетонов классов |
B5 | B7,5 | B10 | B12,5 | B15 | B20 | B25 | B30 | B35 | B40 |
0,9 | Любой | | 0,780 | 0,768 | 0,757 | 0,746 | 0,738 | 0,716 | 0,696 | 0,676 | 0,660 | 0,640 |
А-III (  10 - 40) и Вр-I (  4; 5) | | 0,643 | 0,629 | 0,617 | 0,604 | 0,595 | 0,571 | 0,551 | 0,528 | 0,510 | 0,490 |
| 0,436 | 0,431 | 0,427 | 0,422 | 0,418 | 0,408 | 0,399 | 0,388 | 0,380 | 0,370 |
| 4,71 | 4,54 | 4,39 | 4,26 | 4,16 | 3,92 | 3,75 | 3,55 | 3,42 | 3,28 |
А-II | | 0,671 | 0,657 | 0,644 | 0,632 | 0,623 | 0,599 | 0,577 | 0,556 | 0,539 | 0,519 |
| 0,446 | 0,441 | 0,437 | 0,432 | 0,429 | 0,420 | 0,411 | 0,401 | 0,394 | 0,384 |
| 6,14 | 5,92 | 5,73 | 5,55 | 5,43 | 5,12 | 4,86 | 4,63 | 4,46 | 4,27 |
А-I | | 0,690 | 0,676 | 0,664 | 0,652 | 0,643 | 0,619 | 0,597 | 0,576 | 0,559 | 0,539 |
| 0,452 | 0,448 | 0,444 | 0,439 | 0,436 | 0,427 | 0,419 | 0,410 | 0,403 | 0,394 |
| 7,64 | 7,36 | 7,13 | 6,91 | 6,75 | 6,37 | 6,05 | 5,76 | 5,56 | 5,31 |
1,1 | Любой | | 0,774 | 0,761 | 0,747 | 0,734 | 0,725 | 0,700 | 0,672 | 0,648 | 0,628 | 0,608 |
А-III (  10 - 40) и Вр-I (  4; 5) | | 0,609 | 0,594 | 0,578 | 0,563 | 0,553 | 0,526 | 0,496 | 0,471 | 0,451 | 0,432 |
| 0,424 | 0,418 | 0,411 | 0,405 | 0,400 | 0,388 | 0,373 | 0,360 | 0,349 | 0,339 |
| 3,70 | 3,56 | 3,42 | 3,29 | 3,22 | 3,01 | 2,82 | 2,67 | 2,55 | 2,45 |
А-II | | 0,641 | 0,626 | 0,610 | 0,595 | 0,585 | 0,558 | 0,528 | 0,503 | 0,482 | 0,463 |
| 0,436 | 0,430 | 0,424 | 0,418 | 0,414 | 0,402 | 0,389 | 0,377 | 0,366 | 0,356 |
| 4,82 | 4,64 | 4,45 | 4,29 | 4,19 | 3,67 | 3,48 | 3,30 | 3,33 | 3,19 |
А-I | | 0,663 | 0,648 | 0,633 | 0,618 | 0,608 | 0,581 | 0,551 | 0,526 | 0,506 | 0,486 |
| 0,443 | 0,438 | 0,433 | 0,427 | 0,423 | 0,412 | 0,399 | 0,388 | 0,378 | 0,368 |
| 6,00 | 5,71 | 5,54 | 5,34 | 5,21 | 4,89 | 4,57 | 4,33 | 4,14 | 3,97 |
| | ИС МЕГАНОРМ: примечание. Значения даны в соответствии с официальным текстом документа. | |
Примечание. Значения

и

, приведенные в
табл. 19, вычислены без учета коэффициентов

по
табл. 9.
3.15. Расчет прямоугольных сечений с арматурой, сосредоточенной у сжатой и растянутой граней элемента
(черт. 4), производится следующим образом в зависимости от высоты сжатой зоны

; (16)
а) при

- из условия

; (17)
б) при

- из условия

, (18)
где

.
Черт. 4. Схема усилий в поперечном прямоугольном сечении
изгибаемого железобетонного элемента
При этом расчетную несущую способность сечения можно несколько увеличить путем замены в
условии (18) значения

на

, где при

или по
табл. 20. Значения

и

определяются по
табл. 18 и
19. Если x <= 0, прочность проверяется из условия

. (19)
Примечание. Если высота сжатой зоны, определенная с учетом половины сжатой арматуры,

, расчетную несущую способность сечения можно несколько увеличить, производя расчет по
формулам (16) и
(17) без учета сжатой арматуры

.
| | |
0,01 | 0,995 | 0,010 |
0,02 | 0,990 | 0,020 |
0,03 | 0,985 | 0,030 |
0,04 | 0,980 | 0,039 |
0,05 | 0,975 | 0,049 |
0,06 | 0,970 | 0,058 |
0,07 | 0,965 | 0,068 |
0,08 | 0,960 | 0,077 |
0,09 | 0,955 | 0,086 |
0,10 | 0,950 | 0,095 |
0,11 | 0,945 | 0,104 |
0,12 | 0,940 | 0,113 |
0,13 | 0,935 | 0,122 |
0,14 | 0,930 | 0,130 |
0,15 | 0,925 | 0,139 |
0,16 | 0,920 | 0,147 |
0,17 | 0,915 | 0,156 |
0,18 | 0,910 | 0,164 |
0,19 | 0,905 | 0,172 |
0,20 | 0,900 | 0,180 |
0,21 | 0,895 | 0,188 |
0,22 | 0,890 | 0,196 |
0,23 | 0,885 | 0,204 |
0,24 | 0,880 | 0,211 |
0,25 | 0,875 | 0,219 |
0,26 | 0,870 | 0,226 |
0,27 | 0,865 | 0,234 |
0,28 | 0,860 | 0,241 |
0,29 | 0,855 | 0,243 |
0,30 | 0,850 | 0,255 |
0,31 | 0,845 | 0,262 |
0,32 | 0,840 | 0,269 |
0,33 | 0,835 | 0,276 |
0,34 | 0,830 | 0,282 |
0,35 | 0,825 | 0,289 |
0,36 | 0,820 | 0,295 |
0,37 | 0,815 | 0,302 |
0,38 | 0,810 | 0,308 |
0,39 | 0,805 | 0,314 |
0,40 | 0,800 | 0,320 |
0,41 | 0,795 | 0,326 |
0,42 | 0,790 | 0,332 |
0,43 | 0,785 | 0,338 |
0,44 | 0,780 | 0,343 |
0,45 | 0,775 | 0,349 |
0,46 | 0,770 | 0,354 |
0,47 | 0,765 | 0,360 |
0,48 | 0,760 | 0,365 |
0,49 | 0,755 | 0,370 |
0,50 | 0,750 | 0,375 |
0,51 | 0,745 | 0,380 |
0,52 | 0,740 | 0,385 |
0,53 | 0,735 | 0,390 |
0,54 | 0,730 | 0,394 |
0,55 | 0,725 | 0,399 |
0,56 | 0,720 | 0,403 |
0,57 | 0,715 | 0,407 |
0,58 | 0,710 | 0,412 |
0,59 | 0,705 | 0,416 |
0,60 | 0,700 | 0,420 |
0,62 | 0,690 | 0,428 |
0,64 | 0,680 | 0,435 |
0,66 | 0,670 | 0,442 |
0,68 | 0,660 | 0,449 |
0,70 | 0,650 | 0,455 |
0,72 | 0,640 | 0,461 |
0,74 | 0,630 | 0,466 |
0,76 | 0,620 | 0,471 |
0,78 | 0,610 | 0,476 |
0,80 | 0,600 | 0,480 |
0,85 | 0,575 | 0,489 |
0,90 | 0,550 | 0,495 |
0,95 | 0,525 | 0,499 |
1,00 | 0,500 | 0,500 |
- | - | - |
Для изгибаемых элементов прямоугольного сечения:

.
3.16. Изгибаемые элементы рекомендуется проектировать так, чтобы обеспечить выполнение условия

. Невыполнение этого условия можно допустить лишь в случае, когда площадь сечения растянутой арматуры определена из расчета по предельным состояниям второй группы или принята по конструктивным соображениям.
3.17. Проверка прочности прямоугольных сечений с одиночной арматурой производится:
при

- из условия

, (20)
где высота сжатой зоны равна

;
при

- из условия

, (21)
при этом расчетную несущую способность сечения можно несколько увеличить, если использовать рекомендации
п. 3.15б [

- см.
формулу (14) или
табл. 18 и
19].
3.18. Подбор продольной арматуры производится следующим образом. Вычисляется значение

. (22)
Если

(см.
табл. 18 и
19), сжатая арматура по расчету не требуется.
При отсутствии сжатой арматуры площадь сечения растянутой арматуры определяется по формуле

, (23)
где

- определяется по
табл. 20 в зависимости от значения

.
Если

, то требуется увеличить сечение или повысить марку бетона или установить сжатую арматуру согласно
п. 3.19.
При учете коэффициента условий работы бетона

(см.
п. 3.1) подбор растянутой арматуры можно также производить, пользуясь
Прил. 2.
3.19. Площади сечений растянутой

и сжатой

арматуры, соответствующие минимуму их суммы, для элементов из бетона класса B30 и ниже рекомендуется определять, если по расчету требуется сжатая арматура (см.
п. 3.18), по формулам:

; (24)

. (25)
Если значение принятой площади сечения сжатой арматуры

значительно превышает значение, вычисленное по формуле (24), площадь сечения растянутой арматуры определяется с учетом фактического значения площади

по формуле

, (26)
где

- определяется по
табл. 20 в зависимости от значения

, которое должно удовлетворять условию

(см.
табл. 18 и
19).
ТАВРОВЫЕ И ДВУТАВРОВЫЕ СЕЧЕНИЯ
3.20. Расчет сечений, имеющих полку в сжатой зоне (тавровых, двутавровых и т.п.), должен производиться в зависимости от положения границы сжатой зоны:
а) если граница сжатой зоны проходит в полке
(черт. 5, а), т.е. соблюдается условие

, (27)
расчет производится как для прямоугольного сечения шириной

в соответствии с
пп. 3.15 и
3.17;
б) если граница сжатой зоны проходит в ребре
(черт. 5, б), т.е. условие (27) не соблюдается, расчет производится из условия

. (28)
Черт. 5. Положение границы сжатой зоны в тавровом сечении
изгибаемого железобетонного элемента
а - в полке; б - в ребре
При этом высота сжатой зоны бетона x определяется по формуле

(29)

, (30)
При этом следует учитывать рекомендации
п. 3.16.
Примечания 1. При переменной высоте свесов полки допускается принимать значение

равным средней высоте свесов.
2. Ширина сжатой полки

, вводимая в расчет, не должна превышать величин, указанных в
п. 3.23.
3.21. Требуемая площадь сечения сжатой арматуры определяется по формуле

, (31)
3.22. Требуемая площадь сечения растянутой арматуры определяется следующим образом:
а) если граница сжатой зоны проходит в полке, т.е. соблюдается условие

, (32)
площадь сечения растянутой арматуры определяется как для прямоугольного сечения шириной

в соответствии с
пп. 3.18 и
3.19;
б) если граница сжатой зоны проходит в ребре, т.е.
условие (32) не соблюдается, площадь сечения растянутой арматуры определяется по формуле

, (33)
где

определяется по
табл. 20 в зависимости от значения

. (34)
При этом должно удовлетворяться условие

(см.
табл. 18 и
19).
3.23
(3.16). Вводимое в расчет значение

принимается из условия, что ширина свеса в каждую сторону от ребра должна быть не более 1/6 пролета элемента и не более:
а) при наличии поперечных ребер или при

- 1/2 расстояния в свету между продольными ребрами;
б) при отсутствии поперечных ребер (или при расстояниях между ними больших, чем расстояния между продольными ребрами) и

;
в) при консольных свесах полки:
при

;
"

;
"

- свесы не учитываются.
Прямоугольные сечения
Пример 2. Дано: сечение размерами b = 300 мм, h = 600 мм; a = 40 мм;

(нагрузки непродолжительного действия отсутствуют); изгибающий момент M = 200 кН x м; бетон тяжелый класса B15 (

); арматура класса А-II (

= 280 МПа).
Требуется определить площадь сечения продольной арматуры.
Расчет.

. Подбор продольной арматуры производим согласно
п. 3.18. По
формуле (22) вычислим значение

:

.
Из
табл. 18 для элемента из бетона класса B15 с арматурой класса А-II при

находим

.
Так как

, сжатая арматура по расчету не требуется.
Требуемую площадь сечения растянутой арматуры определим по
формуле (23):

.
Принимаем

(

).
Пример 3. Дано: сечение размерами b = 300 мм, h = 800 мм; a = 70 мм; растянутая арматура класса А-III (

); площадь ее сечения

(

);

(нагрузки непродолжительного действия отсутствуют); бетон тяжелый класса B25 (

); изгибающий момент M = 550 кН x м.
Требуется проверить прочность сечения.
Расчет.

. Проверку прочности сечения производим согласно
п. 3.17.
Определим значение x:

.
Из
табл. 18 для элементов из бетона класса B25 с арматурой класса А-III при

находим

.

,
т.е. прочность сечения обеспечена.
Пример 4. Дано: сечение размерами b = 300 мм, h = 800 мм; a = 50 мм; арматура класса А-III (

); изгибающий момент с учетом крановой нагрузки

; момент без учета крановой нагрузки

; бетон тяжелый класса B15 (

при

).
Требуется определить площадь сечения продольной арматуры.
Расчет производим на полную нагрузку, корректируя расчетное сопротивление бетона согласно
п. 3.1.
Так как

, принимаем

.
Вычислим

.
Определим требуемую площадь продольной арматуры согласно
п. 3.18. По
формуле (22) находим значение

:

.
Так как

(см.
табл. 18 при

), при заданных размерах сечения и классе бетона необходима сжатая арматура. Далее расчет производим согласно
п. 3.19.
Принимая

, по
формулам (24) и
(25) определим необходимую площадь сечения сжатой и растянутой арматуры:

;

.
Пример 5. Дано: сечение размерами b = 300 мм, h = 700 мм; a = 50 мм,

; бетон тяжелый класса B30 (

при

); арматура класса А-III (

); площадь сечения сжатой арматуры

(

); изгибающий момент M = 580 кН x м.
Требуется определить площадь сечения растянутой арматуры.
Расчет.

. Расчет производим с учетом площади сжатой арматуры согласно
п. 3.19.
Вычислим значение

:

;

.
Принимаем

(

).
Пример 6. Дано: сечение размерами b = 300 мм, h = 700 мм; a = 70 мм,

; бетон тяжелый класса B25 (

при

); арматура класса А-III (

); площадь сечения растянутой арматуры

(

), сжатой

(

); изгибающий момент M = 600 кН x м.
Требуется проверить прочность сечения.
Расчет.

. Проверку прочности сечения производим согласно
п. 3.15.

.

,
т.е. прочность сечения обеспечена.
Тавровые и двутавровые сечения
Пример 7. Дано: сечение размерами

,

, b = 200 мм, h = 400 мм; a = 40 мм; бетон тяжелый класса B25 (

при

); арматура класса А-III (

); изгибающий момент M = 300 кН x м.
Требуется определить площадь сечения продольной арматуры.
Расчет.

. Расчет производим согласно
п. 3.22 в предположении, что сжатая арматура по расчету не требуется.
Проверим
условие (32), принимая

;

, т.е. граница сжатой зоны проходит в полке, и расчет производим как для прямоугольного сечения шириной

согласно
п. 3.18. Вычислим значение

:
т.е. сжатая арматура действительно не требуется.
Площадь сечения растянутой арматуры вычислим по
формуле (23). Для этого по
табл. 20 при

находим

, тогда

.
Принимаем

(

).
Пример 8. Дано: сечение размерами

,

, b = 200 мм, h = 600 мм; a = 60 мм; бетон тяжелый класса B15 (

при

); арматура класса А-III (

); изгибающий момент M = 270 кН x м.
Требуется определить площадь сечения растянутой арматуры.
Расчет.

. Расчет производим согласно
п. 3.22 в предположении, что сжатая арматура не требуется.
Так как

, т.е. граница сжатой зоны проходит в ребре, площадь сечения растянутой арматуры определим по
формуле (33).
Для этого вычислим значение

:
(см.
табл. 18), следовательно, сжатая арматура не требуется.

.
Принимаем

(

).
Пример 9. Дано: сечение размерами

,

, b = 200 мм, h = 600 мм; a = 70 мм; бетон тяжелый класса B25 (

при

); растянутая арматура класса А-III (

); площадь ее сечения

(

);

; изгибающий момент M = 300 кН x м.
Требуется проверить прочность сечения.
Расчет.

. Проверку прочности сечения производим согласно
п. 3.20, принимая

. Так как

, граница сжатой зоны проходит в ребре. Прочность сечения проверим из
условия (28).

,
т.е. прочность сечения обеспечена.
ЭЛЕМЕНТЫ, РАБОТАЮЩИЕ НА КОСОЙ ИЗГИБ
3.24. Расчет прямоугольных, тавровых, двутавровых и Г-образных сечений элементов, работающих на косой изгиб, допускается производить, принимая форму сжатой зоны по
черт. 6, при этом должно удовлетворяться условие

, (35)
где

- составляющая изгибающего момента в плоскости оси x (за оси x и y принимаются две взаимно перпендикулярные оси, проходящие через центр тяжести сечения растянутой арматуры параллельно сторонам сечения; для сечения с полкой ось x принимается параллельно плоскости ребра);

; (36)

- площадь сжатой зоны бетона, равная:

; (37)

- площадь наиболее сжатого свеса полки;

- размер сжатой зоны бетона по наиболее сжатой боковой стороне сечения, определяемый по формуле

; (38)

- расстояние от центра тяжести сечения растянутой арматуры до наиболее сжатой боковой грани ребра (стороны);

- статический момент площади

в плоскости оси y относительно оси x;

- статический момент площади

в плоскости оси y относительно оси x;

- составляющая изгибающего момента в плоскости оси y;

- статический момент площади

в плоскости оси x относительно оси y;

- статический момент площади

в плоскости оси x относительно оси y.
а)
б)
Черт. 6. Форма сжатой зоны в поперечном сечении
железобетонного элемента, работающего на косой изгиб
а - таврового сечения; б - прямоугольного сечения;
1 - плоскость действия изгибающего момента;
2 - центр тяжести сечения растянутой арматуры
Если учитываемые в расчете растянутые арматурные стержни располагаются в плоскости оси x
(черт. 7), значение

вычисляется по формуле

, (39)
где

;

- угол наклона плоскости действия изгибающего момента к оси x, т.е.

.
Черт. 7. Сечение с растянутыми арматурными
стержнями в плоскости оси x
Формулой (39) также следует пользоваться независимо от расположения арматуры, если необходимо определить предельное значение изгибающего момента при заданном угле

.
Если

или

, расчет производится как для прямоугольного сечения шириной

.
Если выполняется условие

(40)
(где

- ширина наименее сжатого свеса полки), расчет производится без учета косого изгиба, т.е. по формулам
пп. 3.15 и
3.20, на действие момента

, при этом следует проверить условие (41), принимая

, как при косом изгибе.
При определении значения

по
формуле (37) напряжение в растянутом стержне, ближайшем к границе сжатой зоны, не должно быть менее

, что обеспечивается соблюдением условия

, (41)

- расстояния от рассматриваемого стержня соответственно до наиболее сжатой боковой грани ребра (стороны) и до наиболее сжатой грани, нормальной к оси x (см.
черт. 6);

- ширина наиболее сжатого свеса;

- угол наклона прямой, ограничивающей сжатую зону, к оси y; значение

определяется по формуле

.
Если
условие (41) не соблюдается, расчет сечения производится последовательными приближениями, заменяя в
формуле (37) для каждого растянутого стержня величину

значениями напряжений, равными:

, но не более

,
где

- принимаются по
табл. 18 и
19, при этом оси x и y проводятся через равнодействующую усилий в растянутых стержнях.
При проектировании конструкций не рекомендуется допускать превышения значения

над

более чем на 20%, при этом допускается производить только один повторный расчет с заменой в
формуле (37) значений

для растянутых стержней, для которых

, на напряжения, равные:

. (42)
При повторном расчете значение

определяется по
формуле (39) независимо от расположения растянутых стержней.
Расчет на косой изгиб производится согласно
п. 3.27, если выполняются условия:
для прямоугольных, тавровых и Г-образных сечений с полкой в сжатой зоне

; (43)
для двутавровых, тавровых и Г-образных сечений с полкой в растянутой зоне

, (44)
где

- высота и ширина наименее растянутого свеса полки (черт. 8).
Черт. 8. Тавровое сечение со сжатой зоной,
заходящей в наименее растянутый свес полки
При пользовании
формулой (37) за растянутую арматуру площадью

рекомендуется принимать арматуру, располагаемую вблизи растянутой грани, параллельной оси y, а за сжатую арматуру площадью

- арматуру, располагаемую вблизи сжатой грани, параллельной оси y, но по одну наиболее сжатую сторону от оси x (см.
черт. 6).
3.25. Требуемое количество растянутой арматуры при косом изгибе для элементов прямоугольного, таврового и Г-образного сечений с полкой в сжатой зоне рекомендуется определять с помощью
черт. 9. Для этого ориентировочно задаются положением центра тяжести сечения растянутой арматуры и по графику определяют

в зависимости от значений:

;
Черт. 9. График несущей способности прямоугольного,
таврового и Г-образного сечений для элементов,
работающих на косой изгиб
Если

, расчет производится как для прямоугольного сечения, принимая

.
Если значение

на графике находится по левую сторону от кривой, отвечающей параметру

, подбор арматуры производится без учета косого изгиба, т.е. согласно
пп. 3.18,
3.19 и
3.22, на действие момента

.
Требуемая площадь растянутой арматуры при условии работы ее с полным расчетным сопротивлением определяется по формуле

, (45)
Центр тяжести сечения фактически принятой растянутой арматуры должен отстоять от растянутых граней не дальше, чем принятый в расчете центр тяжести. В противном случае расчет повторяют, принимая новый центр тяжести сечения растянутой арматуры.
Условием работы растянутой арматуры с полным расчетным сопротивлением является выполнение
условия (41).
Для элементов из бетона класса B25 и ниже
условие (41) всегда выполняется, если значения

на
черт. 9 находятся внутри области, ограниченной осями координат и кривой, отвечающей параметру

.
Если
условие (41) не выполняется, следует поставить (увеличить) сжатую арматуру либо повысить класс бетона либо увеличить размеры сечения (особенно наиболее сжатого свеса).
Значения

на графике не должны находиться между осью

и кривой, соответствующей параметру

. В противном случае

становится более h, и расчет тогда производится согласно п. 3.27.
3.26. Расчет на косой изгиб прямоугольных и двутавровых симметричных сечений с симметрично расположенной арматурой может производиться согласно
п. 3.76, принимая N = 0.
3.27. Для не оговоренных в
пп. 3.24 - 3.26 сечений, а также при выполнении
условий (43) и
(44) или если арматура распределена по сечению, что не позволяет до расчета установить значения

и

и расположение центров тяжести растянутой и сжатой арматуры, расчет на косой изгиб следует производить, пользуясь формулами для общего случая расчета нормального сечения (см.
п. 3.76) с учетом указаний
п. 3.13.
Порядок пользования формулами общего случая рекомендуется следующий:
1) проводят две взаимно перпендикулярные оси x и y через центр тяжести сечения наиболее растянутого стержня по возможности параллельно сторонам сечения;
2) подбирают последовательными приближениями положение прямой, ограничивающей сжатую зону, так, чтобы при N = 0 удовлетворялось
равенство (154) после подстановки в него значений

, определенных по
формуле (155). При этом угол наклона этой прямой

принимают постоянным и равным углу наклона нейтральной оси, определенному как для упругого материала;
3) определяют моменты внутренних усилий относительно осей x и y соответственно

и

.
Если оба эти момента оказываются больше или меньше соответствующих составляющих внешнего момента (

и

), прочность сечения считается соответственно обеспеченной или необеспеченной.
Если один из моментов (например,

) меньше соответствующей составляющей внешнего момента

, а другой момент больше составляющей внешнего момента (т.е.

), задаются другим углом

(

, чем ранее принятый) и вновь производят аналогичный расчет.
Пример 10. Дано: железобетонный прогон кровли с уклоном 1:4 (

); сечение и расположение арматуры - по
черт. 10;

(нагрузки непродолжительного действия отсутствуют); бетон тяжелый класса B25 (

); растянутая арматура класса А-III (

); площадь ее сечения

(

);

; изгибающий момент в вертикальной плоскости M = 82,6 кН x м.
Требуется проверить прочность сечения.

;

;

;

.
1 - плоскость действия изгибающего момента;
2 - центр тяжести сечения растянутой арматуры

.
Площадь наиболее сжатого свеса полки и статические моменты этой площади относительно осей x и y соответственно равны:

;

;

.
Так как

, расчет продолжаем как для таврового сечения.

.
Составляющие изгибающего момента в плоскости осей y и x соответственно равны (при

):

;

.
Определим по
формуле (38) размер сжатой зоны бетона

по наиболее сжатой стороне сечения, принимая

:

.

.
Следовательно, расчет продолжаем по формулам косого изгиба.

;

.
Поскольку все стержни одинакового диаметра, новые значения

и

будут равны:

;

;

.
Аналогично определим значения

и

:

;

;

.

;

.

,
т.е. прочность сечения обеспечена.
Пример 11. По данным
примера 10 необходимо подобрать площадь растянутой арматуры при моменте в вертикальной плоскости M = 64 кН x м.
Расчет. Составляющие изгибающего момента в плоскости осей y и x равны:

;

.
Определим необходимое количество арматуры согласно
п. 3.25.
Принимая значения

из
примера 10, находим значения

и

:

;

.
Так как

, расчет продолжаем как для таврового сечения.
Поскольку точка с координатами

и

на
черт. 9 находится по правую сторону от кривой, отвечающей параметру

, и по левую сторону от кривой, отвечающей параметру

, арматура будет работать с полным расчетным сопротивлением, т.е.
условие (41) выполнено. Требуемую площадь растянутой арматуры определим по
формуле (45).
По
черт. 9 при

и

находим

. Тогда, принимая

, имеем

.
Принимаем стержни

(

) и располагаем их, как показано на
черт. 10.
Пример 12. Дано: навесная стеновая панель общественного здания пролетом 5,8 м с поперечным сечением по
черт. 11; бетон легкий класса B3,5, марки по средней плотности D1100; арматура класса А-III; нагрузки на панель в стадии эксплуатации: в плоскости панели - собственный вес и вес вышерасположенного остекления (включая простенки) высотой 3 м - 3,93 кН/м
2, из плоскости панели - ветровая нагрузка 0,912 кН/м
2.
Требуется проверить прочность панели в стадии эксплуатации.
1 - 8 - стержни
Расчет. Сначала определим изгибающие моменты, действующие в среднем сечении панели в плоскости и из плоскости панели.
Согласно
п. 2.13 определим нагрузку от собственного веса панели. Поскольку класс легкого бетона ниже B12,5, плотность бетона панели равна

. Тогда нагрузка от собственного веса панели будет равна:

,
а с учетом коэффициента надежности по нагрузке

(поскольку

)

.
Нагрузка от веса вышерасположенного остекления

.
Итого нагрузка, действующая в плоскости панели, равна:

,
а момент в середине панели от этой нагрузки

.
Ветровая нагрузка на 1 м длины панели, учитывая передачу нагрузки от выше- и нижерасположенного остекления, равна:

,
а момент от этой нагрузки равен:

.
Поскольку арматура распределена неравномерно по всему сечению, прочность проверим по формулам общего случая расчета согласно
п. 3.76 (с учетом
п. 3.13).
Все стержни обозначим номерами, как показано на
черт. 11. Через центр наиболее растянутого стержня 1 проводим ось x параллельно размеру h = 1195 мм и ось y - параллельно размеру b = 340 мм.
Угол

между осью y и прямой, ограничивающей сжатую зону, принимаем как при расчете упругого тела на косой изгиб:

.
Определим в первом приближении площадь сжатой зоны бетона по
формуле (37), т.е. приняв все стержни с полными расчетными сопротивлениями, при этом стержень 8 принимаем сжатым, а остальные стержни - растянутыми.
Для стержней 1, 2, 7, 8 (

) имеем

, а для стержней 3 - 6 (

) -

, тогда:

;

.
Поскольку имеет место ветровая нагрузка, значение

принимаем с учетом коэффициента

, т.е.

.

.
Площадь сжатой зоны в предположении треугольной ее формы определяется по формуле

, где

- размер сжатой зоны по стороне сечения h, отсюда

равен:

.
Размер

сжатой зоны по стороне сечения b равен:

,
т.е. действительно сжатая зона имеет треугольную форму.
Нанеся эти размеры на
черт. 11, видим, что стержень 8 оказался в сжатой зоне, а все остальные - в растянутой. Проверим напряжение

в стержнях, ближайших к границе сжатой зоны, т.е. в стержнях 6 - 8, по
формуле (155), определяя отношения

по формуле

, где

и

- расстояния от i-го стержня до наиболее сжатой стороны сечения соответственно в направлении осей x и y.
Принимая

,

, получим

.
Вычисления сведем в следующую таблицу:
Номер стержня | Asi, мм2 | ayi, мм | axi, мм |  , мм | |  , МПа |
6 | 28,3 | 40 | 555 | 662 | 0,719 | 120,9 < 355 |
7 | 78,5 | 300 | 80 | 881 | 0,54 | 620 > 365 |
8 | 78,5 | 40 | 80 | 187 | 2,545 | -959 < -365 |
Из таблицы видно, что только для стержня 6 было принято при вычислении

неправильное напряжение: 355 МПа вместо 120,9 МПа. Принимаем в этом стержне напряжение несколько

, чем вычисленное, -

. Из
равенства (154) при N = 0 вычислим значение

:

.
Аналогично вычислим

.
Отсюда для стержня 6 имеем:

;

,
т.е. значение

близко к принятому, и, следовательно,

и

не следует пересчитывать.
Определим моменты внутренних сил относительно осей y и x соответственно

и

.

;

;

.
Поскольку оба внутренних момента превышают обе составляющие внешнего момента, прочность сечения обеспечена.
РАСЧЕТ СЕЧЕНИЙ, НАКЛОННЫХ К ПРОДОЛЬНОЙ ОСИ ЭЛЕМЕНТА
3.28
(3.29). Расчет железобетонных элементов по наклонным сечениям должен производиться для обеспечения прочности:
на действие поперечной силы по наклонной полосе между наклонными трещинами согласно
п. 3.30;
на действие поперечной силы по наклонной трещине для элементов с поперечной арматурой согласно
пп. 3.31 -
3.39, для элементов без поперечной арматуры - согласно
пп. 3.40 и
3.41;
на действие изгибающего момента по наклонной трещине согласно
пп. 3.42 -
3.47.
Короткие консоли колонн рассчитываются на действие поперечных сил по наклонной сжатой полосе между грузом и опорой согласно
п. 3.99.
Балки, нагруженные одной или двумя сосредоточенными силами, располагаемыми не далее

от опоры, а также короткие балки пролетом

рекомендуется рассчитывать на действие поперечной силы, рассматривая прочность наклонной сжатой полосы между грузом и опорой с учетом соответствующих рекомендаций. Допускается производить расчет таких балок как элементов без поперечной арматуры согласно
п. 3.40.
Примечание. В настоящем Пособии под поперечной арматурой имеются в виду хомуты и отогнутые стержни (отгибы). Термин "хомуты" включает в себя поперечные стержни сварных каркасов и хомуты вязаных каркасов.
3.29. Расстояния между хомутами s, между опорой и концом отгиба, ближайшего к опоре,

, а также между концом предыдущего и началом последующего отгибов
(черт. 12) должны быть не более величины

:

, (46)
где

- см. табл. 21.
Бетон | Коэффициенты |
| | |
Тяжелый | 2,00 | 0,6 | 1,5 |
Мелкозернистый | 1,70 | 0,5 | 1,2 |
Легкий при марке по средней плотности D: | | | |
1900 и выше | 1,90 | 0,5 | 1,2 |
1800 и ниже при мелком заполнителе: | | | |
плотном | 1,75 | 0,4 | 1,0 |
пористом | 1,50 | 0,4 | 1,0 |
Черт. 12. Расстояния между хомутами, опорой и отгибами
Кроме того, эти расстояния должны удовлетворять конструктивным требованиям
пп. 5.69 и
5.71.
При линейном изменении ширины b по высоте в расчет наклонных сечений [в
формулу (46) и последующие] вводится ширина элемента на уровне середины высоты сечения (без учета полок).
РАСЧЕТ ЭЛЕМЕНТОВ НА ДЕЙСТВИЕ ПОПЕРЕЧНОЙ СИЛЫ
ПО НАКЛОННОЙ СЖАТОЙ ПОЛОСЕ
3.30
(3.30). Расчет железобетонных элементов на действие поперечной силы для обеспечения прочности по наклонной полосе между наклонными трещинами должен производиться из условия

, (47)
где Q - поперечная сила в нормальном сечении, принимаемом на расстоянии от опоры не менее

;

- коэффициент, учитывающий влияние хомутов, нормальных к оси элемента, и определяемый по формуле

, (48)
но не более 1,3;
здесь

;

- коэффициент, определяемый по формуле

, (49)
здесь

- коэффициент, принимаемый равным для тяжелого и мелкозернистого бетонов - 0,01, для легкого бетона - 0,02;

- в МПа.
РАСЧЕТ НАКЛОННЫХ СЕЧЕНИЙ НА ДЕЙСТВИЕ ПОПЕРЕЧНОЙ СИЛЫ
ПО НАКЛОННОЙ ТРЕЩИНЕ
Элементы постоянной высоты,
армированные хомутами без отгибов
3.31. Проверка прочности наклонного сечения на действие поперечной силы по наклонной трещине
(черт. 13) производится из условия

, (50)
где Q - поперечная сила от внешней нагрузки, расположенной по одну сторону от рассматриваемого наклонного сечения; при вертикальной нагрузке, приложенной к верхней грани элемента, значение Q принимается в нормальном сечении, проходящем через наиболее удаленный от опоры конец наклонного сечения; при нагрузке, приложенной к нижней грани элемента или в пределах высоты его сечения, также допускается значение Q принимать в наиболее удаленном от опоры конце наклонного сечения, если хомуты, установленные на действие отрыва согласно
п. 3.97, не учитываются в данном расчете, при этом следует учитывать возможность отсутствия временной нагрузки на участке в пределах наклонного сечения;

- поперечное усилие, воспринимаемое бетоном и равное:

, (51)

; (52)

- коэффициент, учитывающий вид бетона и определяемый по
табл. 21;

- коэффициент, учитывающий влияние сжатых полок в тавровых и двутавровых элементах и определяемый по формуле

, (53)
но не более 0,5,
при этом значение

принимается не более

;
учет полок производится, если поперечная арматура в ребре заанкерена в полке, где расположена поперечная арматура, соединяющая свесы полки с ребром;
c - длина проекции наклонного сечения на продольную ось элемента, определяемая согласно
п. 3.32.
Черт. 13. Схема усилий в наклонном сечении элементов
с хомутами при расчете его на действие поперечной силы
Значение

принимается не менее

(

- см.
табл. 21);

- поперечное усилие, воспринимаемое хомутами и равное:

, (54)
здесь

- усилие в хомутах на единицу длины элемента в пределах наклонного сечения, определяемое по формуле

; (55)

- длина проекции наклонной трещины на продольную ось элемента, принимаемая равной:

, (56)
но не более c и не более

, а также не менее

, если

.
При этом для хомутов, устанавливаемых по расчету (т.е. когда не выполняются требования
пп. 3.40 и
3.41), должно удовлетворяться условие

. (57)
Разрешается не выполнять условие (57), если в
формуле (52) учитывать такое уменьшенное значение

, при котором условие (57) превращается в равенство, т.е. если принимать

; в этом случае всегда принимается

, но не более c.
3.32. При проверке
условия (50) в общем случае задаются рядом наклонных сечений при различных значениях c, не превышающих расстояния от опоры до сечения с максимальным изгибающим моментом и не более

.
При действии на элемент сосредоточенных сил значения c принимаются равными расстояниям от опоры до точек приложения этих сил (черт. 14).
Черт. 14. Расположение расчетных наклонных сечений
при сосредоточенных силах
1 - наклонное сечение, проверяемое на действие
поперечной силы

; 2 - то же, силы

При расчете элемента на действие равномерно распределенной нагрузки q значение c принимается равным

, а если

, следует принимать

, где значение

определяется следующим образом:
а) если действует фактическая равномерно распределенная нагрузка,

;
б) если нагрузка q включает в себя временную нагрузку, которая приводится к эквивалентной равномерно распределенной нагрузке v (когда эпюра моментов M от принятой в расчете нагрузки v всегда огибает эпюру M от любой фактической временной нагрузки),

(где g - постоянная сплошная нагрузка).
При этом значение Q принимается равным

, где

- поперечная сила в опорном сечении.
3.33. Требуемая интенсивность хомутов, выражаемая через

(см.
п. 3.31), определяется следующим образом:
а) при действии на элемент сосредоточенных сил, располагаемых на расстояниях

от опоры, для каждого наклонного сечения с длиной проекции

, не превышающей расстояния до сечения с максимальным изгибающим моментом, значение

определяется в зависимости от коэффициента

по одной из следующих формул:
если

,

; (58)
если

,

; (59)
если

,

; (60)
если

,

(61)
(здесь

принимается не более

).
Окончательно принимается наибольшее значение

.

- поперечная сила в нормальном сечении, расположенном на расстоянии

от опоры;

- принимается равным

, но не более

;
б) при действии на элемент только равномерно распределенной нагрузки q требуемая интенсивность хомутов определяется по формулам:
при


; (62)
при


(63)
(в обоих случаях

принимается не менее

);
при


. (64)
В случае, если полученное значение

не удовлетворяет
условию (57), его следует вычислить по формуле

,
здесь

;

- поперечная сила в опорном сечении;
3.34. При уменьшении интенсивности хомутов от опоры к пролету с

на

(например, увеличением шага хомутов) следует проверить
условие (50) при значениях c, превышающих

- длину участка элемента с интенсивностью хомутов
(черт. 15). При этом значение

принимается равным:
при


;
при


;
при


,
где

- определяются по
формуле (56) при

, соответственно равном

и

.
Черт. 15. К расчету наклонных сечений
при изменении интенсивности хомутов
При действии на элемент равномерно распределенной нагрузки длина участка с интенсивностью

принимается не менее значения

, определяемого следующим образом:
если

,

,
где

, но не более

;
при этом, если

,

;
если

,

,
Если для значения

не выполняется
условие (57), длина

вычисляется при скорректированных согласно
п. 3.31 значениях

и

, при этом сумма

принимается не менее нескорректированного значения

.
Элементы постоянной высоты, армированные отгибами
3.35. Проверка прочности наклонного сечения на действие поперечной силы для элемента с отгибами производится из
условия (50) с добавлением к правой части
условия (50) значения

, (65)
где

- площадь сечения отгибов, пересекающих опасную наклонную трещину с длиной проекции

;

- угол наклона отгибов к продольной оси элемента.
Значение

принимается равным длине участка элемента в пределах рассматриваемого наклонного сечения, для которого выражение

принимает минимальное значение. Для этого рассматриваются участки от конца наклонного сечения или от конца отгиба в пределах длины c до начала отгиба, более близкого к опоре, или до опоры (черт. 16), при этом длина участка принимается не более значения

, определяемого по
формуле (56), а наклонные трещины, не пересекающие отгибы, при значениях

менее вычисленных по
формуле (56) в расчете не рассматриваются.
Черт. 16. К определению наиболее опасной наклонной трещины
для элементов с отгибами при расчете
на действие поперечной силы
1 - 4 - возможные наклонные трещины;
5 - рассматриваемое наклонное сечение
На черт. 16 наиболее опасная наклонная трещина соответствует минимальному значению из следующих выражений:
1 -

;
2 -

;
3 -

;
4 -

Значения c принимаются равными расстояниям от опоры до концов отгибов, а также до мест приложения сосредоточенных сил; кроме того, следует проверить наклонные сечения, пересекающие последнюю плоскость отгибов и заканчивающиеся на расстоянии

, определяемом по
формуле (56), от начала последней и предпоследней плоскостей отгибов (черт. 17).
Черт. 17. Расположение расчетных наклонных сечений
в элементе с отгибами
1 - 4 - расчетные наклонные сечения
Элементы переменной высоты с поперечным армированием
3.36
(3.33). Расчет элементов с наклонными сжатыми гранями на действие поперечной силы производится согласно
пп. 3.31,
3.32,
3.34 и
3.35 с учетом рекомендаций
пп. 3.37 и
3.38, принимая в качестве рабочей высоты наибольшее значение

в пределах рассматриваемого наклонного сечения
(черт. 18, а).
Расчет элементов с наклонными растянутыми гранями на действие поперечной силы также рекомендуется производить согласно
пп. 3.31,
3.32,
3.34 и
3.35, принимая в качестве рабочей высоты наибольшее значение

в пределах наклонного сечения
(черт. 18, б).
Черт. 18. Балки с переменной высотой сечения
и наклонной гранью
а - сжатой; б - растянутой
Угол

между сжатой и растянутой гранями элемента должен удовлетворять условию

.
3.37. Для балок без отгибов высотой, равномерно увеличивающейся от опоры к пролету (см.
черт. 18), рассчитываемых на действие равномерно распределенной нагрузки q, наклонное сечение проверяется из
условия (50) при невыгоднейшем значении c, определяемом следующим образом:
если выполняется условие

, (66)
значение c вычисляется по формуле

; (67)
если
условие (66) не выполняется, значение c вычисляется по формуле

(при этом

), (68)
а также, если

,

(при этом

), (69)
здесь

;

- величина

, определяемая по
формуле (52) как для опорного сечения балки с рабочей высотой

без учета приопорного уширения ширины b;

- угол между сжатой и растянутой гранями балки;
Рабочая высота

при этом принимается равной

.
При уменьшении интенсивности хомутов от

у опоры до

в пролете следует проверить
условие (50) при значениях c, превышающих

- длину участка элемента с интенсивностью хомутов

, при этом значение

определяется согласно
п. 3.34.
Участки балки с постоянным характером увеличения рабочей высоты

не должны быть менее принятого значения c.
При действии на балку сосредоточенных сил проверяются наклонные сечения при значениях c, принимаемых согласно
п. 3.32, а также, если

, определяемых по
формуле (68) при

.
3.38. Для консолей без отгибов высотой, равномерно увеличивающейся от свободного конца к опоре
(черт. 19), в общем случае проверяют
условие (50), задаваясь наклонными сечениями со значениями c, определяемыми по
формуле (68) при

и принимаемыми не более расстояния от начала наклонного сечения в растянутой зоне до опоры. При этом за

и Q принимают соответственно рабочую высоту и поперечную силу в начале наклонного сечения в растянутой зоне. Кроме того, проверяют наклонные сечения, проведенные до опоры, если при этом

.
Черт. 19. Консоль высотой,
уменьшающейся от опоры к свободному концу
При действии на консоль сосредоточенных сил начало наклонного сечения располагают в растянутой зоне нормальных сечений, проходящих через точки приложения этих сил (см. черт. 19).
При действии равномерно распределенной нагрузки или нагрузки, линейно увеличивающейся к опоре, консоль рассчитывают так же, как элемент с постоянной высотой сечения согласно
пп. 3.31 и
3.32, принимая рабочую высоту

в опорном сечении.
Элементы с поперечной арматурой при косом изгибе
3.39. Расчет на действие поперечной силы элементов прямоугольного сечения, подвергающихся косому изгибу, производится из условия

, (70)
где

- составляющие поперечной силы, действующие соответственно в плоскости симметрии x и в нормальной к ней плоскости y в наиболее удаленном от опоры конце наклонного сечения;

- предельные поперечные силы, воспринимаемые наклонным сечением при действии их соответственно в плоскостях x и y и принимаемые равными правой части
условия (50).
При действии на элемент равномерно распределенной нагрузки допускается определять значения c согласно
п. 3.32 для каждой плоскости x и y.
Примечание. Отгибы при расчете на поперечную силу при косом изгибе не учитываются.
Элементы без поперечной арматуры
3.40
(3.32). Расчет элементов без поперечной арматуры на действие поперечной силы производится из условий:
а)

, (71)
где

- максимальная поперечная сила у грани опоры;
б)

, (72)
где Q - поперечная сила в конце наклонного сечения;

- коэффициент, определяемый по
табл. 21;
c - длина проекции наклонного сечения, начинающегося от опоры; значение c принимается не более

.
В сплошных плоских плитах с несвободными боковыми краями (соединенными с другими элементами или имеющими опоры) допускается указанное значение

делить на коэффициент

:

, (73)
но не более 1,25.
При проверке
условия (72) в общем случае задаются рядом значений c, не превышающих

.
При действии на элемент сосредоточенных сил значения c принимаются равными расстояниям от опоры до точек приложения этих сил (черт. 20).
Черт. 20. Расположение невыгоднейших наклонных сечений
в элементах без поперечной арматуры
1 - наклонное сечение, проверяемое на действие
поперечной силы

; 2 - то же, силы

При расчете элемента на действие распределенных нагрузок, если выполняется условие

, (74)
значение c в
условии (72) принимается равным

, а при невыполнении условия (74) -

, (75)
здесь

принимается при действии равномерно распределенной нагрузки в соответствии с
п. 3.32, а при действии сплошной нагрузки с линейно изменяющейся интенсивностью - равной средней интенсивности на приопорном участке длиной, равной четверти пролета балки (плиты) или половине вылета консоли, но не более

.
3.41. Для элементов с переменной высотой сечения при проверке
условия (71) значение

принимается в опорном сечении, а при проверке
условия (72) - как среднее значение

в пределах наклонного сечения.
Для элементов с высотой сечения, увеличивающейся с увеличением поперечной силы, значение

принимается равным

, при этом для сплошных плоских плит, указанных в
п. 3.40,

,
где

- рабочая высота в опорном сечении;

- угол между растянутой и сжатой гранями элемента;

- см.
формулу (73), где h допускается принимать по опорному сечению.
При действии на такой элемент распределенной нагрузки значение c в
условии (72) принимается равным:

, (76)
РАСЧЕТ НАКЛОННЫХ СЕЧЕНИЙ НА ДЕЙСТВИЕ ИЗГИБАЮЩЕГО МОМЕНТА
3.42
(3.35). Расчет элементов на действие изгибающего момента для обеспечения прочности по наклонной трещине
(черт. 21) должен производиться из условия

, (77)
где M - момент от внешней нагрузки, расположенной по одну сторону от рассматриваемого наклонного сечения, относительно оси, перпендикулярной плоскости действия момента и проходящей через точку приложения равнодействующей усилий

в сжатой зоне
(черт. 22);

- сумма моментов относительно той же оси от усилий соответственно в продольной арматуре, хомутах и отгибах, пересекающих растянутую зону наклонного сечения;

- расстояния от плоскостей расположения соответственно продольной арматуры, хомутов и отгибов до указанной оси.
Черт. 21. Схема усилий в наклонном сечении
при расчете его по изгибающему моменту
а)
Черт. 22. Определение расчетного значения момента
при расчете наклонного сечения
а - для свободно опертой балки; б - для консоли
Высота сжатой зоны наклонного сечения, измеренная по нормали к продольной оси элемента, определяется из условия равновесия проекций усилий в бетоне сжатой зоны и в арматуре, пересекающей наклонное сечение, на продольную ось элемента согласно
пп. 3.15 и
3.20. При наличии в элементе отгибов в числитель выражения для x добавляется величина

(где

- угол наклона отгибов к продольной оси элемента).
Величину

допускается принимать равной

, но при учете сжатой арматуры не более

.
Величина

при хомутах постоянной интенсивности определяется по формуле

, (78)
где

- усилие в хомутах на единицу длины (см.
п. 3.31);
c - длина проекции наклонного сечения на продольную ось элемента, измеренная между точками приложения равнодействующих усилий в растянутой арматуре и сжатой зоне (см.
п. 3.45).
Величины

для каждой плоскости отгибов определяются по формуле

, (79)
где

- расстояние от начала наклонного сечения до начала отгиба в растянутой зоне (см.
черт. 21).
3.43
(3.35). Расчет наклонных сечений на действие момента производится в местах обрыва или отгиба продольной арматуры, а также у грани крайней свободной опоры балок и у свободного конца консолей при отсутствии у продольной арматуры специальных анкеров.
Кроме того, расчет наклонных сечений на действие момента производится в местах резкого изменения конфигурации элементов (подрезок, узлов и т.п.).
Расчет наклонных сечений на действие момента допускается не производить при выполнении
условий (71) и
(72) с умножением их правых частей на 0,8 и при значении c не более

.
3.44. При пересечении наклонного сечения с продольной растянутой арматурой, не имеющей анкеров, в пределах зоны анкеровки расчетное сопротивление этой арматуры

снижается путем умножения на коэффициент условий работы

, равный:

, (80)
где

- расстояние от конца арматуры до точки пересечения наклонного сечения с продольной арматурой;

- длина зоны анкеровки, определяемая по формуле

, (81)
здесь

- коэффициенты, принимаемые равными:
для крайних свободных опор балок

;
для свободных концов консолей

.
В случае применения гладких стержней коэффициент

принимается равным для опор балок и концов консолей соответственно 0,8 и 1,2.
При наличии на крайних свободных опорах косвенной или поперечной арматуры, охватывающей без приваривания продольную арматуру, коэффициент

делится на величину

, а коэффициент

уменьшается на величину

, здесь

- объемный коэффициент армирования, определяемый для сварных сеток по
формуле (99), для хомутов - по формуле

(где

и s - соответственно площадь сечения огибающего хомута и его шаг), в любом случае значение

принимается не более 0,06.
Напряжение сжатия бетона на опоре

определяется делением опорной реакции на площадь опирания элемента и принимается не более

.
Длина

принимается для свободных концов консолей не менее 20d или 250 мм, при этом длину анкеровки

можно определить с учетом данных
табл. 45 (поз. 1).
В случае приваривания к продольным растянутым стержням поперечной или распределительной арматуры учитываемое в расчете усилие в продольной арматуре

увеличивается на величину

, (82)
принимаемую не более

.
В формуле (82):

- число приваренных стержней по длине

;

- коэффициент, принимаемый по табл. 22;

- диаметр приваренных стержней.
dw | 6 | 8 | 10 | 12 | 14 |
| 200 | 150 | 120 | 100 | 80 |
Окончательно значение

принимается не более значения

, определенного без учета

и

.
3.45. Для свободно опертых балок невыгоднейшее наклонное сечение начинается от грани опоры и имеет длину проекции c для балок с постоянной высотой сечения, равную:

, (83)
но не более максимальной длины приопорного участка, за пределами которого выполняется
условие (72) с умножением правой части на 0,8 и при значении c не более

.
В формуле (83):
Q - поперечная сила в опорном сечении;

- нагрузки соответственно сосредоточенная и равномерно распределенная в пределах наклонного сечения;

- площадь сечения отгибов, пересекающих наклонное сечение;

- угол наклона отгибов к продольной оси элемента;
Если значение c, определенное с учетом сосредоточенной силы

, будет меньше расстояния от грани опоры до силы

, а определенное без учета силы

- больше этого расстояния, за значение c следует принимать расстояние до силы

.
Если в пределах длины c хомуты изменяют свою интенсивность с

у начала наклонного сечения на

, значение c определяется по
формуле (83) при

и при уменьшении числителя на величину

(где

- длина участка с интенсивностью хомутов

).
Для балок, нагруженных равномерно распределенной нагрузкой q, с постоянной интенсивностью хомутов без отгибов
условие (77) можно заменить условием

, (84)
где Q - поперечная сила в опорном сечении;

- момент в сечении по грани опоры.
Для консолей, нагруженных сосредоточенными силами
(черт. 22, б), невыгоднейшее наклонное сечение начинается от мест приложения сосредоточенных сил вблизи свободного конца и имеет длину проекции c для консолей с постоянной высотой, равную:

, (85)
но не более расстояния от начала наклонного сечения до опоры (здесь

- поперечная сила в начале наклонного сечения).
Для консолей, нагруженных только равномерно распределенной нагрузкой q, невыгоднейшее наклонное сечение заканчивается в опорном сечении и имеет длину проекции c, равную:

, (86)
при этом, если

, расчет наклонного сечения можно не производить.
В формуле (86):

- площадь сечения арматуры, доводимой до свободного конца;

- см.
п. 3.42; значение

определяется для опорного сечения;

- длина зоны анкеровки (см.
п. 3.44).
Для элементов с высотой сечения, увеличивающейся с увеличением изгибающего момента, при определении длины проекции невыгоднейшего сечения по
формулам (83) или
(85) числители этих формул уменьшаются на величину

- при наклонной сжатой грани и на величину

- при наклонной растянутой грани (где

- угол наклона грани к горизонтали).
3.46. Для обеспечения прочности наклонных сечений на действие изгибающего момента в элементах постоянной высоты с хомутами продольные растянутые стержни, обрываемые в пролете, должны заводиться за точку теоретического обрыва (т.е. за нормальное сечение, в котором внешний момент становится равным несущей способности сечения без учета обрываемых стержней;
черт. 23) на длину не менее величины w, определяемой по формуле

, (87)
где Q - поперечная сила в нормальном сечении, проходящем через точку теоретического обрыва;
d - диаметр обрываемого стержня;
Черт. 23. Обрыв растянутых стержней в пролете
1 - точка теоретического обрыва; 2 - эпюра M
Для балок с наклонной сжатой гранью числитель
формулы (87) уменьшается на

, а для балок с наклонной растянутой гранью - на

(где

- угол наклона грани к горизонтали). Кроме того, должны быть учтены требования
п. 5.44.
Для элементов без поперечной арматуры значение w принимается равным 10d, при этом место теоретического обрыва должно находиться на участке элемента, на котором выполняется
условие (72), с умножением правой части на 0,8 и при значении c не более

.
3.47. Для обеспечения прочности наклонных сечений на действие изгибающего момента начало отгиба в растянутой зоне должно отстоять от нормального сечения, в котором отгибаемый стержень полностью используется по моменту, не менее чем на

, а конец отгиба должен быть расположен не ближе того нормального сечения, в котором отгиб не требуется по расчету.
РАСЧЕТ НАКЛОННЫХ СЕЧЕНИЙ В ПОДРЕЗКАХ
3.48. Для элементов с резко меняющейся высотой сечения (например, для балок и консолей, имеющих подрезки), производится расчет по поперечной силе для наклонных сечений, проходящих у опоры консоли, образованной подрезкой (черт. 24), согласно
пп. 3.31 -
3.39, при этом в расчетные формулы вводится рабочая высота

короткой консоли, образованной подрезкой.
Черт. 24. Невыгоднейшие наклонные сечения
в элементе с подрезкой
1 - наклонная сжатая полоса; 2 - при расчете
по поперечной силе; 3 - то же, по изгибающему моменту;
4 - то же, по изгибающему моменту вне подрезки
Хомуты, необходимые для обеспечения прочности наклонного сечения, следует устанавливать за конец подрезки на участке длиной не менее

, определяемой по
формуле (88).
3.49. Для свободно опертых балок с подрезками должен производиться расчет на действие изгибающего момента в наклонном сечении, проходящем через входящий угол подрезки (см.
черт. 24), согласно
пп. 3.42 -
3.45. При этом продольная растянутая арматура в короткой консоли, образованной подрезкой, должна быть заведена за конец подрезки на длину не менее

(см.
п. 5.44) и не менее величины

, равной:

, (88)
где

- поперечная сила в нормальном сечении у конца подрезки;

- площадь сечения дополнительных хомутов, расположенных у конца подрезки на участке длиной не более

и не учитываемых при определении интенсивности хомутов

у подрезки;

- площадь сечения отгибов, проходящих через входящий угол подрезки;

- расстояние от опоры консоли до конца подрезки;
d - диаметр обрываемого стержня.
Хомуты и отгибы, установленные у конца подрезки, должны удовлетворять условию

, (89)
где

- рабочая высота соответственно в короткой консоли подрезки и в балке вне подрезки.
Если нижняя арматура элемента не имеет анкеров, должна быть также проверена, согласно
пп. 3.42 -
3.45, прочность наклонного сечения, расположенного вне подрезки и начинающегося за указанными хомутами на расстоянии не менее

от торца (см.
черт. 24). При этом в расчете не учитывается продольная арматура короткой консоли, а длина проекции c принимается не менее расстояния от начала наклонного сечения до конца указанной арматуры. Кроме того, длина анкеровки

для нижней арматуры элемента принимается как для свободных концов консолей.
Расчет короткой консоли подрезки производится согласно
пп. 3.99 и
3.100, принимая направление наклонной сжатой полосы от наружного края площадки опирания до равнодействующей усилий в дополнительных хомутах площадью сечения

на уровне сжатой арматуры балок, т.е. при

(где

- см.
п. 3.99,

- см.
черт. 24), при этом в
формуле (207) коэффициент 0,8 заменяется на 1,0.
Расчет наклонных сечений на действие поперечной силы
Пример 13. Дано: железобетонная плита перекрытия с размерами поперечного сечения по
черт. 25; бетон тяжелый класса B15 (

и

при

); ребро плиты армировано плоским сварным каркасом с поперечными стержнями из арматуры класса А-III, диаметром 8 мм (

), шагом s = 100 мм; временная эквивалентная нагрузка v = 18 кН/м; нагрузка от собственного веса плиты и пола g = 3,9 кН/м; поперечная сила на опоре

.
Требуется проверить прочность наклонной полосы ребра между наклонными трещинами, а также прочность наклонных сечений по поперечной силе.
Расчет.

. Прочность наклонной полосы проверим из
условия (47).
Определим коэффициенты

и

:

;

,
отсюда

;
для тяжелого бетона

;

,
тогда

,
т.е. прочность наклонной полосы обеспечена.
Прочность наклонного сечения по поперечной силе проверим из
условия (50).
Определим величины

и

:
так как

, принимаем

, тогда:

;

;

.
Определим значение

, принимая

:

.
Поскольку

,
условие (57) выполняется, и, следовательно, значение

не корректируем.
Согласно
п. 3.32 определим длину проекции невыгоднейшего наклонного сечения c:

,
поскольку

, значение c определим только по формуле

.
Тогда

;

.
Длина проекции наклонной трещины равна:

.
Поскольку

, принимаем

, тогда

.

,
т.е. прочность наклонного сечения по поперечной силе обеспечена. Кроме того, должно выполняться требование
п. 3.29:

.
Условия
п. 5.69 
и s < 150 мм также выполняются.
Пример 14. Дано: свободно опертая железобетонная балка перекрытия пролетом l = 5,5 м; временная равномерно распределенная эквивалентная нагрузка на балку v = 36 кН/м; постоянная нагрузка g = 14 кН/м; размеры поперечного сечения b = 200 мм, h = 400 мм,

; бетон тяжелый класса B15 (

при

); хомуты из арматуры класса А-I (

).
Требуется определить диаметр и шаг хомутов у опоры, а также выяснить, на каком расстоянии от опоры и как может быть увеличен шаг хомутов.
Расчет. Наибольшая поперечная сила в опорном сечении равна:

,
где q = v + g = 36 + 14 = 50 кН/м.
Определим требуемую интенсивность хомутов приопорного участка согласно
п. 3.33б.

.

;

.
Так как

, а

,

.
При этом, поскольку

,
оставляем

.
Согласно
п. 5.69, шаг

у опоры должен быть не более h/2 = 200 и 150 мм, а в пролете -

и 500 мм. Максимально допустимый шаг у опоры, согласно
п. 3.29, равен:

.
Принимаем шаг хомутов у опоры

, а в пролете -

, отсюда

.
Принимаем в поперечном сечении два хомута диаметром по 10 мм (

).
Таким образом, принятая интенсивность хомутов у опоры и в пролете балки будет соответственно равна:

;

.

.
Тогда

;

.
Следовательно, значения

и

не корректируем.
Определим, согласно
п. 3.34, длину участка

с интенсивностью хомутов

. Так как

, значение

вычислим по формуле
(здесь

).
Принимаем длину участка с шагом хомутов

равной 1,64 м.
Пример 15. Дано: железобетонная балка покрытия, нагруженная сосредоточенными силами, как показано на
черт. 26, а; размеры поперечного сечения - по
черт. 26, б; бетон тяжелый класса B15 (

при

); хомуты из арматуры класса А-I (

).
Требуется определить диаметр и шаг хомутов, а также выяснить, на каком расстоянии и как может быть увеличен шаг хомутов.
Расчет. Сначала определим, согласно
п. 3.31, величину

:

;

;

;

.
Определим требуемую интенсивность хомутов согласно
п. 3.33а, принимая длину проекции наклонного сечения c равной расстоянию от опоры до первого груза -

.
Поперечная сила на расстоянии

от опоры равна

(см. черт. 26).

.
Тогда

.
Поскольку

, принимаем

;

.

.
Определим

при значении c, равном расстоянию от опоры до второго груза -

.

.
Принимаем

.
Соответствующая поперечная сила равна

. Поскольку

, принимаем

.

.

.
Принимаем максимальное значение

.
Из условия сварки (см.
п. 5.13) принимаем диаметр хомутов 6 мм (

), тогда шаг хомутов в приопорном участке равен:

.
Принимаем

. Назначаем шаг хомутов в пролете равным

. Длину участка с шагом

определим из условия обеспечения прочности согласно
п. 3.34, при этом

;

;

.
Зададим длину участка с шагом хомутов

равной расстоянию от опоры до первого груза -

; проверим
условие (50) при значении c, равном расстоянию от опоры до второго груза -

. Значение

определим по
формуле (56) при

:

.

;

;

,
т.е. прочность этого наклонного сечения обеспечена.
Большее значение c не рассматриваем, поскольку при этом поперечная сила резко уменьшается.
Таким образом, длину участка с шагом хомутов

принимаем равной

.
Пример 16. Дано: железобетонная балка монолитного перекрытия с размерами поперечного сечения по
черт. 27, а; расположение отогнутых стержней - по
черт. 27, б; временная эквивалентная нагрузка на балку v = 96 кН/м, постоянная - g = 45 кН/м; поперечная сила на опоре

; бетон тяжелый класса B15 (

при

); хомуты двухветвевые диаметром 6 мм (

) из арматуры класса А-I (

), шагом s = 150 мм; отогнутые стержни класса А-II (

), площадью сечения: первой плоскости

(

), второй -

(

).
Условные обозначения:
- - - - расчетные наклонные сечения;

рассматриваемые наклонные трещины
Требуется проверить прочность наклонных сечений по поперечной силе.
Расчет.

. Согласно
п. 3.31 находим значения

и

:

;

;

;

.
Проверим из
условия (50) с учетом
формулы (65) наклонное сечение с длиной проекции, равной расстоянию от опоры до конца второй плоскости отгибов, т.е. при c = 50 + 520 + 300 = 870 мм = 0,87 м.
Поперечная сила на расстоянии c = 0,87 м от опоры равна:

.
Определим проекцию опасной наклонной трещины

согласно
п. 3.35.

;
принимаем

. Поскольку

, принимаем для этого наклонного сечения

. Наклонную трещину, расположенную между концом второй и началом первой плоскостей отгибов, т.е. не пересекающую отгибы, в расчете не рассматриваем, так как для нее

.
Для первой плоскости отгибов

.
Тогда

,
т.е. прочность данного наклонного сечения обеспечена.
Проверим наклонное сечение, оканчивающееся на расстоянии

от начала первой плоскости отгибов, т.е. при c = 0,05 + 0,52 + 1,12 = 1,69 м.
Поперечная сила на расстоянии c = 1,69 м от опоры равна Q = 380 - 93 x 1,69 = 222,8 кН.
Для второй плоскости отгиба

.
Для этого сечения принимаем наклонную трещину, проведенную от конца наклонного сечения до начала первой плоскости отгибов, т.е.

. Наклонные трещины, проведенные от конца наклонного сечения до опоры и до начала второй плоскости отгибов, не рассматриваем, так как в первом случае

, а во втором - трещина не пересекает отгибы при

.
Тогда

,
т.е. прочность данного наклонного сечения обеспечена.
Проверим наклонное сечение, оканчивающееся на расстоянии

от начала второй плоскости отгибов, т.е. при c = 0,05 + 0,52 + 0,30 + 0,52 + 1,12 = 2,51 м.
Поперечная сила на расстоянии c = 2,51 м от опоры равна Q = 380 - 93 x 2,51 = 146,6 кН.
Для этого сечения, очевидно,

и наклонная трещина отгибы не пересекает, т.е.

. Поскольку

, принимаем

.
Тогда

, т.е. прочность любых наклонных сечений обеспечена.
Согласно
п. 3.29 проверим расстояние между началом первой плоскости отгибов и концом второй плоскости, принимая поперечную силу у конца второй плоскости отгибов Q = 299,1 кН и

:

,
Пример 17. Дано: железобетонная двускатная балка покрытия пролетом 8,8 м; сплошная равномерно распределенная нагрузка на балку q = 46 кН/м
(черт. 28, а); размеры поперечного сечения - по
черт. 28, б; бетон тяжелый класса B25 (

при

); хомуты из арматуры класса А-I (

), диаметром 8 мм (

), шагом s = 150 мм.
Требуется проверить прочность наклонных сечений по поперечной силе.
Расчет производим согласно
п. 3.37.

;

;

,

.

.
Определим значение

, принимая

:

.
Поскольку нагрузка сплошная, принимаем

.

.

,
при этом

.
Рабочая высота поперечного сечения

на расстоянии c = 0,853 м от опоры равна:

.
Определим величину

при

:

;
принимаем

;

.
Проверим
условие (50), принимая поперечную силу в конце наклонного сечения равной:

;

,
т.е. прочность наклонных сечений по поперечной силе обеспечена.
Пример 18. Дано: консоль размерами по черт. 29; сосредоточенная сила на консоли F = 300 кН, расположенная на расстоянии 0,8 м от опоры; бетон тяжелый класса B15 (

при

); хомуты двухветвевые диаметром 8 мм (

) из арматуры класса А-I (

), шагом s = 200 мм.
Требуется проверить прочность наклонных сечений по поперечной силе.
Расчет. Согласно
п. 3.38 проверим из
условия (50) наклонное сечение, начинающееся от места приложения сосредоточенной силы, при значении c, определяемом по
формуле (68).
Рабочая высота в месте приложения сосредоточенной силы равна

(см.
черт. 29).

.
Значение

равно:

.

,
отсюда, принимая

, имеем

,
при этом

.
Поскольку значение c не превышает значения расстояния от груза до опоры, оставим c = 556 мм и определим рабочую высоту

в конце наклонного сечения:

.
Поскольку

, оставим

.
Значение

равно:

,
отсюда

,
т.е. прочность этого наклонного сечения обеспечена.
Для наклонного сечения, располагаемого от груза до опоры, по
формуле (56) определим значение

, принимая

:

;

,
принимаем

.
Поскольку

, указанное наклонное сечение можно не проверять. Следовательно, прочность любого наклонного сечения обеспечена.
Пример 19. Дано: сплошная плита перекрытия без поперечной арматуры размером 3 x 6 м, толщиной h = 160 мм, монолитно связанная по периметру с балками; эквивалентная временная равномерно распределенная нагрузка на плиту v = 50 кН/м
2; нагрузка от собственного веса и пола g = 9 кН/м
2; a = 20 мм; бетон тяжелый класса B25 (

при

).
Требуется проверить прочность плиты на действие поперечной силы.
Расчет.

. Расчет производим для полосы шириной b = 1 м = 1000 мм, пролетом l = 3 м; полная нагрузка на плиту равна q = v + g = 50 + 9 = 59 кН/м.
Поперечная сила на опоре равна:

.

.
Проверим
условие (72). Поскольку боковые края плиты связаны с балками, значение

определим с учетом коэффициента

(здесь b = 6 м - расстояние между боковыми краями плиты), т.е.

:

.

;
Поскольку

, принимаем

.
Поперечная сила в конце наклонного сечения равна

.

,
т.е. прочность плиты по поперечной силе обеспечена.
Пример 20. Дано: панель резервуара консольного типа с переменной толщиной от 262 (в заделке) до 120 мм (на свободном конце), вылетом 4,25 м; боковое давление грунта, учитывающее нагрузки от транспортных средств на поверхности грунта, линейно убывает от

в заделке до q = 7 кН/м
2 на свободном конце; a = 22 мм; бетон тяжелый класса B15 (

при

).
Требуется проверить прочность панели по поперечной силе.
Расчет. Рабочая высота сечения панели в заделке равна

.
Определим

(

- угол между растянутой и сжатой гранями):

.
Расчет производим для полосы панели шириной b = 1 м = 1000 мм.
Проверим условия
п. 3.40. Поперечная сила в заделке равна:

.

,
т.е. условие выполняется.
Поскольку панели связаны одна с другой, а ширина стенки резервуара заведомо более 5h, значение

определим с учетом коэффициента

:

.
Средняя интенсивность нагрузки на приопорном участке длиной

равна

. Из
табл. 21 
.
Определим рабочую высоту сечения на расстоянии

от опоры (т.е. среднее значение

в пределах длины c):

.
Поперечная сила на расстоянии c = 464 мм от опоры равна:

.

,
т.е. прочность панели по поперечной силе обеспечена.
Расчет наклонных сечений на действие изгибающего момента
Пример 21. Дано: свободно опертая железобетонная балка пролетом l = 5,5 м с равномерно распределенной нагрузкой q = 29 кН/м; конструкция приопорного участка балки принята по
черт. 30; бетон тяжелый класса B15 (

при

); продольная арматура без анкеров класса А-III (

), площадью сечения

(

) и

(

); хомуты из арматуры класса А-I (

), диаметром 6 мм, шагом s = 150 мм приварены к продольным стержням.
Требуется проверить прочность наклонных сечений на действие изгибающего момента.
Расчет.

. Поскольку растянутая арматура не имеет анкеров, расчет наклонных сечений на действие момента необходим.
Принимаем начало наклонного сечения у грани опоры. Отсюда

(см.
черт. 30).
По
формуле (81) определим длину зоны анкеровки

, принимая

и

:

.
Поскольку

, расчетное сопротивление растянутой арматуры снижаем путем умножения его на коэффициент

, отсюда

.
Поскольку к растянутым стержням в пределах длины

приварены четыре вертикальных и два горизонтальных поперечных стержня (см.
черт. 30), увеличим усилие

на величину

.

.
Отсюда

.
Поскольку эта величина не превышает значения

, определенного без учета

и

, т.е. равного

, оставляем

.

.

.
Определим длину проекции невыгоднейшего наклонного сечения по
формуле (83), принимая значение Q равным опорной реакции балки, т.е.

, а также

и

:

.
Определим максимальную длину

приопорного участка, за которым выполняется
условие (72), с умножением правой части на 0,8 и при

, т.е. из решения уравнения

.
Предполагая, что

, принимаем максимальное значение

. Тогда при

получим

.
Поскольку

, оставим c = 821 мм.
Момент внешних сил относительно оси, расположенной посредине высоты сжатой зоны наклонного сечения, в данном случае равен изгибающему моменту в нормальном сечении, проходящем через указанную ось, т.е. на расстоянии

от точки приложения опорной реакции:

.

,
т.е. прочность наклонных сечений на действие изгибающего момента обеспечена.
Поскольку балка не имеет отгибов и нагружена равномерно распределенной нагрузкой, прочность наклонного сечения можно также проверить по более простой
формуле (84), принимая

:

.
Пример 22. Дано: ригель многоэтажной рамы с эпюрами изгибающих моментов и поперечных сил от равномерно распределенной нагрузки q = 228 кН/м по
черт. 31; бетон тяжелый класса B25; продольная и поперечная арматура класса А-III (

;

; поперечное сечение приопорного участка - по черт. 31; хомуты диаметром 10 мм, шагом s = 150 мм (

).
Требуется определить расстояние от левой опоры до места обрыва первого стержня верхней арматуры.
Расчет. Определим предельный изгибающий момент, растягивающий опорную арматуру без учета обрываемого стержня, из
условия (19), поскольку

, т.е. x < 0:

.
По эпюре моментов определим расстояние x от опоры до места теоретического обрыва первого стержня из уравнения

,
откуда

.
Поперечная сила в месте теоретического обрыва равна:

.
Определим величину

:

.
По
формуле (87) вычислим длину w, на которую надо завести обрываемый стержень за точку теоретического обрыва:

.
Следовательно, расстояние от опоры до места обрыва стержня может быть принято равным x + w = 334 + 756 = 1090 мм.
Определим необходимое расстояние

от места обрыва стержня до вертикального сечения, в котором он используется полностью, по
табл. 45:

.
Следовательно, оборвем стержень на расстоянии 1090 мм от опоры.
Пример 23. Дано: примыкание сборной железобетонной балки перекрытия к ригелю с помощью подрезки, как показано на
черт. 32, а; бетон тяжелый класса В25 (

при

); хомуты и отогнутые стержни из арматуры класса А-III, диаметром соответственно 12 и 16 мм (

); площадь сечения дополнительных хомутов у подрезки

(

); продольная арматура класса А-III по
черт. 32, б; поперечная сила на опоре Q = 640 кН.
Требуется проверить прочность наклонных сечений.
Расчет. Проверим прочность наклонного сечения подрезки по поперечной силе согласно
п. 3.31, принимая

, b = 730 мм (см. черт. 32),

(см.
табл. 21):

.
При значении c, равном расстоянию от опоры до первого груза - c = 1,5 м, имеем
следовательно, принимаем

;

;

,
при этом

и

.
Тогда

, т.е. даже без учета отгибов прочность подрезки по поперечной силе обеспечена.
Проверим прочность наклонного сечения, проходящего через входящий угол подрезки, на действие изгибающего момента.
Невыгоднейшее значение c определим по
формуле (83), учитывая в числителе отгибы и дополнительные хомуты и принимая

и q = 0:

.
Поскольку продольная арматура короткой консоли заанкерена на опоре, учитываем эту арматуру с полным расчетным сопротивлением, т.е. с

.
Из
черт. 32 
(

). Поскольку

, x = 0, тогда

.

.

;

;

,
т.е. прочность наклонного сечения обеспечена.
Определим необходимую длину заведения продольной растянутой арматуры за конец подрезки по
формуле (88):

.
Выясним необходимость постановки анкеров для нижней арматуры балки. Для этого проверим наклонное сечение, расположенное вне подрезки и начинающееся на расстоянии

от торца балки. Тогда

.
Длину анкеровки для нижней арматуры определим по
поз. 1 табл. 45, из которой при классе бетона B25 и классе арматуры А-III находим

, отсюда

.
Расчетное сопротивление нижней арматуры снизим умножением на коэффициент

, т.е.

.
Учитывая, что в пределах длины

два верхних стержня имеют по два приваренных вертикальных стержня, а два нижних стержня имеют по два вертикальных и один горизонтальный приваренный стержень, увеличим усилие

на величину

, определяемую по
формуле (82), принимая

(см.
табл. 22):

.
Отсюда

.
Принимая

, определим высоту сжатой зоны x:

,
и, следовательно,

.
Невыгоднейшее значение c равно:

,
т.е. при таком значении c наклонное сечение пересекает продольную арматуру короткой консоли. Принимаем конец наклонного сечения в конце указанной арматуры, т.е. на расстоянии

от подрезки, при этом c = 723 мм. Расчетный момент M в сечении, проходящем через конец наклонного сечения, равен:

;

,

,
т.е. прочность наклонного сечения обеспечена, и, следовательно, анкера для нижней арматуры не требуются.

.
Принимая

и заменяя 0,8 на 1,0, имеем

, т.е. правую часть
условия (207) оставляем равной 838 кН.
Поскольку Q = 640 кН < 838 кН, прочность сжатой полосы обеспечена.

,
т.е. продольной арматуры в короткой консоли поставлено достаточно.
Внецентренно сжатые элементы
3.50
(1.21). При расчете внецентренно сжатых железобетонных элементов должен приниматься во внимание случайный эксцентриситет

, обусловленный не учтенными в расчете факторами. Эксцентриситет

в любом случае принимается не менее:
1/600 длины элемента или расстояния между его сечениями, закрепленными от смещения;
1/30 высоты сечения;
10 мм (для конструкций, образуемых из сборных элементов, при отсутствии других экспериментально обоснованных значений

).
Для элементов статически неопределимых конструкций (в том числе для колонн каркасных зданий) значение эксцентриситета продольной силы относительно центра тяжести приведенного сечения

принимается равным эксцентриситету, полученному из статического расчета конструкции, но не менее

.
В элементах статически определимых конструкций (например, фахверковых стойках, стойках ЛЭП) эксцентриситет

находится как сумма эксцентриситетов - определяемого из статического расчета и случайного.
3.51. Расчет внецентренно сжатых элементов производят с учетом влияния прогиба элемента в плоскости эксцентриситета продольной силы (в плоскости изгиба) и в нормальной к ней плоскости. В последнем случае принимается, что продольная сила приложена с эксцентриситетом

, равным случайному эксцентриситету

(см.
п. 3.50).
Влияние прогиба элемента учитывается согласно
пп. 3.54 и
3.55.
Расчет из плоскости изгиба можно не производить, если гибкость элемента

(для прямоугольных сечений -

) в плоскости изгиба превышает гибкость в плоскости, нормальной к плоскости изгиба.
При наличии расчетных эксцентриситетов в двух направлениях, превышающих случайные эксцентриситеты

, производится расчет на косое внецентренное сжатие (см.
пп. 3.73 -
3.75).
3.52. Для часто встречающихся видов сжатых элементов (прямоугольного сечения; двутаврового сечения с симметрично расположенной арматурой; круглого и кольцевого сечений с арматурой, равномерно распределенной по окружности) расчет по прочности нормальных сечений производится согласно
пп. 3.61 -
3.75.
Для других видов сечений и при произвольном расположении продольной арматуры расчет нормальных сечений производится по формулам общего случая расчета нормального сечения внецентренно сжатого элемента согласно
п. 3.76. При расчете элементов с применением ЭВМ во всех случаях рекомендуется пользоваться указаниями
п. 3.76.
Если выполняется условие

, в расчетных формулах
пп. 3.61 -
3.76 рекомендуется учитывать уменьшение действительной площади бетона сжатой зоны на величину

.
3.53. Расчет по прочности наклонных сечений внецентренно сжатых элементов производится аналогично расчету изгибаемых элементов в соответствии с
пп. 3.28 -
3.49. При этом значение

определяется по формуле

, (90)
где

, но не более 0,5; значение

принимается равным

, а в
формулах (72) -
(76) коэффициент

заменяется выражением

.
Суммарный коэффициент

принимается не более 1,5.
Влияние продольных сил не учитывается, если они создают изгибающие моменты, одинаковые по знаку с моментами от действия поперечной нагрузки. Для внецентренно сжатых элементов статически неопределимых конструкций, при статическом расчете которых принимается, что продольная сила располагается в центре тяжести сечения, допускается всегда учитывать влияние продольных сил.
При отсутствии в пределах пролета внецентренно сжатого элемента поперечной нагрузки расчет наклонных сечений по прочности допускается не производить, если нормальные трещины не образуются [т.е. если выполняется
условие (233) с заменой

на

].
УЧЕТ ВЛИЯНИЯ ПРОГИБА ЭЛЕМЕНТА
3.54 (
3.24,
3.6). При расчете внецентренно сжатых элементов следует учитывать влияние прогиба на их несущую способность, как правило, путем расчета конструкций по деформированной схеме, принимая во внимание неупругие деформации бетона и арматуры и наличие трещин.
Допускается производить расчет конструкций по недеформированной схеме, учитывая влияние прогиба элемента путем умножения эксцентриситета

на коэффициент

, определяемый по формуле

, (91)
где

- условная критическая сила, определяемая по формулам:
для элементов любой формы сечения

; (92)
для элементов прямоугольного сечения

. (93)
I,

- моменты инерции соответственно бетонного сечения и сечения всей арматуры относительно центра тяжести бетонного сечения;

- коэффициент, учитывающий влияние длительного действия нагрузки на прогиб элемента в предельном состоянии и равный:

, (94)

- моменты внешних сил относительно оси, параллельной линии, ограничивающей сжатую зону и проходящей через центр наиболее растянутого или наименее сжатого (при целиком сжатом сечении) стержня арматуры, соответственно от действия полной нагрузки и от действия постоянных и длительных нагрузок. Для элементов, рассчитываемых согласно
пп. 3.61,
3.62,
3.65 -
3.68, допускается

и

определять относительно оси, проходящей через центр тяжести всей арматуры S. Если изгибающие моменты (или эксцентриситеты) от полной нагрузки и от суммы постоянных и длительных нагрузок имеют разные знаки, то при абсолютном значении эксцентриситета полной нагрузки

принимают

; если это условие не удовлетворяется, значение

принимают равным

, где

определяют по
формуле (94), принимая

равным произведению продольной силы N от действия полной нагрузки на расстояние от центра тяжести сечения до оси, проходящей через центр наиболее растянутого (наименее сжатого) от действия постоянных и длительных нагрузок стержня арматуры;

- коэффициент, принимаемый равным

, но не менее

(95)
(здесь

- в МПа, допускается принимать при

; значение h для круглых и кольцевых сечений заменяется на D);

- принимается в соответствии с
п. 3.55;

. (96)
При расчете, согласно
п. 3.63, прямоугольных сечений с арматурой, расположенной по высоте сечения, в значении

не учитывается 2/3 арматуры, расположенной у граней, параллельных плоскости изгиба (

), а значение

в
формуле (93) принимается равным

.
Для элементов из мелкозернистого бетона группы Б в
формулы (92) и
(93) вместо цифр 6,4 и 1,6 подставляются соответственно 5,6 и 1,4.
Эксцентриситет

, используемый в настоящем пункте, допускается определять относительно центра тяжести бетонного сечения.
При гибкости элемента

(для прямоугольных сечений - при

) принимается

.
При гибкости

(

) и при

допускается принимать:
для прямоугольных сечений

;
для других форм сечения

.
При

следует увеличивать размеры сечения.
При расчетных эксцентриситетах в двух направлениях коэффициент

допускается определять отдельно для каждого направления и умножать на соответствующий эксцентриситет.
3.55
(3.25). Расчетную длину

внецентренно сжатых железобетонных элементов рекомендуется определять как для элементов рамной конструкции с учетом ее деформированного состояния при наиболее невыгодном для данного элемента расположении нагрузки, принимая во внимание неупругие деформации материалов и наличие трещин.
Для элементов наиболее часто встречающихся конструкций допускается принимать расчетную длину

равной:
а) для колонн многоэтажных зданий при числе пролетов не менее двух и соединениях ригелей и колонн, рассчитываемых как жесткие, при конструкциях перекрытий:
сборных ................. H
монолитных .............. 0,7H
[где H - высота этажа (расстояние между центрами узлов)];
б) для колонн одноэтажных зданий с шарнирным опиранием несущих конструкций покрытий, жестких в своей плоскости (способных передавать горизонтальные усилия), а также для эстакад - по табл. 23;
в) для элементов ферм и арок - по
табл. 24.
Характеристика зданий и колонн | Расчетная длина l0 колонн одноэтажных зданий при расчете их в плоскости |
поперечной рамы или перпендикулярной к оси эстакады | перпендикулярной поперечной раме или параллельной оси эстакады |
при наличии | при отсутствии |
связей в плоскости продольного ряда колонн или анкерных опор |
Здания | С мостовыми кранами | При учете нагрузки от кранов | Подкрановая (нижняя) часть колонн при подкрановых балках | Разрезных | 1,5H1 | 0,8H1 | 1,2H1 |
Неразрезных | 1,2H1 | 0,8H1 | 0,8H1 |
Надкрановая (верхняя) часть колонн при подкрановых балках | Разрезных | 2,0H2 | 1,5H2 | 2,0H2 |
Неразрезных | 2,0H2 | 1,5H2 | 1,5H2 |
Без учета нагрузки от кранов | Подкрановая (нижняя) часть колонн зданий | Однопролетных | 1,5H | 0,8H1 | 1,2H |
Многопролетных | 1,2H | 0,8H1 | 1,2H |
Надкрановая (верхняя) часть колонн при подкрановых балках | Разрезных | 2,5H2 | 1,5H2 | 2,0H2 |
Неразрезных | 2,0H2 | 1,5H2 | 1,5H2 |
Без мостовых кранов | Колонны ступенчатые | Нижняя часть колонн зданий | Однопролетных | 1,5H | 0,8H | 1,2H |
Многопролетных | 1,2H | 0,8H | 1,2H |
Верхняя часть колонн | 2,5H2 | 2,0H2 | 2,5H2 |
Колонны постоянного сечения зданий | Однопролетных | 1,5H | 0,8H | 1,2H |
Многопролетных | 1,2H | 0,8H | 1,2H |
Эстакады | Крановые | При подкрановых балках | Разрезных | 2,0H1 | 0,8H1 | 1,5H1 |
Неразрезных | 1,5H1 | 0,8H1 | H1 |
Под трубопроводы | При соединении колонн с пролетным строением | Шарнирном | 2,0H | H | 2,0H |
Жестком | 1,5H | 0,7H | 1,5H |
H - полная высота колонны от верха фундамента до горизонтальной конструкции (стропильной или подстропильной, распорки) в соответствующей плоскости;

- высота подкрановой части колонны от верха фундамента до низа подкрановой балки;

- высота надкрановой части колонны от ступени колонны до горизонтальной конструкции в соответствующей плоскости.
Примечание. При наличии связей до верха колонн в зданиях с мостовыми кранами расчетная длина надкрановой части колонн в плоскости оси продольного ряда колонн принимается равной

.
Элементы | Расчетная длина l0 элементов ферм и арок |
1. Элементы ферм: | |
а) верхний пояс при расчете: | |
в плоскости фермы: | |
при e0 < 1/8h1 | 0,9l |
" e0 >= 1/8h1 | 0,8l |
из плоскости фермы: | |
для участка под фонарем (при ширине фонаря 12 м и более) | 0,8l |
в остальные случаях | 0,9l |
б) раскосы и стойки при расчете: | |
в плоскости фермы | 0,8l |
из плоскости фермы: | |
при b1/b2 < 1,5 | 0,9l |
" b1/b2 >= 1,5 | 0,8l |
2. Арки: | |
а) при расчете в плоскости арки: | |
трехшарнирной | 0,580L |
двухшарнирной | 0,540L |
бесшарнирной | 0,365L |
б) при расчете из плоскости арки (любой) | L |
l - длина элемента между центрами примыкающих узлов; для верхнего пояса фермы при расчете из плоскости фермы - расстояние между точками его закрепления;
L - длина арки вдоль ее геометрической оси; при расчете из плоскости арки - длина арки между точками ее закрепления из плоскости арки;

- высота сечения верхнего пояса;

- ширина сечения соответственно верхнего пояса и стойки (раскоса) фермы.
3.56. Влияние прогибов колонн многоэтажных каркасных зданий рекомендуется учитывать, принимая окончательные моменты M в опорных сечениях колонн равными:

, (97)
где

- момент от вертикальных нагрузок на перекрытиях;

- коэффициент, принимаемый равным единице, а в заделках в фундаменты определяемый по
формуле (91) при

(H - высота этажа) и при учете только вертикальных нагрузок;

- момент от горизонтальных (ветровых, сейсмических) нагрузок;

- коэффициент

, определяемый согласно
пп. 3.54 и
3.55 при учете всех нагрузок;

- момент от вынужденных горизонтальных смещений (например, от температурных деформаций перекрытий, смещений жестких связевых диафрагм).
Моменты от всех нагрузок для сечений в средней трети длины колонн умножаются на коэффициент

, определенный согласно
пп. 3.54 и
3.55, а моменты в прочих сечениях определяются линейной интерполяцией.
Значения моментов в опорных сечениях колонн, определенные по
формуле (97), необходимо учитывать при определении моментов в примыкающих к колонне элементах (фундаментах, ригелях с жесткими узлами).
УЧЕТ ВЛИЯНИЯ КОСВЕННОГО АРМИРОВАНИЯ
3.57
(3.22). Расчет элементов сплошного сечения из тяжелого и мелкозернистого бетонов с косвенным армированием в виде сварных сеток, спиральной или кольцевой арматуры
(черт. 33) следует производить согласно
пп. 3.61 -
3.68,
3.71 -
3.76, вводя в расчет лишь часть площади бетонного сечения

, ограниченную осями крайних стержней сетки или спирали, и подставляя в расчетные формулы вместо

приведенную призменную прочность бетона

и вычисляя характеристику сжатой зоны бетона

с учетом влияния косвенного армирования по
формуле (104).
а)
б)
Черт. 33. Сжатые элементы с косвенным армированием
а - в виде сварных сеток; б - в виде спиральной арматуры
Влияние прогиба элемента с косвенным армированием на эксцентриситет продольной силы учитывается согласно
п. 3.58.
Гибкость

элементов с косвенным армированием не должна превышать:
при косвенном армировании сетками - 55 (для прямоугольных сечений -

);
при косвенном армировании спиралью - 35 (для круглых сечений -

), где

- соответственно радиус инерции, высота и диаметр вводимой в расчет части сечения.
Значения

определяются по формулам:
а) при армировании сварными поперечными сетками

, (98)
где

- расчетное сопротивление арматуры сеток;

, (99)
здесь

- соответственно число стержней, площадь поперечного сечения и длина стержня сетки (считая в осях крайних стержней) в одном направлении;

- то же, в другом направлении;

- площадь сечения бетона, заключенного внутри контура сеток;
s - расстояние между сетками;

- коэффициент эффективности косвенного армирования, определяемый по формуле

; (100)

; (101)

- в МПа.
Для элементов из мелкозернистого бетона значение коэффициента

следует принимать не более единицы;
б) при армировании спиральной или кольцевой арматурой

, (102)
где

- расчетное сопротивление арматуры спирали;

- коэффициент армирования, равный:

, (103)
здесь

- площадь поперечного сечения спиральной арматуры;

- диаметр сечения внутри спирали;
s - шаг спирали;

- эксцентриситет приложения продольной силы (без учета влияния прогиба).
Значения коэффициентов армирования, определяемые по
формулам (99) и
(103), для элементов из мелкозернистого бетона следует принимать не более 0,04.
При определении граничного значения относительной высоты сжатой зоны для сечений с косвенным армированием в
формулу (14) вводится

, (104)
где

- коэффициент, принимаемый согласно указаниям
п. 3.14;

- коэффициент, равный

, но принимаемый не более 0,15 [здесь

- коэффициент армирования

или

, определяемый по
формулам (99) и
(103) соответственно для сеток и спиралей].
Косвенное армирование учитывается в расчете при условии, что несущая способность элемента, определенная согласно указаниям настоящего пункта (вводя в расчет

и

), превышает его несущую способность, определенную по полному сечению A и значению расчетного сопротивления бетона

без учета косвенной арматуры. Кроме того, косвенное армирование должно удовлетворять конструктивным требованиям
пп. 5.78 -
5.80.
3.58
(3.22). При расчете элементов с косвенным армированием по недеформированной схеме влияние прогиба элемента на эксцентриситет продольной силы учитывается согласно
пп. 3.54 -
3.56. При этом значение

, полученное по
формуле (92) или
(93), умножается на коэффициент

, а значение

вычисляется по формуле

, где

- высота или диаметр учитываемой части сечения.
Кроме того, при вычислении

размеры сечения принимаются по учитываемой части сечения.
3.59
(3.22). В элементах из тяжелого бетона с косвенным армированием в виде сеток рекомендуется применять продольную высокопрочную арматуру классов А-V и А-VI, используя ее повышенное (приведенное) расчетное сопротивление сжатию, равное:

, (105)

;
здесь

, (106)
но не менее 1,0 и не более 1,6;

- площадь сечения всей продольной высокопрочной арматуры;

- в МПа.
Класс арматуры |  ,  и Rsc, МПа, при коэффициенте  (см. п. 3.1), равном | Rs, МПа | Rs,ser, МПа |
0,9 | 1,0 или 1,1 |
| | Rsc | | | Rsc |
А-V | 1,25 | 0,53 | 500 | 2,78 | 1,03 | 400 | 680 | 785 |
А-VI | 2,04 | 0,77 | 500 | 3,88 | 1,25 | 400 | 815 | 980 |

.
Указанные элементы прямоугольного сечения с арматурой, сосредоточенной у наиболее и наименее сжатых граней, рассчитываются согласно
пп. 3.65 и
3.61, если высота сжатой зоны x, определенная по
формуле (107а) или
(110а), превышает граничное значение

при замене в расчетных формулах

на

. В противном случае расчет производится согласно
п. 3.41 "Пособия по проектированию предварительно напряженных железобетонных конструкций из тяжелых и легких бетонов", принимая

. В этом случае применение косвенного армирования и высокопрочной сжатой арматуры малоэффективно.
3.60
(3.23). При расчете внецентренно сжатых элементов с косвенным армированием наряду с расчетом по прочности согласно указаниям
п. 3.57 следует производить расчет, обеспечивающий трещиностойкость защитного слоя бетона.
Расчет производится согласно указаниям
пп. 3.61 -
3.68,
3.71 -
3.76 по эксплуатационным значениям расчетных нагрузок (

), учитывая всю площадь сечения бетона и принимая расчетные сопротивления

и

для предельных состояний второй группы и расчетное сопротивление арматуры сжатию равным значению

, но не более 400 МПа.
При учете влияния гибкости следует пользоваться указаниями
п. 3.54, определяя значения

по
формуле (95) с заменой

на

.
РАСЧЕТ ЭЛЕМЕНТОВ СИММЕТРИЧНОГО СЕЧЕНИЯ
ПРИ РАСПОЛОЖЕНИИ ПРОДОЛЬНОЙ СИЛЫ В ПЛОСКОСТИ СИММЕТРИИ
ПРЯМОУГОЛЬНЫЕ СЕЧЕНИЯ С СИММЕТРИЧНОЙ АРМАТУРОЙ
3.61. Проверка прочности прямоугольных сечений с симметричной арматурой, сосредоточенной у наиболее сжатой и у растянутой (наименее сжатой) граней элемента, производится следующим образом в зависимости от высоты сжатой зоны x:

: (107)

; (108)
б) при

- из
условия (108), принимая высоту сжатой зоны равной

, где значение

определяется по формулам:
для элементов из бетона класса B30 и ниже

; (109)
для элементов из бетона класса выше B30

. (110)
Черт. 34. Схема усилий в поперечном прямоугольном сечении
внецентренно сжатого элемента

;
Значение e вычисляется по формуле

. (111)
При этом эксцентриситет продольной силы

относительно центра тяжести сечения определяется с учетом прогиба элемента согласно
пп. 3.54 -
3.56.
Примечания. 1. Если высота сжатой зоны, определенная с учетом половины сжатой арматуры,

, расчетную несущую способность сечения можно несколько увеличить, используя
условие (108) при

и

.
2.
Формулой (110) можно пользоваться также при расчете элементов из бетона класса B30 и ниже.
3.62. Требуемое количество симметричной арматуры определяется следующим образом в зависимости от относительной величины продольной силы

:
а) при


; (112)
б) при


, (113)

, (114)

.
Если значение a' не превышает

, необходимое количество арматуры можно определять с помощью графика
черт. 35, используя формулу

,
где

определяется по графику черт. 35 в зависимости от значений

и

, при этом значение момента M относительно центра тяжести сечения определяется с учетом прогиба элемента согласно
пп. 3.54 -
3.56.
Черт. 35. Графики несущей способности внецентренно сжатых
элементов прямоугольного сечения с симметричной арматурой

.
При статическом расчете по недеформированной схеме и при использовании коэффициента

подбор арматуры по приведенным формулам и графику
черт. 35 производится в общем случае путем последовательных приближений.
Для элементов из тяжелого бетона классов B15 - B50, а также из легкого бетона классов B10 - B40 при марке по средней плотности не ниже D1800, при

и при a' не более

подбор арматуры можно производить без последовательных приближений с помощью графиков
Прил. 3, при этом используются значения M без учета коэффициента

.
3.63. При наличии арматуры, расположенной по высоте сечения, расчет внецентренно сжатых элементов допускается производить по
формулам (117) и
(118), рассматривая всю арматуру как равномерно распределенную по линиям центров тяжести стержней
(черт. 36). При этом площадь сечения арматуры

, расположенной у одной из граней, параллельных плоскости изгиба, принимается равной:

, (115)
где

- площадь одного промежуточного стержня; при разных диаметрах принимается средняя площадь сечения стержня;

- число промежуточных стержней.
Черт. 36. Схема, принимаемая при расчете внецентренно
сжатого элемента прямоугольного сечения с арматурой,
расположенной по высоте сечения
Площадь сечения арматуры

, расположенной у одной из граней, перпендикулярных плоскости изгиба, равна:

, (116)
где

- площадь всей арматуры в сечении элемента.
Проверка прочности сечения производится в зависимости от относительной высоты сжатой зоны

:
а) при

прочность сечения проверяется из условия

, (117)
б) при

прочность сечения проверяется из условия

, (118)
где

- относительная величина продольной силы при равномерном сжатии всего сечения;

- относительные величины соответственно изгибающего момента и продольной силы при высоте сжатой зоны

, равные:

;

;
Эксцентриситет продольной силы

определяется с учетом прогиба элемента согласно
пп. 3.54 -
3.56.
Примечание. При расположении арматуры в пределах крайних четвертей высоты

(см.
черт. 36) расчет производится согласно
пп. 3.61 и
3.62, рассматривая арматуру S и S', сосредоточенной по линиям их центров тяжести.
3.64. Расчет сжатых элементов из тяжелого бетона классов B15 - B40 или из легкого бетона классов B12,5 - B30 и марок по средней плотности не ниже D1800 на действие продольной силы, приложенной с эксцентриситетом, принятым, согласно
п. 3.50, равным случайному эксцентриситету

, при

допускается производить из условия

, (119)
где

- коэффициент, определяемый по формуле

, (120)
но принимаемый не более

,
здесь

- коэффициенты, принимаемые по
табл. 26 и
27;

;
Бетон | | Коэффициент  при l0/ h |
6 | 8 | 10 | 12 | 14 | 16 | 18 | 20 |
Тяжелый | 0 | 0,93 | 0,92 | 0,91 | 0,90 | 0,89 | 0,88 | 0,86 | 0,84 |
| 0,5 | 0,92 | 0,91 | 0,90 | 0,89 | 0,86 | 0,82 | 0,78 | 0,72 |
| 1,0 | 0,92 | 0,91 | 0,89 | 0,86 | 0,82 | 0,76 | 0,69 | 0,61 |
Легкий | 0 | 0,92 | 0,91 | 0,90 | 0,88 | 0,86 | 0,82 | 0,77 | 0,72 |
| 0,5 | 0,92 | 0,90 | 0,88 | 0,84 | 0,79 | 0,72 | 0,64 | 0,55 |
| 1,0 | 0,91 | 0,90 | 0,86 | 0,80 | 0,71 | 0,62 | 0,54 | 0,45 |
Бетон | | Коэффициент  при l0/ h |
6 | 8 | 10 | 12 | 14 | 16 | 18 | 20 |
А. При a = a' < 0,15 h и при отсутствии промежуточных стержней (см. эскиз) или при площади сечения этих стержней менее As,tot/3 |
Тяжелый | 0 | 0,93 | 0,92 | 0,91 | 0,90 | 0,89 | 0,88 | 0,86 | 0,84 |
| 0,5 | 0,92 | 0,92 | 0,91 | 0,89 | 0,88 | 0,86 | 0,83 | 0,79 |
| 1,0 | 0,92 | 0,91 | 0,90 | 0,89 | 0,87 | 0,84 | 0,79 | 0,74 |
Легкий | 0 | 0,92 | 0,92 | 0,91 | 0,89 | 0,88 | 0,85 | 0,82 | 0,77 |
| 0,5 | 0,92 | 0,91 | 0,90 | 0,88 | 0,86 | 0,83 | 0,77 | 0,71 |
| 1,0 | 0,92 | 0,91 | 0,90 | 0,88 | 0,85 | 0,80 | 0,74 | 0,67 |
Б. При 0,25 h > a = a' >= 0,15 h или при площади сечения промежуточных стержней (см. эскиз), равной или более As,tot/3, независимо от величины a |
Тяжелый | 0 | 0,92 | 0,92 | 0,91 | 0,89 | 0,87 | 0,85 | 0,82 | 0,79 |
| 0,5 | 0,92 | 0,91 | 0,90 | 0,88 | 0,85 | 0,81 | 0,76 | 0,71 |
| 1,0 | 0,92 | 0,91 | 0,89 | 0,86 | 0,82 | 0,77 | 0,70 | 0,63 |
Легкий | 0 | 0,92 | 0,91 | 0,90 | 0,88 | 0,85 | 0,81 | 0,76 | 0,69 |
| 0,5 | 0,92 | 0,91 | 0,89 | 0,86 | 0,81 | 0,73 | 0,65 | 0,57 |
| 1,0 | 0,91 | 0,90 | 0,88 | 0,84 | 0,76 | 0,68 | 0,60 | 0,52 |

- продольная сила от действия постоянных и длительных нагрузок;
N - продольная сила от действия всех нагрузок.
1 - рассматриваемая плоскость; 2 - промежуточные стержни
ПРЯМОУГОЛЬНЫЕ СЕЧЕНИЯ С НЕСИММЕТРИЧНОЙ АРМАТУРОЙ
3.65. Проверка прочности прямоугольных сечений с несимметричной арматурой, сосредоточенной у наиболее сжатой и растянутой (наименее сжатой) граней элемента, производится согласно
п. 3.61, при этом
формулы (107),
(109) и
(110) приобретут вид:

; (107а)

; (109а)

, (110а)
где

.
3.66. Площади сечений сжатой и растянутой арматуры, соответствующие минимуму их суммы, определяются по формулам:
для элементов из бетона класса B30 и ниже:

; (121)

; (122)
для элементов из бетона класса выше B30:

; (123)

, (124)
где

- определяются по
табл. 18 и
19 и принимаются соответственно не более 0,4 и 0,55.
При отрицательном значении

, вычисленном по
формуле (122) или (124), площадь сечения арматуры S принимается минимальной из конструктивных требований, но не менее величины

, (125)
а площадь сечения арматуры S' определяется:
при отрицательном значении

- по формуле

; (126)
при положительном значении

- по формуле

. (127)
Если принятая площадь сечения сжатой арматуры

значительно превышает ее значение, вычисленное по
формуле (121) или
(123) (например, при отрицательном значении

), площадь сечения растянутой арматуры может быть уменьшена исходя из формулы

, (128)
где

- определяется по
табл. 20 в зависимости от значения

. (129)
Если сжатая арматура отсутствует или не учитывается в расчете, площадь сечения растянутой арматуры определяется всегда только по
формуле (128), при этом должно удовлетворяться условие

.
ДВУТАВРОВЫЕ СЕЧЕНИЯ С СИММЕТРИЧНОЙ АРМАТУРОЙ
3.67. Проверка прочности двутавровых сечений с симметричной арматурой, сосредоточенной в полках (черт. 37), производится следующим образом.
Черт. 37. Схема усилий в поперечном двутавровом сечении
внецентренно сжатого элемента
Если соблюдается условие

(130)
(т.е. граница сжатой зоны проходит в полке), расчет производится как для прямоугольного сечения шириной

в соответствии с
п. 3.61.
Если условие (130) не соблюдается (т.е. граница сжатой зоны проходит в ребре), расчет производится в зависимости от высоты сжатой зоны

:
а) при

прочность сечения проверяется из условия

; (131)
б) при

прочность сечения проверяется из условия (131), определяя высоту сжатой зоны по формуле

, (132)

- площадь сжатых свесов полки, равная

.
Если значение x, определенное по формуле (132), превышает

(т.е. граница сжатой зоны проходит по менее сжатой полке), можно учесть повышение несущей способности сечения за счет включения в работу менее сжатой полки. Расчет при этом (если

) производится по
формулам (131) и
(132) с заменой b на

,

на (

), принимая

.
Примечание. При переменной высоте свесов полок значения

и

принимаются равными средней высоте свесов.
3.68. Требуемое количество симметричной арматуры двутавровых сечений определяется следующим образом.
При соблюдении
условия (130) подбор арматуры производится как для прямоугольного сечения шириной

согласно
п. 3.62.
Если
условие (130) не соблюдается, подбор арматуры производится в зависимости от относительной высоты сжатой зоны

:

: (133)
а) при


; (134)
б) при


, (135)
где относительная высота сжатой зоны

определяется из
формулы (132), принимая

. (136)

.
3.69. Проверка прочности кольцевых сечений
(черт. 38) при соотношении внутреннего и наружного радиусов

и арматуре, равномерно распределенной по окружности (при продольных стержнях не менее 6), производится следующим образом в зависимости от относительной площади сжатой зоны бетона

:

: (137)
а) при

- из условия

; (138)
б) при

- из условия

, (139)
где

; (140)
в) при

- из условия

, (141)
где

. (142)
Черт. 38. Схема, принимаемая при расчете кольцевого сечения
внецентренно сжатого элемента

- площадь сечения всей продольной арматуры;

;

- радиус окружности, проходящей через центры тяжести стержней рассматриваемой арматуры.
Эксцентриситет продольной силы

определяется с учетом прогиба элемента согласно
пп. 3.54 -
3.56.
3.70. Проверку прочности, а также определение необходимого количества продольной арматуры для кольцевых сечений, указанных в
п. 3.69, при

допускается производить с помощью графиков
черт. 39, используя формулы:

; (143)

, (144)

,
где значения

и

определяются по графику в зависимости от значений соответственно

и

, а также

. При этом эксцентриситет

определяется с учетом прогиба элемента согласно
пп. 3.54 -
3.56.
Черт. 39. Графики несущей способности внецентренно сжатых
элементов кольцевого сечения
3.71. Прочность круглых сечений
(черт. 40) с арматурой, равномерно распределенной по окружности (при числе продольных стержней не менее 6), при классе бетона не выше B30 проверяется из условия

, (145)
где r - радиус поперечного сечения;

- относительная площадь сжатой зоны бетона, определяемая следующим образом:
при выполнении условия

(146)
из решения уравнения

; (147)

; (148)

- коэффициент, учитывающий работу растянутой арматуры и принимаемый равным: при выполнении
условия (146) 
, но не более единицы; при невыполнении
условия (146) 
;

- площадь сечения всей продольной арматуры;

- радиус окружности, проходящей через центры тяжести стержней продольной арматуры.
Черт. 40. Схема, принимаемая при расчете круглого сечения
внецентренно сжатого элемента
Эксцентриситет продольной силы

определяется с учетом прогиба элемента согласно
пп. 3.54 -
3.56.
3.72. Проверку прочности, а также определение необходимого количества продольной арматуры для круглых сечений, указанных в
п. 3.71, допускается производить с помощью графиков
черт. 41, используя формулы:

; (149)

, (150)
где значения

и

определяются по
черт. 41 в зависимости от значений соответственно

и

, а также

. При этом эксцентриситет

определяется с учетом прогиба элемента согласно
пп. 3.54 -
3.56.
Условные обозначения:

при a/D = 0,05;

при a/D = 0,10
Черт. 41. Графики несущей способности внецентренно сжатых
элементов круглого сечения
РАСЧЕТ ЭЛЕМЕНТОВ, РАБОТАЮЩИХ НА КОСОЕ ВНЕЦЕНТРЕННОЕ СЖАТИЕ
3.73. Расчет нормальных сечений элементов, работающих на косое внецентренное сжатие, производится в общем случае согласно
п. 3.76, определяя положение прямой, ограничивающей сжатую зону, с помощью последовательных приближений.
3.74. Расчет элементов прямоугольного сечения с симметричной арматурой на косое внецентренное сжатие допускается производить с помощью графиков
черт. 42.
в)
г)
Черт. 42. Графики несущей способности элементов
прямоугольного сечения с симметричной арматурой,
работающих на косое внецентренное сжатие
а - при

; б - при

; в - при

;
г - при

(где

)
Прочность сечения считается обеспеченной, если точки с координатами

и

на графике, отвечающем параметру

, находятся внутри области, ограниченной кривой, отвечающей параметру

, и осями координат.
Значения

и

представляют собой изгибающие моменты от внешней нагрузки относительно центра тяжести сечения, действующие соответственно в плоскостях симметрии x и y. Влияние прогиба элемента учитывается умножением моментов

и

на коэффициенты

и

, определяемые соответственно для плоскостей x и y согласно
п. 3.54 при действующей продольной силе N.
Значения

и

представляют собой предельные изгибающие моменты, которые могут восприниматься сечением в плоскостях симметрии x и y с учетом действующей продольной силы N, приложенной в центре тяжести сечения.
Величины предельных моментов

и

представляют собой правые части
условий (117) и
(118). При этом дискретно расположенные стержни арматуры заменяются распределенным армированием.

; (151)

, (152)
где

- площадь арматуры, расположенной у граней, нормальных соответственно к осям симметрии x и y
(черт. 43);

- площадь каждого из промежуточных стержней, расположенных у граней, нормальных соответственно к осям симметрии x и y;

- число промежуточных стержней площадью

, расположенных по одной стороне сечения;

- площадь углового стержня;

;

- высота сечения при внецентренном сжатии соответственно в плоскостях x и y;

- площадь сечения всей продольной арматуры.
а)
б)
Черт. 43. Схемы расположения арматуры в прямоугольном
сечении при расчете на косое внецентренное сжатие
а - фактическая; б - расчетная
Параметры

и

определяются по формулам:

;

.
3.75. Расчет элементов симметричного двутаврового сечения при

и

с симметричной арматурой, расположенной в полках сечения, на косое внецентренное сжатие допускается производить с помощью графиков несущей способности, представленных на
черт. 44.
а)
г)
д)
е)
Черт. 44. Графики несущей способности элементов
симметричного двутаврового сечения,
работающих на косое внецентренное сжатие
а - при

; б - при

; в - при

;
г - при

; д - при

; е - при

(где

)
Расчет производится аналогично расчету, приведенному в
п. 3.74 для элементов прямоугольного сечения.
Предельный момент

, воспринимаемый сечением в плоскости оси симметрии x, проходящей в ребре, представляет собой правую часть
условия (131), уменьшенную на

, а предельный момент

во взаимно перпендикулярной плоскости симметрии y допускается определять как для прямоугольного сечения, составленного из двух полок, согласно
п. 3.63.
ОБЩИЙ СЛУЧАЙ РАСЧЕТА НОРМАЛЬНЫХ СЕЧЕНИЙ
ВНЕЦЕНТРЕННО СЖАТОГО ЭЛЕМЕНТА
(ПРИ ЛЮБЫХ СЕЧЕНИЯХ, ВНЕШНИХ УСИЛИЯХ И ЛЮБОМ АРМИРОВАНИИ)
3.76
(3.28). Расчет сечений внецентренно сжатого элемента в общем случае
(черт. 45) должен производиться из условия

, (153)
где

- расстояние продольной силы N до оси, параллельной прямой, ограничивающей сжатую зону, и проходящей через центр тяжести сечения растянутого стержня, наиболее удаленного от указанной прямой;

- статический момент площади сечения сжатой зоны бетона относительно указанной оси;

- статический момент площади сечения i-го стержня продольной арматуры относительно указанной оси;

- напряжение в i-м стержне продольной арматуры, определяемое согласно указаниям настоящего пункта.
Черт. 45. Схема усилий и эпюра напряжений в сечении,
нормальном к продольной оси железобетонного элемента,
в общем случае расчета по прочности
I - I - плоскость, параллельная плоскости действия
изгибающего момента, или плоскость, проходящая через точки
приложения продольной силы и равнодействующих внутренних
сжимающих и растягивающих усилий; А - точка приложения
равнодействующих усилий в сжатой арматуре и в бетоне сжатой
зоны; Б - то же, в растянутой арматуре; 1 - 8 - стержни
Высота сжатой зоны x и напряжения

определяются из совместного решения уравнений:

; (154)

. (155)
В формулах (154) и (155):

- площадь сечения i-го стержня продольной арматуры;

- относительная высота сжатой зоны бетона, равная

, где

- расстояние от оси, проходящей через центр тяжести сечения рассматриваемого i-го стержня и параллельной прямой, ограничивающей сжатую зону, до наиболее удаленной точки сжатой зоны сечения (см.
черт. 45);
Напряжение

вводится в расчетные формулы со своим знаком, полученным при расчете по
формуле (155), при этом напряжения со знаком "плюс" означают растягивающие напряжения и принимаются не более

, а напряжения со знаком "минус" - сжимающие напряжения и принимаются по абсолютной величине не более

.
Для определения положения границы сжатой зоны при косом внецентренном сжатии кроме использования
формул (154) и
(155) требуется соблюдение дополнительного условия: точки приложения внешней продольной силы, равнодействующей сжимающих усилий в бетоне и арматуре и равнодействующей усилий в растянутой арматуре должны лежать на одной прямой (см.
черт. 45).
Если в сечении можно выявить характерную ось (например, ось симметрии или ось ребра Г-образного сечения), при косом внецентренном сжатии вместо соблюдения вышеуказанного дополнительного условия рекомендуется производить расчет из двух условий: из
условия (153), определяя значения

и

относительно оси x, проходящей через центр наиболее растянутого стержня параллельно указанной характерной оси, и из того же
условия (153), определяя значения

и

относительно оси y, пересекающей под прямым углом ось x в центре наиболее растянутого стержня. При этом положение прямой, ограничивающей сжатую зону, подбирается последовательными приближениями из
уравнений (154) и
(155), принимая угол наклона этой прямой

постоянным и равным углу наклона нейтральной оси, определенному как для упругого материала.
Прочность сечения будет обеспечена лишь при соблюдении
условия (153) относительно обеих осей (x и y). Если при обеих проверках
условие (153) не соблюдается, прочность не обеспечена и следует увеличить армирование, размеры сечения или повысить класс бетона. Если условие соблюдается только относительно одной оси, следует снова определить очертание сжатой зоны при другом угле

и произвести повторно аналогичный расчет.
ПРЯМОУГОЛЬНЫЕ СЕЧЕНИЯ С СИММЕТРИЧНОЙ АРМАТУРОЙ
Пример 24. Дано: колонна рамного каркаса с сечением размерами b = 400 мм; h = 500 мм;

; бетон тяжелый класса B25 (

); арматура класса А-III (

); площадь ее сечения

; продольные силы и изгибающие моменты: от постоянных и длительных нагрузок

; от ветровой нагрузки

; расчетная длина колонны

.
Требуется проверить прочность сечения колонны.
Расчет.

. Поскольку имеют место усилия от нагрузки непродолжительного действия (ветровой), согласно
п. 3.1 установим необходимость расчета по
случаю "а".
Усилия от всех нагрузок равны:
N = 650 + 50 = 700 кН; M = 140 + 73 = 213 кН x м.
Определим моменты внешних сил относительно растянутой арматуры

и

, подсчитанные соответственно с учетом и без учета нагрузки непродолжительного действия (ветровой):

;

.
Так как

, производим расчет только по
случаю "б" (см.
п. 3.1), т.е. на действие всех нагрузок, принимая

(при

).
Так как

, расчет производим с учетом прогиба колонны согласно
п. 3.54, вычисляя

по
формуле (93).
Для этого определим:

;

,
следовательно, случайный эксцентриситет не учитываем.

.

.
Значение e равно:

.

.

,
т.е. прочность сечения обеспечена.
Пример 25. Дано: сечение элемента размерами b = 400 мм; h = 500 мм; a = a' = 40 мм; бетон тяжелый класса B25 (

); арматура симметричная класса А-III (

); продольные силы и изгибающие моменты: от постоянных и длительных нагрузок

; от ветровой нагрузки

; расчетная длина

.
Требуется определить площадь сечения арматуры.
Расчет.

. Поскольку имеется усилие от ветровой нагрузки, проверим
условие (1). Для этого вычислим:

;

;

;

.
Так как

, расчет производим только по
случаю "б", т.е. на действие всех нагрузок, принимая

(при

).
Так как

, расчет производим с учетом прогиба элемента согласно
п. 3.54, вычисляя

по
формуле (93).
Для этого определим:
Так как

, принимаем

.
В первом приближении принимаем

, тогда

.
Коэффициент

равен:

.
Значение e с учетом прогиба элемента равно:

.
Необходимое армирование определим согласно
п. 3.62.
Вычислим значения:

;

;

.

,
откуда

.
Поскольку полученное армирование существенно превышает армирование, принятое при определении

(

), значение

определено с "запасом", и его можно несколько уменьшить, уточнив значение

.
Принимаем

и аналогично вычислим значение

:

;

;

;

;

.
Окончательно принимаем

.
Пример 26. По данным
примера 25 требуется определить площадь арматуры, используя графики
Прил. 3.
Определим значения

и

:

;

.
| | ИС МЕГАНОРМ: примечание. В официальном тексте документа, видимо, допущена опечатка: график б в Приложении 3 отсутствует. | |
По графику б Прил. 3 при

и

находим

.
| | ИС МЕГАНОРМ: примечание. В официальном тексте документа, видимо, допущена опечатка: график в в Приложении 3 отсутствует. | |
По графику в Прил. 3 при

и

находим

.
Значение

, соответствующее

, определим линейной интерполяцией:

.
Отсюда площадь сечения арматуры равна:

.
Принимаем

.
Пример 27. Дано: колонна многоэтажного рамного каркаса с сечением размерами

; бетон тяжелый класса B25 (

); арматура симметричная класса А-III (

;

); продольные силы и изгибающие моменты в опорном сечении колонны: от постоянных и длительных нагрузок на перекрытиях

; от ветровых нагрузок

; кратковременные нагрузки на перекрытиях отсутствуют; расчетная длина колонны

.
Требуется определить площадь сечения арматуры.
Расчет.

. Поскольку имеется усилие от ветровой нагрузки, проверим
условие (1). Для этого вычислим:

;

;

;

.
Так как

,
условие (1) не выполняется и расчет производим дважды: по
случаю "а" - на действие длительных и постоянных нагрузок при

(т.е. при

) и по
случаю "б" - на действие всех нагрузок при

(т.е. при

). Расчет производится для опорного сечения.
Расчет по
случаю "а". Так как

, согласно
п. 3.54, следует учитывать прогиб колонны. Однако, согласно
п. 3.56, для колонн многоэтажных рам коэффициент

, вводимый на момент

от нагрузок на перекрытиях, принимается равным 1,0, а момент

от ветровых нагрузок в данном расчете не учитывается, поэтому расчетный момент равен

.
Расчетная продольная сила равна

, отсюда

. Оставляем

.
Необходимое армирование определим согласно
п. 3.62. Вычислим значения:

;

;

.

;

;

.

;

.

.

,
отсюда коэффициент

равен:

.
Согласно
п. 3.56, коэффициент

умножается на момент от ветровых нагрузок

, а коэффициент

, поэтому момент с учетом прогиба колонны равен:

.
Необходимое армирование определим согласно
п. 3.62 аналогично расчету по случаю "а", принимая

:

.

;

.
Отсюда

.
Окончательно принимаем

.
Пример 28. Дано: сечение элемента размерами b = 400 мм, h = 600 мм; бетон тяжелый класса B25 (

при

;

); арматура класса А-III (

;

) расположена в сечении, как показано на черт. 46; продольные силы и изгибающие моменты: от всех нагрузок N = 500 кН, M = 500 кН x м; от постоянных и длительных нагрузок

; расчетная длина

.
Требуется проверить прочность сечения.
Расчет производим согласно
п. 3.63. Принимая

и

, находим площади арматуры

и

:

;

.
Так как

, расчет производим с учетом прогиба элемента согласно
п. 3.54, вычисляя значение

по
формуле (93).
Для этого определим:

.
Так как

, принимаем

.
Значение

определим как для сечения с арматурой, расположенной по высоте сечения, согласно
п. 3.54:

.
Отсюда

.
Коэффициент

равен:

.
Определим величины:

;

;

.

;

,
т.е. прочность сечения обеспечена.
Пример 29. Дано: сечение колонны размерами b = 600 мм, h = 1500 мм; бетон тяжелый класса B30 (

при

); арматура класса А-III (

) расположена в сечении, как показано на
черт. 47; продольные силы и изгибающие моменты, определенные из расчета рамы по деформированной схеме: от всех нагрузок N = 12000 кН, M = 5000 кН x м; от постоянных и длительных нагрузок

; расчетная длина колонны в плоскости изгиба

, из плоскости изгиба

; фактическая длина колонны l = 12 м.
Требуется проверить прочность сечения.
Расчет в плоскости изгиба производим согласно
п. 3.63.
Принимая

и

, находим площади арматуры

и

:

;

.
Центр тяжести арматуры, расположенной у растянутой грани (

), отстоит от этой грани на расстоянии

,
тогда

.
Определим величины:

;

;

.
Для этого вычислим:

;

;

;

;

,
т.е. прочность сечения в плоскости изгиба обеспечена.
Расчет из плоскости изгиба. Так как расчетная длина из плоскости изгиба

и отношение

значительно превышает отношение

, соответствующее расчету колонны в плоскости изгиба, согласно
п. 3.51, следует рассчитывать колонну из плоскости изгиба, принимая эксцентриситет

равным случайному эксцентриситету

. При этом заменим обозначения h и b соответственно на b и h, т.е. за высоту сечения принимаем его размер из плоскости изгиба h = 600 мм.
Поскольку случайный эксцентриситет, согласно
п. 3.50, равен

и

, расчет производим согласно
п. 3.64.
Площадь сечения промежуточных стержней, расположенных по коротким сторонам, равна

. Поскольку

и a = 50 мм < 0,15 h = 0,15 x 600 = 90 мм, в расчете используем
табл. 27 (разд. А). Из
табл. 26 и
27 при

и

находим

и

.
Значение

.

.

,
т.е. прочность сечения из плоскости изгиба обеспечена.
Пример 30. Дано: колонна сечением 400 x 400 мм; расчетная длина равна фактической

; бетон тяжелый класса B25 (

при

); продольная арматура класса А-III (

); центрально-приложенные продольные силы: от постоянных и длительных нагрузок

; от кратковременной нагрузки

.
Требуется определить площадь сечения продольной арматуры.
Расчет, согласно
п. 3.50, производим с учетом случайного эксцентриситета

.
Поскольку

, случайный эксцентриситет принимаем равным

, тогда расчет можно производить согласно
п. 3.64, принимая

.
Из
табл. 26 и
27 для тяжелого бетона при

,

, предполагая отсутствие промежуточных стержней при

, находим

и

.

.
Отсюда

.

.
Аналогично определяем

.
Полученное значение

существенно превышает принятое в первом приближении, поэтому еще раз уточняем это значение:

;

;

.
Поскольку полученное значение

близко к принятому во втором приближении, суммарную площадь сечения арматуры принимаем равной:

.
Окончательно принимаем

.
ПРЯМОУГОЛЬНЫЕ СЕЧЕНИЯ С НЕСИММЕТРИЧНОЙ АРМАТУРОЙ
Пример 31. Дано: сечение элемента размерами b = 400 мм, h = 500 мм; a = a' = 40 мм; бетон тяжелый класса B25 (

при

;

); арматура класса А-III (

); продольная сила N = 800 кН; ее эксцентриситет относительно центра тяжести бетонного сечения

; расчетная длина

.
Требуется определить площади сечения арматуры S и S'.
Расчет.

. Так как

, расчет производим с учетом прогиба элемента согласно
п. 3.54. При этом, предположив, что

, значение

определим по упрощенной формуле

.

.
Значение e с учетом прогиба элемента равно:

.

;

.
Поскольку

, значения

и

не уточняем.
Принимаем

.
ЭЛЕМЕНТЫ С КОСВЕННЫМ АРМИРОВАНИЕМ
Пример 32. Дано: колонна связевого каркаса с размерами сечения и расположением арматуры по
черт. 48; бетон тяжелый класса B40 (

при

;

); продольная арматура класса А-VI; сетки косвенного армирования из стержней класса А-III, диаметром 10 мм (

), расположенные с шагом s = 130 мм по всей длине колонны; продольная сила при

: от всех нагрузок N = 6600 кН, от постоянных и длительных нагрузок

; то же, при

: N = 5500 кН и

; начальный эксцентриситет продольной силы

; расчетная длина колонны

.
Требуется проверить прочность колонны.
Расчет. Проверим прочность сечения, заключенного внутри контура сеток, с учетом косвенного армирования согласно
п. 3.57. Расчетные размеры сечения

. Поскольку

, косвенное армирование можно учитывать при расчете, при этом следует учитывать прогиб колонны согласно
пп. 3.54 и
3.58, так как

.
Принимая

и

, получим

.
Следовательно, принимаем

.
Поскольку промежуточные стержни продольной арматуры располагаются в крайних четвертях расстояния между крайними стержнями, равного

(см.
черт. 48)], согласно
примечанию к п. 3.63 принимаем арматуру S и S' как сосредоточенную по линиям их центров тяжести. Тогда, учитывая, что все стержни одинакового диаметра, имеем:

;

.

.
Значение критической силы

определим по
формуле (93), принимая

,
и умножая полученное значение на коэффициент

:

.
Коэффициент

равен:

.

.
Определим приведенную призменную прочность

согласно
п. 3.57.
Принимая

и

(см.
черт. 48), вычислим коэффициент

,
тогда

;

;

.
Поскольку здесь применена высокопрочная арматура класса А-VI, приведенное расчетное сопротивление арматуры сжатию определим согласно
п. 3.59:

;

.
Принимаем

.

.
тогда

.
Для этого по
формуле (104) определим значение

. Поскольку

, принимаем

, тогда

.
Определим, согласно
пп. 3.61 и
3.65, необходимые коэффициенты

и

, приняв

;

и

:

;

;

;

;

.
Отсюда

.
Значение

с заменой

на

равно:

,

;

,
т.е. прочность сечения обеспечена.
Проверим трещиностойкость защитного слоя колонны аналогичным расчетом на действие N = 5500 кН (при

), принимая, согласно
п. 3.60,

,

,

,

и рассматривая полное сечение колонны, т.е. b = h = 400 мм, a = a' = 41 + 25 = 66 мм,

.
Критическую силу

определим по
формуле (93), принимая

,

,

, т.е.

.
При определении коэффициента

учитываем продольные силы N и

при

, т.е.

, тогда

;

;

.
Коэффициент

равен:

;

.
Произведем расчет аналогично расчету на прочность:

;

;

;

;

;

;

;

,
т.е. трещиностойкость защитного слоя обеспечена.
ДВУТАВРОВЫЕ СЕЧЕНИЯ
Пример 33. Дано: размеры сечения и расположение арматуры - по
черт. 49; бетон тяжелый класса B30 (

;

при

); арматура класса А-III (

); площадь ее поперечного сечения

; продольные силы и изгибающие моменты: от постоянных и длительных нагрузок

; от всех нагрузок N = 2500 кН, M = 3700 кН x м; расчетная длина элемента: в плоскости изгиба

, из плоскости изгиба

; фактическая длина элемента l = 10,8 м.
Требуется проверить прочность сечения.
Расчет в плоскости изгиба. Принимаем расчетную толщину полки равной средней высоте свесов

.
Вычислим площадь и момент инерции бетонного сечения:

;

.
Радиус инерции сечения

.
Так как

и

, расчет производим с учетом прогиба элемента согласно
п. 3.54, принимая значение

равным:

.

.
Центр тяжести площади арматуры

и

отстоит от ближайшей грани на расстоянии

, откуда

.
Значение e с учетом прогиба элемента равно:

.

,
т.е. расчет производим как для двутаврового сечения.
Площадь сжатых свесов полки равна:

.
Определим высоту сжатой зоны:

.

,
т.е. прочность сечения в плоскости изгиба обеспечена.
Расчет из плоскости изгиба. Определим радиус инерции сечения из плоскости изгиба:

;

.
Так как гибкость из плоскости изгиба

значительно превышает гибкость в плоскости изгиба

, согласно
п. 3.51 проверим прочность сечения из плоскости изгиба, принимая эксцентриситет

равным случайному эксцентриситету

. Высота сечения при этом равна h = 600 мм.
Поскольку случайный эксцентриситет, согласно
п. 3.50,

, принимаем

, что при

позволяет производить расчет, согласно
п. 3.64, как для прямоугольного сечения, не учитывая в "запас" сечение ребра, т.е. принимая b = 2 x 215 = 430 мм.
Площадь сечения промежуточных стержней, расположенных вдоль обеих полок, равна

, а площадь сечения всех стержней

. Поскольку

, в расчете используем
табл. 27 (разд. Б). Из
табл. 27 для тяжелого бетона при

и

находим

.
Значение

. Следовательно,

.

,
т.е. прочность сечения из плоскости изгиба обеспечена.
Пример 34. Дано: размеры сечения и расположение арматуры - по
черт. 49; бетон тяжелый класса B30 (

при

;

); арматура симметричная класса А-III (

); продольная сила N = 6000 кН; изгибающий момент M = 3100 кН x м; расчетная длина элемента: в плоскости изгиба

, из плоскости изгиба

.
Требуется определить площадь сечения арматуры.
Расчет в плоскости изгиба. Из
примера 33 имеем:

;

.

.
Значение e с учетом прогиба элемента равно:

.

,
т.е. расчет производим как для двутаврового сечения.
Площадь сжатых свесов полки равна:

.
Определим значения

:

;

;

;

;

.

.

;

,
отсюда

.
Принимаем

.
Расчет из плоскости изгиба производим аналогично
примеру 33.
КОЛЬЦЕВЫЕ СЕЧЕНИЯ
Пример 35. Дано: сечение с внутренним радиусом

, наружным -

; бетон тяжелый класса B25 (

при

); продольная арматура класса А-III (

); площадь ее сечения

; продольная сила от полной нагрузки N = 1200 кН, ее эксцентриситет относительно центра тяжести сечения с учетом прогиба элемента равен

.
Требуется проверить прочность сечения.
Расчет. Вычислим площадь кольцевого сечения:

.
Относительная площадь сжатой зоны бетона равна:

;

.

,
т.е. прочность сечения обеспечена.
КРУГЛЫЕ СЕЧЕНИЯ
Пример 36. Дано: сечение диаметром D = 400 мм; a = 35 мм; бетон тяжелый класса B25 (

при

;

); продольная арматура класса А-III (

); площадь ее сечения

; продольные силы и изгибающие моменты: от постоянных и длительных нагрузок

; от всех нагрузок N = 600 кН, M = 140 кН x м; расчетная длина элемента

.
Требуется проверить прочность сечения.
Расчет. Вычислим:
площадь круглого сечения

;
радиус инерции сечения

;
гибкость элемента

.
Следовательно, расчет производим с учетом влияния прогиба элемента согласно
п. 3.54, а значение

определим по
формуле (92). Для этого вычислим:

;

.
Так как

, принимаем

.
Моменты инерции бетонного сечения и всей арматуры соответственно равны:

;

;

.
Тогда

.

.
Прочность сечения проверим с помощью графика
черт. 41.
По значениям

,

и

на графике находим

.
Поскольку

, прочность сечения обеспечена.
Пример 37. По данным
примера 36 необходимо подобрать продольную арматуру, пользуясь графиком
черт. 41.
Расчет. Из
примера 36 i = 100 мм, A = 125600 мм
2,

. Поскольку

, арматуру подбираем с учетом влияния прогиба элемента, вычисляя значение

по
формуле (92).
В первом приближении принимаем

, откуда

.
Тогда

.
Значение коэффициента

.
По значениям

,

находим

, откуда

.
Поскольку полученное армирование существенно превышает принятое в первом приближении (

), значение

определено с "запасом", и его можно несколько уменьшить, уточнив значение

.
Принимаем

и производим аналогичный расчет:

;

;

.
По значениям

,

и

на графике
черт. 41 находим

.

.
Принимаем

.
ЭЛЕМЕНТЫ, РАБОТАЮЩИЕ НА КОСОЕ ВНЕЦЕНТРЕННОЕ СЖАТИЕ
Пример 38. Дано: прямоугольное сечение колонны размерами b = 400 мм, h = 600 мм; бетон тяжелый класса B25 (

при

); продольная арматура класса А-III (

) расположена в сечении согласно
черт. 50; в сечении одновременно действуют продольная сила N = 2600 кН и изгибающие моменты: в плоскости, параллельной размеру

, и в плоскости, параллельной размеру

; моменты

и

даны с учетом прогиба колонны.
I - граница сжатой зоны в первом приближении;
II - окончательная граница сжатой зоны
Требуется проверить прочность сечения.
Расчет. Прочность проверим согласно
п. 3.74. Оси симметрии, параллельные размерам h и b, обозначим соответственно x и y. Определим предельные моменты

и

. Для этого вычислим распределенное армирование

и

. Из
черт. 50 
,

,

,

,

.

;

;

.
При определении, согласно
п. 3.63, момента

, действующего в плоскости оси x, принимаем:

,

; h = 600 мм; b = 400 мм.

;

;

;

;

.

.
При определении момента

, действующего в плоскости оси y, принимаем:

;

; h = 400 мм; b = 600 мм;

.

;

.

;

;

;

.

.
Поскольку

, прочность сечения проверим по графикам
черт. 42, а,
б, соответствующим

и

. На обоих графиках точка с координатами

и

лежит внутри области, ограниченной кривой, отвечающей параметру

, и осями координат.
Следовательно, прочность сечения обеспечена.
Пример 39. Дано: сечение колонны, характеристики материалов и значение продольной силы от всех нагрузок - из
примера 33; в сечении одновременно действуют изгибающие моменты в плоскости, параллельной размеру

и в плоскости, параллельной размеру

; моменты

и

даны с учетом прогиба колонны.
Требуется проверить прочность сечения.
Расчет. Прочность проверим согласно
п. 3.75. Определим предельный момент

, действующий в плоскости оси симметрии x, проходящей в ребре. Согласно
примеру 33, правая часть
условия (131) равна 5847 кН x м, тогда

.
Предельный момент

, действующий в плоскости оси симметрии y, нормальной к ребру, определим как для прямоугольного сечения, составленного из двух полок, согласно
п. 3.63. Тогда, согласно
черт. 49, имеем: h = 600 мм; b = 2 x 215 = 430 мм.
Определим распределенное армирование

и

:

;

;

;

.

;

;

;

;

;

.

.
Проверим прочность сечения, принимая b = 200 мм, h = 1500 мм.
Поскольку

, прочность сечения проверим по графикам
черт. 44, б,
в, соответствующим

и

.
На обоих графиках точка с координатами

и

лежит внутри области, ограниченной кривой, отвечающей параметру

, и осями координат.
Следовательно, прочность сечения обеспечена.
Пример 40. Дано: прямоугольное сечение колонны размерами b = 400 мм, h = 600 мм; бетон тяжелый класса B25 (

при

); продольная арматура класса А-III (

) по
черт. 50; в сечении одновременно действуют продольная сила N = 2600 кН и изгибающие моменты в плоскости, параллельной размеру

и в плоскости, параллельной размеру

; изгибающие моменты

и

даны с учетом прогиба колонны.
Требуется проверить прочность сечения, пользуясь формулами
п. 3.76 для общего случая расчета.
Расчет. Все стержни обозначим номерами, как показано на
черт. 50. Через центр тяжести наиболее растянутого стержня 5 проводим ось x параллельно размеру h = 600 мм и ось y параллельно размеру b.
Угол

между осью y и прямой, ограничивающей сжатую зону, принимаем, как при расчете упругого тела на косое внецентренное сжатие, т.е.:

.
Задаваясь значением

- размером сжатой зоны по наиболее сжатой стороне сечения h, можно определить для каждого стержня отношение

по формуле

, где

и

- расстояния от i-го стержня до наиболее сжатой стороны сечения в направлении осей соответственно x и y.
По значениям

определим напряжение

, принимая

,

(см.
табл. 18):

.
При этом, если

, что равносильно условию

(см.
табл. 18), принимаем

.
Если

, принимаем

.
Последнее условие после подстановки в него выражения для

приобретет вид

.
Затем определим сумму усилий во всех стержнях

.
Задаваясь в первом приближении значением

, произведем указанные вычисления, результаты которых приводим в следующей таблице:
| Asi, мм2 | ayi, мм | axi, мм |  , мм | x1 = 600 мм | x1 = 660 мм |
|  , МПа |  , Н | |  , МПа |  , Н |
1 | 804,3 | 350 | 50 | 680 | 0,882 | -210 | -168900 | 0,971 | -297 | -238877 |
2 | 804,3 | 50 | 50 | 140 | 4,29 | -365 | -293570 | 4,714 | -365 | -293570 |
3 | 314,2 | 350 | 300 | 930 | 0,645 | 138 | 43360 | 0,71 | 20 | 6284 |
4 | 314,2 | 50 | 300 | 390 | 1,54 | -365 | -114683 | 1,692 | -365 | -114683 |
5 | 804,3 | 350 | 550 | 1180 | 0,508 | 365 | 293570 | 0,56 | 339 | 272658 |
6 | 804,3 | 50 | 550 | 640 | 0,937 | 266 | 213944 | 1,031 | -348 | -279896 |
| |
Так как

, форма сжатой зоны треугольная и площадь ее равна:

.

,
т.е. площадь сжатой зоны занижена.
При

и

форма сжатой зоны трапециевидная и площадь ее равна:

.
Определим моменты внутренних сил относительно осей y и x. Для этого определим статические моменты площади сечения сжатой зоны относительно этих осей:

;

.
Тогда

;

.
Моменты внешних сил относительно осей y и x равны:

;

.
Поскольку

, а

, прочность сечения обеспечена.
РАСЧЕТ НАКЛОННЫХ СЕЧЕНИЙ
Пример 41. Дано: колонна многоэтажного рамного каркаса с сечением размерами b = 400 мм, h = 600 мм; a = a' = 50 мм; бетон тяжелый класса B25 (

при

); хомуты, расположенные по граням колонны, из арматуры класса А-III, диаметром 10 мм (

;

), шагом s = 400 мм; изгибающие моменты в верхнем и нижнем опорных сечениях равны

и растягивают соответственно левую и правую грани колонн; продольная сила N = 572 кН; длина колонны (расстояние между опорными сечениями) l = 2,8 м.
Требуется проверить прочность наклонных сечений колонны по поперечной силе.
Расчет.

. Расчет производим согласно
п. 3.31 с учетом рекомендаций
п. 3.53.
Поперечная сила в колонне равна:

.
Поскольку поперечная сила постоянна по длине колонны, длину проекции наклонного сечения принимаем максимально возможной, т.е. равной

.
Определим коэффициент

:

.
Поскольку

, т.е. хомуты требуются по расчету.

.

.
Поскольку
условие (57) не выполняется, определим значение

по формуле

,
откуда

;

принимаем равным

, тогда

.

,
т.е. прочность сечений по поперечной силе обеспечена.
Центрально и внецентренно растянутые элементы
ЦЕНТРАЛЬНО РАСТЯНУТЫЕ ЭЛЕМЕНТЫ
3.77
(3.26). При расчете сечений центрально растянутых железобетонных элементов должно соблюдаться условие

, (156)
где

- площадь сечения всей продольной арматуры.
ВНЕЦЕНТРЕННО РАСТЯНУТЫЕ ЭЛЕМЕНТЫ
РАСЧЕТ ПРЯМОУГОЛЬНЫХ СЕЧЕНИЙ, НОРМАЛЬНЫХ К ПРОДОЛЬНОЙ ОСИ
ЭЛЕМЕНТА, ПРИ РАСПОЛОЖЕНИИ ПРОДОЛЬНОЙ СИЛЫ В ПЛОСКОСТИ
ОСИ СИММЕТРИИ
3.78
(3.27). Расчет прямоугольных сечений внецентренно растянутых элементов с арматурой, сосредоточенной у наиболее растянутой и у сжатой (наименее растянутой) граней, должен производиться в зависимости от положения продольной силы N:
а) если продольная сила N приложена между равнодействующими усилий в арматуре S и S'
(черт. 51, а), т.е. при

, - из условий:

; (157)

; (158)
б) если продольная сила N приложена за пределами расстояния между равнодействующими усилий в арматуре S и S'
(черт. 51, б), т.е. при

, - из условия

, (159)
при этом высота сжатой зоны x определяется по формуле

. (160)
Черт. 51. Схема усилий и эпюра напряжений в сечении,
нормальном к продольной оси внецентренно растянутого
железобетонного элемента, при расчете его по прочности
а - продольная сила N приложена между равнодействующими
усилий в арматуре S и S'; б - то же, за пределами
расстояния между равнодействующими усилий в арматуре S и S'
При симметричном армировании прочность независимо от значения e' проверяется из
условия (157).
Примечание. Если при

высота сжатой зоны, определенная без учета сжатой арматуры

, меньше 2a', расчетную несущую способность можно несколько увеличить, произведя расчет по
формулам (159) и
(160) без учета сжатой арматуры.
3.79. Требуемое количество продольной арматуры определяется следующим образом:
а) при

определяется площадь сечения арматуры S и S' соответственно по формулам:

; (161)

; (162)
б) при

определяется площадь сечения растянутой арматуры

по формуле

, (163)
где

принимается по
табл. 20 в зависимости от значения

. (164)
При этом должно удовлетворяться условие

(см.
табл. 18 и
19). В противном случае следует увеличить сечение сжатой арматуры

, повысить класс бетона или увеличить размеры сечения.
Если

, площадь сечения растянутой арматуры

определяется по
формуле (161).
Площадь симметричной арматуры независимо от значения e' подбирается по
формуле (161).
Примечание. При

необходимое количество арматуры, определенное по
формуле (161), можно несколько снизить, если значение

, определенное по
табл. 20 без учета сжатой арматуры, т.е. по значению

, окажется меньше

. В этом случае площадь сечения растянутой арматуры

определяется по формуле

, (165)
где

определяется по
табл. 20 в зависимости от значения

.
ОБЩИЙ СЛУЧАЙ РАСЧЕТА НОРМАЛЬНЫХ СЕЧЕНИЙ ВНЕЦЕНТРЕННО
РАСТЯНУТОГО ЭЛЕМЕНТА (ПРИ ЛЮБЫХ СЕЧЕНИЯХ,
ВНЕШНИХ УСИЛИЯХ И ЛЮБОМ АРМИРОВАНИИ)
3.80. Расчет сечений внецентренно растянутого элемента в общем случае (см.
черт. 45) должен производиться из условия

, (166)
где

- расстояние от продольной силы N до оси, параллельной прямой, ограничивающей сжатую зону, и проходящей через точку сжатой зоны, наиболее удаленную от указанной прямой;

- статический момент площади сжатой зоны бетона относительно указанной оси;

- статический момент площади сечения i-го стержня продольной арматуры относительно указанной оси;

- напряжение в i-м стержне продольной арматуры.
Высота сжатой зоны x и напряжения

определяются из совместного решения
уравнений (154) и
(155) с заменой перед N знака "минус" знаком "плюс".
При косом внецентренном растяжении для определения положения границы сжатой зоны кроме использования
формул (154) и
(155) требуется соблюдение дополнительного условия, чтобы точки приложения внешней продольной силы, равнодействующей сжимающих усилий в бетоне и арматуре и равнодействующей усилий в растянутой арматуре лежали на одной прямой (см.
черт. 45).
РАСЧЕТ СЕЧЕНИЙ, НАКЛОННЫХ К ПРОДОЛЬНОЙ ОСИ ЭЛЕМЕНТА
3.81. Расчет наклонных сечений внецентренно растянутых элементов на действие поперечной силы производится как для изгибаемых элементов согласно
пп. 3.28 -
3.41. При этом значение

в
п. 3.31 определяется по формуле

, (167)
где

, но не более 0,8;
значение

принимается равным

. Кроме того, во всех формулах
пп. 3.29,
3.40 и
3.41 коэффициент

заменяется на

.
Расчет наклонных сечений внецентренно растянутых элементов на действие изгибающего момента производится как для изгибаемых элементов согласно
пп. 3.42 -
3.45. При этом высота сжатой зоны в наклонном сечении определяется с учетом растягивающей силы N по
формуле (160) или согласно
п. 3.80.
В случае выполнения условия

расчетный момент в наклонном сечении допускается определять как момент всех внешних сил, расположенных по одну сторону от рассматриваемого наклонного сечения, относительно оси, проходящей через центр тяжести арматуры S'.
Пример 42. Дано: растянутая ветвь двухветвевой колонны с поперечным сечением размерами b = 500 мм, h = 200 мм; a = a' = 40 мм; продольная арматура класса А-III (

); площадь ее сечения

; бетон тяжелый класса B25 (

при

); продольная растягивающая сила N = 44 кН; максимальный изгибающий момент M = 43 кН x м.
Требуется проверить прочность нормального сечения.
Расчет.

;

;

;

.
Поскольку арматура симметричная, прочность проверим из
условия (157):

,

,

,
т.е. прочность нормального сечения обеспечена.
Пример 43. Дано: прямоугольное сечение размерами b = 1000 мм, h = 200 мм; a = a' = 35 мм; бетон тяжелый класса B15 (

при

); продольная арматура класса А-III (

); площадь сечения арматуры S'

; растягивающая сила N = 160 кН; изгибающий момент M = 116 кН x м.
Требуется определить площадь сечения арматуры S.
Расчет.

;

;

;

.
Так как

, определим необходимую площадь сечения растянутой арматуры согласно
п. 3.79б.
Вычислим значение

.

.
Принимаем

.
Пример 44. Дано: прямоугольное сечение размерами b = 1000 мм, h = 200 мм; a = a' = 40 мм; бетон тяжелый класса B15 (

при

); продольная арматура класса А-III (

); растягивающая сила N = 532 кН; изгибающий момент M = 74 кН x м.
Требуется определить площадь сечения симметричной продольной арматуры.
Расчет.

;

;

;

.
Поскольку арматура симметричная, площадь сечения арматуры определим по
формуле (161):

.
Определим значение

без учета сжатой арматуры. Для этого вычислим значение

:

.

.
Принимаем

.
Пример 45. Дано: растянутая ветвь двухветвевой колонны с сечением размерами b = 500 мм, h = 200 мм; a = a' = 40 мм; бетон тяжелый класса B25 (

при

); хомуты, расположенные по граням ветви, из арматуры класса А-III (

); продольная растягивающая сила N = 44 кН; поперечная сила Q = 143 кН; расстояние между перемычками двухветвевой колонны l = 600 мм.
Требуется определить диаметр и шаг хомутов.
Расчет.

. Расчет производим согласно
п. 3.33а с учетом рекомендаций
п. 3.81.

.
Поскольку в пределах между перемычками поперечная сила постоянна, длину проекции наклонного сечения принимаем максимально возможной, т.е.

.
Тогда

.
Так как

, принимаем

.
Определим коэффициент

:

.
Поскольку

, интенсивность хомутов определим по
формуле (63):

.
Максимально допустимый шаг хомутов, согласно
п. 3.30, равен:

.
Кроме того, шаг хомутов, согласно
п. 5.58, не должен превышать 2h = 2 x 200 = 400 мм.
Принимаем шаг хомутов s = 100 мм <

, тогда

.
Принимаем два хомута диаметром по 10 мм (

).
Элементы, работающие на кручение с изгибом
(расчет пространственных сечений)
ЭЛЕМЕНТЫ ПРЯМОУГОЛЬНОГО СЕЧЕНИЯ
3.82
(3.37). При расчете элементов на кручение с изгибом должно соблюдаться условие

, (168)
где b, h - соответственно меньший и

размеры граней элемента.
При этом значение

для бетона класса выше B30 принимается как для бетона класса B30.
3.83. Пространственные сечения рассчитываются на совместное действие крутящих и изгибающих моментов, располагая сжатую зону у грани элемента, перпендикулярной плоскости действия изгибающего момента (1-я схема, черт. 52).
Черт. 52. Схема усилий в пространственном сечении 1-й схемы
Кроме того, пространственные сечения рассчитываются на совместное действие крутящих моментов и поперечных сил, располагая сжатую зону у грани элемента, параллельной плоскости действия изгибающего момента (2-я схема, черт. 53).
Черт. 53. Схема усилий в пространственном сечении 2-й схемы
3.84. Расчет пространственного сечения по
1-й схеме производится из условия

, (169)
при этом значение

принимается не более

, а значение

- не более

.

- длина проекции на продольную ось элемента линии, ограничивающей сжатую зону пространственного сечения; невыгоднейшее значение

в общем случае определяется последовательными приближениями и принимается не более 2h + b и не более

, при этом пространственное сечение не должно выходить за пределы элемента и его участка с однозначными и ненулевыми значениями T;

- площадь сечения всех продольных стержней, расположенных у растянутой от изгиба грани шириной b;

- усилие в поперечных стержнях, расположенных у растянутой от изгиба грани шириной b на единицу длины элемента, равное:

, (170)
где

- площадь сечения одного поперечного стержня;

- расстояние между поперечными стержнями;

. (171)
Моменты крутящий T и изгибающий M принимаются в поперечном сечении, проходящем через середину пространственного сечения
(черт. 54, а).
Черт. 54. Определение изгибающего и крутящего моментов
поперечной силы, действующих в пространственном сечении
а - 1-й схемы; б - 2-й схемы
Высота сжатой зоны

определяется по формуле

, (172)
где

- площадь сечения всех сжатых стержней, расположенных у грани шириной b.
Условие (169) также должно выполняться, если в качестве значений

и

принимать площади сечения продольной и поперечной арматуры, расположенной в сжатой от изгиба зоне; в этом случае значение M подставляется со знаком "минус".
Примечание. Ограничение, вводимое на значение

при использовании
условия (169), допускается учитывать и при использовании
формулы (172), что может привести к некоторому увеличению расчетной несущей способности.
3.85. Прочность по продольной арматуре, расположенной у растянутой от изгиба грани
(1-я схема), рекомендуется проверять:
а) для неразрезных балок и консолей, располагая пространственное сечение у опоры, а также для любых элементов, нагруженных сосредоточенными силами и крутящими моментами, располагая пространственные сечения у мест приложения этих сил и моментов со стороны участка с

крутящими моментами
(черт. 55), - из условия

, (173)
где

- наибольший изгибающий момент в начале пространственного сечения;
T, Q - соответственно крутящий момент и поперечная сила в сечении с наибольшим изгибающим моментом.
При этом

принимается не более

;
б) для элементов, нагруженных только равномерно распределенной нагрузкой q, если в пролетном сечении с наибольшим изгибающим моментом

имеет место крутящий момент

, - из условия

, (174)
где t - равномерно распределенный крутящий момент на единицу длины элемента.
Черт. 55. Расположение расчетных пространственных сечений
1-й схемы в балке, нагруженной сосредоточенными силами
1, 2 - расчетные пространственные сечения;

-
расчетные усилия для пространственного сечения 1;

- то же, для пространственного сечения 2
Прочность по продольной арматуре, расположенной у сжатой от изгиба грани, рекомендуется проверять для свободно опертых балок из
условия (173), принимая усилия T и Q в опорном сечении при

.
Если на рассматриваемых участках выполняется условие
продольную арматуру можно проверить только из условия чистого изгиба (см.
п. 3.15).
Прочность по поперечной арматуре, расположенной у любой грани шириной b, рекомендуется проверять из условия

. (176)
Примечание. Подобранную из
условия (173) продольную арматуру можно несколько уменьшить, если невыгоднейшее пространственное сечение длиной проекции

, равной:

, (177)
выходит за пределы длины элемента или его участка с однозначными и ненулевыми значениями T. В этом случае расчет производится общим методом согласно
п. 3.84 при соответственно уменьшенной длине проекции

.
3.86. Расчет пространственного сечения по 2-й схеме (см.
черт. 53) производится из условия

, (178)
при этом значение

принимается не более

, а значение

- не более

.
В условии (178):

- площадь сечения всех растянутых продольных стержней, расположенных у грани шириной h, параллельной плоскости изгиба;

- длина проекции на продольную ось элемента линии, ограничивающей сжатую зону пространственного сечения; невыгоднейшее значение

определяется по формуле

(179)
и принимается не более

и не более 2b + h, при этом пространственное сечение не должно выходить за пределы элемента и его участка с однозначными и ненулевыми значениями T;

; (180)
где

- площадь сечения одного поперечного стержня, расположенного у грани шириной h;

- расстояние между поперечными стержнями, расположенными у грани шириной h;

; (181)

- расстояние от грани шириной h до оси продольных стержней, расположенных у этой грани.
Крутящий момент T и поперечная сила Q принимаются в поперечном сечении, проходящем через середину пространственного сечения (см.
черт. 54, б).
В случае, когда удовлетворяется
условие (175), расчет пространственного сечения по
2-й схеме не производится. Вместо него производится расчет наклонных сечений согласно
пп. 3.31 -
3.38 без учета отогнутых стержней. При этом в соответствующих формулах к поперечной силе Q добавляется величина

(где T - крутящий момент в том же поперечном сечении, что и Q), а величина

умножается на коэффициент

(где

- эксцентриситет поперечной равномерно распределенной нагрузки q, вызывающий кручение элемента). В случае, если T < 0,25 Qb, при расчете наклонных сечений можно учитывать наличие отогнутых стержней.
3.87. Необходимую из расчета пространственного сечения по 2-й схеме интенсивность хомутов

допускается определять по формулам:
при


; (182)
при


, (183)
где T, Q - максимальные значения соответственно крутящего момента и поперечной силы на рассматриваемом участке.
При

следует увеличить площадь сечения арматуры

или размер сечения b так, чтобы было выполнено условие

.
Если поперечная нагрузка приложена в пределах высоты сечения и действует в сторону растянутой зоны, интенсивность вертикальных хомутов должна быть увеличена по сравнению с вычисленной по
формулам (182) и
(183) в соответствии с расчетом на отрыв согласно
п. 3.97.
ЭЛЕМЕНТЫ ТАВРОВОГО, ДВУТАВРОВОГО И ДРУГИХ СЕЧЕНИЙ,
ИМЕЮЩИХ ВХОДЯЩИЕ УГЛЫ
3.88. Поперечное сечение элемента следует разбивать на ряд прямоугольников (черт. 56), при этом, если высота свесов полок или ширина ребра переменны, принимаются их средние значения.
Черт. 56. Разделение на прямоугольники сечений,
имеющих входящие углы, при расчете на кручение с изгибом
Размеры поперечного сечения должны удовлетворять условию

, (184)
где

- соответственно

и меньший размеры каждого из составляющих сечение прямоугольников.
Кроме того, необходимо соблюдать требование
п. 3.30.
Если в пределах высоты сечения имеются полки (выступы), нижние или верхние грани которых не являются продолжением соответствующих граней элемента, расчет пространственных сечений ведется без учета этих полок как для элемента прямоугольного сечения согласно
пп. 3.83 -
3.87.
3.89. Расчет пространственного сечения на совместное действие крутящего и изгибающего моментов
(1-я схема, черт. 57) производится из условия

, (185)
при этом значение

принимается не более

.
Черт. 57. Схемы расположения сжатой зоны в пространственном
сечении 1-й схемы железобетонного элемента двутаврового
и таврового сечений, работающего на кручение с изгибом
C - центр тяжести продольной растянутой арматуры

- ширина соответственно сжатой грани и растянутой грани, нормальной к плоскости изгиба;

- длина проекции на продольную ось элемента линии, ограничивающей сжатую зону пространственного сечения; значение

принимается соответствующим значению угла наклона пространственной трещины к оси элемента 45° на всех гранях элемента и определяется (без учета

) по формуле

,
при этом длина

не должна выходить за пределы элемента и его участка с однозначными и ненулевыми значениями T;

- площадь сечения всех продольных стержней, расположенных в растянутой от изгиба зоне;

- высота сжатой зоны, определяемая как для плоского поперечного сечения изгибаемого элемента (см.
п. 3.20);

; (186)

- площадь поперечных стержней, расположенных в одной плоскости в растянутой от изгиба зоне, и шаг этих стержней;

- расстояние от сжатой грани до равнодействующей усилий в поперечных стержнях растянутой зоны.
Моменты крутящий T и изгибающий M в
условии (185) принимаются в поперечном сечении, проходящем через середину пространственного сечения.
В случае изменения шага поперечных стержней

в пределах длины

учитывается средний шаг на участке длиной

, расположенном симметрично относительно поперечного сечения, проходящего через середину пространственного сечения.
Кроме того, следует проверить прочность нормального сечения согласно
п. 3.20.
Примечание. Ограничение, вводимое на значение

при использовании
условия (185), допускается учитывать и при вычислении высоты сжатой зоны

, что приведет к некоторому увеличению расчетной несущей способности.
3.90. Расчет пространственного сечения на совместное действие крутящего момента и поперечной силы
(2-я схема, черт. 58) производится из условия

, (187)
при этом значение

принимается не более

.
Черт. 58. Схемы расположения сжатой зоны
в пространственном сечении 2-й схемы железобетонного
элемента двутаврового, таврового и Г-образного сечений,
работающего на кручение с изгибом C - центр
тяжести продольной растянутой арматуры

- меньшая ширина полки элемента или при одной полке ширина ребра;

- площадь всех продольных стержней, расположенных в растянутой зоне при данной схеме;

- длина проекции на продольную ось элемента линии, ограничивающей сжатую зону пространственного сечения, определяемая по формуле

,
где

- ширина свеса полки, расположенного в растянутой зоне, при этом длина

не должна выходить за пределы элемента или его участка с однозначными и ненулевыми значениями T;

- высота сжатой зоны, определяемая как для плоского поперечного сечения изгибаемого элемента при данной схеме расположения сжатой зоны, при этом не учитывается сжатый свес полки, выступающий за грань полки меньшей ширины или за грань ребра при одной полке;

; (188)

- соответственно площадь сечения одного поперечного стержня, расположенного в растянутой зоне при данной схеме на всю высоту h, и его шаг;

- расстояния от боковой сжатой грани полки (или ребра) шириной

до равнодействующей усилий соответственно в продольных стержнях площадью

и в поперечных стержнях площадью

.
Крутящий момент T и поперечная сила Q в
условии (187) принимаются в поперечном сечении, проходящем через середину пространственного сечения.
В случае изменения шага поперечных стержней

в пределах длины

учитывается средний шаг на участке длиной h, расположенном симметрично относительно поперечного сечения, проходящего через середину пространственного сечения.
Кроме того, следует проверить прочность наклонного сечения согласно
п. 3.31.
ЭЛЕМЕНТЫ КОЛЬЦЕВОГО СЕЧЕНИЯ С ПРОДОЛЬНОЙ АРМАТУРОЙ,
РАВНОМЕРНО РАСПРЕДЕЛЕННОЙ ПО ОКРУЖНОСТИ
3.91. Размеры поперечного кольцевого сечения элемента должны удовлетворять условию

, (189)
где

- соответственно внутренний и наружный радиусы кольцевого сечения.
Расчет пространственного сечения
(черт. 59) производится из условия

, (190)
где b, c - длина проекции линии, ограничивающей сжатую зону, соответственно на поперечное сечение элемента и на его продольную ось (см.
черт. 59). Значение b принимается равным

, (191)
значение c определяется согласно
п. 3.91;

- предельный изгибающий момент при чистом изгибе, принимаемый равным правой части
условий (138) или
(139);

; (192)

, s - соответственно площадь сечения стержня спиральной (кольцевой) арматуры и шаг навивки спирали (шаг колец);

- коэффициент, определяемый по формуле

(193)
Черт. 59. Пространственное сечение
железобетонного элемента кольцевого поперечного сечения,
работающего на кручение с изгибом
Черт. 60. График для определения коэффициента

при расчете элементов кольцевого поперечного сечения
на кручение с изгибом
Моменты крутящий T и изгибающий M в
условии (190) принимаются в поперечном сечении, проходящем через середину пространственного сечения.
Кроме того, должно быть проверено
условие (190) как при чистом кручении с умножением величины

на отношение

, где

- площадь сечения всей продольной арматуры.
3.92.
Условие (190) проверяется для пространственных сечений, в которых длина проекции c не выходит за пределы участка с однозначными и ненулевыми значениями T и не превышает

.
Для элементов с постоянным сечением по длине рекомендуется проверять пространственные сечения, начинающиеся от нормального сечения с наибольшим значением T, а при постоянных значениях T - от сечения с наибольшим значением

. В последнем случае невыгоднейшее значение c равно:

.
Для элементов с переменным сечением по длине рекомендуется проверять несколько пространственных сечений, расположенных в разных местах по длине, и при значениях c, равных:

,
при этом длина проекции c не должна выходить за пределы длины элемента. Размеры поперечного сечения принимаются соответствующими середине пространственного сечения.
Пример 46. Дано: ригель перекрытия торцевой рамы многоэтажного промышленного здания, нагруженный равномерно распределенной нагрузкой q = 154,4 кН/м и равномерно распределенными крутящими моментами t = 34,28 кН x м/м; поперечное сечение ригеля у опоры - по
черт. 61, а; эпюра крутящих моментов от вертикальных постоянных и длительных нагрузок - по
черт. 61, б; эпюры изгибающих моментов и поперечных сил от невыгоднейшей для опорного сечения комбинации вертикальных нагрузок и ветровой нагрузки - по
черт. 61, в,
г; эпюра изгибающих моментов от невыгоднейшей для пролетного сечения комбинации вертикальных нагрузок - по
черт. 61, д; бетон тяжелый класса B25; продольная и поперечная арматура класса А-III (

;

).
Требуется подобрать вертикальные и горизонтальные поперечные стержни и проверить прочность ригеля на совместное действие кручения и изгиба.
Расчет. Поскольку сечение имеет входящие углы, проверим
условие (184), разбив сечение на два прямоугольника размерами 800 x 320 и 155 x 250 мм и приняв

(т.е. при

):

,
Расчет пространственных сечений производим как для прямоугольного сечения размерами b = 300 мм и h = 800 мм, так как нижняя грань ригеля и выступающая полка образуют угол.
Так как для опорного сечения 0,5 Qb = 0,5 x 460 x 0,3 = 69 кН x м < T = 84 кН x м, согласно
пп. 3.85 и
3.86, расчет приопорного участка по
1-й и
2-й схемам необходим.
Необходимую из расчета по
2-й схеме интенсивность вертикальных стержней определяем согласно
п. 3.87.
Предварительно вычислим коэффициенты

и

:

;

,
где

.

.
Принимая шаг вертикальных хомутов

, находим площадь сечения одного хомута:

.
Принимаем хомуты диаметром 14 мм (

).
Проверим прочность по продольной арматуре, установленной у верхней растянутой грани приопорного участка ригеля согласно
п. 3.85а (1-я схема).
По
формуле (172) определим высоту сжатой зоны

, принимая

(т.е. при

, поскольку учитывается ветровая нагрузка):

.
Шаг и диаметр горизонтальных поперечных стержней приопорного участка принимаем такими же, как для вертикальных хомутов, т.е.

,

, отсюда

;

;

.
Проверим выражение

. Следовательно,

оставим без изменения.

,
т.е. верхней продольной арматуры из условия прочности установлено достаточно.
Из
условия (176) проверим прочность по горизонтальной поперечной арматуре, расположенной на приопорном участке:

,
т.е. горизонтальной поперечной арматуры на приопорном участке установлено достаточно.
Как видно из
черт. 61, б,
д,
в сечении с наибольшим пролетным изгибающим моментом имеет место крутящий момент, поэтому следует проверить прочность по продольной арматуре, установленной у нижней растянутой грани в средней части пролета ригеля из
условия (174).
Для этой части ригеля два верхних стержня

оборваны, и поэтому, согласно
черт. 61, а, имеем

; a' = 62 мм;

; a = 68 мм.
Определим высоту сжатой зоны

, принимая

(т.е. при

, поскольку ветровая нагрузка не учитывается):

.
Принимаем

, отсюда

.
Горизонтальные поперечные стержни в средней части пролета принимаем диаметром 14 мм (

) и с шагом

, отсюда

.

;

.

,
т.е. нижней продольной арматуры из условия прочности установлено достаточно.
Определим, на каком расстоянии

от нулевой точки эпюры T можно допустить шаг горизонтальных поперечных стержней 200 мм, используя
условие (176). Принимая

, имеем

, отсюда

.
Следовательно, шаг горизонтальных стержней 100 мм можно допустить на приопорных участках ригеля длиной 2,45 - 1,47

1 м.
Пример 47. Дано: балка перекрытия с поперечным сечением - по
черт. 62, а; расположение нагрузок, эпюры изгибающих и крутящих моментов, а также эпюра поперечных сил - по
черт. 62, б; бетон тяжелый класса B25 (

при

); продольная и поперечная арматура класса А-III (

;

).
Требуется проверить прочность балки на совместное действие кручения и изгиба.
Расчет. Разбиваем поперечное сечение на два прямоугольника размерами 200 x 400 и 350 x 400 мм и проверяем
условие (184):

.
Сначала проверим прочность пространственного сечения по 2-й схеме согласно
п. 3.90. При этом, поскольку сосредоточенные силы, приложенные посредине высоты сечения, вызывают отрыв растянутой зоны балки, учтем, что часть вертикальных хомутов воспринимает отрывающую силу, равную согласно
п. 3.97:
(где

).
Усилие на единицу длины балки в вертикальных хомутах, расположенных у правой грани, от действия отрывающей силы F определим, распределяя отрывающую силу на две ветви хомутов и принимая ширину площадки опирания силы F b = 300 мм, тогда

,
т.е.

.
Таким образом, учитываемая при расчете пространственного сечения величина

при

и

(см.
черт. 62, а) будет равна:

.
| | ИС МЕГАНОРМ: примечание. В официальном тексте документа, видимо, допущена опечатка: рисунок 58, в отсутствует. Возможно, имеется в виду рисунок 58. | |
Тогда значение

будет равно:

.
Пространственное сечение располагаем у опоры балки. Поскольку

, т.е. пространственное сечение не выходит за пределы участка с ненулевыми значениями T, оставляем

.
Расчетные значения Q и T принимаем на расстоянии

от опоры, т.е.

.
Поскольку

, оставляем

.
Высоту сжатой зоны

определяем как для прямоугольного сечения согласно
п. 3.20, принимая для данной схемы

и b = h = 800 мм (сжатый свес полки не учитывается).
Поскольку

составляет значительную долю от

, значение

определяем без учета сжатой арматуры:

.

,
Проверяем прочность пространственного сечения по 1-й схеме согласно
п. 3.89. Принимаем

;

.
Определяем длину проекции

:

.
Пространственное сечение располагаем на участке между опорой и первым грузом у места приложения этого груза. Поскольку

, т.е. пространственное сечение выходит за пределы балки, принимаем

. Расчетные значения M и T принимаем на расстоянии

от опоры, т.е.

.
Высоту сжатой зоны определяем как для прямоугольного сечения:

,

.

,
т.е. прочность сечения по
1-й схеме обеспечена.
Расчет железобетонных элементов
на местное действие нагрузок
3.93
(3.39). При расчете на местное сжатие (смятие) элементов без поперечного армирования должно удовлетворяться условие

, (194)
где N - продольная сжимающая сила от местной нагрузки;

- коэффициент, принимаемый равным:
при равномерном распределении местной нагрузки на площади смятия - 1,0;
при неравномерном распределении местной нагрузки на площади смятия (под концами балок, прогонов, перемычек) - 0,75;

- расчетное сопротивление бетона смятию, определяемое по формуле

, (195)
здесь

;

для бетона класса ниже B25;

для бетона класса B25 и выше;

, но не более следующих значений:
тяжелого, мелкозернистого и легкого классов:
выше B7,5 .................... 2,5
B3,5; B5; B7,5 ............... 1,5
легкого класса B2,5 ............ 1,2
при схеме приложения нагрузки по
черт. 63, б,
д,
ж независимо от вида и класса бетона - 1,0;

- расчетная площадь смятия, определяемая в соответствии с
п. 3.94.
| | ИС МЕГАНОРМ: примечание. Буквенное обозначение рисунков дано в соответствии с официальным текстом документа. | |
Черт. 63. Определение расчетной площади

при расчете на местное сжатие при местной нагрузке
а - по всей ширине элемента; б - краевой по всей ширине
элемента; в, г - в местах стирания концов прогонов и балок;
д - краевой на угол элемента; е - на часть длины и ширины
элемента; ж - краевой в пределах выступа стены (пилястры);
и - на сечение сложной формы; I - минимальная зона
армирования сетками, при которой косвенное армирование
учитывается в расчете
Если
условие (194) не удовлетворяется, рекомендуется применять косвенное армирование в виде сварных сеток и рассчитывать элемент в соответствии с
п. 3.95.
3.94
(3.40). В расчетную площадь

включается участок, симметричный по отношению к площади смятия
(черт. 63). При этом должны выполняться следующие правила:
при местной нагрузке по всей ширине элемента b в расчетную площадь включается участок длиной не более b в каждую сторону от границы местной нагрузки
(черт. 63, а);
при местной краевой нагрузке по всей ширине элемента расчетная площадь

равна площади смятия
(черт. 63, б);
при местной нагрузке в местах опирания концов прогонов и балок в расчетную площадь включается участок шириной, равной глубине заделки прогона или балки, и длиной не более расстояния между серединами пролетов, примыкающих к балке
(черт. 63, в);
если расстояние между балками превышает двойную ширину элемента, длина расчетной площади определяется как сумма ширины балки и удвоенной ширины элемента
(черт. 63, г);
при местной краевой нагрузке на угол элемента
(черт. 63, д) расчетная площадь

равна площади смятия

;
при местной нагрузке, приложенной на части длины и ширины элемента, расчетная площадь принимается согласно
черт. 63, е. При наличии нескольких нагрузок указанного типа расчетные площади ограничиваются линиями, проходящими через середину расстояний между точками приложения двух соседних нагрузок;
при местной краевой нагрузке, расположенной в пределах выступа стены (пилястры) или простенка таврового сечения, расчетная площадь

равна площади смятия
(черт. 63, ж);
при определении расчетной площади для сечений сложной формы не должны учитываться участки, связь которых с загруженным участком не обеспечена с необходимой надежностью
(черт. 63, и).
Примечание. При местной нагрузке от балок, прогонов, перемычек и других элементов, работающих на изгиб, учитываемая в расчете глубина опоры при определении

и

принимается не более 20 см.
3.95
(3.41). При расчете на местное сжатие элементов из тяжелого бетона с косвенным армированием в виде сварных поперечных сеток должно удовлетворяться условие

, (196)
где

- площадь смятия;

- приведенная призменная прочность бетона при расчете на местное сжатие, определяемая по формуле

, (197)
здесь

,

- обозначения те же, что в
п. 3.57;

, но не более 3,5;

- коэффициент, учитывающий влияние косвенного армирования в зоне местного сжатия; для схем
черт. 63, б,
д,
ж принимается

, при этом косвенное армирование учитывается в расчете при условии, что поперечные сетки установлены на площади не менее ограниченной пунктирными линиями на соответствующих схемах
черт. 63; для схем
черт. 63, а,
в,
г,
е,
и коэффициент

определяется по формуле

,

- площадь бетона, заключенного внутри контура сеток косвенного армирования, считая по их крайним стержням, для которой должно удовлетворяться условие

.
Если контур площади смятия выходит за пределы контура сеток косвенного армирования [например, на величину защитного слоя бетона арматуры сеток при расположении площади смятия у краев элемента (см.
черт. 63, а -
д,
ж,
и)], при определении значений

и

не учитывается площадь, занимаемая защитным слоем.
Наименьшую глубину заложения сеток косвенного армирования следует определять по формулам:

; (198)

. (199)
В формулах (198) и (199):
Число сеток принимается не менее двух. Кроме того, должны выполняться конструктивные требования
п. 5.79. При этом, если в каком-либо направлении размеры ячейки сетки превышают 100 мм или 1/4 меньшей стороны сечения, стержни сетки этого направления не учитываются при определении коэффициента

.
Пример 48. Дано: стальная стойка, опираемая на железобетонный фундамент и центрально-нагруженная силой N = 1000 кН (черт. 64); фундамент из тяжелого бетона класса B12,5 (

при

).
Требуется проверить прочность бетона под стойкой на местное сжатие (смятие).
Расчет производим в соответствии с указаниями
пп. 3.93 и
3.94.
Расчетную площадь

определяем в соответствии с
черт. 63, е.
Согласно черт. 64, имеем

;

.
Площадь смятия равна

. Поскольку класс бетона ниже B25,

.
Коэффициент

равен:

.
Определяем расчетное сопротивление бетона смятию по
формуле (195), принимая

с учетом

(см.
табл. 9) как для бетонной конструкции:

:

(где

).
Проверяем
условие (194), принимая

как при равномерном распределении местной нагрузки, тогда

,
т.е. прочность бетона на местное сжатие не обеспечена, и поэтому необходимо применить косвенное армирование. Принимаем косвенное армирование в виде сеток из арматурной проволоки класса Вр-I, диаметром 3 мм, ячейкой 100 x 100 мм и шагом по высоте s = 100 мм (

).
Проверяем прочность согласно
п. 3.95. Так как

, в расчет вводим

.
Коэффициент косвенного армирования сетками

определяем по
формуле (99).

.

;

.
Коэффициент

равен:

.

.

,
т.е. прочность бетона обеспечена.
Определяем наименьшую глубину заложения сеток по
формуле (198), принимая

:

,
т.е. достаточно установить две сетки.
3.96
(3.42). Расчет на продавливание плитных конструкций (без поперечной арматуры) от действия сил, равномерно распределенных на ограниченной площади, должен производиться из условия

, (200)
где F - продавливающая сила;

- коэффициент, принимаемый равным для бетона:
тяжелого ................. 1,00
мелкозернистого .......... 0,85
легкого .................. 0,80

- среднеарифметическое значение периметров верхнего и нижнего оснований пирамиды, образующейся при продавливании в пределах рабочей высоты сечения.
При определении

и F предполагается, что продавливание происходит по боковой поверхности пирамиды, меньшим основанием которой служит площадь действия продавливающей силы, а боковые грани наклонены под углом 45° к горизонтали (черт. 65, а).
а)
Черт. 65. Схема пирамиды продавливания
при угле наклона ее боковых граней к горизонтали
а - 45°; б - более 45°
Продавливающая сила F принимается равной силе, действующей на пирамиду продавливания, за вычетом нагрузок, приложенных к большему основанию пирамиды продавливания (считая по плоскости расположения растянутой арматуры) и сопротивляющихся продавливанию.
Если схема опирания такая, что продавливание может происходить только по поверхности пирамиды с углом наклона боковых граней более 45° [например, в свайных ростверках
(черт. 65, б)], тогда правая часть
условия (200) определяется для фактической пирамиды продавливания с умножением на

(где c - длина горизонтальной проекции боковой грани пирамиды продавливания). При этом значение несущей способности принимается не более значения, соответствующего пирамиде при

.
При установке в пределах пирамиды продавливания хомутов, нормальных к плоскости плиты, расчет должен производиться из условия

, (201)
но не более

,

- сумма всех поперечных усилий, воспринимаемых хомутами, пересекающими боковые грани пирамиды продавливания (175 МПа - предельное напряжение в хомутах).
При учете поперечной арматуры значение

должно быть не менее

.
Допускается учитывать в расчете и меньшее значение

при замене правой части
условия (201) на

, но не менее

.
При расположении хомутов на ограниченном участке вблизи сосредоточенного груза производится дополнительный расчет на продавливание пирамиды с верхним основанием, расположенным по контуру участка с поперечной арматурой, из
условия (200) без учета поперечной арматуры.
Поперечная арматура должна удовлетворять требованиям
п. 5.75.
3.97
(3.43). Расчет железобетонных элементов на отрыв от действия нагрузки, приложенной к его нижней грани или в пределах высоты его сечения
(черт. 66), должен производиться из условия

, (202)
где F - отрывающая сила;

- расстояние от уровня передачи отрывающей силы на элемент до центра тяжести сечения продольной арматуры S; при передаче нагрузки через монолитно связанные балки или консоли принимается, что нагрузка передается на уровне центра тяжести сжатой зоны элемента, вызывающего отрыв;

- сумма поперечных усилий, воспринимаемых хомутами, устанавливаемыми дополнительно сверх требуемых по расчету наклонного или пространственного сечения согласно
пп. 3.31 -
3.39,
3.86,
3.87 и
3.90; эта хомуты располагаются по длине зоны отрыва, равной:

, (203)
здесь b - ширина площадки передачи отрывающей силы F.
а)
б)
Черт. 66. Схема для определения длины зоны отрыва
а - при примыкании балок; б - то же, консолей;
I - центр тяжести сжатой зоны сечения примыкающего элемента
При равномерно распределенной нагрузке q, приложенной в пределах высоты сечения, необходимая интенсивность хомутов увеличивается на величину

.
3.98. Входящие углы в растянутой зоне элементов, армируемые пересекающимися продольными стержнями
(черт. 67), должны иметь поперечную арматуру, достаточную для восприятия:
а) равнодействующей усилий в продольных растянутых стержнях, не заведенных в сжатую зону, равной:

; (204)
б) 35% равнодействующей усилий во всех продольных растянутых стержнях, равных:

. (205)
Черт. 67. Армирование входящего угла, расположенного
в растянутой зоне железобетонного элемента
Необходимая по расчету из этих условий поперечная арматура должна быть расположена по длине

.
Сумма проекций усилий в поперечных стержнях (хомутах), располагаемых по этой длине, на биссектрису угла должна составлять не менее суммы

, т.е.

. (206)

- площадь сечения всех продольных растянутых стержней;

- площадь сечения продольных растянутых стержней, не заанкеренных в сжатой зоне;

- входящий угол в растянутой зоне элемента;

- площадь сечения поперечной арматуры в пределах длины s;

- угол наклона поперечных стержней к биссектрисе угла

.
3.99
(3.34). Расчет коротких консолей колонн [

;
(черт. 68)] на действие поперечной силы для обеспечения прочности по наклонной сжатой полосе между грузом и опорой должен производиться из условия

, (207)
в котором правая часть принимается не более

и не менее

.
Черт. 68. Расчетная схема для короткой консоли
при действии поперечной силы

- длина площадки опирания нагрузки вдоль вылета консоли;

- угол наклона расчетной сжатой полосы к горизонтали

;

- коэффициент армирования хомутами, расположенными по высоте консоли; здесь

- расстояние между хомутами, измеренное по нормали к ним.
При расчете учитываются хомуты горизонтальные и наклонные под углом не более 45° к горизонтали.
Напряжение сжатия в местах передачи нагрузки на консоль не должно превышать

(см.
п. 3.93).
Для коротких консолей, входящих в жесткий узел рамной конструкции с замоноличиванием стыка, значение

в
выражении (207) принимается равным вылету консоли

, если при этом выполняются условия M/Q >= 0,3 м и

(где M и Q - соответственно момент, растягивающий верхнюю грань ригеля, и поперечная сила в нормальном сечении ригеля по краю консоли). В этом случае правая часть
условия (207) принимается не более

.
При шарнирном опирании на короткую консоль сборной балки, идущей вдоль вылета консоли, при отсутствии специальных выступающих закладных деталей, фиксирующих площадку опирания (черт. 69), значение

в
условии (207) принимается равным 2/3 длины фактической площадки опирания.
Черт. 69. Расчетная схема для короткой консоли
при шарнирном опирании сборной балки,
идущей вдоль вылета консоли
Поперечное армирование коротких консолей должно удовлетворять требованиям
п. 5.77.
3.100. При шарнирном опирании балки на консоль колонны продольная арматура консоли проверяется из условия

, (208)
При этом продольная арматура консоли должна быть доведена до свободного конца консоли и иметь надлежащую анкеровку (см.
пп. 5.44 и
5.45).
При жестком соединении ригеля и колонны с замоноличиванием стыка и привариванием нижней арматуры ригеля к арматуре консоли через закладные детали продольная арматура консоли проверяется из условия

, (209)
где

- соответственно вылет и рабочая высота короткой консоли;

- горизонтальное усилие, действующее на верх консоли от ригеля, равное:

(210)
и принимаемое не более

(где

и

- соответственно высота и длина углового шва приваривания закладных деталей ригеля и консоли;

- расчетное сопротивление угловых швов срезу по металлу шва, определяемое согласно
СНиП II-23-81, при электродах Э42

; 0,3 - коэффициент трения стали по стали), а также не более

(где

и

- соответственно расчетное сопротивление и площадь сечения верхней арматуры ригеля).
M, Q - соответственно изгибающий момент и поперечная сила в нормальном сечении ригеля по краю консоли; если момент M растягивает нижнюю грань ригеля, значение M учитывается в
формуле (210) со знаком "минус";

- фактическая длина площадки опирания нагрузки вдоль вылета консоли;

- рабочая высота ригеля.
Пример 49. Дано: на короткую консоль колонны опирается свободно лежащая сборная балка
(черт. 70), идущая вдоль вылета консоли; длина площадки опирания

; ширина консоли (колонны) b = 400 мм; соответственно высота и вылет консоли h = 700 мм,

; бетон колонны тяжелый класса B25 (

,

при

;

); продольная арматура класса А-III (

); нагрузка на консоль Q = 700 кН.
Требуется проверить прочность консоли на действие поперечной силы и определить площадь сечения продольной арматуры и хомутов.
Расчет.

. Поскольку

и в то же время

, прочность консоли проверяем из
условия (207).
Согласно
п. 3.99 расчетную длину площадки опирания нагрузки принимаем равной:

.
Согласно
п. 5.77 принимаем шаг хомутов равным

.
При двухветвевых хомутах диаметром 10 мм имеем

, тогда

;

;

;

,
т.е. прочность консоли по поперечной силе обеспечена.
Из
условия (208) определим необходимую площадь сечения продольной арматуры консоли:

.
Принимаем

.
Расчет закладных деталей и соединений элементов
3.101
(3.44). Расчет нормальных анкеров, приваренных втавр к плоским элементам стальных закладных деталей, на действие изгибающих моментов, нормальных и сдвигающих сил от статической нагрузки, расположенных в одной плоскости симметрии закладной детали
(черт. 71), должен производиться по формуле

, (211)
где

- суммарная площадь поперечного сечения анкеров наиболее напряженного ряда;

- наибольшее растягивающее усилие в одном ряду анкеров, равное:

; (212)

- сдвигающее усилие, приходящееся на один ряд анкеров, равное:

; (213)

- наибольшее сжимающее усилие в одном ряду анкеров, определяемое по формуле

. (214)
Черт. 71. Схема усилий, действующих на закладную деталь
M, N, Q - соответственно момент, нормальная и сдвигающая силы, действующие на закладную деталь; момент определяется относительно оси, расположенной в плоскости наружной грани пластины и проходящей через центр тяжести всех анкеров;
z - расстояние между крайними рядами анкеров;

- число рядов анкеров вдоль направления сдвигающей силы; если не обеспечивается равномерная передача сдвигающей силы Q на все ряды анкеров, то при определении сдвигающего усилия

учитывается не более четырех рядов;

- коэффициент, определяемый для анкерных стержней диаметром 8 - 25 мм для тяжелого и мелкозернистого бетонов классов B12,5 - B50 и легкого бетона классов B12,5 - B30 по формуле

, (215)
но принимаемый не более 0,7; для тяжелого и мелкозернистого бетонов класса выше B50 коэффициент

принимается как для класса B50, а для легкого бетона класса выше B30 - как для класса B30. Для тяжелого бетона коэффициент

можно определять по табл. 28.
Диаметр анкера, мм | Значения коэффициента  для расчета нормальных анкеров закладных деталей в зависимости от класса тяжелого бетона и арматуры |
B15 | B20 | B25 | B30 | B40 | >= B50 |
А-I | А-II | А-III | А-I | А-II | А-III | А-I | А-II | А-III | А-I | А-II | А-III | А-I | А-II | А-III | А-I | А-II | А-III |
8 | 0,60 | - | 0,48 | 0,66 | - | 0,53 | 0,70 | - | 0,57 | 0,70 | - | 0,60 | 0,70 | - | 0,66 | 0,70 | - | 0,70 |
10 | 0,58 | 0,52 | 0,45 | 0,64 | 0,57 | 0,50 | 0,69 | 0,62 | 0,54 | 0,70 | 0,65 | 0,57 | 0,70 | 0,70 | 0,63 | 0,70 | 0,70 | 0,66 |
12 | 0,55 | 0,50 | 0,43 | 0,61 | 0,55 | 0,48 | 0,66 | 0,59 | 0,52 | 0,70 | 0,62 | 0,55 | 0,70 | 0,69 | 0,60 | 0,70 | 0,70 | 0,63 |
14 | 0,53 | 0,47 | 0,41 | 0,58 | 0,52 | 0,46 | 0,63 | 0,56 | 0,49 | 0,66 | 0,59 | 0,52 | 0,70 | 0,65 | 0,57 | 0,70 | 0,69 | 0,60 |
16 | 0,50 | 0,45 | 0,39 | 0,55 | 0,49 | 0,43 | 0,59 | 0,53 | 0,47 | 0,63 | 0,56 | 0,49 | 0,69 | 0,62 | 0,54 | 0,70 | 0,65 | 0,57 |
18 | 0,47 | 0,42 | 0,37 | 0,52 | 0,46 | 0,41 | 0,56 | 0,50 | 0,44 | 0,59 | 0,53 | 0,46 | 0,65 | 0,58 | 0,51 | 0,68 | 0,61 | 0,54 |
20 | 0,44 | 0,39 | 0,34 | 0,49 | 0,44 | 0,38 | 0,52 | 0,47 | 0,41 | 0,55 | 0,50 | 0,43 | 0,61 | 0,54 | 0,48 | 0,64 | 0,58 | 0,50 |
22 | 0,41 | 0,37 | 0,32 | 0,46 | 0,41 | 0,36 | 0,49 | 0,44 | 0,39 | 0,52 | 0,46 | 0,41 | 0,57 | 0,51 | 0,45 | 0,60 | 0,54 | 0,47 |
25 | 0,37 | 0,33 | 0,29 | 0,41 | 0,37 | 0,32 | 0,44 | 0,40 | 0,35 | 0,47 | 0,42 | 0,37 | 0,51 | 0,46 | 0,40 | 0,54 | 0,49 | 0,43 |
Примечания. 1. Для бетона класса B12,5 коэффициент

следует уменьшать на 0,02 по сравнению с коэффициентом

для бетона класса B15.
2. Значения коэффициента

приведены при

.

- в МПа;
при определении

коэффициент

(см.
п. 3.1) принимается равным 1,0;

- площадь сечения анкерного стержня наиболее напряженного ряда, см
2;

- коэффициент, принимаемый равным для бетона:
тяжелого .............. 1,0
мелкозернистого групп:
А ................... 0,8
Б и В ............... 0,7
легкого ...............

(

- средняя плотность бетона, кг/м3);

- коэффициент, определяемый по формуле

, (216)
но принимаемый не менее 0,15;
здесь

при

(имеется прижатие);

при

(нет прижатия);
если растягивающие усилия в анкерах отсутствуют, то коэффициент

принимается равным 1,0.
Площадь сечения анкеров остальных рядов должна приниматься равной площади сечения анкеров наиболее напряженного ряда.
В
формулах (212) и
(214) нормальная сила N считается положительной, если направлена от закладной детали (см.
черт. 71), и отрицательной - если направлена к ней. В случаях, когда нормальные усилия

и

, а также сдвигающее усилие

при вычислении по
формулам (212) -
(214) получают отрицательные значения, в
формулах (211),
(213) и
(216) их принимают равными нулю. Кроме того, если

получает отрицательное значение, в
формуле (213) принимается

.
При расположении закладной детали на верхней (при бетонировании) поверхности изделия коэффициент

уменьшается на 20%, а значение

в
формуле (213) принимается равным нулю.
3.102. Расчет нормальных анкеров закладных деталей на действие расположенных в двух плоскостях симметрии закладной детали изгибающих моментов и сдвигающих сил, а также нормальной силы и крутящих моментов выполняется в соответствии с "
Рекомендациями по проектированию стальных закладных деталей для железобетонных конструкций" (М., Стройиздат, 1984).
3.103
(3.45). В закладной детали с анкерами, приваренными внахлестку под углом от 15 до 30° (см.
п. 5.111), наклонные анкера, располагаемые симметрично относительно плоскости действия сдвигающей силы, рассчитываются на действие этой сдвигающей силы (при Q > N, где N - отрывающая сила) по формуле

, (217)
где

- суммарная площадь поперечного сечения наклонных анкеров;
При этом должны устанавливаться нормальные анкера, рассчитываемые по
формуле (211) при

и при значениях

, равных 0,1 сдвигающего усилия, определяемого по
формуле (213). Допускается уменьшать площадь сечения наклонных анкеров за счет передачи на нормальные анкера части сдвигающей силы, равной

. В этом случае

определяется по
формуле (216).
3.104. На приваренные к пластине упоры из полосовой стали или арматурных коротышей (см.
п. 5.114) можно передавать не более 30% сдвигающей силы, действующей на деталь при напряжениях в бетоне под упорами, равных

. При этом значение сдвигающей силы, передаваемой на анкера закладной детали, соответственно снижается.
3.105
(3.46). Конструкция сварных закладных деталей с приваренными к ним элементами, передающими нагрузку на закладные детали, должна обеспечивать включение в работу анкерных стержней в соответствии с принятой расчетной схемой. Внешние элементы закладных деталей и их сварные соединения рассчитываются согласно
СНиП II-23-81. При расчете пластин и фасонного проката на отрывающую силу рекомендуется принимать, что они шарнирно соединены с нормальными анкерными стержнями. Если элемент, передающий нагрузку, приваривается к пластине по линии расположения одного из рядов анкеров, при расчете отрывающую силу рекомендуется уменьшать на величину

(где

- число анкеров в данном ряду).
Кроме того, толщину пластины t расчетной закладной детали, к которой привариваются втавр анкера, следует проверять из условия

, (218)
где

- диаметр анкерного стержня, требуемый по расчету;

- расчетное сопротивление прокатной стали закладной детали сдвигу, равное

(где

- см.
СНиП II-23-81).
Для типов сварных соединений, обеспечивающих

зону включения пластины в работу при вырывании из нее анкерного стержня (см.
поз. 6 табл. 52), возможна корректировка
условия (218) с целью уменьшения толщины пластины. При действии на закладную деталь с уменьшенной толщиной пластины сдвигающей силы Q суммарная площадь сечения (перпендикулярного действию этой силы) пластины с приваренными к ней элементами в зоне расположения анкерных стержней вдоль силы Q принимается не менее площади сечения пластины толщиной, определяемой по
формуле (218).
3.106. При выполнении условия

, (219)
где

- см.
п. 3.101, т.е. когда все нормальные анкера растянуты, производят расчет на выкалывание бетона следующим образом:
а) для нормальных анкеров с усилением на концах (см.
п. 5.113) - из условия

, (220)
где A - площадь проекции на плоскость, нормальную к анкерам, поверхности выкалывания, идущей от усилений анкеров (краев анкерных пластин или высаженных головок) под углом 45° к осям анкеров; при эксцентриситете силы N относительно центра тяжести анкеров

размер проекции поверхности выкалывания в направлении этого эксцентриситета уменьшается на величину, равную

, при соответствующем смещении наклонной грани поверхности выкалывания
(черт. 72); площади анкерных пластин или высаженных головок, расположенных на поверхности выкалывания, не учитываются;

- коэффициент, принимаемый равным: для тяжелого и мелкозернистого бетонов - 0,5; для легкого бетона - 0,4;

- коэффициент, принимаемый равным:
при

.
Черт. 72. Схема выкалывания бетона анкерами закладной
детали с усилениями на концах при

1 - точка приложения нормальной силы N;
2 - поверхность выкалывания; 3 - проекция поверхности
выкалывания на плоскость, нормальную к анкерам
При этом, если часть стержня длиной a расположена в зоне бетона при

определяется по формуле

, (221)
здесь

- длина анкерного стержня;
сжимающие напряжения в бетоне

, перпендикулярные нормальному анкеру и распределенные по всей длине, определяются как для упругого материала по приведенному сечению от постоянно действующих нагрузок при коэффициенте надежности по нагрузке, равном 1,0;

- размеры проекции поверхности выкалывания;

- эксцентриситеты силы N относительно центра тяжести площади A в направлении соответственно размеров

и

;
б) для анкеров без усиления на концах расчет производится из условия

, (222)
где

- то же, что и A, если поверхность выкалывания проходит на расстоянии h от пластины закладной детали
(черт. 73);

- размеры проекции поверхности выкалывания;

- эксцентриситеты силы N относительно центра тяжести площади

в направлении соответственно размеров

и

;

- площадь сечения всех анкеров, пересекающих поверхность выкалывания;

- длина зоны анкеровки (см.
п. 5.44).
Черт. 73. Схема выкалывания бетона анкерами закладной
детали без усилений на концах при

1 - точка приложения нормальной силы N; 2 - поверхность
выкалывания; 3 - проекция поверхности выкалывания
на плоскость, нормальную к анкерам
Условие (222) проверяется при различных значениях h, меньших длины анкеров или равных ей.
Если число анкеров в направлении эксцентриситета больше двух, в
условиях (220) и
(222) силу N можно уменьшить на величину

.
Если концы анкеров находятся вблизи поверхности бетона, противоположной пластине закладной детали, необходимо произвести дополнительную проверку
условия (222) без учета последнего члена правой части условия при h, равном расстоянию от пластины до противоположной грани элемента, при этом часть площади

, расположенная между крайними рядами анкеров, не учитывается.
3.107. При выполнении условия

и наличии усиления на концах анкеров расчет бетона на выкалывание
(черт. 74) производится из условия

, (223)

- то же, что A в
формуле (220), если поверхность выкалывания начинается от места усиления анкеров наиболее растянутого ряда (см. черт. 74);
e - эксцентриситет усилия N относительно центра тяжести площади

в направлении размера a.
Черт. 74. Схема выкалывания бетона растянутыми анкерами
закладной детали при

1 - проекция поверхности выкалывания на плоскость,
нормальную к анкерам; 2 - анкерная пластина;
3 - точка приложения усилия

Расчет на выкалывание можно не производить, если концы анкеров заведены за продольную арматуру, расположенную у противоположной от закладной детали грани колонны, а усиления анкеров в виде пластин или поперечных коротышей зацепляются за стержни продольной арматуры диаметром: при симметричном зацеплении - не менее 20 мм, при несимметричном - не менее 25 мм
(черт. 75). В этом случае участок колонны между крайними рядами анкеров проверяется, согласно
пп. 3.31 и
3.53, на действие поперечной силы, равной:

,
где

- поперечная сила на участке колонны, прилежащем к наиболее растянутому ряду анкеров закладной детали, определяемая с учетом усилий, действующих на закладную деталь.
а)
б)
в)
Черт. 75. Конструкция закладной детали,
не требующей расчета на выкалывание
а - закладная деталь с коротышами, симметрично
зацепленными за продольную арматуру колонны; б - эпюра
Q участка колонны с закладной деталью; в - анкера закладной
детали с анкерными пластинами, несимметрично зацепленными
за продольную арматуру колонны; 1 - поперечные коротыши,
приваренные контактной сваркой к анкерам; 2 - анкера;
3 - анкерные пластины
3.108. Если сдвигающая сила Q действует на закладную деталь по направлению к краю элемента
(черт. 76), при отсутствии наклонных анкеров расчет на откалывание бетона производится из условия

, (224)
где

- см.
п. 3.106; при расположении закладной детали на верхней (при бетонировании) поверхности изделий из легких бетонов коэффициент

уменьшается на 20%;
b - ширина элемента, равная

(где

и

- расстояния от крайних рядов анкеров до ближайших краев элемента в направлении, нормальном к сдвигающей силе, принимаемые не более h; s - расстояние между крайними рядами анкеров в том же направлении);
h - расстояние от наиболее удаленного ряда анкеров до края элемента в направлении сдвигающей силы Q, принимаемое не более толщины элемента

(см. черт. 76);
e - эксцентриситет силы Q относительно середины ширины элемента b.
Черт. 76. Схема для расчета на откалывание бетона
нормальными анкерами закладной детали
В случае приложения к закладной детали кроме сдвигающей силы Q отрывающей силы N правая часть
условия (224) умножается на коэффициент

, принимаемый не менее 0,2 (где

- площадь проекции на плоскость, перпендикулярную отрывающей силе N, поверхности откалывания).
В случае приложения сдвигающей силы к закладной детали с наклонными анкерами, приваренными внахлестку и имеющими на концах усиления (см.
п. 5.113), расчет на откалывание бетона производится в соответствии с Рекомендациями, упомянутыми в
п. 3.102.
3.109. Если на концах анкеров закладной детали имеются усиления в виде анкерных пластинок или высаженных головок (см.
п. 5.113), бетон под этими усилениями проверяется на смятие из условия

, (225)
где

- коэффициенты, определяемые согласно
п. 3.93;

- площадь анкерной пластины или сечения высаженной головки за вычетом площади сечения анкера;

- сила смятия, определяемая следующим образом:
а) для анкеров, приваренных втавр, при

:
если вдоль анкера возможно образование трещин от растяжения бетона или в случае применения гладких анкерных стержней - по формуле

; (226)
если образование этих трещин невозможно - по формуле

; (227)
б) для анкеров, приваренных втавр, при

значение

, определенное по
формулам (226) и (227), увеличивается на

;
в) для анкеров, приваренных внахлестку,

определяется по формуле

. (228)

- соответственно наибольшее растягивающее и сдвигающее усилия, приходящиеся на один нормальный анкер (см.
п. 3.101);

- усилие в наклонном анкере.
Формулой (225) можно пользоваться, если толщина анкерной пластины составляет не менее 0,2 ее длины.
3.110. Определение перемещений сварных закладных деталей, расчет наклонных анкеров, приваренных под слоем флюса к пластине под углом более 45°, и расчет штампованных закладных деталей производятся согласно Рекомендациям, упомянутым в
п. 3.102.
Пример 50. Дано: закладная деталь колонны с приваренным столиком для опирания обвязочных балок, а также расположение и величины нагрузок от обвязочных балок - по черт. 77; анкера из арматуры класса А-III (

); бетон колонны тяжелый класса B20; пластина из стали марки ВСт3кп2 (

).
Требуется запроектировать нормальные анкера закладной детали и определить толщину пластины.
Расчет. Принимаем расположение анкеров, как показано на черт. 77. Поскольку все нагрузки действуют в одном направлении и не вызывают кручения, определяем суммарную площадь поперечного сечения анкеров наиболее напряженного верхнего ряда по
формуле (211).
Для этого вычислим момент внешних сил:
M = Ql = 150 x 0,15 = 22,5 кН x м.
Принимая z = 0,3 м и N = 0, определим наибольшее растягивающее усилие в одном ряду анкеров по
формуле (212):

.
На
черт. 77 сдвигающая сила Q = 150 кН, число рядов анкеров

.
Сдвигающее усилие, приходящееся на один ряд анкеров, вычислим по
формуле (213), принимая

:

.
Задаваясь диаметром анкеров 16 мм, по
табл. 28 при классе бетона B20 и классе арматуры А-III находим

, тогда

.
Принимаем по два анкера в каждом ряду диаметром 18 мм (

).
Проверим значение

при коэффициенте, соответствующем принятому диаметру 18 мм, т.е. при

:

.
Оставляем 2

18.
Определим минимально допустимую длину анкеров без усилений

согласно
п. 5.112. Для этого вычислим коэффициент

:

.
Значение

принимаем с учетом

(нагрузки непродолжительного действия отсутствуют), т.е.

.
Определим

, предполагая "в запас"

, т.е. принимая

:

.
Учитывая, что площадь

принята с запасом, уточним значение

:

.
Поскольку при такой длине анкеров размещение их в колонне невозможно, требуется уменьшить длину анкеров с устройством на концах усилений. Согласно
п. 5.113, концы анкеров усиливаем высаженными головками диаметром

и проверяем бетон на смятие под головкой и на выкалывание, приняв длину анкеров равной

.
Расчет на смятие производим согласно
п. 3.109.
Площадь смятия

под высаженной головкой одного анкера равна:

.
Предположим "в запас", что в колонне со стороны закладной детали возможно образование трещин. Тогда, согласно
п. 3.109, при

сила смятия будет равна:

.
Принимаем максимальное значение

, поскольку расчетная площадь бетона

здесь неопределенно велика;

.

,
т.е. прочность на смятие обеспечена.
Поскольку

, расчет на выкалывание производим согласно
п. 3.107. Концы анкеров с усилениями не заведены за продольную арматуру колонны, расположенную у противоположной от закладной детали грани колонны, поэтому расчет производим из
условия (223).

.
Усилие

приложено в центре тяжести площади

, следовательно, e = 0. Для тяжелого бетона

.
Проверим
условие (223), пренебрегая "в запас" сжимающими напряжениями бетона (т.е.

) и учитывая

(т.е.

):

,
т.е. прочность бетона на выкалывание обеспечена.
Принятые расстояния между анкерами в направлении поперек и вдоль сдвигающей силы, соответственно равные 260 мм > 5d = 5 x 18 = 90 мм и 150 мм > 7d = 7 x 18 = 126 мм, удовлетворяют требованиям
п. 5.111. Расстояние от оси анкера до грани колонны, равное 70 мм > 3,5d = 3,5 x 18 = 63 мм, также удовлетворяет требованиям
п. 5.111.
Конструкция столика, приваренного к закладной детали, обеспечивает равномерное распределение усилий между растянутыми анкерами и равномерную передачу сжимающих напряжений на бетон, не вызывая изгиба пластины закладной детали. Поэтому толщину этой пластины определим из
условия (218), принимая

, а диаметр анкера, требуемый по расчету, равным

:

.
Из условия механизированной дуговой сварки под флюсом (см.
табл. 52, поз. 1) толщина пластины должна быть не менее 0,65d = 0,65 x 18 = 11,7 мм.
Принимаем толщину пластины t = 14 мм.
Пример 51. Дано: закладная деталь колонны с приваренным раскосом стальных связей - по
черт. 78, а; растягивающая сила в раскосе от действия ветровых нагрузок 270 кН; анкера закладной детали из арматуры класса А-III (

); пластина закладной детали из стали марки ВСт3сп2 (

); бетон колонны тяжелый класса B30; армирование колонны - по
черт. 78, б; минимальная продольная сила в колонне 1100 кН; изгибающий момент в колонне на уровне закладной детали в плоскости анкеров 40 кН x м.
Требуется запроектировать анкера закладной детали, определить толщину пластины и проверить прочность окружающего бетона на выкалывание.
Расчет. Принимаем расположение рядов анкеров по вертикали, как показано на
черт. 78, а. Усилие в раскосе раскладываем на нормальную силу N, приложенную к закладной детали с эксцентриситетом

, и сдвигающую силу Q:
N = 270 cos 56°20' = 270 x 0,555 = 150 кН;
Q = 270 sin 56°20' = 270 x 0,832 = 225 кН.
При z = 0,42 м

определим наибольшее растягивающее усилие в одном ряду анкеров по
формуле (212):

.
Наибольшее сжимающее усилие в одном ряду анкеров вычислим по
формуле (214):

,
т.е. прижатие пластины к бетону отсутствует.
Сдвигающее усилие

, приходящееся на один ряд анкеров, определим по
формуле (213), принимая

:

.
Так как

,

,
отсюда

.
По
табл. 28, задаваясь диаметром анкеров 16 мм, при классе бетона B30 и анкерах из арматуры класса А-III находим

, тогда

.
Принимаем по два анкера в каждом ряду диаметром 18 мм (

). Проверим необходимое значение

при коэффициенте

, соответствующем принятому диаметру 18 мм, т.е. при

:

.
Оставляем по два анкера диаметром 18 мм. Располагаем анкера на минимальном расстоянии один от другого в горизонтальном направлении, равном 5d = 5 x 18 = 90 мм (см.
п. 5.111). Расстояния между анкерами в вертикальном направлении (т.е. в направлении сдвигающей силы Q), равные 140 мм > 7d = 7 x 18 = 126 мм, также удовлетворяют требованию
п. 5.111.
Определим толщину пластины закладной детали. Поскольку фасонка, передающая отрывающую силу на закладную деталь, располагается посредине расстояния между вертикальными рядами анкеров, толщину пластины определим из расчета на прочность пластины как консольной балки с вылетом 35 мм (см.
черт. 78) на действие растягивающего усилия в одном анкере, равного:

.
Ширину консольной балки принимаем b = 80 мм. Расчет производим из условия

, где

, откуда

.
Принимаем пластину из полосовой стали толщиной 22 мм, при этом выполняются
условие (218):
и требования любого вида сварки стержней втавр (см.
табл. 52): 0,75d = 0,75 x 18 = 13,5 мм < 22 мм.
Определим минимально допустимую длину анкеров без усилений по
формуле (316) с учетом
п. 5.112. Для этого вычислим коэффициент

:

.
Значение

принимаем с учетом

, поскольку нагрузка на закладную деталь вызвана только ветровой нагрузкой, т.е.

.
Для определения коэффициентов

и

вычислим максимальное и минимальное напряжения бетона в пределах длины анкера. Для этого вычислим приведенные площадь

и момент инерции

сечения колонны, принимая по
черт. 78, б 
:

;

,
здесь

.
Максимальное напряжение бетона в конце анкера длиной

(т.е. на расстоянии

от центра тяжести сечения):

.
Минимальное напряжение бетона в начале анкера, т.е. при

:

.
Поскольку анкер не расположен полностью в зоне с напряжением от

до

, определим длину части анкера a, расположенную в этой зоне:

.

.

определяем аналогично

с заменой коэффициентов 0,7 и 0,5 соответственно на 11 и 8 (см.
табл. 44):

.
Допустимая длина анкера равна:

.
Учитывая, что площадь

принята с запасом, уточняем

.
Принимаем длину анкера

.
Проверим бетон на выкалывание.
Поскольку все анкера растянуты и не имеют усилений, расчет производим из
условия (222). Определим площадь проекции поверхности выкалывания

с учетом смещения наклонной грани на

. При


.
Так как сила N приложена в центре тяжести площади

(как для тяжелого бетона).

.
Поскольку

. Учитывая, что

.

.
Проверим
условие (222) при

. Так как на расстоянии h от пластины поверхность выкалывания пересекает только две пары анкеров,

;

;

.
Поскольку с уменьшением h несущая способность бетона на выкалывание повышается, расчет при меньших значениях h не производим.
Проверим
условие (222) при значении h, равном высоте сечения колонны, т.е. h = 400 мм, без учета площади, расположенной между анкерами [(420 - 200)90 = 19800 мм
2]:

,
т.е. площадь

превышает площадь, вычисленную при h = 300 мм. Следовательно, прочность бетона на выкалывание обеспечена.
РАСЧЕТ СТЫКОВ СБОРНЫХ КОЛОНН
3.111. Стыки колонн, выполняемые ванной сваркой выпусков продольной арматуры, расположенных в специальных подрезках, при последующем замоноличивании этих подрезок (см.
п. 5.90) рассчитываются для двух стадий работы:
1-я до замоноличивания стыка - на нагрузки, действующие на данном этапе возведения здания; при определении усилий такие стыки условно принимаются шарнирными;
2-я после замоноличивания стыка - на нагрузки, действующие на данном этапе возведения здания и при эксплуатации; при определении усилий такие стыки принимаются жесткими.
3.112. Расчет незамоноличенных стыков колонн, указанных в
п. 3.111 (черт. 79), производится на местное сжатие бетона колонны центрирующей прокладкой из
условия (196) с добавлением в его правую часть усилия, воспринимаемого арматурными выпусками и равного:

, (229)
где

- коэффициент продольного изгиба для выпусков, определяемый в соответствии со СНиП II-23-81
(табл. 72) при расчетной длине

, равной фактической длине свариваемых выпусков;

- площадь сечения всех выпусков.
Черт. 79. Незамоноличенный стык колонны
1 - центрирующая прокладка; 2 - распределительный лист;
3 - ванная сварка арматурных выпусков;
4 - сетки косвенного армирования торца колонны
При этом значение

умножается на коэффициент

, учитывающий неравномерность распределения нагрузки под центрирующей прокладкой, а за расчетную площадь

принимается часть площади сечения торца колонны

в пределах контура сеток косвенного армирования размерами, не превышающими соответствующих утроенных размеров площади смятия

.
За площадь

принимается площадь центрирующей прокладки или, если центрирующая прокладка приваривается при монтаже к распределительному листу (см.
черт. 79), площадь этого листа. При этом его учитываемые размеры не должны превышать соответствующих размеров площади

, а толщина листа должна быть не менее 1/3 максимального расстояния от края листа до центрирующей прокладки.
3.113. Расчет замоноличенных стыков колонн, указанных в
п. 3.111, производится как для сечения колонны на участке с подрезками согласно
пп. 3.50 -
3.76 с учетом следующих рекомендаций:
а) при наличии косвенного армирования сетками как в бетоне колонн, так и в бетоне замоноличивания расчет ведется согласно
пп. 3.57 и
3.60, при этом рассматривается цельное сечение, ограниченное стержнями сеток, расположенными у граней замоноличенного участка колонны
(черт. 80);
б) при наличии косвенного армирования только в бетоне колонн расчет производится или с учетом этого косвенного армирования, но без учета бетона замоноличивания, или с учетом бетона замоноличивания, но без учета косвенного армирования колонн; прочность стыка считается обеспеченной при выполнении условия прочности хотя бы по одному из этих расчетов;
в) расчетные сопротивления бетона колонн и бетона замоноличивания (

или

) умножаются на коэффициенты условий работы, соответственно равные

и

;
г) при расчете с учетом замоноличивания значение

определяется по
формулам (15) или
(104) по классу бетона замоноличивания, если он располагается по всей ширине наиболее сжатой грани, и по наибольшему классу бетона, если по сжатой грани располагается частично бетон замоноличивания и частично бетон колонны; в
формуле (104) всегда учитывается минимальное значение

.
Черт. 80. Расчетное сечение замоноличенного стыка колонны
с сетками косвенного армирования в бетоне колонны
и в бетоне замоноличивания
1 - бетон колонны; 2 - бетон замоноличивания;
3 - сетки косвенного армирования
При расчете стыка с учетом бетона замоноличивания площадь сечения замоноличивания

рекомендуется приводить к площади сечения колонны умножением ее на отношение расчетных сопротивлений бетона замоноличивания и бетона колонны при неизменных высотах сечения замоноличивания.
Для симметрично армированных колонн прямоугольного сечения расчет замоноличенного стыка можно производить по формулам
пп. 3.67 и
3.68, принимая за

высоту сечений подрезок, а за

- ширину сечения, приведенного к бетону колонны, по наиболее сжатой стороне сечения.
Коэффициент

, учитывающий прогиб колонны (см.
п. 3.54), определяется по геометрическим характеристикам сечения колонны вне зоны стыка.
3.114. Стыки колонн, выполняемые сопряжением торцов через слой цементного или полимерного раствора с обрывом продольной арматуры (см.
п. 5.91, стыки 1-го и 2-го типов), в стадии эксплуатации рассчитываются как внецентренно сжатые бетонные элементы согласно
п. 3.6 с учетом косвенного армирования сетками согласно
пп. 3.57 и
3.60. При этом расчетное сопротивление бетона

умножается на коэффициент условий работы

, равный 0,9 или 1,0, при заполнении шва соответственно цементным или полимерным раствором. При отсутствии раствора между торцами колонн (например, в сферических стыках, в стыках с приторцованными поверхностями) указанный коэффициент условий работы принимается равным

.
Пример 52. Дано: стык колонны - по
черт. 81; бетон колонны класса B30 (

при

;

); бетон замоноличивания класса B20 (

при

;

); арматурные выпуски класса А-III (

), площадь их сечения

; сетки косвенного армирования их стержней класса А-III, диаметром 8 мм (

) с шагом s = 70 мм как в бетоне колонны, так и в бетоне замоноличивания; продольная сила в стадии эксплуатации N = 3900 кН при

и N = 3300 кН при

, ее эксцентриситет в перпендикулярном подрезкам направлении с учетом прогиба колонны

.
1 - арматурные выпуски; 2 - распределительный лист;
3 - центрирующая прокладка
Требуется проверить прочность стыка в стадии эксплуатации и определить предельную продольную силу в стыке в стадии возведения здания.
Расчет в стадии эксплуатации. В соответствии с
п. 3.113а принимаем размеры сечения по осям крайних стержней сеток, т.е. b = h = 360 мм,

(см.
черт. 81).
Определим расчетное сопротивление бетона колонны и замоноличивания с учетом сеток косвенного армирования согласно
п. 3.57.
Для бетона колонн:

;

;

;

;

.
Отсюда значение

с учетом коэффициента условий работы

(см.
п. 3.113в) равно:

.
Для бетона замоноличивания в одной из подрезок

;

;

;

;

.
Значение

с учетом коэффициента условий работы

равно:

.
Определим значение

по
формуле (104) по классу бетона замоноличивания, поскольку подрезка располагается по всей ширине наиболее сжатой грани колонны, при этом принимаем минимальное значение

:

, принимаем

;

, принимаем

.
Приводим сечение стыка к бетону колонны, при этом ширина подрезки становится равной:

;
Прочность стыка проверим согласно
п. 3.67.

;

.
Высота сжатой зоны равна:

.
Для этого вычислим:

;

;

;

;

;

.
Значение e равно

.

,
т.е. прочность стыка в стадии эксплуатации обеспечена.
Проверим трещиностойкость защитного слоя замоноличенного участка колонны согласно
п. 3.60 по аналогии с расчетом по прочности стыка в стадии эксплуатации:

;

;

;

;

;

;

;

;

;

;

;

;

.
Расчет незамоноличенного стыка в стадии возведения. Определяем расчетное сопротивление бетона смятию с учетом косвенного армирования согласно
пп. 3.93 и
3.112.
Площадь части сечения торца колонны, ограниченная контуром сеток, равна:

.
За площадь смятия принимаем площадь распределительного листа, поскольку его толщина 20 мм превышает 1/3 расстояния от края листа до центрирующей прокладки (50 x 1/3 = 17 мм), при этом ширину площади смятия принимаем равной ширине сетки - 170 мм.

.
Поскольку 360 мм < 3 x 200 мм, принимаем

, отсюда

;

;

.
Поскольку расчет производим на нагрузки в стадии возведения, принимаем

(т.е. при

):

;

.

.
Радиус инерции арматурного стержня

равен:

.
Длина сваренных выпусков

.
Согласно
табл. 72 СНиП II-23-81 при

и

находим

, отсюда

.
Предельная продольная сила, воспринимаемая незамоноличенным стыком, равна:

.
3.115. Размеры бетонных шпонок, передающих сдвигающие усилия между сборным элементом и дополнительно уложенным бетоном или раствором
(черт. 82), рекомендуется определять по формулам:

; (230)

, (231)
где Q - сдвигающая сила, передающаяся через шпонки;

- глубина, высота и длина шпонки;

- число шпонок, вводимое в расчет и принимаемое не более трех.
Черт. 82. Схема для расчета шпонок, передающих сдвигающие
усилия от сборного элемента монолитному бетону
1 - сборный элемент; 2 - монолитный бетон
При наличии сжимающей силы N высоту шпонок допускается определять по формуле

(232)
и принимать уменьшенной по сравнению с высотой, определяемой по
формуле (231), не более чем в 2 раза.
При соединении шпонками элементов настила длина шпонки, вводимая в расчет, должна составлять не более половины пролета элемента, при этом величина Q принимается равной сумме сдвигающих усилий по всей длине элемента.
По
условиям (230) -
(232) следует проверять шпонки сборного элемента и шпонки из дополнительно уложенного бетона, принимая расчетные сопротивления бетона шпонок

и

как для бетонных конструкций.
Примечание. При расчете на выдергивание растянутой ветви двухветвевой колонны из стакана фундамента допускается учитывать работу пяти шпонок.
4. РАСЧЕТ БЕТОННЫХ И ЖЕЛЕЗОБЕТОННЫХ ЭЛЕМЕНТОВ
ПО ПРЕДЕЛЬНЫМ СОСТОЯНИЯМ ВТОРОЙ ГРУППЫ
РАСЧЕТ ЖЕЛЕЗОБЕТОННЫХ ЭЛЕМЕНТОВ ПО ОБРАЗОВАНИЮ ТРЕЩИН
4.1
(4.1). Железобетонные элементы рассчитываются по образованию трещин:
нормальных к продольной оси элемента;
наклонных к продольной оси элемента.
Расчет по образованию трещин производится:
а) для выявления необходимости проверки по раскрытию трещин;
б) для выяснения случая расчета по деформациям.
В железобетонном элементе или на его участках трещины отсутствуют, если усилия, вызванные действием полной нагрузки (или ее части, когда нагрузки вызывают усилия разных знаков) и вводимые в расчет с коэффициентом надежности по нагрузке

, меньше усилий, воспринимаемых сечением при образовании трещин. Полная нагрузка включает постоянные, длительные и кратковременные нагрузки.
Допускается принимать без расчета, что изгибаемые элементы сечений прямоугольного и таврового со сжатыми полками имеют на наиболее напряженных участках трещины, нормальные к продольной оси, если требуемый по расчету коэффициент армирования

.
4.2
(4.5). Расчет железобетонных элементов по образованию нормальных трещин производится из условия

, (233)
где

- момент внешних сил, расположенных по одну сторону от рассматриваемого сечения, относительно оси, параллельной нулевой линии и проходящей через ядровую точку, наиболее удаленную от растянутой зоны, трещинообразование которой проверяется;

- момент, воспринимаемый сечением, нормальным к продольной оси элемента при образовании трещин, и определяемый по формуле

, (234)
здесь

- момент усилия

, вызванного усадкой бетона, относительно той же оси, что и для определения

; знак момента определяется направлениями вращения ("плюс" - когда направления противоположны, "минус" - когда направления моментов

и

совпадают).
Для свободно опертых балок и плит момент

определяется по формуле

. (235)
Усилие

рассматривается как внешняя растягивающая сила; его величина и эксцентриситет относительно центра тяжести приведенного сечения определяются по формулам:

; (236)

, (237)
где

- напряжение в арматуре, вызванное усадкой бетона, равное: для тяжелого бетона класса B35 и ниже - 40 МПа при естественном твердении и 35 МПа - при тепловой обработке; для других видов и классов бетона

принимается согласно СНиП 2.03.01-84
(табл. 5, поз. 8);

- расстояния от центра тяжести приведенного сечения до центров тяжести сечений соответственно арматуры S и S'.
Если коэффициент армирования

, допускается в
формулах (234) и
(235) величины

и r определять как для бетонного сечения, принимая

и

.
Значение

определяется по формулам:

;

; (238)

. (239)
Черт. 83. Схемы усилий и эпюры напряжений в поперечном
сечении элемента при расчете его по образованию трещин,
нормальных к продольной оси элемента
а - при изгибе; б - при внецентренном сжатии;
в - при центральном и внецентренном растяжении;
1 - ядровая точка; 2 - центр тяжести приведенного сечения
r - расстояние от центра тяжести приведенного сечения до ядровой точки, наиболее удаленной от растянутой зоны, трещинообразование которой проверяется.
Значение r определяется для элементов:
изгибаемых - по формуле

; (240)
внецентренно сжатых - по формуле

, (241)
здесь

, но принимается не менее 0,7 и не более 1,0;

- максимальное напряжение в сжатом бетоне, вычисляемое как для упругого тела по приведенному сечению;
центрально и внецентренно растянутых - по формуле

, (242)

- момент сопротивления приведенного сечения для крайнего растянутого волокна с учетом неупругих деформаций растянутого бетона, определяемый согласно п. 4.3.
Примечание. Приведенное сечение включает сечение бетона, а также сечение всей продольной арматуры, умноженное на отношение соответствующих модулей упругости арматуры и бетона.
4.3
(4.7). Момент сопротивления приведенного сечения для крайнего растянутого волокна

(с учетом неупругих деформаций растянутого бетона) определяется в предположении отсутствия продольной силы N по формуле

, (243)
где

- моменты инерции соответственно площадей сечения сжатой зоны бетона, арматуры S и S' относительно нулевой линии;

- статический момент площади сечения растянутой зоны бетона относительно нулевой линии.
Положение нулевой линии в общем случае определяется из условия

, (244)
где

- статические моменты соответственно площади сечения сжатой зоны бетона, арматуры S и S' относительно нулевой линии;

- площадь сечения растянутой зоны бетона.
Для прямоугольных, тавровых и двутавровых сечений условие (244) принимает вид

, (245)
где

- статический момент площади приведенного сечения, вычисленный без учета площади бетона растянутых свесов, относительно крайнего растянутого волокна;

- площадь приведенного сечения, вычисленная без учета половины площади бетона растянутых свесов.
Условием (245) можно пользоваться, если найденная по нему нулевая линия пересекает ребро таврового или двутаврового сечения.
Значение

допускается определять по формуле

, (246)
где

.
При известном значении

(см.
п. 4.2) величину

можно также определить по формуле

, (247)
где

- см. табл. 29.
Сечение | Коэффициент  | Форма поперечного сечения |
1. Прямоугольное | 1,75 | |
2. Тавровое с полкой, расположенной в сжатой зоне | 1,75 | |
3. Тавровое с полкой (уширением), расположенной в растянутой зоне: | | |
а) при  независимо от отношения  | 1,75 |
б)  и  | 1,75 |
в)  и  | 1,50 |
4. Двутавровое симметричное (коробчатое): | | |
а) при  независимо от отношений  | 1,75 |
б) при  независимо от отношений  | 1,50 |
в) при  и  | 1,50 |
г) при  и  | 1,25 |
д) при  и  | 1,10 |
5. Двутавровое несимметричное, удовлетворяющее условию  : | | |
а) при  независимо от отношения  | 1,75 |
б) при  независимо от отношения  | 1,50 |
в) при  и  | 1,50 |
6. Двутавровое несимметричное, удовлетворяющее условию  : | | |
а) при  независимо от отношения  | 1,50 |
б) при  и  | 1,50 |
в) при  и  | 1,25 |
7. Двутавровое несимметричное, удовлетворяющее условию  : | | |
а) при  | 1,50 |
б) при  | 1,25 |
8. Кольцевое и круглое | | |
9. Крестовое: | | |
а) при  и  | 2,00 |
б) в остальных случаях | 1,75 |
Примечания. 1. В
табл. 29 обозначения

и

соответствуют размерам полки, которая при расчете по образованию трещин растянута, а

и

- размерам полки, которая для этого случая расчета сжата.
2.

, где

- момент сопротивления для растянутой грани приведенного сечения, определяемый по правилам сопротивления упругих материалов.
4.4. Участки по длине элемента, на которых отсутствуют наклонные трещины, определяются из условия

, (248)
РАСЧЕТ ЖЕЛЕЗОБЕТОННЫХ ЭЛЕМЕНТОВ ПО РАСКРЫТИЮ ТРЕЩИН
4.5
(4.13). Железобетонные элементы рассчитываются по раскрытию трещин:
нормальных к продольной оси элемента;
наклонных к продольной оси элемента.
Проверка ширины раскрытия трещин не требуется, если, согласно расчету по
пп. 4.1 -
4.4, они не образуются от действия постоянных, длительных и кратковременных нагрузок, вводимых в расчет с коэффициентом надежности по нагрузке

.
Для изгибаемых и внецентренно сжатых элементов статически определимых систем при однорядном армировании, указанных в
табл. 1, поз. 4, проверка ширины раскрытия нормальных трещин не требуется в следующих случаях:
а) для арматуры классов А-I и А-II:
при любых коэффициентах армирования

, если диаметр d <= 20 мм;
при

>= 0,01, если диаметр d = 22 - 40 мм;
б) для арматуры класса А-III:
при любых коэффициентах армирования

, если диаметр d <= 8 мм;
при

, если диаметр d = 10 - 25 мм;
при

, если диаметр d = 28 - 40 мм;
в) для арматуры класса Вр-I - при

при любых диаметрах.
При расчете по раскрытию трещин усилие от усадки бетона

принимается равным нулю.
4.6. В общем случае расчет по раскрытию трещин производится два раза: на непродолжительное и продолжительное раскрытие трещин (см.
п. 1.15).
Для элементов, указанных в
табл. 1, поз. 4 и выполняемых из тяжелого и легкого бетонов, при проверке раскрытия трещин, нормальных к продольной оси элемента, допускается расчет производить только один раз:
если

, проверяется продолжительное раскрытие трещин;
если

, проверяется непродолжительное раскрытие трещин,
здесь

- момент

(см.
п. 4.2) соответственно от суммы постоянных и длительных нагрузок и от всех нагрузок.
Расчет по раскрытию трещин, нормальных
к продольной оси элемента
4.7
(4.14). Ширину раскрытия трещин, нормальных к продольной оси элемента,

, мм, следует определять по формуле

, (249)
где

- коэффициент, принимаемый равным для элементов:
изгибаемых и внецентренно сжатых ........................ 1,0
растянутых .............................................. 1,2;

- коэффициент, принимаемый равным при учете:
кратковременных нагрузок и непродолжительного действия
постоянных и длительных нагрузок ........................ 1,00
продолжительного действия постоянных и длительных нагрузок
для конструкций из бетона:
тяжелого:
естественной влажности ..............................

в водонасыщенном состоянии (элементы, воспринимающие
давление жидкостей, а также эксплуатируемые в грунте
ниже уровня грунтовых вод) ............................ 1,20
при попеременном водонасыщении и высушивании .......... 1,75
мелкозернистого групп:
А ..................................................... 1,75
Б ..................................................... 2,00
В ..................................................... 1,50
легкого класса B12,5 и выше ............................. 1,50
поризованного ........................................... 2,00;
значения

для мелкозернистого, легкого и поризованного бетонов в водонасыщенном состоянии умножаются на коэффициент 0,8, а при попеременном водонасыщении и высушивании - на коэффициент 1,2;

- коэффициент, принимаемый равным для арматуры классов: А-II и А-III - 1,0; А-I - 1,3; Вр-I - 1,2;

- напряжение в стержнях крайнего ряда арматуры S, определяемое согласно
п. 4.9;

- коэффициент армирования сечения, принимаемый равным отношению площади сечения арматуры S к площади сечения бетона (при рабочей высоте

и без учета сжатых свесов полок), но не более 0,02, при этом для двутавровых, прямоугольных и тавровых сечений

; (250)
если

, растянутые свесы при вычислении

не учитываются;
если во внецентренно растянутых элементах сила N расположена между центрами тяжести арматуры S и S', при определении

рабочая высота

принимается от точки приложения силы N до менее растянутой грани, при этом для центрального растяжения

, где

- площадь всей продольной арматуры;
d - диаметр растянутой арматуры, мм; при различных диаметрах стержней значение d принимается равным:

, (251)
здесь

- диаметр стержней растянутой арматуры;

- число стержней диаметрами соответственно

.
Кроме того, следует учитывать указания п. 4.8.
4.8
(4.14). Ширина раскрытия трещин

, определенная согласно
п. 4.7, корректируется в следующих случаях:
а) если центр тяжести сечения стержней крайнего ряда арматуры S изгибаемых, внецентренно сжатых, внецентренно растянутых при

элементов отстоит от наиболее растянутого волокна бетона на расстоянии

, значение

должно быть увеличено умножением на коэффициент

, равный:

(252)
и принимаемый не более 3;
б) для слабоармированных изгибаемых и внецентренно сжатых элементов из тяжелого и легкого бетонов (например, фундаментов) при

(

- см.
п. 4.7) величину

, вычисленную по
формуле (249), при необходимости допускается уменьшать умножением на коэффициент

, учитывающий работу растянутого бетона над трещинами и определяемый по формуле

, (253)
но не более 1,0,
где

- коэффициент, учитывающий уровень нагружения и равный:

; (254)

- коэффициент, учитывающий длительность действия нагрузки и равный при учете:
кратковременных нагрузок и непродолжительного действия постоянных и длительных нагрузок 1,0;
продолжительного действия постоянных и длительных нагрузок

, (255)
но не менее 1,0;

- момент, при котором растянутый бетон над трещинами практически выключается из работы, равный:

, (256)
где

, но не более 0,6;
если

, коэффициент

не вычисляется;

- момент, определяемый, согласно
п. 4.2, от полной нагрузки, включающей постоянную, длительную и кратковременную нагрузки;
При использовании коэффициента

и при

не следует пользоваться рекомендациями
п. 4.6;
в) для статически неопределимых систем, а также для свободно опертых балок при l/h < 7, вблизи мест приложения сосредоточенных сил и опорных реакций при

ширину раскрытия трещин

, вычисленную по
формуле (249), допускается уменьшать умножением на коэффициент

, учитывающий местные особенности напряженного состояния в железобетонных конструкциях и определяемый по формуле

, (257)
но не менее 0,8 и не более 1,0,
где F - абсолютное значение сосредоточенной силы или опорной реакции;
M - абсолютное значение изгибающего момента в нормальном сечении, проходящем через точку приложения сосредоточенной силы или опорной реакции
(черт. 84);
a - расстояние от точки приложения сосредоточенной силы или опорной реакции до рассматриваемого сечения, принимаемое в соответствии с
черт. 84, но не более 0,3h;
h - расстояние от грани элемента, к которой приложена сила F, до растянутой грани;
г) для элементов из легкого бетона класса B7,5 и ниже величина

должна быть увеличена на 20%.
а)
б)
в)
г)
д)
е)
ж)
| | ИС МЕГАНОРМ: примечание. Буквенное обозначение рисунков дано в соответствии с официальным текстом документа. | |
и)
Черт. 84. Положение опорных реакций в жестких узлах,
принимаемое для определения коэффициента

а - г - стыки сборных элементов;
д - и - монолитные сопряжения
а)
б)
в)
Черт. 85. Расчетные схемы для определения коэффициента

а - при приложении силы к сжатой грани элемента;
б - то же, к уширениям (полкам) элемента;
в - то же, по длине статически неопределимой балки
4.9
(4.15). Напряжения в растянутой арматуре

определяются по формулам для элементов:
центрально растянутых

; (258)
изгибаемых

; (259)
внецентренно сжатых и внецентренно растянутых

. (260)
В формуле (260) знак "плюс" принимается при внецентренном растяжении, знак "минус" - при внецентренном сжатии. При расположении растягивающей продольной силы N между центрами тяжести арматуры S и S' значение

принимается со знаком "минус".
z - расстояние от центра тяжести площади сечения арматуры S до точки приложения равнодействующей усилий в сжатой зоне сечения над трещиной, определяемое согласно
п. 4.16, при этом для внецентренно растянутых элементов при

z принимается равным

- расстоянию между центрами тяжести арматуры S и S'; коэффициент v в
формуле (277) принимается всегда равным

(как при непродолжительном действии нагрузки); допускается z принимать таким же, как при расчете по деформациям на те же нагрузки, если

.
В случае, когда

(см.
п. 4.2), значение

определяется по формуле

, (261)
где

- напряжение в арматуре при действии нагрузки, соответствующей образованию трещин, определяемое по
формулам (259) и
(260) с заменой M на

и N на

.
При определении

моменты

и

допускается вычислять при

.
При расположении растянутой арматуры в несколько рядов по высоте сечения в изгибаемых, внецентренно сжатых, а также внецентренно растянутых элементах при

напряжения

необходимо умножать на коэффициент

, равный:

, (262)
где

; значение

определяется по
формуле (274); для изгибаемых элементов допускается принимать значение x таким же, как и при расчете по прочности;

,

- расстояния от центра тяжести площади сечения соответственно всей арматуры S и крайнего ряда стержней до наиболее растянутого волокна бетона.
Значение напряжения

от действия полной нагрузки, определенное с учетом коэффициента

, не должно превышать

. Это условие допускается не проверять для статически определимых конструкций с арматурой одного класса при ее однорядном расположении.
Упрощенные способы определения

. Для изгибаемых элементов допускается определять

по формуле

, (263)
где

- предельный момент по прочности, равный:
при подборе сечения арматуры

,
здесь

- момент от действия полной нагрузки с коэффициентом надежности по нагрузке

;

- фактическая площадь принятой арматуры;

- площадь арматуры, требуемая по расчету прочности.
При применении арматуры разных классов в
формулу (263) вводится расчетное сопротивление арматуры для предельных состояний первой группы

по более прочной арматуре.
Для внецентренно сжатых элементов из тяжелого и легкого бетонов при

допускается вычислять

по формуле

, (264)
где

- коэффициент, определяемый по табл. 30.
| | Коэффициенты  при значениях  , равных |
0,01 | 0,02 | 0,03 | 0,05 | 0,07 | 0,10 | 0,15 | 0,20 | 0,25 | 0,30 | 0,40 | 0,50 |
0 | <= 0,8 | 0,04 | 0,07 | 0,10 | 0,15 | 0,18 | 0,22 | 0,26 | 0,31 | 0,34 | 0,37 | 0,41 | 0,45 |
1,0 | 0,18 | 0,22 | 0,25 | 0,29 | 0,31 | 0,34 | 0,38 | 0,42 | 0,45 | 0,47 | 0,50 | 0,52 |
1,2 | 0,31 | 0,34 | 0,37 | 0,40 | 0,43 | 0,46 | 0,49 | 0,55 | 0,55 | 0,57 | 0,60 | 0,62 |
1,4 | 0,44 | 0,48 | 0,50 | 0,53 | 0,56 | 0,58 | 0,62 | 0,65 | 0,67 | 0,69 | 0,72 | 0,74 |
2,0 | 0,59 | 0,62 | 0,64 | 0,67 | 0,70 | 0,72 | 0,75 | 0,78 | 0,81 | 0,82 | 0,85 | 0,87 |
3,0 | 0,74 | 0,77 | 0,79 | 0,82 | 0,84 | 0,86 | 0,89 | 0,92 | 0,95 | 0,96 | 0,99 | 1,01 |
4,0 | 0,81 | 0,84 | 0,86 | 0,89 | 0,91 | 0,94 | 0,97 | 1,00 | 1,02 | 1,03 | 1,06 | 1,08 |
0,05 | <= 0,8 | 0,04 | 0,04 | 0,07 | 0,11 | 0,14 | 0,18 | 0,22 | 0,26 | 0,29 | 0,32 | 0,36 | 0,38 |
1,0 | 0,17 | 0,20 | 0,22 | 0,26 | 0,28 | 0,31 | 0,34 | 0,38 | 0,40 | 0,42 | 0,46 | 0,48 |
1,2 | 0,30 | 0,33 | 0,35 | 0,38 | 0,40 | 0,43 | 0,46 | 0,49 | 0,51 | 0,53 | 0,56 | 0,58 |
1,5 | 0,44 | 0,46 | 0,48 | 0,51 | 0,53 | 0,56 | 0,59 | 0,61 | 0,64 | 0,66 | 0,68 | 0,70 |
2,0 | 0,59 | 0,61 | 0,63 | 0,65 | 0,67 | 0,70 | 0,72 | 0,75 | 0,77 | 0,79 | 0,82 | 0,83 |
3,0 | 0,74 | 0,76 | 0,78 | 0,80 | 0,82 | 0,84 | 0,87 | 0,89 | 0,91 | 0,93 | 0,95 | 0,97 |
4,0 | 0,82 | 0,84 | 0,85 | 0,86 | 0,90 | 0,92 | 0,94 | 0,97 | 0,99 | 1,00 | 1,03 | 1,04 |
0,10 | <= 0,8 | 0,03 | 0,04 | 0,05 | 0,09 | 0,11 | 0,14 | 0,16 | 0,22 | 0,25 | 0,28 | 0,31 | 0,34 |
1,0 | 0,16 | 0,19 | 0,21 | 0,24 | 0,26 | 0,28 | 0,31 | 0,34 | 0,37 | 0,39 | 0,42 | 0,44 |
1,2 | 0,30 | 0,32 | 0,33 | 0,36 | 0,38 | 0,40 | 0,43 | 0,46 | 0,48 | 0,50 | 0,53 | 0,55 |
1,5 | 0,44 | 0,46 | 0,47 | 0,50 | 0,52 | 0,54 | 0,56 | 0,59 | 0,61 | 0,63 | 0,65 | 0,67 |
2,0 | 0,59 | 0,61 | 0,62 | 0,64 | 0,66 | 0,68 | 0,70 | 0,73 | 0,75 | 0,76 | 0,79 | 0,80 |
3,0 | 0,75 | 0,76 | 0,77 | 0,79 | 0,81 | 0,83 | 0,85 | 0,87 | 0,89 | 0,90 | 0,93 | 0,94 |
4,0 | 0,83 | 0,84 | 0,85 | 0,87 | 0,88 | 0,90 | 0,92 | 0,94 | 0,96 | 0,98 | 1,00 | 1,02 |
0,20 | <= 0,8 | 0,03 | 0,04 | 0,05 | 0,06 | 0,07 | 0,10 | 0,13 | 0,16 | 0,19 | 0,21 | 0,25 | 0,28 |
1,0 | 0,15 | 0,17 | 0,19 | 0,21 | 0,23 | 0,25 | 0,27 | 0,30 | 0,32 | 0,34 | 0,37 | 0,39 |
1,2 | 0,29 | 0,31 | 0,32 | 0,34 | 0,35 | 0,37 | 0,40 | 0,42 | 0,44 | 0,45 | 0,48 | 0,50 |
1,5 | 0,44 | 0,45 | 0,46 | 0,48 | 0,49 | 0,51 | 0,53 | 0,55 | 0,57 | 0,58 | 0,61 | 0,63 |
2,0 | 0,59 | 0,60 | 0,61 | 0,63 | 0,64 | 0,65 | 0,67 | 0,69 | 0,71 | 0,72 | 0,75 | 0,76 |
3,0 | 0,75 | 0,76 | 0,77 | 0,78 | 0,79 | 0,81 | 0,82 | 0,84 | 0,85 | 0,87 | 0,89 | 0,90 |
4,0 | 0,83 | 0,84 | 0,85 | 0,86 | 0,87 | 0,88 | 0,90 | 0,91 | 0,93 | 0,94 | 0,96 | 0,98 |
0,30 | <= 0,8 | 0,03 | 0,04 | 0,05 | 0,05 | 0,06 | 0,07 | 0,10 | 0,12 | 0,15 | 0,17 | 0,20 | 0,23 |
1,0 | 0,15 | 0,16 | 0,17 | 0,19 | 0,21 | 0,23 | 0,25 | 0,27 | 0,29 | 0,30 | 0,33 | 0,35 |
1,2 | 0,29 | 0,30 | 0,31 | 0,33 | 0,34 | 0,35 | 0,37 | 0,39 | 0,41 | 0,42 | 0,45 | 0,46 |
1,5 | 0,44 | 0,45 | 0,46 | 0,47 | 0,48 | 0,49 | 0,51 | 0,53 | 0,54 | 0,55 | 0,58 | 0,59 |
2,0 | 0,59 | 0,60 | 0,61 | 0,62 | 0,63 | 0,64 | 0,66 | 0,67 | 0,68 | 0,70 | 0,72 | 0,73 |
3,0 | 0,75 | 0,76 | 0,77 | 0,78 | 0,78 | 0,79 | 0,81 | 0,82 | 0,83 | 0,84 | 0,86 | 0,88 |
4,0 | 0,84 | 0,85 | 0,85 | 0,86 | 0,86 | 0,87 | 0,89 | 0,90 | 0,91 | 0,92 | 0,94 | 0,95 |
0,50 | <= 0,8 | 0,04 | 0,04 | 0,04 | 0,04 | 0,04 | 0,04 | 0,06 | 0,08 | 0,10 | 0,12 | 0,15 | 0,17 |
1,0 | 0,15 | 0,16 | 0,16 | 0,18 | 0,19 | 0,20 | 0,22 | 0,23 | 0,24 | 0,26 | 0,28 | 0,30 |
1,2 | 0,29 | 0,30 | 0,30 | 0,31 | 0,32 | 0,33 | 0,35 | 0,36 | 0,37 | 0,38 | 0,40 | 0,42 |
1,5 | 0,44 | 0,45 | 0,45 | 0,46 | 0,47 | 0,48 | 0,49 | 0,50 | 0,51 | 0,52 | 0,54 | 0,55 |
2,0 | 0,60 | 0,61 | 0,61 | 0,62 | 0,62 | 0,63 | 0,64 | 0,65 | 0,66 | 0,67 | 0,68 | 0,69 |
3,0 | 0,77 | 0,77 | 0,77 | 0,77 | 0,78 | 0,79 | 0,79 | 0,80 | 0,81 | 0,82 | 0,83 | 0,84 |
4,0 | 0,85 | 0,85 | 0,85 | 0,86 | 0,86 | 0,87 | 0,87 | 0,88 | 0,89 | 0,89 | 0,91 | 0,92 |
0,70 | <= 0,8 | 0,04 | 0,04 | 0,04 | 0,04 | 0,04 | 0,04 | 0,04 | 0,06 | 0,07 | 0,08 | 0,11 | 0,13 |
1,0 | 0,15 | 0,15 | 0,16 | 0,17 | 0,18 | 0,19 | 0,20 | 0,21 | 0,22 | 0,23 | 0,25 | 0,27 |
1,2 | 0,29 | 0,30 | 0,30 | 0,31 | 0,32 | 0,32 | 0,34 | 0,34 | 0,35 | 0,36 | 0,38 | 0,39 |
1,5 | 0,45 | 0,45 | 0,45 | 0,46 | 0,46 | 0,47 | 0,48 | 0,49 | 0,49 | 0,50 | 0,52 | 0,53 |
2,0 | 0,61 | 0,61 | 0,61 | 0,61 | 0,62 | 0,62 | 0,63 | 0,64 | 0,64 | 0,65 | 0,66 | 0,67 |
3,0 | 0,77 | 0,77 | 0,77 | 0,77 | 0,78 | 0,78 | 0,79 | 0,79 | 0,80 | 0,80 | 0,81 | 0,82 |
4,0 | 0,85 | 0,85 | 0,85 | 0,86 | 0,86 | 0,86 | 0,87 | 0,87 | 0,88 | 0,88 | 0,89 | 0,90 |

.
Найденные по
формулам (263) и
(264) значения

в случае расположения арматуры в несколько рядов по высоте сечения умножаются на коэффициент

.
4.10
(4.14). Ширина непродолжительного раскрытия трещин от действия всех нагрузок определяется как сумма ширины продолжительного раскрытия от действия постоянных и длительных нагрузок (при

) и приращения ширины раскрытия от действия кратковременных нагрузок (при

). Этому соответствует определение ширины непродолжительного раскрытия трещин по формуле

, (265)
где

- ширина продолжительного раскрытия трещин от действия постоянных и длительных нагрузок;

- определяются согласно
п. 4.9 соответственно от суммы постоянных и длительных нагрузок и от всех нагрузок.
Расчет по раскрытию трещин,
наклонных к продольной оси элемента
4.11
(4.17). Ширина раскрытия трещин, наклонных к продольной оси элемента, при армировании хомутами, нормальными к продольной оси, должна определяться по формуле

, (266)
где

- коэффициент, принимаемый равным при учете:
кратковременных нагрузок и непродолжительного
действия постоянных и длительных нагрузок ............. 1,00
продолжительного действия постоянных и длительных
нагрузок для конструкций из бетонов:
тяжелого:
естественной влажности ............................... 1,50
в водонасыщенном состоянии ........................... 1,20
при попеременном водонасыщении и высушивании ......... 1,75

- диаметр хомутов;

;

- напряжение в хомутах, определяемое по формуле

; (267)
значение напряжения

не должно превышать

;

- правая часть
условия (72) с коэффициентом

, умноженным на 0,8, при этом

заменяется на значение

, принимаемое не более значения, соответствующего бетону класса B30;
Q - поперечная сила в конце наклонного сечения с проекцией длиной c.
Значение c принимается не более

. Если при расчете элемента на действие равномерно распределенной нагрузки выполняется условие

(268)
(где

- см.
п. 3.32), значение c можно принимать равным только

.
Для элементов из легкого бетона класса B7,5 и ниже значение

, вычисленное по
формуле (266), должно быть увеличено на 30%.
При определении ширины непродолжительного раскрытия наклонных трещин от действия всех нагрузок должны учитываться указания
п. 4.10. При этом в
формуле (265) коэффициент

назначается согласно настоящему пункту, а отношение

заменяется на отношение напряжений

, определяемых по
формуле (267) соответственно от суммы постоянных и длительных нагрузок и от всех нагрузок.
Допускается уменьшать величину

в 1,5 раза по сравнению с определенной по
формуле (266), если элемент армирован продольными стержнями того же диаметра, что и хомуты, и с расстояниями по высоте сечения, равными шагу хомутов s.
Пример 53. Дано: железобетонная плита перекрытия с размерами поперечного сечения (для половины сечения плиты) по
черт. 86: b = 85 мм, h = 400 мм,

; бетон тяжелый класса B25; рабочая арматура класса А-III (

), расположенная в два ряда (

); площадь ее сечения

; полный момент в середине пролета

; все нагрузки постоянные и длительные; из расчета по прочности известно, что

и

.
Требуется произвести расчет по раскрытию трещин, нормальных к продольной оси элемента.
Расчет.

. Так как

, то, согласно
п. 4.1, принимаем, что элемент работает с трещинами в растянутой зоне.
Для определения продолжительного раскрытия трещин вычислим напряжение в арматуре

. Согласно
формуле (263), величина

на уровне центра тяжести арматуры равна:

.
Поскольку арматура расположена в два ряда, вычислим по
формуле (262) коэффициент

:

.
Напряжение в нижнем стержне арматуры равно:

.
Ширину раскрытия трещин находим по
формуле (249). Так как

, значение

принимаем равным 0,02. Согласно
п. 4.7,

; d = 22 мм.

,
что меньше предельно допустимой ширины раскрытия трещин

.
Пример 54. Дано: железобетонная плита фундамента с размерами поперечного сечения h = 300 мм, b = 1150 мм; a = 42 мм; бетон тяжелый класса B15 (

); рабочая арматура класса А-III (

); площадь ее сечения

; момент в расчетном сечении от постоянных и длительных нагрузок

, от кратковременных нагрузок

; предельный момент по прочности

; фундамент расположен выше уровня грунтовых вод.
Требуется произвести расчет по раскрытию нормальных трещин.
Расчет.

. Определим необходимость вычисления ширины раскрытия трещин согласно
п. 4.5. Для этого найдем момент трещинообразования

.
Так как

, момент

находим как для бетонного сечения, используя
формулу (246):

.
Так как

, проверка ширины раскрытия трещин необходима.
Поскольку фундамент расположен выше уровня грунтовых вод, допустимая ширина продолжительного раскрытия трещин, согласно
табл. 1, поз. 4,

, поэтому при

, согласно
п. 4.6, расчет производим только на продолжительное раскрытие трещин от действия момента

.

.
Коэффициенты, вводимые в
формулу (249), принимаем равными:

;

; d = 14 мм, тогда

,
что больше допустимого значения

, в связи с чем целесообразно произвести корректировку значения

в меньшую сторону согласно
п. 4.8б. Поскольку

, такая корректировка допускается. Так как

, корректировка значения

, согласно
п. 4.8а, не производится.

;

;

.

;

,
принимаем

;

.
С учетом коэффициента

ширина раскрытия трещин равна

, т.е. меньше предельно допустимого значения.
Пример 55. Дано: железобетонная колонна промышленного здания с размерами поперечного сечения h = 500 мм, b = 400 мм; a = a' = 50 мм; бетон тяжелый класса B15 (

); рабочая арматура класса А-III (

); площадь ее сечения

; продольная сжимающая сила

; момент от полной нагрузки

, в том числе момент от постоянных и длительных нагрузок

.
Требуется рассчитать колонну по раскрытию трещин.
Расчет.

. Определим необходимость расчета по раскрытию трещин. Для этого проверим
условие (233). Так как

, то, согласно
п. 4.2, момент сопротивления

находим как для бетонного сечения. Используя
формулу (246), находим

.
Ядровое расстояние r определим по
формуле (241). Для этого вычислим

как для упругого тела (влиянием арматуры пренебрежем):

.

,
принимаем

;

.

,
т.е.
условие (233) не выполняется. Следовательно, проверка раскрытия трещин обязательна.
Поскольку

, согласно
п. 4.6 проверим непродолжительное раскрытие трещин. Для этого в соответствии с
п. 4.10 предварительно вычислим ширину продолжительного раскрытия трещин от действия усилий

и

по
формуле (249). При этом воспользуемся упрощенной
формулой (264) для

.

;

;

.
По вычисленным значениям

и

находим по
табл. 30 значение коэффициента

.

.
Напряжение в арматуре

от действия всех нагрузок также определим по
формуле (264).

;

.
При

и

коэффициент

, согласно
табл. 30, равен 0,522.

.

,
Пример 56. Дано: свободно опертая балка перекрытия пролетом l = 5,5 м, нагруженная равномерно распределенными нагрузками: временной длительно действующей эквивалентной нагрузкой v = 30 кН/м и постоянной нагрузкой g = 12,5 кН/м; размеры поперечного сечения b = 200 мм, h = 400 мм,

; бетон тяжелый класса B15 (

); хомуты двухветвевые из арматуры класса А-I (

) с шагом s = 150 мм, диаметром 8 мм (

).
Требуется произвести расчет по раскрытию наклонных трещин.
Расчет. Определим сначала необходимость расчета по раскрытию наклонных трещин, проверив
условие (248).
Наибольшая поперечная сила в опорном сечении равна:

.

,
т.е. наклонные трещины образуются и расчет по их раскрытию необходим.
Расчет производим согласно
п. 4.11. Определим значения Q и

.

;
Поскольку

, значение c при определении

и Q принимаем равным

.
Отсюда

;

.

.

;

.

,
что меньше предельно допустимого значения

(см.
табл. 1).
РАСЧЕТ ЭЛЕМЕНТОВ ЖЕЛЕЗОБЕТОННЫХ КОНСТРУКЦИЙ ПО ДЕФОРМАЦИЯМ
4.12
(4.22). Деформации (прогибы, углы поворота) элементов железобетонных конструкций следует вычислять по формулам строительной механики, определяя входящие в них значения кривизны в соответствии с указаниями пп. 4.13 -
4.21.
4.13
(4.23). Кривизна определяется:
а) для участков элемента, где в растянутой зоне не образуются трещины, нормальные к продольной оси элемента (см.
п. 4.1), - как для сплошного тела;
б) для участков элемента, где в растянутой зоне имеются трещины, нормальные к продольной оси, - как отношение разности средних деформаций крайнего волокна сжатой зоны бетона и продольной растянутой арматуры к рабочей высоте сечения элемента.
При расчете по деформациям усилие от усадки бетона

принимается равным нулю.
Определение кривизны железобетонных элементов
на участках без трещин в растянутой зоне
4.14
(4.24). На участках, где не образуются нормальные к продольной оси трещины, полная величина кривизны должна определяться по формуле

, (269)
где

,

- кривизна соответственно от кратковременных нагрузок (определяемых согласно указаниям
п. 1.12) и от постоянных и длительных временных нагрузок, определяемая по формулам:

(270)

- коэффициент, учитывающий влияние кратковременной ползучести бетона и принимаемый для бетонов:
тяжелого, мелкозернистого и легкого при плотном
мелком заполнителе .......................................... 0,85
легкого при пористом мелком заполнителе и поризованного ..... 0,70;

- коэффициент, учитывающий влияние длительной ползучести бетона на деформации элемента без трещин и принимаемый по табл. 31.
Вид бетона | Коэффициенты  и vl при влажности воздуха окружающей среды, % |
40 - 75 (нормальной) | ниже 40 (пониженной) | св. 75 (повышенной) |
| vl | | vl | | vl |
Тяжелый, легкий | 2,0 | 0,15 | 3,0 | 0,10 | 1,6 | 0,19 |
Поризованный | 2,0 | 0,07 | 3,0 | 0,04 | 1,6 | 0,09 |
Мелкозернистый групп: | | | | | | |
А | 2,6 | 0,10 | 3,9 | 0,07 | 2,1 | 0,125 |
Б | 3,0 | 0,08 | 4,5 | 0,05 | 2,4 | 0,10 |
В | 2,0 | 0,15 | 3,0 | 0,10 | 1,6 | 0,19 |
Примечания. 1. Влажность воздуха окружающей среды принимается согласно указаниям
п. 1.8.
2. Группы мелкозернистого бетона см.
п. 2.1.
3. При попеременном водонасыщении и высушивании бетона значения

следует умножать, а значения

- делить на коэффициент 1,2.
Определение кривизны железобетонных элементов
на участках с трещинами в растянутой зоне
4.15
(4.27). На участках, где в растянутой зоне образуются нормальные к продольной оси элемента трещины, кривизна изгибаемых, внецентренно сжатых, а также внецентренно растянутых при

элементов прямоугольного, таврового и двутаврового (коробчатого) сечений должна определяться по формуле

. (271)
Для изгибаемых элементов последнее слагаемое правой части формулы (271) принимается равным нулю. Знак "минус" в этой формуле принимается при внецентренном сжатии, знак "плюс" - при внецентренном растяжении.
В формуле (271):

- момент относительно оси, нормальной к плоскости действия момента и проходящей через центр тяжести площади сечения арматуры S, от всех внешних сил, расположенных по одну сторону от рассматриваемого сечения, равный:
для изгибаемых элементов

;
для внецентренно сжатых и внецентренно растянутых элементов

;
z - расстояние от центра тяжести площади сечения арматуры S до точки приложения равнодействующей усилий в сжатой зоне сечения над трещиной (плечо внутренней пары сил), определяемое согласно указаниям
п. 4.16;

- коэффициент, учитывающий работу растянутого бетона на участке с трещинами и определяемый согласно указаниям
п. 4.17;

- коэффициент, учитывающий неравномерность распределения деформаций крайнего сжатого волокна бетона по длине участка с трещинами и принимаемый равным:
для тяжелого, мелкозернистого и легкого
бетонов класса B10 и выше ................................ 0,9
для легкого и поризованного бетонов класса B7,5 и ниже ... 0,7;

- определяется согласно указаниям
п. 4.16;
v - коэффициент, характеризующий упругопластическое состояние бетона сжатой зоны и принимаемый равным:
при непродолжительном действии нагрузки - коэффициенту

;
при продолжительном действии нагрузки - коэффициенту

, определяемому по
табл. 31.
Для изгибаемых и внецентренно сжатых элементов из тяжелого бетона при

кривизну допускается определять с учетом работы растянутого бетона над трещинами по формуле

, (272)
где

; (273)
для изгибаемых элементов

;
для внецентренно сжатых элементов

;

- расстояние от центра тяжести растянутой арматуры до оси, проходящей через наиболее удаленную ядровую точку (см.
п. 4.2);

- момент, определяемый согласно
п. 4.2 от полной нагрузки, включающей постоянную, длительную и кратковременные нагрузки;

- момент, при котором растянутый бетон над трещинами выключается из работы, определяемый по
формуле (256), в которой

уменьшается вдвое при учете продолжительного действия постоянных и длительных нагрузок;

- моменты внешних сил относительно оси, проходящей через центр тяжести сечения, соответственно от рассматриваемой и от полной нагрузки;

- см.
п. 4.14; при непродолжительном действии нагрузки

.
4.16
(4.28). Значение

вычисляется по формуле

, (274)
но принимается не более 1,0, при этом

принимается не менее 0,5.
Для изгибаемых элементов последнее слагаемое правой части формулы (274) принимается равным нулю.
В формуле (274) верхние знаки принимаются при сжимающем, а нижние - при растягивающем усилии N.

- коэффициент, принимаемый равным для бетона:
тяжелого и легкого .................. 1,8
мелкозернистого ..................... 1,6
поризованного ....................... 1,4

; (275)

; (276)

; (277)

. (278)
Значение z вычисляется по формуле

. (279)
Для элементов прямоугольного сечения и таврового сечения с полкой в растянутой зоне в
формулы (276) и
(279) вместо

подставляются значения 2a' или

соответственно при наличии или отсутствии арматуры S'.
Если

, то для изгибаемых элементов при

, где

, значения z и

определяются при

и

, а при

значения

, z и

определяются без учета арматуры S'. Для внецентренно нагруженных элементов при

допускается всегда значения

, z и

определять без учета арматуры S'.
Расчет сечений, имеющих полку в сжатой зоне, при

производится как прямоугольных шириной

.
Расчетная ширина полки

определяется согласно указаниям
п. 3.23.
Для внецентренно сжатых элементов значение z должно приниматься не более

.
4.17
(4.29). Коэффициент

определяется по формуле

, (280)
но не более 1,0, при этом следует принимать

.
Для изгибаемых элементов последний член в правой части формулы (280) принимается равным нулю.
В формуле (280):

- коэффициент, учитывающий влияние длительности действия нагрузки и принимаемый по
табл. 32;

, (281)
но не более 1,0;
Длительность действия нагрузки | Коэффициент  при классе бетона |
B10 и выше | B7,5 и ниже |
1. Непродолжительное действие при арматуре классов: | | |
А-II, А-III | 1,1 | 0,8 |
А-I, Вр-I | 1,0 | 0,7 |
2. Продолжительное действие | 0,8 | 0,6 |
4.18. Кривизна внецентренно растянутых элементов с продольной силой N, приложенной между центрами тяжести площадей арматуры S и S', на участках с нормальными трещинами в растянутой зоне определяется по формуле

, (282)
где

- расстояние между центрами тяжести площадей арматуры S и S';

- коэффициенты, учитывающие работу растянутого бетона соответственно для арматуры S и S' и определяемые по формулам:

; (283)

, (284)
здесь

- коэффициент, принимаемый равным при действии нагрузки:
непродолжительном ...................... 0,70
продолжительном ........................ 0,35;

- усилия, приложенные в той же точке, что и сила N, и соответствующие образованию трещин соответственно в более и менее растянутой зонах сечения; значения

и

определяются по формулам:

(285)
и принимаются не более N; кроме того, при

значение

принимается равным N.
В формулах (285):

- значения

, определенные согласно
п. 4.3 соответственно для более и менее растянутой сторон сечения;
r, r' - расстояния от центра тяжести приведенного сечения до ядровых точек, наиболее удаленных соответственно от более и менее растянутой сторон сечения; значения r и r' определяются по
формуле (242).
4.19. Кривизна внецентренно растянутых элементов с продольной силой N, приложенной вне расстояния между центрами тяжести площадей арматуры S и S', и при

определяется линейной интерполяцией между кривизной

, определенной по
формуле (282) при

(т.е. при

, где

- расстояние от центра тяжести площади арматуры S до центра тяжести приведенного сечения), и кривизной

, определенной по
формуле (271) при

(т.е. при

). Тогда значение кривизны равно:

. (286)
4.20. Для элементов прямоугольного сечения с симметричной арматурой, испытывающих косое внецентренное сжатие, кривизны вычисляются по формуле

, (287)
где

- кривизна, вычисленная как для плоского внецентренного сжатия согласно
пп. 4.15 -
4.17 в предположении действия силы N с эксцентриситетом

в плоскости оси симметрии сечения x, при этом принимается, что силовая плоскость расположена между осью x и диагональю сечения;

- коэффициент, учитывающий влияние угла наклона силовой плоскости на величину деформаций кососжимаемых элементов и определяемый по формуле

; (288)

,
здесь

- площади арматуры, расположенной у грани сечения, нормальной к осям соответственно x и y, при этом угловой стержень учитывается как при вычислении

, так и

;

- размеры сечения в направлении осей соответственно x и y;

- угол наклона силовой плоскости (плоскости эксцентриситета силы N) к плоскости оси x, рад.
Плоскость деформирования составляет с плоскостью оси x угол

, определяемый из равенства

, (289)
где

- моменты инерции приведенного сечения относительно осей соответственно y и x.
Кривизны в плоскостях x и y при косом внецентренном сжатии равны:

; (290)

, (291)
4.21
(4.30). Полная кривизна

для участка с трещинами в растянутой зоне должна определяться по формуле

, (292)
где

- кривизна от непродолжительного действия всей нагрузки, на которую производится расчет по деформациям согласно указаниям
п. 1.17;

- кривизна от непродолжительного действия постоянных и длительных нагрузок;

- кривизна от продолжительного действия постоянных и длительных нагрузок.
Кривизны

и

определяются по
формулам (271),
(272),
(282),
(286) и
(287), при этом

и

вычисляются при значениях

и v, отвечающих непродолжительному действию нагрузки, а

- при

и v, отвечающих продолжительному действию нагрузки. Если значения

и

оказываются отрицательными, они принимаются равными нулю.
4.22
(4.31). Прогиб

, обусловленный деформацией изгиба, определяется по формуле

, (293)
где

- изгибающий момент в сечении x от действия единичной силы, приложенной по направлению искомого перемещения элемента в сечении по длине пролета, для которого определяется прогиб;

- полная величина кривизны элемента в сечении x от нагрузки, при которой определяется прогиб.
При определении прогиба в середине пролета
формула (293) может быть приведена к виду

, (294)
где

- кривизны элемента соответственно на левой и правой опорах;

- кривизны элемента в сечении i, в симметричном сечении i' (черт. 87) и в середине пролета;
n - четное число равных участков, на которое разделяется пролет элемента; число n рекомендуется принимать не менее 6.
Черт. 87. Эпюра кривизны в железобетонном элементе
с переменным по длине сечением
При определении прогибов статически неопределимых конструкций рекомендуется учитывать перераспределение моментов, вызванных образованием трещин и неупругими деформациями бетона.
Для изгибаемых элементов постоянного сечения, имеющих трещины, на каждом участке, в пределах которого изгибающий момент не меняет знака, кривизну допускается вычислять для наиболее напряженного сечения, принимая ее для остальных сечений такого участка изменяющейся пропорционально значениям изгибающего момента (черт. 88).
Черт. 88. Эпюры изгибающих моментов и кривизны
в железобетонном элементе постоянного сечения
а - схема расположения нагрузки;
б - эпюра изгибающих моментов; в - эпюра кривизны
4.23 (
4.32,
4.33). Для изгибаемых элементов при

необходимо учитывать влияние поперечных сил на их прогиб. В этом случае полный прогиб

равен сумме прогибов, обусловленных соответственно деформацией изгиба

и деформацией сдвига

.
Прогиб

, обусловленный деформацией сдвига, определяется по формуле

, (295)
где

- поперечная сила в сечении x от действия по направлению искомого перемещения единичной силы, приложенной в сечении, где определяется прогиб;

- деформация сдвига, определяемая по формуле

, (296)
здесь

- поперечная сила в сечении x от действия внешней нагрузки;

- коэффициент, учитывающий влияние длительной ползучести бетона и принимаемый по
табл. 31; при непродолжительном действии нагрузки

;
G - модуль сдвига бетона (см.
п. 2.12);

- коэффициент, учитывающий влияние трещин на деформации сдвига и принимаемый равным:
на участках по длине элемента, где отсутствуют нормальные и наклонные к продольной оси элемента трещины... 1,0;
на участках, где имеются только наклонные к продольной оси элемента трещины... 4,8;
на участках, где имеются только нормальные или нормальные и наклонные к продольной оси элемента трещины, - по формуле

, (297)
здесь

- соответственно момент и кривизна в сечении от нагрузки, при которой определяется прогиб, при непродолжительном ее действии.
4.24
(4.34). Для сплошных плит толщиной менее 250 мм, армированных плоскими сетками, с трещинами в растянутой зоне значения прогибов, подсчитанные по
формуле (293), умножаются на коэффициент

, принимаемый не более 1,5, где

- в мм.
Определение продольных деформаций
4.25. Относительные деформации

(удлинения или укорочения) в направлении продольной оси элементов определяются следующим образом.
1. Относительные деформации внецентренно сжатых и внецентренно растянутых элементов с однозначной эпюрой напряжений:
а) для внецентренно сжатых элементов или их отдельных участков - по формуле

; (298)
б) для внецентренно растянутых элементов или их участков при отсутствии трещин - по формуле

. (299)
В
формулах (298) и
(299) знак "плюс" соответствует деформациям укорочения, знак "минус" - деформациям удлинения;
в) для внецентренно растянутых элементов или их участков при наличии трещин (т.е. для элементов, указанных в
п. 4.18), - по формуле

, (300)
где

- средние величины удлинения арматуры соответственно S и S', определяемые по формулам:

(301)
2. Относительные деформации изгибаемых, внецентренно сжатых и внецентренно растянутых элементов с двухзначной эпюрой напряжений в сечении:
а) для элементов или их отдельных участков, не имеющих трещин в растянутой зоне, - по формуле

. (302)
б) для участков элементов, указанных в
п. 4.15, имеющих трещины в растянутой зоне, - по формуле

, (303)
где

- средние величины соответственно относительного удлинения арматуры и относительного укорочения крайнего сжатого волокна бетона на участке между трещинами, определяемые по формулам:

; (304)

, (305)
в) для участков внецентренно растянутых элементов, указанных в
п. 4.19, - линейной интерполяцией между значением

, определенным по
формуле (300) при

(т.е. при

), и значением

, определенным по
формуле (303) при

(т.е. при

), где

- см.
п. 4.19.

- расстояние от рассматриваемого волокна до центра тяжести арматуры S;

- то же, до центра тяжести приведенного сечения;

- см.
п. 4.14; при непродолжительном действии нагрузки

;
Деформации

, определенные по
формулам (298) -
(303), со знаком "плюс" отвечают укорочению, со знаком "минус" - удлинению.
При одновременном действии постоянных, длительных и кратковременных нагрузок порядок вычисления

аналогичен определению полной кривизны по
п. 4.21.
4.26. Укорочение (удлинение) элементов на уровне рассматриваемого волокна определяется по формуле

, (306)
где

- относительные продольные деформации в сечении, расположенном посредине участка длиной

;
n - число участков, на которые разбивается длина элемента.
Приближенные методы расчета деформаций
4.27. Прогибы железобетонных изгибаемых элементов из тяжелого бетона постоянного сечения, эксплуатируемых при нормальной и повышенной влажности (влажность воздуха окружающей среды свыше 40%), заведомо меньше предельно допустимых, если выполняется условие

, (307)
где

- граничное отношение пролета к рабочей высоте сечения, менее которого проверка прогибов не требуется (табл. 33).
Сечения | Коэффициенты  ,  | Значения  для определения случаев, когда проверка прогибов элементов из тяжелого бетона не требуется, при значениях  , равных |
0,02 | 0,04 | 0,07 | 0,10 | 0,15 | 0,20 | 0,30 | 0,40 | 0,50 |
| | 25 --- 17 | 17 --- 12 | 14 --- 10 | 12 --- 9 | 10 --- 8 | 9 -- 8 | 10 --- 10 | 11 --- 11 | 11 --- 11 |
| | 31 --- 22 | 22 --- 16 | 18 --- 13 | 16 --- 11 | 12 --- 9 | 10 --- 8 | 10 --- 10 | 11 --- 11 | 11 --- 11 |
| 42 --- 25 | 25 --- 17 | 23 --- 15 | 18 --- 12 | 14 --- 10 | 11 --- 8 | 10 --- 9 | 10 --- 9 | 11 --- 11 |
| 45 --- 30 | 28 --- 30 | 24 --- 17 | 19 --- 14 | 16 --- 12 | 13 --- 9 | 11 --- 9 | 10 --- 10 | 11 --- 11 |
| 48 --- 32 | 30 --- 21 | 25 --- 18 | 20 --- 15 | 18 --- 13 | 15 --- 10 | 12 --- 9 | 10 --- 9 | 10 --- 10 |
| 50 --- 35 | 33 --- 22 | 26 --- 19 | 23 --- 17 | 20 --- 14 | 17 --- 12 | 14 --- 9 | 11 --- 9 | 10 --- 10 |
| | 28 --- 18 | 17 --- 12 | 14 --- 10 | 12 --- 9 | 10 --- 8 | 9 -- 8 | 10 --- 10 | 11 --- 11 | 11 --- 11 |
| 32 --- 20 | 20 --- 13 | 15 --- 10 | 13 --- 9 | 10 --- 8 | 9 -- 9 | 10 --- 10 | 11 --- 11 | 12 --- 12 |
| 36 --- 22 | 23 --- 14 | 16 --- 10 | 13 --- 9 | 10 --- 8 | 9 -- 9 | 10 --- 10 | 11 --- 11 | 12 --- 12 |
| | 34 --- 23 | 25 --- 17 | 19 --- 14 | 16 --- 11 | 12 --- 9 | 10 --- 8 | 10 --- 10 | 11 --- 11 | 11 --- 11 |
| 48 --- 33 | 34 --- 25 | 26 --- 18 | 21 --- 14 | 16 --- 12 | 15 --- 9 | 11 --- 8 | 10 --- 10 | 11 --- 11 |
| 55 --- 42 | 44 --- 36 | 36 --- 21 | 26 --- 17 | 20 --- 14 | 17 --- 12 | 14 --- 9 | 11 --- 9 | 10 --- 9 |
| |
Примечание. Значения

, приведенные над чертой, применяются при расчете элементов, армированных сталью класса А-II, под чертой - класса А-III.
При

прогибы заведомо меньше предельно допустимых, если выполняется условие (308), учитывающее влияние деформаций сдвига на прогиб элемента:

. (308)
Значения

, приведенные в
табл. 33, отвечают продолжительному действию равномерно распределенной нагрузки на свободно опертую балку при предельном прогибе, равном

.
Если предельно допустимые прогибы f (см.
п. 1.17) меньше

, значения
табл. 33 должны быть уменьшены в

раз (например, при

- в 1,5 раза, при

- в 2 раза).
Для сплошных плит толщиной менее 250 мм, армированных плоскими сетками, значения

уменьшаются делением на коэффициент, указанный в
п. 4.24.
Примечание. Значения

могут быть увеличены в следующих случаях:
а) если прогиб определяется от действия момента

, составляющего часть полного момента

(
поз. 2 -
4 табл. 2), - умножением
табл. 33 на отношение

;
б) если нагрузка отличается от равномерно распределенной - умножением значений
табл. 33 на отношение

, где

- коэффициент, принимаемый по
табл. 35 в зависимости от схемы загружения;
в) если прогиб определяется от совместного действия кратковременных, длительных и постоянных нагрузок - умножением значений
табл. 33 на коэффициент

, определяемый но формуле

,
где

- отношение деформации от длительного действия нагрузки к деформации от кратковременного действия той же нагрузки, принимаемое равным для элементов: прямоугольного сечения

; таврового сечения с полкой в сжатой зоне

; таврового сечения с полкой в растянутой зоне

.
4.28. Дня изгибаемых элементов из тяжелого бетона постоянного сечения, указанных в
п. 4.15 и эксплуатируемых при влажности воздуха окружающей среды свыше 40%, кривизна

на участках с трещинами определяется по формуле

, (309)
где

- см. табл. 34.
Коэффициенты | Коэффициент  при значениях  , равных | Коэффициент  при значениях  , равных |
| | 0,02 | 0,03 | 0,04 | 0,05 | 0,06 | 0,07 | 0,08 | 0,10 | 0,13 | 0,15 | 0,17 | 0,20 | 0,25 | 0,30 | 0,35 | 0,40 | 0,45 | 0,50 | <0,04 | 0,04 - 0,08 | 0,08 - 0,15 | 0,15 - 0,30 | 0,30 - 0,50 |
Продолжительное действие нагрузки |
0,0 | 0,0 | 0,43 | 0,39 | 0,36 | 0,34 | 0,32 | 0,30 | 0,28 | 0,26 | 0,23 | 0,22 | 0,21 | 0,19 | 0,16 | 0,14 | 0,13 | 0,12 | 0,11 | 0,10 | 0,10 | 0,07 | 0,04 | 0,00 | 0,00 |
0,0 | 0,2 | 0,49 | 0,46 | 0,44 | 0,42 | 0,41 | 0,39 | 0,37 | 0,35 | 0,31 | 0,29 | 0,27 | 0,25 | 0,21 | 0,19 | 0,17 | 0,16 | 0,14 | 0,13 | 0,12 | 0,09 | 0,05 | 0,00 | 0,00 |
0,0 | 0,4 | 0,52 | 0,49 | 0,47 | 0,46 | 0,45 | 0,44 | 0,42 | 0,40 | 0,38 | 0,35 | 0,33 | 0,31 | 0,26 | 0,24 | 0,22 | 0,20 | 0,18 | 0,17 | 0,13 | 0,10 | 0,06 | 0,02 | 0,00 |
0,0 | 0,6 | 0,54 | 0,51 | 0,49 | 0,48 | 0,47 | 0,46 | 0,44 | 0,43 | 0,42 | 0,39 | 0,37 | 0,35 | 0,31 | 0,28 | 0,25 | 0,23 | 0,22 | 0,20 | 0,13 | 0,11 | 0,08 | 0,02 | 0,00 |
0,0 | 0,8 | 0,56 | 0,53 | 0,51 | 0,49 | 0,48 | 0,47 | 0,46 | 0,45 | 0,44 | 0,42 | 0,40 | 0,38 | 0,35 | 0,32 | 0,29 | 0,27 | 0,25 | 0,23 | 0,14 | 0,12 | 0,09 | 0,04 | 0,00 |
0,0 | 1,0 | 0,57 | 0,54 | 0,52 | 0,51 | 0,50 | 0,49 | 0,48 | 0,47 | 0,46 | 0,44 | 0,42 | 0,41 | 0,38 | 0,35 | 0,32 | 0,30 | 0,28 | 0,26 | 0,15 | 0,13 | 0,10 | 0,06 | 0,00 |
0,2 | 0,0 | 0,47 | 0,40 | 0,36 | 0,33 | 0,31 | 0,30 | 0,28 | 0,26 | 0,23 | 0,22 | 0,21 | 0,19 | 0,16 | 0,14 | 0,13 | 0,11 | 0,11 | 0,10 | 0,15 | 0,12 | 0,08 | 0,03 | 0,00 |
0,4 | 0,0 | - | 0,42 | 0,36 | 0,33 | 0,31 | 0,30 | 0,28 | 0,26 | 0,22 | 0,21 | 0,20 | 0,19 | 0,16 | 0,14 | 0,13 | 0,11 | 0,10 | 0,10 | 0,18 | 0,16 | 0,13 | 0,06 | 0,02 |
0,6 | 0,0 | - | 0,43 | 0,37 | 0,33 | 0,31 | 0,30 | 0,27 | 0,25 | 0,22 | 0,21 | 0,20 | 0,18 | 0,15 | 0,14 | 0,12 | 0,11 | 0,10 | 0,10 | 0,20 | 0,19 | 0,17 | 0,09 | 0,03 |
0,8 | 0,0 | - | - | 0,38 | 0,33 | 0,30 | 0,29 | 0,27 | 0,24 | 0,22 | 0,21 | 0,20 | 0,17 | 0,15 | 0,14 | 0,12 | 0,11 | 0,10 | 0,10 | 0,23 | 0,22 | 0,20 | 0,12 | 0,05 |
1,0 | 0,0 | - | - | 0,40 | 0,33 | 0,30 | 0,29 | 0,27 | 0,24 | 0,22 | 0,20 | 0,19 | 0,17 | 0,15 | 0,14 | 0,12 | 0,11 | 0,10 | 0,10 | 0,25 | 0,24 | 0,23 | 0,14 | 0,06 |
0,2 | 0,2 | 0,51 | 0,45 | 0,43 | 0,40 | 0,38 | 0,37 | 0,36 | 0,34 | 0,30 | 0,28 | 0,26 | 0,24 | 0,21 | 0,19 | 0,17 | 0,16 | 0,14 | 0,13 | 0,16 | 0,13 | 0,08 | 0,04 | 0,00 |
0,4 | 0,4 | - | 0,53 | 0,49 | 0,47 | 0,45 | 0,43 | 0,42 | 0,39 | 0,37 | 0,35 | 0,33 | 0,30 | 0,26 | 0,23 | 0,21 | 0,20 | 0,18 | 0,17 | 0,20 | 0,19 | 0,14 | 0,07 | 0,03 |
0,6 | 0,6 | - | - | 0,53 | 0,50 | 0,48 | 0,46 | 0,44 | 0,41 | 0,39 | 0,38 | 0,36 | 0,34 | 0,31 | 0,28 | 0,25 | 0,23 | 0,21 | 0,20 | 0,24 | 0,22 | 0,20 | 0,12 | 0,04 |
0,8 | 0,8 | - | - | - | 0,53 | 0,50 | 0,48 | 0,46 | 0,44 | 0,41 | 0,39 | 0,38 | 0,37 | 0,34 | 0,31 | 0,29 | 0,26 | 0,25 | 0,23 | - | 0,25 | 0,24 | 0,19 | 0,08 |
1,0 | 1,0 | - | - | - | 0,61 | 0,53 | 0,50 | 0,48 | 0,45 | 0,43 | 0,40 | 0,39 | 0,38 | 0,36 | 0,34 | 0,32 | 0,29 | 0,27 | 0,26 | - | 0,26 | 0,25 | 0,20 | 0,12 |
Непродолжительное действие нагрузки |
0,0 | 0,0 | 0,64 | 0,59 | 0,56 | 0,53 | 0,51 | 0,50 | 0,49 | 0,46 | 0,43 | 0,41 | 0,40 | 0,37 | 0,34 | 0,32 | 0,30 | 0,28 | 0,26 | 0,25 | 0,17 | 0,14 | 0,09 | 0,02 | 0,00 |
0,0 | 0,2 | 0,72 | 0,66 | 0,63 | 0,61 | 0,59 | 0,58 | 0,57 | 0,56 | 0,53 | 0,51 | 0,49 | 0,46 | 0,43 | 0,40 | 0,37 | 0,35 | 0,33 | 0,31 | 0,21 | 0,18 | 0,11 | 0,03 | 0,00 |
0,0 | 0,4 | 0,76 | 0,69 | 0,66 | 0,65 | 0,63 | 0,62 | 0,61 | 0,60 | 0,59 | 0,57 | 0,56 | 0,53 | 0,49 | 0,46 | 0,44 | 0,41 | 0,39 | 0,37 | 0,23 | 0,20 | 0,14 | 0,04 | 0,00 |
0,0 | 0,6 | 0,79 | 0,71 | 0,69 | 0,67 | 0,65 | 0,64 | 0,63 | 0,63 | 0,62 | 0,61 | 0,60 | 0,58 | 0,55 | 0,52 | 0,49 | 0,46 | 0,44 | 0,42 | 0,25 | 0,21 | 0,16 | 0,05 | 0,00 |
0,0 | 0,8 | 0,82 | 0,73 | 0,70 | 0,68 | 0,67 | 0,66 | 0,65 | 0,65 | 0,64 | 0,63 | 0,63 | 0,61 | 0,58 | 0,56 | 0,53 | 0,50 | 0,48 | 0,46 | 0,26 | 0,23 | 0,17 | 0,06 | 0,00 |
0,0 | 1,0 | 0,84 | 0,74 | 0,71 | 0,69 | 0,68 | 0,67 | 0,66 | 0,66 | 0,66 | 0,65 | 0,65 | 0,63 | 0,61 | 0,59 | 0,56 | 0,54 | 0,52 | 0,50 | 0,27 | 0,24 | 0,18 | 0,07 | 0,00 |
0,2 | 0,0 | 0,74 | 0,60 | 0,56 | 0,53 | 0,51 | 0,49 | 0,47 | 0,44 | 0,42 | 0,40 | 0,39 | 0,37 | 0,34 | 0,32 | 0,30 | 0,28 | 0,26 | 0,25 | 0,28 | 0,23 | 0,16 | 0,07 | 0,00 |
0,4 | 0,0 | - | 0,63 | 0,57 | 0,54 | 0,51 | 0,49 | 0,47 | 0,44 | 0,42 | 0,40 | 0,39 | 0,37 | 0,34 | 0,32 | 0,30 | 0,28 | 0,26 | 0,25 | 0,35 | 0,31 | 0,25 | 0,14 | 0,03 |
0,6 | 0,0 | - | 0,81 | 0,59 | 0,54 | 0,51 | 0,49 | 0,47 | 0,44 | 0,42 | 0,40 | 0,39 | 0,37 | 0,34 | 0,32 | 0,30 | 0,28 | 0,26 | 0,25 | 0,36 | 0,39 | 0,32 | 0,20 | 0,08 |
0,8 | 0,0 | - | - | 0,63 | 0,55 | 0,51 | 0,49 | 0,47 | 0,44 | 0,42 | 0,40 | 0,39 | 0,37 | 0,34 | 0,32 | 0,30 | 0,28 | 0,26 | 0,25 | 0,45 | 0,40 | 0,38 | 0,25 | 0,12 |
1,0 | 0,0 | - | - | 0,84 | 0,57 | 0,52 | 0,49 | 0,47 | 0,44 | 0,42 | 0,40 | 0,39 | 0,37 | 0,34 | 0,32 | 0,30 | 0,28 | 0,27 | 0,25 | 0,50 | 0,46 | 0,44 | 0,29 | 0,15 |
0,2 | 0,2 | 0,79 | 0,67 | 0,63 | 0,61 | 0,59 | 0,58 | 0,56 | 0,55 | 0,52 | 0,50 | 0,48 | 0,46 | 0,42 | 0,39 | 0,37 | 0,35 | 0,33 | 0,31 | 0,27 | 0,24 | 0,17 | 0,08 | 0,00 |
0,4 | 0,4 | - | 0,77 | 0,69 | 0,66 | 0,64 | 0,62 | 0,61 | 0,58 | 0,56 | 0,55 | 0,54 | 0,52 | 0,48 | 0,45 | 0,43 | 0,40 | 0,38 | 0,37 | 0,39 | 0,37 | 0,30 | 0,16 | 0,04 |
0,6 | 0,6 | - | - | 0,76 | 0,70 | 0,67 | 0,65 | 0,64 | 0,61 | 0,58 | 0,57 | 0,56 | 0,55 | 0,53 | 0,50 | 0,47 | 0,45 | 0,43 | 0,41 | 0,50 | 0,46 | 0,44 | 0,28 | 0,11 |
0,8 | 0,8 | - | - | - | 0,76 | 0,71 | 0,68 | 0,66 | 0,64 | 0,61 | 0,59 | 0,58 | 0,57 | 0,56 | 0,53 | 0,51 | 0,49 | 0,47 | 0,45 | - | 0,60 | 0,57 | 0,41 | 0,21 |
1,0 | 1,0 | - | - | - | 0,92 | 0,76 | 0,71 | 0,69 | 0,66 | 0,63 | 0,61 | 0,60 | 0,58 | 0,57 | 0,56 | 0,54 | 0,52 | 0,50 | 0,48 | - | 0,72 | 0,70 | 0,55 | 0,31 |

.
При одновременном действии постоянных, длительных и кратковременных нагрузок кривизна

определяется по формуле

, (310)
где

- коэффициент

при непродолжительном действии нагрузки;

- коэффициенты

и

при продолжительном действии нагрузки.
4.29. Для изгибаемых элементов при

прогиб f определяется следующим образом:
а) для элементов постоянного сечения, работающих как свободно опертые или консольные балки, - по формуле

, (311)
где

- кривизна в сечении с наибольшим изгибающим моментом от нагрузки, при которой определяется прогиб;
при схеме загружения свободно опертой или консольной балки, не приведенной в
табл. 35, прогиб определяется по формулам сопротивления материалов при жесткости, равной отношению наибольшего момента к наибольшей кривизне;
б) если прогиб, определенный по
подпункту "а", превышает допустимый, то для слабоармированных элементов (

) его значение рекомендуется уточнять за счет учета повышенной жесткости на участках без трещин при переменной жесткости на участке с трещинами; для свободно опертых балок, загруженных равномерно распределенной нагрузкой, это соответствует формуле

, (312)
где

- коэффициент, принимаемый по
табл. 36 в зависимости от отношения

(

- см.
пп. 4.2 и
4.3);

- кривизна в сечении с наибольшим моментом, определенная как для сплошного тела по
формуле (270), от нагрузки, при которой определяется прогиб; допускается значение

в
формуле (270) определять как для бетонного элемента.
Схема загружения консольной балки | Коэффициент  | Схема загружения свободно опертой балки | Коэффициент  |
| | | |
| | | |
| | | |
Примечание. При загружении элемента одновременно по нескольким схемам

(где

и

,

и

и т.д. - соответственно коэффициент

и наибольший изгибающий момент M для каждой схемы загружения). В этом случае в
формулах (311) -
(313) величина

определяется при значении M, равном сумме наибольших изгибающих моментов, определенных для каждой схемы загружения.
Mcrc/Mtot | 1,00 | 0,99 | 0,98 | 0,96 | 0,94 | 0,92 | 0,90 | 0,85 | 0,80 | 0,75 | 0,70 | 0,60 | 0,50 | 0,40 | 0,30 | 0,20 | 0,10 | 0,00 |
| 0,104 | 0,088 | 0,082 | 0,073 | 0,067 | 0,062 | 0,058 | 0,049 | 0,042 | 0,036 | 0,032 | 0,024 | 0,018 | 0,013 | 0,008 | 0,005 | 0,002 | 0,000 |

, где

.
Для иных схем загружения величина f может быть определена по
формуле (314);
в) для изгибаемых элементов с защемленными опорами прогиб в середине пролета определяется по формуле

, (313)
где

- кривизны элемента соответственно в середине пролета, на левой и правой опорах;

- коэффициент, определяемый по
табл. 35 как для свободно опертой балки;
г) для элементов переменного сечения, а также в тех случаях, когда требуется более точное, чем по
формулам (311) и
(313), определение прогибов, а сами элементы и нагрузка симметричны относительно середины пролета, прогиб определяется по формуле

, (314)
где

- кривизны соответственно на опоре, на расстоянии

от опоры, на расстоянии

от опоры и в середине пролета; значения кривизн подсчитываются со своими знаками согласно эпюре кривизн.
В остальных случаях прогиб в середине пролета рекомендуется определять по
формуле (294).
Для сплошных плит толщиной менее 250 мм необходимо учитывать указания
п. 4.24.
4.30. Для коротких элементов (l/h < 10) постоянного сечения, работающих как свободно опертые балки, прогиб вычисляется согласно
п. 4.29 и умножается на коэффициент

, учитывающий влияние деформаций сдвига. Коэффициент

определяется по формуле

, (315)
где

- при отсутствии как нормальных, так и наклонных трещин, т.е. при выполнении
условий (233) и
(248);

- при наличии нормальных или наклонных трещин;
Пример 57. Дано: железобетонная плита перекрытия гражданского здания прямоугольного сечения размерами h = 120 мм, b = 1000 мм,

; пролет l = 3,1 м; бетон тяжелый класса B25 (

); растянутая арматура класса А-II (

), площадь ее поперечного сечения

; полная равномерно распределенная нагрузка

, в том числе ее часть от постоянных и длительных нагрузок

; прогиб ограничивается эстетическими требованиями.
Требуется рассчитать плиту по деформациям.
Расчет. Определим необходимость расчета плиты по деформациям согласно
п. 4.27:

;

;

;

.
Из
табл. 33 по

и

находим

. Так как h < 250 мм, то

корректируем путем деления на коэффициент

. Тогда

.
Поскольку

, расчет по деформациям необходим.
Определим кривизну в середине пролета от действия момента

(так как прогиб ограничивается эстетическими требованиями).
Принимаем без расчета, что элемент имеет трещины в растянутой зоне, в связи с чем кривизну определим по
формуле (309).
Из
табл. 34 по

и

находим значения

и

, соответствующие продолжительному действию нагрузки.

.

.
Так как h < 250 мм, полный прогиб равен f = 13,5 x 1,23 = 16,6 мм, что больше предельно допустимого прогиба

(см.
табл. 2).
Так как рассчитывается слабоармированный элемент (

),

и

определим как для бетонного сечения (см.
пп. 4.2 и
4.3):

;

;

(как для тяжелого бетона);

.

.
С учетом поправки на малую высоту сечения (h < 250 мм) f = 9,84 x 1,23 = 12,1 мм, что меньше предельно допустимого прогиба f = 15,5 мм.
Поскольку l/h > 10, влиянием деформаций сдвига пренебрегаем.
Пример 58. Дано: ригель перекрытия общественного здания прямоугольного сечения размерами b = 200 мм, h = 600 мм; a = 80 мм; пролет ригеля l = 4,8 м; бетон тяжелый класса B25 (

); рабочая арматура класса А-III (

), площадь ее поперечного сечения

; полная равномерно распределенная нагрузка

, в том числе ее часть от постоянных и длительных нагрузок

; прогиб ограничивается эстетическими требованиями; влажность воздуха в помещении свыше 40%.
Требуется рассчитать ригель по деформациям.
Расчет. Определим необходимость расчета по деформациям согласно
п. 4.27.

;

;

;

;

.
Так как l/h = 4,8/0,6 = 8 < 10, необходимо учитывать влияние деформаций сдвига на прогиб элемента:

. По
табл. 33 при

и

находим

.

,
т.е. расчет по деформациям необходим.
Поскольку

, согласно
п. 4.1 кривизну определим с учетом наличия трещин в растянутой зоне. Так как прогиб ограничивается эстетическими требованиями, расчет производим на действие момента

. Кривизну в середине пролета

вычислим по
формуле (309).

.
Полный прогиб определим согласно
пп. 4.29а и
4.30 с учетом влияния деформаций сдвига. Согласно
табл. 35,

.

;

,
т.е. прогиб ригеля меньше предельно допустимого (см.
табл. 2).
Пример 59. Дано: железобетонная плита покрытия с расчетным пролетом 5,7 м; размеры поперечного сечения (для половины сечения плиты) - по
черт. 89; бетон легкий класса B25 (

), марки по средней плотности D1600 (

); рабочая арматура класса А-II (

), площадь ее сечения

; постоянная и длительная равномерно распределенные нагрузки на плиту

; прогиб плиты ограничивается эстетическими требованиями; помещение, перекрываемое плитой, имеет нормальную влажность воздуха (40 - 75%).
Требуется рассчитать плиту по деформациям.
Расчет. Момент в середине плиты от постоянных и длительных нагрузок для половины сечения равен:

.
Поскольку приближенные методы расчета по деформациям не относятся к конструкциям из легкого бетона, расчет кривизны производим по формулам
пп. 4.15 -
4.17 как для элементов с трещинами в растянутой зоне (

, т.е., согласно
п. 4.1, в растянутой зоне имеются трещины).
Определим кривизну плиты в середине пролета по
формуле (271). Момент

при действии постоянных и длительных нагрузок равен

.
Относительную высоту сжатой зоны бетона

находим по
формуле (274). Для этого вычислим величины:

;

;

;

;

(как для легкого бетона), подставив которые в
формулу (274), получим

.
Так как

, продолжим расчет как для таврового сечения. Плечо внутренней пары сил z определим по
формуле (279):

.

;

;

.
Коэффициент

определим по
формуле (281), учитывая, что для изгибаемого элемента

:

.

.

,
т.е. прогиб плиты меньше предельно допустимого (см.
табл. 2).
5. КОНСТРУКТИВНЫЕ ТРЕБОВАНИЯ
5.1
(5.1). При проектировании бетонных и железобетонных конструкций и изделий для обеспечения условий их экономичного и качественного изготовления, требуемой долговечности и совместной работы арматуры и бетона надлежит выполнять конструктивные требования настоящего раздела.
5.2. Конструкции следует принимать простого очертания. Рекомендуется использовать арматуру, закладные детали и строповочные петли, выпускаемые в виде товарной продукции по нормалям и государственным стандартам. Арматуру следует проектировать в виде укрупненных блоков и пространственных каркасов для сокращения времени укладки в форму (опалубку).
Распалубочную и отпускную прочность бетона следует назначать минимально возможной для ускорения оборота форм (опалубки) и интенсивного использования производственных площадей.
Необходимо стремиться к унификации арматуры и закладных деталей в отдельных конструкциях и их сериях, к небольшому числу разных марок и диаметров стали, типов арматурных элементов - сеток и каркасов, шагов продольных и поперечных стержней.
МИНИМАЛЬНЫЕ РАЗМЕРЫ СЕЧЕНИЯ ЭЛЕМЕНТОВ
5.3
(5.2). Минимальные размеры сечения бетонных и железобетонных элементов, определяемые из расчета по действующим усилиям и соответствующим группам предельных состояний, должны назначаться с учетом экономических требований, необходимости унификации опалубочных форм и армирования, а также условий принятой технологии изготовления конструкций.
Кроме того, размеры сечения элементов железобетонных конструкций необходимо принимать такими, чтобы соблюдались требования в части расположения арматуры в сечении (толщины защитных слоев бетона, расстояния между стержнями и т.п.) и анкеровки арматуры.
5.4
(5.3). Толщина <1> монолитных плит должна приниматься, мм, не менее:
для покрытий .................................................... 40
для междуэтажных перекрытий жилых и общественных зданий ......... 50
для междуэтажных перекрытий производственных зданий ............. 60
для плит из легкого бетона класса B7,5 и ниже во всех случаях ... 70.
--------------------------------
<1> Здесь и далее по тексту величины размеров сечений, толщины защитного слоя бетона и др., приведенные в настоящем Пособии, относятся к номинальным значениям, назначаемым при проектировании и указываемым в чертежах. От этих номинальных значений возможны отклонения в натуре, не превышающие величин, указанных в соответствующих государственных стандартах, технических условиях и др.
Минимальная толщина сборных плит должна определяться из условия обеспечения требуемой толщины защитного слоя бетона и условий расположения арматуры по толщине плиты (см.
пп. 5.32 -
5.41).
Размеры сечений внецентренно сжатых элементов должны приниматься такими, чтобы их гибкость

в любом направлении, как правило, не превышала:
для железобетонных элементов ................. 200 (для прямоугольных
сечений при

)
для колонн, являющихся элементами зданий ..... 120 (при

)
для бетонных элементов ....................... 90 (для прямоугольных
сечений при

).
ГАБАРИТЫ И ОЧЕРТАНИЯ ЭЛЕМЕНТОВ КОНСТРУКЦИЙ
5.5. Размеры сборных бетонных и железобетонных элементов следует назначать с учетом грузоподъемности и габаритных ограничений технологического, транспортного и монтажного оборудования на заводах-изготовителях и на строительных площадках. В необходимых случаях следует учитывать возможность подъема железобетонного изделия вместе с формой.
5.6. Во избежание повреждений от местных концентраций напряжений при резком изменении направлений граней изделия (например, во внутренних углах) рекомендуется предусматривать смягчение очертания в виде уклонов, фасок или закруглений по возможности небольшой величины (до 50 мм), чтобы не требовалось местное армирование (
черт. 90, а,
б,
в).
Черт. 90. Закругления и фаски
а - закругления в ребристой плите; б - фаска между полкой
и стенкой в тавровой балке; в - сочетание фаски
и закругления в узле фермы; г - смягчение острого угла
в ригеле; д - закругления в отверстии для пропуска
коммуникаций, строповки и т.д.
Во внешних острых углах во избежание откалывания бетона следует устраивать скосы или закругления
(черт. 90, г).
5.7. Отверстия в железобетонных элементах для пропуска коммуникаций, строповки и т.п. следует принимать по возможности небольшими и располагать в пределах ячеек арматурных сеток и каркасов так, чтобы не нужно было перерезать арматуру и армировать по месту. Углы отверстий желательно делать плавными
(черт. 90, д).
5.8. При проектировании бетонных и железобетонных конструкций их очертание следует принимать с учетом устройства и способа использования форм (опалубки).
При применении форм с откидными бортами очертание изделия не должно препятствовать повороту борта
(черт. 91, а) при распалубке.
При применении неразъемных форм для возможности извлечения изделия из них должны предусматриваться технологические уклоны не менее 1:10 (
черт. 91, б,
в). В случае применения неразъемных форм с использованием выпрессовывания уклон должен быть не менее 1:15
(черт. 91, г).
При немедленной распалубке с обеспечением фиксированного (во избежание нарушения бетона) вертикального перемещения формующего элемента оснастки (
черт. 91, д,
е) уклон должен быть не менее 1:50.
При использовании форм с одним неподвижным и одним откидным бортом для возможности вертикального подъема конструкции при распалубке следует переход от большей ширины изделий к меньшей [например, от нижней полки к стенке
(черт. 91, ж)] принимать плавным под утлом не менее 45°. Это требование можно не учитывать, если форма снабжена выпрессовывающим устройством
(черт. 91, з).
Применение выпрессовывания и немедленной распалубки должно согласовываться с изготовителем изделия.
Черт. 91. Технологические уклоны
а - в форме с откидными бортами; б, в - в неразъемной
форме; г - то же, с применением выпрессовщика;
д, е - при немедленной распалубке;
ж - в форме с глухим бортом; з - то же, с выпрессовщиком;
1 - изделие; 2 - форма; 3 - откидной борт;
4 - выпрессовщик; 5 - вкладыш; 6 - формующая рамка
АРМАТУРА, СЕТКИ И КАРКАСЫ
Отдельные арматурные стержни
5.9. Сортамент арматурных стержней для железобетонных конструкций приведен в
Прил. 4.
5.10. При проектировании железобетонных конструкций, особенно с большим насыщением арматурой, необходимо учитывать следующие характеристики арматурных стержней:
размеры поперечных сечений стержней периодического профиля с учетом допускаемых отклонений от них;
радиусы загиба стержней и соответствующие габариты гнутых элементов;
допускаемые отклонения от проектных размеров при размещении стержней сварных сеток, каркасов, закладных деталей и т.п.
5.11. При проектировании гнутых стержней диаметры и углы загиба должны отвечать требованиям табл. 37. Длина гнутых стержней определяется по оси стержня.
Класс арматуры | Минимальный диаметр загиба в свету при диаметре стержня d, мм | Максимальный угол загиба, град |
18 и менее | 20 и более |
А-I, Ас-II, марки 10ГТ | 2,5d | 2,5d | Не ограничен |
А-II | 4d | 6d | 180 |
А-III | 6d | 8d | |
Вр-I | 4d | - | Не ограничен |
--------------------------------
<*> Допускается загибать стержни на 180° при снижении расчетного сопротивления растяжению на 10%.
Размеры крюков для анкеровки гладких стержней арматуры должны приниматься в соответствии с черт. 92.
Черт. 92. Размеры крюков на концах стержней
гладкой рабочей арматуры
Сварные соединения арматуры
5.12
(5.32). Арматура из горячекатаной стали гладкого и периодического профилей, термически упрочненной стали класса Ат-IIIС и обыкновенной арматурной проволоки должна, как правило, изготовляться с применением для соединения стержней между собой контактной сварки - точечной и стыковой. Допускается применение полуавтоматической дуговой сварки, а также ручной согласно
п. 5.18.
5.13
(5.33). Типы сварных соединений и способы сварки арматуры должны назначаться с учетом условий эксплуатации и свариваемости стали, технико-экономических показателей и технологических возможностей предприятия-изготовителя в соответствии с указаниями государственных стандартов и нормативных документов на сварную арматуру (табл. 38).
Таблица 38
Способ сварки | Обозначение соединения по ГОСТ 14098-85 | Положение стержней при сварке | Класс (марка) арматурной стали | Диаметр стержней, мм | Схема конструкции соединения | Дополнительные указания |
|
Крестообразные соединения |
1. Контактная точечная двух стержней | К1 ---- | Горизонтальное (возможно вертикальное в кондукторах) | А-I | 6 - 40 | | d'/d = 0,25 - 1,00 |
А-II | 10 - 40 |
А-III | 6 - 40 |
Ат-IIIС | 10 - 28 |
Вр-I | 3 - 5 |
В-I | 3 - 5 |
| К2 ---- | То же | А-I | 6 - 40 | | d'/d = 0,50 - 2,00 |
А-II | 10 - 40 |
А-III | 6 - 40 |
Ат-IIIС | 10 - 28 |
Вр-I | 3 - 5 |
В-I | 3 - 5 |
3. Ручная дуговая точечными прихватками | К3 ---- | Горизонтальное и вертикальное | А-I | 10 - 40 | | В условиях отрицательных температур допускается применять сварные соединения только из арматурной стали классов А-I и Ас-II. Сварка применяется для соединений с ненормированной прочностью (см. п. 5.19) |
А-II (Ст5сп2) | 10 - 28 |
А-II (Ст5пс2) | 10 - 18 |
Ас-II | 10 - 32 |
А-III (25Г2С) | 10 - 28 |
Ат-IIIС | 10 - 28 |
4. То же, с принудительным формированием шва | - -- | Вертикальное | А-I; А-II; А-III | 14 - 40 | | Сварка допускается для соединения стержней в основном для монолитного железобетона |
Ат-IIIС | 14 - 18 | Сварка выполняется в инвентарных формах |
Стыковые соединения |
| С1; С2 --------- | Горизонтальное | А-I | 10 - 40 | | Допускается  при применении специального устройства, обеспечивающего предварительный нагрев стержня большего диаметра |
А-II | 10 - 40 |
А-III | 10 - 40 |
Ат-IIIС | 10 - 28 |
6. Контактная стыковая с последующей механической обработкой | С3; С4 -------- | Горизонтальное | А-II | 10 - 40 | | Рекомендуется для конструкций, работающих на многократно повторяющиеся нагрузки |
А-III | 10 - 40 |
Ат-IIIС | 10 - 22 |
В инвентарных формах |
7. Ванная механизированная под флюсом | С5; С8 - С11 ---------------- | Горизонтальное и вертикальное | А-I; А-II; А-III | 20 - 40 | | Для труднодоступных сверху соединений горизонтальных стержней, требующих наклонного ввода электрода (см. п. 5.16б),  . Допускается сварка горизонтальных спаренных стержней из арматуры класса А-III, диаметром 32 - 40 мм при d'/d = 1,0 |
8. Дуговая механизированная порошковой проволокой | С6; С9; С12 --------------- | | | |
9. Ванная одноэлектродная | С7; С10; С13 ----------------- | | | |
На стальной скобе-накладке |
10. Дуговая механизированная порошковой проволокой | С14; С17 ------------ - | Горизонтальное и вертикальное | А-I | 20 - 40 | | d'/d = 0,5 - 1,0. При сварке арматуры класса Ат-IIIС d'/d = 0,8 - 1,0 |
А-II | 20 - 40 |
А-III | 20 - 40 |
Ат-IIIС | 20 - 28 |
11. Ванно-шовная | С15 ----- | Горизонтальное | | | | |
12. Дуговая механизированная открытой дугой голой легированной проволокой | С16; С18 ------------ | Горизонтальное и вертикальное |
13. Ручная дуговая многослойными швами | С19 ----- | Вертикальное |
14. То же, без дополнительных технологических элементов | С20 ----- | Вертикальное | А-I; | 20 - 40 | | d'/d = 0,5 - 1,0 |
А-II; | |
А-III | |
15. Ручная дуговая протяженными швами с накладками из стержней | - --- | Горизонтальное и вертикальное | А-I | 10 - 40 | | Длина накладок l для арматуры классов: А-I - 6d; А-II, А-III и Ат-IIIС - 8d. Для арматуры классов А-I, А-II и А-III допускаются двусторонние швы с длиной накладок l = 4d |
А-II | 10 - 40 |
А-III | 10 - 40 |
Ат-IIIС | 10 - 22 |
Нахлесточные соединения |
16. Ручная дуговая протяженными швами двух стержней | - --- | Горизонтальное и вертикальное | А-I | 10 - 40 | | Длина нахлестки l для арматуры классов: А-I - 6d; А-II, А-III и Ат-IIIС - 8d. Для арматуры классов А-I и А-II, марки 10ГТ допускаются двусторонние швы с длиной нахлестки l = 4d |
А-II | 10 - 25 |
А-III | 10 - 25 |
Ат-IIIС | 10 - 18 |
| | ИС МЕГАНОРМ: примечание. Взамен ГОСТ 14098-85 Постановлением Госстроя СССР от 28.11.1991 N 19 с 1 июля 1992 года введен в действие ГОСТ 14098-91. | |
Примечание. Указания по сварке высокопрочной стержневой арматуры классов А-IV; Ат-IVС, А-V и А-VI приведены в СНиП 2.03.01-84 (см. обязательное
Приложение 3) и ГОСТ 14098-85.
Соединения, не предусмотренные действующими нормативными документами, допускается выполнять по рабочим чертежам, утвержденным в установленном порядке.
Стыковые соединения стержней могут предусматриваться без применения сварки с помощью обжатых обойм по согласованию с предприятием-изготовителем.
5.14
(5.34). В заводских условиях при изготовлении сварных арматурных сеток, каркасов и соединений по длине отдельных стержней следует применять преимущественно контактную сварку - точечную и стыковую (см.
поз. 1,
2 и
5 табл. 38).
5.15
(5.35). При монтаже арматурных изделий и сборных железобетонных конструкций для соединения встык стержней диаметром 20 мм и более следует предусматривать ванную сварку в инвентарных (съемных) медных или графитовых формах (см.
поз. 7 -
9 табл. 38), а также ванную, ванно-шовную и сварку многослойными швами на остающихся стальных скобах-накладках
<1> (см.
поз. 10 -
13 табл. 38). При этом в первую очередь должны применяться механизированные способы сварки (см.
поз. 7,
8,
10,
12 табл. 38), обеспечивающие возможность контроля качества соединений. Допускается при специальном обосновании сварка вертикальных стержней многослойными швами без дополнительных технологических элементов (см.
поз. 14 табл. 38).
--------------------------------
<1> Скоба-накладка - дополнительная конструктивно-технологическая деталь, воспринимающая часть осевой нагрузки, площадь сечения которой составляет не менее 50% площади сечения стыкуемых стержней.
5.16. Проектирование сварных стыковых соединений арматуры с применением инвентарных форм и других формующих элементов производится с учетом следующих требований:
а) расстояния между стыкуемыми стержнями, а также от стыкуемых стержней до ближайшей грани железобетонного элемента должны назначаться с учетом возможности установки формующих элементов и удаления инвентарных форм. Размеры и способы установки инвентарных форм стальных скоб-накладок следует принимать согласно нормативным документам по сварке. Общая длина выпусков должна соответствовать расстоянию между гранями стыкуемых железобетонных элементов и быть не менее 350 мм. Расстояние от торцов стыкуемых выпусков до граней элементов (с учетом защиты бетона от перегрева) принимается не менее 100 мм
(черт. 93, а);
б) расположение стыкуемых стержней должно обеспечивать возможность ввода электрода под углом не более 30° к вертикали (
черт. 93, б,
в);
в) зазоры между стыкуемыми стержнями при дуговой ванной сварке должны выполняться в соответствии с требованиями государственных стандартов и нормативных документов по сварке. При зазорах, превышающих максимально допустимые, соединение стержней допускается производить с применением промежуточного элемента - вставки из арматурного стержня того же диаметра и класса, что и стыкуемые стержни.
Черт. 93. Дуговая ванная сварка выпусков арматуры
а - стыковое соединение стержней; б - горизонтальный стык;
в - вертикальный стык
5.17. Для соединения между собой стержневой арматуры диаметром 10 - 18 мм при монтаже, а также для соединения стержневой арматуры с сортовым прокатом (закладными деталями) или с анкерными и закрепляющими устройствами должна применяться ручная дуговая сварка протяженными швами (см.
поз. 15 и
16 табл. 38 и
поз. 1 табл. 53). При пониженных требованиях к прочности соединения (не более 50% прочности стыкуемого стержня) допускается сварка стержней диаметром 8 мм. Сварка стержней протяженными швами при диаметрах 20 мм и более допускается при специальном обосновании.
5.18. При отсутствии оборудования для контактной сварки допускается применять дуговую сварку в следующих случаях:
а) для соединения по длине заготовок арматуры диаметром 10 мм и более (см.
поз. 15 и
16 табл. 38);
б) при выполнении крестообразных соединений арматурных сеток с ненормированной прочностью (см. п. 5.19 и
поз. 3 табл. 38);
в) при выполнении сварных соединений с нормированной прочностью в сетках и каркасах с обязательными дополнительными конструктивными элементами в местах соединения стержней (косынок, прокладок, крюков и т.п.) или с принудительным формированием шва (см.
поз. 4 табл. 38).
5.19. Крестообразные сварные соединения с ненормированной прочностью допускаются в следующих случаях:
а) в сетках с рабочей арматурой периодического профиля, предназначенных для армирования плит, стенок и т.п.;
б) в местах соединения продольных или поперечных стержней плоских сеток со стержнями, объединяющими их в пространственный каркас, если элемент не работает на кручение и продольные стержни не учитываются в расчете как сжатые;
в) в местах соединения продольной арматуры пространственных каркасов с поперечной арматурой в виде непрерывной спирали.
Во всех других случаях, в том числе при приваривании анкерующих стержней сеток (см.
пп. 3.44,
5.45 и
5.46), сварные соединения должны обладать нормированной прочностью.
| | ИС МЕГАНОРМ: примечание. Взамен ГОСТ 14098-85 Постановлением Госстроя СССР от 28.11.1991 N 19 с 1 июля 1992 года введен в действие ГОСТ 14098-91. | |
Крестообразные соединения с ненормированной прочностью могут выполняться дуговой сваркой точечными прихватками (см.
поз. 3 табл. 38), а также контактной точечной сваркой (см.
поз. 1 и
2 табл. 38) при пониженных требованиях к прочности соединения, регламентированной
ГОСТ 10922-75, при пониженных требованиях к минимальной относительной осадке h/d' (см. эскиз
поз. 1 табл. 38), регламентированной ГОСТ 14098-85, но не менее указанной в
табл. 8 СН 393-78.
5.20. Допускается стыкование стержней сваркой в любом сечении по длине изделия. Стыки (швы), выполняемые дуговой сваркой, следует располагать таким образом, чтобы они не препятствовали бетонированию, т.е. устраивать их в местах, менее насыщенных арматурой, избегать устройства нескольких стыков в одном сечении и т.п.
Плоские сварные сетки <1>
--------------------------------
<1> Здесь и далее по тексту термин "плоские сварные сетки" включает в себя любые плоские сварные арматурные изделия (сетки, каркасы).
5.21. При проектировании плоских сеток следует учитывать требования унификации габаритов, шагов и диаметров продольной и поперечной арматуры. Сетки должны быть удобны для транспортирования, складирования и укладки в форму. В первую очередь рекомендуется предусматривать использование товарных сеток и сеток централизованного изготовления размерами по действующим стандартам или нормалям.
Арматурные сетки, не отвечающие этим параметрам, следует проектировать с учетом их изготовления с помощью контактной точечной сварки на многоэлектродных машинах.
5.22. Параметры широких сварных сеток, изготовляемых на серийно выпускаемых многоэлектродных машинах, приводятся в табл. 39, узких сеток - в
табл. 40.
Параметры широких сварных сеток, изготовляемых на многоэлектродных машинах | Данные для сеток | Дополнительные указания |
легких | тяжелых |
Диаметры стержней, мм: | | | |
продольных D | От 3 до 12 | От 14 до 32 | Рекомендуется в сетке один диаметр. Допускаются разные диаметры, отличающиеся не более чем в 2 раза. Каждая пара стержней, считая от края, должна быть одинакового диаметра |
поперечных d | От 3 до 10 | От 6 до 14 | Должны применяться стержни одного диаметра |
Шаги стержней, мм: | | | Для легких сеток допускается чередование шагов. Возможно применение шагов, превышающих указанные, но кратных 100 мм. При ширине сетки, некратной 100 мм, остаток следует размещать с одной стороны (см. эскиз к таблице, тип II) |
продольных v | 100; 200; 300 | 200 |
поперечных s: | | | Тип III может применяться по согласованию с заводом-изготовителем. Сетка-лента <1> изготовляется при диаметрах продольных стержней D <= 8 мм |
постоянный шаг | Любой от 100 до 300 | 100; 200; 300; 600 |
два разных шага для сетки-ленты: | | | Минимальная разность между величиной большего и меньшего шагов в одной сетке 80 мм; меньший шаг (менее 100 мм) назначается в качестве доборного, а также в местах разрезки сетки-ленты |
а)  | Любой от 140 до 300 | - |
б) меньший | Любой от 60 до 220 | - |
Минимальная длина концов стержней (расстояние от торца стержня до оси крайнего пересекаемого стержня), мм: | | | |
поперечных k | 20 | 25, но не менее D | Для сеток, изготовляемых с продольной разрезкой ленты, k >= 50 мм |
продольных c | 25 | 25 | Для сетки-ленты c от 30 до 150 мм |
Максимальная длина сетки L, м | 12 | 9, но не более длины нестыкованных стержней | Все продольные стержни следует принимать одинаковой длины в пределах одной сетки. По согласованию с заводом-изготовителем допускается увеличивать L до 12 м |
Ширина сетки, мм: | | | |
A | От 800 до 3800 | От 1050 до 3050 | Все поперечные стержни следует принимать одинаковой длины в пределах одной сетки |
B (в осях крайних продольных стержней) | От 1160 до 3750 | От 1000 до 3000 |
Наибольшее число продольных стержней | 36 | 16 | Число стержней рекомендуется принимать четным |
--------------------------------
<1> Изготовляется в виде непрерывного полотна с последующей разрезкой.
Тип I



Параметры узких сварных сеток, изготовляемых на многоэлектродных машинах | Данные для сеток | Дополнительные указания |
легких | тяжелых типа |
I | II |
Диаметры стержней, мм: | | | | |
продольных D | От 3 до 8 | От 10 до 25 | От 12 до 40 | В одной сетке допускаются продольные стержни разных диаметров. Рекомендуется не более двух, отличающихся не более чем в 2 раза |
поперечных d | От 3 до 8 | От 4 до 12 | От 6 до 14 | В сетке должны применяться поперечные стержни одного диаметра |
Шаги стержней, мм: | | | | |
продольных v | От 50 до 390 | От 75 до 725 | От 100 до 1400 | Для тяжелых сеток типа I допускается один шаг у края сетки не менее 50 мм |
поперечных s | От 100 до 500 | От 100 до 400 | До 600 (кратно 50) | Для тяжелых сеток типа II: |
при d <= 8 мм s >= 100; |
" d = 10 " s >= 150; |
" d >= 12 " s >= 200; |
s - s' >= 50 |
Наибольшее число различных шагов между поперечными стержнями | 3 | 2 | 2 | - |
Минимальная длина концов стержней (расстояние от торца стержня до оси крайнего пересекаемого стержня), мм: | | | | |
поперечных k | 15 | 20 | 25, но не менее D | - |
продольных c | 25 | 25 | 25 | Для легких сеток-лент расстояние от торца продольного до оси поперечного стержня рекомендуется принимать равным половине шага поперечных стержней |
Максимальная длина сетки L, м | 7,2 | 12 | 18 | - |
Ширина сетки, мм: | | | | |
A | От 80 до 420 | От 90 до 775 | От 140 до 1450 | - |
B (в осях между крайними продольными стержнями) | От 50 до 390 | От 50 до 725 | От 100 до 1400 | - |
Число продольных стержней | От 2 до 4 | От 2 до 6 | От 2 до 8 | - |
Примечание. Параметры, указанные для тяжелых сеток типа I, могут быть приняты также для сеток из стержней диаметром от 3 до 8 мм включ.
Тип I
Тип II
В целях сокращения числа переналадок многоэлектродных машин рекомендуется при проектировании унифицировать шаги арматуры, главным образом продольной, для железобетонных изделий данной серии или каталога.
Допускается принимать отличающиеся от указанных в
табл. 39 и
40 шаги стержней при разработке чертежей железобетонных изделий для конкретного завода-изготовителя применительно к параметрам установленного оборудования и при условии унификации этих шагов на заводе.
Сварные сетки, изготовляемые на многоэлектродных машинах, должны иметь прямоугольный контур с прямоугольными ячейками. На концах стержней не должно быть отгибов, крюков или петель. Их устройство допускается лишь по согласованию с заводом-изготовителем.
5.23. Сварные сетки, конструктивные параметры которых не позволяют изготовлять их на многоэлектродных машинах, следует проектировать, ориентируясь на технологические возможности одноточечных сварочных машин (табл. 41).
Параметры арматурных сеток, изготовляемых на одноточечных сварочных машинах | Значения параметров |
Максимальный диаметр меньшего из свариваемых стержней, мм | При стержнях обоих направлений классов Вр-I, А-II, А-III, Ат-IIIС - 25; при стержнях хотя бы одного направления классов В-I, А-II - 40. См. также табл. 38 ( поз. 1 и 2) |
Максимальная ширина свариваемых сеток, мм: | |
рекомендуемая | 500 |
допускаемая | |
Минимальные расстояния, мм, между осями стержней одного направления при диаметрах стержней, мм: | |
до 10 | 40 |
от 12 до 18 | 50 |
" 20 " 25 | 60 |
28 и 32 | 70 |
36 и 40 | 80 |
Минимальная длина концов стержней k до оси крайнего пересекаемого стержня, мм | 20, но не менее диаметра выступающего стержня |
Минимальный угол между пересекающимися свариваемыми стержнями, град | 30 |

5.24. Товарные сварные сетки, а также сетки и каркасы, изготовленные на многоэлектродных и одноточечных машинах, могут быть использованы как законченные арматурные изделия или как полуфабрикат, подвергаемый доработке (разрезка сетки, вырезка отверстий, сгибание сетки для получения пространственного каркаса и в виде исключения - приваривание дополнительных стержней).
Приваривание дополнительных стержней может производиться контактной сваркой (черт. 94, а, б) с учетом указаний
табл. 41, а также электродуговой сваркой продольными швами (черт. 94, в) с учетом требований
п. 5.18.
а)
б)
в)
Черт. 94. Приваривание дополнительного продольного стержня
к сварной сетке
а - исходная сетка; б - приваривание дополнительного
стержня вблизи основного поперечного стержня точечной
сваркой; в - то же, к основному стержню вплотную
электродуговой сваркой продольными швами; 1 - основной
стержень; 2 - дополнительный стержень; 3 - электродуговая
сварка (при длине l <= 6 м допускается стержень 2
приваривать только по концам изделия)
Сгибание сетки производится в соответствии с указаниями
п. 5.27.
5.25. При армировании стенок балок переменной высоты рекомендуется:
а) при уклоне не более 1:10 применять каркасы с группами стержней одной длины
(черт. 95, а);
б) при уклоне более 1:10 применять раздельные прямоугольные каркасы
(черт. 95, б) или прямоугольные сетки с последующей разрезкой по наклонной линии
(черт. 95, в) с добавлением при необходимости окаймляющего стержня.
При армировании непрямоугольных плит рекомендуется применять сварные сетки, получаемые из прямоугольных в результате их разрезки
(черт. 95, г).
Черт. 95. Армирование изделий переменных размеров
а - стенок балки сеткой с группами поперечных стержней
одной длины; б - то же, раздельными прямоугольными сетками;
в - то же, прямоугольной сеткой с разрезкой ее по наклонной
линии и добавлением окаймляющих стержней; г - сварными
сетками для плит переменной ширины, получаемыми разрезкой
прямоугольной сетки
Пространственные арматурные каркасы
5.26. Арматуру железобетонных элементов (линейных в особенности) следует проектировать преимущественно в виде пространственных каркасов.
Пространственные каркасы могут выполняться целиком на изделие или в виде пространственных блоков, применяемых в сочетании с плоскими или гнутыми сетками, отдельными стержнями и т.п.
Пространственные каркасы следует конструировать достаточно жесткими для возможности их складирования, транспортирования и соблюдения проектного положения в форме. Жесткость их должна обеспечиваться установкой в необходимых случаях связей в виде стержней, планок и т.п.
Закладные детали и строповочные устройства (петли, трубки и т.п.) допускается крепить к пространственному каркасу при условии обеспечения требуемой точности расположения. Если при этом отклонения от проектного положения закладных деталей могут снизить несущую способность стыков железобетонных изделий, следует предусматривать крепление этих деталей к форме.
5.27. При образовании пространственных каркасов с применением гнутых плоских сеток рекомендуется предусматривать гнутые сетки с очертанием по типу приведенных на
черт. 96, а и получаемые на серийном гибочном оборудовании. При этом должны соблюдаться следующие требования:
длина сеток должна быть не более 6 м (при согласовании с заводом-изготовителем допускается до 9 м);
длина отгибаемого участка (см.
черт. 97, е) - не менее 60 мм и не менее 8d;
диаметр отгибаемых стержней - не более 12 мм (по согласованию с заводом-изготовителем - до 32 мм).
Черт. 96. Примеры очертания гнутых сварных сеток
а - рекомендуемые (сетки изготовляются на серийном
оборудовании); б - допускаемые (требующие специального
оборудования или приспособления); в - при пакетировании
гнутых элементов пространственных каркасов для хранения
и транспортирования (расположение прямых продольных
стержней показано условно)
При массовом изготовлении по согласованию с заводом-изготовителем допускаются гнутые сетки и других очертаний, например по типу приведенных на
черт. 96, б, изготовление которых требует специального оборудования или приспособлений.
Пространственные каркасы, подлежащие транспортированию или хранению, рекомендуется проектировать из элементов, поддающихся плотному пакетированию
(черт. 96, в).
Диаметры стержней гнутых сварных сеток, радиусы и углы загиба, расположение продольных стержней следует назначать с учетом классов применяемой стали в соответствии с
черт. 97.
а)
б)
в)
г)
д)
Черт. 97. Параметры гнутых сварных сеток
а, б - место загиба сетки удалено от продольных стержней
(параметры загиба принимаются по
табл. 37); в - место
загиба сетки совпадает с продольным стержнем, расположенным
с внутренней стороны сетки (диаметр D принимается по
табл. 37 с увеличением на 2d); г - место загиба сетки
совпадает с продольным стержнем, расположенным снаружи;
д - место загиба сетки совпадает с продольным стержнем
большего диаметра, расположенным внутри сетки; е - концевые
участки гнутого стержня сетки; d - диаметр сгибаемого
стержня;

- диаметр продольного стержня;
D - диаметр условного круга загиба стержня
5.28. Объединение арматурных изделий в пространственный каркас рекомендуется предусматривать контактной точечной сваркой крестообразных пересечений стержней с помощью сварочных клещей. Минимальные расстояния в свету между стержнями, при которых обеспечивается беспрепятственный проход электродов сварочных клещей, для каркасов железобетонных элементов приведены на
черт. 98.
а)
б)
в)
Черт. 98. Примеры пространственных каркасов
железобетонных элементов, изготовляемых с применением
сварки сварочными клещами
а - стержней внешних углов каркасов линейных конструкций;
б - промежуточных стержней каркасов линейных конструкций;
в - стержней узкой сетки со стержнями двух широких сеток
для плоскостных конструкций; 1 - сварочные клещи;
2 - широкая сетка; 3 - узкая сетка
При

a = 60 мм, b = 100 мм;
при

a = 75 мм, b = 120 мм
Максимальные допускаемые диаметры свариваемых стержней определяются по табл. 42.
Таблица 42
Меньший диаметр свариваемых стержней, мм | Допускаемые максимальные диаметры, мм, стержней классов А-I, А-II, А-III, Ат-IIIС, свариваемых клещами со стержнями меньшего диаметра классов |
А-I | А-II, А-III, Ат-IIIС |
6 | 22 | 18 (22) |
8 | 22 (32) | 16 (22) |
10 | 20 (36) | 10 (20) |
12 | 18 (36) | - (18) |
14 | 14 (32) | - |
16 | - (32) | - |
18 | - (28) | - |
20 | - (20) | - |
Примечание. В скобках указаны максимальные диаметры, допускаемые по согласованию с заводом-изготовителем.
5.29. Пространственные каркасы для армирования линейных элементов (колонн, свай, балок и т.п.) рекомендуется изготовлять с применением контактной точечной сварки следующими способами:
а) соединением плоских сеток отдельными стержнями, привариваемыми к продольным стержням сеток с помощью сварочных клещей
(черт. 99, а) в соответствии с
п. 5.28;
б) соединением гнутых сеток стержнями
(черт. 99, б), привариваемыми, как указано выше;
в) навивкой спиральной поперечной арматуры на продольную арматуру
(черт. 99, в) со сваркой в процессе навивки всех пересечений с помощью сварочных клещей. Такие каркасы рекомендуются для армирования труб, свай, бесконсольных колонн и других изделий массового изготовления;
г) нанизыванием на продольные стержни хомутов, заранее согнутых и сваренных контактной точечной сваркой в местах пересечения ветвей, с последующей сваркой клещами всех пересечений
(черт. 99, г). Места пересечения ветвей хомутов размещаются по длине каркаса вразбежку. Такие каркасы могут применяться, в частности, для армирования колонн с промежуточными консолями. При отсутствии сварочных клещей может производиться вязка соединений продольных стержней и хомутов (в этом случае рекомендуется обеспечивать пространственную жесткость каркасов приваркой дополнительных стержней, планок и т.п.);
д) сгибанием плоской сетки до получения замкнутого контура и последующей сваркой клещами поперечных стержней с продольным стержнем противоположного края исходной сетки
(черт. 99, д). Этот способ рекомендуется при наличии специального оборудования или приспособлений;
е) сваркой клещами четырех плоских сварных сеток
(черт. 99, е). Этот способ может быть применен, в частности, при изготовлении каркасов колонн, когда расстояние между угловыми и средними стержнями менее 75 мм, а число продольных стержней не менее восьми;
ж) соединением двух сеток монтажными стержнями, перпендикулярными плоскости изгиба и привариваемыми к поперечной арматуре сеток
(черт. 99, ж). Этот способ допускается в балках, не работающих на кручение, и в колоннах при общем насыщении продольной арматурой не более 3%;
з) соединением нескольких гнутых и плоских сеток стержнями, привариваемыми клещами
(черт. 99, и);
и) из двух диагонально расположенных плоских сеток, выполняемых с помощью сварки одноточечными машинами продольных стержней сразу обеих сеток со своими поперечными стержнями
(черт. 99, к), при этом должна быть обеспечена монтажная жесткость каркаса приваркой стержней, планок и т.п. Способ допускается для стоек, свай и т.п. при насыщении продольной арматурой до 1%.
| | ИС МЕГАНОРМ: примечание. Буквенное обозначение рисунков дано в соответствии с официальным текстом документа. | |
Черт. 99. Примеры конструкций пространственных каркасов
линейных элементов, изготовляемых с применением контактной
точечной сварки
а - из двух сеток и соединительных стержней, привариваемых
к продольной арматуре сеток; б - из гнутых сеток
и соединительных стержней; в - с навивкой спиральной
поперечной арматуры на продольную арматуру; г - из ранее
согнутых и сваренных хомутов, нанизанных на продольные
стержни; д - из сетки, согнутой до получения замкнутого
контура; е - из четырех плоских сеток; ж - из двух сеток
и монтажных стержней, перпендикулярных плоскости изгиба
и привариваемых к поперечной арматуре сеток (в балках,
не работающих на кручение, и в колоннах при общем насыщении
продольной арматурой не более 3%); и - пространственный
каркас из нескольких гнутых и плоских сеток
и соединительных стержней, привариваемых с помощью
сварочных клещей; к - пространственные каркасы
при насыщении продольной арматурой до 1% в виде двух
диагонально расположенных плоских сеток; 1 - плоская сетка;
2 - соединительный стержень; 3 - гнутая сетка;
4 - точечная сварка
5.30. Пространственные каркасы линейных элементов могут быть изготовлены без применения контактной точечной сварки следующими способами:
а) соединением сеток с помощью скоб и дуговой сваркой их с хомутами
(черт. 100, а). В колоннах, в балках, работающих на кручение, а также в сжатой зоне балок с учитываемой в расчете сжатой арматурой длина односторонних сварных швов l должна быть не менее 6d (где d - диаметр хомута), а монтажных соединений - 3d;
б) соединением плоских сеток с помощью шпилек с вязкой всех пересечений
(черт. 100, б), при этом должна быть обеспечена монтажная жесткость каркаса приваркой стержней, планок и т.п.;
в) соединением плоских сеток между собой с помощью дуговой сварки продольных стержней
(черт. 100, в) возле всех мест приварки хомутов. Длина швов l должна быть не менее 5d (где d - диаметр хомутов). Такие соединения допускаются при насыщении сечения сжатой арматурой не более 3%;
г) из продольных стержней и гнутых хомутов с вязкой пересечений
(черт. 100, г) и присоединением элементов жесткости (вязаные каркасы);
д) из одной или нескольких гнутых или плоских сеток и соединительных стержней диаметрами не более 6 мм огибанием продольных стержней сеток концами соединительных стержней с образованием замкнутой петли с помощью гибочных ключей
(черт. 100, д). Способ рекомендуется при наличии специальных кондукторов, обеспечивающих надежную фиксацию каркасов. При наличии сжатых продольных стержней требования к расстояниям между соединительными стержнями такие же, как к расстояниям между сварными хомутами (см.
п. 5.59).
Черт. 100. Примеры пространственных каркасов линейных
элементов, изготовляемых без применения
контактной точечной сварки
а - из двух плоских сеток и скоб, привариваемых
к поперечной арматуре сеток; б - из двух плоских сеток,
соединяющихся с помощью шпилек, с вязкой всех пересечений;
в - из четырех плоских сеток; г - из продольных стержней
и гнутых хомутов с вязкой пересечений; д - каркас,
образуемый из одной или нескольких гнутых или плоских сеток
и соединительных стержней с помощью гибочных ключей;
1 - плоская сетка; 2 - скоба или шпилька; 3 - поперечные
стержни плоских сеток; 4 - продольные стержни плоских
сеток; 5 - дуговая сварка; 6 - гибочный ключ;
7 - гнутая сетка
Из-за большой трудоемкости каркасы, приведенные в настоящем пункте, могут применяться лишь в виде исключения или при отсутствии сварочных клещей.
5.31. Пространственные каркасы для армирования плоских элементов (плит, стеновых панелей и т.п.) рекомендуется изготовлять следующими способами:
а) соединением плоских сеток типа "лесенка" стержнями, привариваемыми клещами (черт. 101, а);
б) соединением сеток типа "лесенка" одного направления такими же плоскими сетками другого направления и меньшей высоты
(черт. 101, б). Соединения пересечений осуществляются клещами; при их отсутствии допускается вязка.
а)
Черт. 101. Примеры конструкций пространственных каркасов
для армирования плоских элементов
а - из плоских сеток типа "лесенка" и соединительных
стержней; б - из плоских сеток типа "лесенка" одного
направления и таких же сеток другого направления и меньшей
высоты; в - из V-образных сеток одного направления и таких
же сеток другого направления и меньшей высоты
Для обеспечения устойчивости при сборке в обоих указанных случаях плоские сетки типа "лесенка" могут быть заменены гнутыми V-образными сетками
(черт. 101, в).
Пространственный каркас ребристых плит или панелей изготовляется из гнутых корытообразных сеток с приваркой или привязкой к ним плоских сеток типа "лесенка".
РАСПОЛОЖЕНИЕ АРМАТУРЫ, АНКЕРОВКА, СТЫКИ
5.32
(5.4). Защитный слой бетона для рабочей арматуры должен обеспечивать совместную работу арматуры с бетоном на всех стадиях работы конструкции, а также защиту арматуры от внешних атмосферных, температурных и подобных воздействий.
5.33 (
5.5,
5.6). Толщина защитного слоя должна составлять, как правило, не менее диаметра стержня и не менее значений, указанных в табл. 43.
Вид конструкций | Назначение арматуры | Высота (толщина) сечения, мм | Толщина защитного слоя, мм, не менее |
1. Плиты, стенки, полки ребристых плит | Продольная рабочая | До 100 включ. | 10 |
Св. 100 | 15 |
2. Балки, ребра плит | То же | Менее 250 | 15 |
| 250 и более | 20 |
| " | Любая | 20 |
4. Фундаментные балки и сборные фундаменты | " | " | 30 |
5. Монолитные фундаменты: | | | |
при наличии бетонной подготовки | Нижняя рабочая | " | 35 |
при отсутствии бетонной подготовки | То же | " | 70 |
6. Любая конструкция | Поперечная, распределительная, конструктивная | Менее 250 | 10 |
250 и более | 15 |
Примечание. Для конструкций, указанных в
поз. 1 -
3 и соприкасающихся с грунтом, значения толщины защитного слоя увеличиваются на 5 мм.
Для сборных элементов из тяжелого бетона класса B20 и выше толщину защитного слоя для продольной арматуры допускается принимать на 5 мм меньше диаметра стержня, но не менее величин, указанных в
табл. 43.
Для железобетонных плит из тяжелого бетона класса B20 и выше, изготовляемых на заводах в металлических формах и защищаемых сверху в сооружении бетонной подготовкой или стяжкой, толщину защитного слоя для верхней арматуры допускается принимать равной 5 мм.
В однослойных конструкциях из легкого и поризованного бетонов класса B7,5 и ниже толщина защитного слоя должна составлять, мм:
для продольной рабочей арматуры - не менее 20;
для наружных стеновых панелей (без фактурного слоя) - не менее 25;
для поперечной, конструктивной и распределительной арматуры - не менее 15.
5.34
(5.10). В полых элементах кольцевого или коробчатого сечения расстояние от стержней продольной арматуры до внутренней поверхности бетона должно удовлетворять требованиям
п. 5.33.
5.35. В изгибаемых, растянутых и внецентренно сжатых при

элементах, кроме фундаментов, толщина защитного слоя для растянутой рабочей арматуры, как правило, не должна превышать 50 мм. В защитном слое толщиной свыше 50 мм следует устанавливать конструктивную арматуру в виде сеток. При этом площадь сечения продольной арматуры сеток должна быть не менее 0,05

, шаг поперечной арматуры должен не превышать высоты сечения элемента и соответствовать указаниям
п. 5.54.
5.36. Для конструкций, работающих в агрессивных средах, толщина защитного слоя бетона должна назначаться с учетом требований
СНиП 2.03.11-85.
При назначении толщины защитного слоя бетона необходимо также учитывать требования
СНиП 2.01.02-85.
5.37
(5.9). Для возможности свободной укладки в форму цельных арматурных стержней, сеток или каркасов, идущих по всей длине или ширине изделия, концы этих стержней должны отстоять от грани элемента при соответствующем размере изделия: до 9 м - на 10 мм, до 12 м - на 15 мм, свыше 12 м - на 20 мм.
Минимальные расстояния между стержнями арматуры
5.38
(5.11). Расстояния между стержнями арматуры по высоте и ширине сечения должны обеспечивать совместную работу арматуры с бетоном и назначаться с учетом удобства укладки и уплотнения бетонной смеси.
При назначении расстояний между стержнями в сварных сетках, а также в плоских и пространственных каркасах следует, кроме того, учитывать технологические требования по конструированию сварных арматурных изделий, изложенные в
пп. 5.22,
5.23 и
5.28.
5.39
(5.12). Расстояния в свету между отдельными стержнями продольной арматуры и между продольными стержнями соседних плоских сварных каркасов должны приниматься не менее наибольшего диаметра стержней, а также:
а) если стержни при бетонировании занимают горизонтальное или наклонное положение: для нижней арматуры - не менее 25 мм; для верхней - не менее 30 мм; при расположении нижней арматуры более чем в два ряда по высоте расстояние между стержнями в горизонтальном направлении (кроме стержней двух нижних рядов) должно быть не менее 50 мм;
б) если стержни при бетонировании занимают вертикальное положение - не менее 50 мм; при систематическом контроле фракционирования заполнителей бетона это расстояние может быть уменьшено до 35 мм, но при этом должно быть не менее 1,5-кратного наибольшего размера крупного заполнителя.
В элементах или узлах с большим насыщением арматурой или закладными деталями, изготовляемых без применения виброплощадок или вибраторов, укрепленных на опалубке, должно быть обеспечено в отдельных местах расстояние в свету не менее 60 мм для прохождения между арматурными стержнями наконечников глубинных вибраторов, уплотняющих бетонную смесь. Расстояния между такими местами должны быть не более 500 мм.
5.40
(5.12). При стесненных условиях допускается располагать стержни арматуры попарно без зазора между ними либо с расстоянием между стержнями пары менее расстояния, требуемого для отдельных стержней. Такая пара стержней при назначении расстояний между стержнями (по
п. 5.39) и при определении длины анкеровки (по
пп. 5.42 -
5.46) должна рассматриваться как условный стержень диаметром

(где

и

- диаметры сближаемых стержней,

- расстояние между этими стержнями в свету, принимаемое не более диаметра меньшего стержня;
черт. 102).
а)
б)
в)
Черт. 102. Примеры расположения одного из рядов стержней
нижней арматуры (располагаемой в один или два ряда
по высоте) при изготовлении изделия на виброплощадке
при d = 32 мм и d = 16 мм
а - равномерное расположение стержней; б - спаренное
расположение стержней при уменьшенных расстояниях между
стержнями каждой пары; в - то же, при отсутствии зазора
между стержнями каждой пары
5.41
(5.12). Расстояния в свету между стержнями периодического профиля, указанные в
пп. 5.39 и
5.40, определяются по номинальному диаметру без учета выступов и ребер. Назначая расположение арматуры в сечении со стесненными условиями с учетом примыкающих других арматурных элементов и закладных деталей, следует принимать во внимание диаметры стержней с учетом выступов и ребер, а также допускаемые отклонения от номинальных размеров стержней арматуры, сварных сеток и каркасов, закладных деталей, форму и расположение арматуры и закладных деталей в сечении.
5.42. Для обеспечения восприятия арматурой требуемых усилий в рассматриваемом сечении арматура должна иметь достаточную анкеровку заведением ее за это сечение на необходимую длину или выполнением специальных конструктивных мероприятий.
5.43
(5.13). Стержни периодического профиля, а также гладкие стержни, применяемые в сварных каркасах и сетках, выполняются без крюков. Растянутые гладкие стержни вязаных каркасов и сеток должны заканчиваться крюками (см.
черт. 92) или петлями.
5.44
(5.14). Продольные стержни растянутой и сжатой арматуры должны быть заведены за нормальное к продольной оси элемента сечение, в котором они учитываются с полным расчетным сопротивлением, на длину не менее

, определяемую по формуле

, (316)
но не менее

, где значения

и

, а также допускаемые минимальные величины

определяются по табл. 44. При этом гладкие арматурные стержни должны оканчиваться крюками, выполняемыми согласно
п. 5.11, или иметь приваренную поперечную арматуру по длине заделки. К величине

допускается вводить коэффициенты условий работы бетона, кроме

.
Условия работы арматуры | Параметры для определения длины анкеровки lan арматуры без анкеров |
периодического профиля | гладкой |
| | | lan, мм | | | | lan, мм |
не менее | не менее |
1. Заделка арматуры: | | | | | | | | |
а) растянутой в растянутом бетоне | 0,70 | 11 | 20 | 250 | 1,20 | 11 | 20 | 250 |
б) сжатой или растянутой в сжатом бетоне | 0,50 | 8 | 12 | 200 | 0,80 | 8 | 15 | 200 |
2. Стыки арматуры внахлестку в бетоне: | | | | | | | | |
а) растянутом | 0,90 | 11 | 20 | 250 | 1,55 | 11 | 20 | 250 |
б) сжатом | 0,65 | 8 | 15 | 200 | 1,00 | 8 | 15 | 200 |
В элементах из мелкозернистого бетона группы Б (см.
п. 2.1) значения

, определяемые по
формуле (316), должны быть увеличены на 10d для растянутого и на 5d - для сжатого бетона.
Величины относительной длины анкеровки

, вычисленные по
формуле (316) для разных классов бетона и арматуры, приведены в табл. 45.
Расположение арматуры в бетоне | Класс арматуры | Относительная длина анкеровки арматуры  при бетоне классов |
B7,5 | B10 | B12,5 | B15 | B20 | B25 | B30 | B35 | B40 | B45 | B50 | B55 | B60 |
lan >= 250 мм | А-I | 72 | 58 | 48 | 42 | 34 | 30 | 27 | 25 | 23 | 22 | 21 | 21 | 20 |
А-II | 56 | 45 | 38 | 34 | 28 | 25 | 23 | 21 | 20 | 20 | 20 | 20 | 20 |
А-III | 69 | 55 | 46 | 40 | 33 | 29 | 26 | 24 | 22 | 21 | 21 | 20 | 20 |
2. Сжатом, lan >= 200 мм | А-I | 49 | 39 | 33 | 29 | 24 | 20 | 19 | 17 | 16 | 15 | 15 | 14 | 14 |
А-II | 40 | 32 | 27 | 24 | 20 | 18 | 16 | 15 | 14 | 14 | 13 | 13 | 13 |
А-III | 50 | 40 | 33 | 29 | 24 | 21 | 19 | 17 | 16 | 15 | 15 | 15 | 14 |
В случае, когда анкеруемые стержни поставлены с запасом по площади сечения против требуемой расчетом по прочности с полным расчетным сопротивлением, длину анкеровки

, вычисленную по
формуле (316), допускается уменьшать, умножая на отношение необходимой по расчету и фактической площадей сечения арматуры.
Если по расчету вдоль анкеруемых стержней образуются трещины от растяжения бетона, стержни должны быть заделаны в сжатую зону бетона на длину

, определяемую по
формуле (316). При этом высоту сжатой зоны допускается определять согласно
п. 4.16.
5.45. При невозможности выполнения требований
п. 5.44 должны быть приняты специальные меры по анкеровке продольных стержней:
а) устройство на концах специальных анкеров в виде пластин, шайб, гаек, уголков, высаженных головок и т.п.
(черт. 103). В этом случае площадь контакта анкера с бетоном должна удовлетворять условию прочности бетона на смятие (см.
п. 3.109а), а толщина анкерующей пластины должна быть не менее 1/5 всей ширины (диаметра) и удовлетворять условиям сварки (см.
табл. 52); длина заделки стержня должна определяться расчетом на выкалывание (см.
п. 3.106а) и приниматься не менее 10d;
б) отгиб анкеруемого стержня на 90° по дуге круга радиусом в свету не менее

[где

- длина прямого участка у начала заделки
(черт. 104)], отвечающим рекомендациям
табл. 37; на отогнутом участке ставятся дополнительные хомуты против разгибания стержней;
в) приварка на длине заделки поперечных анкерующих стержней; в этом случае длина анкеровки

, определенная согласно
п. 5.44, уменьшается на длину

[где

- см.
формулу (82)]; если

, гладкие стержни могут выполняться без крюков, при этом значение

не уменьшается.
Черт. 103. Анкеровка арматуры путем устройства
на концах специальных анкеров
а - приваренной пластины; б - обжатой пластины;
в - высаженной головки; г - высаженной головки с шайбой;
д - приваренного стержня к уголку; е - гайки с шайбой
снаружи; ж - гайки внутри
Черт. 104. Анкеровка арматуры путем отгиба
5.46
(5.15). Если продольные стержни арматуры, доходящие до крайних свободных опор изгибаемых элементов, не имеют специальных анкеров и не привариваются к опорным закладным деталям, необходимо выполнять следующие требования:
а) если соблюдаются условия
п. 3.40, длина запуска растянутых стержней за внутреннюю грань свободной опоры

должна составлять не менее 5d; в сварных каркасах и сварных сетках с продольной рабочей арматурой из гладких стержней к каждому растянутому продольному стержню на длине

должен быть приварен хотя бы один поперечный (анкерующий) стержень диаметром

, расположенный от конца каркаса (сетки) на расстоянии c <= 15 мм при d <= 10 мм и c <= 1,5d при d > 10 мм
(черт. 105, а);
б) если не соблюдаются условия
п. 3.40, длина запуска стержней за внутреннюю грань свободной опоры

должна быть не менее 10d; в случае применения гладких стержней на длине

к каждому продольному стержню должно быть приварено не менее двух поперечных (анкерующих) стержней диаметром

, при этом расстояние от крайнего анкерующего стержня до конца каркаса (сетки) должно составлять не более указанных в
подпункте "а" величин c (черт. 105, б).
б)
Черт. 105. Дополнительная анкеровка арматуры привариванием
поперечных анкерующих стержней
а - в плитах; б - в балках
Если величина

, определенная с учетом указаний
п. 3.44, меньше 10d, то длина запуска стержней за внутреннюю грань опоры уменьшается до

и принимается не менее 5d.
Стыки арматуры внахлестку (без сварки)
5.47
(5.37). Стыки рабочей арматуры внахлестку применяются при стыковании сварных и вязаных каркасов и сеток, при этом диаметр рабочей арматуры должен быть не более 36 мм.
Стыки стержней рабочей арматуры внахлестку не рекомендуется располагать в растянутой зоне изгибаемых и внецентренно растянутых элементов в местах полного использования арматуры. Такие стыки не допускаются в линейных элементах, сечение которых полностью растянуто.
5.48
(5.38). Стыки растянутой или сжатой рабочей арматуры, а также сварных сеток и каркасов в рабочем направлении должны иметь длину перепуска (нахлестки) l не менее величины

, определяемой по
формуле (316).
Величины относительной длины перепуска

, вычисленные по
формуле (316) для разных классов бетона и арматуры, приведены в табл. 46.
Таблица 46
Расположение арматуры в бетоне | Класс арматуры | Относительная длина перепуска  при бетоне классов |
B12,5 | B15 | B20 | B25 | B30 | B35 | B40 | B45 | B50 | B55 | B60 |
Растянутом, ll >= 250 мм | Вр-I | 56 | 49 | 40 | 34 | 30 | 27 | 26 | 24 | 23 | 23 | 22 |
А-I | 59 | 51 | 41 | 35 | 32 | 28 | 27 | 25 | 24 | 23 | 23 |
А-II | 46 | 40 | 33 | 28 | 26 | 24 | 22 | 21 | 21 | 20 | 20 |
А-III | 56 | 49 | 40 | 34 | 30 | 27 | 26 | 24 | 23 | 23 | 22 |
Сжатом, ll >= 200 мм | Вр-I | 41 | 35 | 29 | 24 | 22 | 20 | 19 | 18 | 17 | 17 | 16 |
А-I | 39 | 26 | 28 | 24 | 21 | 19 | 18 | 17 | 16 | 16 | 16 |
А-II | 33 | 29 | 24 | 21 | 19 | 17 | 16 | 15 | 15 | 15 | 15 |
А-III | 41 | 35 | 29 | 24 | 22 | 20 | 19 | 18 | 17 | 17 | 16 |
Если стыкуемые стержни поставлены с запасом по площади сечения против требуемой расчетом по прочности на действие наибольших усилий в зоне стыка, длину перепуска

, вычисленную по
формуле (316), можно уменьшить умножением ее на отношение необходимой по расчету и фактической площадей сечения арматуры.
5.49
(5.39). Стыки сварных сеток и каркасов, а также растянутых стержней вязаных каркасов и сеток внахлестку без сварки должны, как правило, располагаться вразбежку. При этом площадь сечения рабочих стержней, стыкуемых в одном месте или на расстоянии менее длины перепуска l, должна составлять не более 50% общей площади сечения растянутой арматуры при стержнях периодического профиля и не более 25% - при гладких стержнях.
Смещение стыков, расположенных в разных местах, должно быть не менее

(черт. 106, б).
Черт. 106. Расположение стержней,
стыкуемых внахлестку, и стыков
а - расположение стержней в стыке; б - расположение стыков
Стыкование отдельных стержней, сварных сеток и каркасов без разбежки допускается при конструктивном армировании (без расчетов), а также на тех участках, где арматура используется не более чем на 50%.
В поперечном сечении элемента арматурные стыки следует располагать по возможности симметрично.
5.50. При стыке внахлестку стыкуемые стержни должны располагаться по возможности вплотную один к другому; расстояние в свету между стыкуемыми стержнями не должно превышать 4d, т.е. 0 <= e <= 4d
(черт. 106, а).
Соседние стыки внахлестку не должны располагаться слишком близко один к другому. Расстояние между ними в свету должно быть не менее 2d (d - диаметр стыкуемых стержней) и не менее 30 мм (см.
черт. 106, б).
5.51
(5.40). Стыки сварных сеток в направлении рабочей арматуры из гладкой горячекатаной стали класса А-I должны выполняться таким образом, чтобы в каждой из стыкуемых в растянутой зоне сеток на длине нахлестки располагалось не менее двух поперечных стержней, приваренных ко всем продольным стержням сеток (черт. 107).
а)
б)
в)
Черт. 107. Стыки сварных сеток внахлестку в направлении
рабочей арматуры, выполненной из гладких стержней
а - при расположении распределительных стержней
в одной плоскости; б, в - то же, в разных плоскостях
Длина нахлестки сварных сеток с гладкой рабочей арматурой при наличии двух приваренных анкерующих стержней на длине нахлестки должна быть не менее величины

, определенной в соответствии с
п. 5.48.
Такие же типы стыков применяются для стыкования внахлестку сварных каркасов с односторонним расположением рабочих стержней из всех видов стали.
Стыки сварных сеток в направлении рабочей арматуры классов А-II, А-III и Ат-IIIС выполняются без поперечных стержней в пределах стыка в одной или в обеих стыкуемых сетках (
черт. 108, а,
б), при этом длина нахлестки l принимается в соответствии с требованиями
п. 5.48.
Черт. 108. Стыки сварных сеток внахлестку
в направлении рабочей арматуры периодического профиля
а - без анкерующих поперечных стержней на двух сетках;
б - то же, на одной из сеток; в - при одном анкерующем
стержне; г - при двух анкерующих стержнях
При приварке поперечных анкерующих стержней к рабочим стержням периодического профиля сварных сеток и каркасов (
черт. 108, в,
г) длина нахлестки, определенная в соответствии с
п. 5.48, может быть уменьшена на 5d при одном поперечном анкерующем стержне, на 8d - при двух поперечных анкерующих стержнях.
Во всех случаях длина нахлестки должна быть не менее 15d в растянутом и 10d - в сжатом бетоне.
Если диаметр рабочих стержней, стыкуемых внахлестку в растянутой зоне, превышает 10 мм и расстояние между стержнями составляет менее величины

(где d - наименьший диаметр стыкуемых стержней, мм), в местах стыков следует ставить дополнительную поперечную арматуру в виде хомутов или подвесок из корытообразно согнутых сварных сеток, заведенных в сжатую зону. При этом площадь сечения дополнительной поперечной арматуры, поставленной в пределах стыка, должна составлять не менее

(где

- площадь сечения всех стыкуемых продольных стержней).
При стыковании внахлестку сварных каркасов в балках на длине стыка независимо от диаметра рабочих стержней должна ставиться дополнительная поперечная арматура в виде хомутов или корытообразно согнутых сварных сеток. При этом шаг дополнительных поперечных стержней в пределах стыка должен быть не более 5d (d - наименьший диаметр продольных рабочих стержней).
5.52
(5.41). Стыки сварных сеток в нерабочем направлении выполняются внахлестку с перепуском (считая между осями крайних рабочих стержней сетки):
при диаметре распределительной арматуры
до 4 мм включ. ................................... на 50 мм
то же, свыше 4 мм ................................ на 100 мм
Черт. 109. Стыки сварных сеток в нерабочем направлении
а, б - внахлестку при диаметре распределительной арматуры
до 4 мм включ.; в, г - то же, свыше 4 мм;
д - впритык при диаметре рабочей арматуры 16 мм и более
При диаметре рабочей арматуры 16 мм и более сварные сетки в нерабочем направлении допускается укладывать впритык одну к другой, перекрывая стык специальными стыковыми сетками, укладываемыми с перепуском в каждую сторону не менее чем на 15d распределительной арматуры и не менее чем на 100 мм
(черт. 109, д).
Сварные сетки в нерабочем направлении допускается укладывать впритык без нахлестки и без дополнительных стыковых сеток в следующих случаях:
при укладке сварных полосовых сеток в двух взаимно перпендикулярных направлениях;
при наличии в местах стыков дополнительного конструктивного армирования в направлении распределительной арматуры.
АРМИРОВАНИЕ ЖЕЛЕЗОБЕТОННЫХ ЭЛЕМЕНТОВ
5.53
(5.16). Площадь сечения продольной арматуры в железобетонных элементах должна приниматься не менее указанной в табл. 47.
Условия работы арматуры | Минимальная площадь сечения продольной арматуры в железобетонных элементах, % площади сечения бетона |
1. Арматура S в изгибаемых, а также во внецентренно растянутых элементах при расположении продольной силы за пределами рабочей высоты сечения | 0,05 |
2. Арматура S, S' во внецентренно растянутых элементах при расположении продольной силы между арматурой S и S' | 0,05 |
3. Арматура S, S' во внецентренно сжатых элементах при: | |
а) l0/i < 17 (для прямоугольных сечений - при l0/h < 5) | 0,05 |
б) 17 <= l0/i <= 35 (5 <= l0/h <= 10) | 0,10 |
в) 35 < l0/i <= 83 (10 < l0/h <= 24) | 0,20 |
г) l0/i > 83 (l0/h > 24) | 0,25 |
Примечание. Минимальная площадь сечения арматуры, приведенная в
табл. 47, относится к площади сечения бетона, равной произведению ширины прямоугольного сечения или ширины ребра таврового (двутаврового) сечения b на рабочую высоту сечения

. В элементах с продольной арматурой, расположенной равномерно по контуру сечения, а также в центрально-растянутых элементах минимальная площадь всей продольной арматуры относится к полной площади сечения бетона и должна приниматься вдвое больше величин, указанных в
табл. 47.
Минимальный процент содержания арматуры S и S' во внецентренно сжатых элементах, несущая способность которых при расчетном эксцентриситете используется менее чем на 50%, независимо от гибкости элементов принимается равным 0,05.
Требования
табл. 47 не распространяются на армирование, определенное расчетом элемента для стадий транспортирования и возведения; в этом случае площадь сечения арматуры определяется только расчетом по прочности с учетом указаний
п. 1.14.
Элементы, не удовлетворяющие требованиям минимального армирования, относятся к бетонным элементам.
Требования настоящего пункта не учитываются при назначении площади сечения арматуры, устанавливаемой по контуру плит или панелей из расчета на изгиб в плоскости плиты (панели).
5.54
(5.22). У всех поверхностей железобетонных элементов, вблизи которых ставится продольная арматура, должна предусматриваться также поперечная арматура, охватывающая крайние продольные стержни, для предотвращения развития продольных трещин. При этом расстояния между поперечными стержнями у каждой поверхности элемента должны быть не более 600 мм и не более удвоенной ширины грани элемента. Поперечную арматуру допускается не ставить у граней тонких ребер шириной 150 мм и менее, по ширине которых располагается лишь один продольный стержень.
5.55. Соответствие расположения арматуры ее проектному положению должно обеспечиваться специальными мероприятиями по фиксации арматуры согласно
пп. 5.118 -
5.120.
Армирование сжатых элементов
5.56
(5.17). Диаметр, мм, продольных стержней сжатых элементов не должен превышать для бетона:
тяжелого и мелкозернистого класса ниже B25 .......... 40
легкого и поризованного классов:
B12,5 и ниже ...................................... 16
B15 - B25 ......................................... 25
B30 и выше ........................................ 40.
Для особо мощных колонн из тяжелого бетона класса B20 и выше и при соответствующем технологическом оборудовании для резки, сварки, и т.п. могут применяться стержни диаметром свыше 40 мм.
Диаметр продольных стержней внецентренно сжатых элементов монолитных конструкций должен быть не менее 12 мм. В колоннах с размером меньшей стороны сечения 250 мм и более диаметр продольных стержней рекомендуется назначать не менее 16 мм.
5.57
(5.18). В линейных внецентренно сжатых элементах расстояния между осями стержней продольной арматуры должны приниматься в направлении, перпендикулярном плоскости изгиба, не более 400 мм, а в направлении плоскости изгиба - не более 500 мм.
При расстояниях между осями рабочих стержней в направлении плоскости изгиба свыше 500 мм надлежит ставить конструктивную арматуру диаметром не менее 12 мм, чтобы между продольными стержнями было не более 400 мм.
5.58
(5.19). Во внецентренно сжатых элементах, несущая способность которых при заданном эксцентриситете продольной силы используется менее чем на 50%, а также в элементах с гибкостью

(например, подколонниках), где по расчету сжатая арматура не требуется, а количество растянутой арматуры не превышает 0,3%, допускается не устанавливать продольную и поперечную арматуру, требуемую согласно
пп. 5.54,
5.57,
5.59 и
5.60, по граням, параллельным плоскости изгиба. При этом армирование по граням, перпендикулярным плоскости изгиба, производится сварными каркасами и сетками с защитным слоем бетона толщиной не менее 50 мм и не менее двух диаметров продольной арматуры.
5.59
(5.22). Во внецентренно сжатых линейных элементах при наличии учитываемой в расчете сжатой продольной арматуры для предотвращения ее выпучивания хомуты должны ставиться на расстояниях не более 500 мм и не более: при вязаных каркасах - 15d, при сварных - 20d (d - наименьший диаметр сжатых продольных стержней).
Расстояния между хомутами внецентренно сжатых элементов в местах стыкования рабочей арматуры внахлестку без сварки должны составлять не более 10d.
Если насыщение элемента требуемой по расчету сжатой продольной арматурой S' составляет свыше 1,5%, хомуты должны устанавливаться на расстояниях не более 10d и не более 300 мм.
Конструкция поперечной арматуры должна обеспечивать закрепление сжатых стержней от их бокового выпучивания в любом направлении.
При проверке соблюдения требований настоящего пункта продольные сжатые стержни, не учитываемые расчетом, не должны приниматься во внимание, если диаметр этих стержней не более 12 мм и не превышает половины толщины защитного слоя бетона.
Примечание. При высокопрочной сжатой арматуре класса А-IV и выше расстояния между хомутами должны быть не более 400 мм и при вязаных каркасах не более 12d, при сварных - не более 15d.
5.60
(5.23). При армировании внецентренно сжатых элементов плоскими сварными каркасами два крайних каркаса (расположенные у противоположных граней) должны быть соединены один с другим для образования пространственного каркаса. Для этого у граней элемента, нормальных к плоскости каркасов, должны ставиться поперечные стержни, привариваемые контактной точечной сваркой к угловым продольным стержням каркасов, или шпильки, связывающие эти стержни, на тех же расстояниях, что и поперечные стержни плоских каркасов.
Если крайние плоские каркасы имеют промежуточные продольные стержни, эти стержни не реже чем через один и не реже чем через 400 мм по ширине грани элемента должны связываться с продольными стержнями, расположенными у противоположной грани, с помощью шпилек. Шпильки допускается не ставить при ширине данной грани элемента не более 500 мм и числе продольных стержней у этой грани не более четырех. Шпильки допускается также не ставить у промежуточных стержней, отстоящих от угловых не далее чем на

, независимо от ширины грани и числа стержней.
При

размерах сечения элемента рекомендуется устанавливать промежуточные плоские сварные сетки (черт. 110, а).
а)
Черт. 110. Конструкция пространственных каркасов
в сжатых элементах
а - сварных; б - вязаных; 1 - соединительные стержни;
2 - плоские сварные каркасы; 3 - хомут; 4 - промежуточный
плоский сварной каркас; 5 - шпилька
Конструкция вязаных хомутов во внецентренно сжатых элементах должна быть такой, чтобы продольные стержни (по крайней мере через один) располагались в местах перегиба хомутов, а эти перегибы - на расстоянии не более 400 мм по ширине грани элемента. При ширине грани не более 400 мм и числе продольных стержней у этой грани не более четырех допускается охват всех продольных стержней одним хомутом
(черт. 110, б). Допускается независимо от ширины грани и числа стержней не располагать промежуточные стержни в перегибах хомутов, если эти стержни отстоят от угловых стержней не далее чем на

. На концах вязаных хомутов должны предусматриваться крюки.
5.61
(5.25). Диаметр хомутов внецентренно сжатых элементов должен приниматься не менее 0,25d (d - наибольший диаметр продольных стержней), а в вязаных каркасах, кроме того, не менее 5 мм.
Армирование изгибаемых элементов
5.62
(5.20). Балки и ребра шириной 150 мм и менее (черт. 111), работающие в основном на изгиб, могут армироваться одним плоским вертикальным каркасом, а шириной свыше 150 мм и при значительных нагрузках должны армироваться несколькими вертикальными сетками (каркасами).
Черт. 111. Армирование балок плоскими сварными каркасами
1 - соединительные стержни; 2 - плоские сварные каркасы
В балках шириной свыше 150 мм число продольных рабочих стержней, заводимых за грань опоры, должно быть не менее двух. В ребрах сборных панелей, настилов, часторебристых перекрытий и т.п. шириной 150 мм и менее допускается доведение до опоры одного продольного рабочего стержня.
5.63
(5.21). В изгибаемых элементах при высоте сечения более 700 мм у боковых граней должны ставиться конструктивные продольные стержни с расстояниями между ними по высоте не более 400 мм и площадью сечения не менее 0,1% площади сечения бетона, имеющего размер, равный по высоте элемента расстоянию между этими стержнями, по ширине - половине ширины ребра элемента, но не более 200 мм (черт. 112).
Черт. 112. Установка конструктивной продольной арматуры
по высоте сечения балки
5.64
(5.20). Расстояния между осями рабочих стержней в средней части пролета плиты и над опорой (вверху) должны быть не более 200 мм при толщине плиты до 150 мм и не более 1,5h при толщине плиты свыше 150 мм (h - толщина плиты).
В плитах толщиной свыше 350 мм расстояния между осями рабочих стержней разрешается увеличивать до 600 мм.
В сплошных плитах расстояния между стержнями, заводимыми за грань опоры, не должны превышать 400 мм, причем площадь сечения этих стержней на 1 м ширины плиты должна составлять не менее 1/3 площади сечения стержней в пролете, определенной расчетом по наибольшему изгибающему моменту.
В многопустотных настилах расстояния между осями рабочих стержней разрешается увеличивать в соответствии с расположением пустот в сечении, но не более чем до 2h.
При армировании неразрезных плит сварными рулонными сетками допускается вблизи промежуточных опор все нижние стержни переводить в верхнюю зону.
Неразрезные плиты толщиной не более 80 мм допускается армировать одинарными плоскими сетками без отгибов.
5.65. Если рабочая арматура плиты проходит параллельно ребру, необходимо укладывать перпендикулярно ему дополнительную арматуру сечением не менее 1/3 наибольшего сечения рабочей арматуры плиты в пролете, заводя ее в плиту в каждую сторону от грани ребра на длину не менее 1/4 расчетного пролета плиты.
Если рабочая арматура плиты над опорой проходит перпендикулярно ребру, следует обрывать ее не ближе чем на расстоянии 1/4 расчетного пролета плиты от грани ребра (черт. 113).
Черт. 113. Армирование приопорных участков плит,
монолитно связанных с балками
1 - рабочая пролетная арматура плиты; 2 - рабочая
надопорная арматура плиты; l - расчетный пролет плиты
В балочных плитах площадь сечения распределительной арматуры на единицу ширины плиты должна составлять не менее 2% площади сечения рабочей арматуры на единицу ширины плиты в месте наибольшего изгибающего момента.
Расстояние между стержнями распределительной арматуры балочных плит должно быть не более 600 мм.
ПОПЕРЕЧНАЯ И ОТОГНУТАЯ АРМАТУРА
5.66
(5.26). В балочных конструкциях высотой более 150 мм, а также в многопустотных плитах (или в аналогичных часторебристых конструкциях) высотой более 300 мм должна устанавливаться поперечная арматура в соответствии с указаниями
п. 5.69.
В сплошных плитах независимо от высоты, в многопустотных плитах (или в аналогичных часторебристых конструкциях) высотой 300 мм и менее и в балочных конструкциях высотой 150 мм и менее допускается поперечную арматуру не устанавливать, при этом должны быть обеспечены требования расчета согласно
пп. 3.40 и
3.41.
5.67. Для предотвращения бокового выпучивания стержней сжатой зоны должна устанавливаться поперечная арматура в соответствии с требованиями
п. 5.59.
5.68
(5.25). Диаметр хомутов в вязаных каркасах изгибаемых элементов должен приниматься, мм, не менее:
при высоте сечения элемента, равной или менее 800 мм ....... 6
то же, более 800 мм ........................................ 8.
Соотношение диаметров поперечных и продольных стержней в сварных каркасах и сварных сетках, устанавливаемое из условия сварки, принимается согласно
поз. 1 и
2 табл. 38.
5.69
(5.27). Поперечная арматура в балочных и плитных конструкциях, указанных в
п. 5.66, устанавливается на приопорных участках, равных при равномерно распределенной нагрузке 1/4 пролета, а при сосредоточенных нагрузках - расстоянию от опоры до ближайшего груза, но не менее 1/4 пролета с шагом:
при высоте сечения элемента h, равной или менее
450 мм ........................................... не более h/2
и не более 150 мм
при высоте сечения элемента h более 450 мм ....... не более h/3
и не более 500 мм.
На остальной части пролета при высоте сечения элемента h более 300 мм устанавливается поперечная арматура с шагом не более 3/4h и не более 500 мм.
Для ребристых плит на средней части пролета при выполнении требований
п. 3.40 приведенные указания не учитываются.
5.70. Для обеспечения анкеровки поперечной арматуры изгибаемых элементов соединения продольных и поперечных стержней в сварных каркасах должны быть выполнены в соответствии с требованиями
поз. 1 и
2 табл. 38. В вязаных каркасах хомуты должны конструироваться таким образом, чтобы в местах их перегиба, а также загиба концевых крюков (при отсутствии перепуска концов) обязательно располагались продольные стержни (черт. 114). При этом как в сварных, так и в вязаных каркасах диаметр продольных стержней должен быть не менее 0,8 диаметра поперечных.
Черт. 114. Конструкция хомутов вязаных каркасов балок
При вязаной арматуре в промежуточных (средних) балках таврового сечения, монолитно соединенных поверху с плитой, рекомендуется ставить открытые хомуты.
5.71. Отогнутые стержни арматуры должны предусматриваться в изгибаемых элементах при армировании их вязаными каркасами. Отгибы стержней должны осуществляться по дуге радиусом не менее 10d (черт. 115). В изгибаемых элементах на концах отогнутых стержней должны устраиваться прямые участки длиной не менее

, принимаемой согласно указаниям
п. 5.44, но не менее 20d в растянутой и 10d - в сжатой зоне.
Черт. 115. Конструкция отгибов арматуры
Прямые участки отогнутых гладких стержней должны заканчиваться крюками.
Начало отгиба в растянутой зоне должно отстоять от нормального сечения, в котором отгибаемый стержень используется по расчету, не менее чем на

, а конец отгиба должен быть расположен не ближе того нормального сечения, в котором отгиб не требуется по расчету (черт. 116).
Черт. 116. Положения отгибов, определяемые эпюрой
изгибающих моментов в балке
1 - начало отгиба в растянутой зоне А; 2 - то же, в зоне Б;
3 - сечение, в котором стержень а не требуется по расчету
зоны А; 4 - сечение, в котором стержень б не требуется
по расчету зоны Б; 5 - огибающая эпюра моментов;
6 - эпюра материалов
Расстояние от грани свободной опоры до верхнего конца первого отгиба (считая от опоры) должно быть не более 50 мм.
5.72. Угол наклона отгибов к продольной оси элемента следует, как правило, принимать равным 45°. В балках высотой более 800 мм и в балках-стенках допускается увеличивать угол наклона отгибов в пределах до 60°, а в низких балках и в плитах - уменьшать в пределах до 30°.
Стержни с отгибами рекомендуется располагать на расстоянии не менее 2d от боковых граней элемента (d - диаметр отгибаемого стержня). Отгибать стержни, расположенные непосредственно у боковых граней элементов, не рекомендуется.
Отгибы стержней рекомендуется располагать симметрично относительно продольной оси балки.
Применение отгибов в виде "плавающих" стержней (черт. 117) не допускается.
Черт. 117. "Плавающий" стержень
Армирование элементов, работающих на изгиб с кручением
5.73
(5.31). В элементах, работающих на изгиб с кручением, вязаные хомуты должны быть замкнутыми с надежной анкеровкой по концам, а при сварных каркасах все поперечные стержни обоих направлений должны быть приварены к угловым продольным стержням, образуя замкнутый контур.
Пространственные каркасы следует проектировать с учетом требований
пп. 5.28,
5.29а -
е и
5.30.
Расстояния между поперечными стержнями, расположенными у граней, параллельных плоскости изгиба, должны удовлетворять требованиям
п. 5.69. Расстояния между поперечными стержнями, расположенными у граней, нормальных к плоскости изгиба, должны составлять не более ширины сечения элемента b. У граней, сжатых от изгиба, при T <= M/5 допускается увеличивать расстояния между поперечными стержнями, принимая их в соответствии с
пп. 5.54 и
5.59.
Требования настоящего пункта относятся, в частности, к крайним балкам, к которым второстепенные балки или плиты примыкают лишь с одной стороны, а также к средним балкам, для которых расчетные нагрузки, передающиеся от примыкающих к ним пролетов, различны и отличаются более чем в два раза.
Особые случаи армирования
АРМИРОВАНИЕ В МЕСТАХ ОТВЕРСТИЙ
5.74
(5.50). Отверстия значительных размеров в железобетонных плитах, панелях и т.п. должны окаймляться дополнительной арматурой сечением не менее сечения рабочей арматуры (того же направления), которая требуется по расчету плиты как сплошной. Заменяющая арматура должна быть заведена за края отверстия на длину не менее длины перепуска

, определяемой согласно
п. 5.48.
Отверстия в стенках элементов должны иметь закругленную форму и усиливаться по краям арматурой.
АРМИРОВАНИЕ ПЛИТ В ЗОНЕ ПРОДАВЛИВАНИЯ
5.75
(5.29). Поперечная арматура в плитах в зоне продавливания устанавливается с шагом не более 1/3h и не более 200 мм, при этом ширина зоны постановки поперечной арматуры должна быть не менее 1,5h (h - толщина плиты).
Анкеровка указанной арматуры должна удовлетворять требованиям
п. 5.70.
КОНСТРУИРОВАНИЕ КОРОТКИХ КОНСОЛЕЙ
5.76. Короткие консоли могут быть постоянной или переменной высоты с увеличением к месту заделки.
Консоли переменной высоты следует предусматривать при больших нагрузках.
5.77
(5.30). Поперечное армирование коротких консолей колонн рекомендуется выполнять:
при h <= 2,5c - хомутами, наклонными под углом 45° (черт. 118, а);
при h > 2,5c - горизонтальными хомутами (черт. 118, б).
а)
б)
Черт. 118. Короткие консоли колонн с хомутами
а - наклонными; б - горизонтальными
Во всех случаях шаг хомутов должен быть не более h/4 и не более 150 мм (h - высота консоли).
При ограниченной высоте консоли допускается применять жесткую арматуру (черт. 119).
Черт. 119. Короткая консоль с жесткой арматурой
5.78
(5.24). Косвенное армирование препятствует поперечному расширению бетона, благодаря чему увеличивается прочность бетона при продольном сжатии.
Косвенное армирование применяется в виде поперечных сварных сеток (черт. 120) или спиралей (колец)
(черт. 121).
Черт. 120. Косвенное армирование
в виде пакета поперечных сварных сеток
Черт. 121. Спиральное косвенное армирование
железобетонных элементов
Для косвенного армирования следует применять арматурную сталь классов А-I, А-II, А-III и Ат-IIIС диаметром не более 14 мм и сталь класса Вр-I.
Косвенное армирование может применяться по всей длине сжатых элементов (колонн, свай) или как местное армирование в местах стыков колонн, в местах воздействия ударов на сваю и др. Кроме того, косвенное армирование в виде сеток применяется при местном сжатии (смятии).
В колоннах и сваях сетки и спирали (кольца) должны охватывать всю рабочую продольную арматуру.
5.79
(5.24). Сетки косвенного армирования могут быть сварными из пересекающихся стержней (см.
черт. 120) или в виде гребенок. В обоих случаях должна быть обеспечена совместная работа стержней сетки с бетоном.
При применении косвенного армирования сварными сетками должны соблюдаться следующие условия:
а) площади сечения стержней сетки на единицу длины в одном и другом направлении не должны различаться более чем в 1,5 раза;
б) шаг сеток (расстояние между сетками в осях стержней одного направления) следует принимать не менее 60 мм, но не более 1/3 меньшей стороны сечения элемента и не более 150 мм;
в) размеры ячеек сеток в свету должны назначаться не менее 45 мм, но не более 1/4 меньшей стороны сечения элемента и не более 100 мм.
Первая сварная сетка располагается на расстоянии 15 - 20 мм от нагруженной поверхности элемента.
Гребенки, применяемые для косвенного армирования, должны быть встречными с длиной перепуска, соответствующей длине, указанной в
п. 5.48, и выполняться из арматуры периодического профиля.
5.80
(5.24). При применении косвенного армирования в виде спирали или колец должны соблюдаться следующие условия (см.
черт. 121):
а) спирали и кольца в плане должны быть круглыми;
б) шаг навивки спиралей или шаг колец должен быть не менее 40 мм, но не более 1/5 диаметра элемента и не более 100 мм;
в) диаметр навивки спиралей или колец следует принимать не менее 200 мм.
ОСОБЕННОСТИ СБОРНЫХ КОНСТРУКЦИЙ
5.81. Сборные железобетонные изделия должны удовлетворять требованиям технологичности (удобства изготовления): иметь простые очертания (с учетом в необходимых случаях технологических уклонов), простое армирование и малую трудоемкость; допускать механизацию и автоматизацию производства, возможность форсированного изготовления, а также быть удобными при транспортировании и монтаже.
Железобетонные изделия следует проектировать, как правило, для изготовления с формованием полностью за один прием, т.е. без последующего добетонирования или сборки перед монтажом из отдельных элементов.
5.82. Габариты и очертания сборных конструкций должны соответствовать требованиям
пп. 5.5 -
5.8.
5.83. Сборные железобетонные изделия рекомендуется проектировать с учетом изготовления их по возможности в максимально неразборных формах.
Если невозможно изготовление изделия в полностью неразборной форме, рекомендуется предусматривать неразборной по возможности наибольшую поверхность формы.
5.84. Ребра в стенках балок целесообразно предусматривать лишь при больших сосредоточенных нагрузках или при необходимости обеспечения устойчивости стенки.
5.85. Требования к точности изготовления железобетонных элементов должны устанавливаться исходя из анализа вида сопряжения их с другими элементами. Так, например, при замоноличивании стыков бетонов в ряде случаев могут быть допущены более высокие отклонения от номинальных размеров, компенсируемые укладываемым бетоном.
Стыки элементов сборных конструкций
5.86
(5.42). При стыковании железобетонных элементов сборных конструкций усилия от одного элемента к другому передаются через стыкуемую рабочую арматуру, стальные закладные детали, заполняемые бетоном или раствором швы, бетонные шпонки или (для сжатых элементов) непосредственно через бетонные поверхности стыкуемых элементов.
Для передачи значительных сдвигающих усилий в стыке через заполняемые бетоном или раствором швы между сборными элементами на стыкуемых поверхностях рекомендуется предусматривать устройство насечки или фигурного, по возможности неармированного профиля.
5.87
(5.43). Жесткие стыки сборных конструкций должны, как правило, замоноличиваться заполнением швов между элементами бетоном. Если при изготовлении элементов обеспечивается плотная подгонка поверхностей одной к другой (например, при использовании торца одного из стыкуемых элементов в качестве опалубки для торца другого), допускается при передаче через стык только сжимающего усилия выполнение стыков насухо.
5.88. Конструктивные решения рекомендуется принимать такие, при которых обеспечивается простота изготовления стыковых деталей (закладных деталей, сеток и т.п.), их сборки, фиксации в форме, формования изделия (удобство пробетонирования), а также монтажа и соединения железобетонных сборных элементов.
5.89
(5.44). Стыки элементов, воспринимающие растягивающие усилия, должны выполняться:
а) сваркой стальных закладных деталей;
б) сваркой выпусков арматуры;
в) склеиванием элементов конструкционными полимеррастворами с использованием соединительных деталей из стержневой арматуры;
г) замоноличиванием выпусков арматуры внахлестку.
При проектировании стыков элементов сборных конструкций должны предусматриваться такие соединения закладных деталей, при которых не происходило бы разгибания их частей, а также выколов бетона.
5.90. Жесткие стыки сборных колонн рекомендуется выполнять, используя ванную сварку выпусков продольной арматуры, расположенных в специальных подрезках, с последующим замоноличиванием этих подрезок.
В таких стыках между торцами стыкуемых колонн должна предусматриваться центрирующая прокладка в виде стальной пластины, заанкеренной в бетоне или приваренной при монтаже к распределительному листу закладной детали (см.
черт. 81;
черт. 122). Размеры центрирующей прокладки принимаются не более 1/3 соответствующего размера сечения колонны.
а)
б)
Черт. 122. Жесткий стык сборных колонн
с ванной сваркой арматурных выпусков
а - при четырех угловых арматурных выпусках;
б - при арматурных выпусках, расположенных по периметру
сечения; 1 - арматурные выпуски; 2 - бетон замоноличивания
в подрезках; 3 - центрирующая прокладка (сетки косвенного
армирования в разрезах условно не показаны)
Форма и размеры подрезок определяются числом стыкуемых стержней и их диаметрами (см.
черт. 122). Суммарная высота подрезок принимается не менее 30 см и не менее 8d (d - диаметр выпусков); глубина подрезки должна позволять устанавливать инвентарные формы и осуществлять неразрушающий ультразвуковой контроль.
5.91. Стыки сборных колонн с эксцентриситетами продольных сил в стадии эксплуатации менее 0,17h могут выполняться сопряжением торцов колонн через слой цементного или полимерного раствора с обрывом продольной арматуры (контактные стыки). Различные типы контактных стыков приведены на
черт. 123.
Черт. 123. Типы контактных стыков сборных колонн
1 - центрирующий штырь; 2 - центрирующая прокладка;
3 - раствор; 4 - сварка; 5 - прихватка; 6 - стержни,
соединяемые с пластиной сваркой; 7 - промежуточные стержни
с прихваткой; 8 - торцевые пластины с выштампованными
отверстиями (поперечная арматура условно не показана)
В стыке
1-го типа из торца верхней колонны выступает центрирующий штырь в виде арматурного стержня диаметром 32 - 36 мм, который заводится в заполненное жидким раствором гнездо, расположенное в центре торца нижней колонны. Для образования шва, заполненного раствором, на нижнем торце устанавливается центрирующая прокладка с отверстием для пропуска штыря.
В стыке
2-го типа верхний торец в центре имеет бетонный выступ, а нижний - соответствующее выступу гнездо круглой или прямоугольной формы в плане.
Стержни в стыках
1-го и
2-го типов должны отстоять от бетонной поверхности торцов не более чем на 10 мм.
3-й тип - стык со стальными пластинами по торцам колонн, соединенными сваркой со стержнями продольной арматуры в выштампованных или раззенкованных отверстиях или с помощью накладок. Число соединяемых таким образом стержней определяется расчетом на монтажные нагрузки и принимается не менее четырех (угловых) стержней. Остальные (промежуточные) стержни устанавливаются плоскими торцами в упор к пластинам и прихватываются к ним дуговой сваркой. После монтажа колонн торцевые пластины соединяются протяженными сварными швами по периметру или по углам сечения.
Толщина торцевых пластин принимается не менее: при соединении арматуры с пластиной в выштампованных отверстиях или в упор -

и 6 мм; в раззенкованных отверстиях -

и 12 мм (

- диаметр продольных стержней, требуемый по расчету). Если в стволе колонны установлена учитываемая в расчете косвенная арматура, толщину пластины следует увеличить на 2 мм.
5.92
(5.24). На концевых участках стыкуемых колонн, если не предусмотрено специальное усиление (обойма, закладные детали), должны устанавливаться сетки косвенного армирования в соответствии с указаниями
пп. 5.78 и
5.79 в количестве не менее четырех сеток на длине (считая от торца элемента) не менее 20d, если продольная арматура выполняется из гладких стержней, и не менее 10d - из стержней периодического профиля (d - наибольший диаметр продольной арматуры).
Коэффициент насыщения косвенной арматурой

(см.
п. 3.57) принимается не менее 0,0125.
Для стыков, указанных в
п. 5.90, при необходимости сварными сетками может армироваться и бетон замоноличивания в зоне подрезок. В зоне подрезок устанавливаются один-два замкнутых хомута, огибающих арматурные выпуски.
При контактных стыках
3-го типа (см.
п. 5.91) в концевых участках стыкуемых колонн допускается не предусматривать сетки косвенного армирования, если они не предусмотрены в самих колоннах. Однако на длине

концевого участка следует усиливать поперечную арматуру (хомуты, сетки) той же конструкции, что и в стволе колонны, принимая ее шаг не более: 0,25 наименьшего размера сечения; 0,6 шага поперечной арматуры в стволе колонны; 80 мм.
5.93. Размеры сварных швов, выполняемых при изготовлении стальных закладных деталей и при соединении их при монтаже в стыках сборных элементов, следует рассчитывать в соответствии с требованиями
СНиП II-23-81. Выбор способа сварки выпусков арматуры и конструктивные элементы этих соединений следует предусматривать согласно
пп. 5.15 -
5.17, а также государственным стандартам и нормативным документам по технологии сварки.
При конструировании сварных стыков и закладных деталей следует предусматривать способы сварки, не вызывающие коробления стальных деталей стыков.
5.94
(5.51). При проектировании элементов сборных перекрытий следует предусматривать устройство швов между ними, заполняемых бетоном. Ширина швов назначается из условия обеспечения качественного заполнения их и должна составлять не менее 20 мм для элементов высотой сечения до 250 мм и не менее 30 мм - для элементов большей высоты. При этом должна быть обеспечена возможность размещения стыкуемой арматуры или закладных деталей и их высококачественной сварки.
Класс бетона для заполнения швов, передающих расчетные усилия, принимается в соответствии с
п. 2.4.
Для замоноличивания труднодоступных или трудноконтролируемых мест стыка рекомендуется заполнение шва раствором или бетоном под давлением, а также применение расширяющегося цемента.
5.95. При проектировании сборных железобетонных изделий следует предусматривать удобные способы захвата их грузозахватными приспособлениями при снятии с формы (распалубке), а также при погрузочно-разгрузочных и монтажных работах.
Способы и места захвата следует назначать с учетом технологии изготовления и монтажа изделия, а также его конструктивных особенностей.
Изделие должно быть проверено расчетом на условия работы при принятом способе и размещении мест захвата.
5.96. В бетонных и железобетонных изделиях следует предусматривать устройства для их строповки: строповочные отверстия (в том числе для инвентарных петель), пазы, уступы и т.п. или стационарные стальные строповочные петли, которые должны быть выполнены из горячекатаной стали согласно
п. 2.18.
Захват изделий рекомендуется предусматривать по возможности без применения устройств, требующих расхода стали, путем создания углублений, пазов, отверстий, уступов и др.
(черт. 124).
а)
б)
в)
Черт. 124. Примеры строповочных устройств без петель
а - при строповке блока; б - строповочные отверстия
в колонне; в - сочетание двух разных строповочных устройств
в одном изделии; 1 - грузовые стропы;
2 - вырез для захвата; 3 - отверстия для захвата;
4 - петли для захвата при извлечении из формы
5.97. При проектировании изделий со строповочными петлями следует применять унифицированные петли. При отсутствии унифицированных петель с требуемыми характеристиками рекомендуется конструировать петли типов, приведенных на
черт. 125.
б)
в)
Черт. 125. Типы строповочных петель
а - свободно размещаемые в изделии из стали классов А-I
и Ас-II; б - размещаемые в стесненных условиях из стали
класса А-I, в - то же, из стали класса Ас-II
Минимальные параметры для петель с прямыми и отогнутыми ветвями типов П1,1 и П2,1 (см. черт. 125) приведены в табл. 48.
Таблица 48
Петли | Обозначения параметров | Размеры, мм |
| d | 6 - 12 | 14; 16 | 18 - 22 | 25 |
R | 30 | 30 | 40 | 60 |
r | 20 | 30 | 40 | 60 |
a1 | 3d |
a2 | 6d |
5.98. Диаметр стержня петли d рекомендуется принимать согласно табл. 49 в зависимости от массы изделия, приходящейся на петлю. Масса изделия определяется согласно указаниям
п. 2.13. При подъеме плоских изделий за четыре петли масса изделия считается распределенной на три петли.
Таблица 49
Диаметр стержня петли, мм | Масса изделия m, кг, приходящаяся при подъеме на одну петлю из стали классов |
А-I | Ас-II |
6 | 150 | - |
8 | 300 | - |
10 | 700 | 900 |
12 | 1100 | 1500 |
14 | 1500 | 1900 |
16 | 2000 | 2500 |
18 | 2500 | 3100 |
20 | 3100 | 3900 |
22 | 3800 | 4700 |
25 | 4900 | 6100 |
28 | 6100 | 7600 |
32 | 8000 | 9900 |
Примечания. 1. Значения m соответствуют углу между стропами и горизонтом, равному 45° и более; меньший угол наклона не допускается. Если гарантируется строповка изделия с помощью вертикальных стропов, допускается при подборе диаметра петли уменьшать массу изделия, приходящуюся на петлю, в 1,4 раза.
2. При диаметре стержня петли от 8 до 22 мм включ. допускается увеличивать при специальном обосновании приведенные значения m на 25%.
При подъеме за три петли и более, расположенных на одном торце изделия (например, на стеновой панели), масса изделия принимается распределенной только на две петли, поэтому в этом случае установка более двух петель не рекомендуется. При применении приспособлений (самобалансирующихся траверс), обеспечивающих самобалансирование усилий между стропами, допускается массу изделия распределять между петлями в соответствии с конструкцией приспособления.
5.99. Высоту проушины петли

(см.
черт. 125), соответствующую размерам чалочных крюков грузовых стропов, следует принимать равной, мм:
60 ... при диаметре стержня петли от 6 до 16 мм
80 ... " " " " 18 и 22 "
150 ... " " " " от 25 до 32 ".
Длину

и глубину запуска

концов ветвей петли в бетон изделия (см.
черт. 125) рекомендуется принимать согласно табл. 50.
Таблица 50
Нормативная кубиковая прочность бетона в момент первого подъема изделия, МПа | Длина запуска в бетон ls | Глубина запуска в бетон hb |
От 3 до 5 | 45d (50d) | 35d (40d) |
Св. 5 до 8 | 35d (40d) | 25d (30d) |
" 8 " 15 | 30d (35d) | 20d (25d) |
" 15 " 25 | 25d (30d) | 15d (20d) |
Св. 25 | 20d (25d) | 15d (20d) |
Примечание. Значения, приведенные в скобках, относятся к случаям подъема в вертикальном положении однослойных тонкостенных элементов (типа стеновых панелей из тяжелого бетона) толщиной не более 220 мм.
При расположении строповочных петель в стандартных углублениях (черт. 126, а) значение

можно отсчитывать от верхней поверхности бетонного элемента.
Черт. 126. Размеры лунок для заглубленного расположения
проушин строповочных петель
а - замкнутое углубление; б - разомкнутое углубление
(на краю изделия) при диаметре стержня петли 6 - 16 мм:
при диаметре стержня петли 18 - 22 мм:

,
Во всех случаях значение

следует принимать не менее 200 мм.
Для петель, выполняемых из арматурной стали

и

и более, значения

и

следует увеличивать на 20%.
Ветви петли из стали класса А-I, а также прямые (без отгибов) ветви петель из стали класса Ас-II должны заканчиваться крюками.
В необходимых случаях допускается располагать ветви под углом одна к другой не более 45°.
Для изделий из легких бетонов строповочные петли следует усиливать поперечным стержнем, располагаемым в уровне крюков ветвей петель.
Расстояние между боковой поверхностью хвостового участка крюка петли и поверхностью изделия, измеряемое в плоскости крюка, следует принимать не менее 4d
(черт. 125, а).
В том случае, если невозможно произвести на необходимую длину запуск концов петли, анкеровку петли необходимо осуществлять различными способами, например приваркой к закладным деталям, заведением за рабочую продольную арматуру и т.д. Надежность принятой анкеровки петли следует подтвердить расчетом или испытаниями.
5.100. Допускается располагать строповочные петли в углублениях так, чтобы их проушины располагались ниже грани бетонного или железобетонного изделия. Это расположение особенно рекомендуется при механизированной отделке поверхности бетона, когда выступающие петли мешают такой отделке. Углубления для петель могут быть замкнутыми (см.
черт. 126, а) или разомкнутыми
(черт. 126, б). В последнем случае в них не скопляется вода, которая может замерзнуть, а также улучшаются условия фиксации петель.
Из условия заведения в проушину чалочного крюка стропа лунку следует располагать со смещением к середине изделия относительно плоскости проушины.
5.101. При проектировании железобетонных конструкций рекомендуется применять преимущественно унифицированные сварные, штампованные и штампосварные закладные детали.
5.102. Закладные детали должны быть заанкерены в бетоне.
Сварные закладные детали обычно состоят из пластин (отрезков полосовой, угловой или фасонной стали) с приваренными к ним втавр или внахлестку нормальными или наклонными анкерами
(черт. 127).
г)
Черт. 127. Примеры конструкций сварных закладных деталей
а - с наклонными и нормальными анкерами типа "открытый
столик"; б - типа "закрытый столик"; в - типа "открытый
столик" с упорами; г - с применением угловой стали;
1 - нормальные анкера (приваренные втавр); 2 - наклонные
анкера (приваренные внахлестку); 3 - упор, работающий
в двух направлениях; 4 - то же, в одном направлении;
5 - отверстие для фиксации
Штампованные закладные детали состоят из участков, выполняющих функцию пластин и полосовых анкеров, имеющих выштампованные выступы для усиления анкеровки (
черт. 128, а,
б).
Черт. 128. Примеры конструкций закладных деталей
а, б - штампованных; в, г - штампосварных
Если при изготовлении закладных деталей применяются штампование и сварка, такие детали называются штампосварными (
черт. 128, в,
г). Конструктивные требования к штампованным закладным деталям и штампосварным деталям, выполненным с приваркой анкерующих стержней к штампованным закладным деталям, приведены в "
Рекомендациях по проектированию стальных закладных деталей для железобетонных конструкций" (М., Стройиздат, 1984).
Закладные детали могут иметь также упоры для работы на сдвиг (см.
черт. 127, в), устройства для крепления к формам, болты для соединения сборных элементов и т.п.
5.103. Для возможности механизированного заглаживания поверхности железобетонного изделия пластины со стороны этих поверхностей рекомендуется заглублять в бетон не менее чем на 5 мм.
В пластинах закладных деталей, расположенных на верхней (при бетонировании) поверхности изделия, с наименьшим размером свыше 250 мм и в пластинах, закрывающих полностью или

часть грани бетонируемого элемента, предусматриваются отверстия для выхода воздуха при укладке и уплотнении бетона и для контроля качества бетонирования.
5.104. Для обеспечения проектного положения закладной детали в изделии следует до бетонирования предусмотреть ее фиксацию путем временного крепления к элементам формы. Примеры такой фиксации приведены в Рекомендациях, упомянутых в
п. 5.102. При расположении детали на открытой при бетонировании поверхности изделия, когда ее крепление к бортам формы нецелесообразно, деталь допускается приваривать к арматуре.
5.105. Для обеспечения долговечности закладных деталей следует предусматривать их антикоррозионную защиту. Выбор способа защиты назначается в зависимости от степени агрессивности среды, в которой будет эксплуатироваться закладная деталь, в соответствии с требованиями
СНиП 2.03.11-85 и Пособия к ним, а также Рекомендаций, упомянутых в
п. 5.102.
5.106. В рабочих чертежах изделий расход стали на закладные детали должен подсчитываться отдельно от арматуры и соединительных деталей. При этом в массу закладных деталей включается также масса анкеров и других приваренных стержней с учетом технологических припусков, необходимых для осуществления сварки (оплавление и осадка в расплавленный металл, заглубление анкеров в пробитые отверстия и т.д.).
5.107. Выбор марок стали для пластин закладных деталей производится согласно
табл. 13.
5.108. Толщина пластин или других внешних элементов закладных деталей определяется в соответствии с
п. 3.105, а также технологическими требованиями по сварке, указанными в
пп. 5.116 и
5.117, но не менее 4 мм. Кроме того, при приварке стальных элементов к пластине, имеющей контакт с бетоном, ее толщину следует принимать в зависимости от высоты монтажного углового шва не менее величин, указанных в табл. 51.
Таблица 51
Толщина пластины закладной детали t, мм | Максимально допустимая высота kf, мм, углового шва |
однопроходного | двухпроходного |
4 | 5 | 6 |
5 | 6 | 8 |
6 | 8 | 10 |
8 | 12 | 16 |
>= 10 | - | 1,8t |
5.109. При назначении размеров пластины, близких к размерам сечения железобетонного элемента, следует учитывать их допускаемые плюсовые отклонения, предусмотренные нормативными документами, и обеспечивать возможность свободной установки закладной детали при минусовых отклонениях размеров формы.
5.110. Анкера закладных деталей следует проектировать преимущественно из арматуры классов А-II и А-III диаметром 8 - 25 мм. Допускается применять арматуру класса Ат-IIIС для анкеров, привариваемых внахлестку.
Марку стали для анкерных стержней необходимо принимать в соответствии с
табл. 12. Расчетные анкера из гладкой арматуры класса А-I можно применять только при наличии усилений на их концах в виде пластинок или высаженных головок. Для конструктивных деталей допускается применять анкера из той же арматуры с устройством на их концах крюков.
5.111. Число расчетных нормальных анкерных стержней в закладной детали принимают не менее четырех, однако при отсутствии отрывающих сил и изгибающих моментов оно может быть уменьшено до двух. При действии отрывающих сил и изгибающих моментов, если обеспечивается приложение этих усилий в плоскости расположения анкеров, допускается применять закладные детали с двумя нормальными анкерными стержнями.
Число расчетных наклонных анкеров следует принимать не менее двух. При этом необходимо предусматривать также как минимум один нормальный анкер. При наличии в закладной детали не менее четырех нормальных анкеров можно допустить один наклонный анкер. Для анкерных стержней, привариваемых внахлестку, угол их наклона к направлению сдвигающей силы следует принимать равным от 15 до 30°.
Расстояния между осями анкеров, требуемых по расчету, должны быть не менее величин, приведенных на
черт. 129.
Черт. 129. Наименьшие расстояния
между анкерами и от анкеров до края бетона
При анкерах из стали классов А-I и А-II:

,

,

,

; то же, класса А-III:

,

,

,

(

- диаметр анкера, требуемый по расчету)
5.112
(5.14). Длина анкерных стержней закладных деталей при действии на них растягивающих сил должна быть не менее величины

, определяемой по указаниям
п. 5.44. При этом длину растянутых анкерных стержней, заделанных в растянутом бетоне или в сжатом бетоне при

или

, следует определять по
формуле (316), пользуясь значениями

и

по
поз. 1а табл. 44. В остальных случаях указанные значения следует принимать по
поз. 1б табл. 44 (здесь

- сжимающие напряжения в бетоне, действующие перпендикулярно анкерному стержню и определяемые как для упругого материала по приведенному сечению от постоянно действующих нагрузок при коэффициенте надежности по нагрузке

).
Если часть анкера длиной а расположена в зоне с напряжениями в бетоне, удовлетворяющими условию

, то

определяется по формуле

, (317)
где

- фактическая длина анкера. Остальные параметры
табл. 44 определяются аналогичным образом.
При действии на нормальные анкерные стержни растягивающих и сдвигающих усилий правая часть
формулы (316) умножается на коэффициент

, равный:

, (318)
где

,

- соответственно растягивающее и сдвигающее усилия в анкерном стержне, определяемые согласно
п. 3.101.
При этом величина

должна быть не менее минимальных величин

согласно
п. 5.44.
Для нормальных анкеров длина отсчитывается от внутренней поверхности пластин, для наклонных - от начала отгиба или торцевой кромки пластины.
5.113
(5.45). Длина анкеров закладных деталей при действии на них растягивающих сил (см.
п. 3.101) может быть уменьшена при условии приварки на концах стержней анкерных пластин или устройства высаженных горячим способом анкерных головок диаметром не менее 2d - для стержней из арматуры классов А-I и А-II и не менее 3d - для стержней из арматуры класса А-III. В этих случаях длина анкерного стержня определяется расчетом на выкалывание и смятие бетона (см.
пп. 3.106,
3.107 и
3.109) и принимается не менее 10d (d - диаметр анкера).
Анкерные пластины должны удовлетворять требованиям
п. 5.45а.
В том случае, если в бетоне возможно образование трещин вдоль анкеров (

) в пределах их расчетной длины, концы анкеров должны быть усилены приваренными пластинами или высаженными головками. При этом концы анкеров следует располагать в сжатой зоне элементов. Во внецентренно растянутых элементах при расположении продольной силы между арматурой S и S' концы анкеров следует располагать у противоположной грани элемента, заводя их за продольную арматуру.
5.114. При действии на закладную деталь прижимающего усилия часть сдвигающей силы можно передавать на бетон через упоры из полосовой стали или из арматурных коротышей (см.
черт. 127, в). Высоту упоров рекомендуется принимать не менее 10 и не более 40 мм при отношении толщины упора к его высоте не менее 0,5. Расстояние между упорами в направлении сдвигающей силы принимается не менее шести высот упора.
5.115. Закладные детали в легких бетонах классов B5 - B10 рекомендуется проектировать таким образом, чтобы отрывающие силы воспринимались нормальными анкерами, а сдвигающие - наклонными. Анкера закладных деталей в этих случаях рекомендуется принимать из арматурной стали периодического профиля класса А-II или из гладкой арматурной стали класса А-I диаметром не более 16 мм. На концах анкеров следует предусмотреть усиления в виде высаженных головок и приваренных пластин. Длина анкерных стержней и размеры усиления определяются по расчету на выкалывание и смятие бетона (см.
пп. 3.106,
3.107 и
3.109), при этом длина анкера принимается не менее 15d, а диаметр высаженной головки - не менее 3d.
Сварные соединения закладных деталей
5.116. Сварные соединения анкеров с пластинами втавр следует проектировать в соответствии с
табл. 52. При изготовлении тавровых соединений анкеров с плоскими элементами проката используют: дуговую сварку под слоем флюса (
поз. 1 -
3); контактную сварку сопротивлением и непрерывным оплавлением (
поз. 4,
5); механизированную сварку в среде углекислого газа

(
поз. 6,
7); ванную одноэлектродную сварку в инвентарных формах
(поз. 9); ручную дуговую валиковыми швами в раззенкованное отверстие на плоском элементе проката
(поз. 8). Все приведенные процессы могут быть использованы при сварке закладных деталей типа "открытый столик" (см.
черт. 127, а,
в), а способы сварки по
поз. 6 -
9 - также и для изготовления закладных деталей типа "закрытый столик" (см.
черт. 127, б).
Способы сварки анкеров и арматурных стержней с пластинами втавр | Обозначение соединения по ГОСТ 14098-85 | Класс арматуры | Диаметр стержня d, мм | Толщина прокатного элемента t, мм | Минимальное отношение  | Расстояние между осями стержней z, мм | Расстояние от оси стержня до края пластины | Длина стержня, мм | Дополнительные указания |
|
1. Механизированная дуговая под флюсом | Т1 --- | А-I | 8 - 40 | >= 6 | 0,50 ------ 0,55 | При d <= 22 мм z = 25 + d; при d >= 25 мм z = 2d | >= 1,5d | >= 80 | Максимальная длина стержня составляет 400 мм |
А-II | 10 - 25 |
28 - 40 | 0,70 ------ 0,65 |
А-III | 8 - 25 |
28 - 40 | 0,75 ------ 0,65 |
Ат-IIIС | 10 - 18 |
2. Дуговая с малой механизацией под флюсом | Т2 --- | >= 10 | 0,75 | То же | >= 1,5d | >= 80 | Соединения типа Т2 из арматуры класса Ат-IIIС не допускаются |
3. Механизированная под флюсом по элементу жесткости (рельефу) | Т3 ----- | А-I | 8 - 25 | >= 4 | 0,40 | Для d = 8 - 16 z >= d + 25; для d = 18 - 25 z >= 2d + 10 | >= 1,5d | >= 80 | - |
А-II | 10 - 25 | | 0,40 |
А-III | 8 - 25 | | 0,50 |
Ат-IIIС | 10 - 18 | | 0,50 |
4. Контактная рельефная сопротивлением | Т6 ------- | А-I | 6 - 20 | >= 4 | 0,40 | >= 50 | >= 2d | >= 80 | - |
А-II | 10 - 20 | >= 4 | 0,40 |
А-III | 6 - 20 | >= 6 | 0,50 |
5. Контактная непрерывным оплавлением | Т7 -------- | А-I | 10 - 20 | >= 4 | 0,40 | >= 80 | >= 1,5d | - | - |
А-II | 10 - 20 | >= 6 | 0,50 |
А-III | 22 - 40 | >= 12 | 0,50 |
Ат-IIIС | 10 - 22 | >= 6 | 0,50 |
6. Дуговая механизированная в среде CO 2 в выштампованное отверстие | Т8; Т9 -------- | А-I | 10 - 36 | >= 4 | 0,30 | >= 50 | >= 2d | >= 80 | Допускается ручная дуговая сварка |
А-II | 10 - 36 | | 0,30 |
А-III | 10 - 36 | | 0,30 |
Ат-IIIС | 10 - 22 | | 0,30 |
7. Дуговая механизированная в среде CO 2 в цикованное отверстие | Т10; Т11 ----------- | А-I | 12 - 25 | >= 8 | 50 | >= 2,5d | >= 1,5d | >= 7d | - |
А-II | 12 - 25 | | |
А-III | 12 - 25 | | |
Ат-IIIС | 12 - 18 | | |
8. Дуговая ручная в раззенкованное отверстие | Т12 ----- | А-I | 8 - 40 | >= 6 | 0,50 | >= 3d | >= 2d | - | - |
А-II | 10 - 40 | >= 8 | 0,65 |
А-III | 8 - 40 | >= 6 | 0,75 |
Ат-IIIС | 10 - 18 | >= 8 | 0,75 |
9. Ванная одноэлектродная в инвентарной форме | Т13 ----- | А-I | 16 - 40 | >= 8 | 0,50 | >= 80 | >= 2d | >= 150 | - |
А-II | 16 - 40 | | |
А-III | 16 - 40 | | |
--------------------------------
<*> Технология выполнения сварных соединений изложена в "Рекомендациях по технологии сварки под флюсом наклонных соединений закладных деталей и тавровых соединений по элементу жесткости" (ПЭМ ВНИИС Госстроя СССР, 1982).
<**> Технология выполнения сварных соединений изложена в "Указаниях по технологии изготовления облегченных штампосварных закладных деталей железобетонных конструкций" (У-87-82/Главпромстройматериалы).
<***> Технология выполнения сварных соединений изложена в "Инструкции по технологии контактной сварки закладных деталей типа "открытый столик" (ВСН 65), Киев, 1985.
5.117. Сварные соединения анкеров и арматурных стержней с пластинами внахлестку следует проектировать в соответствии с указаниями табл. 53. Рекомендуется преимущественно применять контактную рельефную сварку (
поз. 2 и
3 табл. 53).
Таблица 53
Способы сварки анкеров и арматурных стержней с пластинами внахлестку | Обозначение соединения по ГОСТ 14098-85 | Класс арматуры | Диаметр стержней d, мм | Толщина прокатного элемента t, мм | Минимальное отношение  | Расстояние | Длина нахлестки в долях диаметра d | Дополнительные указания |
между осями стержней | от стержня до края пластины |
|
1. Ручная дуговая фланговыми швами | Н2 ---- | А-I | 10 - 40 | >= 4 | 0,3 | >= 3d | >= d | 3d | Расстояние от торца стержня до края пластины должно быть не менее d |
А-II; А-III | 10 - 40 | >= 4 | 0,3 | 4d |
Ат-IIIС | 10 - 28 | >= 4 | 0,3 | 4d |
Ат-IV; Ат-IVК | 10 - 22 | >= 5 | 0,4 | 5d |
Ат-VСК; А-VI; Ат-IVС; | 10 - 28 | >= 5 | 0,4 | 5d |
Ат-V | 10 - 28 | >= 5 | 0,4 | 5d |
А-V | 10 - 32 | >= 5 | 0,4 | 5d |
2. Контактная по одному рельефу | Н3 ---- | А-I | 6 - 16 | 4 - 5 | 0,3 | >= 4d | >= 2d | 4d | Расстояние от центра рельефа до торца стержня должно быть не менее 2d |
А-II | 10 - 16 |
А-III | 6 - 16 |
3. Контактная по двум рельефам | Н4 ---- | А-I | 12 - 16 | 4 - 6 | 0,3 | >= 7d | >= 2d | 7d | Соединение следует применять, когда не исключено воздействие на соединение случайных моментов |
А-II | 12 - 16 |
А-III | 12 - 16 |
Ат-IIIС | 12 - 16 |
Сварные швы при сварке плоских элементов проката (пластин, уголков и т.п.) необходимо назначать по
СНиП II-23-81.
5.118
(5.49). Соответствие расположения арматуры ее проектному положению должно обеспечиваться применением средств фиксации.
Фиксацию арматуры рекомендуется осуществлять с помощью:
а) устройств однократного использования, остающихся в бетоне;
б) инвентарных приспособлений, извлекаемых из бетона до или после его твердения;
в) специальных деталей, прикрепленных к рабочей поверхности формы или опалубки и не препятствующих извлечению железобетонного элемента из формы или снятию с него опалубки.
5.119. Рекомендуется применять следующие фиксаторы однократного использования:
а) для обеспечения требуемой толщины защитного слоя бетона - по
черт. 130;
б) для обеспечения требуемого расстояния между отдельными арматурными изделиями или стержнями - по
черт. 131;
в) для обеспечения требований, указанных в подпунктах "а" и "б", - по
черт. 132.
а)
б)
в)
г)
д)
е)
ж)
з)
и)
к)
л)
м)
Черт. 130. Фиксаторы однократного использования,
обеспечивающие требуемую толщину s защитного слоя бетона
а - в - с большой поверхностью контакта с формой,
изготовляемые из цементно-песчаного раствора; г - с малой
поверхностью контакта с формой, изготовляемый из цементно-
песчаного раствора; д - то же, из асбестоцемента;
е - з - то же, из пластмасс (перфорированные); и - то же,
из алюминиевой перфорированной полосы; к - м - то же,
из арматурной стали; 1 - рабочая поверхность формы;
2 - фиксатор; 3 - фиксируемая арматура; 4 - скрутка
из вязальной проволоки; 5 - вязальная проволока, заделанная
в фиксатор; 6 - возможное эластичное кольцо; 7 - упоры,
привариваемые к арматуре
а)
б)
в)
г)
Черт. 131. Фиксаторы однократного использования,
обеспечивающие требуемое расстояние
а - в - между отдельными арматурными изделиями; г - между
стержнями; 1 - разделитель из арматурной стали,
устанавливаемый между рядами сеток; 2 - фиксатор-подкладка
для обеспечения защитного слоя бетона; 3 - удлиненные
поперечные стержни каркаса, загибаемые вокруг стержней
сетки; 4 - фиксатор для соединения перекрещивающихся
стержней (пространственная спираль из пружинной проволоки);
5 - место связки
а)
б)
в)
г)
Черт. 132. Фиксаторы однократного использования,
обеспечивающие одновременно требуемые толщину защитного
слоя бетона и расстояние между отдельными
арматурными элементами
а - в плоских плитах; б, в - в балках прямоугольного
сечения; г - в элементах кольцевого сечения; 1 - фиксатор
типа П-образного каркаса; 2 - арматурные сетки; 3 - рабочая
поверхность формы; 4 - фиксатор типа каркаса-гребенки;
5 - плоский арматурный каркас; 6 - фиксаторы-стержни,
дополнительно привариваемые к каркасам; 7 - фиксатор типа
накидной скобы из арматурной проволоки; 8 - концентрически
расположенные каркасы; 9 - место связки
Вид фиксатора для обеспечения толщины защитного слоя бетона у лицевых граней элементов следует выбирать согласно требованиям табл. 54. Не допускается применять в качестве фиксаторов обрезки арматурных стержней, пластин и т.п.
Условия эксплуатации элемента | Вид лицевой грани элемента | Вид фиксаторов |
растворные, бетонные, асбестоцементные | пластмассовые (полиэтиленовые) | стальные |
РМ | РБ | ПМ | ПБ | СЗ | СН |
На открытом воздухе | Чистая бетонная под окраску; облицованная в процессе бетонирования керамической плиткой и др. | + | - | + | - | + | - |
Обрабатываемая механическим способом | + | - | - | - | - | - |
В помещениях с нормальным влажностным режимом | Чистая бетонная | + | - | + | - | + | - |
Бетонная под окраску водными составами | + | X | + | X | + | X |
Бетонная под окраску масляными, эмалевыми и синтетическими красками; бетонная под облицовку | + | + | + | + | + | + |
Бетонная под оклейку обоями | + | + | + | + | + | - |
Примечания. 1. Условные обозначения: Р - растворные, бетонные, асбестоцементные фиксаторы; П - пластмассовые, полиэтиленовые фиксаторы; С - стальные фиксаторы; М - малая поверхность контакта фиксатора с формой (опалубкой); Б - большая поверхность контакта фиксатора с формой (опалубкой); З - фиксаторы, защищенные от коррозии; Н - фиксаторы, не защищенные от коррозии.
2. Знак "+" - допускается; знак "-" - не допускается; знак "X" - допускается, но не рекомендуется.
В растянутой зоне бетона элементов, эксплуатируемых в условиях агрессивной среды, не допускается устанавливать пластмассовые подкладки под стержни рабочей арматуры или вплотную к ним - под стержни распределительной арматуры. В таких изделиях следует применять преимущественно подкладки из плотного цементно-песчаного раствора, бетона или асбестоцемента.
5.120. В случае применения фиксаторов однократного использования следует в соответствии с требованиями
табл. 54 указывать на рабочих чертежах, какие из этих фиксаторов допускаются в данном элементе.
Толщину защитного слоя бетона в месте установки фиксатора-подкладки рекомендуется принимать кратной 5 мм.
Для фиксаторов однократного использования, выполняемых из арматурной стали, следует выполнять чертежи. На рабочих чертежах арматурных изделий и в случае необходимости на чертежах общих видов армирования железобетонных элементов следует показывать расположение этих фиксаторов или опорных стержней, а в спецификациях предусматривать расход стали на их изготовление.
Расположение и число неметаллических фиксаторов-подкладок в рабочих чертежах допускается не приводить.
ОТДЕЛЬНЫЕ КОНСТРУКТИВНЫЕ ТРЕБОВАНИЯ
5.121
(5.47). Осадочные швы должны, как правило, предусматриваться в случаях возведения здания (сооружения) на неоднородных грунтах основания (просадочных и др.), в местах резкого изменения нагрузок и т.п.
Если в указанных случаях осадочные швы не предусматриваются, фундаменты должны обладать достаточной прочностью и жесткостью, предотвращающей повреждение вышележащих конструкций, или иметь специальную конструкцию, служащую для достижения этой же цели.
Осадочные швы, а также температурно-усадочные швы в сплошных бетонных и железобетонных конструкциях следует осуществлять сквозными, разрезая конструкцию до подошвы фундамента. Температурно-усадочные швы в железобетонных каркасах осуществляются посредством двойных колонн с доведением шва до верха фундамента.
Расстояния между температурно-усадочными швами в бетонных фундаментах и стенках подвалов допускается принимать в соответствии с расстояниями между швами, принятыми для вышележащих конструкций.
5.122
(5.48). В бетонных конструкциях должно предусматриваться конструктивное армирование:
а) в местах резкого изменения размеров сечения элементов;
б) в местах изменения высоты стен (на участке не менее 1 м);
в) в бетонных стенах под и над проемами каждого этажа;
г) в конструкциях, подвергающихся воздействию динамической нагрузки;
д) у менее напряженной грани внецентренно сжатых элементов, если наибольшее напряжение в сечении, определяемое как для упругого тела, превышает

, а наименьшее составляет менее 1 МПа или оказывается растягивающим, при этом коэффициент армирования

принимается не менее 0,025%.
Требования настоящего пункта не распространяются на сборные бетонные элементы, проверяемые в стадиях транспортирования и монтажа.
ТРЕБОВАНИЯ, УКАЗЫВАЕМЫЕ НА РАБОЧИХ ЧЕРТЕЖАХ
ЖЕЛЕЗОБЕТОННЫХ КОНСТРУКЦИЙ
5.123. На рабочих чертежах железобетонных конструкций или в пояснительной записке к ним должны быть указаны:
а) класс бетона по прочности на сжатие и в случаях, предусмотренных в
п. 2.5, марки бетона по морозостойкости и водонепроницаемости, а для легкого бетона - также марка по средней плотности;
б) вид арматуры (стержневая или проволочная), ее профиль, класс, а в необходимых случаях (например, для конструкций, работающих при низких температурах или рассчитываемых на выносливость) и марка стали; номер государственного стандарта, а при его отсутствии - номер технических условий на данный вид арматуры; номера государственных стандартов (или технических условий) на товарные арматурные изделия (сетки или каркасы), если они применяются; условия работы сварных соединений (низкие температуры или переменные нагрузки); соответствующие нормативные документы по сварке; в сложных случаях - методы изготовления пространственного арматурного каркаса и порядок его сборки; расход материалов;
в) мероприятия по антикоррозионной защите и по защите от воздействия высоких температур, если они необходимы;
г) толщина защитного слоя бетона для рабочей арматуры, а также необходимость установки соответствующих фиксаторов, обеспечивающих проектное положение арматуры, и их виды;
д) расчетные схемы, нагрузки; расчетные усилия в основных сечениях, в том числе от постоянных и длительных нагрузок.
Дополнительные требования, указываемые на рабочих чертежах
элементов сборных конструкций
5.124. На рабочих чертежах элементов сборных конструкций или в пояснительной записке к ним кроме данных, перечисленных в
п. 5.123, должны быть указаны:
а) наименьшие размеры опорных участков;
б) степень (качество) отделки поверхности (при необходимости);
в) места для захвата элементов при снятии с формы, подъеме и монтаже, места их опирания при транспортировании и складировании;
г) требования о нанесении заводом-изготовителем меток (рисок) для обеспечения качественной укрупнительной сборки конструкций (при необходимости), а для элементов с трудноразличимым верхом или торцами (например, прямоугольного сечения с одиночным или несимметричным двойным армированием) - требования о нанесении заводом-изготовителем маркировки (надписи), обеспечивающей правильность положения таких элементов при их подъеме, транспортировании и укладке;
д) для элементов, образцы которых, согласно требованиям ГОСТ 8829-85 или других нормативных документов, испытываются загружением, должны указываться схемы испытания, величины нагрузок, прогибов и других контролируемых величин;
е) величина отпускной прочности бетона для предусмотренных условий монтажа и загружения;
ж) масса сборного элемента, определяемая согласно
п. 2.13.
ВИД ЛЕГКИХ И ПОРИЗОВАННЫХ БЕТОНОВ И ОБЛАСТЬ ИХ ПРИМЕНЕНИЯ
Вид бетона | Вид заполнителя | Область применения |
крупного | мелкого |
Легкие бетоны на искусственных заполнителях |
| Керамзитовый | Все бетонные и железобетонные конструкции с ненапрягаемой арматурой, за исключением специальных конструкций |
| Шунгизитовый | Панели стен, плиты покрытий и перекрытий |
3. Аглопоритобетон | Аглопоритовый | |
4. Шлакопемзобетон | Шлакопемзовый | То же, что в поз. 2, кроме плит покрытий и перекрытий под нагрузку свыше 10000 Па (1000 кгс/м 2) |
| Перлитовый |
6. Шлакобетон | Пористый топливный шлак | |
7. Керамзитоперлитобетон | Керамзитовый | Перлитовый | |
8. Аглопоритоперлитобетон | Аглопоритовый |
9. Шлакопемзобетон с гранулированным шлаком | Шлакопемзовый | Легкий гранулированный шлак |
10. Керамзитобетон | Керамзитовый | Легкий гранулированный шлак | То же |
Легкие бетоны на природных заполнителях |
11. Пемзобетон | Анийская или литоидная пемза | |
12. Шлакобетон | Вулканический шлак | |
13. Туфобетон | Вулканические туфы | |
14. Бетон на известняках-ракушечниках | Известняки-ракушечники | |
Поризованные бетоны (пеной) |
15. Керамзитопенобетон | Керамзитовый | Без песка, с пористым и кварцевым песком | Блоки и панели стен |
16. Аглопоритопенобетон | Аглопоритовый |
Примечания. 1. Легкие бетоны могут иметь смешанный мелкий заполнитель - пористый разных видов (в том числе золы ТЭС и золошлаковые смеси) и кварцевый песок.
2. Легкие бетоны по
поз. 1 -
5 могут иметь мелкий заполнитель только из кварцевого песка.
3. Легкие бетоны класса B7,5 и ниже на кварцевом песке допускается применять как исключение при соответствующем технико-экономическом обосновании при поризации свыше 6%.
4. При наличии обоснованных опытных данных, согласованных в установленном порядке, для проектирования бетонных и железобетонных конструкций помимо перечисленных легких бетонов могут применяться следующие виды бетонов: термолитобетон на термолитовом щебне или гравии и термолитовом или кварцевом песке; бетон на аглопоритовом гравии и аглопоритовом или кварцевом песке; бетон на зольном гравии и пористом песке.
5. Бетоны, поризованные газом (керамзитогазобетон и др.), могут применяться в ограждающих конструкциях при соответствующем обосновании, согласованном в установленном порядке.
6. Для теплоизоляционных слоев многослойных конструкций могут применяться легкие бетоны с межзерновой пористостью (крупнопористые и мелкопористые - без мелких фракций песка).
ЗНАЧЕНИЯ

И

ДЛЯ РАСЧЕТА ПРОЧНОСТИ
ИЗГИБАЕМЫХ ЭЛЕМЕНТОВ
 , % | Арматура классов |
А-II | А-III |
Бетон классов |
B12,5 | B15 | B20 | B15 | B25 | B30 |
| A0 | | A0 | | A0 | | A0 | | A0 | | A0 |
0,10 | 0,979 | 0,274 | 0,982 | 0,275 | 0,987 | 0,276 | 0,976 | 0,356 | 0,986 | 0,360 | 0,988 | 0,361 |
0,15 | 0,969 | 0,407 | 0,973 | 0,409 | 0,980 | 0,412 | 0,964 | 0,528 | 0,979 | 0,536 | 0,982 | 0,538 |
0,20 | 0,958 | 0,536 | 0,964 | 0,540 | 0,973 | 0,545 | 0,953 | 0,696 | 0,972 | 0,710 | 0,976 | 0,713 |
0,25 | 0,948 | 0,664 | 0,955 | 0,669 | 0,967 | 0,677 | 0,941 | 0,859 | 0,965 | 0,880 | 0,971 | 0,886 |
0,30 | 0,937 | 0,787 | 0,945 | 0,794 | 0,960 | 0,806 | 0,929 | 1,017 | 0,958 | 1,049 | 0,965 | 1,056 |
0,35 | 0,927 | 0,908 | 0,936 | 0,918 | 0,953 | 0,934 | 0,917 | 1,171 | 0,951 | 1,215 | 0,959 | 1,225 |
0,40 | 0,916 | 1,026 | 0,927 | 1,038 | 0,947 | 1,060 | 0,905 | 1,321 | 0,944 | 1,378 | 0,953 | 1,391 |
0,45 | 0,906 | 1,142 | 0,918 | 1,157 | 0,940 | 1,184 | 0,893 | 1,467 | 0,937 | 1,539 | 0,947 | 1,555 |
0,50 | 0,896 | 1,254 | 0,909 | 1,273 | 0,933 | 1,307 | 0,882 | 1,610 | 0,930 | 1,697 | 0,941 | 1,718 |
0,55 | 0,885 | 1,363 | 0,900 | 1,386 | 0,927 | 1,427 | 0,870 | 1,747 | 0,923 | 1,852 | 0,935 | 1,877 |
0,60 | 0,875 | 1,470 | 0,891 | 1,497 | 0,920 | 1,546 | 0,858 | 1,879 | 0,916 | 2,006 | 0,929 | 2,035 |
0,65 | 0,864 | 1,572 | 0,882 | 1,605 | 0,913 | 1,662 | 0,846 | 2,007 | 0,909 | 2,156 | 0,923 | 2,191 |
0,70 | 0,854 | 1,674 | 0,873 | 1,711 | 0,907 | 1,777 | 0,834 | 2,131 | 0,902 | 2,304 | 0,918 | 2,344 |
0,75 | 0,843 | 1,770 | 0,864 | 1,814 | 0,900 | 1,890 | 0,822 | 2,250 | 0,895 | 2,449 | 0,912 | 2,496 |
0,80 | 0,833 | 1,866 | 0,855 | 1,917 | 0,893 | 2,001 | 0,810 | 2,365 | 0,888 | 2,592 | 0,906 | 2,645 |
0,85 | 0,822 | 1,956 | 0,845 | 2,011 | 0,887 | 2,110 | 0,799 | 2,479 | 0,881 | 2,732 | 0,900 | 2,792 |
0,90 | 0,812 | 2,046 | 0,836 | 2,107 | 0,880 | 2,218 | 0,787 | 2,585 | 0,874 | 2,870 | 0,894 | 2,937 |
0,95 | 0,801 | 2,131 | 0,827 | 2,206 | 0,873 | 2,323 | 0,775 | 2,687 | 0,867 | 3,005 | 0,888 | 3,080 |
1,0 | 0,791 | 2,215 | 0,818 | 2,290 | 0,867 | 2,427 | 0,763 | 2,785 | 0,860 | 3,138 | 0,882 | 3,220 |
1,1 | 0,770 | 2,372 | 0,800 | 2,464 | 0,853 | 2,628 | 0,739 | 2,967 | 0,846 | 3,395 | 0,870 | 3,495 |
1,2 | 0,749 | 2,517 | 0,782 | 2,628 | 0,840 | 2,822 | 0,716 | 3,136 | 0,832 | 3,642 | 0,859 | 3,761 |
1,3 | 0,728 | 2,650 | 0,764 | 2,781 | 0,827 | 3,009 | 0,692 | 3,384 | 0,818 | 3,879 | 3,847 | 4,019 |
1,4 | 0,707 | 2,771 | 0,745 | 2,920 | 0,813 | 3,188 | - | - | 0,803 | 4,106 | 0,835 | 4,268 |
1,5 | 0,687 | 2,885 | 0,727 | 3,053 | 0,800 | 3,360 | - | - | 0,789 | 4,322 | 0,823 | 4,508 |
1,6 | 0,666 | 2,984 | 0,709 | 3,176 | 0,787 | 3,524 | - | - | 0,775 | 4,528 | 0,812 | 4,740 |
1,7 | - | - | 0,691 | 3,289 | 0,773 | 3,681 | - | - | 0,761 | 4,724 | 0,800 | 4,963 |
1,8 | - | - | 0,663 | 3,392 | 0,760 | 3,830 | - | - | 0,747 | 4,910 | 0,788 | 5,178 |
1,9 | - | - | 0,655 | 3,485 | 0,747 | 3,972 | - | - | 0,733 | 5,085 | 0,776 | 5,384 |
2,0 | - | - | - | - | 0,733 | 4,107 | - | - | 0,719 | 5,250 | 0,765 | 5,581 |
2,1 | - | - | - | - | 0,720 | 4,234 | - | - | 0,705 | 5,405 | 0,753 | 5,770 |
2,2 | - | - | - | - | 0,707 | 4,353 | - | - | - | - | 0,741 | 5,950 |
2,3 | - | - | - | - | 0,693 | 4,465 | - | - | - | - | 0,729 | 6,122 |
2,4 | - | - | - | - | 0,680 | 4,570 | - | - | - | - | 0,717 | 6,285 |

, МПа.
Примечания. 1. Значения

и

определены по формулам:

.
2. При подборе арматуры класса А-III диаметром 6 и 8 мм значения

умножаются на 1,03.
ГРАФИКИ НЕСУЩЕЙ СПОСОБНОСТИ ВНЕЦЕНТРЕННО СЖАТЫХ ЭЛЕМЕНТОВ
ПРЯМОУГОЛЬНОГО СЕЧЕНИЯ С СИММЕТРИЧНОЙ АРМАТУРОЙ
ИЗ ТЯЖЕЛОГО И ЛЕГКОГО БЕТОНОВ
Условные обозначения:

при

Черт. 1. Графики для элементов из тяжелого бетона
Условные обозначения:

при

Черт. 1. Графики для элементов из тяжелого бетона
(окончание)
Условные обозначения:

при

Черт. 2. Графики для элементов из легкого бетона при марке
по средней плотности не ниже D1800
Условные обозначения:

при

Черт. 2. Графики для элементов из легкого бетона при марке
по средней плотности не ниже D1800 (окончание)
Примечания (к
черт. 1 и
2). 1. Графиками
черт. 1 допускается пользоваться при классах бетона от B15 до B50 при a = a' от

до

.
2. Графиками
черт. 2 допускается пользоваться при классах бетона от B10 до B40 при a = a' от

до

.
3. При

значения

определяются линейной экстраполяцией.
4. Значения M определяются из расчета по недеформированной схеме без учета коэффициента

.
Номинальный диаметр стержня, мм | Расчетная площадь поперечного стержня, мм2, при числе стержней | Теоретическая масса 1 м длины арматуры, кг | Диаметр арматуры классов |
1 | 2 | 3 | 4 | 5 | 6 | 7 | 8 | 9 | А-I | А-II | А-III | Ат-IIIС | Вр-I |
3 | 7,1 | 14,1 | 21,2 | 28,3 | 35,3 | 42,4 | 49,5 | 56,5 | 63,6 | 0,052 | - | - | - | - | + |
4 | 12,6 | 25,1 | 37,7 | 50,2 | 62,8 | 75,4 | 87,9 | 100,5 | 113 | 0,092 | - | - | - | - | + |
5 | 19,6 | 39,3 | 58,9 | 78,5 | 98,2 | 117,8 | 137,5 | 157,1 | 176,7 | 0,144 | - | - | - | - | + |
6 | 28,3 | 57 | 85 | 113 | 141 | 170 | 198 | 226 | 254 | 0,222 | + | - | + | - | - |
8 | 50,3 | 101 | 151 | 201 | 251 | 302 | 352 | 402 | 453 | 0,395 | + | - | + | - | - |
10 | 78,5 | 157 | 236 | 314 | 393 | 471 | 550 | 628 | 707 | 0,617 | + | + | + | + | - |
12 | 113,1 | 226 | 339 | 452 | 565 | 679 | 792 | 905 | 1018 | 0,888 | + | + | + | + | - |
14 | 153,9 | 308 | 462 | 616 | 769 | 923 | 1077 | 1231 | 1385 | 1,208 | + | + | + | + | - |
16 | 201,1 | 402 | 603 | 804 | 1005 | 1206 | 1407 | 1608 | 1810 | 1,578 | + | + | + | + | - |
18 | 254,5 | 509 | 763 | 1018 | 1272 | 1527 | 1781 | 2036 | 2290 | 1,998 | + | + | + | + | - |
20 | 314,2 | 628 | 942 | 1256 | 1571 | 1885 | 2199 | 2513 | 2828 | 2,466 | + | + | + | + | - |
22 | 380,1 | 760 | 1140 | 1520 | 1900 | 2281 | 2661 | 3041 | 3421 | 2,984 | + | + | + | + | - |
25 | 490,9 | 982 | 1473 | 1963 | 2454 | 2945 | 3436 | 3927 | 4418 | 3,84 | + | + | + | - | - |
28 | 615,8 | 1232 | 1847 | 2463 | 3079 | 3685 | 4310 | 4926 | 5542 | 4,83 | + | + | + | - | - |
32 | 804,3 | 1609 | 2413 | 3217 | 4021 | 4826 | 5630 | 6434 | 7238 | 6,31 | + | + | + | - | - |
36 | 1017,9 | 2036 | 3054 | 4072 | 5089 | 6107 | 7125 | 8143 | 9161 | 7,99 | + | + | + | - | - |
40 | 1256,6 | 2513 | 3770 | 5027 | 6283 | 7540 | 8796 | 10053 | 11310 | 9,865 | + | + | + | - | - |
45 | 1590,4 | 3181 | 4771 | 6362 | 7952 | 9542 | 11133 | 12723 | 14313 | 12,49 | - | + | - | - | - |
50 | 1963,5 | 3927 | 5891 | 7854 | 9818 | 11781 | 13745 | 15708 | 17672 | 15,41 | - | + | - | - | - |
55 | 2376 | 4752 | 7128 | 9504 | 11880 | 14256 | 16632 | 19008 | 21384 | 18,65 | - | + | - | - | - |
60 | 2827 | 5654 | 8481 | 11308 | 14135 | 16962 | 19789 | 22616 | 25443 | 22,19 | - | + | - | - | - |
70 | 3848 | 7696 | 11544 | 15392 | 19240 | 23088 | 26936 | 30784 | 34632 | 30,21 | - | + | - | - | - |
80 | 5027 | 10055 | 15081 | 20108 | 25135 | 30162 | 35190 | 40216 | 45243 | 39,46 | - | + | - | - | - |
Примечания. 1. Номинальный диаметр стержней для арматурных сталей периодического профиля соответствует номинальному диаметру равновеликих по площади поперечного сечения гладких стержней. Фактические размеры стержней периодического профиля устанавливаются
ГОСТ 5781-82.
2. Знак "+" означает наличие диаметра в сортаменте для арматуры данного класса.
3. Теоретическая масса 1 м длины арматуры класса В-I принимается равной: при d = 3 мм - 0,055 кг; при d = 4 мм - 0,099 кг; при d = 5 мм - 0,154 кг.
ОСНОВНЫЕ БУКВЕННЫЕ ОБОЗНАЧЕНИЯ ВЕЛИЧИН
УСИЛИЯ ОТ ВНЕШНИХ НАГРУЗОК И ВОЗДЕЙСТВИЙ
В ПОПЕРЕЧНОМ СЕЧЕНИИ ЭЛЕМЕНТА
M - изгибающий момент или момент внешних сил относительно центра тяжести приведенного сечения;
N - продольная сила;
Q - поперечная сила;
T - крутящий момент;

- моменты относительно центра тяжести приведенного сечения соответственно от кратковременных нагрузок, от постоянных и длительных нагрузок и от всех нагрузок.
ХАРАКТЕРИСТИКИ МАТЕРИАЛОВ

- расчетные сопротивления бетона осевому сжатию для предельных состояний соответственно первой и второй групп;

- расчетные сопротивления бетона осевому растяжению для предельных состояний соответственно первой и второй групп;

- расчетные сопротивления арматуры растяжению для предельных состояний соответственно первой и второй групп;

- расчетное сопротивление поперечной арматуры растяжению, определяемое согласно
п. 2.21;

- расчетное сопротивление арматуры сжатию для предельных состояний первой группы;

- начальный модуль упругости бетона при сжатии и растяжении;

- модуль упругости арматуры;

- отношение соответствующих модулей упругости арматуры

и бетона

.
ХАРАКТЕРИСТИКА ПОЛОЖЕНИЯ ПРОДОЛЬНОЙ АРМАТУРЫ
В ПОПЕРЕЧНОМ СЕЧЕНИИ ЭЛЕМЕНТА
S - обозначение продольной арматуры:
а) при наличии сжатой и растянутой от действия внешней нагрузки зон сечения - расположенной в растянутой зоне;
б) при полностью сжатом от действия внешней нагрузки сечении - расположенной у менее сжатой грани сечения;
в) при полностью растянутом от действия внешней нагрузки сечении:
для внецентренно растянутых элементов - расположенной у более растянутой грани сечения;
для центрально-растянутых элементов - всей в поперечном сечении элемента;
S' - обозначение продольной арматуры:
а) при наличии сжатой и растянутой от действия внешней нагрузки зон сечения - расположенной в сжатой зоне;
б) при полностью сжатом от действия внешней нагрузки сечении - расположенной у более сжатой грани сечения;
в) при полностью растянутом от действия внешней нагрузки сечении внецентренно растянутых элементов - расположенной у менее растянутой грани сечения.
ГЕОМЕТРИЧЕСКИЕ ХАРАКТЕРИСТИКИ
b - ширина прямоугольного сечения; ширина ребра таврового и двутаврового сечений;

- ширина полки таврового и двутаврового сечений соответственно в растянутой и сжатой зонах;
h - высота прямоугольного, таврового и двутаврового сечений;

- высота полки таврового и двутаврового сечений соответственно в растянутой и сжатой зонах;
a, a' - расстояния от равнодействующей усилий в арматуре соответственно S и S' до ближайшей грани сечения;

- рабочая высота сечения, равная h - a;
x - высота сжатой зоны бетона;

- относительная высота сжатой зоны бетона, равная

;
s - расстояние между хомутами, измеренное по длине элемента;

- эксцентриситет продольной силы N относительно центра тяжести приведенного сечения, определяемый согласно
п. 3.3;
e, e' - расстояния от точки приложения продольной силы N до равнодействующей усилий в арматуре соответственно S и S';

- расстояние от точки приложения продольной силы N до центра тяжести площади сечения арматуры S;
l - пролет элемента;

- расчетная длина элемента, подвергающегося действию сжимающей продольной силы; значение

принимается по
табл. 17 и
п. 3.55;
i - радиус инерции поперечного сечения элемента относительно центра тяжести сечения;
d - номинальный диаметр стержней арматурной стали;

- площади сечения арматуры соответственно S и S';

- площадь сечения хомутов, расположенных в одной нормальной к продольной оси элемента плоскости, пересекающей наклонное сечение;

- площадь сечения одного стержня хомута;

- площадь сечения одного стержня продольной арматуры;

- коэффициент армирования, определяемый как отношение площади сечения арматуры S к площади поперечного сечения элемента

без учета сжатых и растянутых полок;
A - площадь бетона в поперечном сечении;

- площадь сечения сжатой зоны бетона;

- площадь приведенного сечения элемента, включающая площадь бетона, а также площадь всей продольной арматуры, умноженная на отношение модулей упругости арматуры и бетона;

- момент инерции приведенного сечения элемента относительно его центра тяжести;

- момент сопротивления приведенного сечения элемента для крайнего растянутого волокна, определяемый как для упругого материала;
D - диаметр кольцевого или круглого сечения.
ПРИМЕНЕННЫЕ ИНДЕКСЫ БУКВЕННЫХ ОБОЗНАЧЕНИЙ
И ПОЯСНЯЮЩИЕ СЛОВА
Однобуквенные индексы
a - анкер (anchor);
a - случайный (accidental);
a - осевой, центральный (axial);
b - бетон, сжатый бетон (beton);
c - сжатие (compression);
d - глубина (depth);
d - расчетный (designed);
e - эксцентриситет (eccentricity);
e - проушина (ear);
f - полка балки (flange);
f - нагрузка (force);
h - горизонтальный (horizontal);
k - шпонка (key);
l - длительный (long);
l - уровень (level);
l - левый (left);
l - нахлестка, перепуск (lap);
m - средний (middle);
m - момент (moment);
n - продольная (нормальная) сила (normal);
n - нормативный (normative);
p - перегородка (partition);
q - поперечная сила Q;
R - расчетное сопротивление R;
r - правый (right);
s - замоноличенный (in sity);
s - арматура, сталь (steel);
t - растяжение (tention);
t - поперечный (transverse);
t - кручение (torsion);
t - температура (temperature);
u - предельный, крайний (ultimate);
v - вертикальный (vertical);
w - ребро или стенка балки (web);
w - сварка (welding);
x - в направлении оси x или в сечении x;
y - в направлении оси y;
y - предел текучести (yield point).
Двух- и трехбуквенные индексы
an - анкеровка, анкер (anchoring);
col - колонна, стойка (column);
cir - кольцевой, круглый (circular);
cr - критический (critical);
crc - трещинообразование, трещина (cracking);
el - упругий (elastic);
ef - эффективный (effective);
fact - фактический;
inc - отогнутый, наклонный (inclined);
inf - нижний (inferior);
int - внутренний (interior);
lim - граничный (limit);
loc - местный (local);
max - максимальный (maximal);
min - минимальный (minimal);
ov - свес полки (overhang);
out - выпуск арматуры (output);
pl - пластичный (неупругий) (plastic);
red - приведенный (redacted);
ser - эксплуатационный (service);
sh - кратковременный (short);
shr - усадка (shrinkage);
sup - опорный (support);
sup - верхний (super);
tot - суммарный, полный (total);
web - ребро или стенка балки.
Примечание. Двух- и трехбуквенные индексы отделяются от других индексов запятой.
Однобуквенные индексы запятыми не разделяются.