Главная // Актуальные документы // ПНСТ (Предварительный национальный стандарт)СПРАВКА
Источник публикации
М.: Стандартинформ, 2017
Примечание к документу
Документ утратил силу в связи с истечением срока действия, установленного
Приказом Росстандарта от 31.10.2017 N 39-пнст.
Документ
введен в действие с 01.07.2018 на период по 01.07.2020 (
Приказ Росстандарта от 31.10.2017 N 39-пнст).
Название документа
"ПНСТ 238-2017. Предварительный национальный стандарт Российской Федерации. Система предупреждения столкновений воздушных судов в воздухе бортовая. Спецификация минимальных эксплуатационных характеристик"
(утв. и введен в действие Приказом Росстандарта от 31.10.2017 N 39-пнст)
"ПНСТ 238-2017. Предварительный национальный стандарт Российской Федерации. Система предупреждения столкновений воздушных судов в воздухе бортовая. Спецификация минимальных эксплуатационных характеристик"
(утв. и введен в действие Приказом Росстандарта от 31.10.2017 N 39-пнст)
Утвержден и введен в действие
агентства по техническому
регулированию и метрологии
от 31 октября 2017 г. N 39-пнст
ПРЕДВАРИТЕЛЬНЫЙ НАЦИОНАЛЬНЫЙ СТАНДАРТ РОССИЙСКОЙ ФЕДЕРАЦИИ
СИСТЕМА ПРЕДУПРЕЖДЕНИЯ СТОЛКНОВЕНИЙ
ВОЗДУШНЫХ СУДОВ В ВОЗДУХЕ БОРТОВАЯ
СПЕЦИФИКАЦИЯ МИНИМАЛЬНЫХ ЭКСПЛУАТАЦИОННЫХ ХАРАКТЕРИСТИК
Traffic alerting collision avoidance System.
Minimum operational performance standard
ПНСТ 238-2017
Срок действия
с 1 июля 2018 года
до 1 июля 2020 года
1 РАЗРАБОТАН Комитетом по аэронавигации "Союза авиапроизводителей России"
2 ВНЕСЕН Техническим комитетом по стандартизации ТК 323 "Авиационная техника"
3 УТВЕРЖДЕН И ВВЕДЕН В ДЕЙСТВИЕ
Приказом Федерального агентства по техническому регулированию и метрологии от 31 октября 2017 г. N 39-пнст
Правила применения настоящего стандарта и проведения его мониторинга установлены в ГОСТ Р 1.16-2011 (
разделы 5 и
6).
Федеральное агентство по техническому регулированию и метрологии собирает сведения о практическом применении настоящего стандарта. Данные сведения, а также замечания и предложения по содержанию стандарта можно направить не позднее чем за четыре месяца до истечения срока его действия разработчику настоящего стандарта по адресу: 123007, Москва, ул. Шеногина, д. 4 и/или в Федеральное агентство по техническому регулированию и метрологии по адресу: 109074, Москва, Китайгородский пр-д, д. 7, стр. 1.
В случае отмены настоящего стандарта соответствующая информация будет опубликована в ежемесячном информационном указателе "Национальные стандарты", а также будет размещена на официальном сайте Федерального агентства по техническому регулированию и метрологии в сети Интернет (www.gost.ru).
Настоящий стандарт распространяется на бортовые системы предупреждения столкновений (БСПС) воздушных судов (ВС) в воздухе - БСПС II.
Бортовая система предупреждения столкновений ВС в воздухе предназначена для оповещения пилота и диспетчера управления воздушным движением об угрозе столкновения с другими ВС, а также предоставления пилоту рекомендаций на выполнение маневра в вертикальной плоскости с целью предотвращения столкновения с ВС, оборудованными ответчиками системы вторичной радиолокации, и с ВС, оборудованными БСПС II.
В настоящем стандарте использованы нормативные ссылки на следующие стандарты:
ГОСТ Р 51623 Конструкции базовые несущие радиоэлектронных средств. Система построения и координационные размеры
ГОСТ Р 54073 Системы электроснабжения самолетов и вертолетов. Общие требования и нормы качества электроэнергии
Примечание - При пользовании настоящим стандартом целесообразно проверить действие ссылочных стандартов в информационной системе общего пользования - на официальном сайте Федерального агентства по техническому регулированию и метрологии в сети Интернет или по ежегодному информационному указателю "Национальные стандарты", который опубликован по состоянию на 1 января текущего года, и по выпускам ежемесячного информационного указателя "Национальные стандарты" за текущий год. Если заменен ссылочный стандарт, на который дана недатированная ссылка, то рекомендуется использовать действующую версию этого стандарта с учетом всех внесенных в данную версию изменений. Если заменен ссылочный стандарт, на который дана датированная ссылка, то рекомендуется использовать версию этого стандарта с указанным выше годом утверждения (принятия). Если после утверждения настоящего стандарта в ссылочный стандарт, на который дана датированная ссылка, внесено изменение, затрагивающее положение, на которое дана ссылка, то это положение рекомендуется применять без учета данного изменения. Если ссылочный стандарт отменен без замены, то положение, в котором дана ссылка на него, рекомендуется применять в части, не затрагивающей эту ссылку.
В настоящем стандарте применены следующие термины с соответствующими определениями:
3.1 режим A: Неселективный режим работы, в котором сигналы ответов содержат код опознавания воздушного судна.
3.2 режим C: Неселективный режим работы, в котором сигналы ответов содержат высоту полета.
3.3 режим S: Адресный режим работы.
В настоящем стандарте использованы следующие сокращения:
БСПС - бортовая система предупреждения столкновений;
ВВФ - внешние воздействующие факторы;
ВРЛ - вторичная радиолокация;
ВС - воздушное судно;
ВС-Н - воздушное судно-нарушитель;
ДН - диаграмма направленности;
ИРА - интервал разности амплитуд;
ЛПД - линия передачи данных;
РТО - радиотехническое обеспечение;
ТЗ - техническое задание;
УВД - управление воздушным движением;
DF - дескриптор ответа, сообщение по линии связи "вниз";
RBS - обзорный режим работы радиолокационной системы;
UF - дескриптор запроса, сообщение по линии связи "вверх".
5 Общие требования к бортовым системам предупреждения столкновений
5.1 Требования назначения
5.1.1 Изделие должно обеспечивать ВС, оборудованным ответчиками режима A/C/S, выполнение следующих функций:
- наблюдение за ВС в пределах зоны видимости;
- выработку и индикацию консультативной информации о воздушном движении (TA - Traffic Advisories);
- обнаружение угрозы;
- выработку рекомендаций по предотвращению угрозы столкновения (RA - Resolution Advisories) на выполнение маневра в вертикальной плоскости;
- координацию маневра с ВС, оборудованными БСПС;
- работу с наземными станциями ВРЛ, работающими в селективном и неселективном режимах;
- гибридное наблюдение на основе использования данных о местоположении с помощью самогенерируемых сигналов, передаваемых другими ВС.
5.1.2 БСПС должна обеспечивать определение траекторий ВС, оборудованных ответчиками, если эти ВС соответствуют следующим условиям:
- углы возвышения ВС - +/- 10° относительно плоскости тангажа ВС с БСПС;
- минимальная наклонная дальность - не менее 300 м;
- высота цели над поверхностью земли - не менее 61 м (200 фут.);
- высота цели относительно собственного ВС - в пределах +/- 915 м (+/- 3000 фут.);
- максимальная скорость сближения:
- в нижнем воздушном пространстве при скорости собственного ВС 130 м/с (250 уз.):
- на встречных курсах - 260 м/с (500 уз.),
- траверзе - 120 м/с (229 уз.),
- догонных курсах - 80 м/с (150 уз.);
- в верхнем воздушном пространстве при скорости собственного ВС 310 м/с (600 уз.):
- на встречных курсах - 620 м/с (1200 уз.),
- траверзе - 295 м/с (566 уз.),
- догонных курсах - 205 м/с (400 уз.).
Примечание - Нижнее воздушное пространство определяется как пространство ниже 3050 м (10 000 фут.) над поверхностью земли, а верхнее воздушное пространство - как пространство на уровне или выше этого значения.
5.1.3 Функционирование аппаратуры БСПС должно соответствовать характеристикам, приведенным в таблице 1.
Таблица 1
Плотность воздушного движения
Воздушное пространство | Максимальная скорость сближения, м/с | Максимальное количество воздушных судов на квадратный километр | Радиус равномерной плотности воздушных судов, км |
Нижнее | 260 | 0,088 | 9,5 |
Верхнее | 620 | 0,017 | 18,5 |
5.1.4 Вероятность определения траектории ВС, оснащенного ответчиком режима S, должна быть не менее 90%.
5.1.5 Вероятность определения ложной траектории ВС, оснащенного ответчиком режима S, должна быть менее 0,1%.
5.1.6 Вероятность определения ложной траектории ВС, оснащенного ответчиком RBS, должна быть менее 1,2%.
5.1.7 БСПС должна обеспечивать определение курсового угла на ВС-Н со среднеквадратическим отклонением не более 9° на углах возвышения +/- 10° и не более 15° на углах возвышения от 10 до 20° во всем диапазоне значений курсового угла.
5.1.8 Непосредственно БСПС должна обеспечивать определение дальности с точностью не менее 11 м (35 фут.); суммарная точность, учитывающая ошибки, вносимые ответчиком ВС-Н, - не менее 15,5 м (50 фут.).
5.1.9 БСПС должна вырабатывать рекомендации по выполнению маневра в вертикальной плоскости не менее чем за 15 - 35 с до момента наибольшего сближения в зависимости от уровня чувствительности системы, который устанавливается пилотом, наземной станцией ВРЛ или в автоматическом режиме, в зависимости от высоты полета.
5.1.10 Задержка в системе от момента обнаружения угрозы и выработки рекомендаций до момента предоставления информации об исполняемой рекомендации по выполнению маневра не должна превышать 1,5 с.
5.1.11 БСПС должна осуществлять звуковое и голосовое оповещение экипажа об отображаемой информации. Оповещения не должны производиться, если высота полета менее 120 м или при подаче дискретного сигнала запрета звукового и голосового оповещения.
5.1.12 Максимальная дальность наблюдения для выдачи рекомендации по разрешению угрозы
5.1.12.1 В верхнем воздушном пространстве БСПС должна обеспечивать максимальную дальность наблюдения при сближении на встречном курсе не менее 26 км (14 миль). Максимальная дальность наблюдения, приближающегося на траверзе, составляет 16,5 км (8,8 мили), а на догонном курсе - 9,5 км (5 миль).
5.1.12.2 В нижнем воздушном пространстве БСПС должна обеспечивать максимальную дальность наблюдения при сближении на встречном курсе не менее 7,5 км (4 мили). Максимальная дальность наблюдения, приближающегося на траверзе, составляет 5 км (2,5 мили), а на догонном курсе - 2,6 км (1,4 мили).
5.1.12.3 БСПС должна поддерживать активное наблюдение по дальности и высоте за целями до минимальной дальности 300 м (1000 фут.), а также за целями, проходящими через точку максимального сближения не ближе 300 м (1000 фут.).
5.2 Состав бортовых систем предупреждения столкновений
В состав БСПС должны входить:
- верхняя и нижняя направленные антенны диапазона 1030/1090 МГц;
- верхняя и нижняя ненаправленные антенны диапазона 1030/1090 МГц;
- процессор БСПС;
- ответчик режима S;
- пульт управления.
Примечания
1 Допускается использование одной верхней направленной антенны и одной нижней ненаправленной антенны.
2 Допускается объединение процессора БСПС и ответчика режима S в единой базовой конструкции 2-го уровня с совместным использованием антенн БСПС.
6 Требования к сигналам, используемым бортовыми системами предупреждения столкновений
6.1.1 Несущая частота запросных сигналов в режиме S должна быть (1030 +/- 0,01) МГц.
6.1.2 Сигнал запроса должен иметь вертикальную поляризацию.
6.1.3 Запрос общего вызова в режиме C
6.1.3.1 Для обнаружения и сопровождения ВС, оборудованных ответчиками режима RBS, БСПС должна использовать запросы общего вызова только режима C.
6.1.3.2 Запрос общего вызова в режиме C должен состоять из импульсов P1, P3 и P4, которым, как правило, должен предшествовать импульс S1 подавления из последовательности "низкого/высокого" уровня. Временная структура сигналов запроса режима C приведена на рисунке 1. Подавление боковых лепестков достигается путем излучения P2.
Размеры в микросекундах
Рисунок 1 - Временная структура
сигналов запроса общего вызова только в режиме C
для бортовых систем предупреждения столкновений
6.1.3.3 Импульсы сигнала запроса должны иметь форму, приведенную в таблице 2.
Таблица 2
Форма импульсов сигнала запроса общего вызова в режиме C
В микросекундах
Обозначение импульса | Длительность импульса | Допуск по длительности импульса | Время нарастания | Время спада |
min | max | min | max |
S1, P1, P2, P3, P4 | 0,8 | +/- 0,05 | 0,05 | 0,1 | 0,05 | 0,2 |
6.1.3.4 Амплитуда импульсов сигнала запроса:
- P3 не должна отличаться от амплитуды импульса P1 более чем на 0,5 дБ;
- P4 не должна отличаться от амплитуды импульса P3 более чем на 0,5 дБ;
6.1.3.5 Интервалы между импульсами сигнала запроса должны быть следующими:
- S1 - P1 - (2 +/- 0,10) мкс;
- P1 - P2 - (2 +/- 0,10) мкс;
- P1 - P3 - (21 +/- 0,10) мкс;
- P3 - P4 - (2 +/- 0,04) мкс.
6.1.4 Запрос в режиме S
6.1.4.1 Запрос в режиме S должен состоять из импульсов P1, P2 и P6. Пара импульсов P1, P2 предназначена для подавления синхронных ответов ответчиков режима RBS из-за случайных срабатываний, вызванных запросами режима S. Временная структура сигналов запроса режима S приведена на рисунке 2.
Размеры в микросекундах
Рисунок 2 - Временная структура сигналов запроса режима S
для бортовых систем предупреждения столкновений
6.1.4.2 Импульсы сигнала запроса должны иметь форму, приведенную в таблице 3.
Таблица 3
Форма импульсов сигнала запроса в режиме S
В микросекундах
Обозначение импульса | Длительность импульса | Допуск по длительности импульса | Время нарастания | Время спада |
min | max | min | max |
P1, P2 | 0,8 | +/- 0,05 | 0,05 | 0,1 | 0,05 | 0,2 |
P6 (короткий) | 16,25 | +/- 0,125 | 0,05 | 0,1 | 0,05 | 0,2 |
P6 (длинный) | 30,25 | +/- 0,125 | 0,05 | 0,1 | 0,05 | 0,2 |
6.1.4.3 Интервалы между импульсами запроса должны быть следующими:
- P1 - P2 - (2 +/- 0,04) мкс;
- P2 - синхронное опрокидывание фазы - (2,75 +/- 0,04) мкс.
6.1.4.4 В запросах режима S должна осуществляться импульсная модуляция несущей частоты. В пределах импульса P6 должна использоваться относительная фазовая манипуляция. Фазовая манипуляция разрядов данных производится со скоростью 4 Мбит/с. Опрокидывание фазы должно соответствовать логической "1", отсутствие - логическому "0".
6.1.4.5 Первым должно выполняться синхронное опрокидывание фазы для определения позиции 1-го разряда данных. Передний фронт импульса P6 начинается не менее чем за (1,25 +/- 0,04) мкс до синхронного опрокидывания фазы.
6.1.4.6 Разряды данных должны начинаться спустя 0,5 мкс после синхронного опрокидывания фазы и заканчиваться не менее чем за 0,5 мкс (защитный интервал) до окончания импульса P6.
6.1.4.7 Опрокидывание фазы должно происходить в моменты времени, кратные (0,25N +/- 0,02) мкс. В коротком импульсе P6 должно происходить не более 56 опрокидываний фазы, в длинном - не более 112, что соответствует форматам коротких и длинных информационных полей сообщений режима S.
6.1.4.8 Время опрокидывания фазы не должно превышать 0,08 мкс.
6.1.4.9 Амплитуда импульса P2 и амплитуда импульса P6 в течение первой микросекунды более, чем амплитуда излучаемого импульса P1 минус 0,25 дБ.
6.2.1 БСПС должна принимать ответные сигналы на частоте (1090 +/- 3) МГц.
6.2.2 Сигналы ответа должны иметь вертикальную поляризацию.
6.2.3 Сигналы ответа в режиме C
6.2.3.1 Временная структура сигналов ответа режима C приведена на рисунке 3. Принятый сигнал режима C должен состоять из пары координатных импульсов F1 и F2, разнесенных друг от друга на (20,3 +/- 0,1) мкс. Информационные импульсы начинаются через 1,45 мкс после переднего фронта импульса F1 и следуют друг за другом с интервалом 1,45 мкс. Допуск для временного интервала импульса C1 относительно импульса F1 должен составлять +/- 0,1 и +/- 0,15 мкс между любыми информационными импульсами в группе.
Рисунок 3 - Временная структура сигналов ответа режима RBS
6.2.3.2 Все ответные импульсы имеют длительность (0,45 +/- 0,1) мкс, время нарастания от 0,05 до 0,1 мкс и время спада от 0,05 до 0,2 мкс. Изменение амплитуды импульсов относительно амплитуды импульса F1 находится в пределах +/- 2 дБ.
6.2.3.3 "1" или "0" в коде ответа определяют наличие или отсутствие кодового импульса соответственно.
6.2.4 Сигналы ответа и сквиттеры в режиме S
6.2.4.1 Временная структура сигналов ответа в режиме S представлена на рисунке 4. Ответ в режиме S состоит из преамбулы и блока данных. Преамбула представляет собой последовательность из четырех импульсов длительностью (0,5 +/- 0,05) мкс. Второй, третий и четвертый импульсы преамбулы отстоят от первого импульса на 1; 3,5; 4,5 мкс соответственно. Блок данных начинается через 8 мкс от 1-го импульса преамбулы и представляет собой последовательность с время-импульсной модуляцией с частотой изменения данных 1 Мбит/с.
Рисунок 4 - Временная структура сигналов ответа в режиме S
6.2.4.2 Каждый блок данных должен содержать 56 либо 112 интервалов длительностью в 1 мкс по числу разрядов сообщения. Импульс длительностью (0,5 +/- 0,05) мкс, передаваемый в 1-й половине интервала, должен обозначать двоичную "1", во 2-й половине - "0"; импульсы, расположенные на соседних позициях, должны сливаться в один импульс длительностью (1 +/- 0,05) мкс.
6.2.4.3 Время нарастания импульсов должно составлять от 0,05 до 0,1 мкс, время спада - от 0,05 до 0,2 мкс. Изменение амплитуды импульсов относительно 1-го импульса преамбулы должно находиться в пределах +/- 2 дБ.
6.3 Форматы запросов и ответов в режиме S
6.3.1 Сообщения в режиме S, используемые в БСПС, должны содержать два основных поля:
- дескриптор, 5-битное поле. Дескриптор запроса обозначают UF, ответа - DF. Передача сообщения должна начинаться с дескриптора;
- 24-битное поле, содержащее либо адрес режима S, либо идентификатор запросчика, наложенный на проверочную информацию, который обозначают либо AP (адрес/четность), либо PI (четность/идентификатор) соответственно. Это поле должно всегда располагаться в конце сообщения.
Форматы запросов и ответов приведены на рисунках 5 и
6 соответственно.
Рисунок 5 - Запросы в режиме S по линии "вверх",
используемые в бортовых системах предупреждения столкновений
Рисунок 6, лист 1 - Ответы в режиме S по линии "вниз",
используемые в бортовых системах предупреждения столкновений
Рисунок 6, лист 2
6.3.2 Описание полей
6.3.2.1 AA: объявленный адрес
Данное 24-битное (9 - 32) поле сигнала, передаваемого по линии связи "вниз", содержит адрес ВС, который обеспечивает однозначное опознавание ВС.
6.3.2.2 AC: код высоты
Данное 13-битное (20 - 32) поле содержит данные о высоте, закодированные следующим образом:
- бит 26 обозначается как бит M и равен 0, если информация о высоте представляется в футах, равен 1 - в метрических единицах;
- если M = 0, бит 28 обозначается как бит Q. Когда Q = 0, он используется для указания того, что информация о высоте представляется с квантованием в 30,48 м (100 фут.); когда Q = 1, то с квантованием в 7,62 м (25 фут.);
- если биты M = 0 и Q = 0, то высота кодируется по типу ответов в режиме C. Начиная с бита 20 составляется следующая последовательность: C1, A1, C2, A2, C4, A4, O, B1, O, B2, D2, B4, D4. Этот код используется для передачи высоты более 15 293 м (50 175 фут.);
- если бит M = 0 и бит Q = 1, то 11-битное поле, составляемое битами (20 - 25, 27 и 29 - 32), представляет собой поле с двоичным кодированием, где цена младшего разряда 7,62 м (25 фут.). Двоичное значение положительного целого десятичного N кодируется для представления информации о барометрической высоте в диапазоне (25N - 1000 +/- 12,5) фут. Этот код позволяет передавать диапазон высот от минус 305 до 15 293 м (от минус 1000 до 50 175 фут.);
- если бит M = 1, то 12-битное поле, представленное битами (20 - 25 и 27 - 32), содержит данные о барометрической высоте в двоичном коде с ценой младшего разряда 8 м. Двоичное значение целого десятичного N кодируется для представления информации о барометрической высоте в диапазоне (8N - 500 +/- 4) м;
- если информация о высоте отсутствует или установлено, что данные о высоте являются недействительными, то во всех битах поля AC передается 0.
6.3.2.3 AQ: обнаружение
Данное 1-битное (14) поле сигнала линии связи "вверх" содержит код, который управляет содержанием поля RI. Используется в запросах форматов UF = 0 и UF = 16 и кодируется следующим способом:
- 0 - запрос без обнаружения;
- 1 - 3 - запрос с целью обнаружения.
6.3.2.4 CA: потенциальные возможности
Данное 3-битное (6 - 8) поле сигнала, передаваемого по линии связи "вниз", доставляет информацию об уровне ответчика, указанную ниже дополнительную информацию и используется в форматах DF = 11 и DF = 17:
- 0 - ответчик уровня 1 (только наблюдение) и отсутствие возможности установления кода 7 CA, ВС находится в воздухе или на земле;
- 1 - 3 - зарезервировано;
- 4 - ответчик уровня 2 или выше и возможность установления кода 7 CA, ВС находится на земле;
- 5 - ответчик уровня 2 или выше и возможность установления кода 7 CA, ВС находится в воздухе;
- 6 - ответчик уровня 2 или выше и возможность установления кода 7 CA, ВС находится в воздухе или на земле;
- 7 - поле DR /= 0 или поле FS = 2, 3, 4 или 5, ВС находится в воздухе или на земле.
6.3.2.5 CC: возможность перекрестного обмена данными "воздух - воздух"
Данное 1-битное (7) поле сигнала линии связи "вниз" дает информацию о способности ответчика обеспечивать возможность перекрестного обмена данными "воздух - воздух", то есть декодировать содержание поля DS в запросе с UF = 0 и передавать в ответ содержание указанного регистра GICB в соответствующем ответе с DF = 16:
- 0 - ответчик не может обеспечить возможность перекрестного обмена данными "воздух - воздух";
- 1 - ответчик обеспечивает возможность перекрестного обмена данными "воздух - воздух".
6.3.2.6 DR: запрос по линии связи "вниз"
Данное 5-битное (9 - 13) поле сигнала, передаваемого по линии связи "вниз", содержит запросы с целью передачи информации по линии связи "вниз":
- 0 - отсутствие запроса по линии связи "вниз";
- 1 - запрос на передачу сообщения Comm-B;
- 2 - наличие сообщения БСПС;
- 3 - наличие сообщения Comm-B и наличие сообщения БСПС;
- 4 - наличие всенаправленного сообщения Comm-B 1;
- 5 - наличие всенаправленного сообщения Comm-B 2;
- 6 - наличие всенаправленного сообщения Comm-B 1 и сообщения БСПС;
- 7 - наличие всенаправленного сообщения Comm-B 2 и сообщения БСПС (ответная информация по каналу "воздух - воздух");
- 8 - 15 - не назначены;
- 16 - 31 - протокол передачи Comm-D по линии связи "вниз".
6.3.2.7 FS: полетный статус
Данное 3-битное (6 - 8) поле сигнала, передаваемого по линии связи "вниз", содержит информацию, приведенную в таблице 4.
Таблица 4
Кодирование поля полетного статуса
Код | Тревожная сигнализация | SPI | Нахождение |
в воздухе | на земле |
0 | Нет | Нет | Да | Нет |
1 | Нет | Нет | Нет | Да |
2 | Да | Нет | Да | Нет |
3 | Да | Нет | Нет | Да |
4 | Да | Да | Любой | |
5 | Нет | Да | Любой | |
6, 7 | Не назначено |
6.3.2.8 RI: ответная информация "воздух - воздух"
Данное 4-битное (14 - 17) поле сигнала линии связи "вниз" сообщает запрашивающему ВС о максимальной истинной крейсерской воздушной скорости, которую может развивать данное ВС, и о типе ответа. Кодирование осуществляется следующим образом:
- 0 - означает ответ на запрос по каналу "воздух - воздух" с UF = 0 и AQ = 0, БСПС на борту отсутствует;
- 1 - не задано;
- 2 - БСПС, не дающая рекомендации по разрешению угрозы столкновения;
- 3 - БСПС с возможностью разрешения угрозы столкновения только в вертикальной плоскости;
- 4 - БСПС с возможностью разрешения угрозы столкновения в вертикальной и горизонтальной плоскостях;
- 5 - 7 - резервируются для БСПС;
- 8 - 15 - означают ответ на запрос по каналу "воздух - воздух" с UF = 0 и AQ = 1, а также то, что максимальная воздушная скорость является следующей:
- 8 - данные отсутствуют,
- 9 - не более 140 км/ч (75 уз.),
- 10 - более 140 и не более 280 км/ч (75 и 150 уз.),
- 11 - более 280 и не более 560 км/ч (150 и 300 уз.),
- 12 - более 560 и не более 1110 км/ч (300 и 600 уз.),
- 13 - более 1110 и не более 2200 км/ч (600 и 1200 уз.),
- 14 - более 2200 км/ч (1200 уз.),
- 15 - не назначено.
6.3.2.9 RL: длина ответа
Данное 1-битное (9) поле сигнала линии связи "вверх" определяет формат, используемый для ответа:
- 0 - ответ с DF = 0;
- 1 - ответ с DF = 16.
Ответчик, который не использует DF = 16 (то есть ответчик, который не использует возможности перекрестного обмена данными БСПС и не связан с бортовым оборудованием предупреждения столкновений), не будет отвечать на запрос в формате UF = 0 с RL = 1.
6.3.2.10 RR: запрос ответа
Данное 5-битное (9 - 13) поле сигнала, передаваемого по линии связи "вверх", определяет длину и содержание запрошенного ответа.
Если старшим битом (MSB) кода RR является 1 (RR равно или более 16), последние 4 бита 5-битового кода RR, преобразованные в свой десятичный эквивалент, означают коды BDS1 запрашиваемого сообщения Comm-B:
- 0 - 15 - используется для запроса ответа с форматом наблюдения (DF = 4 или DF = 5);
- 16 - 31 - для запроса ответа с форматом Comm-B (DF = 20 или 21):
- 16 - для запроса передачи инициируемого бортом сообщения Comm-B;
- 17 - для запроса сообщения о возможностях ЛПД;
- 18 - для запроса опознавательного индекса ВС;
- 19 - для передачи рекомендации по разрешению угрозы столкновения;
- 20 - 31 - не назначено.
6.3.2.11 SD: специальный указатель
Данное 16-битное (17 - 32) поле сигнала, передаваемого по линии связи "вверх", содержит управляющие коды, которые зависят от кода, содержащегося в поле DI (биты 14 - 16). Если поле DI = 1 или DI = 7, то запрос по линии Comm-A используется для получения следующих подполей SD:
- IIS - идентификатора запросчика. Данное 4-битное (17 - 20) подполе содержит назначенный код идентификатора наземного запросчика. Коды назначаются запросчикам в диапазоне от 0 до 15. IIS = 0 является недопустимым идентификационным кодом запросчика при многопозиционной работе;
- LAS - подполе канала связи Comm-A. Данное 3-битное (30 - 32) подполе увязки сегментов сообщения Comm-A. LAS = 0 указывает на сообщение Comm-A из одного фрагмента. В сообщении Comm-A из одного фрагмента передается только команда управления уровнем чувствительности БСПС. БСПС должна игнорировать сообщения Comm-A, если LAS /= 0.
Примечание - В поле SD ранее использовалось 4-битное подполе TMS для указания ссылки на сообщения Comm-A, которое теперь состоит из запасного бита (29) и 3-битного подполя LAS (30 - 32). При проверке LAS = 0 необходимо соблюдать осторожность и учитывать только 3 бита LAS, а не бит 29.
6.3.2.12 VS: вертикальный статус
Данное 1-битное (6) поле сигнала линии связи "вниз" дает информацию о положении ВС:
- 0 - ВС находится в воздухе;
- 1 - ВС находится на земле.
6.3.2.13 Поле MA: сообщение Comm-A
а) Подполя в поле MA для управления уровнем чувствительности
Структура MA для управления уровнем чувствительности приведена на рисунке 7.
33 | 34 | 35 | 41 | 45 |
DP = 0 | MP = 0 | M/CH = 5 | SLC:44 | 44 |
| | 40 | 44 | 88 |
Рисунок 7
Данное 56-битное (33 - 88) поле сигнала, передаваемого по линии связи "вверх", содержится в форматах Comm-A запросов UF = 20 и UF = 21, используется наземными станциями режима S для передачи команд управления уровнем чувствительности БСПС. Подполя в поле MA для управления уровнем чувствительности БСПС следующие:
- DP - тип пакета данных.
Данное 1-битное (33) подполе указывает тип пакета данных. Для сообщения SLC TCAS DP = 0 (что указывает на тип MSP или конкретный протокол режима S);
- MP - тип пакета MSP.
Данное 1-битное (34) подполе указывает тип пакета MSP (длинный или короткий). Для сообщения SLC TCAS MP = 0 (что указывает на короткий тип);
- M/CH - номер канала MSP.
Данное 6-битное (35 - 40) подполе указывает тип информации, содержащейся в пакете MSP. Для сообщения SLC TCAS M/CH = 5.
Примечание - Биты 33 - 40 ранее назывались подполем ADS. Три подполя, приведенные выше, выполняют идентичные функции для целей БСПС.
- SLC: команда управления уровнем чувствительности БСПС.
Данное 4-битное (41 - 44) подполе обозначает команду управления уровнем чувствительности собственной БСПС. Подполе имеет следующее кодирование:
- 0 - команда отсутствует;
- 1 - не задано;
- 2 - установить уровень чувствительности БСПС на 2;
- 3 - установить уровень чувствительности БСПС на 3;
- 4 - установить уровень чувствительности БСПС на 4;
- 5 - установить уровень чувствительности БСПС на 5;
- 6 - установить уровень чувствительности БСПС на 6;
- 7 - установить уровень чувствительности БСПС на 7;
- 7 - 14 - не задано;
- 15 - отменить предыдущую команду SLC, поступившую от этой наземной станции.
6.3.2.14 Поле MB: сообщение Comm-B
Данное 56-битное (33 - 88) поле сигнала, передаваемого по линии связи "вверх", содержится в форматах Comm-B запросов DF = 20 и DF = 21, используется БСПС для передачи наземным станциям режима S отчетов RA и отчетов о возможностях ЛПД. Подполя в поле MA для управления уровнем чувствительности БСПС следующие:
а) Подполя в поле MB для сообщения RA
Структура MB для сообщения RA приведена на рисунке 8.
33 | 37 | 41 | 55 | 59 | 60 | 61 | 63 | | |
BDS1 = 3 | BDS2 = 0 | ARA:14 | RAC:4 | RAT | MTE | TTI = 1 | TID:26 | | |
36 | 40 | 54 | 58 | | | 62 | 88 | | |
33 | 37 | 41 | 55 | 59 | 60 | 61 | 63 | 76 | 83 |
BDS1 = 3 | BDS2 = 0 | ARA:14 | RAC:4 | RAT | MTE | TTI = 1 | TIDA:26 | TIDR:25 | TIDB:25 |
36 | 40 | 54 | 58 | | | 62 | 75 | 82 | 88 |
Рисунок 8 - Подполя в MB для сообщения RA
В том случае, когда BDS1 = 3 и BDS2 = 0, в поле MB содержатся указанные ниже подполя.
ARA: активная RA
Данное 14-битное (41 - 54) подполе указывает на действующую в данный момент RA. Биты в ARA имеют значения, определяемые подполем MTE, а для RA в вертикальной плоскости - значением бита 41 в ARA. Значения бита 41 в ARA представляют собой следующее:
- 0 - существуют несколько угроз, и RA предназначена обеспечить интервал эшелонирования ниже некоторой(ых) угрозы (угроз) и выше некоторой(ых) другой(их) угрозы (угроз), или не выработана никакая RA (когда MTE = 0);
- 1 - существует только одна угроза, либо RA предназначена обеспечить интервал эшелонирования в одном направлении относительно всех угроз.
Если в ARA бит 41 = 1 и MTE = 0 или MTE = 1, биты 42 - 47 имеют значения, приведенные в таблице 5.
Таблица 5
Кодирование поля активной RA (бит 41 = 1)
Бит | Кодирование | Тип RA |
42 | 0 | Предупредительная RA |
1 | Корректирующая RA |
43 | 0 | Выработана RA со значением "вверх" |
1 | Выработана RA со значением "вниз" |
44 | 0 | RA не предусматривает увеличение изменения высоты |
1 | RA предусматривает увеличение изменения высоты |
45 | 0 | RA не является обратной по значению |
1 | RA является обратной по значению |
46 | 0 | RA не предусматривает пересечение абсолютной высоты |
1 | RA предусматривает пересечение абсолютной высоты |
47 | 0 | RA ограничивает вертикальную скорость |
1 | RA является положительной |
48 - 54 | - | Зарезервировано для БСПС IV |
Если в ARA бит 41 = 0 и MTE = 1, биты 42 - 47 имеют значения, приведенные в таблице 6.
Таблица 6
Кодирование поля активной RA (бит 41 = 0, MTE = 0)
Бит | Кодирование | Тип RA |
42 | 0 | RA не предусматривает корректирующего маневра "вверх" |
1 | RA предусматривает корректирующий маневр "вверх" |
43 | 0 | RA не предусматривает набор высоты |
1 | RA предусматривает набор высоты |
44 | 0 | RA не предусматривает корректирующий маневр "вниз" |
1 | RA предусматривает корректирующий маневр "вниз" |
45 | 0 | RA не предусматривает снижение |
1 | RA предусматривает снижение |
46 | 0 | RA не предусматривает пересечение |
1 | RA предусматривает пересечение |
47 | 0 | RA не является обратной по значению |
1 | RA является обратной по значению |
48 - 54 | - | Зарезервировано для БСПС IV |
Если в ARA бит 41 = 0 и MTE = 0, не выработана никакая RA в вертикальной плоскости.
RAC: дополнения RA
Данное 4-битное (55 - 58) подполе определяет все действующие в текущий момент RA (при их наличии), полученные от других ВС с БСПС. Биты в RAC имеют следующие значения:
- 55 - не проходить ниже;
- 56 - не проходить выше;
- 57 - не выполнять разворот влево;
- 58 - не выполнять разворот вправо.
Бит, установленный на "1", указывает, что соответствующая RAC является действующей. Бит, установленный на "0", указывает, что соответствующая RAC не действует.
RAT: индикатор прекращения RA
Данное 1-битное (59) подполе указывает на то, ранее выработанная БСПС RA прекращает вырабатываться. Подполе кодируется следующим образом:
- 0 - БСПС в текущий момент вырабатывает RA, указанную в подполе ARA;
- 1 - выработка RA, обозначенной подполем ARA, прекращена.
После того как БСПС прекращает вырабатывать RA, ответчик режима S по-прежнему должен передавать ее в течение (18 +/- 1) с. Индикатор прекращения RA может использоваться, например, для своевременного удаления с экрана дисплея диспетчера УВД индикации RA или для оценок продолжительности RA в пределах конкретного воздушного пространства.
Выработка RA может быть прекращена по ряду причин: как правило, когда конфликтная ситуация разрешена и расстояние до представляющего угрозу ВС увеличивается и когда ответчик режима S ВС-Н прекращает передачу информации об абсолютной высоте в ходе конфликтной ситуации.
MTE: конфликтная ситуация с множеством угроз
Данное 1-битное (60) подполе указывает, обрабатывает ли логическая программа разрешения угрозы столкновения БСПС информацию о двух или нескольких одновременно ВС-Н. Подполе кодируется следующим образом:
- 0 - логическая программа по разрешению угрозы столкновения обрабатывает информацию об одном ВС-Н (когда в ARA бит 41 = 1), или логическая программа не обрабатывает информацию об определенном ВС-Н (когда в ARA бит 41 = 0);
- 1 - логическая программа по разрешению угрозы столкновения обрабатывает информацию одновременно о двух или нескольких ВС-Н.
TTI: указатель типа данных ВС-Н
Данное 2-битное (61 - 62) подполе определяет вид данных опознавания, содержащихся в подполе TID:
- 0 - данные опознавания отсутствуют в TID;
- 1 - TID содержит адрес ответчика режима S;
- 2 - TID содержит данные об абсолютной высоте, дальности и пеленге;
- 3 - не задано.
TID: данные опознавания ВС-Н
Данное 26-битное (63 - 88) подполе содержит адрес режима S ВС-Н или абсолютную высоту, дальность и пеленг, если ВС-Н не имеет оборудования режима S. Если логической программой БСПС по разрешению угрозы столкновения обрабатывается информация о двух или более ВС-Н одновременно, TID содержит данные опознавания или местоположения ВС-Н в момент последней объявленной угрозы. Если TTI = 1, то TID содержит в битах 63 - 86 адрес ВС-Н, а биты 87 и 88 устанавливаются на 0. Если TTI = 2, то TID содержит следующие три подполя:
TIDA: данные определения абсолютной высоты ВС-Н
Данное 13-битное (63 - 75) подполе (см. таблицу 7) содержит самый последний сообщенный в режиме C код абсолютной высоты ВС-Н.
Таблица 7
Кодирование поля определения абсолютной высоты ВС-Н
Номер бита | 63 | 64 | 65 | 66 | 67 | 68 | 69 | 70 | 71 | 72 | 73 | 74 | 75 |
Код бита режима C | C1 | A1 | C2 | A2 | C4 | A4 | O | B1 | D1 | B2 | D2 | B4 | D4 |
TIDR: данные определения дальности до ВС-Н
Данное 7-битное (76 - 82) подполе (см. таблицу 8) содержит самые последние данные об оцененной БСПС дальности ВС-Н.
Таблица 8
Кодирование поля определения дальности до ВС-Н
В милях
n | Оценка дальности |
0 | Отсутствует |
1 | Менее 0,05 |
2 - 126 | [(n - 1)/10 + 0,05] |
127 | Более 12,55 |
TIDB: данные определения пеленга ВС-Н
Данное 6-битное (83 - 88) подполе (см. таблицу 9) содержит последние расчетные данные о пеленге ВС-Н относительно курса ВС с БСПС.
Таблица 9
Кодирование поля определения пеленга ВС-Н
В градусах
n | Расчетные данные о пеленге |
0 | Отсутствует |
1 - 60 | Между 6·(n - 1) и 6n |
61 - 63 | Не задано |
б) Подполя в поле MB для сообщения о возможностях ЛПД
В том случае, когда BDS1 = 1 и BDS2 = 0, ответчику для сообщения о возможностях ЛПД предоставляются следующие данные, приведенные в таблицах 10 и
11.
Таблица 10
Кодирование подполя возможностей ЛПД, биты 48, 69, 70
Бит | Кодирование | Возможность ЛПД |
48 | 0 | БСПС отказала или работает в резервном режиме. |
1 | БСПС работает |
69 | 0 | Гибридное наблюдение не работает. |
1 | Гибридное наблюдение обеспечивается и работает |
70 | 0 | БСПС вырабатывает только TA. |
1 | БСПС вырабатывает TA и RA |
Таблица 11
Кодирование подполя возможностей ЛПД, биты 72, 71
Бит 72 | Бит 71 | Версия БСПС |
0 | 0 | Нормативный документ [1] (до использования БСПС) |
0 | 1 | |
1 | 0 | Нормативные документы [3] и [4] |
1 | 1 | Зарезервировано |
6.3.2.15 Поле MU
Данное 56-битное (33 - 88) поле удлиненных запросов формата UF = 16 в режиме наблюдения "воздух - воздух" используется для передачи сообщений с рекомендацией по разрешению угрозы столкновения, всенаправленных передач БСПС и всенаправленных RA.
а) UDS: определение U
Данное 8-битное (33 - 40) подполе определяет содержание и кодирование остальных подполей в поле MU. Для удобства кодирования UDS выражается двумя группами UDS1 и UDS2 по 4 бит в каждой.
б) Подполя MU для сообщения с рекомендацией по разрешению угрозы столкновения
Структура MU для сообщения с рекомендацией по разрешению угрозы столкновения приведена на рисунке 9.
33 | 37 | 41 | 42 | 43 | 45 |
UDS1 = 3 | UDS2 = 0 | 1 | MTB:1 | CVC:2 | VRC:2 |
36 | 40 | | | 44 | 46 |
47 | 50 | 53 | 56 | 61 | 65 |
CHC:3 | HRC:3 | 3 | HSB:5 | VSB:4 | MID:24 |
49 | 52 | 55 | 60 | 64 | 88 |
Рисунок 9
Если UDS1 = 3 и UDS2 = 0, в MU содержатся следующие подполя:
- MTB: индикатор наличия нескольких ВС-Н
Данное 1-битное (42) подполе указывает наличие или отсутствие нескольких угрожающих ВС:
- 0 - запрашивающей БСПС угрожает одно ВС;
- 1 - запрашивающей БСПС угрожают несколько ВС.
- CVC: отмена RAC в вертикальной плоскости
Данное 2-битное (43 - 44) подполе обозначает отмену RAC в вертикальной плоскости, которое ранее было направлено соответствующему ВС. Это подполе устанавливается на 0 для нового ВС-Н:
- 0 - отмена не производится;
- 1 - отмена ранее переданной рекомендации "Не проходить ниже";
- 2 - отмена ранее переданной рекомендации "Не проходить выше";
- 3 - не задано.
- VRC: RAC в вертикальной плоскости
Данное 2-битное (45 - 46) подполе обозначает RAC в вертикальной плоскости, связанное с соответствующим ВС:
- 0 - RAC в вертикальной плоскости не направлено;
- 1 - "Не проходить ниже";
- 2 - "Не проходить выше";
- 3 - не задано.
- CHC: отмена RAC в горизонтальной плоскости
Данное 3 битное (47 - 49) подполе обозначает отмену RAC в горизонтальной плоскости, ранее направленного соответствующему ВС. Это подполе устанавливается на 0 для нового ВС-Н:
- 0 - отмена не производится или отсутствует возможность выработки рекомендации по разрешению угрозы столкновения в горизонтальной плоскости;
- 1 - отмена ранее направленной рекомендации "Не выполнять разворот влево";
- 2 - отмена ранее направленной рекомендации "Не выполнять разворот вправо";
- 3 - 7 - не задано.
- HRC: RAC в горизонтальной плоскости
Данное 3-битное (50 - 52) подполе обозначает RAC в горизонтальной плоскости, связанное с соответствующим ВС:
- 0 - RAC в горизонтальной плоскости отсутствует, или отсутствует возможность выработки рекомендации по разрешению угрозы столкновения в горизонтальной плоскости;
- 1 - рекомендация другой БСПС предусматривает разворот влево; "Не выполнять разворот влево";
- 2 - рекомендация другой БСПС предусматривает разворот влево; "Не выполнять разворот вправо";
- 3, 4 - не задано;
- 5 - рекомендация другой БСПС предусматривает разворот вправо; "Не выполнять разворот влево";
- 6 - рекомендация другой БСПС предусматривает разворот вправо; "Не выполнять разворот вправо";
- 7 - не задано.
- HSB: направления маневра в горизонтальной плоскости
Данное 5-битное (56 - 60) подполе используется для защиты данных в подполях CHC и HRC. Для каждой из 64 возможных комбинаций битов 47 - 52 передается следующий код HSB, приведенных в таблице 12.
Таблица 12
Кодирование поля направления маневра
в горизонтальной плоскости
CHC | HRC | HSB |
47 | 48 | 49 | 50 | 51 | 52 | 56 | 57 | 58 | 59 | 60 |
0 | 0 | 0 | 0 | 0 | 0 | 0 | 0 | 0 | 0 | 0 |
0 | 0 | 0 | 0 | 0 | 1 | 0 | 1 | 0 | 1 | 1 |
0 | 0 | 0 | 0 | 1 | 0 | 1 | 0 | 0 | 1 | 1 |
0 | 0 | 0 | 0 | 1 | 1 | 1 | 1 | 0 | 0 | 0 |
0 | 0 | 0 | 1 | 0 | 0 | 1 | 1 | 1 | 0 | 0 |
0 | 0 | 0 | 1 | 0 | 1 | 1 | 0 | 1 | 1 | 1 |
0 | 0 | 0 | 1 | 1 | 0 | 0 | 1 | 1 | 1 | 1 |
0 | 0 | 0 | 1 | 1 | 1 | 0 | 0 | 1 | 0 | 0 |
0 | 0 | 1 | 0 | 0 | 0 | 0 | 1 | 1 | 0 | 1 |
0 | 0 | 1 | 0 | 0 | 1 | 0 | 0 | 1 | 1 | 0 |
0 | 0 | 1 | 0 | 1 | 0 | 1 | 1 | 1 | 1 | 0 |
0 | 0 | 1 | 0 | 1 | 1 | 1 | 0 | 1 | 0 | 1 |
0 | 0 | 1 | 1 | 0 | 0 | 1 | 0 | 0 | 0 | 1 |
0 | 0 | 1 | 1 | 0 | 1 | 1 | 1 | 0 | 1 | 0 |
0 | 0 | 1 | 1 | 1 | 0 | 0 | 0 | 0 | 1 | 0 |
0 | 0 | 1 | 1 | 1 | 1 | 0 | 1 | 0 | 0 | 1 |
0 | 1 | 0 | 0 | 0 | 0 | 1 | 0 | 1 | 0 | 1 |
0 | 1 | 0 | 0 | 0 | 1 | 1 | 1 | 1 | 1 | 0 |
0 | 1 | 0 | 0 | 1 | 0 | 0 | 0 | 1 | 1 | 0 |
0 | 1 | 0 | 0 | 1 | 1 | 0 | 1 | 1 | 0 | 1 |
0 | 1 | 0 | 1 | 0 | 0 | 0 | 1 | 0 | 0 | 1 |
0 | 1 | 0 | 1 | 0 | 1 | 0 | 0 | 0 | 1 | 0 |
0 | 1 | 0 | 1 | 1 | 0 | 1 | 1 | 0 | 1 | 0 |
0 | 1 | 0 | 1 | 1 | 1 | 1 | 0 | 0 | 0 | 1 |
0 | 1 | 1 | 0 | 0 | 0 | 1 | 1 | 0 | 0 | 0 |
0 | 1 | 1 | 0 | 0 | 1 | 1 | 0 | 0 | 1 | 1 |
0 | 1 | 1 | 0 | 1 | 0 | 0 | 1 | 0 | 1 | 1 |
0 | 1 | 1 | 0 | 1 | 1 | 0 | 0 | 0 | 0 | 0 |
0 | 1 | 1 | 1 | 0 | 0 | 0 | 0 | 1 | 0 | 0 |
0 | 1 | 1 | 1 | 0 | 1 | 0 | 1 | 1 | 1 | 1 |
0 | 1 | 1 | 1 | 1 | 0 | 1 | 0 | 1 | 1 | 1 |
0 | 1 | 1 | 1 | 1 | 1 | 1 | 1 | 1 | 0 | 0 |
1 | 0 | 0 | 0 | 0 | 0 | 1 | 1 | 0 | 0 | 1 |
1 | 0 | 0 | 0 | 0 | 1 | 1 | 0 | 0 | 1 | 0 |
1 | 0 | 0 | 0 | 1 | 0 | 0 | 1 | 0 | 1 | 0 |
1 | 0 | 0 | 0 | 1 | 1 | 0 | 0 | 0 | 0 | 1 |
1 | 0 | 0 | 1 | 0 | 0 | 0 | 0 | 1 | 0 | 1 |
1 | 0 | 0 | 1 | 0 | 1 | 0 | 1 | 1 | 1 | 0 |
1 | 0 | 0 | 1 | 1 | 0 | 1 | 0 | 1 | 1 | 0 |
1 | 0 | 0 | 1 | 1 | 1 | 1 | 1 | 1 | 0 | 1 |
1 | 0 | 1 | 0 | 0 | 0 | 1 | 0 | 1 | 0 | 0 |
1 | 0 | 1 | 0 | 0 | 1 | 1 | 1 | 1 | 1 | 1 |
1 | 0 | 1 | 0 | 1 | 0 | 0 | 0 | 1 | 1 | 1 |
1 | 0 | 1 | 0 | 1 | 1 | 0 | 1 | 1 | 0 | 0 |
1 | 0 | 1 | 1 | 0 | 0 | 0 | 1 | 0 | 0 | 0 |
1 | 0 | 1 | 1 | 0 | 1 | 0 | 0 | 0 | 1 | 1 |
1 | 0 | 1 | 1 | 1 | 0 | 1 | 1 | 0 | 1 | 1 |
1 | 0 | 1 | 1 | 1 | 1 | 1 | 0 | 0 | 0 | 0 |
1 | 1 | 0 | 0 | 0 | 0 | 0 | 1 | 1 | 0 | 0 |
1 | 1 | 0 | 0 | 0 | 1 | 0 | 0 | 1 | 1 | 1 |
1 | 1 | 0 | 0 | 1 | 0 | 1 | 1 | 1 | 1 | 1 |
1 | 1 | 0 | 0 | 1 | 1 | 1 | 0 | 1 | 0 | 0 |
1 | 1 | 0 | 1 | 0 | 0 | 1 | 0 | 0 | 0 | 0 |
1 | 1 | 0 | 1 | 0 | 1 | 1 | 1 | 0 | 1 | 1 |
1 | 1 | 0 | 1 | 1 | 0 | 0 | 0 | 0 | 1 | 1 |
1 | 1 | 0 | 1 | 1 | 1 | 0 | 1 | 0 | 0 | 0 |
1 | 1 | 1 | 0 | 0 | 0 | 0 | 0 | 0 | 0 | 1 |
1 | 1 | 1 | 0 | 0 | 1 | 0 | 1 | 0 | 1 | 0 |
1 | 1 | 1 | 0 | 1 | 0 | 1 | 0 | 0 | 1 | 0 |
1 | 1 | 1 | 0 | 1 | 1 | 1 | 1 | 0 | 0 | 1 |
1 | 1 | 1 | 1 | 0 | 0 | 1 | 1 | 1 | 0 | 1 |
1 | 1 | 1 | 1 | 0 | 1 | 1 | 0 | 1 | 1 | 0 |
1 | 1 | 1 | 1 | 1 | 0 | 0 | 1 | 1 | 1 | 0 |
1 | 1 | 1 | 1 | 1 | 1 | 0 | 0 | 1 | 0 | 1 |
- VSB: направления маневра в вертикальной плоскости
Данное 4-битное (61 - 64) подполе используется для защиты данных в подполях CVC и VRC. Для каждой из 16 возможных комбинаций битов 43 - 46 передается следующий код VSB, приведенный в таблице 13.
Таблица 13
Кодирование поля направления маневра
в вертикальной плоскости
CVC | VRC | VSB |
43 | 44 | 45 | 46 | 61 | 62 | 63 | 64 |
0 | 0 | 0 | 0 | 0 | 0 | 0 | 0 |
0 | 0 | 0 | 1 | 1 | 1 | 1 | 0 |
0 | 0 | 1 | 0 | 0 | 1 | 1 | 1 |
0 | 0 | 1 | 1 | 1 | 0 | 0 | 1 |
0 | 1 | 0 | 0 | 1 | 0 | 1 | 1 |
0 | 1 | 0 | 1 | 0 | 1 | 0 | 1 |
0 | 1 | 1 | 0 | 1 | 1 | 0 | 0 |
0 | 1 | 1 | 1 | 0 | 0 | 1 | 0 |
1 | 0 | 0 | 0 | 1 | 1 | 0 | 1 |
1 | 0 | 0 | 1 | 0 | 0 | 1 | 1 |
1 | 0 | 1 | 0 | 1 | 0 | 1 | 0 |
1 | 0 | 1 | 1 | 0 | 1 | 0 | 0 |
1 | 1 | 0 | 0 | 0 | 1 | 1 | 0 |
1 | 1 | 0 | 1 | 1 | 0 | 0 | 0 |
1 | 1 | 1 | 0 | 0 | 0 | 0 | 1 |
1 | 1 | 1 | 1 | 1 | 1 | 1 | 1 |
- MID: адрес ВС ИКАО
Данное 24-битное (65 - 88) подполе содержит 24-битный адрес запрашивающего ВС с БСПС.
в) Подполе в поле MU для всенаправленной передачи БСПС
Структура поля MU для всенаправленной передачи БСПС приведена на рисунке 10.
33 | 37 | 41 | 65 |
UDS1 = 3 | UDS2 = 2 | 24 | MID:24 |
36 | 40 | 64 | 88 |
Рисунок 10
Если UDS1 = 3 и UDS2 = 2, в поле MU содержится следующее подполе:
- MID (адрес режима S).
24-битное (65 - 88) подполе содержит 24-битный адрес запрашивающего ВС с БСПС.
г) Подполя в поле MU для всенаправленной передачи RA
Структура поля MU для всенаправленной передачи RA приведена на рисунке 11.
33 | 37 | 41 | 55 | 59 | 60 | 61 | 63 | 76 |
UDS1 = 3 | UDS2 = 1 | ARA:14 | RAC:4 | RAT | MTE | 2 | AID:13 | CAC:13 |
36 | 40 | 54 | 58 | | | 62 | 75 | 88 |
Рисунок 11
Если UDS1 = 3 и UDS2 = 1, в поле MU содержатся следующие подполя:
- ARA (действующие RA);
- RAC (дополнения RA);
- RAT (индикатор прекращения RA);
- MTE (угроза столкновения с несколькими ВС);
- AID (код опознавания режима A). Данное 13-битное (63 - 75) подполе указывает код опознавания режима A (см. таблицу 14).
Таблица 14
Кодирование поля кода опознавания режима A
Номер бита | 63 | 64 | 65 | 66 | 67 | 68 | 69 | 70 | 71 | 72 | 73 | 74 | 75 |
Код бита режима C | A4 | A2 | A1 | B4 | B2 | B1 | O | C4 | C2 | C1 | D4 | D2 | D1 |
- CAC (код абсолютной высоты режима C)
Данное 13-битное (76 - 88) подполе обозначает код абсолютной высоты режима C ВС, передающего сообщение (см. таблицу 15).
Таблица 15
Кодирование поля абсолютной высоты режима C
Номер бита | 76 | 77 | 78 | 79 | 80 | 81 | 82 | 83 | 84 | 85 | 86 | 87 | 88 |
Код бита режима C | C1 | A1 | C2 | A2 | C4 | A4 | O | B1 | D1 | B2 | D2 | B4 | D4 |
56-битное (33 - 88) поле удлиненных ответных сигналов в режиме наблюдения по каналу "воздух - воздух" используется для передачи координационных ответных сообщений по каналу связи "воздух - воздух".
VDS: V-определение
Данное 8-битное (33 - 40) подполе определяет содержание поля остальных разрядов MV. Для удобства кодирования VDS выражается в виде двух групп VDS1 и VDS2 по 4 бит в каждой.
а) Подполя в поле MV для координационного ответа
В том случае, когда VDS1 = 3 и VDS2 = 0, в поле MV содержатся подполя, приведенные на рисунке 12.
33 | 37 | 41 | 55 | 59 | 60 | 61 |
VDS1 = 3 | VDS2 = 0 | ARA:14 | RAC:4 | RAT | MTE | 28 |
36 | 40 | 54 | 58 | | | 88 |
Рисунок 12
В том случае, когда VDS1 = 3 и VDS2 = 0, в поле MV содержатся следующие подполя:
- ARA (действующие RA);
- RAC (дополнения RA);
- RAT (индикатор прекращения RA);
- MTE (угроза столкновения с несколькими ВС).
6.3.2.17 SL: уровень чувствительности
Данное 3-битное (9 - 11) поле передается по линии связи "вниз" и включается в короткие и длинные форматы ответных сигналов "воздух - воздух" (DF = 0 и DF = 16). Это поле обозначает уровень чувствительности, при котором в данный момент работает БСПС:
- 0 - БСПС не работает;
- 1 - БСПС работает при уровне чувствительности 1;
- 2 - БСПС работает при уровне чувствительности 2;
- 3 - БСПС работает при уровне чувствительности 3;
- 4 - БСПС работает при уровне чувствительности 4;
- 5 - БСПС работает при уровне чувствительности 5;
- 6 - БСПС работает при уровне чувствительности 6;
- 7 - БСПС работает при уровне чувствительности 7.
7 Протоколы бортовых систем предупреждения столкновений II
7.1 Наблюдение за воздушными судами, оборудованными ответчиками режима RBS
7.1.1 Для наблюдения за ВС, оснащенными ответчиками режима RBS, должен быть использован только запрос общего вызова режима C.
7.2 Наблюдение за воздушными судами, оборудованными ответчиками режима S
7.2.1 Обнаружение
7.2.1.1 БСПС должна обнаруживать ВС, оснащенные ответчиками режима S, путем пассивного наблюдения следующих сигналов на частоте 1090 МГц:
- ответов на запросы общего вызова от наземных станций режима S с DF = 11;
- сквиттеров обнаружения с DF = 11 (максимальный период излучения 1,2 с);
- расширенных сквиттеров с DF = 17 (максимальный период излучения 0,6 с).
7.2.1.2 БСПС должна учитывать значение поля возможностей CA в ответах с DF = 11 с тем, чтобы исключить запросы в отношении ВС, находящихся на земле.
7.2.1.3 БСПС должна определять высоту ВС, оснащенных ответчиками режима S и не обозначенных как находящиеся на земле путем пассивного наблюдения ответов с DF = 4 (ответ наблюдения с данными высоты) или DF = 0 (ответ наблюдения "воздух - воздух") либо активного запроса с целью получения короткого ответа.
7.2.1.4 БСПС должна определять 24-битный адрес Международной организации гражданской авиации (ИКАО) ВС, оснащенных ответчиками режима S, из поля AA в ответе на запрос общего вызова.
7.2.1.5 БСПС должна проверять значение поля вертикального статуса VS в ответах с DF = 0 с тем, чтобы исключить запросы в отношении ВС, находящихся на земле.
7.2.1.6 БСПС должна проверять значение поля полетного статуса FS в ответах с DF = 4, 5, 20, 21 с тем, чтобы исключить запросы в отношении ВС, находящихся на земле.
7.2.2 Запросы наблюдения
7.2.2.1 Для определения дальности расстояния до других ВС БСПС должна использовать специальный короткий запрос наблюдения с UF = 0 со значением полей AQ = 1 и RL = 0 для получения коротких ответов DF = 0.
7.2.2.2 Для сопровождения других ВС БСПС должна использовать специальный короткий запрос наблюдения с UF = 0 со значением полей AQ = 0 и RL = 0 для получения коротких ответов DF = 0.
7.2.3 Ответы наблюдения
7.2.3.1 При получении короткого UF = 0 или длинного UF = 16 запроса запрашиваемый ответчик режима S отвечает специальным коротким DF = 0 или длинным DF = 16 ответом в зависимости от значения поля RL в запросе. В ответе сообщаются текущий уровень чувствительности (поле SL) и ответная информация по линии "воздух - воздух" (поле RI). При RI = 0 поле SL не обрабатывается.
7.2.3.2 При получении короткого UF = 0 или длинного UF = 16 запроса с полем AQ = 1 запрашиваемый ответчик режима S сообщает только максимальную воздушную скорость в поле RI (коды от 8 до 15).
7.2.3.3 При получении короткого UF = 0 или длинного UF = 16 запроса с полем AQ = 0 запрашиваемый ответчик режима S сообщает в поле RI только коды от 0 до 7.
Примечание - Первый бит поля RI в ответе повторяет значение поля AQ в запросе, что позволяет выделить запрос, используемый для определения дальности.
7.2.4 Всенаправленный запрос
7.2.4.1 БСПС должна использовать специальный длинный запрос наблюдения UF = 16 с UDS = 50 для передачи всенаправленного запроса в пределах зоны действия, который в поле MU содержит 24-битный адрес режима S (подполе MID). Данный запрос не предусматривает ответа и служит для того, чтобы аппаратура БСПС II других ВС могла определить количество ВС, оснащенных БСПС II, в пределах своей зоны обнаружения с целью ограничения помех. Запрос должен передаваться с периодом от 8 до 10 с при полной мощности, позволяющей аппаратуре БСПС II других ВС в радиусе 56 км (30 миль) обнаруживать собственное ВС.
7.3 Протоколы координации
7.3.1 Передача координационных запросов
7.3.1.1 При приеме ответов с DF = 0 или DF = 16 со значением поля RI = 3 или RI = 4 от ВС, объявленных угрозой, БСПС II должна передавать длинный запрос с UF = 16 для координации разрешения конфликта, который в поле MU содержит подполя, указанные в поле MU для разрешения конфликта коды полей и подполей:
- AQ = 0 - запрос не с целью обнаружения;
- RL = 1 - ответить длинным ответом;
- HRC = 0 - RAC в горизонтальной плоскости не выдавались;
- CHC = 0 - отмена RAC в горизонтальной плоскости не производилась;
- HSB = 0 - направление маневра в горизонтальной плоскости не изменялось.
7.3.1.2 Координационные запросы БСПС должны передаваться до момента получения угрозы координационного ответа, при этом максимальное число передач составляет не менее шести и не более 12. Номинальные интервалы между запросами должны быть (100 +/- 5) мс.
7.3.1.3 Запросы должны иметь интервал дрожания длительностью не менее 360 мкс в пределах номинального периода с целью предотвращения синхронных помех от наземного и другого бортового оборудования.
7.3.1.4 Если выполнено максимальное число запросов, а ответ не получен, БСПС должна продолжать выполнять свою обычную последовательность операций.
7.3.1.5 На борт ВС, с которого снят статус угрозы в течение одного периода обновления, следующего за отменой рекомендации разрешения конфликта в отношении этой угрозы, должен передаваться запрос с UF = 16 с целью дальнейшей координации. Подполе CVC такого запроса должно содержать код отмены ранее направленной VRC.
7.3.2 Обработка координационных запросов от других ВС
7.3.2.1 БСПС должна хранить информацию по крайней мере о десяти одновременно представляющих угрозу ВС, оборудованных ответчиками режимов C и S.
7.3.2.2 Для целей координации работы БСПС должна хранить входящие сообщения по разрешению конфликта, соответствующие по крайней мере десяти уникальным 24-битным адресам ИКАО.
7.3.2.3 В процессе координации БСПС должна исключать одновременный доступ к хранимым данным параллельными процессами обработки, в частности при обработке сообщения с дополнением к рекомендации по разрешению угрозы столкновения посредством блокировки доступа к данным. В состоянии блокировки доступ к данным получает только процесс, инициировавший такую блокировку. Если в состоянии координационной блокировки принимается сообщение с рекомендацией по разрешению угрозы столкновения, то данные должны удерживаться до тех пор, пока состояние координационной блокировки сохраняется.
7.3.3 Требования к координации
7.3.3.1 Ответчик собственного ВС должен принимать от других ВС сообщения по разрешению конфликта и передавать их в связанную с ним БСПС собственного ВС.
7.3.3.2 Процессор БСПС должен принимать от ответчика и обрабатывать сообщения по разрешению конфликта с постоянной скоростью 16,6 мс (60 сообщений в секунду).
7.3.3.3 Сообщения по разрешению конфликта должны быть доступны для обработки в БСПС в течение 6 мс после их получения от ответчика.
7.3.3.4 Если собственное ВС является инициатором состояния блокировки координирования, оно не должно оставаться в состоянии блокировки координирования более чем 0,03 с (номинально).
7.3.3.5 Если собственное ВС отвечает на координирование, инициированное конфликтующим ВС (то есть если собственное ВС обрабатывает входящее сообщение по разрешению конфликта БСПС), оно не должно оставаться в состоянии блокировки координирования более чем 0,01 с (номинально), если при одном состоянии блокировки координирования последовательно обрабатываются несколько сообщений по разрешению конфликта БСПС, и в этом случае продолжительность состояния блокировки не должна превышать 0,01 с (номинально) на одно сообщение.
7.4 Связь с наземными станциями режима S
7.4.1 Процессор БСПС должен предоставлять связанному с ним ответчику режима S информацию, предназначенную для включения в ответы наземным станциям режима S.
7.4.2 Отчет RA
7.4.2.1 Процессор БСПС должен предоставлять связанному с ним ответчику режима S информацию о действующей RA или прекращении ранее действующей RA для ее включения в отчет RA в подполях поля MB ответов с DF = 20, DF = 21.
Примечание - Ответчик после прекращения действия RA должен сохранять отчет RA в течение (18 +/- 1) с, для того чтобы обеспечить его считывание вращающейся антенной наземной станции.
7.4.3 Отчет о возможности передачи данных
7.4.3.1 Процессор БСПС должен предоставлять связанному с ним ответчику режима S информацию о возможностях БСПС для включения в отчет о возможности передачи данных.
7.4.3.2 БСПС должна определять, подается ли на ответчик разовая команда, разрешающая передачу номера версии программного обеспечения. Если такая команда подается, то процессор БСПС передает в регистры ответчика следующую информацию:
- регистр E516 - номер оборудования БСПС;
- регистр E616 - номер версии программного обеспечения оборудования БСПС.
7.4.3.3 БСПС должна инициировать передачу ответчику содержимого регистров E516 и E616 один раз в течение (10 +/- 1/4) с.
7.4.4 Управление уровнем чувствительности БСПС
7.4.4.1 Управление уровнем чувствительности БСПС должно осуществляться одной или несколькими наземными станциями путем передачи запросов Comm-A с UF = 20, UF = 21, содержащих в подполе SLC поля MA команды управления уровнем чувствительности.
7.4.4.2 При получении от наземной станции режима S сообщения с командой SLC БСПС должна запомнить переданное значение команды SLC, помечаемое номером этой наземной станции.
7.4.4.3 Если несколько наземных станций направили такие сообщения, БСПС должна использовать наименьшие принятые значения команд.
7.4.4.4 БСПС должна рассматривать команду SLC от каждой станции отдельно и игнорировать ее, если команда не обновляется последующим сообщением от данной станции в течение 4 мин.
7.4.4.5 БСПС должна также немедленно отменить команду SLC от наземной станции, если от этой станции принимается специальный код отмены.
7.5 Перекрестная связь в режиме S
7.5.1 БСПС должна идентифицировать ответчики режима S, поддерживающие возможность перекрестной связи путем анализа значения поля CC в специальном коротком ответе наблюдения с DF = 0. БСПС затем может запросить содержимое определенного регистра Comm-B, используя специальный короткий запрос формата UF = 0, адресованный этому ответчику с установленным значением поля RL = 1 и указанием идентификатора регистра в поле BDS. В ответ на этот запрос ответчик режима S должен передать длинный ответ формата DF = 16, поле MV которого содержит запрошенные данные регистра Comm-B.
7.6 Расширенный сквиттер с опознавательными данными воздушных судов
7.6.1 В БСПС должны быть реализованы прием и декодирование сообщения расширенного сквиттера формата DF = 17, содержащего в поле ME опознавательные данные ВС. Такие сообщения идентифицируются кодом типа формата 1, 2, 3 и 4 в первых 5 разрядах поля ME.
7.7 Требования к совместимости со связанным ответчиком режима S
7.7.1 Процессор БСПС должен быть полностью совместим со связанным ответчиком режима S как по интерфейсу "ответчик - БСПС", так и в плане электромагнитной совместимости.
7.7.2 Все требования к БСПС, изложенные в настоящем стандарте, должны выполняться тогда, когда процессор БСПС работает со связанным с ним ответчиком режима S собственного ВС, за исключением тех случаев, когда ответчик режима - S. Активное состояние передатчика ответчика режима S определяется либо как временной интервал между фронтом первого переданного импульса ответа минус 10 мкс и спадом последнего переданного импульса плюс 10 мкс, либо временной интервал, в течение которого происходит взаимное подавление в зависимости от того, что больше.
7.8.1 Оборудование TCAS II должно выдавать импульс бланкирования (70 +/- 1) мкс на другое бортовое оборудование ВС при излучении запросов через верхнюю антенну и (90 +/- 1) мкс при излучении запросов через нижнюю антенну.
7.8.2 Конструкция БСПС должна принимать и реагировать на импульсы бланкирования от другого электронного оборудования ВС.
7.8.3 Оборудование БСПС должно восстановить чувствительность в пределах 3 дБ от номинального не позднее 15 мкс после окончания подачи импульса бланкирования.
7.8.4 Длительность бланкирования должна быть больше, чем длительность запроса, чтобы собственный ответчик режима S не реагировал на отражения запросов БСПС от земли.
7.9 Интерфейсы с другими системами
7.9.1 Интерфейс БСПС с ответчиком режима S
Процессор БСПС должен обрабатывать две очереди низкого и высокого приоритета в порядке их поступления по интерфейсу "ответчик - БСПС". В очереди с высоким приоритетом должны размещаться сообщения по разрешению конфликта, в очереди с низким приоритетом - все остальные сообщения. Данные из очереди с низким приоритетом обрабатываются только после того, как были обработаны все сообщения по разрешению конфликта.
7.9.2 Общие требования к интерфейсу с ответчиком режима S
7.9.2.1 Данные, передаваемые от процессора БСПС ответчику
а) Процессор БСПС должен передавать связанному с ним ответчику содержание следующих полей для использования в ответах наблюдения форматов DF = 0 и DF = 16:
SL - уровень чувствительности в соответствии с требованиями
6.3.2.17. Об измененном значении уровня чувствительности должно быть сообщено через 1 с в любом специальном ответе наблюдения, DF = 0, DF = 16;
RI - ответная информация "воздух - воздух" в соответствии с требованиями
6.3.2.8. Об изменениях возможностей по разрешению конфликта должно быть сообщено через 1 с в любом специальном ответе наблюдения, DF = 0, 16.
б) Процессор БСПС должен передавать связанному с ним ответчику содержание поля DR (запрос по линии связи "вниз") для использования в ответах наблюдения форматов DF = 4; 5; 20 и 21 с данными высоты, опознавания и в ответах связи Comm-B. При наличии RA процессор БСПС должен сообщить об этом связанному с ним ответчику, который должен установить соответствующий бит в поле DR. Измененный код поля DR должен быть передан через 1 с в любом специальном ответе наблюдения, DF = 4; 5; 20 и 21.
в) Процессор БСПС должен передавать связанному с ним ответчику содержание поля MV (координационный ответ по каналу связи "воздух - воздух") для использования в специальных длинных ответах наблюдения формата DF = 16. Процессор БСПС должен сообщить ответчику самые последние значения подполей MV в соответствии с требованиями
6.3.2.16.
г) Процессор БСПС должен передавать связанному с ним ответчику содержание следующих полей для использования в ответах с данными высоты и опознавания по связи Comm-B форматов DF = 20 и DF = 21:
- отчет RA. Процессор БСПС передает ответчику значения подполей MB в соответствии с требованиями
перечисления а) 6.3.2.14.
Примечание - Ответчик после прекращения действия RA должен сохранять отчет RA в течение (18 +/- 1) с, для того чтобы обеспечить его считывание вращающейся антенной наземной станции;
| | ИС МЕГАНОРМ: примечание. В официальном тексте документа, видимо, допущена опечатка: имеется в виду перечисление б) пункта 6.3.2.14, а не пункта 6.3.14. | |
- отчет о возможности передачи данных. Процессор БСПС при правильной работе передает ответчику информацию о возможностях ЛПД в соответствии с требованиями
перечисления б) 6.3.14. В случае отказа процессор БСПС должен сообщить об этом ответчику не позднее чем через 1 с.
7.9.2.2 Данные, получаемые БСПС от ответчика режима S
а) Процессор БСПС должен получать от связанного с ним ответчика содержание полей, полученных в специальных длинных запросах наблюдения формата UF = 16:
- сообщения с рекомендацией по разрешению угрозы: MTB, CVC, VRC, CHC, HRC, HSB, VSB, MID - подполя MU (UDS = 48) в соответствии с требованиями
перечисления б) 6.3.2.15;
- адрес режима S: MID - подполе MU (UDS = 50, всенаправленный запрос БСПС) в соответствии с требованиями
перечисления в) 6.3.2.15.
б) Процессор БСПС должен получать от связанного с ним ответчика значение SLC - команды управления уровнем чувствительности БСПС в соответствии с требованиями
перечисления а) 6.3.2.13 и значения подполей SD: IIS и LAS в соответствии с требованиями
6.3.2.11, полученные в запросах высоты и опознавания по связи Comm-A форматов UF = 20 и UF = 21.
7.9.3 Дополнительные интерфейсы
7.9.3.1 В БСПС должна быть предусмотрена возможность ручного управления уровнем чувствительности.
7.9.3.2 БСПС должна принимать данные о высоте от радиовысотомера и данные о его исправности (при наличии у высотомера ВСК). Минимальный диапазон измерения высот для радиовысотомера, используемого с БСПС, должен составлять от 0 до 564 м (от 0 до 1850 фут.).
7.9.3.3 В БСПС должна быть предусмотрена возможность вывода файла данных наблюдениям для оценки результатов испытания оборудования БСПС.
8 Требования к оборудованию бортовых систем предупреждения столкновений
8.1 Общие требования к оборудованию
8.1.1 Эффективная излучаемая импульсная мощность запросных сигналов на частоте 1030 МГц должна быть (24 +/- 2) дБ·Вт.
8.1.2 Параметры спектра запросных сигналов должны соответствовать значениям, приведенным в таблице 16.
Таблица 16
Требования к спектру сигнала на частоте 1030 МГц
Расстройка относительно несущей частоты, МГц | Ослабление относительно уровня несущей частоты, дБ, не более |
+/- (>= 4... < 6) | 6 |
+/- (>= 6... < 8) | 11 |
+/- (>= 8... < 10) | 15 |
+/- (>= 10... < 20) | 19 |
+/- (>= 20... < 30) | 31 |
+/- (>= 30... < 40) | 38 |
+/- (>= 40... < 50) | 43 |
+/- (>= 50... < 60) | 47 |
+/- (>= 60...< 90) | 50 |
+/- (>= 90) | 60 |
8.1.3 Чувствительность приемника к сигналам ответа на частоте 1090 МГц должна быть минус (104 +/- 2) дБ·Вт (декодирование сообщений с вероятностью не менее 0,9).
8.1.4 Приемник должен обеспечивать избирательность в соответствии с таблицей 17.
Таблица 17
Избирательность приемного тракта на частоте 1090 МГц
Расстройка относительно несущей частоты, МГц | Чувствительность, дБ (выше порога) |
+/- 5,5 | Более 3 |
+/- 10,0 | Более 20 |
+/- 15,0 | Более 40 |
+/- 25,0 | Более 60 |
Примечание - Такой уровень чувствительности позволяет обеспечить уверенный прием ответных сигналов, исходящих от ВС, находящихся на одной высоте с собственным ВС на расстоянии 26 км (14 миль).
8.1.5 Верхняя граница динамического диапазона должна быть не ниже минус 21 дБ·мВт.
8.1.6 При уровне входных сигналов не более 108 дБ·Вт БСПС должна декодировать не более 10% сообщений.
8.1.7 При уровне сигнала в диапазоне, превышающем уровень чувствительности на 3 дБ, не более минус 51 дБ·Вт БСПС должна декодировать не менее 99% сообщений.
8.1.8 Если запросчик БСПС II находится в неактивном состоянии, эффективная излучаемая мощность на частоте (1030 +/- 3) МГц должна быть не более минус 100 дБ·Вт.
Примечания
1 Под неактивным состоянием следует понимать период времени между передачами, кроме переходных периодов по 10 мкс, перед первым и после последнего импульса запроса.
2 Требование предполагает, что развязка между антенной БСПС и антенной ответчика превышает 20 дБ.
8.1.9 Управление БСПС необходимо осуществлять с пульта, который связан с ответчиком, или с общего пульта управления радиосредствами.
8.1.10 Процессор БСПС должен обеспечивать сопряжение со связанным ответчиком в соответствии с требованиями ТЗ на конкретную аппаратуру БСПС.
8.2 Требования к ограничению уровня помех
8.2.1 Оборудование БСПС II должно использовать средства ограничения уровня помех для соответствия требованиям настоящего стандарта.
8.2.2 Оборудование БСПС II должно отклонять все импульсы ответов RBS, длительность которых составляет не более 0,242 мкс.
8.2.3 Оборудование БСПС II должно осуществлять фильтрацию сигналов систем DME и TACAN посредством отклонения импульсов с длительностью фронта более 0,5 мкс.
8.2.4 Ограничение суммарного воздействия помех, возникающих в результате запросов собственной и соседних БСПС
8.2.4.1 Оборудование БСПС должно обеспечивать надежное выполнение функций наблюдения и предупреждения столкновений при интенсивности воздушного движения, определенной
5.1.3.
8.2.4.2 При работе в районах с высокой интенсивностью движения оборудование БСПС не должно ухудшать электромагнитную обстановку в каналах УВД. Снижение уровня электромагнитных помех в каналах УВД должно достигаться за счет ограничения количества и мощности запросов БСПС.
8.2.4.3 Неравенства, определяющие ограничение помех
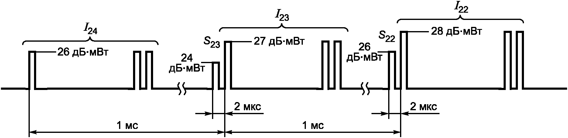
а) При работе на высотах (барометрических) не выше 5500 м (18 000 фут.) оборудование БСПС должно осуществлять управление количеством собственных запросов и/или их мощностью для минимизации их помехового воздействия.
б) Для обеспечения низкого уровня суммарного воздействия помех, возникающих в результате запросов собственной и соседних БСПС, должны быть выполнены условия следующих трех неравенств:

; (1)

; (2)

, (3)
где I - общее количество запросов, за исключением координационных запросов "воздух - воздух", излученных своей БСПС за интервал наблюдения;
i - порядковый номер запроса; i = 1, 2, ..., I;
P(i) - полная излучаемая антенной мощность для i-го запроса, Вт;
NTA - количество бортовых запросчиков БСПС, обнаруженных при пороге приемника ответчика, равном минус 74 дБм;

- коэффициент, полученный в результате наблюдения за ВС, оснащенными БСПС, и используемый для соответствия
неравенства (1) измеренному распределению соседних ВС;
M(i) - продолжительность интервала бланкирования приемника своего ответчика на время излучения своей БСПС i-го запроса;
B - коэффициент сужения луча ДН (отношение ширины главного лепестка ДН, в которой передаются запросы, к ширине ДН, в которой принимаются ответы, полученной в результате использования подавления запроса по боковым лепесткам). Коэффициент B для направленной 4-лучевой антенны приблизительно равен 1,2;
k - порядковый номер запроса в режиме C; k = 1, 2, ..., K;
K - общее количество запросов режима C, излученных своей БСПС за интервал наблюдения;
PA(k) - полная излучаемая антенной мощность для k-го запроса режима C, Вт.
в) Количество и мощности запросов должны зависеть от локальной воздушной обстановки. Собственная БСПС должна осуществлять подсчет количества
NTA соседних бортовых запросчиков, находящихся в воздухе. Количество запросчиков
NTA получается в результате мониторинга сообщений всенаправленного запроса БСПС режима S в формате UF = 16 [
перечисление в) 6.3.2.15,
7.2.4] по линии связи "вверх". Такое сообщение указывает на то, что запрос выполняется запросчиком БСПС. Поле MU этого запроса включает в себя 24-битный адрес ИКАО ВС.
г) БСПС должна осуществлять запрос на полной мощности в случайные моменты времени внутри номинальных интервалов, равных 10 с.
д) БСПС должна определять количество других БСПС в пределах дальности обнаружения [номинально - 55,5 км (30 миль)] путем осуществления контроля за принимаемыми своим ответчиком запросами.
е) Количество NTA ВС с БСПС в воздухе определяют как число различных адресов БСПС, контролируемых в течение предыдущих 20 с. Количество NTA должно обновляться один раз в 1 с.
ж) Для правильного применения неравенства ограничения помех
(1) помимо знания значения количества
NTA необходимо иметь информацию о распределении соседних запросчиков БСПС.
и) При наличии данных о распределении и известном значении
NTA неравенство ограничения помех
(1) отражает локальную воздушную обстановку.
к) При каждом сканировании БСПС должна оценивать распределение других ВС, от которых получены сообщения всенаправленного запроса БСПС, посредством полученной по результатам наблюдения режима S информации. Для получения точной оценки распределения независимо от уровня ограничения помех БСПС должна учитывать только те ВС, которые находятся в пределах 11 км (6 миль).
л) При каждом сканировании функции распределения БСПС в пределах 55,5 км (30 миль) и в пределах 11 км (6 миль) должны характеризоваться следующим образом:
- распределение БСПС в пределах 55,5 км (30 миль) определяется отношением количества БСПС в пределах 55,5 км (30 миль) к их количеству в пределах 11 км (6 миль). Коэффициент распределения БСПС в пределах 55,5 км (30 миль)

рассчитывают по формуле

,
где NTA - количество БСПС, полученное по результатам мониторинга всех сообщений всенаправленного запроса БСПС;
NTA6 - количество ВС, от которых получены сообщения всенаправленного запроса БСПС, находящихся, согласно оценке, в пределах 11 км (6 миль);
- распределение БСПС в пределах 11 км (6 миль) определено отношением количества БСПС в пределах 11 км (6 миль) к их количеству в пределах 5,5 км (3 мили). Коэффициент распределения БСПС в пределах 11 км (6 миль)

рассчитывают по формуле

,
где NTA3 - количество ВС, от которых получены сообщения всенаправленного запроса БСПС, находящихся, согласно оценке, в пределах 5,5 км (3 мили).
м) ВС, оснащенные БСПС, находящиеся на земле или на высоте не более 600 м (2000 фут.) над уровнем земной поверхности (по данным радиовысотомера), должны учитывать как бортовые, так и наземные БСПС в значениях NTA3 и NTA6. Во всех остальных случаях БСПС должна учитывать в значениях NTA3 и NTA6 только находящиеся в воздухе БСПС. Идентификация и наблюдение наземных БСПС могут быть выполнены посредством проверки поля VS в ответе обнаружения DF = 0 на запрос обнаружения UF = 0 и посредством соотнесения 24-битного адреса ИКАО ВС, связанного с ответом, с адресом, полученным при всенаправленном запросе БСПС.
н) Коэффициенты распределения БСПС

и

не могут превышать 1. Значение коэффициентов, равное 1, означает равномерное по области распределение БСПС. Минимальное значение коэффициентов

и

ограничено на уровне 0,5. Значение коэффициентов, равное 0,5, подразумевает равномерное по дальности распределение БСПС. Эти ограничения на коэффициенты

и

накладываются для гарантии того, что дальность наблюдения БСПС всегда находится в необходимых пределах для предотвращения столкновений и что максимально допустимое произведение мощности и количества запросов всегда поддерживается на надлежащем уровне, независимо от измеренного распределения.
п) Значение

должны дополнительно рассчитывать в соответствии со следующими логическими выражениями:
если [(
NTA6 <= 1) или (
NTA6 <= 4 И
NTA3 <= 2 и
NTA > 25)], то

;
если [(
NTA3 > 2) и (
NTA6 > 2
NTA3) и (
NTA < 40)], то

.
Первое выражение рассматривает случай, в котором измеренное число ВС, оснащенных БСПС, в пределах 11 км (6 миль) настолько низкое, что обеспечивается недостоверная оценка коэффициента распределения

, в то время как общее количество БСПС в пределах 55,5 км (30 миль) является достаточно большим по сравнению с
NTA6, что приводит к равномерному по области распределению.
Второе выражение соответствует случаю, в котором измеренное количество БСПС в пределах 5,5 и 11 км (3 и 6 миль) свидетельствует о локальном равномерном по области распределении, но общее количество БСПС в пределах 55,5 км (30 миль) является достаточно низким по сравнению с NTA3, что указывает на общее равномерное распределение по дальности.
р) Для минимизации обусловленных различными флюктуациями расхождений в значениях коэффициентов распределения БСПС

и

от сканирования к сканированию эти коэффициенты должны обновляться при сканировании путем сглаживания следующим рекурсивным фильтром:
б = бпред + 0,2(бтек - бпред).
с) Значение

, используемое в неравенстве ограничения помех
(1), необходимо выбирать как минимальное из сглаженных значений

и

.
8.2.4.4 Методика ограничения помех
а) В начале каждого интервала наблюдения определяют значения

и
NTA согласно
п. 8.2.4.3. В дальнейшем полученное значение

следует использовать для изменения каждого нормированного значения мощности запроса режимов C и S в левой части
неравенства (1) перед суммированием по интервалу наблюдения и изменения фиксированного члена в пределах правой части
неравенства (1).
б) Производят оценку текущих пределов в правой части
неравенств (1) и
(3) при помощи известного значения количества
NTA. Для расчета левых частей
неравенств (1) и
(2) должны использовать сглаженные (усредненные за 8 с) значения
P(
i) и
M(
i) для режима S.
Координационные запросы "воздух - воздух" должны излучаться на полной мощности. Эти запросы не учитывают при суммировании запросов режима S в левых частях неравенств. Если сглаженное значение левой части
неравенства (1) или
(2) более или равно текущему пределу и свое ВС находится ниже барометрической высоты 5500 м (18 000 фут.), то параметры наблюдения как режима S, так и режима C должны быть изменены, чтобы удовлетворять значениям этих неравенств. Если левая часть
неравенства (3) превышает текущий предел и свое ВС находится ниже барометрической высоты 5500 м (18 000 фут.), параметры наблюдения режима C должны быть изменены, чтобы удовлетворять этому неравенству.
В обоих случаях для предотвращения флуктуационного характера ограничения помех, вызванного небольшими отклонениями по высоте, должен применяться гистерезис +/- 150 м (500 фут.) по отношению к границе высоты 5500 м (18 000 фут.).
в) Чувствительность наблюдения режима C должна изменяться путем уменьшения мощности запроса и увеличения порога MTL приемника во время периода прослушивания.
Если при запросе используется последовательность низкого/высокого уровня с высоким разрешением
[перечисление г) 8.2.5.2], то наблюдение режима C должно изменяться посредством последовательного исключения шагов последовательности низкого/высокого уровня.
Если при запросе используется минимальная базовая последовательность низкого/высокого уровня или одиночный запрос
[перечисление в) 8.2.5.2], то наблюдение режима C должно изменяться путем уменьшения уровня мощности каждого шага в пределах последовательности низкого/высокого уровня или каждого одиночного запроса последовательно для каждого луча. Каждый шаг последовательности низкого/высокого уровня или понижения мощности однозначно связан с настройкой порога MTL-приемника.
Таким образом, чувствительность приемника в периоды наблюдения режима C должна автоматически адаптироваться, чтобы соответствовать сокращению мощности.
г) Общая чувствительность наблюдения для целей режима S должна уменьшаться путем снижения мощности запроса и увеличения порога MTL-приемника во всех периодах прослушивания сквиттера.
После такого изменения единственным изменением, которое допускается в течение последующих 8 с, является сокращение числа шагов последовательности низкого/высокого уровня, если это необходимо для удовлетворения значений
неравенства (3). Эта 8-секундная задержка позволяет наблюдать влияние изменения режима S, что обусловлено осреднением на интервале в 8 с значений, используемых в
неравенствах (1) и
(2).
д) Снижение чувствительности наблюдения режимов C и S должно быть выполнено таким образом, чтобы функциональность аппаратуры БСПС не была ограничена преждевременно и сохранялась возможность использовать ее не менее чем на 75% от ограничений, заданных в трех неравенствах ограничения помех при любых комбинациях целей и для любых значений плотности ВС, вплоть до максимально допустимой.
Когда значение любого из сглаженных пределов превышено, должны быть приняты соответствующие меры по ограничению помех в рамках одного интервала обновления данных наблюдения. По мере восстановления более благоприятных условий среды, позволяющих смягчить введенные ограничения, должны быть предусмотрены средства для постепенного восстановления чувствительности наблюдения.
е) Максимально допустимое снижение мощности для ограничения помех по каждому лучу верхней антенны для бортовой БСПС должно быть 10 дБ для запросов режима S и 7 дБ - для запросов режима C.
8.2.4.5 Запросы от бортовой системы предупреждения столкновений воздушного судна, находящегося на земле
а) Каждый раз, когда ВС, оснащенное БСПС, определяет, что оно находится на земле, запросы БСПС должны быть ограничены путем установки значения количества NTA в неравенствах ограничения помех в три раза больше измеренного. Это значение должно гарантировать, что БСПС, работающая на земле, не добавит ненужных помех при передаче на уровнях мощности больших, чем необходимые, для обеспечения наблюдения локальной области перед вылетом.
б) Измененное значение количества NTA должно обеспечить дальность наблюдения приблизительно 5,5 км (3 мили) в зонах аэродрома с высокой интенсивностью движения для поддержки надежного наблюдения с земли за локальным воздушным движением или дальность наблюдения 26 км (14 миль) в воздушном пространстве с очень низкой интенсивностью движения для обеспечения широкой зоны наблюдения в случае отсутствия вторичной обзорной радиолокационной системы.
в) Регулирование мощности запроса и управление порогом MTL-приемника для ограничения помех при работе БСПС на земле должны выполнять в соответствии с
п. 8.2.4.4, за исключением того, что в режиме C мощность запроса и чувствительность приемника в верхнем луче, направленном вперед, должны снижаться в первую очередь до тех пор, пока последовательность низкого/высокого уровня в переднем луче не будет соответствовать последовательности в правом и левом боковых лучах. Затем мощность и чувствительность переднего, правого и левого лучей должны последовательно снижаться, пока они не будут соответствовать мощности и чувствительности луча запроса, направленного назад. В дальнейшем ограничение должно осуществляться путем последовательного снижения мощности и чувствительности переднего, боковых и заднего лучей.
г) Максимально допустимое снижение мощности с целью ограничения помех при работе БСПС на земле должно быть следующим:
- луч, направленный вперед, - 13 дБ для режима S и 10 дБ для режима C;
- боковые лучи - 13 дБ для режима S и 6 дБ для режима C;
- луч, направленный назад, - 13 дБ для режима S и 1 дБ для режима C.
д) После перехода из состояния "на земле" в состояние "в воздухе" в пределах трех интервалов наблюдения ВС, оснащенное БСПС, должно восстановить возможность обеспечивать наблюдение по дальности путем применения для ограничения помех истинного значения
NTA и значения коэффициента

, равного единице. Затем коэффициент

принимает свое истинное значение в соответствии с
8.2.4.3.
8.2.4.6 Запросы от бортовой системы предупреждения столкновений воздушного судна, находящегося на барометрической высоте выше 5500 м (18 000 фут.)
а) При полете на высотах (барометрических) выше 5500 м (18 000 фут.), несмотря на увеличение количества наблюдаемых ВС (
NTA), БСПС не должна подвергаться ограничениям помех по
неравенству (2) или усилению ограничения помех по
неравенствам (1) и
(3).
Поэтому в этом случае методика ограничения мощности во время любого интервала наблюдения пересматривается следующим образом. Для сохранения верхних фиксированных пределов мощности и количества запросов, определенных в
неравенствах (1) и
(3), оборудование БСПС, работающее выше барометрической высоты 5500 м (18 000 фут.), должно соответствовать измененным неравенствам ограничения помех (4) и
(5). Неравенства (4) и
(5) получены из
неравенств (1) и
(3) путем устранения членов 280/(
NTA + 1) и 80/(
NTA + 1) соответственно, а также фиксирования коэффициента

в значении 1 независимо от распределения БСПС.

, (4)

. (5)
8.2.5 Устранение помех многолучевого распространения
8.2.5.1 Оборудование БСПС II должно успешно декодировать ответы в условиях помех, вызванных многолучевым распространением сигналов, при соотношениях уровней полезного и отраженного сигнала, приведенных в таблице 18.
Таблица 18
Соотношения уровней полезного и отраженного сигнала ответа
В децибелах
| Ответ режима |
RBS | S |
Минимальный уровень сигнала ответа | MTL + 11 | MTL + 8 |
Максимальный уровень отраженного сигнала | Уровень ответа минус 10 | Уровень ответа минус 7 |
8.2.5.2 Оборудование БСПС II должно осуществлять подавление синхронных помех, вызванных многолучевым распространением сигналов в режиме RBS, путем применения метода последовательностей "низкого/высокого уровня" в режиме C с использованием направленной антенны.
а) Управление синхронными помехами методом последовательностей "низкого/высокого уровня"
БСПС должна применять метод "низкого/высокого уровня", который предполагает использование последовательности сигналов запроса с различными уровнями мощности, передаваемых в течение каждого периода обновления данных наблюдения. Каждому из сигналов запроса в данной последовательности, который отличается от сигнала при самой низкой мощности, предшествует передача подавляющего сигнала S1, при этом 1-й импульс сигнала запроса P1 служит в качестве 2-го импульса. Импульс подавления S1 передается за 2 мкс до 1-го импульса запроса P1 при более низком уровне мощности с тем, чтобы отвечали ответчики, которые обнаруживают запрос, а не сигнал подавления. Интервал времени между последовательными запросами должен составлять 1 мс. Все запросы в последовательности передаются в течение одного интервала обновления данных наблюдения (см. рисунок 13).
Рисунок 13
б) Последовательность низкого/высокого уровня при низкой плотности воздушного движения
Минимальная базовая последовательность низкого/высокого уровня (см. рисунок 14) обеспечивает достаточный уровень снижения помех при низкой плотности воздушного пространства 0,015 ВС, оборудованных ответчиками на 1 км2 (0,05 ВС на 1 милю2).
Примечания:
1. "I" обозначает ERP запросных сигналов P1, P3 и P4.
2. "S" обозначает ERP сигналов подавления S1.
3. "S··I" обозначает, что ERP сигнала S1 на 3 дБ меньше, чем ERP запросного сигнала.
4. "S.........I" обозначает, что ERP сигнала S1 на 10 дБ меньше, чем ERP запросного сигнала.
Сигналы S1 не передаются при последних шагах каждого квадрата.
В методе определяются пять последовательностей по одной для каждого из четырех секторов диаграммы направленности верхней антенны и одна для нижней антенны, работающей в режиме всенаправленной диаграммы направленности. Запросы могут передаваться в любом порядке. Последовательность для ограничения помех уменьшается по мощности. Каждый запрос и соответствующее ему значение чувствительности уменьшаются в порядке, показанном в колонке "Очередность ограничения помех".
в) Последовательность низкого/высокого уровня с расширенными возможностями, обеспечивающая улучшенные характеристики снижения помех.
Улучшение характеристик по управлению помехами обеспечивается за счет изменения ширины интервалов разности амплитуд (ИРА) между импульсом подавления S1 и 1-м импульсом запроса P1 для каждого шага последовательности.
Влияние ИРА на улучшение характеристик по снижению помех приведено в таблице 19. Как следует из таблицы, изменение ИРА не более чем на 2 дБ приводит к улучшению характеристик по снижению помех более чем в три раза.
Таблица 19
Коэффициент улучшения характеристик относительно ИРА
Интервал разности амплитуд P1 - S1, дБ | Коэффициент улучшения характеристик относительно интервала разности амплитуд |
10 | 1,0 |
9 | 1,1 |
8 | 1,2 |
7 | 1,4 |
6 | 1,5 |
5 | 1,8 |
4 | 2,0 |
3 | 2,5 |
2 | 3,3 |
1 | 4,4 |
г) Последовательность низкого/высокого уровня при высокой плотности воздушного движения
Последовательность низкого/высокого уровня обеспечивает достаточный уровень снижения помех при высокой плотности воздушного движения 0,085 ВС, оборудованных ответчиками на 1 км2 (0,3 ВС на 1 милю2).
В методе определяются пять последовательностей: по одной для каждого из четырех секторов диаграммы направленности верхней антенны и одна для нижней антенны, работающей в режиме всенаправленной диаграммы направленности. Запросы могут передаваться в любом порядке. Последовательность для ограничения помех уменьшается по мощности. Каждый запрос и соответствующее ему значение пороговой чувствительности уменьшаются в порядке, показанном в колонке "Очередность ограничения помех". Шаги с меньшими номерами в последовательности отбрасываются или уменьшаются по мощности первыми. При сокращении последовательности шаги отбрасываются в порядке, показанном в колонке "Очередность ограничения помех" (см. рисунок 15).
Примечания:
1. "I" обозначает ERP запросных сигналов P1, P3 и P4.
2. "S" обозначает ERP сигналов подавления S1.
3. "S··I" обозначает, что ERP сигнала S1 на 2 дБ меньше, чем ERP запросного сигнала.
4. "S.........I" обозначает, что ERP сигнала S1 на 3 дБ меньше, чем ERP запросного сигнала.
Сигналы S1 не передаются при последних шагах 24, 63, 64, 79 и 83.
Варианты последовательностей низкого/высокого уровня должны удовлетворять следующим требованиям:
1) общая протяженность последовательности в направлении вперед должна перекрывать динамический диапазон не менее 24 дБ, где динамический диапазон определяется как произведение количества шагов последовательности и приращения на шаг;
2) номинальный уровень мощности каждого из импульсов запроса, если они расположены в виде монотонной последовательности, должен увеличиваться линейно во всем диапазоне изменения мощности. Порядок следования шагов может производиться в любом порядке, не оказывая влияния на характеристики снижения помех;
3) для всех импульсов запроса (P1, P3, P4) амплитуда должна быть одинаковой и находиться в пределах, соответствующих наименьшему из значений +/- 2 дБ, или 1/2 от номинального приращения на шаг. Допустимое отклонение ИРА должно соответствовать наименьшему из значений +/- 2 дБ, или 1/4 номинального ИРА;
4) уровень запроса P1, P3, P4 наибольшей мощности должен быть таким, чтобы обеспечить достаточный охват в точках пересечения соседних лучей диаграммы направленности антенны. Для 4-лучевой диаграммы направленности антенны эффективная излучаемая мощность запроса наибольшей мощности должна быть не менее 52 дБм;
5) уровень импульса подавления S1 относительно предыдущих импульсов запроса должен быть в пределах +/- 0,5 дБ от разности между значением приращения на шаг и значением ИРА;
6) MTL каждого запроса должен соответствовать мощности запроса, для того чтобы поддерживать баланс между характеристиками наблюдения по линии связи "вверх" и "вниз";
7) при установке значения MTL-приемника необходимо исходить из того, что ответы на все запросы поступают от всенаправленной антенны. При использовании антенны с направленной диаграммой значения MTL должны быть скорректированы на компенсацию этого усиления в антенне;
8) несмотря на то что порядок шагов последовательности не имеет значения, в том случае когда последовательность в результате ограничения помех сокращается, шаги должны исключать в порядке снижения мощности.
д) Критерии определения последовательности "низкого/высокого уровня"
Оборудование БСПС II в каждом цикле запросов должно осуществлять выбор соответствующей подпоследовательности сигналов "низкого/высокого уровня" для каждого сектора диаграммы направленности антенны на основе фактического или прогнозируемого уровня синхронных помех ответов режима C в этом секторе, основываясь на следующих критериях:
1) подпоследовательность сигналов "низкого/высокого уровня" в условиях высокой плотности воздушного движения выбирается в тех случаях, когда в данном секторе имеют место синхронные помехи, на что указывает присутствие по крайней мере одного, имеющего низкий уровень достоверности, бита кода абсолютной высоты в двух последовательных ответах в режиме C;
2) подпоследовательность сигналов "низкого/высокого уровня" в условиях низкой плотности выбирается для сектора диаграммы направленности антенны, если:
- признак достоверности C1 в ответе установлен в "0", и в пределах дальности наблюдения находится не более одного ВС, оборудованного ответчиком режима C, или:
- признак достоверности
C1 в ответе установлен в "0", и признак сравнения по дальности
Tc установлен в "0", и плотность ВС, оснащенных ответчиком режима C, удовлетворяет соотношению

.
Приведенные параметры критериев определяются:
- как признак достоверности для некоторой позиции импульса C1 в ответе устанавливается низким ("0") во всех случаях, когда существует другой принимаемый ответ, который может иметь импульс в пределах +/- 0,121 мкс от этой же позиции. В противном случае признак достоверности устанавливается высоким ("1");
- признак сравнения по дальности Tc устанавливается в "1", если два ВС-Н, находящиеся в одном секторе диаграммы направленности, разнесены по дальности менее чем на 3,2 км (1,7 мили), что означает возможность синхронных помех. В противном случае Tc устанавливается в "0";
- плотность ВС, оснащенных ответчиком режимов RBS,

рассчитывают по соотношению

,
где NRBS - количество ВС в этой зоне;
rN - расстояние до наиболее удаленного ВС в зоне наблюдения, миля.
е) Наблюдение в зоне с ВС-Н, не оборудованными ответчиками режимов RBS
Оборудование БСПС не должно передавать цикл последовательности "низкого/высокого уровня", если в секторе наблюдения направленной или всенаправленной антенны отсутствуют ВС, оборудованные ответчиками режимов RBS. В этом случае оборудование БСПС должно передать единичный запрос в режиме C в данном секторе. Уровень мощности этого запроса и соответствующий ему MTL в секторе эквивалентны наибольшему допустимому уровню мощности, соответствующей подпоследовательности сигналов "низкого/высокого уровня" для условий высокой плотности, как это определено схемой ограничения помех (см.
рисунок 15). В случае ограничения уровня мощности в целях снижения помех уровень каждого единичного запроса и соответствующий ему уровень MTL снижаются на 1 дБ в порядке, установленном в колонке "Очередность ограничения помех" (см.
рисунки 14,
15).
Положение импульсов единичного запроса во времени показано на
рисунке 1, за исключением импульса подавления
S1, который не передается.
Оборудование БСПС II должно переключаться из режима передачи единичных запросов к последовательности сигналов "низкого/высокого уровня", соответствующей низкому уровню плотности, в одном из следующих случаев:
1) два последовательных ответа в режиме C коррелируются по дальности таким образом, что 2-й ответ появляется в пределах окна в 1524 м (5000 фут.), расположенного симметрично относительно либо измеренной дальности предыдущего ответа, либо смещения дальности от значения дальности предыдущего ответа на +/- 13 мкс;
2) установленная траектория в режиме C или траектория в режиме C, которая находится в процессе обнаружения, перемещается в данный сектор из другого сектора диаграммы направленности антенны.
БСПС переключается обратно на единичные запросы после 10 интервалов обновления данных наблюдения, при которых не были получены два коррелирующих ответа обнаружения.
Примечание - Многолучевое распространение может приводить к смешиванию ответов в режиме A и режиме C от ВС-Н, разделенных интервалами в 13 мкс.
8.3 Требования к бортовым системам предупреждения столкновений при работе в режиме C
8.3.1 Признаком приема сигналов режима C должно быть обнаружение пары координатных импульсов между фронтами, интервал которых должен составлять (20,3 +/- 0,121) мкс. Сигнал должен быть отклонен при одном из следующих условий:
- если интервал между координатными импульсами превышен на величину не менее чем 0,242 мкс;
- если один из координатных импульсов появляется в пределах 0,242 мкс от координатных импульсов предыдущей принятой посылки;
- если ширина любого координатного импульса не более 0,242 мкс.
8.3.2 Информационный импульс принимается, если длительность его фронта находится в пределах 0,121 мкс относительно фронта первого координатного импульса. Информационный импульс должен быть отклонен при одном из следующих условий:
- если длительность фронта составляет не менее чем 0,242 мкс;
- если ширина любого импульса не более чем 0,242 мкс.
8.3.3 Аппаратура БСПС II должна правильно обнаруживать и определять время прихода по крайней мере трех действительных перекрывающихся ответов режима C.
8.4 Требования к бортовым системам предупреждения столкновений при работе в режиме S
8.4.1 Признаком приема сигналов режима S должно быть обнаружение преамбулы. Преамбула принимается при выполнении следующих условий:
- если амплитуда каждого из четырех импульсов преамбулы по меньшей мере на 75% их номинальной длительности превышает уровень чувствительности приемника;
- если 2, 3 и 4-й импульсы находятся в пределах +/- 0,125 мкс от своих номинальных позиций относительно 1-го импульса;
- если два из четырех импульсов имеют длительности фронтов в пределах +/- 0,125 мкс.
8.5 Требования к антеннам
8.5.1 Антенны БСПС должны соответствовать требованиям
[4].
8.5.2 Антенны должны быть общими для приемных и передающих трактов.
8.5.3 При поступлении признака неисправности антенно-фидерной системы выдача сигнала на неисправную антенну производиться не должна.
8.6 Требования к ответчику, связанному с бортовыми системами предупреждения столкновений
8.6.1 Ответчик режима S, входящий в состав БСПС, должен обеспечивать прием сигналов запроса в форматах UF = 0; 4; 5; 11; 16; 20; 21 и передачу ответов в форматах DF = 0; 4; 5; 11; 16; 17; 20; 21.
8.6.1.1 Ответчик режима S должен передавать самогенерируемые сигналы форматов DF = 11, DF = 17. Период передачи короткого самогенерируемого сигнала формата DF = 11 составляет 0,8... 1,2 с. Период передачи удлиненного самогенерируемого сигнала формата DF = 17 должен быть: 0,4... 0,6 с или 4,8... 5,2 с, или 9,8... 10,2 с в зависимости от местоположения ВС и состава передаваемой информации.
8.6.2 Ответчик режима S должен поддерживать работу в режиме RBS.
8.6.3 Процессор БСПС должен получать от ответчика режима S следующие данные и сигналы:
- 24-битный адрес ВС ИКАО;
- код режима A;
- барометрическую высоту ВС от основного источника высоты для режима S, если указано, что передается грубая высота, БСПС должна округлять до 30 м (100 фут.);
- шаг квантования барометрической высоты (точное - не более 10 фут., грубое - более 10 фут.).
Примечание - Для БСПС должны поступать данные о высоте с наилучшим доступным шагом квантования.
8.7 Требования по взаимодействию с бортовыми системами
Аппаратура БСПС должна осуществлять взаимодействие с бортовыми системами в соответствии с требованиями ТЗ на конкретную аппаратуру БСПС.
8.8 Требования к органам управления
8.8.1 Число и сложность органов управления должны быть сведены к минимуму.
8.8.2 Органы управления, которые не предназначены для использования во время полета, не должны быть легкодоступными для членов летного экипажа.
8.8.3 Исполнение органов управления, используемых в полете, не должно допускать возможности непреднамеренного изменения их положения или смену режимов работы БСПС.
8.8.4 Все возможные положения их сочетания и последовательности переключения, доступные пилоту органов управления, не должны приводить к состоянию, способному повлиять на работу оборудования или безопасность полета ВС.
8.8.5 Летный экипаж в любое время должен знать текущий режим работы оборудования.
8.8.6 Должны быть предусмотрены как минимум следующие функции ручного управления для летного экипажа:
1) выбор режима "TA/RA", при котором уровни чувствительности выбирают на основе данных барометрической высоты своего ВС автоматически или вручную;
2) выбор режима "ТОЛЬКО TA", при котором могут выдаваться только консультативные сообщения, касающиеся ВС, но не рекомендации по разрешению конфликта. Если выбран режим "ТОЛЬКО TA", логика БСПС выбирает соответствующий уровень чувствительности с помощью других вводных данных, таких как барометрическая высота и радиовысота;
3) выбор режима контроля.
8.9 Требования к индикации
8.9.1 На индикаторе БСПС должна отображаться как минимум следующая информация:
1) рекомендации по разрешению конфликта;
2) отказ БСПС;
3) текущий режим работы БСПС;
4) блокировка оборудования или функции БСПС, выполненная автоматически или летным экипажем;
5) информация о воздушном движении;
6) консультативные сообщения, касающиеся по крайней мере трех ВС, включая расстояние, высоту и направление конфликтующих ВС.
8.9.2 На индикаторе БСПС должны быть отображены курсовая шкала и окружности дальности.
8.9.3 Символ собственного ВС должен быть белого цвета, располагаться неподвижно в средней части экрана и отступать от нижнего края экрана на одну треть от высоты экрана.
8.9.4 Символы наблюдаемых ВС должны отображаться на соответствующих им удалениях и пеленгах. Продольная ось ВС должна быть вертикальной и совпадать по направлению с индексом отсчета на курсовой шкале.
8.9.5 ВС-Н должны отображаться в виде следующих четырех типов символов в зависимости от степени опасности:
1) "НЕ ОПАСНО" - ромб с контуром белого или голубого цвета, без заливки;
2) "БЛИЗКО" - ромб белого или голубого цвета;
3) "TA" - круг желтого или янтарного цвета;
4) "RA" - квадрат красного цвета.
8.9.6 Каждый символ может состоять из трех частей, как показано на
рисунке 16, на котором обозначены следующие элементы:
- 1 - тип-символ в виде определенной геометрической фигуры и цвета;
- 2 - стрелка (справа от типа-символа), показывающая перемещение ВС-Н вверх или вниз (стрелка индицируется, если вертикальная скорость превышает 2,5 м/с, цвет стрелки совпадает с цветом типа-символа);
- 3 - счетчик высоты ВС-Н относительно собственного самолета в сотнях футов или в километрах. Счетчик отображается выше типа-символа со знаком "+", если ВС-Н выше собственного самолета. Счетчик отображается ниже типа символа со знаком "-", если конфликтное ВС ниже собственного ВС. Цвет счетчика высоты совпадает с цветом типа-символа. Запись "-17" ("-0,52") обозначает, что конфликтное ВС находится ниже собственного ВС на 0,520 км (1700 фут.).
Рисунок 16 - Условное обозначение
воздушного судна-нарушителя
8.9.7 В том случае, если ответчик ВС-Н не выдает информацию о высоте, на индикаторе должен отображаться символ ВС-Н без индикации его высоты. В данном случае высота ВС-Н принимается БСПС равной высоте собственного ВС.
8.9.8 Если от вычислителя БСПС поступает информация о конфликтных ВС группы опасности TA и RA, которые находятся за пределами выбранного масштаба дальности, то такие ВС должны отображаться в виде половины символа.
8.10 Требования к звуковому и голосовому оповещению экипажа об отображаемой информации
8.10.1 БСПС должна выдавать звуковое и голосовое оповещение экипажа об отображаемой информации.
8.10.2 Выдачу звуковой сигнализации в БСПС необходимо осуществлять исключительно с помощью голосовых предупреждений.
8.10.3 Звуковое предупреждение должно производиться при выдаче первой RA в конфликтной ситуации и каждый раз, когда отображается последующее изменение рекомендации (повышение или понижение значимости рекомендации).
8.10.4 Звуковое предупреждение также должно выдаваться для объявления, что собственное ВС вышло из конфликта с представляющим угрозу ВС-Н. Используемые звуковые предупреждения приведены в таблице 20.
Таблица 20
Звуковые предупреждения, выдаваемые
бортовыми системами предупреждения столкновений
Голосовое предупреждение | Условие выдачи |
TRAFFIC, TRAFFIC | Вероятно возникновение конфликтной ситуации |
CLIMB, CLIMB | ВС-Н находится ниже собственного ВС |
DESCEND, DESCEND | ВС-Н находится выше собственного ВС |
CLIMB, CROSSING CLIMB CLIMB, CROSSING CLIMB | ВС-Н находится в снижении и выше ВС, и фактическая траектория полета пересекается с траекторией ВС-Н |
DESCEND, CROSSING DESCEND DESCEND CROSSING DESCEND | ВС-Н находится в наборе высоты и ниже данного самолета, и фактическая траектория полета пересекается с траекторией ВС-Н |
LEVEL OFF, LEVEL OFF | Необходимо скорректировать вертикальную скорость |
CLIMB, CLIMB NOW CLIMB, CLIMB NOW | Обычно следует после сигнализации DESCEND, когда необходимо срочно изменить вертикальную скорость на противоположное направление |
DESCEND, DESCEND NOW DESCEND, DESCEND NOW | Обычно следует после сигнализации CLIMB, когда необходимо срочно изменить вертикальную скорость на противоположное направление |
INCREASE CLIMB INCREASE CLIMB | Следует после сигнализации CLIMB, когда необходимо увеличить вертикальную скорость набора высоты |
INCREASE DESCENT INCREASE DESCENT | Следует после сигнализации DESCEND, когда необходимо увеличить вертикальную скорость снижения |
MONITOR VERTICAL SPEED | Изменение текущего профиля может приводить к конфликтной ситуации |
MAINTAIN VERTICAL SPEED, MAINTAIN | Возникновение конфликтной ситуации, при которой необходимо точно выдерживать вертикальную скорость |
MAINTAIN VERTICAL SPEED, CROSSING MAINTAIN | Возникновение конфликтной ситуации, при которой необходимо точно выдерживать вертикальную скорость с предупреждением о пересечении фактической траектории с ВС-Н |
CLEAR OF CONFLICT | После расхождения с ВС-Н |
SYSTEM TCAS TEST OK | - |
TCAS SYSTEM TEST FAIL | - |
8.10.5 Предупреждение может быть прервано до его завершения, если логическая схема предупреждения столкновений определяет, что должно быть выдано предупреждение с более высоким уровнем приоритета.
8.10.6 Предупреждения для RA обратного значения и RA на увеличение вертикальной скорости указывают на то, что ранее объявленная RA изменила значение на обратное или была усилена соответственно. Эти предупреждения должны произноситься в неотложном порядке.
8.10.7 Звуковые предупреждения должны автоматически подавляться предупреждениями, которые выдаются имеющими более высокий приоритет системами предупреждения о сдвиге ветра в режимах предсказания и реагирования, системами предупреждения о близости земли и предотвращения столкновения с рельефом GPWS/TAWS, а также подавляться ниже барометрической высоты, определяемой логической схемой предупреждения столкновений.
8.10.8 Когда действует предупреждение от имеющей более высокий приоритет системы, БСПС автоматически должна быть переведена в режим работы "ТОЛЬКО TA".
8.10.9 Когда сначала выдается TA, один раз должно быть выдано голосовое предупреждение "TRAFFIC-TRAFFIC". Когда по окончании конфликта RA в отношении ВС-Н переходит в TA, звуковое предупреждение об этом не выдается.
8.10.10 Голосовое предупреждение "TRAFFIC-TRAFFIC" должно предшествовать предупреждению, связанному с выдачей RA.
9.1 Требования живучести и стойкости к внешним воздействующим факторам
9.1.1 БСПС по характеристикам стойкости, прочности и устойчивости к ВВФ должна соответствовать требованиям
[5].
9.2 Требования радиоэлектронной защиты
9.2.1 БСПС должна нормально функционировать и не создавать помех в условиях совместной работы с аппаратурой объектов УВД и РТО аэродромов государственной и гражданской авиации.
9.2.2 Уровень напряжения индустриальных помех в сети электропитания, а также напряженность поля, создаваемые оборудованием, входящим в состав БСПС, вне зоны антенн должны соответствовать требованиям
[5].
| | ИС МЕГАНОРМ: примечание. Текст дан в соответствии с официальным текстом документа. | |
9.2.3 В аппаратуре БСПС быть предусмотрены меры защиты от внешних помех в соответствии с требованиями
[5].
9.3 Требования к электропитанию
9.3.1 Электропитание изделия должно осуществляться бортовой системой электроснабжения (СЭС) постоянного тока с номинальным напряжением 27 В или переменного тока с номинальным напряжением 115 В и номинальной постоянной частотой 400 Гц.
9.3.2 БСПС должна соответствовать требованиям, предъявляемым к приемникам II категории по
ГОСТ Р 54073.
9.3.3 При нестабильной или аварийной работе СЭС и перерывах электропитания требования к характеристикам БСПС не предъявляются. После восстановления нормальной работы СЭС БСПС должна быть работоспособной.
9.4 Требования надежности
9.4.1 БСПС должна обеспечивать непрерывное функционирование в течение времени полета.
9.4.2 Среднее время наработки на отказ БСПС, выявленный в полете и на земле, должно быть не менее чем 2000 ч.
9.4.3 Среднее время наработки на отказ БСПС в полете должно быть не менее чем 7000 ч.
9.4.4 Назначенный календарный срок службы аппаратной части БСПС должен быть не менее 15 лет.
9.5 Требования безопасности
9.5.1 Конструкция оборудования БСПС должна обеспечивать защиту обслуживающего персонала от поражения электрическим током.
9.5.2 Оборудование БСПС должно быть безопасным при хранении, транспортировании, служебном обращении во всех условиях эксплуатации.
9.5.3 Основные требования безопасности и особенности эксплуатации БСПС должны быть изложены в виде специальных табличных надписей, размещаемых в местах, удобных для чтения.
9.6 Конструктивные требования
9.6.1 Блоки изделия должны быть выполнены в виде базовых несущих 2-го уровня конструкций по
ГОСТ Р 51623.
9.7 Требования технологичности
9.7.1 Конструкция вновь разрабатываемых устройств и приборов в составе БСПС должна обеспечивать серийное производство, технологичность сборки и взаимозаменяемость блоков, узлов и деталей.
9.7.2 Конструкторско-технологические решения должны позволять использование перспективной технологии, серийно-выпускаемого и унифицированного оборудования и комплектующих, а также применение перспективных технологических процессов.
9.8 Требования технического обслуживания и ремонта
9.8.1 В пределах назначенного календарного срока службы для БСПС должна быть предусмотрена эксплуатация по состоянию.
9.8.2 Все виды оперативно-технического обслуживания необходимо выполнять с помощью встроенной системы контроля (ВСК) без применения наземных средств контроля.
9.8.3 Изделие должно иметь средства ВСК, обеспечивающие контроль работоспособности в полете.
9.8.4 Должен быть реализован автоматический контроль работоспособности при включении электропитания.
9.8.5 Настройка и регулировка при замене конструктивно-сменного блока не допускаются.
9.8.6 Загрузку программного обеспечения и считывание данных с постоянных запоминающих устройств следует выполнять без демонтажа изделия с объекта установки и вскрытия корпуса.
| RTCA DO-185 Спецификация минимальных требований к бортовому оборудованию системы предупреждения столкновений воздушных судов (БСПС), 1983 год |
| RTCA DO-185A Спецификация минимальных требований к системе предупреждения столкновений воздушных судов (БСПС II), 1997 год |
| RTCA DO-185B Спецификация минимальных требований к системе предупреждения столкновений воздушных судов (БСПС II), 2008 год |
| EUROCAE ED-143 Спецификация минимальных требований к системе предупреждения столкновений воздушных судов (БСПС II), 2008 год |
| RTCA DO-160G Условия окружающей среды и процедуры испытаний бортового оборудования, 2014 год |