Главная // Актуальные документы // ГОСТ Р (Государственный стандарт)
СПРАВКА
Источник публикации
М.: Стандартинформ, 2020
Примечание к документу
Документ введен в действие с 01.07.2021.

Взамен ГОСТ Р 51623-2000.
Название документа
"ГОСТ Р 51623-2020. Национальный стандарт Российской Федерации. Конструкции базовые несущие радиоэлектронных средств. Система построения и координационные размеры"
(утв. и введен в действие Приказом Росстандарта от 24.11.2020 N 1149-ст)


"ГОСТ Р 51623-2020. Национальный стандарт Российской Федерации. Конструкции базовые несущие радиоэлектронных средств. Система построения и координационные размеры"
(утв. и введен в действие Приказом Росстандарта от 24.11.2020 N 1149-ст)


Содержание


Утвержден и введен в действие
Приказом Федерального агентства
по техническому регулированию
и метрологии
от 24 ноября 2020 г. N 1149-ст
НАЦИОНАЛЬНЫЙ СТАНДАРТ РОССИЙСКОЙ ФЕДЕРАЦИИ
КОНСТРУКЦИИ БАЗОВЫЕ НЕСУЩИЕ РАДИОЭЛЕКТРОННЫХ СРЕДСТВ
СИСТЕМА ПОСТРОЕНИЯ И КООРДИНАЦИОННЫЕ РАЗМЕРЫ
Mechanical structure designs of electronic
equipment. Construction system and coordinating sizes
ГОСТ Р 51623-2020
Группа Э02
ОКС 31.240
ОКСТУ 6703
Дата введения
1 июля 2021 года
Предисловие
1 РАЗРАБОТАН Обществом с ограниченной ответственностью "Научно-технический центр технологической стандартизации и сертификации" (ООО "Авангард-ТехСт"), Открытым акционерным обществом "Авангард" (ОАО "Авангард")
2 ВНЕСЕН Техническим комитетом по стандартизации ТК 420 "Базовые несущие конструкции, печатные платы, сборка и монтаж электронных модулей"
3 УТВЕРЖДЕН И ВВЕДЕН В ДЕЙСТВИЕ Приказом Федерального агентства по техническому регулированию и метрологии от 24 ноября 2020 г. N 1149-ст
4 ВЗАМЕН ГОСТ Р 51623-2000
Правила применения настоящего стандарта установлены в статье 26 Федерального закона от 29 июня 2015 г. N 162-ФЗ "О стандартизации в Российской Федерации". Информация об изменениях к настоящему стандарту публикуется в ежегодном (по состоянию на 1 января текущего года) информационном указателе "Национальные стандарты", а официальный текст изменений и поправок - в ежемесячном информационном указателе "Национальные стандарты". В случае пересмотра (замены) или отмены настоящего стандарта соответствующее уведомление будет опубликовано в ближайшем выпуске ежемесячного информационного указателя "Национальные стандарты". Соответствующая информация, уведомление и тексты размещаются также в информационной системе общего пользования - на официальном сайте Федерального агентства по техническому регулированию и метрологии в сети Интернет (www.gost.ru)
1 Область применения
Настоящий стандарт распространяется на базовые несущие конструкции первого (БНК1), второго (БНК2) и третьего (БНК3) уровней разукрупнения радиоэлектронных средств (далее - РЭС) и устанавливает систему построения и координационные размеры, обеспечивающие их конструктивную совместимость.
2 Нормативные ссылки
В настоящем стандарте использованы нормативные ссылки на следующие стандарты:
ГОСТ Р 51676 Конструкции несущие базовые радиоэлектронных средств. Термины и определения.
ГОСТ Р 52003 Уровни разукрупнения радиоэлектронных средств. Термины и определения.
ГОСТ Р МЭК 60297-3-101 Конструкции несущие базовые радиоэлектронных средств. Блочные каркасы и связанные с ними вставные блоки. Размеры конструкций серии 482,6 мм (19 дюймов)
ГОСТ Р МЭК 60297-3-102-2006 Конструкции несущие базовые радиоэлектронных средств. Рукоятка инжектора-экстрактора. Размеры конструкций серии 482,6 мм (19 дюймов)
ГОСТ Р МЭК 60297-3-103-2006 Конструкции несущие базовые радиоэлектронных средств. Система ключей и ловитель для установки. Размеры конструкций серии 482,6 мм (19 дюймов)
ГОСТ Р МЭК 60297-3-104-2009 Конструкции несущие базовые радиоэлектронных средств. Размеры блочных каркасов и вставных блоков, зависящие от серии применяемых разъемов. Размеры конструкций серии 482,6 мм (19 дюймов)
ГОСТ Р МЭК 60917-1 Модульный принцип построения базовых несущих конструкций для электронного оборудования. Часть 1. Общий стандарт.
ГОСТ Р МЭК 60917-2 Модульный принцип построения базовых несущих конструкций для электронного оборудования. Часть 2. Секционный стандарт. Координационные размеры для несущих конструкций с шагом 25 мм
ГОСТ Р МЭК 60917-2-1 Модульный принцип построения базовых несущих конструкций для электронного оборудования. Часть 2. Секционный стандарт. Координационные размеры интерфейса для несущих конструкций с шагом 25 мм. Раздел 1. Детальный стандарт. Размеры шкафов и стоек
ГОСТ Р МЭК 60917-2-2 Модульный принцип построения механических конструкций для радиоэлектронных средств. Часть 2. Секционный стандарт. Координационные размеры интерфейса для несущих конструкций с шагом 25 мм. Раздел 2. Детальный стандарт. Размеры блочных каркасов, шасси, объединительных плат, передних панелей и вставных блоков
ГОСТ Р МЭК 60917-2-3 Конструкции несущие базовые радиоэлектронных средств. Координационные размеры интерфейса для базовых несущих конструкций с шагом 25 мм. Размеры для блочных каркасов, шасси, объединительных плат, передних панелей и вставных блоков
Примечание - При пользовании настоящим стандартом целесообразно проверить действие ссылочных стандартов в информационной системе общего пользования - на официальном сайте Федерального агентства по техническому регулированию и метрологии в сети Интернет или по ежегодному информационному указателю "Национальные стандарты", который опубликован по состоянию на 1 января текущего года, и по выпускам ежемесячного информационного указателя "Национальные стандарты" за текущий год. Если заменен ссылочный стандарт, на который дана недатированная ссылка, то рекомендуется использовать действующую версию этого стандарта с учетом всех внесенных в данную версию изменений. Если заменен ссылочный стандарт, на который дана датированная ссылка, то рекомендуется использовать версию этого стандарта с указанным выше годом утверждения (принятия). Если после утверждения настоящего стандарта в ссылочный стандарт, на который дана датированная ссылка, внесено изменение, затрагивающее положение, на которое дана ссылка, то это положение рекомендуется применять без учета данного изменения. Если ссылочный стандарт отменен без замены, то положение, в котором дана ссылка на него, рекомендуется применять в части, не затрагивающей эту ссылку.
3 Термины, определения и сокращения
3.1 В настоящем стандарте применены термины по ГОСТ Р 51676, ГОСТ Р 52003, а также следующие термины с соответствующими определениями:
3.1.1 несущая конструкция (equipment practice): Механическая конструкция в виде корпуса, предназначенная для электронных и электромеханических систем. Обеспечивает совместимость между механическими деталями, электрическими межблочными соединениями и электронными компонентами.
3.1.2 модульный принцип (modular order): Набор правил, устанавливающих соотношение между координационными размерами и базовым шагом, кратными шагами и монтажными шагами, которые нужно использовать в оборудовании.
3.1.3 координационный размер (coordination dimension): Базовый размер, используемый для координации механических интерфейсов. Не является производственным размером с допуском.
Примечание - Фактический внешний размер механической конструкции, связанный с координационным размером, может только уменьшаться.
3.1.4 размер проема (aperture dimension): Специальный координационный размер для используемого пространства между элементами (структурными частями).
Примечание - Фактический внутренний размер проема может только увеличиваться.
3.1.5 множитель; n (n): Множитель, имеющий значения целого числа в области значений 1, 2, 3 и т.д.
3.1.6 базовый шаг; (p) (base pitch): Наименьшее расстояние между смежными линиями сетки, используемыми в несущих конструкциях.
3.1.7 кратный шаг; (Mp) (multiple pitch): Целое число, кратное базовому шагу.
3.1.8 монтажный шаг (mp) (mounting pitch): Шаг, используемый для компоновки деталей или сборки в данном пространстве.
Номинальное значение монтажного шага получают на основании базового или кратного шага, умноженного на коэффициент F из таблицы 1.
Таблица 1
Координационные размеры Ci
Координационные размеры Ci, мм, Ci = pF
Коэффициент
F
Базовый шаг
p = 0,5 мм
Кратные шаги
p = 2,5 мм
p = 25 мм
40,0
200
2000
80
36,0
180
1800
72
32,0
160
1600
64
30,0
150
1500
60
25,0
125
-
50
24,0
120
1200
48
20,0
100
1000
40
16,0
80,0
800
32
15,0
75,0
-
30
12,5
-
-
25
12,0
60,0
600
24
10,0
50,0
500
20
8,0
40,0
400
16
7,5
-
-
15
6,0
30,0
300
12
5,0
25,0
250
10
4,0
20,0
200
8
3,0
15,0
150
6
2,5
12,5
125
5
2,0
10,0
100
4
1,5
7,5
75
3
1,0
5,0
50
2
0,5
2,5
25
1
Примечание - В случае необходимости можно расширить серию Ci = 25F до больших размеров, например 2200 мм, 2400 мм
Фактические размеры, используемые в несущих конструкциях, выбраны на основании номинального монтажного шага и включают в себя производственные допуски.
3.1.9 базовая плоскость (reference plane): Теоретическая плоскость без толщины или допусков, используемая для определения пространства.
3.1.10 сетка (grid): Двух- или трехмерная компоновка шагов, используемая для координации положения, соответствующая модульному принципу.
3.1.11 модуль (module): Трехмерная конструкция, где все стороны представляют собой целые кратные числа шага. Ее можно также использовать в двумерной сетке.
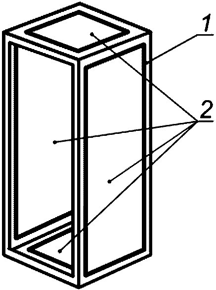
3.1.12 стойка (rack): Незакрепленная или закрепленная конструкция для размещения электрического или электронного оборудования (см. рисунок 1).
Пример 1
Пример 2
Пример 3
1 - передняя панель; 2 - блочный каркас
Рисунок 1 - Примеры исполнения стоек
3.1.13 шкаф (cabinet): Незакрепленный или самонесущий корпус для размещения электрического и/или электронного оборудования. Как правило, он оснащен дверями и/или боковыми панелями, которые могут быть съемными или несъемными (см. рисунок 2).
Рисунок 2 - Пример исполнения шкафа
3.1.14 блочный каркас (subrack): Конструктивный блок для размещения печатных плат с установленными компонентами и вставных блоков (см. рисунок 3).
Рисунок 3 - Пример исполнения блочного каркаса
3.1.15 вставной блок (plug-in unit): Блок, вставляемый в блочный каркас и поддерживаемый направляющими. Данные блоки могут быть различных типов - от печатной платы с установленными компонентами до рамы или частичного блочного каркаса с разъемом (см. рисунок 4).
Рисунок 4 - Примеры исполнения вставного блока
3.1.16 пульт (console): Корпус, размещаемый на столе или стоящий на полу, имеющий горизонтальные, вертикальные и/или наклонные плоскости для размещения аппаратуры управления, информационных и контрольных устройств (см. рисунок 5).
Рисунок 5 - Пример исполнения пульта
3.1.17 монтажная рама (mounting frame): Рамочная жестко установленная или перемещаемая конструкция из профилей внутри шкафов для размещения электронных/электрических устройств (см. рисунок 6).
1 - монтажная рама; 2 - электронные/электрические устройства
Рисунок 6 - Монтажная рама с электронными устройствами
3.1.18 монтажная плата (mounting plate): Плата для размещения электронных/электрических устройств, расположенных, например, внутри шкафов (см. рисунок 7).
1 - монтажная плата; 2 - электронные/электрические
устройства
Рисунок 7 - Монтажная плата
3.1.19 лицевая панель (front panel): Панель, располагающаяся на вертикальной монтажной поверхности шкафов и стоек (см. рисунок 8).
Рисунок 8 - Лицевая панель
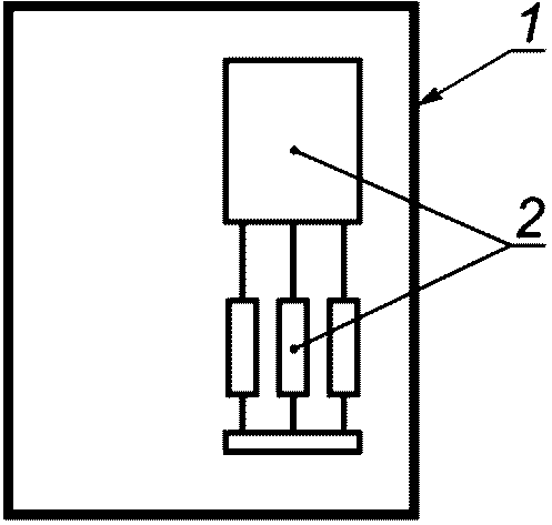
3.1.20 объединительная плата (backplane): Монтажная плата для разъемов и печатных плат для создания электрических межблочных соединений (см. рисунок 9).
1 - объединительная плата; 2 - разъем
Рисунок 9 - Объединительная плата с разъемами
3.1.21 обшивка шкафа (cabinet panel): Часть конструкции шкафа, предназначенная для защиты от случайного прикосновения и влияния окружающей среды (см. рисунок 10).
1 - шкаф; 2 - обшивка шкафа
Рисунок 10 - Расположение обшивок шкафа
3.1.22 дверь (door): Подвешенная на петли панель шкафа, оснащенная, как правило, защелкивающимися и/или запирающимися устройствами (см. рисунок 11).
1 - шкаф; 2 - дверь
Рисунок 11 - Пример установки двери в шкафу
3.1.23 шаг (pith): Один шаг деления периодически разделенной координаты (см. рисунок 12).
Рисунок 12 - Шаги координатных линий
3.1.24 сетка (grid): Прямоугольная компоновка теоретических линий равных размеров (см. рисунок 13).
Рисунок 13 - Прямоугольная компоновка теоретических линий
3.1.25 корпус контейнера (авиационного): Несущая конструкция второго уровня переносного типа, предназначенная для размещения в ней ячеек, электрорадиоизделий и деталей.
3.1.26 контейнер (авиационный): Конструктивно и функционально законченное РЭС в виде переносного блока, имеющее самостоятельное эксплуатационное значение.
3.1.27 корпус моноблока: Несущая конструкция третьего уровня с повышенными требованиями к жесткости, прочности и электромагнитной совместимости, предназначенная для размещения в ней приборов и блоков и позволяющая создавать одно- или многосекционную конструкцию.
3.1.28 моноблок: Конструктивно и функционально законченное РЭС в виде нескольких приборов, ячеек и блоков, имеющее самостоятельное эксплуатационное назначение, размещаемое в специальном корпусе, выполненном на основе несущей конструкции третьего уровня (корпус моноблока).
3.2 В настоящем стандарте применены следующие сокращения:
БНК1 - базовые несущие конструкции первого уровня;
БНК2 - базовые несущие конструкции второго уровня;
БНК3 - базовые несущие конструкции третьего уровня;
КД - конструкторская документация;
ПП - печатная плата;
РЭС - радиоэлектронные средства;
ЭМ1 - электронный модуль первого уровня;
ЭМ2 - электронный модуль второго уровня;
ЭМ3 - электронный модуль третьего уровня.
4 Система построения базовых несущих конструкций
4.1 Назначение базовых несущих конструкций
4.1.1 БНК применяют в РЭС, построенных по модульному принципу. Они предназначены для обеспечения:
- конструктивной совместимости;
- размерной взаимозаменяемости по габаритам и монтажным размерам (фиксирующие отверстия, контуры и т.д.) электронных модулей;
- рационального использования площади и объема носителей;
- технологичности конструкций.
Модульный принцип конструирования базовых несущих конструкций устанавливает стандарт ГОСТ Р МЭК 60917-1. Модульный принцип применим к основным размерам структуры базовых несущих конструкций, установленных в различных сооружениях, где должны предусматриваться взаимосвязанные размеры.
4.2 Конструктивные уровни разукрупнения базовых несущих конструкций и их взаимосвязь
4.2.1 Система построения и входимости БНК по ГОСТ Р 51676 и ГОСТ Р 52003 предусматривает три уровня разукрупнения: БНК1, БНК2 и БНК3 (рисунок 14).
1, 2 - ячейки; 3 - корпус блока; 4 - блочный каркас;
5 - корпус вставного блока; 6 - корпус блока (авиационного);
7 - корпус контейнера (авиационного); 8 - корпус шкафа;
9 - корпус пульта; 10 - корпус моноблока; 11 - корпус шкафа
для выдвижной стойки; 12 - выдвижная стойка
Рисунок 14 - Система построения и входимости БНК
4.2.2 Схема построения РЭС может быть двух видов:
- двухуровневая (ячейка-шкаф; блок-шкаф);
- трехуровневая (ячейка-блок-шкаф; ячейка-контейнер-рама и т.д.).
4.3 Базовые несущие конструкции первого уровня
4.3.1 БНК1 предназначены для создания электронных модулей первого уровня (ЭМ1) - ячеек и вставных блоков цифровых и аналоговых РЭС, модулей от НЧ до СВЧ диапазона, а также модулей системы вторичного электропитания и управления. Для всех видов модулей применяют типовые электрические соединители, обеспечивающие заданные требования к РЭС. Допускается установка дополнительных электрических соединителей на передних панелях БНК1, возможна установка волоконно-оптических соединителей.
4.3.2 БНК1 может быть каркасного и бескаркасного типа. БНК1 может иметь защитный электромагнитный экран, радиатор и корпус, в том числе в герметичном исполнении.
4.3.3 БНК1 устанавливают в конструкции более высокого уровня разукрупнения по направляющим: в блочный каркас (БНК2) или в корпус шкафа (БНК3) - параллельно боковым стенкам.
4.3.4 Координационные размеры БНК1 определяются размерами печатной платы (ПП). По модульному принципу размеры БНК1 могут превышать размеры ПП на значение, кратное 2,5 мм в метрической системе координат, и кратное 2,54 мм в дюймовой системе координат.
4.4 Базовые несущие конструкции второго уровня
4.4.1 БНК2 предназначены для создания электронных модулей второго уровня (ЭМ2).
Конструктивной основой БНК2 является блочный каркас монолитный или в виде сборочной единицы, как правило разборной, состоящей из боковых стенок или рам, соединенных стяжками, в основном из алюминиевых профилей.
4.4.2 Блочный каркас служит для размещения в нем ЭМ1 - ячеек и (или) вставных блоков на основе БНК1 и является промежуточным конструктивным уровнем между БНК1 и БНК3. Для крепления в БНК3 с помощью винтов на лицевых сторонах вертикальных профилей в блочном каркасе имеются боковые монтажные фланцы. Для установки ЭМ2 повышенной массы и для более жестких условий эксплуатации применяются типовые и унифицированные дополнительные детали крепежной арматуры. По ширине блочный каркас занимает весь проем БНК3 и может быть разделен перегородками на отсеки. В отсеки по направляющим устанавливают вставные блоки, ширина которых меньше проема БНК3 и (или) ячейки (в один или два ряда по высоте).
4.4.3 Корпус вставного блока служит для защиты функционально законченного электронного модуля первого уровня от внешних воздействий, в том числе для обеспечения электромагнитной совместимости и нормального теплового режима. Характерной особенностью корпуса вставного блока является наличие передней (лицевой) и задней панелей, а также фиксирующих элементов (кодовых штырей, ловителей и т.п.). Передняя панель служит для размещения элементов индикации и управления, элементов электрических и (или) оптоэлектронных соединений и т.п. В зависимости от условий эксплуатации элементы крепления могут быть винтовыми, либо в виде замков. Задняя панель служит для размещения элементов электрических и (или) оптоэлектронных соединений.
4.4.4 Настольные, переносные и авиационные бортовые моноблоки (БНК3) создают путем размещения конструктивной основы БНК2 в соответствующие корпуса или кожухи.
4.4.5 Корпус блока бортовых авиационных РЭС состоит из сборных или монолитных конструкций и предназначен для размещения ячеек, электрорадиоизделий и прочих деталей. Корпус блока имеет кожух или входит в состав более крупных РЭС, имеющих конструктивную или иную защиту от внешних воздействий.
4.4.6 Основой электрических соединений ЭМ1 в БНК2 являются соединительные ПП, в том числе многослойные, и кабельные соединения, а также другие соединительные устройства на базе новых технологий.
При агрегатировании БНК2 в составе РЭС электрические соединения между ними осуществляются преимущественно плоскими кабелями.
4.4.7 Координационные размеры БНК2 определяются размерами БНК1 и БНК3.
4.5 Базовые несущие конструкции третьего уровня
4.5.1 БНК3 предназначены для создания ЭМ3.
4.5.2 Конструктивную основу БНК3 составляют вертикальные и горизонтальные профили, а также допускается использовать межэтажные перегородки и рамы с направляющими для установки БНК1 и БНК2.
4.5.3 К БНК3 относят стойки, корпуса шкафов, пультов, моноблоков, стеллажи, тумбы, секции, приборные столы и монтажные рамы.
4.5.4 Стойка представляет собой конструкцию на основе вертикальных профилей с элементами межэтажного разделения (рамы, профили, уголковые направляющие и т.п.), а также с боковыми стенками, в некоторых случаях - и задней стенкой. Ячейки и вставные блоки крепят через лицевые панели к элементам межэтажных перекрытий стойки.
4.5.5 Корпус шкафа отличается от стойки наличием передней, а в некоторых случаях - и задней двери с уплотняющими прокладками.
В случае необходимости естественной вентиляции в корпусе шкафа применяют перфорацию, а для принудительного охлаждения используют блоки вентиляторов и теплообменники.
4.5.6 Корпус пульта характеризуется наличием вертикальных, горизонтальных и наклонных панелей, соответствующих требованиям эргономики в системе оператор-машина, а также специальных приборных панелей для размещения элементов индикации, контроля, управления и отображения информации.
4.5.7 Стеллаж представляет собой стойку без задней и боковых стенок, имеющую сплошные горизонтальные перегородки для установки блоков в настольном и переносном исполнении.
4.5.8 Тумба является фрагментом шкафа, на верхней плоскости которой может быть размещено переносное оборудование.
4.5.9 Секция является фрагментом секционной стойки или секционного стеллажа.
4.5.10 Приборный стол состоит из одной или нескольких тумб, соединенных со столешницей.
4.5.11 Монтажная рама - рамочная конструкция из профилей для размещения электронных/электрических устройств.
4.5.12 Для удобства перемещения БНК3 могут быть снабжены колесами.
4.5.13 Электрические соединения между ЭМ3 осуществляют, как правило, с помощью плоских кабелей.
4.5.14 Наружные координационные размеры БНК3 определяются параметрами носителя.
5 Координационные размеры базовых несущих конструкций
5.1 Общие положения
5.1.1 Система построения БНК основывается на унификации координационных, установочных и присоединительных размеров, при этом определяющим фактором является выбор модульной сетки и размерных модулей для БНК.
5.1.2 Координационные размеры БНК по высоте H, ширине B и длине (глубине проема для установки) L соответствуют однородной метрической или дюймовой трехмерной модульной сетке. Монтажные шаги используются как основа для определения координационных размеров интерфейса несущих конструкций для электронного оборудования.
5.1.3 В качестве базовых приняты размерные модули:
- для метрической модульной сетки в соответствии с ГОСТ Р МЭК 60917-1 базовый шаг 0,5 мм, монтажные шаги равны 2,5 мм (для координационных размеров БНК1 и присоединительных размеров БНК всех уровней) и 25,0 мм (для координационных размеров БНК2 и БНК3);
ИС МЕГАНОРМ: примечание.
В официальном тексте документа, видимо, допущена опечатка: имеется в виду серия ГОСТ Р МЭК 60297, а не ГОСТ Р МЭК 60927.
- для дюймовой модульной сетки согласно стандартам серии ГОСТ Р МЭК 60927 монтажный шаг равен 2,54 мм (для координационных размеров БНК1 и присоединительных размеров БНК всех уровней), монтажный шаг по высоте равен 1U = 44,45 мм = 1,75 дюйма, монтажный шаг по горизонтали HP = 5,08 мм (горизонтальный проем блочного каркаса условно поделен на 84 горизонтальных шага).
Данные две системы базовых размерных модулей создают оптимальные условия для применения автоматизированных методов на всех стадиях проектирования и производства РЭС.
5.1.4 Все координационные размеры БНК кратны размерным модулям. Точки крепления элементов БНК, а также их установочные и присоединительные размеры должны находиться в узлах координационной сетки соответствующего размерного модуля.
5.2 Общая компоновка блока
5.2.1 Типовой блочный каркас с возможностью установки задних и передних вставных блоков показан на рисунке 15.
1 - типовой блочный каркас с возможностью вставки ячеек
двухрядного расположения и вставных блоков однорядного
размещения; 2 - вставной блок в кожухе, устанавливаемый
сзади; 3 - ячейка в виде печатной платы, устанавливаемая
спереди; 4 - вставной блок в кожухе, устанавливаемый спереди
Рисунок 15 - Общая компоновка блока
5.2.2 Координационные размеры интерфейса обеспечивают координацию (совместимость) блочных каркасов БНК2 со шкафами и стойками (БНК3), с одной стороны, и с ячейками и вставными блоками (БНК1), с другой стороны.
5.3 Координационные размеры базовых несущих конструкций в метрической модульной сетке
5.3.1 Координационные размеры интерфейса для несущих конструкций с шагом 25 мм применительно к шкафам и стойкам в метрической модульной сетке должны соответствовать ГОСТ Р МЭК 60917-2-1, в котором даны размерные ряды габаритных размеров и высоты, ширины и глубины проемов шкафов и стоек для размещения блочных каркасов (БНК2).
5.3.2 Координационные размеры интерфейса для несущих конструкций с шагом 25 мм применительно к блочным каркасам, шасси, объединительным платам, передним панелям и вставным блокам должны соответствовать ГОСТ Р МЭК 60917-2-2 и ГОСТ Р МЭК 60917-2-3, в которых даны размерные ряды, обеспечивающие их взаимозаменяемость.
ГОСТ Р МЭК 60917-2-3 должны соответствовать:
- дополнительные размеры для блочных каркасов и связанных с ними вставных блоков с рукояткой инжектора/экстрактора;
- размеры для основных средств электромагнитного экранирования;
- размеры ловителя для установки на передней панели и вставного блока;
- размеры средств защиты от электростатического разряда;
- размеры вставных блоков, монтируемых на заднюю поверхность.
Для обеспечения совместимости вставных блоков в блочном каркасе определены контрольные размеры и размеры, зависящие от разъемов.
5.4 Координационные размеры базовых несущих конструкций в дюймовой модульной сетке
5.4.1 Координационные размеры интерфейса в дюймовой модульной сетке для несущих конструкций серии 482,6 мм (19 дюймов) должны соответствовать ГОСТ Р МЭК 60297-3-101, в котором приведены основные размеры модульного ряда блочных каркасов и связанных с ними вставных блоков в соответствии со стандартами серии ГОСТ Р МЭК 60297.
Координационные размеры должны соответствовать ГОСТ Р МЭК 60297-3-101:
- блочного каркаса с передней и задней стороны;
- вставных блоков в виде печатной платы, устанавливаемых спереди;
- вставных блоков с кожухом, устанавливаемых спереди;
- вставных блоков в виде печатных плат, устанавливаемых сзади;
- блочных каркасов и вставных блоков, оснащенных средствами электромагнитного экранирования;
- блочных каркасов, оснащенных средствами защиты от электростатического разряда.
5.4.2 Дополнительные размеры рукояток инжектора-экстрактора, используемые в блочных каркасах и вставных блоках должны соответствовать ГОСТ Р МЭК 60297-3-102.
Установочные размеры компоновок на основе координационных размеров интерфейса в дюймовой модульной сетке должны соответствовать ГОСТ Р МЭК 60297-3-102-2006:
- компоновка лицевой панели с установленными рукоятками инжектора-экстрактора типа A (раздел 4);
- сопрягающиеся размеры блочного каркаса для лицевой панели с установленными рукоятками инжектора-экстрактора типа A (раздел 5);
- сопрягающиеся размеры вставного блока с печатной платой для лицевой панели с установленными рукоятками инжектора-экстрактора типа A (раздел 6);
- компоновка печатной платы с установленными рукоятками инжектора-экстрактора типа B (раздел 7);
- сопрягающиеся размеры блочного каркаса для печатной платы с установленными рукоятками инжектора-экстрактора типа B (раздел 8);
- размеры печатной платы с установленными рукоятками инжектора-экстрактора типа B (раздел 9).
5.4.3 ГОСТ Р МЭК 60297-3-103 должны соответствовать блочные каркасы и связанные с ними вставные блоки в части дополнительных сопрягающихся размеров ловителя и системы ключей, используемых в блочных каркасах и вставных блоках.
ГОСТ Р МЭК 60297-3-103-2006 (раздел 4) должна соответствовать общая компоновка системы ключей в блочном каркасе и вставных блоках в дюймовой модульной сетке, в том числе:
- размеры блочного каркаса для установки системы ключей;
- размеры вставного блока для установки системы ключей;
- размеры ключей;
- кодирование ключей;
- установочные размеры гнезд для установки системы ключей.
ГОСТ Р МЭК 60297-3-103-2006 (раздел 5) дюймовой модульной сетке должна соответствовать общая компоновка центрирующего ловителя для установки и/или обеспечения электрического контакта вставного блока с блочным каркасом, в том числе:
- положение гнезда для установки центрирующего ловителя и/или обеспечения электрического контакта в направляющей блочного каркаса для вставных печатных плат (шириной больше или равно 4x5,08 мм);
- установочные размеры для центрирующего ловителя вставных блоков и/или гнезд под ловитель в блочном каркасе;
- общая компоновка направляющей блочного каркаса и печатной платы, смещенной относительно базовой плоскости расположения на 2,54 мм.
5.4.4 ГОСТ Р МЭК 60297-3-104 должны соответствовать зависящие от серии применяемых разъемов размеры блочных каркасов и вставных блоков, соответствующих ГОСТ Р МЭК 60297-3-101.
ГОСТ Р МЭК 60297-3-104 должны соответствовать варианты конструкций с применением разъемов:
- на частоты до 3 МГц, предназначенные для применения с печатными платами, имеющими шаг координатной сетки 2,54 мм (0,1 дюйма);
- для печатных плат, имеющих распайку в виде шины в пять рядов по координатной сетке 2,54 мм;
- с координатной сеткой шагом 2,0 мм для печатных плат в соответствии с ГОСТ Р МЭК 60917-1.
5.4.5 ГОСТ Р МЭК 60297-3-104 должны соответствовать размеры блочных каркасов и вставных блоков при применении разъемов других серий посредством установления соотношения между монтажными шагами блочного каркаса и положением вставных блоков в виде печатной и объединительной плат.
5.4.6 Координационные размеры по глубине для типового блочного каркаса высотой 3U по ГОСТ Р МЭК 60297-3-101 должны соответствовать ГОСТ Р МЭК 60297-3-104-2009 (раздел 5).
5.4.7 Координационные размеры по глубине вставных блоков в виде печатной платы типа A или типа B по ГОСТ Р МЭК 60297-3-101, устанавливаемых спереди, при применении разъемов, указанных в пункте 5.4.4 должны соответствовать ГОСТ Р МЭК 60297-3-104-2009 (раздел 6).
5.4.8 ГОСТ Р МЭК 60297-3-104-2009 (раздел 7) должны соответствовать координационные размеры по глубине вставных блоков в виде печатной платы, устанавливаемых сзади в блочные каркасы типа A в соответствии с ГОСТ Р МЭК 60297-3-101, при применении разъемов:
- на частоты до 3 МГц, предназначенные для применения с печатными платами, имеющими шаг координатной сетки 2,54 мм (0,1 дюйма);
- для печатных плат, имеющих распайку в виде шины в пять рядов по координатной сетке 2,54 мм.
5.4.9 ГОСТ Р МЭК 60297-3-104-2009 (раздел 8) должны соответствовать координационные размеры по глубине вставных блоков в виде печатной платы, устанавливаемых сзади в блочные каркасы типа B по ГОСТ Р МЭК 60297-3-101, при применении разъемов серии с координатной сеткой шагом 2,0 мм для печатных плат в соответствии с ГОСТ Р МЭК 60917-1.
5.4.10 ГОСТ Р МЭК 60297-3-104-2009 (раздел 9) должны соответствовать координационные размеры по глубине вставных блоков в виде печатной платы для блочных каркасов типа A согласно ГОСТ Р МЭК 60297-3-101, при одновременном применении разъемов серий, указанных в пункте 5.4.4.
5.4.11 ГОСТ Р МЭК 60297-3-104-2009 (раздел 10) должны соответствовать координационные размеры по глубине вставных блоков в виде печатной платы для блочных каркасов типа B по ГОСТ Р МЭК 60297-3-101, при одновременном применении разъемов серий, указанных в пункте 5.4.4.
5.4.12 ГОСТ Р МЭК 60297-3-104-2009 (раздел 11) должны соответствовать координационные размеры объединительной платы по высоте и ширине при применении разъемов серий:
- на частоты до 3 МГц, предназначенные для применения с печатными платами, имеющими шаг координатной сетки 2,54 мм (0,1 дюйма);
- для печатных плат, имеющих распайку в виде шины в пять рядов по координатной сетке 2,54 мм.
5.5 Совмещение метрических и дюймовых несущих конструкций
При разработке РЭС допускается совместное использование в одном шкафу (или стойке) блоков (ЭМ2) как дюймового, так и метрического исполнения. С этой целью рекомендуется использовать специальные установочные фланцы (см. рисунок 16):
- для 19-дюймовых шасси, предназначенных к установке в метрические шкафы или стойки;
- для метрических шасси, предназначенных к установке в дюймовые шкафы или стойки.
1 - шкаф (для метрических модулей); 2 - блочный каркас
(для 19-дюймовых модулей); 3 - первая линия шага;
4 - опорная рейка; 5 - линии шага; 6 - присоединительный
фланец с метрическим отверстием, с метрическим расстоянием
между отверстиями в качестве соединителя между 19-дюймовыми
блочными каркасами или шасси и метрическими шкафами
или стойками
Рисунок 16 - Схема установки дюймового блочного
каркаса, выполненного по ГОСТ Р МЭК 60297-3-101 в шкафу
с метрическими размерами по ГОСТ Р МЭК 60917-2-1
УДК 621.396:69:006.354
ОКС 31.240.
Э02
ОКСТУ 6703
Ключевые слова: конструкции несущие базовые, радиоэлектронные средства, система построения, координационные размеры, метрическая система координат, дюймовая система координат