Главная // Актуальные документы // ПНСТ (Предварительный национальный стандарт)СПРАВКА
Источник публикации
М.: Стандартинформ, 2021
Примечание к документу
Документ утратил силу с 01.06.2024 в связи с истечением срока действия, установленного
Приказом Росстандарта от 05.02.2021 N 13-пнст.
Документ
введен в действие с 01.06.2021 на период по 01.06.2024 (
Приказ Росстандарта от 05.02.2021 N 13-пнст).
Название документа
"ПНСТ 532-2021. Предварительный национальный стандарт Российской Федерации. Системы космические. Композиты углерод-углеродные и керамоматричные. Определение кажущейся плотности и открытой пористости"
(утв. и введен в действие Приказом Росстандарта от 05.02.2021 N 13-пнст)
"ПНСТ 532-2021. Предварительный национальный стандарт Российской Федерации. Системы космические. Композиты углерод-углеродные и керамоматричные. Определение кажущейся плотности и открытой пористости"
(утв. и введен в действие Приказом Росстандарта от 05.02.2021 N 13-пнст)
Утвержден и введен в действие
по техническому регулированию
и метрологии
от 5 февраля 2021 г. N 13-пнст
ПРЕДВАРИТЕЛЬНЫЙ НАЦИОНАЛЬНЫЙ СТАНДАРТ РОССИЙСКОЙ ФЕДЕРАЦИИ
СИСТЕМЫ КОСМИЧЕСКИЕ
КОМПОЗИТЫ УГЛЕРОД-УГЛЕРОДНЫЕ И КЕРАМОМАТРИЧНЫЕ
ОПРЕДЕЛЕНИЕ КАЖУЩЕЙСЯ ПЛОТНОСТИ И ОТКРЫТОЙ ПОРИСТОСТИ
Space systems. Carbon-carbon and ceramic matrix composites.
Determination of apparent density and of open porosity
ПНСТ 532-2021
Срок действия
с 1 июня 2021 года
до 1 июня 2024 года
1 РАЗРАБОТАН Акционерным обществом "Композит" (АО "Композит") в составе рабочей группы: А.Н. Тимофеев, А.Э. Дворецкий, Р.В. Насыбулин, Е.А. Богачев, И.А. Тимофеев, В.С. Волков, В.А. Волкова, А.В. Шакин, Ю.Н. Затуранов
2 ВНЕСЕН Техническим комитетом по стандартизации ТК 321 "Ракетно-космическая техника"
3 УТВЕРЖДЕН И ВВЕДЕН В ДЕЙСТВИЕ
Приказом Федерального агентства по техническому регулированию и метрологии от 5 февраля 2021 г. N 13-пнст
Правила применения настоящего стандарта и проведения его мониторинга установлены ГОСТ Р 1.16-2011 (разделы 5 и 6).
Федеральное агентство по техническому регулированию и метрологии собирает сведения о практическом применении настоящего стандарта. Данные сведения, а также замечания и предложения по содержанию стандарта можно направить не позднее чем за 4 мес до истечения срока его действия разработчику настоящего стандарта по адресу: 141070 Королев, Московская область, Пионерская улица, д. 4 и/или в Федеральное агентство по техническому регулированию и метрологии по адресу: 123112 Москва, Пресненская набережная, д. 10, стр. 2.
В случае отмены настоящего стандарта соответствующая информация будет опубликована в ежемесячном указателе "Национальные стандарты", а также будет размещена на официальном сайте Федерального агентства по техническому регулированию и метрологии в сети Интернет (www.gost.ru)
Настоящий стандарт устанавливает метод определения кажущейся плотности и открытой пористости углерод-углеродных и керамоматричных композитов (далее - образец).
Настоящий метод определения кажущейся плотности и открытой пористости может быть использован для других типов материалов, если это установлено в нормативных документах или технической документации.
В настоящем стандарте использованы нормативные ссылки на следующие стандарты:
ГОСТ 12.4.021 Система стандартов безопасности труда. Системы вентиляционные. Общие требования
ГОСТ 166 (ИСО 3599-76) Штангенциркули. Технические условия
ГОСТ 427 Линейки измерительные металлические. Технические условия
ГОСТ 4643 Отходы потребления текстильные хлопчатобумажные сортированные. Технические условия
ГОСТ 4644 Отходы производства текстильные, хлопчатобумажные, сортированные. Технические условия
ГОСТ 6709 Вода дистиллированная. Технические условия
ГОСТ 17299 Спирт этиловый технический. Технические условия
ГОСТ 25336 Посуда и оборудование лабораторные стеклянные. Типы, основные параметры и размеры
ГОСТ 28498 Термометры жидкостные стеклянные. Общие технические требования. Методы испытаний
ГОСТ Р 8.568 Государственная система обеспечения единства измерений. Аттестация испытательного оборудования. Основные положения
Примечание - При пользовании настоящим стандартом целесообразно проверить действие ссылочных стандартов в информационной системе общего пользования - на официальном сайте Федерального агентства по техническому регулированию и метрологии в сети Интернет или по ежегодному информационному указателю "Национальные стандарты", который опубликован по состоянию на 1 января текущего года, и по выпускам ежемесячного информационного указателя "Национальные стандарты" за текущий год. Если заменен ссылочный стандарт, на который дана недатированная ссылка, то рекомендуется использовать действующую версию этого стандарта с учетом всех внесенных в данную версию изменений. Если заменен ссылочный стандарт, на который дана датированная ссылка, то рекомендуется использовать версию этого стандарта с указанным выше годом утверждения (принятия). Если после утверждения настоящего стандарта в ссылочный стандарт, на который дана датированная ссылка, внесено изменение, затрагивающее положение, на которое дана ссылка, то это положение рекомендуется применять без учета данного изменения. Если ссылочный стандарт отменен без замены, то положение, в котором дана ссылка на него, рекомендуется применять в части, не затрагивающей эту ссылку.
Определение кажущейся плотности и открытой пористости проводят методом гидростатического взвешивания образца для испытаний в заданной жидкости.
Кажущуюся плотность и открытую пористость определяют на основе значений массы образца до, во время и после погружения в жидкость для испытаний с использованием оснастки для гидростатического взвешивания и значений плотности жидкости.
Жидкость для испытаний, которая смачивает, но не растворяет образец для испытаний при температуре испытаний.
Пример - Спирт этиловый технический по ГОСТ 17299.
Жидкость для промывки.
Пример - Вода дистиллированная по ГОСТ 6709 при использовании спирта этилового технического по ГОСТ 17299.
5.1 Необходимая аппаратура:
- стол рабочий или лабораторный;
- шкаф сушильный, обеспечивающий температуру нагрева не менее 110 °C;
- шкаф вытяжной (при работе со спиртом);
- весы, обеспечивающие точность измерений не менее 0,0001 кг;
- оснастка для гидростатического взвешивания.
Требования к оснастке приведены в приложении А;
- инструмент универсальный измерительный (штангенциркуль по
ГОСТ 166 или линейка по
ГОСТ 427);
- эксикатор по
ГОСТ 25336 или аналогичный с возможностью размещения в нем образца для испытаний;
- секундомер марки "Агат" по
[1] или аналогичный.
5.2 Применяемые в настоящем методе средства измерений и контроля должны быть поверены в установленном порядке, а испытательное оборудование аттестовано по
ГОСТ Р 8.568.
6 Порядок отбора образцов и их количество
6.1 Порядок отбора образцов и их количество по определению кажущейся плотности и открытой пористости должен быть указан в нормативном документе или технической документации на поставку.
6.2 Требования к образцу
Образец должен быть размером не менее 0,015 x 0,015 x 0,015 м и (или) массой не менее 0,003 кг.
7.1 Подготовка к определению кажущейся плотности и открытой пористости
7.1.1 Определяют массу сухого образца mо после его сушки при температуре не менее 110 °C до постоянной массы в течение не менее 1800 с (30 мин), при этом:
- перед каждым взвешиванием образец охлаждают до температуры окружающей среды в эксикаторе;
- массу образца считают постоянной, если разница между результатами двух последовательных взвешиваний не более 0,5% массы сухого образца.
7.1.2 Определяют и контролируют массу проволоки mпр, используя весы, чтобы она была не менее чем в 100 раз меньше массы сухого образца mо.
7.1.3 Надежно закрепляют проволоку на образце.
7.2 Определение кажущейся плотности и открытой пористости
7.2.1 Устанавливают весы с чашкой, рамку подвеса с проволокой, емкость для жидкости и жидкость для испытаний в соответствии с требованиями
приложения А и опускают образец с проволокой в емкость для жидкости оснастки.
7.2.2 Наполняют емкость для жидкости оснастки жидкостью для испытаний так, чтобы образец был полностью погружен в нее и не касался ее дна и стенок.
Высота столба жидкости для испытаний над образцом должна быть выше на 0,05 м.
7.2.3 Удаляют пузырьки воздуха с поверхности образца, используя кисточку, или встряхивают его.
7.2.4 Выдерживают образец, закрепленный в оснастке с проволокой, в жидкости для испытаний в течение времени, необходимого для заполнения открытых пор.
Временем выдержки, необходимым для заполнения открытых пор, является время, в котором разница между результатами двух последовательных взвешиваний, производимых не ранее чем через 900 с (15 мин), - не более 0,5% массы сухого образца.
7.2.5 Определяют температуру и плотность жидкости в соответствии с требованиями нормативного документа.
7.2.6 Определяют массу насыщенного жидкостью для испытаний образца в емкости
mн.ж, используя весы, в соответствии с
рисунком А.1 приложения А.
7.2.7 Извлекают образец из жидкости и быстро снимают влажной (смоченной и отжатой) ветошью или кисточкой избыток жидкости для испытаний с его поверхности, не встряхивая его.
7.2.8 Определяют массу насыщенного жидкостью для испытаний образца на воздухе mн.в, используя весы.
7.2.9 Рассчитывают кажущуюся плотность и открытую пористость образца.
Кажущуюся плотность образца

, кг/м
3, вычисляют по формуле

, (1)
где mо - масса сухого образца, кг;
mн.в - масса насыщенного жидкостью для испытаний образца на воздухе, кг;
mн.ж - масса насыщенного жидкостью для испытаний образца в емкости, кг;

- плотность жидкости при температуре испытаний, кг/м
3.
Кажущуюся плотность образца указывают с точностью до второго знака после запятой.
Открытую пористость образца По, %, вычисляют по формуле

, (2)
где mн.в - масса насыщенного жидкостью для испытаний образца на воздухе, кг;
mо - масса сухого образца, кг;
mн.ж - масса насыщенного жидкостью для испытаний образца в емкости, кг.
Открытую пористость образца указывают с точностью до целого числа.
Погрешность методики: при доверительной вероятности 0,95 погрешность определения кажущейся плотности - 2%, открытой пористости - 2%.
7.3 Повторяют определение кажущейся плотности и открытой пористости до достижения требуемых значений пределов повторяемости и воспроизводимости.
7.4 Промывают образец в жидкости для промывки, если иное не указано в нормативных документах или технической документации на используемый образец.
7.5 Высушивают образец при температуре от 110 °C до 120 °C в течение не менее 1800 с (30 мин).
8.1 Кажущаяся плотность
8.1.1 Повторяемость (сходимость)
Расхождение между значениями последовательных определений, выполненных в короткий промежуток времени одним и тем же оператором на одном и том же оборудовании, на одном и том же образце, не должно превышать значений предела повторяемости r = 25 кг/м3.
8.1.2 Воспроизводимость
Расхождение между средними значениями от последовательных определений, полученных в двух разных испытательных центрах, использовавших данный метод, на одном и том же образце, не должно превышать значения предела воспроизводимости R = 45 кг/м3.
8.2 Открытая пористость
8.2.1 Повторяемость (сходимость)
Расхождение между значениями последовательных определений, выполненных в короткий интервал времени одним и тем же оператором на одном и том же оборудовании, на одном и том же образце, не должно превышать значение предела повторяемости r = 1%.
8.2.2 Воспроизводимость
Расхождение между средними значениями последовательных определений, полученных в двух разных испытательных центрах, использовавших данный метод на одном и том же образце, не должно превышать значения предела воспроизводимости R = 2%.
9 Требования безопасности
9.1 Эксплуатация электроустановок и электроприборов должна осуществляться в соответствии с нормативными документами.
9.2 Помещение для проведения испытания должно быть оборудовано вентиляцией в соответствии с
ГОСТ 12.4.021.
9.3 При проведении испытания необходимо выполнять требования безопасности в соответствии с нормативными документами на используемую жидкость для испытаний или промывки.
10 Оформление результатов испытания
Рекомендованная
форма оформления результатов определения кажущейся плотности и открытой пористости представлена в приложении Б.
(обязательное)
КОМПЛЕКТНОСТЬ И ТРЕБОВАНИЯ К ОСНАСТКЕ ДЛЯ ГИДРОСТАТИЧЕСКОГО
ВЗВЕШИВАНИЯ И СХЕМА ЕЕ СБОРКИ ДЛЯ ОПРЕДЕЛЕНИЯ КАЖУЩЕЙСЯ
ПЛОТНОСТИ И ОТКРЫТОЙ ПОРИСТОСТИ
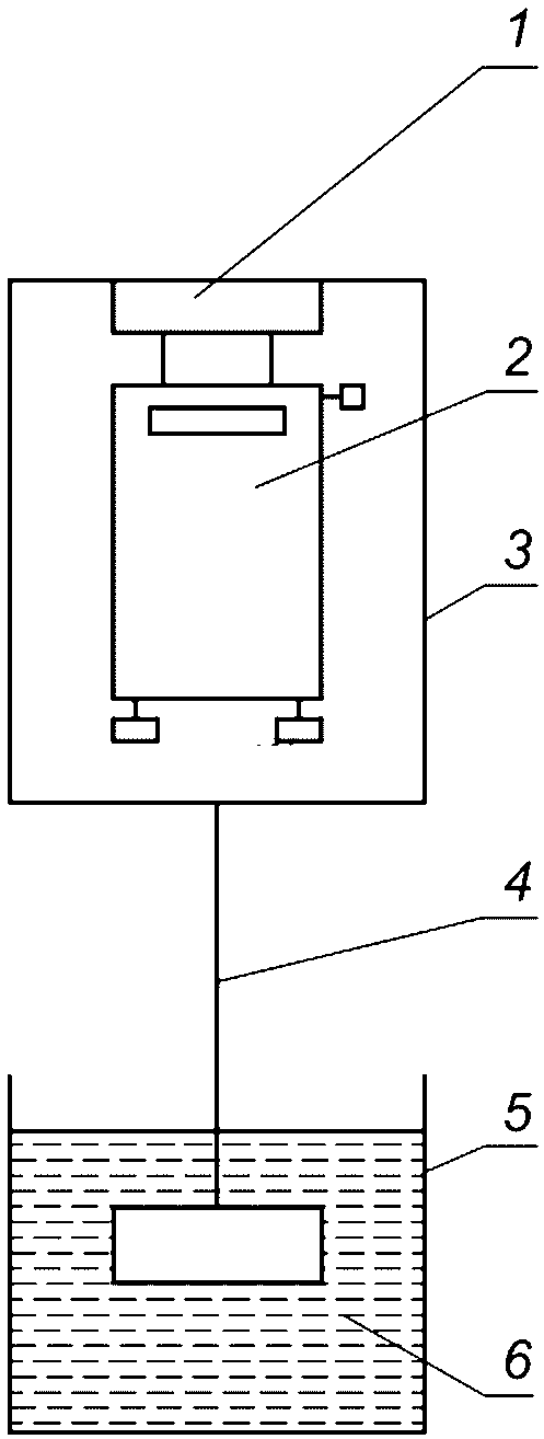
А.1 Комплектация оснастки для гидростатического взвешивания:
- весы с чашкой;
- рамка подвеса с проволокой;
- емкость для испытаний;
- жидкость для испытаний.
А.2 Требования к комплектации оснастки для гидростатического взвешивания
А.2.1 Проволока должна быть стойкой к используемой жидкости для испытаний, иметь массу не менее чем в 100 раз меньше массы образца, обеспечивать возможность жесткого закрепления и иметь возможность крепления к остальным частями оснастки в соответствии с
рисунком А.1. Допускается использовать нити вместо проволоки.
1 - чашка весов; 2 - весы; 3 - рамка подвеса;
4 - проволока с образцом для испытаний;
5 - емкость для жидкости; 6 - жидкость для испытаний
Рисунок А.1 - Схема сборки оснастки для определения
кажущейся плотности и открытой пористости и определения
массы насыщенного жидкостью для испытаний образца
с проволокой
А.2.2 Емкость для жидкости должна быть стойкой к используемой жидкости для испытаний и обеспечивать размещение в ней образца так, чтобы он был полностью погружен в жидкость для испытаний и не касался дна и стенок емкости, а высота столба жидкости для испытаний над образцом была выше на 0,05 м.
А.2.3 Рамка подвеса должна быть стойкой к используемой жидкости для испытаний.
(рекомендуемое)
ФОРМА ОФОРМЛЕНИЯ РЕЗУЛЬТАТОВ ОПРЕДЕЛЕНИЯ
КАЖУЩЕЙСЯ ПЛОТНОСТИ И ОТКРЫТОЙ ПОРИСТОСТИ
Наименование испытательного центра
ПРОТОКОЛ
от __________ N _____________
Б.1 Для определения кажущейся плотности и открытой пористости представлен (образец для испытаний): ____________________________________________
__________________________________________________________________
__________________________________________________________________
__________________________________________________________________
Б.2 Плотность и температура жидкости для испытаний: _________________
__________________________________________________________________
Б.3 Результаты определения
Наименование определяемого показателя | Значения определяемого показателя |
1 | 2 | 3 |
1 Масса сухого образца mо | | | |
2 Масса проволоки mпр | | | |
3 Масса насыщенного жидкостью для испытаний образца в емкости mн.ж | | | |
4 Масса насыщенного жидкостью для испытаний образца на воздухе mн.в | | | |
5 Кажущаяся плотность образца  | | | |
6 Открытая пористость образца По | | | |
Б.4 Полученные результаты:
- кажущаяся плотность образца

______________
- открытая пористость образца По = ______________
Б.5 Примечание: __________________________________________________
Исполнитель: | ____________ должность | ____________ личная подпись | ___________________ инициалы, фамилия |
[1] ТУ 25-1894.003-90 Секундомеры механические
УДК 667.63:063.354 | | |
Ключевые слова: композиты, композиты углерод-углеродные, композиты керамоматричные, системы космические, кажущаяся плотность, открытая пористость |