Главная // Актуальные документы // ПНСТ (Предварительный национальный стандарт)СПРАВКА
Источник публикации
М.: Стандартинформ, 2020
Примечание к документу
Документ утратил силу с 01.05.2023 в связи с истечением срока действия, установленного
Приказом Росстандарта от 17.03.2020 N 9-пнст.
Документ
введен в действие с 01.05.2020 на период по 01.05.2023 (
Приказ Росстандарта от 17.03.2020 N 9-пнст).
Название документа
"ПНСТ 398-2020. Предварительный национальный стандарт Российской Федерации. Дороги автомобильные общего пользования. Материалы вяжущие нефтяные битумные. Метод определения энергии деформации"
(утв. и введен в действие Приказом Росстандарта от 17.03.2020 N 9-пнст)
"ПНСТ 398-2020. Предварительный национальный стандарт Российской Федерации. Дороги автомобильные общего пользования. Материалы вяжущие нефтяные битумные. Метод определения энергии деформации"
(утв. и введен в действие Приказом Росстандарта от 17.03.2020 N 9-пнст)
Утвержден и введен в действие
агентства по техническому
регулированию и метрологии
от 17 марта 2020 г. N 9-пнст
ПРЕДВАРИТЕЛЬНЫЙ НАЦИОНАЛЬНЫЙ СТАНДАРТ РОССИЙСКОЙ ФЕДЕРАЦИИ
ДОРОГИ АВТОМОБИЛЬНЫЕ ОБЩЕГО ПОЛЬЗОВАНИЯ
МАТЕРИАЛЫ ВЯЖУЩИЕ НЕФТЯНЫЕ БИТУМНЫЕ
МЕТОД ОПРЕДЕЛЕНИЯ ЭНЕРГИИ ДЕФОРМАЦИИ
Automobile roads of general use. Petroleum-based bitumen
binders. The method for determining the yield energy
ПНСТ 398-2020
Срок действия
с 1 мая 2020 года
до 1 мая 2023 года
1 РАЗРАБОТАН Обществом с ограниченной ответственностью "Инновационный технический центр" (ООО "ИТЦ")
2 ВНЕСЕН Техническим комитетом по стандартизации ТК 418 "Дорожное хозяйство"
3 УТВЕРЖДЕН И ВВЕДЕН В ДЕЙСТВИЕ
Приказом Федерального агентства по техническому регулированию и метрологии от 17 марта 2020 г. N 9-пнст
Правила применения настоящего стандарта и проведения его мониторинга установлены в ГОСТ Р 1.16-2011 (разделы 5 и 6).
Федеральное агентство по техническому регулированию и метрологии собирает сведения о практическом применении настоящего стандарта. Данные сведения, а также замечания и предложения по содержанию стандарта можно направить не позднее чем за 4 мес до истечения срока его действия разработчику настоящего стандарта по адресу: tk418@bk.ru и/или в Федеральное агентство по техническому регулированию и метрологии по адресу: 109074 Москва, Китайгородский проезд, д. 7, стр. 1.
В случае отмены настоящего стандарта соответствующая информация будет опубликована в ближайшем выпуске ежемесячного информационного указателя "Национальные стандарты" и также будет размещена на официальном сайте Федерального агентства по техническому регулированию и метрологии в сети Интернет (www.gost.ru)
Настоящий стандарт распространяется на нефтяные битумные вяжущие материалы (далее - битумные вяжущие), предназначенные для использования в качестве вяжущего материала при строительстве, ремонте, капитальном ремонте и реконструкции нежестких дорожных одежд, и устанавливает метод определения энергии деформации битумных вяжущих.
Метод может быть использован для исходного битумного вяжущего, для состаренного битумного вяжущего по
ГОСТ 33140, для состаренного битумного вяжущего по
ГОСТ Р 58400.5 и для состаренных битумных вяжущих по альтернативным методикам.
В настоящем стандарте использованы нормативные ссылки на следующие стандарты:
ГОСТ 12.1.004 Система стандартов безопасности труда. Пожарная безопасность. Общие требования
ГОСТ 12.1.007 Система стандартов безопасности труда. Вредные вещества. Классификация и общие требования безопасности
ГОСТ 12.1.019 Система стандартов безопасности труда. Электробезопасность. Общие требования и номенклатура видов защиты
ГОСТ 12.1.044 Система стандартов безопасности труда. Пожаровзрывоопасность веществ и материалов. Номенклатура показателей и методы их определения
ГОСТ 12.4.252 Система стандартов безопасности труда. Средства индивидуальной защиты рук. Перчатки. Общие технические требования. Методы испытаний
ГОСТ 33137 Дороги автомобильные общего пользования. Битумы нефтяные дорожные вязкие. Метод определения динамической вязкости ротационным вискозиметром
ГОСТ 33140 Дороги автомобильные общего пользования. Битумы нефтяные дорожные вязкие. Метод определения старения под воздействием высокой температуры и воздуха (метод RTFOT)
ГОСТ Р 58400.5 Дороги автомобильные общего пользования. Материалы вяжущие нефтяные битумные. Метод старения под действием давления и температуры (PAV)
ГОСТ Р 58400.6 Дороги автомобильные общего пользования. Материалы вяжущие нефтяные битумные. Метод определения упругих свойств при многократных сдвиговых нагрузках (MSCR) с использованием динамического сдвигового реометра (DSR)
ГОСТ Р 58400.10 Дороги автомобильные общего пользования. Материалы вяжущие нефтяные битумные. Метод определения свойств с использованием динамического сдвигового реометра (DSR)
Примечание - При пользовании настоящим стандартом целесообразно проверить действие ссылочных стандартов в информационной системе общего пользования - на официальном сайте Федерального агентства по техническому регулированию и метрологии в сети Интернет или по ежегодному информационному указателю "Национальные стандарты", который опубликован по состоянию на 1 января текущего года, и по выпускам информационного указателя "Национальные стандарты" за текущий год. Если заменен ссылочный стандарт, на который дана недатированная ссылка, то рекомендуется использовать действующую версию этого стандарта с учетом всех внесенных в данную версию изменений. Если заменен ссылочный стандарт, на который дана датированная ссылка, то рекомендуется использовать версию этого стандарта с указанным выше годом утверждения (принятия). Если после утверждения национального стандарта в ссылочный стандарт, на который дана датированная ссылка, внесено изменение, затрагивающее положение, на которое дана ссылка, то это положение рекомендуется применять без учета данного изменения. Если ссылочный стандарт отменен без замены, то положение, в котором дана ссылка на него, рекомендуется применять в части, не затрагивающей эту ссылку.
3.1
битумное вяжущее (bitumen binder): Органический вяжущий материал, производимый из продуктов переработки нефти с добавлением при необходимости органических модифицирующих добавок. |
4 Требования к средствам измерений, вспомогательным устройствам, материалам и реактивам
4.1 При выполнении испытаний применяют следующие средства измерений, вспомогательные устройства и реактивы:
- реометр динамического сдвига (DSR) или вискозиметр;
- шпатель для обрезки образца при использовании испытательных систем типа "плита - плита";
- растворитель уайт-спирит для очистки элементов испытательной системы по
ГОСТ 3134.
Примечание - Допускается использовать другой растворитель, обеспечивающий удаление остатков битумного вяжущего с элементов испытательной системы;
- сушильный шкаф, способный обеспечивать поддержание необходимой температуры с погрешностью не более 5 °C;
- формы из силикона для подготовки образцов битумного вяжущего, выполненные в форме цилиндра высотой (6 +/- 1) мм и внешним диаметром не менее 35 мм при использовании испытательных систем типа "плита - плита". В форме должно быть предусмотрено цилиндрическое углубление диаметром (18,0 +/- 0,5) мм и глубиной (2,0 +/- 0,1) мм - для испытательной системы с диаметром 25 мм; диаметром (8,0 +/- 0,5) мм и глубиной (2,5 +/- 0,1) мм - для испытательной системы с диаметром 8 мм.
Примечание - Допускается использование форм размерами, отличными от указанных выше.
4.1.1 Реометр динамического сдвига (DSR) или ротационный вискозиметр состоит из следующих элементов:
а) испытательная система типа "плита - плита" либо типа "цилиндр в цилиндре" при использовании реометра динамического сдвига (DSR). испытательная система типа "цилиндр в цилиндре" при использовании ротационного вискозиметра.
Испытательная система типа "плита - плита" (рисунок 1) состоит из плит в виде двух дисков одинакового диаметра из нержавеющей стали или алюминия, высотой не менее 1,5 мм. Применяются плиты диаметром (25,00 +/- 0,05) мм, (8,00 +/- 0,02) мм и (4,00 +/- 0,01) мм.
1 - верхний диск (подвижный); 2 - нижний диск (неподвижный)
Рисунок 1 - Схема испытательной системы
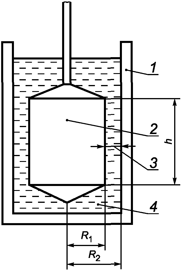
Испытательная система типа "цилиндр в цилиндре", состоящая из соосно расположенных подвижного цилиндрического валика (шпинделя) внутри неподвижного цилиндрического контейнера (цилиндра), обеспечивает отношение радиусов 1,3 >= R2/R1 >= 1,07, зазор между рабочими поверхностями валика и контейнера (испытательный зазор) от 0,4 до 6 мм и высоту рабочей поверхности валика не менее R2. Пример испытательной системы (тип "цилиндр в цилиндре") представлен на рисунке 2.
1 - цилиндр; 2 - шпиндель; 3 - испытательный зазор;
4 - образец; R1 - радиус шпинделя; R2 - внутренний радиус
цилиндра; h - высота рабочей поверхности шпинделя
Рисунок 2 - Пример испытательной системы
(тип "цилиндр в цилиндре")
Примечание - Размеры испытательной системы типа "цилиндр в цилиндре" (R1, R2, h) должны быть определены с погрешностью не более 0,1 мм;
б) устройство, способное воспроизводить и поддерживать необходимую температуру в области испытаний (предельно допустимая погрешность воспроизведения и поддержания температуры - 0,3 °C);
в) устройство деформации, способное создавать сдвиговые напряжения для обеспечения сдвиговой деформации образца с необходимой скоростью деформации с погрешностью 3% в минуту;
г) система сбора и регистрации данных, обеспечивающая определение и регистрацию:
- значений деформации (

, %) с разрешением до 0,1% каждые 2 с;
- температуры испытаний с абсолютной погрешностью измерений не более 0,1 °C;
- угла отклонения с абсолютной погрешностью измерений не более 100 мкрад;
- вращающего момента с погрешностью измерений не более 1%;
- времени с точностью 0,03 с.
Допускается подтверждение метрологических характеристик устройства нагружения и системы сбора и регистрации данных реометра динамического сдвига (DSR) с применением стандартных образцов вязкости. Расхождение значений динамической или комплексной вязкости, полученных на реометре динамического сдвига (DSR), и аттестованных значений стандартного образца вязкости не должно превышать 3%. Оценку проводят с использованием не менее двух различных стандартных образцов вязкости. Испытания каждого образца проводят не менее чем при двух температурах испытаний.
Оценку метрологических характеристик следует проводить не реже, чем один раз в год.
5 Требования безопасности и охраны окружающей среды
Битумы согласно
ГОСТ 12.1.007 относятся к 4-му классу опасности, являются малоопасными веществами по степени воздействия на организм человека.
При выполнении измерений соблюдают правила по электробезопасности по
ГОСТ 12.1.019 и инструкции по эксплуатации оборудования.
Битумы согласно
ГОСТ 12.1.044 относятся к трудногорючим жидкостям. Работы с применением битумов следует проводить с соблюдением требований пожарной безопасности по
ГОСТ 12.1.004.
Испытанный материал утилизируют в соответствии с рекомендациями предприятия-изготовителя, указанными в стандарте организации на материал.
6 Требования к условиям испытаний
При выполнении измерений соблюдают следующие условия для помещений, в которых испытывают образцы:
- температура (23 +/- 3) °C;
- относительная влажность (55 +/- 15)%.
7 Подготовка к выполнению испытаний
7.1 При подготовке к выполнению испытаний проводят следующие работы:
- подготовка к испытаниям;
- подготовка образцов.
7.2 Подготовка к испытаниям
Включают оборудование и устанавливают настройки, необходимые для проведения испытаний согласно инструкции предприятия - изготовителя оборудования.
7.3 Подготовка образцов
Подготовку образца выполняют в соответствии с
ГОСТ Р 58400.10 при использовании испытательных систем типа "плита - плита" или в соответствии с
ГОСТ 33137 при испытаниях с применением испытательных систем типа "цилиндр в цилиндре".
8 Порядок выполнения испытаний
Для испытаний применяется система типа "плита - плита" диаметром 8 мм с испытательным зазором 2 мм.
Примечание - Допускается применение испытательных систем типа "плита - плита" других типоразмеров, испытательных систем типа "цилиндр в цилиндре", а также применение других испытательных зазоров, если это необходимо для выполнения требований соответствующих нормативных документов.
Для проведения испытаний оборудование и образец подготавливают в соответствии с
разделом 7.
Устанавливают необходимую температуру испытания и выдерживают образец в течение (10,0 +/- 0,1) мин для установления температурного равновесия.
Подготовленный образец испытывают при температуре испытания путем приложения сдвигового напряжения таким образом, чтобы образец деформировался с постоянной скоростью (средняя скорость деформации 138,9% в минуту) за (20,00 +/- 0,02) мин до значения деформации (2778 +/- 1)%. Напряжение сдвига (

, Па) и деформацию (

, %) регистрируют не реже чем каждые две секунды.
По полученным значениям определяют максимальное напряжение сдвига (

, Па) и соответствующую деформацию (

, %).
9 Обработка результатов испытаний
При обработке результатов испытаний используют данные, полученные в соответствии с
разделом 8.
За растяжимость (
L, %) принимается значение деформации

при максимальном напряжении сдвига

.
Энергию деформации вычисляют как площадь под графиком зависимости напряжения (

, Па) от деформации (

, %) (далее - площадь под графиком), от нуля до значения деформации

, соответствующей максимальному напряжению сдвига

.
Площадь под графиком (
Ai-1), Па, от нуля до первой точки (

,

) вычисляют по формуле

, (1)
где

- напряжение сдвига, Па;

- деформация, %.
Вычисляют площадь под графиком до первой точки (

,

) до точки максимального напряжения сдвига (

,

) как сумму трапециевидных областей между точками.
Энергию деформации E, Па, вычисляют по формуле

, (2)
N - количество точек измерений;

- напряжение сдвига, Па;

- деформация, %.
Результатами испытаний являются значение растяжимости (L, %), округленное до целого значения, и значение энергии деформации (E, МПа), округленное до первого десятичного знака.
10 Оформление результатов испытаний
По результатам испытания оформляют документ, который должен содержать следующую информацию:
- идентификацию испытуемого образца;
- дату проведения испытания;
- название организации, проводившей испытание;
- ссылку на настоящий стандарт и отклонения от его требований;
- идентификацию испытательного оборудования;
- тип и геометрические размеры применяемых испытательных систем, мм;
- испытательный зазор, мм;
- температуру испытания с точностью 0,1 °C;
- максимальное напряжение сдвига

, кПа;
- растяжимость
L, %, и деформацию при максимальном напряжении сдвига

, %;
- энергию деформации E, МПа.
Примечание - В отчете указывают только результаты проведенных испытаний.
11 Контроль точности результата испытания
Точность результата испытания обеспечивается:
- соблюдением требований настоящего стандарта;
- проведением периодической аттестации оборудования.
Лицо, проводящее испытания, должно быть ознакомлено с требованиями настоящего стандарта.
УДК 625.856:006.354 | |
Ключевые слова: напряжение сдвига, битумное вяжущее, деформация, растяжимость, энергия деформации |