Главная // Актуальные документы // ПисьмоСПРАВКА
Источник публикации
М.: Госстрой России, ГУП ЦПП, 1998
Примечание к документу
Введен в действие с 1 мая 1998 года.
Название документа
"СП 12-101-98. Технические правила производства наружной теплоизоляции зданий с тонкой штукатуркой по утеплителю"
(одобрен и введен в действие Письмом Госстроя РФ от 19.03.1998 N БЕ-19-8/14)
"СП 12-101-98. Технические правила производства наружной теплоизоляции зданий с тонкой штукатуркой по утеплителю"
(одобрен и введен в действие Письмом Госстроя РФ от 19.03.1998 N БЕ-19-8/14)
Одобрен и введен в действие
Письмом Госстроя РФ
от 19 марта 1998 г. N БЕ-19-8/14
СИСТЕМА НОРМАТИВНЫХ ДОКУМЕНТОВ В СТРОИТЕЛЬСТВЕ
СВОД ПРАВИЛ ПО ПРОЕКТИРОВАНИЮ И СТРОИТЕЛЬСТВУ
ТЕХНИЧЕСКИЕ ПРАВИЛА ПРОИЗВОДСТВА НАРУЖНОЙ ТЕПЛОИЗОЛЯЦИИ
ЗДАНИЙ С ТОНКОЙ ШТУКАТУРКОЙ ПО УТЕПЛИТЕЛЮ
TECHNICAL RULES FOR PRODUCTION OF EXTERNAL THERMAL
INSULATION OF BUILDINGS WITH THIN PLASTER APPLIED
ON INSULATION
СП 12-101-98
1. Разработан Акционерным обществом открытого типа "Опытный завод сухих смесей" и Управлением строительной индустрии и строительных материалов Госстроя России с участием Управления стандартизации, технического нормирования и сертификации Госстроя России.
Внесен Управлением строительной индустрии и строительных материалов Госстроя России.
2. Утвержден Акционерным обществом открытого типа "Опытный завод сухих смесей" (Приказ N 57 от 01.03.1998).
3. Одобрен и введен в действие Письмом Госстроя России от 19.03.1998 N БЕ-19-8/14 с 1 мая 1998 года.
4. Введен впервые.
Технические правила производства наружной теплоизоляции зданий с тонкой штукатуркой по утеплителю разработаны в соответствии с Системой нормативных документов в строительстве (
СНиП 10-01-94) и носят рекомендательный характер. При их разработке использованы современные достижения науки, техники и технологии, отечественный и зарубежный опыт.
Учитывая новизну этого способа производства работ, в Своде правил устанавливают общие требования к элементам наружной теплоизоляции зданий и технологическим процессам производства работ по ее устройству.
В
Приложении А даны наиболее распространенные технологические схемы производства работ и контролируемые параметры элементов этого покрытия.
Одновременно предусматривается самостоятельность предприятий и организаций в выборе способов, конструктивных схем и уровня теплозащиты здания, что должно решаться на стадии разработки проектно-сметной документации и утверждения ее в установленном порядке.
Настоящие Технические правила по устройству наружной теплоизоляции зданий с тонкой штукатуркой по утеплителю (далее - Правила) предназначены для повышения теплозащиты наружных ограждающих конструкций жилых и общественных зданий и сооружений, выполненных из бетонов, кирпича и естественного камня с целью приведения их в соответствие с требованиями
СНиП II-3-79* "Строительная теплотехника" (с Изменением N 3, утвержденным Постановлением Госстроя России от 11.08.1995 N 18-81 и Изменением N 4, утвержденным
Постановлением Госстроя России от 19.01.1998 N 18-8).
В настоящих Правилах использованы ссылки на следующие документы:
СНиП 11-01-95. "Инструкция о порядке разработки, согласования, утверждения и составе проектной документации на строительство предприятий, зданий и сооружений"
| | ИС МЕГАНОРМ: примечание. ГОСТ 27320-87 утратил силу на территории Российской Федерации с 1 июля 1995 года в связи с изданием Постановления Минстроя РФ от 07.04.1995 N 18-36. | |
ГОСТ 27320-87. "Дюбели-втулки распорные для строительства. Конструкция"
| | ИС МЕГАНОРМ: примечание. ГОСТ 28456-90 утратил силу на территории Российской Федерации с 1 июля 1995 года в связи с изданием Постановления Минстроя РФ от 07.04.1995 N 18-36. | |
ГОСТ 28456-90. "Дюбели распорные строительно-монтажные. Общие технические условия"
| | ИС МЕГАНОРМ: примечание. ГОСТ 26998-86 утратил силу на территории Российской Федерации с 1 июля 1995 года в связи с изданием Постановления Минстроя РФ от 07.04.1995 N 18-36. | |
ГОСТ 26998-86. "Дюбели полиамидные для строительства. Технические условия"
ГОСТ 1144-80. "Шурупы с полукруглой головкой. Конструкция и размеры"
ГОСТ 10450-78. "Шайбы уменьшенные. Классы точности А и С. Технические условия"
ГОСТ 16962-71. "Изделия электронной техники и электротехники. Механические и климатические воздействия. Требования и методы испытаний"
ГОСТ 9573-96. "Плиты из минеральной ваты на синтетическом связующем теплоизоляционные. Технические условия"
ГОСТ 27321-87. "Леса стоечные приставные для строительно-монтажных работ. Технические условия".
3.1. Настоящие Правила устанавливают общие положения по производству наружной теплоизоляции зданий с тонкой штукатуркой по утеплителю и организационно-технологические решения, которые должны соблюдаться при проектировании, выполнении и приемке этого вида работ.
3.2. Наружная теплоизоляция является конструктивным элементом здания и представляет собой многослойную конструкцию, состоящую из плитного утеплителя, закрепляемого на поверхности стены с помощью высокоадгезионного клеящего состава и (или) механического крепления, армированного нижнего слоя штукатурки и декоративно-защитного покрытия.
3.3. Поскольку наружная теплоизоляция зданий с тонкой штукатуркой по утеплителю рассматривается как нетрадиционная, основные конструктивные элементы этой системы следует выполнять только из сертифицированных материалов, предусмотренных проектом. Замена конструктивных материалов без согласования с проектной организацией и заказчиком не гарантирует качество выполнения работ по данным Правилам.
3.4. Расчетный срок службы теплоизоляционного покрытия определяется проектной организацией и должен составлять не менее 20 лет.
3.5. Настоящие Правила могут также использоваться при подготовке учебных пособий в системе профессионального обучения.
4. ОРГАНИЗАЦИЯ И ТЕХНОЛОГИЯ ВЫПОЛНЕНИЯ РАБОТ
4.1. Производство наружной теплоизоляции следует начинать только после проведения работ по обследованию и сбору сведений о здании, испытанию поверхности стены на адгезию клеящего состава, разработки проектно-сметной документации и оформления соответствующего разрешения на производство работ, подписанного заказчиком и организацией, выполняющей теплоизоляционные работы.
4.2. Устройство каждого последующего элемента теплоизоляционного слоя следует выполнять после проверки качества выполнения соответствующего нижележащего элемента и составления акта освидетельствования скрытых работ.
4.3. Подготовка основания под наклейку утеплителя состоит из следующих технологических операций:
поверхность стены не имеющая декоративных покрытий должна быть тщательно промыта водой с помощью агрегатов высокого давления и просушена. При наличии масляных пятен или других видов загрязнений эти места следует очистить или обработать специальными составами для их нейтрализации;
старая штукатурка должна быть проверена простукиванием по всей поверхности, сбита в местах обнаружения пустот и восстановлена;
неровности и перепады более 1 см должны быть устранены, а трещины зашпатлеваны;
окрасочные покрытия (эмалевые, лаковые, пластиковые) должны быть исследованы на совместимость с клеящим составом утеплителя. При несовместимости этих составов или когда химический состав старых красок неизвестен, необходимо полностью удалить окрасочное покрытие. Для этого рекомендуются следующие способы очистки:
сухая пескоструйная обработка;
влажная пескоструйная обработка;
механическая очистка;
термическое удаление (отжиг);
химическая промывка.
Поверхность основания должна быть огрунтована специальным составом, указанным в проекте, без пропусков и разрывов. При огрунтовке поверхности стены в местах выравнивающих стяжек ее следует выполнять после отвердения раствора и просушивания выравнивающего слоя.
Грунтовка должна иметь прочное сцепление с основанием, на приложенном к ней тампоне не должно оставаться следов вяжущего.
При подготовке поверхности основания необходимо соблюдать требования таблицы 1.
Таблица 1
┌─────────────────────────────┬──────────┬───────────────────────┐
│ Технические требования │Предельное│Контроль (метод, объем,│
│ │отклонение│ вид регистрации) │
├─────────────────────────────┼──────────┼───────────────────────┤
│Допускаемые отклонения │+/- 10 мм │Измерительный, техни- │
│поверхности основания (при │ │ческий осмотр, не менее│
│проверке двухметровой рейкой)│ │5 измерений на каждые │
│ │ │100 м2 поверхности │
│Число неровностей (плавного │Не более │То же │
│очертания) на длине 2 м │двух │ │
│Допускаемая влажность основа-│ │Измерительный, не менее│
│ний перед нанесением грунтов-│ │2 измерений на каждые │
│ки не должна превышать: │ │100 м2 поверхности, │
│ бетонных, кирпичных │4% │регистрационный │
│ цементно-песчаных │5% │ │
└─────────────────────────────┴──────────┴───────────────────────┘
4.4. Для наружной теплоизоляции здания должен применяться плитный утеплитель различной степени жесткости и огнестойкости, предусмотренный проектом (см.
раздел 7).
Перед наклейкой утеплителя необходимо убедиться в наличии сертификата и соответствии его физико-механических свойств принятому проектному решению.
Выявленные изъяны в плитном утеплителе (изгиб, деформации, неправильные размеры, повреждения) должны быть устранены.
4.5. Клеящий состав наносится, как правило, на плиту утеплителя одним из следующих способов (
рисунок А1):
маячковый - применяется в случаях, когда поверхность стены имеет неровности до 1 см. Клеящий состав наносится на поверхность плиты утеплителя в виде маячков из расчета 8 - 10 маячков на плиту размером 0,5 х 1 м;
полосой - применяется в случаях, когда поверхность стены имеет неровности до 0,5 см. Клеящий состав наносится на плиту в виде полос по периметру (в 2 см от края), а затем посередине. Полосы по периметру должны иметь разрывы, чтобы при наклейке плиты не образовывались воздушные "пробки".
Эти два метода позволяют компенсировать неровности поверхности основания. При этом клеящий состав должен покрывать не менее 70% поверхности утеплителя;
сплошной - применяется, когда поверхность основания не имеет отклонений. Клей наносится на всю поверхность плиты (сплошная наклейка) и разравнивается с помощью шпателя с зубьями длиной 6 - 8 мм.
4.6. Для обеспечения высокого качества приклейки утеплителя и сохранения его теплотехнических свойств необходимо соблюдать следующие условия:
после нанесения клея на плиту утеплителя он должен быть удален от краев плиты на ширину 1 - 2 см с тем, чтобы избежать его проникновения на стыки при наклейке;
сразу после нанесения клея плиту следует наклеить на поверхность. Для обеспечения плотного прилегания плиты к основанию, ее необходимо вначале приложить к поверхности стены на расстоянии 2 - 3 см от проектного положения, а затем прижать с помощью деревянного полутерка со смещением в проектное положение;
при наклейке плит утеплителя необходимо обеспечивать "перевязку" стыков (по типу кирпичной кладки);
не допускать ширину щели на стыках между плитами более 2 мм, а более широкие щели заполнять специально нарезанными полосами из материала этого же утеплителя. Заполнение открытых стыков штукатурным раствором или клеем не допускается (
рисунок А2);
отклонение между плитами по толщине не должно превышать 3 мм;
в местах примыкания утеплителя к существующим конструкциям здания оставлять открытый стык шириной примерно 15 мм, который должен заполняться водостойкой мастикой.
УСТРОЙСТВО АРМИРОВАННОГО НИЖНЕГО СЛОЯ ШТУКАТУРКИ
4.7. К устройству армированного нижнего слоя штукатурки приступают после отвердения клеящего состава, фиксирующего положение утеплителя, и достижения прочного сцепления его с основанием, но не ранее 24 ч после приклейки.
4.8. Армированный нижний слой штукатурки выполняется по проекту в следующей последовательности:
разбить поверхность стены на захватки;
рулоны сетки из стекловолокна перед наклейкой разметить и нарезать под размеры захватки, обеспечивая соблюдение величины их нахлестки при наклейке;
нанести на утеплитель ровный и гладкий слой штукатурного состава по площади захватки;
сразу после нанесения первого слоя штукатурки наложить на поверхность лист арматурной сетки и утопить его в раствор с помощью деревянной терки, не допуская складок;
сделать технологический перерыв продолжительностью 10 - 24 ч (уточняется проектом), после чего выполнить механическое крепление утеплителя к поверхности стены. Для этого необходимо через утеплитель предварительно просверлить в стене отверстия, вставить в них анкерные устройства и с помощью винтов с широкой шляпкой зафиксировать плиту утеплителя (
см. 4.9 -
4.13);
наложить второй слой штукатурного состава таким же способом, как и первый. При нанесении второго слоя штукатурки следить, чтобы шляпки (головки) дюбелей были скрыты.
Примечание. Механическое крепление плит утеплителя может осуществляться до укладки арматурной сетки. В этом случае технологический перерыв не устраивается.
Дополнительные меры:
арматурную сетку следует накладывать вертикально при условии обеспечения перекрытия сеток на ширину 100 мм;
обрубать шпателем арматурную сетку на углах и в местах примыкания не допускается;
строго соблюдать нормы расхода материалов, установленные проектом.
При устройстве армированного нижнего слоя штукатурки необходимо соблюдать требования таблицы 2.
Таблица 2
┌───────────────────────────────┬──────────┬─────────────────────┐
│ Технические требования │Предельное│ Контроль (метод, │
│ │отклонение│ объем, вид │
│ │ │ регистрации) │
├───────────────────────────────┼──────────┼─────────────────────┤
│Толщина штукатурного слоя, мм: │ │Измерительный, техни-│
│ │ │ческий осмотр, не │
│ первого - 3,5 │+/- 10% │менее 5 измерений │
│ │ │на каждые 100 м2 │
│ второго - 4 │+/- 15% │поверхности. Карта │
│ │ │наблюдений │
│Ширина нахлестки полотнищ │+/- 10% │То же │
│арматурной сетки - 100 мм │ │ │
│Допускаемые отклонения поверх- │ │" │
│ности штукатурного слоя (при │ │ │
│проверке двухметровой рейкой): │ │ │
│ по горизонтали │+/- 7 мм │ │
│ по вертикали │+/- 5 мм │ │
└───────────────────────────────┴──────────┴─────────────────────┘
МЕХАНИЧЕСКОЕ КРЕПЛЕНИЕ УТЕПЛИТЕЛЯ
4.9. Механическое крепление плит утеплителя к поверхности стены должно выполняться в соответствии с проектом одним из следующих методов (в зависимости от технологической последовательности): крепление осуществляется до укладки арматурной сетки; крепление осуществляется после укладки арматурной сетки. Производство работ по механическому креплению теплоизоляционного слоя рекомендуется осуществлять тремя способами.
4.10. Первый способ - крепление с помощью дюбелей-втулок распорных для строительства по ГОСТ 27320 и ГОСТ 28456.
Диаметр дюбеля-втулки и глубина отверстия, куда вставляется дюбель, определяются расчетно на стадии разработки проектно-сметной документации.
Выполнение работ по установке дюбеля-втулки должно осуществляться в следующей последовательности:
1. Разметка отверстий под дюбели-втулки.
2. Бурение отверстий в основании с помощью механизированного инструмента ударно-вращательного действия или алмазными сверлильными коронками с пылеотсасывающим ротором.
3. Очистка отверстия от буровой пыли путем продувки сжатым воздухом (если бурение отверстия осуществляется без пылеотсоса).
4. Забивка втулки в отверстие с помощью специальной насадки. Торец втулки после забивки не должен выступать над поверхностью основания.
5. Забивка конического элемента в отверстие втулки с помощью специальной насадки, указанной в п. 4. Длина специальной насадки должна выбираться с учетом толщины плиты утеплителя. Окончание процесса забивки элемента должно соответствовать моменту соприкосновения торцевого уступа насадки и торца втулки.
6. Ввинчивание в дюбель-втулку специального болта с широкой круглой головкой (тарелочкой) со шлицем.
7. Длину стержня болта следует назначать с учетом толщины закрепляемой плиты утеплителя.
8. Длина участка свинчивания резьбы втулки и болта должна быть не менее 1,5 - 2,0 номинального диаметра резьбы.
9. Завинчивать головку болта следует до упора, обеспечив плотное прилегание головки к утеплителю. Операции по установке дюбеля-втулки и закрепление плитного утеплителя с армированной штукатуркой следует выполнять по
рисунку А5.
| | ИС МЕГАНОРМ: примечание. ГОСТ 26998-86 утратил силу на территории Российской Федерации с 1 июля 1995 года в связи с изданием Постановления Минстроя РФ от 07.04.1995 N 18-36. | |
4.11. Второй способ - крепление с помощью дюбеля полиамидного для строительства по ГОСТ 26998.
Тип, параметры, конструкцию и размеры полиамидного дюбеля определяют расчетным путем и уточняют (при необходимости) после проведения пробных испытаний. В комплект поставки дюбелей должны входить шурупы и шайбы по
ГОСТ 1144 и
ГОСТ 10450.
Проверку усилия вырыва дюбеля следует проводить с помощью динамометра, позволяющего обеспечить и измерить это усилие, приложенное по оси дюбеля, с ценою деления не более 50 Н.
Кроме испытания на усилие вырыва, полиамидные дюбели следует испытать на тепло- и холодоустойчивость по ГОСТ 16962.
Установку дюбеля полиамидного для строительства и закрепление плитного утеплителя с помощью шурупов следует выполнять в последовательности, показанной на
рисунке А6.
4.12. Третий способ - крепление с помощью специальных пластмассовых дюбелей "тарельчатого" типа с металлическим стержнем. Этот способ наиболее эффективен при креплении плит утеплителя до укладки арматурной сетки.
Для этого способа крепления могут быть использованы дюбели немецкой фирмы EIOT, допущенные к применению в установленном порядке. При механическом креплении плит утеплителя с помощью специальных пластмассовых дюбелей тарельчатого типа необходимо соблюдать требования таблицы 3.
Таблица 3
┌───────────────────────────────┬───────────┬────────────────────┐
│ Технические требования │Предельное │ Контроль (метод, │
│ │отклонение │ объем, вид │
│ │ │ регистрации) │
├───────────────────────────────┼───────────┼────────────────────┤
│Способ сверления отверстий в │ │Технический осмотр. │
│основании плиты в зависимости │ │Карта наблюдений │
│от материала стены: │ │ │
│ бетон - ударно-вращательный │ │ │
│ кирпич - ударно-вращатель- │ │ │
│ ный, вращательный │ │ │
│ пустотелые блоки и кирпич - │ │ │
│ только вращательный │ │ │
│Отклонения диаметра сверления │+5% │Измерительный, не │
│отверстия от проектного │ │менее 3 измерений │
│ │ │на каждые 100 м2 │
│ │ │поверхности. Карта │
│ │ │наблюдений │
│Отклонения глубины сверления │+10% │То же │
│отверстия от проектной │ │ │
│Отклонения вертикальности │+/- 2° │" │
│сверления отверстия относи- │ │ │
│тельно плоскости основания │ │ │
└───────────────────────────────┴───────────┴────────────────────┘
4.13. При устройстве механического крепления плит утеплителя с помощью пластмассовых тарельчатых дюбелей необходимо соблюдать следующие условия:
армированный слой штукатурки должен хорошо схватиться с тарельчатой головкой дюбеля и не отслаиваться;
выход стального сердечника дюбеля на поверхность штукатурного слоя не допускается;
металлические части дюбеля должны быть хорошо защищены от коррозии.
Операции по установке пластмассовых дюбелей тарельчатого типа следует выполнять по
рисунку А7.
4.14. К отделке поверхности здания следует приступать после полного окончания работ по устройству теплоизоляционного слоя, выполненного с соблюдением требований
пунктов 4.3 - 4.13.
4.15. Перед нанесением отделочного слоя верхний слой штукатурки должен быть загрунтован составом, указанным в проекте.
Всю площадь фасада следует разбить на отдельные участки, чтобы свести к минимуму места, где при нанесении отделочного покрытия неизбежны технологические перерывы. Необходимо предусмотреть закрашивание стыков между участками краской с плавным переходом тональности.
4.16. Предпочтительно применять для отделочного слоя составы и технологию шероховатого покрова. Такой способ отделки позволяет скрыть изъяны основания и улучшить внешний вид покрытия. Способы и методы производства работ по отделке фасада здания должны определяться проектом.
Во всех случаях отделочное покрытие должно быть паропроницаемым.
Фрагмент наружной теплоизоляции здания с тонкой штукатуркой по утеплителю и контролируемые параметры изображены на
рисунке А8.
ОСОБЕННОСТИ ОБРАБОТКИ ПРОЕМОВ, УГЛОВ
И ДРУГИХ МЕСТ ПРИМЫКАНИЯ
Цокольная часть здания
4.17. Наружная теплоизоляция здания заканчивается, как правило, на высоте 65 - 70 см от поверхности земли. Если необходимо утеплить также нижнюю часть стены и ее заглубленную часть, следует:
применить тот же утеплитель, что и для всей системы, и выполнить армированный нижний слой штукатурки;
выполнить гидроизоляцию цокольной части здания, например, на базе битумной эмульсии без присутствия растворителей полистирола;
дополнительно защитить нижнюю часть здания от механических воздействий, например, с помощью асбоцементных плит;
выполнить защитный козырек и механическое крепление асбоцементной плиты с помощью винтовых дюбелей.
Фрагменты устройства теплоизоляционного слоя цокольной части здания и контролируемые параметры изображены на
рисунках А9 и
А10.
Кромки углов
4.18. Для предохранения кромок углов от скола, их защищают путем установки перфорированного уголкового профиля из алюминия или оцинкованной стали.
Уголки сажаются на клеящий состав прямо на утеплитель по всей высоте стены (за исключением нижней части). Армированный нижний слой штукатурки выполняется обычным способом поверх уголка.
В нижней части стены уголки должны сажаться на клеящий состав поверх усиленной арматуры, после чего они перекрываются обычной арматурой и штукатурным раствором (
рисунок А11).
Крепление уголков к поверхности стены с помощью дюбелей (гвоздей) не допускается.
4.19. В местах примыкания утеплителя к конструктивным элементам здания его вертикальные и горизонтальные кромки с боковой стороны защищают перфорированными профилями, выполненными в виде швеллера. Этот профиль предварительно крепится к стене с помощью ввинчивающихся дюбелей. В закрепленный профиль вставляются плиты утеплителя. Все остальные технологические операции выполняются по типовой схеме.
4.20. Перфорированный профиль, в который вставляются плиты утеплителя, используется также в качестве опоры в нижней части стены или на балконах. Он устанавливается так, чтобы нижняя кромка утеплителя отстояла от пола на 10 - 15 мм. Эта щель перекрывается защитной пластиной (керамической плиткой), наклеиваемой на поверхность после отделки утепляющего слоя.
Примыкания к парапетам, карнизам
4.21. Верхняя часть теплоизоляционного покрытия и его примыкания к парапетам и карнизам должны выполняться по следующим схемам.
Верхняя кромка утеплителя на фронтоне, выполненная по обычной технологии, либо перекрывается металлическим защитным козырьком, закрепленным на стене винтами с уплотнительными шайбами, либо защищается краевой черепицей (рисунок А12).
При наличии карниза верхняя кромка утеплителя в месте примыкания защищается перфорированными профилями, которые предварительно крепятся к стене с помощью ввинчивающихся дюбелей. Зазор между карнизом и утеплителем заполняется водостойкой мастикой (
рисунок А13).
Обработка проемов
4.22. Обработка проемов (оконных, дверных) - это одна из ответственных операций и должна выполняться перед началом работ по устройству основного теплоизоляционного покрытия.
Наиболее распространенным способом устройства оконного проема является вариант "с четвертью". Прежде чем приступить к наклейке утеплителя, оконный проем по периметру обрамляют металлическим коробом. Для этого в проеме устанавливается верхний и два боковых металлических Г-образных профиля, которые образуют рамку для утеплителя. Оконный блок при этом остается на прежнем месте.
4.23. Плиты утеплителя при наклейке вставляются в металлический профиль, который затем покрывается армированной штукатуркой по типовой схеме.
В случае открывания окон наружу, металлические профили не должны препятствовать их открыванию.
При армировании нижнего слоя штукатурки на углах проема на утеплитель укладывают дополнительные кусочки сетки под углом 45°.
4.24. Для повышения надежности конструкции утеплитель по периметру оконного (дверного) проема может укладываться из плит повышенной жесткости и огнестойкости.
На
рисунке А14 показан вариант обработки оконных (дверных) проемов "с четвертью".
4.25. Проектная организация может применить другое конструктивное решение обработки оконных и дверных проемов, обеспечив при этом надежность и герметичность теплоизоляционного слоя.
5. УПРАВЛЕНИЕ ТЕХНОЛОГИЧЕСКИМ ПРОЦЕССОМ
И КОНТРОЛЬ ЗА КАЧЕСТВОМ
5.1. Система управления технологическим процессом по устройству наружной теплоизоляции здания с тонкой штукатуркой по утеплителю заключается в четком распределении и выполнении своих функций всеми участниками производственного процесса: заказчиком, проектной организацией, подрядчиком и поставщиком строительных материалов.
5.2. К обязанностям проектной организации относятся:
выбор способа и уровня теплозащиты здания. При необходимости заказчик организует экспертизу разработанной проектно-сметной документации и теплотехнических расчетов;
выбор и согласование цветов окраски. При необходимости выбранные цвета окраски фасадов зданий согласовываются с районным архитектором.
5.3. Заказчик обязан:
рассмотреть и после согласования с подрядчиком утвердить проектно-сметную документацию;
назначить технического инспектора по надзору (по мере необходимости) и установить его функциональные обязанности;
осуществлять проверку степени квалификации мастеров и специалистов и знания настоящих Правил.
5.4. В обязанности поставщика материалов входят:
поставка материалов, предусмотренных проектом, имеющих соответствующий сертификат и удовлетворяющих требованиям настоящих Правил;
согласование выбранных цветов окраски, в том числе для случаев применения цветов различной тональности.
5.5. Обязанности подрядчика:
предоставить заказчику лицензию на право производства работ по наружной теплоизоляции зданий и дать письменное обязательство использовать к применению только допущенные материалы и способы производства работ;
провести испытания на адгезию клеящего состава и сопротивление дюбелей на отрыв и представить результаты заказчику;
вести журнал учета выполненных работ;
согласовать объемы работ;
разработать и предоставить детальный проект производства работ (если он не предусмотрен в составе проектно-сметной документации). В частности, на стадии ППР должны определяться способы производства работ и средства подмащивания. Особое внимание уделяется вопросам защиты рабочих мест от пагубных атмосферных воздействий (дождя, ветра, прямых солнечных лучей). Производство теплоизоляционных работ должно производиться, как правило, только при наличии жесткого основания (лесов, передвижных подмостей);
предоставить страховое свидетельство на производимые работы;
в ходе работ: соблюдать требования по климатическим условиям и условия производства работ, содержащиеся в проектно-сметной документации и настоящих Правилах.
5.6. Контроль за качеством производства работ должны осуществлять инженерно-технические работники службы заказчика или специально назначенный технический инспектор по надзору.
5.7. Основными обязанностями службы контроля за качеством являются:
проверка герметичности системы наружной теплоизоляции здания, соблюдения требований проектно-сметной документации и правил производства работ;
проверка подготовки основания (в частности, качество снятия старой краски и иных покрытий) и меры, принятые для обработки характерных участков;
инструментальная проверка контролируемых параметров отдельных элементов наружной теплоизоляции согласно
Приложению А;
выявление случаев нарушения качества производства работ и выдача рекомендаций по их устранению;
проверка соблюдения технологических регламентов при производстве работ в труднодоступных местах и местах примыкания;
контроль за выполнением мероприятий по защите рабочих мест от атмосферных воздействий (в частности, работы нельзя производить при сыром основании, при температуре ниже +5 °С , при сильном ветре, на ярко освещенных солнцем поверхностях).
5.8. Технический инспектор по надзору составляет Карту наблюдений за работами, вносит в нее все замечания и нарушения, выявленные в процессе производства работ.
Эта карта имеет целью аккумулировать все выявленные и устраненные нарушения и облегчает приемку работ по устройству теплоизоляции после их окончания.
О ПОРЯДКЕ РАЗРАБОТКИ ПРОЕКТНО-СМЕТНОЙ
ДОКУМЕНТАЦИИ И ПРОЕКТА ПРОИЗВОДСТВА РАБОТ
6.1. Основой проектной документации на устройство наружной теплоизоляции здания с тонкой штукатуркой по утеплителю являются:
принятая конструкция теплоизоляционного покрытия (раздел "Архитектурно-строительные решения");
проект производства работ;
сметная документация.
6.2. При заключении договора (контракта) на разработку проектной документации и задания на проектирование должны учитываться следующие условия:
настоящие Правила распространяются на устройство теплоизоляционного покрытия наружных ограждающих конструкций жилых и общественных зданий, выполненных из следующих материалов: бетона (монолитный, сборные панели), кирпича (со штукатуркой или без штукатурки), стеновых блоков (со штукатуркой или без штукатурки);
на стадии предпроектных работ должно быть выполнено обследование здания и подготовлены исходные материалы для проектирования, включая: тип и состояние здания, его обмерочные чертежи, особенности рельефа фасада, выступы и перепады, оконные и дверные проемы и их конструктивные особенности, наличие водосточных труб, вентиляционных решеток и электрических вводов, температурные швы, детали кровли и цокольной части здания и др. Особое внимание уделяется состоянию поверхности ограждающих конструкций зданий, наличию на них старых защитных покрытий, красок, трещин, протечек и местных разрушений;
выбор способа и уровня теплоизоляции здания должен осуществляться на основании теплотехнических расчетов, выполненных с учетом требований
СНиП II-3-79*, а также фактического состояния теплозащиты ограждающих конструкций здания.
Примечание. Для предварительной оценки величины приведенного термического сопротивления наружной стены (

) можно пользоваться данными таблицы 4.
Таблица 4
Тип стен | Утеплитель |
 = 0,04 |  = 0,08 |
 , мм | |  , мм | |
| 120 200 | 2,16 3,13 | 200 220 | 2,12 2,24 |
Примечание.  - коэффициент теплопроводности, Вт/м2 · °С;  - толщина утеплителя, мм. |
до утверждения проекта необходимо выполнить испытания образцов выбранного типа утеплителя на адгезию клеящего состава с поверхностью основания;
при разработке сметной документации ее следует детализировать по следующим видам работ: подготовка основания, наклейка и закрепление утеплителя, устройство армированного нижнего слоя штукатурки, отделочное покрытие, установка лесов (подмостей) и технологической оснастки, меры защиты от атмосферных и солнечных воздействий, обработка особых участков (снятие и установка водосточных труб, цокольная часть здания, места примыкания, защитные козырьки), меры противопожарной безопасности и т.д.;
цветовую окраску отделочно-декоративного слоя предпочтительно выполнять из составов светлых тонов, особенно для окраски фасадов с восточной и южной стороны. Составы темных тонов следует допускать для затененных участков фасада (северная сторона, лоджии и т.д.). Не допускать также на одном фасаде слишком контрастное сочетание тонов.
6.3. При разработке проекта производства работ следует учитывать следующие дополнительные требования:
для устройства наружной теплоизоляции здания следует использовать только сертифицированные материалы и изделия из числа тех, которые указаны в
разделе 7;
работы должны выполняться с жесткого основания (лесов, подмостей);
при отсутствии искусственных защитных покрытий рабочего места работы должны прекращаться при следующих обстоятельствах: при окружающей температуре ниже +5 °С, на ярко освещенных солнцем поверхностях, при сильном ветре, при попадании дождевой влаги на поверхность стены;
разработать программу проведения необходимых контрольных испытаний и режимных наблюдений, включая методы технического контроля за качеством производства работ;
разработать перечень машин, инструмента и технологической оснастки для обязательного применения при производстве работ по наружной теплоизоляции здания;
предусмотреть в технологических картах (схемах) на выполнение отдельных конструктивных элементов наружной теплоизоляции наиболее рациональные решения по разбивке фасада здания на захватки, сократив до минимума технологические перерывы и стыковые соединения.
7. МАТЕРИАЛЬНО-ТЕХНИЧЕСКИЕ РЕСУРСЫ
7.1.1. Грунтовочные составы (праймер). Применяются для обработки поверхности стен и штукатурного слоя с целью улучшения сцепления с клеящим составом и отделочным покрытием (рецептурный состав определяется на стадии проектирования и уточняется по результатам испытаний на адгезию клеящего состава).
7.1.2. Смесь сухая клеящая для приклеивания утеплителя к поверхности стены (рецепт N 51). Изготавливается АООТ "Опытный завод сухих смесей" (Москва) по ТУ 5745-003-05668056-93, сертификат соответствия N ГОСТ Р 9016.1.3.0001.
Представляет собой цементно-минеральную композицию, содержащую комплекс химических добавок различного спектра действия, в том числе полимерных.
Поставляется в бумажных мешках весом 50 кг, приготавливается на строительной площадке путем затворения водой механизированным способом. Гарантийный срок хранения - 6 месяцев. Пожаро- и взрывобезопасная. После замешивания дать выстояться в течение 5 мин.
7.1.3. Смесь сухая штукатурная (выравнивающая) для систем теплоизоляции (рецепт N 52). Изготавливается АООТ "Опытный завод сухих смесей" (Москва) по ТУ 5745-003-05668056-93, сертификат соответствия N ГОСТ Р 9016.1.3.0002.
Применяется для устройства нижнего армированного слоя штукатурки.
Выпускается в сухом виде на основе белого цемента, минерального наполнителя и комплекса химических добавок, в том числе гидрофобных.
Поставляется в бумажных мешках весом 50 кг. Приготавливается на строительной площадке путем затворения водой механизированным способом. Пожаро- и взрывобезопасная. После замешивания дать выстояться в течение 5 мин.
7.1.4. Отделочные материалы. Вид фактурной отделки и цветовое решение определяются на стадии проектирования. Для устройства декоративного шероховатого покрытия рекомендуется применять сухую смесь производства АООТ "Опытный завод сухих смесей", которая изготавливается по рецепту N 50.
По своему рецептурному составу эта смесь аналогична штукатурному составу с добавлением минеральных щелочестойких пигментов.
Допускается совмещать технологические процессы по устройству нижнего слоя тонкой штукатурки и декоративного покрытия из единого материала.
Физико-механические показатели клеевых и штукатурных составов даны в таблице 5.
Таблица 5
┌───────────────────────────┬────────────────────────────────────┐
│ Показатель │ Штукатурные составы │
│ ├────────┬──────────────┬────────────┤
│ │Клеевой │Выравнивающий │Штукатурно- │
│ │ (рец. │(штукатурный) │декоративный│
│ │ N 51) │ (рец. N 52) │(рец. N 50) │
├───────────────────────────┼────────┼──────────────┼────────────┤
│1. Прочность на сжатие, МПа│15,0 │12,0 - 15,0 │10,0 - 12,0 │
│2. "Открытое" время исполь-│ Не менее 25 │
│зования, мин │ │
│3. Адгезия к основанию, МПа│1,5 │1,0 │0,9 │
│4. Линейная усадка, % │0,55 │0,4 │0,4 │
│5. Морозостойкость, F │75 │50 │50 │
│6. Горючесть │ Негорючий │
│7. Паропроницаемость │+ │+ │+ │
└───────────────────────────┴────────┴──────────────┴────────────┘
7.1.5. Утеплитель. Для устройства наружной теплоизоляции зданий должен применяться плитный утеплитель. Тип плитного утеплителя и его основные показатели (плотность, влагоемкость, теплопроводность, сжимаемость, огнестойкость) определяются проектом на основании теплотехнических расчетов, нормативов требуемого сопротивления теплопередачи для данного региона (

), фактического состояния наружных ограждающих конструкций здания.
Примеры применения плит утеплителя приведены в таблице 6.
Таблица 6
┌──────────────────────┬──────────────────────┬──────┬───────────┐
│ Утеплитель │ Рекомендуемая область│Плот- │Коэффици- │
│ │ применения │ность,│ент тепло- │
│ │ │кг/м3 │проводности│
│ │ │ │лямбда, │
│ │ │ │Вт/м2 х °С │
├──────────────────────┼──────────────────────┼──────┼───────────┤
│Плиты пенополистироль-│Наружная поверхность │40 │0,041 │
│Плиты минераловатные │Обрамление оконных и │180 │0,076 │
│ │цокольная часть здания│ │ │
│Плиты минераловатные │Наружная поверхность │120 │0,037 │
│на основе базальтового│стен, противопожарные │ │ │
│волокна (типа "Парок")│преграды │ │ │
│Перлитопластбетон │Цокольная часть │250 │0,080 │
│(ТУ 480-1-145-74) │здания, противопожар- │ │ │
│ │ные преграды │ │ │
├──────────────────────┴──────────────────────┴──────┴───────────┤
│ Примечание. Возможно применение и других теплоизолирующих│
│материалов, включая импортные, которые имеют соответствующий│
│сертификат и по основным показателям удовлетворяют определенным│
│требованиям. │
└────────────────────────────────────────────────────────────────┘
Плиты должны быть плотной структуры, наличие свободных несвязных гранул или волокон недопустимо.
При транспортировке, хранении и монтаже плиты утеплителя должны быть защищены от увлажнения и загрязнения.
7.1.6. Арматура. В качестве арматуры применяется сетка из стекловолокна обычного и усиленного профиля, изготавливаемая по ТУ 6-48-00204961-29-93.
Специальная панцирная сетка обладает повышенной жесткостью, ее масса составляет 400 - 700 г/м2. Эта арматура предназначена для защиты поверхности, которая может подвергаться механическому воздействию (цокольная часть здания, входы в подъезды, спуски в подвалы и т.д.).
Обычная стеклосетка с квадратными ячейками размером 5 х 5 мм более гибкая, ее масса составляет 150 - 200 г/м2. Применяется для защиты утеплителя на большей части поверхности здания (см.
рисунок А3 и
А4).
Сетка должна быть щелочестойкой или обработанной щелочестойкими составами.
Сетка поставляется в рулонах, транспортируется в крытых транспортных средствах и должна храниться в закрытых сухих помещениях.
В соответствии с проектом в качестве армирующего слоя может применяться металлическая сетка облегченного профиля (массой не более 2,5 кг/м2). Металлическую сетку целесообразно применять при армировании углов, цокольной части здания, мест примыкания теплоизоляционного слоя к парапетам, карнизам, пилястрам и другим конструктивным элементам здания.
7.1.7. Металлические изделия. Для механического крепления утеплителя к поверхности стены применяются дюбели-втулки распорные по ГОСТ 27320 и ГОСТ 28456, дюбели полиамидные для строительства по ГОСТ 26998, а также винты, шурупы и другие метизные изделия.
Кроме того, в системе наружной теплоизоляции зданий используются несколько видов листовых металлических элементов уголкового или коробчатого профиля, которые выполняются из перфорированного листового алюминия или оцинкованной стали. Тип и количество этих элементов определяется проектом.
Производство наружной теплоизоляции зданий с тонкой штукатуркой по утеплителю следует осуществлять с использованием жестких оснований (трубчатых лесов, передвижных подмостей и др.,
Приложение Б).
Только таким способом можно обеспечить устойчивость рабочего места, что, в свою очередь, создаст условия для хорошего качества наклейки утеплителя, а также производства других операций: установки арматурной сетки, оштукатуривания, установки дюбелей и металлических изделий из уголкового или коробчатого профиля, нанесения декоративно-отделочного покрытия.
Подвесные подмости, люльки, будучи неустойчивыми, могут внести нарушения в технологический регламент производства работ, что приведет к ухудшению качества и снижению надежности работы теплоизоляционного слоя. Их применение допускается только в труднодоступных местах и на ограниченных участках.
Кроме того, конструкция лесов и подмостей должна обеспечивать возможность применения различных пленочных и сетчатых покрытий для защиты и ограждения рабочего места от атмосферных воздействий.
Рекомендуется использовать следующие типы лесов и подмостей, указанных в таблице 7.
Таблица 7
┌─────────────────┬─────────────────────────────────┬────────────┐
│ Леса и подмости │ Краткая характеристика │Разработчик,│
│ │ │завод- │
│ │ │изготовитель│
├─────────────────┼─────────────────────────────────┼────────────┤
│Леса универсаль- │Конструкция: трубчатые, пристав- │ЦНИИОМТП │
│ные ЛСПХ-40 для │ные, хомутовые. │ │
│отделочных работ │Максимальная высота лесов - 40 м.│ │
│на фасадах зда- │Шаг яруса - 2 м. │ │
│ний, выполненные │Шаг стоек вдоль стены - 2,5 м. │ │
│в соответствии │Ширина яруса (прохода) - 1,25 м. │ │
│ │нагрузка - 200 кгс/м2. │ │
│ │Настил - деревянный. │ │
│ │Масса комплекта - 16,3 т на │ │
│ │1000 м2 площади фасада │ │
│Леса клиновые │Конструкция: трубчатые, пристав- │ЦНИИОМТП │
│ЛСПК-40 для отде-│ные, клиновые. │ │
│лочных работ на │Максимальная высота лесов - 40 м.│ │
│фасадах зданий, │Шаг яруса - 2 м. │ │
│выполненные │Шаг стоек вдоль стены - 2,5 м. │ │
│в соответствии │Ширина яруса (прохода) - 1,25 м. │ │
│ │нагрузка - 200 кгс/м2. │ │
│ │Масса комплекта - 11,3 т на │ │
│ │1000 м2 площади фасада │ │
│Передвижные │Конструкция: рабочая площадка │ВКТИмонтаж- │
│подмости ПВС-12 │крепится на двух телескопических │строймеха- │
│ │колонках, установленных на │низация. │
│ │гусеничную ходовую часть. │Мытищинский │
│ │Грузоподъемность площадки - │ОМЗ │
│ │600 кг. │ │
│ │Размеры площадки - 5,2 х 2,0 м. │ │
│ │Максимальная высота подъема - │ │
│ │12 м. │ │
│ │Масса - 5 т │ │
│Вышка телескопи- │Конструкция: рабочая платформа │Карачаровс- │
│ческая передвиж- │крепится на телескопической │кий механи- │
│ная на пневмоко- │стойке, установленной на раме, │ческий завод│
│лесном ходу │имеющей пневмоколесный ход. │ │
│ │Грузоподъемность платформы - │ │
│ │250 кг. │ │
│ │Размеры платформы - 3 х 1,5 м. │ │
│ │Максимальная высота подъема - │ │
│ │15 м. │ │
│ │Масса - 4,5 т │ │
└─────────────────┴─────────────────────────────────┴────────────┘
7.3. Механизмы, инструмент
При производстве наружной теплоизоляции зданий применяются средства механизации и инструмент, которые не только облегчают труд и повышают производительность, но и являются одним из условий качественного выполнения работ (таблица 8).
Таблица 8
┌──────────────────┬─────────────┬───────────────────────────────┐
│ Средство │ Марка, ГОСТ │ Назначение, краткая │
│ механизации │ │ характеристика │
├──────────────────┼─────────────┼───────────────────────────────┤
│Растворосмеситель │СО-46Б │Для приготовления на рабочем │
│ │ТУ 22-5724-84│месте клеящих и штукатурных │
│ │ │составов из сухих смесей. │
│ │ │Вместимость - 80 л, мощность - │
│ │ │1,5 кВт, масса - 200 кг │
│Электросверлилка │ИЭ-1023А │Для приготовления клеящих со- │
│со специальной │ТУ 22-5841-84│ставов из сухих смесей. │
│насадкой │ │Мощность - 0,6 кВт, │
│ │ │масса - 3,9 кг │
│Винтовой растворо-│ПУТЦКНЕХТ S48│Для нанесения штукатурного │
│насос │ │состава на поверхность. │
│ │ │Производительность - │
│ │ │5 - 30 л/мин, давление - 3 МПа,│
│ │ │мощность - 5,5 кВт, масса - │
│ │ │170 кг │
│Электроперфоратор │ИЭ-1511БЭ, │Для сверления отверстий в │
│ │ИЭ-4717 │основании теплоизоляционного │
│ │ │покрытия. │
│ │ │Мощность - 0,5 кВт, двух- │
│ │ │скоростной, диаметр │
│ │ │сверления - 13 мм │
│Электрошуруповерт │ИЭ-3604Э │Для ввинчивания дюбелей при │
│ │ │закреплении плит утеплителя. │
│ │ │Момент затяжки - 10 Н х м, │
│ │ │мощность - 0,23 кВт │
│Агрегат окрасочный│Финиш-211 │Для промывки поверхности │
│высокого давления │ │основания и нанесения окрасоч- │
│ │ │ного состава. │
│ │ │Рабочее давление - 25 МПа, │
│ │ │масса - 75 кг │
│Кельма и зубчатый │ │Для нанесения и разравнивания │
│шпатель с квад- │ │клеящего состава на поверхность│
│ратными зубьями │ │плиты утеплителя │
│шириной 6 - 10 мм │ │ │
│Деревянные терки и│ │Для прижатия плит утеплителя и │
│рейки │ │поверхности основания во время │
│ │ │приклеивания │
│Пила-ножовка │ │Для резки плит утеплителя и │
│ │ │вырезания пластин из утеплителя│
│ │ │для заполнения пустот │
│Рубанок, наждачная│ │Для зачистки кромок плит │
│шкурка │ │утеплителя │
│Ножницы обычные │ │Для резки арматурной сетки │
│Ножницы по металлу│ │Для резки металлических коробов│
│Гладилки из нержа-│ │Для утопления арматурной сетки │
│веющей стали │ │в штукатурный слой │
│Пластиковые гла- │ │Для устройства декоративно- │
│дилки и рельефные │ │отделочного слоя │
│ролики │ │ │
│Набор инструмента │ │Для установки металлических │
│и приспособлений │ │коробов в местах примыкания │
│для выполнения │ │утеплителя, обрамления оконных │
│жестяных работ │ │и дверных проемов и т.д. │
│Угловая шлифо- │ИЭ-2110 │Для механической очистки и │
│вальная машина, │ИЭ-2107 │отжига │
│промышленный │ │ │
│электрофен │ │ │
└──────────────────┴─────────────┴───────────────────────────────┘
8. ТЕХНИКО-ЭКОНОМИЧЕСКИЕ ПОКАЗАТЕЛИ
Эффект от применения наружной теплоизоляции зданий образуется по нескольким направлениям:
8.1. Экономится тепловая энергия за счет повышения теплозащиты наружных ограждающих конструкций зданий.
8.2. Снижается загрязненность окружающей среды, так как сокращаются выбросы вредных веществ в атмосферу.
8.3. Улучшается тепловой комфорт внутри помещения. При отсутствии теплоизоляции внутренняя поверхность наружной стены становится намного холоднее температуры воздуха в помещении, что приводит к усиленной конвекции воздуха. Жилец воспринимает это как сквозняк и вынужден в порядке компенсации поднимать температуру внутри помещения до 21 - 23 °С. При изоляции стены разность температуры между поверхностью стены и воздухом внутри помещения очень мала, конвекция воздуха практически отсутствует и жилец чувствует себя комфортно при более низкой температуре (18 - 20 °С).
В летний период теплоизолированные стены здания не прогреваются (особенно с солнечной стороны), и температура воздуха внутри помещения не повышается более 23 - 25 °С.
8.4. Повышается надежность работы ограждающих конструкций зданий и их долговечность, так как после применения наружной теплозащиты здания точка "росы" перемещается из внутреннего сечения стены наружу, что наглядно видно на рисунке 1.
Рисунок 1. Температурная кривая зимой
8.5. В конструкции теплозащиты здания применяются только паропроницаемые материалы (коэффициент сопротивления диффузии водяного пара не более 10 - 15), благодаря чему на поверхности стены и внутри нее не происходит образование вредного конденсата, который может увеличить теплопотери через стену здания.
8.6. Увеличивается звукоизоляция здания. Например, индекс звукоизоляции стены из силикатного кирпича толщиной 25 см с наклеенным теплоизоляционным слоем толщиной 40 - 45 мм увеличивается с 49 до 52 дБ.
9. УХОД ЗА НАРУЖНОЙ ТЕПЛОИЗОЛЯЦИЕЙ ЗДАНИЙ
9.1. В составе проектно-сметной документации должны быть указания (инструкция) по уходу за наружной теплоизоляцией фасадов зданий. Чтобы теплоизоляционная система сохраняла свою стабильность и свойства, необходимо контролировать ее на герметичность и внешний вид. Особое внимание следует уделять таким конструктивным элементам, как: нижняя, цокольная часть стены; состояние и защита верхней части теплоизоляции (парапеты, карнизы); качество заделки углов здания, проемов и стыков; отсутствие деформаций на поверхности фасадов (вздутия, растрескивания и т.д.).
9.2. Выявленные нарушения внешнего вида теплоизоляции следует классифицировать по двум признакам:
естественное старение отделочного покрытия (легкое растрескивание термической или усадочной природы, изменение оттенка), что не затрагивает стабильности работы системы в целом;
повреждения отдельных элементов системы, которые могут привести к деградации участков или всей системы теплоизоляции.
9.3. По отношению к теплоизоляционному покрытию фасадов зданий следует применять следующие меры предосторожности:
запретить спортивные игры вблизи фасадов зданий (например, в теннисный мяч, когда утепленная стена используется как мишень или отражающая поверхность);
защищать поверхность стены при работе на фасадах с приставных лестниц;
предусмотреть меры, чтобы при парковке автомобилей вблизи здания не было возможности механического повреждения поверхности стены;
необходимо сохранять в рабочем состоянии все вентиляционные устройства здания, обеспечивающие эвакуацию влажного воздуха из внутренних помещений.
9.4. Следует помнить, что естественное старение отделочного слоя ускоряется в агрессивной атмосферной среде, которая создается промышленной зоной, городским автотранспортом, морскими прибоями, близостью обильной растительности (лес), вызывающей появление зеленого налета и т.д.
9.5. При появлении серьезных нарушений на поверхности теплоизоляционного слоя необходимо обращаться к профессионалам и следовать их рекомендациям по устранению выявленных дефектов.
10. ВОЗМОЖНЫЕ СЛУЧАИ НАРУШЕНИЯ КАЧЕСТВА ПРОИЗВОДСТВА РАБОТ,
ИХ ПОСЛЕДСТВИЯ И СПОСОБЫ УСТРАНЕНИЯ
10.1. Технология устройства наружной теплоизоляции зданий для отечественной практики относительно нова, поэтому неизбежно появление ряда нарушений производственного характера, которые снижают качество работы всей системы теплоизоляции.
10.2. Рекомендуется первые опыты в регионе по устройству наружной теплоизоляции зданий производить под надзором специально назначенных технических работников, на которых в последствии следует возложить функции наблюдения за состоянием теплоизоляционного покрытия зданий, а также обобщения выявленных дефектов и нарушений.
10.3. Распределение дефектов и нарушений теплоизоляционного покрытия фасадов зданий по срокам проявления и видам нарушений характеризуется показателями, приведенными в таблицах 9 и 10.
Таблица 9
┌─────────────────────────────────────────────┬──────────────────┐
│ Выявленные нарушения (по срокам проявления) │ Удельный вес, % │
│ │ <*> │
├─────────────────────────────────────────────┼──────────────────┤
│Всего │100 │
│в том числе: │ │
│ до приемки работ │10 │
│ после приемки работ по годам: │ │
│ первый │30 │
│ второй │30 │
│ третий │15 │
│ четвертый │8 │
│ пятый │5 │
│ шестой │2 │
│ ------------------------------- │
│ <*> Данные приведены из материалов зарубежного опыта. │
└────────────────────────────────────────────────────────────────┘
Таблица 10
┌─────────────────┬────────┬─────────────────────────────────────┐
│ Виды нарушений │Удельный│Основные причины выявленных нарушений│
│ │ вес, % │ │
├─────────────────┼────────┼─────────────────────────────────────┤
│Полное отслаива- │12 │1. Плиты утеплителя были наклеены без│
│ние и обрушение │ │предварительной очистки основания │
│системы │ │2. Некачественный клеящий состав │
│ │ │3. Механическое крепление не │
│ │ │применялось │
│Частичное отсла- │10 │Проникновение воды на уровень плос- │
│ивание системы │ │кости склеивания утеплителя с осно- │
│ │ │ванием из-за плохой защиты системы │
│ │ │сверху (карнизы) и в местах оконных │
│ │ │проемов │
│Фильтрация влаги │8 │Вода проникла через сопряжения с │
│в помещения через│ │характерными участками стены │
│систему │ │(пилястры, пояски и т.д.) │
│Микротрещины и │25 │1. Плохой выбор цвета покрытия │
│нефильтрующие │ │(слишком темный цвет и слишком │
│трещины │ │контрастная расцветка) │
│ │ │2. Большие перепады на стыках плит │
│ │ │утеплителя и, как следствие, большая │
│ │ │разница толщины штукатурного слоя │
│ │ │3. Допущены широкие щели между │
│ │ │плитами утеплителя, которые были │
│ │ │заполнены штукатурным раствором │
│ │ │4. Неперекрытие стыков арматурной │
│ │ │сетки │
│Отслаивание │30 │1. Ошибка поставщика грунтовочного │
│(вспучивание) │ │состава (в качестве растворителя │
│отделочного слоя,│ │применили уайт-спирит с высоким │
│а также штукатур-│ │содержанием сероводорода, который │
│ного слоя │ │путем миграции растворил основу из │
│ │ │вспененного полистирола) │
│ │ │2. Нарушение производственного рег- │
│ │ │ламента по климатическим условиям │
│ │ │(работы производились в холод, под │
│ │ │дождем, при заморозках) │
│Дефекты внешнего │10 │1. Большие перепады толщины плит │
│вида │ │утеплителя │
│ │ │2. Заплесневелость отделочного слоя, │
│ │ │вызванная влажной средой (лесная │
│ │ │зона, близость к морю) │
│ │ │3. Разность оттенков окрашенной │
│ │ │поверхности из-за плохого подбора │
│ │ │колерного состава │
│ │ │4. Пятна ржавчины, вызванные корро- │
│ │ │зией элементов механического крепле- │
│ │ │ния (дюбелей, коробов, уголков и │
│ │ │т.д.) │
│Смывание ливнем │2 │Отсутствие защиты и пленочного │
│во время работы │ │покрытия рабочего места │
│Прочие причины │3 │Эти повреждения не связаны с │
│ │ │ответственностью подрядчика │
└─────────────────┴────────┴─────────────────────────────────────┘
10.4. Способы устранения выявленных дефектов и повреждений теплоизоляционного слоя:
полное или частичное отслаивание теплоизоляционного слоя должно быть отремонтировано путем вырезания поврежденных участков, полной очистки основания и восстановления в этом месте всей системы из новых элементов по обычной технологии. Края новой арматурной сетки следует подсунуть под прежнюю арматуру, отгибая, по возможности, ее обнаженные края;
места фильтрации влаги должны быть вскрыты, заполнены герметизирующими мастиками (совместимыми по составу с основными элементами системы) и покрыты декоративным слоем;
отслоенные (вспученные) участки штукатурного и отделочного слоя удаляются, а на их месте восстанавливается армированный штукатурный слой и декоративное покрытие из тех же материалов, что и сама теплоизоляционная система.
10.5. Восстановленные участки покрытия должны соответствовать требованиям, предъявляемым к теплоизоляционному слою согласно проектно-сметной документации.
(рекомендуемое)
ТЕХНОЛОГИЧЕСКИЕ СХЕМЫ ПРОИЗВОДСТВА РАБОТ
И КОНТРОЛИРУЕМЫЕ ПАРАМЕТРЫ
ОТДЕЛЬНЫХ ЭЛЕМЕНТОВ ПОКРЫТИЯ
а) Маячковый
б) Полосовой
в) Сплошной
------------------------------------
<*> Контролируемый параметр.
Рисунок А1. Способы нанесения клеящего состава на поверхность
плит утеплителя
Примечание. Заполнение широких щелей между плитами утеплителя штукатурным (клеящим) составом не допускается.
------------------------------------
<*> Контролируемый параметр.
Рисунок А2. Наклейка плит утеплителя на поверхность стены
способом "перевязки"
Рисунок А3. Обычная арматурная сетка из стекловолокна
------------------------------------
<*> Контролируемый параметр.
Рисунок А4. Усиленная арматурная сетка из стекловолокна
------------------------------------
<*> Контролируемый параметр.
Рисунок А5. Крепление плиты утеплителя с помощью
дюбелей-втулок и винтов
------------------------------------
<*> Контролируемый параметр.
Рисунок А6. Крепление плиты утеплителя с помощью дюбеля
полиамидного и шурупов
------------------------------------
<*> Контролируемый параметр.
Рисунок А7. Крепление плиты утеплителя с помощью
пластмассовых дюбелей тарельчатого типа с металлическим
стержнем (вариант: стеновой материал из пустотелых блоков)
------------------------------------
<*> Контролируемый параметр.
Рисунок А8. Фрагмент наружной теплоизоляции здания с тонкой
штукатуркой по утеплителю
------------------------------------
<*> Контролируемый параметр.
Рисунок А9. Крепление теплоизоляционного сдоя на нижней
части стены
------------------------------------
<*> Контролируемый параметр.
Рисунок А10. Фрагмент утепления нижней
(и ее заглубленной) части стены здания
1 - загрунтованная поверхность стены;
2 - клеящий состав;
3 - плиты утеплителя;
4 - арматурная сетка из стекловолокна (по проекту) <*>;
5 - нижний слой тонкой штукатурки;
6 - отделочный декоративный слой;
7 - металлический перфорированный уголок, установленный на клеящий состав (по проекту) <*>
------------------------------------
<*> Контролируемый параметр.
Рисунок А11. Фрагмент конструктивного решения
теплоизоляционного покрытия угловой части фасада здания
------------------------------------
<*> Контролируемый параметр.
Рисунок А12. Примыкание теплоизоляционного слоя
к парапету в верхней части фасада
------------------------------------
<*> Контролируемый параметр.
Рисунок А13. Фрагмент примыкания наружной теплоизоляции
здания к карнизной плите
------------------------------------
<*> Контролируемый параметр.
Рисунок А14. Фрагмент примыкания теплоизоляционного слоя
к оконному проему (вариант "с четвертью")
(рекомендуемое)
ЛЕСА УНИВЕРСАЛЬНЫЕ ХОМУТОВЫЕ ЛСПХ-40
(СБОРКА ИЗ ОТДЕЛЬНЫХ ЭЛЕМЕНТОВ)
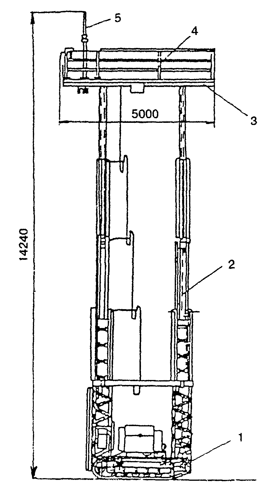
ПОДМОСТИ ПВС-12
Подмости предназначены для производства различных строительно-монтажных работ на высоте от 3,5 до 13,5 м.
Подмости состоят из гусеничной ходовой части с переменной базой и четырьмя выносными опорами, двух телескопических колонн, снабженных механизмами выдвижения, ловителей, платформы с ограждением.
На платформе установлен кран. Двигателем ходовой части является бензоэлектрический агрегат. Этот агрегат и лебедки механизмов выдвижения колонн размещены на верхней площадке ходовой части.
В транспортном положении колонны подмостей складываются, а ограждение и кран укладываются на платформу.
Техническая характеристика
Грузоподъемность площадки, кг ............................ 600
Высота подъема площадки, мм:
наименьшая ............................................. 3,2
наибольшая ............................................ 12,0
Время подъема площадки на наибольшую
высоту, с ................................................ 120
Размеры площадки, м ................................ 5,0 х 2,0
Грузоподъемность крана, кг ............................... 100
Скорость движения подмостей по
горизонтали, м/с ......................................... 0,2
Ширина колеи, м .......................................... 2,2
База, м:
наименьшая ............................................ 2,6
наибольшая ............................................ 2,7
Двигатель ...................................... бензоэлектри-
ческий агрегат
АБ-8-Т/400М
Установленная мощность, кВт .............................. 9,2
Габариты подмостей в транспортном
положении, мм:
длина ................................................ 5000
ширина ............................................... 2500
высота ............................................... 3300
Масса, т ................................................... 5
ИЗГОТОВИТЕЛЬ - Мытищинский опытно-механический завод, 141000, г. Мытищи Московской обл.
РАЗРАБОТЧИК - ВКТИ Монтажстроймеханизация, 113114, Москва, Кожевнический проезд, 4/5
Подмости ПВС-12
1 - база; 2 - телескопическая колонна; 3 - платформа;
4 - ограждение; 5 - кран