Главная // Актуальные документы // ОДМ (Отраслевой дорожный методический документ)СПРАВКА
Источник публикации
М.: ФГБУ "Информавтодор", 2020
Примечание к документу
Текст документа приведен в соответствии с публикацией на сайте https://rosavtodor.gov.ru/ по состоянию на 01.04.2021.
Документ рекомендован к применению с 06.06.2019
Распоряжением Росавтодора от 06.06.2019 N 1385-р.
Название документа
"ОДМ 218.6.034-2019. Отраслевой дорожный методический документ. Рекомендации по проектированию дублеров автомагистралей на подходах к крупным городам"
(издан на основании Распоряжения Росавтодора от 06.06.2019 N 1385-р)
"ОДМ 218.6.034-2019. Отраслевой дорожный методический документ. Рекомендации по проектированию дублеров автомагистралей на подходах к крупным городам"
(издан на основании Распоряжения Росавтодора от 06.06.2019 N 1385-р)
Федерального дорожного агентства
от 6 июня 2019 г. N 1385-р
ОТРАСЛЕВОЙ ДОРОЖНЫЙ МЕТОДИЧЕСКИЙ ДОКУМЕНТ
РЕКОМЕНДАЦИИ
ПО ПРОЕКТИРОВАНИЮ ДУБЛЕРОВ АВТОМАГИСТРАЛЕЙ
НА ПОДХОДАХ К КРУПНЫМ ГОРОДАМ
ОДМ 218.6.034-2019
ОКС
1 РАЗРАБОТАН Федеральным автономным учреждением "Российский дорожный научно-исследовательский институт" (ФАУ "РОСДОРНИИ").
2 ВНЕСЕН Управлением строительства и эксплуатации автомобильных дорог Федерального дорожного агентства.
3 ИЗДАН на основании
распоряжения Федерального дорожного агентства от 06.06.2019 N 1385-р.
4 ИМЕЕТ РЕКОМЕНДАТЕЛЬНЫЙ ХАРАКТЕР.
5 ВВЕДЕН ВПЕРВЫЕ.
1.1 Настоящий отраслевой дорожный методический документ (далее - методический документ) является актом рекомендательного характера в дорожном хозяйстве, содержащим рекомендации по разработке планировочных решений и проектированию дублеров автомагистралей на подходах и обходах крупных и крупнейших городов.
1.2 Данный методический документ распространяется на проектирование дублеров на подходах и обходах крупных и крупнейших городов для вновь проектируемых и существующих автомагистралей категории IА, скоростных дорог категории IБ, магистральных дорог скоростного движения или магистральных улиц общегородского значения непрерывного движения.
1.3 Методический документ предназначен для применения структурными подразделениями Федерального дорожного агентства Министерства транспорта Российской Федерации, федеральными управлениями автомобильных дорог, управлениями автомобильных магистралей, межрегиональными дирекциями по строительству автомобильных дорог федерального значения, территориальными органами управления дорожным хозяйством субъектов Российской Федерации, органами местного самоуправления, проектными организациями при разработке схем транспортного обслуживания планируемых к освоению территорий, проектов планировки территории, а также подготовке проектной документации по устройству дублеров автомагистралей на подходах и обходах крупных и крупнейших городов.
В настоящем методическом документе использованы нормативные ссылки на следующие документы:
ГОСТ 24.501-82 Автоматизированные системы управления дорожным движением. Общие требования
ГОСТ 9238-2013 Габариты железнодорожного подвижного состава и приближения строений
ГОСТ 9720-76 Габариты приближения строений и подвижного состава железных дорог колеи 750 мм
ГОСТ 26804-2012 Ограждения дорожные металлические барьерного типа. Технические условия
ГОСТ 32843-2014 Дороги автомобильные общего пользования. Столбики сигнальные дорожные. Технические требования
ГОСТ 32846-2014 Дороги автомобильные общего пользования. Элементы обустройства. Классификация
ГОСТ 32865-2014 Дороги автомобильные общего пользования. Знаки переменной информации. Технические требования
ГОСТ 32866-2014 Дороги автомобильные общего пользования. Световозвращатели дорожные. Технические требования
ГОСТ 32947-2014 Дороги автомобильные общего пользования. Опоры стационарного электрического освещения. Технические требования
ГОСТ 32953-2014 Дороги автомобильные общего пользования. Разметка дорожная. Технические требования
ГОСТ 32960-2014 Дороги автомобильные общего пользования. Нормативные нагрузки, расчетные схемы нагружения
ГОСТ 32964-2014 Дороги автомобильные общего пользования. Искусственные неровности сборные. Технические требования. Методы контроля
ГОСТ 33062-2014 Дороги автомобильные общего пользования. Требования к размещению объектов дорожного и придорожного сервиса
ГОСТ 33128-2014 Дороги автомобильные общего пользования. Дорожные ограждения. Технические требования
ГОСТ 33150-2014 Дороги автомобильные общего пользования. Проектирование пешеходных и велосипедных дорожек. Общие требования
ГОСТ 33151-2014 Дороги автомобильные общего пользования. Элементы обустройства. Технические требования. Правила применения
ГОСТ 33176-2014 Горизонтальная освещенность от искусственного освещения. Технические требования
ГОСТ 33475-2015 Дороги автомобильные общего пользования. Геометрические элементы. Технические требования
ГОСТ Р 50970-2011 Технические средства организации дорожного движения. Столбики сигнальные дорожные. Общие технические требования. Правила применения
ГОСТ Р 50971-2011 Технические средства организации дорожного движения. Световозвращатели дорожные. Общие технические требования. Правила применения
ГОСТ Р 51256-2018 Технические средства организации дорожного движения. Разметка дорожная. Классификация. Технические требования
| | ИС МЕГАНОРМ: примечание. В официальном тексте документа, видимо, допущена опечатка: стандарт имеет номер ГОСТ Р 52282-2004, а не ГОСТ Р 52282-2019. | |
ГОСТ Р 52282-2019 Технические средства организации дорожного движения. Светофоры дорожные. Типы, основные параметры, общие технические требования, методы испытаний
ГОСТ Р 52289-2019 Технические средства организации дорожного движения. Правила применения дорожных знаков, разметки, светофоров, дорожных ограждений и направляющих устройств
ГОСТ Р 52290-2004 Технические средства организации дорожного движения. Знаки дорожные. Общие технические требования
ГОСТ Р 52605-2006 Технические средства организации дорожного движения. Искусственные неровности. Общие технические требования. Правила применения
ГОСТ Р 52748-2007 Дороги автомобильные общего пользования. Нормативные нагрузки, расчетные схемы нагружения и габариты приближения на автомобильных дорогах общего пользования
ГОСТ Р 52766-2007 Дороги автомобильные общего пользования. Элементы обустройства. Общие требования
СП 32.13330.2012 Канализация. Наружные сети и сооружения. Актуализированная редакция СНиП 2.04.03-85
СП 34.13330.2012 Автомобильные дороги (актуализированная редакция СНиП 2.05-02-85*)
СП 42.13330.2016 Градостроительство. Планировка и застройка городских и сельских поселений (актуализированная редакция СНиП 2.07.01-89*)
СП 52.13330.2016 Естественное и искусственное освещение (актуализированная редакция СНиП 23-05-95*)
СП 59.13330.2016 Доступность зданий и сооружений для маломобильных групп населения (актуализированная редакция СНиП 35-01-2001)
СП 122.13330.2012 Тоннели железнодорожные и автодорожные (актуализированная редакция СНиП 32-04-97)
СП 33-101-2003 Определение основных расчетных гидрологических характеристик
В настоящем методическом документе применены следующие термины с соответствующими определениями:
3.1 автомагистраль категории IА, скоростная дорога категории IБ, магистральная дорога скоростного движения или магистральная улица общегородского значения непрерывного движения (далее - автомагистраль): Автомобильные дороги, городские дороги или городские улицы, объединенные по уровню функционального назначения и характеру обслуживаемых транспортных связей, для которых устраиваются дублеры на подходах и обходах крупных и крупнейших городов.
3.2 доступ на автомагистраль: Возможность въезда на автомагистраль и съезда с нее транспортных средств, определяемая типом пересечения или примыкания.
3.3 дублер автомагистрали на подходе (обходе) к крупному или крупнейшему городу (далее - дублер): Автомобильная дорога, городская дорога или городская улица, расположенная в одном направлении с автомагистралью и предназначенная для разгрузки автомагистрали от местных транспортных потоков с одновременным устранением отрицательного влияния на транзитный транспортный поток, движущийся по автомагистрали, и обеспечением достаточного транспортного сообщения с прилегающей сетью автомобильных дорог и улиц.
3.4 зона влияния крупного или крупнейшего города: Территория, на которой крупный или крупнейший город оказывает влияние на загрузку транспортной инфраструктуры.
3.5 зона маневрирования: Участок переходно-скоростной полосы, при движении по которому водитель оценивает возможность выезда на главную дорогу.
3.6 коэффициент загрузки автомобильной дороги: Отношение фактической интенсивности движения транспортных средств по автомобильной дороге, приведенной к легковому автомобилю, к пропускной способности дороги за данный промежуток времени.
3.7
крупнейшие города: Города с численностью населения более миллиона человек (в соответствии с
СП 42.13330.2016).
3.8
крупные города: Города с численностью населения более 250 тысяч человек (в соответствии с
СП 42.13330.2016).
3.9 локальные дублеры: Городские дороги или городские улицы, позволяющие разгрузить основную автомагистраль от местных транспортных потоков на коротких расстояниях в пределах населенного пункта, транспортной развязки, участка концентрации грузообразующих или грузопоглощающих пунктов, без ограничения количества пересечений и примыканий с существующей улично-дорожной сетью.
3.10 маломобильные группы населения: Люди, испытывающие затруднения при самостоятельном передвижении, получении услуги, необходимой информации или при ориентировании в пространстве. К маломобильным группам населения здесь отнесены: инвалиды, люди с временным нарушением здоровья, беременные женщины, люди преклонного возраста, люди с детскими колясками и т.п.
3.11 место сопряжения: Въезд с автомагистрали на дублер и выезд с дублера на автомагистраль, обустроенные переходно-скоростными полосами с удлиненными зонами маневрирования.
3.12 местный транспортный поток: Совокупность транспортных средств, одновременно участвующих в движении по автомагистрали и определенному участку улично-дорожной сети, осуществляющих поездки в местных целях в пределах зоны влияния крупного или крупнейшего города.
3.13 отдельная система водоотвода: Совокупность всех устройств, обеспечивающих отвод поверхностных вод от земляного полотна и дорожной одежды, непосредственно с дублера, и не сообщающаяся с системой водоотвода основной автомагистрали.
3.14 подходы к крупным или крупнейшим городам: Автомобильные дороги, радиально ориентированные к центру города, по которым осуществляется въезд и выезд автомобильного транспорта за пределы пригородной зоны.
3.15 распределительные дублеры: Автомобильные дороги, городские дороги и городские улицы, позволяющие разгрузить основную автомагистраль от местных транспортных потоков на больших расстояниях в пределах агломераций крупных или крупнейших городов и обеспечивающие транспортную связь между удаленными частями одного населенного пункта или несколькими граничащими друг с другом населенными пунктами.
3.16 распределительные дублеры с выделенной полосой для общественного транспорта: Автомобильные дороги, городские дороги или городские улицы, позволяющие разгрузить основную автомагистраль от местных транспортных потоков и общественного транспорта, следующего по пригородным и местным маршрутам, с выделением отдельной полосы для движения общественного транспорта, на больших расстояниях в пределах агломераций крупных или крупнейших городов и обеспечивающие транспортную связь между удаленными частями одного населенного пункта или несколькими граничащими друг с другом населенными пунктами.
3.17 реверсивное движение: Движение транспортных средств по одной или нескольким полосам, на которых направление движения может изменяться на противоположное.
3.18 совмещенная система водоотвода: Совокупность всех устройств, обеспечивающих отвод поверхностных вод от земляного полотна и дорожной одежды как с основной автомагистрали, так и с ее дублера.
3.19 транзитный транспортный поток: Совокупность транспортных средств, участвующих в движении по автомагистрали и осуществляющих транзитные поездки за пределы зоны влияния крупного или крупнейшего города.
4.1 Дублер автомагистрали на подходе (обходе) к крупному или крупнейшему городу по условиям проезда по нему и доступа на него транспортных средств является автомобильной дорогой обычного типа (нескоростной дорогой) общего пользования.
4.2 Основными функциями дублеров являются:
- разгрузка автомагистрали от местных транспортных потоков с устранением отрицательного влияния на транзитный транспортный поток, движущийся по автомагистрали;
- осуществление транспортных связей с прилегающей улично-дорожной сетью при условии обеспечения высокого уровня безопасности дорожного движения и удобства движения для водителей транспортных средств.
4.3 Дублеры устраиваются на следующих дорогах или улицах:
- вне населенных пунктов на автомагистрали категории IА или скоростной дороге категории IБ;
- в населенных пунктах на магистральных дорогах скоростного движения или магистральных улицах общегородского значения непрерывного движения.
4.4 В зависимости от назначения дублеры подразделяются на следующие типы:
- распределительные с выделенной полосой для общественного транспорта (РДП);
- распределительные (РД);
- локальные (ЛД).
Тип дублера назначают в соответствии с таблицей 1.
Таблица 1
Типы дублеров автомагистралей
Тип дублера | Категория дублируемой автомагистрали | Назначение дублера |
РДП, располагаемые: | | |
вне населенных пунктов | Автомагистраль категории IА Скоростная дорога категории IБ | Пропуск местных транспортных потоков на большие расстояния в пределах агломераций крупных или крупнейших городов с ограниченным выездом на автомагистраль, с интенсивностью движения общественного транспорта более 40 ед./ч |
в пределах населенных пунктов | Магистральная дорога скоростного движения; магистральная улица общегородского значения непрерывного движения |
РД, располагаемые: | | |
вне населенных пунктов | Автомагистраль категории IА Скоростная дорога категории IБ | Пропуск местных транспортных потоков на большие расстояния в пределах агломерации крупных или крупнейших городов с ограниченным выездом на автомагистраль |
в пределах населенных пунктов | Магистральная дорога скоростного движения; магистральная улица общегородского значения непрерывного движения |
ЛД, располагаемые: | | |
вне населенных пунктов | Автомагистраль категории IА Скоростная дорога категории IБ | Пропуск местных транспортных потоков на короткие расстояния в пределах населенного пункта или транспортной развязки с ограниченным выездом на автомагистраль |
в пределах населенных пунктов | Магистральная дорога скоростного движения; магистральная улица общегородского значения непрерывного движения |
4.5 По отношению к автомагистрали РДП и РД могут располагаться:
- по обеим сторонам с организацией одностороннего движения на дублере;
- с одной стороны с организацией двухстороннего движения на дублере.
По результатам соответствующего технико-экономического обоснования при высокоинтенсивном движении транспортных средств в местных целях (более 50%) и при равномерном распределении застройки населенного пункта по обеим сторонам автомагистрали возможно устройство РДП и РД, располагаемых по обеим сторонам, с организацией двухстороннего движения.
Локальные дублеры располагают с одной стороны от автомагистрали с организацией двухстороннего движения.
4.6 Транспортное сообщение с прилегающей улично-дорожной сетью предусматривается на РДП, РД и ЛД с устройством достаточного количества пересечений и примыканий с существующей улично-дорожной сетью.
4.8 Мостовые сооружения и трубы на дублерах проектируются в соответствии с требованиями
СП 35.13330.2011. При проектировании автодорожных тоннелей на дублерах, в том числе городских транспортных тоннелей и коротких автодорожных тоннелей - путепроводов тоннельного типа, руководствуются требованиями
СП 122.13330.2012.
4.9 Нормативные нагрузки и расчетные схемы нагружения дублеров назначаются по
ГОСТ 32960-2014, габариты приближения - по
ГОСТ Р 52748-2007. Конструирование и расчет нежестких дорожных одежд выполняют в соответствии с
нормами [2], проектирование жестких дорожных одежд - согласно
рекомендациям [3].
4.10 При проектировании дублеров проектные решения по установке элементов обустройства принимаются в соответствии с действующими национальными стандартами и межгосударственными стандартами, введенными в действие в качестве национальных.
5 Общие принципы разработки планировочных решений
5.1 Условия устройства дублеров
5.1.1 Устройство дублеров рассматривают на стадии разработки схем транспортного обслуживания планируемых к освоению территорий, в период подготовки проекта планировки территории, в
Порядке подготовки документации, установленном приказом Министерства транспорта Российской Федерации для дорог общего пользования
[4]. В целях минимизации затрат на дополнительный отвод земель дублеры устраивают преимущественно в пределах придорожной полосы дублируемой автомагистрали, поскольку, как правило, придорожная полоса освобождена от застройки и различных объектов (кроме объектов дорожного сервиса), что впоследствии может существенно облегчить отвод земель для дублера.
5.1.2 В процессе установления целесообразности устройства дублеров их местоположение, технические характеристики и параметры определяют на основе экономических изысканий
[5] при разработке проекта планировки территории в соответствии с Градостроительным
кодексом [6].
При разработке проекта планировки территории определяют:
- параметры устойчивого развития территории с целью определения месторасположения дублеров;
- границы земельных участков или полосы отвода, на которых предполагается размещение конструкций и элементов дублеров, а также объектов дорожного сервиса и дорожных сооружений;
- границы придорожной полосы дублируемой автомагистрали;
- границы близлежащих населенных пунктов с целью установления правового статуса проектируемого дублера, определения условий финансирования его строительства и последующей эксплуатации.
5.1.3 Дублеры располагают в зоне влияния крупного или крупнейшего города и окружающей его городской агломерации (см.
приложение А).
При определении необходимости устройства дублеров рассматривают зоны влияния крупных или крупнейших городов протяженностью не менее значений, указанных в таблице 2. При проектировании учитывают индивидуальные территориальные и географические особенности рассматриваемых городов и при наличии более протяженной территории пригородов и населенных пунктов, входящих в городские агломерации, увеличивают протяженность зоны влияния.
Таблица 2
Минимальные значения зоны влияния
крупных и крупнейших городов
| Численность населения города, чел. | Зона влияния городов, км, не менее |
Крупнейшие | Более 12 000 000 (г. Москва) | 40 |
Более 5 000 000 (г. Санкт-Петербург) | 25 |
Более 1 000 000 | 20 |
Крупные | От 500 000 до 1 000 000 | 15 |
От 250 000 до 500 000 | 10 |
5.1.4 На основании фактических данных по интенсивности движения транспортных средств, получаемых согласно
рекомендациям [7], определяют доли пользователей, осуществляющих движение в местных целях по автомагистралям в зоне влияния крупных или крупнейших городов, в составе общего транспортного потока (доли местных поездок в составе общего транспортного потока). Для примера в таблице 3 даны средние значения доли местных поездок в составе общего транспортного потока, полученные для участков автомобильных дорог федерального значения, расположенных на подходах к городам различной численности населения.
Таблица 3
Средние значения доли местных поездок в составе общего
транспортного потока на автомобильных дорогах
федерального значения
| Численность населения города, тыс. чел. | Средние значения доли местных поездок в составе общего транспортного потока, % |
Крупнейшие | Более 12 000 000 (г. Москва) | 51 |
Более 5 000 000 (г. Санкт-Петербург) | 45 |
Более 1 000 000 | 37 |
Крупные | От 500 000 до 1 000 000 | 34 |
От 250 000 до 500 000 | 50 |
5.1.5 При выполнении экономических изысканий
[5] прогнозирование перспективной интенсивности движения транспортных средств в целях оценки коэффициента загрузки движением определяется на основании фактических данных по интенсивности движения за последние 3 - 5 лет на рассматриваемой автомагистрали по упрощенному методу прогнозирования интенсивности движения в соответствии с
руководством [8].
Для участков автомагистралей, на которых наблюдается тенденция к снижению интенсивности, рекомендуется проводить анализ сложившейся ситуации на наличие обстоятельств, вынуждающих водителей использовать пути объезда данного участка (снижение скорости движения, непредсказуемость времени в пути из-за возможности образований дорожных заторов, долговременные дорожные работы и т.п.). При выявлении причин, обусловленных необеспеченной пропускной способностью участка автомагистрали, следует проводить оценку коэффициента загрузки движением.
5.1.6 Дублеры устраивают в следующих случаях:
- для ограничения доступа на автомагистраль местных транспортных потоков при необходимости повышения пропускной способности и одновременного устранения отрицательного воздействия транспортных средств на автомагистраль, осуществляющих поездки в местных целях, по участкам автомагистрали;
- планирования развития прилегающих к автомагистрали территорий при существенном увеличении интенсивности движения местных транспортных потоков в краткосрочной и среднесрочной перспективе.
5.1.7 Для определения необходимости повышения пропускной способности автомагистрали выявляются участки с фактическим коэффициентом загрузки, равным или более 0,65. Значение коэффициента загрузки 0,65 принято равным в соответствии с требованиями
таблицы 5.14 СП 34.13330.2012 и характеризует режим перегрузки (наличие сплошного потока автомобилей или заторов) и экономическую неэффективность работы участка автомагистрали.
В расчетах, связанных с определением коэффициента загрузки дороги движением, следует использовать количество превышений расчетной часовой интенсивности движения транспортных средств в одном направлении автомагистрали в течение года не более 30.
Алгоритм выявления необходимости повышения пропускной способности включает следующие шаги:
- сбор данных по фактической интенсивности движения на рассматриваемой автомагистрали в зоне влияния крупного города (сбор данных осуществляется по методике, изложенной в
рекомендациях [7]);
- выявление участков автомагистрали с коэффициентом загрузки более 0,65;
- определение процентного соотношения пользователей, использующих автомагистраль для местных поездок в общем составе потока для последующего определения количества полос;
- определение типа дублера, места расположения его по отношению к автомагистрали; протяженности; количества полос; схем организации движения, основываясь на выявленных загруженных участках и моделировании транспортных потоков в зоне загруженных участков автомагистрали.
Подробно обоснование устройства дублеров по результатам с целью повышения пропускной способности участков автомагистралей приведено в
приложении Б.
5.1.8 Для определения целесообразности устройства дублеров в условиях развития в краткосрочной и среднесрочной перспективе прилегающих к автомагистрали территорий, обуславливающих существенное увеличение интенсивности местных транспортных потоков, выявляют участки автомагистрали, на которых появление новых объектов в перспективе приведет к необеспеченной пропускной способности.
Алгоритм определения целесообразности устройства дублеров в условиях краткосрочного и среднесрочного развития прилегающих к автомагистрали территорий заключается в следующем:
- сбор информации, включающий: планируемый в конце рассматриваемого периода объем грузоперевозок в зоне тяготения анализируемой автомагистрали с учетом создания новых промышленных и производственных зон, складских помещений, торговых центров и т.п. (сбор информации осуществляется согласно
нормам [5]); прогнозируемую численность населения строящихся или планируемых к постройке объектов жилой недвижимости, расположенных в зоне тяготения автомагистрали, на основании данных Федеральной службы государственной статистики и прогнозируемого прироста; перспективный уровень автомобилизации региона в зависимости от численности населенных пунктов с учетом увеличения; планируемый в конце рассматриваемого периода объем пассажироперевозок на рассматриваемом участке автомагистрали (сбор данных по пассажироперевозкам осуществляется согласно
нормам [5]);
- выявление участков автомагистрали, на которых в конце рассматриваемого периода будет не обеспечена пропускная способность (коэффициент загрузки в краткосрочной или среднесрочной перспективе прогнозируется более 0,65);
- определение типа дублера, расположения его по отношению к автомагистрали, протяженности, количеству полос, схемам организации движения, основываясь на загруженных в перспективе участках и моделировании транспортных потоков в зоне загруженных участков автомагистрали.
Обоснование целесообразности устройства дублеров с учетом планирования на краткосрочную и среднесрочную перспективу развития прилегающих территорий к автомагистрали, обуславливающего существенное увеличение интенсивности движения местных транспортных потоков, приведено в
приложении В.
5.1.9 В местах планируемого размещения дублеров проводят моделирование транспортных потоков с рассмотрением вариантов перераспределения перспективных транспортных потоков в совокупности со смежными и несмежными участками городской агломерации с помощью специализированных программ, в том числе в моменты пиковых нагрузок, для обоснования эффективности работы дублера. По результатам моделирования транспортных потоков выявляются преимущества и недостатки планируемого расположения дублера по отношению к автомагистрали, а также способ размещения по отношению к автомагистрали (с одной стороны, по обеим сторонам), схемы организации движения на дублере (одностороннее, двухстороннее); необходимость увеличения протяженности дублеров в пределах зоны влияния крупных или крупнейших городов; последствия принятых решений по пересечению и примыканию с прилегающей улично-дорожной сетью и т.п.
5.1.10 Дублеры устраивают в зоне влияния крупного города преимущественно таким образом, чтобы начало и (или) конец дублера ограничивался либо существующей транспортной развязкой, либо границами населенного пункта, расположенного в районе тяготения автомагистрали. Следует стремиться, чтобы границы населенного пункта соответствовали границам перспективного территориального развития населенного пункта с расчетным сроком 20 лет.
5.2 Месторасположение дублеров по отношению к автомагистрали
5.2.1 При выборе рационального месторасположения дублеров по отношению к автомагистрали учитывают следующие условия:
- соответствие мест сопряжения требованиям удобства, безопасности и недопущения снижения скорости движения автомобилей по автомагистрали;
- возможность устройства только одного места сопряжения автомагистрали и дублера в пределах одного населенного пункта или нескольких населенных пунктов, граничащих друг с другом, на участках протяженностью не более 10 км для автомагистрали и 5 км для скоростной дороги;
- обеспечение всех потребностей местных транспортных потоков связями дублера с существующей сетью автомобильных дорог и улиц при исключении существующих пересечений и примыканий с автомагистралью в местах прохождения дублеров;
- допущение частичного или полного проложения дублера по существующей автомобильной дороге или улице, расположение которых отвечает целям дублеров с доведением (по возможности) их технических параметров до нормативных требований для дублеров;
- возможность проектирования дублера с обходом отдельных препятствий (исторических и культурных памятников, ценных сельскохозяйственных угодий, жилых домов и т.п.) при условии обеспечения транспортного сообщения с прилегающей улично-дорожной сетью при соответствующем технико-экономическом обосновании;
- обеспечение устройства совмещенной системы водоотвода как для автомагистрали, так и для дублера;
- перераспределение движения общественного транспорта местных и пригородных маршрутов с автомагистрали на дублер;
- учет особенностей сложившейся застройки и существующих инженерных сооружений и коммуникаций.
5.2.2 Для размещения дублеров максимально используют существующую придорожную полосу автомагистрали в соответствии с
пунктом 5.1.1, не ухудшая технические параметры дублера, элементы водоотвода и другие дорожные сооружения. Рекомендуемое расстояние между автомагистралью и дублером при условии отсутствия стесненных условий составляет 50 м и может уточняться в зависимости от сложившихся ситуационных особенностей, что позволит при необходимости в долгосрочной перспективе проводить иные мероприятия, направленные на обеспечение пропускной способности, повышение безопасности и комфорта дорожного движения. В стесненных условиях ширина полосы между автомагистралью и дублером принимается равной не менее 15 м вне населенных пунктов и не менее 5 м в пределах населенных пунктов.
В крайне стесненных условиях при соответствующем технико-экономическом обосновании возможно устройство полос, выполняющих одну из основных функций дублера (распределение транзитных и местных транспортных потоков) непосредственно на автомагистрали, с обязательным устройством дорожного ограждения или иных разделяющих устройств для разграничения потоков.
5.2.3 Выбор месторасположения дублера определяется его назначением (федеральное, региональное или межмуниципальное, муниципальное) и наличием населенного пункта, существующей придорожной полосы автомагистрали или других земельных участков, выделенных под строительство дублера, дорожных сооружений и пр.
Назначение дублера обусловлено тем, в чьей собственности будет находиться дублер (федеральной, субъектов Российской Федерации, муниципальной), что, в свою очередь, определяется источником финансирования его устройства.
5.2.4 При установлении рационального месторасположения дублера по отношению к автомагистрали рассматривают следующие возможные способы его размещения в зависимости от особенностей сложившейся застройки и инженерных сооружений в соответствии с
подразделом 4.5:
- по обеим сторонам автомагистрали с организацией одностороннего движения на дублере при максимальном использовании существующей придорожной полосы автомагистрали;
- с одной стороны автомагистрали с организацией двухстороннего движения на дублере при условиях максимального использования существующей придорожной полосы автомагистрали;
- с одной стороны автомагистрали с организацией двухстороннего движения на дублере вне пределов существующей придорожной полосы автомагистрали, с тщательной проработкой организации дорожного движения с точки зрения удобства и информирования водителей о целях дублера;
- с одной стороны автомагистрали с организацией двухстороннего движения на дублере с максимально возможным использованием элементов существующей улично-дорожной сети.
5.2.5 Устройство дублера по обеим сторонам автомагистрали целесообразно в случае расположения города (поселка городского типа) с двух сторон от нее.
Размещение дублера с одной стороны автомагистрали целесообразно в случае расположения населенного пункта любого типа, крупных грузообразующих и грузопоглощающих пунктов и т.п. с одной стороны автомагистрали.
5.2.6 Характер устраиваемой системы водоотвода (отдельная, совмещенная) зависит в основном от месторасположения дублера. При принятии проектных решений:
- определяют возможность использования системы водоотвода автомагистрали, ее пропускную способность;
- проводят сравнение стоимости устройства отдельной системы водоотвода и стоимости применения необходимых мероприятий по устройству совмещенной системы;
- оценивают последствия воздействия сравниваемых вариантов систем водоотвода на окружающую среду.
5.2.7 При установлении рационального месторасположения дублера по отношению к автомагистрали рассматривают следующие возможные способы его размещения в зависимости от типа устраиваемой системы водоотвода:
- в придорожной полосе автомагистрали с учетом эффективной совмещенной системы водоотвода в ее пределах;
- в придорожной полосе автомагистрали с учетом эффективной отдельной системы водоотвода в ее пределах;
- на удалении от автомагистрали с учетом эффективной отдельной системы водоотвода вне ее пределов.
5.2.8 При проектировании дублеров учитывают особенности рельефа местности, ландшафта, условия обеспечения видимости и зрительной ясности
[9].
5.3 Основные планировочные решения дублеров
5.3.1 При разработке планировочных решений дублеров учитывают следующие факторы, характерные для крупных городских агломераций:
- пригородные территории крупных или крупнейших городов имеют плотную застройку и продолжают активно застраиваться, что, с одной стороны, приводит к увеличению интенсивности движения на автомобильных дорогах, а с другой - к отсутствию свободных территорий для строительства новых автомобильных дорог;
- радиальные автомагистрали на пригородных территориях используются как для транзитного движения, так и для местных поездок на небольшие расстояния без выезда из пригородной зоны, что приводит к увеличению интенсивности движения на автомагистралях и резкому снижению скоростей движения и пропускной способности из-за пересечений и примыканий с прилегающей улично-дорожной сетью;
- перемещение промышленных зон, складских помещений, крупных торгово-развлекательных центров и т.п. из крупных или крупнейших городов в близлежащие пригороды, что увеличивает количество грузовых автомобилей в составе транспортного потока как на радиальных автомагистралях, так и на пригородной улично-дорожной сети.
5.3.2 При подготовке проекта планировки территории выполняют экономические изыскания, включающие предварительные расчеты стоимости и экономической эффективности устройства дублеров автомагистрали на подходах к крупным или крупнейшим городам, а также оценку транспортной и экологической безопасности. Для этого проводят комплекс работ по сбору, обработке, систематизации и анализу исходных данных, в том числе осуществляют:
- анализ схем территориального планирования, существующих планов перспективного развития пригородных зон, материалов генеральных планов поселений, целевых федеральных и региональных программ и т.п.;
- изучение транспортных потоков в зоне тяготения существующей автомагистрали;
- анализ комплексной транспортной схемы прилегающей пригородной улично-дорожной сети;
- прогноз основных показателей социально-экономического развития региона, где планируется реализация проекта, таких как численность населения, объемы пассажирских и грузовых перевозок, инвестиций, а также жилищного строительства;
- расчет 20-летней перспективной интенсивности на рассматриваемом участке автомагистрали.
5.3.3 При изучении транспортных потоков в зоне тяготения существующей автомагистрали особое внимание уделяют определению объемов грузовых и пассажирских перевозок. При расчете объемов грузовых перевозок важными являются оценка и прогноз объемов производства промышленной продукции, товаров и услуг для грузообразующих и грузопоглощающих пунктов, а также структуры грузопотоков и численности парка грузовых автомобилей. При определении объемов пассажирских перевозок используют следующие данные: численность населения пригородных зон, включая дачные и коттеджные поселки, уровень автомобилизации, объемы пассажироперевозок автотранспортными компаниями, характер использования территорий. В перечень грузо- и пассажирообразующих точек следует включать все предприятия, находящиеся в зоне тяготения автомагистрали, с возможностью выезда непосредственно на автомагистраль, в том числе промышленные и сельскохозяйственные предприятия, строительные организации, предприятия торговли и сферы обслуживания, объекты бытового и административного назначения (медицинского обслуживания, учебные заведения и др.), складские помещения, терминалы и т.п. Со всех грузо- и пассажирообразующих точек, вошедших в перечень, производится сбор данных по интенсивности движения грузовых и легковых автомобилей. На основании полученных данных осуществляется прогноз перспективной интенсивности движения в соответствии с
подразделом 6.1.
5.3.4 В процессе экономических изысканий на стадии подготовки к разработке проектно-сметной документации на основании анализа исходных данных и прогноза перспективной интенсивности разрабатывают несколько вариантов повышения пропускной способности на рассматриваемом участке автомагистрали, например:
- устройство дублеров автомагистрали;
- реконструкция автомагистрали с увеличением количества полос, устройством транспортных развязок в разных уровнях и т.д.;
- строительство новой автомобильной дороги для перераспределения транспортной нагрузки с существующей автомагистрали.
Для каждого варианта проводятся предварительные расчеты стоимости и моделирование транспортных потоков в соответствии с
пунктом 5.1.9. Экономическая эффективность оценивается при определении суммарных дисконтированных затрат за срок сравнения вариантов (период жизненного цикла дублера) с учетом моделирования транспортных потоков, строительных и транспортно-эксплуатационных затрат, оценки транспортной и экологической безопасности.
6 Проектирование дублеров
6.1 Методы определения прогнозируемой интенсивности движения
6.1.1 Прогнозирование интенсивности движения транспортных средств на дублерах заключается в определении доли перспективного парка автомобилей, осуществляющих местные поездки (поездки на короткие расстояния) на рассматриваемой территории.
Определение прогнозируемой интенсивности движения транспортных средств на дублерах проводят в соответствии:
- с методом прогнозирования интенсивности движения вероятного количества автомобилей, совершающих поездки в местных целях между парами корреспондирующих пунктов (населенных пунктов, крупных грузообразующих и грузопоглощающих точек, транспортных развязок и т.п.) (далее - метод прогнозирования интенсивности движения);
- упрощенным методом прогнозирования интенсивности движения местных транспортных потоков на основании прогнозных сведений об объеме грузовых и пассажирских перевозок (далее - упрощенный метод прогнозирования интенсивности движения).
6.1.2 Упрощенный метод прогнозирования интенсивности движения допускается применять при отсутствии достаточного объема данных.
6.1.3 Метод прогнозирования интенсивности движения сводится к формированию потоков имеющегося и перспективного парка автомобилей, совершающих поездки в местных целях на расстояние, равное протяженности проектируемого дублера.
6.1.4 Основные положения расчета методом прогнозирования интенсивности движения приведены в
руководстве [8]. Метод учитывает особенности прогнозирования интенсивности движения как между населенными пунктами, так и в их пределах.
Интенсивность движения между населенными пунктами зависит от численности населения корреспондирующих пунктов. Прогнозирование интенсивности заключается в определении ожидаемой интенсивности движения местных транспортных потоков между двумя корреспондирующими пунктами на основе прогноза спроса на передвижение и прогноза распределения спроса на передвижение местных транспортных потоков по автомагистрали.
Рассматриваемая территория включает всю область тяготения автомагистрали в зоне влияния крупного или крупнейшего города с учетом всех корреспондирующих пунктов, имеющих выход на дублируемую автомагистраль. Основной принцип определения интенсивности заключается в разделении транзитных и местных транспортных потоков. Формирование местных транспортных потоков выполняют с разделением их по типам автомобилей на легковые, автобусы и грузовые.
6.1.5 Используя метод прогнозирования, перспективную интенсивность движения транспортных средств на дублерах между населенными пунктами Nперсп.местн., авт./сут, определяют по формуле

(1)
где PР - суммарная приведенная численность населения в населенных пунктах, чел.;
K
С - коэффициент связанности корреспондирующих пунктов, определяемый в зависимости от их административной значимости и подчиненности по
таблице 1.1 руководства
[8];
QЛ - перспективный уровень насыщения территории легковыми автомобилями, устанавливаемый на основе данных статистической отчетности или материалов ГИБДД МВД России для каждого субъекта Федерации, авт./1000 жит.; при прогнозировании интенсивности движения на 20-летнюю перспективу уровень насыщения легковыми автомобилями увеличивают в 2 - 2,4 раза и грузовыми автомобилями - в 1,6 - 1,8 раза по сравнению с текущим уровнем;
V
Л - средняя скорость движения легковых автомобилей в эталонных условиях, принимаемая равной 83 км/ч согласно
руководству [8];
t
Л - средняя продолжительность работы в течение суток легковых автомобилей, ч/сут, принимается равной 1 ч/сут согласно
руководству [8];
KЛ - коэффициент, характеризующий пользование легковыми автомобилями;
L
пр - приведенное расстояние между населенными пунктами, определяемое как сумма приведенных длин участков дублируемой автомагистрали, соединяющих корреспондирующие пункты, км; в качестве участка принимается отрезок автомагистрали между точками, являющимися населенными пунктами, пересечениями, крупными грузообразующими и грузопоглощающими пунктами, или в которых изменяются технические параметры дороги, оказывающие влияние на скорость движения транспортных средств; определяется согласно
руководству [8] и только для участков автомагистрали между населенными пунктами;
QА - перспективный уровень насыщения территории автобусами, устанавливаемый на основе данных статистической отчетности или автотранспортных предприятий, авт./1000 жит.;
V
А - средняя скорость движения автобусов в эталонных условиях, принимаемая равной 60 км/ч согласно
руководству [8];
tА - средняя продолжительность работы автобусов в течение суток, определяемая как разница между средней продолжительностью работы автобусов в наряде и средней продолжительностью простоя автобусов во время обеда и отдыха водителей, ч/сут;
KА - коэффициент, характеризующий использование автобусов, определяемый как произведение коэффициента готовности автобусов и коэффициента выхода автобусов на линию;
QГ - перспективный уровень насыщения территории грузовыми автомобилями, устанавливаемый на основе данных статистической отчетности или материалов ГИБДД МВД России для каждого субъекта Федерации, авт./1000 жит.;
V
Г - средняя скорость движения грузовых автомобилей в эталонных условиях, принимаемая равной 75 км/ч согласно
руководству [8];
tГ - средняя продолжительность работы в течение суток грузовых автомобилей, определяемая как разница между средней продолжительностью их работы в наряде и средней продолжительностью простоя во время обеда и отдыха водителей, ч/сут;
KГ - коэффициент, характеризующий использование грузовых автомобилей, вычисляемый как произведение коэффициента их готовности и коэффициента выхода на линию;
ДМ - доля транспортных средств, совершающих поездки в местных целях, в общем транспортном потоке, определяемая на основе опроса водителей, едущих по дублируемому участку автомагистрали, или на основании фактических данных по формуле
ДМ = (Nв зоне вл. - Nвне зоны вл.)/Nв зоне вл.; (2)
Nв зоне вл. - среднее значение фактической среднесуточной годовой интенсивности движения по автомагистрали в зоне влияния крупного города, авт./сут;
Nвне зоны вл. - среднее значение фактической среднесуточной годовой интенсивности движения по автомагистрали вне зоны влияния крупного города на расстоянии не более 100 км от крупного города, авт./сут.
6.1.6 Для прогнозирования перспективной интенсивности движения транспортных средств на дублерах в городских условиях специалисты, устанавливающие целесообразность их устройства, определяют спрос на передвижение по нему. Кроме того, необходимым этапом выполнения прогноза является подбор параметров, для которых достигается максимальное соответствие расчетных данных фактической интенсивности движения.
Спрос на передвижение по дублеру описывается набором матриц корреспонденций. Матрицы суточных корреспонденции легковых и грузовых автомобилей, последующее определение спроса на передвижение по дублеру и проведение калибровки осуществляются согласно
руководству [8].
На заключительном этапе после расчетов матриц суточной корреспонденции рассчитывают перспективную среднегодовую суточную интенсивность движения по проектируемому дублеру автомагистрали на подходе к крупному городу.
6.1.7 Упрощенный метод прогнозирования интенсивности движения местных транспортных потоков основан на прогнозных сведениях об объеме грузовых и пассажирских перевозок. В рассматриваемой зоне влияния крупного города выделяются несколько однородных по условиям движения и наличию жилой и промышленной застройки участков, для которых Nперсп.местн. вычисляют по формуле
Nперсп.местн. = (Nф.гр. + Nф.легк. + Nф.пасс.)(1 + B)20, (3)
где Nф.гр. - фактическая интенсивность движения грузовых автомобилей, участвующих в движении местных транспортных потоков, авт./сут;
Nф.легк. - фактическая интенсивность движения легковых автомобилей, участвующих в движении местных транспортных потоков, авт./сут;
Nф.пасс. - фактическая интенсивность движения общественного пассажирского транспорта, участвующего в движении местных транспортных потоков, авт./сут;
B - среднегодовой прирост интенсивности движения (следует принимать на основе анализа изменения интенсивности движения по рассматриваемой автомагистрали за несколько последних лет);
20 - перспективный период, лет.
Для определения фактической интенсивности движения грузовых и легковых автомобилей, а также общественного пассажирского транспорта собирают следующую исходную информацию согласно
нормам [5]:
- по грузоперевозкам в зоне тяготения рассматриваемой автомагистрали;
- уровню автомобилизации в прилегающей к автомагистрали городской агломерации;
- объему пассажироперевозок на рассматриваемом участке автомагистрали.
Для получения информации по грузоперевозкам в зоне тяготения автомагистрали специалисты, устанавливающие целесообразность устройства дублера, определяют перечень грузообразующих точек (предприятий добывающей и перерабатывающей промышленности; сельскохозяйственных предприятий; строительных организаций; предприятий торговли и сферы обслуживания населения; баз по заготовке сельскохозяйственных продуктов; транспортных организаций, осуществляющих грузовые перевозки; складских помещений и т.п.) в зоне влияния крупного или крупнейшего города для транспортных потоков грузовых перевозок, имеющих выезд на рассматриваемый участок автомагистрали. Перечни грузообразующих точек формируют по данным областных статистических управлений. По составленному перечню для каждой грузообразующей точки выявляют суточный объем грузоперевозок, используемый парк грузовых автомобилей с разбивкой по грузоподъемности. Затем данные по каждой грузообразующей точке суммируют.
Фактическую суточную интенсивность движения грузовых автомобилей Nф.гр. рассчитывают по формуле
Nф.гр. = Vгр.пер./Гср., (4)
где Vгр.пер. - суточный объем перевозимых грузов, т/сут;
Гср. - среднее значение грузоподъемности используемых грузовых автомобилей, т/авт.

(5)
Гi - грузоподъемность грузового автомобиля, включенного в автопарк для перевозки, т;
Kгр. - количество грузовых автомобилей в автопарке.
Для получения информации по уровню автомобилизации в прилегающей к автомагистрали городской агломерации составляют перечень населенных пунктов, входящих в прилегающую к автомагистрали городскую агломерацию на подходах к крупному городу. По сформированному перечню определяют фактические данные: общую численность населения и уровень автомобилизации рассматриваемого региона, как правило, по данным областных статистических управлений.
Фактическую суточную интенсивность движения легковых автомобилей Nф.легк., авт./сут, допускается принимать равной количеству автомобилей, вычисленных как произведение уровня автомобилизации рассматриваемого региона на конец предыдущего года и численности населения, проживающего в прилегающей к автомагистрали городской агломерации на подходах к крупному городу.
Для получения информации по объему пассажироперевозок на рассматриваемом участке автомагистрали составляется перечень автобусных маршрутов, проходящих по автомагистрали в зоне влияния крупного города. По сформированному перечню у пассажирских транспортных предприятий запрашивают сведения о количестве автобусов и вместимости транспортных средств, проходящих по данным автобусным маршрутам в сутки. В результате полученные сведения суммируют и получают фактическую суточную интенсивность движения общественного пассажирского транспорта, участвующего в движении местных транспортных потоков Nф.пасс., авт./сут.
6.1.8 На основании полученной перспективной интенсивности движения местных транспортных потоков, а также с учетом прогнозируемого состава транспортного потока определяют приведенную расчетную интенсивность движения с помощью коэффициентов приведения различных транспортных средств к легковому автомобилю согласно
СП 34.13330.2012.
В зависимости от приведенной расчетной интенсивности движения, условий размещения дублеров и потребности в выделении полосы движения для общественного транспорта назначают тип дублера (таблица 4).
Таблица 4
Типы дублеров автомагистралей в зависимости
от приведенной интенсивности движения
Тип дублера | Интенсивность движения общественного транспорта, ед./ч | Приведенная расчетная интенсивность движения местных транспортных потоков, прив. ед./сут | Средние значения перспективной интенсивности движения местных транспортных потоков, ед./сут <*> |
РДП | 40 и более | Свыше 6000 | Свыше 4500/5300 |
От 2000 до 6000 | От 1500/1800 до 4500/5300 |
РД | Менее 40 | От 2000 до 6000 | От 1500/1800 до 4500/5300 |
ЛД | До 2000 | До 1500/1800 |
--------------------------------
<*> В числителе приведено среднее значение перспективной интенсивности движения местных транспортных потоков при количестве грузовых транспортных средств 50% от общего потока, в знаменателе - в размере 20%.
6.1.9 На основании полученной перспективной интенсивности движения местных транспортных потоков определяют количество полос движения n на дублере по формуле
n = 0,076Nперсп.e(z x Pпр.), (6)
где Nперсп. - приведенная перспективная интенсивность движения на расчетный период 20 лет, авт./сут;
0,076 - коэффициент перехода от суточной интенсивности движения к часовой
[10];
e - коэффициент сезонной неравномерности изменения интенсивности движения
[10];
z - оптимальный коэффициент загрузки дороги движением, принимается равным 0,65 в соответствии с нормами
[10];
P
пр. - практическая пропускная способность участка полосы движения, определяемая согласно нормам
[10], авт./ч.
6.2 Требования к основным геометрическим параметрам дублеров
6.2.1 При назначении основных геометрических параметров учитываются функции дублеров, приведенные в
подразделе 4.2.
6.2.2 Требования к назначаемым геометрическим параметрам дублеров предусматривают ниже, чем требования к параметрам автомагистралей, так как прогнозируемая интенсивность движения транспортных средств на дублерах ниже интенсивности движения на автомагистралях (не более 30% - 50% в зависимости от численности крупных или крупнейших городов).
Для определения геометрических параметров типы дублеров по назначению соотносят с категориями автомобильных дорог согласно
СП 34.13330.2012 при условии размещения дублеров вне населенных пунктов и согласно
СП 42.13330.2016 при условии размещения дублеров в пределах населенных пунктов (таблица 5).
Таблица 5
Соотношение типов дублеров с категориями автомобильных дорог
(городских улиц и дорог)
Тип дублера | Категория дублируемой автомагистрали | Категория автомобильной дороги (городской дороги или улицы) |
РДП, располагаемые: | | |
вне населенных пунктов | Автомагистраль категории IА Скоростная дорога категории IБ | II (для значений приведенной расчетной интенсивности движения местных транспортных потоков свыше 6000 прив.ед./сут) |
III (для значений приведенной расчетной интенсивности движения местных транспортных потоков от 2000 до 4000 прив.ед./сут) |
в пределах населенных пунктов | Магистральная дорога скоростного движения; магистральная улица общегородского значения непрерывного движения | Магистральная улица общегородского значения регулируемого движения |
РД, располагаемые: | | |
вне населенных пунктов | Автомагистраль категории IА Скоростная дорога категории IБ | III |
в пределах населенных пунктов | Магистральная дорога скоростного движения; магистральная улица общегородского значения непрерывного движения | Магистральная улица районного значения транспортно-пешеходная |
ЛД, располагаемые: | | |
вне населенных пунктов | Автомагистраль категории IА Скоростная дорога категории IБ | IV |
в пределах населенных пунктов | Магистральная дорога скоростного движения; магистральная улица общегородского значения непрерывного движения | Улица в жилой застройке местного значения, улицы и дороги научно-производственных, промышленных и коммунально-складских районов |
6.2.3 Требования к большинству основных геометрических параметров при проектировании назначаются в зависимости от расчетной скорости.
Таблица 6
Расчетная скорость движения на дублерах
Тип дублера | Расчетные скорости движения транспортных средств, км/ч |
основные | допускаемые на пересеченной местности <*> |
РДП, располагаемые: | | |
вне населенных пунктов | | |
в пределах населенных пунктов | 80 | 60 |
РД, располагаемые: | | |
вне населенных пунктов | 100 | 80 |
в пределах населенных пунктов | 70 | 60 |
ЛД, располагаемые: | | |
вне населенных пунктов | 80 | 60 |
в пределах населенных пунктов | | 30 |
--------------------------------
<*> К трудным участкам пересеченной местности относится рельеф, прорезанный часто чередующимися глубокими долинами, с разницей отметок долин и водоразделов более 50 м на расстоянии не свыше 0,5 км, с боковыми глубокими балками и оврагами, с неустойчивыми склонами.
<**> В числителе указаны значения для дублеров, на которых требуется выделение полосы для движения общественного транспорта, и планируется приведенная расчетная интенсивность движения местных транспортных потоков свыше 6000 прив.ед./сут, в знаменателе - от 2000 до 6000 прив.ед./сут.
<***> В числителе указаны значения для транспортных потоков, в составе которых преобладают легковые автомобили (80% и более от общего состава потока), в знаменателе - грузовые автомобили (более 20% от общего состава потока).
Таблица 7
Основные геометрические параметры плана
и продольного профиля дублеров
Тип дублера | Параметры плана и продольного профиля |
Наибольший продольный уклон,  | Наименьшие радиусы кривых в плане, м | Наименьшие радиусы кривых в продольном профиле, м |
выпуклых | вогнутых |
РДП, располагаемые: | | | | |
вне населенных пунктов | 40 | 800 | 15000 | 5000 |
в пределах населенных пунктов | 50 | 400 | 5000 | 2000 |
РД, располагаемые: | | | | |
вне населенных пунктов | 50 | 600 | 10000 | 3000 |
в пределах населенных пунктов | 60 | 250 | 5000 | 2000 |
ЛД, располагаемые: | | | | |
вне населенных пунктов | 60 | 300 | 5000 | 2000 |
в пределах населенных пунктов | 90 | | 1000 | 1000 |
--------------------------------
<*> В числителе указаны значения для транспортных потоков, в составе которых преобладают легковые автомобили (80% и более от общего состава потока), в знаменателе - грузовые автомобили (более 20% от общего состава потока).
6.2.5 Ширину полос расчистки леса и кустарника, величину срезки откосов выемки и расстояние переноса строений на участках кривых в плане с внутренней стороны в целях обеспечения видимости определяют расчетом по методике, приведенной в
подразделе 4.36 руководства
[11], при этом уровень срезки откосов выемки принимают одинаковым с уровнем бровки земляного полотна.
6.2.6 Расстояние видимости на всем протяжении дублера должно быть не менее остановочного пути до препятствия. В случаях когда на дублере предусматривается только одностороннее движение, при проектировании применяются требования к расстоянию видимости для остановки, при двухстороннем движении - все установленные требования к расстоянию видимости (из условий остановки и встречного движения). Наименьшие расстояния видимости согласно
СП 34.13330.2012 приведены в таблице 8.
Таблица 8
Наименьшие расстояния видимости, предусматриваемые
в зависимости от типа дублеров
Тип дублера | Наименьшее расстояние видимости, м |
для остановки | встречного автомобиля | при обгоне |
РДП, располагаемые: | | | |
вне населенных пунктов | 250 | 450 | 800 |
в пределах населенных пунктов | 150 | 250 | 600 |
РД, располагаемые: | | | |
вне населенных пунктов | 200 | 350 | 700 |
в пределах населенных пунктов | 120 | 210 | 550 |
ЛД, располагаемые: | | | |
вне населенных пунктов | 150 | 250 | 600 |
в пределах населенных пунктов | 55 | 110 | - |
Наименьшее расстояние видимости для остановки должно обеспечивать видимость любых предметов, имеющих высоту 0,2 м и более, находящихся на середине полосы движения, с высоты глаз водителя автомобиля, равной 1 м.
6.2.7 В целях повышения безопасности дорожного движения вне населенных пунктов обеспечивается боковая видимость прилегающей к дублеру полосы, отстоящей от бровки земляного полотна, в соответствии с требованиями
ГОСТ 33475-2015.
При прохождении дублера через населенные пункты прилегающая к нему территория должна быть освобождена от застройки, лесонасаждений и других объектов, ограничивающих видимость, на расстоянии не менее 10 м от бордюра (или кромки проезжей части).
6.2.8 Основные геометрические параметры поперечного профиля проезжей части и земляного полотна дублеров автомагистралей на подходах к крупным и крупнейшим городам согласно
постановлению [1],
СП 34.13330.2012,
СП 42.13330.2016 даны в таблице 9.
Таблица 9
Основные геометрические параметры поперечного профиля
проезжей части и земляного полотна дублеров
Наименование параметра дублера | Величина параметра в зависимости от расчетной скорости движения автомобилей, км/ч |
вне населенных пунктов | в пределах населенных пунктов |
| 100 | 80 | 80 | 70 | 50 | 40 |
Число полос движения при организации: | | | | | | | |
одностороннего движения | 3/2 | 1 - 2 | - | 2 - 3 | 1 - 2 | - | - |
двухстороннего движения | 6/4 | 2 - 4 | 2 | 4 - 6 | 2 - 4 | 2 | 2 |
Ширина полосы движения, м | 3,5 | 3,5 | 3,0 | 3,5 | 3,5 | 3,5 | 3,0 |
Ширина полосы движения для общественного транспорта, м | 4,0 | - | - | 4,0 | - | - | - |
Ширина укрепленной полосы, м: | | | | | | | |
со стороны обочины (тротуара, полосы между автомагистралью и дублером) | 0,5 | 0,5 | 0,5 | 0,5 | 0,5 | 0,5 | 0,5 |
со стороны разделительной полосы | 0,5 | - | - | 0,5 | - | - | - |
Ширина обочины, м | 2,5 | 2,5 | 2,0 | - | - | - | - |
--------------------------------
<*> В числителе указаны значения для дублеров, на которых требуется выделение полосы для движения общественного транспорта, и планируется приведенная расчетная интенсивность движения местных транспортных потоков свыше 6000 прив.ед./сут, в знаменателе - от 2000 до 6000 прив.ед./сут.
Таблица 10
Ширина проезжей части и земляного полотна дублеров
Тип дублера | Ширина проезжей части (количество полос x ширина полосы), м | Ширина земляного полотна (для городских улиц ширина проезжей части без тротуара), м |
РДП, располагаемые: | | |
вне населенных пунктов | 1 (2) x 3,5 + 4,0 -------------------- 2 (4) x 3,5 + 4,0 | 10,75 (14,25) --------------- 8,75 (12,25) |
в пределах населенных пунктов | 20,0 (27,0) ------------ 16,0 (23,0) |
РД, располагаемые: | | |
вне населенных пунктов | 1 (2) x 3,5 ------------ 2 (4) x 3,5 | 8,5 (12,0) ------------ 12,0 (19,0) |
в пределах населенных пунктов | 4,5 (8,0) ------------ 8,0 (15,0) |
| | |
вне населенных пунктов | 2 x 3,0 | 10,0 |
в пределах населенных пунктов | 1 (2) x 3,0 | 4,0 (7,0) |
| |
Примечания
1 В числителе приведены данные при организации одностороннего движения, в знаменателе - двухстороннего движения.
2 <*> Устраивается только двухстороннее движение.
3 <**> Указаны значения для транспортных потоков, в составе которых преобладает значительное количество грузовых автомобилей (более 20% от общего состава потока).
Ширину тротуаров, устраиваемых в городских условиях на дублерах автомагистралей, согласно
СП 42.13330.2016 назначают по таблице 11.
Таблица 11
Ширина тротуаров или пешеходных дорожек, устраиваемых
на дублерах в границах населенных пунктов
Тип дублера | Ширина тротуара или пешеходной дорожки <*>, м |
РДП | 3,0 |
РД | 2,25 |
ЛД | 1,5 |
--------------------------------
<*> Указаны минимальные значения ширины тротуаров или пешеходных дорожек; требуемая ширина тротуара определяется в зависимости от перспективной интенсивности пешеходного движения, расстояния до линии застройки, размещения в пределах тротуаров опор, мачт, деревьев и т.д.
6.2.9 В случае расположения дублера в границах придорожной полосы автомагистрали ширину полосы между автомагистралью и дублером предусматривают максимально возможной с учетом придорожной полосы, но не менее 15 м вне населенных пунктов и не менее 5 м в пределах населенных пунктов.
6.2.10 Проезжую часть дублера, располагаемого по обеим сторонам автомагистрали с организацией одностороннего движения, количеством полос три и более, предусматривают с двухскатным поперечным профилем на прямолинейных участках дорог всех категорий и на кривых в плане, не требующих устройства виража.
Проезжую часть дублера, располагаемого по обеим сторонам автомагистрали с организацией одностороннего движения, количеством полос две и менее, предусматривают с односкатным поперечным профилем.
Проезжую часть дублеров, располагаемых с одной стороны от автомагистрали с организацией двухстороннего движения, независимо от количества полос предусматривают с двухскатным поперечным профилем на прямолинейных участках дорог всех категорий и на кривых в плане, не требующих устройства виража.
Поперечные уклоны проезжей части дублеров автомагистралей на подходах к крупным и крупнейшим городам (кроме участков кривых в плане, на которых предусматривается устройство виражей) назначают согласно требованиям
таблицы 5.16 СП 34.13330.2012. Поперечные уклоны краевых полос принимают равными поперечным уклонам проезжей части.
6.2.11 Односкатный поперечный профиль проезжей части (вираж) предусматривают на кривых с радиусами меньше 2000 м. Уклоны виража на всем участке закругления, включая круговую кривую и примыкающие к ней участки кривых с переменной кривизной (переходные кривые), назначают в зависимости от радиуса круговой кривой в соответствии с
таблицей 5.17 СП 34.13330.2012. На участках, склонных к образованию гололеда, поперечный уклон устраивают не более

.
6.2.12 Виражи и поперечные уклоны обочин проектируют в соответствии с
СП 34.13330.2012.
7 Обеспечение водоотвода с дублеров
7.1 При проектировании системы отвода поверхностных вод с дублеров учитывают основные факторы, влияющие на взаимодействие основной автомагистрали и ее дублера:
- близость основной автомагистрали и ее дублера, возможность устройства совмещенной системы водоотвода;
- систему водоотвода на основной автомагистрали;
- границы и площади водосбора с основной автомагистрали;
- эффективность работы существующей системы водоотвода с основной автомагистрали;
- расчетные гидрологические характеристики устройства дублеров.
7.2 При обеспечении водоотвода с дублеров предусматривают совмещенную или отдельную системы поверхностного водоотвода.
При устройстве дублера оценивают возможность устройства как совмещенной, так и отдельной систем водоотвода. Основная задача проектируемой системы водоотвода - отвод поверхностных вод с двух сторон от дублера с учетом объема отводимых вод с автомагистрали, протекающих в месте его расположения.
При выборе способа системы сбора и отвода поверхностных вод анализируют:
- фактические метеорологические и ландшафтные условия;
- результаты определения объемов ливневого стока как с основной автомагистрали, так и с дублеров;
- близость расположения дублера по отношению к основной автомагистрали;
- ориентировочные затраты на устройство совмещенной системы водоотвода для дублера, включающие расходы на переустройство существующей системы водоотвода с основной автомагистрали;
- ориентировочные затраты на устройство отдельной системы водоотвода для дублеров.
По результатам технико-экономического анализа выбирают наиболее экономически выгодный и технологически эффективный способ обеспечения водоотвода.
7.3 При проектировании совмещенной системы водоотвода проводят обследование существующей системы водоотвода с основной автомагистрали с последующими определением эффективности ее работы и санитарной оценкой возможности использования. По результатам определения эффективности и санитарной оценки существующей системы водоотвода с основной автомагистрали, а также основываясь на результатах определения объемов ливневого стока с проектируемых дублеров, принимают решение о необходимости переустройства существующей системы водоотвода.
7.4 При проектировании отдельной системы отвода поверхностных вод с дублера учитывают не только объем ливневого стока с покрытия проезжей части и других элементов дублера, но и возможный объем поверхностных вод, попадающих с основной автомагистрали в зону водоотвода дублера.
7.5 Объемы ливневого стока определяют с учетом требований
СП 33-101-2003 на основании расчетных гидрографов ливневого стока. При построении расчетного гидрографа используют модель одновершинного (треугольного) гидрографа с наибольшим максимальным расходом воды.
Согласно
СП 33-101-2003 осуществляют расчеты ливневого стока и расхода от талых вод с прилегающей территории с использованием принципа "предельных интенсивностей".
7.6 При установлении границ площади водосбора при проектировании совмещенной системы водоотвода площадь водосбора включает как основную автомагистраль, так и ее дублер.
При установлении границ площади водосбора при проектировании отдельной системы водоотвода учитывается площадь водоотвода с дублера и площадь водоотвода с дублируемой автомагистрали, непосредственно прилегающая к устраиваемому дублеру.
7.7 Система поверхностного водоотвода устраивается трех типов: открытая, закрытая, смешанная
[12].
Открытую систему применяют при прохождении дублеров вне населенных пунктов, закрытую и смешанную системы - при размещении дублера в пределах населенных пунктов.
7.8. Для эффективного отвода поверхностных вод открытой системой предусматривают следующие мероприятия:
- придают уклон поперечному профилю земляного полотна и дорожной одежды;
- планируют и укрепляют обочины; в местах, где возможны частые наезды колес автомобилей на обочины, их укрепляют гравием, щебнем, шлаком, местными слабыми каменными материалами, укрепленными вяжущими и т.п.; в населенных пунктах обочины выполняют из материала покрытия проезжей части;
- устраивают боковые водоотводные канавы (кюветы), водоотводные, осушительные и нагорные канавы, перехватывающие воду, стекающую по склонам местности к дублерам, прикромочные продольные лотки со сбросом воды по откосу при помощи откосных телескопических лотков и водосбросных устройств в концевых участках этих лотков через каждые 50 - 100 м.
7.9 Боковые водоотводные канавы (кюветы) устраивают у насыпей и в выемках. Согласно
подразделу 7.59 СП 34.13330.2012 на местности с поперечным уклоном менее

при высоте насыпи менее 1,5 м, на участках с переменным значением поперечного уклона по разным сторонам, а также на болотах водоотводные канавы предусматривают по обеим сторонам земляного полотна.
Откосам канав в выемках придают заложение 1:1,5 - 1:3, а у низких насыпей (до 3 м) внутренний откос устраивают с заложением 1:4, что дает транспортным средствам возможность съехать с дублера в случае необходимости.
Для предотвращения образования отложения наносов, засоров и застоя воды канавам придают продольный уклон, который должен быть не менее

в I - III и не менее

в IV - V дорожно-климатических зонах
[13].
Если земляное полотно возводят в сухих местах с быстрым стоком поверхностных вод и грунтовые воды расположены глубоко, боковые канавы устраивают в виде треугольных лотков глубиной не менее 30 см. При водопроницаемых песчаных, щебенистых и гравелистых грунтах, обеспечивающих быстрое впитывание воды в любое время года, водоотводные канавы не устраивают. В прочном скальном грунте делают треугольные лотки глубиной не менее 0,3 м с внутренним откосом 1:3 и внешним откосом 1:1 - 1:0,5 в зависимости от вида грунта. Глубину канав в равнинной местности назначают по опыту эксплуатации в указанных выше пределах, проверяя в случае необходимости (при притоке воды с окружающей местности) пропускную способность канав гидравлическими расчетами.
Вода из боковых канав выводится в пониженные места рельефа не реже чем через 500 м.
На участках с большими продольными уклонами боковые канавы укрепляют по гидравлическому расчету исходя из количества воды, притекающей к отдельным участкам канавы с дороги и прилегающей местности. Расчет расхода выполняют с учетом постепенного его увеличения по длине канавы.
В тех случаях когда сечение канав назначают не по гидравлическому расчету, тип укрепления принимают в зависимости от продольного уклона на основе многолетней практики по таблице 12
[13].
Таблица 12
Типы укрепления боковых водоотводных канав в зависимости
от продольного уклона и типа грунтов земляного полотна
Типы укрепления | Продольные уклоны,  , для грунтов |
супесчаных | суглинистых |
Без укрепления | До 5 | До 10 |
Гидропосев | 5 - 10 | 10 - 15 |
Засев трав по слою растительного грунта, одерновка, щебневание дна | 10 - 30 | 15 - 30 |
Мощение, бетонные плиты, прикромочные продольные лотки | 30 - 50 | 30 - 50 |
Гасящие устройства, современные укрепительные материалы (георешетки, габионы, матрацы Рено) | > 50 | > 50 |
На больших уклонах дну канав придают ступенчатый продольный профиль, устраивая перепады из сборных железобетонных элементов, бетона, укладываемого на месте, каменной кладки.
7.10 Сечение водоотводных канав обычно принимают равным сечению тех канав, из которых отводится вода. Во избежание размыва и заиления водоотводные канавы сопрягают с естественными водотоками по плавной кривой с радиусом, не меньшим десятикратной ширины канавы поверху.
7.11 Нагорным канавам придают трапецеидальное сечение, размеры которого обосновывают гидравлическим расчетом. Нагорные канавы трассируют на местности с такими продольными уклонами, при которых вода не размывает грунт.
Во избежание оплывов или оползания откосов выемок в местах переувлажнения грунтов, которое может возникнуть в результате случайного засорения нагорных канав, расстояние этих канав от края выемки должно быть не менее 5 м. При прохождении автомобильной дороги с дублерами вне населенных пунктов на косогорах положе 1:5 грунт из нагорных канав используют для устройства невысокого валика (банкета) между выемкой и нагорной канавой.
7.12 Прикромочные, дождеприемные и поперечные телескопические лотки с водосбросными устройствами в концевых участках устраивают из типовых сборных железобетонных блоков, а в отдельных случаях и из монолитного бетона. Из прикромочных лотков вода стекает в водосбросные лотки с помощью дождеприемных (переходных, сопрягающих) лотков, также состоящих из типовых элементов. Из дождеприемных лотков воду сбрасывают по откосам телескопическими водосбросными лотками (быстротоками), состоящими из железобетонных элементов заводского изготовления. Для предохранения подошвы насыпи от размыва концы быстротоков укрепляют бетонными плитами, за которыми устанавливают бетонную стенку в качестве гасителя энергии потока. Все места сопряжения и швы между сборными железобетонными элементами заполняют монолитным бетоном.
7.13 В местах пересечения дублерами суходолов, ручьев, оврагов, мест, по которым стекает вода из водопропускных сооружений основной автомагистрали, а также вода от дождей и таяния снега, устраивают водопропускные сооружения, количество которых зависит от количества водопропускных сооружений основной автомагистрали, климатических условий, рельефа местности. К основным видам водопропускных сооружений относят мосты и трубы.
Водопропускные сооружения должны обеспечивать пропуск воды без вреда для дорожных сооружений как самого дублера, так и основной автомагистрали.
7.14 Для эффективного отвода поверхностных вод закрытой системой (ливневой канализацией) предусматривают:
- вертикальную планировку поверхности покрытия дублеров, проходящих в пределах населенных пунктов, методом проектных (красных) горизонталей;
- сбор поверхностных вод в местах понижения проектного рельефа, перед перекрестками, со стороны притока воды, посредством дождеприемных колодцев;
- устройство смотровых колодцев;
- прием поверхностных вод в ливневый коллектор.
При проектировании водоотводных систем закрытого типа руководствуются требованиями
СП 32.13330.2012.
Дождеприемные колодцы в зависимости от продольных уклонов располагают на расстояниях друг от друга, приведенных в таблице 13, в соответствии с требованиями
СП 32.13330.2012.
Таблица 13
Расстояние между дождеприемными колодцами в зависимости
Продольный уклон дублера,  | До 4 | От 4 до 6 | От 6 до 10 | От 10 до 30 | Свыше 30 |
Расстояние между дождеприемными колодцами, м | 50 | 60 | 70 | 80 | 90 |
При необходимости дождеприемные колодцы делают комбинированными: для приема воды с проезжей части и из дренажных систем (дрен).
Смотровые колодцы располагают вне проезжей части в местах изменения направления трассы, диаметра и уклона труб, присоединений трубопроводов и их пересечений с подземными сетями в одном уровне в соответствии с условиями рельефа (уклонами), объемом стока и характером проложенных коллекторов ливневой канализации, на ливневой (канализационной) сети. На прямых участках трассы шаг размещения смотровых колодцев зависит от диаметра труб водостока.
Если ширина проезжей части дублера превышает 21 м, то ливневый коллектор, расположенный вдоль него, дублируется. Для удобства эксплуатации длину ветки ливневой канализации ограничивают 40 м. На ней могут располагаться два дождеприемных колодца, на стыке которых устраивается смотровой колодец. На участках с большим объемом стока количество дождеприемных колодцев может быть увеличено (до трех в одной точке). Наименьшие уклоны веток (трубопроводов) принимают для труб диаметрами 150 мм -

, 200 мм -

. В зависимости от местных условий при соответствующем обосновании для отдельных участков сети допускается принимать уклоны для труб диаметрами 200 мм -

, 150 мм -

. Уклон присоединения от дождеприемников следует принимать

согласно
СП 32.13330.2012.
Глубина ливневого коллектора зависит от диаметра труб, геологических условий, глубины залегания грунта с нулевой температурой и определяется в соответствии с требованиями
пунктов 6.2.4,
6.2.5 СП 32.13330.2012 на основании сведений гидрометеостанций в районе строительства. Водосточная сеть проектируется с продольным уклоном

, в условиях равнинного рельефа ее продольный уклон уменьшают до

. Максимальный уклон коллектора принимают таким, при котором скорость движения воды составляет 7 м/с, а для металлических коллекторов - 10 м/с.
При значительных предельных уклонах местности на трассе коллектора устраиваются быстротоки, водобойные колодцы или применяются чугунные или стальные трубы. Выпуски водосточной сети по санитарным соображениям устраивают вне границ застройки города в очистные сооружения (отстойники, поля фильтрации).
8 Поперечные профили дублеров
8.1 Поперечные профили дублеров проектируют с учетом:
- обеспечения прочности земляного полотна в течение заданного срока службы;
- устойчивости к просадкам и морозному пучению;
- устойчивости откосов;
- снегонезаносимости (при условии прохождения вне населенных пунктов);
- принятой схемы организации дорожного движения;
- требований обеспечения безопасности дорожного движения;
- поперечного профиля автомагистрали.
Основные требования к поперечному профилю дублера принимаются согласно
ГОСТ 33475-2015.
8.2 Дублер и основную автомагистраль располагают относительно друг друга следующими способами:
- основная автомагистраль и ее дублер расположены в одном уровне;
- уровень основной автомагистрали расположен ниже уровня дублера;
- уровень основной автомагистрали расположен выше уровня дублера.
В большинстве случаев на равнинной территории автомагистраль и дублер располагают в одном уровне.
Расположение основной автомагистрали и дублера в разных уровнях предусматривают в отдельных случаях при необходимости одновременно отделить основную автомагистраль от дублера и прилегающей улично-дорожной сети и обеспечить наиболее полное транспортное сообщение дублера и прилегающей улично-дорожной сети в одном уровне.
- по обеим сторонам автомагистрали - в большинстве случаев таким образом устраивают РДП, в редких случаях РД;
- с одной стороны от автомагистрали - в большинстве случаев таким образом устраивают РД и ЛД, в редких случаях РДП.
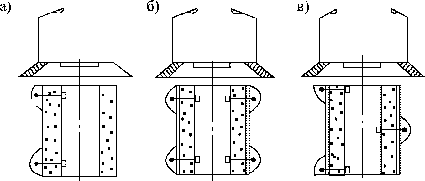
8.4 Рекомендуемые поперечные профили РДП, располагаемые вне населенных пунктов, приведены на
рисунке 1, в пределах населенных пунктов - на
рисунке 2.
а)
б)
в)
а - РДП с двумя полосами для движения и выделенной полосой
для общественного транспорта, располагающийся по обеим
сторонам автомагистрали с организацией одностороннего
движения, с двухскатным поперечным профилем; б - то же,
с двумя полосами для движения и выделенной полосой
для общественного транспорта, располагающийся с одной
стороны автомагистрали с организацией двухстороннего
движения, с двухскатным поперечным профилем; в - то же,
с одной полосой для движения и выделенной полосой
для общественного транспорта, располагающийся по обеим
сторонам автомагистрали с организацией одностороннего
движения, с односкатным поперечным профилем; 1 - проезжая
часть дублируемой автомагистрали (скоростной дороги),
количество полос 4, 6, 8 (на рисунке показаны 8 полос);
2 - укрепленная полоса на разделительной полосе;
3 - центральная разделительная полоса с ограждениями;
4 - укрепленная полоса обочины; 5 - обочина; 6 - полоса
между автомагистралью (скоростной дорогой) и дублером,
с элементами водоотвода, шириной не менее 15 м; 7 - проезжая
часть дублера (стрелками показано направление движения
транспортных средств)
Рисунок 1 - Рекомендуемые поперечные профили РДП,
проходящих вне населенных пунктов
а)
б)
а - РДП, располагающийся по обеим сторонам магистральной
дороги скоростного движения с организацией одностороннего
движения, с односкатным поперечным профилем; б - то же,
располагающийся с одной стороны магистральной дороги
скоростного движения с организацией двухстороннего движения,
с двухскатным поперечным профилем; 1 - проезжая часть
дублируемой магистральной дороги скоростного движения
(магистральной улицы общегородского значения непрерывного
движения), количество полос 4, 6, 8 (на рисунке показаны
8 полос); 2 - укрепленная полоса на разделительной полосе;
3 - центральная разделительная полоса с ограждениями;
4 - краевая укрепленная полоса; 5 - разделительная полоса
между дублером и тротуаром; 6 - полоса между магистральной
дорогой скоростного движения (магистральной улицей
общегородского значения непрерывного движения) и дублером,
с элементами водоотвода, шириной не менее 5 м; 7 - проезжая
часть дублера; 8 - водоотводные сооружения (стрелками
показано направление движения транспортных средств)
Рисунок 2 - Рекомендуемые поперечные профили РДП,
проходящих в пределах населенных пунктов
8.5 Рекомендуемые поперечные профили РД, располагаемые вне населенных пунктов, показаны на
рисунке 3.
а)
б)
а - РД с двумя полосами для движения, располагающийся
по обеим сторонам автомагистрали с организацией
одностороннего движения, с односкатным поперечным профилем;
б - то же, располагающийся с одной стороны автомагистрали
с организацией двухстороннего движения, с двухскатным
поперечным профилем; 1 - проезжая часть дублируемой
автомагистрали (скоростной дороги), количество полос 4, 6,
8 (на рисунке показаны 8 полос); 2 - укрепленная полоса
на разделительной полосе; 3 - центральная разделительная
полоса с ограждениями; 4 - укрепленная полоса обочины;
5 - обочина; 6 - полоса между автомагистралью (скоростной
дорогой) и дублером, с элементами водоотвода, шириной
не менее 15 м; 7 - проезжая часть дублера (стрелками
показано направление движения транспортных средств)
Рисунок 3 - Рекомендуемые поперечные профили РД,
проходящих вне населенных пунктов
8.6 Рекомендуемые поперечные профили РД, располагаемые в пределах населенных пунктов, даны на
рисунке 4.
а)
б)
а - РД, располагающийся по обеим сторонам магистральной
дороги скоростного движения с организацией одностороннего
движения, с односкатным поперечным профилем; б - то же,
располагающийся с одной стороны магистральной дороги
скоростного движения с организацией двухстороннего движения,
с двухскатным поперечным профилем; 1 - проезжая часть
дублируемой магистральной дороги скоростного движения
(магистральной улицы общегородского значения непрерывного
движения), количество полос 4, 6, 8 (на рисунке показаны
8 полос); 2 - укрепленная полоса на разделительной полосе;
3 - центральная разделительная полоса с ограждениями;
4 - краевая укрепленная полоса; 5 - разделительная полоса
между дублером и тротуаром; 6 - полоса между магистральной
дорогой скоростного движения (магистральной улицей
общегородского значения непрерывного движения) и локальным
дублером, шириной не менее 5 м; 7 - проезжая часть дублера;
8 - водоотводные сооружения (стрелками показано направление
движения транспортных средств)
Рисунок 4 - Рекомендуемые поперечные профили РД,
проходящих в пределах населенных пунктов
8.7 Рекомендуемые поперечные профили ЛД располагаемые вне и в пределах населенных пунктов, приведены на
рисунке 5.
а)
б)
а - ЛД, располагающийся с одной стороны автомагистрали
с организацией двухстороннего движения, с двухскатным
поперечным профилем (в зависимости от ситуационных условий
допускается устройство односкатного профиля), вне населенных
пунктов; б - то же, с односкатным поперечным профилем,
в пределах населенных пунктов; 1 - проезжая часть
дублируемой автомагистрали (скоростной дороги), количество
полос 4, 6, 8 (на рисунке показаны 8 полос); 2 - укрепленная
полоса на разделительной полосе; 3 - центральная
разделительная полоса с ограждениями; 4 - укрепленная полоса
обочины; 5 - обочина; 6 - полоса между автомагистралью
(скоростной дорогой) и дублером, с элементами водоотвода,
шириной не менее 15 м; 7 - проезжая часть дублера;
8 - водоотводные сооружения; 9 - разделительная полоса
между дублером и тротуаром (стрелками показано
направление движения транспортных средств)
Рисунок 5 - Рекомендуемые поперечные профили ЛД,
проходящих вне и в пределах населенных пунктов
8.8 Ширина полосы между автомагистралью (скоростной дорогой) и дублером вне населенных пунктов должна быть достаточной для устройства различных сооружений системы водоотвода (например, оголовков и откосных стенок водопропускных труб), а также при необходимости объектов дорожного сервиса, для этого предусматривают ширину полосы не менее 15 м.
Ширина полосы между магистральной дорогой скоростного движения (магистральной улицы общегородского значения непрерывного движения) и дублером, расположенным в пределах населенных пунктов, должна быть достаточной для устройства системы водоотвода закрытого типа, а также при необходимости для размещения инженерных сетей, для этого предусматривают ширину полосы не менее 5 м.
9 Пересечения и примыкания дублеров
9.1 Сопряжение дублеров с автомагистралью
9.1.1 При определении мест сопряжений дублеров с основной автомагистралью основополагающими факторами являются:

протяженность дублеров;

наличие:
- населенных пунктов, по которым или вблизи которых проходит автомагистраль с дублерами, их количество и размер,
- транспортных развязок в разных уровнях,
- крупных грузообразующих и грузопоглощающих пунктов (транспортных и складских терминалов, крупных промышленных и торговых предприятий и т.п.).
Вне населенных пунктов расстояния между сопряжениями дублеров с основной автомагистралью указаны в таблице 14.
Таблица 14
Расстояния между местами сопряжений дублеров
с автомагистралью вне населенных пунктов
Категория дублируемой дороги | Расстояние между сопряжениями РД и РДП с основной автомагистралью (СП 34.13330.2012), км, не чаще | Места устройства сопряжений ЛД с основной автомагистралью |
Автомагистраль IА | 10 | Начало и конец ЛД, в местах устройства пересечений и примыканий |
Скоростная дорога IБ | 5 |
В населенных пунктах предусматривают места сопряжений с основной автомагистралью в начале и в конце населенного пункта, располагающегося в непосредственной близости от автомагистрали, а также (при необходимости) в местах пересечений с другими автомобильными дорогами и в местах концентрации грузообразующих и грузопоглощающих пунктов.
9.1.2 При расположении дублера с одной стороны автомагистрали правоповоротные съезды с автомагистрали на дублер и места возвращения с дублера на автомагистраль устраиваются в одном уровне. В таком случае обязательно наличие разворотов в разных уровнях по обеим сторонам автомагистрали от мест сопряжений на расстоянии не далее 5 км.
При расположении дублера по обеим сторонам автомагистрали правоповоротные съезды с автомагистрали на дублер и места возвращения с дублера на автомагистраль устраиваются в одном уровне, левоповоротные съезды - в разных уровнях. В таком случае обязательно наличие разворота в одном или разных уровнях на дублере: в разных уровнях для РДП и РД вне населенных пунктов и в одном уровне для РДП и РД в пределах населенных пунктов, с устройством светофорного регулирования, а также для ЛД в одном уровне как в пределах, так и вне населенных пунктов, с устройством светофорного регулирования по необходимости.
9.1.3 В местах сопряжений дублеров с основной автомагистралью устраивают переходно-скоростные полосы.
Длину переходно-скоростных полос L, м, вычисляют с учетом расчетной скорости движения транспортных средств на основной автомагистрали и на ее дублерах по формуле
L = 2Lотг + Lизм + 2Lм, (7)
Lизм - длина участка изменения расчетной скорости движения транспортных средств, м,

(8)
где V1 - расчетная скорость движения транспортных средств на дороге, на которую осуществляется выезд, км/ч;
V2 - то же, на дороге, с которой осуществляется выезд, км/ч;
13 - коэффициент, учитывающий переход от размерности "км/ч" в размерность "м/с";

- линейное ускорение автомобиля, принимаемое в зависимости от продольного уклона переходно-скоростной полосы по
таблице 15;
L
м - длина участка маневрирования при входе на основную полосу, м; определяют по
таблице 16.
Таблица 15
Расчетное линейное ускорение
[14]
Продольный уклон,  | -40 | -20 | 0 | 20 | 40 |
Ускорение торможения, м/с2 | 0,5 | 1,0 | 1,5 | 2,2 | 3,0 |
Ускорение разгона, м/с2 | 2,0 | 1,5 | 1,0 | 0,6 | 0,3 |
Таблица 16
Длина участка маневрирования
[10]
Интенсивность движения по полосе, на которую выезжает автомобиль, авт./ч | 200 | 400 | 600 | 800 | 1000 |
Длина участка маневрирования, м | 75 | 100 | 120 | 130 | 150 |
9.1.4 На
рисунке 6 приведен пример расположения мест сопряжения автомагистрали и дублера, размещаемого по обеим сторонам основной автомагистрали, с организацией одностороннего движения на дублере.
Рисунок 6 - Переходно-скоростные полосы
для перераспределения транспортных потоков с автомагистрали
на дублер и обратно при условии расположения дублера
по обеим сторонам автомагистрали
Транспортная связь различных направлений дублера осуществляется посредством разворотов в разных уровнях на автомагистрали на расстоянии не более 5 км от места сопряжения.
9.1.5 При размещении дублера с одной стороны основной автомагистрали переходно-скоростные полосы в месте сопряжения с автомагистралью устраивают в одном уровне. Для устройства переходно-скоростных полос в месте сопряжения с противоположного направления автомагистрали предусматриваются следующие варианты:
- обеспечение транспортной связи в разных уровнях с поворотными эстакадами;
- устройство разворотов на автомагистрали в разных уровнях на расстоянии не более 5 км от места сопряжения, позволяющих обеспечить доступ на дублер с противоположного направления автомагистрали.
На
рисунке 7 дан пример сопряжения основной автомагистрали и дублера, располагаемого с одной ее стороны с организацией двухстороннего движения, посредством поворотных эстакад.
Рисунок 7 - Сопряжение основной автомагистрали и дублера,
располагаемого с одной ее стороны, в разных уровнях
с поворотными эстакадами
Для обеспечения необходимого количества транспортных связей с автомагистралью до и после места сопряжения на дублере проектируют развороты.
9.1.6 Переходно-скоростную полосу на сопряжении дублера с общим количеством полос не менее трех и основной автомагистрали устраивают:
- двухполосной при интенсивности перераспределения транспортных средств между основной автомагистралью и дублером более 1000 авт./ч;
- однополосной при интенсивности движения по съезду менее 1000 авт./ч.
На сопряжении дублера с общим количеством полос менее трех и основной автомагистрали во всех случаях устраивают однополосную переходно-скоростную полосу.
9.2 Пересечения и примыкания дублеров с прилегающей улично-дорожной сетью
9.2.1 Безопасность и удобство дорожного движения при устройстве дублеров автомагистралей в части транспортной связи с прилегающей улично-дорожной сетью достигается следующими способами:
- обеспечением максимального необходимого количества точек доступа к дублеру с прилегающей сети автомобильных дорог;
- организацией одностороннего движения по дублеру (при условии расположения по обеим сторонам автомагистрали), обуславливающей уменьшение количества левых поворотов и конфликтных точек;
- предоставлением преимущественного права проезда по дублеру в зонах пересечения и примыкания с прилегающей улично-дорожной сетью;
- сопряжением дублеров с автомагистралью, обеспечивающим безопасный въезд на автомагистраль и безопасный выезд с нее.
9.2.2 При проектировании продольного профиля и плана дублеров в зоне пересечений и примыканий в одном уровне учитывают следующие требования:
- в целях обеспечения условий безопасности и удобства движения при торможении и разгоне, исключения значительных отрицательных поперечных уклонов в направлении действия центробежных сил при поворотах продольный уклон на расстоянии видимости поверхности дублера устраивают не более

;
- для улучшения обзорности дублер проектируют с применением вогнутых вертикальных кривых;
- при невозможности избежать устройства выпуклых вертикальных кривых на дублерах используют дорожные ограждения или средства зрительного ориентирования (направляющие столбики, тумбы с искусственным освещением и островки безопасности);
- дублеры и пересекаемые (примыкающие) автомобильные дороги или улицы проектируют таким образом, чтобы их оси образовывали угол, близкий к прямому. При условии обеспечения видимости допускается устройство примыканий дорог или улиц под углом от 60° до 120°;
- в целях безопасности дорожного движения по возможности дублеры проектируют прямолинейными, так как на кривых малых радиусов, особенно с большим центральным углом, основное внимание водителей уделяется движению по ним;
- в целях обеспечения достаточной видимости для водителей автомобилей, въезжающих на дублер или пересекающих его, избегают устройства примыканий и пересечений на участках виражей дублеров;
- при проектировании дублеров обеспечивается расстояние видимости для остановки в соответствии с
таблицей 8.
При пересечении дублеров с существующими автомобильными дорогами тип транспортной развязки устанавливается на основе технико-экономического сравнения возможных вариантов.
| | ИС МЕГАНОРМ: примечание. В официальном тексте документа, видимо, допущена опечатка: таблица 7 в СП 42.13330.2016 отсутствует. | |
9.2.3 Пересечения и примыкания дублеров с прилегающей улично-дорожной сетью выполняют в разных уровнях согласно
подразделу 6.20 СП 34.13330.2012 и таблице 7
СП 42.13330.2016 в следующих случаях:
- вне населенных пунктов при пересечении основной автомагистрали и ее РД или РДП с автомобильными дорогами категорий IА, IБ и IВ; с автомобильными дорогами категорий II, III при суммарной расчетной интенсивности движения на дублерах и пересекаемой дороге более 12000 ед./сут;
- в пределах населенных пунктов при пересечении основной автомагистрали и ее РД или РДП с магистральными дорогами скоростного движения и магистральными улицами общегородского значения непрерывного движения.
Во всех остальных случаях пересечения и примыкания дублеров всех типов с прилегающей улично-дорожной сетью устраивают в одном уровне (в том числе по распределительному кольцу).
9.2.4 Из-за множества факторов вопросы проектирования транспортных развязок на пересечениях дублеров и основных автомагистралей с автомобильными дорогами в разных уровнях требуют разработки индивидуальных проектных решений, которые могут предусматривать также и отнесение дублера от основной автомагистрали на значительное расстояние.
На
рисунке 8 приведен пример организации пересечения РД или РДП, размещенного по обеим сторонам основной автомагистрали, с дорогами категорий I - III в разных уровнях.
1 - основная автомагистраль; 2 - РД или РДП;
3 - автомобильная дорога
Рисунок 8 - Пример организации пересечения РД или РДП
и основной автомагистрали с автомобильной дорогой в разных
уровнях при условии размещения дублера по обеим сторонам
автомагистрали с организацией одностороннего движения
на дублере
На примере организации пересечения РД или РДП и основной автомагистрали в разных уровнях (см.
рисунок 8) транспортное сообщение с пересекаемой четырехполосной автомобильной дорогой в разных уровнях выполняется с помощью дублера. Места сопряжения дублера и автомагистрали могут располагаться непосредственно перед и после транспортной развязки (для населенных пунктов) или в отдалении от транспортной развязки в целях соблюдения нормативных требований по количеству пересечений в разных уровнях для автомобильных дорог категорий IА и IБ, с обязательным условием обеспечения ясного и понятного ориентирования водителей.
При необходимости устройства пересечения РД или РДП, размещенного с одной стороны основной автомагистрали, с автомобильными дорогами в разных уровнях в большинстве случаев предусматриваются общепринятые виды транспортных развязок в разных уровнях (клеверообразные, накопительные, клеверообразные накопительные и т.п.). Для этого при необходимости дублер отдаляют от основной автомагистрали на требуемое расстояние исходя из условий удобства, использования уже существующих транспортных развязок, а также технических параметров развязки.
Пример организации пересечения РД, размещенного по обеим сторонам основной автомагистрали, с двухполосной автомобильной дорогой (улицей) в одном уровне дан на
рисунке 9. Места сопряжений дублера и автомагистрали устраивают до и после пересечения с автомобильной дорогой (улицей) в одном уровне в соответствии с
рисунком 6.
1 - основная автомагистраль; 2 - РД;
3 - автомобильная дорога (или улица)
Рисунок 9 - Пример организации пересечения РД
с автомобильной дорогой (или улицей) в одном уровне
при условии размещения дублера по обеим сторонам
автомагистрали с организацией одностороннего движения
на дублере
Пример организации пересечения РД или ЛД, размещаемых с одной стороны основной автомагистрали, с четырехполосной автомобильной дорогой (улицей) в пределах населенного пункта в одном уровне со светофорным регулированием показан на
рисунке 10. Места сопряжений дублера и автомагистрали устраивают до и после пересечения с автомобильной дорогой (улицей) в одном уровне в соответствии с
рисунком 7.
1 - основная автомагистраль; 2 - РД или ЛД;
3 - автомобильная дорога (или улица)
Рисунок 10 - Пример организации пересечения РД или ЛД
с автомобильной дорогой (или улицей) в одном уровне
при условии размещения дублера с одной стороны
автомагистрали с организацией двухстороннего движения
на дублере
Места сопряжений дублера и автомагистрали устраивают с соблюдением нормативных требований к количеству пересечений в разных уровнях для автомобильных дорог категорий IА и IБ вне населенных пунктов, а также в зависимости от сложившейся улично-дорожной сети и целесообразного количества мест сопряжений в пределах населенных пунктов.
9.2.5 В условиях отсутствия существующей транспортной развязки в месте пересечения основной автомагистрали и автомобильной дороги (улицы) рекомендуется перераспределять транспортные потоки с автомагистрали на дублер с помощью устройства мест сопряжения автомагистрали и дублера, размещаемых согласно
таблице 14. Использование дублера в таком случае позволяет исключить необходимость строительства транспортной развязки в разных уровнях и решить вопрос с организацией дорожного движения на пересечении без ущерба для безопасности и удобства движения транзитных потоков по основной автомагистрали.
9.2.6 Устройство примыканий автомобильных дорог (улиц) к дублерам в одном уровне также требует комплексного подхода организации примыкания. При условии размещения РД или РДП по обеим сторонам основной автомагистрали исключается необходимость устройства примыкания автомобильных дорог (улиц) в разных уровнях, так как левые повороты в данном случае отсутствуют. Пример организации такого примыкания дан на
рисунке 11.
1 - основная автомагистраль; 2 - РД или РДП;
3 - автомобильная дорога (или улица)
Рисунок 11 - Пример организации примыкания автомобильных
дорог (или улиц) к РД или РДП в одном уровне при условии
размещения дублера по обеим сторонам автомагистрали
с организацией одностороннего движения на дублере
При необходимости устройства примыкания автомобильной дороги (улицы) в разных уровнях к РД, расположенному с одной стороны основной автомагистрали, в большинстве случаев предусматриваются общепринятые виды транспортных развязок в разных уровнях для примыканий (T-, Y-образные, полуклеверные и т.п.).
Пример организации примыкания автомобильных дорог и улиц в одном уровне к РД или ЛД, размещенному с одной стороны основной автомагистрали, приведен на
рисунке 12.
Рисунок 12 - Пример организации примыкания автомобильной
дороги (или улицы) к РД или ЛД в одном уровне при условии
размещения дублера с одной стороны автомагистрали
с организацией двухстороннего движения на дублере
9.2.7 Геометрические параметры переходно-скоростных полос, устраиваемых на дублерах, приведены в таблице 17.
Таблица 17
Длины полос разгона, торможения и отгона на дублерах
Тип дублера | Продольный уклон,  | Длина полос полной ширины для разгона Lразг, м | Длина полос полной ширины для торможения Lторм, м | Длина полос отгона Lотг, м |
на спуске | на подъеме |
РДП, располагаемые: | | | | | |
вне населенных пунктов | 40 | - | 140 | 110 | 80 |
20 | - | 160 | 105 |
0 | 0 | 180 | 100 |
- | 20 | 200 | 95 |
- | 40 | 230 | 90 |
в пределах населенных пунктов | 40 | - | 30 | 50 | 30 |
20 | - | 35 | 45 |
0 | 0 | 40 | 40 |
- | 20 | 45 | 35 |
- | 40 | 50 | 40 |
РД, располагаемые: | | | | | |
вне населенных пунктов | 40 | - | 110 | 85 | 60 |
20 | - | 120 | 80 |
0 | 0 | 130 | 75 |
- | 20 | 150 | 70 |
- | 40 | 170 | 65 |
в пределах населенных пунктов | 40 | - | 30 | 50 | 30 |
20 | - | 35 | 45 |
0 | 0 | 40 | 40 |
- | 20 | 45 | 35 |
- | 40 | 50 | 40 |
ЛД, располагаемые вне и в пределах населенных пунктов | 40 | - | 30 | 50 | 30 |
20 | - | 35 | 45 |
0 | 0 | 40 | 40 |
- | 20 | 45 | 35 |
- | 40 | 50 | 40 |
9.2.8 Выделение полос движения, устройство направляющих островков и выполнение других мероприятий по организации движения на дублерах в зоне примыканий и пересечений выполняют с помощью разметки без возвышения соответствующих элементов над проезжей частью.
9.2.9 Форма разделительных островков, предусматриваемых на дублерах в зоне пересечений и примыканий, определяется траекториями движения грузовых автомобилей при поворотах. Островок смещают от кромки основной полосы на 1 м, а длину предусматривают не менее 5 м.
9.2.10 При наличии в зоне пересечения более четырех, а в зоне примыкания более трех подходов дорог изменяют расположение примыкающих (пересекаемых) дорог таким образом, чтобы привести сложный узел к более простым схемам (в том числе к кольцевому пересечению).
9.2.11 В отдельных случаях, когда невозможно обеспечить устройство пересечения автомобильной дороги и автомагистрали в разных уровнях при наличии близко расположенного разворота на дублер противоположного направления (не более 5 км от пересечения), вместо пересечения проектируют два смещенных примыкания (по схеме, показанной на
рисунке 11).
9.2.12 В населенных пунктах в случаях, когда интенсивность движения на дублерах и пересекаемых автомобильных дорогах (улицах) одинакова или отличается не более чем на 15%, допускается устройство кольцевых пересечений.
9.2.13 Минимальный радиус сопряжения по внутренней кромке проезжей части на пересечениях и примыканиях принимают по таблице 18 согласно
СП 34.13330.2012 и
СП 42.13330.2016.
Таблица 18
Минимальный радиус кривых при сопряжении (закруглении)
дублеров на пересечениях и примыканиях
Тип дублера | Наименьший радиус закругления, м |
РДП, располагаемые: | |
вне населенных пунктов | |
в пределах населенных пунктов | 8 |
РД, располагаемые: | |
вне населенных пунктов | |
в пределах населенных пунктов | 8 |
ЛД, располагаемые: | |
вне населенных пунктов | 15 |
в пределах населенных пунктов | 5 |
--------------------------------
<*> При регулярном движении автопоездов в количестве более 25% от состава транспортного потока наименьшие радиусы кривых увеличивают до 30 м.
9.2.14 Обеспечение видимости в местах расположения пересечений и примыканий дублеров и автомобильных дорог вне населенных пунктов проектируют в соответствии с
подразделами 6.17 -
6.19 СП 34.13330.2012, в пределах населенных пунктов - в соответствии с подразделом
СП 42.13330.2016.
9.2.15 Установку технических средств организации дорожного движения на пересечениях и примыканиях дублеров автомагистралей с прилегающей улично-дорожной сетью осуществляют в соответствии с требованиями
ГОСТ Р 52289-2004.
9.3 Пересечения дублеров с железнодорожными путями
9.3.1 Пересечения РДП и РД с железными дорогами предусматривают в разных уровнях.
Пересечения ЛД с железными дорогами устраивают в разных уровнях:

при пересечении:
- трех и более главных железнодорожных путей,
- участков железных дорог со скоростным движением (свыше 120 км/ч),
- железнодорожных путей с интенсивностью движения более 100 поездов/сут;

при расположении пересекаемых железных дорог в выемках, а также при невозможности обеспечить нормы видимости в соответствии с требованиями
подраздела 6.17 СП 34.13330.2012.
В остальных случаях пересечение ЛД с железными дорогами допускается предусматривать в одном уровне.
9.3.2 При пересечении дублеров автомагистралей с железными дорогами в разных уровнях расстояние между дублером и дублируемой автомагистралью максимально увеличивают исходя из ситуационных особенностей.
При устройстве путепроводов над железнодорожными путями наряду с требованиями по обеспечению габаритов приближения строений к железнодорожным путям согласно
ГОСТ 9238-2013 и
ГОСТ 9720-76 необходимо обеспечить видимость пути и сигналов, требуемую по условиям безопасности движения поездов.
9.3.3 При пересечении дублеров с железными дорогами в одном уровне дублеры удаляют от автомагистрали таким образом, чтобы обеспечить видимость, при которой водитель автомобиля, находящегося от переезда на расстоянии не менее расстояния видимости для остановки (согласно
таблице 8 в зависимости от типа дублера), мог видеть приближающийся к переезду поезд не менее чем за 400 м, а машинист приближающегося поезда - середину переезда на расстоянии не менее 1000 м.
Ширину проезжей части дублеров на пересечениях в одном уровне с железными дорогами предусматривают не менее 6 м на расстоянии 200 м по обеим сторонам переезда.
Дублеры на протяжении не менее 2 м от крайнего рельса должны иметь в продольном профиле горизонтальную площадку, кривую большого радиуса или уклон, обусловленный превышением одного рельса над другим, когда пересечение располагается в месте закругления железной дороги.
Подходы дублера к железнодорожному переезду устраивают с максимальным продольным уклоном

. Ограждающие тумбы и столбы шлагбаумов на железнодорожных переездах располагают на расстоянии не менее 0,75 м, а стойки габаритных ворот - на расстоянии не менее 1,75 м от кромки проезжей части.
При устройстве внеуличных пешеходных переходов (надземных, подземных) предусматривают пандусы для обеспечения возможности передвижения людей с ограниченными возможностями согласно
СП 59.13330.2016.
9.4.2 На дублерах пешеходные переходы устраивают в местах расположения автобусных остановок, при наличии внеуличного пешеходного перехода (надземного или подземного) на основной автомагистрали, на пересечениях с автомобильными дорогами со светофорным регулированием, в отдельных случаях в местах размещения крупных торговых центров, учреждений социально-бытового назначения и других крупных объектов обслуживания.
9.4.3 На РДП и РД при условии близости прохождения дублера по отношению к основной автомагистрали (до 15 м) могут устраиваться единые внеуличные пешеходные переходы в разных уровнях.
9.4.4 На РДП, РД и ЛД целесообразность устройства внеуличных пешеходных переходов (надземных или подземных) или введения светофорного регулирования на наземном пешеходном переходе определяется в каждом конкретном случае исходя из значений и соотношения интенсивности движения пешеходных и транспортных потоков
(рисунок 13).
I - нерегулируемые наземные переходы;
II - регулируемые наземные переходы;
III - внеуличные переходы (надземные и подземные)
Рисунок 13 - Области применения пешеходных переходов
различных видов
Выбор вида пешеходного перехода определяется соотношением интенсивности движения пешеходов N
пеш., чел./ч, и транспортных средств по основной дороге N
а, авт./ч, в соответствии с
СП 34.13330.2012 (см.
рисунок 13).
В пределах населенных пунктов на РДП внеуличные пешеходные переходы (надземные или подземные) допускается устраивать при пешеходном потоке через проезжую часть более 3000 чел./ч согласно
СП 34.13330.2012 независимо от интенсивности движения транспортных средств по дублеру.
10 Оборудование дублеров элементами обустройства и объектами дорожного сервиса
10.1 Технические средства организации дорожного движения
10.1.2 Дорожные знаки, знаки индивидуального проектирования и знаки переменной информации, применяемые на дублерах, необходимо проектировать согласно требованиям
ГОСТ Р 52290-2004 и
ГОСТ 32865-2014.
10.1.4 Дорожные ограждения, применяемые на дублерах, проектируют согласно
ГОСТ 33128-2014,
ГОСТ Р 52289-2019, в том числе ограждения металлические дорожные барьерного типа должны соответствовать техническим требованиям
ГОСТ 26804-2012.
| | ИС МЕГАНОРМ: примечание. В официальном тексте документа, видимо, допущена опечатка: стандарт имеет номер ГОСТ Р 52282-2004, а не ГОСТ Р 52282-2019. | |
10.1.5 Дорожные светофоры, применяемые на дублерах, должны соответствовать техническим требованиям
ГОСТ Р 52282-2019.
10.2 Автобусные остановки
10.2.1 Для разгрузки основных автомагистралей от местного автобусного движения автобусные остановки общественного транспорта местных маршрутов переносятся с основных автомагистралей на дублеры.
10.2.2 При проектировании автобусных остановок на дублерах автомагистралей на подходах к крупным и крупнейшим городам технические требования к их элементам, правила размещения и обустройства техническими средствами организации дорожного движения принимают по
СП 34.13330.2012 и рекомендациям
[15].
10.2.3 На РД, располагаемых вне населенных пунктов, остановочные площадки должны быть отделены от основной проезжей части дублеров разделительной полосой шириной 0,5 м по всей длине остановочной площадки и в обе стороны за ее пределами на расстоянии 20 м
[15].
10.2.4 На РДП у остановочных площадок переходно-скоростные полосы и разделительную полосу не устраивают.
На РД и ЛД, располагаемых вне населенных пунктов, у остановочных площадок устраиваются переходно-скоростные полосы. Геометрические параметры полос приведены в
таблице 17.
10.2.5 Автобусные остановки на дублере всех типов вне населенных пунктов и в их пределах оборудуют автопавильоном, скамьями, туалетом, контейнером и двумя урнами для мусора.
10.2.6 На всех типах дублеров вне населенных пунктов автобусные остановки располагают не чаще чем через 3 км, а в густонаселенной местности не чаще чем через 1,5 км.
На всех типах дублеров в пределах населенных пунктов автобусные остановки размещают на расстоянии 400 - 600 м друг от друга.
10.2.7 При проектировании остановочных площадок предусматривают обеспечение доступа для лиц с ограниченными возможностями согласно требованиям
СП 59.13330.2016. При этом пути движения лиц с ограниченными возможностями не должны ограничивать условия жизнедеятельности других лиц, а также эффективность и безопасность эксплуатации остановочных площадок.
Освещение участков дублеров в пределах населенных пунктов выполняют в соответствии с требованиями
п. 7 СП 52.13330.2016.
10.3.2 Стационарное электрическое освещение на дублерах предусматривают:
- на участках, проходящих по населенным пунктам и за их пределами на расстоянии не менее 100 м от них;
- в местах сопряжения с автомагистралью на протяжении всей длины переходно-скоростных полос от них;
- на подходах к железнодорожным переездам на расстоянии не менее 250 м;
- на участках в зоне размещения переходно-скоростных полос на съездах к объектам дорожного сервиса;
- на средних и больших мостах (путепроводах) в соответствии с требованиями
таблицы 7 ГОСТ Р 52766-2007;
- под путепроводами при условии, что длина проезда под ними превышает 30 м;
- на автобусных остановках, пешеходных переходах, велосипедных дорожках, участках концентрации дорожно-транспортных происшествий в темное время суток, у расположенных вблизи от дороги мест сосредоточения пешеходов в населенных пунктах, где нет уличного освещения, при расстоянии до мест возможного подключения к распределительным сетям не более 500 м.
10.3.3 При расстоянии менее 500 м между соседними последовательно расположенными населенными пунктами или расстоянии менее 250 м между отдельными освещенными объектами на дублерах предусматривают непрерывное освещение.
10.3.4 На пешеходных переходах в одном уровне норму освещения повышают не менее чем в 1,3 раза по сравнению с нормой освещения проезжей части.
10.3.5 Расстояние между опорами освещения определяется расчетом с учетом ширины проезжей части, порядка размещения опор, мощности ламп, типа исполнения светильников, количества светильников на опоре и т.п. Расчет расстояния между опорами освещения выполняют на основании норм освещенности дублеров.
10.3.6 В пределах населенного пункта опоры наружного освещения устанавливают на расстоянии не менее 1 м от бордюра на РД и РДП и не менее 0,6 м от бордюра на ЛД. При отсутствии маршрутов движения городского транспорта и грузовых автомобилей на локальном дублере расстояние от бордюра до опоры допускается уменьшить до 0,3 м.
Вне населенных пунктов и при отсутствии бордюра расстояние от кромки дублера до опоры освещения должно быть не менее 1,75 м.
10.3.7 Выбор схемы размещения опор стационарного электрического освещения на дублерах осуществляют в зависимости от ширины проезжей части дублера. Варианты размещения опор показаны на
рисунке 14.
а - односторонняя схема размещения опор на проезжей части
шириной 12 м и менее; б, в - двухсторонние схемы размещения
опор стационарного электрического освещения на проезжей
части шириной более 12 м соответственно в прямоугольном
и шахматном порядке
Рисунок 14 - Схемы размещения опор стационарного
электрического освещения на проезжей части
При ширине проезжей части дублера 12 м и менее предусматривают одностороннюю схему размещения опор (см.
рисунок 14 а), более 12 м - размещение опор с двух сторон в прямоугольном (см.
рисунок 14 б) или в шахматном порядке (см.
рисунок 14 в).
| | ИС МЕГАНОРМ: примечание. В официальном тексте документа, видимо, допущена опечатка: пункт 7.29 в СП 52.13330.2016 отсутствует. Возможно, имеется в виду таблица 7.29 СП 52.13330.2016. | |
10.3.8 Наименьшую высоту установки светильников над уровнем поверхности проезжей части дублера из условия ограничения слепящего действия устройств наружного освещения принимают в соответствии с требованиями
п. 7.29 СП 52.13330.2016.
10.3.9 Опоры стационарного электрического освещения предусматривают в соответствии с требованиями
ГОСТ 32947-2014 и устанавливают за бровкой земляного полотна на расстоянии от нее не менее 0,5 м. В населенных пунктах, где дублер имеет профиль городского типа, опоры устанавливают на газоне на расстоянии от бортового камня до цокольной части опоры не менее 1 м.
При установке опор на расстоянии менее 4 м от кромки проезжей части их защищают от наездов транспортных средств дорожными ограждениями.
В местах сопряжений автомагистралей и транспортных развязок устанавливают дорожные ограждения у опор светильников высотой 15 - 30 м, расположенных на расстоянии менее 9 м от кромки проезжей части.
10.3.10 Стационарное электрическое освещение на дублерах включают в вечерние сумерки при естественной освещенности менее 20 лк, а отключают в утренние сумерки при естественной освещенности более 10 лк.
10.3.11 В темное время суток при интенсивности движения пешеходов менее 40 чел./ч и транспортных средств в обоих направлениях менее 50 ед./ч допускается снижение уровня освещения путем отключения 50% светильников или при помощи регулятора светового потока, кроме мест расположения пешеходных переходов.
10.3.12 В темное время суток не допускается отключение наружного освещения или снижение освещенности поверхности проезжей части в местах пешеходных переходов, расположенных в населенных пунктах, за исключением случаев аварийного нарушения электроснабжения.
10.3.13 Освещение железнодорожных переездов следует устраивать с учетом норм искусственного освещения объектов железнодорожного транспорта. При устройстве стационарного электрического освещения на прилегающем к железнодорожному переезду участке дублера предусматривают нормы освещения, относящиеся к автомобильным дорогам.
10.4 Тротуары и пешеходные дорожки
10.4.1 Тротуары или пешеходные дорожки устраивают на участках дублеров, проходящих через населенные пункты или вблизи населенных пунктов, при наличии пешеходного движения в соответствии с требованиями
СП 42.13330.2016,
ГОСТ Р 52766-2007,
ГОСТ 33150-2014.
Вне населенных пунктов тротуары или пешеходные дорожки предусматривают от посадочных площадок автобусных остановок в направлении основных потоков пассажиров до существующих тротуаров, улиц или пешеходных дорожек, а при их отсутствии - на расстоянии не менее расстояния боковой видимости.
10.4.2 Тротуары или пешеходные дорожки предусматривают с дальней от дублируемой автомагистрали стороны дублера. Тротуары размещают в пределах земляного полотна, пешеходные дорожки - за пределами земляного полотна. При отсутствии застройки вблизи дублера пешеходные дорожки располагают за пределами водоотводных сооружений.
10.4.3 Ширина тротуаров или пешеходных дорожек, устраиваемых РД и РДП в пределах населенных пунктов, приведена в
таблице 11.
На ЛД допускается устройство тротуаров и пешеходных дорожек при расчетной интенсивности движения пешеходов:
- до 100 чел./ч шириной 1 м;
- более 100 чел./ч шириной 1,5 м.
10.4.4 Пешеходные ограждения на тротуарах устраивают в соответствии с требованиями
ГОСТ Р 52289-2019.
10.5 Велосипедные дорожки, полосы для велосипедистов и велопешеходные дорожки
10.5.1 При необходимости на дублерах устраивают велосипедные дорожки, полосы для велосипедистов или велопешеходные дорожки.
Велосипедные дорожки, полосы для велосипедистов или велопешеходные дорожки на дублерах автомагистралей устраивают в случаях, если:
- имеются или планируются к устройству велосипедные дорожки вдоль дублера, расположенного как в пределах крупного или крупнейшего города, так и за его границами;
- развита сеть велосипедных дорожек и полос для велосипедистов в населенном пункте или в нескольких близлежащих населенных пунктах, через которые проходит дублер;
- администрации населенных пунктов, вдоль которых проходит дублер, планируют развивать велосипедное движение.
10.5.2 При проектировании предусматривают размещение велосипедных дорожек, полос для велосипедистов или велопешеходных дорожек в зависимости от типов дублеров и условий размещения (таблица 19).
Таблица 19
Условия размещения велосипедных дорожек, полос
для велосипедистов или велопешеходных дорожек на дублерах
Вид дорожки (полосы) | Тип дублера | Условия размещения |
Велосипедная дорожка | РДП | Вне населенных пунктов |
РД |
Полоса для велосипедистов | РДП | В пределах населенных пунктов |
РД |
Велопешеходная дорожка | РД | Вне населенных пунктов |
ЛД | В пределах населенных пунктов |
10.5.4 Велосипедные дорожки и полосы для велосипедистов в целях повышения безопасности дорожного движения располагают с одной (наветренной) стороны дублера в расчете на господствующие ветры в летний период.
10.5.5 На подходах к искусственным сооружениям допускается размещение полос для велосипедистов на обочине с отделением их от проезжей части ограждениями или разделительными полосами.
10.5.6 Велосипедные дорожки устраивают с твердым покрытием из асфальтобетона, цементобетона или каменных материалов, обработанных вяжущим, согласно
СП 34.13330.2012.
10.6 Размещение объектов дорожного сервиса
10.6.1 К объектам дорожного сервиса относят автозаправочные станции, автостанции, автовокзалы, гостиницы, кемпинги, мотели, пункты общественного питания, станции технического обслуживания, подобные объекты, а также необходимые для их функционирования места отдыха и стоянки транспортных средств согласно
постановлению [16],
ГОСТ 32846-2014.
Объекты дорожного сервиса на дублерах автомагистралей предусматривают в соответствии с требованиями
ГОСТ 33062-2014.
10.6.2 В основном объекты дорожного сервиса размещают на основной автомагистрали. Согласно
постановлению [16] и
ГОСТ 33062-2014 установлены минимальные необходимые требования к обеспеченности автомагистралей объектами дорожного сервиса, размещаемыми в границах полос отвода автомобильных дорог (таблица 20).
Таблица 20
Требования для обслуживания участников дорожного движения
Категория автомобильной дороги | Вид объекта дорожного сервиса | Расстояние между объектами дорожного сервиса по заданию заказчика, км, согласно |
| |
Автомагистраль IА Скоростная дорога IБ | Мотель (кемпинг) | 250 | 100 - 150 |
Пункт питания | 100 | 20 - 30 |
Автозаправочная станция | 100 | 20 - 30 |
Станция технического обслуживания | 100 | 60 - 100 |
Площадка отдыха | 50 | 20 - 30 |
Примечания
1 Для автомобильных дорог категорий IА и IБ с числом полос движения 4 и более площадки отдыха должны располагаться по обеим сторонам автомобильной дороги.
2 Площадки отдыха разделяют на большие и малые в зависимости от занимаемой ими площади (
подраздел 5.4 ГОСТ 33062-2014). Для больших площадок отдыха на автомобильных дорогах категорий IА - IВ необходимо предусматривать двухстороннее размещение.
10.6.3 Объекты дорожного сервиса рассчитывают для обслуживания суммарной интенсивности движения автомобилей на автомагистрали и дублерах.
При соответствующем технико-экономическом обосновании предусматривают устройство объектов дорожного сервиса между автомагистралью и дублером для обслуживания как автомагистрали, так и дублера.
10.6.4 Планировочные решения по устройству объектов дорожного сервиса для дублеров и автомагистралей учитывают следующие условия:
- размещение объектов дорожного сервиса не должно снижать пропускную способность, ухудшать видимость на основной автомагистрали и дублере, а также обеспечивать безопасность дорожного движения на них;
- проектирование и строительство объектов дорожного сервиса проводится с учетом требований действующих стандартов, технических норм в части безопасности дорожного движения и экологической безопасности.
10.6.5 С целью обеспечения безопасности и удобства дорожного движения транзитных потоков по автомагистрали при технико-экономическом обосновании объекты дорожного сервиса могут быть размещены на полосе отвода дублеров автомагистралей с противоположной от автомагистрали стороны дублера.
В этом случае на дублерах размещают следующие виды объектов дорожного сервиса:
- площадку отдыха с освещением всей территории объекта в темное время суток (при наличии возможности использования существующих электрических сетей); с возможностью пользоваться столами и скамейками для отдыха и приема пищи, стоянкой транспортных средств, туалетами и мусоросборниками;
- пункт общественного питания с обеспечением возможности покупки продуктов питания и (или) приема пищи на территории пункта общественного питания, освещения всей территории объекта в темное время суток; с возможностью пользоваться площадками для стоянки транспортных средств, туалетами, мусоросборниками;
- автозаправочную станцию с обеспечением возможности осуществления заправки транспортных средств топливно-смазочными материалами, освещения всей территории объекта в темное время суток; с возможностью пользоваться торговым павильоном для продажи технических жидкостей и автомобильных принадлежностей, площадкой для остановки транспортных средств, туалетами, мусоросборниками, средствами связи.
10.6.6 Для удобства пользователей объекты дорожного сервиса на дублерах автомагистрали размещают с выполнением следующих условий:
- места сопряжения автомагистрали с дублером для съезда на дублер и далее к объекту дорожного сервиса, а также дублера с автомагистралью для обратного въезда транзитного потока на автомагистраль располагают на расстоянии друг от друга не более 10 км для автомагистрали категории IА и не более 5 км для скоростной дороги категории IБ;
- объекты дорожного сервиса располагают преимущественно вне зон примыканий и пересечений на дублерах для минимизации потери времени для пользователей;
- дорожные указатели, обозначающие наличие объектов сервиса на дублерах автомагистрали, наиболее ясно и понятно ориентируют водителей о месте размещения и способе подъезда к объекту дорожного сервиса, а также о возможности вернуться обратно на автомагистраль.
10.6.7 Нормы отвода земель для размещения объектов дорожного сервиса регламентируются
постановлением [17].
10.6.8 Устройство объектов дорожного сервиса на дублерах автомагистрали предусматривают таким образом, чтобы обеспечить наибольшую эффективность использования территорий и зданий с учетом функциональной направленности объекта, а также визуального восприятия в общем архитектурном ансамбле дублера и окружающем ландшафте.
10.6.9 При размещении объектов дорожного сервиса на дублерах рекомендуется учесть перспективу проведения мероприятий по увеличению пропускной способности дублеров, а также развития самого объекта.
10.6.10 При интенсивности движения свыше 4000 авт./сут по дублеру, расположенному с одной стороны автомагистрали, с организацией двухстороннего движения, рекомендуется размещение общего для автомагистрали и дублера объекта дорожного сервиса одного вида (преимущественно АЗС) между автомагистралью и дублером, а также отдельного объекта того же вида на дублере с противоположной от автомагистрали стороне со смещением навстречу движению на расстоянии 150 - 200 м между точками примыкания переходно-скоростных полос дублера
[18].
При интенсивности движения менее 4000 авт./сут по дублеру, расположенному с одной стороны автомагистрали, с организацией двухстороннего движения, рекомендуется размещение только общего для автомагистрали и дублера объекта дорожного сервиса одного вида (преимущественно АЗС) между автомагистралью и дублером. В этом случае на дублере предусматривают места разворота или левоповоротные карманы либо устройство стоянки на противоположной стороне дублера со смещением навстречу движению на расстоянии не менее 150 м и организацией пешеходного перехода.
10.6.11 Объекты дорожного сервиса размещают на основе выполненного технико-экономического сравнения возможных вариантов на дублерах либо вне пределов границ населенных пунктов или на территории прилегающих населенных пунктов предпочтительно на их окраинах у границ перспективной застройки.
10.6.12 На съездах объектов дорожного сервиса должно быть обеспечено минимальное расстояние видимости для остановки автомобиля при движении по дублеру (см.
таблицу 8). При въезде на объект дорожного сервиса предусматривают устройство переходно-скоростной полосы торможения, при выезде с объекта на дублер - переходно-скоростной полосы разгона в соответствии с геометрическими параметрами, приведенными в
таблице 17 для каждого типа дублера.
10.6.13 Объекты дорожного сервиса размещают на расстоянии не менее 1 км от мостовых переходов. Съезды к объектам располагают на расстоянии 0,3 - 0,5 км от пересечений и примыканий.
10.6.14 При размещении АЗС минимально допустимое расстояние от кромки проезжей части основной дороги до бензораздаточных колонок или границ подземных резервуаров для хранения нефтепродуктов должно быть не менее 15 м.
10.6.15 В общем случае элементы генерального плана объектов дорожного сервиса и их комплексов располагают относительно дублера в следующем порядке: транспортная зона (съезд-стоянка-выезд), зона обслуживания (основное здание объекта, тротуары и пешеходные дорожки). В комплексных сооружениях транспортные зоны входящих в них объектов должны быть по возможности объединены. Вместе с тем стоянки для длительного хранения автомобилей у мотелей, гостиниц и кемпингов рекомендуется размещать обособленно.
10.6.16 Объекты дорожного сервиса должны быть обозначены дорожными знаками в соответствии с требованиями
ГОСТ Р 52289-2019.
Территория объектов дорожного сервиса должна быть оборудована дорожными знаками и иметь разметку в соответствии с требованиями
ГОСТ Р 52289-2019.
10.6.17 На автозаправочных станциях, размещаемых в границах полос отвода дублера, должна быть обеспечена возможность заправки транспортных средств в том числе газовым моторным топливом.
11 Требования к автоматизированным системам управления дорожным движением
11.1 Автоматизированные системы управления дорожным движением на дублерах
11.1.1 На дублере, как и на автомагистрали, в целях повышения пропускной способности и безопасности движения, а также обеспечения эффективного управления движением транспортных потоков между автомагистралью и дублером во время пиковой нагрузки применяют автоматизированные системы управления дорожным движением (АСУДД).
Применение АСУДД позволяет обеспечить информирование участников дорожного движения о перекрытиях полос движения и проведении ремонтных работ, рекомендуемых маршрутах объезда. Предусматривают устройство единой АСУДД на автомагистрали и дублере, контроль в данном случае осуществляется на центральном управляющем пункте.
11.1.2 Устройство АСУДД на дублерах осуществляется в соответствии с требованиями
ГОСТ 24.501-82.
11.1.3 В АСУДД включены следующие подсистемы:
- мониторинг транспортных потоков как транзитных на автомагистрали, так и местных на дублере;
- управление движением транспортных потоков как транзитных на автомагистрали, так и местных на дублере;
- информирование участников движения;
- видеонаблюдение с помощью камер;
- сбор метеоданных;
- прием и передача данных между компонентами АСУДД;
- центральный пункт управления.
Оборудование АСУДД включает все необходимые датчики, светофоры, знаки переменной информации, камеры видеонаблюдения, системы передачи данных и другие устройства, необходимые для обеспечения функционирования вышеперечисленных подсистем, устанавливаемые как на основной автомагистрали, так и на дублерах.
11.1.4 В ходе мониторинга транспортных потоков предусматривается:
- автоматический сбор данных о параметрах транзитных транспортных потоков на автомагистрали и местных транспортных потоков на дублере;
- статистическая обработка результатов изменения параметров транзитных и местных транспортных потоков;
- автоматическое обнаружение заторов, ДТП и других инцидентов, нехарактерных для нормального движения транспортных потоков, как на автомагистрали, так и на дублере.
11.1.5 Информирование участников движения по автомагистрали и дублеру осуществляется посредством:

знаков переменной информации, предназначенных:
- для отображения предупреждающих, запрещающих и предписывающих дорожных знаков,
- оперативного информирования участников движения о фактической дорожно-транспортной ситуации, рекомендуемых маршрутах объезда заторов, в том числе с использованием участков дублера при наличии заторов на автомагистрали;

оборудования, предназначенного для управления вышеперечисленными средствами информирования участников движения.
Информация на знаках переменной информации должна содержать краткие сведения, достаточные для правильного понимания участниками дорожного движения.
11.1.6 При приеме и передаче данных между компонентами единой АСУДД для автомагистрали и дублера обеспечивается:

обмен информацией между центральным пунктом управления и устройствами, входящими в остальные подсистемы АСУДД;

прием сообщений дорожных служб о проведении:
- плановых и внеплановых дорожно-строительных и ремонтных работ,
- общественных мероприятий, спецпроездов и т.п. на автомагистрали, дублере, прилегающей улично-дорожной сети.
11.2 Перераспределение транспортных потоков между автомагистралью и дублером во время пиковой нагрузки
11.2.1 Во время пиковой нагрузки, при проведении дорожно-строительных или ремонтных работ, или возникновении крупных ДТП, а также перекрытий движения на основной автомагистрали, способствующих возникновению сплошного транспортного потока и заторов (
уровни обслуживания движения D,
E,
F согласно таблице 4.1 рекомендаций
[10]), посредством единой для автомагистрали и дублера АСУДД предусматривается при обосновании расчетами перераспределение транспортных потоков с автомагистрали на дублер. Перераспределение транспортных потоков осуществляется в местах сопряжений автомагистрали и дублера таким образом, чтобы проинформировать участников движения, двигающихся по основной автомагистрали, до места перехода на дублер и обеспечить информирование о переходе непосредственно в месте сопряжения автомагистрали и дублера.
Для этого вне населенных пунктов на расстоянии не менее 500 м, в пределах населенных пунктов на расстоянии не менее 300 м до места сопряжения автомагистрали с дублером предусматривают установку табло переменной информации, информирующее о причине перераспределения транспортных потоков и рекомендуемом маршруте объезда, включая указание расстояния до мест сопряжения автомагистрали с дублером для съезда с автомагистрали и обратного возврата на автомагистраль.
Непосредственно перед местами сопряжения на автомагистрали и дублере повторно устанавливают табло переменной информации, дублирующее необходимые сведения.
11.2.2 В отдельных случаях, при полном перекрытии дублеров, аналогично осуществляют перераспределение транспортных потоков с дублера на основную автомагистраль.
11.2.3 Сведения о наличии препятствий, способствующих возникновению сплошного транспортного потока и заторов, и рекомендуемом маршруте их объезда на табло переменной информации рекомендуется обновлять не реже чем через 15 мин.
11.3 Устройство реверсивных полос на отдельных участках дублеров с двухсторонним движением
11.3.1 При необходимости изменения распределения транспортных потоков по направлениям движения с учетом фактической загрузки на дублерах предусматривают устройство реверсивных полос.
Потребность в полосах с реверсивным движением выявляется при возникновении неравномерности распределения движения по направлениям в часы пик, когда наблюдается маятниковое движение. Такие полосы используют также в случаях, когда появляется необходимость в перенаправлении транспортных потоков с автомагистрали на дублер.
11.3.2 Маятниковое движение возникает, когда участники движения совершают следующие основные виды поездок:
- трудовые, служебные, учебные (поездки из дома на работу или к месту учебы и обратно), характерны для будних дней недели;
- бытовые (поездки из дома в крупные торговые и культурные центры и обратно), характерны для пятницы и выходных дней;
- рекреационные (поездки к месту отдыха за пределы крупных городов и обратно), характерны для пятницы, выходных дней и понедельника.
По результатам технико-экономического обоснования, основанного в том числе на фактических данных по наличию и объему маятникового движения, принимается решение об устройстве на дублерах реверсивного движения.
11.3.3 Реверсивное движение может устраиваться на РД с двухсторонним движением, располагаемых с одной стороны автомагистрали, при наличии не менее трех полос движения, в том числе с выделенными полосами для общественного транспорта.
При принятии решения о введении реверсивного движения по результатам технико-экономического обоснования предусматривают устройство нечетного количества полос движения на дублерах. В этом случае реверсивное движение осуществляется на средней полосе. При сплошном транспортном потоке или заторах средняя полоса открыта для наиболее загруженного направления.
11.3.4 В населенных пунктах полосу с реверсивным движением на дублере устраивают на всем протяжении населенного пункта. При расстоянии между населенными пунктами менее 500 м и в случае потребности в полосе с реверсивным движением в том и другом населенных пунктах реверсивная полоса предусматривается непрерывной как в пределах населенных пунктов, так и между ними.
Вне населенных пунктов для осуществления обгона полоса с реверсивным движением должна иметь протяженность не менее расстояния видимости из условий обгона на участках с обеспеченной видимостью (см.
таблицу 8).
11.3.5 Установку дорожных знаков, устройство дорожной разметки и организацию светофорного регулирования на полосах с реверсивным движением предусматривают в соответствии с требованиями
ГОСТ Р 52289-2019.
12 Охрана окружающей среды
12.1 При проектировании дублеров выполняют требования
раздела 10 постановления
[19].
Мероприятия по охране окружающей среды при строительстве, ремонте и содержании дублеров назначают в соответствии с
рекомендациями [20].
12.2 При выборе вариантов проложения трассы дублера необходимо:
- принимать во внимание, что оптимальным является вариант, имеющий наивысшие показатели экономической эффективности капитальных вложений с учетом экологической безопасности и социальных интересов населения;
- оценивать затраты на содержание, ремонты и реконструкцию дороги, транспортные расходы, расходы на природоохранные мероприятия, компенсацию экологического ущерба и т.д. в течение всего периода сравнения с учетом дисконтирования затрат;
- рассматривать вариант отказа от строительства дублера и последствий такого решения при проведении оценки воздействия автомобильной дороги на окружающую среду обязательно;
- учитывать перераспределение движения между автомагистралью и дублером, уменьшение экологической нагрузки на участках автомагистрали, где снижается интенсивность движения и улучшаются дорожные условия.
12.3 При устройстве дублеров необходимо предусматривать:
- применение инновационных экологически чистых технологий и материалов в целях обеспечения охраны окружающей среды при строительстве и эксплуатации;
- ведение наиболее полного учета факторов влияния на окружающую среду с целью обеспечения нормальной экологической обстановки в период производства строительных работ и последующей эксплуатации дублеров;
- осуществление рационального использования и экономии земельных и водных ресурсов, утилизации отходов, использование вторичных ресурсов;
- выполнение комплексного подхода к размещению дорожных объектов с учетом снижения транспортного шума, загрязнения воздуха, почвы, воды;
- уменьшение затрат невозобновляемых природных ресурсов в период производства строительных работ (занимаемая площадь, минеральные материалы, органические и неорганические вяжущие и т.п.);
- устройство путепроводов, эстакад, виадуков и других инженерных сооружений с целью сохранения ландшафта, животного мира, лесных массивов и т.п.;
- реализацию проектных решений с учетом природоохранных критериев.
12.4 При проектировании дублеров для обоснования проектных решений определяют количественные уровни загрязнения окружающей природной среды отработавшими газами, твердыми выбросами, шумом, вибрацией, а также пылью от износа покрытия, противогололедными реагентами и другими воздействиями транспортных средств.
12.5 В соответствии с
разделом 40 постановления
[19] перечень мероприятий по предотвращению и (или) снижению возможного негативного воздействия от устройства дублеров автомагистралей на окружающую среду на период строительства и эксплуатации дублера включает:

мероприятия по охране атмосферного воздуха;

мероприятия по охране и рациональному использованию земельных ресурсов и почвенного покрова;

мероприятия по рациональному использованию и охране вод и водных биоресурсов на пересекаемых дублером реках и иных водных объектах;

мероприятия по рациональному использованию общераспространенных полезных ископаемых, используемых при строительстве;

мероприятия по сбору, использованию, обезвреживанию, транспортировке и размещению опасных отходов;

мероприятия по охране недр и континентального шельфа Российской Федерации;

мероприятия по охране растительного и животного мира, в том числе:
- по сохранению среды обитания животных, путей их миграции, доступа в нерестилища рыб,
- сбору сведений о местах хранения отвалов растительного грунта, а также местонахождении карьеров, резервов грунта, кавальеров;

программу производственного экологического контроля (мониторинга) за характером изменения всех компонентов экосистемы при строительстве и эксплуатации дублера, а также при авариях на его отдельных участках;

программу специальных наблюдений за дублером на участках, подверженных опасным природным воздействиям;

конструктивные решения и защитные устройства, предотвращающие попадание животных на территорию электрических подстанций, иных зданий и сооружений дублера, а также под транспортные средства и в работающие механизмы.
Кроме того, в случае, когда уровень шума от дублера в помещениях жилых, общественных зданий и на территории жилой застройки превышает установленные нормы
[21], необходимо предусматривать меры по защите от шума.
12.6 Охрана атмосферного воздуха осуществляется в соответствии с Федеральным
законом [22]. В целях охраны атмосферного воздуха в местах проживания населения устанавливаются санитарные разрывы для автомобильных дорог. Размеры санитарных разрывов определяются на основе расчетов рассеивания выбросов вредных (загрязняющих) веществ в атмосферном воздухе и физических факторов (шум, вибрация, электромагнитное излучение) в соответствии с
подразделом 2.6 санитарных норм
[23].
12.7 В проектах на строительство участков дублеров, которые могут оказать вредное воздействие на качество атмосферного воздуха, предусматриваются меры по снижению выбросов вредных (загрязняющих) веществ в атмосферный воздух.
Выбор защитных мероприятий осуществляют на основе технико-экономического сравнения следующих основных вариантов:
- изменение параметров дублера, направленное на повышение средней скорости транспортного потока;
- ограничение движения отдельных типов транспортных средств полностью или в отдельные интервалы времени;
- усиление контроля за движением автомобилей с неотрегулированными двигателями по участку, чувствительному к загрязнению воздушной среды, в целях минимизации токсичных выбросов;
- устройство защитных сооружений.
12.8 Мероприятия по защите от шума назначают в соответствии с
рекомендациями [21]. Значения допустимых эквивалентных уровней звука на территориях, прилегающих к дублеру, установлены в таблице 5.1
рекомендаций [21] на основании требований санитарных
норм [24].
В состав мероприятий по защите от шума входят:
- устройство шумозащитных экранов и других шумозащитных сооружений;
- соблюдение санитарных разрывов автомобильных дорог;
- устройство шумозащитных полос с использованием зеленых насаждений;
- применение материалов покрытия автомобильной дороги, снижающих шум;
- запрет на проезд транзитного транспорта или ограничение движения грузовых автомобилей в местах постоянного проживания людей;
- шумозащитное остекление нормируемых по шуму зданий, расположенных на территории, прилегающей к автомобильной дороге.
12.9 Использование земель при строительстве и дальнейшей эксплуатации дублеров осуществляется в соответствии с требованиями Земельного
кодекса [25] и должно быть направлено на обеспечение сохранности экологических систем.
При строительстве и дальнейшей эксплуатации дублеров предусматривают следующие мероприятия:
- по сохранению почв;
- защите земель от водной и ветровой эрозии, селей подтопления, заболачивания, вторичного засоления, иссушения, уплотнения, загрязнения химическими веществами, захламления отходами производства и потребления, в результате которых происходит деградация земель;
- защите полосы отвода дублеров и автомагистралей от зарастания деревьями и кустарниками, сорными растениями; ликвидации последствий загрязнения и захламления земель;
- рекультивации нарушенных земель.
12.10 Охрана водных ресурсов осуществляется в соответствии с требованиями Водного
кодекса [26] и должна быть направлена на охрану водных объектов от загрязнения, засорения и истощения вод.
12.11 Запрещается сбрасывать сточные и (или) дренажные воды в водные объекты:

содержащие природные лечебные ресурсы;

расположенные:
- в границах первого пояса зон санитарной охраны источников хозяйственно-питьевого водоснабжения,
- в границах первой, второй зон округов санитарной (горно-санитарной) охраны лечебно-оздоровительных местностей и курортов,
- в местах нереста, зимовки и массовых скоплений водных и околоводных животных.
Сброс сточных и (или) дренажных вод в водные объекты допускается при концентрации загрязняющих веществ в сточных водах, не превышающих предельно допустимые концентрации, за исключением категорий водных объектов, куда сброс сточных вод запрещен.
При наличии в сточных водах веществ с содержанием выше предельно допустимых концентраций необходимо осуществлять очистку загрязненных сточных и (или) дренажных вод до установленных нормативов в соответствии с документами [
27,
28,
29,
30].
12.12 Согласно Водному
кодексу [26] для всех рек и водоемов установлены водоохранные зоны - территории, которые примыкают к береговой линии морей, рек, ручьев, каналов, озер, водохранилищ и на которых установлен специальный режим осуществления хозяйственной и иной деятельности.
Согласно
пунктам 2,
4,
5,
7 части 15 статьи 65 Водного кодекса
[26] в границах водоохранных зон запрещается (применительно к автомобильным дорогам и объектам транспортной инфраструктуры):
- размещение объектов сбора отходов производства и потребления;
- движение и стоянка транспортных средств (кроме специальных автомобилей), за исключением их движения и стоянки на дорогах и в специально оборудованных местах, имеющих твердое покрытие;
- размещение автозаправочных станций, складов горюче-смазочных материалов, станций технического обслуживания, используемых для технического осмотра и ремонта транспортных средств; осуществление мойки транспортных средств;
- сброс сточных, в том числе дренажных, вод.
12.13 Для уменьшения выноса загрязняющих веществ с поверхностным стоком должны осуществляться мероприятия:
- запрещение сброса в дождевую канализацию отходов производства;
- организация регулярной уборки территорий полосы отвода;
- проведение своевременного ремонта дорожных покрытий;
- ограждение зон озеленения бордюрами, исключающими смыв грунта на дорожное покрытие;
- повышение степени пыле- и газоочистки на очистных сооружениях дорожной инфраструктуры;
- повышение технического уровня эксплуатации транспортных средств;
- ограждение строительных площадок с упорядочением отвода поверхностного стока по временной системе открытых лотков, осветлением его на 50% - 70% в отстойниках и последующим сбросом на рельеф местности или дальнейшей очисткой;
- локализация участков, где неизбежны просыпки и проливы загрязняющих веществ с последующим отведением и очисткой поверхностного стока; упорядочение складирования и транспортирования сыпучих и жидких материалов.
В целях предотвращения изменения водных экосистем запрещается без проверки расчетным путем размыва дна рек и берегов устройство плотин, запруд, перемычек, отводов, подходов к мостам и т.д.
12.14 Охрана растительного и животного мира осуществляется в соответствии с Федеральным
законом [31]. В случае необходимости при строительстве дублеров разрабатываются и осуществляются мероприятия, обеспечивающие сохранение путей миграции объектов животного мира и мест их постоянной концентрации, в том числе в период размножения и зимовки. При наличии постоянных путей следования животных, пересекающих дублеры, а также существующих переходов для них через автомагистраль осуществляется строительство ограждений от попадания диких животных на дублеры или строятся переходы для них через автомобильную дорогу. Существующие на автомагистрали ограждения переносят на дублеры.
ЗОНЫ ВЛИЯНИЯ КРУПНЫХ И КРУПНЕЙШИХ ГОРОДОВ
Зоны влияния крупных и крупнейших городов и окружающих их городских агломераций определены для радиальных автомобильных дорог общего пользования федерального значения, входящих на территорию 35 городов Российской Федерации, большей частью расположенных в европейской части России. Зона влияния города Москвы, являющегося самым населенным субъектом Российской Федерации, определена отдельно. Подробно результаты определения зон влияния городов с использованием электронных карт приведены в
таблице А.1, обобщение результатов - в
таблице А.2.
Таблица А.1
Результаты определения расстояния от крупного города
до последнего населенного пункта, визуально являющегося
его пригородом
Город | Численность населения, чел. | Наименование автомобильной дороги общего пользования федерального значения | Категория автомобильной дороги федерального значения | Последний населенный пункт, входящий в агломерацию, или транспортная развязка | Расстояние до последнего населенного пункта, км |
1 | 2 | 3 | 4 | 5 | 6 |
Москва | 12 108 257 | М-1 "Беларусь" | IБ | Кубинка | 51 |
М-2 "Крым" | IА | Бережки | 25 |
М-3 "Украина" | IБ | Наро-Фоминск | 55 |
М-4 "Дон" | IА | Белые Столбы | 42 |
М-5 "Урал" | II, IБ | Бронницы | 49 |
М-7 "Волга" | IБ | Большое Буньково | 54 |
М-8 "Холмогоры" | II, IБ | Лесной | 30 |
М-9 "Балтия" | IА | Покровское | 29 |
М-10 "Россия" | IВ | Солнечногорск | 47 |
А-103 "Щелковское шоссе" | II | Райки, Роща | 24 |
А-104 Москва - Дмитров - Дубна | II | Яхрома | 48 |
А-106 Рублево-Успенское шоссе | III | Матвейково, конец дороги | 29 |
А-130 Москва - Малоярославец - Рославль - граница с Республикой Беларусь | II | Красная Пахра | 28 |
Санкт-Петербург | 5 131 942 | М-10 "Россия" | I | Ульяновка | 15 |
Р-21 "Кола" | I | Мяглово | 15 |
Р-23 Санкт-Петербург - Псков - Пустошка - Невель - граница с Республикой Беларусь | II | Большие Колпаны | 35 |
А-180 "Нарва" | II | Кипень | 31 |
А-181 "Скандинавия" | II | Зеленогорское шоссе | 27 |
Новосибирск | 1 547 910 | М-53 "Байкал" | III | Развязка с Пашинским шоссе | 5,5 |
М-52 "Чуйский тракт" | II | Евсино | 51 |
Екатеринбург | 1 412 346 | Подъезд к г. Екатеринбургу от М-5 "Урал" | I | Октябрьский | 9,2 |
Р-242 Пермь - Екатеринбург | I, II | Ревда | 26 |
Р-351 Екатеринбург - Тюмень | I, III | Белоярский | 43 |
Нижний Новгород | 1 263 873 | М-7 "Волга" | IБ, II | Дзержинск, Новоликеево | 25 28 |
Р-158 Нижний Новгород - Арзамас - Саранск - Исса - Пенза - Саратов | IБ, II | Развязка с М-7 "Волга" | 10 |
Казань | 1 190 850 | М-7 "Волга" | II, IБ | Шали | 21 |
Р-239 Казань - Оренбург - Акбулак - граница с Республикой Казахстан | IБ, III | Каипы | 15 |
А-295 Йошкар-Ола - Зеленодольск - автомобильная дорога М-7 "Волга" | II, III | Волжск | 37 |
Самара | 1 172 348 | М-32 Самара - Большая Черниговка - граница с Республикой Казахстан | III | Самарский | 16 |
Подъезд к г. Самаре, М-5 "Урал" | II | Красный Яр | 24 |
Челябинск | 1 169 432 | Подъезд к г. Екатеринбургу от М-5 "Урал" | I | Долгодеревенское | 12 |
М-5 "Урал" | I | Саргазы | 10 |
Р-254 "Иртыш" | II, III | Поселок имени Вахрушева | 15 |
А-310 Челябинск - Троицк - граница с Республикой Казахстан | I, II | Борисовка | 39 |
Омск | 1 166 092 | М-51 "Байкал" | II | Лузино | 3,9 |
М-38 Омск - Черлак - граница с Республикой Казахстан | II | Розовка | 24 |
Р-402 Тюмень - Ялуторовск - Ишим - Омск | II | Красный Яр | 32 |
Ростов-на-Дону | 1 109 835 | М-4 "Дон" | IБ | Пересечение с Ростовским шоссе | 16 |
А-135 Подъездная дорога от автодороги М-4 "Дон" к г. Ростову-на-Дону | IБ | М-4 "Дон" | 11 |
А-280 Ростов-на-Дону - Таганрог - граница с Украиной | IБ, II | Чалтырь | 12 |
Уфа | 1 096 702 | М-5 "Урал" | II, I | Шакша, поворот на Жуково | 10 22 |
М-7 "Волга" | II | Подымалово | 13 |
Р-240 Уфа - Оренбург | I | Булгаково | 18 |
Красноярск | 1 035 528 | М-53 "Байкал" | II, I, III | Вознесенка, Емельяновка | 16 17 |
М-54 "Енисей" | III | Дивногорск | 27 |
Пермь | 1 026 477 | Р-242 Пермь - Екатеринбург | I, III | Нестюково | 7 |
Подъезд к г. Перми от М-7 "Волга" | I, II, III | Краснокамск | 15 |
Волгоград | 1 017 985 | М-6 "Каспий" | I | Светлый Яр | 9,3 |
А-260 Волгоград - Каменск-Шахтинский - граница с Украиной | II | Прудбой | 30 |
Воронеж | 1 014 610 | М-4 "Дон", подъезд к г. Воронежу | IВ | Каширское, Комсомольский | 35 22 |
Р-193 Воронеж - Тамбов | II, III | Латная | 17 |
Саратов | 840 785 | Р-158 Нижний Новгород - Арзамас - Саранск - Исса - Пенза - Саратов | II | Широкое | 9 |
Подъезд к г. Саратову от М-6 "Каспий" | II | Михайловка | 8,4 |
Краснодар | 805 680 | М-4 "Дон" | IБ, II | Адыгейск | 16 |
А-146 Краснодар - Верхнебаканский | IБ, II | Афипский | 13 |
Ижевск | 637 309 | М-7 "Волга" | II | Совхозный | 11 |
Ульяновск | 616 672 | Р-178 Саранск - Сурское - Ульяновск | II | Чердаклы | 13 |
Р-241 Казань - Буинск - Ульяновск | II | Цильна | 22 |
А-151 Цивильск - Ульяновск | II | Большие Ключищи, Большое Нагаткино | 8,1 20 |
Ярославль | 602 400 | М-8 Холмогоры | III | Кузнечиха, Кормилицыно | 2,2 8,4 |
Подъезд к г. Костроме от М-8 "Холмогоры" | II | Туношна | 19 |
Оренбург | 560 046 | Подъезд к г. Оренбургу | II | Подгородняя Покровка | 8,9 |
Р-239 Казань - Оренбург - Акбулак до границы с Республикой Казахстан | I, II | Татарская Каргала | 14 |
Рязань | 530 341 | М-5 "Урал" | II | Высокое, Листвянка | 18 12 |
Пенза | 521 329 | М-5 "Урал" | II | Грабово, Кижеватово | 15 18 |
Р-209 Тамбов - Пенза | II, II | Константиновка | 15 |
Липецк | 509 719 | Р-119 Орел - Ливны - Елец - Липецк - Тамбов | IВ, III | Бруслановка | 11 |
Тула | 490 508 | М-2 "Крым" | IБ, III | Большая Тросна | 18 |
Р-132 Калуга - Тула - Михайлов - Рязань | III | Молодежный | 4,2 |
Киров | 487 138 | Р-176 "Вятка" | III | Нет населенных пунктов на подходе | - |
Чебоксары | 468 725 | М-7 "Волга" | II, IБ | Чиршкасы, Большие Катраси | 6,0 4,6 |
Р-176 "Вятка" | IБ, II | Большое Князь-Теняково | 6,4 |
Тверь | 411 042 | М-10 "Россия" | IБ, IВ, II | Заволжский, Эммаус | 11 23 |
А-112 Чепелево - Вельяминово | II | Даниловское | 10 |
Иваново | 409 223 | Подъезд к г. Иванову от М-7 "Волга" | II | Крутово | 7 |
Р-600 Кострома - Иваново | II | Нет населенных пунктов на подходе | - |
Брянск | 408 472 | Р-120 Орел - Брянск - Смоленск - граница с Республикой Беларусь | II | Гнилищево | 19 |
А-240 Брянск - Новозыбков - граница с Республикой Беларусь | II | Добрунь | 10 |
Владимир | 350 087 | М-7 "Волга" | IБ, III | Лакинск, Лемешки | 16,4 5 |
Калуга | 334 191 | Р-92 Калуга - Перемышль - Белев - Орел | III | Колюпанов | 4 |
Р-132 Калуга - Тула - Михайлов - Рязань | III | Ахлебинино | 13 |
Смоленск | 330 961 | Р-120 Орел - Брянск - Смоленск - граница с Республикой Беларусь | II | Талашкино | 7,9 |
Вологда | 308 172 | М-8 "Холмогоры" | III, II | Оларево | 16 |
А-114 Вологда - Тихвин - автомобильная дорога Р-21 "Кола" | I, II | Лесково | 13 |
А-119 Вологда - Медвежьегорск - автомобильная дорога Р-21 "Кола" | III | Молочное | 8,7 |
Таблица А.2
Зоны влияния крупнейших городов
Численность населения, чел., более | Зоны влияния крупнейших городов, км |
среднее значение | округленное среднее значение |
12 000 000 (Москва) | 39,3 | 40 |
1 000 000 | 19,9 | 20 |
500 000 до 1 000 000 | 14,5 | 15 |
250 000 до 500 000 | 10,3 | 10 |
ОБОСНОВАНИЕ ЦЕЛЕСООБРАЗНОСТИ УСТРОЙСТВА ДУБЛЕРОВ
ПО РЕЗУЛЬТАТАМ ВЫЯВЛЕНИЯ НЕОБХОДИМОСТИ ПОВЫШЕНИЯ
ПРОПУСКНОЙ СПОСОБНОСТИ УЧАСТКОВ АВТОМАГИСТРАЛЕЙ
Б.1 Для определения необходимости повышения пропускной способности участков автомагистралей на подходах к крупным или крупнейшим городам проводят сбор и обработку данных с определением фактической годовой среднесуточной интенсивности движения транспортных средств на рассматриваемой автомагистрали в зоне влияния крупного города и окружающей его городской агломерации.
Б.2 На основании фактических данных выявляют участки автомагистрали с коэффициентом загрузки более или равным 0,65 согласно
СП 34.13330.2012, характеризующим режим перегрузки и экономическую неэффективность работы участка.
Коэффициент загрузки автомагистрали z в рассматриваемой зоне влияния крупного города определяют по формуле
z = N
ф.год.ср./16nP
пр.,
(Б.1)
где Nф.год.ср. - фактическая годовая среднесуточная интенсивность движения транспортных средств, авт./сут;
16 - коэффициент перевода суточной интенсивности движения транспортных средств в максимальную часовую интенсивность движения (час пик). При наличии данных распределения интенсивности движения по часам суток принимается по фактическим данным;
n - количество полос движения на рассматриваемом участке;
P
пр. - практическая пропускная способность участка автомагистрали в зависимости от количества полос движения, рассчитываемая в соответствии с
рекомендациями [10], авт./ч.
Б.3 По результатам определения коэффициента загрузки участка автомагистрали в рассматриваемой зоне влияния крупного города, а также процентного соотношения пользователей, использующих автомагистраль для местных поездок в общем составе потока, выявляют целесообразность устройства дублера на данном участке.
Б.4 На выявленных участках проводят моделирование транспортных потоков (как транзитных, так и местных) с рассмотрением вариантов перераспределения перспективных транспортных потоков в совокупности со смежными и несмежными участками на геоинформационной системе модели городской агломерации с помощью специализированных программ, в том числе в моменты пиковых нагрузок, для обоснования эффективности работы дублера.
Б.5 Необходимое число полос движения дублера определяют технико-экономическим расчетом из условия минимума суммарных приведенных затрат за срок сравнения вариантов с учетом жизненного цикла автомобильной дороги. При этом учитывают рациональную загрузку дублера, характеризуемую коэффициентом загрузки.
ОБОСНОВАНИЕ ЦЕЛЕСООБРАЗНОСТИ УСТРОЙСТВА ДУБЛЕРОВ С УЧЕТОМ
ПЛАНИРОВАНИЯ НА КРАТКОСРОЧНУЮ И СРЕДНЕСРОЧНУЮ ПЕРСПЕКТИВУ
РАЗВИТИЯ ТЕРРИТОРИЙ, ПРИЛЕГАЮЩИХ К АВТОМАГИСТРАЛИ
В.1 При наличии в градостроительном плане населенного пункта в краткосрочной и среднесрочной перспективе тенденции по развитию территорий, расположенных в районе тяготения автомагистралей на подходах к крупным или крупнейшим городам, проводят определение целесообразности устройства дублеров.
В.2 Развитие территорий предполагает создание новых промышленных и производственных зон, складских и логистических комплексов, торговых и рекреационных зон, транспортных узлов, коммерческой и жилой застройки и т.п.
В.3 При определении целесообразности устройства дублеров рассматривают краткосрочный и среднесрочный периоды развития, исключая долгосрочный, так как изменения градостроительных планов происходят каждые 3 - 5 лет и зависят от экономической ситуации как в отдельно взятом регионе, так и в целом по стране. При устройстве дублеров, как правило, рассматривают среднесрочный период, поскольку подготовка проектной документации и строительство объектов занимают определенное время.
В.4 Устройство новых объектов на территориях, расположенных в районе тяготения автомагистралей или скоростных дорог, напрямую влияет на их загрузку. Для учета влияния характера намечаемого развития территории проводят сбор информации, включающей:
- планируемый в конце рассматриваемого периода объем грузоперевозок в зоне тяготения автомагистрали с учетом намечаемого развития территорий;
- прогнозируемую численность жителей населенных пунктов, расположенных в зоне тяготения автомагистрали, с учетом строящихся или планируемых к постройке объектов жилой недвижимости;
- перспективный уровень автомобилизации региона;
- планируемый в конце рассматриваемого периода объем пассажироперевозок на участке автомагистрали.
В.5 По результатам анализа собранной информации определяют перспективную на конец рассматриваемого периода среднесуточную интенсивность движения транспортных средств, отражающую добавочную нагрузку на участки автомагистралей в зоне влияния крупных и крупнейших городов и городских агломераций. Полученные результаты суммируют с перспективной интенсивностью, определенной на конец рассматриваемого периода, на основании фактической интенсивности по методу, приведенному в
приложении Б.
В.6 Затем выявляют участки автомагистрали, где с учетом развития прилегающих территорий будет исчерпана пропускная способность (коэффициент загрузки z > 0,65 при условии планирования на краткосрочную и среднесрочную перспективу) и где целесообразно устройство дублеров.
В.7 На выявленных участках проводят моделирование транспортных потоков (как транзитных, так и местных) в моменты пиковых нагрузок для определения узких мест с целью уточнения протяженности дублеров автомагистралей на подходах к крупным и крупнейшим городам.
| | Постановление Правительства Российской Федерации от 28 сентября 2009 г. N 767 "О классификации автомобильных дорог в Российской Федерации" |
| | Проектирование нежестких дорожных одежд |
| | Методические рекомендации по проектированию жестких дорожных одежд (взамен ВСН 197-91), 2004 |
| | ИС МЕГАНОРМ: примечание. В официальном тексте документа, видимо, допущена опечатка: Приказ Министерства транспорта Российской Федерации "Об утверждении Порядка подготовки документации по планировке территории, предназначенной для размещения автомобильных дорог общего пользования федерального значения" от 06.07.2012 имеет номер 199, а не 119. | |
|
| | Приказ Министерства транспорта Российской Федерации от 6 июля 2012 г. N 119 "Об утверждении Порядка подготовки документации по планировке территории, предназначенной для размещения автомобильных дорог общего пользования федерального значения" |
| | Инструкция по проведению экономических изысканий для проектирования автомобильных дорог |
| | ИС МЕГАНОРМ: примечание. В официальном тексте документа, видимо, допущена опечатка: Федеральный закон "Градостроительный кодекс Российской Федерации" принят 29.12.2004, а не 27.12.2009. | |
|
| | Федеральный закон от 27 декабря 2009 г. N 190-ФЗ "Градостроительный кодекс Российской Федерации" |
| | Методические рекомендации по учету движения транспортных средств на автомобильных дорогах |
| | Руководство по прогнозированию интенсивности движения на автомобильных дорогах, 2003 |
| | Указания по архитектурно-ландшафтному проектированию автомобильных дорог |
| | Методические рекомендации по оценке пропускной способности автомобильных дорог |
| | Пособие по проектированию элементов плана, продольного и поперечного профилей, инженерных обустройств, пересечений и примыканий автомобильных дорог (в развитие СНиП 2.05.02-85 "Автомобильные дороги"), 1989 |
| | Руководство по проектированию городских дорог и улиц, 1980 |
| | Типовые проектные решения 503-09-7.84. Материалы для проектирования. Водоотводные сооружения на автомобильных дорогах общей сети Союза ССР. Альбом 1 |
| | Указания по обеспечению безопасности движения на автомобильных дорогах |
| | Автобусные остановки на автомобильных дорогах. Общие технические требования |
| | Постановление Правительства Российской Федерации от 29 октября 2009 г. N 860 "О требованиях к обеспеченности автомобильных дорог общего пользования объектами дорожного сервиса, размещаемыми в границах полос отвода" |
| | Постановление Правительства Российской Федерации от 2 сентября 2009 г. N 717 "О нормах отвода земель для размещения автомобильных дорог и (или) объектов дорожного сервиса" |
| | Методические указания по определению состава объектов автосервиса и их размещения на автомобильных дорогах общегосударственного и республиканского значения в РСФСР |
| | Постановление Правительства Российской Федерации от 16 февраля 2008 г. N 87 "О составе разделов проектной документации и требованиях к их содержанию" |
| | Методические рекомендации по охране окружающей среды при строительстве, ремонте и содержании автомобильных дорог |
| | Методические рекомендации по защите от транспортного шума территорий, прилегающих к автомобильным дорогам |
| | Федеральный закон от 4 мая 1999 г. N 96-ФЗ "Об охране атмосферного воздуха" |
| | Санитарно-защитные зоны и санитарная классификация предприятий, сооружений и иных объектов |
| | Санитарные нормы. Шум на рабочих местах, в помещениях жилых, общественных зданий и на территории жилой застройки. Санитарные нормы |
| | Федеральный закон от 25 октября 2001 г. N 136-ФЗ "Земельный кодекс Российской Федерации" |
| | Федеральный закон от 3 июня 2006 г. N 74-ФЗ "Водный кодекс Российской Федерации" |
| | Гигиенические требования к охране поверхностных вод |
| | Предельно допустимые концентрации (ПДК) химических веществ в воде водных объектов хозяйственно-питьевого и культурно-бытового водопользования (в действующей редакции) |
| | Ориентировочные допустимые уровни (ОДУ) химических веществ в воде водных объектов хозяйственно-питьевого и культурно-бытового водопользования (в действующей редакции) |
| | ИС МЕГАНОРМ: примечание. В официальном тексте документа, видимо, допущена опечатка: Приказ Минсельхоза России "Об утверждении нормативов качества воды водных объектов рыбохозяйственного значения, в том числе нормативов предельно допустимых концентраций вредных веществ в водах водных объектов рыбохозяйственного значения" от 13.12.2016 имеет номер 552, а не 352. | |
|
| | Приказ Министерства сельского хозяйства Российской Федерации от 13 декабря 2016 г. N 352 "Об утверждении нормативов качества воды водных объектов рыбохозяйственного значения, в том числе нормативов предельно допустимых концентраций вредных веществ в водах водных объектов рыбохозяйственного значения" |
| | Федеральный закон от 24 апреля 1995 г. N 52-ФЗ "О животном мире" |
| | ИС МЕГАНОРМ: примечание. Текст дан в соответствии с официальным текстом документа. | |
ОКС |
Ключевые слова: дублер, автомагистраль, интенсивность, крупные города, планировочные решения, геометрические параметры, проектирование, водоотвод, поперечные профили, пересечения, примыкания, АСУДД |
Руководитель организации-разработчика
ФАУ "РОСДОРНИИ"
Генеральный директор
А.П.ВАРЯТЧЕНКО