Главная // Актуальные документы // МетодикаСПРАВКА
Источник публикации
СПб, 2004
Примечание к документу
Взамен МВИ-М-34-98.
Название документа
"МВИ-М-34-04. Методика выполнения измерений массовой концентрации металлов в воздухе рабочей зоны и выбросах в атмосферу промышленных предприятий атомно-абсорбционным методом с электротермической атомизацией"
(утв. ООО "Мониторинг")
"МВИ-М-34-04. Методика выполнения измерений массовой концентрации металлов в воздухе рабочей зоны и выбросах в атмосферу промышленных предприятий атомно-абсорбционным методом с электротермической атомизацией"
(утв. ООО "Мониторинг")
Утверждаю
Генеральный директор
ООО "Мониторинг"
Т.М.КОРОЛЕВА
2004 г.
МЕТОДИКА
ВЫПОЛНЕНИЯ ИЗМЕРЕНИЙ МАССОВОЙ КОНЦЕНТРАЦИИ МЕТАЛЛОВ
В ВОЗДУХЕ РАБОЧЕЙ ЗОНЫ И ВЫБРОСАХ В АТМОСФЕРУ
ПРОМЫШЛЕННЫХ ПРЕДПРИЯТИЙ АТОМНО-АБСОРБЦИОННЫМ МЕТОДОМ
С ЭЛЕКТРОТЕРМИЧЕСКОЙ АТОМИЗАЦИЕЙ
МВИ-М-34-04
ФР.1.31.2004.01258
Взамен
МВИ-М-34-98
1. Разработана: ООО "Мониторинг".
2. Исполнители:
Руководитель разработки:
Руководитель сектора, н.с. Максакова И.Б.
Инженер Кузнецова С.Б.
3. МВИ аттестована ФГУП "ВНИИМ им. Д.И. Менделеева".
Свидетельство N 242/140-2004 от 08.12.2004.
МВИ прошла экспертизу в НИИ Атмосфера.
Экспертное заключение N 87/33-09 от 23.09.1998.
(Письмо о продлении срока действия экспертного заключения 915/33-09 от 19.11.2002).
Настоящая методика предназначена для измерения массовой концентрации элементов Al, Ba, Be, V, Bi, W, Fe, Ca, Cd, K, Co, Si, Mg, Mn, Cu, Mo, As, Na, Ni, Sn, Hg, Pb, Se, Sb, Ti, Cr, Zn атомно-абсорбционным спектрометрическим методом в воздухе рабочей зоны и выбросах в атмосферу промышленных предприятий.
Диапазоны измерений массовых концентраций элементов приведены в таблице 1.
Таблица 1
Наименование элементов | Диапазон измерений массовой концентрации элементов, мг/м3 | ПДК, мг/м3 | Диапазон измерений массовой концентрации элементов, мг/м3 |
Воздух рабочей зоны | Выбросы промышленных предприятий |
Алюминий | от 0,07 до 350 | 6/2 | от 0,03 до 4000 |
Барий | от 0,043 до 85 | 1,5/0,5 | от 0,10 до 2550 |
Бериллий | от 0,0009 до 0,9 | 0,003/0,001 | от 0,0020 до 40 |
Ванадий | от 0,030 до 86 | 0,1 | от 0,22 до 4250 |
Висмут | от 0,10 до 200 | 0,5 | от 0,13 до 1200 |
Вольфрам | от 1,30 до 1000 | -/6 | от 0,60 до 10000 |
Железо | от 0,01 до 20 | -/10 | от 0,013 до 1200 |
Кадмий | от 0,0025 до 5 | 0,05/0,01 | от 0,0025 до 500 |
Кальций | от 0,05 до 100 | 1,0 | от 0,06 до 1200 |
Калий | от 0,025 до 20 | 5,0 | от 0,06 до 250 |
Кобальт | от 0,03 до 70 | 0,05/0,01 | от 0,009 до 1600 |
Кремний | от 0,17 до 330 | 3/1 | от 0,13 до 5000 |
Магний | от 0,20 до 400 | 4,0 | от 0,03 до 67 |
Марганец | от 0,007 до 13 | 0,05 | от 0,013 до 500 |
Медь | от 0,015 до 30 | 1/0,5 | от 0,009 до 1600 |
Молибден | от 0,10 до 20 | 3/0,5 | от 0,13 до 1200 |
Мышьяк | от 0,01 до 80 | 0,04/0,01 | от 1,0 до 8000 |
Натрий | от 0,05 до 40 | 0,2 | от 0,06 до 250 |
Никель | от 0,01 до 20 | 0,005 | от 0,0025 до 500 |
Олово | от 0,02 до 50 | 1/0,2 | от 0,25 до 6000 |
Ртуть | от 0,001 до 0,8 | 0,01/0,005 | от 0,0003 до 1,0 |
Селен | от 0,02 до 100 | -/2 | от 0,06 до 1200 |
Свинец | от 0,002 до 10 | -/0,05 | от 0,005 до 1200 |
Сурьма | от 0,07 до 170 | 0,5/0,2 | от 0,13 до 1200 |
Титан | от 0,30 до 830 | -/10 | от 0,17 до 1800 |
Хром | от 0,0017 до 20 | 0,03/0,01 | от 0,0025 до 250 |
Цинк | от 0,01 до 20 | 1,5/0,5 | от 0,006 до 500 |
Примечание: Значения ПДК представлены для воздуха рабочей зоны. Если приведено два норматива, то это значит, что в числителе значение максимально разовой ПДК, в знаменателе - среднесменное значение, прочерк обозначает, что норматив установлен в виде средней сменной ПДК. Если приведено одно значение, то это означает, что оно установлено как максимально разовая ПДК. |
1. ХАРАКТЕРИСТИКИ ПОГРЕШНОСТИ ИЗМЕРЕНИЙ
Расширенная неопределенность результатов измерений массовой концентрации элементов 0,20X, мг/м3 (при коэффициенте охвата 2), где X - результат измерения, мг/м3.
Примечание: Соответствует границам относительной погрешности результата измерения массовой концентрации элементов +/- 20% (при доверительной вероятности P = 0,95).
Метод измерений заключается в отборе металлосодержащих аэрозолей из газовой фазы способом внешней фильтрации на фильтры АФА-ХА, АФА-ВП или внутренней фильтрации в фильтровальные патроны с набивкой из асбеста и стеклоткани, с последующим переводом проб в раствор и определением Al, Ba, Be, V, Bi, W, Fe, Ca, Cd, Co, Si, Mg, Mn, Cu, Mo, Ni, Sn, Pb, Ti, Cr, Zn в растворе атомно-абсорбционным спектрометрическим методом с электротермической атомизацией.
В основе метода ААС лежит измерение степени поглощения резонансного светового излучения атомами определяемого элемента в высокотемпературной зоне (электротермическая атомизация).
Для измерений концентрации Hg, Se, Sb, As применяют атомно-абсорбционный спектрометрический метод холодного пара.
Для измерений концентрации K и Na применяют атомно-эмиссионный метод с возбуждением в пламени.
Выбор способа перевода пробы в раствор зависит от вида фильтровального материала и определяемого элемента.
3. СРЕДСТВА ИЗМЕРЕНИЙ, ВСПОМОГАТЕЛЬНЫЕ УСТРОЙСТВА,
МАТЕРИАЛЫ И РЕАКТИВЫ
Спектрометр атомно-абсорбционный фирмы "Perkin Elmer" модель 2380 с дейтериевым корректором фона, автоматическим дозированием проб (автодозатор AS-40) и гидридной приставкой (MHS-20).
Допускается использование других моделей с характеристиками, не уступающими вышеуказанной.
Аспиратор для отбора проб воздуха, обеспечивающий расход воздуха не менее 20 дм3/мин и погрешность измерения расхода, не превышающую 1,0 дм3/мин, при разрежении до 5 кПа.
Анемометр крыльчатый по ТУ 25-7664.0003-87.
Колбы мерные 2-1000-2; 2-500-2; 2-200-2; 2-100-2; 2-50-2; 2-25-2; 1-10-2 по
ГОСТ 1770-74.
Пипетки с одной отметкой (1-2-1; 1-2-2; 2-2-5; 2-2-10; 2-2-20; 2-2-25) по
ГОСТ 29169-91.
Пипетки градуированные (1-1-2-1; 1-1-2-2; 1-1-2-5) по
ГОСТ 29227-91.
Дозатор пипеточный ДП-1-1000, ДП-1-500 по ТУ 64-16-78-91.
Секундомер по ТУ 25-1819.0021-90.
| | ИС МЕГАНОРМ: примечание. ГОСТ 23696-79 утратил силу с 1 июля 1986 года (ИУС "Государственные стандарты", N 8, 1986). | |
Барометр класса точности не ниже 1, ГОСТ 23696-79.
U-образные жидкостные манометры по ТД и дифференциальные манометры,
ГОСТ 2405-88.
Государственные стандартные образцы растворов ионов металлов:
ГСО 2293-89П ГСОРМ-1 (Hg - 1000 мкг/см3, Cd - 1000 мкг/см3, Mn - 1000 мкг/см3, Zn - 2000 мкг/см3, Pb - 2000 мкг/см3);
ГСО 2294-89П ГСОРМ-2 (Cu - 1000 мкг/см3, Co - 1000 мкг/см3, Ni - 1000 мкг/см3, Sr - 1000 мкг/см3, Cr - 1000 мкг/см3, Fe - 1000 мкг/см3)
ГСО 2295-89П ГСОРМ-3 (V - 1000 мкг/см3, Sb - 1000 мкг/см3, Mo - 1000 мкг/см3, Bi - 1000 мкг/см3, Ti - 2000 мкг/см3, Sn - 2000 мкг/см3)
ГСО 2297-89 ГСОРМ-5 (Si - 1000 мкг/см3);
ГСО 4483-89 ГСОРМ-30 (Na - 1000 мкг/см3, K - 1000 мкг/см3, Mg - 1000 мкг/см3, Ca - 1000 мкг/см3, Al - 1000 мкг/см3);
ГСО 5216 (барий - 1000 мкг/см3);
ГСО 5217 (бериллий - 100 мкг/см3);
ГСО 6068 (вольфрам - 1000 мкг/см3);
ГСО 7143-95/7144-95 (мышьяк - 100 мкг/см3);
ГСО 6076-91 (селен - 1000 мкг/см3);
ГСО 6083 (титан - 1000 мкг/см3);
Комплексный раствор ионов металлов КС-1 ГСО 7330-96.
Стандартный образец OC254877 (23 элемента) фирмы Merck.
3.2. Вспомогательные устройства
Спектральные лампы на элементы Al, Ba, Be, V, Bi, W, Fe, Ca, Cd, Co, Si, Mg, Mn, Cu, Mo, As, Ni, Sn, Hg, Pb, Se, Sb, Ti, Cr, Zn, любого типа.
Стаканы химические термостойкие вместимостью 100 см3, типа ВН, НН или по ТУ 25.1101 074-83.
Плитка электрическая, любого типа.
Печь муфельная любого типа, поддерживающая температуру 1000 °C.
Сушильный шкаф, диапазон температур от 20 °C до 200 °C.
Пробоотборный зонд фирмы ЗАО "Экотехсервис", ТУ 3646-001-46963637-98 ПЗ БМ "Атмосфера" или ПТ "Смог" (пробоотборные зонды с набором наконечников) по
ГОСТ Р 50820-95.
Счетчик газа объемный диафрагменный СГК-1,6, Государственный реестр N 17493-98.
Аналитические аэрозольные фильтры типа АФА-ХА, АФА-ХП, АФА-ВП по ТУ 95-743-80.
Фильтровальные патроны с набивкой из асбеста, стеклоткани, волокна фторин, тефлон или аналогичный материал
(ГОСТ 5679-91).
Лампа накаливания зеркальная ЗК 215-225-500-1 по ТУ 16-87.
Фильтры обеззоленные ("синяя лента") по ТУ 6-09-1678-95.
Олово двухлористое, ГОСТ 36-78, ч.
Калий хлористый по ТУ 6-09-3678-74, о.с.ч.
Натрий хлористый по ТУ 6-09-3658-74, о.с.ч.
Квасцы алюмокалиевые (калий-алюминий сернокислый 12-водный), ч.д.а.,
ГОСТ 4329-77.
Кислота хлорная, х.ч., ТУ 6-09-2878-84.
Примечание. Допускается применение других средств измерений и оборудования с метрологическими и техническими характеристиками не хуже, а также реактивов по квалификации не ниже вышеуказанных.
4. ТРЕБОВАНИЯ БЕЗОПАСНОСТИ
При проведении работ по отбору и анализу проб следует руководствоваться требованиями безопасности в соответствии с
ГОСТ 12.1.007-76,
ГОСТ 12.1.019-79 и
РД 52.04.186-89 и "Методическими указаниями по оборудованию мест отбора проб при экоаналитическом контроле промышленных выбросов в атмосферу", разработанными НИИ Атмосфера, 1999.
5. ТРЕБОВАНИЯ К КВАЛИФИКАЦИИ ОПЕРАТОРА
Анализ и отбор проб выполняется лаборантом-химиком, прошедшим проверку знаний по технике безопасности, в том числе по правилам безопасности при работе в химической лаборатории, включая общие правила работы с кислотами, газовыми баллонами и электроустановками с напряжением до 1000 В, пожарной безопасности и промышленной санитарии и сдавшим экзамен на право самостоятельной работы.
6. ПОДГОТОВКА К ВЫПОЛНЕНИЮ ИЗМЕРЕНИЙ
6.1. Отбор проб воздуха рабочей зоны
Отбор проб воздуха рабочей зоны производят с помощью аспиратора согласно его техническому описанию в соответствии с
ГОСТ 12.1.005-88. Через аэрозольный фильтр в течение времени прокачивают воздух с соответствующей скоростью для определяемого металла (параметры приведены в таблице 2).
Таблица 2
Рекомендуемые объемы воздуха при отборе проб и объемы
получаемых растворов для анализа воздуха рабочей зоны
Элемент | Скорость прокачивания, дм3/мин u | Время прокачивания, мин | Объем полученного раствора,  |
Al | 10 | 15 | 25 |
Ba | 20 | 30 | 10 |
Be | 20 | 30 | 10 |
V | 20 | 30 | 10 |
Bi | 20 | 30 | 25 |
W | 20 | 15 | 25 |
Fe | 20 | 30 | 25 |
Cd | 20 | 30 | 25 |
Ca | 20 | 15 | 25 |
K | 20 | 20 | 10 |
Co | 10 | 15 | 25 |
Si | 20 | 15 | 25 |
Mg | 10 | 15 | 25 |
Mn | 10 | 20 | 25 |
Cu | 10 | 15 | 25 |
Mo | 20 | 30 | 25 |
As | 20 | 30 | 10 |
Na | 20 | 20 | 10 |
Ni | 10 | 20 | 25 |
Sn | 20 | 30 | 10 |
Hg | 20 | 20 | 100 |
Se | 20 | 30 | 25 |
Pb | 20 | 30 | 10 |
Sb | 20 | 15 | 10 |
Ti | 10 | 15 | 25 |
Cr | 20 | 30 | 10 |
Zn | 10 | 20 | 25 |
После отбора пробы фильтр с держателем помещают в предварительно подготовленную чашку Петри, чашку запечатывают скотчем, наклеивают этикетку и в таком виде пробы транспортируют в лабораторию и хранят при комнатной температуре до начала анализа не более одного месяца.
6.2. Отбор проб выбросов промышленных предприятий
6.2.1. Отбор проб с помощью фильтрующего патрона
Подготовка фильтрующего патрона.
Перед отбором проб патроны подготавливают в соответствии с
ГОСТ Р 50820-95. Асбест и стеклоткань, которыми набивают стальные патроны, должны быть сухими и чистыми. Патроны набивают фильтрующим материалом так, чтобы высота набивки была примерно 30 мм, разряжение, создаваемое сопротивлением асбеста или стеклоткани, было (150 +/- 30) мм рт. ст. Каждому патрону присваивают номер и помещают его в отдельный контейнер вертикально и закрывают пробкой. Параллельно готовят контрольный патрон для холостой пробы.
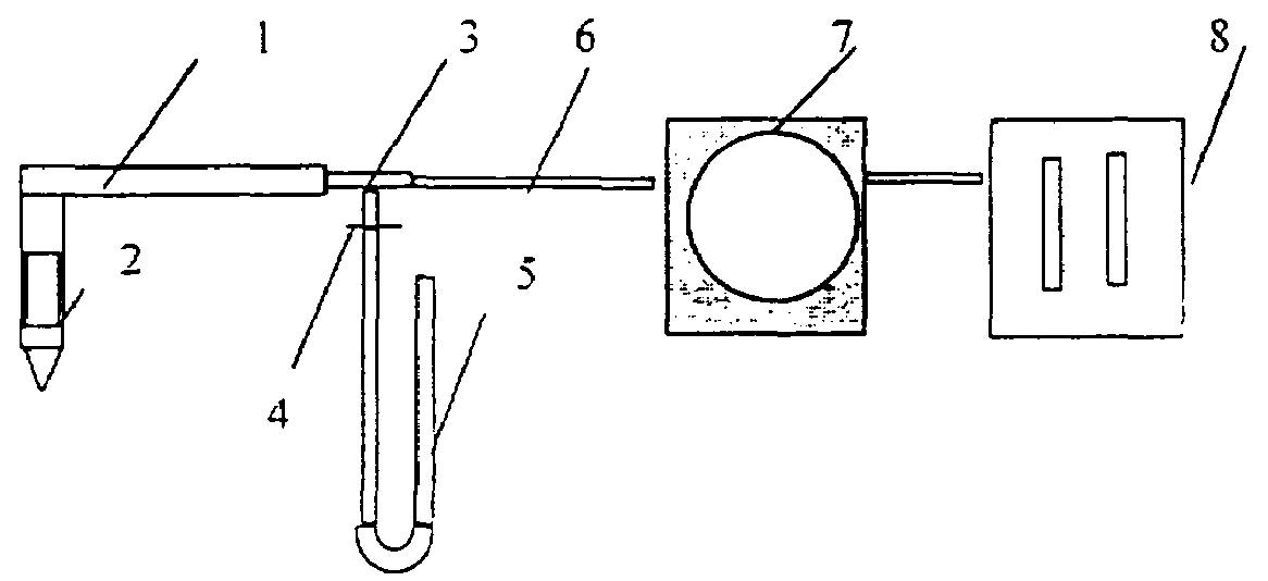
Для проверки разрежения в лаборатории собирают установку в соответствии с
рисунком 1. Вход на U-манометр 5 закрывают зажимом 4. Включают аспиратор 8 и устанавливают объемный расход 15 или 5 дм3/мин. Зажим с U-манометра осторожно снимают и измеряют разницу между высотами воды в коленах манометра

. Значения разрежения фиксируют. Для перевода мм вод. ст. в мм рт. ст. измеренное значение делят на 13,5.
1 - пробоотборный зонд, 2 - патрон, 3 - тройник,
4 - зажим, 5 - манометр, 6 - резиновый шланг, 7 - газовый
счетчик, 8 - аспиратор
Рисунок 1. Схема установки для измерения разрежения

в условиях лаборатории
Отбор
Выбирают прямолинейный участок газохода, удаленный от мест возмущения газового потока на расстояние не менее 6 диаметров после препятствия и не менее трех диаметров до препятствия. На выбранном месте приваривают штуцера. На расстоянии 30 - 70 мм выше штуцера приваривают пруток диаметром 10 мм и длиной около 1 м для крепления оборудования. К месту отбора должен быть подведен источник электропитания.
Собирают установку пробоотбора по схеме (рисунок 2).
1 - пробоотборный зонд, 2 - патрон, 3 - газоход,
4 - резиновый шланг, 5 - газовый счетчик, 6, 6' - сосуды
с термометром и силикагелем, 7 - аспиратор
Рис. 2. Схема отбора проб
Проверяют герметичность собранной установки, для чего до ввода патрона с патронодержателем в газоход устанавливают расход газа 2 - 5 дм3/мин по ротаметру и закрывают носик патрона - если через некоторое время (1 - 2 мин) расход снизится до нуля, система герметична. Отбор проб осуществляют при соблюдении условия изокинетичности.
Перед отбором проб определяют параметры газового потока в газоходе в соответствии с
ГОСТ 17.2.4.06-90 и
ГОСТ 17.2.4.07-90. Отбор проб из газохода следует производить при следующих условиях:
Метод внутренней фильтрации:
- температура газа в газоходе до 300 °C;
- избыточное давление/разрежение +/- 10 кПа;
- влажность газа в газоходе не более 100%.
Метод внешней фильтрации:
- температура газа в газоходе до 60 °C;
- избыточное давление/разрежение +/- 10 кПа;
- влажность газа в газоходе до 30%;
- газовоздушная смесь, поступающая на газовый счетчик, должна соответствовать температуре (20 +/- 10) °C.
Примечание: метод внутренней фильтрации является предпочтительным.
При отборе проб фиксируют давление, температуру отбираемого газа, скорость прокачивания воздуха через патрон с фильтрующим материалом, время начала и конца отбора проб. Скорость прокачивания в зависимости от ожидаемых концентраций должна быть 15 - 30 дм3/мин. Время отбора 20 мин.
После отбора пробы патрон с фильтрующим материалом транспортируют в лабораторию в неразобранном виде и хранят при комнатной температуре до начала анализа. Срок хранения проб не должен превышать одного месяца.
6.2.2. Отбор проб с помощью фильтров АФА-ХА, АФА-ХП, АФА-ВП
Отбор проб проводят так же, как в
п. 6.2.1. При отборе проб газа из газохода с помощью фильтра температура газового потока в газоходе должна быть не более 40 °C при влажности не выше 80%. Время отбора проб составляет 20 мин. Скорость прокачивания воздуха 15 - 30 дм3/мин. Привес фильтра должен быть не менее 0,001 г.
После отбора пробы фильтр с держателем помещают в предварительно подготовленную чашку Петри, чашку запечатывают скотчем, наклеивают этикетку и в таком виде пробы транспортируют в лабораторию и хранят при комнатной температуре до начала анализа не более месяца.
Таблица 3
Диапазон массовых концентраций при отборе проб и объемы
получаемых растворов для анализа выбросов
промышленных предприятий
Элемент | Диапазон массовых концентраций, мг/м3 | Объем полученного раствора,  |
1 | 2 | 3 |
Al | 0,03 - 2,5 | 25 |
| 2,5 - 60 | 500 |
Ba | 0,10 - 1,2 | 10 |
| 1,2 - 15 | 500 |
Be | 0,002 - 0,012 | 10 |
| 0,012 - 0,12 | 100 |
| 0,12 - 0,24 | 200 |
V | 0,22 - 3,0 | 25 |
| 3,0 - 25 | 200 |
Bi | 0,13 - 2,5 | 10 |
| 2,5 - 12 | 50 |
W | 0,6 - 5,0 | 10 |
| 5,0 - 50 | 25 |
| 50 - 500 | 200 |
Fe | 0,013 - 0,25 | 10 |
| 0,25 - 1,2 | 50 |
| 1,2 - 12 | 500 |
Cd | 0,0025 - 0,05 | 10 |
| 0,05 - 0,25 | 50 |
| 0,25 - 5 | 1000 |
K | 0,06 - 0,5 | 100 |
| 0,5 - 2,5 | 500 |
Ca | 0,06 - 1,2 | 50 |
| 1,2 - 12 | 500 |
Co | 0,009 - 0,025 | 10 |
| 0,025 - 0,25 | 100 |
| 0,25 - 5,0 | 1000 |
Si | 0,13 - 2,5 | 10 |
| 2,5 - 50 | 50 |
Mg | 0,03 - 1,0 | 50 |
Mn | 0,013 - 0,25 | 50 |
| 0,25 - 5 | 1000 |
Cu | 0,009 - 0,025 | 10 |
| 0,025 - 2,5 | 100 |
| 2,5 - 25 | 1000 |
Mo | 0,13 - 2,5 | 10 |
| 0,6 - 12 | 50 |
As | 1,0 - 5,0 | 25 |
| 5,0 - 50 | 100 |
Na | 0,06 - 0,5 | 100 |
| 0,5 - 2,5 | 500 |
Ni | 0,0025 - 0,05 | 100 |
| 0,05 - 0,25 | 50 |
| 0,25 - 5,0 | 1000 |
Sn | 0,25 - 6,0 | 50 |
| 6,0 - 60 | 500 |
Hg | 0,0003 - 0,003 | 200 |
| 0,003 - 0,03 | 1000 |
Pb | 0,005 - 0,25 | 10 |
| 0,25 - 1,2 | 50 |
| 1,2 - 12 | 500 |
Se | 0,06 - 0,6 | 25 |
| 0,6 - 6,0 | 100 |
Sb | 0,13 - 3,0 | 25 |
| 0,3 - 12 | 100 |
Ti | 0,17 - 6,0 | 50 |
| 6,0 - 30 | 200 |
Cr | 0,0025 - 0,035 | 10 |
| 0,035 - 0,12 | 25 |
| 0,12 - 2,5 | 500 |
Zn | 0,006 - 0,05 | 25 |
| 0,05 - 1,0 | 200 |
| 1,0 - 10 | 1000 |
7. УСЛОВИЯ ПРОВЕДЕНИЯ ИЗМЕРЕНИЙ
При подготовке проб и выполнении измерений должны быть соблюдены следующие условия:
температура окружающего воздуха должна быть (20 +/- 5) °C;
атмосферное давление 84,0 - 106,7 кПа (630 - 800 мм рт. ст.);
влажность воздуха не более 80% при температуре 25 °C.
8. ПОДГОТОВКА К ВЫПОЛНЕНИЮ ИЗМЕРЕНИЙ
8.1. Подготовка растворов
8.1.1. Приготовление смеси азотной и серной кислот (2:1)
Смешивают 100 см3 концентрированной азотной и 50 см3 концентрированной серной кислот, раствор тщательно перемешивают и охлаждают до комнатной температуры. Используют свежеприготовленным.
8.1.2. Приготовление смеси соляной и азотной кислот (3:1)
Смешивают 90 см3 концентрированной соляной и 30 см3 концентрированной соляной кислот, раствор осторожно перемешивают и охлаждают до комнатной температуры. Используют свежеприготовленным.
8.1.3. Приготовление 5% раствора перманганата калия
Навеску калия марганцовокислого (перманганат калия) массой 5,0 г растворяют в 95 см3 дистиллированной воды. Срок хранения раствора 1 месяц в посуде из темного стекла.
8.1.4. Приготовление разбавленной серной кислоты (1:2)
В 100 см3 дистиллированной воды осторожно растворяют 50 см3 концентрированной серной кислоты. Раствор охлаждают до комнатной температуры. Срок хранения раствора 1 год.
8.1.5. Приготовление разбавленной соляной кислоты (1:2)
В 100 см3 дистиллированной воды осторожно растворяют 50 см3 концентрированной соляной кислоты. Раствор охлаждают до комнатной температуры. Срок хранения раствора 1 год.
8.1.6. Приготовление разбавленной азотной кислоты (1:1)
В 50 см3 дистиллированной воды растворяют 50 см3 концентрированной азотной кислоты. Раствор охлаждают до комнатной температуры. Срок хранения раствора 1 год.
8.1.7. Приготовление раствора восстановителя
Навеску двухлористого олова массой 6,0 г растворяют в 20 см3 разбавленной серной кислоты (1:2) и добавляют 40 см3 дистиллированной воды. Срок хранения раствора 1 месяц.
8.1.8. Приготовление 1% раствора хлористого натрия
Навеску хлористого натрия массой 1,00 г растворяют в 99 см3 дистиллированной воды.
Проверяется раствор в режиме эмиссии на спектрофотометре. Массовая концентрация калия в полученном растворе не должна превышать 0,05 мкг/см3, т.к. превышение содержания калия в растворе мешает определению. Срок хранения раствора 1 год.
8.1.9. Приготовление 1% раствора хлористого калия
Навеску хлористого калия массой 1,00 г растворяют в 99 см3 дистиллированной воды.
Проверяется раствор в режиме эмиссии на спектрофотометре. Массовая концентрация натрия в полученном растворе не должна превышать 0,05 мкг/см3, т.к. превышение содержания натрия в растворе мешает определению. Срок хранения раствора 1 год.
8.1.10. Приготовление азотной кислоты с концентрацией 0,1 моль/дм3
7 см3 концентрированной азотной кислоты растворяют в дистиллированной воде и доводят объем полученного раствора до 1 дм3. Срок хранения раствора 6 месяцев.
8.1.11. Приготовление 1% раствора алюмокалиевых квасцов
Навеску алюмокалиевых квасцов массой 1,0 г помещают в мерную колбу на 100 см3 и доводят объем до метки дистиллированной водой.
Срок хранения раствора 3 месяца.
8.1.12. Приготовление 5%-ного раствора серной кислоты
14,6 см3 концентрированной серной кислоты растворяют в дистиллированной воде и доводят объем полученного раствора до 500 см3. Срок хранения раствора 6 месяцев.
8.2.1. Подготовка проб, отобранных на фильтры АФА-ХА
При определении Al, Ba, Be, V, Bi, W, Fe, Ca, Cd, Co, Mg, Mn, K, Cu, Mo, As, Na, Ni, Pb, Ti, Cr, Zn - "мокрое озоление".
Фильтр пластмассовым пинцетом извлекают из держателя и помещают в химический стакан вместимостью 100 см3. Фильтр заливают 5 см3 концентрированной азотной кислоты, выдерживают 30 мин, нагревают раствор и выдерживают при температуре 50 - 60 °C до полного растворения фильтра и уменьшения объема жидкости до 1 см3 (до влажных солей). Раствор охлаждают до комнатной температуры. Затем приливают 0,5 см3 перекиси водорода, выдерживают 30 мин и осторожно нагревают раствор до прекращения вспенивания. Раствор медленно упаривают до объема 0,5 - 1,0 см3, охлаждают, количественно переносят в мерную колбу для соответствующего элемента и доводят объем до метки азотной кислотой с концентрацией 0,1 моль/дм3. Требуемые объемы мерных колб представлены в
таблицах 2,
3.
При определении K раствор доводят до метки 1% раствором хлористого натрия. При определении Na раствор доводят до метки 1% раствором хлористого калия.
Одновременно готовят холостую пробу, повторяя всю процедуру пробоподготовки с чистым фильтром.
Подготовка проб для определения Sn и Sb
Фильтр пластмассовым пинцетом извлекают из держателя и помещают в химический стакан вместимостью 100 см3. Фильтр заливают 2 см3 концентрированной серной кислоты и выдерживают при нагревании до полного растворения и уменьшения объема жидкости до 1 см3. Раствор охлаждают до комнатной температуры, количественно переносят в мерную колбу для соответствующего элемента и доводят объем до метки дистиллированной водой. Требуемые объемы мерных колб представлены в
таблицах 2,
3.
Одновременно готовят холостую пробу, повторяя всю процедуру пробоподготовки с чистым фильтром.
Подготовка проб для определения Hg
Фильтр пластмассовым пинцетом извлекают из держателя и помещают в химический стакан вместимостью 100 см3. Фильтр заливают 25 см3 смеси концентрированной азотной и серной кислот (2:1), выдерживают при температуре 50 - 60 °C в течение 2 часов, охлаждают, приливают по каплям 5% раствор перманганата калия до не исчезающей в течение 15 мин розовой окраски и выдерживают 12 часов. Полученный раствор количественно переносят в мерную колбу вместимостью 100 см3 и доводят объем до метки дистиллированной водой. Требуемые объемы мерных колб представлены в
таблицах 2,
3.
Одновременно готовят холостую пробу, повторяя всю процедуру пробоподготовки с чистым фильтром.
Подготовка проб для определения Si
Фильтр помещают в платиновый тигель и озоляют в муфельной печи при температуре 500 - 600 °C. После охлаждения золу смешивают с навеской гидроокиси натрия массой 0,2 - 0,3 г и сплавляют при температуре 600 - 650 °C в течение 20 мин. Если внесенного количества щелочи недостаточно для разложения золы, в тигель добавляют вторую навеску гидроокиси натрия и повторяют сплавление. Рассчитывают суммарную навеску щелочи (необходимую для приготовления холостой пробы). Полученный сплав охлаждают, заливают 5 см3 горячей дистиллированной воды и растворяют при нагревании. После растворения пробу переносят в мерную колбу и доводят объем до метки дистиллированной водой. Требуемые объемы мерных колб представлены в
таблицах 2,
3.
Одновременно готовят холостую пробу, повторяя всю процедуру пробоподготовки с чистым фильтром.
Подготовка проб для определения Se
Фильтр помещают в химический стакан вместимостью 100 см3, заливают 3 см3 концентрированной азотной кислоты и 1 см3 концентрированной перекиси водорода, выдерживают 12 часов. Полученный раствор количественно переносят в мерную колбу и доводят объем до метки азотной кислотой с концентрацией 0,1 моль/дм3. Требуемые объемы мерных колб представлены в
таблицах 2,
3.
Одновременно готовят холостую пробу, повторяя всю процедуру пробоподготовки с чистым фильтром.
8.2.2. Подготовка проб, отобранных на фильтры АФА-ХП, АФА-ВП
8.2.2.1. При определении Al, Ba, V, W, Fe, Ca, K, Co, Na, Cr, Zn, Cd, Mg, Mn, Cu, Ni проводят "сухое озоление" фильтра с отобранной на него пробой.
Фильтр с отобранной пробой аэрозоля помещают в фарфоровый тигель, который ставят в холодную муфельную печь. Озоление проводят при температуре 525 - 550 °C в течение 1,5 - 2 часов.
После охлаждения тиглей зольный остаток растворяют в 2 см3 смеси растворов соляной и азотной кислот (3:1). Избыток кислот осторожно удаляют нагреванием на песчаной бане до влажных солей, после чего добавляют 2 см3 разбавленной (1:1) соляной кислоты. Пробы количественно переносят в мерные колбы и доводят объем бидистиллированной водой до метки. Требуемые объемы мерных колб представлены в
таблицах 2,
3.
Одновременно готовят холостую пробу, повторяя всю процедуру пробоподготовки с чистым фильтром.
Подготовка проб для определения Ti
Растворение зольного остатка, содержащего труднорастворимые соли титана, проводят после охлаждения тиглей добавлением смеси концентрированных кислот: азотной, серной, хлорной по 1 см3. Избыток кислот осторожно удаляют нагреванием на песчаной бане до влажных солей, которые после охлаждения растворяют в 10 см3 5%-ного раствора серной кислоты с добавлением 0,5 см3 1%-ного раствора алюмокалиевых квасцов, и количественно переносят в мерную колбу.
Требуемые объемы мерных колб представлены в
таблицах 2,
3.
Одновременно готовят холостую пробу, повторяя всю процедуру пробоподготовки с чистым фильтром.
Подготовка проб для определения Al
Растворение зольного остатка, содержащего труднорастворимый оксид алюминия, проводят после предварительного сплавления его с пиросульфатом калия.
Фильтры сжигают при температуре 525 - 550 °C в течение 1,5 - 2 часов в платиновых тиглях.
После охлаждения тиглей к зольному остатку добавляют 0,5 г пиросульфата калия, перемешивают и сплавляют в муфельной печи, постепенно повышая температуру до 650 - 700 °C, выдерживают при данной температуре 10 мин.
После охлаждения тиглей остаток растворяют в горячей воде, количественно переносят в мерную колбу, указанную в
таблицах 2 или
3, и доводят объем до метки бидистиллированной водой. Одновременно готовят холостую пробу, повторяя всю процедуру пробоподготовки с чистым фильтром.
Подготовка проб для определения Si
Сухое озоление фильтров осуществляют в посуде, не содержащей кремний (платиновые, золотые, графитовые, стеклоуглеродистые тигли), при температуре 500 - 550 °C в течение 1,5 - 2 часов.
После охлаждения тиглей зольный остаток растворяют в 2 см3 смеси соляной и азотной кислот (3:1) с добавлением 0,5 см3 концентрированной фтористоводородной кислоты. Далее избыток кислот выпаривают до влажных солей, добавляют 2 см3 соляной кислоты (1:1) и тщательно перемешивают до полного растворения осадка. Общий объем доводят бидистиллированной водой до 10 см3.
После охлаждения осадок количественно переносят в мерные колбы, указанные в
таблицах 2,
3. Для хранения проб используют фторопластовую посуду.
Одновременно готовят холостую пробу, повторяя всю процедуру пробоподготовки с чистым фильтром.
8.2.3. Подготовка проб, отобранных в патрон с фильтрующим материалом
При определении Al, Ba, Be, V, Bi, W, Fe, Ca, Cd, Co, Mg, Mn, K, Cu, Mo, As, Na, Ni, Pb, Ti, Cr, Zn
Фильтрующий материал пластмассовым пинцетом извлекают из патрона и помещают в химический стакан вместимостью 100 см3, заливают 10 см3 концентрированной азотной кислоты, выдерживают 30 мин, нагревают раствор и выдерживают при температуре 50 - 60 °C. Раствор охлаждают до комнатной температуры. Затем приливают 1,0 см3 перекиси водорода, выдерживают 30 мин и осторожно нагревают раствор до прекращения вспенивания. Раствор медленно упаривают до объема 2 см3, охлаждают, количественно переносят в мерную колбу и доводят объем, указанный в
таблицах 2 или
3, до метки азотной кислотой с концентрацией 0,1 моль/дм3.
При определении K раствор доводят до метки 1,0% раствором хлористого натрия. При определении Na раствор доводят до метки 1,0% раствором хлористого калия.
Одновременно готовят холостую пробу, повторяя всю процедуру пробоподготовки с чистым фильтрующим материалом.
Подготовка проб для определения Sn и Sb
Фильтрующий материал пластмассовым пинцетом извлекают из патрона и помещают в химический стакан вместимостью 100 см3. Фильтрующий материал заливают 4 см3 концентрированной серной кислоты и выдерживают при нагревании до полного растворения и уменьшения объема жидкости до 2 см3. Раствор охлаждают до комнатной температуры, количественно переносят в мерную колбу указанной в
таблицах 2 или
3 вместимостью и доводят объем до метки дистиллированной водой.
Одновременно готовят холостую пробу, повторяя всю процедуру пробоподготовки с чистим фильтрующим материалом.
Подготовка проб для определения Hg
Фильтрующий материал пластмассовым пинцетом извлекают из патрона и помещают в химический стакан вместимостью 100 см3. Фильтрующий материал заливают 25 см3 смеси концентрированной азотной и серной кислот (2:1), выдерживают при температуре 50 - 60 °C в течение 2 часов, охлаждают, приливают по каплям 5% раствор перманганата калия до не исчезающей в течение 15 мин розовой окраски и выдерживают 12 часов. Полученный раствор количественно переносят в мерные колбы и доводят объем до метки дистиллированной водой. Требуемые объемы мерных колб представлены в
таблицах 2,
3.
Одновременно готовят холостую пробу, повторяя всю процедуру пробоподготовки с чистым фильтрующим материалом.
Подготовка проб дня определения Si
Фильтрующий материал из тефлона извлекают из патрона и помешают в платиновый тигель, и озоляют в муфельной печи при температуре 500 - 600 °C. После охлаждения золу смешивают с навеской гидроокиси натрия массой 1,0 - 1,5 г и сплавляют при температуре 600 - 650 °C в течение 20 мин. Если внесенного количества щелочи недостаточно для разложения золы, в тигель добавляют вторую навеску гидроокиси натрия и повторяют сплавление. Рассчитывают суммарную навеску щелочи (необходимую для приготовления холостой пробы). Полученный сплав охлаждают, заливают 5 см3 горячей дистиллированной воды и растворяют при нагревании. После растворения пробу переносят в мерную колбу и доводят объем до метки дистиллированной водой. Если фильтрующий материал из стекловаты, подготовку проб проводят, сплавляя его со щелочью так, как описано выше для фильтрующего материала из тефлона, пропуская стадию озоления в муфельной печи. Требуемые объемы мерных колб представлены в
таблицах 2,
3.
Одновременно готовят холостую пробу, повторяя всю процедуру пробоподготовки с чистым фильтрующим материалом.
Подготовка проб для определения Se
Фильтрующий материал извлекают из патрона и помещают в химический стакан вместимостью 100 см3, заливают 10 см3 концентрированной азотной кислоты и 2 см3 концентрированной перекиси водорода, выдерживают 12 часов. Полученный раствор количественно переносят в мерную колбу и доводят объем до метки азотной кислотой с концентрацией 0,1 моль/дм3.
Одновременно готовят холостую пробу, повторяя всю процедуру пробоподготовки с чистым фильтрующим материалом.
8.2.4. Разбавление проб
Если массовая концентрация определяемого элемента в приготовленном по
8.2.1 -
8.2.3 растворе выходит за верхнюю границу градуировочной характеристики, подготовленную пробу разбавляют бидистиллированной водой (коэффициент разбавления

), используя пипетки и мерные колбы.
8.3. Приготовление градуировочных растворов
Градуировочные растворы готовят непосредственно перед каждой серией анализов в мерных колбах методом последовательного разбавления в соответствии с инструкцией по применению ГСО. Под серией понимают измерения, выполненные в течение одного рабочего дня. В таблице 4 приведены требуемые объемы пипеток и мерных колб для приготовления градуировочных растворов. Для вычисления градуировочных характеристик используют растворы N 1 - 5.
Элемент | N раствора | Исходный раствор | Объем исходного раствора, см3 | Объем мерной колбы, см3 | Массовая концентрация полученного раствора, мкг/см3 (или мг/дм3) |
1 | 2 | | | | |
K | А | ГСО | 1 | 100 | 10,0 |
| 1 | р-р А | 20 | 100 | 2,00 |
| 2 | р-р А | 15 | 100 | 1,50 |
| 3 | р-р А | 10 | 100 | 1,00 |
| 4 | р-р А | 5 | 100 | 0,50 |
| 5 | р-р А | 2,5 | 100 | 0,25 |
Na | А | ГСО | 1 | 100 | 10,0 |
| 1 | р-р А | 20 | 100 | 2,00 |
| 2 | р-р А | 15 | 100 | 1,50 |
| 3 | р-р А | 10 | 100 | 1,00 |
| 4 | р-р А | 5 | 100 | 0,50 |
| 5 | р-р А | 2,5 | 100 | 0,10 |
Hg | А | ГСО | 1 | 100 | 10,0 |
| Б | р-р А | 1 | 100 | 0,100 |
| 1 | р-р Б | 4 | 100 | 0,004 |
| 2 | р-р Б | 3 | 100 | 0,003 |
| 3 | р-р Б | 2 | 100 | 0,002 |
| 4 | р-р Б | 1 | 100 | 0,001 |
| 5 | р-р N 3 | 25 | 100 | 0,00050 |
Al, Ba | А | ГСО | 1 | 100 | 10,0 |
V, Bi | 1 | р-р А | 5 | 100 | 0,50 |
W, Fe, | 2 | р-р А | 3 | 100 | 0,300 |
Ca, Mg, | 3 | р-р А | 2 | 100 | 0,200 |
Mn, Cu | 4 | р-р А | 1 | 100 | 0,100 |
Mo, Ni | 5 | р-р А | 0,5 | 100 | 0,050 |
Be | А | ГСО | 1 | 100 | 1,00 |
| 1 | р-р А | 1 | 100 | 0,010 |
| 2 | р-р А | 2 | 100 | 0,020 |
| 3 | р-р А | 2,5 | 100 | 0,025 |
| 4 | р-р А | 5 | 100 | 0,050 |
| 5 | р-р А | 6 | 100 | 0,06 |
Pb, Zn | А | ГСО | 1 | 100 | 20,0 |
Cr | 1 | р-р А | 2 | 200 | 0,20 |
| 2 | р-р А | 1 | 200 | 0,10 |
| 3 | р-р А | 0,5 | 200 | 0,050 |
| 4 | р-р А | 0,25 | 200 | 0,025 |
| 5 | р-р А | 0,2 | 200 | 0,020 |
Cd, Co | А | ГСО | 1 | 100 | 10,0 |
| 1 | р-р А | 2 | 200 | 0,10 |
| 2 | р-р А | 0,75 | 100 | 0,075 |
| 3 | р-р А | 0,5 | 100 | 0,050 |
| 4 | р-р А | 0,25 | 100 | 0,025 |
| 5 | р-р А | 0,2 | 100 | 0,020 |
As | А | ГСО | 1 | 100 | 1,00 |
| 1 | р-р А | 7 | 100 | 0,070 |
| 2 | р-р А | 6 | 100 | 0,060 |
| 3 | р-р А | 5 | 100 | 0,050 |
| 4 | р-р А | 4 | 100 | 0,040 |
| 5 | р-р А | 2 | 100 | 0,020 |
Si | А | ГСО | 1 | 100 | 10,0 |
| 1 | р-р А | 5 | 100 | 0,50 |
| 2 | р-р А | 4 | 100 | 0,40 |
| 3 | р-р А | 2,5 | 100 | 0,25 |
| 4 | р-р А | 2 | 100 | 0,20 |
| 5 | р-р А | 1 | 100 | 0,10 |
Se, | А | ГСО | 1 | 100 | 10,0 |
Sb | 1 | р-р А | 2 | 200 | 0,100 |
| 2 | р-р А | 0,75 | 100 | 0,075 |
| 3 | р-р А | 0,5 | 100 | 0,050 |
| 4 | р-р А | 0,25 | 100 | 0,025 |
| 5 | р-р А | 0,2 | 100 | 0,020 |
Sn | А | ГСО | 4 | 200 | 40 |
| 1 | р-р А | 2 | 200 | 0,40 |
| 2 | р-р А | 1,5 | 200 | 0,30 |
| 3 | р-р А | 1 | 200 | 0,20 |
| 4 | р-р А | 0,5 | 200 | 0,10 |
| 5 | р-р А | 0,25 | 200 | 0,05 |
Для приготовления градуировочного раствора с соответствующим номером указанный объем (таблица 4;
столбец 4) исходного раствора (таблица 4;
столбец 3) отбирают в мерную колбу указанного объема (таблица 4;
столбец 5) и доводят раствором разбавления до метки. Массовые концентрации полученных таким образом растворов приведены в таблице 4
(столбец 6).
При приготовлении градуировочных растворов N 1 - 5 для всех металлов, кроме Sb, Sn, Si, Na и K, градуировочные растворы доводят до метки азотной кислотой с концентрацией 0,1 моль/см3.
Мерные колбы с градуировочными растворами олова и сурьмы доводят до метки раствором разбавления, содержащим концентрированную серную кислоту из расчета 0,5 см3 на 10 см3 градуировочного раствора.
Градуировочные растворы для определения натрия доводят до метки 1% раствором хлористого калия.
Градуировочные растворы для определения калия доводят до метки 1% раствором хлористого натрия.
Для вычисления градуировочной характеристики рекомендуется использовать растворы с N 1 - 5.
При работе на спектрометре можно использовать градуировочные растворы с другими концентрациями в зависимости от содержания элемента в пробе.
Предельная погрешность приготовления растворов составляет +/- 5%.
8.4. Подготовка атомно-абсорбционного
спектрометра к работе
Подготовку атомно-абсорбционного спектрометра к работе проводят в соответствии с руководством по эксплуатации. Рекомендуемые режимы работы приведены в таблице 5.
Таблица 5
Элемент | Длина волны, нм | Спектральная ширина щели, мм | Сушка, °C Время, с | Озоление, °C Время, с | Атомизация, °C Время, с | Отжиг, °C Время, с |
1 | 2 | 3 | 4 | 5 | 6 | 7 |
Al | 309,3 | 0,2 | 100 | 700 | 3000 | 3000 |
| | 20 | 15 | 4 | 2 |
Ba | 553,6 | 0,2 | 100 | 720 | 2900 | 2900 |
| | 20 | 15 | 4 | 2 |
Be | 234,9 | 0,7 | 100 | 610 | 2600 | 2600 |
| | 20 | 15 | 4 | 2 |
V | 318,4 | 0,7 | 100 | 910 | 3000 | 3000 |
| | 20 | 15 | 4 | 2 |
Bi | 223,0 | 0,2 | 100 | 610 | 2600 | 2600 |
| | 20 | 15 | 4 | 2 |
Fe | 248,3 | 0,2 | 100 | 630 | 2700 | 2700 |
| | 20 | 15 | 4 | 3 |
Ca | 422,7 | 0,7 | 100 | 580 | 2700 | 2700 |
| | 20 | 15 | 4 | 3 |
Co | 240,7 | 0,2 | 100 | 620 | 2700 | 2700 |
| | 20 | 15 | 4 | 3 |
Si | 251,6 | 0,2 | 100 | 990 | 2800 | 2800 |
| | 20 | 15 | 4 | 3 |
Mg | 285,2 | 0,7 | 100 | 500 | 2000 | 2500 |
| | 20 | 15 | 4 | 2 |
Mn | 279,5 | 0,7 | 100 | 500 | 2500 | 2500 |
| | 20 | 15 | 4 | 3 |
Cu | 324,7 | 0,7 | 100 | 600 | 2700 | 2700 |
| | 20 | 15 | 4 | 3 |
Mo | 313,3 | 0,7 | 100 | 1010 | 2700 | 2700 |
| | 20 | 15 | 4 | 4 |
Ni | 232,0 | 0,2 | 100 | 670 | 2700 | 2700 |
| | 20 | 15 | 4 | 3 |
Sn | 224,6 | 0,7 | 100 | 420 | 2000 | 2500 |
| | 20 | 15 | 4 | 2 |
Pb | 283,3 | 0,2 | 100 | 420 | 2000 | 2500 |
| | 20 | 15 | 4 | 2 |
Cd | 228,8 | 0,2 | 100 | 280 | 1500 | 2000 |
| | 20 | 15 | 4 | 4 |
Ti | 364,3 | 0,2 | 100 | 900 | 3000 | 3000 |
| | 20 | 15 | 4 | 4 |
Cr | 357,9 | 0,7 | 100 | 700 | 2900 | 2900 |
| | 20 | 15 | 4 | 2 |
Zn | 213,9 | 0,2 | 100 | 290 | 2000 | 2000 |
| | 20 | 15 | 4 | 4 |
Калий и натрий определяют в эмиссионном режиме.
Подготовку гидридной приставки и условия проведения анализа ртути, мышьяка, селена и сурьмы проводят соответственно техническому описанию гидридной приставки.
9.1. Регистрация выходных сигналов атомно-абсорбционного спектрометра
Анализируемый раствор, холостой раствор или градуировочный раствор вводят в электротермический атомизатор подготовленного по
п. 8.4 к работе спектрометра, атомизируют пробу и регистрируют сигнал (атомной абсорбции, оптической плотности, эмиссии), у.е. (

(не менее двух раз) и рассчитывают среднее значение

).
9.2. Регистрация выходных сигналов с анализатора ртути, селена, сурьмы и мышьяка (гидридная приставка MHS-20).
При градуировке: в реактор дозируют градуировочный раствор (объем раствора 25 см3), добавляют 1 см3 разбавленной азотной кислоты (1:1) и 1 см3 разбавленной серной кислоты (1:2). Затем приливают 1 см3 10% раствора хлористого олова, включают продув системы и регистрируют выходной сигнал не менее двух раз (

,

).
При анализе: 25 см3 анализируемой пробы автоматически дозируют в реактор системы. После этого в реактор добавляют 1 см3 10% раствора двухлористого олова (восстановителя). Включают продув системы и регистрируют сигнал (величину интегральной атомной абсорбции), у.е. (

(не менее двух раз) и рассчитывают среднее значение

).
Условия выполнения измерений можно изменять в соответствии с инструкцией по эксплуатации гидридной приставки.
9.3. Регистрация выходных сигналов атомно-абсорбционного спектрометра в режиме эмиссии при определении K, Na, Ca, Mg
Проводятся согласно техническому описанию прибора. Регистрируют сигнал (эмиссии), у.е. (

(не менее двух раз) и рассчитывают среднее значение

).
10. ОБРАБОТКА РЕЗУЛЬТАТОВ АНАЛИЗА
10.1. Вычисление градуировочных характеристик
Вычисление градуировочных характеристик проводят методом наименьших квадратов непосредственно перед каждой серией определений по двум параллельным измерениям каждого из пяти градуировочных растворов элемента. Проверку приемлемости выходных сигналов спектрометра осуществляют по
п. 11.1.
Градуировочная характеристика описывается линейным уравнением:
D = A + B x C, (1)
где D - выходной сигнал (оптическая плотность, атомная абсорбция, эмиссия) соответствующего элемента, соответствующая массовой концентрации определенного градуировочного раствора, у.е.;
C - массовая концентрация металла (элемента) в растворе, мг/дм3;
A и B - градуировочные коэффициенты, определяемые по методу наименьших квадратов по формулам:

(2)

, (3)
где

- среднее значение оптической плотности i-го градуировочного раствора относительно холостого раствора;

- массовая концентрация i-го градуировочного раствора;
n - число градуировочных растворов.
Примечание. Градуировочные коэффициенты вычисляют с использованием программного обеспечения прибора или компьютера.
Градуировочная характеристика должна соответствовать прямолинейной зависимости с коэффициентом корреляции не менее 0,98, коэффициент рассчитывают, используя программное обеспечение компьютера или прибора.
10.2. Определение массовой концентрации элементов
Массовую концентрацию элементов в анализируемом растворе вычисляют по градуировочной характеристике.
Массовую концентрацию элементов X (мг/м3) в пробе промышленных выбросов в атмосферу вычисляют по формуле:

, где

, (4)
где

- массовая концентрация элементов в анализируемом растворе, найденная по ГХ, мг/дм3;
M - масса элемента в растворе, мг.

- массовая концентрация элемента в холостом растворе, мг/дм3;

- объем анализируемого раствора, дм3;

- объем прокачанного воздуха, приведенного к нормальным условиям, м3.
Для промышленных выбросов:

, (5)
где P - атмосферное давление при отборе пробы воздуха, кПа;
u - расход воздуха при отборе пробы воздуха, дм3/мин;

- время отбора пробы воздуха, мин;
T - температура воздуха на входе в аспиратор, °C;

- (-) разрежение, (+) избыточное давление перед аспиратором, кПа.
Для воздуха рабочей зоны

, (6)
где P - атмосферное давление при отборе пробы воздуха, кПа;
u - расход воздуха при отборе пробы воздуха, дм3/мин;

- время отбора пробы воздуха, мин;
T - температура воздуха на входе в аспиратор, °C
В случае дополнительного разбавления анализируемого раствора массовую концентрацию элементов X (мг/м3) в пробе промышленных выбросов определяют по формуле:

, (7)
где f - коэффициент разбавления анализируемого раствора.
11. КОНТРОЛЬ ТОЧНОСТИ РЕЗУЛЬТАТОВ ИЗМЕРЕНИЙ
11.1. Проверка приемлемости результатов параллельных измерений оптической плотности, атомной абсорбции, эмиссии - выходных сигналов спектрометра
Проверку осуществляют при анализе подготовленного раствора каждой пробы. Последовательно дозируют две аликвоты раствора и регистрируют выходные сигналы. Расхождения между результатами двух измерений не должны превышать предел повторяемости

(

для P = 0,95):

, (8)
где

и

- выходные сигналы спектрометра, у.е.;

- среднее арифметическое регистрируемых значений атомной абсорбции.
Если указанное условие не выполняется, дополнительно дозируют новую аликвоту, получают результат измерения, рассчитывают новое среднее значение (из 3) и проверяют приемлемость трех результатов при нормативе

(в соответствии с
ГОСТ Р ИСО 5725-6-2002).
При необходимости выясняют причины, приведшие к неудовлетворительным результатам, и устраняют их.
11.2. Контроль стабильности градуировочной характеристики
Образцом для контроля стабильности градуировочной характеристики является контрольный раствор. Контроль осуществляют в ходе анализа через каждые 15 проб.
В качестве контрольного раствора анализируют согласно
п. 9.1 один из градуировочных растворов

(N 2 - 4), приведенный в
таблице 4.
Результат контроля признают удовлетворительным, если выполняется условие:

, где (9)

- измеренная массовая концентрация элемента в контрольном i-ом растворе, мг/дм3;

- массовая концентрация элемента в контрольном i-ом растворе, мг/дм3;

- норматив контроля, %,

.
Если это условие не выполняется, проведение измерений приостанавливают, выясняют причины получения аномального результата, устраняют их и возобновляют аналитическую процедуру.
При постоянной работе рекомендуется регистрировать результаты контроля на контрольных картах (карте размахов для D), руководствуясь
ГОСТ Р ИСО 5725-6-2002. В этом случае нормативы, указанные в
формулах (8) и
(9), используют в качестве первоначальных пределов действия, которые затем корректируют по накопленным в лаборатории данным.
11.3. Контроль правильности результатов измерений массы элемента
Контроль осуществляют при смене реактивов, изменении условий проведения измерений, после ремонта оборудования, при освоении методики оператором.
Контрольную пробу приготавливают следующим образом: в химический стакан помещают чистый фильтр или фильтрующий материал, добавляют

1 - 5 см3 градуировочного раствора N 1 и высушивают под инфракрасной лампой. При этом для контрольной пробы выполняют всю аналитическую процедуру от подготовки пробы до получения результата.
Результаты контроля считаются удовлетворительными при выполнении условия:

, (10)
где:

- результат измерений массы элемента, нанесенной на фильтр или фильтрующий материал с учетом холостой пробы, мг;

- заданное значение массы элемента, нанесенной на фильтр или фильтрующий материал, мг, рассчитанное по формуле:

(11)

- объем добавленного градуировочного раствора N 1, дм3;

- массовая концентрация элемента в градуировочном растворе N 1, мг/дм3;

- норматив,

(для P = 0,90).
Если эти условия не выполняются, проведение измерений приостанавливают, выясняют причины получения аномального результата, устраняют их и возобновляют аналитическую процедуру. При этом аннулируют результаты, полученные после анализа предыдущей контрольной пробы, а соответствующие пробы анализируют повторно.
Примечание:
При контроле правильности результатов измерений массы элемента на фильтре или фильтрующем материале не учитывается погрешность этапа пробоотбора.
12. ОФОРМЛЕНИЕ РЕЗУЛЬТАТОВ ИЗМЕРЕНИЙ
Результат измерения массовой концентрации элементов представляют в виде:
(X +/- 0,20X) мг/м3 (k = 2), (12)
где X - значение массовой концентрации элементов в пробе промышленных выбросов или воздухе рабочей зоны, мг/м3;
k - коэффициент охвата.