Главная // Актуальные документы // МетодикаСПРАВКА
Источник публикации
Документ опубликован не был
Примечание к документу
Действие данного документа продлено до 01.03.2029
Приказом Росгидромета от 02.12.2022 N 771.
Документ
введен в действие с 01.04.2007.
Название документа
"РД 52.24.371-2007. Руководящий документ. Массовая концентрация меди, свинца и кадмия в поверхностных водах суши. Методика выполнения измерений инверсионным вольтамперометрическим методом"
(утв. Росгидрометом 26.01.2007)
"РД 52.24.371-2007. Руководящий документ. Массовая концентрация меди, свинца и кадмия в поверхностных водах суши. Методика выполнения измерений инверсионным вольтамперометрическим методом"
(утв. Росгидрометом 26.01.2007)
Утвержден
Заместителем руководителя
Росгидромета
26 января 2007 года
РУКОВОДЯЩИЙ ДОКУМЕНТ
МАССОВАЯ КОНЦЕНТРАЦИЯ МЕДИ, СВИНЦА И КАДМИЯ
В ПОВЕРХНОСТНЫХ ВОДАХ СУШИ.
МЕТОДИКА ВЫПОЛНЕНИЯ ИЗМЕРЕНИЙ ИНВЕРСИОННЫМ
ВОЛЬТАМПЕРОМЕТРИЧЕСКИМ МЕТОДОМ
РД 52.24.371-2007
Дата введения
1 апреля 2007 года
1. Разработан ГУ "Гидрохимический институт".
2. Разработчики Л.И. Минина, канд. хим. наук, Т.С. Морозова.
3. Согласован с УМЗА и ГУ "НПО "Тайфун" Росгидромета.
4. Утвержден Заместителем руководителя Росгидромета 26.01.2007 г.
5. Аттестован ГУ "Гидрохимический институт", свидетельство об аттестации N 20.24-2005 от 15.11.2005 г.
6. Зарегистрирован ГУ "НПО "Тайфун" за номером РД 52.24.371-2007 от 14.02.2007 г.
7. Взамен
РД 52.24.371-95 "Методические указания. Методика выполнения измерений массовой концентрации меди, свинца и кадмия в поверхностных водах суши инверсионным вольтамперометрическим методом".
Присутствие меди, свинца и кадмия в водной среде обусловлено их поступлением вследствие выщелачивания горных пород и почв, а также со сточными водами предприятий горнодобывающей, металлургической и химической промышленности. В незагрязненных речных и озерных водах содержание меди и свинца обычно меньше 10 мкг/дм3, кадмий, как правило, присутствует в низких концентрациях - доли и единицы микрограммов в кубическом дециметре.
В поверхностных водах суши соединения свинца и кадмия находятся в растворенном и взвешенном состоянии. В состав взвеси входят, как правило, сорбированные формы. В растворенном состоянии свинец и кадмий существуют в ионной форме, а также в виде неорганических и органических комплексов. В кислых водах преобладающей является наиболее токсичная ионная форма кадмия.
Соединения меди присутствуют в водах в растворенном, взвешенном и коллоидном состояниях. Растворенные формы меди представлены гидроксо-ионными формами и комплексными соединениями с неорганическими и органическими лигандами. В окрашенных водах практически вся растворенная медь входит в состав комплексов с гумусовыми веществами.
Повышенные содержания меди, свинца и кадмия оказывают токсическое воздействие на гидробионты и человека. В связи с этим их содержание в поверхностных водах суши нормируется. Предельно допустимая концентрация (ПДК) растворенных форм меди, свинца и кадмия в воде водных объектов хозяйственно-питьевого и культурно-бытового назначения составляет соответственно 1, 0,03 и 0,001 мг/дм3, рыбохозяйственных водоемов - 0,001, 0,006 и 0,005 мг/дм3.
1.1. Настоящий руководящий документ устанавливает методику выполнения измерений (далее - методика) массовой концентрации растворенных форм меди, свинца и кадмия в пробах поверхностных вод суши в диапазонах от 0,5 до 30,0 мкг/дм3, от 2,0 до 25,0 мкг/дм3, от 0,1 до 10,0 мкг/дм3 соответственно при выполнении измерений на анализаторе типа ИВА-3, и в диапазонах от 2,0 до 30,0 мкг/дм3, от 2,0 до 20,0 мкг/дм3, от 0,1 до 3,0 мкг/дм3 соответственно при выполнении измерений на полярографе ПУ-1 инверсионным вольтамперометрическим методом.
При более высоких концентрациях определяемых металлов необходимо разбавление пробы тридистиллированной водой.
1.2. Настоящий руководящий документ предназначен для использования в лабораториях, осуществляющих наблюдения за загрязнением природных и очищенных сточных вод.
В настоящем руководящем документе использованы ссылки на следующие нормативные документы:
ГОСТ 12.1.005-88 ССБТ. Общие санитарно-гигиенические требования к воздуху рабочей зоны
ГОСТ 12.1.007-76 ССБТ. Вредные вещества. Классификация и общие требования безопасности
ГОСТ 17.1.5.04-81 Охрана природы. Гидросфера. Приборы и устройства для отбора, первичной обработки и хранения проб природных вод. Общие технические условия
ГОСТ 17.1.5.05-85 Охрана природы. Гидросфера. Общие требования к отбору проб поверхностных и морских вод, льда и атмосферных осадков
ГОСТ Р ИСО 5725-6-2002 Точность (правильность и прецизионность) методов и результатов измерений. Часть 6. Использование значений точности на практике
МИ 2881-2004 Рекомендация. ГСИ. Методики количественного химического анализа. Процедуры проверки приемлемости результатов анализа.
Примечание. Ссылки на остальные нормативные документы приведены в
разделе 4.
3. ПРИПИСАННЫЕ ХАРАКТЕРИСТИКИ ПОГРЕШНОСТИ ИЗМЕРЕНИЯ
3.1. При соблюдений всех регламентируемых методикой условий проведения измерений характеристики погрешности результата измерения с вероятностью 0,95 не должны превышать значений, приведенных в таблице 1.
Таблица 1
Диапазон измерений, значения характеристик погрешности
и ее составляющих при доверительной вероятности P = 0,95
Металл | Диапазон измерений массовых концентраций X, мкг/дм3 | Показатель повторяемости (среднеквадратическое отклонение повторяемости)  , мкг/дм3 | Показатель воспроизводимости (среднеквадратическое отклонение воспроизводимости)  , мкг/дм3 | Показатель правильности (границы систематической погрешности)  , мкг/дм3 | Показатель точности (границы погрешности)  , мкг/дм3 |
Измерение с использованием анализатора ИВА-3 (из одной пробы) |
Медь | От 1,0 до 25,0 включ. | 0,2 + 0,045 X | 0,3 + 0,087 X | 0,2 + 0,056 X | 0,7 + 0,18 X |
Св. 25,0 до 30,0 включ. | 1,4 | 2,4 | 1,8 | 5,3 |
Свинец | Св. 2,0 до 7,0 включ. | 0,1 + 0,07 X | 0,2 + 0,12 X | 0,8 | 0,6 + 0,22 X |
Св. 7,0 до 12,0 включ. | 0,1 + 0,07 X | 0,2 + 0,12 X | 1,1 | 0,6 + 0,22 X |
Св. 12,0 до 25,0 включ. | 0,9 | 1,6 | 1,1 | 3,4 |
Кадмий | От 0,5 до 4,0 включ. | 0,1 + 0,1 X | 0,1 + 0,17 X | 0,10 X | 0,1 + 0,35 X |
св. 4,0 до 10,0 включ. | 0,4 | 0,7 | 0,6 | 1,5 |
Измерение с использованием анализатора ИВА-3 (в отдельной пробе) |
Медь | От 0,5 до 30,0 включ. | 0,1 + 0,035 X | 0,1 + 0,059 X | 0,03 X | 0,21 + 0,12 X |
Свинец | От 2,0 до 4,0 включ. | 0,1 | 0,1 | 0,2 | 0,2 + 0,09 X |
Св. 4,0 до 12,0 включ. | 0,03 X | 0,056 X | 0,5 | 0,2 + 0,09 X |
Кадмий | От 0,10 до 3,00 включ. | 0,04 X | 0,068 X | 0,033 X | 0,14 X |
| Св. 3,00 до 5,00 включ. | 0,04 X | 0,068 X | 0,48 | 0,48 + 0,13 X |
Измерение с использованием полярографа ПУ-1 |
Медь | От 2,0 до 30,0 включ. | 0,2 + 0,035 X | 0,4 + 0,058 X | 0,24 + 0,041 X | 0,8 + 0,12 X |
Свинец | От 2,0 до 10,0 включ. | 0,2 + 0,051 X | 0,3 + 0,092 X | 0,2 + 0,059 X | 0,7 + 0,19 X |
Св. 10,0 до 14,0 включ. | 0,6 | 1,0 | 0,8 | 2,6 |
Св. 14,0 до 20,0 включ. | 0,6 | 1,0 | 0,16 X | 3,0 |
Кадмий | От 0,10 до 0,30 включ. | 0,01 + 0,03 X | 0,01 + 0,048 X | 0,02 | 0,04 |
Св. 0,30 до 1,00 включ. | 0,01 + 0,03 X | 0,01 + 0,048 X | -0,02 + 0,16 X | 0,04 + 0,12 X |
Св. 1,00 до 3,00 включ. | 0,01 + 0,03 X | 0,01 + 0,048 X | 0,13 | 0,04 + 0,12 X |
При выполнении измерений в пробах с массовой концентрацией металлов свыше указанных в
таблице 1 после соответствующего разбавления погрешность измерения массовой концентрации металла в исходной пробе

находят по формуле
где

- показатель точности измерения массовой концентрации металла в разбавленной пробе, рассчитанный по уравнению
таблицы 1;

- степень разбавления.
Пределы обнаружения при выполнении измерений из одной пробы для меди и свинца составляют 1 мкг/дм3, кадмия - 0,03 мкг/дм3. При выполнении измерений в отдельных пробах пределы обнаружения составляют для меди, свинца - 0,5 мкг/дм3 (анализатор ИВА-3) и 1 мкг/дм3 (ПУ-1), для кадмия - 0,05 мкг/дм3.
Значения показателя точности методики используют при:
- оформлении результатов измерений, выдаваемых лабораторией;
- оценке деятельности лабораторий на качество проведения измерений;
- оценке возможности использования результатов измерений при реализации методики в конкретной лаборатории.
4. СРЕДСТВА ИЗМЕРЕНИЙ, ВСПОМОГАТЕЛЬНЫЕ УСТРОЙСТВА,
РЕАКТИВЫ, МАТЕРИАЛЫ
4.1. Средства измерений, вспомогательные устройства
При выполнении измерений применяют следующие средства измерений и другие технические средства:
4.1.1. Инверсионный вольтамперометрический анализатор типа ИВА-3 или полярограф ПУ-1 5М2.840.016 ТО.
4.1.3. Цифровой вольтметр с диапазоном измерения до 2 В типа Ф-203.
4.1.4. Регистрирующий потенциометр ЛКД-4 64.115.00.003.016 ПС.
4.1.5. Государственный стандартный образец состава водных растворов ионов меди ГСО 7255-96 - 1 шт.
4.1.6. Государственный стандартный образец состава водных растворов ионов свинца (II) ГСО 7252-96 - 1 шт.
4.1.7. Государственный стандартный образец состава водных растворов ионов кадмия

- 1 шт.
4.1.8. Насыщенный хлорсеребряный электрод (электрод сравнения) типа ЭВЛ-1 М3 - 2 шт.
4.1.9. Электрод платиновый проволочный (диаметр 0,3 мм, длина 5 мм), впаянный в стеклянную трубку - 1 шт.
4.1.10. Электрод платиновый сетчатый по
ГОСТ 6563-75 - 1 шт.
4.1.11. Электрод графитовый (рабочий электрод) ТМГЭ - тип 5, производства НПВП "Ива" - 1 шт.
4.1.12. Источник постоянного тока, обеспечивающий напряжение до 4 В при силе тока до 0,1 А - 1 шт.
4.1.14. Весы лабораторные высокого (II) класса точности по
ГОСТ 24104-2001.
4.1.15. Весы лабораторные среднего (III) класса точности по
ГОСТ 24104-2001 с наибольшим пределом взвешивания 200 г.
4.1.16. Колбы мерные 2-го класса точности исполнения 2, 2а по
ГОСТ 1770-74 вместимостью: 50 см3 - 1 шт., 100 см3 - 8 шт., 200 см3 - 1 шт., 250 см3 - 1 шт., 1000 см3 - 2 шт.
4.1.17. Пипетки градуированные 2-го класса точности исполнения 1, 2 по
ГОСТ 29227-91 вместимостью: 0,1 см3 - 7 шт., 0,2 см3 - 5 шт., 1 см3 - 12 шт., 2 см3 - 4 шт., 5 см3 - 5 шт., 10 см3 - 7 шт.
4.1.18. Пипетки с одной отметкой 2-го класса точности исполнения 2 по
ГОСТ 29169-91 вместимостью 10 см3 - 4 шт.
4.1.19. Цилиндры мерные исполнения 1, 3 по
ГОСТ 1770-74 вместимостью: 25 см3 - 3 шт., 50 см3 - 2 шт., 100 см3 - 1 шт., 250 см3 - 1 шт.
4.1.20. Стаканы В-1, ТХС, по ГОСТ 25336-83 вместимостью: 50 см3 - 2 шт., 100 см3 - 1 шт., 250 см3 - 2 шт., 500 см3 - 4 шт.
4.1.21. Стаканчики для взвешивания (бюксы) СВ-19/9 и СВ-24/10 по
ГОСТ 25336-82 - 3 шт.
4.1.22. Мешалка магнитная ММ-3М - 1 шт.
4.1.23. Перемешивающий элемент в стеклянной оболочке (длина 5 - 7 мм, диаметр 2 - 3 мм).
4.1.24. Устройство для фильтрования проб с использованием мембранных или бумажных фильтров.
4.1.25. Устройство для обработки проб воды УФ-облучением типа УФР с комплектом кварцевых пробирок вместимостью не менее 30 см3.
4.1.26. Аппарат для бидистилляции воды стеклянный с пришлифованными соединениями.
4.1.27. Электрохимическая ячейка закрытого типа, включающая четыре вспомогательных стаканчика, электролитические мостики и кварцевый электролизер вместимостью 20 см3
(рисунок 1).
1 - стакан

; 2 - крышка; 3 - электрод сравнения
ЭВЛ-1М3; 4 - электрод рабочий ЭГИ-01; 5 - мешалка магнитная
стеклянная; 6 - электрод вспомогательный платиновый; 7 -
стакан

(2 шт.); 8 - стакан

(2 шт.); 9 -
стакан

; 10 - мостик (4 шт.)
Рисунок 1. Электрохимическая ячейка
1 - пористый фильтр (высота 5 - 6 мм, диаметр - 10 мм)
Рисунок 2. Электролитический мостик с пористым фильтром
4.1.29. Шкаф сушильный общелабораторного назначения.
4.1.30. Тигель из стеклоуглерода вместимостью около 50 см3, диаметром 30 - 40 мм, высотой 40 - 70 мм.
4.1.31. Электролитический мостик с пористым стеклянным фильтром
(рисунок 2).
Примечание. Допускается использование других типов средств измерений, вспомогательных устройств, в том числе импортных, с характеристиками не хуже, чем у приведенных в
4.1.
4.2. Реактивы и материалы
При выполнении измерений применяют следующие реактивы и материалы:
4.2.2. Свинец (II) азотнокислый (нитрат свинца) по
ГОСТ 4236-77, х.ч.
4.2.3. Кадмий сернокислый (сульфат кадмия по)
ГОСТ 4456-75, х.ч.
4.2.7. Ртуть (II) азотнокислая 1-водная (нитрат ртути) по
ГОСТ 4520-78, х.ч. или ч.д.а.
4.2.9. Калий марганцовокислый (перманганат калия) по
ГОСТ 20490-75, ч.д.а.
4.2.10. Калий хлористый (хлорид калия) по
ГОСТ 4234-77, х.ч.
4.2.11. Натрия гидроокись (гидроксид натрия) по
ГОСТ 4328-77, ч.д.а.
4.2.13. Вода бидистиллированная.
4.2.14. Вода тридистиллированная.
4.2.15. Фильтры бумажные обеззоленные "синяя лента" по ТУ 6-09-1678-86.
4.2.16. Фильтры мембранные "Владипор МФАС-ОС-2", 0,45 мкм, по ТУ 6-55-221-1-29-89 или другого типа, равноценные по характеристикам.
Примечание. Допускается использование реактивов, изготовленных по другой нормативно-технической документации, в том числе импортных, с квалификацией не ниже указанной в
4.2.
Определение основано на электрохимическом концентрировании меди, свинца и кадмия путем восстановления ионов Cu (II), Pb (II) и Cd (II) на рабочем электроде при потенциале предельного диффузионного тока с последующей регистрацией величины максимального анодного тока при электрорастворении осадка. Рабочий электрод формируется путем электроосаждения ртути из разбавленных растворов ее соли на поверхности графитового диска. Величина аналитического сигнала (АС), регистрируемого при электрорастворении осадка, функционально зависит от концентрации ионов меди, свинца и кадмия в анализируемом растворе.
В зависимости от используемого оборудования (инверсионный вольтамперометрический анализатор или полярограф) в методике предусмотрено два варианта определения.
6. ТРЕБОВАНИЯ БЕЗОПАСНОСТИ, ОХРАНЫ ОКРУЖАЮЩЕЙ СРЕДЫ
6.1. При выполнении измерений массовой концентрации меди, свинца и кадмия в пробах природных вод соблюдают требования безопасности, установленные в национальных стандартах и соответствующих нормативных документах.
6.2. По степени воздействия на организм вредные вещества, используемые при выполнении измерений, относятся к 1-му, 2-му и 3-му классам опасности по
ГОСТ 12.1.007.
6.3. Содержание используемых вредных веществ в воздухе рабочей зоны не должно превышать установленных ПДК в соответствии с
ГОСТ 12.1.005.
6.4. Вреднодействующие вещества подлежат сбору и утилизации в соответствии с установленными правилами.
6.5. Дополнительных требований по экологической безопасности не предъявляется.
7. ТРЕБОВАНИЯ К КВАЛИФИКАЦИИ ОПЕРАТОРОВ
К выполнению измерений и обработке их результатов допускаются лица с высшим профессиональным образованием или со средним профессиональным образованием и стажем работы в лаборатории не менее года, освоившие методику.
8. УСЛОВИЯ ВЫПОЛНЕНИЯ ИЗМЕРЕНИЙ
При выполнении измерений в лаборатории должны быть соблюдены следующие условия:
- температура окружающего воздуха (22 +/- 5) °C;
- атмосферное давление от 84,0 до 106,7 кПа (от 630 до 800 мм рт. ст.);
- влажность воздуха не более 80% при 25 °C;
- напряжение в сети (220 +/- 10) В;
- частота переменного тока в сети питания (50 +/- 1) Гц.
Мешающее влияние взвешенных и коллоидных веществ устраняют предварительным фильтрованием пробы. Пробы фильтруют через мембранный фильтр с диаметром пор 0,45 мкм, очищенный кипячением в течение 20 мин в 1%-ном растворе соляной кислоты и двукратным кипячением в бидистиллированной воде. Первые порции фильтрата отбрасывают. Фильтрат подкисляют концентрированной соляной кислотой из расчета 5 см3 на 1 дм3 воды и хранят до анализа в полиэтиленовой посуде.
10. ПОДГОТОВКА К ВЫПОЛНЕНИЮ ИЗМЕРЕНИЙ
10.1. Приготовление растворов и реактивов
10.1.1. Раствор нитрата ртути с концентрацией ионов ртути 1 г/дм3
В мерную колбу вместимостью 250 см3, содержащую 50 см3 тридистиллированной воды, количественно переносят 0,4270 г нитрата ртути

и 0,5 см3 концентрированной азотной кислоты и доводят объем раствора до метки на колбе тридистиллированной водой. Хранят не более 6 мес.
10.1.2. Раствор соляной кислоты, 1:1
К 200 см3 тридистиллированной воды добавляют при перемешивании 200 см3 концентрированной соляной кислоты. Хранят в плотно закрытой посуде.
10.1.3. Раствор соляной кислоты, 0,3%-ный
К 250 см3 тридистиллированной воды добавляют 2,5 см3 концентрированной соляной кислоты и перемешивают. Хранят в плотно закрытой посуде.
10.1.4. Раствор серной кислоты, 1:5
К 50 см3 тридистиллированной воды добавляют при перемешивании 10 см3 концентрированной серной кислоты. Хранят в плотно закрытой посуде.
10.1.5. Раствор пероксида водорода, 3%-ный
К 10 см3 тридистиллированной воды добавляют 1 см3 пероксида водорода. Раствор готовят в день использования.
10.1.6. Раствор гидроксида натрия, 25%-ный
В 150 см3 тридистиллированной воды растворяют 50 г гидроксида натрия. Хранят в плотно закрытой полиэтиленовой посуде.
10.1.7. Раствор гидроксида натрия, 4%-ный
В 200 см3 дистиллированной воды растворяют 8 г гидроксида натрия. Хранят в плотно закрытой полиэтиленовой посуде.
10.1.8. Раствор перманганата калия, 10%-ный
В 90 см3 4% раствора гидроксида натрия растворяют 10 г перманганата калия. Хранят в склянке из темного стекла не более 1 мес.
10.1.9. Бидистиллированная вода
В стеклянную колбу аппарата для получения бидистиллята наливают дистиллированную воду, добавляют 2 - 3 см3 щелочного раствора перманганата калия и осуществляют перегонку. Хранят не более 10 дней в полиэтиленовой посуде.
10.1.10. Тридистиллированная вода
Бидистиллированную воду помещают в перегонную колбу аппарата для получения бидистиллированной воды и перегоняют. Хранят не более 5 дней в полиэтиленовой посуде.
10.1.11. Насыщенный раствор хлорида калия
В 200 см3 тридистиллированной воды, нагретой до 50 - 60 °C, растворяют 60 г хлорида калия. Раствор охлаждают и отделяют от осадка декантацией.
10.2. Приготовление градуировочных растворов
10.2.1. Общие указания
10.2.1.1. Градуировочные растворы Cu (II) готовят из стандартного образца ионов меди или из металлической меди.
При использовании стандартного образца производят разбавление исходного раствора в соответствии с инструкцией по его применению. Массовая концентрация ионов меди в рабочих градуировочных растворах должна составлять 0,02 мг/дм3, 0,1 мг/дм3 и 0,2 мг/дм3.
Приготовление градуировочных растворов из металлической меди выполняют в соответствии с
10.2.2.
10.2.1.2. Градуировочные растворы Pb (II) готовят из стандартного образца ионов свинца или из нитрата свинца.
При использовании стандартного образца производят разбавление исходного раствора в соответствии с инструкцией по его применению. Массовая концентрация ионов свинца в рабочих градуировочных растворах должна составлять 0,05 мг/дм3 и 0,1 мг/дм3.
Приготовление градуировочных растворов из нитрата свинца выполняют в соответствии с
10.2.3.
Градуировочные растворы Cd (II) готовят из стандартного образца ионов кадмия или из сульфата кадмия.
При использовании стандартного образца производят разбавление исходного раствора в соответствии с инструкцией по его применению. Массовая концентрация ионов кадмия в рабочих градуировочных растворах должна составлять 0,02 мг/дм3 и 0,1 мг/дм3.
Приготовление градуировочных растворов из сульфата кадмия выполняют в соответствии с
10.2.4.
Для всех градуировочных растворов погрешности, обусловленные процедурой приготовления, не превышают 2% относительно приписанного значения массовой концентрации металла.
10.2.2. Приготовление градуировочных растворов меди
10.2.2.1. Основной раствор сульфата меди с массовой концентрацией ионов меди 1000 мг/дм3
В 12 см3 раствора серной кислоты (см.
10.1.4) растворяют при нагревании 1,000 г металлической меди, добавляя по каплям 3%-ный раствор пероксида водорода. Затем добавляют к раствору около 50 см3 тридистиллированной воды и кипятят 10 мин для разрушения избытка пероксида водорода. После охлаждения раствор количественно переносят в мерную колбу вместимостью 1000 см3 и доводят его объем до метки на колбе тридистиллированной водой. Хранят в плотно закрытой склянке не более 6 мес.
10.2.2.2. Промежуточный раствор сульфата меди с массовой концентрацией ионов меди 10 мг/дм3
Пипеткой вместимостью 1 см3 отбирают 1,0 см3 основного раствора сульфата меди (см.
10.2.2.1), помещают в мерную колбу вместимостью 100 см3 и доводят объем раствора до метки на колбе тридистиллированной водой. Хранят не более 1 мес.
10.2.2.3. Рабочий раствор сульфата меди с массовой концентрацией ионов меди 0,2 мг/дм3 (0,2 мкг/см3)
Пипеткой вместимостью 2 см3 отбирают 2,0 см3 промежуточного раствора сульфата меди
(10.2.2.2), помещают в мерную колбу вместимостью 100 см3 и доводят объем раствора до метки на колбе тридистиллированной водой. Раствор готовят в день применения.
10.2.2.4. Рабочий раствор сульфата меди с массовой концентрацией ионов меди 0,1 мг/дм3 (0,1 мкг/см3).
Пипеткой вместимостью 1 см3 отбирают 1,0 см3 промежуточного раствора сульфата меди (см.
10.2.2.3), помещают в мерную колбу вместимостью 100 см3 и доводят объем раствора до метки на колбе тридистиллированной водой. Раствор готовят в день применения.
10.2.2.5. Рабочий раствор сульфата меди с массовой концентрацией ионов меди 0,02 мг/дм3 (0,02 мкг/см3)
Пипеткой вместимостью 10,0 см3 отбирают 10 см3 рабочего раствора сульфата меди с концентрацией 0,2 мкг/см3 (см.
10.2.2.4), помещают в мерную колбу вместимостью 100 см3 и доводят объем раствора до метки на колбе тридистиллированной водой. Раствор готовят в день применения.
10.2.3. Приготовление градуировочных растворов свинца
10.2.3.1. Основной раствор нитрата свинца с массовой концентрацией ионов свинца 1000 мг/дм3
В 30 см3 тридистиллированной воды, содержащей 2 см3 концентрированной азотной кислоты растворяют 1,600 г нитрата свинца, предварительно высушенного в сушильном шкафу до постоянного веса при 100 - 105 °C, и количественно переносят в мерную колбу вместимостью 1000 см3. Объем раствора доводят до метки на колбе тридистиллированной водой. Хранят в плотно закрытой склянке не более 6 мес.
10.2.3.2. Промежуточный раствор нитрата свинца с массовой концентрацией ионов свинца 10 мг/дм3
Пипеткой вместимостью 1 см3 отбирают 1,0 см3 основного раствора нитрата свинца (см.
10.2.3.1), помещают в мерную колбу вместимостью 100 см3, содержащую 0,5 см3 концентрированной азотной кислоты, и доводят объем раствора до метки на колбе тридистиллированной водой. Хранят в плотно закрытой склянке не более 1 мес.
10.2.3.3. Рабочий раствор нитрата свинца с массовой концентрацией ионов свинца 0,1 мг/дм3 (0,1 мкг/см3)
Пипеткой вместимостью 1 см3 отбирают 1,0 см3 промежуточного раствора нитрата свинца (см.
10.2.3.2), помещают в мерную колбу вместимостью 100 см3 и доводят объем раствора до метки на колбе тридистиллированной водой. Раствор готовят в день применения.
10.2.3.4. Рабочий раствор нитрата свинца с массовой концентрацией ионов свинца 0,05 мг/дм3 (0,05 мкг/см3)
Пипеткой вместимостью 1 см3 отбирают 1,0 см3 промежуточного раствора нитрата свинца (см.
10.2.3.3), помещают в мерную колбу вместимостью 200 см3 и доводят объем раствора до метки на колбе тридистиллированной водой. Раствор готовят в день применения.
10.2.4. Приготовление градуировочных растворов кадмия
10.2.4.1. Основной раствор сульфата кадмия с массовой концентрацией ионов кадмия 1000 мг/дм3
В мерную колбу вместимостью 1000 см3, содержащую 50 см3 тридистиллированной воды и 0,5 см3 концентрированной серной кислоты, количественно переносят 2,2810 г сульфата кадмия и доводят объем раствора до метки на колбе тридистиллированной водой. Хранят в плотно закрытой склянке не более 6 мес.
10.2.4.2. Промежуточный раствор сульфата кадмия с массовой концентрацией ионов кадмия 100 мг/дм3
Пипеткой вместимостью 10 см3 отбирают 10,0 см3 основного раствора сульфата кадмия (см.
10.2.4.1), помещают в мерную колбу вместимостью 100 см3 и доводят объем раствора до метки на колбе тридистиллированной водой. Хранят не более 1 мес.
10.2.4.3. Промежуточный раствор сульфата кадмия с массовой концентрацией ионов кадмия 1 мг/дм3
Пипеткой вместимостью 1 см3 отбирают 1,0 см3 промежуточного раствора сульфата кадмия (см.
10.2.4.2), помещают в мерную колбу вместимостью 100 см3 и доводят объем раствора до метки на колбе тридистиллированной водой. Хранят не более 7 дней.
10.2.4.4. Рабочий раствор сульфата кадмия с массовой концентрацией ионов кадмия 0,1 мг/дм3 (0,1 мкг/см3)
Пипеткой вместимостью 10 см3 отбирают 10,0 см3 промежуточного раствора сульфата кадмия (см.
10.2.4.3), помещают в мерную колбу вместимостью 100 см3 и доводят объем раствора до метки на колбе тридистиллированной водой. Раствор готовят в день применения.
10.2.4.5. Рабочий раствор сульфата кадмия с массовой концентрацией ионов кадмия 0,02 мг/дм3 (0,02 мкг/см3)
Пипеткой вместимостью 10 см3 отбирают 10,0 см3 рабочего раствора сульфата кадмия (см.
10.2.4.4), помещают в мерную колбу вместимостью 50 см3 и доводят объем раствора до метки на колбе тридистиллированной водой. Раствор готовят в день применения.
10.3. Требования к проведению измерений
10.3.1. Программой работы полуавтоматического анализатора ИВА-3 предусмотрена электрохимическая регенерация поверхности рабочего электрода в цикле измерения для одной пробы.
10.3.2. Включение рабочего электрода в работу и введение пробы и добавок производят при работе анализатора ИВА-3 в режиме регенерации с целью устранения помех в результате неконтролируемого выдерживания электрода при постоянном потенциале.
10.3.3. Чистоту применяемой посуды и реактивов контролируют проведением измерения АС фонового электролита (холостой опыт). Величина АС холостого опыта должна быть не более половины АС анализируемой пробы. Оптимальными являются такое качество реактивов и чистота посуды, когда обеспечивается АС фонового электролита, близкий к нулю. В противном случае устанавливают причину загрязнения и устраняют ее.
10.3.4. При работе на полярографе ПУ-1 регенерацию поверхности рабочего электрода после измерения АС проводят следующим образом. Устанавливают на полярографе время задержки потенциала 0,1 с, включают магнитную мешалку для перемешивания исследуемого раствора в электролизере, выдерживают электрод в таком режиме 2 мин и повторяют измерение АС. Непосредственно перед измерением АС необходима выдержка электролита без перемешивания в течение 30 с.
Независимо от используемого прибора при переходе к анализу новой пробы необходимо торец электрода механически отполировать на бумажном фильтре до устранения видимых царапин и тщательно обмыть его тридистиллированной водой. Качество зачистки электрода существенно влияет на величину АС и точность измерений.
10.3.5. При регистрации АС электрохимического растворения меди, свинца и кадмия необходимо загрублять чувствительность регистрирующего потенциометра по оси ординат всякий раз, когда величина АС пробы превысит 45 - 50 мм. Все измерения для одной пробы проводят при одинаковой чувствительности потенциометра.
10.3.6. Для получения достоверного результата регистрируют не менее 3 измерений АС электрохимического растворения меди, свинца и кадмия и для одной точки графика берут среднее значение АС.
10.4. Устранение мешающего влияния органических веществ
10.4.1. Определению мешают находящиеся в поверхностных водах органические соединения природного и антропогенного происхождения, которые связывают Cu (II), Pb (II) и Cd (II) в комплексы различной прочности. Для устранения этих мешающих влияний разрушают органическую матрицу пробы электрохимически или УФ-облучением.
10.4.2. Для разрушения органической матрицы пробы УФ-облучением берут 20 см3 анализируемой воды, подготовленной в соответствии с
разделом 9, помещают в кварцевую пробирку устройства для УФ-облучения и включают лампу. Время облучения проб для каждого водного объекта устанавливают индивидуально. Для этого пробу облучают в течение 0,5; 1; 2; 3 ч, определяют в серии проб содержание меди, свинца и кадмия и останавливаются на минимальном времени, при котором их содержание не увеличивается.
10.4.3. Для электрохимического разрушения органической матрицы пробы собирают установку для проведения электролиза в соответствии с
рисунком 3.
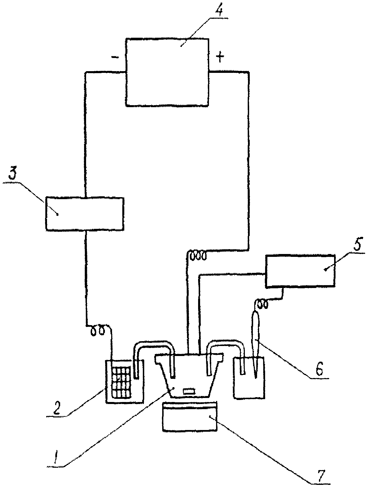
1 - рабочий электрод (тигель из стеклоуглерода);
2 - вспомогательный электрод (платиновая сетка);
3 - миллиамперметр; 4 - источник постоянного тока;
5 - вольтметр; 6 - электрод сравнения;
7 - магнитная мешалка
Рисунок 3. Схема установки для проведения
электрохимической обработки проб поверхностных вод
В стакан вместимостью 50 см3 вносят 2,5 см3 раствора соляной кислоты 1:1, 2,0 см3 25%-ного раствора гидроксида натрия и 15,5 см3 анализируемой пробы воды. Измеряют pH полученного раствора (pH должен составлять 2 - 3) и в случае необходимости корректируют его. Раствор помещают в стеклоуглеродный тигель установки, включают магнитную мешалку и проводят электролиз раствора в течение 15 - 20 мин при потенциале от плюс 1,4 до плюс 1,5 В включительно и токе в цепи 10 - 40 mA.
11.1. Выполнение измерений массовых концентраций меди, свинца и кадмия с использованием анализатора типа ИВА-3 из одной пробы
11.1.1. Измерение АС меди и свинца в фоновом электролите
В кварцевый электролизер электрохимической ячейки, тщательно вымытый концентрированной серной кислотой и многократно промытый тридистиллированной водой, помещают 8,8 см3 0,3%-ного раствора соляной кислоты и 0,2 см3 раствора нитрата ртути.
Вспомогательные емкости и электролитические мостики ячейки заполняют 0,3%-ным раствором соляной кислоты. Графитовый электрод, механически очищенный на фильтровальной бумаге, опускают в электролизер. Платиновый и насыщенный хлорсеребряный электроды, служащие вспомогательным и электродом сравнения, опускают во вспомогательные емкости. Электролизер и вспомогательные емкости соединяют электролитическими мостиками.
Проводят электролиз при потенциале -1,0 В и перемешивании в течение 1 мин. АС фонового электролита регистрируют в стадии электрорастворения полученного на рабочем электроде осадка при скорости изменения потенциала 0,4 В/с и конечном потенциале 0,1 В. Для расчетов используют среднее значение 3-х измерений АС.
11.1.2. Измерение АС меди и свинца в пробе
В режиме регенерации электрода в электролизер ячейки вводят последовательно 1,0 см3 анализируемой пробы, обработанной в соответствии с
10.4.2 или
10.4.3, и две добавки градуировочных растворов Cu (II) и Pb (II) в соответствии с рекомендациями таблицы 2. Последовательно регистрируют величину АС каждого анализируемого раствора 3 раза в условиях, аналогичных
11.1.1.
Таблица 2
Рекомендуемые объемы градуировочных растворов меди, свинца
и кадмия (при определении кадмия в отдельной пробе)
Металл | Диапазон измеряемых концентраций, мкг/дм3 | Объем добавки градуировочных растворов, см3 | Концентрация градуировочных растворов, мкг/см3 |
1 добавка | 2 добавка |
Медь | От 0,5 до 2,0 включ. | 0,1 | 0,1 | 0,02 |
Св. 2,0 до 5,0 включ. | 0,2 | 0,2 | 0,02 |
Св. 5,0 до 10,0 включ. | 0,1 | 0,1 | 0,1 |
Св. 10,0 до 30,0 включ. | 0,1 | 0,1 | 0,2 |
Свинец | От 2,0 до 7,0 включ. | 0,1 | 0,1 | 0,05 |
Св.7,0 до 15,0 включ. | 0,1 | 0,1 | 0,1 |
Св. 15,0 до 30,0 включ. | 0,1 | 0,2 | 0,1 |
Кадмий | От 0,1 до 1,0 включ. | 0,1 | 0,2 | 0,02 |
Св. 1,0 до 3,0 включ. | 0,1 | 0,1 | 0,1 |
Св. 3,0 до 5,0 включ. | 0,1 | 0,2 | 0,1 |
11.1.3. Измерение АС кадмия в фоновом электролите
За величину АС кадмия в фоновом электролите принимают его значение, измеренное в соответствии с
11.1.2 (одновременно с измерением АС меди и свинца со второй добавкой).
11.1.4. Измерение АС кадмия в пробе
В режиме регенерации электрода в электролизер ячейки вводят последовательно 4,0 см3 анализируемой пробы, обработанной в соответствии с
10.4.2 или
10.4.3, и две добавки градуировочного раствора Cd (II) в соответствии с рекомендациями таблицы 3.
Таблица 3
Объемы градуировочных растворов кадмия (при определении
кадмия совместно с медью и свинцом)
Диапазон измеряемых концентраций кадмия, мкг/дм3 | Объем добавки градуировочных растворов, см3 | Концентрация градуировочных растворов, мкг/см3 | Концентрация кадмия в анализируемом растворе, мкг/дм3 |
1 добавка | 2 добавка | 1 добавка | 2 добавка |
От 0,1 до 1,0 включ. | 0,1 | 0,2 | 0,02 | 0,14 | 0,43 |
Св. 1,0 до 5,0 включ. | 0,1 | 0,2 | 0,1 | 0,71 | 2,14 |
Св. 5,0 до 10,0 включ. | 0,2 | 0,2 | 0,1 | 1,43 | 2,86 |
Последовательно регистрируют величину АС каждого анализируемого раствора (пробы, пробы с первой и со второй добавками) 3 раза в условиях, аналогичных
11.1.1. Для расчетов используют среднее значение трех измерений АС.
11.2. Выполнение измерений массовой концентрации меди, свинца и кадмия с использованием анализатора ИВА-3 в отдельных пробах
11.2.1. Измерение АС в фоновом электролите
В кварцевый электролизер электрохимической ячейки, тщательно вымытый концентрированной серной кислотой и многократно промытый тридистиллированной водой, помещают 7,3 см3 (при определении меди), 8,8 см3 (при определении свинца) или 5,8 см3 (при определении кадмия) 0,3%-ного раствора соляной кислоты и 0,2 см3 раствора нитрата ртути.
Вспомогательные емкости и электролитические мостики ячейки заполняют 0,3%-ным раствором соляной кислоты. Графитовый электрод, механически очищенный на фильтровальной бумаге, опускают в электролизер. Платиновый и насыщенный хлорсеребряный электроды, служащие вспомогательным и электродом сравнения, опускают во вспомогательные емкости. Электролизер и вспомогательные емкости соединяют электролитическими мостиками. Проводят электролиз при потенциале минус 0,9 В, минус 1,0 В или минус 1,1 В при определении меди, свинца и кадмия, соответственно, и перемешивании в течение 1 мин. АС фонового электролита регистрируют в стадии электрорастворения полученного на рабочем электроде осадка при скорости изменения потенциала 0,4 В/с и конечном потенциале 0,1 В. Для расчетов используют среднее значение трех измерений АС.
11.2.2. Измерение АС меди, свинца или кадмия в пробах
В режиме регенерации электрода в электролизер ячейки вводят последовательно 2,5 см3 (при определении меди), 1,0 см3 (при определении свинца) или 4,0 см3 (при определении кадмия) анализируемой пробы, обработанной в соответствии с
10.4.2 или
10.4.3, и две добавки градуировочных растворов Cu (II), Pb (II) или Cd (II) в соответствии с рекомендациями
таблицы 2. Последовательно регистрируют величину АС каждого анализируемого раствора 3 раза в условиях, аналогичных
11.2.1. Для расчетов используют среднее значение трех измерений АС.
11.3. Выполнение измерений массовой концентрации меди с использованием полярографа ПУ-1
11.3.1. Измерение АС в фоновом электролите
В кварцевый электролизер электрохимической ячейки, тщательно вымытый концентрированной серной кислотой и многократно промытый тридистиллированной водой, помещают 7,7 см3 (или 8,7 см3) тридистиллированной воды, 0,3 см3 раствора соляной кислоты и 0,3 см3 раствора нитрата ртути.
Вспомогательные емкости и электролитические мостики заполняют 0,3%-ным раствором соляной кислоты. Графитовый электрод, механически очищенный на фильтровальной бумаге до устранения видимых царапин, опускают в электролизер. Насыщенный хлорсеребряный и платиновый электроды, служащие электродом сравнения и вспомогательным, опускают во вспомогательные емкости. Электролизер и вспомогательные емкости соединяют электролитическими мостиками. На полярографе ПУ-1 устанавливают диапазон тока 0,5 x 10, дифференцирование +10, амплитуду анодной развертки 1,3 В, вид полярографии - постоянно-токовая, скорость изменения линейной развертки потенциала 0,10 В/с. Включают магнитную мешалку и проводят электролиз при потенциале минус 1,2 В относительно хлорсеребряного электрода в течение 1 мин. Затем отключают магнитную мешалку и через 30 с регистрируют АС фонового электролита в стадии электрорастворения. АС фонового электролита регистрируют 3 раза. Для расчетов используют среднее значение трех измерений. Далее включают магнитную мешалку и проводят электрохимическую регенерацию поверхности рабочего электрода.
11.3.2. Измерение АС в пробе
В режиме регенерации электрода в электролизер ячейки вводят последовательно 2,0 см3 анализируемой пробы (или 1,0 см3, если концентрация меди превышает 10 мкг/дм3 (общий объем раствора в электролизере должен быть при этом 10,0 см3) и две добавки градуировочного раствора Cu (II) в соответствии с рекомендациями
таблицы 2. Последовательно регистрируют величину АС каждого анализируемого раствора 3 раза в условиях, аналогичных
11.3.1. Для расчетов используют среднее значение трех измерений АС.
11.4. Выполнение измерений массовой концентрации свинца с использованием полярографа ПУ-1
11.4.1. Измерение АС в фоновом электролите
В кварцевый электролизер электрохимической ячейки, тщательно вымытый концентрированной серной кислотой и многократно промытый тридистиллированной водой, помещают 8,7 см3 0,3%-ного раствора соляной кислоты и 0,3 см3 раствора нитрата ртути.
Вспомогательные емкости и электролитические мостики заполняют 0,3%-ным раствором соляной кислоты. Графитовый электрод, механически очищенный на фильтровальной бумаге до устранения видимых царапин, опускают в электролизер. Насыщенный хлорсеребряный и платиновый электроды, служащие электродом сравнения и вспомогательным, опускают во вспомогательные емкости.
Электролизер и вспомогательные емкости соединяют электролитическими мостиками. На полярографе ПУ-1 устанавливают диапазон тока 0,5 · 10, дифференцирование +10, амплитуду анодной развертки 1,2 В, вид полярографии - постоянно-токовая, скорость изменения линейной развертки потенциала 0,10 В/с. Включают магнитную мешалку и проводят электролиз при потенциале минус 1,1 В относительно хлорсеребряного электрода в течение 1 - 2 мин. Затем отключают магнитную мешалку и через 30 с регистрируют АС фонового электролита в стадии электрорастворения. АС фонового электролита регистрируют 3 раза. Для расчетов используют среднее значение трех измерений. Далее включают магнитную мешалку и проводят электрохимическую регенерацию поверхности рабочего электрода.
11.4.2. Измерение АС в пробе
В режиме регенерации электрода в электролизер ячейки вводят последовательно 1,0 см3 анализируемой пробы и две добавки градуировочного раствора Pb (II) в соответствии с рекомендациями
таблицы 2. Последовательно регистрируют величину АС каждого анализируемого раствора 3 раза в условиях, аналогичных
11.4.1. Для расчетов используют среднее значение трех измерений АС.
11.5. Выполнение измерений массовой концентрации кадмия с использованием полярографа ПУ-1
11.5.1. Измерение АС в фоновом электролите
В кварцевый электролизер электрохимической ячейки, тщательно вымытый концентрированной серной кислотой и многократно промытый тридистиллированной водой, помещают 3,6 см3 тридистиллированной воды, 0,2 см3 концентрированной соляной кислоты и 0,2 см3 раствора нитрата ртути.
Вспомогательные емкости и электролитические мостики заполняют 0,3%-ным раствором соляной кислоты. Графитовый электрод, механически очищенный на фильтровальной бумаге до устранения видимых царапин, опускают в электролизер.
Насыщенный хлорсеребряный и платиновый электроды, служащие электродом сравнения и вспомогательным, опускают во вспомогательные емкости. Электролизер и вспомогательные емкости соединяют электролитическими мостиками. На полярографе ПУ-1 устанавливают диапазон тока 0,5 x 1000, амплитуду анодной развертки 1,2 В, вид полярографии - переменно-токовая с прямоугольной формой напряжения, скорость изменения линейной развертки потенциала 70 мВ/с, амплитуда модуляции переменного тока 40 мВ. Включают магнитную мешалку и проводят электролиз при потенциале -1,1 В относительно хлорсеребряного электрода в течение 1 - 5 мин. Затем отключают магнитную мешалку и через 30 с регистрируют АС фонового электролита в стадии электрорастворения. Далее включают магнитную мешалку и проводят электрохимическую регенерацию поверхности рабочего электрода. Для расчетов используют среднее значение 3-х измерений АС.
11.5.2. Измерение АС в пробе
В режиме регенерации электрода в электролизер ячейки вводят последовательно 6,0 см3 анализируемой пробы и две добавки градуировочного раствора Cd (II) в соответствии с рекомендациями
таблицы 2. Последовательно регистрируют величину АС каждого анализируемого раствора 3 раза в условиях, аналогичных
11.5.1. Для расчетов используют среднее значение трех измерений АС.
12. ВЫЧИСЛЕНИЕ И ОФОРМЛЕНИЕ РЕЗУЛЬТАТОВ ИЗМЕРЕНИЙ
12.1. Вычисление результатов измерений массовой концентрации меди и свинца
Для расчета концентраций меди и свинца в анализируемой пробе строят графики зависимости величины АС от объема введенных в электролизер рабочих растворов сульфата меди и нитрата свинца.
По оси абсцисс откладывают объем введенных в электролизер добавок рабочих градуировочных растворов Cu (II) и Pb (II)

, а по оси ординат величину АС, мм, соответствующую исходной пробе воды и пробе с первой и второй добавками определяемого металла за вычетом значения АС фонового электролита
(рисунок 4).
Рисунок 4. Зависимость аналитического сигнала от объема
введенных в электролизер градуировочных растворов
Cu (II) и Pb (II)
Из полученных зависимостей находят графически величину отрезка

, отсекаемого на оси абсцисс и характеризующего содержание определяемого металла в анализируемой пробе.
Массовые концентрации меди и свинца в анализируемой пробе воды

, вычисляют по формуле
где

- величина отрезка, найденная из графиков зависимостей АС от введенного объема градуировочных растворов сульфата меди и нитрата свинца, см3;

- концентрация меди и свинца в градуировочных растворах, используемых для добавок, мкг/см3;
V - объем пробы воды, взятый для анализа, см3;

- поправка, компенсирующая систематическую погрешность (см. таблицу 4).
Таблица 4
Значения поправок

для разных вариантов
выполнения измерений
Вариант выполнения измерений | Определяемый металл | Диапазон измеряемых концентраций, мкг/дм3 | Значение поправки  , мкг/дм3 |
Измерение на анализаторе ИВА-3 из одной пробы | Медь | 1,0 - 5,0 | -0,3 |
св. 5,0 - 15,0 | 0 |
св. 15,0 - 30,0 | +1,2 |
Свинец | 2,0 - 10,0 | 0 |
св. 10,0 - 25,0 | +1,0 |
Измерение на анализаторе ИВА-3 в отдельной пробе | Медь | 0,5 - 30,0 | 0 |
Свинец | 2,0 - 12,0 | 0 |
Измерение на полярографе ПУ-1 | Медь | 2,0 - 5,0 | -0,2 |
св. 5,0 - 30,0 | 0 |
Свинец | 2,0 - 20,0 | 0 |
12.2. Вычисление результатов измерений массовой концентрации кадмия
Для расчета концентрации кадмия в анализируемой пробе при выполнении измерений на полярографе ПУ-1 или в отдельной пробе на анализаторе ИВА-3 строят графики зависимости величины АС от объема введенных в электролизер рабочих растворов сульфата кадмия.
По оси абсцисс откладывают объем введенных в электролизер добавок рабочих растворов Cd (II) в см3, а по оси ординат величину АС в мм, соответствующую исходной пробе воды и пробе с первой и второй добавками определяемого металла за вычетом значения АС фонового электролита
(рисунок 4).
Из полученных зависимостей находят графически величину отрезка

, отсекаемого на оси абсцисс и характеризующего содержание кадмия в анализируемой пробе.
Массовую концентрацию кадмия в анализируемой пробе воды вычисляют по формулам:
- при измерении на ПУ-1
- при измерении на ИВА-3
где X - массовая концентрация кадмия в анализируемой пробе воды, мкг/дм3;
1,2 - коэффициент, компенсирующий систематическую погрешность;

- величина отрезка, найденная из графиков зависимостей АС от введенного объема градуировочных растворов сульфата кадмия, см3;

- концентрация кадмия в градуировочных растворах, используемых для добавок, мкг/см3;
V - объем пробы воды, взятый для анализа, см3.
Для расчета концентрации кадмия в анализируемой пробе при выполнении измерений на анализаторе ИВА-3 из одной пробы с медью и свинцом строят графики зависимости величины АС от концентрации Cd (II) в электролизере.
По оси абсцисс откладывают концентрации Cd (II) в электролизере в соответствии с величиной введенных в него добавок рабочего раствора в мкг/дм3
(таблица 3), а по оси ординат - величину АС в мм, соответствующую пробе воды и пробе с первой и второй добавками кадмия за вычетом значения АС фонового электролита
(рисунок 5).
Рисунок 5. Зависимость аналитического сигнала
от концентрации Cd (II) в растворе электрохимической ячейки
Из полученных зависимостей находят графически величину отрезка "C'", отсекаемого на оси абсцисс и характеризующего концентрацию кадмия в анализируемом растворе.
Массовую концентрацию кадмия в анализируемой пробе воды X, мкг/дм3, вычисляют по формуле
где 3,6 - коэффициент, учитывающий разбавление пробы в процессе анализа;
С' - величина отрезка, найденная из графиков зависимостей АС от концентрации кадмия в электролизере, мкг/дм3.
Если для устранения мешающего влияния органических веществ применяли электрохимическую обработку пробы, в результат, рассчитанный по
формулам (2 -
5), следует ввести поправку на разбавление пробы - умножить на коэффициент 20/15,5 = 1,29.
12.3. Результат измерений в документах, предусматривающих его использование, представляют в виде
где

- среднее арифметическое значение трех результатов, разность между которыми не превышает предела повторяемости

. При превышении предела повторяемости следует поступать в соответствии с
13.2;

- характеристика погрешности измерения для данной массовой концентрации ионов меди, свинца и кадмия
(таблица 1).
Численные значения результата измерений должны оканчиваться цифрой того же разряда, что и значения характеристики погрешности.
12.4. Допустимо представлять результат в виде
где

- границы характеристики погрешности результатов измерений, установленные при реализации методики в лаборатории и обеспечиваемые контролем стабильности результатов измерений, мг/дм3.
Примечание. Допустимо характеристику погрешности результатов измерений при внедрении методики в лаборатории устанавливать на основе выражения

с последующим уточнением по мере накопления информации в процессе контроля стабильности результатов измерений.
12.5. Результаты измерения оформляют протоколом или записью в журнале, по формам, приведенным в Руководстве по качеству лаборатории.
13. КОНТРОЛЬ КАЧЕСТВА РЕЗУЛЬТАТОВ ИЗМЕРЕНИЙ ПРИ РЕАЛИЗАЦИИ
МЕТОДИКИ В ЛАБОРАТОРИИ
13.1. Общие положения
13.1.1. Контроль качества результатов измерений при реализации методики в лаборатории предусматривает:
- оперативный контроль исполнителем процедуры выполнения измерений (на основе оценки повторяемости и погрешности при реализации отдельно взятой контрольной процедуры);
- контроль стабильности результатов измерений (на основе контроля стабильности среднеквадратического отклонения повторяемости, внутрилабораторной прецизионности, погрешности).
13.1.2. Периодичность контроля исполнителем процедуры выполнения измерений, а также реализуемые процедуры контроля стабильности результатов выполняемых измерений регламентируются в Руководстве по качеству лаборатории.
13.2. Алгоритм оперативного контроля повторяемости
13.2.1. Оперативный контроль повторяемости осуществляют для каждого из результатов измерений, полученных в соответствии с методикой. Для этого отобранную пробу воды делят на две части и выполняют анализ в соответствии с
разделом 11.
13.2.2. Результат контрольной процедуры

, рассчитывают по формуле
где

,

- максимальный и минимальный результаты контрольных измерений массовой концентрации металлов, мг/дм3.
13.2.3. Предел повторяемости

, рассчитывают по формуле
где

- показатель повторяемости методики, мг/дм3
(таблица 1).
13.2.4. Результат контрольной процедуры должен удовлетворять условию
13.2.5. При несоблюдении условия (10) выполняют еще два измерения и сравнивают разницу между максимальным и минимальным результатами с нормативом контроля, равным

. В случае повторного превышения предела повторяемости поступают в соответствии с
разделом 5 ГОСТ Р ИСО 5725-6.
13.3. Алгоритм оперативного контроля процедуры выполнения измерений с использованием метода добавок
13.3.1. Контроль исполнителем процедуры выполнения измерений проводят путем сравнения результатов отдельно взятой контрольной процедуры

с нормативом контроля К.
13.3.2. Результат контрольной процедуры

, рассчитывают по формуле
где

- среднее арифметическое результатов контрольных измерений массовой концентрации определяемого металла в пробе с известной добавкой, мг/дм3;

- среднее арифметическое результатов измерений массовой концентрации определяемого металла в рабочей пробе, мг/дм3;
C - величина добавки, мг/дм3.
13.3.3. Норматив контроля погрешности К, мг/дм3, рассчитывают по формуле
где

- значения характеристики погрешности результатов измерений, установленные в лаборатории при реализации методики, соответствующие массовой концентрации определяемого металла в пробе с добавкой, мг/дм3;

- значения характеристики погрешности результатов измерений, установленные в лаборатории при реализации методики, соответствующие массовой концентрации определяемого металла в рабочей пробе, мг/дм3.
Примечание. Допустимо для расчета норматива контроля использовать значения характеристик погрешности, полученные расчетным путем по формулам

и

.
13.3.4. Если результат контрольной процедуры удовлетворяет условию, процедуру признают удовлетворительной.
| | ИС МЕГАНОРМ: примечание. Нумерация формул дана в соответствии с официальным текстом документа. | |
При невыполнении условия (13) контрольную процедуру повторяют. При повторном невыполнении условия (13) выясняют причины, приводящие к неудовлетворительным результатам, и принимают меры по их устранению.
13.4. Периодичность оперативного контроля исполнителем процедуры выполнения измерений, а также реализуемые процедуры контроля стабильности результатов выполнения измерений регламентируются в Руководстве по качеству лаборатории.
14. ПРОВЕРКА ПРИЕМЛЕМОСТИ РЕЗУЛЬТАТОВ, ПОЛУЧЕННЫХ
В УСЛОВИЯХ ВОСПРОИЗВОДИМОСТИ
14.1. Расхождение между результатами измерений, полученными в двух лабораториях, не должно превышать предела воспроизводимости. При выполнении этого условия приемлемы оба результата измерений и в качестве окончательного может быть использовано их общее среднее значение. Значение предела воспроизводимости рассчитывают по формуле
14.2. При превышении предела воспроизводимости могут быть использованы методы оценки приемлемости результатов измерений согласно
разделу 5 ГОСТ Р ИСО 5725-6 или
МИ 2881.
14.3. Проверка приемлемости проводится при необходимости сравнения результатов измерений, полученных двумя лабораториями.