Главная // Актуальные документы // МетодикаСПРАВКА
Источник публикации
Ростов-на-Дону: Росгидромет, ФГБУ "ГХИ", 2022
Примечание к документу
Документ включен в Перечень международных и региональных (межгосударственных) стандартов (
п. п. 45,
159,
571,
741,
858,
1114,
1231,
1444), а в случае их отсутствия - национальных (государственных) стандартов, содержащих правила и методы исследований (испытаний) и измерений, в том числе правила отбора образцов, необходимые для применения и исполнения требований технического
регламента Таможенного союза "О безопасности продукции, предназначенной для детей и подростков" (ТР ТС 007/2011) и осуществления оценки соответствия объектов технического регулирования (
Решение Коллегии Евразийской экономической комиссии от 14.03.2023 N 31).
Документ
введен в действие с 01.03.2023.
Название документа
"РД 52.24.488-2022. Руководящий документ. Суммарная массовая концентрация летучих фенолов в водах. Методика измерений экстракционно-фотометрическим методом с 4-аминоантипирином после отгонки с водяным паром"
(утв. и введен в действие Приказом Росгидромета от 04.03.2022 N 87)
"РД 52.24.488-2022. Руководящий документ. Суммарная массовая концентрация летучих фенолов в водах. Методика измерений экстракционно-фотометрическим методом с 4-аминоантипирином после отгонки с водяным паром"
(утв. и введен в действие Приказом Росгидромета от 04.03.2022 N 87)
Утвержден и введен в действие
от 4 марта 2022 г. N 87
РУКОВОДЯЩИЙ ДОКУМЕНТ
СУММАРНАЯ МАССОВАЯ КОНЦЕНТРАЦИЯ
ЛЕТУЧИХ ФЕНОЛОВ В ВОДАХ
МЕТОДИКА
ИЗМЕРЕНИЙ ЭКСТРАКЦИОННО-ФОТОМЕТРИЧЕСКИМ МЕТОДОМ
С 4-АМИНОАНТИПИРИНОМ ПОСЛЕ ОТГОНКИ С ВОДЯНЫМ ПАРОМ
РД 52.24.488-2022
Дата введения
1 марта 2023 года
1 РАЗРАБОТАН Федеральным государственным бюджетным учреждением "Гидрохимический институт" (ФГБУ "ГХИ")
2 РАЗРАБОТЧИКИ Ю.А. Андреев, канд. хим. наук (руководитель разработки), Килейнова Е.С. (ответственный исполнитель), Рязанцева И.А.
3 СОГЛАСОВАН:
- с Федеральным государственным бюджетным учреждением "Научно-производственное объединение "Тайфун" (ФГБУ "НПО "Тайфун") 14.02.2022;
- с Управлением мониторинга загрязнения окружающей среды, полярных и морских работ (УМЗА) Росгидромета 25.02.2022
| | ИС МЕГАНОРМ: примечание. В официальном тексте документа, видимо, допущена опечатка: РД 52.24.488-2022 утвержден и введен в действие приказом Росгидромета N 87 от 04.03.2022, а не от 14.03.2022. | |
4 УТВЕРЖДЕН И ВВЕДЕН В ДЕЙСТВИЕ
приказом Росгидромета от 14.03.2022 N 87
5 АТТЕСТОВАНА ФГБУ "ГХИ".
Свидетельство об аттестации методики измерений N 488.RA.RU.311345-2022 от 15.04.2022
6 ЗАРЕГИСТРИРОВАН головной организацией по стандартизации ФГБУ "НПО "Тайфун" 01.03.2022.
ОБОЗНАЧЕНИЕ РУКОВОДЯЩЕГО ДОКУМЕНТА РД 52.24.488-2022
7 ВЗАМЕН
РД 52.24.488-2006 "Массовая концентрация летучих фенолов в водах. Методика выполнения измерений экстракционно-фотометрическим методом после отгонки с паром"
8 СРОК ПЕРВОЙ ПРОВЕРКИ 2030 год.
ПЕРИОДИЧНОСТЬ ПРОВЕРКИ 7 лет
Фенолы - производные бензола с одной или несколькими гидроксильными группами, среди которых могут быть и другие заместители в бензольном кольце. Наиболее часто применявшаяся стадия концентрирования при определении данной группы веществ привела к выделению их в отдельное понятие "летучие фенолы". Группа моногидроксипроизводных бензола, объединяемая термином "летучие фенолы", включает в себя целый ряд соединений, перегоняющихся с водяным паром. К ним относятся фенол, метилфенолы (крезолы), диметилфенолы (ксиленолы), этилфенолы, гваякол, монохлорфенолы и некоторые другие производные с небольшими алкильными радикалами или другими заместителями.
В том случае, когда суммарную массовую концентрацию фенолов определяют фотометрическим методом, выражая результат анализа в пересчете на фенол, полученную величину согласно международному стандарту ISO 6439:90 "Качество воды. Определение фенольного индекса. Спектрофотометрические методы с 4-аминоантипирином после перегонки" обозначают также термином "фенольный индекс". Аналогичное определение термина "фенольный индекс" приведено и в межгосударственном стандарте
ГОСТ 30813-2002 "Вода и водоподготовка. Термины и определения". Следует отметить, что отдельные производные фенола, имеющие в пара-положении такие заместители как алкильные, арильные или нитрогруппы, не вступают в реакцию образования окрашенного соединения с 4-аминоантипирином, поэтому даже при их высокой концентрации в воде такие вещества не будут определены в виде "фенольного индекса".
Фенолы различного строения могут образовываться в природных водах в результате естественных процессов метаболизма водных организмов, при биохимическом распаде и трансформации органических веществ. Основными источниками антропогенного поступления фенолов в водные объекты являются сточные воды многих видов промышленности: химической, коксо- и нефтехимической, текстильной, целлюлозно-бумажной и других.
Фенолы в водах могут находиться в растворенном состоянии в виде фенолят-ионов или в виде нейтральных молекул фенолов. Массовые концентрации фенолов в незагрязненных природных водах, как правило, не превышает десятых долей микрограмма в кубическом дециметре, редко повышаясь до единиц микрограмма в кубическом дециметре, например, при дефиците кислорода, обусловленном продолжительным подледным периодом на некоторых водных объектах. Повышение концентраций фенолов свидетельствует о загрязнении водного объекта.
Фенолы являются неустойчивыми веществами, они сравнительно легко окисляются химическим путем и подвергаются биохимической деградации. Вследствие этого даже в загрязненных водах в существенных концентрациях они могут наблюдаться лишь при дефиците кислорода, при низких температурах, а также при отсутствии фенолразрушающих бактерий либо условий для их жизнедеятельности. Одним из наименее устойчивых является сам фенол, большинство его производных более устойчивы.
Попадание фенолов в природные воды оказывает неблагоприятное воздействие на гидрохимический режим водного объекта - уменьшается содержание кислорода, увеличивается цветность, окисляемость; в результате химической и биохимической деструкции фенолов могут образоваться соединения более токсичные, чем сами фенолы. Фенолы опасны для многих гидробионтов. При большой концентрации они проявляют токсическое действие.
Систематическое загрязнение воды фенолами даже при низких концентрациях приводит к появлению у рыб характерного фенольного привкуса, вследствие чего они теряют потребительскую ценность.
Предельно допустимая концентрация (ПДК) фенола в водах водных объектов рыбохозяйственного значения составляет 0,001 мг/дм3. ПДК фенола для суммы летучих фенолов, придающих воде хлорфенольный запах при хлорировании, для вод водных объектов хозяйственно-питьевого водопользования составляет 0,001 мг/дм3, при условии применения хлора для обеззараживания воды в процессе ее очистки на водопроводных сооружениях или при определении условий сброса сточных вод, подвергающихся обеззараживанию хлором. В иных случаях допускается содержание суммы летучих фенолов в воде водных объектов в концентрациях 0,1 мг/дм3.
Таблица 1
Предельно допустимая концентрация фенола и его некоторых
производных в природных водах
Вещество | Предельно допустимая концентрация в воде водных объектов, мг/дм3 |
Рыбохозяйственного значения | Хозяйственно-питьевого и культурно-бытового водопользования |
Фенол (гидроксибензол) | 0,001 | 0,001 |
2-метилфенол (о-крезол) | 0,003 | - |
3-метилфенол (1-гидрокси-3-метилбензол) | - | 0,004 |
4-метилфенол (1-гидрокси-4-метилбензол) | - | 0,004 |
2-пропилфенол (1-гидрокси-2-пропилбензол) | - | 0,01 |
4-пропилфенол (1-гидрокси-4-пропилбензол) | - | 0,01 |
2-хлорфенол (2-хлорксибензол) | 0,0001 | 0,001 |
2,6-диметилфенол | - | 0,25 |
Настоящий руководящий документ устанавливает методику измерений (далее - методика) суммарной массовой концентрации летучих фенолов в пробах природных и очищенных сточных вод в диапазоне от 2,0 до 30,0 мкг/дм3 в пересчете на фенол экстракционно-фотометрическим методом с 4-аминоантипирином после отгонки с водяным паром.
Настоящий руководящий документ предназначен для использования в лабораториях, осуществляющих анализ природных и очищенных сточных вод.
В настоящем руководящем документе использованы нормативные ссылки на следующие нормативные документы:
ГОСТ 12.1.005-88 Система стандартов безопасности труда. Общие санитарно-гигиенические требования к воздуху рабочей зоны
ГОСТ 12.1.007-76 Система стандартов безопасности труда. Вредные вещества. Классификация и общие требования безопасности
ГОСТ 17.1.5.04-81 Охрана природы. Гидросфера. Приборы и устройства для отбора, первичной обработки и хранения проб природных вод. Общие технические условия
ГОСТ 17.1.5.05-85 Охрана природы. Гидросфера. Общие требования к отбору проб поверхностных и морских вод, льда и атмосферных осадков
ГОСТ 1770-74 Посуда мерная лабораторная стеклянная. Цилиндры, мензурки, колбы, пробирки. Общие технические условия
ГОСТ 3773-72 Реактивы. Аммоний хлористый. Технические условия
ГОСТ 4148-78 Реактивы. Железо (II) сернокислое 7-водное. Технические условия
ГОСТ 4165-78 Реактивы. Медь (II) сернокислая 5-водная. Технические условия
ГОСТ 4166-76 Реактивы. Натрий сернокислый. Технические условия
ГОСТ 4206-75 Реактивы. Калий железосинеродистый. Технические условия
ГОСТ 4328-77 Реактивы. Натрия гидроокись. Технические условия
ГОСТ 5556-81 Вата медицинская гигроскопическая. Технические условия
ГОСТ 14919-83 Электроплиты, электроплитки и жарочные электрошкафы бытовые. Общие технические условия
ГОСТ 20478-75 Реактивы. Аммоний надсернокислый. Технические условия
ГОСТ 22056-76 Трубки электроизоляционные из фторопласта 4Д и 4ДМ. Технические условия
ГОСТ 25336-82 Посуда и оборудование лабораторные стеклянные. Типы, основные параметры и размеры
ГОСТ 29169-91 Посуда лабораторная стеклянная. Пипетки с одной отметкой
ГОСТ 29224-91 Посуда лабораторная стеклянная. Термометры жидкостные стеклянные лабораторные. Принципы устройства, конструирования и применения
ГОСТ 29227-91 Посуда лабораторная стеклянная. Пипетки градуированные. Часть 1. Общие требования
ГОСТ OIML R 76-1-2011 Государственная система обеспечения единства измерений. Весы неавтоматического действия. Часть 1. Метрологические и технические требования. Испытания
ГОСТ Р 53228-2008 Весы неавтоматического действия. Часть 1. Метрологические и технические требования. Испытания
ГОСТ Р 55878-2013 Спирт этиловый технический гидролизный ректификованный. Технические условия
ГОСТ Р ИСО 5725-6-2002 Точность (правильность и прецизионность) методов и результатов измерений. Часть 6. Использование значений точности на практике
МИ 2881-2004 Государственная система обеспечения единства измерений. Методики количественного химического анализа. Процедуры проверки приемлемости результатов анализа
Примечание - При пользовании настоящим руководящим документом целесообразно проверять действие ссылочных нормативных документов:
- стандартов - в информационной системе общего пользования - на официальном сайте федерального органа исполнительной власти в сфере стандартизации в сети Интернет или по ежегодно издаваемому информационному указателю "Национальные стандарты", который опубликован по состоянию на 1 января текущего года, и по выпускам ежемесячно издаваемого информационного указателя "Национальные стандарты" за текущий год;
- нормативных документов по метрологии (МИ) - по ежегодно издаваемому "Перечню нормативных документов в области метрологии", опубликованному по состоянию на 1 января текущего года.
Если ссылочный нормативный документ заменен (изменен), то при пользовании настоящим руководящим документом следует руководствоваться замененным (измененным) нормативным документом. Если ссылочный нормативный документ отменен без замены, то положение, в котором дана ссылка на него, применяется в части, не затрагивающей эту ссылку.
3 Требования к показателям точности измерений
3.1 При соблюдении всех регламентируемых методикой условий проведения измерений характеристики погрешности результата измерения с вероятностью 0,95 не должны превышать значений, приведенных в
таблице 2.
Таблица 2
Диапазон измерений, показатели повторяемости,
воспроизводимости, правильности и точности
при принятой вероятности P = 0,95
Диапазон измерений суммарной массовой концентрации летучих фенолов | Показатель повторяемости (среднеквадратическое отклонение повторяемости) | Показатель воспроизводимости (среднеквадратическое отклонение воспроизводимости) | Показатель правильности (границы систематической погрешности) | Показатель точности (границы абсолютной погрешности) |
X, мкг/дм3 |  , мкг/дм 3 |  , мкг/дм 3 |  , мкг/дм 3 |  , мкг/дм 3 |
От 2,0 до 24,0 включ. | 0,3 + 0,030·X | 0,4 + 0,043·X | 0,2 + 0,081·X | 0,6 + 0,15·X |
Св. 24,0 до 30,0 включ. | 0,7 | 0,9 | 1,5 | 2,3 |
3.2 Значения показателя точности методики используют при:
- оформлении результатов измерений, выдаваемых лабораторией;
- оценке деятельности лабораторий на качество проведения измерений;
- оценке возможности использования результатов измерений при реализации методики в конкретной лаборатории.
4 Требования к средствам измерений, вспомогательным устройствам, реактивам, материалам
4.1 Средства измерений, вспомогательные устройства
4.1.1 Фотометр или спектрофотометр любого типа (КФК-3, ПЭ-5300, ПЭ-5400, Unico 1201 и др.).
4.1.2 Весы неавтоматического действия (лабораторные) специального (I) класса точности по
ГОСТ Р 53228 или
ГОСТ OIML R 76-1, действительная цена деления (шкалы) 0,0001 г.
4.1.3 Весы неавтоматического действия (лабораторные) высокого (II) класса точности по
ГОСТ Р 53228 или
ГОСТ OIML R 76-1, действительная цена деления (шкалы) 0,001 г или 0,01 г.
4.1.4 pH-метр или иономер любого типа (pH-150, pH-155, Экотест-2000, Анион-410 и др.) с электродами для измерения pH.
4.1.5 Стандартный образец состава раствора фенола в этаноле ГСО 7270-96 или ГСО 8714-2005 или ГСО 9915-2011 (далее - ГСО) с относительной погрешностью аттестованного значения 1,0%.
4.1.6 Колбы мерные 2-го класса точности, исполнения 2 или 2а по
ГОСТ 1770, вместимостью: 50 см
3 - 1 шт., 100 см
3 - 1 шт., 1000 см
3 - 2 шт.
4.1.7 Пробирки градуированные исполнения 2 или колбы мерные 2-го класса точности, исполнения 2 по
ГОСТ 1770, вместимостью 25 см
3 - 10 шт.
4.1.8 Пипетки градуированные 2-го класса точности, типа 1 и 3, исполнения 1 и 2 по
ГОСТ 29227, вместимостью: 1 см
3 - 2 шт., 2 см
3 - 1 шт., 5 см
3 - 5 шт., 10 см
3 - 3 шт.
4.1.9 Пипетки с одной отметкой 2-го класса точности, исполнения 2 по
ГОСТ 29169, вместимостью 5 см
3 - 3 шт.
4.1.10 Цилиндры мерные 2-го класса точности, исполнения 1 или 3 по
ГОСТ 1770, вместимостью: 10 см
3 - 3 шт., 25 см
3 - 2 шт., 50 см
3 - 2 шт., 500 см
3 - 3 шт., 1000 см
3 - 1 шт.
4.1.11 Воронки делительные типа ВД, исполнения 1 или 3 по
ГОСТ 25336, вместимостью 1000 см
3 - 5 шт.
4.1.12 Стаканы В-1, ТХС по
ГОСТ 25336, вместимостью: 50 см
3 - 2 шт., 100 см
3 - 3 шт., 600 см
3 - 2 шт., 1000 см
3 - 1 шт.
4.1.13 Колбы конические Кн, исполнения 2 по
ГОСТ 25336, вместимостью 2000 см
3 - 2 шт.
4.1.14 Стаканчики для взвешивания СВ-19/9, СВ-24/10, СВ-34/12 и СН 45/13 по
ГОСТ 25336.
4.1.15 Воронки лабораторные типа В по
ГОСТ 25336 диаметром: 36 мм - 10 шт., 56 мм - 2 шт.
4.1.16 Установка для отгонки летучих фенолов (колба круглодонная типа К исполнения 1, ТХС, со взаимозаменяемым конусом 29/32 вместимостью 1000 см
3; колба плоскодонная типа П исполнения 2 вместимостью 500 см
3 или колба коническая типа Кн, исполнения 2 вместимостью 500 см
3; каплеуловитель типа КО-14/23-100 или КО-14/23-60, холодильник типа ХПТ исполнения 1, длиной 300 или 400 мм; алонж типа АИ с взаимозаменяемым конусом муфты 14/23) по
ГОСТ 25336. Вместо каплеуловителя может быть использован переход П1 по
ГОСТ 25336, исполнения 1 с взаимозаменяемыми конусами керна 29/32, муфты 14/23.
4.1.17 Пробирка исполнения 1 или 2 по
ГОСТ 1770, вместимостью 10 см
3.
4.1.18 Палочка стеклянная.
4.1.19 Посуда стеклянная (в том числе из темного стекла) и пластиковая для хранения проб и растворов реактивов вместимостью: 0,1; 0,5 и 1,0 дм3.
4.1.20 Шкаф сушильный общелабораторного назначения.
4.1.21 Колбонагреватель любого типа или электроплитка с закрытой спиралью по
ГОСТ 14919.
4.1.22 Холодильник бытовой.
Примечание - Допускается использование других типов средств измерений, посуды и вспомогательного оборудования, в том числе импортных, с характеристиками не хуже, чем у приведенных в
4.1.
4.2.1 Фенол по
[1], ч.д.а. (при отсутствии ГСО).
4.2.3 Натрия гидроокись (гидроксид натрия) по
ГОСТ 4328, ч.д.а.
4.2.4 Аммоний хлористый (хлорид аммония) по
ГОСТ 3773, ч.д.а.
4.2.5 Аммиак водный, концентрированный по
ГОСТ 3760, ч.д.а.
4.2.6 Калий железосинеродистый (гексацианоферрат (III) калия) по
ГОСТ 4206, ч.д.а или аммоний надсернокислый (персульфат аммония) по
ГОСТ 20478, ч.д.а.
4.2.7 4-Аминоантипирин по
[2], ч.д.а.
4.2.10 Медь (II) сернокислая 5-водная (сульфат меди) по
ГОСТ 4165, ч.д.а.
4.2.11 Натрий сернокислый, безводный (натрия сульфат) по
ГОСТ 4166, ч.д.а.
4.2.12 Железо (II) сернокислое 7-водное (сульфат железа (II)) по
ГОСТ 4148, ч.д.а.
4.2.13 Спирт этиловый технический гидролизный ректификованный по
ГОСТ Р 55878, любого сорта.
4.2.16 Фильтры бумажные обеззоленные "белая лента" по
[3].
4.2.17 Универсальная индикаторная бумага (pH от 0 до 12) по
[4].
4.2.18 Вата медицинская гигроскопическая по
ГОСТ 5556.
4.2.19 Трубки электроизоляционные из фторопласта 4Д по
ГОСТ 22056.
4.2.20 Пленка тефлоновая или полиэтиленовая любого типа.
4.2.21 Стеклоткань или асбестовое полотно любого типа.
Примечание - Допускается использование реактивов и материалов, изготовленных по другой нормативно-технической документации, в том числе импортных, с квалификацией и характеристиками, не ниже указанных в
4.2.
4.3 Дополнительное оборудование для регенерации хлороформа
4.3.1 Установка для перегонки растворителей из стекла группы ТС (круглодонная колба типа К исполнения 1 с взаимозаменяемым конусом 29/32, вместимостью 1000 см
3, дефлегматор длиной 350 мм с взаимозаменяемыми конусами 19/26 и 29/32, насадка типа Н1 с взаимозаменяемыми конусами 19/26-14/23-14/23, холодильник типа ХПТ исполнения 1, длиной не менее 400 мм, алонж типа АИ с взаимозаменяемым конусом муфты 14/23) по
ГОСТ 25336, термометр лабораторный ТЛ-50 с взаимозаменяемым конусом КШ 14/23 длиной нижней части термометра 50 мм и диапазоном измерения температур от 0 °C до 150 °C, цена деления шкалы - 0,5 °C по
[5].
4.3.2 Воронка делительная типа ВД исполнения 3 по
ГОСТ 25336, вместимостью 1000 см
3.
4.4 Дополнительное оборудование для приготовления аттестованных растворов фенола
4.4.1 Термометр лабораторный по
ГОСТ 29224 с взаимозаменяемым конусом КШ 19/26 с диапазоном измерения температур до 200 °C и ценой деления не более 1 °C.
4.4.2 Колба круглодонная для перегонки типа КП, исполнения 1 с взаимозаменяемым конусом 19/26, ТХС по
ГОСТ 25336 вместимостью 50 см
3.
4.4.3 Пробирки типа П1 по
ГОСТ 25336, диаметром 12 мм, высотой 60 мм с резиновыми пробками диаметром 12,5 мм - 4 шт.
Примечание - Допускается использование оборудования, изготовленного по другой нормативно-технической документации, в том числе импортного, с характеристиками, не ниже указанных в
4.3 и
4.4.
Определение суммарной массовой концентрации летучих фенолов основано на их отгонке с водяным паром из подкисленной пробы воды и последующем взаимодействии с 4-аминоантипирином в присутствии окислителя (гексацианоферрата (III) калия или персульфата аммония). Окрашенное соединение экстрагируют хлороформом. Максимум оптической плотности экстракта полученного окрашенного комплекса наблюдается при 460 нм.
6 Требования безопасности, охраны окружающей среды
6.1 При выполнении измерений суммарной массовой концентрации летучих фенолов в пробах природных и очищенных сточных вод соблюдают требования безопасности, установленные в национальных стандартах и соответствующих нормативных документах.
6.2 По степени воздействия на организм вредные вещества, используемые при выполнении измерений, относятся ко 2-му и 3-му классам опасности по
ГОСТ 12.1.007.
6.3 Содержание используемых вредных веществ в воздухе рабочей зоны не должно превышать установленных предельно допустимых концентраций в соответствии с
ГОСТ 12.1.005.
6.4 Вредно действующее вещество (хлороформ) подлежит сбору и регенерации или утилизации в соответствии с установленными правилами.
6.5 Работу с кристаллическим фенолом проводят в вытяжном шкафу с использованием средств индивидуальной защиты - очков, резиновых перчаток и фартука. При попадании фенола на кожу его немедленно снимают ватным тампоном, обильно смоченным этиловым спиртом, затем тщательно промывают водой с мылом.
6.6 Оператор, использующий фенол кристаллический для приготовления градуировочного раствора, должен быть проинструктирован о специфических мерах предосторожности.
7 Требования к квалификации операторов
К выполнению измерений и обработке их результатов допускают лиц с высшим или средним профессиональным образованием, имеющих стаж работы в лаборатории не менее 1 года и освоивших методику.
8 Требования к условиям измерений
При выполнении измерений соблюдают следующие условия:
- температура окружающего воздуха, °C ..................... 22 +/- 5;
- атмосферное давление, кПа (мм рт. ст.) ............ от 84,0 до 106,7
(от 630 до 800);
- влажность воздуха при температуре 25 °C, %, не более ........... 80.
9 Подготовка к выполнению измерений
9.1 Отбор и хранение проб
9.1.1 Отбор проб для определения суммарной массовой концентрации летучих фенолов производят в соответствии с
ГОСТ 17.1.5.05 и
ГОСТ Р 59024. Оборудование для отбора проб должно соответствовать
ГОСТ 17.1.5.04 и
ГОСТ Р 59024. Пробы отбирают только в стеклянную посуду с завинчивающимися пробками. Объем отбираемой пробы не менее 1 дм
3.
9.1.2 Анализ проб выполняют не позднее 4 ч с момента отбора пробы. Если это невозможно, пробы хранят не более 1 сут в холодильнике при температуре не выше 5 °C.
9.2 Приготовление растворов
9.2.1 Аммонийно-аммиачный буферный раствор с pH (10,1 +/- 0,1)
В стакане вместимостью 600 см3 растворяют 50 г хлорида аммония в 50 см3 дистиллированной воды, добавляют 350 см3 концентрированного раствора аммиака и перемешивают. Проверяют значение pH раствора с помощью pH-метра. Буферный раствор должен иметь pH (10,1 +/- 0,1), в противном случае требуемое значение pH устанавливают добавлением раствора аммиака (при pH менее 10,0), либо хлорида аммония или соляной кислоты (при pH более 10,2). На следующий день необходимо опять провести контроль pH и, при необходимости, довести его до нужного значения. Контроль следует осуществлять каждые 7 сут. Срок хранения раствора при комнатной температуре в герметично закрытой пластиковой посуде не ограничен.
9.2.2 Раствор 4-аминоантипирина, 2%-ный
В стакане вместимостью 50 см3 растворяют 0,5 г 4-аминоантипирина в 25 см3 дистиллированной воды, фильтруют через бумажный фильтр "белая лента" и переносят в посуду из темного стекла. Раствор хранят в холодильнике в течение 7 сут, при комнатной температуре в темном месте не более 3 сут. Изменение окраски раствора является признаком его непригодности.
Для приготовления раствора можно использовать реактив, имеющий бледно-желтую или кремовую окраску (почти бесцветный).
Если реактив имеет темно-желтую или бурую окраску, следует провести его очистку. Для этого в стакан вместимостью 50 см3 помещают реактив (не более 1/4 по высоте), приливают 30 см3 толуола и хорошо перемешивают. Дают отстояться, сливают толуол и, при необходимости, повторяют промывание до тех пор, пока реактив не приобретет бледно-желтую (кремовую) окраску. После окончательного удаления толуола сушат реактив в вытяжном шкафу, периодически перемешивая, до полного удаления толуола. Очищенный реактив хранят в холодильнике в плотно закрытой темной склянке.
9.2.3 Раствор окислителя
9.2.3.1 Раствор гексацианоферрата (III) калия, 8%-ный
В стакане вместимостью 50 см3 растворяют 2 г гексацианоферрата (III) калия в 25 см3 дистиллированной воды, фильтруют через бумажный фильтр "белая лента", переносят в склянку из темного стекла. Раствор хранят в холодильнике не более 7 сут, при комнатной температуре в темном месте не более 3 сут.
9.2.3.2 Раствор персульфата аммония, 20%-ный
В стакане вместимостью 100 см3 растворяют 10 г персульфата аммония в 40 см3 дистиллированной воды. Полученный раствор нейтрализуют, добавляя от 1,5 до 2 см3 концентрированного раствора аммиака, до нейтрального значения показателя кислотности (около 7 ед. pH) по универсальной индикаторной бумаге. Раствор хранят в темной склянке в холодильнике не более 10 сут.
9.2.4 Раствор серной кислоты, 10%-ный
В термостойком стакане вместимостью 600 см3 к 450 см3 дистиллированной воды осторожно при непрерывном перемешивании приливают 28 см3 концентрированной серной кислоты. Раствор охлаждают и переносят в склянку. Срок хранения раствора в плотно закрытой склянке не ограничен.
9.2.5 Раствор сульфата меди, 10%-ный
В стакане вместимостью 600 см3 растворяют 50 г сульфата меди в 450 см3 дистиллированной воды. Срок хранения раствора в плотно закрытой склянке не ограничен.
9.2.6 Раствор гидроксида натрия, 0,05 моль/дм3
В термостойком стакане вместимостью 1000 см3 растворяют 2 г гидроксида натрия в 1 дм3 дистиллированной воды. Срок хранения раствора в плотно закрытой пластиковой посуде не ограничен.
9.2.7 Проверка и очистка хлороформа
Чистоту хлороформа оценивают по значению холостого опыта. Если при использовании очищенного 4-аминоантипирина и подготовленной по
9.3 дистиллированной воды оптическая плотность холостого опыта превышает 0,1 при 460 нм или 0,05 при 490 нм, хлороформ следует очистить в соответствии с
приложением А; в противном случае хлороформ допускается использовать без дополнительной очистки.
9.3 Подготовка дистиллированной воды для приготовления градуировочных растворов фенола
Дистиллированную воду для приготовления градуировочных растворов фенола и выполнения холостого опыта кипятят в конической колбе вместимостью 2000 см3 в течение 30 мин, охлаждают под проточной водой до комнатной температуры. Допускается хранение кипяченой дистиллированной воды не более 1 сут в склянке с притертой пробкой.
Примечание - Допускается проводить обработку дистиллированной воды с использованием систем получения воды для лабораторного анализа степени чистоты 1 или 2 по
ГОСТ Р 52501 с использованием УФ-облучения любого типа в соответствии с инструкцией по их эксплуатации.
9.4 Приготовление градуировочных растворов
9.4.1 Приготовление градуировочных растворов из ГСО
9.4.1.1 Для установления градуировочной зависимости при измерении суммарной массовой концентрации летучих фенолов используют раствор фенола в этаноле. Градуировочные растворы готовят из ГСО с массовой концентрацией фенола 1,00 мг/см3.
9.4.1.2 Для приготовления градуировочного раствора N 1 вскрывают ампулу ГСО и ее содержимое переносят в сухую пробирку. С помощью сухой пипетки с одной отметкой отбирают 5,0 см3 образца и переносят в мерную колбу вместимостью 50 см3, доводят объем раствора до метки на колбе этиловым спиртом и перемешивают. Массовая концентрация фенола в полученном растворе составляет 100 мкг/см3.
Градуировочный раствор хранят в плотно закрытой склянке в холодильнике не более 1 мес.
9.4.1.3 Для приготовления градуировочного раствора N 2 пипеткой с одной отметкой отбирают 5,0 см
3 градуировочного раствора N 1, помещают его в мерную колбу вместимостью 200 см
3, доводят объем раствора до метки на колбе дистиллированной водой и перемешивают. Массовая концентрация фенола в полученном растворе составляет 2,50 мкг/см
3.
Градуировочный раствор N 2 хранению не подлежит.
9.4.2 Приготовление градуировочных растворов из аттестованных растворов
При отсутствии ГСО допускается в качестве градуировочных растворов использовать аттестованные растворы фенола, приготовленные из фенола кристаллического. Методика приготовления аттестованных растворов приведена в
приложении Б.
9.5 Установление градуировочной зависимости
Для приготовления градуировочных образцов в делительные воронки вместимостью 1000 см
3 помещают по 500 см
3 подготовленной по
9.3 дистиллированной воды, отмеренной мерным цилиндром вместимостью 500 см
3, градуированными пипетками вместимостью 1, 2 и 5 см
3 приливают 0; 0,4; 1,0; 2,0; 3,0; 4,0; 5,0; 6,0 см
3 градуировочного раствора N 2. Массовая концентрация фенола в градуировочных образцах составит соответственно 0; 2,00; 5,00; 10,0; 15,0; 20,0; 25,0; 30,0 мкг/дм
3. Далее выполняют измерения согласно
10.2.
Одновременно с градуировочными образцами анализируют холостую пробу, используя для этого 500 см
3 дистиллированной воды, подготовленной по
9.3.
Измеряют оптическую плотность холостой пробы и вычитают ее из оптической плотности градуировочных образцов.
Градуировочную зависимость оптической плотности от массовой концентрации фенола рассчитывают методом наименьших квадратов.
Градуировочную зависимость устанавливают при приготовлении нового буферного раствора или замене измерительного прибора.
9.6 Контроль стабильности градуировочной характеристики
9.6.1 Контроль стабильности градуировочной характеристики проводят при использовании новых партий хлороформа, 4-аминоантипирина, гексацианоферрата (III) калия или персульфата аммония, но не реже 1 раза в квартал. Средствами контроля являются образцы, используемые для установления градуировочной зависимости по
9.5 (не менее трех образцов).
Градуировочная характеристика считается стабильной при выполнении следующего условия для всех используемых для контроля градуировочных образцов

(1)
где Xг - результат контрольного измерения массовой концентрации фенола в градуировочном образце, мкг/дм3;
Cг - приписанное значение массовой концентрации фенола в градуировочном образце, мкг/дм3;

- показатель воспроизводимости для концентрации
Cг, мкг/дм
3, в соответствии с
таблицей 2.
Если
условие стабильности (1) не выполняется для одного градуировочного образца, необходимо выполнить повторное измерение этого образца для исключения результата, содержащего грубую погрешность. При повторном невыполнении условия выясняют причины нестабильности, устраняют их и повторяют измерение с использованием других образцов, предусмотренных методикой. Если градуировочный образец вновь не будет удовлетворять
условию (1), устанавливают новую градуировочную зависимость.
9.6.2 При выполнении
условия (1) учитывают знак разности между измеренными и приписанными значениями массовой концентрации фенола в градуировочных образцах. Эта разность должна иметь как положительное, так и отрицательное значение, если же все значения имеют один знак, это говорит о наличии систематического отклонения. В таком случае требуется установить новую градуировочную зависимость.
10 Порядок выполнения измерений
10.1 Мерным цилиндром вместимостью 500 см
3 отбирают 500 см
3 анализируемой пробы воды и помещают в круглодонную колбу вместимостью 1000 см
3 установки для отгонки летучих фенолов по
4.1.16. Добавляют градуированными пипетками 5 см
3 10%-ного раствора сульфата меди и 10 см
3 10%-ного раствора серной кислоты. Колбу помещают в колбонагреватель или на электроплитку. Собирают остальные элементы установки для отгонки летучих фенолов.
Для сокращения возможного разбрызгивания отгоняемой пробы воды к выходной трубке алонжа рекомендуется присоединить трубку из фторопласта. На плоскодонной или конической колбе вместимостью 500 см3 для сбора отгоняемой пробы предварительно делают отметку на уровне жидкости, который примерно соответствует 460 см3. Градуированной пипеткой вносят 10 см3 раствора гидроксида натрия, 0,05 моль/дм3. Для получения минимальных потерь при отгонке летучих фенолов рекомендуется трубку из фторопласта, присоединенную к выходной трубке алонжа, погружать непосредственно в раствор щелочи.
Мощность нагрева колбы подбирают таким образом, чтобы кипение пробы воды было интенсивным, но без переброса жидкости за счет обильного вспенивания. Для теплоизоляции может быть использована стеклоткань или алюминиевая фольга. Кипение пробы должно быть равномерным, для чего в колбу добавляют кипятильные камешки. Оптимальная длительность отгонки должна составлять не более 2 ч.
По мере увеличения объема отгоняемой пробы воды колбу опускают так, чтобы трубка алонжа была погружена в отгон не более чем на 3 см. Отгонку прекращают при достижении требуемого объема отгона в колбе. Отключают нагрев пробы и оставляют для охлаждения не менее 20 мин.
10.2 Отгон переносят в делительную воронку вместимостью 1000 см
3. Колбу, в которую проводился отгон пробы, ополаскивают дважды по 20 см
3 дистиллированной воды, подготовленной по
9.3, и переносят ее в ту же воронку. Далее градуированными пипетками приливают 10 см
3 буферного раствора и по 3 см
3 растворов 4-аминоантипирина и гексацианоферрата (III) калия или персульфата аммония, перемешивая пробу после добавления каждого раствора, и оставляют на 15 мин.
Далее дважды экстрагируют окрашенную пробу хлороформом. Для этого мерным цилиндром добавляют в делительную воронку 20 см3 хлороформа, закрывают воронку пробкой, встряхивают и несколько раз выпускают избыточные пары растворителя, открывая кран или пробку. Первое экстрагирование осуществляют энергичным встряхиванием в течение 2 мин. После экстрагирования делительную воронку оставляют в штативе до полного расслоения смеси не менее чем на 15 мин.
После расслоения фаз хлороформный экстракт фильтруют через слой ваты, предварительно смоченный хлороформом, в градуированную пробирку вместимостью 25 см3. Затем повторно экстрагируют пробу в течение 1 мин в делительной воронке, используя 10 см3 хлороформа. Полученный хлороформный экстракт также фильтруют через слой ваты в ту же градуированную пробирку. Объем экстракта доводят до 25 см3 чистым хлороформом, одновременно промывая вату, через которую фильтровали экстракт.
При образовании стойкой эмульсии при экстракции хлороформом допускается увеличить время ожидания расслоения жидкостей.
10.3 Одновременно с серией проб воды проводят анализ и холостой пробы, используя для этого 500 см
3 дистиллированной воды, подготовленной по
9.3.
10.4 Оптическую плотность экстрактов измеряют на спектрофотометрах или фотометрах с непрерывной разверткой спектра при длине волны 460 нм (на фотометрах, снабженных светофильтрами - при длине волны от 460 до 490 нм) в кювете с толщиной поглощающего слоя 5 см относительно хлороформа. Оптическую плотность холостой пробы вычитают из оптической плотности анализируемой пробы воды.
10.5 Мешающее влияние на измерение суммарной массовой концентрации летучих фенолов могут оказать высокие концентрации интенсивно окрашенных соединений кислотного характера, а также сильных восстановителей (например, сульфитов), способных отгоняться с паром. Первые могут привести к завышению результатов измерений, вторые - к занижению. Если в пробе присутствует активный хлор, сразу после отбора пробы его восстанавливают, добавляя сульфат железа (II). Присутствие высоких концентраций указанных веществ в природных водах маловероятно, но при анализе очищенных сточных вод возможность мешающего влияния следует учитывать. Мешающее влияние других веществ устраняется в процессе отгонки.
Примечание - Хлороформные экстракты после выполнения измерений, а также другие сливы хлороформа собирают в отдельную склянку с надписью "Слив хлороформа", а затем регенерируют в соответствии с методикой, приведенной в
приложении А, или утилизируют согласно установленным правилам.
11 Обработка результатов измерений
11.1 Рассчитывают оптическую плотность Ax, соответствующую суммарной массовой концентрации летучих фенолов в анализируемой пробе воды
Ax = A - A1, (2)
где A - значение оптической плотности анализируемой пробы воды;
A1 - значение оптической плотности холостой пробы.
11.2 Суммарную массовую концентрацию летучих фенолов в анализируемой пробе воды X, мкг/дм3, вычисляют по градуировочной зависимости согласно рассчитанному значению Ax.
12 Оформление результатов измерений
12.1 Результат измерения в документах, предусматривающих его использование, представляют в виде

, мкг/дм
3 (
P = 0,95), (3)
где

- границы абсолютной погрешности результатов измерений для данной суммарной массовой концентрации летучих фенолов, мкг/дм
3, в соответствии с
таблицей 2.
Абсолютные погрешности результатов измерений представляют числом, содержащим не более двух значащих цифр. Наименьшие разряды числовых значений результатов измерений принимают такими же, как и наименьшие разряды числовых значений абсолютных погрешностей результатов измерений.
12.2 Допустимо представлять результат в виде

(
P = 0,95) при условии

, (4)
где

- границы абсолютной погрешности результатов измерений, установленные при реализации методики в лаборатории и обеспечиваемые контролем стабильности результатов измерений, мкг/дм
3.
Примечание - Допустимо абсолютную погрешность результатов измерений при внедрении методики в лаборатории устанавливать на основе выражения

с последующим уточнением по мере накопления информации в процессе контроля стабильности результатов измерений.
12.3 Результаты измерения оформляют протоколом или записью в журнале по формам, приведенным в Руководстве по качеству лаборатории.
13 Контроль качества результатов измерений при реализации методики в лаборатории
13.1.1 Контроль качества результатов измерений при реализации методики в лаборатории предусматривает:
- оперативный контроль процедуры измерений на основе оценки повторяемости результатов измерений и погрешности с применением образцов для контроля при реализации контрольной процедуры;
- контроль стабильности результатов измерений в форме периодической проверки подконтрольности процедуры выполнения анализа на основе статистических оценок характеристик систематической погрешности и внутрилабораторной прецизионности.
13.1.2 Периодичность оперативного контроля, реализуемые процедуры контроля стабильности результатов измерений регламентируются в Руководстве по качеству лаборатории.
13.2 Алгоритм оперативного контроля повторяемости
13.2.1 Оперативный контроль повторяемости осуществляют для одного результата измерений в каждой серии проб, полученных в соответствии с методикой. Для этого отобранную пробу воды делят на две части и выполняют измерение в соответствии с
разделом 10.
13.2.2 Результат контрольной процедуры rк, мкг/дм3, рассчитывают по формуле
rк = |X1 - X2|, (5)
где X1, X2 - результаты измерений суммарной массовой концентрации летучих фенолов в пробе, мкг/дм3.
13.2.3 Предел повторяемости rп, мкг/дм3, рассчитывают по формуле

(6)
где

- показатель повторяемости для суммарной массовой концентрации летучих фенолов, равной (
X1 +
X2)/2, мкг/дм
3 (в соответствии с
таблицей 2).
13.2.4 Результат контрольной процедуры должен удовлетворять условию
13.2.5 При несоблюдении
условия (7) выполняют еще два измерения и сравнивают разницу между максимальным и минимальным результатами с нормативом контроля. В случае превышения предела повторяемости поступают в соответствии с ГОСТ Р ИСО 5725-6-2002
(раздел 5).
13.3 Алгоритм контроля процедуры выполнения измерений с использованием образцов для контроля
13.3.1 В качестве образцов для контроля используют аттестованные растворы фенола, методика приготовления которых приведена в
приложении В. Для выполнения оперативного контроля следует выбирать образцы, в которых массовая концентрация фенола наиболее близка к суммарной массовой концентрации летучих фенолов в анализируемых пробах.
13.3.2 Оперативный контроль исполнителем процедуры выполнения измерений проводят путем сравнения результатов отдельно взятой контрольной процедуры Кк с нормативом контроля К.
13.3.3 Результат контрольной процедуры Кк, мкг/дм3, рассчитывают по формуле
КК = X - C, (8)
где X - результат контрольного измерения массовой концентрации фенола в образце для контроля, мкг/дм3;
C - значение массовой концентрации фенола в образце для контроля, мкг/дм3.
13.3.4 Норматив контроля погрешности К, мкг/дм3, рассчитывают по формуле

(9)
где

- значение абсолютной погрешности результатов измерений, установленное при реализации методики в лаборатории, соответствующие массовой концентрации фенола в образце для контроля, мкг/дм
3.
Примечание - Допустимо для расчета норматива контроля использовать значения абсолютной погрешности, полученные расчетным путем по формуле

, где

- приписанное методике значение абсолютной погрешности, соответствующее массовой концентрации фенола в образце для контроля, мкг/дм
3.
13.3.5 Если результат контрольной процедуры удовлетворяет условию
процедуру признают удовлетворительной.
13.3.6 При невыполнении
условия (10) контрольную процедуру повторяют. При повторном невыполнении
условия (10) выясняют причины, приводящие к неудовлетворительным результатам, и принимают меры по их устранению.
Примечание - Причинами неудовлетворительных результатов обычно являются потери летучих фенолов, в том числе за счет окисления (особенно при низких концентрациях фенолов). В данном случае рекомендуется проверить степень отгонки фенола и учитывать ее при вычислении результатов. В оптимальных условиях отгоняться должно не менее 80%.
14 Проверка приемлемости результатов, полученных в условиях воспроизводимости
14.1 Расхождение между результатами измерений, полученными в двух лабораториях, не должно превышать предела воспроизводимости R. При выполнении этого условия приемлемы оба результата измерений и в качестве окончательного может быть использовано их общее среднее значение. Значение предела воспроизводимости R, мкг/дм3, рассчитывают по формуле

(11)
где

- показатель воспроизводимости, мкг/дм
3, в соответствии с
таблицей 2.
14.2 При превышении предела воспроизводимости могут быть использованы методы оценки приемлемости результатов измерений согласно ГОСТ Р ИСО 5725-6-2002
(раздел 5) или
МИ 2881.
14.3 Проверка приемлемости проводится при необходимости сравнения результатов измерений, полученных двумя лабораториями.
(рекомендуемое)
А.1 Дополнительное оборудование
А.1.1 Установка для перегонки растворителей из стекла группы ТС (круглодонная колба типа К исполнения 1 с взаимозаменяемым конусом 29/32, вместимостью 1000 см
3, дефлегматор длиной 350 мм с взаимозаменяемыми конусами 19/26 и 29/32, насадка типа Н1 с взаимозаменяемыми конусами 19/26-14/23-14/23, холодильник типа ХПТ исполнения 1, длиной не менее 400 мм, алонж типа АИ с взаимозаменяемым конусом муфты 14/23) по
ГОСТ 25336, термометр лабораторный ТЛ-50 с взаимозаменяемым конусом КШ 14/23 длиной нижней части термометра 50 мм и диапазоном измерения температур от 0 °C до 150 °C, цена деления шкалы - 0,5 °C по
[5].
А.1.2 Воронка делительная типа ВД исполнения 3 по
ГОСТ 25336 вместимостью 1000 см
3.
А.2 Регенерация хлороформа
А.2.1 Хлороформные экстракты после окончания анализа собирают в отдельную темную склянку с небольшим количеством дистиллированной воды и затем регенерируют. Для этого слив хлороформа объемом от 250 до 300 см3 помещают в делительную воронку, добавляют равный объем дистиллированной воды и встряхивают воронку 2 мин. После отстаивания хлороформ фильтруют через слой ваты или через три неплотных бумажных фильтра "белая лента" в круглодонную колбу для перегонки.
А.2.2 Соединяют компоненты установки для перегонки. Нагревают колбу на электроплитке с закрытой спиралью и перегоняют хлороформ в стеклянную посуду, отбирая фракцию, кипящую при температуре от 60,5 °C до 62 °C. Первую порцию отгона, кипящую ниже 60,5 °C, возвращают в слив, а остаток после отгонки утилизируют в соответствии с установленными правилами. При необходимости повторяют перегонку еще раз, при этом первую порцию отгона и остаток после отгонки возвращают в слив.
(рекомендуемое)
ПРИГОТОВЛЕНИЯ АТТЕСТОВАННЫХ РАСТВОРОВ ФЕНОЛА АР1-Ф, АР2-Ф,
АР3-Ф ДЛЯ УСТАНОВЛЕНИЯ ГРАДУИРОВОЧНОЙ ХАРАКТЕРИСТИКИ
ПРИБОРОВ И КОНТРОЛЯ ТОЧНОСТИ РЕЗУЛЬТАТОВ ИЗМЕРЕНИЙ
СУММАРНОЙ МАССОВОЙ КОНЦЕНТРАЦИИ ЛЕТУЧИХ ФЕНОЛОВ
ЭКСТРАКЦИОННО-ФОТОМЕТРИЧЕСКИМ МЕТОДОМ
С 4-АМИНОАНТИПИРИНОМ ПОСЛЕ ОТГОНКИ С ВОДЯНЫМ ПАРОМ
Б.1 Назначение и область применения
Настоящая методика регламентирует процедуру приготовления аттестованных растворов фенола, предназначенных для установления градуировочной характеристики приборов и контроля точности результатов измерений суммарной массовой концентрации летучих фенолов в природных и очищенных сточных водах экстракционно-фотометрическим методом с 4-аминоантипирином после отгонки с водяным паром.
Б.2 Метрологические характеристики
Метрологические характеристики аттестованных растворов приведены в
таблице Б.1.
Таблица Б.1
Метрологические характеристики аттестованных растворов
Наименование характеристики | Значение характеристики для аттестованного раствора |
АР1-Ф | АР2-Ф | АР3-Ф |
Аттестованное значение массовой концентрации фенола | 1,00 мг/см3 | 100 мкг/см3 | 2,50 мкг/см3 |
Границы погрешности аттестованного значения массовой концентрации фенола (P = 0,95) | +/- 0,02 мг/см3 | +/- 2 мкг/см3 | +/- 0,05 мкг/см3 |
Б.3 Средства измерений, вспомогательные устройства
Б.3.1 Весы неавтоматического действия (лабораторные) специального (I) класса точности по
ГОСТ Р 53228 или
ГОСТ OIML R 76-1, действительная цена деления (шкалы) 0,0001 г.
Б.3.2 Термометр лабораторный по
ГОСТ 29224 с взаимозаменяемым конусом КШ 19/26 с диапазоном измерения температур до 200 °C и ценой деления не более 1 °C.
Б.3.3 Колбы мерные
2-го класса точности, исполнения 2, 2а по
ГОСТ 1770, вместимостью: 50 см
3 - 1 шт., 100 см
3 - 2 шт.
Б.3.4 Пипетки с одной отметкой 2-го класса точности, исполнения 2 по
ГОСТ 29169 вместимостью 5 см
3 - 2 шт.
Б.3.5 Пипетка градуированная 2-го класса точности, типа 1, исполнения 3 по
ГОСТ 29227 вместимостью 5 см
3.
Б.3.6 Стакан В-1, ТХС по
ГОСТ 25336, вместимостью 600 см
3.
Б.3.7 Стаканчик для взвешивания СВ-19/9 по
ГОСТ 25336.
Б.3.8 Воронка лабораторная типа В по
ГОСТ 25336 диаметром 56 мм.
Б.3.9 Колба круглодонная для перегонки типа КП, исполнения 1 с взаимозаменяемым конусом 19/26, ТХС по
ГОСТ 25336 вместимостью 50 см
3.
Б.3.10 Пробирки типа П1 по
ГОСТ 25336, диаметром 12 мм, высотой 60 мм с резиновыми пробками диаметром 12,5 мм - 4 шт.
Б.3.11 Палочка стеклянная.
Б.3.12 Склянки для хранения аттестованных растворов вместимостью 50 см3 и 100 см3 с завинчивающейся пробкой и плотным полиэтиленовым вкладышем или склянки с притертыми стеклянными пробками той же вместимости.
Б.4 Исходные компоненты аттестованных растворов
Б.4.1 Фенол по
[1], ч.д.а., с массовой долей основного вещества не менее 99,5%.
Б.4.2 Спирт этиловый технический гидролизный ректификованный по
ГОСТ Р 55878, любого сорта.
Примечание - Допускается использование стандартного образца состава фенола ГСО 7101-94 с относительной погрешностью аттестованного значения 0,20%, представляющий собой индивидуальное вещество - фенол высокой степени чистоты, расфасованный в запаянные стеклянные ампулы.
Б.5 Процедура приготовления аттестованных растворов фенола
Б.5.1 Очистка кристаллического фенола перегонкой
Для приготовления аттестованных растворов допускается использовать препарат фенола бесцветный или со слабо заметным розоватым оттенком (с массовой долей основного вещества не менее 98%), при более интенсивной окраске фенол следует перегонять.
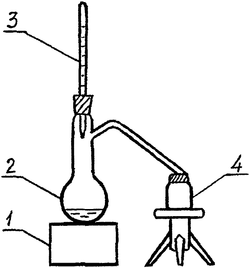
Установка для перегонки фенола изображена на
рисунке Б.1.
1 - электроплитка; 2 - колба для перегонки;
3 - термометр; 4 - пробирка
Рисунок Б.1 - Схема установки для очистки фенола перегонкой
Для уменьшения теплообмена колбу для перегонки обматывают стеклотканью. В колбу помещают небольшое количество фенола (не более 10 г). Для удобства переноса фенола в колбу склянку с фенолом следует подогреть в теплой воде (около 45 °C). При этом фенол начинает плавиться и нужное количество жидкого препарата переливают в колбу. Колбу нагревают. Первые три капли отгона отбрасывают, а следующие порции фенола собирают в пробирки. Пробирки плотно закрывают резиновыми пробками, обернутыми двойным слоем тонкой тефлоновой или полиэтиленовой пленки, помещают в двойной полиэтиленовый пакет и хранят в холодильнике до появления розовой окраски фенола. Срок хранения не более 1 года.
Контроль температуры при перегонке фенола необязателен, однако для удобства можно вместо хорошо притертой пробки закрыть колбу термометром со взаимозаменяемым конусом 19/26 с соответствующим диапазоном температур. Температура кипения фенола 182 °C.
Б.5.2 Приготовление аттестованного раствора АР1-Ф
Пробирку с кристаллическим фенолом нагревают в теплой (около 45 °C) воде до расплавления. С помощью стеклянной палочки переносят по каплям расплавленный фенол в стаканчик для взвешивания СВ-19/9 и взвешивают 0,1000 г фенола с точностью до четвертого знака после запятой. В стаканчик приливают пипеткой 5 см3 этилового спирта и перемешивают чистой палочкой до растворения фенола. Количественно (по палочке) через воронку переносят раствор фенола в мерную колбу вместимостью 100 см3, два раза ополаскивают стаканчик, палочку и воронку этиловым спиртом, доводят объем раствора до метки на колбе этиловым спиртом и перемешивают. Полученному раствору приписывают массовую концентрацию фенола 1,00 мг/см3.
При отборе навески фенола, отличной от значения 0,1000 г, концентрации и погрешности аттестованных растворов рассчитывают по
Б.6.
Б.5.3 Приготовление аттестованного раствора АР2-Ф
Отбирают пипеткой с одной отметкой 5,0 см3 раствора АР1-Ф и переносят его в мерную колбу вместимостью 50 см3, доводят объем раствора до метки на колбе этиловым спиртом и перемешивают. Полученному раствору приписывают массовую концентрацию фенола 100 мкг/см3.
Б.5.4 Приготовление аттестованного раствора АР3-Ф
Отбирают пипеткой с одной отметкой 5,0 см3 раствора АР2-Ф и переносят его в мерную колбу вместимостью 200 см3, доводят объем раствора до метки на колбе дистиллированной водой и перемешивают. Полученному раствору приписывают массовую концентрацию фенола 2,50 мкг/см3.
Б.6 Расчет метрологических характеристик аттестованных растворов
Б.6.1 Расчет метрологических характеристик аттестованного раствора АР1-Ф
Б.6.1.1 Аттестованное значение массовой концентрации фенола в растворе АР1-Ф C1, мг/см3, рассчитывают по формуле

(Б.1)
где m - масса навески фенола, г,
V1 - вместимость мерной колбы, см3;
1000 - коэффициент перевода граммов в миллиграммы, мг/г.
Б.6.1.2 Аттестованное значение массовой концентрации фенола в растворе АР1-Ф равно
Б.6.1.3 Расчет предела возможных значений погрешности установления массовой концентрации фенола в аттестованном растворе АР1-Ф

, мг/см
3, выполняют по формуле

(Б.2)
где

- предельное значение возможного отклонения массовой доли основного вещества в реактиве от приписанного значения

, %;

- массовая доля основного вещества (фенола), приписанная реактиву квалификации "ч.д.а.", %;

- предельная возможная погрешность взвешивания, г;

- предельное значение возможного отклонения вместимости мерной колбы от номинального значения, см
3.
Б.6.1.4 Погрешность установления массовой концентрации фенола в аттестованном растворе АР1-Ф равна
Б.6.2 Расчет метрологических характеристик аттестованного раствора АР2-Ф
Б.6.2.1 Аттестованное значение массовой концентрации фенола в растворе АР2-Ф C2, мкг/см3, рассчитывают по формуле

(Б.3)
где V2 - объем раствора АР1-Ф, отбираемый пипеткой, см3;
V3 - вместимость мерной колбы, см3;
1000 - коэффициент перевода миллиграммов в микрограммы, мкг/мг.
Б.6.2.2 Аттестованное значение массовой концентрации фенола в растворе АР2-Ф равно
Б.6.2.3 Расчет предела возможных значений погрешности установления массовой концентрации фенола в аттестованном растворе АР2-Ф

, мкг/см
3, выполняют по формуле

(Б.4)
где

- предельное значение возможного отклонения объема
V2 от номинального значения, см
3;

- предельное значение возможного отклонения вместимости мерной колбы от номинального значения, см
3.
Б.6.2.4 Погрешность установления массовой концентрации фенола в аттестованном растворе АР2-Ф равна
Б.6.3 Расчет метрологических характеристик аттестованного раствора АР3-Ф
Б.6.3.1 Аттестованное значение массовой концентрации фенола в растворе АР3-Ф C3, мкг/см3, рассчитывают по формуле

(Б.5)
где V4 - объем раствора АР2-Ф, отбираемый пипеткой, см3;
V5 - вместимость мерной колбы, см3.
Б.6.3.2 Аттестованное значение массовой концентрации фенола в растворе АР3-Ф равно
Б.6.3.3 Расчет предела возможных значений погрешности установления массовой концентрации фенола в аттестованном растворе АР3-Ф

, мкг/см
3, выполняют по формуле

(Б.6)
где

- предельное значение возможного отклонения объема
V4 от номинального значения, см
3;

- предельное значение возможного отклонения вместимости мерной колбы от номинального значения, см
3.
Б.6.3.4 Погрешность установления массовой концентрации фенола в аттестованном растворе АР3-Ф равна
Б.7 Требования безопасности
Б.7.1 По степени воздействия на организм фенол и этиловый спирт относятся ко 2-му и 4-му классам опасности по
ГОСТ 12.1.007.
Б.7.2 Содержание используемых вредных веществ в воздухе рабочей зоны не должно превышать установленных предельно допустимых концентраций в соответствии с
ГОСТ 12.1.005.
Б.7.3 Работу с кристаллическим фенолом проводят в вытяжном шкафу с использованием средств индивидуальной защиты - очков, резиновых перчаток и фартука. При попадании фенола на кожу его немедленно удаляют ватным тампоном, обильно смоченным этиловым спиртом, затем тщательно промывают водой с мылом.
Б.7.4 Оператор, использующий фенол кристаллический для приготовления аттестованного раствора АР1-Ф, должен быть проинструктирован о специфических мерах предосторожности.
Б.8 Требования к квалификации исполнителей
Аттестованные растворы может готовить специалист с высшим или средним профессиональным образованием, прошедший специальную подготовку и имеющий стаж работы в химической лаборатории не менее 1 года.
Б.9 Требования к маркировке
На склянки с аттестованными растворами должны быть наклеены этикетки с указанием условного обозначения аттестованного раствора, массовой концентрации фенола, погрешности ее установления и даты приготовления.
Б.10 Условия хранения
Б.10.1 Аттестованный раствор АР1-Ф хранят в холодильнике в плотно закрытой склянке не более 6 мес.
Б.10.2 Аттестованный раствор АР2-Ф хранят в холодильнике в плотно закрытой склянке не более 1 мес.
Б.10.3 Аттестованный раствор АР3-Ф хранению не подлежит.
(обязательное)
ПРИГОТОВЛЕНИЯ ОБРАЗЦОВ ДЛЯ КОНТРОЛЯ ТОЧНОСТИ РЕЗУЛЬТАТОВ
ИЗМЕРЕНИЙ СУММАРНОЙ МАССОВОЙ КОНЦЕНТРАЦИИ ЛЕТУЧИХ ФЕНОЛОВ
В ВОДАХ ЭКСТРАКЦИОННО-ФОТОМЕТРИЧЕСКИМ МЕТОДОМ
С 4-АМИНОАНТИПИРИНОМ ПОСЛЕ ОТГОНКИ С ВОДЯНЫМ ПАРОМ
В.1 Назначение и область применения
Настоящая методика регламентирует процедуру приготовления образцов для контроля (ОК), предназначенных для контроля точности результатов измерений суммарной массовой концентрации летучих фенолов в природных и очищенных сточных водах экстракционно-фотометрическим методом с 4-аминоантипирином после отгонки с водяным паром.
В.2 Метрологические характеристики
Метрологические характеристики ОК приведены в
таблице В.1.
Таблица В.1
Метрологические характеристики ОК
Наименование характеристики | Значение характеристики для ОК |
N 1 | N 2 | N 3 | N 4 | N 5 |
Аттестованное значение массовой концентрации фенола, мкг/дм3 | 2,50 | 5,00 | 10,0 | 15,0 | 25,0 |
Границы погрешности аттестованного значения массовой концентрации фенола (P = 0,95), мкг/дм3 | +/- 0,06 | +/- 0,11 | +/- 0,2 | +/- 0,4 | +/- 0,5 |
В.3 Средства измерений, вспомогательные устройства
В.3.1 Колбы мерные 2-го класса точности, исполнения 2, 2а по
ГОСТ 1770, вместимостью 1000 см
3 - 2 шт.
В.3.2 Пипетки с одной отметкой 2-го класса точности, исполнения 2 по
ГОСТ 29169, вместимостью 10 см
3 - 1 шт.
В.3.3 Пипетки градуированные 2-го класса точности, типа 1, исполнения 1 по
ГОСТ 29227, вместимостью: 1 см
3 - 1 шт., 2 см
3 - 1 шт., 5 см
3 - 1 шт., 10 см
3 - 1 шт.
В.3.4 Колбы конические Кн, исполнения 2 по
ГОСТ 25336, вместимостью 2000 см
3 - 2 шт.
В.4 Исходные компоненты аттестованных растворов
В.4.1 Градуировочный (аттестованный) раствор с массовой концентрацией фенола 2,50 мкг/см
3, приготовленный из ГСО 7270-96 по
9.4.1.3 (или раствор АР3-Ф - по
Б.5.4).
В.5 Процедура приготовления ОК
В.5.1 Приготовление ОК N 1
Отбирают градуированной пипеткой вместимостью 1 см
3 1,0 см
3 раствора фенола с массовой концентрацией 2,50 мкг/см
3 и переносят его в мерную колбу вместимостью 1000 см
3, доводят объем раствора до метки на колбе дистиллированной водой, подготовленной по
9.3, и перемешивают. Полученному раствору приписывают массовую концентрацию фенола 2,50 мкг/дм
3.
В.5.2 Приготовление ОК N 2
Отбирают градуированной пипеткой вместимостью 2 см
3 2,0 см
3 раствора фенола с массовой концентрацией 2,50 мкг/см
3 и переносят его в мерную колбу вместимостью 1000 см
3, доводят объем раствора до метки на колбе дистиллированной водой, подготовленной по
9.3, и перемешивают. Полученному раствору приписывают массовую концентрацию фенола 5,00 мкг/дм
3.
В.5.3 Приготовление ОК N 3
Отбирают градуированной пипеткой вместимостью 5 см
3 4,0 см
3 раствора фенола с массовой концентрацией 2,50 мкг/см
3 и переносят его в мерную колбу вместимостью 1000 см
3, доводят объем раствора до метки на колбе дистиллированной водой, подготовленной по
9.3, и перемешивают. Полученному раствору приписывают массовую концентрацию фенола 10,0 мкг/дм
3.
В.5.4 Приготовление ОК N 4
Отбирают градуированной пипеткой вместимостью 10 см
3 6,0 см
3 раствора фенола с массовой концентрацией 2,50 мкг/см
3 и переносят его в мерную колбу вместимостью 1000 см
3, доводят объем раствора до метки на колбе дистиллированной водой, подготовленной по
9.3, и перемешивают. Полученному раствору приписывают массовую концентрацию фенола 15,0 мкг/дм
3.
В.5.5 Приготовление ОК N 5
Отбирают пипеткой с одной отметкой 10,0 см
3 раствора фенола с массовой концентрацией 2,50 мкг/см
3 и переносят его в мерную колбу вместимостью 1000 см
3, доводят объем раствора до метки на колбе дистиллированной водой, подготовленной по
9.3, и перемешивают. Полученному раствору приписывают массовую концентрацию фенола 25,0 мкг/дм
3.
В.6 Расчет метрологических характеристик ОК
В.6.1 Приписанное ОК значение массовой концентрации фенола Ci, мкг/дм3, рассчитывают по формуле

(В.1)
где
C - массовая концентрация фенола в градуировочном (аттестованном) растворе, приготовленном по
9.4.1.3 или по
Б.5.4, мкг/см
3;
Vi - объем градуировочного (аттестованного) раствора фенола, отбираемый пипеткой, см3;
Vк - вместимость мерной колбы, см3.
В.6.2 Расчет предела возможных значений погрешности приготовления
i-того ОК для контроля точности результатов измерений массовой концентрации фенола

, мкг/дм
3, выполняют по формуле

(В.2)
где

- предел возможных значений погрешности установления массовой концентрации фенола в градуировочном (аттестованном) растворе, мкг/см
3;

- предельное значение возможного отклонения объема
Vi от номинального значения, см
3;

- предельное значение возможного отклонения вместимости мерной колбы от номинального значения, см
3.
Погрешность приготовления ОК N 1 равна
Массовая концентрация фенола в ОК N 2 отличается от приписанного значения не более чем на 0,06 мкг/дм3.
Погрешность приготовления ОК N 1 равна
Массовая концентрация фенола в ОК N 2 отличается от приписанного значения не более чем на 0,11 мкг/дм3.
Погрешность приготовления ОК N 3 равна
Массовая концентрация фенола в ОК N 3 отличается от приписанного значения не более чем на 0,2 мкг/дм3.
Погрешность приготовления ОК N 4 равна
Массовая концентрация фенола в ОК N 4 отличается от приписанного значения не более чем на 0,4 мкг/дм3.
Погрешность приготовления ОК N 5 равна
Массовая концентрация фенола в ОК N 5 отличается от приписанного значения не более чем на 0,5 мкг/дм3.
В.7 Требования безопасности
При приготовлении ОК соблюдают общие требования техники безопасности в химических лабораториях.
В.8 Требования к квалификации исполнителей
ОК может готовить специалист с высшим или средним профессиональным образованием, прошедший специальную подготовку и имеющий стаж работы в химической лаборатории не менее 1 года.
В.9 Требования к маркировке
На колбу с ОК должна быть нанесена надпись с указанием номера, массовой концентрации фенола, погрешности ее установления и даты приготовления. Если ОК является шифрованным, на колбу наносят его условное обозначение, принятое в лаборатории.
В.10 Условия хранения
ОК N 1 и N 2 используют в течение 3 ч с момента приготовления, ОК N 3, N 4 и N 5 в течение рабочего дня. От момента приготовления до использования ОК хранят в темном прохладном месте в мерной колбе.
| Технические условия ТУ 2632-007-29483781-2008 | Фенол кристаллический |
| Технические условия ТУ 6-09-3948-75 | 4-Аминоантипирин |
| Технические условия ТУ 6-09-1678-95 | Фильтры обеззоленные (белая, красная, синяя ленты) |
| Технические условия ТУ 2642-054-23050963-2008 | Бумага индикаторная |
| Технические условия ТУ 25-2021.007-88 | Термометры лабораторные стеклянные с взаимозаменяемыми конусами |
Ключевые слова: суммарная массовая концентрация, летучие фенолы, природная вода, экстракционно-фотометрический метод, 4-аминоантипирин, калий железосинеродистый, аммоний надсернокислый, персульфат аммония, хлороформ, экстракция, отгонка с водяным паром |