Главная // Актуальные документы // МетодикаСПРАВКА
Источник публикации
М., 2021
Примечание к документу
Документ утратил силу в связи с изданием
Распоряжения Росавтодора от 05.05.2022 N 1414-р.
Текст документа приведен в соответствии с публикацией на сайте https://rosavtodor.gov.ru/ по состоянию на 16.04.2021.
Рекомендован к применению с 15.02.2017 (
Распоряжение Росавтодора от 15.02.2017 N 255-р).
Название документа
"ОДМ 218.3.083-2016. Отраслевой дорожный методический документ. Методические рекомендации по способам бестраншейной прокладки труб дорожных водопропускных"
(издан на основании Распоряжения Росавтодора от 15.02.2017 N 255-р)
"ОДМ 218.3.083-2016. Отраслевой дорожный методический документ. Методические рекомендации по способам бестраншейной прокладки труб дорожных водопропускных"
(издан на основании Распоряжения Росавтодора от 15.02.2017 N 255-р)
дорожного агентства
от 15 февраля 2017 г. N 255-р
ОТРАСЛЕВОЙ ДОРОЖНЫЙ МЕТОДИЧЕСКИЙ ДОКУМЕНТ
МЕТОДИЧЕСКИЕ РЕКОМЕНДАЦИИ
ПО СПОСОБАМ БЕСТРАНШЕЙНОЙ ПРОКЛАДКИ
ТРУБ ДОРОЖНЫХ ВОДОПРОПУСКНЫХ
ОДМ 218.3.083-2016
1 РАЗРАБОТАН обществом с ограниченной ответственностью "Центр Дорпроект" (ООО "ЦентрДорпроект") совместно с Московским государственным университетом путей сообщения (МИИТ).
Коллектив авторов: д-р техн. наук Э.К. Кузахметова, канд. техн. наук В.А. Шмелев, канд. техн. наук Е.Ю. Титов, канд. техн. наук Н.Ю. Кириллова, канд. техн. наук Л.Л. Заикина.
2 ВНЕСЕН Управлением строительства и эксплуатации автомобильных дорог, Управлением научно-технических исследований и информационного обеспечения Федерального дорожного агентства.
3 ИЗДАН на основании
распоряжения Федерального дорожного агентства от 15.02.2017 N 255-р.
4 ИМЕЕТ РЕКОМЕНДАТЕЛЬНЫЙ ХАРАКТЕР.
5 ВВЕДЕН ВПЕРВЫЕ.
1.1 Настоящий отраслевой дорожный методический документ (далее - методический документ) распространяется на проектирование, строительство, реконструкцию, капитальный ремонт дорожных водопропускных труб и устанавливает рекомендации по способам их бестраншейной прокладки.
1.2 Данный методический документ содержит требования к выполнению геодезических и геологических работ, технологических расчетов, применяемым материалам, изделиям и оборудованию, порядку производства работ, включая использование железобетонных, металлических труб, а также труб из полимерных и композитных материалов; к контролю и приемке работ на основе
ТР ТС 014/2011, расчетов прочности и несущей способности конструкций под нагрузками. Он направлен на безопасное выполнение работ методами шнекового бурения, микротоннелирования, щитовой проходки, продавливания, устройства водопропускных сооружений под защитой экрана из труб.
В настоящем методическом документе использованы нормативные ссылки на следующие документы:
ТР ТС 014/2011 Технический регламент Таможенного союза "Безопасность автомобильных дорог"
ГОСТ 12.0.004-2015 Система стандартов безопасности труда. Организация обучения безопасности труда. Общие положения
ГОСТ 5180-2015 Грунты. Методы лабораторного определения физических характеристик
ГОСТ 8696-74 Трубы стальные электросварные со спиральным швом общего назначения. Технические условия
ГОСТ 10704-91 Трубы стальные электросварные прямошовные. Сортамент
ГОСТ 10706-76 Трубы стальные электросварные прямошовные. Технические требования
ГОСТ 13015-2012 Изделия бетонные и железобетонные для строительства. Общие технические требования. Правила приемки, маркировки, транспортирования и хранения
ГОСТ 20295-85 Трубы стальные сварные для магистральных газонефтепроводов. Технические условия
ГОСТ 20522-2012 Грунты. Методы статистической обработки результатов испытаний
ГОСТ 21924.0-84 Плиты железобетонные для покрытий городских дорог. Технические условия
ГОСТ 24297-2013 Верификация закупленной продукции. Организация проведения и методы контроля
ГОСТ 24547-2016 Звенья железобетонные водопропускных труб под насыпями автомобильных и железных дорог. Общие технические условия
ГОСТ 32731-2014 Дороги автомобильные общего пользования. Требования к проведению строительного контроля
ГОСТ 32755-2014 Дороги автомобильные общего пользования. Требования к проведению приемки в эксплуатацию выполненных работ
ГОСТ 32756-2014 Дороги автомобильные общего пользования. Требования к проведению промежуточной приемки выполненных работ
ГОСТ 32847-2014 Дороги автомобильные общего пользования. Требования к проведению экологических изысканий
ГОСТ 32867-2014 Дороги автомобильные общего пользования. Организация строительства. Общие требования
ГОСТ 32868-2014 Дороги автомобильные общего пользования. Требования к проведению инженерно-геологических изысканий
ГОСТ 32869-2014 Дороги автомобильные общего пользования. Требования к проведению топографо-геодезических изысканий
ГОСТ 32871-2014 Дороги автомобильные общего пользования. Трубы дорожные водопропускные. Технические требования
ГОСТ 33063-2014 Дороги автомобильные общего пользования. Классификация типов местности и грунтов
ГОСТ 33177-2014 Дороги автомобильные общего пользования. Требования к проведению гидрологических изысканий
ГОСТ 33228-2015 Трубы стальные сварные общего назначения. Технические условия
ГОСТ Р 21.1101-2013 Система проектной документации для строительства. Основные требования к проектной и рабочей документации
ГОСТ Р 54475-2011 Трубы полимерные со структурированной стенкой и фасонные части к ним для систем наружной канализации. Технические условия
ГОСТ Р ИСО 10467-2013 Трубопроводы из армированных стекловолокном термореактопластов на основе ненасыщенных полиэфирных смол для напорной и безнапорной канализации и дренажа. Общие технические требования
СП 20.13330.2011 Нагрузки и воздействия (актуализированная редакция СНиП 2.01.07-85*)
СП 22.13330.2016 Основания зданий и сооружений (актуализированная редакция СНиП 2.02.01-83*)
СП 48.13330.2019 Организация строительства (актуализированная редакция СНиП 12-01-2004)
| | ИС МЕГАНОРМ: примечание. В официальном тексте документа, видимо, допущена опечатка. Возможно, имеется в виду СП 69.13330.2016, а не СП 69.13330.2012. | |
СП 69.13330.2012 Подземные горные выработки (актуализированная редакция СНиП 3.02.03-84)
СП 91.13330.2012 Подземные горные выработки (актуализированная редакция СНиП II-94-80)
СП 116.13330.2012 Инженерная защита территорий, зданий и сооружений от опасных геологических процессов. Основные положения (актуализированная редакция СНиП 22-02-2003)
СП 11-110-99 Авторский надзор за строительством зданий и сооружений
СП 12-136-2002 Безопасность труда в строительстве. Решения по охране труда и промышленной безопасности в проектах организации строительства и проектах производства работ
СП 40-102-2000 Проектирование и монтаж трубопроводов систем водоснабжения и канализации из полимерных материалов. Общие требования
3 Термины, определения, обозначения и сокращения
3.1 В настоящем методическом документе применены следующие термины с соответствующими определениями, а также сокращения:
3.1 шнековое бурение: Вращательное бурение, при котором разрушенная порода доставляется из скважины на поверхность шнеком (бурильной трубой с навитой на ней лентой).
3.2 микротоннелирование: Процесс создания подземных выработок и коммуникаций ограниченного диаметра (от 200 до 2000 мм) механизированными управляемыми установками без присутствия людей в забое.
3.3 микротоннелепроходческий комплекс (МТПК): Комплект оборудования, предназначенный для микротоннелирования.
Примечания
1 Микротоннелепроходческий комплекс состоит из щитовой микромашины (ЩММ), прицепных элементов, системы удаления грунта, стандартных шлангов и кабелей, домкратной станции и системы управления.
2 Имеются три основных типа МТПК:
- МТПК-г с гидротранспортом грунта;
- МТПК-п с пневмотранспортом грунта;
- МТПК-ш со шнековым транспортом грунта.
3.4 щитовая проходка: Способ строительства горных выработок с помощью проходческого щита.
3.5 проходческий щит: Временная передвижная металлическая призабойная крепь, под защитой которой проводятся основные процессы проходческого цикла.
3.6 защитный экран из труб: Конструкция, предназначенная для предупреждения и минимизации деформаций и просадок поверхности в период строительства водопропускных труб.
3.7 бентонит: Коллоидная глина, состоящая в основном из минералов группы монтмориллонита, имеющая выраженные сорбционные свойства и высокую пластичность.
3.8 бентонитовая суспензия: Смесь глинистых частиц с водой при крупности частиц твердого вещества более 0,2 мкм.
3.9 бестраншейная прокладка (труб): Общее название для всех бестраншейных (закрытых) методов производства работ по подземной прокладке различных коммуникаций.
Примечание - Самыми распространенными методами закрытой прокладки являются:
- горизонтально направленное бурение;
- продавливание стальных футляров;
- бурошнековое бурение;
- метод управляемого прокола под дорогами;
- микротоннелирование.
3.10 обслуживающие процессы: Работы и процессы, сопровождающие сооружение подземных выработок и влияющие на их сметную стоимость (вертикальный и горизонтальный транспорт, маркшейдерские работы, освещение, вентиляция и водоотлив в подземных выработках и т.п.).
3.11 промышленная безопасность: Состояние защищенности жизненно важных интересов личности и общества от аварий на опасных производственных объектах и последствий указанных аварий, в том числе при работах в подземных условиях.
3.12 СРНС: Спутниковые радионавигационные системы.
3.13 ПСО: Постоянное съемочное обоснование.
3.14 ЛГП: Лазерный геодезический прибор.
3.15 ППР: Проект производства работ.
3.16 ПОС: Проект организации строительства.
3.17 SN: Кольцевая жесткость труб (композитных).
3.18 EPDM: Этилен-пропилендиеновый полимер.
3.19 SBR: Стиролбутадиеновая резина.
3.20 БШМ: Буровая шнековая машина.
3.21 КЩ: Комплекс щитовой.
3.22 ПНД: Полиэтилен низкого давления.
4.1 Положения настоящего методического документа должны соблюдаться при проектировании и производстве работ по бестраншейной прокладке водопропускных труб с применением следующих методов:
- шнекового бурения;
- микротоннелирования;
- щитовой проходки;
- продавливания;
- устройства водопропускных труб под защитой экрана из труб.
Согласно данному методическому документу предусматривается выполнение работ с применением труб из различных материалов, в том числе труб:
- металлических (стальных);
- железобетонных;
- из композиционных и полимерных материалов.
В соответствии с этим методическим документом рекомендуется прокладка водопропускных труб круглого сечения диаметром от 0,5 до 3,6 м, а также труб произвольных сечений и размеров отверстий, сооружаемых под защитой экрана из труб.
4.2 Бестраншейную прокладку следует использовать для устройства вновь проектируемых и строящихся водопропускных труб под дорожными насыпями, а также при реконструкции существующих труб в целях сокращения или исключения открытого способа работ, связанного с нарушением земляного полотна и дорожного покрытия, ограничением движения транспортных средств.
4.3 Способ прокладки необходимо выбирать исходя из области применения и технических характеристик технологического оборудования и в зависимости от инженерно-геологических условий участка работ, расчетного внутреннего диаметра и длины водопропускной трубы, ее конструкции и требований эксплуатации.
При устройстве водопропускных труб должны реализовываться конструктивные, технологические и организационные решения, обеспечивающие наименьшее вмешательство в окружающую среду и возможное сокращение сроков строительства.
5 Требования к выполнению геодезических и геологических работ
5.1 Требования к выполнению геодезических работ
5.1.1 Общие положения
Геодезические работы при бестраншейной прокладке водопропускных труб состоят из топографо-геодезических изысканий и геодезического обеспечения работ.
Топографо-геодезические изыскания в соответствии с
ГОСТ 32869-2014 должны обеспечивать получение топографо-геодезических материалов о рельефе местности, существующих подземных и надземных сооружениях, элементах планировки поверхности, необходимых для комплексной оценки природных и техногенных условий территории строительства при проектировании. Результаты инженерно-геодезических изысканий для разработки проекта представляются в виде технического отчета в соответствии с требованиями
ГОСТ 32869-2014.
Геодезическое обеспечение бестраншейной прокладки водопропускных труб на автодороге можно разделить на три этапа
[1]:
- создание геодезической основы;
- разбивочные работы и сопровождение строительства;
- исполнительная съемка.
5.1.2 Создание геодезической основы
5.1.2.1 В качестве опорной геодезической сети служат пункты государственной геодезической сети. Плановое съемочное обоснование создается на основе геодезических сетей или в качестве самостоятельной основы и представляет собой систему линейно-угловых ходов или координатную сеть, построенную с применением СРНС, по точности удовлетворяющую требованиям съемок в масштабе 1:500. Линейно-угловые ходы должны опираться на пункты опорной сети с точностью не ниже 1:2000. На территории до 2,5 км2 линейно-угловые ходы являются самостоятельной опорной сетью.
Линейно-угловые ходы прокладывают с учетом удобства выполнения разбивочных работ с пунктов хода и обеспечения их максимальной сохранности. Если линейно-угловые ходы являются самостоятельной опорной сетью, пятая часть пунктов закрепляется центрами типа полигонометрии либо забетонированными трубами. На застроенной территории, где это оказывается возможным, следует закладывать стенные знаки. На заложенные знаки составляют альбом их привязок к местным предметам.
5.1.2.2 При выполнении геодезических работ на застроенной территории рекомендуется создавать ПСО. Точками ПСО могут служить элементы капитальных зданий и сооружений, а также центры крышек колодцев, расположенных на тротуаре или непосредственно у бортового камня, но так, чтобы между ними была взаимная видимость.
Создание ПСО способствует улучшению технологии геодезических работ по выносу в натуру проектов линейных сооружений за счет исключения повторного прокладывания линейно-угловых ходов при исполнительной съемке водопропускных труб. Характеристики геодезических приборов, применяемых для создания съемочного обоснования, и способы их использования должны обеспечивать точность, соответствующую съемке масштаба 1:500.
5.1.2.3 Высотной основой для перенесения в натуру проектов водопропускных труб являются грунтовые и стенные реперы II - IV классов. Высотное геодезическое обоснование на участках строительства создается путем проложения системы нивелирных ходов (отдельных ходов, системы ходов и замкнутых полигонов), опирающихся на марки и реперы II - IV классов. Высоты пунктов планового съемочного обоснования определяются техническим нивелированием.
Схема и точность создания высотного геодезического обоснования зависят от характера прокладываемых коммуникаций (коллекторы, тоннели, самотечные сети), наличия в районе работ пунктов государственной сети нивелирования, наличия капитальных сооружений и других факторов. При отсутствии в районе работ государственной сети прокладывают ходы нивелирования IV класса.
5.1.3 Разбивочные работы
5.1.3.1 Для построения в натуре оси водопропускной трубы составляется разбивочный чертеж, на котором показываются оси и размеры проектируемого сооружения, пункты опорной сети (включая точки теодолитного хода) и элементы привязки трассы к существующей застройке или таким пунктам. Разбивочный чертеж для отдельного сооружения готовится на основе генерального плана и продольного профиля сооружения. На этот чертеж наносятся ближайшие пункты геодезического разбивочного обоснования, относительно которых указывается положение выносимого в натуру участка дороги с водопропускной трубой, коммуникации с углами поворота трассы, пикетами, колодцами. Около узловых точек на чертеже выписываются их координаты, а между точками - расстояния. Вынос в натуру проектов водопропускных труб выполняется относительно пунктов геодезического обоснования на участке строительства путем отложения на местности проектных значений углов, длин линий и превышений.
5.1.3.2 Для определения положения на местности выносимых точек используют следующие способы:
- полярный, с контролем от ближайшей вынесенной в натуру точки;
- линейных засечек;
- створных засечек;
- способ перпендикуляров;
- с применением геодезической СРНС-аппаратуры.
В зависимости от конкретных условий проходка может осуществляться следующими способами:
- продавливанием с выемкой грунта;
- продавливанием без выемки грунта;
- горизонтальным бурением;
- щитовой проходкой и др.
5.1.3.3 Во всех указанных случаях определяются точки входа и выхода трубы в насыпи. Между этими точками вычисляются расстояние и данные для задания направления и уклона механизма, осуществляющего проходку.
Задание направления проходки и уклона можно осуществлять с помощью ЛГП, к которым относятся лазерные теодолиты, лазерные нивелиры, лазерные визиры - задатчики направления.
Построение линии заданного уклона может быть выполнено следующими способами:

с использованием лазерного теодолита:
по проектному уклону находят соответствующий этому уклону угол. Устанавливают лазерный теодолит в начальной точке линии, приводят его в рабочее положение и при необходимости определяют место нуля вертикального круга. Зная заданный (проектный) угол наклона и место нуля, рассчитывают установочный отсчет по вертикальному кругу. Излучателю придают такой наклон, при котором отсчет по вертикальному кругу равен отсчету, рассчитанному при пузырьке уровня при вертикальном круге, приведенном в нуль-пункт. При этом пучок излучения создаст в пространстве опорную линию, параллельную проектной;

с использованием лазерного нивелира:
отметки точек линии выносят в натуру методом геометрического нивелирования и закрепляют кольями, забиваемыми на такую глубину, чтобы верх кольев был на заданных отметках. Затем в створе линии устанавливают лазерный прибор и наклоняют излучатель в такое положение, при котором отсчеты в центре пятна по рейкам, установленным на забитых в концах линии кольях, будут одинаковыми. При этом пучок излучения обозначит опорную линию, параллельную проектной. После этого линия может быть закреплена на местности кольями, забиваемыми на такую глубину, чтобы отсчет по рейке, поставленной на кол, был равен отсчету по рейке, установленной на крайних точках. Для создания опорной линии заданного уклона наиболее удобны лазерные приборы, снабженные уклономерами, позволяющими придать излучателю заданный уклон с достаточно высокой точностью.
5.1.4 Сопровождение строительства
5.1.4.1 При выполнении работ ведется непрерывный контроль точности направления продавливания без прекращения строительных операций (при использовании ЛГП) и геодезический мониторинг наличия осадок в земляном полотне и дорожном покрытии. В случае обнаружения отступлений от проекта осуществляется мгновенная коррекция направления движения трубы. Благодаря возможности постоянного контроля устраняются случаи возникновения значительных отклонений трубы от проектного направления и ведутся систематические наблюдения за неупругой деформацией грунта.
5.1.4.2 В зависимости от условий производства строительно-монтажных работ при устройстве водопропускной трубы и ее диаметра ЛГП может устанавливаться на разных высотах относительно дна траншеи или оси трубы. Это обусловливает применение соответствующих штативов и контрольных марок. Наиболее простой и удобной в работе является схема положения ЛГП, когда его пучок совпадает с проектным положением оси водопропускной трубы. Для этого применяются штатив, позволяющий изменить высоту пучка лазера в диапазоне 30 - 200 см в зависимости от диаметра трубы и контрольная марка.
При использовании ЛГП необходимо учитывать влияние внешних условий на положение луча лазера. Возможны искажения положения луча лазера в пространстве, обусловленные влиянием рефракции. Отклонения пучка могут вызываться, в частности,

обмазки труб и выхлопными газами насосов или трубоукладчика. Рефракция особенно заметна в трубах небольшого диаметра (500 - 600 мм), а поэтому чем больше длина укладываемых труб и чем меньше их диаметр, тем хуже условия для работы с ЛГП.
5.1.4.3 Геодезическо-маркшейдерские работы по привязке координат труб и защитного экрана в стартовом котловане рекомендуется выполнять в два этапа.
На первом этапе следует:
- установить на стенке стартового котлована кронштейн для монтажа ЛГП;
- подвести ЛГП к нижней передвижной каретке кронштейна и направить луч приблизительно по проектной оси, определенной, например, по створу отвесов;
- разместить теодолит и отцентрировать его над фиксированной точкой, находящейся в створе проектной оси, а затем рейку и визировать штатив на точке цели;
- установить на задней стенке котлована мишень;
- навести теодолит на мишень и совместить ее по горизонтали с проектной осью и зафиксировать;
- с помощью теодолита перенести проектную ось в котлован и направить луч ЛГП по проектной оси.
На втором этапе следует:
- поменять местами мишень и теодолит и визировать на рейку (конечную цель) так, чтобы ось теодолита соответствовала направлению луча ЛГП;
- перенести в котлован с помощью теодолита проектную ось;
- направить луч по проектной оси с помощью передвижной каретки кронштейна;
- вторично проверить соответствие оси теодолита направлению луча ЛГП и откорректировать погрешности с повторением предыдущей операции.
5.1.4.4 Геодезический мониторинг наличия осадок в земляном полотне и дорожном покрытии должен включать:
- периодические наблюдения за изменением контролируемых параметров земляного полотна и дорожного покрытия в пределах зоны влияния прокладываемой трубы по ГОСТ 32869-2014
(раздел 7.3);
- анализ динамики развития и сравнение результатов наблюдений с прогнозируемыми и предельными значениями контролируемых параметров;
- оценку достоверности прогноза, выполненного расчетными методами и, при необходимости его корректировку;
- определение степени опасности выявленных отклонений контролируемых параметров от прогнозируемых значений и установление причин их возникновения;
- разработку мер по предупреждению, снижению или ликвидации недопустимых отклонений контролируемых параметров.
Контролируемые в процессе производства строительно-монтажных работ геометрические параметры, методы геодезического контроля, порядок и объем его выполнения должны быть установлены проектом производства геодезических работ.
Мониторинг наличия осадок в земляном полотне и дорожном покрытии при бестраншейной прокладке водопропускных труб и устройстве экранов из труб следует проводить не реже одного раза в неделю, но не менее четырех циклов, далее - не реже одного раза в месяц.
5.1.5 Исполнительная съемка
При осуществлении технического надзора в процессе приемки работ организация-заказчик (застройщик) должна производить исполнительную съемку построенных сооружений для проверки их фактического планового и высотного положения с нанесением их на генеральный план строительной площадки. Исполнительную съемку выполняют в масштабах рабочих чертежей 1:500, 1:1000. Выбор масштаба зависит от густоты размещения и сложности подземных коммуникаций. Съемка подземных коммуникаций производится на основе опорной геодезической сети существующего или вновь создаваемого планово-высотного обоснования. Точность обоснования должна соответствовать требованиям съемок при определении масштаба
[2]. При создании съемочного обоснования должны соблюдаться требования
инструкции [3]. Съемка элементов подземных коммуникаций производится методами и средствами, принятыми для плановой и высотной съемок.
Перечень ответственных конструкций и частей сооружения, подлежащих исполнительной геодезической съемке при выполнении приемочного контроля, должен быть определен проектной организацией.
По результатам исполнительной геодезической съемки необходимо выполнить исполнительные чертежи, которые следует использовать при приемочном контроле, составлении исполнительной документации и оценке качества строительно-монтажных работ.
Общие правила проведения геодезической исполнительной съемки строящегося сооружения и оформления ее результатов приведены в
ГОСТ 32869-2014.
Графическое оформление результатов исполнительной съемки следует осуществлять в соответствии с
ГОСТ 32869-2014 и правилами
[4].
5.2 Требования к выполнению геологических работ
5.2.1 Общие положения
5.2.1.1 Выполняемые геологические работы для бестраншейной прокладки водопропускных труб должны соответствовать требованиям
ГОСТ 32868-2014.
Геологические работы включают в себя инженерно-геологические изыскания, производимые при разработке проектной документации, а также на их основе оценку усилия продавливания трубы, давления грунта на трубу, пассивный отпор, который может оказать грунт стенки котлована при опирании на него упора (например, плиты) под домкраты продавливания, и инженерно-геологическое сопровождение строительства.
5.2.1.2 Кроме инженерно-геологических изысканий при подготовке проектной документации должны быть выполнены гидрологические изыскания по
ГОСТ 33177-2014.
5.2.2 Инженерно-геологические изыскания
5.2.2.1 Основным документом при проведении инженерно-геологических изысканий является Программа изысканий, составленная на основе технического задания заказчика, исходя из результатов этапа предпроектных работ или стадии проектирования, вида строительства, типа сооружения, площади исследуемой территории, степени ее изученности и сложности инженерно-геологических условий.
5.2.2.2 При изысканиях для разработки проекта строительства водопропускных сооружений способом бестраншейной прокладки точки наблюдений (скважины) следует размещать вдоль проектного положения оси трубы (в характерных точках по поперечнику насыпи), а также в рабочем (стартовом) и приемном котлованах.
5.2.2.3 Изыскания следует выполнить таким образом, чтобы были изучены все разновидности грунтов, включая техногенные, встречающиеся на площадке строительства в пределах толщи, сопряженной и включающей строящееся бестраншейным способом водопропускное сооружение.
5.2.2.4 Общее количество данных для каждого инженерно-геологического элемента должно быть достаточным для их статистической обработки в соответствии с
ГОСТ 20522-2012. При статистической обработке результатов определений физических и механических (прочностных и деформационных) характеристик всех грунтов, а также при выделении основных грунтовых единиц - инженерно-геологических и расчетных грунтовых элементов - применяют методы, указанные в ГОСТ 20522-2012 (
разделы 3 и
4). Опытные данные, для которых проводится статистическая обработка, должны быть получены единым методом испытания.
5.2.2.5 На стадии подготовки рабочей документации водопропускного сооружения инженерно-геологические изыскания состоят в сборе и обработке имеющихся инженерно-геологических материалов по предполагаемым вариантам (технологиям), а также в дополнительных буровых работах и геофизических исследованиях в объеме не менее 20% изысканий на стадии проектной документации.
5.2.2.6 Оценку прочностных и деформационных свойств грунтов следует осуществлять в соответствии с региональными таблицами характеристик грунтов, специфических для исследуемого района (если они имеются и согласованы в установленном порядке), или по показателям физических характеристик в соответствии с
СП 22.13330.2016.
5.2.2.7 Полевые методы исследования грунтов следует использовать для оценки физико-механических свойств грунтов в массиве, установления характера пространственной изменчивости свойств грунтов, выявления, уточнения и прослеживания границ литологических тел (пластов, прослоев, линз) и других целей в соответствии с
приложением Г ГОСТ 32868-2014. На этом этапе изысканий рекомендуется применение зондирования, прессиометрии, а также выполнение геофизических исследований.
5.2.2.8 Лабораторные методы определения показателей свойств грунтов следует проводить для классифицирования грунтов в соответствии с
ГОСТ 33063-2014, оценки их состава и физических характеристик согласно
приложению Д ГОСТ 32868-2014 и
ГОСТ 5180-2015. Количество отобранных в процессе изысканий образцов грунта необходимо взять не менее шести для каждого основного литологического пласта (слоя).
5.2.2.9 При камеральной обработке материалов изысканий должны быть составлены:

карта:
- фактического материала с контурами проектируемых сооружений,
- инженерно-геологическая,
- гидрогеологическая (при необходимости),
- распространения геологических процессов и явлений;

графики, расчеты и таблицы гидрогеологических и геофизических исследований;

ведомости полевых и лабораторных исследований грунтов и вод.
5.2.2.10 Основу инженерно-геологических выработок для целей строительства водопропускных труб бестраншейным способом составляют скважины, пробуренные по длине вдоль оси водопропускного сооружения, включая рабочий (стартовый) и приемный котлованы.
Количество скважин следует определять с учетом ранее выполненных выработок. На территории, где уже есть достаточное их количество, как правило, следует дополнительно проходить контрольные выработки с учетом ожидаемых изменений инженерно-геологических условий. Выработки и точки наблюдений должны сгущаться на участках со сложными инженерно-геологическими условиями, в местах изменения вида конструкции сооружения, устройства технологических котлованов, сочленений различных геоморфологических элементов и типов ландшафтов. Рекомендуемое число и глубина скважин, необходимых при бестраншейной прокладке водопропускных труб, приведены в
приложении А.
5.2.2.11 Глубина проходки выработок при инженерно-геологической съемке должна обеспечивать установление геологического разреза и гидрогеологических условий в пределах предполагаемой сферы взаимодействия проектируемых объектов с геологической средой.
5.2.2.12 При проведении инженерно-геологических съемок следует учитывать требования, отражающие специфику строительства искусственных дорожных сооружений по
приложению Л ГОСТ 32868-2014.
5.2.3 Оформление результатов работ
5.2.3.1 Технический отчет по результатам инженерно-геологических изысканий для проектирования бестраншейного способа прокладки водопропускных труб составляется в соответствии с требованиями
приложения К ГОСТ 32868-2014 и должен содержать:
- схематический план трубы с указанием продольных граничных осей, расположения скважин, точек зондирования, глубины отбора грунтов для испытания;
- геолого-литологическое описание строительной площадки и инженерно-геологические разрезы, привязанные к оси трубы;
- описание техногенных грунтов насыпей;
- сведения о нормативных и расчетных характеристиках грунтов каждого инженерно-геологического элемента активной зоны (предполагаемой мощности слоя взаимодействия проектируемых объектов с геологической средой);
- данные о максимальной глубине промерзания грунтов в месте прокладки трубы;
- характеристику гидрогеологических условий, включая сведения о количестве и положении горизонтов подземных вод, источниках их питания, связи с ближайшими водоемами, направлении потоков, местах разгрузки, степени агрессивности подземных вод, характере их агрессивности - природной или в результате инфильтрации в грунт производственных или сточных;
- материалы лабораторных, полевых исследований грунтов и опытных работ;
- рекомендации по антикоррозийной защите трубы.
5.2.3.2 Характеристики грунтов, полученные в результате инженерно-геологических изысканий, должны позволить рассчитать технологию бестраншейной прокладки водопропускной трубы, включая усилие продавливания трубы, давление грунта на трубу, оценить пассивный отпор, который может оказать грунт стенки котлована при опирании на него упора (например, плиты) под домкраты продавливания. Примеры их расчетов приведены в
приложениях Б,
В,
Г.
6 Основные положения проектирования и выполнения технологических расчетов
6.1 Требования к составу и оформлению проектной документации и проекта производства работ
6.1.1 Проектная документация на водопропускные трубы, сооружаемые бестраншейными методами, должна содержать планировочные, конструктивные и технологические решения по
ГОСТ Р 21.1101-2013, выявленные в результате сравнения возможных вариантов устройства водопропускной трубы на данном участке. Проектная документация должна разрабатываться с учетом требований
положения [5].
6.1.2 При разработке проекта следует оценивать возможное воздействие на окружающую среду, земляное полотно, сооружения, существующие коммуникации, учитывать риски непредвиденных и аварийных ситуаций в процессе строительства в соответствии с
ГОСТ 32847-2014 и
СП 116.13330.2012. Проектные решения должны обеспечивать снижение или ликвидацию неблагоприятных воздействий на окружающую среду и уменьшение вероятности возникновения аварий.
6.1.3 Проектная документация должна быть согласована и утверждена в порядке, установленном
положением [5].
6.1.4 До начала выполнения работ по устройству водопропускных труб способами бестраншейной прокладки, а также устройства стартовых и приемных котлованов (площадок) должен быть разработан ППР в объеме, соответствующем требованиям
СП 48.13330.2019 и
СП 12-136-2002.
Проект производства работ подготавливается на основании ПОС и другой проектной документации силами подрядной организации или по ее заказу проектной организацией. Отступления от утвержденных проектных решений без согласования с заказчиком не допускаются.
Проект производства работ должен включать:
- пояснительную записку, содержащую основные технические решения, природоохранные мероприятия;
- топографические планы стройплощадок со стороны стартового и приемного котлованов, места расположения и размеры технологического оборудования;
- технологические схемы и порядок осуществления отдельных видов работ (по согласованию с заказчиком);
- план и продольный профиль подземной выработки;
- план и продольный профиль монтажной зоны сборки плети трубопровода, порядок сборки трубопровода;
- расположение и размеры емкостей для бентонитового раствора;
- план расположения складского участка;
- подъездные и внутриплощадочные дороги;
- мероприятия по охране труда и безопасности выполнения работ;
- календарный график работ;
- мероприятия по обеспечению работ в холодный период.
Технологические операции, предусмотренные ППР, должны быть увязаны с допустимыми режимами эксплуатации технологического оборудования, изложенными в инструкции по эксплуатации.
Для обеспечения требуемого качества выполнения работ в состав ППР должен входить технологический регламент, разработанный с учетом технических характеристик намеченного к применению оборудования и специфики конкретного объекта, включающий:
- последовательность и методы выполнения работ (операций);
- состав и характеристики бентонитового раствора;
- расчеты максимальных скоростей проходки выработки, необходимых объемов и давления подачи бурового раствора;
- порядок монтажа трубопровода;
- мероприятия по предотвращению деформаций земляного полотна в зоне проходки.
6.2 Основные положения проектирования и выполнения технологических расчетов
6.2.1 Бестраншейные способы прокладки водопропускных труб следует применять в сложных инженерно-геологических и эксплуатационных условиях при наличии соответствующего технико-экономического обоснования.
6.2.2 При проектировании водопропускных труб их планово-высотные отметки следует назначать исходя из расчетов обеспечения максимального отвода воды от насыпей автомобильных дорог и в увязке с отметками водоотводной сети на данном участке дороги.
Профиль водопропускной трубы определяется в зависимости от уклона местности, расчетного расхода воды и допустимой скорости потока из расчета безнапорного режима ее работы. Профиль проходки зависит от диаметра трубы и применяемого технологического оборудования. Направление проходки может задаваться как на подъем, так и под уклон.
6.2.3 Расстояние от верха прокладываемой бестраншейным способом трубы до низа дорожной одежды должно составлять в устойчивых грунтах не менее двух диаметров, а в неустойчивых - не менее трех диаметров трубы, и в любом случае быть не менее указанного в СП 35.13330.2011
(таблица 5.1).
Минимальная глубина заложения верха труб опережающего экрана должна быть от полутора до двух диаметров трубы экрана, но не менее 1 м.
Расстояние между трубами экрана и подземными коммуникациями должно быть не менее 1 м. Уменьшение этого расстояния допускается по согласованию с владельцами коммуникаций.
6.2.4 Угол пересечения оси водопропускной трубы с продольной осью автомобильной дороги следует принимать равным 90°. Если ситуационно-топографические условия этого не позволяют, то допускается косое пересечение при условии согласования проектного решения с заказчиком.
6.2.5 Стартовые и приемные котлованы (площадки) рекомендуется размещать в соответствии с технологией работ в местах, свободных от застройки, зеленых насаждений и подземных коммуникаций. Стартовый котлован должен иметь удобный подъезд и площадь, достаточную для организации стройплощадки. Следует проектировать стартовые котлованы (площадки) прямоугольного очертания с целью максимально возможного увеличения длины монтажных секций прокладываемой водопропускной трубы.
Размеры котлованов (площадок) в плане необходимо определять в зависимости от габаритов технологического оборудования, которое должно быть размещено и смонтировано в стартовом котловане, демонтировано и извлечено в приемном котловане. Размеры стройплощадок должны быть достаточными для размещения необходимого оборудования, материалов, временных зданий и сооружений, безопасной погрузки и выгрузки материалов и оборудования, удаления выбуренного грунта.
Отметки поверхности дна котлована (площадки) следует назначать в зависимости от отметок заложения водопропускной трубы и технологических требований по организации проходки.
Стартовый котлован (площадка) должен быть оснащен грузоподъемными механизмами для подачи секций трубы к домкратной станции.
Габариты приемного котлована (площадки) следует назначать минимальных размеров, необходимых для вывода и извлечения технологического оборудования после проходки.
| | ИС МЕГАНОРМ: примечание. В официальном тексте документа, видимо, допущена опечатка. Возможно, имеется в виду СП 69.13330.2016, а не СП 69.13330.2012. | |
Котлованы должны иметь ограждение, лестницы и средства водоотлива в соответствии с требованиями
СП 69.13330.2012. Расчет конструкций ограждения котлованов следует выполнять согласно положениям
СП 20.13330.2011, СП 91.13330.2012
(раздел 7), СП 22.13330.2016
(раздел 9).
Расстояние между стартовым и приемным котлованами (длину проходки) нужно принимать в зависимости от технических возможностей проходческого оборудования и гидрогеологических условий проходки, как правило не более 150 м.
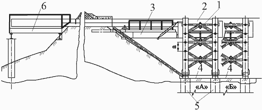
Стартовый котлован (площадка) должен иметь железобетонное покрытие для монтажа технологического (проходческого) оборудования и направляющих. Со стороны задней торцевой необходимо располагать упор, рассчитанный на максимальное усилие домкратов при продавливании труб (см.
приложение А). В передней стене котлована (в откосе насыпи) должен быть проем в креплении для ввода бурового оборудования в грунтовый массив.
Конструкцию крепления котлованов следует рассчитывать на восприятие давления грунта, гидростатического давления и временной нагрузки.
Конструкция крепления и способы ее сооружения устанавливаются проектом по согласованию с подрядной строительной организацией.
6.2.6 Диаметр труб защитного экрана рассчитывается в зависимости от внешней нагрузки и принятого расстояния между рамами временного крепления выработки. Для обеспечения сплошности защитного экрана трубы должны соединяться между собой фиксирующими устройствами
(рисунок 1), не препятствующими продольному перемещению труб при его монтаже. Оснащение труб фиксирующими устройствами и обработка их торцов под сварку должны производиться на предприятиях, имеющих необходимое оборудование.
1 - швеллер; 2 - тавр; 3 - металлические трубы; 4 - уголок
Рисунок 1 - Схемы (а, б) фиксирующих устройств труб экрана
| | ИС МЕГАНОРМ: примечание. В официальном тексте документа, видимо, допущена опечатка. Возможно, имеется в виду СП 69.13330.2016, а не СП 69.13330.2012. | |
Для повышения несущей способности проектом следует предусматривать заполнение стальных труб защитного экрана бетонной смесью с устройством арматурного каркаса или без него. По мере разработки грунта под защитным экраном устанавливаются временные несущие рамы, а затем постоянная конструкция тела трубы в соответствии с требованиями
СП 69.13330.2012 и СП 91.13330.2012
(раздел 6).
7 Требования к применяемым материалам, изделиям и оборудованию
7.1 Требования к применяемым материалам и изделиям
7.1.1 Требования к стальным трубам и футлярам
7.1.1.1 При применении бестраншейных способов прокладки водопропускных труб в теле дорожного земляного полотна стальные трубы могут использоваться:
- в качестве футляра, с последующей прокладкой внутри него полимерных, стеклопластиковых, металлических гофрированных или железобетонных труб с заполнением межтрубного пространства цементным раствором;
- основного тела трубы.
7.1.1.2 При применении стальной трубы в качестве основного тела водопропускной трубы в проекте должны быть выполнены расчеты ее прочности по двум предельным состояниям с учетом постоянных и временных нагрузок как в период строительства, так и эксплуатации, а также расчеты по ее деформативности на весь период службы.
Исходя из результатов расчетов и погодно-климатического района эксплуатации водопропускной трубы должны быть определены толщина металла стенки трубы и допускаемые марки сталей. При использовании стальной трубы в качестве основного тела водопропускной трубы особое внимание должно быть уделено защитному антикоррозийному покрытию. Рекомендуется применять трубы с заводскими защитными наружными покрытиями по
ГОСТ 33228-2015 либо защитными покрытиями, выполненными в соответствии с
инструкцией [6].
7.1.1.3 При использовании стальных труб в качестве футляра возможны следующие варианты ее эксплуатационной работы:
- футляр применяется только для прокладки основной трубы и в эксплуатационной работе не учитывается;
- футляр является составной частью тела водопропускной трубы.
В случае использования труб футляра только для прокладки внутри него основной трубы в проекте могут быть выполнены расчеты по прочности и деформируемости футляра в строительный период. Также допускается отсутствие антикоррозийного защитного покрытия. В данном случае все расчеты по долговременной прочности и деформативности на период эксплуатации водопропускной трубы должны быть выполнены для основной трубы с учетом прочностных характеристик материала заполнения межтрубного пространства либо (в случае соответствующего обоснования) без его учета.
Если футляр является составной частью тела водопропускной трубы (наружной оболочкой), в расчеты включаются все слои тела трубы: наружного футляра, межтрубного заполнения, внутренней оболочки. В этом случае также предъявляются повышенные требования к защитному антикоррозийному покрытию внешней стороны футляра.
В качестве внутренней трубы (оболочки) допускается использовать трубы из армированных стекловолокном термореактопластов на основе ненасыщенных полиэфирных смол по
ГОСТ Р ИСО 10467-2013, полимерные трубы со структурированной стенкой по
ГОСТ Р 54475-2011, металлические гофрированные трубы [
7,
8] либо спиральновитые металлические гофрированные трубы, а также звенья железобетонных труб по
ГОСТ 24547-2016. При применении в качестве внутренней оболочки свето- и термоотверждаемых полимерных и полимернотканевых рукавов они также должны включаться в расчеты долговременной прочности и деформативности.
7.1.1.4 Для устройства защитных экранов из труб рекомендуется использовать стальные трубы по
ГОСТ 10704-91.
Конструкция труб и межтрубных соединений (см.
пункт 6.2.6) должна учитывать силовые воздействия продавливания и стыковку труб.
Длина секций стальных труб зависит от размеров стартового котлована и типа применяемого оборудования. Рекомендуемая длина секций стальных труб - 6 м.
7.1.2 Требования к бетонным и железобетонным изделиям
7.1.2.1 Железобетонные звенья водопропускных труб, используемые для бестраншейной прокладки, должны соответствовать требованиям
ГОСТ 32871-2014 и быть изготовлены из тяжелого мелкозернистого бетона по
ГОСТ 26633-2015 класса по прочности на сжатие не менее B40, водонепроницаемостью не менее W6, морозостойкостью не менее F100 и соответствовать требованиям
ГОСТ 24547-2016.
Основные размеры звеньев труб могут быть:
- внутренний диаметр - от 500 до 2000 мм;
- длина звеньев - 1000, 1500, 2000, 3000 мм.
7.1.2.2 Звено трубы для бестраншейной прокладки внутренним диаметром 1000 мм и длиной 3000 мм представлено на рисунке 2.
а - внешний вил; б - разрез трубы
Рисунок 2 - Звено трубы для бестраншейной прокладки
(размеры даны в миллиметрах)
7.1.2.3 Прочность бетона звеньев трубы должна соответствовать проектному классу бетона по прочности на сжатие, при этом величина нормируемой отпускной прочности бетона в процентах от проектной должна быть не менее:
- 70% для звеньев, предназначенных для эксплуатации в районах с расчетной температурой наружного воздуха -40 °C и выше;
- 100% для звеньев, предназначенных для эксплуатации в районах с расчетной температурой наружного воздуха ниже -40 °C.
7.1.2.4 Звенья труб должны быть без монтажных петель. Отклонения фактических размеров труб от номинальных, приведенных в чертежах типовых конструкций, не должны превышать:
- по длине +/- 5 мм;
- по толщине стенки +/- 5 мм;
- по внутреннему диаметру +/- 10 мм.
Искривление поверхности допускается не более 3 мм на 1 м длины звена. Перекос торцевой плоскости - не более 5 мм. Сколы бетона на внутренних ребрах торцов звеньев, трещины в бетоне звеньев не допускаются. Могут иметь место поверхностные усадочные трещины шириной не более 0,05 мм.
7.1.2.5 Звенья труб должны иметь определенную маркировку и быть испытаны и приняты в соответствии с требованиями
ГОСТ 24547-2016.
Звенья труб должны быть рассчитаны на глубину заложения не менее 25 м до верха трубы и максимальное усилие продавливания 5000 кН.
7.1.2.6 Трубы для бестраншейной прокладки, как правило, имеют цилиндрическую форму, раструбный конец (в виде металлической обечайки) и втулочный конец со ступенчатой стыковой поверхностью, уплотняемый резиновыми профильными кольцами.
Стыковое соединение звеньев труб - раструбное на уплотнительных манжетах. Функцию раструба выполняет металлический кольцевой элемент (обечайка), установленный в торце звена трубы (рисунок 3). Звенья должны поставляться в комплекте с уплотнительными кольцами.
1 - раструбная металлическая обечайка;
2 - втулочный стыковочный узел
Рисунок 3 - Монтажная схема звена
7.1.2.7 Для равномерной передачи усилия продавливания в торцах звеньев труб должны устанавливаться компрессионные прокладки из древесных материалов.
В звеньях труб могут быть установлены специальные закладные изделия технологического назначения:
- форсунки: устройства, замоноличенные в стенке трубы и предназначенные для подачи в затрубное пространство бентонитового раствора для снижения сил трения при проходке;
- анкеры: стальные элементы со сферической головкой, замоноличенные в стенке трубы и предназначенные для монтажа и перемещения специальными грузозахватными приспособлениями.
7.1.2.8 Оголовки и другие бетонные и железобетонные элементы водопропускных труб должны быть изготовлены, испытаны и приняты в соответствии с требованиями
ГОСТ 13015-2012, а также иметь соответствующую маркировку.
7.1.3 Требования к композитным трубам
7.1.3.1 Для бестраншейной прокладки следует применять композитные трубы специальной конструкции с "утопленными" соединительными муфтами, не выступающими на наружный диаметр самой трубы и обладающими повышенной стойкостью к осевым нагрузкам. Трубы должны иметь увеличенную кольцевую жесткость SN от 32000 до 1000000 Н/м
2 при допустимом расчетном усилии продавливания 90 Н/мм
2. Номинальную жесткость труб рекомендуется определять расчетами в соответствии с глубиной заложения и гидрогеологическими условиями. Примерный сортамент труб, принятых для микротоннелирования, приведен в
приложении Д.
Трубы должны быть изготовлены в соответствии с требованиями
ГОСТ Р ИСО 10467-2013 и иметь физико-механические характеристики материала не ниже указанных в таблице 1.
Таблица 1
Физико-механические характеристики материала труб
для бестраншейной прокладки
Наименование показателя | Величина показателя |
кратковременная (2 ч) | долговременная (50 лет) |
Удельный вес, кН/м2 | 20 | 20 |
Предельное удлинение на разрыв в направлении окружности, % | 1,0 | 0,8 |
Разрушающее напряжение в направлении окружности, МПа | 120 | 38,4 |
Модуль упругости, МПа: | | |
в направлении окружности (кольцевой) | 12000 | 4800 |
в осевом направлении | 18000 | 10000 |
при растяжении в осевом направлении | 7000 | 1400 |
Предельная деформация в осевом направлении, % | | |
при сжатии | 0,5 | 0,3 |
растяжении | 0,12 | 0,08 |
Предельное напряжение в осевом направлении, МПа | | |
при сжатии | 90 | 21,6 |
при растяжении | 8,4 | 1,1 |
Термостойкость | От -45 °C до 50 °C |
Химическая сопротивляемость | pH 1 - 9 |
Коэффициент теплового линейного расширения | 26 - 35 x 10-6 1/°К |
7.1.3.2 Соединение труб может быть выполнено муфтами типа FS из нержавеющей стали (трубы типа 1) с уплотнительным резиновым профилем или стеклопластиковыми муфтами ПАС (трубы типа 2) с уплотнительным резиновым профилем марок M, L или XL, которые устанавливаются на концах труб
(рисунок 4).
а - стальная муфта типа FS; б - муфта ПАС типа S; в - то же,
типа M, L, XL;
DA - наружный диаметр; DI - внутренний диаметр;
LC - длина муфты;
b - толщина стенки муфты; S - толщина стенки;
ПАС - стеклопластик
Рисунок 4 - Соединительные муфты
При одинаковой жесткости трубы типа 1 выдерживают большие осевые усилия. Кроме того, муфты из нержавеющей стали имеют более тонкий корпус, следовательно, требуют меньшего снижения рабочего сечения трубы при передаче осевого усилия. Уплотнительные профили следует изготавливать из этилен-пропилендиенового полимера EPDM с жесткостью по Шору 55 +/- 5 единиц или стиролбутадиеновой резины SBR либо других аналогичных материалов с идентичными свойствами. Муфты должны обеспечивать герметичное соединение, которое по своим свойствам (долговечность, термическая и химическая стойкость) эквивалентно звеньям трубы.
7.1.3.3 Стандартные длины труб составляют 1, 2, 3 и 6 м. Трубы другой длины могут поставляться по заказу предприятия-изготовителя с допусками в соответствии с
ГОСТ Р ИСО 10467-2013. Стеклопластиковые трубы с отверстием более 1200 мм поставляются как без отверстий для нагнетания бентонитового раствора, так и с отверстиями (клапанами) с целью уменьшения сил трения грунта. Отверстия для нагнетания бентонита должны определяться в проекте и предусматриваться не реже чем через 6 - 8 м.
7.1.3.4 Минимальную толщину стенки трубы следует назначать в зависимости от высоты насыпи в соответствии с таблицей 2 для песков гравелистых крупных и средней крупности, песков мелких и пылеватых, супесей и суглинков полутвердых, супесей и суглинков тугопластичных, глин и суглинков мягкопластичных.
Таблица 2
Толщина стенки трубы в зависимости от высоты насыпи
Диаметр трубы, мм | Характеристики трубы | Минимальная толщина стенки трубы, мм, при высоте насыпи, м |
1 | 2 | 3 | 4 | 5 | 6 | 7 | 8 | 9 | 10 |
1026 | Толщина стенки, мм | 34 | 34 | 34 | 34 | 34 | 34 | 34 | 34 | 34 | 34 |
Кольцевая жесткость x 1000 Н/м2 | 32 | 32 | 32 | 32 | 32 | 32 | 32 | 32 | 32 | 32 |
1499 | Толщина стенки, мм | 48 | 48 | 48 | 48 | 48 | 48 | 48 | 52 | 52 | 52 |
Кольцевая жесткость x 1000 Н/м2 | 32 | 32 | 32 | 32 | 32 | 32 | 32 | 40 | 40 | 40 |
2047 | Толщина стенки, мм | 65 | 65 | 65 | 65 | 65 | 65 | 65 | 75 | 81 | 81 |
Кольцевая жесткость x 1000 Н/м2 | 32 | 32 | 32 | 32 | 32 | 32 | 32 | 50 | 64 | 64 |
2400 | Толщина стенки, мм | 76 | 76 | 76 | 76 | 76 | 76 | 81 | 81 | - | - |
Кольцевая жесткость x 1000 Н/м2 | 32 | 32 | 32 | 32 | 32 | 32 | 40 | 40 | - | - |
2999 | Толщина стенки, мм | 94 | 94 | 94 | 94 | 94 | 100 | 108 | 117 | 127 | - |
Кольцевая жесткость x 1000 Н/м2 | 32 | 32 | 32 | 32 | 32 | 40 | 50 | 64 | 80 | - |
7.1.4 Требования к трубам из полимерных материалов
7.1.4.1 Трубы из полимерных материалов при бестраншейных способах прокладки и устройства водопропускных труб должны применяться только в качестве внутренней оболочки стального футляра (см.
пункт 7.1.1). Рекомендуется использовать полимерные трубы со структурированной стенкой по
ГОСТ Р 54475-2011 или полиэтиленовые трубы по
ГОСТ Р 50121.2-2018 жесткостью не ниже SN 4. Применяемые трубы должны иметь износоустойчивый внутренний слой, химическую сопротивляемость pH от 1 до 9, термостойкость от -45 °C до 35 °C и быть устойчивыми к воздействию нефтепродуктов и ультрафиолета. Коэффициент теплового линейного расширения труб не должен превышать 2 x 10
-4 1/°C. Гарантированный срок службы труб - не менее 50 лет.
7.1.4.2 Трубы должны иметь заводскую маркировку, нанесенную методом цветной печати или другим способом, включающую наименование предприятия-изготовителя и (или) товарный знак, условное обозначение трубы, номинальный диаметр, класс жесткости, дату изготовления, номер партии и т.д.
Трубы должны поставляться в комплекте с муфтами или другими соединительными элементами и приспособлениями (для сварки, завинчивания трубы и т.д.).
7.1.4.3 При хранении и перевозке трубы из полимерных материалов можно укладывать в штабели высотой до 5 м. При наличии труб разных диаметров допускается вкладывать трубы меньшего диаметра внутрь труб большего диаметра. При такелажных работах и перевозке необходимо соблюдать осторожность для предотвращения повреждений труб, разрешается использовать только мягкие стропы.
Трубы разрешается складировать на ровную твердую поверхность под навес с учетом требований противопожарной безопасности. Высота штабеля должна исключать деформацию труб и обеспечивать легкий доступ к верхним рядам. Штабелированные трубы должны быть зафиксированы для предотвращения случайной перекатки. Все соединительные детали, уплотнительные резиновые кольца должны храниться в закрытом помещении вдали от прямых солнечных лучей и источников тепла. Необходимо исключить их контакт с маслами и жирами, также они не должны подвергаться нагрузке.
7.2 Требования к оборудованию
7.2.1 Выбор оборудования для бестраншейной прокладки водопропускных труб следует обосновывать технико-экономическим сравнением возможных вариантов в соответствии с требованиями технического задания с выявлением конкретных условий производства работ. Определенный тип оборудования выбирается в зависимости от инженерно-геологических условий данного участка и расчетного внутреннего диаметра проектируемой трубы, футляра или трубы защитного экрана.
7.2.2 Оборудование для бестраншейной прокладки водопропускных труб представляет собой комплект подземного и наземного оборудования и устройств, который должен обеспечивать механизированное и дистанционно-управляемое выполнение следующих основных операций:
- образование в различных грунтах подземной выработки (скважины) определенного диаметра и заданного направления, проходящей из стартового в приемный котлован с одновременным удержанием забоя и креплением стен выработки;
- продавливание трубной конструкции (водопропускной трубы, футляра или экрана из труб);
- транспортирование разработанного грунта из забоя на поверхность с одновременным контролем его объема.
7.2.3 В качестве основных возможных вариантов могут рассматриваться:
- установки БШМ;
- МТПК.
Ориентировочные варианты способов бестраншейной прокладки водопропускных труб в зависимости от геологических условий и длины проходки приведены в таблице 3.
Таблица 3
Способы прокладки водопропускных труб
Способ прокладки | Наружный диаметр трубы, мм | Длина трубы, м | Геологические условия проходки | Ограничения к применению |
Горизонтальное шнековое бурение | 500 - 1860 | До 150 | Песчаные, глинистые грунты, скальные породы крепостью до 150 МПа | При наличии грунтовых вод не применяется |
Микротоннелирование | 500 - 3500 | 100 - 300 | Песчаные, глинистые грунты, скальные породы крепостью до 150 МПа | Гидростатический напор не более 30 м водяного столба |
Щитовая проходка | 1200 - 4000 | 100 - 400 | Песчаные, глинистые грунты, скальные породы крепостью до 150 МПа | Без ограничений |
Продавливание | 500 - 2000 | До 200 | Грунты I - III групп | В плывунных, твердых и скальных грунтах не применяется |
7.2.4 Установки БШМ предназначены для бестраншейной прокладки коммуникаций с заданным углом наклона прокладываемой трубы. Диаметр прокладываемых труб - от 500 мм до 1,86 м, допустимая длина проходки - до 150 м. Применение микротоннельной приставки, которой может быть укомплектована при необходимости установка БШМ, позволяет увеличить максимальный диаметр трубы до 3,5 м, а длину проходки до 300 м.
Установка рекомендуется для прокладки безнапорных водопропускных труб и коллекторов под автомобильными дорогами, так как исключает осадку грунта при выполнении работ и обеспечивает одной установкой прокладку труб различного диаметра и из разных материалов.
Установка позволяет с помощью одного комплекта оборудования производить работы по устройству защитного экрана при сооружении водопропускных труб отверстием до 7 м с произвольной формой сечения (прямоугольные, арочные, овоидальные).
В состав установки БШМ входят:
- базовый модуль;
- силовой модуль;
- стартовая направляющая;
- дополнительная направляющая.
Базовый модуль, как правило, включает в себя:
- дизельный двигатель с турбонаддувом, электростартером и воздушным охлаждением;
- многоскоростную трансмиссию;
- гидравлический насос, приводящий в действие гидроцилиндры.
Силовой модуль состоит из комплекта гидроцилиндров, несущей рамы, адаптера футляра, главной опоры, роликовых или крюковых захватов.
Стартовая направляющая содержит основные секции рельс для работы с 3-метровыми трубами и дополнительную секцию для работы с 6-метровыми трубами.
Кроме этого, в зависимости от условий выполнения работ установка дополнительно укомплектовывается:
- приспособлением для подъема машины;
- шнеками необходимых диаметров;
- соответствующими режущими головками;
- переходниками;
- водяным уровнем или локационной системой;
- комплектом управляемой головки;
- установкой для приготовления и нагнетания бентонитового раствора;
- электрическим генератором.
Общий вид БШМ приведен на рисунке 5, а схема установки БШМ - на
рисунке 6.
Рисунок 5 - Установка горизонтального шнекового бурения
1 - стена котлована; 2 - буровая головка; 3 - отклоняющая
головка; 4 - отклоняющий шарнир; 5 - шнек; 6 - обсадная
труба; 7 - переходник толкателя обсадной трубы;
8 - толкатель обсадной трубы; 9 - буровая установка;
10 - силовой блок (гидравлические замки и гидроцилиндры);
11 - ограничитель обратного хода, 12 - главная опора;
13 - переходник опоры; 14 - удлинитель направляющей;
15 - зажимной патрон шпинделя; 16 - лопастной шнек для отвода
породы; 17 - главная направляющая; 18 - ролики с крюками
Рисунок 6 - Схема установки для горизонтального
бурения в котловане
7.2.5 В комплект поставки МТПК входит:
- ЩММ с рабочим органом и комплектом оборудования для активного пригруза забоя;
- система транспорта и приемки разработанного грунта;
- силовая продавливающая установка;
- система управления и контроля положения МТПК в пространстве;
- стартовое и конечное уплотнение, монтируемое на стенках стартового и приемного котлованов;
- установка для приготовления и нагнетания бентонитового раствора или пенораствора;
- коммуникационные шланги, кабели.
На стройплощадках МТПК комплектуются компрессорными установками и рабочим инструментом. Общий вид МТПК приведен на рисунке 7.
Рисунок 7 - Микротоннелепроходческий комплекс
В зависимости от способа транспортирования грунта из забоя рекомендуется применять следующие МТПК:
- в неустойчивых водонасыщенных средне- и крупнозернистых песках, песчано-гравелистых грунтах, вплоть до скальных по
ГОСТ 25100-2011 следует применять МТПК с гидропригрузом щита;
- в связных нескальных, водонасыщенных илистых грунтах по
ГОСТ 25100-2011 МТПК с грунтовым пригрузом. При повышении содержания песчано-гравелистых фракций в грунтовом массиве следует использовать грунтопригруз с добавкой пенореагента или бентонита.
Общая схема ЩММ приведена на рисунке 8.
1 - рабочий орган; 2 - режущий инструмент; 3 - дробильное
пространство; 4 - отверстие для подачи воды; 5 - главный
подшипник; 6 - силовой привод; 7 - прокладка; 8 - домкрат
управления; 9 - транспортирующий трубопровод; 10 - питающий
трубопровод; 11 - лазерная мишень;
12 - лазерный луч; 13 - байпас; 14 - вентили
Рисунок 8 - Конструкция ЩММ
7.2.6 При выполнении работ по устройству водопропускных труб методом продавливания в качестве продавливающего оборудования могут использоваться силовые модули БШМ или МТПК, а также специализированные установки, включающие домкратные станции и направляющие.
8 Порядок производства работ по бестраншейной прокладке водопропускных труб
8.1 Подготовительные работы
8.1.1 Общие положения
В период подготовительных работ следует выполнять:
- подготовку строительной площадки к работам, в том числе ограждение рабочих участков, устройство проездов для транспортных средств и проходов для персонала, а также временных бытовок, складов, навесов;
- подводку инженерных коммуникаций (водопровод, электроэнергия и т.д.);
- перекладку существующих инженерных коммуникаций, препятствующих сооружению стартового и приемного котлованов;
- геодезическую разбивку и выноску в натуру оси трубы, габаритов стартового и приемного котлованов, маркшейдерскую разметку оси трубы или защитного экрана на стене стартового котлована (см.
подраздел 5.1);
- устройство стартового и приемного котлованов (площадок)
(пункт 8.1.3);
- устройство в стартовом котловане основания из железобетонных плит и установку упора
(пункт 8.1.4);
| | ИС МЕГАНОРМ: примечание. В официальном тексте документа, видимо, допущена опечатка: пункт 8.1.5 отсутствует. | |
- доставку, размещение, подключение и проверку технологического оборудования, локационных и контрольных систем (пункт 8.1.5);
- доставку и складирование необходимых материалов и изделий;
- подготовку общего и специальных журналов работ
[9], в которых следует указывать время начала и окончания вида работ, основные технические характеристики используемого оборудования и материалов, фиксировать данные о режимах нагнетания и расходе бентонитового раствора, отклонения от требований ППР и технологического регламента и вызвавшие их причины.
8.1.2 Подготовка рабочих котлованов и площадок
8.1.2.1 Наличие и организация необходимых строительных площадок, их количество, местоположение, размеры и планировка, а также геодезическая привязка рабочих котлованов, их размеры и высотные отметки должны быть приведены в разделе ПОС проектной документации. Все работы по подготовке строительных площадок и котлованов, организации производства строительно-монтажных работ должны выполняться в соответствии с требованиями
ГОСТ 32867-2014.
8.1.2.2 Для монтажа технологического оборудования бестраншейной прокладки водопропускной трубы, демонтажа оборудования после проходки насыпи, обустройства оголовков трубы и русла водотока следует сооружать стартовые и приемные котлованы (площадки).
До начала работ по устройству рабочих котлованов (площадок) необходимо выполнить корчевку кустарника, выравнивание и планировку площадок бульдозерами. Зона монтажа должна быть не менее 10 м в каждую сторону от оси трубы. При планировке площадок следует обеспечить уклон поверхности для стока воды.
Русло водотока со стороны входного оголовка на расстоянии не менее 1,5 м от контура котлована (площадки) необходимо перекрыть грунтом и отвести воду во временное русло или выполнить обваловывание котлована (площадки) в соответствии с требованиями
СП 46.13330.2012. Запрещается проведение работ по устройству и реконструкции водопропускных труб при наличии в русле наледи, а также во время паводка, ледохода, карчехода.
В зависимости от вида грунтов и местных условий при устройстве котлованов (площадок) могут применяться одноковшовые экскаваторы, оборудованные обратной лопатой с вместимостью ковша от 0,15 до 0,65 м3, бульдозеры и погрузчики. Зачистку дна котлована можно выполнять вручную.
8.1.2.3 В плотных необводненных грунтах при глубине до 1,5 м котлованы устраиваются с отвесными стенками без крепления. При более слабых грунтах по
ГОСТ 33063-2014 и
ГОСТ 25100-2011 и большей глубине котлована откосы стенок уполаживаются. Наибольшую крутизну откосов котлованов, устраиваемых без крепления в нескальных грунтах выше уровня грунтовых вод, необходимо принимать в соответствии с таблицей 4.
При напластовании различных видов грунтов крутизну откосов для всех пластов следует назначать по наиболее слабому виду грунта.
Таблица 4
Крутизна откосов котлованов, устраиваемых без крепления
Вид грунтов | Крутизна откоса (отношение его высоты к заложению) при глубине котлована, м, не более |
1,5 | 3,0 | 5,0 |
Насыпные неслежавшиеся | 1:0,67 | 1:1 | 1:1,25 |
Песчаные | 1:0,50 | 1:1 | 1:1 |
Супесчаные | 1:0,25 | 1:0,67 | 1:0,85 |
Суглинистые | 1:0 | 1:0,50 | 1:0,75 |
Глинистые | 1:0 | 1:0,25 | 1:0,50 |
Лессовые | 1:0 | 1:0,50 | 1:0,50 |
Примечание - К неслежавшимся насыпным относятся грунты с давностью отсыпки до двух лет для песчаных и до пяти лет для пылевато-глинистых грунтов.
8.1.2.4 Котлованы необходимо предохранять от затопления водой. Для их устройства при отметках ниже уровня грунтовых вод проектом должно быть предусмотрено устройство водоотлива, а при слабых водонасыщенных грунтах - шпунтовое ограждение.
8.1.2.5 При разработке котлована в зимних условиях необходимо принимать меры против промерзания грунта по одному из следующих способов:
- утепление грунта вспашкой на глубину не менее 35 см с последующим боронованием на глубину от 10 до 15 см;
Примечание - Применяется осенью для предохранения грунта от промерзания в случае, когда разработка котлована планируется на зимний период времени.
- укрытие поверхности грунта утепляющими материалами толщиной слоя не менее 10 см;
Примечание - В качестве утепляющих материалов допускается использовать опилки, маты, солому и др.
- утепление снегозадержанием.
Примечание - Утепление снегозадержанием включает установку снегозадерживающих щитов, устройство валов из снега толщиной не менее 80 см. Применяется для приостановки дальнейшего промерзания грунта.
8.1.2.6 Грунт из котлована должен удаляться в отвал на расстояние, исключающее обрушение стенок котлована.
8.1.2.7 Дно котлована должно быть выровнено согласно проектному уклону. При наличии текучих и текуче-пластичных глинистых грунтов по
ГОСТ 25100-2011 в дно котлована следует втрамбовывать щебень толщиной слоя не менее 10 см с предварительным удалением верхнего разжиженного слоя грунта.
При наличии водонасыщенных мелких и пылеватых песчаных грунтов дно котлована необходимо уплотнять с обязательным втрамбовыванием слоя щебня толщиной не менее 10 см.
Котлованы в нескальных связных грунтах по
ГОСТ 25100-2011 должны разрабатываться с недобором до проектной отметки на величину от 0,1 до 0,2 м. Окончательную планировку и зачистку дна следует производить непосредственно перед установкой в котлован технологического оборудования. Допуски по подготовленному основанию в профиле должны быть не более 10 мм, а в плане - не более 30 мм.
При проходке длинных участков рекомендуется устраивать бетонное основание котлована.
8.1.2.8 Для въезда в котлован строительной техники необходимо устройство пандуса с уклоном до 0,1% с покрытием из втрамбованного в грунт щебня или дорожных плит по
ГОСТ 21924.0-84. Конструкцию пандуса должна следует указать в ППР.
Готовый котлован должен быть освидетельствован и принят комиссией с представителем заказчика с составлением акта на скрытые работы.
8.1.3 Устройство ограждающих и вспомогательных конструкций
8.1.3.1 Обустройство строительных площадок у стартового и приемного котлованов должно соответствовать выбранному типу технологического оборудования для бестраншейной прокладки и обеспечивать выполнение технологических процессов, предусмотренных проектом.
Обустройство стартового котлована следует проводить в соответствии с ППР, утвержденным главным инженером строительной организации.
8.1.3.2 Вертикальные стенки котлована (как правило, рабочая поверхность откоса насыпи и задняя стенка котлована) должны быть укреплены шпунтовым ограждением. Основание под направляющие для бурения необходимо выполнять из монолитного бетона или сборных железобетонных плит.
8.1.3.3 Для восприятия осевого усилия от оборудования во время задавливания трубы необходимо произвести устройство упора. При производстве работ в котловане глубиной более 1,5 м, стенки которого сложены прочными грунтами, упором может служить задняя стенка котлована, усиленная железобетонной плитой. При производстве работ на открытой площадке или в котловане глубиной до 1,5 м или стенки которого сложены слабыми грунтами должен быть сооружен прямоугольный железобетонный упор, рассчитанный на давление буровой машины и имеющий двукратный расчетный запас прочности. Между упорной пластиной направляющих буровой машины и упором (упорной стеной) необходимо использовать стальную распределительную пластину, размеры и толщину которой следует определять расчетом и указывать в ППР.
8.1.3.4 Рабочая стенка (откос насыпи) приемного котлована должна быть укреплена от возможного обрушения в процессе бурения. Укрепление может быть выполнено инъектированием грунта или шпунтовым ограждением.
8.1.4 Монтаж бурового оборудования
8.1.4.1 После доставки контейнеров с оборудованием на строительную площадку производится монтаж и установка всех элементов комплекса, подводятся технологические шланги, коммуникации и кабели, монтируется лазерная установка с мишенью для ведения бурения и доставляются секции прокладываемых труб с размещенными в них секциями транспортных трубопроводов при гидротранспорте и пневмотранспорте грунта или секциями шнекового конвейера.
8.1.4.2 Направляющие для установки домкратной станции или бурошнекового оборудования монтируются с тщательной выверкой их положения и уклона. Допускается использование досок для выравнивания направляющих согласно проектному уклону.
8.1.4.3 Домкратная станция устанавливается и корректируется по лучу лазера с фиксацией путем заливки быстросхватывающего раствора между опорной плитой домкратной станции и задним упором котлована. При необходимости на передней стенке котлована размещается и закрепляется стартовое уплотнение, конструкция которого выбирается в зависимости от величины гидростатического давления грунтовых вод.
8.1.4.4 В зависимости от типа системы удаления грунта устанавливается соответствующее оборудование:
- при гидротранспорте - грязевой насос и циркуляционная система;
- пневмотранспорте - циркуляционная система;
- шнековом транспорте - бадья или другое оборудование для удаления грунта.
8.1.4.5 Осуществляется монтаж системы приготовления и подачи бентонитового раствора к насадкам нагнетания для уменьшения сопротивления продавливанию и предотвращения осадок поверхности. Состав бентонитового раствора следует подбирать в лабораторных условиях в зависимости от конкретных инженерно-геологических условий проходки.
8.1.4.6 Монтируется буровое или микротоннельное оборудование с подключением к соответствующим шлангам и кабелям. Производится проверка функционирования рабочего органа, гидроцилиндров домкратной станции, системы подачи бентонитового раствора и системы измерений. По результатам проверки составляется акт освидетельствования комплекса комиссией, назначенной приказом руководителя организации.
8.2 Прокладка труб методом шнекового бурения
8.2.1 На стройплощадке производится подготовка пилотной секции прокладываемой трубы или футляра в соответствии с техническим руководством БШМ, на нее монтируется разбрызгиватель бентонитового раствора. Шнек с режущей и управляемой головками помещается внутрь секции трубы или футляра так, чтобы его хвостовик с внутренним шестигранным соединением ("мама") находился снаружи трубы или футляра для облегчения присоединения к патрону машины. Последующие секции трубы готовятся аналогичным образом для облегчения соединения секций шнека в котловане.
8.2.2 Рекомендуется использовать полноразмерные шнеки. При соответствующем обосновании допускается применение шнеков меньшего диаметра вслед за пилотным полноразмерным шнеком. Диаметр шнеков не должен быть меньше чем 3/4 диаметра полноразмерного пилотного шнека.
8.2.3 Установка и соединение пилотной секции и БШМ производятся в соответствии с техническим руководством БШМ.
8.2.4 Выполняется первоначальное забуривание при низкой скорости вращения вращения режущей головки и низком давлении БШМ. После заглубления пилотной секции на 3 метра машина останавливается и производится проверка положения трубы в плане и профиле.
Отклонение в профиле от проектного не должно превышать:

+/- 20 мм при диаметре сооружаемой водопропускной трубы до 1000 мм;

+/- 30 мм при диаметре сооружаемой водопропускной трубы от 1000 до 1400 мм;

+/- 50 мм при диаметре сооружаемой водопропускной трубы свыше 1400 мм.
Отклонение положения в плане допускается не более 100 мм.
В случае отклонения от заданного направления свыше указанных величин производится извлечение пилотной секции и забуривание вновь.
8.2.5 После заглубления первой секции осуществляется остановка подачи и удаление грунта вращением шнека. При работе в песках и других неустойчивых породах грунт не удаляется во избежание появления пустот и просадок на поверхности. Отсоединяется шнек, и машина переводится по направляющей назад. Устанавливается следующая секция трубы со шнеком, который стыкуется с предыдущим, далее монтируется стык труб и выполняется соединение с машиной. На эту секцию монтируется бентонитопровод и водяной уровень (при использовании).
8.2.6 После завершения процесса бурения и выхода режущей головки в приемный котлован производится демонтаж и удаление режущей головки. Далее шнеки втягиваются машиной внутрь проложенной трубы при медленном нормальном вращении на длину секции и извлекаются в стартовом котловане. После чего операция повторяется до полного извлечения шнеков.
В случае невозможности демонтажа и извлечения режущей головки в приемном котловане допускается извлечение шнеков с присоединенной режущей головкой без вращения в соответствии с техническим руководством конкретной БШМ и конструкцией режущей головки.
8.3 Прокладка труб методом микротоннелирования
8.3.1 После проверки герметичности стартового уплотнения и работоспособности лазерной установки приводится в действие система транспорта грунта, выбирается направление движения рабочего органа ЩММ и включается его привод на максимум оборотов с последующей регулировкой. Регулировка числа оборотов выполняется в зависимости от грунтовых условий при наблюдении за величиной крутящего момента.
8.3.2 Продвижение ЩММ с прицепными элементами и секциями прокладываемой трубы должно выполняться путем включения и выключения домкратных гидроцилиндров с последующим переводом их в автоматический режим.
Перед началом каждого продвижения ЩММ, прицепных элементов и очередных секций прокладываемой трубы необходимо выполнить следующие операции:
- подготовить к работе транспортный трубопровод по схеме, конкретной для каждого вида МТПК;
- через центральное отверстие нажимной плиты пропустить и состыковать стандартные отрезки рукавов и кабелей;
- включить систему транспортировки грунта и привод рабочего органа ЩММ;
- выполнить проверку функций приема луча лазерной мишенью.
По мере продвижения ЩММ следует выполнять пристыковку очередных секций трубы к ранее смонтированным.
8.3.3 Продвижение ЩММ и продавливание секций труб должны выполняться при одновременной работе аппаратуры системы маркшейдерского контроля и постоянном наблюдении на мониторе за положением луча лазера на мишени и регистрируемых данных о длине прокладки секции, позиции по высоте центра машины относительно проектного положения, задаваемого лучом лазера, времени проведения технологических операций.
Отклонение положения ЩММ в профиле от проектного не должно превышать:

+/- 30 мм при диаметре сооружаемой водопропускной трубы от 1000 до 1400 мм;

+/- 50 мм при диаметре сооружаемой водопропускной трубы свыше 1400 мм.
Отклонение положения ЩММ в плане допускается не более 100 мм.
8.3.4 Пустоты между наружной поверхностью секций трубы и грунтом не допускаются. Должен вестись непрерывный контроль соответствия фактического объема разрабатываемого грунта в забое его геометрическому объему.
8.3.5 При появлении просачивания грунтовой воды и явных течей должны быть приняты меры по их ликвидации в соответствии с разрабатываемым для этой цели технологическим регламентом.
8.3.6 При работе МТПК давление пригруза на забой щита, требуемое для минимизации осадок поверхности, должно определяться по инженерным рекомендациям фирм, приводимым в инструкции по применению МТПК, и по методике определения давления пригруза в соответствии со стандартом
[10].
8.3.7 Грунтовый отсек МТПК с гидравлическим транспортом грунта и грунтоприемный контейнер с пневматическим транспортом необходимо периодически освобождать от грунта. Бадья МТПК с механическим (шнековым) транспортом грунта должна разгружаться после прокладки каждой секции трубы.
8.4 Прокладка труб методом щитовой проходки
8.4.1 При прокладке водопропускных труб методом щитовой проходки разработка грунта производится под прикрытием стального щита. Параллельно происходит закрепление стенок сооружения сборными чугунными, железобетонными или керамическими тюбингами. Разработка грунта осуществляется с помощью специального проходческого щита, изготовленного в виде металлической оболочки. Размер щита соответствует размеру сооружения.
Щит состоит из нескольких частей:
- передняя в виде режущей клиновидной формы;
- средняя, которая является опорной и на ней размещаются домкраты;
- задняя - хвостовая.
Конструкция проходческих щитов и схема щитовой проходки приведены на
рисунке 9.
а - немеханизированный щит; б - механизированный щит
с плоской планшайбой; в - общая схема щитовой проходки;
1 - оболочка щита; 2 - щитовые домкраты; 3 - забойные
домкраты; 4 - платформенные домкраты; 5 - выдвижные
платформы; 6 - опорное кольцо; 7 - ножевое кольцо;
8 - вертикальные перегородки; 9 - горизонтальные
перегородки; 10 - корпус щита; 11 - планшайба; 12 - упорные
ролики; 13 - привод; 14 - подвижная станина; 15 - отвальный
мост; 16 - неподвижная станина; 17 - домкрат подачи;
18 - транспортер; 19 - резцовые окна; 20 - щит;
21 - блокоукладчик; 22 - ленточный перегружатель;
23 - обделка тоннеля; 24 - вагонетка; 25 - электровоз;
26 - ствол; 27 - раздаточный бункер-накопитель грунта
Рисунок 9 - Щитовая проходка
Щит вдавливается в грунт гидравлическими домкратами. В это время грунт перед щитом разрабатывают ручным или механическим способом. Обделка (стенок) водопропускного сооружения осуществляется в хвостовой части щита. Щитовая проходка производится в три стадии.
8.4.2 Вначале подготавливается стартовая площадка или котлован. Далее на ней устанавливается щит. Затем подводится электроэнергия и другие необходимые коммуникации (определяются ППР в зависимости от типа щита и способов разработки грунта). Подготавливаются пути для удаления грунта. В стартовом котловане (площадке) организуют свайный упор. После этого монтируют на проектной отметке проходческий щит.
8.4.3 Второй этап начинается непосредственно с передвижения щита с последующим монтажом блочной обделки. Проходка включает в себя ряд процессов, в том числе разработку породы в забое, передвижку щита, транспортирование материалов, устройство блочной или монолитной обделки, инъектирование стыков, вспомогательные работы по устройству откаточных путей и прокладке коммуникаций.
Основным процессом является разработка породы в забое, так как она влияет на темп проходки. Трудоемкость проходческих работ в значительной степени зависит от типа применяемого щита. Ручная разработка породы в забое при немеханизированных щитах отличается повышенной трудоемкостью. Поэтому всегда, когда позволяют грунтовые условия, предпочтительно использование механизированных щитовых комплексов. Разработка мягких пород грунта ведется под защитой козырька и режущей части щита. Грунт в забое не добирается до конца щита на 10 - 15 см. Глубина разработки породы зависит от характера грунтов, диаметра и конструкции щита. Обычно разработка ведется на ширину одного кольца обделки.
В связи с подвижностью грунта и необходимостью сохранности дорожного полотна производится крепление лба забоя. Разработка грунта ведется сверху вниз и поэтому сначала крепление с верхней части забоя снимается, но после разработки грунта на необходимую глубину лоб забоя снова укрепляют. Затем снимается крепление в нижней части забоя и разрабатывается грунт с последующим закреплением. При передвижке щита лоб забоя крепят на всю высоту.
Таким же способом ведется разработка забоя в сыпучих песках. В грунтах с умеренным притоком грунтовых вод она проводится с перекрытием лба забоя. При этом лоб забоя частично или полностью перекрывают шандорами (стальными щитами), установленными на болтах с внутренней стороны ножевого кольца.
Возможно искусственное осушение забоя легкими эжекторными иглофильтрами или погружными насосами в скважинах.
В тех случаях, когда из-за чрезмерно малой величины коэффициента фильтрации грунтов применить водопонизительные установки не представляется возможным, используют способы разработки грунта в забое под защитой сжатого воздуха (кессонным способом) или путем замораживания забоя. При кессонном способе проходки грунтовая вода отжимается избыточным давлением воздуха, для чего коллектор разделяется на зону повышенного и нормального давления с помощью воздухонепроницаемых перегородок и шлюзов, необходимых для прохода людей и транспортировки материалов и породы.
8.4.4 Обделку водопропускного сооружения устраивают из сборных элементов (блоков или тюбингов), а также монолитного бетона и железобетона. Обделка из тюбингов, устанавливаемых без связей, наиболее экономична.
Работы по устройству обделки начинают с укладки лотковых блоков, а затем по обе стороны монтируют боковые блоки и в заключение устанавливают замковый блок. Блоки можно размещать с постепенным убиранием штоков домкратов и освобождением места для блока нового кольца или с одновременной уборкой штоков всех домкратов. Каждый блок после укладки обжимают домкратами. Если используют кольца из трапециевидных блоков, то некоторые из них не доводят на всю длину, что облегчает сборку, а после установки замкового блока их дожимают домкратами вместе с замковым блоком, и далее они служат опорами домкратов при передвижении щита.
В щитах диаметром 3,6 м блокоукладчик прикреплен непосредственно к щиту. Укладку тюбингов ведут снизу в обе стороны вверх до замка. В каждом кольце тюбинги размещают со сдвижкой на два отверстия во избежание сквозных продольных швов. Чтобы кольцо имело правильную форму, между тюбингами и оболочкой щита укладывают дубовые клинья, убираемые после установки замкового тюбинга. При передвижении щита происходит обжатие тюбинговой обделки, затем швы между тюбингами зачеканивают раствором на основе расширяющегося цемента.
Возможно устройство обделки из монолитного бетона или из пресс-бетона. Для получения монолитно-прессованной обделки из пресс-бетона в хвостовой части щита устанавливают опалубку, за которую нагнетают бетонную смесь. Принцип работы щитового механизированного комплекса при этом основан на сочетании вдавливания в забой головной части щита и одновременного прессования смеси в его хвостовой части.
Данный проходческий комплекс состоит из щита (применяются щиты для проходки монолитной обделки диаметрами 2,1; 2,6; 3,6 и 4,1 м), металлической опалубки, механизма для перестановки опалубки, транспортерного моста, передвижной платформы с транспортером, бетоноводом и пневмоподатчиками. Бетонную смесь подают в запалубное пространство через устройство в прессующем кольце по бетоноводу от пневмоподатчиков. Вначале между стенками опалубки и щита происходит предварительное уплотнение смеси, а затем при передвижке щита с отсоединением бетоновода от прессующего кольца - окончательная ее перепрессовка с передачей усилия на породу. Этот способ позволяет сразу же получить готовую обделку с гладкой водонепроницаемой поверхностью, не требующей отделки, в то время как для сборной обделки необходимо проведение дополнительных отделочных работ.
8.4.5 Темпы щитовой проходки составляют в среднем 80 - 100 м/мес. Скорость проходки тоннелей немеханизированными щитами в зависимости от диаметра выработки, категории грунта, числа и типа домкратов, мощности насосной установки колеблется от 0,8 до 1,2 м/смен.
8.4.6 Механизированные щиты имеют механизмы для разработки грунта, укладки блоков и выдачи разработанного грунта на погрузочные средства. Рабочие органы щитов могут быть роторными, штанговыми, экскаваторными, гидромеханическими. Чаще применяют щиты с роторными и экскаваторными рабочими органами.
8.4.7 В щите с роторным рабочим органом в результате его вращения грунт, разрушенный резцами, непрерывно подхватывается спиральными лопатками и через приемное окно поступает на ленточный конвейер, а затем в тележки со съемными кузовами. Рабочий орган с помощью гидравлических домкратов выдвигается вперед на расстояние до 1 м независимо от движения щита одновременно с перемещением конвейера-перегружателя. После разработки забоя на длину одного кольца обделки рабочий орган отводят назад, щит продвигают вперед и в хвостовой части с помощью бетоно- или блокоукладчика укладывают очередное кольцо обделки. Выдачу грунта на поверхность и подачу материалов (элементов сборной обделки, цемента и др.) к щиту производят средствами горизонтального внутреннего транспорта (двухосные тележки со съемными кузовами, вагонетки, тележки-блоковозки, электрокары).
8.4.8 Механизированный щит с экскаваторным рабочим органом разрабатывает грунт по принципу обратной лопаты. Грунт из ковша выгружается на ленточный конвейер и затем в тележки горизонтального транспорта. Такой щит диаметром 2 м передвигается 16 гидравлическими домкратами грузоподъемностью по 125 т каждый.
8.4.9 Для проходки выработок при укладке водопропускных труб и коллекторов в устойчивых грунтах применяются механизированные КЩ с наружным диаметром щитов 1,2; 2,6; 3,2 и 4,0 м.
8.4.10 В твердых грунтах, когда невозможно использовать КЩ, проходка ведется немеханизированными щитами с ручной разработкой грунта. Для разработки крепких пород используются отбойные молотки либо взрывной метод.
8.5 Прокладка труб методом продавливания
8.5.1 При продавливании отдельные элементы водопропускных труб в виде колец или прямоугольных секций продавливаются в грунте домкратной установкой, расположенной на поверхности или в котловане. Головное звено должно быть оснащено ножевым устройством, под защитой которого разрабатывают грунт (рисунок 10).
1 - насыпь; 2 - железобетонный упор;
3 - домкратная установка; 4 - распределительное кольцо;
5 - продавливаемые секции; 6 - ножевая часть щита
Рисунок 10 - Схема продавливания водопропускной
трубы под насыпью
Способ продавливания позволяет прокладывать трубы длиной до 150 - 200 м.
В случае прокладки труб в слабых водонасыщенных грунтах их предварительно осушают водопонижением или закреплением химическим способом. В отдельных случаях возможно вести продавливание под действием сжатого воздуха или с использованием проходческих щитов с активным пригрузом забоя. Выбор технологической схемы производства работ зависит от длины сооружения, размеров и формы его поперечного сечения, глубины заложения и свойств пересекаемых грунтов.
При глубине заложения до 3 - 5 м для продавливания устраивают стартовый котлован, имеющий прямоугольное очертание в плане и размеры, обеспечивающие размещение необходимого оборудования и секций трубы. При преодолении насыпей, как правило, продавливание выполняют в уровне поверхности земли перед пересекаемым препятствием. Устраивается упор по
подпункту 8.1.3.3.
8.5.2 Головное звено скреплено с ножевым устройством (по типу ножевого кольца проходческого щита), предотвращающим обрушение грунта в забое и подрезающим контур выработки. Соединение ножевой части с головным звеном обделки может быть жестким или гибким, что дает возможность некоторого перемещения ножевой секции как в горизонтальной, так и в вертикальной плоскости для корректировки направления продавливания. Разработанный грунт удаляется транспортером или другими средствами в стартовый котлован.
При большой длине продавливания, особенно в песках, для снижения сил трения между поверхностью секции и грунтом, за обделку нагнетается тиксотропная бентонитовая суспензия. Обычно нагнетание производят за ножевую секцию или изнутри через отверстия в секциях труб. В некоторых случаях для этой цели по трассе с поверхности земли пробуривают скважины.
8.5.3 При недостаточности усилия продавливания необходимо использовать промежуточные домкратные установки
(рисунок 11).
а, б, в - соответственно I, II, III этапы работы;
L1 и L2 - длина продавливаемой трубы;
1 - стартовый котлован; 2 - упор; 3 - домкратная
установка в стартовом котловане; 4 - продавливаемая труба;
5 - ножевая секция; 6 - промежуточная домкратная установка
Рисунок 11 - Продавливание с использованием
промежуточной домкратной установки
Сначала усилием домкратов промежуточной установки продавливается участок, расположенный перед ней, затем штоки ее домкратов приходят в исходное положение и усилиями домкратов стартовой установки продвигаются секции обделки, находящиеся за промежуточной установкой. Вместе с этим участком перемещается и сама промежуточная домкратная установка. После завершения продавливания всей трубы домкраты промежуточной установки демонтируются, а задние секции продавливаются вперед, заполняя образовавшийся зазор. Иногда устройство промежуточных домкратных установок выполняют в специальных камерах, опущенных с поверхности земли.
8.5.4 В некоторых случаях, когда сильно затруднено или невозможно устройство мощного упора для домкратной установки, целесообразно применение способа "протаскивание" (рисунок 12).
1 - секции обделки тоннеля; 2 - ножевая секция;
3 - тросы; 4 - упорная стенка; 5 - траверса; 6 - домкрат
Рисунок 12 - Схема протаскивания под насыпью
В теле насыпи пробуриваются скважины, в которых прокладываются тросы, соединяемые с секцией трубы. С одной стороны насыпи устраивается упор для домкратной установки протаскивания. На противоположной стороне насыпи организовывается площадка для подачи секций протаскиваемой обделки. По мере разработки грунта насыпи в ножевой секции домкратная установка втягивает секции обделки вплоть до выхода их из насыпи со стороны упора.
8.5.5 В определенных условиях, при устройстве водопропускных труб большого сечения, целесообразно продавливать через насыпь крупные секции длиной 10 - 15 м и весом 200 - 400 т, изготовление которых осуществляется непосредственно на месте производства работ. Такое продавливание можно производить как с одной стороны насыпи, так и навстречу друг другу (рисунок 13).
а - продавливание под железной дорогой; б - то же,
под автомобильной дорогой;
1 - секция тоннеля; 2 - ножевая часть секции; 3 - упор;
4 - домкратная станция; 5 - железобетонная плита; 6 - крепь
вертикальной стены; 7 - стыковочная камера; 8 - анкеры
Рисунок 13 - Схемы продавливания крупногабаритных секций
8.6 Устройство водопропускных сооружений под защитой экрана из труб
8.6.1 При применении технологии сооружения водопропускных труб под защитой экрана из труб до начала проходки по наружному контуру сооружения создается защитный экран из металлических, заполненных железобетоном труб, под прикрытием которого ведется разработка грунта и возведение обделки.
Для создания опережающего защитного экрана используются стальные трубы, продавливаемые в один или два ряда в продольном относительно оси сооружения направлении. Чаще всего для создания выработки для продавливаемой трубы применяются комплексы МТПК или установки БШМ. Трубы в продольном направлении соединяются между собой специальным шпунтовым устройством (замком). Такое замковое соединение образуют швеллер и тавр (см.
рисунок 1а) и уголки (см.
рисунок 1б). Затем трубы заполняются бетонной смесью с металлической арматурой.
Продавливание труб опережающего защитного экрана может осуществляться непосредственно с поверхности земли или из стартового котлована с использованием специальной конструкции для размещения машин ЩММ или БШМ и домкратной установки.
8.6.2 Работы по сооружению опережающего экрана из труб начинаются с устройства стартового котлована, а если по топографическим условиям это необходимо, то и приемного котлована с противоположной стороны дорожной насыпи.
Грунт в котлованах разрабатывается послойно, по мере продавливания труб. В стартовом котловане устраивают бетонный оголовок и упорную плиту для домкратной установки и устанавливают опорную раму. В приемном котловане бетонируют оголовок. Размеры котлованов регламентируются применяемым оборудованием и длиной секции продавливаемой трубы. Затем в стартовом котловане на опорной раме монтируется МТПК или БШМ со всеми обустройствами и домкратная станция.
После оборудования котлованов начинается проходка горизонтальных скважин и продавливание труб защитного экрана (рисунок 14а).
Рисунок 14 - Устройство горизонтальных (а)
и вертикальных (б) рядов труб
Грунт в скважине разрабатывается заходками длиной по 3 м под защитой бентонитовой суспензии. Одновременно с разработкой грунта производится продавливание трубы. Труба длиной 6 м продавливается в два этапа. Каждая последующая секция трубы соединяется с ранее продавленной при помощи сварки. Описанный цикл повторяется до продавливания трубы на полную длину.
После завершения устройства верхнего горизонтального ряда труб приступают к поэтапному устройству боковых вертикальных защитных стен. Для этого ряд за рядом разрабатывают стартовый и приемный котлованы на глубину, достаточную для этой цели. Таким способом продавливают трубы бокового ограждения будущего водопропускного сооружения
(рисунок 14б).
Далее в трубы помещают арматурный каркас и заполняют их бетонной смесью.
8.6.3 После полного завершения работ по созданию экрана из труб приступают к проходке сооружения. На
рисунке 15 показана одна из возможных технологических схем проходки.
Рисунок 15 - Последовательность (а, б, в) сооружения тоннеля
под защитой экрана из труб
Грунт в забое разрабатывается при помощи малогабаритного экскаватора и погрузчика заходками длиной по 3 м. Лоб забоя допускается не укреплять, располагая его под углом 60°. В основание выработки производятся втрамбовывание щебня, а затем укладка геотекстиля и слоя сухой цементно-песчаной смеси, монтаж железобетонных плит лотка. Выпуски арматуры из элементов лотка свариваются, стыки омоноличиваются. Для монтажа блоков лотка используется тельферная балка, крепящаяся к трубам вертикальной стены экрана.
Затем монтируется ригель постоянной конструкции, который до подведения под него постоянных колонн опирается на временные монтажные тумбы. Завершается цикл бетонированием стен водопропускного сооружения.
8.6.4 Если уровень лотка строящегося сооружения совпадает с поверхностью земли, то для создания опережающего экрана из труб необходимо использовать специальное вспомогательное оборудование, обеспечивающее быструю перестановку комплекса к месту ввода очередного элемента экрана.
Для этой цели может использоваться вспомогательное оборудование, приведенное на рисунке 16.
1 - опорная передвижная металлоконструкция; 2 - домкратная
установка; 3 - стартовая площадка переменной длины;
4 - опорные балки для перемещения металлоконструкций;
5 - буронабивные сваи; 6 - приемная площадка
Рисунок 16 - Схема размещения вспомогательного и бурового
оборудования при устройстве защитного экрана в теле насыпи
Со стартовой стороны с поверхности земли, примыкающей к насыпи, выполняется устройство буронабивных свай (конструкция определяется проектом), к которым крепятся опорные балки. По балкам передвигается опорная металлоконструкция, на ней на определенной высоте закрепляются домкратная установка и стартовая площадка переменной длины.
Вертикальное перемещение домкратной установки и стартовой площадки при бурении очередной трубы производится на величину "А". Чтобы закрепить домкратную установку и стартовую площадку в металлоконструкции с шагом "А", размещены закладные детали.
Для продавливания нижних труб вертикальной стены экрана металлоконструкция из позиции "А" может быть переставлена на позицию "Б". На противоположной стороне насыпи устраивается приемная площадка (котлован).
Далее выполняется разработка и крепление забоя в порядке, приведенном в
пункте 8.6.2.
8.6.5 Возможны и другие схемы сооружения под защитой экрана из труб. Выбор способа работ по монтажу сооружения под защитой готового экрана из труб должен определяться размерами поперечного сечения водопропускного сооружения, его длиной, характеристиками разрабатываемого грунта и имеющимся оборудованием.
8.7 Особенности выполнения работ с применением железобетонных, металлических труб, а также труб из полимерных и композиционных материалов
8.7.1 Бестраншейная прокладка стальных труб
8.7.1.1 Применение гладких стальных труб при бестраншейном устройстве водопропускных сооружений является наиболее простым и технологичным способом. Используемые при этом трубы должны соответствовать требованиям
пункта 7.1.1.
8.7.1.2 При подготовке труб к прокладке большое внимание должно уделяться точности нарезки секций. Для этих целей должны применяться промышленные способы подготовки и резки труб. Рекомендуемая длина секции (для бурошнековой и микротоннельной прокладки - 6,1 м) позволяет контролировать направление трассы и процесс разработки грунта. Стенки трубы должны быть гладкие для снижения усилия продавливания и предотвращения тенденции закручивания футляра (при бурошнековой и микротоннельной проходках). С этой же целью к хвостовой части каждой погружаемой секции трубы привариваются две противовращательные пластины, которые крепятся болтами к толкателю силовой установки комплекса.
8.7.1.3 При стыковке секций трубы между собой к хвосту ранее уложенной секции с внутренней стороны привариваются направляющие, а после окончания стыковки сверху и с боков трубы - фиксирующие продольные полосы длиной не менее 1,2 м. Секции трубы должны быть сварены между собой полностью, без пропусков. Параметры сварных швов и методы контроля сварных стыков необходимо указывать в проектной документации.
8.7.2 Бестраншейная прокладка железобетонных труб
8.7.2.1 Используемые при прокладке бестраншейным методом железобетонные трубы должны соответствовать требованиям
пункта 7.1.2. Рекомендуемая длина прокладываемых секций труб составляет 3 м. Для стыковых соединений железобетонных труб рекомендуется применять стальные или стеклопластиковые муфты по концам трубы, а также по одному или по два кольцевых эластомерных уплотнителя.
8.7.2.2 При продавливании трубные секции следует располагать втулочным концом вперед. Усилие продавливания должно передаваться на бетонный торец по всей его плоскости через жесткую металлическую обечайку и демпфирующее компрессионное кольцо.
8.7.3 Бестраншейная прокладка композитных труб
8.7.3.1 Для бестраншейной прокладки водопропускных труб допускается использовать композитные специальные стекло- или базальтопластиковые трубы для микротоннелирования, соответствующие требованиям
пункта 7.1.3. Стандартная длина поставляемых труб 6 м. По специальному заказу - 3; 2 и 1 м.
Композитные трубы могут быть применены при любых методах бестраншейной прокладки, однако с использованием БШМ требуется защита их внутренней поверхности от повреждения. При прокладке труб методами бурошнекового бурения или продавливания необходимо применение стального режущего оголовка.
При бестраншейном способе прокладки должны использоваться специальные соединительные муфты, не выступающие за наружный диаметр самой трубы.
8.7.3.2 Глубина заложения композитных труб не должна превышать 12 м над верхом трубы для грунтов с характеристиками, приведенными в таблице 5.
Таблица 5
Физико-механические характеристики грунтов
Характеристика грунта | Вид грунта |
Песчаный | Глинистый |
Объемный вес, кН/м3 | 19 | 18 |
Угол внутреннего трения, град. | 30 | 18 |
Модуль деформации, Н/см2 | 1300 | 800 |
Расчетное сопротивление грунта в основании труб, Н/см2 | >= 12 |
Уровень грунтовых вод, м | <= 10,0 |
При прокладке труб в грунтах с другими характеристиками, увеличивающими давление грунта и на глубинах заложения более 12 м над верхом труб, необходимо в проекте выполнять проверочный расчет на их прочность, деформативность и устойчивость.
Минимальная глубина заложения до верха трубы диаметром до 1 м должна быть не менее 2 м, а для труб большего диаметра - 3 м.
8.7.3.3 Трубы типа 1 (см.
пункт 7.1.3) с муфтами из нержавеющей стали должны продавливаться вместе с муфтой, обращенной по ходу продавливания, трубы типа 2 со стеклопластиковой муфтой должны продавливаться с муфтой, обращенной против хода продавливания.
8.7.3.4 Максимально допустимое угловое отклонение труб при продавливании приведено в таблице 6.
Таблица 6
Допустимое угловое отклонение труб при продавливании
Наружный диаметр трубы, мм | Максимально допустимое угловое отклонение, град. |
401 - 550 | 2,0 |
650 - 750 | 1,5 |
800 - 860 | 1,2 |
920 - 1099 | 1,0 |
1220 - 1350 | 0,8 |
1430 - 1720 | 0,6 |
1840 - 2050 | 0,5 |
2250 - 2740 | 0,4 |
8.7.4 Прокладка труб в защитном футляре
8.7.4.1 Полимерные, стальные гофрированные (в том числе спиральновитые) трубы, равно как и трубы из других материалов, могут применяться в качестве внутренней оболочки при их прокладке в стальных футлярах.
8.7.4.2 Рекомендуемая величина технологического зазора между внутренней поверхностью футляра и протаскиваемой в него рабочей трубой составляет 50 - 100 мм и не должна быть менее 30 мм.
8.7.4.3 Трубы из ПНД могут иметь резьбовое соединение, замковое или на сварке. Сборка труб с резьбовым и замковым соединениями должна осуществляться в соответствии с технологическими регламентами предприятий-изготовителей, сварочные работы по соединению труб - в соответствии с положениями
СП 40-102-2000.
Для труб диаметром до 1200 мм монтаж стыков должен производиться в котловане или на рабочей площадке, для труб внутренним диаметром 1200 мм и более допускается соединение звеньев труб внутри футляра.
8.7.4.4 Протаскивание собранной плети или отдельных звеньев труб ведется раструбами вперед в направлении вверх по уклону с использованием неметаллических тросов.
Перед затаскиванием труб внутри футляра производится бетонирование направляющего лотка или создание других условий, позволяющих обеспечить проектный уклон и сохранность труб, снизить воздействие на них нагрузок от протаскивания.
8.7.4.5 Заполнение технологического зазора между наружной поверхностью затаскиваемых труб и внутренней поверхностью футляра осуществляют тиксотропным цементным раствором по всей длине трубы. Для труб диаметром 1200 мм и более при большой длине трубы допускается заполнение зазора посекционно с обязательным контролем полноты заполнения.
8.7.4.6 При устройстве внутренних рабочих труб в защитном футляре рекомендуется руководствоваться правилами выполнения работ, изложенными в стандарте
[11].
8.8 Устройство оголовков, укрепительные и планировочные работы
8.8.1 Устройство оголовков
8.8.1.1 При бестраншейной прокладке водопропускные трубы могут устраиваться как с оголовками, так и без них.
Оголовки должны быть, как правило, из типовых сборных железобетонных элементов. Тип и конструкция оголовков, а также сопряжение оголовков с телом трубы необходимо указывать в проекте, а порядок монтажа - в ППР.
При устройстве водопропускных труб из композиционных материалов рекомендуется конструкция оголовка, приведенная на
рисунке 17.
а - разрез вдоль трубы;
б - схема соединений основной трубы
и дополнительного фрагмента;
1 - бетонный оголовок; 2 - стык основной трубы
и дополнительного фрагмента; 3 - основная труба; 4 - муфта;
5 - упорное кольцо; 6 - дополнительный фрагмент трубы,
обработанный образивным материалом
Рисунок 17 - Конструкция оголовка композитной
водопропускной трубы
Данное решение обеспечивает сцепление бетонной поверхности с поверхностью композитной трубы. С этой целью фрагмент трубы длиной 70 - 100 см обрабатывается смолой и посыпается абразивным материалом (песком и др.). После полимеризации смолы отрезки трубы с улучшенной адгезией к бетону сопрягаются с основной трубой с помощью специальных муфт, которые также обрабатываются смолой и абразивным материалом. Для повышения сцепления трубы с бетонным оголовком и восприятия сдвигающих сил по поверхности контакта трубы с бетоном могут применяться отрезки трубы с упорными кольцами.
8.8.1.2 При монтаже оголовков особое внимание должно уделяться обеспечению надежного сопряжения трубы и оголовка в целях исключения возможности возникновения неравномерных осадок.
Также по индивидуальным проектам допускается устройство оголовков из габионных конструкций.
Металлические и композитные трубы могут устраиваться без оголовков, при этом торцы труб должны быть обрезаны вертикально или наклонно, параллельно откосу насыпи. Откосы насыпи в этом случае необходимо укреплять (рисунок 18).
Рисунок 18 - Укрепление откоса у водопропускной трубы
8.8.2 Укрепление откосов и русел
8.8.2.1 Для предотвращения размыва насыпи и подмыва основания водопропускной трубы должно выполняться укрепление откосов насыпи и устройство противофильтрационных экранов. Укрепление откосов и русел рекомендуется осуществлять из сетчатых габионных изделий или бетонными и железобетонными сборными или монолитными покрытиями, а также каменной наброской по типовым проектам
[12].
8.8.2.2 На легкоразмываемых грунтах логов для уменьшения скорости потока проектом должны быть предусмотрены гасители скорости потока.
8.8.3 Ликвидация котлованов и площадок, планировка территории
8.8.3.1 После выполнения основных работ и до сдачи водопропускной трубы в эксплуатацию должны быть произведены следующие работы:
- в стартовом котловане демонтировано и вывезено технологическое оборудование, материалы, бетонное покрытие;
- удален из русла и вывезен грунт, отсыпанный на время производства работ;
- очищены русло и пойма от посторонних предметов;
- разобраны и вывезены временные сооружения со строительной площадки;
- выполнена планировка и рекультивация земель;
- в случае указания в проекте или по предписанию контролирующих органов произведена посадка кустарников и деревьев на всей территории строительства, включая подъездные дороги.
8.8.3.2 Выполнение перечисленных работ должно быть указано в акте сдачи водопропускной трубы в эксплуатацию.
9 Требования к контролю и приемке работ
Контроль работ по бестраншейной прокладке водопропускных труб в соответствии с
ГОСТ 32731-2014 должен включать:
- входной контроль материалов и изделий;
- операционный контроль работ;
- оценку соответствия выполненных работ;
- приемку выполненных работ.
9.2 Входной контроль материалов и изделий
9.2.1 При входном контроле подрядчиком (генподрядчиком) осуществляется проверка:
- проектной документации;
- применяемых материалов и изделий.
9.2.2 Проектную документацию, включая ПОС и рабочую документацию, следует проверять на комплектность, наличие согласований и утверждений, ссылок на нормативные документы для материалов и изделий, а также указаний о методах контроля и измерений.
9.2.3 При поступлении материалов и изделий, используемых при бестраншейной прокладке водопропускных труб, должна осуществляться их проверка на соответствие требованиям проектной и рабочей документации,
раздела 7 настоящего методического документа, а также других документов. Соответствие установленным требованиям должно подтверждаться сертификатами, паспортами, актами и иными документами, направленными предприятиями-изготовителями и другими поставщиками на объект строительства вместе с отгружаемой продукцией.
9.2.4 Входной контроль должен производиться лицом, осуществляющим строительство (подрядчиком, генподрядчиком), с привлечением в случае несоответствия материалов и изделий установленным требованиям представителей заказчика и предприятий-изготовителей (поставщиков).
При входном контроле материалов и изделий необходимо проводить проверку:
- наличия маркировки и ее соответствие данным, приведенным в сертификатах и паспортах, а также в проектной документации;
- комплектности материалов и изделий;
- отсутствия внешних повреждений и дефектов.
Входной контроль должен осуществляться визуальным осмотром и измерением геометрических размеров в соответствии с ГОСТ 13015-2012 (
разделы 5 -
8). По результатам входного контроля оформляются документы по
ГОСТ 24297-2013.
9.2.5 Ответственность за соответствие материалов и изделий установленным требованиям, правильность их погрузки в транспортные средства, а также за правильность маркировки несет предприятие-изготовитель (поставщик). При выявлении несоответствия материалов и изделий требованиям нормативных документов и проекта или сопроводительным документам партия материалов или изделий бракуется с оформлением акта и возвращается поставщику.
9.2.6 При повреждении материалов и изделий в пути подрядчиком совместно с заказчиком составляется акт рекламации, который направляется предприятию-изготовителю и транспортной компании, осуществлявшей перевозку.
9.3 Операционный контроль работ
9.3.1 Операционный контроль выполнения работ по бестраншейной прокладке водопропускных труб предназначен для предупреждения возникновения скрытых дефектов, которые могут оказать негативное влияние на состояние и работу как водопропускных труб, так и земляного полотна и дорожного покрытия на данном участке.
9.3.2 Операционный контроль должен проводиться непосредственно на строительной площадке в процессе выполнения подготовительных, основных и заключительных работ.
9.3.3 Операционный контроль осуществляется представителями лица, проводящего строительство (подрядчика, генподрядчика), при участии представителей заказчика.
9.3.4 При операционном контроле производится проверка:
- соответствия последовательности и состава выполняемых технологических операций проектной, нормативной и технологической документации;
- соблюдения технологических режимов, установленных ППР, инструкциями и технологическими регламентами;
- соответствия показателей качества выполнения операций и их результатов требованиям проектной, нормативной и технологической документации.
9.3.5 Основные контролируемые параметры при бестраншейной прокладке водопропускных труб и способы их проверки приведены в таблице 7.
Таблица 7
Основные контролируемые параметры и способы их проверки
Раздел (пункт) в настоящем методическом документе | Операция | Контролируемые параметры | Допускаемые отклонения | Способы контроля |
| Подготовка рабочих котлованов и площадок | Крутизна откосов | | Инструментальный |
Утепление грунта в зимних условиях | | Визуальный |
Планировка и укрепление дна | | Инструментальный |
| Устройство ограждающих и вспомогательных конструкций | Укрепление вертикальных стенок | | Визуальный |
Устройство упора | | Расчетный |
Укрепление рабочей стенки | | Визуальный |
| Монтаж бурового оборудования | Монтаж направляющих | | Визуальный |
Установка домкратной станции | |
Монтаж системы подачи бентонитового раствора | |
Монтаж рабочего оборудования | |
| Прокладка труб методом шнекового бурения | Монтаж пилотной секции | | Визуальный |
Первоначальное забуривание | | Инструментальный |
| Прокладка труб методом микротоннелирования | Подготовка ЩММ к работе | | Визуальный |
Отклонение ЩММ в процессе работы | | Инструментальный |
Объем разработанного грунта | |
| Прокладка труб методом щитовой проходки | Подготовка щита к работе | | Визуальный |
Разработка грунта | | Инструментальный |
Устройство обделки | | Визуальный |
| Прокладка труб методом продавливания | Подготовка котлована | | Визуальный |
Устройство упора | | Расчетный |
Проходка скважины | | Инструментальный |
| Устройство водопропускных сооружений под защитой экрана из труб | Замковое соединение труб | | Визуальный |
Устройство защитного экрана | | Инструментальный |
Разработка грунта | | Визуальный |
| Прокладка стальных труб | Подготовка секций труб | | Инструментальный |
Стыковка секций труб | | Визуальный |
| Прокладка железобетонных труб | Процесс продавливания | | Визуальный |
| Прокладка композитных труб | Глубина заложения | | Инструментальный |
Процесс продавливания | | Визуальный |
Угловое отклонение | | Инструментальный |
| Прокладка труб в защитном футляре | Технологический зазор | | Инструментальный |
Монтаж стыков | | Визуальный |
Протаскивание плети | |
Заполнение технологического зазора | |
| Устройство оголовков | Сопряжение трубы и оголовка | | Визуальный |
| Укрепление откосов и русел | Строительно-монтажные работы | | Визуальный |
| Ликвидация котлованов и площадок, планировка территории | Строительно-монтажные работы | | Визуальный |
9.3.6 Проектная организация в соответствии с
СП 11-110-99 должна осуществлять авторский надзор за реализацией технических решений и требований, содержащихся в проектной и рабочей документации, вносить изменения в рабочую документацию и согласовывать изменения к проекту в соответствии с требованиями
ГОСТ Р 21.1101-2013.
9.4 Оценка соответствия выполненных работ
- при промежуточной приемке этапов (освидетельствование геодезической разбивочной основы, оценка соответствия котлованов, шпунтового ограждения, смонтированного оборудования, защитного экрана и т.д.);
- на заключительном этапе, при приемке законченных строительством объектов в соответствии с проектной и рабочей документацией.
9.4.2 Оценка соответствия выполненных работ должна включать:
- контроль отметок и правильность установки конструкций и оборудования, необходимых при проведении работ;
- контроль отметок и правильность установки элементов конструкции водопропускной трубы и плотность примыкания элементов к опорным поверхностям и друг к другу в пределах допускаемых отклонений;
- качество сварки, соединения и заделки стыков и швов;
- выполнение других специальных требований проекта.
9.4.3 Промежуточную оценку этапов необходимо оформлять актами на скрытые работы за подписью представителя заказчика, проектной и строительной организаций.
9.4.4 Заключительная оценка соответствия законченных строительством объектов должна осуществляться согласно
ГОСТ 32755-2014 приемочной комиссией, назначаемой заказчиком, которая проверяет соответствие построенного объекта проектной и рабочей документации, а также оценивает объем и качество выполненных работ.
При заключительной оценке контролируется соответствие:
- выполненных работ и смонтированных конструкций требованиям проектной документации;
- применяемых материалов и изделий требованиям проектной и рабочей документации, а также стандартов и других нормативных документов;
- объемов произведенных работ по отдельным видам требований проектной, рабочей и исполнительной документации;
- полноты и качества промежуточной приемки этапов выполненных работ и ведения исполнительной и другой установленной производственно-технической документации (общие и специальные журналы производства работ, исполнительные чертежи, журналы авторского надзора, акты освидетельствования работ, паспорта и сертификаты на материалы и изделия).
9.4.5 По требованию заказчика может быть проведено вскрытие конструкций. В случае выявления несоответствия выполненных работ проектной документации и требованиям нормативных документов работы подлежат переделке.
10 Мероприятия по охране труда и безопасности работ
10.1 Работы по бестраншейной прокладке подземных сооружений должны выполняться согласно
СП 12-136-2002 и документам [
13,
14] с соблюдением требований инструкций по эксплуатации применяемых машин и механизмов.
10.2 При подготовке к сооружению стартового и приемного котлованов, прокладке секций труб и устройстве экранов из труб надлежит оградить зону работ, выставить соответствующие знаки и освещение, выполнить мероприятия по обеспечению сохранности существующих коммуникаций и сооружений.
10.3 Строительная площадка должна содержаться в чистоте, все отходы ежедневно необходимо удалять в специально отведенные места. Запрещается загромождать проходы и подходы к оборудованию, ширина которых не менее 1 м, в зимнее время их надлежит очищать от снега и наледи и посыпать песком.
10.4 Стартовый и приемный котлованы должны иметь предохранительное ограждение высотой не менее 1,1 м и быть оборудованы сходами или лестницами шириной не менее 0,6 м. Площадки у котлованов должны быть горизонтальными, иметь твердое покрытие. При сооружении котлованов необходимо выполнить мероприятия, исключающие затопление котлованов талыми и атмосферными водами.
Крепление котлованов должно обеспечивать восприятие нагрузок от оборудования, установленного на их бровке. Лицам технического надзора необходимо проводить визуальное, а маркшейдерской службе - не реже одного раза в неделю инструментальное наблюдение за состоянием крепи котлованов с занесением результатов измерений в журнал.
Все оборудование на бровке котлована должно быть закреплено от скатывания в него.
10.5 К обслуживанию оборудования допускается только обученный персонал, прошедший инструктаж по охране труда и технике безопасности в соответствии с
ГОСТ 12.0.004-2015 и обеспеченный средствами индивидуальной защиты, спецодеждой и спецобувью.
Оборудование должно иметь предупредительные надписи, на рабочих местах должны находиться инструкции по технике безопасности. Запрещается использование оборудования для целей, не предусмотренных паспортом и инструкцией по эксплуатации. Все системы инженерного обеспечения оборудования необходимо оснащать приборами контроля и предохранительными клапанами, исправное состояние которых должно контролироваться согласно инструкции по эксплуатации.
10.6 При производстве работ запрещается нахождение людей в зоне выхода буровой головки в приемном котловане, под опускаемым в котлован грузом.
Ввод и вывод МТПК через крепь стартовых и приемных котлованов, а также удаление элементов крепи котлованов, попадающих в зону бурения, должны выполняться в присутствии технического персонала. Рабочие во время подачи секций труб в котлован не должны находиться в опасной зоне.
10.7 Напряжение в сети питания центрального щита управления МТПК не должно превышать 230 В, питание должно быть стабильным и бесперебойным. Оборудование, металлоконструкции, вагончики необходимо заземлять. Прокладка кабелей и шлангов должна исключать их сдавливание, растягивание или повреждение при работе.
10.8 При проведении электросварочных работ надлежит выполнять требования
норм [15]. Электросварочные устройства должны быть рассчитаны на подключение к сетям с напряжением не выше 660 В. Металлические части электросварочного оборудования, не находящегося под напряжением, а также свариваемые конструкции на все время сварки необходимо заземлять. Подключение кабелей к сварочному оборудованию должно осуществляться при помощи опрессованных и припаянных кабельных наконечников. При выполнении электросварочных работ в котловане с источником переменного тока все электросварочные установки необходимо оборудовать устройствами автоматического снятия напряжения холостого хода или ограничения его до 12 В с выдержкой времени не более 0,5 с.
Производство электросварочных работ во время дождя или снегопада при отсутствии навесов над рабочим местом электросварщика и электросварочным оборудованием не допускается.
10.9 Перед началом профилактического обслуживания оборудования должны быть выключены все источники питания, приняты меры по предотвращению случайного пуска, а все опрессованные емкости разгерметизированы.
Профилактическое обслуживание оборудования необходимо проводить по графику регламентных работ и проверок с соблюдением всех требуемых условий эксплуатации оборудования и инструкций по профилактическому обслуживанию и ремонту.
10.10 Уровни шума и вибрации, а также освещенность строительной площадки и рабочих мест должны соответствовать требованиям нормативных документов. Между проходчиками в стартовом и приемном котлованах необходимо обеспечить двустороннюю связь.
10.11 При необходимости нахождения работающего персонала в прокладываемых трубах внутренним диаметром 1,2 м и более до начала работ осуществляется комплекс мероприятий, обеспечивающий им безопасные условия (вентиляция, освещение, уровень шума, вибрация и т.д.) в соответствии с требованиями стандарта
[10]. В трубах диаметром менее 1,2 м работа людей запрещается.
(рекомендуемое)
ЧИСЛО И ГЛУБИНА СКВАЖИН, НЕОБХОДИМЫХ
ПРИ БЕСТРАНШЕЙНОЙ ПРОКЛАДКЕ ВОДОПРОПУСКНЫХ ТРУБ
А.1 Количество разведочных скважин по оси водопропускной трубы определяется категорией автомобильной дороги, строением насыпи, ее высотой и крутизной откосов.
А.2 Ширина земляного полотна в уровне проезжей части автомобильной дороги I - V категорий находится в пределах от 8 до 43,5 м.
Крутизна откосов насыпи автомобильной дороги изменяется от 1:1,3 до 1:2 в зависимости от типа грунта, слагающего тело насыпи.
А.3 Таким образом, в качестве ориентира число разведочных скважин при вышеупомянутых параметрах автомобильных дорог следует принимать:
- при высоте насыпи до 6 м - не менее пяти вдоль оси водопропускной трубы и по одной в рабочем и приемном котлованах;
- более 6 м - не менее семи вдоль оси водопропускной трубы и по одной в рабочем и приемном котлованах.
А.4 Глубина скважин определяется необходимостью освещения геологического разреза, гидрогеологических условий, свойств грунтов в пределах прогнозируемой зоны взаимодействия проектируемых объектов с геологической средой.
Глубину скважин Hскв, м, для водопропускной трубы, сооружаемой бестраншейным способом, следует определять по формуле
Hскв >= Hн + 2D, (А.1)
где Hн - высота насыпи автомобильной дороги в месте заложения скважины, м;
D - диаметр водопропускной трубы, м.
При диаметре трубы меньше 2 м глубина скважин должна быть не менее чем на 4 м ниже подошвы насыпи.
(рекомендуемое)
МЕТОДИКА РАСЧЕТА УСИЛИЯ ПРОДАВЛИВАНИЯ ТРУБ
Б.1 Усилие продавливания труб складывается из усилий, необходимых для преодоления сопротивления продавливанию: начального сопротивления, трения о грунт, потерь от трения в элементах механизмов, сопротивления от трения статического давления трубы на грунт, адгезии между трубами и грунтом. Эти сопротивления могут изменяться в зависимости от инженерно-геологических условий, глубины заложения и методов продавливания.
Б.2 Для гидравлического и грунтового пригруза забоя общее усилие продавливания P, кН, следует рассчитывать по формуле
P = Po + P1, (Б.1)
где Po - начальное сопротивление продавливанию, кН;
P1 - усилие сопротивления трения и сцепления по боковой поверхности труб, кН.
Начальное сопротивление продавливанию Po гидр., кН, при использовании гидропригруза определяется по формуле:

(Б.2)
где Pw - давление гидропригруза, кН/м2;
Pc - усилие продавливания на площадь забоя (для грунтового массива - 150 кН/м2, для гравия - 300 кН/м2);
Da - наружный диаметр трубы, м.
Давление гидропригруза Pw рассчитывают по формуле
Pw = Pз + 20, (Б.3)
где Pз - горизонтальное давление грунтового массива в забое, кН/м2.
Примечание - Горизонтальное давление грунтового массива в забое P
з следует рассматривать как горизонтальную составляющую горного давления с учетом возможного образования свода давления при коэффициенте бокового распора

, с учетом временной нагрузки и взвешивающего действия грунтовых вод.
Начальное сопротивление продавливанию Po гр., кН, при использовании грунтового пригруза находят по формуле

(Б.4)
где

- коэффициент усилия резания, который зависит от типа пород (равен 0,5 для вязких пород, 2,0 - для песчаных, 3,0 - для твердых);
Pв - давление вынутой породы, кН/м2,
Pв = Pз + Pгс + 20; (Б.5)
Pгс - гидростатическое давление, кН/м2.
Б.3 Усилие сопротивления трения и сцепления по боковой поверхности трубы P1, кН/м2, рассчитывается по формуле
P1 = foL, (Б.6)
где fo - сила сопротивления грунта вокруг трубы, кН/м;
L - длина продавливания, м.
Сила сопротивления грунта вокруг трубы определяют по формуле

(Б.7)
где

- понижающий коэффициент усилия продавливания, который принимается для ила и вязких грунтов равным 0,35, для песчаных грунтов - 0,45, для гравия - 0,60, для твердых грунтов - 0,35;
q - равномерная нагрузка, воспринимаемая трубой, кН;
G - удельный вес трубы, кН/м;

- коэффициент трения трубы о грунт (таблица Б.1);
C' - сцепление, кН/м2 (см. таблицу Б.1).
Таблица Б.1
Коэффициенты трения и сцепление
Трение материала труб | Коэффициент трения  | Среднее значение  | Сцепление C', кН/м2 |
Бетон по песку, гравию | 0,53 - 0,60 | 0,55 | 0 |
Бетон по супеси | 0,40 - 0,50 | 0,45 | 0,19 - 0,16 |
Бетон по суглинку | 0,36 - 0,45 | 0,40 | 0,15 |
Бетон по глине | 0,30 - 0,50 | 0,40 | 0,22 - 0,19 |
Бетон по раствору бентонита | 0,10 | 0,10 | 0,10 - 0,05 |
Стеклопластик по песку | 0,20 - 0,25 | 0,22 | 0 |
Стеклопластик по глине | 0,15 | 0,15 | 0,10 |
Стеклопластик по раствору бентонита | 0,10 | 0,10 | 0,10 - 0,05 |
(рекомендуемое)
РАСЧЕТ ДАВЛЕНИЯ ГРУНТА НА ПОДЗЕМНЫЕ ТРУБОПРОВОДЫ
ПРИ БЕСТРАНШЕЙНОЙ ПРОКЛАДКЕ
В.1 Для расчета вертикального давления грунта на трубу от внешних нагрузок используется расчетная схема, приведенная на рисунке В.1.
qгр - давление грунта на трубу; hср - высота свода;
DН - наружный диаметр трубы
Рисунок В.1 - Среднее давление грунта
на подземный трубопровод
В расчете принимается среднее давление грунта

, кПа, по горизонтальной плоскости, проходящей через центр трубопровода, которое определяется по формуле

(В.1)
где

- объемный вес грунта в естественном состоянии, кг/м
3.
В.2 При прокладке трубы на глубине, большей некоторой величины, над трубой образуется свод естественного равновесия высотой hсв (рисунок В.2).
а - опирание свода на уровне центра трубы;
б - то же, на уровне верхней образующей трубы
Рисунок В.2 - Давление грунта на подземную трубу
при образовании свода естественного равновесия
При прокладке труб бестраншейным способом высота свода h
св, м, по методике проф. М.М. Протодьяконова
(рисунок В.2а) рассчитывается по формуле

(В.2)
где

- условный угол внутреннего трения, град.;
D - положение точки, в котором давление равно нулю.
В.3 В варианте, когда начало свода (по предложению Метрогипротранса) помещается на уровне верха трубы
(рисунок В.2б), высота h
св будет равна

(В.3)
где B - величина пролета разгруженного свода, м,

(В.4)
В.4 Давление грунта, расположенного выше точки 0, полностью воспринимается грунтовым сводом, а на трубы давит грунт, находящийся внутри свода естественного равновесия. Давление qсв, кПа, принимается равномерно распределенным и равным

(В.5)
В.5 Начальная глубина, при которой начинает образовываться свод естественного равновесия, может быть рассчитана по зависимости

(В.6)
где

- коэффициент крепости, учитывающий суммарное действие сил трения и сцепления грунта.
В.6 Для связных грунтов коэффициент крепости определяется по формуле

(В.7)
где c - удельное сцепление, кПа;

- сжимающее напряжение, при котором находится сопротивление связного грунта сдвигу, кПа.
В.7 Численные значения коэффициентов крепости для некоторых грунтов, соответствующие условные углы внутреннего трения приведены в таблице В.1.
Таблица В.1
Коэффициенты крепости fкр
(по методике проф. М.М. Протодьяконова)
и условные углы внутреннего трения

различных грунтов
Наименование грунта | Коэффициент крепости fкр | Условный угол внутреннего трения  , град. |
Плывун, болотистый грунт, разжиженный грунт | 0,3 | 9 |
Песок, мелкий гравий, насыпной грунт | 0,5 | 27 |
Растительный грунт, торф, сырой песок, слабый глинистый грунт | 0,6 | 30 |
Глинистый грунт, лесс, гравий | 0,8 | 40 |
Плотный глинистый грунт | 1,0 | 60 |
Щебенистый грунт, галька, разрушенный сланец, твердая глина | 1,5 | 60 |
Мягкий сланец, мягкий известняк, мел, мерзлый грунт, мергель, сцементированная галька и хрящ, каменистый грунт | 2,0 | 65 |
Некрепкие сланцы, плотный мергель, разрушенный песчаник | 3,0 | 70 |
Крепкий глинистый сланец, некрепкие песчаники и известняки, мягкий конгломерат | 4,0 | 70 |
(рекомендуемое)
Г.1 При продавливании особое внимание должно уделяться прочности и устойчивости задней (упорной) стенки, воспринимающей упорные реакции усилий подачи, развиваемых гидродомкратной установкой. Опорные реактивные усилия, передаваемые упорной стенкой на грунт, достигают иногда более 500 тс.
Г.2 При подборе типа упорной стенки (рисунок Г.1) необходимо учитывать пассивное давление грунта, которое возникает при стремлении упорной стенки перемещаться в сторону грунта засыпки.
а - разрез; б - вид сверху;
А - ширина упорной стенки для четырех домкратов;
H - глубина котлована;
o = h - расстояние от поверхности грунта
до оси защитного футляра;
1 - бетонный фундамент (блоки ФС 5-8);
2 - бетонный фундамент (блоки ФС 5);
3 - брус размером 20 x 20 мм; 4 - опорный пакет;
5 - ось защитного футляра
(размеры даны в миллиметрах)
Рисунок Г.1 - Схема типовой упорной стенки
Г.3 Согласно
рисунку Г.2, равнодействующая пассивного давления E
р, кПа, определяется по формуле

для несвязного грунта (с = 0)

(Г.1)

для связного грунта


(Г.2)
где

- удельный вес грунта, кг/м
3;
c - удельное сцепление, кПа.
Рисунок Г.2 - Схема к расчету пассивного давления
грунта на вертикальную гладкую стенку
Г.4 Задача сводится к выбору конструкции и размеров упорной плиты, равнодействующая пассивного давление которой превышает усилие продавливания с принятым коэффициентом запаса.
(рекомендуемое)
СОРТАМЕНТ СТЕКЛОПЛАСТИКОВЫХ ТРУБ
ДЛЯ БЕСТРАНШЕЙНОЙ ПРОКЛАДКИ
Наружный диаметр Da, мм/Тип муфты | Внутренний диаметр муфты Ds, мм | Кольцевая жесткость, Н/м2 |
32000 | 40000 | 50000 | 64000 | 80000 | 100000 | 128000 | 160000 | 200000 | 320000 | 640000 | 1000000 |
550 FS3 (нерж.) M (ПАС) | 533,5 537,0 | Толщина стенки, мм | - | 20 | 21 | 22 | 24 | 26 | 28 | 30 | 33 | 38 | 47 | 53 |
Максимальное осевое усилие, Кн | - | 484 | 505 | 566 | 684 | 728 | 808 | 888 | 1006 | 1199 | 1537 | 1755 |
Максимальное осевое усилие, Кн | - | - | - | - | - | - | - | - | 893 | 1086 | 1423 | 1640 |
Вес трубы, кг/м | - | 73 | 75 | 80 | 87 | 94 | 101 | 108 | 118 | 134 | 163 | 182 |
Внутренний диаметр, мм | - | 510 | 508 | 506 | 502 | 498 | 494 | 490 | 484 | 474 | 456 | 444 |
616 FS3 (нерж.) M (ПАС) | 599,5 603,0 | Толщина стенки, мм | - | 21 | 23 | 25 | 27 | 29 | 32 | 34 | 37 | 43 | 50 | 58 |
Максимальное осевое усилие, Кн | - | 582 | 675 | 766 | 858 | 948 | 1083 | 1173 | 1304 | 1564 | 1860 | 2188 |
Максимальное осевое усилие, Кн | - | - | - | - | - | - | - | 1040 | 1172 | 1432 | 1727 | 2055 |
Вес трубы, кг/м | - | 86 | 94 | 102 | 110 | 118 | 129 | 137 | 148 | 170 | 196 | 224 |
Внутренний диаметр, мм | - | 574 | 570 | 566 | 562 | 558 | 552 | 548 | 542 | 530 | 516 | 500 |
650 FS3 (нерж.) M (ПАС) | 633,0 637,0 | Толщина стенки, мм | 21 | 24 | 25 | 26 | 28 | 30 | 33 | 35 | 38 | 44 | 54 | 62 |
Максимальное осевое усилие, Кн | 613 | 760 | 809 | 857 | 953 | 1049 | 1191 | 1285 | 1425 | 1700 | 2145 | 2490 |
Максимальное осевое усилие, Кн | - | - | - | - | - | - | 1054 | 1148 | 1288 | 1563 | 2008 | 2352 |
Вес трубы, кг/м | 91 | 104 | 108 | 112 | 120 | 128 | 141 | 149 | 161 | 184 | 222 | 252 |
Внутренний диаметр, мм | 608 | 602 | 600 | 598 | 549 | 590 | 584 | 580 | 574 | 562 | 542 | 526 |
718 FS4 (нерж.) M (ПАС) | 698,2 705,0 | Толщина стенки, мм | 23 | 25 | 27 | 28 | 30 | 32 | 35 | 40 | 43 | 48 | 59 | 68 |
Максимальное осевое усилие, Кн | 733 | 842 | 949 | 1002 | 1109 | 1215 | 1373 | 1632 | 1786 | 2040 | 2582 | 3012 |
Максимальное осевое усилие, Кн | - | - | - | - | - | 1121 | 1278 | 1538 | 1691 | 1944 | 2486 | 2915 |
Вес трубы, кг/м | 110 | 120 | 129 | 134 | 143 | 152 | 165 | 187 | 201 | 222 | 269 | 305 |
Внутренний диаметр, мм | 672 | 668 | 664 | 662 | 658 | 654 | 648 | 638 | 632 | 622 | 600 | 582 |
752 FS4 (нерж.) M (ПАС) | 732,0 739,0 | Толщина стенки, мм | 24 | 26 | 28 | 30 | 33 | 36 | 39 | 42 | 45 | 51 | 62 | 72 |
Максимальное осевое усилие, Кн | 800 | 913 | 1026 | 1138 | 1305 | 1470 | 1635 | 1797 | 1958 | 2275 | 2843 | 3342 |
Максимальное осевое усилие, Кн | - | - | - | - | 1231 | 1396 | 1560 | 1722 | 1882 | 2199 | 2765 | 3263 |
Вес трубы, кг/м | 121 | 130 | 140 | 150 | 164 | 178 | 192 | 206 | 220 | 247 | 296 | 338 |
Внутренний диаметр, мм | 704 | 700 | 696 | 692 | 686 | 680 | 674 | 668 | 662 | 650 | 628 | 608 |
820 FS4 (нерж.) L (ПАС) | 801,0 806,0 | Толщина стенки, мм | 25 | 27 | 29 | 33 | 35 | 38 | 42 | 45 | 49 | 54 | 67 | 78 |
Максимальное осевое усилие, Кн | 964 | 1088 | 1211 | 1456 | 1577 | 1758 | 1998 | 2175 | 2410 | 2700 | 3433 | 4032 |
Максимальное осевое усилие, Кн | - | - | - | 1229 | 1350 | 1531 | 1770 | 1947 | 2181 | 2470 | 3203 | 3802 |
Вес трубы, кг/м | 137 | 148 | 158 | 179 | 190 | 205 | 226 | 241 | 261 | 286 | 349 | 400 |
Внутренний диаметр, мм | 770 | 766 | 762 | 754 | 750 | 744 | 736 | 730 | 722 | 712 | 686 | 664 |
860 FS4 (нерж.) L (ПАС) | 840,8 845,0 | Толщина стенки, мм | 27 | 29 | 31 | 35 | 37 | 40 | 43 | 47 | 51 | 58 | 72 | - |
Максимальное осевое усилие, Кн | 1140 | 1270 | 1399 | 1655 | 1783 | 1972 | 2160 | 2409 | 2655 | 3080 | 3905 | - |
Максимальное осевое усилие, Кн | - | - | - | 1407 | 1534 | 1723 | 1911 | 2160 | 2405 | 2830 | 3654 | - |
Вес трубы, кг/м | 155 | 166 | 170 | 199 | 210 | 227 | 243 | 264 | 285 | 321 | 392 | - |
Внутренний диаметр, мм | 806 | 802 | 798 | 790 | 786 | 780 | 774 | 766 | 758 | 744 | 716 | - |
924 FS5 (нерж) L (ПАС) | 902,3 910,0 | Толщина стенки, мм | 29 | 32 | 34 | 37 | 40 | 42 | 46 | 50 | 54 | 62 | 77 | - |
Максимальное осевое усилие, Кн | 1302 | 1511 | 1649 | 1856 | 2060 | 2197 | 2466 | 2734 | 2998 | 3519 | 4470 | - |
Максимальное осевое усилие, Кн | - | - | 1448 | 1654 | 1859 | 1995 | 2265 | 2531 | 2796 | 3316 | 4265 | - |
Вес трубы, кг/м | 179 | 197 | 209 | 227 | 244 | 256 | 279 | 302 | 324 | 369 | 450 | - |
Внутренний диаметр, мм | 866 | 860 | 856 | 850 | 844 | 840 | 832 | 824 | 816 | 800 | 770 | - |
960 FS5 (нерж.) L (ПАС) | 938,5 945,0 | Толщина стенки, мм | 31 | 34 | 36 | 39 | 42 | 44 | 48 | 52 | 56 | 64 | 80 | - |
Максимальное осевое усилие, Кн | 1497 | 1714 | 1858 | 2072 | 2285 | 2426 | 2706 | 2983 | 3258 | 3800 | 4854 | - |
Максимальное осевое усилие, Кн | - | 1478 | 1622 | 1836 | 2048 | 2189 | 2469 | 2746 | 3012 | 3563 | 4615 | - |
Вес трубы, кг/м | 199 | 217 | 230 | 248 | 266 | 278 | 302 | 326 | 350 | 396 | 486 | - |
Внутренний диаметр, мм | 898 | 892 | 888 | 882 | 876 | 872 | 864 | 856 | 848 | 832 | 800 | - |
1026 FS5 (нерж.) L (ПАС) | 1004,6 1011,0 | Толщина стенки, мм | 34 | 36 | 38 | 41 | 44 | 48 | 52 | 56 | 61 | 68 | - | - |
Максимальное осевое усилие, Кн | 1830 | 1984 | 2138 | 2367 | 2595 | 2897 | 3195 | 3492 | 3859 | 4366 | - | - |
Максимальное осевое усилие, Кн | 1585 | 1739 | 1893 | 2122 | 2349 | 2651 | 2949 | 3246 | 3612 | 4118 | - | - |
Вес трубы, кг/м | 233 | 246 | 259 | 279 | 298 | 324 | 350 | 375 | 407 | 450 | - | - |
Внутренний диаметр, мм | 958 | 954 | 950 | 944 | 938 | 930 | 922 | 914 | 904 | 890 | - | - |
1099 FS5 (нерж.) L (ПАС) | 1077,0 1082,0 | Толщина стенки, мм | 35 | 38 | 41 | 44 | 48 | 51 | 56 | 59 | 64 | 73 | - | - |
Максимальное осевое усилие, Кн | 2040 | 2288 | 2535 | 2781 | 3106 | 3348 | 3748 | 3987 | 4380 | 5079 | - | - |
Максимальное осевое усилие, Кн | 1717 | 1965 | 2211 | 2456 | 2781 | 3023 | 3423 | 3661 | 4054 | 4752 | - | - |
Вес трубы, кг/м | 257 | 278 | 300 | 321 | 348 | 369 | 403 | 424 | 457 | 517 | - | - |
Внутренний диаметр, мм | 1029 | 1023 | 1017 | 1011 | 1003 | 997 | 987 | 981 | 971 | 953 | - | - |
1229 FS5 (нерж.) L (ПАС) | 1207,1 1210,0 | Толщина стенки, мм | 40 | 43 | 46 | 49 | 53 | 56 | 61 | 66 | 71 | 81 | - | - |
Максимальное осевое усилие, Кн | 2748 | 3026 | 3302 | 3576 | 3940 | 4212 | 4660 | 5105 | 5546 | 6416 | - | - |
Максимальное осевое усилие, Кн | 2289 | 2566 | 2842 | 3116 | 3479 | 3750 | 4199 | 4643 | 5083 | 5951 | - | - |
Вес трубы, кг/м | 328 | 352 | 376 | 399 | 430 | 454 | 492 | 530 | 568 | 642 | - | - |
Внутренний диаметр, мм | 1149 | 1143 | 1137 | 1131 | 1123 | 1117 | 1107 | 1097 | 1087 | 1067 | - | - |
1280 FS5 (нерж.) L (ПАС) | 1257,8 1260,0 | Толщина стенки, мм | 41 | 45 | 47 | 52 | 55 | 59 | 64 | 68 | - | - | - | - |
Максимальное осевое усилие, Кн | 2968 | 3354 | 3545 | 4022 | 4306 | 4682 | 5149 | 5520 | - | - | - | - |
Максимальное осевое усилие, Кн | 2434 | 2819 | 3011 | 3487 | 3770 | 4146 | 4613 | 4983 | - | - | - | - |
Вес трубы, кг/м | 351 | 384 | 400 | 441 | 465 | 497 | 537 | 569 | - | - | - | - |
Внутренний диаметр, мм | 1198 | 1190 | 1186 | 1176 | 1170 | 1162 | 1152 | 1144 | - | - | - | - |
1348 FS5 (нерж.) L (ПАС) | 1327,0 1327,0 | Толщина стенки, мм | 44 | 47 | 50 | 54 | 58 | 62 | 67 | 72 | - | - | - | - |
Максимальное осевое усилие, Кн | 3467 | 3771 | 4074 | 4476 | 4875 | 5272 | 5764 | 6252 | - | - | - | - |
Максимальное осевое усилие, Кн | 2824 | 3120 | 3432 | 3833 | 4278 | 4628 | 5120 | 5608 | - | - | - | - |
Вес трубы, кг/м | 396 | 422 | 448 | 483 | 517 | 551 | 593 | 635 | - | - | - | - |
Внутренний диаметр, мм | 1260 | 1254 | 1248 | 1240 | 1232 | 1224 | 1214 | 1204 | - | - | - | - |
1434 FS5 (нерж.) L (ПАС) | 1412,1 1412,0 | Толщина стенки, мм | 46 | 49 | 52 | 57 | 61 | 65 | 71 | 76 | - | - | - | - |
Максимальное осевое усилие, Кн | 3890 | 4215 | 4537 | 5072 | 5497 | 5919 | 6548 | 7067 | - | - | - | - |
Максимальное осевое усилие, Кн | 3150 | 3474 | 3796 | 4330 | 4755 | 5177 | 5804 | 6323 | - | - | - | - |
Вес трубы, кг/м | 441 | 469 | 496 | 542 | 578 | 615 | 668 | 713 | - | - | - | - |
Внутренний диаметр, мм | 1342 | 1336 | 1330 | 1320 | 1312 | 1304 | 1292 | 1282 | - | - | - | - |
1499 FS5 (нерж.) L (ПАС) | 1476,2 1476,0 | Толщина стенки, мм | 48 | 52 | 56 | 60 | 64 | 68 | 74 | 79 | - | - | - | - |
Максимальное осевое усилие, Кн | 4236 | 4688 | 5137 | 5582 | 6027 | 6469 | 7126 | 7670 | - | - | - | - |
Максимальное осевое усилие, Кн | 3476 | 3927 | 4376 | 4822 | 5265 | 5705 | 6362 | 6904 | - | - | - | - |
Вес трубы, кг/м | 481 | 520 | 558 | 596 | 634 | 672 | 728 | 775 | - | - | - | - |
Внутренний диаметр, мм | 1403 | 1395 | 1387 | 1379 | 1371 | 1363 | 1351 | 1341 | - | - | - | - |
1638 L (ПАС) | 1613,0 | Толщина стенки, мм | 52 | 56 | 60 | 65 | 70 | 75 | 81 | - | - | - | - | - |
Максимальное осевое усилие, Кн | 4218 | 4711 | 5202 | 5811 | 6417 | 7018 | 7734 | - | - | - | - | - |
Вес трубы, кг/м | 569 | 611 | 653 | 706 | 757 | 809 | 870 | - | - | - | - | - |
Внутренний диаметр, мм | 1534 | 1526 | 1518 | 1508 | 1498 | 1488 | 1476 | - | - | - | - | - |
1720 XL (ПАС) | 1692,0 | Толщина стенки, мм | 55 | 59 | 64 | 68 | 73 | 78 | - | - | - | - | - | - |
Максимальное осевое усилие, Кн | 4381 | 4899 | 5542 | 6054 | 6690 | 7322 | - | - | - | - | - | - |
Вес трубы, кг/м | 632 | 676 | 731 | 775 | 830 | 884 | - | - | - | - | - | - |
Внутренний диаметр, мм | 1610 | 1602 | 1592 | 1584 | 1574 | 1564 | - | - | - | - | - | - |
1842 XL (ПАС) | 1814,0 | Толщина стенки, мм | 59 | 63 | 68 | 73 | 78 | 83 | - | - | - | - | - | - |
Максимальное осевое усилие, Кн | 5224 | 5779 | 6469 | 7154 | 7836 | 8514 | - | - | - | - | - | - |
Вес трубы, кг/м | 726 | 774 | 833 | 892 | 950 | 1008 | - | - | - | - | - | - |
Внутренний диаметр, мм | 1724 | 1716 | 1706 | 1696 | 1686 | 1676 | - | - | - | - | - | - |
2047 XL (ПАС) | 2016,0 | Толщина стенки, мм | 65 | 70 | 75 | 81 | - | - | - | - | - | - | - | - |
Максимальное осевое усилие, Кн | 6549 | 7320 | 8086 | 9000 | - | - | - | - | - | - | - | - |
Вес трубы, кг/м | 889 | 955 | 1021 | 1099 | - | - | - | - | - | - | - | - |
Внутренний диаметр, мм | 1917 | 1907 | 1897 | 1885 | - | - | - | - | - | - | - | - |
2160 XL (ПАС) | 2128,0 | Толщина стенки, мм | 68 | 73 | 79 | - | - | - | - | - | - | - | - | - |
Максимальное осевое усилие, Кн | 7320 | 8136 | 9100 | - | - | - | - | - | - | - | - | - |
Вес трубы, кг/м | 980 | 1048 | 1124 | - | - | - | - | - | - | - | - | - |
Внутренний диаметр, мм | 2024 | 2014 | 2002 | - | - | - | - | - | - | - | - | - |
2250 XL (ПАС) | 2218,0 | Толщина стенки, мм | 71 | 76 | 82 | - | - | - | - | - | - | - | - | - |
Максимальное осевое усилие, Кн | 7987 | 8835 | 9846 | - | - | - | - | - | - | - | - | - |
Вес трубы, кг/м | 1068 | 1141 | 1227 | - | - | - | - | - | - | - | - | - |
Внутренний диаметр, мм | 2108 | 2098 | 2086 | - | - | - | - | - | - | - | - | - |
2400 XL (ПАС) | 2364,0 | Толщина стенки, мм | 76 | 81 | - | - | - | - | - | - | - | - | - | - |
Максимальное осевое усилие, Кн | 9251 | 10154 | - | - | - | - | - | - | - | - | - | - |
Вес трубы, кг/м | 1218 | 1295 | - | - | - | - | - | - | - | - | - | - |
Внутренний диаметр, мм | 2248 | 2238 | - | - | - | - | - | - | - | - | - | - |
2550 XL (ПАС) | 2511,0 | Толщина стенки, мм | 80 | - | - | - | - | - | - | - | - | - | - | - |
Максимальное осевое усилие, Кн | 10346 | - | - | - | - | - | - | - | - | - | - | - |
Вес трубы, кг/м | 1352 | - | - | - | - | - | - | - | - | - | - | - |
Внутренний диаметр, мм | 2390 | - | - | - | - | - | - | - | - | - | - | - |
2740 XL (ПАС) | 2699,0 | Толщина стенки, мм | 86 | - | - | - | - | - | - | - | - | - | - | - |
Максимальное осевое усилие, Кн | 12278 | - | - | - | - | - | - | - | - | - | - | - |
Вес трубы, кг/м | 1579 | - | - | - | - | - | - | - | - | - | - | - |
Внутренний диаметр, мм | 2378 | - | - | - | - | - | - | - | - | - | - | - |
| | Руководство по геодезическим работам при устройстве подземных коммуникаций, 1983 |
| СТО НОСТРОЙ 2.1.94-2013 | Система измерений в строительстве. Измерения геометрических параметров зданий и сооружений и контроль их точности |
| | Инструкции по топографической съемке в масштабах 1:5000, 1:2000, 1:1000, 1:500 |
| | Правила начертания условных знаков на топографических планах подземных коммуникаций масштабов 1:5000, 1:2000, 1:1000, 1:500, 1979 |
| | Положение о составе разделов проектной документации и требованиях к их содержанию, 2008 |
| | Инструкция по устройству гидроизоляции конструкций мостов и труб на железных, автомобильных и городских дорогах |
| ОСТ 35-22-83 | Трубы водопропускные из гофрированного металла под насыпи железных и автомобильных дорог. Технические условия |
| | Рекомендации по проектированию и строительству водопропускных сооружений из металлических гофрированных структур на автомобильных дорогах общего пользования с учетом региональных условий (дорожно-климатических зон) |
| | Порядок ведения общего и (или) специального журнала учета выполнения работ при строительстве, реконструкции, капитальном ремонте объектов капитального строительства |
| | Освоение подземного пространства. Сооружение тоннелей тоннелепроходческими механизированными комплексами с использованием высокоточной обделки |
| | ИС МЕГАНОРМ: примечание. В официальном тексте документа, видимо, допущена опечатка: стандарт имеет номер СТО НОСТРОЙ 2.25.102-2013, а не СТО НОСТРОЙ 2.25.102-2-2013. | |
|
| | Автомобильные дороги. Устройство, реконструкция и капитальный ремонт водопропускных труб. Часть 4. Капитальный ремонт водопропускных труб |
| | Типовые строительные конструкции, изделия и узлы. Серия 3.501.1-56. Укрепление русел, конусов и откосов насыпи у малых и средних мостов и водопропускных труб. Вып. 0. Конструкции укреплений. Материалы для проектирования, 1990 |
| | Безопасность труда в строительстве. Часть 2. Строительное производство |
| | Правила безопасности при строительстве подземных сооружений |
| | Безопасность труда в строительстве. Часть 1. Общие требования |
ОКС |
Ключевые слова: водопропускные трубы, шнековое бурение, микротоннелирование, щитовая проходка, продавливание, проходка под защитой экрана из труб |
Руководитель организации-разработчика
ООО "ЦентрДорпроект"
Генеральный директор _________________________А.В. Холманских