Главная // Актуальные документы // Методическое пособиеСПРАВКА
Источник публикации
М., 2020
Примечание к документу
Название документа
"Методическое пособие по проектированию оснований и фундаментов на органоминеральных и органических грунтах"
"Методическое пособие по проектированию оснований и фундаментов на органоминеральных и органических грунтах"
МИНИСТЕРСТВО СТРОИТЕЛЬСТВА И ЖИЛИЩНО-КОММУНАЛЬНОГО
ХОЗЯЙСТВА РОССИЙСКОЙ ФЕДЕРАЦИИ
ФЕДЕРАЛЬНОЕ АВТОНОМНОЕ УЧРЕЖДЕНИЕ
"ФЕДЕРАЛЬНЫЙ ЦЕНТР НОРМИРОВАНИЯ, СТАНДАРТИЗАЦИИ
И ТЕХНИЧЕСКОЙ ОЦЕНКИ СООТВЕТСТВИЯ В СТРОИТЕЛЬСТВЕ"
МЕТОДИЧЕСКОЕ ПОСОБИЕ
ПО ПРОЕКТИРОВАНИЮ ОСНОВАНИЙ И ФУНДАМЕНТОВ
НА ОРГАНОМИНЕРАЛЬНЫХ И ОРГАНИЧЕСКИХ ГРУНТАХ
Настоящее методическое пособие разработано в развитие положений
СП 22.13330 для реализации проектировщиками требований, заложенных в строительных нормах и правилах, и выполнения более грамотного и рационального проектирования оснований фундаментов зданий и сооружений на органоминеральных и органических грунтах.
В настоящем методическом пособии приведены указания и рекомендации по проектированию, специальным мероприятиям и геотехническому мониторингу оснований и фундаментов зданий и сооружений на органоминеральных и органических грунтах.
Настоящее методическое пособие разработано с учетом актуализации нормативной базы за последние десять лет, в том числе
ГОСТ 25100 (в части классификации органоминеральных и органических грунтов),
ГОСТ 12248 (в части методов определения коэффициентов фильтрационной консолидации и ползучести), а также
СП 305.1325800 (в части геотехнического мониторинга при строительстве в условиях распространения органоминеральных и органических грунтов).
Настоящее методическое пособие предназначено для инженерно-технических работников проектных и строительных организаций.
Методическое пособие разработано авторским коллективом НИИОСП им. Н.М. Герсеванова - структурным подразделением АО "НИЦ "Строительство" (канд. техн. наук
И.В. Колыбин - руководитель организации-разработчика, канд. техн. наук
Ф.Ф. Зехниев - руководитель темы (разделы 1 -
7),
Д.А. Внуков - ответственный исполнитель (разделы 1 -
4,
6,
7), канд. техн. наук
А.Н. Труфанов (раздел 5),
А.Н. Николаев (раздел 7),
А.В. Сазонова (
разделы 2,
3)).
Настоящее методическое пособие распространяется на основания фундаментов зданий и сооружений на органоминеральных и органических грунтах и содержит рекомендации к их проектированию.
Настоящее методическое пособие не распространяется на проектирование оснований гидротехнических сооружений, дорог, аэродромных покрытий, а также оснований глубоких опор и фундаментов машин с динамическими нагрузками.
В развитие положений
подраздела "6.4 Органоминеральные и органические грунты" СП 22.13330.2016 настоящее методическое пособие содержит указания по особенностям проектирования оснований и фундаментов на органоминеральных и органических грунтах, приведены рекомендации по проектированию предпостроечного уплотнения оснований с указанием принципиальных схем уплотнения слабых грунтов, по методам расчета осадок и сроков консолидации оснований с примерами расчетов, рекомендации по специальным мероприятиям, направленным на обеспечение нормативных требований по предельным деформациям и несущей способности оснований, а также по конструктивным мероприятиям в целях снижения чувствительности конструкций зданий к неравномерным осадкам основания.
В дополнение к
ГОСТ 12248 в настоящем методическом пособии приведены примеры определения коэффициента фильтрационной (первичной) консолидации по методу обработки результатов компрессионных испытаний - метод Тэйлора (метод квадратного корня из времени) и коэффициентов фильтрационной (первичной) и вторичной консолидации по методу обработки результатов испытаний - метод Казагранде (логарифмический метод). Впервые приведена методика ускоренных консолидационных испытаний в режиме релаксации напряжений
[1] -
[3], которая позволяет значительно сократить сроки лабораторных исследований.
Также в настоящем методическом пособии в дополнение к
пункту 6.4.33 СП 22.13330.2016 и
подразделу 8.4 СП 305.1325800.2017 приведены рекомендации по измерениям общих и послойных осадок основания, горизонтальных перемещений грунтового массива по глубине, контролю за изменением избыточного порового давления, наблюдению за уровнем грунтовых вод, применяемому измерительному оборудованию и периодичности наблюдений. Приведены принципиальные схемы расстановки контрольно-измерительных средств при геотехническом мониторинге.
В настоящем методическом пособии использованы нормативные ссылки на следующие документы:
ГОСТ 12248-2010 Грунты. Методы лабораторного определения характеристик прочности и деформируемости
СП 22.13330.2016 "СНиП 2.02.01-83* Основания зданий и сооружений" (с изменениями N 1, N 2, N 3)
СП 47.13330.2012 "СНиП 11-02-96 Инженерные изыскания для строительства. Основные положения"
СП 305.1325800.2017 Здания и сооружения. Правила проведения геотехнического мониторинга при строительстве
Примечание - При пользовании настоящим методическим пособием целесообразно проверить действие ссылочных документов в информационной системе общего пользования - на официальном сайте Федерального агентства по техническому регулированию и метрологии в сети Интернет или по ежегодному информационному указателю "Национальные стандарты", который опубликован по состоянию на 1 января текущего года, и по выпускам ежемесячного информационного указателя "Национальные стандарты" за текущий год. Если заменен ссылочный документ, на который дана недатированная ссылка, то рекомендуется использовать действующую версию этого документа с учетом всех внесенных в данную версию изменений. Если заменен ссылочный документ, на который дана датированная ссылка, то рекомендуется использовать версию этого документа с указанным выше годом утверждения (принятия). Если после утверждения настоящего методического пособия в ссылочный документ, на который дана датированная ссылка, внесено изменение, затрагивающее положение, на которое дана ссылка, то это положение рекомендуется применять без учета данного изменения. Если ссылочный документ отменен без замены, то положение, в котором дана ссылка на него, рекомендуется применять в части, не затрагивающей эту ссылку. Сведения о действии сводов правил целесообразно проверить в Федеральном информационном фонде стандартов.
В настоящем методическом пособии применены следующие термины с соответствующими определениями:
3.1 геотехнический мониторинг: Комплекс работ, основанный на натурных наблюдениях за поведением конструкций вновь возводимого или реконструируемого сооружения, его основания, в том числе грунтового массива, окружающего (вмещающего) сооружение, и конструкций сооружений окружающей застройки.
3.2
заторфованный грунт: Песчаный или глинистый грунт, содержащий в своем составе от 3% (для песка) и от 5% (для глинистого грунта) до 50% (по массе) торфа. |
3.3
ил: Современный нелитифицированный морской или пресноводный органо-минеральный осадок, содержащий более 3% (по массе) органического вещества, как правило, имеющий текучую консистенцию IL > 1, коэффициент пористости e >= 0,9 и содержание частиц размером менее 0,01 мм более 30% по массе. |
3.4
коэффициент поперечного расширения (коэффициент Пуассона)  : Показатель деформируемости, характеризующий отношение поперечных и продольных деформаций грунта. |
3.5
коэффициент фильтрации k: Скорость фильтрации воды в грунте при градиенте напора, равном единице. |
3.6
коэффициент фильтрационной и вторичной консолидации : Показатели, характеризующие скорость деформации грунта при постоянном давлении за счет фильтрации воды  и ползучести грунта  . |
3.7
нестабилизированное состояние грунта: Состояние грунта, характеризуемое незавершенностью деформаций уплотнения под определенной нагрузкой и наличием избыточного давления в поровой жидкости. |
3.8
органический грунт: Грунт, содержащий 50% (по массе) и более органического вещества. |
3.9
органическое вещество: Органические соединения, входящие в состав грунта. |
3.10
органо-минеральный грунт: Грунт, содержащий от 3% до 50% (по массе) органического вещества. |
3.11
ползучесть: Процесс развития деформаций грунта (сдвиговых, объемных) во времени при действии постоянного напряжения. |
3.12
поровое давление: Давление в поровой жидкости грунта. |
3.13
реконсолидация: Восстановление природной плотности и двухфазного состояния образца грунта, разуплотненного в результате парогазовыделения в процессе его отбора при сохранении природной влажности. |
3.14
сапропель: Современный нелитифицированный органо-минеральный или органический осадок пресноводных застойных водоемов (или погребенный осадок), содержащий более 10% (по массе) органического вещества, имеющий, как правило, коэффициент пористости e > 3 и текучепластичную или текучую консистенцию. |
3.15
стабилизированное состояние грунта: Состояние грунта, характеризуемое окончанием деформаций уплотнения под определенной нагрузкой и отсутствием избыточного давления в поровой жидкости. |
3.16
торфяной грунт (торф): Органический грунт, содержащий в своем составе 50% (по массе) и более органического вещества, представленного растительными остатками и гумусом. |
3.17
эффективное напряжение: Напряжение, действующее в скелете грунта, определяемое как разность между полным напряжением в образце грунта и поровым давлением. |
4.1 Основания, сложенные водонасыщенными органоминеральными (илы, сапропели, заторфованные грунты) и органическими грунтами (торфы и сапропели) или включающие эти грунты, следует проектировать с учетом их особенностей: большой сжимаемости, изменчивости и анизотропии прочностных, деформационных и фильтрационных характеристик и изменений их в процессе консолидации основания, длительного развития осадок во времени и возможности возникновения нестабилизированного состояния.
Для илов следует учитывать тиксотропию и газовыделение (метан, углекислый газ).
Также следует учитывать, что подземные воды в органоминеральных и органических грунтах агрессивны к материалам подземных конструкций.
4.2 По характеру залегания органоминеральные и органические грунты делятся на открытые (залегающие с поверхности), погребенные (залегающие в виде линз или слоев на различной глубине) и искусственно погребенные (перекрытые искусственно сформированными отложениями).
4.3 В зависимости от расположения слоев или линз органоминерального и органического грунта в плане и по глубине основания выделяют наиболее распространенные типы оснований, приведенные на
рисунке 4.1.
4.4 При проведении инженерно-геологических изысканий следует дополнительно устанавливать:
- характер залегания органоминеральных и органических грунтов (см.
рисунок 4.1) и толщину слоев, прослоек и линз этих грунтов;
- относительное содержание органического вещества Ir для выделения заторфованных грунтов, торфов и сапропелей;
- степень разложения торфа Ddp;
- коэффициент консолидации.
Расстояние между отдельными скважинами не должно превышать 20 м для сооружений уровня ответственности КС-2 (нормальный) и КС-3 (повышенный), и они должны полностью прорезать толщу органоминеральных и органических грунтов с заглублением не менее чем на 2 м в подстилающие минеральные грунты. При толщине органических и органоминеральных грунтов свыше 30 м необходимо проходить не менее 30% выработок на их полную толщину. Для сооружений уровня ответственности КС-1 (пониженный) расстояние между выработками рекомендуется назначать в соответствии с требованиями
пункта 6.3.6 СП 47.13330.2012.
Определение характеристик органоминеральных и органических грунтов следует проводить не менее чем через 0,5 м по глубине каждого обнаруженного слоя.
4.5 На строительных площадках, в основании которых залегают илы, в целях сохранения природной структуры этого грунта следует применять методы испытаний, исключающие динамическое воздействие на грунт. Следует применять штампы, прессиометры, статическое зондирование, приборы вращательного среза, радиоизотопные методы и т.д.
4.6 Следует выделять пресноводные илы с относительным содержанием органического вещества Ir более 10% - сапропели. В зависимости от условий залегания сапропели подразделяют на неуплотненные и уплотненные в природном залегании; по относительному содержанию органического вещества - на высокоминеральные, среднеминеральные и низкоминеральные.
I - в пределах всей сжимаемой толщи основания
залегают органоминеральные или органические грунты;
II - в верхней части сжимаемой толщи основания залегает слой
органоминерального или органического грунта; III - в нижней
части сжимаемой толщи основания залегают органоминеральные
или органические грунты; IV - сжимаемая толща в пределах
пятна застройки здания включает односторонне (IVа),
двусторонне (IVб) вклинившиеся линзы или содержит множество
линз (IVв) из органоминеральных или органических грунтов;
V - в пределах глубины сжимаемой толщи находится одна (Vа)
или несколько прослоек (Vб) органоминерального или
органического грунта, границы которых в плане выходят
за пределы пятна застройки здания
Рисунок 4.1 - Типовые схемы оснований, содержащих
органоминеральные и органические грунты
4.7 Характеристики органоминеральных и органических грунтов следует определять на основе непосредственных испытаний грунтов в полевых или лабораторных условиях.
Ориентировочные значения физико-механических характеристик сапропелей, открытых и погребенных торфов и илов, которые могут быть использованы для предварительной оценки оснований, сложенных указанными грунтами, приведены в
таблицах 4.1 -
4.4.
Для глинистых грунтов с относительным содержанием органического вещества в долях единицы в диапазоне 0,05 <=
Ir <= 0,25 нормативные значения характеристик
E,

и
cn для расчетов оснований сооружений, оговоренных в
пункте 5.3.18 СП 22.13330.2016, допускается принимать по
таблице 4.5.
Таблица 4.1
Средние значения физико-механических
характеристик открытого торфа
Показатель | Значение показателя при степени разложения Ddp, % |
верхового | низинного |
5 - 20 | 21 - 30 | 31 - 40 | > 40 | 5 - 25 | 26 - 40 | > 40 |
Влажность, соответствующая полному водонасыщению wsat, доли единицы | 14,5 | 12,5 | 11,8 | 10,0 | 11,5 | 7,5 | 5,8 |
Плотность частиц торфа  , г/см 3 | 1,62 | 1,56 | 1,49 | 1,40 | 1,58 | 1,51 | 1,5 |
Модуль деформации при полной влагоемкости E, МПа | 0,11 | 0,15 | 0,23 | 0,25 | 0,15 | 0,24 | 0,31 |
Коэффициент бокового давления  | 0,12 | 0,19 | 0,28 | 0,35 | 0,22 | 0,43 | 0,50 |
Коэффициент консолидации  , м 2/год | 10 | 5 | 2 | 1 | 5 | 2 | 1 |
Таблица 4.2
Средние значения физико-механических
характеристик погребенного торфа
Показатель | Значения показателя при степени разложения Ddp, % |
20 - 30 | 31 - 40 | 41 - 60 |
Плотность грунта  , г/см 3 | 1,0 | 1,05 | 1,2 |
Плотность частиц грунта  , г/см 3 | 1,5 | 1,60 | 1,80 |
Природная влажность w, доли единицы | 3,0 | 2,2 | 1,7 |
Коэффициент пористости e | 5,5 | 4,0 | 3,0 |
Угол внутреннего трения  , градус | 22 | 12 | 10 |
Удельное сцепление c, кПа | 20 | 25 | 30 |
Модуль деформации E, МПа | 1,1 | 2,0 | 3,0 |
Коэффициент бокового давления  | 0,24 | 0,28 | 0,32 |
Таблица 4.3
Средние значения модуля деформации илов
Ил | Коэффициент пористости e | Модуль деформации E, МПа |
Супесчаный | 0,8 | 5,1 |
1,2 | 3,3 |
Суглинистый | 0,9 | 2,0 |
1,6 | 1,2 |
Глинистый | 1,2 | 1,6 |
2,0 | 0,8 |
Таблица 4.4
Значения физико-механических характеристик сапропелей
Тип залегания | Разновидность сапропелей | Содержание веществ | Влажность w, д.е. | Плотность частиц грунта  , г/см 3 | Коэффициент пористости e | Модуль деформации E, МПа (при p = 0,05 МПа) | Сопротивление вращательному срезу  , кПа |
органических Ir, % | карбонатных CaCO3, % |
Неуплотненные в природном залегании | Озерные под слоем воды | Высокоминеральные | 10 - 30 | 30 | 1,5 - 4,5 | 2,0 - 2,5 | 5 - 12 | 0,25 - 0,6 | 4 - 6 |
Среднеминеральные | 30 - 50 | 30 | 3 - 6 | 1,8 - 2,0 | 9 - 12 | 0,1 - 0,3 | 2 - 4 |
Низкоминеральные | > 50 | 30 | 6 - 20 | 1,4 - 1,8 | 12 - 25 | 0,03 - 0,1 | < 2 |
Болотные под слоем торфа | Высокоминеральные | 10 - 30 | 30 | 1,2 - 3,7 | 2,0 - 2,5 | 4 - 12 | 0,4 - 0,8 | 12 - 13 |
Среднеминеральные | 30 - 50 | 30 | 3 - 6 | 1,8 - 2,0 | 8 - 12 | 0,25 - 0,5 | 7 - 12 |
Низкоминеральные | 50 - 80 | 10 - 30 | 6 - 12 | 1,4 - 1,8 | 12 - 20 | 0,1 - 0,25 | 12 - 13 |
Уплотненные в природном залегании (озерно-болотные под слоем минеральных наносов) | Высокоминеральные | 10 - 30 | 30 | 0,5 - 1,8 | 2,0 - 2,5 | 1,4 - 3 | 0,7 - 2 | 15 - 25 |
Среднеминеральные | 30 - 50 | 30 | 1,5 - 2,5 | 1,8 - 2,0 | 3 - 5 | 0,4 - 1 | 10 - 20 |
Низкоминеральные | > 50 | 30 | 1,5 - 3,0 | 1,4 - 1,8 | 4 - 6 | 0,3 - 0,5 | 2 - 15 |
Таблица 4.5
Нормативные значения модуля деформации E, МПа, угла
внутреннего трения
, град, и удельного сцепления cn, кПа,
глинистых заторфованных грунтов при относительном содержании
органического вещества 0,05 <= Ir <= 0,25
Пределы нормативных значений показателя текучести IL | Обозначения характеристик грунтов | Характеристики глинистых грунтов при относительном содержании органического вещества Ir и коэффициенте пористости e, равных |
0,05 <= Ir <= 0,1 | 0,1 < Ir <= 0,25 |
0,65 | 0,75 | 0,85 | 0,95 | 1,05 | 1,15 | 1,25 | 1,35 |
0 <= IL <= 0,25 | E | 13,0 | 12 | 11 | 10 | 8,5 | 8 | 7 | 5,0 |
| 21 | 20 | 18 | 16 | 15 | - | - | - |
c | 29 | 33 | 37 | 45 | 48 | - | - | - |
0,25 < IL <= 0,5 | E | 11 | 10 | 8,5 | 7,5 | 7 | 6 | 5,5 | 5 |
| 21 | 20 | 18 | 16 | 15 | 14 | 13 | 12 |
c | 21 | 22 | 24 | 31 | 33 | 36 | 39 | 42 |
0,5 < IL <= 0,75 | E | 8,0 | 7 | 6,0 | 5,5 | 5 | 5 | 4,5 | 4 |
| 21 | 20 | 18 | 16 | 15 | 14 | 13 | 12 |
c | 18 | 19 | 20 | 21 | 23 | 24 | 26 | 28 |
0,75 < IL <= 1 | E | 6 | 5 | 4,5 | 4,0 | 3,5 | 3 | 2,5 | - |
| - | - | - | 18 | 18 | 18 | 17 | - |
c | - | - | - | 15 | 16 | 17 | 18 | - |
4.8 Деформационные, прочностные и фильтрационные характеристики органоминеральных и органических грунтов следует определять в диапазоне давлений, соответствующих напряженному состоянию основания проектируемого сооружения. Указанные характеристики следует устанавливать при испытаниях образцов грунта в вертикальном и горизонтальном направлениях.
4.9 Для определения прочностных характеристик

и
c органоминеральных и органических грунтов следует проводить испытания, применяя методику консолидированных испытаний для определения этих характеристик в стабилизированном состоянии и неконсолидированных испытаний для определения в нестабилизированном состоянии.
4.10 При определении деформационных характеристик органоминеральных и органических грунтов в компрессионных приборах, учитывая их высокую сжимаемость, испытуемые образцы должны иметь начальную высоту 30 - 50 мм при отношении диаметра к высоте от 2,8 до 3,5, а их нагружение следует проводить небольшими ступенями.
Максимальное давление на образец в компрессионном опыте должно превышать проектное не менее чем на 10% - 20%, но быть не менее 0,1 МПа.
Значения модуля деформации по результатам опыта следует устанавливать для различных интервалов давлений и использовать в расчетах осадки в зависимости от фактических нормальных напряжений по глубине основания в пределах сжимаемой толщи.
4.11 Коэффициент бокового давления органоминеральных и органических грунтов

определяют в приборах трехосного сжатия. Допускается принимать значения

по
таблицам 4.1 -
4.4.
Коэффициент Пуассона

определяют по формуле

, (4.1)
где

- коэффициент бокового давления.
4.12 При применении комплекса мероприятий по предварительной подготовке основания, содержащего органоминеральные и органические грунты (временная или постоянная пригрузка, дренирование и т.п.), характеристики этих грунтов следует устанавливать по результатам их испытаний после уплотнения.
4.13 При расчете оснований следует учитывать анизотропные свойства органоминеральных и органических грунтов. В каждой точке основания следует отбирать не менее двух образцов для определения характеристик в двух направлениях: вертикальном и горизонтальном. Коэффициент фильтрации также следует определять для этих двух направлений.
Обозначения характеристик грунта с анизотропными свойствами должны иметь индекс, указывающий диапазоны давлений и их направление при испытании (горизонтальное или вертикальное).
4.14 Расчет оснований, сложенных органоминеральными и органическими грунтами, следует проводить в соответствии с требованиями
раздела 5 СП 22.13330.2016 с учетом скорости передачи нагрузки на основание, изменения эффективных напряжений в грунте в процессе консолидации основания, анизотропии свойств грунтов, вторичной консолидации. При этом допускается использовать методы теории как линейной, так и нелинейной консолидации грунтов.
Примечание - Анизотропию свойств органоминеральных и органических грунтов допускается не учитывать, если значения характеристик для вертикального и горизонтального направлений отличаются не более чем на 40%.
4.15 При наличии в основании дренирующих слоев необходимо учитывать фильтрацию поровой воды в их сторону, а при наличии песчаной подушки под фундаментом - также в сторону этой подушки. Действие дренирующего слоя допускается учитывать только в том случае, если он не представляет собой замкнутую линзу, а песчаной подушки под фундаментом - если обратная засыпка пазух проведена также дренирующим грунтом.
4.16 Основания, сложенные водонасыщенными органоминеральными и органическими грунтами, в соответствии с
пунктом 5.1.9 СП 22.13330.2016 следует рассчитывать по несущей способности.
Сила предельного сопротивления основания, сложенного медленно уплотняющимися водонасыщенными глинистыми, органоминеральными и органическими грунтами (при коэффициенте водонасыщения
Sr >= 0,85 и коэффициенте консолидации

), должна определяться с учетом возможного нестабилизированного состояния грунтов основания за счет избыточного давления в поровой воде
u. При этом соотношение между нормальными

и касательными

напряжениями принимают по зависимости

, (4.2)
где

и
u значение полного нормального напряжения и порового давления соответственно;

и
cI - соответствуют стабилизированному состоянию грунтов основания и определяются по результатам консолидированного среза или трехосного сжатия.
Избыточное давление в поровой воде допускается определять методами фильтрационной консолидации грунтов с учетом скорости приложения нагрузки на основание.
В этих расчетах силу предельного сопротивления основания Nu, кН/м, при действии вертикальной нагрузки для ленточного фундамента допускается вычислять по формуле
Nu = b'(q + 5,14cI), (4.3)
где q - пригрузка, кПа;
cI - расчетное значение удельного сцепления грунта, кПа, равное cu;
b' - приведенная ширина фундамента, м, вычисляемая по формуле
b' = b - 2eb, (4.4)
здесь eb - эксцентриситет приложения равнодействующей нагрузок в направлении поперечной оси фундамента, м.
4.17 При намыве на дно водоема, сложенного органоминеральными и органическими грунтами, песчаного слоя его толщину следует определять необходимыми планировочными отметками с расчетом несущей способности основания и с учетом возможности возникновения нестабилизированного состояния.
5 Методы расчета осадок и сроков консолидации оснований, сложенных водонасыщенными сильносжимаемыми грунтами
5.1 Целью расчета оснований по деформациям является ограничение абсолютных или относительных перемещений такими пределами, при которых гарантируется нормальная эксплуатация сооружения и не снижается его долговечность (вследствие появления недопустимых общих и неравномерных осадок, подъемов, кренов, изменений проектных уровней и положений конструкций, расстройств их соединений и т.п.). При этом имеется в виду, что прочность и трещиностойкость фундаментов и надфундаментных конструкций проверены расчетом, учитывающим усилия, которые возникают при взаимодействии сооружения с основанием.
5.2 Проектирование оснований и фундаментов с использованием расчетов является основным способом обеспечения требований надежности и может выполняться для объектов любой геотехнической категории.
Расчетные модели (расчетные схемы) должны учитывать инженерно-геологические условия, конструктивные особенности и особенности технологии возведения подземной части сооружения, возможность изменения свойств грунтов в процессе строительства и эксплуатации сооружения, действующие нагрузки и воздействия, влияние на объект внешней среды, а также, при необходимости, возможные геометрические и физические несовершенства.
Сооружение и его основание должны рассматриваться с учетом их взаимодействия. Для совместного расчета сооружения и основания могут быть использованы аналитические, численные и другие методы (в т.ч. метод конечных элементов, метод конечных разностей, метод граничных элементов и др.).
5.3 Расчетные модели, используемые для проектирования оснований и фундаментов, должны быть верифицированы.
Основным критерием верификации расчетных моделей должно являться наличие сопоставимого геотехнического опыта. Аналитическая или полуэмпирическая расчетная модель может считаться верифицированной для определенных условий, если результаты расчета демонстрируют хорошее соответствие экспериментальным результатам в сходных условиях.
Примечание - Аналитические и полуэмпирические модели и методы расчета, регламентированные нормативными документами, не требуют дополнительной верификации.
5.4 Для верификации численных моделей следует выполнять:
- верификацию программного обеспечения, с помощью которого создается модель;
- проверку самой численной модели.
Верификацию программного обеспечения следует выполнять с помощью расчетов тестовых моделей, для которых известны аналитические решения и (или) имеются сопоставимые экспериментальные результаты.
Верификация численной модели, как правило, должна включать:
- проверку исходных данных на формальное соответствие условиям задачи;
- проверку правильности граничных условий;
- проверку общего равновесия системы для всех сочетаний нагрузок и воздействий;
- проверку локального равновесия для всех подсистем модели;
- проверку имеющихся условий симметрии;
- анализ соответствия характера полученных перемещений и деформаций граничным условиям и заданным связям;
- анализ соответствия характера распределения внутренних усилий в конструкциях сооружения характеру деформаций;
- оценку соответствия результатов расчета порядку ожидаемых значений в допустимом диапазоне.
Для верификации сложных численных моделей, используемых в расчетах сооружений геотехнической категории 3 (
таблица 4.1 СП 22.13330.2016), следует выполнять независимые сопоставительные расчеты с использованием различных программных средств.
5.5 Расчет оснований по деформациям проводится исходя из условия совместной работы сооружения и основания.
Деформации основания фундаментов допускается определять без учета совместной работы сооружения и основания в случаях, оговоренных в
пункте 5.2.1 СП 22.13330.2016.
5.6 Расчет оснований по деформациям проводят исходя из условия
s <= su, (5.1)
где s - осадка основания фундамента (совместная деформация основания и сооружения);
su - предельное значение осадки основания фундамента (совместной деформации основания и сооружения), устанавливаемое в соответствии с
пунктами 5.6.46 -
5.6.50 СП 22.13330.2016.
5.7 При расчете по деформациям оснований, включающих водонасыщенные органоминеральные и органические грунты, среднее давление под подошвой фундамента
p от расчетных нагрузок не должно превышать расчетного сопротивления грунта основания
R, определяемого по
пункту 5.6.7 СП 22.13330.2016. При этом коэффициент условий работы грунтового основания

принимают по таблице 5.1.
Таблица 5.1
Наименование грунтов и относительное содержание органического вещества Ir | Коэффициент условий работы грунтового основания  |
Пески мелкие водонасыщенные: | |
0,03 < Ir <= 0,25 | 0,85 |
0,25 < Ir <= 0,4 | 0,80 |
Пески пылеватые водонасыщенные: | |
0,03 < Ir <= 0,25 | 0,75 |
0,25 < Ir <= 0,4 | 0,70 |
Глинистые грунты водонасыщенные | |
0,05 < Ir <= 0,25 при показателе текучести: | |
IL <= 0,5 | 1,05 |
IL > 0,5 | 1,00 |
Глинистые грунты водонасыщенные | |
0,25 < Ir < 0,40 при показателе текучести: | |
IL <= 0,5 | 0,90 |
IL > 0,5 | 0,80 |
5.8 Для предварительного определения размеров фундаментов сооружений геотехнических категорий 2 и 3 на заторфованных песчаных грунтах и окончательного для сооружений геотехнической категории 1 допускается принимать расчетные сопротивления R0 по таблице 5.2.
Пески средней плотности | Значения R0, кПа, в зависимости от относительного содержания органического вещества Ir |
0,03 < Ir <= 0,1 | 0,1 < Ir <= 0,25 | 0,25 < Ir <= 0,40 |
Пески мелкие: | | | |
- маловлажные | 250 | 180 | 90 |
- очень влажные и насыщенные водой | 150 | 100 | 70 |
Пески пылеватые: | | | |
- маловлажные | 200 | 120 | 80 |
- очень влажные | 100 | 80 | 50 |
- насыщенные водой | 80 | 60 | 40 |
Примечание - Значения R0 в настоящей таблице относятся к грунтам со степенью разложения Ddp <= 20%. При Ddp > 20% значения R0 принимают с коэффициентом 0,8. |
При использовании в расчетах значений
R0 по
таблице 5.2 для окончательного назначения размеров фундаментов сооружений величину расчетного сопротивления грунта основания
R определяют с поправками на глубину заложения и ширину подошвы фундаментов.
5.9 Расчет деформаций основания фундамента, включающего водонасыщенные органоминеральные и органические грунты, при среднем давлении под подошвой фундамента p, не превышающем расчетное сопротивление грунта R, следует выполнять, применяя расчетную схему в виде линейно деформируемого полупространства с условным ограничением глубины сжимаемой толщи Hc.
5.10 Осадку основания фундамента s, см, с использованием расчетной схемы в виде линейно-деформируемого полупространства определяют методом послойного суммирования по формуле

, (5.2)
где

- безразмерный коэффициент, равный 0,8;

- среднее значение вертикального нормального напряжения от внешней нагрузки в
i-м слое грунта по вертикали, проходящей через центр подошвы фундамента, кПа;
hi - толщина i-го слоя грунта, см, принимаемая не более 0,4 ширины фундамента;
Ei - модуль деформации i-го слоя грунта по ветви первичного нагружения, кПа;

- среднее значение вертикального напряжения в
i-м слое грунта по вертикали, проходящей через центр подошвы фундамента, от собственного веса выбранного при отрывке котлована грунта, кПа;
Ee,i - модуль деформации i-го слоя грунта по ветви вторичного нагружения, кПа;
n - число слоев, на которые разбита сжимаемая толща основания.
При этом распределение вертикальных напряжений по глубине основания принимают в соответствии со схемой, приведенной на
рисунке 5.1.
5.11 Дополнительную осадку основания фундаментов за счет разложения (минерализации) органических включений допускается не учитывать, если в период срока службы сооружения уровень подземных вод не будет понижаться.
Осадку слоя сильнозаторфованного грунта или торфа при намыве или отсыпке на него песчаного слоя определяют по
5.15 и
5.16.
5.12 В расчете по деформациям основания, содержащего органоминеральные и органические грунты, нижнюю границу сжимаемой толщи принимают в соответствии с
пунктом 5.6.41 СП 22.13330.2016. Если найденная по указанным условиям нижняя граница сжимаемой толщи находится в слое грунта с модулем деформации
E <= 7 МПа или такой слой залегает непосредственно ниже глубины
z =
Hc, то этот слой включают в сжимаемую толщу, а за
Hc принимают минимальное из значений, соответствующих подошве слоя или глубине, где выполняется условие

.
5.13 Опирание фундаментов непосредственно на поверхность органоминеральных и органических грунтов не допускается, если они представлены сильнозаторфованными грунтами и торфами, сапропелями и илами.
Если непосредственно под подошвой фундамента залегает слой грунта с модулем деформации
E < 5 МПа толщиной более ширины фундамента, то осадку основания фундаментов следует определять по
формуле (5.2) при

.
DL - отметка планировки; NL - отметка поверхности природного
рельефа; FL - отметка подошвы фундамента; WL - уровень
подземных вод; B.C - нижняя граница сжимаемой толщи; d
и dn - глубина заложения фундамента соответственно от уровня
планировки и поверхности природного рельефа; b - ширина
фундамента; p - среднее давление под подошвой фундамента;

и

- вертикальное напряжение от собственного веса
грунта на глубине z от подошвы фундамента и на уровне
подошвы;

и

- вертикальное напряжение от внешней
нагрузки на глубине z от подошвы фундамента и на уровне
подошвы;

- вертикальное напряжение от собственного
веса вынутого в котловане грунта в середине i-го слоя
на глубине z от подошвы фундамента;
Hc - глубина сжимаемой толщи
Рисунок 5.1 - Схема распределения вертикальных напряжений
в линейно-деформируемом полупространстве
5.14 Конечную осадку и время консолидации слоя органоминерального и органического грунта при намыве или отсыпке на него песчаного слоя определяют без учета осадки подстилающего слоя, если его модуль деформации в десять раз и более превышает модуль деформации органоминерального и органического грунта.
Для водонасыщенных органоминеральных и органических грунтов расчет протекания осадок во времени проводят на основе теории фильтрационной консолидации.
Нагрузку от намыва или отсыпки и порядок ее учета в расчетах конечной осадки, а также время консолидации слоя органоминерального и органического грунта определяют в соответствии с принятым проектом организации работ.
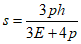
5.15 Конечную осадку слоя органоминерального и органического грунта, залегающего непосредственно под толщей песчаной насыпи, в стабилизированном состоянии
s, м, вызванную намытым или отсыпанным слоем песка, определяют по формуле

, (5.3)
где p - давление от песчаной насыпи на поверхность органоминерального и органического грунта, кПа;
h - толщина слоя органоминерального и органического грунта, м;
E - модуль деформации органоминерального и органического грунта при полной влагоемкости, кПа.
Формулу (5.3) допускается использовать при размере насыпи в плане (ширина) не менее 5
h.
5.16 В случае если основание, содержащее органоминеральные и органические грунты, состоит из нескольких горизонтальных слоев с различными модулями деформации, осадку всей толщи в конце периода стабилизации определяют как сумму осадок отдельных слоев.
5.17 Осадку слоя органоминерального и органического грунта, вызванная намытым или отсыпанным слоем песка, в любой момент времени определяют по формуле

, (5.4)
где
s - конечная осадка слоя органоминерального или органического грунта в стабилизированном состоянии, определяемая по
формуле (5.3);

- степень консолидации, определяемая соотношением

, (5.5)
здесь

- относительное среднее избыточное давление в поровой воде, определяемое по
таблице 5.3 в зависимости от факторов времени

и

.
5.18 Величины факторов времени

и

определяются по формулам:

, (5.6)

, (5.7)
где

- коэффициент консолидации грунта при вертикальном дренировании, м
2/год, определяемый по
разделу 5;
H - длина пути фильтрации, м, равная: при двухстороннем дренаже - половине толщины слоя, при односторонней - толщине слоя грунта;
t - заданное время консолидации, год;

- время, соответствующее прекращению возрастания нагрузки от песчаной насыпи или намыва, год.
| Относительное среднее избыточное давление  для слоя грунта при  , равном |
0,1 | 0,2 | 0,3 |
0 | 1 | 1 | 1 |
0,05 | 0,83 | 0,83 | 0,83 |
0,1 | 0,76 | 0,76 | 0,76 |
0,2 | 0,56 | 0,66 | 0,66 |
0,3 | 0,44 | 0,5 | 0,59 |
0,4 | 0,34 | 0,39 | 0,45 |
0,5 | 0,27 | 0,31 | 0,35 |
0,6 | 0,21 | 0,24 | 0,27 |
0,7 | 0,16 | 0,19 | 0,21 |
0,8 | 0,13 | 0,14 | 0,17 |
0,9 | 0,10 | 0,12 | 0,13 |
1 | 0,08 | 0,09 | 0,10 |
1,1 | 0,06 | 0,07 | 0,08 |
1,2 | 0,05 | 0,05 | 0,06 |
1,3 | 0,04 | 0,04 | 0,05 |
1,4 | 0,03 | 0,03 | 0,04 |
1,5 | 0,03 | 0,02 | 0,03 |
1,6 | 0,02 | 0,02 | 0,02 |
1,7 | 0,01 | 0,02 | 0,02 |
1,8 | 0,01 | 0,01 | 0,01 |
1,9 | 0,01 | 0,01 | 0,01 |
2 | 0,01 | 0,01 | 0,01 |
Примечание - Для промежуточных значений  и  величину  определяют по интерполяции. |
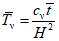
5.19 Определение времени консолидации слоистых оснований
5.19.1 Для расчетов времени консолидации слоистых оснований должны быть определены приведенные коэффициенты консолидации i-го слоя грунта, м2/год, по формуле

(5.8)
где H - общая толщина слоистых напластований органоминеральных или органических грунтов, м;
hi - толщина отдельного слоя, м.
5.19.2 Примеры расчета времени консолидации слоистых оснований
5.19.2.1 Пример 1
Необходимо определить величину осадки слоя торфа толщиной
h = 4 м через
t = 0,5 года после окончания намыва. Время намыва песка

. Коэффициент консолидации торфа

; модуль деформации торфа при полной влагоемкости
E = 250 кПа. Плотность песка, намываемого на торфяной слой,

, высота намывного слоя
HH = 2 м. Давление
p от слоя песка на торф равно:

.
s = 3·40·4/(3·250 + 4·40) = 0,52 м.

,

.
При полученных значениях

и

по
таблице 5.3 определяют относительное среднее избыточное давление

.
Определяют осадку слоя торфа при двухстороннем дренаже через 0,5 года по
формуле (5.4) st = 0,66·0,52 = 0,34 м.

,

.

.
Осадка слоя торфа при одностороннем дренаже через 0,5 года по
формуле (5.4) составляет
st = 0,24·0,52 = 0,125 м.
5.19.2.2 Пример 2
Необходимо определить время, в течение которого осадка основания, состоящего из двух разнородных слоев грунта, пригруженных песчаной насыпью, составит 0,9 стабилизированной, если толщина первого слоя
h1 = 1 м,

, а толщина второго слоя
h2 = 3 м,

.
По
таблице 5.4 при

, тогда при одностороннем дренаже

, при двухстороннем дренаже

.
5.20 В тех случаях, когда относительные средние избыточные давления

не могут быть определены по
таблице 5.3, их следует вычислять по формулам:

(5.9)

, (5.10)
где

- фактор времени, соответствующий любому заданному времени
t;

- фактор времени, соответствующий времени прекращения возрастания нагрузки

;
2H - толщина слоя грунта под подошвой песчаной насыпи до кровли подстилающего слоя (длина пути фильтрации);
z - расстояние по вертикали от подошвы песчаной насыпи до рассматриваемой точки.
5.21 Предварительные расчеты при отсутствии сроков пригрузки слоя водонасыщенного органоминерального или органического грунта песчаным слоем
5.21.1 Для предварительных расчетов, когда отсутствуют сроки пригрузки слоя водонасыщенного органоминерального или органического грунта песчаным слоем, осадку основания в любой момент времени
t допускается определять в предположении, что пригрузка происходит мгновенно

. В этом случае значения

при различных значениях

принимают по таблице 5.4.
| |
0,25 | 0,051 |
0,35 | 0,097 |
0,50 | 0,197 |
0,60 | 0,288 |
0,70 | 0,403 |
0,80 | 0,569 |
0,85 | 0,665 |
0,90 | 0,852 |
0,95 | 1,133 |
0,98 | 1,500 |
0,99 | 1,800 |
Примечание - Промежуточные значения величин  и  определяют по интерполяции. |
5.21.2 Пример расчета
Необходимо определить время, при котором осадка слоя верхового торфа с коэффициентом консолидации

составит 0,5 и 0,99 стабилизированной осадки. Толщина слоя торфа равна
H = 3 м.
5.22 При использовании вертикальных дрен, полностью прорезающих уплотняемый слой грунта и наличии дренирующих слоев на концах дрены, консолидация грунта под нагрузкой происходит за счет отжатия поровой воды в дрену и дренирующие слои. Эквивалентный диаметр зоны влияния дрен de, в этом случае следует принимать равным при расположении дрен: по квадратной сетке de = 1,13d; по гексагональной сетке de = 1,05d, где d - расстояние между осями дрен (шаг дрен).
а - расположение дрен по квадратной сетке; б - то же,
по треугольной (триангулярной) сетке; в - сечение а-а
Рисунок 5.2 - Расчетные схемы консолидации оснований
с вертикальными дренами
5.23 При использовании совершенных дрен и наличии дренирующих слоев на концах дрены определение степени консолидации

необходимо проводить с учетом фильтрации воды в радиальном и вертикальном направлениях следующим образом:

, (5.11)
где

- степень консолидации при фильтрации воды в вертикальном направлении, определяемая по
формуле (5.5);
Qr - степень консолидации при фильтрации воды в радиальном направлении, определяемая по
формуле (5.12) или по таблице 5.5.
Qr | Фактор времени  при фильтрации только в горизонтальном направлении при  , равном |
3 | 5 | 10 | 15 | 20 | 25 |
0 | 0 | 0 | 0 | 0 | 0 | 0 |
0,1 | 0,007 | 0,012 | 0,021 | 0,026 | 0,030 | 0,033 |
0,2 | 0,014 | 0,026 | 0,040 | 0,055 | 0,063 | 0,069 |
0,3 | 0,023 | 0,042 | 0,070 | 0,088 | 0,101 | 0,110 |
0,4 | 0,033 | 0,060 | 0,101 | 0,126 | 0,144 | 0,168 |
0,5 | 0,045 | 0,081 | 0,137 | 0,171 | 0,195 | 0,214 |
0,6 | 0,059 | 0,107 | 0,181 | 0,226 | 0,258 | 0,263 |
0,7 | 0,077 | 0,141 | 0,238 | 0,297 | 0,339 | 0,372 |
0,8 | 0,103 | 0,188 | 0,318 | 0,397 | 0,454 | 0,498 |
0,9 | 0,148 | 0,270 | 0,454 | 0,567 | 0,649 | 0,712 |
0,95 | 0,192 | 0,351 | 0,591 | 0,738 | 0,844 | 0,927 |
0,99 | 0,296 | 0,539 | 0,909 | 1,135 | 1,298 | 1,424 |
5.24 Определение степени консолидации
5.24.1 Степень консолидации только за счет использования дрен определяется в предположении, что горизонтальные дренирующие слои на концах дрен отсутствуют:

, (5.12)
где Tr - фактор времени при фильтрации только в горизонтальном направлении, определяемом по формуле

, (5.13)
где t - время от момента приложения нагрузки, год;
de - диаметр зоны влияния дрены, м;

- параметр, зависящий от отношения диаметра зоны влияния дрены к диаметру дрены, рассчитывается по формуле

, (5.14)
здесь

- отношение диаметра зоны влияния к диаметру дрены. При использовании дрен из искусственного материала значения эквивалентного диаметра дрены

принимается равным: для бумажных дрен 0,025 м; для пластмассовых - 0,04 м; для дрен из тканей 0,066 м;
cr - коэффициент консолидации при фильтрации поровой воды в горизонтальном направлении, м
2/год, определяется путем компрессионных испытаний образцов грунта, ориентированных перпендикулярно слоистости.
При радиальном фильтрационном потоке многослойных оснований определяется приведенный коэффициент консолидации cr(l) по формуле

, (5.15)
где cri - коэффициент консолидации i-го слоя грунта;
l - толщина слоистого напластования, в котором происходит радиальная фильтрация (длина пути фильтрации или длина дрены);
hi - толщина i-го слоя.
5.24.2 Пример расчета
Необходимо определить время консолидации
t основания вертикальными песчаными дренами

при отсутствии вертикальной фильтрации при диаметре зоны влияния
de = 2 м, полагая
cr = 10 м
2/год и
Qr = 0,9. Предполагается, что нагрузка приложена мгновенно.
| | ИС МЕГАНОРМ: примечание. В официальном тексте документа, видимо, допущена опечатка: имеется в виду формула (5.13), а не формула (4.13). | |
5.25 Определение времени, необходимого для уплотнения грунта до заданной степени консолидации
| | ИС МЕГАНОРМ: примечание. В официальном тексте документа, видимо, допущена опечатка: имеется в виду формулы (5.6) и (5.13), а не формулы (4.6) и (4.13). | |
5.25.1 Время, необходимое для уплотнения грунта до заданной степени консолидации, определяют по интерполяции. Задаваясь несколькими значениями
t, вычисляют для них значения

по
формулам (4.6) и
(4.13), с помощью которых по
таблице 5.4 и интерполяцией по
таблице 5.5 находят соответствующие значения

и
Qr, после чего подсчитывают

по
формуле (5.11).
5.25.2 Пример расчета
Необходимо определить время, необходимое для консолидации слоя заторфованного грунта толщиной
h = 2,5 м, уплотняемого с помощью пластмассовых дрен до степени консолидации
Qr = 0,9, если

;
cr = 5 м
2/год. Грунт подстилается водоупором (односторонняя фильтрация). Дрены располагаются с шагом
d = 1 м, эквивалентный диаметр дрен

.
Зона влияния дрены при квадратной сетке расположения дрен будет
de = 1,13
d = 1,13·1 = 1,13. Тогда

(при
Qr определяется по
формуле (5.12)); при
t = 0,1 года
Tr = 5·0,1/1,13
2 = 0,39.
По
таблице 5.5 для

и
Tr = 0,390 находят
Qr по интерполяции. Аналогично определяют
Qr и при
t = 0,15. Данные сводят в таблицу 5.6.
t, год | | Tr | | Qr | |
0,1 | 0,032 | 0,313 | 0,152 | 0,77 | 0,805 |
0,15 | 0,048 | 0,419 | 0,242 | 0,89 | 0,917 |
Из
таблицы 5.6 следует, что значению

соответствует время консолидации
t = 0,14 года или 1 мес 20 сут.
5.26 Определение шага дрен
5.26.1 При расчете шаг дрен Qr определяют по формуле

. (5.16)
5.26.2 Пример расчета
Необходимо определить шаг пластмассовых дрен, с синтетической оболочкой

при триангулярной схеме их расположения, имея следующие данные:
cr = 5 м
2/год;

;
t = 2,5 мес = 0,21 года;

;
h = 3 м.
Степень консолидации от вертикальной фильтрации находят по
таблице 5.4 при

.
Зная
Qr по графику на
рисунке 5.2,
а, определяют параметр

, откуда

. По графику на
рисунке 5.3,
б, значению

соответствует прямая под номером 4, для которой шаг расположения дрен равен 1,1 м
(таблица 5.7).
I - квадратная; II - триангулярная
Рисунок 5.3 - Графики для определения шага пластмассовых
дрен при мгновенном приложении уплотняющей нагрузки.
Схемы расположения дрен
| 1 | 2 | 3 | 4 | 5 | 6 | 7 | 8 | 9 |
Шаг дрен d, м | 0,5 | 0,7 | 0,9 | 1,1 | 1,3 | 1,5 | 1,7 | 1,9 | 2,1 |
6 Методика определения коэффициентов фильтрационной и вторичной консолидации
6.1 Методика консолидационных испытаний грунтов
6.1.1 Коэффициенты фильтрационной

и вторичной консолидации

, в том числе органоминеральных и органических грунтов, определяются по испытаниям образцов грунтов в лабораторных условиях с применением методики консолидационных испытаний. Коэффициент фильтрационной или первичной консолидации

характеризует скорость деформации грунта за счет фильтрационных процессов. Коэффициент вторичной консолидации

характеризует скорость деформации грунта за счет ползучести.
6.1.2 Консолидационные испытания проводят в установке компрессионного сжатия, соответствующей требованиями
ГОСТ 12248. В нее должны входить:
- компрессионный прибор (одометр), состоящий из рабочего кольца, цилиндрической обоймы, верхнего пористого штампа, перфорированного вкладыша под рабочее кольцо;
- механизм для вертикального нагружения образца грунта;
- устройство для измерения вертикальных деформаций образца грунта.
Конструкция компрессионного прибора должна обеспечивать:
- герметичность деталей прибора;
- центрированную передачу нагрузки на штамп;
- свободный отток отжимаемой воды из образца.
6.1.3 Компрессионные приборы требуется предварительно протарировать на сжатие, при этом вместо образца в одометр закладывается металлический вкладыш с такими же фильтрами, как и при основных испытаниях.
Максимальное давление при тарировке принимают в зависимости от конструкции прибора и предельных нагрузок при испытаниях не менее 1,0 МПа. Нагружение проводят ступенями по 0,05 МПа на первых двух ступенях и далее по 0,1 МПа с выдержкой по 2 мин.
6.1.4 Для испытаний грунтов используют образцы в форме цилиндра диаметром не менее 70 мм и с отношением диаметра к высоте от 2,8 до 3,5. Максимальный размер фракции грунта (включений, агрегатов) не должен превышать 1/5 минимального размера образца, в данном случае - его высоты.
6.1.5 Образец в рабочем кольце взвешивают, покрывают с торцов влажными фильтрами и помещают в цилиндрическую обойму компрессионного прибора.
Затем выполняют следующие операции:
- устанавливают образец на перфорированный вкладыш;
- устанавливают на образец перфорированный штамп;
- собранный прибор устанавливают под механизм для вертикального нагружения образца грунта;
- регулируют механизм нагружения образца;
- подключают устройства для измерения вертикальных деформаций образца;
- записывают начальные показания приборов.
6.1.6 Перед приложением нагрузки проводят водонасыщение образца.
Водонасыщение проводят под арретиром, фиксирующим положение верхнего штампа. Это исключает возможное разуплотнение грунта. Насыщение образца водой проводят путем фильтрации воды снизу вверх.
В одометрах с открытым нижним дренажем непосредственно водонасыщение образца проводят путем заполнения поддона водой.
6.1.7 Водонасыщение считается завершенным после появления воды на верхнем штампе. Это достаточно длительный процесс и для глинистых грунтов он может достигать 5 сут.
В одометрах, имеющих гидравлически замкнутую камеру нижнего дренажа, для ускорения водонасыщения можно создать небольшой градиент напора. Для этого к нижней камере подсоединяют бюретку, в которой поднимают уровень воды на 10 см выше образца.
6.1.8 Для ускорения водонасыщения могут применяться специальные вакуумные установки. Использование процесса вакуумирования позволяет не только значительно ускорить процесс водонасыщения, но и гарантированно обеспечивает полное заполнение пор водой.
6.1.9 Консолидационные испытания проводят при постоянном заданном давлении. Условия дренирования образца (одностороннее или двухстороннее) должны быть указаны в программе испытаний.
6.1.10 Давление на образец прикладывают сразу в одну ступень. Деформации образца регистрируют в такой последовательности: первое показание - сразу после приложения нагрузки, затем через 0,25; 0,5; 1; 2; 5; 10; 20; 30 мин и далее с интервалом 1 ч в течение рабочего дня, а затем - в начале и конце рабочего дня.
Примечание - Указанное время снятия показаний может быть несколько изменено для удобства построения кривой консолидации методом квадратного корня из времени.
6.1.11 В процессе испытания строят кривую консолидации в координатах "относительная деформация - квадратный корень из времени"
(рисунок 6.1) или используют логарифмическую шкалу времени
(рисунок 6.2). При необходимости определения коэффициента вторичной консолидации

регистрацию деформаций необходимо продолжать до гарантированного выхода графика на линейный участок вторичной консолидации.
6.1.12 Определение коэффициента фильтрационной (первичной) консолидации

можно получить, используя два метода обработки результатов испытаний - метод Тэйлора (метод квадратного корня из времени) или метод Казагранде (логарифмический метод).
Методом Казагранде кроме коэффициента фильтрационной консолидации

дополнительно определяется коэффициент вторичной консолидации

.
6.1.13 Для определения коэффициента фильтрационной консолидации методом квадратного корня из времени, или методом Тейлора, по результатам испытаний строят кривую консолидации в координатах "относительная деформация

(ордината) - квадратный корень из времени в минутах (абсцисса)" (см. рисунок 6.1).
Рисунок 6.1 - График обработки кривой консолидации
методом квадратного корня из времени
К начальной, линейной части кривой (обычно в пределах первых 50% сжатия) проводят прямую наилучшего приближения ab, а из точки пересечения ab с осью ординат проводят вторую прямую ac, абсциссы которой равны 1,15 соответствующих абсцисс прямой ab.
Пересечение прямой
ac с экспериментальной кривой определяет время

, соответствующее степени фильтрационной консолидации 0,90.
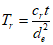
6.1.14 Коэффициент фильтрационной консолидации

, см
2/мин (см
2/год), вычисляют по формуле

, (6.1)
где T90 - коэффициент (фактор времени), соответствующий степени консолидации 0,90, равный 0,848;
h - высота образца (средняя между начальной высотой и высотой после завершения опыта на консолидацию), см. При двухсторонней фильтрации принимают половину средней высоты образца;
t90 - время, мин (год);
fT - температурный поправочный коэффициент (см.
6.1.15).
Для определения времени 100% фильтрационной консолидации

предварительно вычисляют деформацию сжатия

. Из точки

проводят горизонтальную прямую до пересечения с кривой консолидации и находят соответствующее значение

.
6.1.15 Температурная поправка
6.1.15.1 Если температура в лаборатории значительно отличается от 20 °C, необходимо вводить температурную поправку fT для приведения результатов к 20 °C в соответствии с таблицей 6.1.
Таблица 6.1
Значения температурной поправки
Температура, °C | 10 | 15 | 20 | 25 | 30 |
Температурная поправка fT | 1,3 | 1,15 | 1,0 | 0,9 | 0,8 |
6.1.15.2 Пример расчета
Необходимо определить значение

по данным компрессионного испытания образца заторфованного грунта, имеющего высоту
H = 2 см, степень заторфованности
Ir = 0,24, коэффициент пористости
e = 1,8, влажность
w = 48,7%, плотность

, плотность частиц грунта

, степень влажности
Sr = 0,63. Фильтрация двусторонняя. Температура в лаборатории при проведении испытаний составляла 15 °C. Давление консолидации
p = 0,05 МПа. Кривая консолидации в координатах "деформация сжатия грунта
y, мм (ордината) - квадратный корень из времени в минутах (абсцисса)" представлена на
рисунке 6.2.
Выполнив необходимые построения по указаниям, данным в настоящем разделе для метода квадратного корня из времени, получают

или
t = 4,4 мин. Вычисление значения

выполняют по
формуле (6.2). При этом учитывают двухстороннюю фильтрацию отжимаемой воды при испытаниях
h =
H/2, а также вводят температурный поправочный коэффициент
fT = 1,15.

.
Рисунок 6.2 - График для определения коэффициента
консолидации методом квадратного корня из времени
6.1.16 Для определения значений

и

логарифмическим методом, или методом Казагранде, по результатам испытаний строят кривую консолидации в координатах "относительная деформация

(ордината) - время
t, мин, откладываемое на логарифмической шкале (абсцисса)" (рисунок 6.3).
Рисунок 6.3 - График обработки кривой консолидации
логарифмическим методом
6.1.17 На кривой консолидации следует найти значение относительной деформации, соответствующее нулевому первичному сжатию, - d0. Для этого на начальной части кривой выбирают точки с абсциссами 0,1 и 0,4. Разность ординат данных точек, отложенная выше начальной точки графика, определит приведенный нуль d0 (рисунок 6.4).
Рисунок 6.4 - Определение приведенного нуля d0
6.1.18 По кривой консолидации находят деформацию, соответствующую 100%-ному фильтрационному сжатию при заданной нагрузке. Для этого проводят и продлевают две касательных: первую - к линейному участку, соответствующему самой крутой части кривой, и вторую - ко второму, конечному линейному участку кривой. Точка пересечения этих касательных соответствует 100%-ному первичному сжатию грунта. Сжатие, следующее за 100%-ным первичным сжатием, определяется как вторичное сжатие за счет деформаций ползучести.
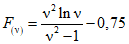
6.1.19 Для определения коэффициента фильтрационной консолидации

логарифмическим методом определяют время, требуемое для 50%-ного первичного сжатия. Для этого вычисляют деформацию, соответствующую 50%-ному первичному сжатию

, равную среднему арифметическому значению деформаций, соответствующих нулевому
d0 и 100%-ному сжатию

. Точку

проецируют на кривую и тем самым находят соответствующее время
t50.
Коэффициент фильтрационной консолидации

, см
2/мин (см
2/год), вычисляют по формуле

, (6.2)
где T50 - коэффициент (фактор времени), соответствующий степени консолидации 0,5, равный 0,197;
t50 - время, соответствующее 50%-ному первичному сжатию, мин;
fT - температурная поправка, определяемая по
таблице 6.1.
6.1.20 Определение коэффициента вторичной консолидации
6.1.20.1 Коэффициент вторичной консолидации

определяют по тангенсу угла

между линейным отрезком кривой на участке вторичной консолидации и прямой, параллельной оси абсцисс
(рисунок 6.2), по формуле

, (6.3)
где

и

- любые произвольные значения деформации образца на участке вторичной консолидации;
t1 и
t2 - время, соответствующее деформациям

и

, мин.
6.1.20.2 Пример расчета
Необходимо определить значение

и

по данным компрессионного испытания образца текучепластичного суглинистого ила с примесями органики, имеющего начальную высоту 2,49 см и конечную высоту 2,38 см, коэффициент пористости
e = 1,22, влажность
w = 36,4%, плотность

, плотность частиц грунта

, степень влажности
Sr = 0,82. Фильтрация двусторонняя. Температура в лаборатории при проведении испытаний составляла 20 °C. Давление консолидации
p = 0,448 МПа. Кривая консолидации представлена на рисунке 6.5.
Рисунок 6.5 - График для определения коэффициента
консолидации логарифмическим методом
На кривой консолидации находят значение относительной деформации, соответствующее нулевому первичному сжатию. Для этого на начальной части кривой выбирают точки с абсциссами 0,1 и 0,4.
Разность ординат данных точек, отложенная выше начальной точки графика, определит приведенный нуль
d0, т.е.

, следовательно ордината
d0 = 0,007 - 0,001 = 0,006 (см.
рисунок 6.5).
Далее продлевают две касательные: к самой крутой части кривой (т.е. в точке перегиба) и к конечному линейному участку кривой. Точка пересечения этих касательных соответствует 100%-ному первичному сжатию грунта.

;
t100 = 3000 мин.

;
t50 = 170 мин.
Коэффициент фильтрационной консолидации

, см
2/мин (см
2/год), вычисляют по
формуле (6.2):
Коэффициент вторичной консолидации

определяют по
формуле (6.3). В качестве произвольных значений деформации

,

выбирают значения на линейном участке вторичной консолидации. Таким образом,

и соответствующее время
t1 = 11 000 мин,

и соответствующее время
t2 = 80 000 мин.

.
6.1.21 Консолидационные испытания по рассмотренной выше методике относятся к наиболее продолжительным видам лабораторных испытаний и могут продолжаться более 1 мес. Значительно сократить время проведения консолидационных испытаний позволяет использование режима релаксации напряжений, рассмотренного в 6.2.
6.2 Методика ускоренных консолидационных испытаний в режиме релаксации напряжений
6.2.1 Сущность метода релаксации напряжений (МРН) заключается в принудительном деформировании образца в условиях компрессионного сжатия заданными ступенями деформации с последующей релаксацией напряжений.
6.2.2 Для проведения консолидационных испытаний в режиме МРН используют специальные установки - релаксометры. Данные установки должны соответствовать всем перечисленным выше требованиям, предъявляемым к установкам компрессионного сжатия. Принципиальным отличием релаксометров от компрессионных установок является возможность принудительного деформирования образца заданными программой ступенями перемещений. При этом они должны обеспечивать создание вертикальных давлений до 8 МПа и возможность контроля напряжений и деформаций в процессе релаксации.
6.2.3 Испытания проводят согласно требованиям
[1].
6.2.4 Для каждой из ветвей релаксации строят графики изменения скорости деформации от самой деформации
(рисунок 6.6).
В отличие от компрессионных испытаний согласно
[1] при консолидационных испытаниях критерием завершения выдержки на ступени является снижение скорости деформации до гарантированного выхода графика зависимости скорости деформации от деформации на прямую линию, соответствующую вторичной релаксации (см. рисунок 6.6).
Рисунок 6.6 - График изменения скорости деформации
от деформации на ветви разгрузки
6.2.5 На графиках изменения скорости деформации от деформации (рисунок 6.7) каждой ступени нагружения определяют точки с выбранными скоростями деформации 0,01; 0,005; 0,002; 0,001; 0,0005; 0,0002; 0,0001; 0,00005; 0,00002 и 0,00001 мм/мин.
Рисунок 6.7 - График изменения скорости деформации
от деформации на ветви разгрузки
На графике (см.
рисунок 6.7) определяются значения деформаций, соответствующих выбранным скоростям деформаций.
6.2.6 Полученные значения деформаций откладывают на ветвях релаксации напряжений соответствующих ступеней нагружения общего графика испытаний (рисунок 6.8).
Рисунок 6.8 - Определение точек равных скоростей
деформирования
6.2.7 Через полученные точки проводят плавные кривые, соответствующие выбранным скоростям деформирования. Для любого выбранного значения вертикального давления, для которого определяются параметры консолидации, проводят вертикальную линию
KL (см. рисунок 6.9).
Рисунок 6.9 - Определение значения деформаций,
соответствующих заданному напряжению
По точкам пересечения линии KL с построенными кривыми определяют значения деформаций.
6.2.8 По полученным по
6.2.7 значениям деформаций и соответствующим скоростям деформаций определяют значения времени.
Используя эти данные, строят уже известные графики зависимости деформации от времени, представленные на
рисунках 6.1 и
6.2.
По данным графикам методами Тэйлора определяют значения коэффициента фильтрационной (первичной) консолидации или методом Казагранде коэффициенты фильтрационной (первичной) и вторичной консолидации.
7 Рекомендации по специальным и конструктивным мероприятиям
7.1 При расчетных деформациях основания, сложенного органоминеральными и органическими грунтами, больше предельных или недостаточной несущей способности основания следует предусматривать специальные мероприятия. В зависимости от типа основания (см.
рисунок 4.1), относительного содержания органического вещества
Ir, глубины залегания и толщины органоминеральных и органических грунтов, а также конструктивных особенностей проектируемого сооружения и предъявляемых к нему эксплуатационных требований в соответствии с указаниями
пункта 6.4.23 СП 22.13330.2016 рекомендуются следующие варианты специальных мероприятий:
- уплотнение основания временной или постоянной нагрузкой, в том числе с устройством вертикальных дрен и дренажных прорезей, - для оснований типов I и II;
- полная или частичная прорезка слоя органоминеральных и органических грунтов фундаментами, в том числе свайными, - для оснований типов II, IV и V;
- выторфовка линз или слоев органоминерального и органического грунта с заменой его минеральным грунтом - для оснований типов II, IV и V;
- устройство фундаментов (столбчатых, ленточных и т.п.) на песчаной, гравийной, щебеночной подушке или на предварительно уплотненной подсыпке из местного материала - для всех типов оснований;
- устройство сооружений на плитных фундаментах, перекрестных монолитных или сборно-монолитных лентах и т.п. с конструктивными мероприятиями по повышению пространственной жесткости сооружения - для всех типов оснований.
7.2 При толщине слоев органоминеральных и органических грунтов более 3 м эффективным мероприятием по увеличению несущей способности оснований является уплотнение их фильтрующей временной или постоянной пригрузкой с применением в ряде случаев вертикальных дрен
(рисунок 7.1).
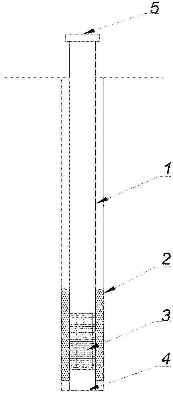
Принцип действия предпостроечного уплотнения заключается в следующем. Если к поверхности сильносжимаемых водонасыщенных грунтов приложить нагрузку, то в результате в воде, заполняющей поры, возникает напор, который уравновешивает давление внешней нагрузки. Под действием этого напора происходит отжатие избыточной воды в фильтрующие прослойки. Поскольку рассматриваемые грунты характеризуются малой водопроницаемостью, то они оказывают большое сопротивление движению отжимаемой воды. Устройство вертикальных дрен позволяет свободно принимать и отводить воду из уплотняемой толщи. Так как расстояние между ними меньше толщины сильносжимаемых водонасыщенных грунтов, градиент фильтрации для потока, направленного к дренам, в несколько раз выше, чем для потока, направленного к поверхности. Движение воды в дренах происходит непрерывно, потому что их устья выходят в фильтрующий слой, который открыт на откосах пригрузки. Напор, вызывающий движение воды к дренам, действует до тех пор, пока внешняя нагрузка не будет воспринята скелетом грунта. Скорость консолидации зависит от расстояния между дренами и в значительно меньшей степени от их диаметра.
7.3 Предпостроечное уплотнение оснований, сложенных органоминеральными и органическими грунтами, особенно рационально при возведении сооружений, имеющих развитую площадь опирания на грунт (резервуары, сооружения на сплошной плите и т.п.). Уплотнение грунтов с использованием вертикальных дрен может быть использовано при инженерной подготовке территории в целях обеспечения надежной эксплуатации инженерных коммуникаций и дорожных покрытий, а также для уменьшения воздействия сил отрицательного трения на свайные фундаменты.
а
б
в
а - пригрузочная насыпь без дрен; б - то же,
с песчаными дренами; в - то же, с ленточными дренами;
1 - пригрузочная насыпь; 2 - слабый грунт;
3 - водоупор или фильтрующий слой; 4 - дрены
Рисунок 7.1 - Принципиальная схема уплотнения слабых грунтов
пригрузочной насыпью
7.4 Проектирование пригрузки следует проводить с учетом требований
пункта 6.4.12 СП 22.13330.2016. При этом должны быть установлены толщина и размеры в плане пригрузочного слоя и время, необходимые для достижения заданной степени консолидации основания, а также конечная осадка основания под пригрузкой.
7.5 При толщине слоев органоминеральных и органических грунтов, превышающей 3 м, их рекомендуется уплотнять с использованием вертикальных дрен. План расположения дрен, их сечение и шаг устанавливают расчетом из условия 90% консолидации основания или в зависимости от назначаемых сроков уплотнения строительной площадки. В плане дрены располагают по квадратной или гексагональной сетке (из равносторонних треугольников) с шагом: для песчаных дрен 1,5 - 3 м, для дрен заводского изготовления 0,5 - 2 м. Для сооружений геотехнических категорий 2 и 3 шаг дрен определяют на опытных участках.
7.6 В проекте предпостроечного уплотнения грунтов основания должны быть указаны:
- временная нагрузка на основание, превышающая на 10% среднее давление под подошвой фундамента возводимого сооружения (в целях ускорения сроков консолидации временная нагрузка может значительно превышать эксплуатационную);
- размеры временной пригрузочной насыпи по верху с превышением внешнего контура здания или сооружения в каждую сторону не менее чем на 0,5b (b - ширина ленточного, столбчатого фундамента) и не менее чем на 1,5 м больше ширины и длины плитного фундамента;
- заложение откосов насыпи следует определять в соответствии с применяемыми в практике проектирования методами устойчивости откосов, основанием которых служат слабые водонасыщенные грунты в нестабилизированном состоянии;
- план расположения дрен с указанием расстояния между их осями и план расположения поверхностных и глубинных марок или приборов других систем для измерения осадок основания; шаг дрен рассчитывают на основании заданного времени при степени консолидации основания, равной 90%;
- литологические разрезы по уплотняемому основанию с указанием его геологического строения с нанесенными на них дренами, причем отметку низа дрены следует назначать на глубине не менее 90% величины толщи слабого грунта при наличии дренирующего подстилающего слоя;
- расчетная конечная осадка основания от временной пригрузки и значение упругого подъема основания после ее снятия;
- схема производства работ по устройству дрен, устройству и снятию временной насыпи с указанием необходимого оборудования и календарный план производства работ.
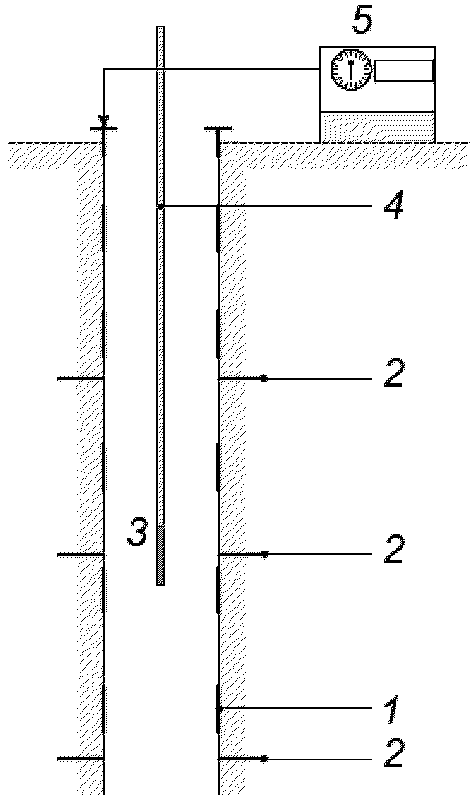
7.7 В отдельных случаях в целях сокращения затрат на устройство временной пригрузочной насыпи и обеспечения повышенных требований к устойчивости слабого основания в процессе предварительного уплотнения допускается применять метод вакуумирования. Система вакуумирования в общем случае включает дренажную систему, изолирующую систему и систему вакуумных насосов (рисунок 7.2). Посредством системы насосов в грунтовом массиве создается требуемое вакуумное давление.
1 - мембрана; 2 - фильтрующий песчаный слой;
3 - вертикальные дрены; 4 - вакуумный насос
Рисунок 7.2 - Принципиальная схема уплотнения
слабых грунтов методом вакуумирования
Теоретически величина давления в поровой воде уплотняемого слабого грунта в процессе вакуумирования должна достигать значения атмосферного давления (~ 100 кПа), однако на практике она составляет лишь 60 - 70 кПа ввиду имеющихся потерь, вызванных неидеальной герметичностью системы. Нагрузка, вызванная вакуумным давлением, как правило, соответствует нагрузке от пригрузочной насыпи высотой 3 - 3,5 м. Метод вакуумирования допускается выполнять в комбинации с устройством пригрузочной насыпи.
7.8 Песчаные подушки, устраиваемые под фундаментами в целях замены органоминеральных и органических грунтов, уменьшения давления на нижележащие слои, повышения, при необходимости, отметки подошвы фундаментов, ускорения процесса консолидации (уплотнения) нижележащих грунтов, устраивают, как правило, из песков крупных и средней крупности. В отдельных случаях допускается применение щебня, гравия, шлака или гравийно-песчаной смеси. Мелкие пески для устройства подушек не рекомендуются.
Плотность сухого грунта в подушках из песка крупного и средней крупности рекомендуется не менее 1,65 т/м3.
При назначении прочностных характеристик уплотненного грунта в подушках следует учитывать указания
пункта 5.6.14 СП 22.13330.2016.
7.9 Для намыва слоя грунта в качестве основания сооружения допускается применять супеси и пески любой крупности. Для ускорения консолидации намываемого слоя пылеватых песков или супесей необходимы предварительный намыв или укладка на маловодопроницаемое естественное основание, сложенное органоминеральными и органическими грунтами, дренирующего слоя, например из песка средней крупности.
7.10 При выборе конструктивной схемы здания и фундаментов на основании, сложенном сильносжимаемыми грунтами, следует исходить из условия, что повышение пространственной жесткости здания уменьшает неравномерность его осадок и перераспределяет усилия, возникающие в отдельных элементах здания. При проектировании фундаментов зданий следует отдавать предпочтение монолитным или сборно-монолитным железобетонным конструкциям, выполняемым в виде сплошных плит или перекрестных лент.
7.11 Конструкции зданий с продольными несущими стенами из кирпича или из крупных панелей являются менее чувствительными к неравномерным осадкам, характерным для оснований с сильносжимаемыми грунтами, чем здания с несущими поперечными стенами или продольными наружными несущими стенами и внутренним каркасом.
При значительных неравномерных осадках, вызывающих трещины в стенах здания, фундаменты и стены целесообразно усиливать непрерывными армированными швами или железобетонными поясами, способными воспринимать растягивающие усилия. Арматурные пояса (армированные швы) устраивают, при необходимости, в уровне перекрытий во всех несущих наружных и внутренних стенах, стенах лестничных клеток и поперечных диафрагмах. Число арматурных поясов и сечения арматуры назначают по расчету или на основании опыта строительства.
7.12 Чувствительность конструкций зданий к неравномерным осадкам может быть снижена с помощью разрезки здания на отдельные отсеки ограниченной длины с введением осадочных швов до подошвы фундаментов.
7.13 При проектировании коммуникаций, подводимых к зданию, следует предусматривать понижение отметок заложения сетей водопровода, теплофикации, газопровода, выпусков канализации и дренажа, а также выполнять гибкие вводы их в здание, чтобы после стабилизации осадок вводы соответствовали понижению здания.
8 Рекомендации по геотехническому мониторингу
8.1 При проведении геотехнического мониторинга объектов строительства в условиях распространения органоминеральных и органических грунтов необходимо руководствоваться
СП 22.13330 и
СП 305.1325800.
8.2 Геотехническому мониторингу в условиях распространения органоминеральных и органических грунтов подлежат сооружения уровня ответственности КС-3 (повышенный) и КС-2 (нормальный).
8.3 Целью геотехнического мониторинга при строительстве и эксплуатации объектов в условиях распространения органоминеральных и органических грунтов является своевременное выявление изменения контролируемых параметров конструкций и грунтов оснований, которые могут привести к переходу объектов в ограниченно работоспособное или аварийное состояние, а также контроль качества уплотнения грунтов основания на основе сопоставления фактически измеренных и проектных параметров.
8.4 Необходимость проведения геотехнического мониторинга объектов капитального строительства в условиях распространения органоминеральных и органических грунтов обосновывается проектом с учетом результатов инженерно-геологических изысканий и требований действующих норм проектирования строительства (
СП 22.13330,
СП 305.1325800).
8.5 Геотехнический мониторинг объектов строительства в условиях распространения органоминеральных и органических грунтов осуществляют в соответствии с программой, а для сооружений уровня ответственности КС-3 (повышенный) - проектом геотехнического мониторинга (наблюдательной системы), которые разрабатываются и утверждаются в составе проектной документации. Разработка программы и проекта геотехнического мониторинга, а также его проведение выполняются профильными организациями, допущенными к проведению таких работ в порядке, установленном действующим законодательством Российской Федерации.
8.6 Программа или наблюдательная система геотехнического мониторинга объекта должна учитывать прогнозируемый характер изменения контролируемых параметров во времени.
8.7 Наблюдательная система геотехнического мониторинга в период строительства должна обеспечивать возможность ее последующего включения в структурированную систему мониторинга и управления инженерными системами сооружений (СМИС) в случае, если предусмотрена система мониторинга объекта в период эксплуатации. Используемые приборы и оборудование рекомендуется подбирать исходя из условий обеспечения проектного срока действия системы мониторинга в период эксплуатации, требуемой точности и устойчивости к внешним воздействиям, возможности дистанционного снятия показаний.
8.8 В составе программы или проекта геотехнического мониторинга приводят:
- используемые методы геотехнического мониторинга (визуально-инструментальные, геодезические, параметрические, гидрогеологические и др.);
- контролируемые параметры;
- допустимый диапазон изменения контролируемых параметров;
- комплекс контролирующих средств (марок, реперов, датчиков деформаций и измерительных приборов и др.);
- наблюдательная сеть точек установки измерительных устройств, учитывающая характерные инженерно-геологические условия строительной площадки и прогнозируемый характер процесса консолидации органоминеральных и органических грунтов основания;
- необходимая частота циклов наблюдений за контролируемыми параметрами;
- план мероприятий в случае достижения контролируемых параметров допустимых пределов.
8.9 Геотехнический мониторинг при строительстве объектов в условиях распространения органоминеральных и органических грунтов, как правило, включает комплексную систему периодических наблюдений за следующими параметрами:
- общие и послойные деформации грунтового основания;
- горизонтальные перемещения грунтового массива по глубине;
- величина избыточного порового давления, возникающего в толще органоминеральных и органических грунтов вследствие приложения на основание дополнительной нагрузки;
- уровень подземных вод;
- физико-механические свойства органоминеральных и органических грунтов основания.
8.10 При выполнении геотехнического мониторинга применяют визуально-инструментальные, геодезические, параметрические и гидрогеологические методы наблюдений.
8.11 Контроль за протеканием общих осадок грунтового основания пригрузочной насыпи или фундамента сооружения во времени выполняют геодезическими методами с применением нивелиров, электронных тахеометров и навигационных спутниковых систем. Метод геодезических наблюдений на объекте следует устанавливать программой геотехнического мониторинга в зависимости от требуемой точности измерений с учетом прогнозируемых деформаций грунтового основания.
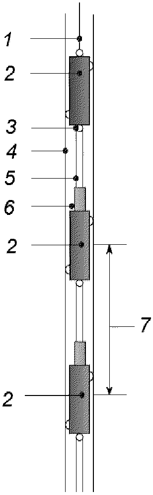
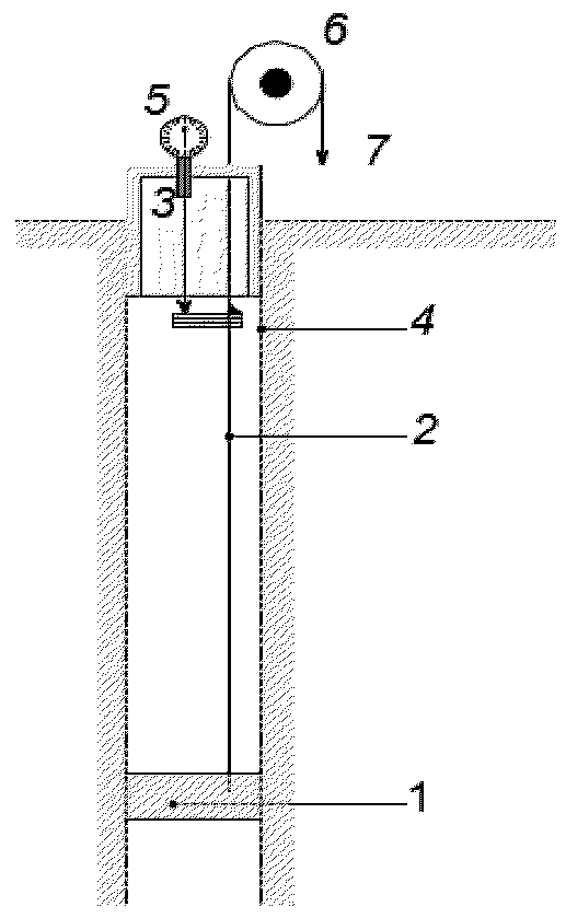
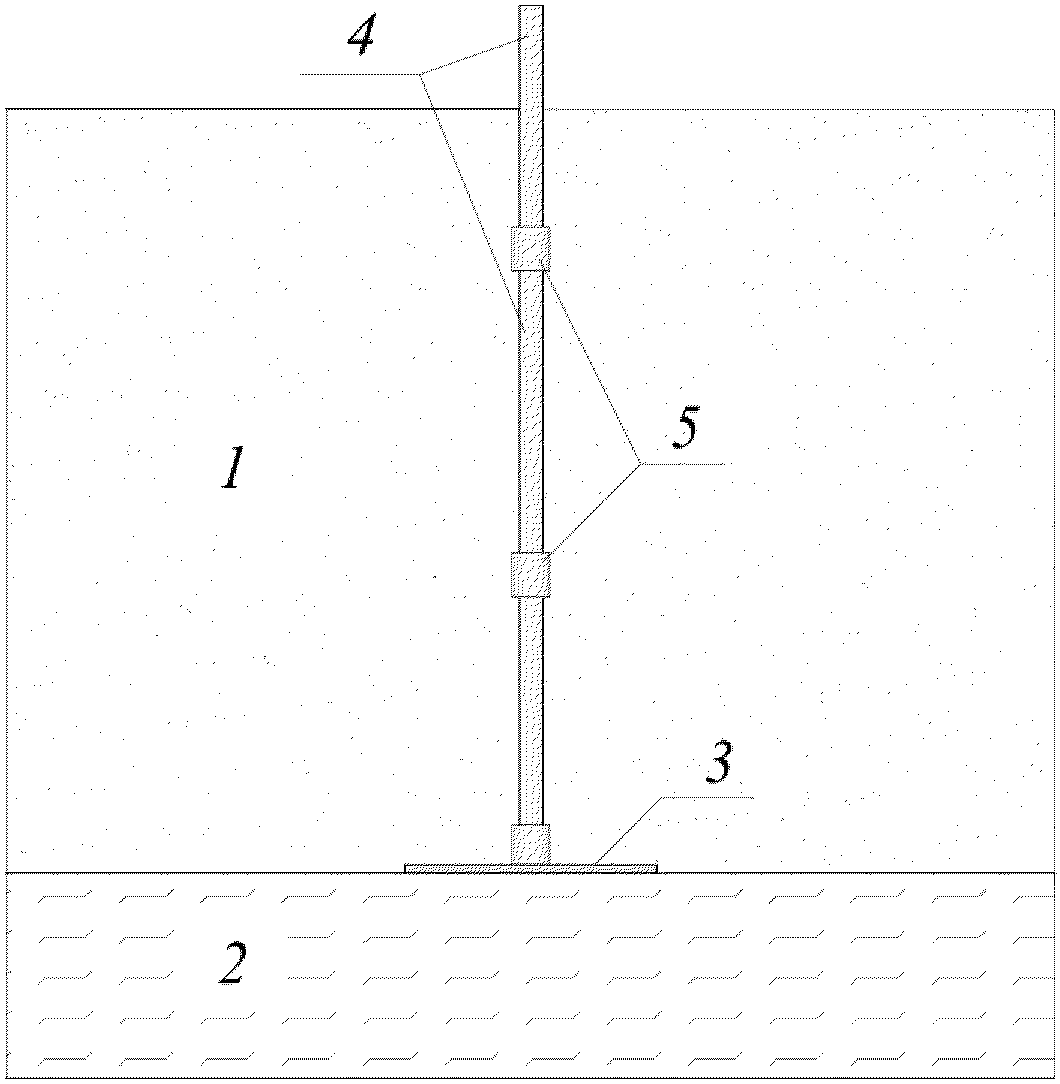
При проведении мероприятий по предпостроечному уплотнению оснований, включающих органоминеральные и (или) органические грунты, контроль за общими осадками грунтового основания выполняют по деформационным грунтовым маркам, устанавливаемым на поверхности грунтов природного сложения непосредственно перед отсыпкой первого слоя пригрузочной насыпи.
Рекомендуемая конструкция грунтовой марки для измерения общих осадок уплотняемого грунтового основания представлена ниже на рисунке 8.1. Конструкция марки состоит из основания в виде стальной пластины, например, толщиной 4 - 6 мм, размерами 0,5 x 0,5 м и мерной штанги из трубы диаметром 50 мм. Штанга крепится к пластине основания посредством муфты. Для возможности регулирования высоты мерной штанги в процессе отсыпки пригрузочной насыпи штангу наращивают отдельными секциями, скрепляемыми между собой посредством муфт.
1 - пригрузочная насыпь; 2 - слабые грунты;
3 - пластина основания; 4 - наращиваемая штанга;
5 - муфты соединения элементов мерной штанги
Рисунок 8.1 - Рекомендуемая конструкция грунтовой марки
Количество и места установки марок для наблюдения за общими вертикальными деформациями грунтового основания зависит от габаритов строящегося сооружения, изменения инженерно-геологических условий в плане и для каждого рассматриваемого случая обосновывается программой геотехнического мониторинга.
Рекомендуемая периодичность измерений осадок по грунтовым маркам должна составлять: не реже, чем один раз в неделю - в период нагружения консолидируемых грунтов (отсыпка пригрузочной насыпи и (или) возведение сооружения); не реже, чем два раза в месяц - до стабилизации осадок; далее один раз в месяц - до завершения строительства и в начальный период эксплуатации.
8.12 Контроль послойных осадок грунтового основания сооружений, возводимых на органоминеральных и органических грунтах, выполняют параметрическим методом с применением скважинных стационарных (стержневой, проволочный, звеньевой - рисунок 8.2) и портативных (одноточечный и двухточечный -
рисунок 8.3) экстензометров.
| | |
а) Стержневой экстензометр | б) Проволочный экстензометр | в) Звеньевой экстензометр |
1 - анкеры; 2 - соединительные стержни; 3 - реперный
элемент; 4 - стенка скважины; 5 - считывающее устройство;
6 - устройство натяжения проволоки; 7 - устройство
натяжения; 8 - звеньевые реперные элементы
Рисунок 8.2 - Принципиальные схемы
стационарных скважинных экстензометров
| |
а) Одноточечный экстензометр | б) Двухточечный экстензометр |
1 - направляющая труба доступа; 2 - магнитные кольца;
3 - измерительный зонд; 4 - измерительная лента
с градуировкой; 5 - измерительное устройство (снятие
показаний относительно реперной точки у устья скважины);
6 - измерительные кольца; 7 - измерительный двухточечный
зонд; 8 - направляющая штага (трос); 9 - заполнитель
межскважинного пространства; 10 - стенка скважины
Рисунок 8.3 - Принципиальные схемы
портативных экстензометров
Точка, относительно которой проводят измерения расстояний, называется реперной точкой и считается условно неподвижной. Для измерений в абсолютной системе координат необходимо определить координаты реперной точки с использованием геодезических методов.
Количество наблюдательных экстензометрических скважин, их глубина и число измерительных точек по глубине скважин для каждого рассматриваемого случая обосновываются программой геотехнического мониторинга с учетом инженерно-геологического строения строительной площадки и глубины сжимаемой толщи.
Наблюдательные скважины экстензометров рекомендуется устраивать по центру ширины насыпи или фундамента. При этом в местах предполагаемой установки экстензометров необходимо провести уточнение геологического строения строительной площадки в пределах глубины сжимаемой толщи.
Датчики экстензометров в каждой наблюдательной скважине рекомендуется устанавливать на границах слоев органических и органоминеральных грунтов в пределах сжимаемой толщи, при этом шаг установки датчиков по глубине должен составлять не более 0,4b, где b - ширина подошвы пригрузочной насыпи или фундамента (рисунок 8.4).
а - слабый грунт находится в пределах глубины сжимаемой
толщи; б - граница сжимаемой толщи находится в слое слабого
грунта; 1 - пригрузочная насыпь; 2 - толща слабых грунтов;
3 - плотные грунты; 4 - система экстензометрических
датчиков; b - ширина пригрузочной насыпи;
Hc - глубина сжимаемой толщи
Рисунок 8.4 - Принципиальные схемы расстановки
датчиков экстензометров
Рекомендуемая периодичность измерений послойных осадок основания перегрузочной насыпи или фундамента должна составлять: не реже, чем один раз в неделю - в период нагружения консолидируемых грунтов (отсыпка пригрузочной насыпи и (или) возведение сооружения); не реже, чем два раза в месяц - до стабилизации осадок; далее один раз в месяц - до завершения строительства и в начальный период эксплуатации.
8.13 Измерения горизонтальных перемещений грунтового массива по глубине выполняют в целях контроля и своевременного выявления образования выпора слабых грунтов под краями пригрузочной насыпи или фундаментов в процессе нагружения основания. Для выполнения указанных наблюдений по периметру сооружения (пригрузочной насыпи) выполняются скважины с установленными внутри инклинометрическими колоннами. Для предотвращения попадания внутрь инклинометрической колонны различных материалов монтаж труб необходимо проводить с использованием герметизирующих составов, а на нижний конец трубы установить защитную крышку. Сверху на инклинометрическую колонну необходимо установить верхнюю крышку в целях предотвращения попадания в нее различного мусора и атмосферных осадков. Для исключения возможности повреждения верхнего оголовка инклинометрической колонны вокруг него необходимо выполнить защитное ограждение.
Количество и расположение инклинометрических скважин устанавливаются программой геотехнического мониторинга индивидуально для каждого объекта.
Измерение горизонтальных перемещений грунтового массива по глубине в инклинометрических колоннах проводят с применением портативных
(рисунок 8.5) и стационарных
(рисунок 8.6) вертикальных скважинных инклинометров.
Портативный скважинный инклинометр состоит из измерительного зонда, оснащенного одним или двумя датчиками угла наклона, катушки измерительного кабеля и считывающего устройства с программным обеспечением.
Определение изменения угла наклона зонда инклинометра во времени проводят путем сравнения измеренных углов в текущем цикле с реперными ("нулевыми") значениями. Так же осуществляют расчет смещений измерительных точек относительно "нулевого" измерительного профиля.
В качестве реперной точки, относительно которой осуществляется расчет смещений измерительных точек в профиле, допускается использовать нижнюю измеряемую точку в скважине или верх направляющей трубы. Для измерения абсолютных перемещений необходимо периодически определять координаты верхней точки с применением геодезических методов контроля.
I - вид сверху на инклинометрическую скважину; II - вид
сбоку; III - положение зонда инклинометра в моменты R и F;
1 - недеформированный участок инклинометрической трубы;
2 - участок деформированной инклинометрической трубы;
3 - измерительный зонд инклинометра; 4 - участок деформаций
грунтового массива; 5 - устойчивая зона грунтового массива;
6 - реперная точка (в данном случае за реперную точку
принята ось нижней пары направляющих роликов
инклинометрического зонда); 7 - приспособление для измерения
положения зонда в скважине (стандартно металлические
маркеры, расположенные с равным шагом на соединительном
кабеле); z - длина измерительного профиля; L - длина зонда;
l - шаг измерений; n - число измерений; R - начальное
положение инклинометрической скважины ("нулевое" измерение);
F - положение инклинометрической скважины в момент
измерений
F,

- изменение угла наклона измерительного
зонда относительно "нулевого" измерения
Рисунок 8.5 - Принципиальная схема измерений с применением
портативного скважинного инклинометра
| | |
а) Стационарный инклинометр с измерительными модулями, оснащенными роликовыми направляющими (все модули соединены в одну цепочку) | б) Стационарный инклинометр с измерительными модулями, оснащенными роликовыми направляющими (модули не соединены в одну цепочку) | в) Стационарный инклинометр с измерительными модулями без направляющих роликов (модули не соединены в одну цепочку) |
1 - верхняя подвеска измерительных модулей; 2 - блок
роликовых направляющих; 3 - шарнирное соединение;
4 - направляющая инклинометрическая труба; 5 - жесткий
соединительный элемент; 6 - измерительный модуль;
7 - длина измерительного модуля; 8 - измерительная база;
9 - промежуточная соединительная подвеска; 10 - распорное
крепление измерительного модуля; 11 - материал-заполнитель
Рисунок 8.6 - Разновидности стационарных инклинометров
Периодичность контроля горизонтальных деформаций грунтового массива по глубине должна составлять: в начальный период нагружения консолидируемых грунтов (отсыпка пригрузочной насыпи и возведение сооружения) - не реже, чем два раза в неделю; далее - не реже, чем один раз в месяц.
8.14 Изменение избыточного порового давления, возникающего в толще органоминеральных и органических грунтов вследствие приложения на основание дополнительной нагрузки, является одной из основных характеристик, определяющих достижение проектной степени консолидации уплотняемых слабых грунтов основания.
Контроль за изменением порового давления осуществляют с применением пьезометрических датчиков.
Типы и основные параметры применяемых при геотехническом мониторинге датчиков для измерения давления приведены в таблице 8.1.
Таблица 8.1
Основные характеристики датчиков давления
Тип датчика | Стандартный измерительный диапазон | Точность измерений | Возможность автоматизации |
Датчик порового давления в грунте (пьезометр) |
Струнный | 0 - 15000 кПа | +/- 0,1% полного диапазона | Имеется |
Оптоволоконный | 0 - 7000 кПа | +/- 0,25% полного диапазона | Имеется |
Электрический | 0 - 5000 кПа | +/- 0,1% полного диапазона | Имеется |
Пневматический | 30 - 3500 кПа | +/- 2% полного диапазона | Отсутствует |
Комбинированный задавливаемый датчик общего и порового давления в грунте |
Струнный | 0 - 5000 кПа | +/- 0,1% полного диапазона | Имеется |
Электрический | 0 - 5000 кПа | +/- 0,1% полного диапазона | Имеется |
Пьезометрические датчики в обязательном порядке устанавливаются в зоне прогнозируемых максимальных значений избыточного порового давления с учетом принятой при проектировании расчетной схемы. Измеряемый диапазон порового давления применяемых датчиков (пьезометров) должен соответствовать напряженному состоянию массива в измеряемой точке основания от проектных нагрузок.
Периодичность наблюдений за изменением порового давления устанавливается в зависимости от прогнозируемой скорости консолидации, а в качестве рекомендуемой следует принять: в период нагружения грунтового основания (отсыпка пригрузочной насыпи и (или) возведение сооружения) и в течение первой недели после завершения данных работ - ежедневно, далее - не реже, чем один раз в две недели до достижения заданной проектом степени консолидации.
8.15 Контроль за уровнем грунтовых вод выполняют в целях внесения поправок в значение измеренного порового давления и осуществляют на участках установки пьезометрических датчиков. Измерение уровня грунтовых вод выполняют в гидрогеологических наблюдательных скважинах. Гидрогеологическая наблюдательная скважина представляет собой металлическую или пластиковую трубу диаметром не менее 50 мм с устроенным в ее нижней части сетчатым или перфорированным фильтром. Размеры перфорации фильтра должны исключать попадание песчаных частиц внутрь. В скважине обязательно наличие отстойника длиной не менее 1 м. Дно отстойника должно быть закрыто пробкой или заварено. Затрубное пространство должно быть заполнено мелким щебнем или песчаным грунтом крупных фракций. В целях исключения попадания внутрь скважины различного мусора и атмосферных осадков оголовок скважины должен иметь крышку с запорным устройством. Площадку вокруг скважины следует зацементировать, патрубок оголовка окрасить, на оголовок нанести номер скважины. Типовая конструкция гидрогеологической наблюдательной скважины приведена на рисунке 8.7.

1 - фильтровая колонна; 2 - песчано-гравийная обсыпка;
3 - сетчатый фильтр на каркасе трубы; 4 - отстойник;
5 - крышка с запорным устройством
Рисунок 8.7 - Типовая конструкция
гидрогеологической наблюдательной скважины
Замеры уровня подземных вод в гидрогеологических наблюдательных скважинах выполняются гидрогеологической рулеткой, электроуровнемером, автоматическим регистратором с электронной памятью.
При каждом наблюдении следует определять высотное положение оголовка каждой гидрогеологической наблюдательной скважины в абсолютных отметках.
Периодичность проведения замеров уровня подземных вод должна соответствовать периодичности наблюдений за поровым давлением. Замеры уровня подземных вод и наблюдения за поровым давлением должны, по возможности, выполняться одновременно.
8.16 Пример расстановки контрольно-измерительных средств геотехнического мониторинга строительства в условиях распространения органических и органоминеральных грунтов представлен на рисунке 8.8.
1 - пригрузочная насыпь; 2 - слои слабых грунтов;
3 - плотные грунты; 4 - грунтовые марки для наблюдения
за общими вертикальными деформациями; 5 - система
скважинного экстензометра; 6 - инклинометрические колонны;
7 - система пьезометрических датчиков;
8 - гидрогеологическая наблюдательная скважина;
Hc - глубина сжимаемой толщи
Рисунок 8.8 - Принципиальная схема расстановки
системы контрольно-измерительных средств
при геотехническом мониторинге
8.17 В случае если проектной документацией предусмотрено предпостроечное уплотнение слабых органоминеральных грунтов основания до заданных характеристик, в процессе их уплотнения в рамках геотехнического мониторинга необходимо осуществлять периодические полевые и лабораторные исследования изменения их физико-механических свойств.
Определение деформационных, прочностных и фильтрационных характеристик органоминеральных и органических грунтов следует проводить в диапазоне давлений, соответствующих напряженному состоянию основания проектируемого сооружения. Фильтрационные параметры следует устанавливать при испытаниях образцов грунта в вертикальном и горизонтальном направлениях.
Периодичность контроля изменения физико-механических свойств уплотняемых органических и органоминеральных следует устанавливать программой геотехнического мониторинга в зависимости от прогнозируемой проектной скорости и степени консолидации грунтов основания.
8.18 Работы по разработке программы и проведению геотехнического мониторинга рекомендуется выполнять с привлечением профильных организаций, имеющих опыт проведения исследований и проектирования сооружений на органоминеральных и органических грунтах, допущенных к проведению такого рода работ в порядке, предусмотренным действующим законодательством Российской Федерации.
[1] СТО 60284311-003-2012 Грунты. Метод компрессионных испытаний в режиме релаксации напряжений
[2] Труфанов А.Н. Способ лабораторного определения деформационных характеристик грунтов//Патент N 2272101. - 2006.
[3] Труфанов А.Н. Способ лабораторного определения реологических характеристик грунтов (варианты)//Патент N 2475591. - 2013.
[4]
Пособие по проектированию оснований зданий и сооружений (к СНиП 2.02.01-83)/НИИОСП им. Н.М. Герсеванова. - М.: Стройиздат, 1986. - 415 с.
Ключевые слова: органические грунты, органоминеральные грунты, основания, фундаменты, консолидация оснований, коэффициент консолидации, консолидационные испытания, ускоренные консолидационные испытания, предпостроечное уплотнение основания, геотехнический мониторинг |