Главная // Актуальные документы // Методические указанияСПРАВКА
Источник публикации
М., ЦРИА "Морфлот", 1981. Сборник "Методические указания на определение вредных веществ в воздухе. Выпуски с 1 по 5".
Примечание к документу
Название документа
"Методические указания на фотометрическое определение хлора в воздухе"
(утв. Минздравом СССР от 18.04.1977 N 1644-77)
"Методические указания на фотометрическое определение хлора в воздухе"
(утв. Минздравом СССР от 18.04.1977 N 1644-77)
Заместитель Главного государственного
санитарного врача СССР
А.И.ЗАИЧЕНКО
18 апреля 1977 г. N 1644-77
МЕТОДИЧЕСКИЕ УКАЗАНИЯ НА ФОТОМЕТРИЧЕСКОЕ
ОПРЕДЕЛЕНИЕ ХЛОРА В ВОЗДУХЕ
Методические указания подготовлены сотрудниками лаборатории санитарно-химических методов исследования Института гигиены труда и профзаболеваний АМН СССР.
Настоящие Методические указания распространяются на определение содержания вредных веществ в воздухе промышленных помещений при санитарном контроле и имеют ту же юридическую силу, что и Технические условия.
Редакционная коллегия: Г.С. Павловская и В.Г. Овечкин.
1. Определение основано на йодкрахмальной реакции.
2. Предел обнаружения 0,25 мкг хлора в анализируемом объеме раствора.
3. Предел обнаружения в воздухе 0,5 мг/м3 (расчетная).
4. Определению мешают бром, фтор и йод.
5. Предельно допустимая концентрация хлора в воздухе 1 мг/м3.
II. РЕАКТИВЫ И АППАРАТУРА
6. Применяемые реактивы и растворы.
Йод, 0,01 н. раствор (фиксанал), МРТУ 6-09-1678-64.
Стандартный раствор с содержанием 0,0178 мг/мл йода готовят в день анализа в мерной колбе емкостью 50 мл путем разведения 0,7 мл 0,01 н. раствора йода 2,5%-ным раствором йодистого калия. 1 мл стандартного раствора соответствует 5 мкг хлора.
| | ИС МЕГАНОРМ: примечание. Взамен ГОСТ 4232-65 Постановлением Госстандарта СССР от 22.04.1974 N 941 с 1 июля 1975 года введен в действие ГОСТ 4232-74. | |
Калий йодистый, ГОСТ 4232-65, 2,5%-ный раствор.
Ртуть двуйодистая, ГОСТ 3206-46.
| | ИС МЕГАНОРМ: примечание. Взамен ГОСТ 10163-62 Постановлением Госстандарта СССР от 17.02.1976 N 420 с 1 января 1977 года введен в действие ГОСТ 10163-76. | |
Крахмал растворимый, ГОСТ 10163-62, 0,2%-ный раствор. 2 г растворимого крахмала и 10 мг двуйодистой ртути растирают с 10 мл воды. Полученную суспензию медленно вливают в 1 л кипящей воды. Кипячение продолжают, пока раствор не станет прозрачным. По охлаждении сливают в бутыль с пришлифованной пробкой; раствор хранится до заметного помутнения.
Поглотительный раствор - смешивают 100 мл 2,5%-ного раствора йодида калия с 50 мл 0,2%-ного раствора крахмала и кипятят 2 - 3 мин. По охлаждении раствор разбавляют водой до 500 мл. Раствор можно хранить в течение 7 дней в бутыли с пришлифованной пробкой.
7. Применяемые посуда и приборы.
Аспирационное устройство.
Поглотительные приборы Зайцева (см.
рис. 9).
Пробирки колориметрические, плоскодонные из бесцветного стекла высотой 120 мм, внутренним диаметром 15 мм.
Колбы мерные,
ГОСТ 1770-74, вместимостью 1 л, 500 мл и 50 мл.
Пипетки,
ГОСТ 20292-74, вместимостью 1 и 5 мл с делениями на 0,01 и 0,1 мл.
Ступка с пестиком.
Фотоэлектроколориметр.
8. Воздух со скоростью 0,5 л/мин аспирируют через два последовательно соединенных поглотительных прибора Зайцева, содержащих по 4 мл поглотительного раствора. Для определения 1/2 ПДК достаточно отобрать 2 - 3 л воздуха.
9. Содержимое каждого поглотительного прибора переносят в кювету с толщиной слоя 1 см и фотометрируют при длине волны 574 нм по сравнению с контролем. Количество хлора определяют по предварительно построенному калибровочному графику. Для построения калибровочного графика готовят шкалу стандартов согласно табл. 35.
Таблица 35
Шкала стандартов
N стандарта | Стандартный раствор, мл | 2,5%-ный раствор йодистого калия; мл | Поглотительный раствор, мл | Содержание хлора, мкг |
1 | 0 | 2,0 | 2,0 | 0 |
2 | 0,05 | 1,95 | 2,0 | 0,25 |
3 | 0,1 | 1,9 | 2,0 | 0,50 |
4 | 0,2 | 1,8 | 2,0 | 1,0 |
5 | 0,4 | 1,6 | 2,0 | 2,0 |
6 | 0,8 | 1,2 | 2,0 | 4,0 |
7 | 1,2 | 0,8 | 2,0 | 6,0 |
Концентрацию хлора X в мг/м3 воздуха вычисляют по формуле:

,
где G - количество хлора, найденное в пробе, мкг;
V20 - объем воздуха, взятый для анализа и приведенный к стандартным условиям по формуле (см. Приложение), л.
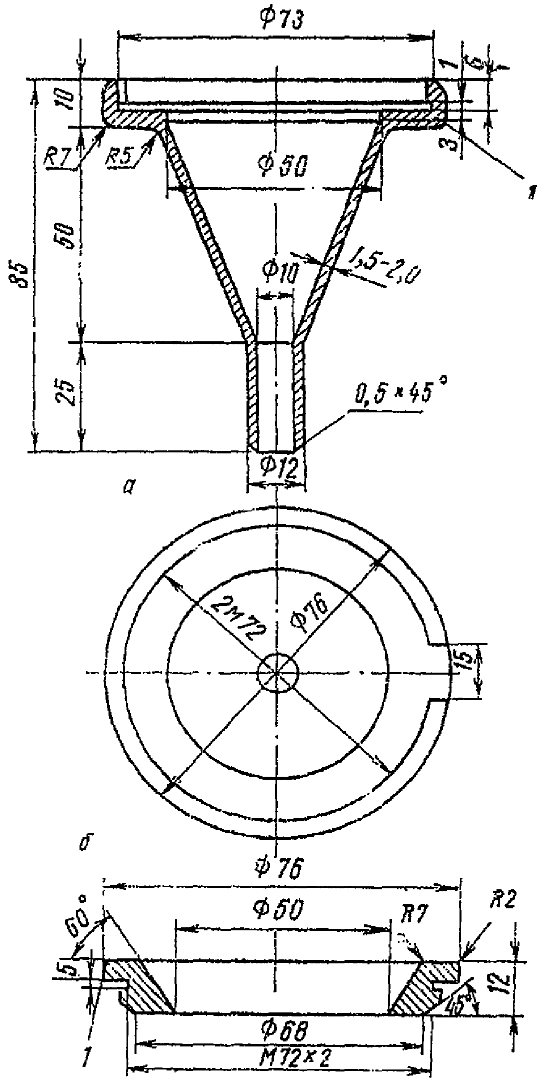
а - корпус; б - гайка; 1 - накатка
Рис. 1. Аллонж открытый (патрон для фильтра)
Рис. 2. Крышка закрытого аллонжа
Рис. 3. Поглотительный прибор с пористой пластиной
1 - пробирка с пришлифованной пробкой;
2 - делительная воронка; 3 - индикаторная трубка Бальской
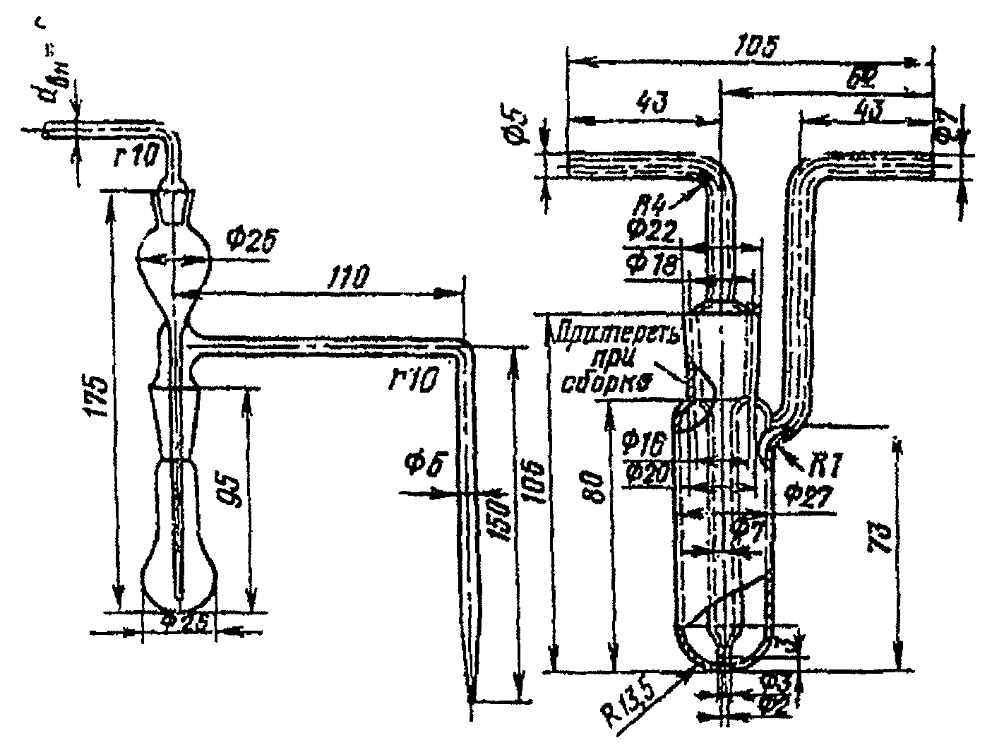
Рис. 4. Прибор для получения мышьяковистого водорода
Рис. 5. Трубка стеклянная гофрированная
Рис. 6. Поглотительный прибор Яворовской
Рис. 7. Схема отбора проб воздуха на тетраэтилсвинец
Рис. 8. Микроприбор для перегонки трихлорсилана
Рис. 9. Поглотительный прибор Зайцева
Рис. 10. Поглотительный прибор Рихтера
Рис. 11. Поглотительный прибор Петри
Рис. 12. Поглотительный прибор Полежаева
Рис. 13. Колба из тугоплавкого стекла
Рис. 14. Прибор для перегонки с водяным паром
Рис. 15. Прибор для дистилляции
Рис. 16. Приборы для разрушения хлорорганических
ядохимикатов
1 - склянка Тищенко с серной кислотой; 2 - поглотитель
с натронной известью; 3 - прибор для разрушения
хлорорганических инсектицидов; 4 - термометр;
5 - парафиновая баня; 6 - электрическая плитка;
7 - пробирка-приемник
Рис. 17. Установка для определения хлорорганических
инсектицидов
1 - воздуховод; 2 - пылеотборная трубка; 3 - аллонж
с фильтром; 4 - ротаметр; 5 - аспиратор
Рис. 18. Схема отбора проб пыли методом
внешней фильтрации
1 - воздуховод; 2 - аллонж с фильтром; 3 - металлическая
трубка; 4 - ротаметр; 5 - аспиратор
Рис. 19. Схема отбора проб пыли методом
внутренней фильтрации
РАСЧЕТ КОНЦЕНТРАЦИИ ВРЕДНОГО ВЕЩЕСТВА В ВОЗДУХЕ
| | ИС МЕГАНОРМ: примечание. Взамен ГОСТ 12.1.005-76 Постановлением Госстандарта СССР от 29.09.1988 N 3388 с 1 января 1989 года введен в действие ГОСТ 12.1.005-88. | |
В соответствии с требованиями ГОСТ 12.1.005-76 объем воздуха, аспирированного при отборе проб, приводят к стандартным условиям: температуре 20 °C и барометрическому давлению 101,33 кПа (760 мм рт. ст.) по формуле:

,
где Vt - объем воздуха, измеренный при t °C и давлении 101,33 кПа.
Для упрощения расчетов пользуются коэффициентами K
(Приложение 3), вычисленными для температур в пределах от 6 до 40 °C и давлений от 97,33 до 104,0 кПа (730 - 780 мм рт. ст.).
В сборниках ТУ, некоторых МУ и во многих практических руководствах по санитарной химии в составе приложений имеются таблицы коэффициентов пересчета объема воздуха к нормальным условиям (0 °C и 101,33 кПа).
Численные значения коэффициентов в этих таблицах приведены с точностью до четвертого знака для температур от 5 до 40 °C с интервалом в 1° и давлений от 730 до 780 мм рт. ст. с интервалом в 2 мм рт. ст.
Однако нет практической надобности в столь многозначных и слишком подробных таблицах, так как максимальная погрешность четырехзначных коэффициентов составляет всего лишь +/- 0,006%. Согласно ГОСТ 12.1.005-76 погрешность измерения объема воздуха не должна превышать +/- 10%, поэтому точность коэффициентов пересчета на уровне +/- 1% следует считать вполне достаточной.
КОЭФФИЦИЕНТЫ K ДЛЯ ПРИВЕДЕНИЯ ОБЪЕМА ВОЗДУХА
К СТАНДАРТНЫМ УСЛОВИЯМ
t °C | Давление P, кПа/мм рт. ст. |
97,33/730 | 98,66/740 | 100/750 | 101,33/760 | 102,7/770 | 104/780 |
6 | 1,009 | 1,023 | 1,036 | 1,050 | 1,064 | 1,078 |
8 | 1,002 | 1,015 | 1,029 | 1,043 | 1,560 | 1,070 |
10 | 0,994 | 1,008 | 1,022 | 1,035 | 1,049 | 1,063 |
12 | 0,987 | 1,001 | 1,015 | 1,028 | 1,042 | 1,055 |
14 | 0,981 | 0,994 | 1,007 | 1,021 | 1,034 | 1,048 |
16 | 0,974 | 0,987 | 1,001 | 1,014 | 1,027 | 1,040 |
18 | 0,967 | 0,980 | 0,994 | 1,007 | 1,020 | 1,033 |
20 | 0,961 | 0,974 | 0,987 | 1,000 | 1,013 | 1,026 |
22 | 0,954 | 0,967 | 0,980 | 0,993 | 1,006 | 1,019 |
24 | 0,948 | 0,961 | 0,974 | 0,987 | 1,000 | 1,012 |
26 | 0,941 | 0,954 | 0,967 | 0,980 | 0,993 | 1,006 |
28 | 0,935 | 0,948 | 0,961 | 0,973 | 0,986 | 0,999 |
30 | 0,929 | 0,942 | 0,954 | 0,967 | 0,980 | 0,992 |
32 | 0,923 | 0,935 | 0,948 | 0,961 | 0,973 | 0,986 |
34 | 0,917 | 0,929 | 0,942 | 0,954 | 0,967 | 0,979 |
36 | 0,911 | 0,923 | 0,936 | 0,948 | 0,961 | 0,973 |
38 | 0,905 | 0,917 | 0,930 | 0,942 | 0,955 | 0,967 |
40 | 0,899 | 0,911 | 0,924 | 0,936 | 0,948 | 0,961 |
Искомый коэффициент K, пользуясь упрощенной таблицей, находят в соответствии со следующей схемой:

,
где

- поправка на температуру;

- поправка на давление.
1. Численное значение давления P, путем исключения единиц, округляют до целого числа, кратного десяти (Pтабл)

.
2. В графе P находят коэффициент, соответствующий заданной температуре. Если цифра °C нечетная, то выписывают значение коэффициента при температуре t + 1 (ближайшее снизу число) и увеличивают его третий знак на 3 единицы (т.е. прибавляют 0,003).
3. Поправку на

определяют по таблице пропорциональных частей, приведенной (снизу) основной таблицы.
Примеры. Требуется определить коэффициент K для следующих параметров окружающей среды:
N п/п | t °C | Pмм рт. ст. | | | | K |
1 | 18 | 750 | 750 + 0 | 0,994 + 0 | 0,000 | 0,994 |
2 | 5 | 788 | 780 + 8 | 1,078 + 0,003 | 0,010 | 1,091 |
3 | 23 | 743 | 740 + 3 | 0,961 + 0,003 | 0,004 | 0,968 |
4 | 29 | 732 | 730 + 2 | 0,929 + 0,003 | 0,003 | 0,935 |
5 | 22 | 781 | 780 + 1 | 1,019 + 0 | 0,001 | 1,020 |
В первом примере значение искомого коэффициента берется непосредственно из таблицы. В тех случаях, когда цифра t °C нечетна (примеры 2, 3 и 4), выписывают Kтабл., соответствующий Pтабл и температуре (t + 1) °C, и прибавляют к нему 0,003.
Поправку на излишек единиц

определяют по вспомогательной таблице (их значения вписаны в графу

).
Величину коэффициента K определяют как сумму поправок на температуру и давление и Kтабл (графа K).
В примере 5 ввиду четности цифры t °C поправка на температуру отсутствует.