Главная // Актуальные документы // ГОСТ (Государственный стандарт)
СПРАВКА
Источник публикации
М.: Стандартинформ, 2015
Примечание к документу
По сведениям, размещенным на Информационном портале Росстандарта по адресу https://uvedns.gostinfo.ru/, данный документ утратил силу с 01.09.2024 в связи с изданием Приказа Росстандарта от 21.09.2023 N 896-ст. Взамен введен в действие ГОСТ IEC 61010-2-032-2023.

Документ включен в Перечень международных и региональных (межгосударственных) стандартов, а в случае их отсутствия - национальных (государственных) стандартов, в результате применения которых на добровольной основе обеспечивается соблюдение требований технического регламента Таможенного союза "О безопасности низковольтного оборудования" (ТР ТС 004/2011) и в Перечень международных и региональных (межгосударственных) стандартов, а в случае их отсутствия - национальных (государственных) стандартов, содержащих правила и методы исследований (испытаний) и измерений, в том числе правила отбора образцов, необходимые для применения и исполнения требований технического регламента Таможенного союза "О безопасности низковольтного оборудования" (ТР ТС 004/2011) и осуществления оценки соответствия объектов технического регулирования (Решение Коллегии Евразийской экономической комиссии от 11.05.2023 N 55).

Документ введен в действие с 1 сентября 2015 года.

Название документа
"ГОСТ IEC 61010-2-032-2014. Межгосударственный стандарт. Безопасность электрических контрольно-измерительных приборов и лабораторного оборудования. Часть 2-032. Частные требования к ручным и управляемым вручную датчикам тока для электрических испытаний и измерений"
(введен в действие Приказом Росстандарта от 11.11.2014 N 1509-ст)

"ГОСТ IEC 61010-2-032-2014. Межгосударственный стандарт. Безопасность электрических контрольно-измерительных приборов и лабораторного оборудования. Часть 2-032. Частные требования к ручным и управляемым вручную датчикам тока для электрических испытаний и измерений"
(введен в действие Приказом Росстандарта от 11.11.2014 N 1509-ст)


Содержание


Введен в действие
Приказом Федерального
агентства по техническому
регулированию и метрологии
от 11 ноября 2014 г. N 1509-ст
МЕЖГОСУДАРСТВЕННЫЙ СТАНДАРТ
БЕЗОПАСНОСТЬ ЭЛЕКТРИЧЕСКИХ КОНТРОЛЬНО-ИЗМЕРИТЕЛЬНЫХ ПРИБОРОВ
И ЛАБОРАТОРНОГО ОБОРУДОВАНИЯ
ЧАСТЬ 2-032
ЧАСТНЫЕ ТРЕБОВАНИЯ К РУЧНЫМ И УПРАВЛЯЕМЫМ ВРУЧНУЮ ДАТЧИКАМ
ТОКА ДЛЯ ЭЛЕКТРИЧЕСКИХ ИСПЫТАНИЙ И ИЗМЕРЕНИЙ
Safety of electrical equipment for measurement, control
and laboratory use. Part 2-032. Particular requirements
for hand-held and hand-manipulated current sensors
for electrical tests and measurement
(IEC 61010-2-032:2012, IDT)
ГОСТ IEC 61010-2-032-2014
МКС 19.080
Дата введения
1 сентября 2015 года
Предисловие
Цели, основные принципы и основной порядок проведения работ по межгосударственной стандартизации установлены ГОСТ 1.0-92 "Межгосударственная система стандартизации. Основные положения" и ГОСТ 1.2-2009 "Межгосударственная система стандартизации. Стандарты межгосударственные, правила и рекомендации по межгосударственной стандартизации. Правила разработки, принятия, применения, обновления и отмены"
Сведения о стандарте
1 ПОДГОТОВЛЕН Автономной некоммерческой организацией "Научно-технический центр сертификации электрооборудования "ИСЭП" (АНО "НТЦСЭ "ИСЭП")
2 ВНЕСЕН Федеральным агентством по техническому регулированию и метрологии (Росстандарт)
3 ПРИНЯТ Межгосударственным советом по стандартизации, метрологии и сертификации (протокол от 30 июля 2014 г. N 68-П)
За принятие проголосовали:
Краткое наименование страны по МК (ИСО 3166) 004-97
Код страны по МК (ИСО 3166) 004-97
Сокращенное наименование национального органа по стандартизации
Армения
AM
Минэкономики Республики Армения
Беларусь
BY
Госстандарт Республики Беларусь
Казахстан
KZ
Госстандарт Республики Казахстан
Киргизия
KG
Кыргызстандарт
Молдова
MD
Молдова-Стандарт
Россия
RU
Росстандарт
4 Приказом Федерального агентства по техническому регулированию и метрологии от 11 ноября 2014 г. N 1509-ст межгосударственный стандарт ГОСТ IEC 61010-2-032-2014 введен в действие в качестве национального стандарта Российской Федерации с 1 сентября 2015 г.
5 Настоящий стандарт идентичен международному стандарту IEC 61010-2-032:2012 Safety requirements for electrical equipment for measurement, control and laboratory use - Part 2-032: Particular requirements for hand-held and hand-manipulated current sensors for electrical test and measurement (Безопасность электрических контрольно-измерительных приборов и лабораторного оборудования. Часть 2-032. Частные требования к ручным и управляемым вручную датчикам тока для электрических испытаний и измерений).
Перевод с английского языка (en).
При применении настоящего стандарта рекомендуется использовать вместо ссылочных международных стандартов соответствующие им межгосударственные стандарты, сведения о которых приведены в дополнительном приложении ДА.
Степень соответствия - идентичная (IDT)
6 ВЗАМЕН ГОСТ IEC 61010-2-032-2011
Информация об изменениях к настоящему стандарту публикуется в ежегодном информационном указателе "Национальные стандарты", а текст изменений и поправок - в ежемесячном информационном указателе "Национальные стандарты". В случае пересмотра (замены) или отмены настоящего стандарта соответствующее уведомление будет опубликовано в ежемесячном информационном указателе "Национальные стандарты". Соответствующая информация, уведомление и тексты размещаются также в информационной системе общего пользования - на официальном сайте Федерального агентства по техническому регулированию и метрологии в сети Интернет
Общие положения
1) Международная электротехническая комиссия (МЭК) является международной организацией по стандартизации, объединяющей все национальные электротехнические комитеты (национальные комитеты МЭК). Задачей МЭК является продвижение международного сотрудничества во всех вопросах, касающихся стандартизации в области электротехники и электроники. Результатом этой работы и в дополнение к другой деятельности МЭК является издание международных стандартов, технических требований, технических отчетов, публично доступных технических требований (ПАС) и руководств (в дальнейшем именуемых "публикации МЭК"). Их подготовка поручена техническим комитетам. Любой национальный комитет МЭК, заинтересованный в объекте рассмотрения, с которым имеют дело, может участвовать в этой предварительной работе. Международные, правительственные и неправительственные организации, кооперирующиеся с МЭК, также участвуют в этой подготовке. МЭК близко сотрудничает с Международной организацией по стандартизации (ИСО) в соответствии с условиями, определенными соглашением между этими двумя организациями.
2) Формальные решения или соглашения МЭК означают выражение положительного решения технических вопросов, международный консенсус в соответствующих областях, так как у каждого технического комитета есть представители от всех заинтересованных национальных комитетов МЭК.
3) Публикации МЭК имеют форму рекомендаций для международного использования и принимаются национальными комитетами МЭК в этом качестве. Приложены максимальные усилия для того, чтобы гарантировать правильность технического содержания публикаций МЭК, однако МЭК не отвечает за порядок их использования или за любое неверное толкование любым конечным пользователем.
4) Чтобы способствовать международной гармонизации, национальные комитеты МЭК обязуются применять публикации МЭК в их национальных и региональных публикациях с максимальной степенью приближения к исходной. Любое расхождение между любой публикацией МЭК и соответствующей национальной или региональной публикацией должны быть четко обозначены в последней.
5) МЭК не обеспечивает процедуры маркировки знаком одобрения и не берет на себя ответственность за любое оборудование, о котором заявляют, что оно соответствует публикации МЭК.
6) Все пользователи должны быть уверены, что они используют последнее издание этой публикации.
7) МЭК или его директора, служащие или агенты, включая отдельных экспертов и членов его технических комитетов и национальных комитетов МЭК, не несут ответственности и не отвечают за причиненные телесные повреждения, материальный ущерб или другое повреждение любой природы, как прямое так и косвенное, или за затраты (включая юридические сборы) и расходы, вытекающие из использования публикации или ее разделов, или любой другой публикации МЭК.
8) Обращаем внимание на нормативные ссылки, приведенные в настоящей публикации. Использование ссылочных публикаций является обязательным для правильного применения настоящей публикации.
9) Обращаем внимание на то, что имеется вероятность того, что некоторые из элементов настоящей публикации МЭК могут быть предметом получения патентного права. МЭК не несет ответственности за идентификацию любых патентных прав.
Международный стандарт IEC 61010-2-032 подготовлен техническим комитетом 66 "Безопасность измерительного, контрольного и лабораторного оборудования".
Текст настоящего стандарта основан на следующих документах:
Запрос проекта (FDIS)
Отчет о голосовании
66/474/ FDIS
66/488/RVD
Полная информация о голосовании за одобрение этого стандарта приведена в отчете о голосовании, указанном в вышеприведенной таблице.
Третья редакция аннулирует и заменяет вторую редакцию, опубликованную в 2002 г. Вторая редакция является техническим пересмотром.
Настоящий стандарт включает в себя следующие существенно важные технические изменения по сравнению с предыдущей редакцией:
a) приведено определение нового датчика тока типа D;
b) определение термина КАТЕГОРИЯ ИЗМЕРЕНИЙ I в настоящем стандарте IEC 61010-2-032 заменено на "не определена для измерений в пределах КАТЕГОРИЙ ИЗМЕРЕНИЙ II, III или IV";
c) модифицированы требования к маркировкам КЛЕММ измерительной цепи и ЗАЖИМОВ;
d) добавлены ЗАЗОРЫ и ПУТИ УТЕЧКИ для КЛЕММ внешней измерительной цепи;
e) добавлены требования к КЛЕММАМ специальной измерительной цепи;
f) установлены другие требования к испытанию натяжения концевых элементов гибких датчиков тока;
g) установлены другие требования к выходным проводам цепи;
h) дополнены предельные значения температур и теплостойкости при нагревании, с целью предотвращения тепловых ОПАСНОСТЕЙ, возникающих от вихревых токов и высоких токов;
i) установлены другие требования к схемам или компонентам, используемым в качестве устройств ограничения ПЕРЕХОДНЫХ ПЕРЕНАПРЯЖЕНИЙ;
j) добавлены требования для индикации низкого уровня заряда батарей;
k) пересмотрены и дополнены требования, относящиеся к ВОЗМОЖНОМУ НЕПРАВИЛЬНОМУ ПРИМЕНЕНИЮ измерительных цепей, включая использование датчика тока способом, который может вызвать возникновение дуговой вспышки;
l) добавлены требования к измерительным цепям СЕТЕВОГО напряжения;
m) пересмотрены и указаны в новом разделе 102 требования по предотвращению ОПАСНОСТЕЙ от короткого замыкания;
n) модифицированы требования по проведению ТИПОВЫХ ИСПЫТАНИЙ;
o) требования к изоляции измерительных цепей приведены в приложении K;
p) добавлено приложение AA, в котором установлены характеристики КАТЕГОРИЙ ИЗМЕРЕНИЙ;
q) добавлено приложение BB, в котором приведены ОПАСНОСТИ, которые могут возникнуть при использовании измерительных цепей.
Настоящий стандарт следует использовать совместно со стандартом IEC 61010-1:2010. Следует принимать во внимание будущие редакции или поправки к IEC 61010-1.
IEC 61010-2-032 дополняет или модифицирует соответствующие разделы IEC 61010-1, с целью приведения его к виду частных требований к ручным и управляемым вручную датчикам тока для электрических испытаний и измерений.
Поскольку отдельные подпункты IEC 61010-1 не упоминаются в настоящем стандарте IEC 61010-2-032, то эти подпункты могут применяться настолько, насколько это возможно. Так как эта часть серии стандартов IEC 61010 имеет статус дополнения, модификации, замены или исключения, то соответствующие требования и методы испытаний или примечания, приведенные в IEC 61010-1, должны быть соответственно адаптированы.
ИС МЕГАНОРМ: примечание.
Примечания, выделенные петитом в официальном тексте документа, в электронной версии документа отмечены знаком "&".
В настоящем стандарте:
a) используются следующие шрифтовые выделения:
- требования - светлый;
- примечания - петит;
- заключение о соответствии и испытание - курсив;
- термины, используемые по всему тексту этого стандарта, которые определены в разделе 3, - прописные;
b) подразделы, рисунки, таблицы и примечания, которые дополняют соответствующие им подразделы, рисунки, таблицы и примечания IEC 61010-1, имеют нумерацию, начинающуюся с цифры 101. Дополнительные приложения имеют обозначения AA и BB.
Настоящий стандарт разработан в соответствии с ISO/IEC Guides, Part 2.
Перечень всех частей, входящих в серию стандартов IEC 61010, имеющих общее название "Безопасность электрических контрольно-измерительных приборов и лабораторного оборудования" приведен на веб-сайте МЭК.
По решению технического комитета содержание этой публикации будет неизменным до даты результата пересмотра, указанного на веб-сайте МЭК http://webstore.iec.ch в сведениях, имеющих отношение к определенной публикации. При этом данная публикация будет:
- подтверждена;
- отменена;
- заменена на пересмотренное издание;
- дополнена.
Введение
Стандарт IEC 61010-1 устанавливает требования безопасности ко всему оборудованию в пределах области его применения. Для определенных типов оборудования требования IEC 61010-1 будут дополнены или модифицированы посредством разработки одной или более отдельной части 2 стандарта, которая должна рассматриваться совместно с требованиями IEC 61010-1.
Настоящий стандарт устанавливает требования безопасности, обычно применимые к РУЧНЫМ и управляемым вручную датчикам тока.
IEC 61010-2-030 устанавливает требования безопасности к испытательным и измерительным цепям, которые связаны с испытаниями и измерениями устройств или цепей, не входящих непосредственно в состав измерительного оборудования.
IEC 61010-2-033 устанавливает требования безопасности к РУЧНЫМ ИЗМЕРИТЕЛЬНЫМ ПРИБОРАМ, предназначенным, главным образом, для измерения СЕТЕВЫХ ЦЕПЕЙ.
За исключением требований к защитным цепям, все требования IEC 61010-2-030 включены в IEC 61010-2-032. Оборудование, входящее в область применения IEC 61010-2-030 и IEC 61010-2-032, рассмотрено в IEC 61010-2-032. Для оборудования, входящего в область применения IEC 61010-2-032 и IEC 61010-2-033, должны рассматриваться требования обеих стандартов в совокупности.
1. Область применения и назначение
Область применения и назначение настоящего стандарта - по IEC 61010-1 со следующими исключениями:
1.1 Оборудование, входящее в область применения
Замена:
Настоящий стандарт устанавливает требования безопасности к РУЧНЫМ и управляемым вручную датчикам тока, описанным далее.
В область применения настоящего стандарта входят датчики тока, предназначенные для измерения или обнаружения тока, или подпитывания током, или для индикации формы кривой тока в цепи, без физического разрыва измеряемой токовой цепи. Они могут быть автономными датчиками тока или аксессуарами (принадлежностями) другого оборудования, или быть частью комбинированного оборудования (см. рисунок 101). Измерительные цепи, которые являются частью электрического испытательного и измерительного оборудования или аппаратуры управления процессом, также относятся к оборудованию, входящему в область применения настоящего стандарта. Наличие таких датчиков тока и цепей в оборудовании требует дополнительных мер защиты между датчиком тока, цепью и ОПЕРАТОРОМ.
&Примечания
1 Настоящий стандарт включает в себя также требования IEC 61010-2-030. На испытательные и измерительные цепи, которые не входят в область применения настоящего стандарта, распространяются требования, установленные в IEC 61010-1 или других вторых частях стандартов серии IEC 61010, и испытательные и измерительные цепи должны отвечать требованиям соответствующих стандартов серии IEC 61010-2, за исключением IEC 61010-2-030. Токоизмерительные клещи и аналогичные датчики тока, применяемые в основном для измерения напряжения в СЕТЕВОЙ ЦЕПИ, находящейся под напряжением, входят в область распространения IEC 61010-2-033.
2 Некоторые датчики тока также известны под названиями "токовые клещи" и "токовые щупы".&
1 - КОНЦЕВАЯ(ЫЕ) ЧАСТЬ(И) ЗАЖИМА; 2 - ЗАЖИМ;
3 - ВЫВОДЫ измерительной цепи
Рисунок 101 - Пример датчиков тока и их частей
Датчики тока требуют ручного управления до или после проведения испытаний или измерений, но не обязательно удерживать их вручную во время проведения испытаний или измерений.
&Примечание 3 - Некоторые датчики тока, предназначенные для портативного использования, могут быть использованы для стационарной установки.&
Настоящий стандарт распространяется на следующие типы датчиков тока:
a) Тип A: датчик тока, сконструированный для применения вблизи или на удалении от НЕИЗОЛИРОВАННЫХ ОПАСНЫХ ДЛЯ ЖИЗНИ проводников. Датчики тока типа A имеют определенные РУЧНЫЕ части или части, предназначенные для ручного манипулирования, обеспеченные защитой от поражения электрическим током, протекающим по измеряемому проводнику, а также имеют защиту от короткого замыкания между проводами и сборными шинами в процессе их зажимания.
b) Тип B: датчик тока, имеющий защиту от короткого замыкания между проводами или сборными шинами в процессе зажимания, но без определенных РУЧНЫХ частей или частей, предназначенных для ручного манипулирования, обеспеченных защитой от поражения электрическим током в процессе зажимания. Необходимы дополнительные защитные меры, чтобы избежать поражения электрическим током от ОПАСНЫХ ДЛЯ ЖИЗНИ проводников, которые не могут быть обесточены во время использования или при удалении датчика тока.
Пример 1 - Гибкий датчик тока.
c) Тип C: Датчик тока, не имеющий защиты от коротких замыканий между проводами или сборными шинами в процессе зажимания. Датчики тока типа C предназначены для применения путем приложения к НЕИЗОЛИРОВАННЫМ ОПАСНЫМ ДЛЯ ЖИЗНИ проводникам или путем удаления от НЕИЗОЛИРОВАННЫХ ОПАСНЫХ ДЛЯ ЖИЗНИ проводников или от проводников с неограниченной энергией, только тогда, когда они обесточены.
Пример 2 - Датчик тока с разделенным сердечником.
d) Тип D: Датчик тока, сконструированный для применения вблизи или на удалении от изолированных проводников или проводников с ограниченной энергией.
Датчики тока типа D не нуждаются в защите от короткого замыкания в процессе зажимания (фиксации) и не имеют определенных РУЧНЫХ частей или частей, предназначенных для ручного манипулирования, обеспеченных защитой от поражения электрическим током, протекающим в измеряемом проводнике.
Пример 3 - Токовые щупы для осциллографов и детекторы токов утечки на землю.
&Примечание 4 - Все датчики тока могут также использоваться вблизи изолированных проводников. В этом случае допустимый уровень ОПАСНОСТИ обеспечивают изоляцией проводников.&
1.2.1 Аспекты, включенные в область распространения
Дополнение:
Добавить следующий параграф в конце подпункта:
Требования к защите от ОПАСНОСТЕЙ, возникающих при НОРМАЛЬНОМ ПРИМЕНЕНИИ и при ВОЗМОЖНОМ НЕПРАВИЛЬНОМ ПРИМЕНЕНИИ измерительных цепей, приведены в разделе 101.
Требования к защите от ОПАСНОСТИ вспышки дуги и короткого замыкания в разделе 102.
2. Нормативные ссылки
Применяют соответствующий раздел IEC 61010-1.
3. Термины и определения
Применяют соответствующий раздел IEC 61010-1, за исключением следующего:
3.1 Оборудование и его состояние
Дополнение:
Дополнить следующим определением:
3.1.101 РУЧНОЕ (HAND-HELD): оборудование, предназначенное для применения одной рукой во время НОРМАЛЬНОГО ПРИМЕНЕНИЯ
3.2 Части и принадлежности
Дополнение:
Дополнить следующими определениями:
3.2.1 ЗАЖИМ (JAW): часть датчика тока, которая окружает или частично окружает проводник, подвергаемый испытанию
3.2.2 КОНЦЕВАЯ ЧАСТЬ ЗАЖИМА (JAW END): часть ЗАЖИМА, где происходит размыкание во время его зажимания вокруг проводника
3.5 Термины безопасности
Замена:
Заменить определения 3.5.4 и 3.5.5 следующими:
3.5.4 СЕТЬ (MAINS): низковольтная система электроснабжения, для подключения к которой сконструирован рассматриваемый датчик тока в целях электропитания датчика тока или для проведения измерений
3.5.5 СЕТЕВАЯ ЦЕПЬ (MAINS CIRCUIT): цепь, предназначенная для непосредственного подключения к СЕТИ в целях электропитания датчика тока или для проведения измерений
Дополнение:
Дополнить следующим определением:
3.5.101 КАТЕГОРИЯ ИЗМЕРЕНИЙ (MEASUREMENT CATEGORY): классификация испытательных и измерительных цепей в соответствии с типами СЕТЕВЫХ ЦЕПЕЙ, для подключения к которым они предназначены
&Примечание - КАТЕГОРИИ ИЗМЕРЕНИЙ устанавливают исходя из категорий перенапряжений, уровней токов короткого замыкания, расположения в строительном сооружении (установке), в которой будут проводиться испытания и измерения, и некоторых форм ограничения энергии или переходной защиты, входящих в состав строительного сооружения (установки). Дополнительная информация приведена в приложении AA.&
3.6 ИЗОЛЯЦИЯ
Дополнение:
Дополнить следующим определением:
3.6.101 НЕИЗОЛИРОВАННЫЙ(ОЕ) (uninsulated): неизолированный(ое) твердой изоляцией или изолированный(ое) твердой изоляцией, которая не соответствует требованиям к ОСНОВНОЙ ИЗОЛЯЦИИ для соответствующего напряжения относительно земли.
4. Испытания
Применяют соответствующий раздел IEC 61010-1, за исключением следующего:
4.4.2.8 Выводы
Замена:
Заменить следующим текстом:
Выводы должны быть поочередно разомкнуты (не замкнуты) или замкнуты накоротко.
5. Маркировка и документация
Применяют соответствующий раздел IEC 61010-1, за исключением следующего:
5.1.2 Идентификация
Дополнение:
Дополнить следующими новыми перечислениями и новым абзацем после примечания к перечислению b):
aa) на датчиках тока, разработанных для использования только с определенной моделью оборудования, должна быть четкая идентификация оборудования или маркировка символа 14, указанного в таблице 1 IEC 61010-1, если эта информация приведена только в документации;
bb) на датчиках тока типа A должна быть маркировка символа 102, указанного в таблице 1 IEC 61010-1;
cc) на датчиках тока типов B и C должна быть маркировка символа 101, указанного в таблице 1 IEC 61010-1;
dd) на датчиках тока типа D должна быть маркировка символа 101, указанного в таблице 1 IEC 61010-1, которая может быть дополнена дополнительной маркировкой (см. 5.1.5.102).
Таблица 1
Символы
Дополнение:
Дополнить таблицу следующими новыми символами
Номер символа
Символ
Нормативный документ
Описание
101
-
Не применяют вблизи или на удалении от НЕИЗОЛИРОВАННЫХ ТОКОВЕДУЩИХ проводников, которые могут вызывать поражение электрическим током, электрическое возгорание или вспышку дуги
102
-
Применяется вблизи или на удалении от НЕИЗОЛИРОВАННЫХ ОПАСНЫХ ДЛЯ ЖИЗНИ проводников
Соответствующие символы (14, 101 или 102) должны быть нанесены вблизи ЗАЖИМОВ или должна быть маркировка КАТЕГОРИИ ИЗМЕРЕНИЙ для ЗАЖИМА, если они установлены (см. 5.1.5.101 и 5.1.5.102).
5.1.5 ВЫВОДЫ (КЛЕММЫ), соединения и органы управления
Дополнение:
Дополнить следующими новыми подпунктами:
5.1.5.101 ВЫВОДЫ (КЛЕММЫ) измерительной цепи
5.1.5.101.1 Общие положения
За исключением допускаемого в 5.1.5.101.4:
a) ВЫВОДЫ (КЛЕММЫ) измерительной цепи должны иметь маркировку значения НОМИНАЛЬНОГО напряжения относительно земли;
b) каждая пара или набор ВЫВОДОВ (КЛЕММ) измерительной цепи, предназначенных для совместного применения, должны иметь маркировку значения НОМИНАЛЬНОГО напряжения или НОМИНАЛЬНОГО тока в зависимости от применяемости;
c) каждый ВЫВОД (КЛЕММА) измерительной цепи, каждая пара или набор ВЫВОДОВ (КЛЕММ) измерительной цепи при необходимости должны иметь маркировку соответствующей КАТЕГОРИИ ИЗМЕРЕНИЙ или символа 14, указанного в таблице 1 IEC 61010-1 согласно 5.1.5.101.2 и 5.1.5.101.3.
ВЫВОДЫ (КЛЕММЫ) измерительной цепи обычно компонуют (монтируют) в пары или наборы. Каждая пара или набор ВЫВОДОВ может иметь маркировку НОМИНАЛЬНОГО напряжения или НОМИНАЛЬНОГО тока, или обоих параметров для этого набора, и каждый отдельный ВЫВОД (КЛЕММА) измерительной цепи может иметь маркировку НОМИНАЛЬНОГО напряжения по отношению к земле. Для некоторого оборудования НОМИНАЛЬНОЕ напряжение между ВЫВОДАМИ (КЛЕММАМИ) может отличаться от НОМИНАЛЬНОГО напряжения по отношению к земле. Маркировка должна быть четкой во избежание неверного толкования.
Маркировка должна быть размещена рядом с ВЫВОДОМ (КЛЕММОЙ). Если места недостаточно (например, в случае оборудования с несколькими входами), маркировка может быть нанесена на шильдик (пластинку) с НОМИНАЛЬНЫМИ данными или на шкальный диск, или ВЫВОДАХ может быть маркировка символа 14, указанного в таблице 1 IEC 61010-1.
Для любого набора ВЫВОДОВ (КЛЕММ) измерительной цепи символ 14, указанный в таблице 1, наносят только один раз, если данный символ расположен вблизи от ВЫВОДА (КЛЕММЫ).
Соответствие оборудования данным требованиям проверяют путем визуального осмотра и, при необходимости, в соответствии с требованиями 5.1.5.101.2 и 5.1.5.101.3, принимая во внимание исключения, установленные в 5.1.5.101.4.
5.1.5.101.2 ВЫВОДЫ (КЛЕММЫ) измерительной цепи с НОМИНАЛЬНЫМИ характеристиками для КАТЕГОРИЙ ИЗМЕРЕНИЙ II, III или IV
ВЫВОДЫ (КЛЕММЫ) измерительной цепи, предназначенные для измерений в пределах КАТЕГОРИЙ ИЗМЕРЕНИЙ II, III и IV, должны иметь маркировку соответствующей КАТЕГОРИИ ИЗМЕРЕНИЙ. Должны быть нанесены соответствующие надписи "CAT II", "CAT III" или "CAT IV" в зависимости от КАТЕГОРИИ ИЗМЕРЕНИЙ.
Допускается нанесение маркировки, содержащей более одного типа КАТЕГОРИИ ИЗМЕРЕНИЙ и его НОМИНАЛЬНОГО напряжения относительно земли (см. 5.1.5.101.11).
Соответствие оборудования данному требованию проверяют путем визуального осмотра.
5.1.5.101.3 ВЫВОДЫ (КЛЕММЫ) измерительной цепи с НОМИНАЛЬНЫМИ характеристиками для подключения к напряжениям, превышающим значения, установленные в 6.3.1 IEC 61010-1
ВЫВОДЫ (КЛЕММЫ) измерительной цепи, предназначенные для подключения к напряжениям, превышающим значения, указанные в 6.3.1 IEC 61010-1, но не предназначенные для измерений в пределах КАТЕГОРИЙ ИЗМЕРЕНИЙ II, III и IV, должны иметь маркировку символа 14, указанного в таблице 1 IEC 61010-1 (см. 5.4.1, перечисление bb)).
Соответствие оборудования данному требованию проверяют путем визуального осмотра.
5.1.5.101.4 Низковольтные, постоянно подключенные или специализированные ВЫВОДЫ (КЛЕММЫ) измерительной цепи
ВЫВОДЫ (КЛЕММЫ) измерительной цепи не маркируют, если:
a) предназначены для постоянного подключения и недоступны (см. 5.4.3 aa) и bb)), или
b) предназначены только для подключения к конкретным ВЫВОДАМ (КЛЕММАМ) другого оборудования, или
c) из других признаков очевидно, что НОМИНАЛЬНОЕ напряжение менее значений, установленных в 6.3.1 IEC 61010-1.
&Примечание - Примерами указаний того, что входы предназначены для напряжений, значения которых менее установленных в 6.3.1 IEC 61010-1, могут быть следующие:
- маркировка полной шкалы однопредельного индикаторного вольтметра или амперметра;
- маркировка максимального диапазона переключателя напряжений;
- маркировка НОМИНАЛЬНОГО напряжения или НОМИНАЛЬНОЙ мощности, выраженной в децибелах, милливаттах или ваттах, эквивалентное значение которых менее 33 В переменного тока, как указано в документации.&
Соответствие оборудования данному требованию проверяют путем визуального осмотра.
5.1.5.102 НОМИНАЛЬНЫЕ напряжение и ток ЗАЖИМА
Датчики тока, предназначенные для использования на НЕИЗОЛИРОВАННЫХ проводниках, должны иметь маркировку НОМИНАЛЬНОГО напряжения ЗАЖИМОВ относительно земли.
Датчики тока, предназначенные для использования только на изолированных проводниках, должны иметь маркировку, указывающую, что датчик тока не должен использоваться на НЕИЗОЛИРОВАННЫХ проводниках или с символом 14.
ЗАЖИМЫ типов A и B или датчики тока типа C, с НОМИНАЛЬНЫМИ характеристиками для измерений в пределах КАТЕГОРИЙ ИЗМЕРЕНИЙ II, III или IV, должны иметь маркировку соответствующей КАТЕГОРИИ ИЗМЕРЕНИЙ, расположенную рядом с маркировкой напряжения относительно земли. В зависимости от КАТЕГОРИИ ИЗМЕРЕНИЙ должны быть нанесены соответствующие надписи "CAT II", "CAT III" или "CAT IV".
ЗАЖИМЫ и ВЫВОДЫ (КЛЕММЫ) выходных цепей датчиков тока типа D не должны иметь маркировку какой-либо КАТЕГОРИИ ИЗМЕРЕНИЙ.
Должна быть нанесена маркировка значения НОМИНАЛЬНОГО тока. Маркировка должна включать в себя сведения о роде тока. Исключением являются случаи, когда указанное значение относится как к переменному (a.c.), так и постоянному (d.c.) току.
Соответствие оборудования данному требованию проверяют путем визуального осмотра.
5.4.2 НОМИНАЛЬНЫЕ ХАРАКТЕРИСТИКИ оборудования
Дополнение:
Дополнить двумя следующими перечислениями к перечню и новым абзацем:
aa) информация о каждой соответствующей КАТЕГОРИИ ИЗМЕРЕНИЯ, если измерительная цепь имеет НОМИНАЛЬНЫЕ ХАРАКТЕРИСТИКИ для КАТЕГОРИЙ ИЗМЕРЕНИЙ II, III или IV (см. 5.1.5.101.2 и 5.1.5.102);
bb) предупреждение с указанием не использовать датчик тока для измерений в СЕТЕВОЙ ЦЕПИ и конкретные НОМИНАЛЬНЫЕ ХАРАКТЕРИСТИКИ, включая ПЕРЕХОДНЫЕ ПЕРЕНАПРЯЖЕНИЯ для датчиков тока, которые не имеют НОМИНАЛЬНЫХ ХАРАКТЕРИСТИК для КАТЕГОРИЙ ИЗМЕРЕНИЙ II, III или IV, но могут быть неправильно подключены к таким цепям (дополнительная информация приведена в AA.2.4).
Если датчик тока имеет несколько НОМИНАЛЬНЫХ ХАРАКТЕРИСТИК КАТЕГОРИИ ИЗМЕРЕНИЙ для одной и той же измерительной цепи, то в документации должны быть четко (ясно) идентифицированы КАТЕГОРИИ ИЗМЕРЕНИЙ для использования в которых датчик тока предназначен и где он не должен использоваться.
5.4.3 Установка оборудования
Дополнение:
Дополнить двумя следующими перечислениями к перечню:
aa) для ВЫВОДОВ (КЛЕММ) измерительной цепи, предназначенных для постоянного подключения и имеющих НОМИНАЛЬНЫЕ ХАРАКТЕРИСТИКИ для КАТЕГОРИЙ ИЗМЕРЕНИЙ II, III или IV, должна быть указана информация, относящаяся к КАТЕГОРИИ ИЗМЕРЕНИЙ, НОМИНАЛЬНЫМ напряжениям и НОМИНАЛЬНЫМ токам, в зависимости от применения (см. 5.1.5.101 и 5.1.5.102);
bb) для ВЫВОДОВ (КЛЕММ) измерительной цепи, предназначенных для постоянного подключения и не имеющих НОМИНАЛЬНЫХ ХАРАКТЕРИСТИК для КАТЕГОРИЙ ИЗМЕРЕНИЙ II, III или IV, должна быть указана информация, относящаяся к НОМИНАЛЬНЫМ напряжениям, НОМИНАЛЬНЫМ токам и НОМИНАЛЬНЫМ ПЕРЕХОДНЫМ ПЕРЕНАПРЯЖЕНИЯМ в зависимости от применения (см. 5.1.5.101 и 5.1.5.102).
5.4.4 Работа оборудования
Замена:
Заменить на следующий текст:
Инструкции по эксплуатации, при необходимости, должны содержать:
a) идентификацию рабочих органов управления и их применение во всех рабочих режимах;
b) для датчиков тока, предназначенных для использования только с определенной моделью оборудования, четкую идентификацию оборудования;
c) технические требования по ограничениям при периодической работе;
d) технические требования по ограничению зависимости тока от частоты при достижении магнитной цепью опасных температур;
e) разъяснение символов, используемых на оборудовании, относящихся к безопасности;
f) инструкции по подсоединению аксессуаров и другого оборудования, включая указания подходящих аксессуаров и съемных частей;
g) инструкции по замене расходных материалов;
h) инструкции по очистке и дезактивации;
i) инструкции по применению и перемещению датчика тока;
j) инструкции по обесточиванию установки, на которой измеряют ток, или утвержденные рабочие процедуры по обеспечению безопасности при работе с ОПАСНЫМИ ДЛЯ ЖИЗНИ установками, в процессе использования и удаления датчиков тока типа B;
k) инструкции по обесточиванию установки, на которой измеряют ток, при работе с ОПАСНЫМИ ДЛЯ ЖИЗНИ установками, или установками с неограниченной энергией в процессе использования и удаления датчиков тока типа C;
l) инструкции по работе тактильного индикатора или ЗАЩИТНОГО БАРЬЕРА, обеспечивающие индикацию предела безопасного доступа к РУЧНОЙ части;
m) предупреждение ОПЕРАТОРУ, что датчики тока типа D следует использовать только вблизи изолированных проводников или проводников цепей с ограниченной энергией;
n) предупреждение ОПЕРАТОРУ о необходимости использования индивидуального защитного оборудования, если ОПАСНЫЕ ДЛЯ ЖИЗНИ части в установке, где должно быть выполнено измерение, могут быть ДОСТУПНЫМИ;
o) предупреждение ОПЕРАТОРУ о недопустимости использования гибкого датчика тока, если становится видимым индикатор износа гибкого шнура, используемого для ЗАЖИМА гибкого датчика тока (см. 6.9.101.4);
p) предупреждение ОПЕРАТОРУ о недопустимости использования датчика тока, если становится видимым индикатор износа КОНЕЧНОЙ ЧАСТИ ЗАЖИМА (см. 6.9.101.3);
q) предупреждение ОПЕРАТОРУ о недопустимости использования датчика тока при значениях частоты выше НОМИНАЛЬНОГО значения, если магнитная цепь может достигнуть опасной температуры (см. 10.101).
В инструкциях должно быть указано, что в случае нарушения правил эксплуатации датчика тока, установленных изготовителем, защита, применяемая в датчике тока, может быть повреждена.
Соответствие оборудования данному требованию проверяют путем визуального осмотра.
6. Защита от поражения электрическим током
Применяют соответствующий раздел IEC 61010-1, за исключением следующего.
6.1.2 Исключения
Дополнение:
Дополнить следующим перечислением aa):
aa) проводящие части КОНЕЧНОЙ ЧАСТИ ЗАЖИМА, если они соответствуют требованиям 6.9.101.
6.5.2 ЗАЩИТНОЕ ЗАЗЕМЛЕНИЕ
Замена:
Заменить наименование и текст на следующий:
6.5.2 Не применяют
6.6 Подключение к внешним цепям
Дополнение:
Дополнить двумя новыми подпунктами:
6.6.101 ВЫВОДЫ (КЛЕММЫ) измерительных цепей
Проводящие части каждого неразъемного ВЫВОДА (КЛЕММЫ) измерительной цепи, которые могут быть ОПАСНЫМИ ДЛЯ ЖИЗНИ, в случае приложения максимального НОМИНАЛЬНОГО напряжения к другим ВЫВОДАМ (КЛЕММАМ) измерительной цепи оборудования должны быть отделены, по меньшей мере, ЗАЗОРАМИ и ПУТЯМИ УТЕЧКИ, указанными в таблице 101, от самой близкой к внешним частям ВЫВОДА (КЛЕММЫ) точки касания испытательным пальцем в наименее благоприятном положении (см. рисунок 1 IEC 61010-1).
Таблица 101
ЗАЗОРЫ и ПУТИ УТЕЧКИ для ВЫВОДОВ измерительных цепей
с проводящими ОПАСНЫМИ ДЛЯ ЖИЗНИ проводящими частями
Напряжение на проводящих частях ВЫВОДА, В
ЗАЗОРЫ и ПУТИ УТЕЧКИ, мм
Va.c.r.m.s
Vd.c.
300
300
0,8
> 300 <= 600
> 300 <= 848
1,0
> 600 <= 1000
> 848 <= 1414
2,6
&Примечание - При размещении в условиях повышенной влажности не предъявляют требования к ЗАЗОРАМ и ПУТЯМ УТЕЧКИ для напряжений переменного тока среднеквадратического значения от 16 В до 33 В или постоянного тока со значениями от 35 В до 70 В, но проводящие части неразборных измерительных цепей ВЫВОДОВ не должны быть ДОСТУПНЫ. Значения напряжений, приведенные в таблице, неприменимы к напряжениям со значениями менее ОПАСНЫХ ДЛЯ ЖИЗНИ напряжений (см. 6.3.1, перечисление a)).&
Соответствие оборудования данному требованию проверяют путем визуального осмотра.
6.6.102 Специализированные ВЫВОДЫ измерительных цепей
Компоненты, датчики и устройства, предназначенные для подключения к специализированным ВЫВОДАМ измерительных цепей, не должны быть ДОСТУПНЫМИ и ОПАСНЫМИ ДЛЯ ЖИЗНИ в НОРМАЛЬНЫХ УСЛОВИЯХ или в УСЛОВИЯХ ЕДИНИЧНОЙ НЕИСПРАВНОСТИ даже в случае приложения максимального НОМИНАЛЬНОГО напряжения к любому другому ВЫВОДУ измерительной цепи.
&Примечание - Примерами таких специализированных ВЫВОДОВ могут быть ВЫВОДЫ для полупроводниковых измерительных функций, измерения емкости, гнезда для подключения термопары и т.п.&
Соответствие оборудования данному требованию проверяют путем визуального осмотра и измерением. Для проведения измерения компоненты, датчики и устройства, предназначенные для подключения к специализированным ВЫВОДАМ измерительных цепей, соединяют. Проводят измерения по 6.3 с целью определения, что не превышены уровни, указанные в 6.3.1 и 6.3.2, при приложении каждого из следующих напряжений к каждому ВЫВОДУ измерительной цепи в зависимости от применяемости:
a) максимальное НОМИНАЛЬНОЕ напряжение переменного тока (a.c.) при любой НОМИНАЛЬНОЙ частоте СЕТИ;
b) максимальное НОМИНАЛЬНОЕ напряжение постоянного тока (d.c.);
c) максимальное НОМИНАЛЬНОЕ напряжение переменного тока (a.c.) при максимальной НОМИНАЛЬНОЙ частоте измерений.
6.7.1.5 Требования к изоляции в соответствии с типами цепей
Дополнение:
Дополнить перечислением ci) после пункта v) к перечислению пункта e):
ci) цепь является измерительной цепью в случае, если не применяют КАТЕГОРИИ ИЗМЕРЕНИЙ.
Дополнить перечень следующим перечислением aa):
aa) в K.101 для измерительных цепей КАТЕГОРИЙ ИЗМЕРЕНИЙ II, III и IV.
Замена:
Заменить примечание 2 следующим:
&Примечание 2 - Не применяют&
6.9 Требования к конструкции по обеспечению защиты от поражения электрическим током
Дополнение:
Дополнить следующими новыми подпунктами:
6.9.101 Требования к изоляции ЗАЖИМА и КОНЕЧНЫМ ЧАСТЯМ ЗАЖИМА
6.9.101.1 Предварительная подготовка КОНЕЧНЫХ ЧАСТЕЙ ЗАЖИМА
Предварительной подготовке следует подвергать только датчики тока типов A и B, с НОМИНАЛЬНЫМИ ХАРАКТЕРИСТИКАМИ для КАТЕГОРИЙ ИЗМЕРЕНИЙ III и IV.
Предварительную подготовку выполняют с целью моделирования износа ЗАЖИМА в процессе установки и удаления. Такая подготовка не применима к датчикам тока со скользящим ЗАЖИМОМ и к гибким датчикам тока.
Три образца датчика тока в НОРМАЛЬНОМ СОСТОЯНИИ и три образца датчика тока, которые были подготовлены в соответствии с 10.5.2, перечисление a), подвергают испытанию следующим способом.
Подготавливают пластину предварительной обработки, состоящую из твердого материала, покрытого с обеих сторон наждачным полотном. Пластина предварительной обработки имеет минимальные размеры 50 x 450 мм и толщину не более 2 мм. Наждачное полотно должно быть на тканевой основе с фракцией зерна N 120 и иметь покрытие, состоящее из алюминиево-оксидного абразива.
Датчик тока с открытым ЗАЖИМОМ размещают согласно рисунку 102 и закрывают ЗАЖИМ.
Рисунок 102 - Предварительная подготовка
КОНЕЧНЫХ ЧАСТЕЙ ЗАЖИМА
Датчик тока перемещают вдоль пластины предварительной обработки на расстояние 200 мм. Расстояние может быть меньше 200 мм, если это ограничено конструкцией. Испытание состоит из 50 циклов, каждый из которых включает в себя одно перемещение датчика, направленное вперед, и одно обратное перемещение. Перемещение осуществляют таким образом, чтобы изнашивалась (шлифовалась) закрытая точка ЗАЖИМОВ (см. рисунок 102). Если изоляция КОНЦОВ ЗАЖИМА имеет индикатор износа, испытание завершают, если индикатор износа становится видимым прежде, чем будут завершены 50 циклов воздействия. Наждачное полотно заменяют после обработки каждого образца.
&Примечание - Конструкция индикатора износа должна обеспечивать его невидимость до предельного износа КОНЕЧНЫХ ЧАСТЕЙ ЗАЖИМА.&
6.9.101.2 Защита от прикосновения ОПАСНОГО ДЛЯ ЖИЗНИ проводника
Для уменьшения ОПАСНОСТИ для ОПЕРАТОРА, прикасающегося к ОПАСНОМУ ДЛЯ ЖИЗНИ проводнику во время зажимания или измерения, датчик типа A должен иметь ЗАЩИТНЫЙ БАРЬЕР или тактильный индикатор для предупреждения ОПЕРАТОРА о пределе безопасного доступа. Тактильный индикатор должен покрывать не менее 50% периметра, и должен, по крайней мере, проходить вдоль двух противоположных сторон РУЧНЫХ частей.
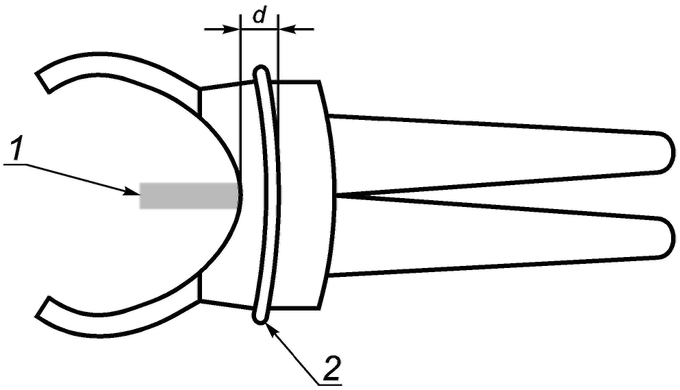
ЗАЗОР и ПУТИ УТЕЧКИ между ОПАСНЫМИ ДЛЯ ЖИЗНИ частями и ЗАЩИТНЫМ БАРЬЕРОМ или тактильным индикатором должны соответствовать требованиям для УСИЛЕННОЙ ИЗОЛЯЦИИ для НОМИНАЛЬНЫХ ХАРАКТЕРИСТИК ЗАЖИМА. На рисунке 103 приведен пример ЗАЗОРА "d" между ЗАЩИТНЫМ БАРЬЕРОМ или тактильным индикатором и ЗАЖИМОМ и ОПАСНЫМ ДЛЯ ЖИЗНИ проводником.
1 - ОПАСНЫЙ ДЛЯ ЖИЗНИ проводник; 2 - ЗАЩИТНЫЙ БАРЬЕР;
d - расстояние между ЗАЩИТНЫМ БАРЬЕРОМ и ОПАСНЫМ ДЛЯ ЖИЗНИ
проводником
Рисунок 103 - ЗАЗОР между ЗАЩИТНЫМ БАРЬЕРОМ или тактильным
индикатором и ЗАЖИМОМ и ОПАСНЫМ ДЛЯ ЖИЗНИ проводником
Соответствие оборудования данному требованию проверяют путем визуального осмотра и измерением ЗАЗОРОВ и ПУТЕЙ УТЕЧКИ.
6.9.101.3 РУЧНЫЕ или управляемые вручную части
РУЧНЫЕ или управляемые вручную части датчиков тока типа A должны быть отделены ДВОЙНОЙ ИЗОЛЯЦИЕЙ или УСИЛЕННОЙ ИЗОЛЯЦИЕЙ от частей ЗАЖИМА, к которым можно прикоснуться металлическим испытательным пальцем длиной 100 мм и диаметром 4 мм в открытом и закрытом положениях ЗАЖИМА. Предполагают, что если какая-либо проводящая часть магнитной цепи может коснуться проводника, это может происходить при НОМИНАЛЬНОМ напряжении ЗАЖИМОВ относительно земли.
&Примечание - Металлический испытательный палец моделирует НЕИЗОЛИРОВАННЫЙ ПРОВОДНИК.&
Если индикатор износа КОНЕЧНОЙ ЧАСТИ ЗАЖИМА становится видимым во время предварительной обработки, то после ее проведения к КОНЕЧНОЙ ЧАСТИ ЗАЖИМА предъявляют требования как к ОСНОВНОЙ ИЗОЛЯЦИИ.
Соответствие оборудования данному требованию проверяют путем визуального осмотра, определением ДОСТУПНЫХ частей согласно 6.2, измерением ЗАЗОРОВ и ПУТЕЙ УТЕЧКИ и путем проведения испытаний согласно K.101.4 для твердой изоляции. Если КОНЕЧНЫЕ ЧАСТИ ЗАЖИМА имеют индикатор износа, измерение и испытания проводят, при необходимости, и до и после предварительной обработки КОНЕЧНЫХ ЧАСТЕЙ ЗАЖИМА в соответствии с 6.9.101.1. Если КОНЕЧНЫЕ ЧАСТИ ЗАЖИМА не имеют индикатора износа, измерения и испытания проводят после предварительной обработки.
6.9.101.4 Изоляция гибких датчиков тока
Гибкий шнур, используемый для ЗАЖИМА гибкого датчика тока, имеющий индикатор износа, должен обеспечивать ДВОЙНУЮ или УСИЛЕННУЮ ИЗОЛЯЦИЮ в начале эксплуатации датчика тока и минимально ОСНОВНУЮ ИЗОЛЯЦИЮ, когда индикатор износа становится видимым.
Если гибкий шнур имеет индикатор износа, то при достижении предельного износа на нем должен появиться (стать видимым) контрастный цвет.
Гибкий шнур, используемый для ЗАЖИМА гибкого датчика тока, не имеющий индикатора износа, должен обеспечивать ДВОЙНУЮ или УСИЛЕННУЮ ИЗОЛЯЦИЮ, как в начале эксплуатации датчика тока, так и после износа в конце установленного срока службы.
Соответствие оборудования данному требованию проверяют путем следующих испытаний.
Испытаниям подвергают три некондиционных и три кондиционных образца согласно требованиям 10.5.2, перечисление a), к гибкому шнуру для ЗАЖИМА гибкого датчика тока. Каждый образец должен быть длиной 1 м.
Один некондиционный образец проверяют согласно K.101.4 со значениями величин для УСИЛЕННОЙ ИЗОЛЯЦИИ.
Каждый образец должен перемещаться по куску наждачного полотна, прикрепленного к шкиву в соответствии с его радиусом кривизны (см. рисунок 105), и шкивом, установленным таким образом, чтобы он вращался (см. рисунок 104). Внутренний диаметр шкива и радиус кривизны шкива должны быть не менее пятикратного диаметра шнура. Наждачное полотно должно быть с тканевым основанием с нанесенным на него алюминиевым окисным абразивом и иметь зернистость N 120, а также достаточной длины и ширины для того, чтобы образец контактировал с наждачным полотном везде, где он контактирует с поверхностью шкива. После воздействия на каждый отдельный образец наждачное полотно следует заменять. Для предотвращения вращения гибкого шнура внутренняя поверхность шкива должна быть вогнутой.
1 - гибкий шнур; 2 - фиксирующий шкив; 3 - груз;
4 - устройство управления грузом
Рисунок 104 - Воздействие на изоляцию гибкого датчика тока
1 - внутренний диаметр шкива; 2 - радиус кривизны шкива
Рисунок 105 - Шкив для проведения воздействия по рисунку 104
Гибкий шнур размещают по поверхности шкива (см. рисунок 104) и располагают по его дуге под углом 90°. К одному концу гибкого шнура присоединяют груз массой 1 кг. Гибкий шнур располагают таким образом, чтобы его средняя точка была в центре наждачного полотна в середине цикла испытания. Гибкий шнур с грузом, размещенным таким образом, чтобы предотвратить покачивание груза, перемещают по поверхности наждачного полотна в течение не менее 15 циклов или до тех пор, пока индикатор износа не станет видимым. Один цикл состоит из одного движения вперед и одного движения в обратном направлении свободного конца шнура на расстояние 0,5 м.
После испытания каждый образец проверяют согласно K.101.4. Напряжение подают между внутренними проводниками гибкого шнура и металлической фольгой, обернутой вокруг его внешней изоляции. Используют значения испытательных напряжений для ОСНОВНОЙ ИЗОЛЯЦИИ, если циклическое воздействие заканчивается в связи с видимым появлением контрастного цвета на индикаторе износа. Используют значения испытательных напряжений для УСИЛЕННОЙ ИЗОЛЯЦИИ, если после проведения 15 циклов отсутствует появление контрастного цвета на индикаторе износа.
6.9.101.5 Испытание на растяжение концевых элементов гибких датчиков тока
Концевые элементы гибкого шнура, используемые для ЗАЖИМА гибкого датчика тока, должны быть надежно зафиксированы таким образом, чтобы противостоять любым усилиям, которые могут возникать при НОРМАЛЬНОМ ПРИМЕНЕНИИ.
Соответствие оборудования данному требованию проверяют путем визуального осмотра и путем следующих испытаний каждого концевого элемента.
Концевой элемент фиксируют таким образом, чтобы он не мог перемещаться, и к гибкому шнуру в течение 1 мин прикладывают равномерное осевое усилие отрыва согласно таблице 102.
Таблица 102
Усилие отрыва для концевых элементов гибких датчиков тока
Площадь сечения гибкого шнура, мм2
Усилие отрыва, Н
<= 25
50
100
75
>= 500
100
Допускается линейная интерполяция.
После испытания на отрыв изоляция не должна сместиться более чем на 2 мм.
Если изоляция сместилась больше чем 2 мм, то испытание повторяют 15 раз, но продолжительность каждого цикла должна быть 15 с.
По окончании последнего цикла испытаний:
a) изоляция не должна сместиться более чем на 1 мм по отношению к смещению, полученному при первом испытании, если она подверглась воздействию 16 циклам испытаний;
b) значения ЗАЗОРОВ и ПУТЕЙ УТЕЧКИ не должны быть менее значений, установленных в K.101 для УСИЛЕННОЙ ИЗОЛЯЦИИ и
c) датчик тока должен выдержать испытания, приведенные в K.101.4 для УСИЛЕННОЙ ИЗОЛЯЦИИ.
6.9.102 Входные провода измерительной цепи
Входные провода измерительной цепи и их аксессуары должны соответствовать требованиям IEC 61010-031, если они применимы.
Соответствие оборудования данному требованию проверяют путем визуального осмотра.
6.9.103 Выходные провода цепи
Выходные провода цепи датчиков тока могут касаться ОПАСНЫХ ДЛЯ ЖИЗНИ частей испытуемой установки. Выходные цепи датчиков тока могут также находиться при ОПАСНОМ ДЛЯ ЖИЗНИ напряжении при подключении их к ваттметру, анализатору качества энергии или подобному оборудованию.
Выходные провода цепи датчиков тока должны иметь УСИЛЕННУЮ ИЗОЛЯЦИЮ между их наружными поверхностями и проводниками.
Сочленяемые соединители и ВЫВОДЫ (КЛЕММЫ), расположенные на корпусе КОЖУХА датчика тока, должны иметь УСИЛЕННУЮ ИЗОЛЯЦИЮ между наружными поверхностями и проводниками.
Для датчиков тока типа A, B и C изоляция проводов выводных цепей, сочленяемых соединителей и ВЫВОДОВ (КЛЕММ) должны соответствовать требованиям K.101 для максимального НОМИНАЛЬНОГО напряжения и КАТЕГОРИИ ИЗМЕРЕНИЙ НОМИНАЛЬНЫХ ХАРАКТЕРИСТИК ЗАЖИМОВ или НОМИНАЛЬНЫХ ХАРАКТЕРИСТИК выходных цепей, но не менее 300 В для КАТЕГОРИИ ИЗМЕРЕНИЙ II.
Для датчиков тока типа D изоляция проводов выходных цепей, сочленяемых соединителей и ВЫВОДОВ (КЛЕММ) должна соответствовать требованиям K.101 для 300 В и КАТЕГОРИИ ИЗМЕРЕНИЙ II.
Соответствие оборудования данному требованию проверяют путем визуального осмотра, измерением ЗАЗОРОВ и ПУТЕЙ УТЕЧКИ и применимыми испытаниями согласно K.101.4 для твердой изоляции.
7. Защита от механических ОПАСНОСТЕЙ
Применяют соответствующий раздел IEC 61010-1.
8. Устойчивость к механическим воздействиям
Применяют соответствующий раздел IEC 61010-1, за исключением следующего.
8.1. Общие положения
Дополнение:
Дополнить перечислением 101) после перечисления 3):
101) для датчиков тока типа A, предназначенных для КАТЕГОРИЙ ИЗМЕРЕНИЙ III и IV, испытания на удар проводят по 8.2.101.
8.2. Испытания прочности КОЖУХА
Дополнение:
Дополнить следующим подпунктом:
8.2.101 Испытания ЗАЖИМА на удар
Испытаниям подвергают три образца датчика тока типа A, имеющих НОМИНАЛЬНЫЕ ХАРАКТЕРИСТИКИ для КАТЕГОРИЙ ИЗМЕРЕНИЙ III и IV.
Испытания проводят согласно IEC 60068-2-75 любым методом: испытанием Eha (молоток маятника) или тестом Ehc (вертикальный молоток) с энергетическим уровнем согласно таблице 103.
Таблица 103
Энергетические уровни
Масса датчика тока, кг
Энергетический уровень, Дж
IK код (IEC 62262)
<= 0,5
1
IK06
> 0,5 <= 1
2
IK07
> 1
5
IK08
Датчики тока охлаждают до минимальной НОМИНАЛЬНОЙ температуры окружающей среды, после чего подвергают испытанию в течение 3 мин. Датчик тока надежно закрепляют на неподвижной опоре и открывают насколько это возможно. Воздействуют на три точки на наружных поверхностях ЗАЖИМА, приближенные к КОНЕЧНЫМ ЧАСТЯМ ЗАЖИМА каждого образца. Число ударов - один на одну точку.
После испытания на удар датчики тока приводят к номинальной температуре испытаний (см. 4.3.1). Испытательный щуп, соответствующий рисунку 106 и таблице 105, вставляют в открытый ЗАЖИМ согласно рисунку 107 при каждом установленном в таблице 105 значении напряжения, в диапазоне значений равных или ниже максимального НОМИНАЛЬНОГО напряжения ЗАЖИМОВ. Во время каждого введения испытательного щупа датчик тока должен выдерживать испытания на воздействие напряжения переменного тока (a.c.) по 6.8.3.1 (без предварительной выдержки в условиях повышенной влажности) продолжительностью не менее 1 мин, или для датчиков тока с НОМИНАЛЬНЫМИ РЕЖИМАМИ работы - только для постоянного тока (d.c.) продолжительностью 1 мин и испытательным напряжением постоянного тока (d.c.) по 6.8.3.2 (без предварительной выдержки в условиях повышенной влажности), используя применимое испытательное напряжение, указанное в таблице 105, которое прикладывают между испытуемыми подводящими проводами.
9. Защита от распространения огня
Применяют соответствующий раздел IEC 61010-1.
10. Ограничения температуры оборудования и теплостойкость
Применяют соответствующий раздел IEC 61010-1, за исключением следующего:
10.5 Теплостойкость
Дополнение:
Дополнить следующими подпунктами:
10.5.101 Теплостойкость датчиков тока
Изоляционный материал ЗАЖИМОВ, окружающий магнитный материал, который может перегреваться, должен иметь соответствующую теплостойкость.
Соответствие оборудования данному требованию проверяют путем контроля технической информации на материалы. Для твердых изоляционных материалов, если техническая информация о материале недостаточно убедительна, одним из следующих испытаний:
a) образец изоляционного материала толщиной не менее 2,5 мм подвергают испытанию на воздействие давления шарика, используя устройство, приведенное на рисунке 14. Испытания проводят в камере тепла при температуре, установленной в 10.101, с допускаемым отклонением +/- 2 °C или (105 +/- 2) °C в зависимости от того, какая из них выше. Испытуемую часть устанавливают так, чтобы ее верхняя поверхность была расположена горизонтально, и сферическую часть испытательного устройства прижимают к испытуемой поверхности с силой 20 Н. После выдержки под воздействием силы в течение 1 ч испытательное устройство снимают и образец охлаждают в течение 10 с до комнатной температуры путем погружения в холодную воду. Диаметр оттиска, вызванный давлением шарика, не должен быть более 2 мм.
&Примечания
1 При необходимости требуемая толщина образца может быть получена с использованием двух или более раздельных частей.
2 Дополнительная информация об этом испытании приведена в IEC 60695-10-2;&
b) испытание на размягчение по методу Вика по ISO 306, метод A120. Температура размягчения по Вика должна быть не менее 105 °C.
Дополнение:
Дополнить следующими подпунктами:
10.101 Другие температуры датчиков тока
Большинство датчиков тока зависит от индуктивного соединения с измеряемой цепью. Поведение измерительных цепей в этих случаях зависит от частоты измеряемого сигнала. Когда датчик тока используют для измерения токов высокой частоты, протекающие токи могут вызвать существенное нагревание в области магнитной цепи датчика тока.
Если ОПАСНОСТЬ может быть вызвана чрезмерной температурой, то температура легкодоступных для касания поверхностей не должна превышать значений, установленных в таблице 19, а температура изоляционного материала обмоток не должна превышать значений, установленных в таблице 20, когда датчик тока измеряет максимальный ток при частоте, являющейся причиной самой высокой температуры.
&Примечание - Предполагают, что ЗАЩИТНЫЙ БАРЬЕР датчика тока (см. 6.9.101.2) не обеспечивает защиту от ожогов.&
Соответствие оборудования данному требованию проверяют измерением по 10.4.
11. Защита от ОПАСНОСТЕЙ, связанных с жидкостями
Применяют соответствующий раздел IEC 61010-1.
12. Защита от излучения, в том числе от лазерных источников,
а также от звукового и ультразвукового давления
Применяют соответствующий раздел IEC 61010-1.
13. Защита от выделяющихся газов и веществ, взрыва
и разрушения
Применяют соответствующий раздел IEC 61010-1.
14. Компоненты и сборочные единицы
Применяют соответствующий раздел IEC 61010-1, за исключением следующего.
Дополнение:
Дополнить следующим подпунктом:
14.101 Цепи или компоненты, используемые в качестве устройств ограничения ПЕРЕХОДНОГО ПЕРЕНАПРЯЖЕНИЯ в измерительных цепях, предназначенных для измерения СЕТИ
Если ПЕРЕХОДНОЕ ПЕРЕНАПРЯЖЕНИЕ ограничивают в измерительной цепи, предназначенной для измерения СЕТИ, устройства ограничения перенапряжения должны иметь соответствующую прочность для ограничения подобных ПЕРЕХОДНЫХ ПЕРЕНАПРЯЖЕНИЙ при НОРМАЛЬНОМ ИСПОЛЬЗОВАНИИ.
Соответствие оборудования данному требованию проверяют путем приложения 5 положительных и 5 отрицательных импульсов с применением импульсного напряжения согласно таблице 104 с интервалами между ними в 1 мин, подаваемых от комбинированного импульсного генератора (см. IEC 61180-1). Генератор производит колебательный сигнал напряжения холостого хода (разомкнутой цепи) длительностью 1,2/50 мкс и колебательный сигнал тока короткого замыкания длительностью 8/20 мкс и имеет выходной импеданс (максимальное значение напряжения холостого хода, разделенное на максимальный ток короткого замыкания) 2 Ом для КАТЕГОРИЙ ИЗМЕРЕНИЙ III и IV или 12 Ом для КАТЕГОРИИ ИЗМЕРЕНИЙ II. Для увеличения импеданса дополнительно может быть последовательно с генератором подключен резистор. Испытательный импульс применяют в комбинации с напряжением СЕТИ. СЕТЕВОЕ напряжение является максимальным НОМИНАЛЬНЫМ напряжением ВЫВОДОВ измерительной цепи, но его среднеквадратическое значение переменного тока не должно быть более 400 В.
Таблица 104
Импульсные напряжения
Номинальные среднеквадратические значения напряжения переменного тока линия - нейтраль или номинальные напряжения постоянного тока, измеряемые в СЕТИ, В
Импульсы выдерживаемого напряжения, В
КАТЕГОРИЯ ИЗМЕРЕНИЙ II
КАТЕГОРИЯ ИЗМЕРЕНИЙ III
КАТЕГОРИЯ ИЗМЕРЕНИЙ IV
<= 50
500
800
1500
> 50 <= 100
800
1500
2500
> 100 <= 150
1500
2500
4000
> 150 <= 300
2500
4000
6000
> 300 <= 600
4000
6000
8000
> 600 <= 1000
6000
8000
12000
Испытательное напряжение прикладывают между каждой парой ВЫВОДОВ, используемых для измерения СЕТИ, где установлены устройства ограничения напряжения.
&Примечание - Это испытание может быть чрезвычайно опасным. Для защиты персонала, проводящего испытания, следует использовать щиты для защиты от взрыва и другое защитное оборудование.&
При проведении испытания не должно возникнуть никакой ОПАСНОСТИ даже в том случае, если компонент будет разрушен или перегреется в процессе испытаний. Если происходит разрушение, то ни одна из частей компонента не должна замкнуть изоляцию, обеспечивающую безопасность. Нагревание компонента не должно привести к нагреву других материалов до значения их воспламенения. Автоматическое отключение цепи прерывателя СЕТЕВОЙ установки является признаком отказа при испытаниях. Если результаты испытаний вызывают сомнение или они не дают определенного результата, испытания следует повторить еще два раза.
15. Защита с помощью блокировок
Применяют соответствующий раздел IEC 61010-1.
16. ОПАСНОСТИ, возникающие при эксплуатации
Применяют соответствующий раздел IEC 61010-1, за исключением следующего.
Дополнение:
Дополнить следующим подпунктом:
16.101 Достоверность индицируемых величин
16.101.1 Индикация выхода за пределы диапазона
Если ОПАСНОСТЬ может возникнуть в результате уверенности ОПЕРАТОРА в правильности показаний устройств индикации оборудования, то устройство индикации должно обеспечивать однозначную индикацию в случае, если значение более установленного максимального положительного значения или менее минимального отрицательного значения диапазона, установленного для оборудования.
&Примечание - Примерами оборудования с неоднозначной индикацией, исключая отдельную неоднозначную индикацию превышения значений пределов диапазона, могут быть следующие:
a) аналоговый ИЗМЕРИТЕЛЬНЫЙ ПРИБОР с ограничителем в точно указанных концах диапазона;
b) цифровые ИЗМЕРИТЕЛЬНЫЕ ПРИБОРЫ, показывающие низкое значение при истинном значении более максимального значения диапазона измерений (например, 1001,5 В показывает как 001,5 В);&
Соответствие оборудования данному требованию проверяют путем визуального осмотра и созданием условий для выхода за пределы диапазона.
16.101.2 Индикация низкого уровня заряда батарей
Если батарея датчика тока, приводимого в действие от внутренней батареи, разряжена, не должно возникнуть ОПАСНОСТИ в результате уверенности ОПЕРАТОРА в значении показаний датчика тока, при любом напряжении батареи или уровне заряда.
Соответствие оборудования данному требованию проверяют путем визуального осмотра и, в случае сомнения, проведением разряда батареи.
17. Оценка риска
Применяют соответствующий раздел IEC 61010-1.
Дополнение:
Дополнить следующими разделами 101 и 102:
101. Измерительные цепи
101.1 Общие положения
Оборудование должно обеспечивать защиту от ОПАСНОСТЕЙ при НОРМАЛЬНОМ и ВОЗМОЖНОМ НЕПРАВИЛЬНОМ ПРИМЕНЕНИИ измерительных цепей, как указано ниже:
a) для предотвращения возникновения ОПАСНОСТИ в токовых измерительных цепях не должно происходить прерывания тока, измеряемого в процессе переключения диапазонов измерений или во время использования датчиков тока с внутренним трансформатором тока (см. 101.2);
b) значения электрических параметров, которые возникают на любых ВЫВОДАХ в пределах установленных требований, не должны приводить к возникновению ОПАСНОСТИ при использовании этого или любого другого совместимого с ним ВЫВОДА при любых возможных установках диапазонов и наборах функциональных параметров (101.3);
c) любые соединения между оборудованием и другими устройствами или принадлежностями, предназначенными для использования с оборудованием, не должны приводить к возникновению ОПАСНОСТИ даже в том случае, если в документации или маркировке указано, что во время измерения такое соединение запрещено (6.6);
d) ВРЕМЕННОЕ или ПЕРЕХОДНОЕ ПЕРЕНАПРЯЖЕНИЕ, прикладываемое к ВЫВОДАМ измерительных цепей в функции измерения напряжения, не должны приводить к возникновению ОПАСНОСТИ (см. 101.4);
e) для предотвращения возникновения других ОПАСНОСТЕЙ, которые могут возникнуть в результате ВОЗМОЖНОГО НЕПРАВИЛЬНОГО ПРИМЕНЕНИЯ должны быть проведены оценки РИСКА (см. разделы 16 и 17).
Соответствие оборудования данному требованию проверяют по 6.6, 101.2, 101.3, 101.4, раздел 16, раздел 17 в зависимости от применяемости.
101.2 Датчик тока с внутренним трансформатором тока
Если в выходной цепи может возникнуть высокое напряжение при условиях разомкнутой цепи, любое напряжение, более указанных в 6.3.2, не должно быть ДОСТУПНЫМ.
Соответствие оборудования данному требованию проверяют путем визуального осмотра ВЫВОДОВ выходной цепи и, в случае сомнения, измерением напряжения выходной цепи при разрыве выходной цепи и работе ЗАЖИМОВ при НОМИНАЛЬНОМ токе.
Напряжение выходной цепи измеряют по 6.3.2.
101.3 Защита от несоответствия входных сигналов и диапазонов
101.3.1 Общие положения
В НОРМАЛЬНЫХ УСЛОВИЯХ и в случае ВОЗМОЖНОГО НЕПРАВИЛЬНОГО ПРИМЕНЕНИЯ не должно возникать ОПАСНОСТИ при приложении максимального НОМИНАЛЬНОГО напряжения или тока ВЫВОДА измерительной цепи к любому другому совместимому с ним ВЫВОДУ при любых комбинациях функций и диапазонов измерений.
&Примечание - Несоответствие входных сигналов и диапазонов является примером ВОЗМОЖНОГО НЕПРАВИЛЬНОГО ПРИМЕНЕНИЯ, даже если в документации и маркировке содержатся указания о недопустимости таких установок. Типичным примером является небрежное подключение высокого напряжения к измерительному входу, предназначенному для измерения тока или сопротивления. Возможные ОПАСНОСТИ в этом случае - это поражение электрическим током, ожоги, воспламенение, образование дуги, взрыв.&
ВЫВОДЫ, четко различающиеся по виду, и не относящиеся к ВЫВОДАМ для подключения измерительных щупов или принадлежностей, испытаниям не подвергают.
Оборудование должно обеспечивать защиту при возникновении ОПАСНОСТЕЙ. Для этого должна применяться одна из следующих технологий:
a) используют сертифицированное устройство защиты от сверхтоков для прерывания тока короткого замыкания, до возникновения ОПАСНОСТИ. В этом случае проводят испытания, указанные в 101.3.2;
b) используют несертифицированное устройство ограничения тока, импеданса, или их комбинацию, для предотвращения возникновения ОПАСНОСТИ. В этом случае применяют испытания, указанные в 101.3.3.
Соответствие оборудования данному требованию проверяют путем визуального осмотра, оценкой конструкции оборудования и по 101.3.2 и 101.3.3 в зависимости от применяемости.
Эти испытания должны быть проведены с любым набором измерительных щупов, поставляемых изготовителем в составе оборудования, и повторены с набором испытательных проводов согласно 101.3.4.
101.3.2 Защита с помощью сертифицированного устройства защиты от сверхтока
Устройство защиты от сверхтока считают подходящим, если оно соответствует следующим требованиям, подтвержденным независимой лабораторией:
a) НОМИНАЛЬНЫЕ напряжения переменного тока (a.c.) и постоянного тока (d.c.) устройства защиты от сверхтоков должны быть, по крайней мере, такими же высокими, как максимальные НОМИНАЛЬНЫЕ напряжения переменного тока (a.c.) и постоянного тока (d.c.) любого ВЫВОДА измерительных цепей оборудования;
b) НОМИНАЛЬНАЯ токо-временная характеристика (скорость срабатывания) устройства защиты от сверхтоков должна быть такой, чтобы ОПАСНОСТЬ не возникла в результате использования любой возможной комбинации НОМИНАЛЬНЫХ входных напряжений, ВЫВОДОВ и выбора диапазона.
&Примечание - Практически, элементы цепи, расположенные ниже по цепи, такие как компоненты и дорожки печатных плат, должны быть подобраны так, чтобы они выдерживали энергию, которую пропустит устройство защиты от сверхтоков.&
c) НОМИНАЛЬНАЯ разрывная мощность (отключающая способность) переменного тока (a.c.) и постоянного тока (d.c.) устройства защиты от сверхтоков должна превышать возможные токи короткого замыкания переменного (a.c.) и постоянного тока (d.c.) соответственно.
Возможные токи короткого замыкания переменного тока (a.c.) и постоянного тока (d.c.) должны быть рассчитаны путем деления значения максимального НОМИНАЛЬНОГО напряжения для любого ВЫВОДА на значение сопротивления устройства защиты измерительных цепей от сверхтоков, с учетом сопротивления испытательных проводов, определенного в 101.3.4.
Возможный ток короткого замыкания переменного тока (a.c.) не должен превышать значения, приведенного в таблице AA.1.
Расстояние при размещении устройства защиты от сверхтоков в оборудовании от следующего защитного устройства в измерительной цепи должно быть достаточным для предотвращения образования дуги после того, как защитное устройство откроется.
Соответствие оборудования данному требованию проверяют путем контроля НОМИНАЛЬНЫХ ХАРАКТЕРИСТИК устройства защиты от сверхтоков и следующим испытанием.
Если защитным устройством является плавкий предохранитель, его заменяют на плавкий предохранитель с разорванной цепью. Если защитным устройством является выключатель, его следует установить в открытое (отключенное) положение. На ВЫВОДЫ измерительных цепей, защищенные от сверхтоков, подается в течение 1 мин напряжение, в два раза более максимального НОМИНАЛЬНОГО значения для любого ВЫВОДА. Испытательное оборудование должно быть способно обеспечить, как минимум среднеквадратическое значение переменного тока 100 мА для напряжений менее 5 кВ, и мощностью не менее 500 В·А при напряжениях выше 5 кВ. В течение и после испытания не должно происходить повреждения оборудования.
101.3.3 Защита с помощью несертифицированного устройства ограничения тока или импеданса
Устройства, используемые для ограничения тока, должны быть способны безопасно выдерживать, рассеивать или прерывать энергию, возникающую в результате тока короткого замыкания в случае ВОЗМОЖНОГО НЕПРАВИЛЬНОГО ПРИМЕНЕНИЯ.
Импеданс, используемый для ограничения тока, должен соответствовать одному или нескольким следующим требованиям:
a) соответствующий одиночный компонент сконструирован, выбран и подвергнут таким испытаниям, чтобы безопасность и надежность по защите от соответствующих ОПАСНОСТЕЙ была гарантирована. В частности такой компонент должен:
1) иметь НОМИНАЛЬНОЕ максимальное напряжение, которое может возникнуть во время ВОЗМОЖНОГО НЕПРАВИЛЬНОГО ПРИМЕНЕНИЯ;
2) для резистора следует принимать во внимание тот факт, что в случае ВОЗМОЖНОГО НЕПРАВИЛЬНОГО ПРИМЕНЕНИЯ его мощность или энергия рассеяния могут быть в два раза больше, чем НОМИНАЛЬНЫЕ значения этих параметров;
3) использовать для применения между выводами ЗАЗОРЫ и ПУТИ УТЕЧКИ, указанные в приложении K для УСИЛЕННОЙ ИЗОЛЯЦИИ;
b) комбинация компонентов должна:
1) выдерживать максимальное напряжение, которое может возникнуть в случае ВОЗМОЖНОГО НЕПРАВИЛЬНОГО ПРИМЕНЕНИЯ;
2) обеспечить рассеяние мощности или энергии, которая может возникнуть в результате ВОЗМОЖНОГО НЕПРАВИЛЬНОГО ПРИМЕНЕНИЯ;
3) применять между выводами комбинации компонентов ЗАЗОРЫ и ПУТИ УТЕЧКИ, указанные в приложении K для УСИЛЕННОЙ ИЗОЛЯЦИИ.
&Примечание 1 - ЗАЗОРЫ и ПУТИ УТЕЧКИ принимают во внимание РАБОЧИЕ НАПРЯЖЕНИЯ для каждой изоляции.&
Соответствие оборудования данному требованию проверяют путем визуального осмотра и следующим испытанием, повторяемым три раза на одной и той же единице оборудования. Если в результате испытаний произойдет нагревание какого-либо компонента, то до начала повторного испытания оборудование следует охладить. Если используемое устройство ограничения тока в процессе испытаний было повреждено, то его следует заменить до начала повторного испытания.
Возможные токи короткого замыкания переменного тока (a.c.) и постоянного тока (d.c.) вычисляют как результат деления максимального НОМИНАЛЬНОГО напряжения для любого ВЫВОДА на импеданс измерительных цепей ограничения тока с учетом импеданса испытательных проводов в соответствии с установленным в 101.3.4. Возможный ток короткого замыкания переменного тока (a.c.) не должен быть более значения, указанного в таблице AA.1.
На ВЫВОДЫ измерительных цепей в течение 1 мин подают напряжение, равное максимальному НОМИНАЛЬНОМУ значению для любого ВЫВОДА. Источник испытательного напряжения должен обеспечивать подачу тока, значение которого не менее возможного тока короткого замыкания переменного тока (a.c.) или постоянного тока (d.c.). Если управление функциями или диапазонами измерений воздействует на электрические характеристики входных токов, то испытания повторяют с установкой функций и диапазонов в каждой возможной комбинации.
В процессе испытаний и после их окончания не должно возникнуть ОПАСНОСТЕЙ, не должно быть признаков огня, дуги, взрыва или повреждения импеданса устройства ограничения или любых других компонентов, обеспечивающих защиту от поражения электрическим током, перегрева, возникновения дуги или воспламенения, включая КОЖУХ и дорожки печатных плат. Любое повреждение используемого устройства ограничения тока должно быть проигнорировано, если другие части оборудования не затронуты в результате испытаний.
Во время испытаний измеряют выходное напряжение источника питания. Если напряжение источника питания уменьшится более чем на 20% за 10 мс и более, испытание считается неокончательным и его повторяют с источником, имеющим более низкий импеданс.
&Примечание 2 - Эти испытания могут быть чрезвычайно опасными. Для защиты персонала, проводящего испытания, следует использовать защитные щиты от взрыва и другие устройства.&
101.3.4 Испытательные провода для испытаний по 101.3.2 и 101.3.3
Любые испытательные провода, входящие в состав оборудования, должны подвергать испытаниям по 101.3.2 и 101.3.3 и испытания должны быть повторены с испытательными проводами, отвечающими следующим требованиям:
a) длина испытательных проводов равна 1 м;
b) поперечное сечение проводника равно 1,5 мм2, материал - витой медный провод.
&Примечание 1 - Поперечное сечение проводника, равное 16 AWG (Американское Руководство по проводам), является приемлемым;&
c) соединитель оборудования совместим с ВЫВОДАМИ измерительной цепи;
d) соединение с источником испытательного напряжения осуществляется с помощью оголенного провода, подключенного к подходящим ВИНТОВЫМ ЗАЖИМАМ или через соединитель-колокольчик (соединение с помощью скрученного провода) или подобным способом, обеспечивающим низкий импеданс;
e) расположение проводов как можно более прямым, насколько это возможно.
&Примечание 2 - Испытательные провода согласно этим требованиям будут иметь сопротивление постоянному току, приблизительно равное 15 Ом каждое или 30 Ом - на пару. В целях вычисления возможной ошибки величины тока по 101.3.2 и 101.3.3 для измерительных проводов может быть использовано значение 30 Ом.&
Если изготовитель поставляет испытательные провода, постоянно соединенные с оборудованием, то присоединенные испытательные провода, поставляемые изготовителем, следует использовать без модификации.
101.4 Защита от СЕТЕВЫХ перенапряжений
Измерительные цепи СЕТЕВОГО напряжения должны быть сконструированы таким образом, чтобы ВРЕМЕННОЕ ПЕРЕНАПРЯЖЕНИЕ или ПЕРЕХОДНОЕ ПЕРЕНАПРЯЖЕНИЕ, приложенное к ВЫВОДАМ измерительных цепей при выполнении функции измерений напряжения в установленном диапазоне, не приводили к какому-либо повреждению, которое может стать причиной возникновения ОПАСНОСТИ.
Измерительные цепи СЕТЕВОГО напряжения должны иметь как минимум ОСНОВНУЮ ИЗОЛЯЦИЮ между соединенными с СЕТЬЮ проводящими частями противоположной полярности.
Соответствие оборудования данному требованию проверяют путем визуального осмотра и последующим испытанием импульсной электрической прочности с использованием подходящих испытательных напряжений, указанных в таблице 104, или согласно 14.101, если для контроля ПЕРЕХОДНОГО ПЕРЕНАПРЯЖЕНИЯ используют компоненты или цепи, ограничивающие перенапряжение.
Испытательное напряжение прикладывают между каждой парой ВЫВОДОВ, используемых для измерения СЕТЕВОГО напряжения. Испытание на проверку импульсной электрической прочности должно быть проведено путем воздействия пяти импульсов каждой полярности с интервалом между ними не менее 1 с. Испытание на воздействие импульсного напряжения проводят с применением формы сигнала 1,2/50 мкс (см. рисунок 1 IEC 61180-1:1992). Форму волны каждого импульса следует зарегистрировать (см. примечание 1).
При испытании на воздействие импульсного напряжения ЗАЗОРОВ внутри оборудования испытанием импульсным напряжением, необходимо удостовериться, что указанное импульсное напряжение появляется в ЗАЗОРЕ.
Во время испытаний не должно быть искрения в ЗАЗОРАХ или разрушения твердой изоляции; допускаются частичные разряды. Частичный разряд можно индицировать по перепаду в получившейся форме волны, который возникнет в начале последовательности импульсов. Разрушение на первом импульсе может указать на полный отказ системы изоляции или на срабатывание ограничителей перенапряжения в оборудовании.
&Примечания
1 Искажения импульсного напряжения, которые не изменяются от импульса до импульса, могут быть вызваны работой устройств ограничения перенапряжения и не указывают на разрушение (частичное) твердой изоляции.
2 Частичные разряды в пустотах могут привести к частичным провалам в форме волны чрезвычайно коротких продолжительностей, которые могут повторяться в течение импульса.&
102. Защита от ОПАСНОСТИ, вызываемой вспышкой дуги
и коротким замыканием
102.1. Общие положения
Кратковременное соединение датчиком тока двух высокоэнергетических проводников может привести к короткому замыканию, возникающему в результате протекания большого тока через датчик тока.
При этом датчик тока может разогреться или расплавиться, что может вызвать ожог ОПЕРАТОРА или наблюдателя, находящегося рядом с датчиком тока.
Образование дуги может произойти при разрыве контакта (в результате действий ОПЕРАТОРА, при расплавлении или других случаях) во время протекания тока через датчик тока. Образование дуги ионизирует воздух в зоне дуги, позволяющий продолжать протекание тока в зоне датчика тока. Если будет достаточно энергии, доступной для использования, то ионизация воздуха будет распространяться и ток, протекающий по воздуху, продолжит увеличиваться. Результатом этого является вспышка дуги, подобная взрыву, что может привести к травме или смерти ОПЕРАТОРА или наблюдателя.
Конструкция датчика тока должна обеспечивать минимизацию РИСКА вспышки дуги и короткого замыкания.
Соответствие оборудования данному требованию проверяют согласно 102.2 и 102.3. Все измерения и испытания по 102.2 и 102.3 проводят после предварительной подготовки КОНЕЧНЫХ ЧАСТЕЙ ЗАЖИМОВ, как установлено в 6.9.101.1, в зависимости от применяемости.
102.2. Защита от короткого замыкания в процессе зажимания
Датчики тока типа A и B должны иметь дополнительную защиту от короткого замыкания, вызванного ЗАЖИМОМ в процессе его установки между проводниками и шинами и его удаления.
&Примечание - Примерами защитных мер являются оболочки, ЗАЩИТНЫЕ БАРЬЕРЫ, покрытия или расстояния от противоположных КОНЕЧНЫХ ЧАСТЕЙ ЗАЖИМОВ.&
Предполагают, что единичная КОНЕЧНАЯ ЧАСТЬ ЗАЖИМА не способна привести к короткому замыканию двух раздельных проводников в электрической установке. Максимальное напряжение между двумя НЕИЗОЛИРОВАННЫМИ проводниками, которые могут быть замкнуты накоротко во время зажимания, как полагают, будет равным или более низким, чем междуфазное напряжение распределительной системы, которым соответствуют НОМИНАЛЬНЫЕ ХАРАКТЕРИСТИКИ датчика.
Соответствие оборудования данному требованию проверяют путем визуального осмотра и, если применимо, то испытанием переменным током (a.c.) по 6.8.3.1 продолжительностью не менее 1 мин или для проводников постоянного тока (d.c.) испытанием постоянным током (d.c.) продолжительностью 1 мин по 6.8.3.2, прикладывая между испытательными проводами каждое из испытательных напряжений, указанных в таблице 105, значением, равным или не более максимального НОМИНАЛЬНОГО напряжения ЗАЖИМОВ, одновременно каждый из установленных рисунком 106 и таблицей 105 испытательных щупов вводится в открытый ЗАЖИМ, как показано в рисунке 107, при каждом установленном напряжении. Если, например, НОМИНАЛЬНОЕ напряжение ЗАЖИМА будет 450 V, то испытания будут проводиться 6-миллиметровым, 10-миллиметровым и 15-миллиметровым щупами.
1 - непроводящий основной материал; 2 - проводящий
поверхностный материал; 3 - испытательные токопроводящие
проводники; D - диаметр проводящего поверхностного
материала; X - предельная толщина испытательного щупа
Рисунок 106 - Испытательный щуп для проверки защиты
от короткого замыкания
Таблица 105
Толщина испытательного щупа, изображенного на рисунке 106
и испытательные напряжения
НОМИНАЛЬНОЕ среднеквадратическое значение напряжения переменного тока или НОМИНАЛЬНОЕ напряжение постоянного тока ЗАЖИМОВ, В
Толщина X испытательного щупа <a>, мм
Испытательные напряжения <b> при испытании продолжительностью 1 мин, В
Среднеквадратическое значение напряжения при испытании на воздействие переменного тока
Значение постоянного тока при испытании на воздействие постоянного тока
<= 150
6
350
450
> 150 <= 300
10
650
900
> 300 <= 600
15
1300
1850
> 600 <= 1000
25
2200
3100
<a> Если ЗАЖИМЫ не открываются до соответствующего размера, толщина щупа принимается равной максимальному размеру открывания ЗАЖИМА.
<b> Значения прикладываемых испытательных напряжений при испытаниях, проводимых при 2000 м над уровнем моря. Для других высот применяют корректировку по таблице 10.
Рисунок 107 - Испытательный щуп, используемый при проведении
испытаний по рисунку 106
102.3. Защита от короткого замыкания в закрытом положении
В закрытом положении ЗАЖИМЫ датчиков тока типов A, B и C должны иметь ОСНОВНУЮ ИЗОЛЯЦИЮ между наружной поверхностью КОЖУХА ЗАЖИМОВ и всеми проводящими частями, включая мелкие металлические детали, такие как винты или заклепки, за исключением КОНЕЧНЫХ ЧАСТЕЙ ЗАЖИМОВ.
Проводящие части КОНЕЧНЫХ ЧАСТЕЙ ЗАЖИМОВ не должны быть ДОСТУПНЫМИ в закрытом положении.
Соответствие оборудования данному требованию проверяют посредством испытаний согласно K.101.4 для твердой изоляции и определением ДОСТУПНОСТИ КОНЕЧНЫХ ЧАСТЕЙ ЗАЖИМОВ в закрытом положении в соответствии с 6.2.
Приложения
Применяют все приложения IEC 61010-1 за исключением следующего:
Замена:
Приложение D
(обязательное)
ЧАСТИ, МЕЖДУ КОТОРЫМИ УСТАНОВЛЕНЫ ТРЕБОВАНИЯ К ИЗОЛЯЦИИ
(СМ. 6.4 И 6.5.3)
Замена:
Заменить название приложения D на следующее:
Приложение D
(обязательное)
Части, между которыми установлены требования к изоляции (см. 6.4, 6.5.3, 6.9.101 и 6.9.103)
Дополнение:
Дополнить следующим рисунком:
1 - ОПАСНЫЕ ДЛЯ ЖИЗНИ НЕИЗОЛИРОВАННЫЕ проводники внутри
ЗАЖИМОВ или около ЗАЖИМОВ; 2 - входные/выходные цепи;
3 - РУЧНЫЕ или управляемые вручную части; 4 - магнитные
цепи; 5 - КОНЕЧНЫЕ ЧАСТИ ЗАЖИМОВ; 6 - КОЖУХ ЗАЖИМОВ;
7 - ЗАЩИТНЫЙ БАРЬЕР
Рисунок D.1 - Части датчика тока (также см. таблицу D.101)
Дополнение:
Дополнить следующей таблицей:
Таблица D.101
Требования к изоляции между цепями и ДОСТУПНЫМИ
частями датчиков тока
Тип датчика тока
Вид изоляции между
1 и 2
1 и 3
1 и 4 <a>
2 и 3 <b>
2 и 5
2 и 6 <b>
3 и 5
4 и 6
A
D
D
B
D
D
D
D
B
B
D
-
B
D
D
D
-
B
C
D
-
B
D
-
D
-
B
D
NA
NA
NA
D
B
D
-
-
Обозначения, используемые в таблице:
- - требования не устанавливают;
B - требуется ОСНОВНАЯ ИЗОЛЯЦИЯ;
D - требуется ДВОЙНАЯ или УСИЛЕННАЯ ИЗОЛЯЦИЯ;
NA - не применяют.
--------------------------------
<a> Только в закрытом положении.
<b> 3 и 6 являются частями КОЖУХА датчика тока.
Приложение F
(обязательное)
ТИПОВЫЕ ИСПЫТАНИЯ
F.1 Общие положения
Замена:
Заменить первое предложение следующим текстом:
Изготовитель должен подвергнуть испытаниям, приведенным в F.2 - F.4 и F.101 все произведенное оборудование, имеющее ОПАСНЫЕ ДЛЯ ЖИЗНИ и ДОСТУПНЫЕ проводящие части.
Дополнение:
Дополнить следующим пунктом:
F.101 ЗАЖИМЫ датчиков тока
Для датчиков тока типов A, B и C испытательное напряжение подают между:
a) выступающими проводящими частями ЗАЖИМОВ или КОНЕЧНЫХ ЧАСТЕЙ ЗАЖИМОВ;
b) ДОСТУПНЫМИ проводящими частями в пределах РУЧНОЙ или управляемой вручную области и входных и выходных цепей, соединенных между собой.
Датчики тока типа D и другие датчики тока, ЗАЖИМЫ и КОНЕЧНЫЕ ЧАСТИ ЗАЖИМОВ которых не имеют ДОСТУПНЫХ проводящих частей, не подвергают этому испытанию.
Испытательное напряжение выбирают из таблицы F.101 и оно может быть переменным, постоянным или импульсным, для соответствующей КАТЕГОРИИ ИЗМЕРЕНИЙ. Для испытаний на воздействие переменного и постоянного тока, время в течение которого испытательное напряжение устанавливают в заданное значение не должно быть более 5 с, и это значение удерживают в течение не менее 2 с. Импульсные испытания проводят импульсами 1,2/50 мкс, установленными в серии стандартов IEC 61180, подавая как минимум три импульса каждой полярности с минимальным интервалом 1 с. Для датчиков тока НОМИНАЛЬНОЙ КАТЕГОРИИ ИЗМЕРЕНИЙ значение испытательного напряжения ЗАЖИМОВ должно быть в полтора раза более их НОМИНАЛЬНОГО напряжения относительно земли, но не менее 350 В среднеквадратического значения переменного тока или 500 В постоянного тока.
Таблица F.101
Испытательное напряжение при ТИПОВЫХ ИСПЫТАНИЯХ ЗАЖИМОВ
датчиков тока
НОМИНАЛЬНОЕ среднеквадратическое значение напряжения переменного тока или НОМИНАЛЬНОЕ напряжение постоянного тока ЗАЖИМОВ относительно земли, В
Испытательное напряжение для КАТЕГОРИЙ ИЗМЕРЕНИЙ, В
КАТЕГОРИЯ ИЗМЕРЕНИЙ II
КАТЕГОРИЯ ИЗМЕРЕНИЙ III
КАТЕГОРИЯ ИЗМЕРЕНИЙ IV
2 с
a.c.
Vr.m.s
2 с
d.c.
Vd.c.
1,2/50 мкс
импульс
Vpeak
2 с
a.c.
Vr.m.s
2 с
d.c.
Vd.c.
1,2/50 мкс
импульс
Vpeak
2 с
a.c.
Vr.m.s
2 с
d.c.
Vd.c.
1,2/50 мкс
импульс
Vpeak
<= 150
840
1200
1200
1400
2000
2000
2200
3100
3100
> 150 <= 300
1400
2000
2000
2200
3100
3100
3300
4700
4700
> 300 <= 600
2200
3100
3100
3300
4700
4700
4300
6000
6000
> 600 <= 1000
3300
4700
4700
4300
6000
6000
5300
7500
7500
В процессе испытаний не должно быть искрения в ЗАЗОРАХ или разрушения твердой изоляции.
Приложение K
(обязательное)
ТРЕБОВАНИЯ
К ИЗОЛЯЦИИ, НЕ УСТАНОВЛЕННЫЕ В 6.7
K.3 Изоляция в цепях, не представленных в 6.7, разделах K.1 или K.2
Замена:
Заменить существующее название на следующее:
K.3 Изоляция для цепей, не представленных в 6.7, и K.1, K.2 или K.101, и измерительных цепей, для которых КАТЕГОРИИ ИЗМЕРЕНИЙ не применяют
K.3.1 Общие положения
Дополнение:
Дополнить перечень следующим перечислением:
aa) цепи измерительных цепей, для которых КАТЕГОРИИ ИЗМЕРЕНИЙ не применяют.
Замена:
Заменить второй абзац следующим:
Для случаев, указанных в перечислениях a) - c) и aa) ЗАЗОРЫ для ОСНОВНОЙ ИЗОЛЯЦИИ и ДОПОЛНИТЕЛЬНОЙ ИЗОЛЯЦИИ определяют согласно K.3.2.
Исключение:
Исключить примечание.
Дополнение:
Дополнить перечень следующим подпунктом:
K.101 Требования к изоляции измерительных цепей для КАТЕГОРИЙ ИЗМЕРЕНИЙ II, III и IV
K.101.1 Общие положения
Измерительные цепи подвергают воздействию РАБОЧЕГО НАПРЯЖЕНИЯ и переходным (кратковременным) воздействиям от цепей, с которыми они связаны во время проведения измерений или испытаний. В случае, когда измерительную цепь используют для измерений СЕТИ, переходные (кратковременные) воздействия могут быть оценены путем размещения в пределах установки, на которой проводят измерения. В случае, если измерительную цепь используют для измерения других электрических сигналов, переходные (кратковременные) воздействия могут быть учтены ОПЕРАТОРОМ для гарантии, что они не выходят за пределы возможностей измерительного оборудования.
В случае использования измерительных цепей для соединения с СЕТЬЮ существует РИСК взрыва вспышки дуги. КАТЕГОРИИ ИЗМЕРЕНИЙ устанавливают количество возможной энергии, которая может привести к возникновению вспышки дуги. В случае, когда может возникнуть вспышка дуги, изготовитель оборудования должен указать в эксплуатационной документации дополнительные меры предосторожности для уменьшения ОПАСНОСТИ, связанной с шоком и ожогом от вспышки дуги (см. приложение AA и BB).
K.101.2 ЗАЗОРЫ
Для оборудования, приводимого в действие от измеряемых цепей, конструкция ЗАЗОРОВ СЕТЕВЫХ ЦЕПЕЙ должна соответствовать требованиям к НОМИНАЛЬНОЙ КАТЕГОРИИ ИЗМЕРЕНИЙ. Дополнительные требования к маркировке приведены в 5.1.5.2, 5.1.5.101 и 5.1.5.102.
Требования к ЗАЗОРАМ для измерительных цепей КАТЕГОРИЙ ИЗМЕРЕНИЙ II, III и IV установлены в таблице K.101.
&Примечание 1 - Номинальные напряжения СЕТЕВОГО источника питания приведены в приложении I.&
Если оборудование при НОМИНАЛЬНОМ РЕЖИМЕ работает на высоте более 2000 м над уровнем моря, величина ЗАЗОРОВ должна быть умножена на коэффициент, указанный в таблице K.1.
Таблица K.101
ЗАЗОРЫ для измерительных цепей КАТЕГОРИЙ
ИЗМЕРЕНИЙ II, III и IV
НОМИНАЛЬНОЕ среднеквадратическое значение напряжения СЕТИ переменного тока линия-нейтраль или постоянного тока, В
ЗАЗОР, мм
ОСНОВНАЯ и ДОПОЛНИТЕЛЬНАЯ ИЗОЛЯЦИЯ
УСИЛЕННАЯ ИЗОЛЯЦИЯ
КАТЕГОРИЯ ИЗМЕРЕНИЙ II
КАТЕГОРИЯ ИЗМЕРЕНИЙ III
КАТЕГОРИЯ ИЗМЕРЕНИЙ IV
КАТЕГОРИЯ ИЗМЕРЕНИЙ II
КАТЕГОРИЯ ИЗМЕРЕНИЙ III
КАТЕГОРИЯ ИЗМЕРЕНИЙ IV
<= 50
0,04
0,1
0,5
0,1
0,3
1,5
> 50 <= 100
0,1
0,5
1,5
0,3
1,5
3,0
> 100 <= 150
0,5
1,5
3,0
1,5
3,0
5,9
> 150 <= 300
1,5
3,0
5,5
3,0
5,9
10,5
> 300 <= 600
3,0
5,5
8
5,9
10,5
14,3
> 600 <= 1000
5,5
8
14
10,5
14,3
24,3
Минимальный ЗАЗОР составляет 0,2 мм для СТЕПЕНИ ЗАГРЯЗНЕНИЯ 2 и 0,8 мм для СТЕПЕНИ ЗАГРЯЗНЕНИЯ 3.
&Примечание 2 - ЗАЗОРЫ для других измерительных цепей рассчитывают согласно K.3.&
Соответствие оборудования данному требованию проверяют путем визуального осмотра и измерений при испытании на воздействие напряжения переменного тока (a.c.) по 6.8.3.1 с продолжительностью воздействия не менее 5 с, или на воздействие импульсного напряжения по 6.8.3.3, с использованием испытательных напряжений, указанных в таблице K.16 для установленных ЗАЗОРОВ.
K.101.3 ПУТИ УТЕЧКИ
Применяют требования, установленные в K.2.3.
Соответствие оборудования данному требованию проверяют в соответствии с установленным в K.2.3.
K.101.4 Твердая изоляция
K.101.4.1 Общие положения
Твердая изоляция должна быть устойчивой к воздействию электрических и механических нагрузок, которые могут возникнуть при НОРМАЛЬНОМ ИСПОЛЬЗОВАНИИ оборудования при любых НОМИНАЛЬНЫХ условиях окружающей среды (см. 1.4) в течение всего установленного времени срока его службы.
Изготовитель оборудования должен принимать во внимание срок службы оборудования при выборе изоляционных материалов.
Соответствие оборудования данному требованию проверяют путем проведения двух следующих испытаний:
a) испытание на воздействие напряжения переменного тока (a.c.) по 6.8.3.1 с продолжительностью воздействия не менее 5 с или на воздействие импульсного напряжения по 6.8.3.3, с использованием испытательных напряжений, указанных в таблицах K.102, K.103, K.104;
b) испытание на воздействие напряжения переменного тока (a.c.) по 6.8.3.1 с продолжительностью воздействия не менее 1 мин или, только для СЕТЕВЫХ ЦЕПЕЙ, испытание на воздействие постоянного тока (d.c.) с продолжительностью воздействия 1 мин по 6.8.3.2, с использованием испытательных напряжений, указанных в таблице K.105.
&Примечание - Испытанием, указанным в перечислении a) проверяют воздействие на твердую изоляцию ПЕРЕХОДНОГО (КРАТКОВРЕМЕННОГО) ПЕРЕНАПРЯЖЕНИЯ, а испытанием, указанным в перечислении b) - воздействие на твердую изоляцию длительного нагрева.&
Таблица K.102
Испытательные напряжения для проверки электрической
прочности твердой изоляции в измерительных цепях
КАТЕГОРИИ ИЗМЕРЕНИЙ II
НОМИНАЛЬНОЕ среднеквадратическое значение напряжения СЕТИ переменного тока линия-нейтраль или постоянного тока, В
Испытательное напряжение, В
Испытание на воздействие переменного тока продолжительностью 5 с, Vr.m.s
Импульсное испытание, Vpeak
ОСНОВНАЯ И ДОПОЛНИТЕЛЬНАЯ ИЗОЛЯЦИЯ
УСИЛЕННАЯ ИЗОЛЯЦИЯ
ОСНОВНАЯ И ДОПОЛНИТЕЛЬНАЯ ИЗОЛЯЦИЯ
УСИЛЕННАЯ ИЗОЛЯЦИЯ
<= 150
840
1390
1550
2500
> 150 <= 300
1390
2210
2500
4000
> 300 <= 600
2210
3510
4000
6400
> 600 <= 1000
3310
5400
6000
9600
Таблица K.103
Испытательные напряжения для проверки электрической
прочности твердой изоляции в измерительных цепях
КАТЕГОРИИ ИЗМЕРЕНИЙ III
НОМИНАЛЬНОЕ среднеквадратическое значение напряжения СЕТИ переменного тока линия-нейтраль или постоянного тока, В
Испытательное напряжение, В
Испытание на воздействие переменного тока продолжительностью 5 с, Vr.m.s
Импульсное испытание, Vpeak
ОСНОВНАЯ И ДОПОЛНИТЕЛЬНАЯ ИЗОЛЯЦИЯ
УСИЛЕННАЯ ИЗОЛЯЦИЯ
ОСНОВНАЯ И ДОПОЛНИТЕЛЬНАЯ ИЗОЛЯЦИЯ
УСИЛЕННАЯ ИЗОЛЯЦИЯ
<= 150
1390
2210
2500
4000
> 150 <= 300
2210
3510
4000
6400
> 300 <= 600
3310
5400
6000
9600
> 600 <= 1000
4260
7400
8000
12800
Таблица K.104
Испытательные напряжения для проверки электрической
прочности твердой изоляции в измерительных цепях КАТЕГОРИИ
ИЗМЕРЕНИЙ IV
НОМИНАЛЬНОЕ среднеквадратическое значение напряжения СЕТИ переменного тока линия-нейтраль или постоянного тока, В
Испытательное напряжение, В
Испытание на воздействие переменного тока продолжительностью 5 с, Vr.m.s
Импульсное испытание, Vpeak
ОСНОВНАЯ И ДОПОЛНИТЕЛЬНАЯ ИЗОЛЯЦИЯ
УСИЛЕННАЯ ИЗОЛЯЦИЯ
ОСНОВНАЯ И ДОПОЛНИТЕЛЬНАЯ ИЗОЛЯЦИЯ
УСИЛЕННАЯ ИЗОЛЯЦИЯ
<= 150
2210
3510
4000
6400
> 150 <= 300
3310
5400
6000
9600
> 300 <= 600
4260
7400
8000
12800
> 600 <= 1000
6600
11940
12000
19200
Таблица K.105
Испытательные напряжения для проверки тепловой устойчивости
(теплостойкости) твердой изоляции в измерительных цепях
НОМИНАЛЬНОЕ среднеквадратическое значение напряжения СЕТИ переменного тока линия-нейтраль или постоянного тока, В
Испытательное напряжение, В
Испытание на воздействие переменного тока продолжительностью 1 мин, Vr.m.s
Испытание на воздействие постоянного тока продолжительностью 1 мин, Vd.c.
ОСНОВНАЯ И ДОПОЛНИТЕЛЬНАЯ ИЗОЛЯЦИЯ
УСИЛЕННАЯ ИЗОЛЯЦИЯ
ОСНОВНАЯ И ДОПОЛНИТЕЛЬНАЯ ИЗОЛЯЦИЯ
УСИЛЕННАЯ ИЗОЛЯЦИЯ
<= 150
1350
2700
1900
3800
> 150 <= 300
1500
3000
2100
4200
> 300 <= 600
1800
3600
2550
5100
> 600 <= 1000
2200
4400
3100
6200
Твердая изоляция должна также соответствовать следующим требованиям в зависимости от применения:
a) твердая изоляция, используемая в качестве КОЖУХА или ЗАЩИТНОГО БАРЬЕРА, должна соответствовать требованиям раздела 8;
b) формованные (литые) части или изолированные части должны соответствовать требованиям K.101.4.2;
c) внутренние слои печатных плат должны соответствовать требованиям K.101.4.3;
d) тонкопленочная изоляция должна соответствовать требованиям K.101.4.4.
Соответствие оборудования данному требованию проверяют в зависимости от применения согласно установленному в K.101.4.2 - K.101.4.4 и разделе 8.
K.101.4.2 Формованные (литые) и изолированные части
Для ОСНОВНОЙ, ДОПОЛНИТЕЛЬНОЙ и УСИЛЕННОЙ ИЗОЛЯЦИИ проводники, расположенные между двумя подобными слоями и формуемые вместе (см. рисунок K.1, перечисление L) должны быть отделены друг от друга после окончания формовки, по меньшей мере, минимальными расстояниями, установленными в таблице K.9.
Соответствие оборудования данному требованию проверяют путем визуального осмотра и измерений разделительного расстояния или проверкой спецификации изготовителя.
K.101.4.3 Внутренние изолирующие слои печатных плат
Для ОСНОВНОЙ, ДОПОЛНИТЕЛЬНОЙ и УСИЛЕННОЙ ИЗОЛЯЦИИ проводники, расположенные между двумя подобными слоями (см. рисунок K.2, перечисление L) должны быть отделены друг от друга, по меньшей мере, минимальными расстояниями, установленными в таблице K.9.
Соответствие оборудования данному требованию проверяют путем визуального осмотра и измерений разделительного расстояния или проверкой спецификации изготовителя.
УСИЛЕННАЯ ИЗОЛЯЦИЯ внутренних изолирующих слоев печатных плат должна иметь достаточную электрическую прочность между соответствующими слоями. Для этого должен быть использован один из следующих методов:
a) Толщина изоляции должна, как минимум, соответствовать значениям, установленным в таблице K.9.
Соответствие оборудования данному требованию проверяют путем визуального осмотра и измерений разделительного расстояния или проверкой спецификации изготовителя.
b) Изоляция должна состоять не менее чем из двух отдельных слоев материала печатной платы, НОМИНАЛЬНОЕ значение электрической прочности каждого из которых, установленное изготовителем материала, должно соответствовать требованиям для ОСНОВНОЙ ИЗОЛЯЦИИ и выдерживать воздействие испытательного напряжения значением не менее установленного в таблицах K.102, K.103 и K.104.
Соответствие оборудования данному требованию проверяют путем проверки спецификации изготовителя.
c) Изоляция должна состоять не менее чем из двух отдельных слоев материала печатной платы, а комбинация слоев имеет НОМИНАЛЬНОЕ значение электрической прочности, установленное изготовителем материала, должно соответствовать требованиям для УСИЛЕННОЙ ИЗОЛЯЦИИ и выдерживать воздействие испытательного напряжения значением не менее установленного в таблицах K.102, K.103 и K.104.
Соответствие оборудования данному требованию проверяют путем проверки спецификации изготовителя.
K.101.4.4 Тонкопленочная изоляция
Для ОСНОВНОЙ, ДОПОЛНИТЕЛЬНОЙ и УСИЛЕННОЙ ИЗОЛЯЦИИ проводники, расположенные между двумя подобными слоями (см. рисунок K.3, перечисление L) должны быть отделены друг от друга минимальными применимыми ЗАЗОРАМИ и ПУТЯМИ УТЕЧКИ, указанными в K.101.2 и K.101.3.
Соответствие оборудования данному требованию проверяют путем визуального осмотра и измерений разделительного расстояния или проверкой спецификации изготовителя.
УСИЛЕННАЯ ИЗОЛЯЦИЯ между слоями тонкопленочной изоляции должна иметь соответствующую электрическую прочность. Для этого должен быть использован один из следующих методов:
a) Толщина изоляции должна, как минимум, соответствовать значениям, указанным в таблице K.9.
Соответствие оборудования данному требованию проверяют путем визуального осмотра и измерений разделительного расстояния или проверкой спецификации изготовителя.
b) Изоляция должна состоять не менее чем из двух отдельных слоев тонкопленочного материала, НОМИНАЛЬНОЕ значение электрической прочности каждого из которых, установленное изготовителем материала, должно соответствовать требованиям для ОСНОВНОЙ ИЗОЛЯЦИИ и выдерживать воздействие испытательного напряжения значением не менее установленного в таблицах K.102, K.103 и K.104.
Соответствие оборудования данному требованию проверяют путем проверки спецификации изготовителя.
c) Изоляция должна состоять не менее чем из трех отдельных слоев тонкопленочного материала, каждые два из которых должны в процессе проведения испытаний показать соответствующую электрическую прочность.
Соответствие оборудования данному требованию проверяют проведением испытаний на воздействие напряжения переменного тока (a.c.) по 6.8.3.1 прикладываемого к двум из трех слоев изоляции с продолжительностью воздействия не менее 1 мин, с использованием испытательных напряжений, установленных в таблицах K.102, K.103 и K.104 для УСИЛЕННОЙ ИЗОЛЯЦИИ.
&Примечание - При проведении данного испытания допускается использовать специальный образец, собранный из двух слоев материала.&
Приложение L
(справочное)
АЛФАВИТНЫЙ УКАЗАТЕЛЬ ТЕРМИНОВ
Дополнение:
Дополнить перечисление следующими терминами и их определениями:
РУЧНОЕ ОБОРУДОВАНИЕ ........................................... 3.1.101
ИС МЕГАНОРМ: примечание.
В официальном тексте документа, видимо, допущена опечатка: имеются
в виду КОНЦЕВЫЕ, а не КОНЕЧНЫЕ.
ИС МЕГАНОРМ: примечание.
В официальном тексте документа, видимо, допущена опечатка: пункт
3.2.102 отсутствует. Возможно, имеется в виду пункт 3.2.2.
КОНЕЧНЫЕ ЧАСТИ ЗАЖИМА ......................................... 3.2.102
ИС МЕГАНОРМ: примечание.
В официальном тексте документа, видимо, допущена опечатка: пункт
3.2.101 отсутствует. Возможно, имеется в виду пункт 3.2.1.
ЗАЖИМ ......................................................... 3.2.101
КАТЕГОРИЯ ИЗМЕРЕНИЙ ........................................... 3.5.101
НЕИЗОЛИРОВАННЫЕ ............................................... 3.6.101
Дополнение:
Дополнить следующими приложениями AA и BB:
Приложение AA
(обязательное)
КАТЕГОРИИ ИЗМЕРЕНИЙ
AA.1 Общие положения
В настоящем стандарте используют понятие КАТЕГОРИИ ИЗМЕРЕНИЙ. Понятие КАТЕГОРИИ ИЗМЕРЕНИЙ не являются аналогом понятия КАТЕГОРИИ ПЕРЕНАПРЯЖЕНИЙ, указанным в приложении K IEC 61010-1 и IEC 60664-1 или категориям импульсной прочности (категории перенапряжений), указанным в IEC 60364-4-44.
КАТЕГОРИИ ИЗМЕРЕНИЙ основаны на размещении СЕТЕВОЙ системы электропитания, в которой могут проводиться измерения.
&Примечание - Категории, установленные в IEC 60664-1 и IEC 60364-4-44, предназначены для целей согласования изоляции компонентов и оборудования, используемого в области систем электропитания от низковольтных СЕТЕВЫХ систем питания.&
AA.2 КАТЕГОРИИ ИЗМЕРЕНИЙ
AA.2.1 КАТЕГОРИЯ ИЗМЕРЕНИЙ II
КАТЕГОРИЮ ИЗМЕРЕНИЙ II применяют для испытательных и измерительных цепей, соединенных напрямую с точками подключения (выходные гнезда и аналогичные точки) низковольтной СЕТЕВОЙ установки (см. таблицу AA.1 и рисунок AA.1).
Пример - Измерения СЕТЕВЫХ ЦЕПЕЙ бытового применения, портативный инструмент и аналогичное оборудование имеет со стороны потребителя только стационарно установленные выходные гнезда.
AA.2.2 КАТЕГОРИЯ ИЗМЕРЕНИЙ III
КАТЕГОРИЮ ИЗМЕРЕНИЙ III применяют для испытательных и измерительных цепей, соединенных с распределительной частью низковольтной СЕТЕВОЙ установки здания (см. таблицу AA.1 и рисунок AA.1).
Во избежание РИСКОВ, связанных с возникновением ОПАСНОСТЕЙ, в результате более высоких токов короткого замыкания, необходимо использовать дополнительную изоляцию и другие меры защиты.
Для оборудования, являющегося частью стационарной установки, предохранители и прерыватели цепи установки рассматривают в качестве адекватной защиты от токов короткого замыкания.
Пример - Измерения на распределительных щитах (включая вторичные электрические измерительные приборы), фотопреобразовательных панелях, прерывателях, проводах, включая кабели, шинах, коллекторных коробах, выключателях, гнездовых выходах в стационарной установке, оборудование для промышленного использования и подобное оборудование, такое как стационарные двигатели, с постоянной связью с неподвижной установкой.
AA.2.3 КАТЕГОРИЯ ИЗМЕРЕНИЙ IV
КАТЕГОРИЮ ИЗМЕРЕНИЙ IV применяют для испытательных и измерительных цепей, соединенных с источником низковольтной СЕТЕВОЙ установки здания (см. таблицу AA.1 и рисунок AA.1).
Вследствие высоких токов короткого замыкания, которые могут сопровождаться высоким уровнем мощности, измерения, проводимые в месте размещения, являются чрезвычайно опасными. Должны быть предприняты повышенные меры предосторожности для исключения любой возможности возникновения токов короткого замыкания.
Пример - Измерения на устройствах, установленных перед главным плавким предохранителем или прерывателем цепи в установке здания.
AA.2.4 Измерительные цепи без НОМИНАЛЬНЫХ КАТЕГОРИЙ ИЗМЕРЕНИЙ
Многие типы испытательных и измерительных цепей не предназначены для непосредственного соединения с СЕТЕВЫМ электропитанием. Некоторые из этих измерительных цепей применяют для очень низких уровней применяемой мощности, но в других измерительных цепях могут быть случаи выделения очень большой мощности, возникшей вследствие высоких токов короткого замыкания или высоких напряжений разомкнутой цепи. Не существует стандартных переходных уровней защиты, установленных для этих цепей. Для определения требований к изоляции и требований к токам короткого замыкания необходимо проводить анализ значений РАБОЧЕГО НАПРЯЖЕНИЯ, импеданса контура, КРАТКОВРЕМЕННОГО и ПЕРЕХОДНОГО ПЕРЕНАПРЯЖЕНИЙ.
O - прочие цепи, не имеющие прямого соединения с СЕТЬЮ;
CAT II - КАТЕГОРИЯ ИЗМЕРЕНИЙ II; CAT III - КАТЕГОРИЯ
ИЗМЕРЕНИЙ III; CAT IV - КАТЕГОРИЯ ИЗМЕРЕНИЙ IV
Рисунок AA.1 - Примеры идентификации размещения
измерительных цепей
Пример - Измерительные цепи термопары, высокочастотные измерительные цепи, автомобильные контрольно-измерительные приборы (тестеры) и контрольно-измерительные приборы (тестеры), используемые для определения характеристик СЕТЕВОЙ установки до ее подключения к СЕТЕВОМУ источнику электропитания.
Таблица AA.1
Характеристики КАТЕГОРИЙ ИЗМЕРЕНИЙ
КАТЕГОРИЯ ИЗМЕРЕНИЙ
Ток короткого замыкания (типичный), кА <a>
Размещение в установке здания
II
< 10
Цепи, соединяемые со штепсельной розеткой и подобными точками СЕТЕВОЙ установки
III
< 50
СЕТЕВЫЕ распределительные щиты (части) здания
IV
>> 50
Источник питания СЕТЕВОЙ установки здания
<a> Эти токи короткого замыкания рассчитаны для напряжения линия-нейтраль 1000 В и минимального сопротивления контура. Значение сопротивления контура (сопротивление установки) не может быть взято из расчета сопротивления пробника (щупа) и внутреннего сопротивления измерительного оборудования. Этот ток короткого замыкания изменяется в зависимости от характеристик установки.
Приложение BB
(справочное)
ОПАСНОСТИ, ВОЗНИКАЮЩИЕ ПРИ ИЗМЕРЕНИЯХ, ПРОВОДИМЫХ
В СПЕЦИАЛЬНЫХ ОКРУЖАЮЩИХ СРЕДАХ
BB.1 Общие положения
В настоящем приложении приведены рекомендации для изготовителей оборудования, об ОПАСНОСТЯХ, которые должны быть рассмотрены и учтены при разработке и изготовлении оборудования, применяемого для измерения электрических параметров в специальных окружающих средах. Этот перечень ОПАСНОСТЕЙ не является исчерпывающим, так как могут возникнуть иные ОПАСНОСТИ при измерениях, проводимых в той или иной окружающей среде.
BB.2 СЕТЕВЫЕ ЦЕПИ
BB.2.1 Общие положения
Испытательные и измерительные цепи подвергаются воздействию РАБОЧЕГО НАПРЯЖЕНИЯ и переходных напряжений от цепей, с которыми они связаны в процессе проведения измерений или испытаний. При использовании измерительных цепей для измерений СЕТИ, воздействие переходных напряжений может быть определено путем оценки их размещения в пределах установки, на которой проводят измерения.
Если измерительные цепи используют для проведения измерений СЕТИ, находящейся под напряжением, существует РИСК взрыва вспышки дуги. КАТЕГОРИИ ИЗМЕРЕНИЙ (см. приложение AA) устанавливают количество возможной энергии, которая может привести к вспышке дуги. Изготовитель оборудования должен указать в эксплуатационной документации дополнительные меры предосторожности для уменьшения ОПАСНОСТИ, связанной с шоком и ожогом от вспышки дуги, если может произойти вспышка дуги.
BB.2.2 Поражение электрическим током
СЕТЕВЫЕ ЦЕПИ представляют собой ОПАСНОСТЬ, связанную с поражением электрическим током. Обычно требуется предоставление допуска для выполнения измерений в цепях, в которых напряжения и токи превышают предельные значения допустимых уровней (см. 6.3). Изготовитель должен предоставить достоверную информацию для ОПЕРАТОРА об ОПАСНОСТИ поражения электрическим током и должен гарантировать, что конструкция оборудования соответствует требованиям настоящего стандарта и других документов, устанавливающих требования к оборудованию (например, IEC 61010-031 для электрических щупов для измерения напряжения).
BB.2.3 Возникновение вспышки дуги
Вспышка дуги возникает, когда проводник (такой как наконечник щупа или измерительная цепь с низким сопротивлением) кратковременно соединяет два высокоэнергетических проводника, а затем цепь разрывают (открывают) или снимают. Это может привести к образованию дуги, ионизирующей воздух. Ионизированный воздух является проводящим и может привести к непрерывному току, протекающему в зоне проводников. В случае достаточной доступной энергии ионизация воздуха продолжит распространяться, и протекающий через воздух ток будет увеличиваться. Результатом этого процесса является взрыв, который может привести к существенным поражениям или смерти ОПЕРАТОРА или наблюдателя. Описание КАТЕГОРИЙ ИЗМЕРЕНИЙ с указанием значений напряжения и энергетических уровней, при которых возможно возникновение вспышки дуги, приведены в приложении AA.
BB.3 Тепловые ожоги
Любой проводник (например, ювелирные украшения) может соединить два высокоэнергетических проводника, которые могут нагреваться от протекающего через них тока, что может привести к появлению ожогов при соприкосновении с ним.
BB.4 Телекоммуникационные сети
Напряжения и токи, постоянно присутствующие в телекоммуникационных сетях, менее значений, которые считают ОПАСНЫМИ ДЛЯ ЖИЗНИ. Однако "кольцевые" напряжения (напряжение, наложенное на телекоммуникационную линию, для индикации о том, что телефонный приемник должен сигнализировать о входящем вызове), как правило, приблизительно равно 90 В переменного тока (a.c.), которое является ОПАСНЫМ ДЛЯ ЖИЗНИ. Если технический персонал должен подключиться к соответствующему проводнику и, одновременно с этим, возникнет "кольцевое" напряжение, он может получить поражение электрическим током.
В EN 41003:1999 установлены требования по безопасности оборудования, соединяемого с телекоммуникационными сетями, а также рассмотрена возможность поражения электрическим током при контакте с телекоммуникационными проводниками. В EN 41003:1999 указано, что при ограничении доступа с помощью соединителей РИСК поражения электрическим током уменьшается до пренебрежимо малого уровня. Однако если в процессе испытаний или измерений проводник делают полностью ДОСТУПНЫМ, то возникает возможность поражения электрическим током.
Изготовитель оборудования, используемого для испытаний и измерений телекоммуникационных сетей, должен знать об ОПАСНОСТИ "кольцевого" напряжения и должен принять соответствующие меры для уменьшения ОПАСНОСТИ (по возможности, путем ограничения доступа к проводникам, а также с помощью соответствующих инструкций и предупреждений для ОПЕРАТОРА). Требования к защите щупов для измерения напряжения, используемых при ОПАСНЫХ для ЖИЗНИ напряжениях, установлены в IEC 61010-031.
BB.5 Измерения токов в индуктивных цепях
При установке измерительного оборудования для измерения тока последовательно с индуктивной цепью, может возникнуть ОПАСНОСТЬ возникновения внезапно открытой цепи (например, при ослаблении подключения щупа или разрыве плавкого предохранителя). Такие внезапные события могут привести к пиковому выбросу индуктивного напряжения через открытую цепь, которые во много раз могут превышать значения РАБОЧЕГО НАПРЯЖЕНИЯ цепи и привести к нарушению изоляции или поражению ОПЕРАТОРА электрическим током.
Изготовитель должен предоставить соответствующие инструкции для ОПЕРАТОРА для гарантии, что измерительные приборы для измерения тока не используют последовательно с индуктивными цепями, или, при необходимости, принять все меры, обеспечивающие уменьшение ОПАСНОСТИ поражения электрическим током в результате пикового выброса напряжения.
BB.6 Цепи, управляемые батареями
Батареи могут представлять ОПАСНОСТЬ для человека, проводящего испытания на них или на цепях, связанных с ними, включающую в себя поражение электрическим током, взрыв и возгорание. Например, могут представлять ОПАСНОСТЬ батареи, используемые для резервных источников питания или батареи для управления двигателями.
ОПАСНОСТЬ может быть связана с поражением электрическим током, взрывом или коротким замыканием ВЫВОДОВ батареи или взрывом от электрической дуги газов, выделяющихся при проведении зарядных циклов батареи.
BB.7 Измерения при повышенных частотах
Некоторое измерительное оборудование может зависеть от индуктивной связи с измеряемыми цепями. В этом случае работа измерительных цепей будет зависеть от частоты измеряемого сигнала. Если измерительный прибор используют для измерения частоты, превышающей установленные для оборудования предельные значения, то циркулирующие токи могут привести к существенному нагреванию некоторых из проводящих частей измерительного прибора.
Изготовитель должен предоставить соответствующие инструкции по использованию таких устройств.
Приложение ДА
(справочное)
СВЕДЕНИЯ О СООТВЕТСТВИИ МЕЖГОСУДАРСТВЕННЫХ СТАНДАРТОВ
ССЫЛОЧНЫМ МЕЖДУНАРОДНЫМ СТАНДАРТАМ
Таблица ДА.1
Обозначение и наименование ссылочного международного стандарта
Степень соответствия
Обозначение и наименование соответствующего межгосударственного стандарта
IEC 61010-1:2010 Безопасность электрических контрольно-измерительных приборов и лабораторного оборудования - Часть 1. Общие требования
IDT
ГОСТ IEC 61010-1-2014 Безопасность электрических контрольно-измерительных приборов и лабораторного оборудования. Часть 1. Общие требования
IEC 61010-2-030:2010 Безопасность электрических контрольно-измерительных приборов и лабораторного оборудования - Часть 2-030. Частные требования для испытательных и измерительных цепей
IDT
ГОСТ IEC 61010-2-030-2013 Безопасность электрических контрольно-измерительных приборов и лабораторного оборудования. Часть 2-030. Частные требования для испытательных и измерительных цепей
IEC 61010-2-033:2012 Безопасность электрических контрольно-измерительных приборов и лабораторного оборудования - Часть 2-033. Частные требования к портативным мультиметрам и другим измерительным приборам для бытового и профессионального применения, обеспечивающим измерение сетевого напряжения
IDT
ГОСТ IEC 61010-2-033-2013 Безопасность электрических контрольно-измерительных приборов и лабораторного оборудования - Часть 2-033. Частные требования к портативным мультиметрам и другим измерительным приборам для бытового и профессионального применения, обеспечивающим измерение сетевого напряжения
ИС МЕГАНОРМ: примечание.
В официальном тексте документа, видимо, допущена опечатка: ГОСТ IEC 61010-031-2013 имеет название "Безопасность электрических контрольно-измерительных приборов и лабораторного оборудования. Часть 031. Требования безопасности к портативным измерительным щупам для электрических измерений и испытаний".
IEC 61010-031:2008 Безопасность электрических контрольно-измерительных приборов и лабораторного оборудования - Часть 031. Частные требования для ручных щупов электрических испытаний и измерений
IDT
ГОСТ IEC 61010-031-2013 Безопасность электрических контрольно-измерительных приборов и лабораторного оборудования - Часть 031. Частные требования для ручных щупов электрических испытаний и измерений
IEC 60664-1:2007 Координация изоляции для оборудования в низковольтных системах. Часть 1. Принципы, требования и испытания
-
IEC 60364-4-44:2003 Электроустановки низковольтные. Часть 4-44. Требования по обеспечению безопасности. Защита от отклонений напряжения и электромагнитных помех
-
<*> Соответствующий межгосударственный стандарт отсутствует. До его утверждения рекомендуется использовать перевод на русский язык данного международного стандарта. Перевод данного международного стандарта находится в Федеральном информационном фонде технических регламентов и стандартов.
Примечание - В настоящей таблице использовано следующее условное обозначение степени соответствия стандартов:
- IDT - идентичные стандарты.
БИБЛИОГРАФИЯ
Применяют раздел "Библиография", приведенный в IEC 61010-1, за исключением следующего.
Дополнение:
Добавить в перечень следующее:
IEC 61010-2-033
(МЭК 61010-2-033)
Safety requirements for electrical equipment for measurement, control, and laboratory use - Part 2-033: Particular requirements for HAND-HELD MULTIMETERS and other METERS, for domestic and professional use, capabale of measuring MAINS voltage (БЕЗОПАСНОСТЬ ЭЛЕКТРИЧЕСКИХ КОНТРОЛЬНО-ИЗМЕРИТЕЛЬНЫХ ПРИБОРОВ И ЛАБОРАТОРНОГО ОБОРУДОВАНИЯ. Часть 2-033. Частные требования к портативным мультиметрам и другим измерительным приборам для бытового и профессионального применения, обеспечивающим измерение сетевого напряжения)
EN 41003:1999
(ЕН 41003:2009)
Particular safety requirements for equipment to be connected to telecommunications networks (Частные требования безопасности для оборудования, соединяемого с телекоммуникационными сетями)