Главная // Актуальные документы // ГОСТ (Государственный стандарт)
СПРАВКА
Источник публикации
М.: Стандартинформ, 2013
Примечание к документу
Документ утратил силу с 1 сентября 2015 года в связи с изданием Приказа Росстандарта от 11.11.2014 N 1509-ст. Взамен введен в действие ГОСТ IEC 61010-2-032-2014.

Документ введен в действие с 1 января 2013 года.
Название документа
"ГОСТ IEC 61010-2-032-2011. Межгосударственный стандарт. Безопасность электрических контрольно-измерительных приборов и лабораторного оборудования. Часть 2-032. Частные требования к клещам амперометрическим ручным для электрических измерений и испытаний"
(введен в действие Приказом Росстандарта от 13.12.2011 N 1042-ст)

"ГОСТ IEC 61010-2-032-2011. Межгосударственный стандарт. Безопасность электрических контрольно-измерительных приборов и лабораторного оборудования. Часть 2-032. Частные требования к клещам амперометрическим ручным для электрических измерений и испытаний"
(введен в действие Приказом Росстандарта от 13.12.2011 N 1042-ст)


Содержание


Введен в действие
Приказом Федерального
агентства по техническому
регулированию и метрологии
от 13 декабря 2011 г. N 1042-ст
МЕЖГОСУДАРСТВЕННЫЙ СТАНДАРТ
БЕЗОПАСНОСТЬ ЭЛЕКТРИЧЕСКИХ КОНТРОЛЬНО-ИЗМЕРИТЕЛЬНЫХ
ПРИБОРОВ И ЛАБОРАТОРНОГО ОБОРУДОВАНИЯ
ЧАСТЬ 2-032
ЧАСТНЫЕ ТРЕБОВАНИЯ
К КЛЕЩАМ АМПЕРОМЕТРИЧЕСКИМ РУЧНЫМ
ДЛЯ ЭЛЕКТРИЧЕСКИХ ИЗМЕРЕНИЙ И ИСПЫТАНИЙ
Safety requirements for electrical equipment
for measurement, control and laboratory use.
Part 2-032. Particular requirements for hand-held
current clamps for electrical measurement and test
(IEC 61010-2-032:1994, IDT)
ГОСТ IEC 61010-2-032-2011
Группа П07
МКС 19.080
Дата введения
1 января 2013 года
Предисловие
Цели, основные принципы и порядок проведения работ по межгосударственной стандартизации установлены ГОСТ 1.0-92 "Межгосударственная система стандартизации. Основные положения" и ГОСТ 1.2-2009 "Межгосударственная система стандартизации. Стандарты межгосударственные, правила и рекомендации по межгосударственной стандартизации. Правила разработки, принятия, применения, обновления и отмены".
Сведения о стандарте
1. Подготовлен Федеральным государственным унитарным предприятием "Всероссийский научно-исследовательский институт стандартизации и сертификации в машиностроении" (ВНИИНМАШ).
2. Внесен Федеральным агентством по техническому регулированию и метрологии.
3. Принят Межгосударственным советом по стандартизации, метрологии и сертификации (Протокол N 40-2011 от 29 ноября 2011 г.).
За принятие проголосовали:
┌───────────────────────┬───────────────────────┬─────────────────────────┐
│ Краткое │ Код страны │Сокращенное наименование │
│ наименование страны │по МК (ИСО 3166) 004-97│ национального органа │
│по МК (ИСО 3166) 004-97│ │ по стандартизации │
├───────────────────────┼───────────────────────┼─────────────────────────┤
│Беларусь │ BY │Госстандарт Республики │
│ │ │Беларусь │
│Казахстан │ KZ │Госстандарт Республики │
│ │ │Казахстан │
│Кыргызстан │ KG │Кыргызстандарт │
│Российская Федерация │ RU │Росстандарт │
│Таджикистан │ TJ │Таджикстандарт │
│Узбекистан │ UZ │Узстандарт │
└───────────────────────┴───────────────────────┴─────────────────────────┘
4. Приказом Федерального агентства по техническому регулированию и метрологии от 13 декабря 2011 г. N 1042-ст межгосударственный стандарт ГОСТ IEC 61010-2-032-2011 введен в действие в качестве национального стандарта Российской Федерации с 1 января 2013 г.
5. Настоящий стандарт идентичен международному стандарту IEC 61010-2-032:1994 Safety requirements for electrical equipment for measurement, control and laboratory use - Part 2-032: Particular requirements for hand-held current clamps for electrical measurement and test (Безопасность электрических контрольно-измерительных приборов и лабораторного оборудования. Часть 2-032. Частные требования к клещам амперометрическим ручным для электрических измерений и испытаний) с поправкой (2003).
Международный стандарт разработан Международной электротехнической комиссией (IEC).
Официальный экземпляр международного стандарта находится в Федеральном информационном фонде технических регламентов и стандартов.
Сведения о соответствии межгосударственных стандартов ссылочным международным стандартам приведены в дополнительном Приложении ДА.
Степень соответствия - идентичная (IDT).
Стандарт подготовлен на основе применения ГОСТ Р МЭК 61010-2-032-99.
6. Введен впервые.
Информация о введении в действие (прекращении действия) настоящего стандарта публикуется в ежемесячно издаваемом указателе "Национальные стандарты".
Информация об изменениях к настоящему стандарту публикуется в ежегодно издаваемом информационном указателе "Национальные стандарты", а текст изменений и поправок - в ежемесячно издаваемых информационных указателях "Национальные стандарты". В случае пересмотра или отмены настоящего стандарта соответствующая информация будет опубликована в ежемесячно издаваемом информационном указателе "Национальные стандарты".
Введение
Настоящий стандарт разработан для поддержки конструкторов, изготовителей и других лиц, заинтересованных в интерпретации основных требований безопасности в соответствии с требованиями европейского законодательства по безопасности машин.
Настоящий стандарт устанавливает нормы, правила и методы испытаний, которые дополняют, изменяют или исключают соответствующие нормы, правила и методы испытаний, изложенные в разделах и (или) пунктах IEC 61010-1.
Номера разделов, подразделов, пунктов и подпунктов в настоящем стандарте соответствуют указанным в IEC 61010-2-032.
Настоящий стандарт применяют совместно с IEC 61010-1.
Номера пунктов, подпунктов и таблиц настоящего стандарта, которые дополняют пункты, подпункты и таблицы IEC 61010-1, дополнены цифрами, начиная с 101. Дополнительное Приложение обозначено буквами LL.
ИС МЕГАНОРМ: примечание.
Методы испытаний, выделенные курсивом в официальном тексте документа, в электронной версии документа отмечены знаком "&".
Методы испытаний выделены курсивом.
1. Область применения и назначение стандарта
Область применения и назначение стандарта - по IEC 61010-1 со следующими изменениями и дополнениями:
1.1. Замена подраздела
Настоящий стандарт распространяется на ручные амперометрические клещи, предназначенные для измерения силы тока в электрической цепи без ее разрыва. Амперометрические клещи могут входить в состав электрического оборудования, включенного в раздел 1 IEC 61010-1, или быть применены в качестве оборудования, указанного в разделе 1 IEC 61010-1.
Настоящий стандарт не распространяется на трансформаторы и преобразователи тока, предназначенные для стационарных установок.
1.4. Изменение подраздела
Седьмое перечисление изложить в следующей редакции:
- переходные перенапряжения первичных входных цепей соответствуют категориям монтажа (категориям перенапряжения) I, II, III и IV (см. таблицу J.101).
2. Нормативные ссылки
Нормативные ссылки - по IEC 61010-1 со следующим дополнением:
Нормативные ссылки - по Приложению LL.
3. Определения
Определения - по IEC 61010-1 со следующими дополнениями:
3.101. Амперометрические клещи и их составные части
3.101.1. Амперометрические клещи: устройство, предназначенное для измерения силы тока в электрической цепи без ее разрыва.
3.101.2. Магнитопровод: часть или части амперометрических клещей, охватывающие токонесущий проводник и позволяющие производить преобразования магнитного поля, создаваемого током, протекающим в этом проводнике.
3.101.3. Окно магнитопровода: отверстие в магнитопроводе для токонесущего проводника.
Примечание. На рисунках 101 и 102 приведены примеры амперометрических клещей и их составных частей.
1 - окно магнитопровода; 2 - магнитопровод
Рисунок 101. Пример амперометрических клещей,
входящих в состав электрического оборудования
согласно IEC 61010-1 в качестве принадлежности
1 - окно магнитопровода; 2- магнитопровод
Рисунок 102. Пример амперометрических клещей,
применяемых в качестве оборудования согласно IEC 61010-1
4. Испытания
Испытания - по IEC 61010-1 со следующим дополнением:
4.4.2.7. Замена подпункта
Электрические выходы должны быть разомкнутыми или их следует замыкать накоротко поочередно по одному в зависимости от того, что хуже.
5. Маркировка и документация
Маркировка и документация - по IEC 61010-1 со следующими изменениями и дополнениями:
5.1. Дополнение к подразделу
5.1.101. Допустимые значения
Амперометрические клещи должны иметь маркировку, указывающую максимальное номинальное значение напряжения относительно земли неизолированного проводника тока при испытании. Указывают также вид напряжения (переменное, постоянное и т.д.). Если это максимальное значение напряжения относится одновременно как к переменному, так и к постоянному току, то вид напряжения не указывают.
К маркировке значения максимального измеряемого напряжения относительно земли добавляют маркировку с указанием категории монтажа (категории перенапряжения) в виде символа CAT @. При указании соответствующей категории монтажа (категории перенапряжения) (см. таблицу J.101) римскими цифрами I, II, III или IV можно заменить символ @.
Должны быть также указаны вид и значение максимальной допустимой силы тока.
&Соответствие требованию проверяют осмотром.&
5.1.2. Изменение пункта и дополнение к нему
Первое перечисление изложить в следующей редакции:
- наименование или зарегистрированный товарный знак изготовителя или поставщика;
- если амперометрические клещи применяют только со специальным оборудованием, то на них должна быть нанесена маркировка этого оборудования или информация об этом должна быть указана в сопроводительной документации. В случае, если информацию указывают только в сопроводительной документации, на амперометрические клещи наносят символ N 14 по таблице 1 IEC 61010-1.
6. Защита от поражения электрическим током
Защита от поражения электрическим током - по IEC 61010-1 со следующими дополнениями:
6.1.1. Дополнить первый абзац перечислением (после третьего):
- токопроводящие части в окне магнитопровода при условии, что они соответствуют требованиям 6.7 и 13.101.
6.4. Дополнение к подразделу
6.4.101. Составные части, которые при измерениях оператор держит в руке
Составные части амперометрических клещей, которые при измерениях оператор держит в руке, должны при нормальном применении отвечать требованиям Приложения D для двойной или усиленной изоляции.
Примечание. Этих требований должно быть достаточно, чтобы выполнить специальные требования к дополнительной защите в условиях одной неисправности, как указано в 6.5.
&Соответствие требованиям проверяют осмотром и измерением зазоров и путей утечки, испытанием электрической прочности изоляции по 6.8 и нахождением доступных частей по 6.2.&
6.7. Дополнение к подразделу
6.7.101. Ограждение или чувствительный индикатор
Для обеспечения защитного зазора и уменьшения опасности касания окна магнитопровода или токонесущего проводника должны быть установлены либо защитное ограждение, либо чувствительный индикатор, предупреждающий оператора о границе доступа.
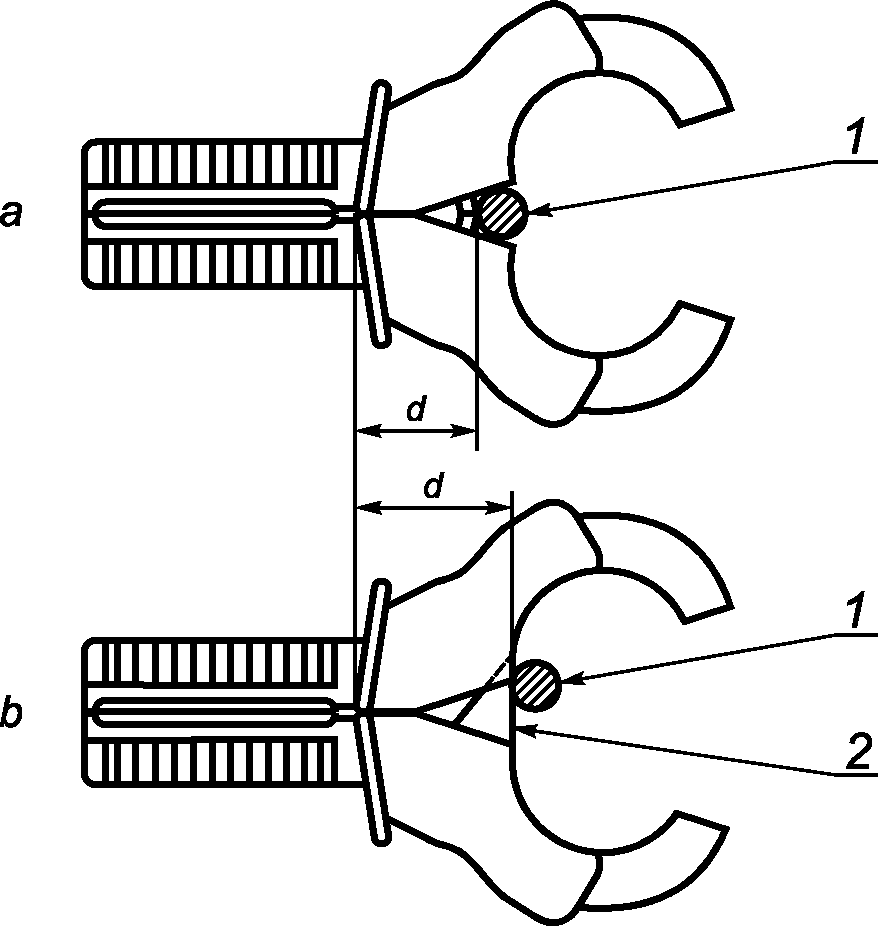
Зазор и путь утечки между защитным ограждением или чувствительным индикатором и опасными цепями должны соответствовать требованиям Приложения D для двойной или усиленной изоляции. На рисунке 103 приведены примеры зазоров d между защитным ограждением или чувствительным индикатором и магнитопроводом, окном магнитопровода и токонесущим проводником (далее - проводник); на рисунке 104 - между защитным ограждением и магнитопроводом.
a - без устройства защиты проводника;
b - с устройством защиты проводника;
1 - проводник; 2 - устройство защиты проводника
Рисунок 103. Минимальные зазоры между защитным ограждением
и проводником при разомкнутых амперометрических клещах
Рисунок 104. Минимальный зазор между
защитным ограждением и магнитопроводом
7. Защита от механических опасностей
Защита от механических опасностей - по IEC 61010-1.
8. Устойчивость к ударам, вибрации и тряске
Устойчивость к ударам, вибрации и тряске - по IEC 61010-1.
9. Температурные ограничения
и защита от распространения огня
Температурные ограничения и защита от распространения огня - по IEC 61010-1.
10. Теплостойкость
Теплостойкость - по IEC 61010-1.
11. Защита от опасностей, связанных с жидкостями
Защита от опасностей, связанных с жидкостями, - по IEC 61010-1.
12. Защита от излучения, в том числе лазерного,
а также от звукового и ультразвукового давления
Защита от излучения, в том числе лазерного, а также от звукового и ультразвукового давления - по IEC 61010-1.
13. Защита от выделяющихся газов и поражений
при взрывах и при разрушении вакуумных приборов
Защита от выделяющихся газов и поражений при взрывах и при разрушении вакуумных приборов - по IEC 61010-1 со следующим дополнением:
13.101. Защита от коротких замыканий
Основная изоляция должна не допускать короткого замыкания между электрическими проводами или шинами в процессе наладки и измерений.
&Соответствие требованию проверяют осмотром и измерением зазоров и путей утечки, а также испытанием электрической прочности изоляции по 6.8.&
14. Компоненты
Компоненты - по IEC 61010-1 со следующим дополнением:
14.101. Измерительные и сигнальные кабели
Измерительные и сигнальные кабели, являющиеся частью оборудования или подключаемые к нему при работе, а также их принадлежности должны соответствовать требованиям IEC 61010-031.
&Соответствие требованию проверяют согласно IEC 61010-031.&
15. Защита блокировками
Защита блокировками - по IEC 61010-1.
16. Измерительные цепи
Измерительные цепи - по IEC 61010-1.
Приложения
Приложения (A, B, C, D, E, F, G, H, J, K, L, M) - по IEC 61010-1 со следующими дополнениями и изменениями:
Приложение D
(обязательное)
Зазоры, пути утечки и испытательные напряжения в оборудовании и печатных платах - по IEC 61010-1 со следующими дополнениями и изменениями:
Дополнить таблицами D.101 и D.102.
Таблица D.101
Основная или дополнительная изоляция. Степень загрязнения 2.
Категория монтажа (категория перенапряжения) IV
┌─────────────┬──────┬───────────────────────────────────────┬──────────────────────────────┐
│Рабочее │Зазор,│ Путь утечки, мм │ Испытательное напряжение, В │
│напряжение │ мм ├───────────────────────┬───────────────┤ │
│(постоянного │ │ Оборудование │Печатные платы │ │
│тока │ ├───────────────────────┤ │ │
│или среднее │ │ Группа материалов │ │ │
│квадрати- │ ├───────┬───────┬───────┼───────┬───────┼──────────┬─────────┬─────────┤
│ческое │ │ I │ II │ III │Без по-│С по- │Импульсное│Среднее │Постоян- │
│значение), В │ │CTI>600│CTI>400│CTI>100│крытия │крытием│1,2/50 мкс│квадрати-│ного тока│
│ │ │ │ │ │CTI>175│CTI>100│ │ческое │или амп- │
│ │ │ │ │ │ │ │ │50/60 Гц,│литудное │
│ │ │ │ │ │ │ │ │1 мин │50/60 Гц,│
│ │ │ │ │ │ │ │ │ │1 мин │
├─────────────┼──────┼───────┼───────┼───────┼───────┼───────┼──────────┼─────────┼─────────┤
│До 50 включ. │ 0,5 │ 0,6 │ 0,85 │ 1,2 │ 0,5 │ 0,5 │ 1500 │ 820 │ 1150 │
│Св. 50 до 100│ 1,5 │ 1,5 │ 1,5 │ 1,5 │ 1,5 │ 1,5 │ 2500 │ 1350 │ 1900 │
│ " 100 " 150│ 3,0 │ 3,0 │ 3,0 │ 3,0 │ 3,0 │ 3,0 │ 4000 │ 2200 │ 3100 │
│ " 150 " 300│ 5,5 │ 5,5 │ 5,5 │ 5,5 │ 5,5 │ 5,5 │ 6000 │ 3250 │ 4600 │
│ " 300 " 600│ 8,0 │ 8,0 │ 8,0 │ 8,0 │ 8,0 │ 8,0 │ 8000 │ 4350 │ 6150 │
│ " 600 " 1000│ 14,0 │ 14,0 │ 14,0 │ 14,0 │ 14,0 │ 14,0 │ 12000 │ 6530 │ 9230 │
└─────────────┴──────┴───────┴───────┴───────┴───────┴───────┴──────────┴─────────┴─────────┘
Таблица D.102
Основная или усиленная изоляция. Степень загрязнения 2.
Категория монтажа (категория перенапряжения) IV
┌─────────────┬──────┬───────────────────────────────────────┬──────────────────────────────┐
│Рабочее │Зазор,│ Путь утечки, мм │ Испытательное напряжение, В │
│напряжение │ мм ├───────────────────────┬───────────────┤ │
│(постоянного │ │ Оборудование │Печатные платы │ │
│тока │ ├───────────────────────┤ │ │
│или среднее │ │ Группа материалов │ │ │
│квадрати- │ ├───────┬───────┬───────┼───────┬───────┼──────────┬─────────┬─────────┤
│ческое │ │ I │ II │ III │Без по-│С по- │Импульсное│Среднее │Постоян- │
│значение), В │ │CTI>600│CTI>400│CTI>100│крытия │крытием│1,2/50 мкс│квадрати-│ного тока│
│ │ │ │ │ │CTI>175│CTI>100│ │ческое │или │
│ │ │ │ │ │ │ │ │50/60 Гц,│амплитуд-│
│ │ │ │ │ │ │ │ │1 мин │ное │
│ │ │ │ │ │ │ │ │ │50/60 Гц,│
│ │ │ │ │ │ │ │ │ │1 мин │
├─────────────┼──────┼───────┼───────┼───────┼───────┼───────┼──────────┼─────────┼─────────┤
│До 50 включ. │ 1,6 │ 1,6 │ 1,7 │ 2,4 │ 1,6 │ 1,6 │ 2550 │ 1400 │ 1950 │
│Св. 50 до 100│ 3,3 │ 3,3 │ 3,3 │ 3,3 │ 3,3 │ 3,3 │ 4250 │ 2300 │ 3250 │
│ " 100 " 150│ 6,5 │ 6,5 │ 6,5 │ 6,5 │ 6,5 │ 6,5 │ 6800 │ 3700 │ 5250 │
│ " 150 " 300│ 11,5 │ 11,5 │ 11,5 │ 11,5 │ 11,5 │ 11,5 │ 10200 │ 5550 │ 7850 │
│ " 300 " 600│ 16,0 │ 16,0 │ 16,0 │ 16,0 │ 16,0 │ 16,0 │ 13600 │ 7400 │ 10450 │
│ " 600 " 1000│ 25,7 │ 25,7 │ 25,7 │ 25,7 │ 25,7 │ 25,7 │ 20400 │ 11100 │ 15700 │
└─────────────┴──────┴───────┴───────┴───────┴───────┴───────┴──────────┴─────────┴─────────┘
Приложение E
(обязательное)
Части оборудования, изоляция между которыми должна соответствовать требованиям настоящего стандарта, - по IEC 61010-1 со следующими дополнениями:
E.101. Защита между двумя или более опасными цепями, имеющими внешние зажимы или доступные части (см. рисунок E.101).
1 - опасная цепь 1; 2 - доступная часть, не связанная
с зажимом защитного заземления; 3 - опасная цепь 2
Рисунок E.101
Изоляция между каждой цепью и наружными поверхностями или доступными частями должна соответствовать требованиям подраздела E.1 для опасных цепей.
Для проверки части X выбирают наиболее тяжелое из следующих испытаний:
B (необходимо испытание основной изоляции): опасная цепь 1 и опасная цепь 2 замкнуты, между ними прикладывают испытательное напряжение, соответствующее наибольшему рабочему напряжению (см. Приложение D);
D (необходимо испытание двойной или усиленной изоляции): опасная цепь 1 замкнута, испытательное напряжение, соответствующее наибольшему рабочему напряжению цепи 1, поочередно прикладывают между опасной цепью 1 и каждым из зажимов опасной цепи 2;
D (необходимо испытание двойной или усиленной изоляции): опасная цепь 2 замкнута, испытательное напряжение, соответствующее наибольшему рабочему напряжению цепи 2, поочередно прикладывают между опасной цепью 2 и каждым из зажимов опасной цепи 1.
Приложение J
(справочное)
Изоляция токопроводящих частей их взаимным расположением - по IEC 61010-1 со следующими изменениями:
Исключить из шестого абзаца предложение:
Эту категорию в настоящем стандарте не рассматривают.
Замена таблицы J.1.
Таблица J.101
Максимальное импульсное напряжение, к воздействию
которого должно быть устойчиво оборудование
В вольтах
┌──────────┬───────────┬────────────┬─────────────────────────────────────┐
│Трехфазные│Трехфазные │ Напряжение │ Максимальные импульсные напряжения │
│четырех- │трех- │фаза - земля│ для категорий монтажа (категорий │
│проводные │проводные │ │ перенапряжения) │
│сети │сети │ ├─────────┬────────┬────────┬─────────┤
│ │ │ │ I │ II │ III │ IV │
├──────────┼───────────┼────────────┼─────────┼────────┼────────┼─────────┤
│ - │ - │ 50 │ 330 │ 500 │ 800 │ 1500 │
├──────────┼───────────┼────────────┼─────────┼────────┼────────┼─────────┤
│ 66/115 │ 120 │ 100 │ 500 │ 800 │ 1500 │ 2500 │
├──────────┼───────────┼────────────┼─────────┼────────┼────────┼─────────┤
│ 120/208 │ 240 │ 150 │ 800 │ 1500 │ 2500 │ 4000 │
│ 120/240 │ │ │ │ │ │ │
├──────────┼───────────┼────────────┼─────────┼────────┼────────┼─────────┤
│ 230/400 │ 500 │ 300 │ 1500 │ 2500 │ 4000 │ 6000 │
│ 277/480 │ │ │ │ │ │ │
├──────────┼───────────┼────────────┼─────────┼────────┼────────┼─────────┤
│ 400/690 │ 1000 │ 600 │ 2500 │ 4000 │ 6000 │ 8000 │
├──────────┼───────────┼────────────┼─────────┼────────┼────────┼─────────┤
│ - │ - │ 1000 │ 4000 │ 6000 │ 8000 │ 12000 │
└──────────┴───────────┴────────────┴─────────┴────────┴────────┴─────────┘
Приложение LL
(обязательное)
НОРМАТИВНЫЕ ССЫЛКИ
Для применения настоящего стандарта необходимы следующие ссылочные стандарты. Для датированных ссылок применяют только указанное издание ссылочного стандарта:
IEC 61010-1:1990. Safety requirements for electrical equipment for measurement, control and laboratory use; part 031: general requirements (Электрооборудование для проведения измерений, управления и лабораторного использования. Требования безопасности. Часть 1: Общие требования)
IEC 61010-031:2002. Безопасность электрических контрольно-измерительных приборов и лабораторного оборудования. Часть 031. Требования безопасности к щупам электрическим ручным для электрических измерений и испытаний.
Приложение ДА
(справочное)
СВЕДЕНИЯ О СООТВЕТСТВИИ МЕЖГОСУДАРСТВЕННЫХ
СТАНДАРТОВ ССЫЛОЧНЫМ МЕЖДУНАРОДНЫМ СТАНДАРТАМ
Таблица ДА.1
Обозначение и наименование
международного стандарта
Степень
соответствия
Обозначение и наименование
соответствующего
межгосударственного стандарта
IEC 61010-1:1990.
Безопасность электрических
контрольно-измерительных
приборов и лабораторного
оборудования. Часть 1. Общие
требования
MOD
ГОСТ 12.2.091-2002
(IEC 61010-1:1990).
Безопасность электрических
контрольно-измерительных
приборов и лабораторного
оборудования. Часть 1. Общие
требования
IEC 61010-031:2002.
Безопасность электрических
контрольно-измерительных
приборов и лабораторного
оборудования. Часть 031.
Требования безопасности к
щупам электрическим ручным
для электрических измерений
и испытаний
IDT
Безопасность электрических
контрольно-измерительных
приборов и лабораторного
оборудования. Часть 031.
Требования безопасности к
щупам электрическим ручным
для электрических измерений
и испытаний
Примечание. В настоящей таблице использованы следующие условные
обозначения степени соответствия стандартов:
IDT - идентичные стандарты;
MOD - модифицированные стандарты.