Главная // Актуальные документы // ГОСТ (Государственный стандарт)СПРАВКА
Источник публикации
М.: Стандартинформ, 2013
Примечание к документу
Документ утратил силу с 1 сентября 2015 года в связи с изданием
Приказа Росстандарта от 02.04.2014 N 298-ст. Взамен введен в действие
ГОСТ IEC 61010-031-2013.
Документ включен в
Перечень стандартов, в результате применения которых на добровольной основе обеспечивается соблюдение требований технического
регламента Таможенного союза "О безопасности низковольтного оборудования" (ТР ТС 004/2011) и в
Перечень стандартов, содержащих правила и методы исследований (испытаний) и измерений, в том числе правила отбора образцов, необходимые для применения и исполнения требований технического
регламента Таможенного союза "О безопасности низковольтного оборудования" (ТР ТС 004/2011) и осуществления оценки (подтверждения) соответствия продукции (
Решение Комиссии Таможенного союза от 16.08.2011 N 768).
Документ
введен в действие с 1 января 2013 года.
Название документа
"ГОСТ IEC 61010-031-2011. Межгосударственный стандарт. Безопасность электрических контрольно-измерительных приборов и лабораторного оборудования. Часть 031. Требования безопасности к щупам электрическим ручным для электрических измерений и испытаний"
(введен в действие Приказом Росстандарта от 13.12.2011 N 1041-ст)
"ГОСТ IEC 61010-031-2011. Межгосударственный стандарт. Безопасность электрических контрольно-измерительных приборов и лабораторного оборудования. Часть 031. Требования безопасности к щупам электрическим ручным для электрических измерений и испытаний"
(введен в действие Приказом Росстандарта от 13.12.2011 N 1041-ст)
агентства по техническому
регулированию и метрологии
от 13 декабря 2011 г. N 1041-ст
МЕЖГОСУДАРСТВЕННЫЙ СТАНДАРТ
БЕЗОПАСНОСТЬ ЭЛЕКТРИЧЕСКИХ КОНТРОЛЬНО-ИЗМЕРИТЕЛЬНЫХ
ПРИБОРОВ И ЛАБОРАТОРНОГО ОБОРУДОВАНИЯ
ЧАСТЬ 031
ТРЕБОВАНИЯ БЕЗОПАСНОСТИ К ЩУПАМ ЭЛЕКТРИЧЕСКИМ РУЧНЫМ
ДЛЯ ЭЛЕКТРИЧЕСКИХ ИЗМЕРЕНИЙ И ИСПЫТАНИЙ
Safety requirements for electrical equipment
for measurement, control and laboratory use. Part 031.
Safety requirements for hand-held probe assemblies
for electrical measurement and test
(IEC 61010-031:2002, IDT)
ГОСТ IEC 61010-031-2011
Дата введения
1 января 2013 года
Цели, основные принципы и порядок проведения работ по межгосударственной стандартизации установлены
ГОСТ 1.0-92 "Межгосударственная система стандартизации. Основные положения" и
ГОСТ 1.2-2009 "Межгосударственная система стандартизации. Стандарты межгосударственные, правила и рекомендации по межгосударственной стандартизации. Правила разработки, принятия, применения, обновления и отмены".
1. Подготовлен Федеральным государственным унитарным предприятием "Всероссийский научно-исследовательский институт стандартизации и сертификации в машиностроении" (ВНИИНМАШ).
2. Внесен Федеральным агентством по техническому регулированию и метрологии.
3. Принят Межгосударственным советом по стандартизации, метрологии и сертификации (протокол N 40 от 29 ноября 2011 г.).
За принятие проголосовали:
┌────────────────────┬─────────────────┬──────────────────────────────────┐
│Краткое наименование│Код страны по МК │ Сокращенное наименование │
│ 3166) 004-97 │ │ стандартизации │
├────────────────────┼─────────────────┼──────────────────────────────────┤
│ Беларусь │ BY │ Госстандарт Республики Беларусь │
│ Казахстан │ KZ │ Госстандарт Республики Казахстан │
│ Кыргызстан │ KG │ Кыргызстандарт │
│ Российская │ RU │ Росстандарт │
│ Федерация │ │ │
│ Таджикистан │ TJ │ Таджикстандарт │
│ Узбекистан │ UZ │ Узстандарт │
└────────────────────┴─────────────────┴──────────────────────────────────┘
4.
Приказом Федерального агентства по техническому регулированию и метрологии от 13 декабря 2011 г. N 1041-ст межгосударственный стандарт ГОСТ IEC 61010-031-2011 введен в действие в качестве национального стандарта Российской Федерации с 1 января 2013 г.
5. Настоящий стандарт идентичен международному стандарту IEC 61010-031:2002 Safety requirements for electrical equipment for measurement, control and laboratory use - Part 031: Safety requirements for hand-held probe assemblies for electrical measurement and test (Безопасность электрических контрольно-измерительных приборов и лабораторного оборудования. Часть 031. Требования безопасности к щупам электрическим ручным для электрических измерений и испытаний).
Международный стандарт разработан Международной электротехнической комиссией (IEC).
Официальный экземпляр международного стандарта находится в Федеральном информационном фонде технических регламентов и стандартов.
Сведения о соответствии межгосударственных стандартов ссылочным международным стандартам приведены в дополнительном
Приложении ДА.
Степень соответствия - идентичная (IDT).
6. Введен впервые.
Информация о введении в действие (прекращении действия) настоящего стандарта публикуется в ежемесячно издаваемом указателе "Национальные стандарты".
Информация об изменениях к настоящему стандарту публикуется в ежегодно издаваемом информационном указателе "Национальные стандарты", а текст изменений и поправок - в ежемесячно издаваемых информационных указателях "Национальные стандарты". В случае пересмотра или отмены настоящего стандарта соответствующая информация будет опубликована в ежемесячно издаваемом информационном указателе "Национальные стандарты".
Настоящий стандарт устанавливает требования безопасности к ручным электрическим щупам, а также методы их испытаний.
| | ИС МЕГАНОРМ: примечание. Текст, выделенный курсивом в официальном тексте документа, в электронной версии документа отмечен знаком "#". | |
Методы испытаний в тексте настоящего стандарта выделены курсивом.
Термины, определения которых приведены в настоящем стандарте, выделены прописными буквами.
1. Область применения и назначение стандарта
Настоящий стандарт распространяется на ручные и управляемые руками электрические щупы описанных ниже типов (далее - щупы), предназначенные для профессионального использования, профессионального обучения и применения в промышленности, а также на их принадлежности. Щупы применяют в качестве связующего звена между испытуемым объектом и контрольно-измерительным или испытательным оборудованием. Они могут быть закреплены на оборудовании или являться съемной принадлежностью:
a) низковольтные и высоковольтные щупы без ослабления (тип A) - щупы, предназначенные для прямого присоединения к цепям с напряжением, превышающим 33 В среднего квадратического или 46,7 В амплитудного значения переменного тока, или 70 В постоянного тока, но не превышающим 63 кВ. Указанные щупы не содержат активных компонентов и не предназначены для использования в качестве делителей напряжения или для обработки сигнала, но могут содержать пассивные компоненты, не ослабляющие сигнал, такие как, например, плавкие предохранители;
b) высоковольтные щупы с ослаблением сигнала или делителем (тип B). Щупы предназначены для прямого присоединения к вторичным напряжениям свыше 1 кВ, но не превышающим 63 кВ. Функция ослабления сигнала (делителя) может быть реализована полностью внутри щупа или частично в контрольно-измерительном или испытательном оборудовании, с которым используется щуп;
c) низковольтные щупы с ослаблением сигнала или делителем (тип C). Щупы, предназначенные для прямого присоединения к цепям с напряжением, превышающим 33 В среднего квадратического или 46,7 В амплитудного значения переменного тока, или 70 В постоянного тока, но не превышающим 1 кВ действующего значения переменного тока или 1,5 кВ постоянного тока. Функция ослабления сигнала (делителя) может быть реализована полностью внутри щупов или частично в контрольно-измерительном или испытательном оборудовании, с которым используется щуп.
| | ИС МЕГАНОРМ: примечание. В официальном тексте документа, видимо, допущена опечатка: пункт [6] отсутствует. | |
Примечание. К щупам, которые не могут быть отнесены к типам A, B, C или в которых предусмотрено питание от сети, или которые имеют другие особенности, не определенные в настоящем стандарте, могут также применяться соответствующие требования других частей IEC [6].
1.2.1. Область назначения
Настоящий стандарт устанавливает требования к устройству и конструкции щупов с целью обеспечения защиты ОПЕРАТОРА и окружающей среды от следующих опасностей:
a) поражения электрическим током или ожога (см.
разделы 6,
10 и
11);
c) чрезмерной температуры (см.
раздел 9);
Примечание. Следует принимать во внимание дополнительные требования, которые могут быть определены органами, ответственными за здоровье и безопасность персонала.
1.2.2. Ограничения области назначения
Настоящий стандарт не распространяется на:
a) надежность, функциональные или другие характеристики щупа;
b) эффективность транспортной упаковки;
c) обслуживание (ремонт);
d) защиту персонала, проводящего обслуживание (ремонт).
Примечание. Предполагается, что обслуживающий персонал проявляет разумную осторожность в опасных случаях. В конструкции щупа должна быть предусмотрена соответствующая защита, а в эксплуатационных документах - указаны все возможные опасности.
1.3. Проверка соответствия требованиям стандарта
Настоящий стандарт также определяет методы проверки соответствия щупа требованиям настоящего стандарта путем осмотра и испытания типа.
1.4. Условия окружающей среды
Настоящий стандарт распространяется на щупы, рассчитанные на безопасное применение по крайней мере при следующих условиях:
a) высота до 2000 м или более 2000 м, если это определено изготовителем;
b) температура от 5 °C до 40 °C или ниже 5 °C, или свыше 40 °C, если это определено изготовителем;
c) максимальная относительная влажность 80% для температур до 31 °C, линейно уменьшающаяся до относительной влажности 50% при температуре 40 °C;
d) нормированная СТЕПЕНЬ ЗАГРЯЗНЕНИЯ окружающей среды.
В настоящем стандарте использованы ссылки на следующие международные стандарты:
ISO 7000:2004
<*> Graphical symbols for use on equipment - Index and synopsis (Графические обозначения, наносимые на аппаратуру - Указатель и краткий обзор)
IEC 60060 (все части) High-voltage test techniques (Высоковольтная испытательная техника)
IEC 60417 (все части) Graphical symbols for use on equipment (Графические обозначения, наносимые на аппаратуру)
IEC 60529 Classification of degrees of protection provided by enclosures (Степени защиты, обеспечиваемой оболочками (Код IP))
IEC 60664-3:2010
<**> Insulation coordination for equipment within low-voltage systems - Part 3: Use of coating, potting or moulding for protection against pollution (Координация изоляции оборудования для низковольтных систем. Часть 3. Использование покрытий для достижения координации изоляции печатных плат в сборе)
--------------------------------
<*> Действует взамен ISO 7000:1989.
<**> Действует взамен IEC 60664-3(2003)/Amd.1(2010)/Cor.1(2010).
В настоящем стандарте применены следующие термины с соответствующими определениями: термины "напряжение" и "ток" (если не определено иное) означают действующие значения переменной, постоянной или комбинации переменной и постоянной величин. Термин "сеть питания" относится к электрическому питанию с напряжением, превышающим указанные в
6.3.2.1.
3.1. Части и принадлежности
| | ИС МЕГАНОРМ: примечание. В официальном тексте документа, видимо, допущена опечатка: пункт [1] отсутствует. | |
3.1.1. СОЕДИНИТЕЛЬ (TERMINAL): компонент, обеспечивающий контакт устройства с внешним проводником (разъем, клемма и т.д.) (см. [1], позиция 151-01-03).
Примечание. СОЕДИНИТЕЛЬ может содержать один или несколько контактов, исполненных в виде углублений, штырей, элементов трубчатых соединений и т.д.
3.1.2. КОЖУХ (ENCLOSURE): часть, обеспечивающая защиту от определенных внешних воздействий и защищающая от прямого контакта с другими частями в любых направлениях.
3.1.3. БАРЬЕР (BARRIER): часть, обеспечивающая защиту против прямого контакта в направлении обычного прикосновения.
Примечание. КОЖУХИ И БАРЬЕРЫ могут обеспечивать также и защиту от распространения огня (см.
9.1).
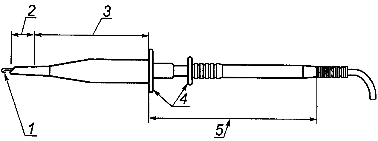
3.1.4. ЭЛЕКТРИЧЕСКИЙ ЩУП (PROBE ASSEMBLY): устройство для создания временного контакта между испытательным или контрольно-измерительным оборудованием и точкой испытуемой или измеряемой электрической цепи. Щуп включает в себя кабели, провода и иные элементы, необходимые для соединения его со средствами измерения или испытания.
Примечание. Примеры щупов и назначения их частей приведены на рисунках 1 и
2.
1 - части соединителей (разъемов); 2 - НАКОНЕЧНИК; 3 - КОЖУХ
щупа; 4 - к контрольно-измерительному или испытательному
оборудованию; 5 - зажим "крокодил"; 6 - СОЕДИНИТЕЛЬ РАБОЧЕГО
ЗАЗЕМЛЕНИЯ; 7 - разъем; 8 - принадлежности щупа
Рисунок 1. Щупы типов A и C
1 - НАКОНЕЧНИК; 2 - к контрольно-измерительному
или испытательному оборудованию; 3 - части соединителей;
4 - БАРЬЕР; 5 - область щупа, соприкасающаяся с рукой
3.1.5. НАКОНЕЧНИК ЩУПА (PROBE TIP): часть щупа, присоединяемая непосредственно к точке испытания или измерения.
3.1.6. СОЕДИНИТЕЛЬ РАБОЧЕГО ЗАЗЕМЛЕНИЯ (REFERENCE CONNECTOR): устройство, соединяющее опорную точку в испытательном или контрольно-измерительном оборудовании (обычно зажим заземления) с опорной точкой измеряемой или испытуемой электрической цепи.
3.1.7. ИНСТРУМЕНТ (TOOL): любое устройство (отвертка, ключ или монета), помогающее человеку выполнить механическое действие.
3.2. Электрические величины (Electrical quantities)
| | ИС МЕГАНОРМ: примечание. В официальном тексте документа, видимо, допущена опечатка: пункт [1] отсутствует. | |
3.2.1. НОМИНАЛЬНОЕ ЗНАЧЕНИЕ (RATED VALUE): числовое значение, предписанное обычно производителем для определения условий функционирования компонента, прибора или оборудования (см. [1], позиция 151-04-03).
3.2.2. ДИАПАЗОН НОМИНАЛЬНЫХ ЗНАЧЕНИЙ (RATING): совокупность НОМИНАЛЬНЫХ ЗНАЧЕНИЙ и условий функционирования (см. [1], позиция 151-04-04).
3.2.3. РАБОЧЕЕ НАПРЯЖЕНИЕ (WORKING VOLTAGE): самое высокое напряжение, которое может непрерывно прикладываться к изоляции во время НОРМАЛЬНОГО ПРИМЕНЕНИЯ.
Примечание. В том числе как при НОРМАЛЬНЫХ УСЛОВИЯХ, так и в условиях разомкнутой цепи.
3.3.1. ИСПЫТАНИЕ ТИПА (TIPE TEST): испытание одного или нескольких образцов оборудования (или частей оборудования), изготовленного по общему проекту (техническим условиям), с целью показать, что схема и конструкция устройства соответствуют одному или нескольким требованиям настоящего стандарта.
3.4. Безопасность (Safety terms)
3.4.1. ДОСТУПНАЯ ЧАСТЬ (ACCESSIMBLE OF A PART): часть, к которой можно прикоснуться обычным испытательным пальцем или штырем, применяемым в соответствии с
6.2.
3.4.2. ОПАСНАЯ ЧАСТЬ (HAZARDOUS LIVE): часть, способная вызвать поражение электрическим током или ожог при НОРМАЛЬНОМ ПРИМЕНЕНИИ или в УСЛОВИЯХ ОДНОЙ НЕИСПРАВНОСТИ (соответствующие значения величин, относящиеся к НОРМАЛЬНЫМ УСЛОВИЯМ, приведены в
6.3.1, а повышенные значения, соответствующие УСЛОВИЯМ ОДНОЙ НЕИСПРАВНОСТИ, - в
6.3.2).
3.4.3. ВЫСОКАЯ НАДЕЖНОСТЬ (HIGH INTEGRITY): отсутствие риска возникновения ОПАСНОГО дефекта. Часть с ВЫСОКОЙ НАДЕЖНОСТЬЮ рассматривают как часть, которая должна выдержать испытания в УСЛОВИЯХ ОДНОЙ НЕИСПРАВНОСТИ.
3.4.4. ЗАЩИТНЫЙ ИМПЕДАНС (PROTECTIVE IMPEDANCE): компонент, совокупность компонентов или комбинация ОСНОВНОЙ ИЗОЛЯЦИИ и ограничителя тока или напряжения, соединяющий опасные части и проводящие ДОСТУПНЫЕ ЧАСТИ. Конструкция и надежность защитного сопротивления должны обеспечивать степень защиты, соответствующую требованиям настоящего стандарта, как при нормальных условиях, так и в УСЛОВИЯХ ОДНОЙ НЕИСПРАВНОСТИ.
3.4.5. НОРМАЛЬНОЕ ПРИМЕНЕНИЕ (NORMAL USE): функционирование щупа, включая ненагруженное резервное состояние, соответствующее руководству по эксплуатации или очевидному назначению.
Примечание. В большинстве случаев НОРМАЛЬНОЕ ПРИМЕНЕНИЕ также предполагает и наличие НОРМАЛЬНЫХ УСЛОВИЙ, так как руководство по эксплуатации обычно содержит запрещение использовать оборудование в условиях, отличных от НОРМАЛЬНЫХ УСЛОВИЙ.
3.4.6. НОРМАЛЬНЫЕ УСЛОВИЯ (NORMAL CONDITION): условия функционирования, при которых все средства защиты против опасностей остаются неповрежденными.
3.4.7. УСЛОВИЕ ОДНОЙ НЕИСПРАВНОСТИ (SINGLE FAIL CONDITION): состояние, при котором одно из средств защиты от ОПАСНОСТЕЙ неисправно или имеется одно нарушение, которое могло бы вызвать ОПАСНОСТЬ.
Примечание. Если возникновение одной неисправности неизбежно вызывает другую неисправность, обе неисправности рассматривают как единое УСЛОВИЕ ОДНОЙ НЕИСПРАВНОСТИ.
3.4.8. ОПЕРАТОР (OPERATOR): лицо, использующее оборудование по прямому назначению.
Примечание. ОПЕРАТОР должен пройти соответствующую подготовку.
3.4.9. ОТВЕТСТВЕННЫЙ ОРГАН (RESPONSIBLE BODY): лицо или группа лиц, ответственных за применение, техническое обслуживание и ремонт оборудования и подготовку операторов.
3.4.10. ВЛАЖНОЕ МЕСТОПОЛОЖЕНИЕ (WET LOCATION): место, где может присутствовать вода или другая проводящая жидкость, что может понизить сопротивление контакта между телом человека и оборудованием или контакта между телом человека и окружающей средой из-за смачивания.
3.4.11. ОПАСНОСТЬ (HAZARD): потенциальный источник вреда (см.
1.2).
3.5. Изоляция (Insulation):
3.5.1. ОСНОВНАЯ ИЗОЛЯЦИЯ (BASIC INSULATION): изоляция, неисправность которой может привести к опасности поражения электрическим током.
Примечание. ОСНОВНАЯ ИЗОЛЯЦИЯ может иметь также другие назначения.
3.5.2. ДОПОЛНИТЕЛЬНАЯ ИЗОЛЯЦИЯ (SUPPLEMENTARY INSULATION): изоляция, применяемая независимо в дополнение к ОСНОВНОЙ ИЗОЛЯЦИИ для обеспечения защиты от поражения электрическим током в случае нарушения ОСНОВНОЙ ИЗОЛЯЦИИ.
3.5.3. ДВОЙНАЯ ИЗОЛЯЦИЯ (DOUBLE INSULATION): изоляция, включающая в себя ОСНОВНУЮ ИЗОЛЯЦИЮ и ДОПОЛНИТЕЛЬНУЮ ИЗОЛЯЦИЮ.
3.5.4. УСИЛЕННАЯ ИЗОЛЯЦИЯ (REINFORCED INSULATION): изоляция, обеспечивающая защиту от поражения электрическим током, не меньшую, чем ДВОЙНАЯ ИЗОЛЯЦИЯ.
Примечание. УСИЛЕННАЯ ИЗОЛЯЦИЯ может включать в себя несколько слоев, которые в отличие от ОСНОВНОЙ ИЗОЛЯЦИИ и ДОПОЛНИТЕЛЬНОЙ ИЗОЛЯЦИИ не могут быть испытаны раздельно.
3.5.5. ЗАГРЯЗНЕНИЕ (POLLUTION): присутствие любого постороннего твердого, жидкого или газообразного (ионизированные газы) материала, который может снизить электрическую прочность диэлектрика или уменьшить поверхностное сопротивление.
3.5.6. СТЕПЕНЬ ЗАГРЯЗНЕНИЯ (POLLUTION DEGREE): в настоящем стандарте для оценки ЗАЗОРОВ применяют одну из трех степеней ЗАГРЯЗНЕНИЯ микросреды:
3.5.6.1. СТЕПЕНЬ ЗАГРЯЗНЕНИЯ 1 (POLLUTION DEGREE 1): ЗАГРЯЗНЕНИЕ отсутствует или является сухим и непроводящим.
Примечание. Эта степень ЗАГРЯЗНЕНИЯ не влияет на свойства изоляции.
3.5.6.2. СТЕПЕНЬ ЗАГРЯЗНЕНИЯ 2 (POLLUTION DEGREE 2): присутствует только непроводящее загрязнение. Однако следует принимать во внимание возможное временное возникновение проводимости из-за конденсации.
3.5.6.3. СТЕПЕНЬ ЗАГРЯЗНЕНИЯ 3 (POLLUTION DEGREE 3): присутствует проводящее ЗАГРЯЗНЕНИЕ или сухое непроводящее ЗАГРЯЗНЕНИЕ, которое становится проводящим из-за конденсации, которая тоже возможна.
3.5.7. ЗАЗОР (CLEARANCE): кратчайшее расстояние по воздуху между двумя токопроводящими частями.
| | ИС МЕГАНОРМ: примечание. В официальном тексте документа, видимо, допущена опечатка: пункт [1] отсутствует. | |
3.5.8. ПУТЬ УТЕЧКИ (CREEPAGE DISTANCE): кратчайшее расстояние по поверхности изоляционного материала между двумя токопроводящими частями (см. [1], позиция 151-03-37).
Под испытаниями в настоящем стандарте понимают испытания типа, которым подвергают образцы щупов или их части. Цель испытаний состоит в том, чтобы убедиться в соответствии устройств и конструкции щупа настоящему стандарту.
Испытания компонентов или частей щупа, объединенные требованиями относящихся к ним стандартов, могут не проводиться повторно при испытаниях электрического щупа в целом.
Если щуп подпадает под определения нескольких типов щупов (см.
1.1), то он должен быть испытан в соответствии с требованиями, предъявляемыми к каждому из этих типов.
#Соответствие требованиям настоящего стандарта проверяют проведением всех предписанных испытаний щупа, за исключением тех, результат которых по заключению экспертизы неизбежно будет положительным. Испытания проводят в соответствии со следующими пунктами настоящего стандарта:
a) испытания при НОРМАЛЬНЫХ УСЛОВИЯХ -
4.3;
b) испытания при УСЛОВИИ ОДНОЙ НЕИСПРАВНОСТИ -
4.4.#
Примечания.
1. Если нормированный диапазон условий окружающей среды для щупов шире указанного в
1.4, изготовитель должен удостовериться (например, соответствующим изменением требований к испытаниям или дополнительных испытаний), что требования безопасности настоящего стандарта выполняются во всем диапазоне.
2. Если при проведении испытания возникает какая-либо неопределенность относительно точных значений приложенных или измеренных величин (например, напряжения), вызванная погрешностью используемых средств измерений, то:
- изготовитель должен гарантировать, что было применено, по крайней мере, указанное испытательное значение;
- испытатель должен гарантировать, что было применено испытательное значение, не превышающее указанное.
3. Щупы, которые испытывались при испытании типа, могут быть непригодны для дальнейшего применения по назначению из-за остаточных явлений. По этой причине испытания типа не следует проводить после того, как устройство изготовлено и уже не находится у изготовителя.
4.2. Последовательность испытаний
Последовательность проведения испытаний устанавливают произвольно, если иное не определено в настоящем стандарте. Испытуемые щупы тщательно осматривают после каждого испытания. Если в результате испытания возникает сомнение в том, что результаты ранее проведенных испытаний не изменятся при повторных испытаниях, то последовательность испытаний изменяют и ранее проведенные испытания повторяют. Испытания при УСЛОВИИ ОДНОЙ НЕИСПРАВНОСТИ могут повредить щуп, и поэтому допускается их проводить после испытаний при НОРМАЛЬНЫХ УСЛОВИЯХ.
4.3. Испытания в нормальных условиях
4.3.1. Условия окружающей среды
Если иное не установлено в настоящем стандарте, испытания должны проводиться при следующих условиях окружающей среды (если это не противоречит
1.4):
a) температура - от 15 °C до 35 °C;
b) относительная влажность - не более 75%;
c) атмосферное давление - от 75 до 106 кПа (от 562 до 795 мм рт. ст.);
d) отсутствие инея, росы, проникающей влаги, дождя, солнечного облучения и т.д.
Если иное не установлено в настоящем стандарте, испытания должны быть проведены на щупах, собранных для НОРМАЛЬНОГО ПРИМЕНЕНИЯ, при наименее благоприятных условиях по
4.3.3 -
4.3.9.
Если размеры или масса щупа не позволяют провести некоторые испытания щупа в сборе, допускаются испытания его составных частей, если нет сомнений в том, что собранный щуп в этом случае будет соответствовать требованиям настоящего стандарта.
Щуп может находиться в любом положении, допускаемом при НОРМАЛЬНОМ ПРИМЕНЕНИИ, не препятствующем его вентиляции.
4.3.4. Принадлежности
Принадлежности и те части щупа, замену которых ОПЕРАТОРОМ производитель допускает или рекомендует, во время испытания могут быть как присоединены, так и отсоединены от щупа.
4.3.5. Оболочки, чехлы и съемные части
Оболочки, чехлы или части щупа, которые могут быть сняты без использования ИНСТРУМЕНТОВ, могут быть как сняты, так и оставлены на своих местах.
4.3.6. Входные и выходные напряжения
Входные и выходные напряжения, включая напряжения холостого хода, могут быть установлены любые в пределах ДИАПАЗОНА НОМИНАЛЬНЫХ ЗНАЧЕНИЙ.
4.3.7. Органы управления
Органы управления, которыми может пользоваться ОПЕРАТОР, могут быть установлены в любые положения, кроме запрещенных изготовителем и отмеченных непосредственно на щупе специальной маркировкой.
4.3.8. Соединения
Щуп может быть присоединен, как это требуется для выполнения его функций, или не присоединен.
Щупы, предназначенные для применения в кратковременном или прерывистом режимах, должны быть проверены в течение самого длинного периода работы и самого короткого перерыва между включениями, допускаемыми инструкциями производителя.
4.4. Испытания в условиях одной неисправности
4.4.1. Общие положения
К испытаниям предъявляют следующие требования:
a) исследование щупа и изучение его схемы обычно позволяют предположить условия возникновения дефектов, которые могут привести к возникновению ОПАСНОСТИ, как она определена в соответствии с требованиями настоящего стандарта, и которые должны быть созданы;
b) испытания неисправностей щупа следует проводить только если не может быть выявлено, что неисправность не повлечет за собой возникновения какой-либо ОПАСНОСТИ;
c) щуп следует испытывать при наименее благоприятных комбинациях условий (см.
4.3). Эти комбинации могут быть различны для разных дефектов и должны быть установлены в нормативных документах на щупы для каждого испытания.
4.4.2. Введение условий неисправности
Условия неисправности должны включать в себя перечисленные в
4.4.2.1 -
4.4.2.4 и быть созданы только по одному в наиболее удобной последовательности. Не следует испытывать щуп при нескольких одновременно существующих неисправностях, если только другие неисправности не возникли вследствие испытаний.
После каждого испытания в состоянии неисправности щуп или его часть должны быть испытаны в соответствии с
4.4.4 в той части, которая применима в данном случае.
4.4.2.1. Щупы или их части, предназначенные для работы в кратковременном или прерывистом режимах
Указанные щупы и (или) их части следует испытывать в непрерывном режиме, если непрерывная работа щупа может стать следствием возникновения УСЛОВИЯ ОДНОЙ НЕИСПРАВНОСТИ.
4.4.2.2. Выходы
Выходы щупов типов B и C должны быть однократно замкнуты.
4.4.2.3. Изоляция между цепями и частями щупов
Цепи или части щупа, изоляция между которыми имеет более низкий уровень, чем ОСНОВНАЯ ИЗОЛЯЦИЯ, должны быть закорочены для проверки невозможности возгорания.
Примечание. Альтернативный метод проверки защиты от возгорания изложен в
9.1.
Компоненты (кроме компонентов с ВЫСОКОЙ НАДЕЖНОСТЬЮ) щупов типов B и C следует замыкать накоротко или разрывать их цепи в зависимости от того, какое состояние менее благоприятно.
4.4.3. Продолжительность испытаний
Щуп испытывают до тех пор, пока изменение его состояния вследствие прилагаемого к нему воздействия не станет маловероятным. Обычно каждое испытание длится в течение одного часа, поскольку все вторичные дефекты, появляющиеся в условиях одной неисправности, как правило, проявляются в течение этого времени. Если по истечении одного часа имеются признаки возможного возникновения риска поражения током, возгорания или появления другой ОПАСНОСТИ, то испытание продолжают до возникновения этой ОПАСНОСТИ, но не более 4 ч.
| | ИС МЕГАНОРМ: примечание. В официальном тексте документа, видимо, допущена опечатка: пункт 4.4.3.1 отсутствует. | |
Если предусмотрена защита от неисправности с помощью предохранителя и предохранитель не срабатывает в течение одной секунды, то следует измерить ток, проходящий через предохранитель в УСЛОВИЯХ ЭТОЙ НЕИСПРАВНОСТИ. С помощью характеристик зависимости тока от времени следует определить, достигнуто или превышено минимальное значение тока срабатывания предохранителя и каково максимальное время срабатывания предохранителя. Ток, проходящий через предохранитель, может изменяться во времени. Если значение минимального тока срабатывания во время испытания не достигнуто, то испытание проводят в течение времени, соответствующего максимальному времени срабатывания предохранителя, или непрерывно в соответствии с 4.4.3.1.
4.4.4. Испытания на соответствие требованиям после испытания в условиях одной неисправности
#4.4.4.1. Соответствие требованиям защиты от поражения электрическим током после создания УСЛОВИЯ ОДНОЙ НЕИСПРАВНОСТИ проверяют следующим образом:
a) с помощью измерений по
6.3.2 следует убедиться, что никакие проводящие ДОСТУПНЫЕ ЧАСТИ не стали ОПАСНЫМИ, кроме возможно допускаемых по
6.1.1;
b) проводят испытание ДВОЙНОЙ ИЗОЛЯЦИИ или УСИЛЕННОЙ ИЗОЛЯЦИИ электрическим напряжением, чтобы проверить, обеспечивает ли она необходимый уровень защиты. Испытание проводят в соответствии с
6.6 (без предварительной выдержки во влажной атмосфере) испытательным напряжением, соответствующим ОСНОВНОЙ ИЗОЛЯЦИИ.
4.4.4.2. Соответствие требованиям температурной защиты проверяют измерением температуры внешней поверхности щупа. Температура внешней поверхности не должна превышать 105 °C при максимально допустимой температуре окружающей среды.
Эту температуру определяют по сумме измеряемого изменения температуры поверхности или части щупа и максимально допустимой для эксплуатации температуры окружающей среды.
4.4.4.3. Соответствие требованиям защиты от возгорания проверяют на щупе, помещенном на лист папиросной бумаги, покрывающий поверхность из мягкого дерева и накрытый марлей. Не допускается попадания на бумагу расплавленного металла, горящей изоляции, обуглившихся частиц. Тлеющих, горящих или обуглившихся участков бумаги и ткани не допускается. Плавление материала изоляции не следует принимать во внимание, если расплавленный материал не может привести к возгоранию и если это плавление легко наблюдаемо и ОПЕРАТОРУ очевидно, что прежде чем коснуться щупа, ему надо дать остыть.
4.4.4.4. Соответствие требованиям защиты от других ОПАСНОСТЕЙ проверяют в соответствии с
пунктами 7 -
11.#
5. Маркировка и документация
На щупы наносят маркировку в соответствии с
5.1.2 -
5.2. Маркировку, относящуюся к щупу в целом, не следует наносить на те части щупа, которые могут быть удалены без применения ИНСТРУМЕНТА.
Символы, обозначающие единицы величин и их значения, должны соответствовать IEC 60027. Графические символы должны соответствовать приведенным в таблице 1, их цвет и размер может быть произвольным, если иное не предусмотрено действующими стандартами. Если необходимый символ в таблице отсутствует, то допускается использовать любой другой символ при условии, что он пояснен в сопроводительной документации (см.
5.4.1).
Таблица 1
Символы
────────┬─────────────┬────────────────────┬───────────────────────────────
Номер │ Символ │Обозначение символа │ Описание
символа│ │ по нормативному │
│ │ документу │
────────┴─────────────┴────────────────────┴───────────────────────────────
1

5031 - EC 60417 Постоянный ток
───────────────────────────────────────────────────────────────────────────
2

5032 - IEC 60417 Переменный ток
───────────────────────────────────────────────────────────────────────────
3

5033 - EC 60417 Постоянный и переменный ток
───────────────────────────────────────────────────────────────────────────
4

- Трехфазный переменный ток
───────────────────────────────────────────────────────────────────────────
5 5017 - IEC 60417 СОЕДИНИТЕЛЬ РАБОЧЕГО
ЗАЗЕМЛЕНИЯ
───────────────────────────────────────────────────────────────────────────
6

5021 - IEC 60417 Эквипотенциальность
───────────────────────────────────────────────────────────────────────────
7 5172 - IEC 60417 Часть, защищенная двойной
изоляцией или усиленной
изоляцией
───────────────────────────────────────────────────────────────────────────
8 - Внимание! Опасность поражения
электрическим током!
───────────────────────────────────────────────────────────────────────────
9 5041 - IEC 60417 Внимание! Горячая
поверхность!
───────────────────────────────────────────────────────────────────────────
10 0434 - ISO 7000 Внимание! Риск или опасность
───────────────────────────────────────────────────────────────────────────
Примечания.
1. В соответствии с
5.4.1 изготовитель должен довести до сведения
потребителей, что при использовании каждого символа необходимо
ознакомиться с документацией.
2. Цвет и размер символов не нормируют (см.
5.1.1).
───────────────────────────────────────────────────────────────────────────
Если невозможно разместить на щупе все требуемые элементы маркировки, допускается использовать
символ 10, приведенный в таблице 1. В этом случае вся необходимая информация должна содержаться в документации.
#Соответствие проверяют осмотром.#
Каждый щуп и его отделяемые части должны идентифицироваться как минимум маркировкой, содержащей:
a) наименование или зарегистрированную торговую марку изготовителя или поставщика;
b) кроме того, для щупов типов B и C - номер модели или название, или другие способы идентификации щупа или его части.
Если щуп предназначен для применения только с определенной моделью оборудования, то соответствующее оборудование или его модель должны быть идентифицированы маркировкой на щупе или в сопроводительной документации.
#Соответствие проверяют осмотром.#
5.1.3. Плавкие предохранители
На щупах, которые содержат плавкие предохранители, допускающие их замену ОПЕРАТОРОМ, должна быть маркировка с информацией, необходимой ОПЕРАТОРУ для выбора правильного предохранителя. В том числе должны быть указаны НОМИНАЛЬНОЕ ЗНАЧЕНИЕ напряжения и отключающая способность (максимальный ток, который плавкий предохранитель может безопасно разорвать при максимальном нормированном напряжении). Если ОПЕРАТОР должен выбрать плавкий предохранитель в соответствии с особыми требованиями, то на щупе должен быть изображен
символ 10, приведенный в таблице 1, и необходимая информация должна быть приведена в документации на щуп.
#Соответствие проверяют осмотром.#
5.1.4. Соединители и органы управления
На соединители, разъемы и органы управления должна быть нанесена маркировка с указанием их назначения, включая последовательность действий, необходимых для соблюдения требований безопасности.
#Соответствие проверяют осмотром.#
5.1.5. Части, защищенные двойной изоляцией или усиленной изоляцией
Части, полностью защищенные ДВОЙНОЙ ИЗОЛЯЦИЕЙ или УСИЛЕННОЙ ИЗОЛЯЦИЕЙ, должны быть помечены
символом 7, приведенным в таблице 1.
Части, только частично защищенные ДВОЙНОЙ ИЗОЛЯЦИЕЙ или УСИЛЕННОЙ ИЗОЛЯЦИЕЙ, маркировать
символом 7, приведенным в таблице 1, не допускается.
#Соответствие проверяют осмотром.#
5.1.6. Диапазоны номинальных значений
ДИАПАЗОН НОМИНАЛЬНЫХ ЗНАЧЕНИЙ щупов обозначают следующим образом:
a) на щупы для измерений, относящихся к категории I (см.
6.5.2), наносят НОМИНАЛЬНОЕ ЗНАЧЕНИЕ НАПРЯЖЕНИЯ относительно земли и
символ 10, приведенный в таблице 1 [см. также
5.4.3, перечисления f) и
g)];
b) на щупы для измерений, относящихся к категориям II, III и IV (см.
6.5.2), наносят НОМИНАЛЬНОЕ ЗНАЧЕНИЕ напряжения относительно земли и соответствующую категорию измерения - "CAT II", "CAT III" или "CAT IV".
Маркировка должна быть нанесена преимущественно на КОЖУХ щупа. Характер напряжения (переменное или постоянное) обозначают в случаях, если указанное напряжение не относится одновременно к действующим значениям переменного и постоянного напряжения. Если СОЕДИНИТЕЛЬ РАБОЧЕГО ЗАЗЕМЛЕНИЯ предназначен для подключения к точке с уровнем напряжения, превосходящим значения, указанные в
6.3.1.1, указывают его НОМИНАЛЬНОЕ ЗНАЧЕНИЕ. Соответствующую маркировку наносят, по возможности, непосредственно на СОЕДИНИТЕЛЬ.
На щупах типа А указывают максимальный нормированный ток щупа и максимальное нормированное напряжение относительно земли. Максимальный нормированный ток не требуется указывать на щупах, предназначенных только для применения с оборудованием, имеющим входы с высоким сопротивлением или выходы с ограничением тока.
#Соответствие проверяют осмотром.#
5.2. Предупреждающая маркировка
На щупе, подготовленном к НОРМАЛЬНОМУ ПРИМЕНЕНИЮ, должна быть видна предупреждающая маркировка.
Если необходимо обратить внимание ОПЕРАТОРА на инструкцию, чтобы не допустить нарушения защиты щупа, следует использовать
символ 10 по таблице 1. Если предупреждение относится к определенной части щупа, маркировку помещают на этой части или вблизи нее.
Если в соответствии с руководством по эксплуатации ОПЕРАТОРУ разрешено использовать ИНСТРУМЕНТ для доступа к какой-либо части щупа, которая может быть ОПАСНОЙ при НОРМАЛЬНОМ ПРИМЕНЕНИИ, то наносят маркировку, предупреждающую о том, что щуп должен быть отсоединен от опасного напряжения перед доступом к этой части. Допускается также использовать
символ 10 в соответствии с таблицей 1, указывающий на наличие в инструкции соответствующей информации.
Если нагретое состояние щупа не очевидно или не является следствием функционирования щупа, то части, которых можно легко коснуться и температура которых в соответствии с
9.1 может превысить пределы, установленные в
9.2, должны быть помечены
символом 9 в соответствии с таблицей 1.
#Соответствие проверяют осмотром.#
5.3. Стойкость маркировки
Маркировка, нанесенная в соответствии с
5.1.2 -
5.2, должна оставаться ясной и четкой в условиях НОРМАЛЬНОГО ПРИМЕНЕНИЯ и быть устойчивой к чистящим средствам, рекомендованным изготовителем.
#Соответствие проверяют осмотром, а также проведением следующего испытания на долговечность маркировки на внешней стороне щупа: маркировку протирают вручную, без чрезмерного нажима в течение 30 с тканью, пропитанной указанным производителем чистящим средством или, если таковой не указан, этиловым спиртом.
Маркировка после указанной обработки должна оставаться ясной и четкой, а наклейки не должны отваливаться или отклеиваться по краям.#
Если это необходимо для безопасной эксплуатации, щупы должны сопровождаться документацией. Такая документация должна содержать как минимум:
a) техническое описание;
b) руководство по эксплуатации;
c) наименование и адрес изготовителя или поставщика, от которого может быть получена техническая помощь;
Если на щуп нанесены предупреждающие символы и надписи, то документация должна разъяснять их значения, или они должны быть объяснены на самом щупе. В частности, должно быть указано, что следует обращаться к документации в случаях, если использован
символ 10 в соответствии с таблицей 1, для выяснения характера потенциальной ОПАСНОСТИ и необходимых действий, которые должны быть предприняты.
#Соответствие проверяют осмотром.#
5.4.2. Диапазоны номинальных значений
В документации должны быть указаны максимальные НОМИНАЛЬНЫЕ ЗНАЧЕНИЯ напряжения и (или) тока и диапазон условий окружающей среды, для работы при которых предназначен щуп (см.
1.4;
4.1, примечание 1).
#Соответствие проверяют осмотром.#
Инструкция по эксплуатации должна включать в себя:
a) обозначения и описание действия органов управления и их использования во всех режимах работы;
b) инструкции по присоединению принадлежностей и другого оборудования, перечень необходимых принадлежностей, съемных частей и любых других специальных материалов;
c) нормы характеристик для прерывистого режима (при его наличии);
d) объяснение символов, предусмотренных настоящим стандартом и используемых на щупе;
e) инструкции по замене расходуемых материалов;
f) необходимую категорию измерений, если в соответствии с
5.1.6 на щупе должна быть нанесена соответствующая маркировка;
g) для щупов, предназначенных для измерений, относящихся к категории измерения I, в документации - предупреждение о запрете использования щупа в условиях других категорий и детальная сводка значений рабочих параметров, включая НОМИНАЛЬНЫЕ ЗНАЧЕНИЯ переходных перенапряжений;
h) указания по очистке от загрязнений (если необходимо) (см.
11.2).
ОТВЕТСТВЕННЫЙ ОРГАН должен быть информирован о том, что использование щупа способом, не указанным изготовителем, может причинить вред его защите.
#Соответствие проверяют осмотром.#
Документация на щуп должна содержать детальные инструкции для ОТВЕТСТВЕННОГО ОРГАНА относительно профилактического осмотра и обслуживания, необходимых для обеспечения безопасности.
Изготовитель должен определить части щупа, которые должны испытываться или обслуживаться только производителем или его представителем.
В документации на щуп должен быть приведен перечень и характеристики используемых плавких предохранителей (см.
5.1.3).
#Соответствие проверяют осмотром.#
6. Защита от поражения электрическим током
Защиту от поражения электрическим током следует осуществлять как при НОРМАЛЬНЫХ УСЛОВИЯХ работы, так и в УСЛОВИЯХ ОДНОЙ НЕИСПРАВНОСТИ. ДОСТУПНЫЕ ЧАСТИ щупа не должны быть ОПАСНЫМИ (см.
6.3).
#Соответствие проверяют по
6.2 и измерениями по
6.3, после чего проводят испытания по
6.4 -
6.7.#
Если по условиям работы невозможно избежать наличия частей, которые одновременно являются ДОСТУПНЫМИ и ОПАСНЫМИ, допускается оставлять их доступными для ОПЕРАТОРА в НОРМАЛЬНЫХ УСЛОВИЯХ эксплуатации, несмотря на то, что они ОПАСНЫ. Это относится:
a) к частям, которые могут быть заменены ОПЕРАТОРОМ (например, плавкие предохранители) и замена которых может быть ОПАСНА, - в том случае, если они имеют предупреждающую маркировку в соответствии с
5.2;
b) к НАКОНЕЧНИКАМ ЩУПА при условии, что они соответствуют требованиям
6.4.4.
6.2. Определение доступных частей
Если возникают сомнения в том, следует ли отнести какую-либо часть щупа к ДОСТУПНЫМ, необходимо руководствоваться
6.2.1 и
6.2. Испытательные пальцы (см.
Приложение B) и штыри применяют без приложения силы, если это не оговорено в нормативных документах на щупы. Части следует считать ДОСТУПНЫМИ, если их можно коснуться испытательным пальцем или штырем непосредственно или через любое покрытие, которое не может рассматриваться как обеспечивающее достаточную изоляцию (см.
6.4, примечание 1).
Если ОПЕРАТОР при НОРМАЛЬНОМ ПРИМЕНЕНИИ ЩУПА может выполнить какие-либо действия (с применением ИНСТРУМЕНТА или без него), увеличивающие доступность частей, то такие действия должны быть проведены перед испытаниями по
6.2.1 и
6.2.2. Такими действиями могут быть, например:
b) регулировка органов управления;
c) замена расходуемых материалов;
d) удаление частей щупа.
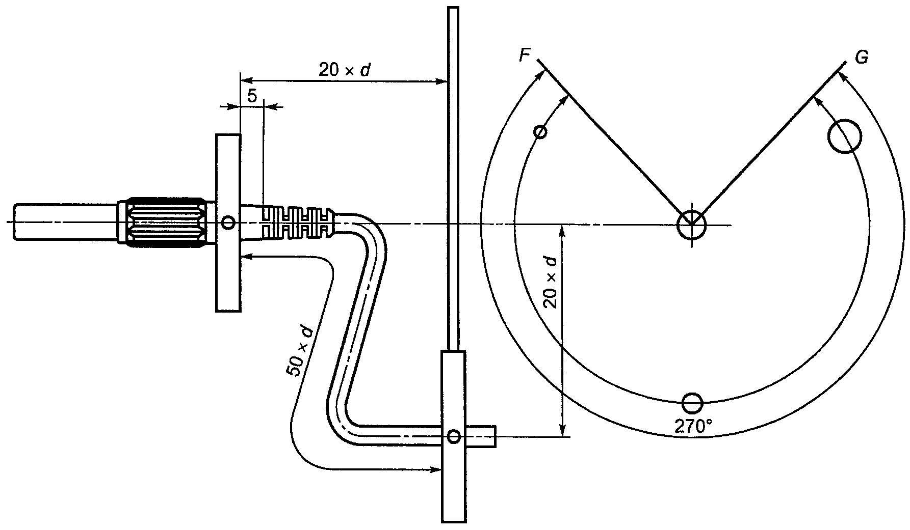
Методы определения ДОСТУПНЫХ частей щупов - в соответствии с рисунком 3 (a -
d).
1 - принадлежность НАКОНЕЧНИКА ЩУПА; 2 - НАКОНЕЧНИК ЩУПА;
3 - КОЖУХ щупа; 4 - СОЕДИНИТЕЛЬ; 5 - разъем
для подключения к оборудованию
1 - соединитель; F - жесткий испытательный палец
b) Полностью собранный щуп
H - потенциально ОПАСНАЯ ЧАСТЬ
Примечание. Соединяемые части частично соединены так, что обеспечивается электрический контакт при максимальном доступе испытательного пальца к частям.
H - потенциально ОПАСНАЯ ЧАСТЬ
Рисунок 3. Методы определения ДОСТУПНЫХ ЧАСТЕЙ (см.
6.2)
и испытаний напряжением (см.
6.4.1)
#Шарнирные испытательные пальцы (см. Приложение B,
рисунок B.2) следует применять во всех возможных положениях. Если сила воздействия определена, применяется жесткий испытательный палец (см. Приложение B,
рисунок B.1) с указанной силой. Нажатие проводят кончиком испытательного пальца во избежание эффекта клина или рычажного действия. Испытание применяют ко всем внешним поверхностям.#
6.2.2. Отверстия для доступа к подстроенным элементам
#Металлический испытательный штырь диаметром 3 мм вставляют через отверстия, предназначенные для доступа к подстроечным органам управления, регулирование которых должно проводиться с помощью отвертки или другого ИНСТРУМЕНТА. Испытательный штырь вставляют в отверстие во всех возможных направлениях. Глубина проникновения штыря не должна превышать трехкратного расстояния от верхней поверхности КОЖУХА до органа управления или 100 мм в зависимости от того, какое из этих расстояний меньше.#
6.3. Допустимые пределы значений электрических величин для доступных частей
Для того, чтобы обеспечить безопасность ДОСТУПНЫХ ЧАСТЕЙ, напряжение и ток между ДОСТУПНОЙ ЧАСТЬЮ и опорной испытательной точкой или между любыми двумя ДОСТУПНЫМИ ЧАСТЯМИ на одном и том же щупе не должны превышать значений по
6.3.1 при НОРМАЛЬНЫХ УСЛОВИЯХ или
6.3.2 - при УСЛОВИИ ОДНОЙ НЕИСПРАВНОСТИ.
Измерения на щупах проводят в соответствии с
рисунком 4. При этом оборачивают фольгой:
a) КОЖУХ щупа;
b) (150 +/- 20) мм кабеля;
c) СОЕДИНИТЕЛИ.
1 - НАКОНЕЧНИК щупа; 2 - схема измерения тока
покрывающей части, к которым прикасается рука; 2b - контакт
с металлической фольгой, покрывающей соединители;
2c - контакт с металлической фольгой, покрывающей кабель
(см.
6.4.3); 3 - максимальное нормированное напряжение;
4 - оборудование отключено
Рисунок 4. Пример применения металлической фольги
для измерения тока утечки
К НАКОНЕЧНИКУ ЩУПА 1
(рисунок 3a) прикладывают НОМИНАЛЬНОЕ напряжение. Ток утечки измеряют в соответствии с
Приложением A. Соответствующая измерительная цепь подключается к фольге, покрывающей части щупа (2a, 2b, 2c и т.д.,
рисунок 4).
Если напряжение на фольге ниже указанных в зависимости от применимости в 6.3.1 или
6.3.2, ток и емкость не измеряют. Если напряжение превышает эти значения, ток и емкость должны быть измерены.
6.3.1. Значения для нормального применения
Опасными считаются значения, превышающие уровни, указанные в 6.3.1.1 -
6.3.1.3, при НОРМАЛЬНОМ ПРИМЕНЕНИИ.
Переменное напряжение - 33 В среднего квадратического значения и 46,7 В пикового значения или 70 В - для напряжения постоянного тока.
Для щупов, предназначенных для использования в условиях повышенной влажности, - 16 В среднего квадратического значения и 22,6 В пикового значения или 35 В - для напряжения постоянного тока.
6.3.1.2. Сила тока
Если напряжение превышает одно из указанных в
6.3.1.1 значений, предельными уровнями тока являются:
a) 0,5 мА среднего квадратического значения - для синусоидального тока, 0,7 мА пикового значения - для несинусоидального тока или со смешанными частотами и 2 мА - для постоянного тока при измерениях по схеме, приведенной на
рисунке A.1 (см. Приложение A). Если частота не превышает 100 Гц, то допускается использовать схему в соответствии с
рисунком A.2 (см. Приложение A); измерительная схема для щупов, которые могут использоваться при повышенной влажности, приведена на
рисунке A.4 (см. Приложение A);
b) 70 мА среднего квадратического значения - при измерениях по схеме в соответствии с
рисунком A.3 (см. Приложение A). Это обусловлено возможностью ожогов и возгорания при высоких частотах.
Если напряжение превышает одно из значений по
6.3.1.1, допустимые емкости определяются следующими параметрами:
a) зарядом, значение которого не должно превышать 45 мкКл для пиковых или постоянных напряжений до 15 кВ;
b) запасенной энергией, значение которой не должно превышать 350 мДж для пиковых или постоянных напряжений, превышающих 15 кВ.
6.3.2. Значения для условия одной неисправности
Значения, превышающие уровни по 6.3.2.1 -
6.3.2.3 при УСЛОВИИ ОДНОЙ НЕИСПРАВНОСТИ, считают ОПАСНЫМИ.
Переменное напряжение - 55 В среднего квадратического значения, 78 В пикового значения или 140 В - для напряжения постоянного тока.
Для щупов, которые могут использоваться в условиях повышенной влажности, - 33 В среднего квадратического значения и 46,7 В пикового значения или 70 В - для напряжения постоянного тока.
6.3.2.2. Ток
Если напряжение превышает одно из указанных в
6.3.2.1 значений, предельными уровнями тока являются:
3,5 мА среднего квадратического значения - для синусоидального тока, 5 мА пикового значения - для несинусоидального тока или со смешанными частотами и 15 мА - для постоянного тока при измерениях по схеме, приведенной на
рисунке A.1 (см. Приложение A). Если частота не превышает 100 Гц, то может быть использована схема в соответствии с
рисунком A.2 (см. Приложение A); измерительная схема для щупов, которые могут использоваться при повышенной влажности, представлена на
рисунке A.4 (см. Приложение A);
500 мА среднего квадратического значения при измерениях по схеме в соответствии с
рисунком A.3 (см. Приложение A). Это обусловлено возможностью ожогов и возгорания при высоких частотах.
Если напряжение превышает значение, приведенное в
6.3.2.1, предельно допустимую емкость определяют по графику, представленному на рисунке 5.
А - при НОРМАЛЬНЫХ УСЛОВИЯХ; В - при УСЛОВИИ
ОДНОЙ НЕИСПРАВНОСТИ
Рисунок 5. Предельные значения емкостей при УСЛОВИИ ОДНОЙ
6.4. Требования к изоляции для защиты от поражения электрическим током
ДОСТУПНЫЕ ЧАСТИ должны быть защищены от превращения в ОПАСНЫЕ одним или несколькими из следующих средств:
a) ОСНОВНОЙ ИЗОЛЯЦИЕЙ;
b) ДВОЙНОЙ ИЗОЛЯЦИЕЙ или УСИЛЕННОЙ ИЗОЛЯЦИЕЙ;
c) КОЖУХОМ или БАРЬЕРОМ;
d) ЗАЩИТНЫМ ИМПЕДАНСОМ;
e) импедансом.
ЗАЗОРЫ, ПУТИ УТЕЧКИ и изоляция между ДОСТУПНЫМИ и ОПАСНЫМИ частями должны соответствовать требованиям
6.5 и
6.4.1 -
6.4.4.
Примечания.
1. ЗАЗОРЫ И ПУТИ УТЕЧКИ, необходимые для обеспечения безопасности, проверяют измерениями.
| | ИС МЕГАНОРМ: примечание. В официальном тексте документа, видимо, допущена опечатка: пункт [4] отсутствует. | |
2. Сплошную изоляцию, необходимую для обеспечения безопасности, проверяют приложением испытательного напряжения, определенного по
таблице 6 в соответствии с РАБОЧИМ НАПРЯЖЕНИЕМ. Требуемая толщина сплошной изоляции может быть определена по значению испытательного напряжения, которое она должна выдерживать. Может также быть проведено испытание разрядом (см. [4]).
3. При механических или тепловых нагрузках может возникнуть необходимость усиления изоляции, чтобы соответствовать требованиям
7,
8 -
9.
За исключением частей, не предназначенных для манипуляций с помощью рук ОПЕРАТОРА в процессе измерений или испытаний, изоляционные покрытия, которые могут быть удалены ОПЕРАТОРОМ без применения ИНСТРУМЕНТА, не могут рассматриваться как обеспечивающие защиту от поражения электрическим током (см. примечание 4).
4. Съемные изоляционные трубки (чулки) не могут рассматриваться как обеспечивающие безопасность частей, с которыми ОПЕРАТОР проводит манипуляции с помощью рук. Их допускается применять лишь при необходимости присоединения к оборудованию, которое не снабжено полностью изолированными соединителями.
#Соответствие проверяют по
6.4.1 -
6.4.6 и испытаниями напряжением по
6.6.#
ИЗОЛЯЦИЯ, ДОСТУПНЫЕ ЧАСТИ, ЗАЗОРЫ, ПУТЬ УТЕЧКИ соединителей, используемых в щупах, должны соответствовать требованиям перечислений a) -
c), приведенным ниже:
a) полностью соединенные соединители:
i) соединители, используемые только для присоединения щупа к измерительному или испытательному оборудованию и не предназначенные для удержания в руке после соединения, должны быть изолированы от ОПАСНЫХ ЧАСТЕЙ, по крайней мере, ОСНОВНОЙ ИЗОЛЯЦИЕЙ. Это не относится к соединителям, также используемым для присоединения щупа, но которые могут удерживаться рукой,
ii) полностью соединенные соединители, предназначенные для удержания рукой в течение времени измерения или испытания, и соединители, которые, будучи присоединенными к щупу, могут удерживаться рукой, должны быть изолированы от ОПАСНЫХ ЧАСТЕЙ ДВОЙНОЙ ИЗОЛЯЦИЕЙ или УСИЛЕННОЙ ИЗОЛЯЦИЕЙ.
#Соответствие проверяют осмотром и измерением ЗАЗОРОВ И ПУТЕЙ УТЕЧКИ, испытаниями напряжением по
6.6 и определением ДОСТУПНЫХ ЧАСТЕЙ в соответствии с
6.2;#
b) частично соединенные соединители:
ДОСТУПНЫЕ ЧАСТИ соединителей в условиях частичного соединения должны быть изолированы от ОПАСНЫХ ЧАСТЕЙ ОСНОВНОЙ ИЗОЛЯЦИЕЙ.
#Соответствие проверяют испытанием напряжением по
6.6 для ОСНОВНОЙ ИЗОЛЯЦИИ между НАКОНЕЧНИКОМ щупа и испытательным электродом той же формы и размеров, как и конец стандартного испытательного пальца (см. Приложение B,
рисунок B.1). Испытательный электрод подводят без применения силы так близко к ОПАСНОМУ месту соединителя, как это возможно, в то время как СОЕДИНИТЕЛЬ соединен лишь настолько, чтобы обеспечить электрический контакт (см.
рисунок 3c);#
c) разомкнутые соединители:
i) ОПАСНЫЕ ЧАСТИ не должны быть доступны,
ii) ОПАСНЫЕ ЧАСТИ находящихся в углублениях частей свободно разъединяющихся соединителей (разъемов) должны быть отделены от ДОСТУПНЫХ ЧАСТЕЙ ЗАЗОРАМИ и ПУТЯМИ УТЕЧКИ, рассчитанными для ОСНОВНОЙ ИЗОЛЯЦИИ.
Требования
перечисления c) не относятся к соединениям, части которых имеют соединение в замок или с помощью винтов, и к соединениям, ток, протекающий через которые, ограничен ЗАЩИТНЫМ ИМПЕДАНСОМ при условии, что все компоненты, используемые в ЗАЩИТНОМ ИМПЕДАНСЕ, имеют ВЫСОКУЮ НАДЕЖНОСТЬ.
Соответствие проверяют:
#i) доступность для соединителей, напряжение на которых не превышает 1 кВ переменного тока или 1,5 кВ постоянного тока, определением в соответствии с
6.2, перечисление a). Соединители, напряжение на которых превышает 1 кВ переменного тока или 1,5 кВ постоянного тока, испытывают напряжением, прикладываемым между НАКОНЕЧНИКОМ щупа и испытательным электродом, имеющим ту же форму и размеры, что и конец стандартного испытательного жальца (см. Приложение B,
рисунок B.1). Этот электрод подводят настолько близко к ОПАСНОМУ штату соединителя, насколько возможно (см.
рисунок 3d). Испытательное напряжение должно быть в 1,25 раза больше НОМИНАЛЬНОГО ЗНАЧЕНИЯ напряжения щупа,
ii) ЗАЗОРЫ И ПУТИ УТЕЧКИ испытаниями напряжением по
6.6 и определением ДОСТУПНЫХ ЧАСТЕЙ в соответствии с
6.2.#
6.4.2. Части, предназначенные для удержания рукой, кроме соединителей
Части щупов, которые предназначены для удержания рукой или управления рукой ОПЕРАТОРА во время измерений или испытаний, должны быть отделены от частей, которые могут быть ОПАСНЫМИ, ДВОЙНОЙ ИЗОЛЯЦИЕЙ или УСИЛЕННОЙ ИЗОЛЯЦИЕЙ.
#Соответствие проверяют осмотром, измерением ЗАЗОРОВ и ПУТЕЙ УТЕЧКИ и испытаниями напряжением в соответствии с
6.6 между каждым элементом, указанным в перечислениях a) и
b), и каждым из указанных в
перечислениях c),
d),
e) и
f):
a) металлическая фольга, плотно обернутая вокруг частей, предназначенных для удержания или управления рукой;
b) металлическая фольга, плотно обернутая вокруг кабеля на длине (150 +/- 20) мм (см.
рисунок 4);
c) НАКОНЕЧНИК ЩУПА. Испытательное напряжение выбирают в соответствии с НОМИНАЛЬНЫМ ЗНАЧЕНИЕМ напряжения щупа;
d) (только для типа B). Металлические части, примыкающие к частям, удерживаемым в руке. Испытательное напряжение выбирают в соответствии с максимальным РАБОЧИМ НАПРЯЖЕНИЕМ проводящих частей при нормальном состоянии, но не менее 500 В;
e) (только для типа B). Проводник опорного соединителя и проводники соединителей для присоединения щупа к испытательному или измерительному оборудованию, соединенные вместе. Испытательное напряжение выбирают в соответствии с максимальным НОМИНАЛЬНЫМ ЗНАЧЕНИЕМ напряжения щупа, деленным на коэффициент делителя, но не менее 500 В;
f) (только для типа C). Проводник опорного соединителя, если НОМИНАЛЬНЫЕ ЗНАЧЕНИЯ превышают уровни напряжений, указанные в
6.3.1.1. Испытательное напряжение выбирают в соответствии с максимальным номинальным значением напряжения опорного соединителя.#
Примечание. К испытаниям напряжением изоляции, которая покрывает НЕОПАСНЫЕ ЧАСТИ (например, СОЕДИНИТЕЛЬ РАБОЧЕГО ЗАЗЕМЛЕНИЯ), не предъявляют дополнительных требований, кроме подтверждения целостности изоляции.
Кабели должны быть выбраны для максимального напряжения и максимального тока в условиях нормального применения. Их проводники должны быть отделены от поверхностей, которых касается рука ОПЕРАТОРА, ДВОЙНОЙ ИЗОЛЯЦИЕЙ или УСИЛЕННОЙ ИЗОЛЯЦИЕЙ, рассчитанной в соответствии со следующими значениями:
a) для щупов типа A - 125 В или максимальное НОМИНАЛЬНОЕ ЗНАЧЕНИЕ напряжения щупа, если оно более 125 В;
b) для щупов типа B - 500 В или максимальное НОМИНАЛЬНОЕ ЗНАЧЕНИЕ напряжения щупа, уменьшенное на коэффициент делителя, если результат деления более 500 В;
c) для щупов типа C - 125 В или максимальное НОМИНАЛЬНОЕ ЗНАЧЕНИЕ напряжения щупа, уменьшенное на коэффициент делителя, если результат деления более 125 В.
#Соответствие проверяют осмотром и измерением ЗАЗОРОВ И ПУТЕЙ УТЕЧКИ и испытаниями напряжением по
6.6 (без предварительной выдержки во влажной атмосфере), используя металлическую фольгу, плотно обернутую вокруг кабеля на длине (150 +/- 20) мм.#
Если НАКОНЕЧНИК ЩУПА является ОПАСНЫМ в соответствии с
6.1.1, то для уменьшения опасности касания НАКОНЕЧНИКА во время работы с щупом должны быть предусмотрены БАРЬЕРЫ.
ЗАЗОРЫ и ПУТИ УТЕЧКИ между НАКОНЕЧНИКОМ и обращенной к руке ОПЕРАТОРА стороной БАРЬЕРА должны соответствовать значениям, определенным для ДВОЙНОЙ ИЗОЛЯЦИИ или УСИЛЕННОЙ ИЗОЛЯЦИИ. Примеры щупов с БАРЬЕРАМИ и соответствующие ЗАЗОРЫ и ПУТИ УТЕЧКИ приведены на
рисунке 6a).
Без БАРЬЕРОВ допускается применять щупы с НАКОНЕЧНИКАМИ, управляемыми пружиной (см.
рисунок 6b), при условии, что:
a) приведение в действие пружинного механизма не может повлечь касания ОПЕРАТОРОМ ОПАСНЫХ ЧАСТЕЙ;
b) ЗАЗОРЫ и ПУТИ УТЕЧКИ между НАКОНЕЧНИКОМ щупа и наиболее близкой поверхностью, которой ОПЕРАТОР должен коснуться, чтобы привести в действие механизм, должны быть увеличены на дополнительное защитное расстояние 45 мм относительно расчетного.
Изолированные зажимы типа "крокодил" или подобные им (см.
рисунок 6c), требующие давления пальцем под углом примерно 90° к оси зажима, допускается применять без БАРЬЕРА при условии, что на них изображена граница безопасного доступа для ОПЕРАТОРА. ЗАЗОРЫ и ПУТИ УТЕЧКИ между этой границей или БАРЬЕРОМ и НАКОНЕЧНИКОМ зажима должны соответствовать условиям ДВОЙНОЙ ИЗОЛЯЦИИ или УСИЛЕННОЙ ИЗОЛЯЦИИ.
1 - НАКОНЕЧНИК; 2 - ПУТЬ УТЕЧКИ (измеряют по поверхности);
3 - ЗАЗОР (по воздуху); 4 - область, предназначенная
для удержания в руке; 5 - БАРЬЕР
1 - НАКОНЕЧНИК; 2 - ЗАЗОРЫ и ПУТИ УТЕЧКИ в соответствии
с
6.5; 3 - дополнительное защитное расстояние; 4 - части,
управляющие пружинным механизмом; 5 - область щупа
с пружинным механизмом управления НАКОНЕЧНИКОМ, находящаяся
в соприкосновении с рукой
1 - признак предела доступа (вокруг или с обеих сторон
зажима); 2 - металлические челюсти; 3 - изоляция;
4 - изолированные металлические челюсти
c) Примеры зажимов "крокодил"
Рисунок 6. Защита против касания наконечника щупа
Длина наружной проводящей части НАКОНЕЧНИКА, за исключением зажима типа "крокодил", внешние стороны "челюстей" которого изолированы, должна быть не более 19 мм (см.
рисунок 6c, ii)).
Примечание. Рекомендуется использовать НАКОНЕЧНИКИ меньшей длины.
#Соответствие проверяют осмотром и измерением.#
6.4.5. Двойная изоляция и усиленная изоляция
ЗАЗОРЫ и ПУТИ УТЕЧКИ, являющиеся частью ДВОЙНОЙ ИЗОЛЯЦИИ или УСИЛЕННОЙ ИЗОЛЯЦИИ, должны соответствовать требованиям
6.5. КОЖУХ должен соответствовать требованиям
6.7.2.
Твердая изоляция, являющаяся частью УСИЛЕННОЙ ИЗОЛЯЦИИ, должна выдерживать испытание напряжением по
6.6 со значениями параметров, соответствующими УСИЛЕННОЙ ИЗОЛЯЦИИ.
#Соответствие проверяют по
6.5,
6.6 и
6.7.2. Части ДВОЙНОЙ ИЗОЛЯЦИИ проверяют отдельно (если возможно); в противном случае проводят испытания УСИЛЕННОЙ ИЗОЛЯЦИИ. ЗАЗОРЫ и ПУТИ УТЕЧКИ, необходимые для обеспечения безопасности, могут быть проверены измерением.#
ЗАЩИТНЫЙ ИМПЕДАНС, защищающий ДОСТУПНЫЕ ЧАСТИ и не позволяющий им стать ОПАСНЫМИ при УСЛОВИИ ОДНОЙ НЕИСПРАВНОСТИ, должен быть компонентом ВЫСОКОЙ НАДЕЖНОСТИ (см.
12.3).
НОМИНАЛЬНЫЕ ЗНАЧЕНИЯ электрических величин для компонентов, проводов и соединителей должны быть указаны как для нормального применения, так и для УСЛОВИЙ ОДНОЙ НЕИСПРАВНОСТИ.
#Соответствие проверяют осмотром и измерениями по
6.3 при УСЛОВИИ ОДНОЙ НЕИСПРАВНОСТИ (см.
4.4.2.1).#
6.5. Зазоры и пути утечки
| | ИС МЕГАНОРМ: примечание. В официальном тексте документа, видимо, допущена опечатка: пункт 6.5.4 отсутствует. | |
ЗАЗОРЫ и ПУТИ УТЕЧКИ, обеспечивающие защиту от напряжений, которые могут возникнуть в условиях, для работы в которых предназначен щуп, установлены в
6.5.1 - 6.5.4. Они зависят также от условий окружающей среды и защитных устройств, встроенных в щуп или используемых во время работы в соответствии с инструкциями изготовителя.
Требования к ЗАЗОРАМ или ПУТЯМ УТЕЧКИ во внутренних областях монолитных частей, не содержащих полостей, включая внутренние слои многослойных печатных плат, не предъявляют.
#Соответствие проверяют осмотром и измерением. При определении ЗАЗОРОВ или ПУТЕЙ УТЕЧКИ к доступным частям доступную поверхность изоляционного КОЖУХА рассматривают как проводящую, т.е. как если бы она была покрыта металлической фольгой в местах, которых можно коснуться стандартным испытательным пальцем (см.
Приложение B).
Соответствие для однородной конструкции проверяют по
6.5.1.1.#
Значения ЗАЗОРОВ устанавливают такими, чтобы они обеспечивали защиту от максимального переходного перенапряжения, которое может возникнуть в цепи, к которой щуп может быть подключен при НОРМАЛЬНОМ ПРИМЕНЕНИИ, или в результате внешней причины (например, удара молнии или переходного процесса при переключении), или в результате действий оборудования, к которому щуп может быть подключен. Если переходные перенапряжения невозможны, ЗАЗОРЫ определяют по максимальному значению РАБОЧЕГО НАПРЯЖЕНИЯ.
Значение ЗАЗОРА зависит от:
- требуемого типа изоляции (ОСНОВНАЯ ИЗОЛЯЦИЯ, УСИЛЕННАЯ ИЗОЛЯЦИЯ и т.д.);
- СТЕПЕНИ ЗАГРЯЗНЕНИЯ воздуха в ЗАЗОРЕ.
Во всех случаях минимальный ЗАЗОР для СТЕПЕНИ ЗАГРЯЗНЕНИЯ 2 должен быть 0,2 мм, для СТЕПЕНИ ЗАГРЯЗНЕНИЯ 3 - 0,8 мм.
Уменьшенные ЗАЗОРЫ могут быть использованы в однородной конструкции, т.е. в конструкции, форма и окружение проводящих частей которой способствуют образованию между ними однородного или почти однородного электрического поля. Это позволяет уменьшить ЗАЗОРЫ между такими проводящими частями, так как электрическая прочность воздушного промежутка зависит от формы электрического поля в пределах вакуумного промежутка и вблизи его краев.
Никаких специальных требований для уменьшенных ЗАЗОРОВ не предъявляют, но их следует испытать на электрическую прочность. Испытания проводят напряжением постоянного тока или пиковым напряжением переменного тока. Значение испытательного напряжения выбирают в соответствии с
таблицей 6 для импульсных испытаний ЗАЗОРА, применяемых для неоднородных конструкций. Коррекция на высоту места проведения испытаний - в соответствии с
таблицей 7.
Если оборудование предназначено для работы на высоте более 2000 м, ЗАЗОРЫ увеличивают на коэффициент, определяемый по таблице 2. Эти коэффициенты не применяют к ПУТИ УТЕЧКИ, но ПУТЬ УТЕЧКИ должен быть, по крайней мере, не менее значения, установленного для ЗАЗОРА.
Таблица 2
Коэффициенты для ЗАЗОРОВ при высотах до 5000 м
НОРМИРОВАННАЯ ВЫСОТА ЭКСПЛУАТАЦИИ, м | Коэффициент |
До 2000 | 1,00 |
От 2001 до 3000 | 1,14 |
От 3001 до 4000 | 1,29 |
От 4001 до 5000 | 1,48 |
6.5.1.2. Значения путей утечки
Для определения значений ПУТЕЙ УТЕЧКИ между двумя цепями следует использовать
таблицу 5. Допускается линейная интерполяция ПУТЕЙ УТЕЧКИ. Значение ПУТИ УТЕЧКИ должно всегда быть не менее значения, определенного для ЗАЗОРА при тех же условиях. Если рассчитанное значение ПУТИ УТЕЧКИ менее значения ЗАЗОРА, ПУТЬ УТЕЧКИ должен быть увеличен до значения, определенного для ЗАЗОРА.
Для печатных проводников с покрытием, которое отвечает требованиям IEC 60664-3 для покрытия типа А, в расчетах применяют СТЕПЕНЬ ЗАГРЯЗНЕНИЯ 1.
Для УСИЛЕННОЙ ИЗОЛЯЦИИ ПУТИ УТЕЧКИ должны быть увеличены вдвое по сравнению со значениями, определенными для ОСНОВНОЙ ИЗОЛЯЦИИ.
6.5.2. Измерительные цепи
На измерительные цепи во время работы воздействуют РАБОЧЕЕ НАПРЯЖЕНИЕ и переходные напряжения цепи, к которой они подключены во время измерения или испытания. При измерении параметров сети электропитания или цепей, непосредственно с ней связанных, переходные напряжения могут быть оценены в процессе установки оборудования, на котором выполняются измерения. При измерении других электрических сигналов следует предварительно убедиться, что напряжение не превышает предельно допустимое для измерительного или испытательного оборудования. В настоящем стандарте цепи щупа подразделяют на следующие категории измерений:
- категория IV - для измерений, проведенных на сети электропитания низковольтных установок.
Примечание 1. Например, электросчетчики, измерения на первичных устройствах защиты от перегрузки, на фильтрах;
- категория III - для измерений параметров электрооборудования зданий.
Примечание 2. Например, измерения на панелях распределения, прерывателях, монтаже, включая кабели, сборные шины, переходные коробки, выключатели, выводы стационарных установок и промышленного оборудования и некоторого другого оборудования, например, стационарных двигателей, присоединенных постоянно к стационарным устройствам;
- категория II - для измерений, проведенных в цепях, непосредственно связанных с сетью электропитания.
Примечание 3. Например, измерения на бытовых приборах, портативных инструментах и подобном оборудовании;
- категория I - для измерений, проведенных в цепях, не связанных непосредственно с сетью электропитания.
Примечание 4. Например, измерения на цепях, не питающихся от сети или специально развязанных от сети. В последнем случае переходные напряжения могут со временем изменяться. В связи с этим в соответствии с
5.4.3, перечисление g), требуется, чтобы пользователю были известны допустимые параметры переходного процесса.
6.5.2.1. Размеры ЗАЗОРОВ
ЗАЗОРЫ для категорий измерений II, III и IV приведены в таблице 3.
Таблица 3
ЗАЗОРЫ для категорий измерений II, III и IV
Наибольшее номинальное постоянное или переменное сетевое напряжение по отношению к нейтрали, для работы с которым предназначен щуп, В | ЗАЗОР, мм |
ОСНОВНАЯ или ДОПОЛНИТЕЛЬНАЯ ИЗОЛЯЦИЯ | ДВОЙНАЯ или УСИЛЕННАЯ ИЗОЛЯЦИЯ |
Категория измерений | Категория измерений |
II | III | IV | II | III | IV |
< 50 | 0,04 | 0,1 | 0,5 | 0,1 | 0,3 | 1,5 |
> 50 <= 100 | 0,1 | 0,5 | 1,5 | 0,3 | 1,5 | 3,0 |
> 100 <= 150 | 0,5 | 1,5 | 3,0 | 1,5 | 3,0 | 6,0 |
> 150 <= 300 | 1,5 | 3,0 | 5,5 | 3,0 | 5,9 | 10,5 |
> 300 <= 600 | 3,0 | 5,5 | 8 | 5,9 | 10,5 | 14,3 |
> 600 <= 1000 | 5,5 | 8 | 14 | 10,5 | 14,3 | 24,3 |
6.5.2.2. Значения зазоров для категории измерений I
ЗАЗОРЫ для обеспечения ОСНОВНОЙ ИЗОЛЯЦИИ и дополнительной изоляции определяют по формуле

, (1)
где

- значение ЗАЗОРА, определенное по
таблице 4 для импульса напряжения с фронтом 1,2 мкс и длительностью 50 мкс с максимальным напряжением

;

- значение ЗАЗОРА, определенное по
таблице 4 для максимального напряжения

, только при пиковом РАБОЧЕМ НАПРЯЖЕНИИ

без учета переходного перенапряжения. Максимальное напряжение

- сумма максимального пикового РАБОЧЕГО НАПРЯЖЕНИЯ

и максимального переходного перенапряжения

;
F - коэффициент, определенный из следующих уравнений:

, если

, (2)
F = 0, если

.
Таблица 4
Значения ЗАЗОРОВ для расчетов в соответствии с
6.5.2.2
┌─────────────────────┬──────────────────────────────────────────┐
│ U , В │ ЗАЗОР, мм │
│ m ├────────────────────┬─────────────────────┤
│ │ D │ D │
│ │ 1 │ 2 │
├─────────────────────┼────────────────────┼─────────────────────┤
│ От 14,1 до 266 │ 0,010 │ 0,010 │
│ 283 │ 0,010 │ 0,013 │
│ 330 │ 0,010 │ 0,020 │
│ 354 │ 0,013 │ 0,025 │
│ 453 │ 0,027 │ 0,052 │
│ 500 │ 0,036 │ 0,071 │
│ 566 │ 0,052 │ 0,10 │
│ 707 │ 0,081 │ 0,20 │
│ 800 │ 0,099 │ 0,29 │
│ 891 │ 0,12 │ 0,41 │
│ 1130 │ 0,19 │ 0,83 │
│ 1410 │ 0,38 │ 1,27 │
│ 1500 │ 0,45 │ 1,40 │
│ 1770 │ 0,75 │ 1,79 │
│ 2260 │ 1,25 │ 2,58 │
│ 2500 │ 1,45 │ 3,00 │
│ 2830 │ 1,74 │ 3,61 │
│ 3540 │ 2,44 │ 5,04 │
│ 4000 │ 2,93 │ 6,05 │
│ 4530 │ 3,53 │ 7,29 │
│ 5660 │ 4,92 │ 10,1 │
│ 6000 │ 5,37 │ 10,8 │
│ 7070 │ 6,86 │ 13,1 │
│ 8000 │ 8,25 │ 15,2 │
│ 8910 │ 9,69 │ 17,2 │
│ 11300 │ 12,9 │ 22,8 │
│ 14100 │ 16,7 │ 29,5 │
│ 17700 │ 21,8 │ 38,5 │
│ 26000 │ 29,0 │ 51,2 │
│ 28300 │ 37,8 │ 66,7 │
│ 35400 │ 49,1 │ 86,7 │
│ 45300 │ 65,5 │ 116 │
│ 56600 │ 85,0 │ 150 │
│ 70700 │ 110 │ 195 │
│ 89100 │ 145 │ 255 │
│ 100000 │ 165 │ 290 │
├─────────────────────┴────────────────────┴─────────────────────┤
│ Примечания. │
│ 1. Допускается интерполировать значения ЗАЗОРОВ. │
│ 2. Минимальный ЗАЗОР для СТЕПЕНИ ЗАГРЯЗНЕНИЯ 2 равен 0,2 мм,│
│для СТЕПЕНИ ЗАГРЯЗНЕНИЯ 3 - 0,8 мм. │
└────────────────────────────────────────────────────────────────┘
ЗАЗОРЫ для УСИЛЕННОЙ ИЗОЛЯЦИИ рассчитывают по той же формуле, но значения

и

определяют по
таблице 4 для напряжения, превышающего РАБОЧЕЕ НАПРЯЖЕНИЕ в 1,6 раза.
Пример - Значения ЗАЗОРОВ для УСИЛЕННОЙ ИЗОЛЯЦИИ для пикового рабочего напряжения 3500 В и максимального переходного перенапряжения 4500 В.

.

,

;

(соответствует 8000 x 1,6 = 12800 В).

.
6.5.3. Значения ПУТЕЙ УТЕЧКИ
Значения ПУТЕЙ УТЕЧКИ в зависимости от РАБОЧЕГО НАПРЯЖЕНИЯ приведены в таблице 5.
Таблица 5
┌────────────────┬────────────────────────────────────────────────────────┐
│ РАБОЧЕЕ │ ПУТЬ УТЕЧКИ, мм, для ОСНОВНОЙ или ДОПОЛНИТЕЛЬНОЙ │
│ НАПРЯЖЕНИЕ, │ ИЗОЛЯЦИИ для │
│ постоянное или ├───────────────────────┬────────────────────────────────┤
│ действующее │ печатных проводников │ прочих цепей │
│ значение ├───────────────────────┼────────────────────────────────┤
│ переменного │ СТЕПЕНЬ ЗАГРЯЗНЕНИЯ │ СТЕПЕНЬ ЗАГРЯЗНЕНИЯ │
│ тока, В ├───────────┬───────────┼──────────┬──────────┬──────────┤
│ │ 1 │ 2 │ 1 │ 2 │ 3 │
├────────────────┼───────────┼───────────┼──────────┼──────────┼──────────┤
│ 10 │ 0,025 │ 0,04 │ 0,08 │ 0,40 │ 1,00 │
│ 12,5 │ 0,025 │ 0,04 │ 0,09 │ 0,42 │ 1,05 │
│ 16 │ 0,025 │ 0,04 │ 0,10 │ 0,45 │ 1,10 │
│ 20 │ 0,025 │ 0,04 │ 0,11 │ 0,48 │ 1,20 │
│ 25 │ 0,025 │ 0,04 │ 0,125 │ 0,50 │ 1,25 │
│ 32 │ 0,025 │ 0,04 │ 0,14 │ 0,53 │ 1,30 │
│ 40 │ 0,025 │ 0,04 │ 0,16 │ 0,56 │ 1,40 │
│ 50 │ 0,025 │ 0,04 │ 0,18 │ 0,60 │ 1,50 │
│ 63 │ 0,040 │ 0,063 │ 0,20 │ 0,63 │ 1,60 │
│ 80 │ 0,063 │ 0,10 │ 0,22 │ 0,67 │ 1,70 │
│ 100 │ 0,10 │ 0,16 │ 0,25 │ 0,71 │ 1,80 │
│ 125 │ 0,16 │ 0,25 │ 0,28 │ 0,75 │ 1,90 │
│ 160 │ 0,15 │ 0,40 │ 0,32 │ 0,80 │ 2,00 │
│ 200 │ 0,40 │ 0,63 │ 0,42 │ 1,00 │ 2,50 │
│ 250 │ 0,56 │ 1,00 │ 0,56 │ 1,25 │ 3,20 │
│ 320 │ 0,75 │ 1,60 │ 0,75 │ 1,60 │ 4,00 │
│ 400 │ 1,0 │ 2,0 │ 1,0 │ 2,0 │ 5,0 │
│ 500 │ 1,3 │ 2,5 │ 1,3 │ 2,5 │ 6,3 │
│ 630 │ 1,8 │ 3,2 │ 1,8 │ 3,2 │ 8,0 │
│ 800 │ 2,4 │ 4,0 │ 2,4 │ 4,0 │ 10,0 │
│ 1000 │ 3,2 │ 5,0 │ 3,2 │ 5,0 │ 12,5 │
│ 1250 │ 4,2 │ 6,3 │ 4,2 │ 6,3 │ 16 │
│ 1600 │ 5,6 │ 8,0 │ 5,6 │ 8,0 │ 20 │
│ 2000 │ 7,5 │ 10,0 │ 7,5 │ 10,0 │ 25 │
│ 2500 │ 10,0 │ 12,5 │ 10,0 │ 12,5 │ 32 │
│ 3200 │ 12,5 │ 16 │ 12,5 │ 16 │ 40 │
│ 4000 │ 16 │ 20 │ 16 │ 20 │ 50 │
│ 5000 │ 20 │ 25 │ 20 │ 25 │ 63 │
│ 6300 │ 25 │ 32 │ 25 │ 32 │ 80 │
│ 8000 │ 32 │ 40 │ 32 │ 40 │ 100 │
│ 10000 │ 40 │ 50 │ 40 │ 50 │ 125 │
│ 12500 │ 50 │ 63 │ 50 │ 63 │ 156 │
│ 16000 │ 63 │ 80 │ 63 │ 80 │ 200 │
│ 20000 │ 80 │ 100 │ 80 │ 100 │ 250 │
│ 25000 │ 100 │ 125 │ 100 │ 125 │ 315 │
│ 32000 │ 125 │ 160 │ 125 │ 160 │ 400 │
│ 40000 │ 160 │ 200 │ 160 │ 200 │ 500 │
│ 50000 │ 200 │ 250 │ 200 │ 250 │ 625 │
│ 63000 │ 250 │ 320 │ 250 │ 320 │ 790 │
└────────────────┴───────────┴───────────┴──────────┴──────────┴──────────┘
6.6. Проверка электрической прочности изоляции
#В качестве опорной точки, относительно которой прикладывают испытательное напряжение, используют одну или несколько из перечисленных ниже частей (если таких частей больше одной, то их соединяют вместе):
a) любые доступные проводящие части, за исключением тех, которые, находясь под напряжением, могут быть доступными, так как их параметры не выходят за пределы, установленные в
6.3.1, и любые проводящие ДОСТУПНЫЕ ЧАСТИ, которые являются ОПАСНЫМИ в соответствии с
6.1.1;
b) любая доступная изолированная часть КОЖУХА, обернутого металлической фольгой всюду, кроме соединителей. Для испытательных напряжений до 10 кВ постоянного или пикового значения переменного напряжения расстояние от фольги до соединителя не должно превышать 20 мм. Для более высоких напряжений расстояние должно быть минимальным, при котором еще не возникает пробоя;
c) доступные части органов управления, в том числе изолированные их части, обернутые фольгой или с проложенным вокруг них мягким проводящим материалом.
6.6.2. Предварительное воздействие влаги
Чтобы проверить, не станет ли щуп ОПАСНЫМ в условиях влажности в соответствии с
1.4, перед испытаниями напряжением по
6.6.4 его подвергают воздействию повышенной влажности. Щуп во время этого воздействия должен быть выключен.
Если в соответствии с
6.6.1 требуется обертывание частей щупа фольгой, эту операцию проводят после воздействия повышенной влажности и восстановления.
Электрические компоненты, покрытия и другие части щупа, которые могут быть удалены вручную, должны быть удалены и подвергнуты воздействию повышенной влажности вместе с основной частью.
Испытания проводят в климатической камере с влажностью (92,5 +/- 2,5)% при температуре воздуха (40 +/- 2) °C.
Перед воздействием влаги щуп выдерживают при температуре (42 +/- 2) °C, как правило, по крайней мере, 4 ч.
Воздух в камере должен перемешиваться, а устройство камеры - защищать щуп от выпадения на нем конденсата.
Щуп выдерживают в камере 48 ч, после чего вынимают и выдерживают для восстановления в течение 1 ч при условиях окружающей среды, соответствующих
4.3.1. Если щуп не имеет вентиляции, то все невентилируемые покрытия щупа должны быть сняты.
6.6.3. Проведение испытаний
Испытания, указанные в
6.6.4, проводят и завершают не позднее 1 ч после окончания периода восстановления. Щуп во время испытаний должен быть выключен.
Испытания напряжением между двумя цепями или между цепью и доступной проводящей частью щупа не проводят, если они соединены друг с другом или не отделены друг от друга.
ЗАЩИТНЫЙ ИМПЕДАНС, параллельный испытуемой изоляции, на время испытаний отсоединяют.
Когда используется комбинация из двух и более средств защиты (см.
6.4), то напряжения, предназначенные для испытания ДВОЙНОЙ ИЗОЛЯЦИИ или УСИЛЕННОЙ ИЗОЛЯЦИИ, могут оказаться приложенными к тем частям цепей, которые не рассчитаны на такие напряжения. Чтобы избежать этого, такие части следует во время испытаний разъединить и отдельно испытать части с ДВОЙНОЙ ИЗОЛЯЦИЕЙ или УСИЛЕННОЙ ИЗОЛЯЦИЕЙ.#
6.6.4. Воздействие испытательным напряжением
#Значения испытательных напряжений определяют в соответствии с таблицей 6. В результате испытаний не должно возникать каких-либо неисправностей или повторяющихся пробоев. Допускается возникновение коронного разряда и подобных ему эффектов.#
Таблица 6
Испытательные напряжения для ОСНОВНОЙ ИЗОЛЯЦИИ
┌───────┬──────────────┬──────────────────────┬───────────────────────────┐
│ЗАЗОР, │ Амплитудное │Среднее квадратическое│ Амплитудное значение │
│ мм │ значение │ значение переменного │ переменного напряжения │
│ │ импульса │ напряжения частотой │ частотой 50/60 Гц или │
│ │1,2/50 мкс, В │ 50/60 Гц, В │ постоянное напряжение, В │
├───────┼──────────────┼──────────────────────┼───────────────────────────┤
│ 0,010│ 330 │ 230 │ 330 │
│ 0,025│ 440 │ 310 │ 440 │
│ 0,040│ 520 │ 370 │ 520 │
│ 0,063│ 600 │ 420 │ 600 │
│ 0,1 │ 806 │ 500 │ 700 │
│ 0,2 │ 1140 │ 620 │ 880 │
│ 0,3 │ 1310 │ 710 │ 1010 │
│ 0,5 │ 1550 │ 840 │ 1200 │
│ 1,0 │ 1950 │ 1060 │ 1500 │
│ 1,4 │ 2440 │ 1330 │ 1880 │
│ 2,0 │ 3100 │ 1690 │ 2400 │
│ 2,5 │ 3600 │ 1960 │ 2770 │
│ 3,0 │ 4070 │ 2210 │ 3130 │
│ 3,5 │ 4510 │ 2450 │ 3470 │
│ 4,0 │ 4930 │ 2680 │ 3790 │
│ 4,5 │ 5330 │ 2900 │ 4100 │
│ 5,0 │ 5720 │ 3110 │ 4400 │
│ 5,5 │ 6100 │ 3320 │ 4690 │
│ 6,0 │ 6500 │ 3520 │ 4970 │
│ 6,5 │ 6800 │ 3710 │ 5250 │
│ 7,0 │ 7200 │ 3900 │ 5510 │
│ 7,5 │ 7500 │ 4080 │ 5780 │
│ 8,0 │ 7800 │ 4300 │ 6030 │
│ 8,5 │ 8200 │ 4400 │ 6300 │
│ 9,0 │ 8500 │ 4600 │ 6500 │
│ 9,5 │ 8800 │ 4800 │ 6800 │
│ 10,0 │ 9100 │ 4950 │ 7000 │
│ 10,5 │ 9500 │ 5200 │ 7300 │
│ 11,0 │ 9900 │ 5400 │ 7600 │
│ 11,5 │ 10300 │ 5600 │ 7900 │
│ 12,0 │ 10600 │ 5800 │ 8200 │
│ 12,5 │ 11000 │ 6000 │ 8500 │
│ 13,0 │ 11400 │ 6200 │ 8800 │
│ 13,5 │ 11800 │ 6400 │ 9000 │
│ 14,0 │ 12100 │ 6600 │ 9300 │
│ 14,5 │ 12500 │ 6800 │ 9600 │
│ 15,0 │ 12900 │ 7000 │ 9900 │
│ 15,5 │ 13200 │ 7200 │ 10200 │
│ 16,0 │ 13600 │ 7400 │ 10500 │
│ 16,5 │ 14000 │ 7600 │ 10700 │
│ 17,0 │ 14300 │ 7800 │ 11000 │
│ 17,5 │ 14700 │ 8000 │ 11300 │
│ 18 │ 15000 │ 8200 │ 11600 │
│ 19 │ 15800 │ 8600 │ 12100 │
│ 20 │ 16400 │ 9000 │ 12700 │
│ 25 │ 19900 │ 10800 │ 15300 │
│ 30 │ 23300 │ 12600 │ 17900 │
│ 35 │ 26500 │ 14400 │ 20400 │
│ 40 │ 29700 │ 16200 │ 22900 │
│ 45 │ 32900 │ 17900 │ 25300 │
│ 50 │ 36000 │ 19600 │ 27700 │
│ 55 │ 39000 │ 21200 │ 30000 │
│ 60 │ 42000 │ 22900 │ 32300 │
│ 65 │ 45000 │ 24500 │ 34600 │
│ 70 │ 47900 │ 26100 │ 36900 │
│ 75 │ 50900 │ 27700 │ 39100 │
│ 80 │ 53700 │ 29200 │ 41300 │
│ 85 │ 56610 │ 30800 │ 43500 │
│ 90 │ 59400 │ 32300 │ 45700 │
│ 95 │ 62200 │ 33800 │ 47900 │
│100 │ 65000 │ 35400 │ 50000 │
│110 │ 70500 │ 38400 │ 54200 │
│120 │ 76000 │ 41300 │ 58400 │
│130 │ 81300 │ 44200 │ 62600 │
│140 │ 86600 │ 47100 │ 66700 │
│150 │ 91900 │ 50000 │ 70700 │
│160 │ 97100 │ 52800 │ 74700 │
│170 │ 102300 │ 55600 │ 78700 │
│180 │ 107400 │ 58400 │ 82600 │
│190 │ 112500 │ 61200 │ 86500 │
│200 │ 117500 │ 63900 │ 90400 │
│210 │ 122500 │ 66600 │ 94200 │
│220 │ 127500 │ 69300 │ 98000 │
│230 │ 132500 │ 72000 │ 102000 │
│240 │ 137300 │ 74700 │ 106000 │
│250 │ 142200 │ 77300 │ 109400 │
│264 │ 149000 │ 81100 │ 115000 │
├───────┴──────────────┴──────────────────────┴───────────────────────────┤
│ Примечание. Допускается линейная интерполяция значений испытательных │
│напряжений. │
└─────────────────────────────────────────────────────────────────────────┘
#Для твердой изоляции испытания напряжением постоянного или переменного тока являются альтернативными, т.е. достаточно убедиться, что изоляция соответствует какому-нибудь одному из них. Испытания проводят напряжением, нарастающим постепенно в течение 5 с или менее до заданного значения так, чтобы не возникло никаких заметных переходных процессов, затем напряжение поддерживают неизменным в течение 5 с. Напряжение может быть переменным или, для избежания емкостных токов, постоянным.
ЗАЗОРЫ в однородных конструкциях (см.
6.5.1.1) испытывают постоянным, переменным или импульсным напряжением, значение которого определяют по
таблице 6 для значений ЗАЗОРОВ для неоднородных конструкций.
Испытания импульсным напряжением - это испытания "стандартными импульсами" напряжения с длительностью фронта 1,2 мкс и длительностью импульса 50 мкс в соответствии с IEC 60060. Испытания проводят как минимум для трех импульсов каждой полярности с минимальными интервалами 1 с. Если выбраны испытания напряжением постоянного или переменного тока, то они должны проводиться как минимум для трех периодов при напряжении переменного тока или трижды с продолжительностью по 10 с каждой полярности - при напряжении постоянного тока.
Значения напряжений для испытаний ДВОЙНОЙ ИЗОЛЯЦИИ или УСИЛЕННОЙ ИЗОЛЯЦИИ превышают в 1,6 раза значения, определенные по
таблице 6.#
Примечания.
1. Во время испытания цепей может оказаться невозможным отделить испытания ЗАЗОРОВ от испытания твердой изоляции.
2. Максимальный испытательный ток обычно ограничивают, чтобы избежать повреждения испытательного оборудования и возникающих при этом ОПАСНОСТЕЙ.
| | ИС МЕГАНОРМ: примечание. В официальном тексте документа, видимо, допущена опечатка: пункт [3] отсутствует. | |
3. Может быть полезно создать в диэлектрике условия частичного разряда (см. IEC 60270 [3]).
4. После испытания следует принять меры для разряда энергии, накопленной во время испытания.
Таблица 7
Поправочные коэффициенты для испытательного напряжения
на высоту места испытаний
┌────────────────┬──────────────────────────────────────────────────────────────────────────────────────────────────┐
│ Высота места │ Поправочный коэффициент │
│ испытаний, м ├───────────────────────┬────────────────────────┬─────────────────────────┬───────────────────────┤
│ │327 В <= U <= 600 В│600 В <= U <= 3500 В│3500 В <= U <= 25 кВ │ 25 кВ <= U │
│ │ test │ test │ test │ test │
│ │(амплитудное значение) │(амплитудное значение) │(амплитудное значение) │ (амплитудное значение)│
│ │231 В <= U <= 424 В│424 В <= U <= 2475 В│2475 В <= U <= 17,7 В│ 17,7 кВ <= U │
│ │ test │ test │ test │ test │
│ │(среднее квадратическое│(среднее квадратическое │ (среднее квадратическое │(среднее квадратическое│
│ │ значение) │ значение) │ значение) │ значение) │
├────────────────┼───────────────────────┼────────────────────────┼─────────────────────────┼───────────────────────┤
│ Уровень моря │ 1,08 │ 1,16 │ 1,22 │ 1,24 │
├────────────────┼───────────────────────┼────────────────────────┼─────────────────────────┼───────────────────────┤
│ От 1 до 500 │ 1,06 │ 1,12 │ 1,16 │ 1,17 │
├────────────────┼───────────────────────┼────────────────────────┼─────────────────────────┼───────────────────────┤
│ От 501 до 1000 │ 1,04 │ 1,08 │ 1,11 │ 1,12 │
├────────────────┼───────────────────────┼────────────────────────┼─────────────────────────┼───────────────────────┤
│ От 1001 до 2000│ 1,00 │ 1,00 │ 1,00 │ 1,00 │
├────────────────┼───────────────────────┼────────────────────────┼─────────────────────────┼───────────────────────┤
│ От 2001 до 3000│ 0,96 │ 0,92 │ 0,89 │ 0,88 │
├────────────────┼───────────────────────┼────────────────────────┼─────────────────────────┼───────────────────────┤
│ От 3001 до 4000│ 0,92 │ 0,85 │ 0,80 │ 0,79 │
├────────────────┼───────────────────────┼────────────────────────┼─────────────────────────┼───────────────────────┤
│ От 4001 до 5000│ 0,88 │ 0,78 │ 0,71 │ 0,70 │
└────────────────┴───────────────────────┴────────────────────────┴─────────────────────────┴───────────────────────┘
6.7. Требования к конструкции в части защиты от поражения электрическим током
6.7.1. Общие положения
Для тех узлов и соединений, неисправность которых может привести к возникновению ОПАСНОСТИ, должны быть предусмотрены следующие требования:
a) безопасность проводных соединений, подверженных механическим воздействиям, не должна зависеть от наличия пайки проводов и ее качества;
b) длина винтов, крепящих съемные покрытия, должна учитываться при определении ЗАЗОРОВ и ПУТЕЙ УТЕЧКИ между проводящими ДОСТУПНЫМИ ЧАСТЯМИ и ОПАСНЫМИ ЧАСТЯМИ;
c) случайное ослабление крепления или освобождение проводов, винтов и т.д. не должно привести к превращению ДОСТУПНЫХ ЧАСТЕЙ в ОПАСНЫЕ.
В качестве изоляции для целей безопасности не должны использоваться:
1) материалы, которые могут легко быть повреждены (например, лак, эмаль, окисные пленки, анодные покрытия);
2) непропитанные гигроскопичные материалы (например, бумага, волокна, волокнистые материалы).
#Соответствие проверяют осмотром.#
6.7.2. Кожух щупов с двойной изоляцией или усиленной изоляцией
Щупы, защита которых от поражения электрическим током основана на ДВОЙНОЙ ИЗОЛЯЦИИ или УСИЛЕННОЙ ИЗОЛЯЦИИ, должны быть оборудованы КОЖУХОМ, закрывающим все металлические части. Исключение составляют небольшие металлические части (таблички, винты или заклепки), если они отделены от ОПАСНЫХ ЧАСТЕЙ УСИЛЕННОЙ ИЗОЛЯЦИЕЙ или ее эквивалентом.
КОЖУХ или части КОЖУХА, изготовленные из изоляционного материала, должны соответствовать требованиям, предъявляемым к ДВОЙНОЙ ИЗОЛЯЦИИ или УСИЛЕННОЙ ИЗОЛЯЦИИ.
Защита КОЖУХОВ или частей КОЖУХОВ, изготовленных из металла, за исключением частей, защищенных защитным сопротивлением, должна обеспечиваться одним из следующих средств:
a) изоляционным покрытием или БАРЬЕРОМ на внутренней части КОЖУХА. Они должны окружать все металлические ОПАСНЫЕ ЧАСТИ и те части, которые могут стать ОПАСНЫМИ при ослаблении крепления или коснуться металлических частей КОЖУХА;
b) ЗАЗОРЫ и ПУТИ УТЕЧКИ между КОЖУХОМ и ОПАСНЫМИ ЧАСТЯМИ не должны становиться менее установленных в
6.5, в том числе в случае ослабления крепления частей или проводов.
Примечание. Не допускается ослабление винтов или гаек со стопорными шайбами, а также проводов, механически закрепленных в дополнение к пайке.
#Соответствие проверяют осмотром, измерением и испытаниями по
6.6.#
6.7.3. Корона и частичный разряд
Конструкция щупа должна исключать появление коронного или частичного разрядов при максимальном номинальном значении напряжения.
#Соответствие проверяют испытаниями.#
6.7.4. Присоединение кабелей
Присоединение кабеля к КОЖУХУ щупа и к оборудованию (или к соединителю, если соединение разъемное) должно быть без повреждения, которое могло бы повлечь за собой ОПАСНОСТЬ, а также выдерживать силы, возникающие при нормальном применении щупа. Пайка без дополнительного механического закрепления не может считаться достаточным креплением для противодействия этим силам. Изоляция кабеля должна быть механически защищена во избежание изломов.
#Соответствие проверяют осмотром и испытаниями по
6.7.4.1 -
6.7.4.3. После испытаний:
a) кабель не должен быть поврежден;
b) изоляция кабеля не должна быть переломлена или порвана, и не должно быть смещения изоляции более чем на 2 мм в проходном изоляторе;
c) ЗАЗОРЫ и ПУТИ УТЕЧКИ не должны уменьшиться ниже значений, определенных в
6.5;
d) кабель должен выдерживать испытание напряжением по
6.6 (без предварительной выдержки в условиях влажности).#
Примечание. Для этих испытаний может оказаться полезным изготовить специальный образец щупа, все соединения которого, осуществляемые при помощи пайки, должны быть не пропаяны.
6.7.4.1. Воздействие испытательным напряжением
#КОЖУХ щупа или соединителя, или оборудования неподвижно закрепляют и прикладывают к кабелю постоянное осевое натяжение в течение 1 мин. Все паяные соединения при этом должны быть разорваны. Значение силы натяжения определяют:
a) для КОЖУХА щупа и для запирающихся разъемов по
таблице 8;
| | ИС МЕГАНОРМ: примечание. Нумерация пунктов дана в соответствии с официальным текстом документа. | |
d) для СОЕДИНИТЕЛЕЙ без блокировки по таблице 8 или выбирают увеличенное в четыре раза значение осевой силы, требующейся для разъединения соединителя, в зависимости от того, что меньше.#
Таблица 8
Сила натяжения для кабеля
Поперечное сечение проводника, мм2 | Сила натяжения, H |
a < 2,5 | 36 |
2,5 < a < 4 | 50 |
4 < a < 6 | 60 |
6 < a < 10 | 80 |
10 < a < 16 | 90 |
Примечание. Для многожильных кабелей площадь поперечного сечения проводника определяют как сумму площадей поперечных сечений отдельных проводников. |
6.7.4.2. Испытания на растяжение с изгибом
#Схема испытания показана на рисунке 7. КОЖУХ щупа, оборудования или соединителя закрепляют неподвижно, и все паяные соединения должны быть разорваны. Груз выбирают так, чтобы создаваемая им сила была равна 10 Н для проводников с площадью поперечного сечения от 0,3 мм2 до 0,75 мм2 или 20 Н - для проводников с площадью поперечного сечения более 0,75 мм2. Для многожильных кабелей площадь поперечного сечения проводников определяют как сумму площадей поперечных сечений отдельных проводников.#
Рисунок 7. Испытание на изгиб
#Конец кабеля, подвергающийся испытанию, попеременно изгибают на угол 45° в каждую сторону, стараясь, чтобы движение груза было при этом минимальным. Образцы с плоскими гибкими кабелями устанавливают так, чтобы главная ось секции была параллельна оси колебаний. Образцы с круглыми кабелями испытывают на изгиб в двух взаимно перпендикулярных плоскостях. Должно быть проведено 10000 изгибов (единичных движений на угол 90° между крайними положениями) со скоростью 60 изгибов в минуту.#
6.7.4.3. Испытание на изгиб с вращением
#Для проведения испытания провод закрепляют на испытательном приспособлении, как показано на рисунке 8, чтобы КОЖУХ щупа, оборудования или соединителя был закреплен в зажиме неподвижно, а твердая часть КОЖУХА выступала из зажима на 5 мм. Вращающийся зажим присоединяют к кабелю на расстоянии от зажима, фиксирующего кожух, равном 50 диаметрам зажима. Вращающийся зажим движется в плоскости, перпендикулярной к оси кабеля, в месте его выхода из КОЖУХА по окружности радиусом, равным 20 диаметрам кабеля от точки F до точки G и обратно (одно полное колебание). Общее число колебаний - 250, частота - 20 колебаний в минуту. После этого КОЖУХ в неподвижном зажиме поворачивают на 90° и проводят еще 250 осцилляций.#
Рисунок 8. Испытание кабеля щупа на изгиб с вращением
7. Защита от механических опасностей
Работа щупа при нормальном применении не должна создавать опасности.
Примечание. Края и грани щупа, к которым можно легко прикоснуться, должны быть гладкими и закругленными, чтобы не нанести травмы ОПЕРАТОРУ при прикосновении в условиях нормального применения. Это не относится к измерительному НАКОНЕЧНИКУ, штырькам разъемов и другим подобным элементам.
#Соответствие проверяют осмотром.#
8. Стойкость к ударным механическим нагрузкам
Щупы не должны становиться ОПАСНЫМИ в результате ударных нагрузок, вероятных в условиях нормального применения. Для того чтобы соответствовать этому требованию, щупы должны иметь достаточную механическую прочность, их компоненты должны быть надежно защищены, а электрические соединения - безопасны.
#Соответствие проверяют испытаниями по
8.1 -
8.3. Во время испытаний щуп не используют по его функциональному назначению.
После завершения испытаний щуп испытывают электрическим напряжением по
6.6 (без предварительной выдержки в условиях влажности) и проверяют:
a) не стали ли доступными ОПАСНЫЕ ЧАСТИ;
b) не появились ли на КОЖУХЕ трещины, которые могли бы привести к возникновению ОПАСНОСТИ;
c) не уменьшились ли ЗАЗОРЫ ниже установленных пределов и не повреждена ли изоляция внутренних проводников;
d) не повреждены ли БАРЬЕРЫ, не ослабло ли их крепление;
e) не появились ли повреждения, которые могли бы привести к возгоранию. Повреждения полировки, небольшие вмятины, не уменьшающие ЗАЗОРЫ и ПУТИ УТЕЧКИ ниже значений, установленных настоящим стандартом, небольшие сколы, не отражающиеся на защите от поражения электрическим током или влажности, во внимание не принимают.#
#Щуп жестко закрепляют на твердом основании и воздействуют на него полукруглым концом твердого стержня диаметром 12 мм силой 20 Н. Силу прикладывают трижды к каждой из доступных в рабочем состоянии щупа частей, повреждение которых могло бы привести к возникновению ОПАСНОСТИ.#
#Три образца щупа, по три раза каждый бросают с высоты 1 м на панель из твердого дерева толщиной 50 мм и плотностью более 700 кг/м3, лежащую на твердом основании, например, бетонном блоке. Каждый из образцов испытывают трижды так, чтобы воздействие приходилось на разные его точки.#
8.3. Испытание периодическими ударами
#КОЖУХ щупа подвергают ударам о деревянную панель, укрепленную на твердой стене, при качании на своем кабеле подобно маятнику (см. рисунок 9). Высота падения - 2 м или длина кабеля, если она менее 2 м. Толщина деревянной панели должна быть 50 мм, плотность - более 700 кг/м3.#
1 - начальная точка; 2 - точка подвески; 3 - кабель; 4 -
щуп; 5 - стена; 6 - деревянная панель
Рисунок 9. Испытание периодическими ударами (см.
8.3)
9. Температурные ограничения и защита
от распространения огня
Любое нагревание не должно создавать ОПАСНОСТЬ при нормальной эксплуатации щупов или при УСЛОВИИ ОДНОЙ НЕИСПРАВНОСТИ и приводить к возгоранию и распространению огня снаружи от щупа.
Температура поверхностей, к которым легко прикоснуться, не должна превышать 105 °C при УСЛОВИИ ОДНОЙ НЕИСПРАВНОСТИ, температуре окружающего воздуха 40 °C или при максимальном НОМИНАЛЬНОМ ЗНАЧЕНИИ температуры окружающего воздуха, если оно выше 40 °C.
В условиях нормального применения температура поверхностей не должна превышать приведенные ниже значения:
55 °C - для металлических частей;
70 °C - для неметаллических материалов;
75 °C - для проводов и кабелей.
Если по функциональному назначению необходимо наличие нагретых поверхностей, к которым можно легко прикоснуться, то допускается превышение их температуры относительно приведенных значений при условии, что такие поверхности должны быть легко распознаваемы или маркированы
символом 9 в соответствии с таблицей 1 (см.
5.2).
Если защита от огня зависит от разделения цепей, они должны быть разделены, по крайней мере, ОСНОВНОЙ ИЗОЛЯЦИЕЙ.
#Соответствие проверяют осмотром, испытаниями по 9.2 и испытаниями при УСЛОВИИ ОДНОЙ НЕИСПРАВНОСТИ (см.
4.4). Если защита основана на разделении цепей, соответствие проверяют измерением ЗАЗОРОВ и ПУТЕЙ УТЕЧКИ, после чего проводят испытания напряжением по
6.6 (без предварительного воздействия влагой).#
9.2. Температурные испытания
#Щуп проверяют при условиях и в положении нормального применения (см.
4.3.2). Температуру измеряют после достижения установившегося состояния.#
Примечания.
1. Максимальную температуру части щупа определяют в большинстве случаев измерением повышения температуры части щупа при условиях по
9.2 и прибавлением к полученному результату максимального значения температуры окружающего воздуха (40 °C или максимального значения нормированной температуры окружающего воздуха, если она выше, см.
1.4).
2. Нормальное применение щупа предполагает выполнение всех инструкций изготовителя относительно вентиляции и ограничений относительно длительности непрерывной работы и перерывов в работе, приведенных в документации на щупы.
10.1. Целостность зазоров и путей утечки
ЗАЗОРЫ и ПУТИ УТЕЧКИ должны соответствовать требованиям
6.5 при работе щупа при температуре окружающего воздуха 40 °C или максимальном НОМИНАЛЬНОМ ЗНАЧЕНИИ температуры окружающего воздуха, если она превышает 40 °C.
#В случаях, если возникают сомнения в степени нагрева щупа, соответствие проверяют на работающем щупе, помещенном в условия испытания по
4.3, за исключением того, что температура окружающего воздуха должна быть равна 40 °C или максимальной нормированной температуре окружающего воздуха, если она выше 40 °C. После этого испытания ЗАЗОРЫ и ПУТИ УТЕЧКИ не должны уменьшаться ниже значений, определенных в
6.5.
Если щуп имеет неметаллический КОЖУХ, температуру частей КОЖУХА измеряют для последующего использования результата при испытаниях по 10.2.#
10.2. Теплостойкость щупов
Щупы с кожухом из неметаллического материала должны быть стойкими к воздействию высоких температур.
#Соответствие проверяют одним из следующих испытаний:#
a) испытание отключенного щупа
Обесточенный щуп подвергают в течение 7 ч воздействию температуры 70 °C или температуры, на десять градусов выше максимальной температуры, определенной в ходе испытания по
10.1, в зависимости от того, какая из температур выше. Если щуп содержит компоненты, которые могли бы быть повреждены в ходе этой процедуры, то испытание проводят без компонентов с последующей сборкой щупа;
b) испытание подключенного щупа
Щуп во время испытаний функционирует при условиях по
4.3 и температуре окружающего воздуха 60 °C или на 20 °C выше максимального НОМИНАЛЬНОГО ЗНАЧЕНИЯ температуры окружающего воздуха, если оно превышает 40 °C.
#После завершения испытания не должно возникнуть каких-либо ОПАСНОСТЕЙ при работе щупа, и он должен быть испытан в соответствии с
6.6,
8.1,
8.2 и
8.3. ЗАЗОРЫ и ПУТИ УТЕЧКИ не должны уменьшиться ниже значений по
6.5.#
11. Защита от опасностей, связанных с жидкостями
Конструкция щупов, содержащих жидкости или использующихся при измерениях, связанных с жидкостями, должна обеспечивать защиту ОПЕРАТОРА и окружающей среды от ОПАСНОСТЕЙ, связанных с жидкостями, которые могут возникнуть при нормальном применении щупов.
Примечание. Упомянутые выше жидкости делятся на три категории:
a) имеющие продолжительный контакт с щупами, например, в сосудах, предназначенных для их хранения;
b) имеющие кратковременный контакт с щупами, например, чистящие жидкости;
c) имеющие случайный непредвиденный контакт с щупами. Изготовитель не обязан предусматривать защиту от таких случаев.
#Соответствие проверяют процедурами и испытаниями в соответствии с 11.2.#
11.2. Очистка от загрязнений
Если изготовителем определены процедуры очистки или удаления ЗАГРЯЗНЕНИЙ, они не должны приводить к возникновению угрозы безопасности, поражения электрическим током или ОПАСНОСТИ, возникающей вследствие коррозии или других изменений свойств частей щупа, обеспечивающих его безопасность. Все возможные методы очистки и удаления ЗАГРЯЗНЕНИЙ должны быть описаны в документации на щупы (см.
5.4.3).
#Соответствие проверяют трехкратной очисткой щупа в соответствии с инструкцией изготовителя. Если непосредственно после этой процедуры имеются любые признаки смачивания частей, которые могут стать причиной ОПАСНОСТИ, щуп должен быть испытан напряжением по
6.6 (без предварительной выдержки в условиях влажности), после чего для доступных частей щупа не должны быть превышены пределы значений, определенных в
6.3.1. Если определен метод удаления ЗАГРЯЗНЕНИЙ (обеззараживание, дезактивация и т.п.), этот метод применяют однократно.#
11.3. Щупы со специальной защитой
Если производитель определил щуп как имеющий защищенный КОЖУХ, щуп должен соответствовать требованиям IEC 60529.
#Соответствие проверяют осмотром и процедурами в соответствии с IEC 60529, затем щуп должен быть испытан напряжением в соответствии с
6.6 (без предварительной выдержки в условиях влажности), после чего для доступных частей не должны быть превышены пределы, предусмотренные в
6.3.1.#
Компоненты щупов, от которых зависит безопасность, должны использоваться в соответствии с определенными для них НОМИНАЛЬНЫМИ ЗНАЧЕНИЯМИ параметров, если не оговорено иное.
Компоненты должны соответствовать:
a) всем требованиям безопасности соответствующих стандартов IEC на компоненты.
Проверка соответствия другим требованиям этих стандартов в настоящем стандарте не предусмотрена. В случае необходимости компоненты подвергают испытаниям в соответствии с требованиями настоящего стандарта, за исключением аналогичных испытаний, уже проведенных при проверке соответствия требованиям стандарта на компоненты;
b) требованиям настоящего стандарта и, если необходимо, любым дополнительным требованиям безопасности стандарта на компонент;
c) требованиям настоящего стандарта, если стандарта на компонент нет.
Компоненты, соответствие которых всем требованиям безопасности подтверждено уполномоченными органами, повторным испытаниям не подвергают.
#Соответствие проверяют осмотром и, если необходимо, испытанием.#
12.2. Плавкие предохранители
Если на щупе установлен плавкий предохранитель, то его НОМИНАЛЬНОЕ ЗНАЧЕНИЕ напряжения должно быть не ниже, чем максимальное НОМИНАЛЬНОЕ ЗНАЧЕНИЕ напряжения щупа. Отключающая способность и НОМИНАЛЬНОЕ ЗНАЧЕНИЕ тока предохранителя должны соответствовать условиям, на которые рассчитан щуп (см. также
5.1.3).
Примечание. Минимальную отключающую способность обычно определяют как отношение максимального НОМИНАЛЬНОГО ЗНАЧЕНИЯ напряжения щупа к импедансу одного или двух щупов в зависимости от используемой схемы подключения.
#Соответствие проверяют осмотром.#
12.3. Компоненты с высокой надежностью
Компоненты с ВЫСОКОЙ НАДЕЖНОСТЬЮ следует применять там, где при коротком замыкании или внезапном разрыве цепи могут возникнуть нарушения требований настоящего стандарта в части УСЛОВИЙ ОДНОЙ НЕИСПРАВНОСТИ (например, ЗАЩИТНЫЙ ИМПЕДАНС). Компоненты с высокой степенью надежности должны быть изготовлены, настроены и проверены в соответствии с требованиями стандартов IEC на них (если применимо), чтобы гарантировать безопасность и надежность в условиях применения, для которых они предназначены. Такие компоненты можно считать безотказными с точки зрения требований безопасности настоящего стандарта.
Примечание. Примеры возможных испытаний:
a) испытание на электрическую прочность диэлектрика - проверяют на соответствие требованиям для ДВОЙНОЙ ИЗОЛЯЦИИ или УСИЛЕННОЙ ИЗОЛЯЦИИ;
b) испытание на мощность рассеивания - размеры резисторов должны обеспечивать, по крайней мере, двойную рассеиваемую мощность;
c) климатические испытания и испытания на надежность - чтобы гарантировать безопасную работу щупа в течение предполагаемого срока службы;
| | ИС МЕГАНОРМ: примечание. В официальном тексте документа, видимо, допущена опечатка: пункт [2] отсутствует. | |
d) испытание резисторов по [2].
Отдельное электронное устройство (вакуумное, газонаполненное или полупроводниковое) не может считаться компонентом ВЫСОКОЙ НАДЕЖНОСТИ.
#Соответствие проверяют проведением испытаний.#
Примечание. Испытания проводят также для оценки того, можно ли компонент щупа рассматривать как компонент ВЫСОКОЙ НАДЕЖНОСТИ. Требования и методы испытаний - на усмотрение проводящих испытания.
12.3.1. Резисторы, используемые в защитном импедансе
Любой резистор или резисторная сборка (входящая в защитный импеданс), используемые в щупе (см.
6.4), должны быть компонентами ВЫСОКОЙ НАДЕЖНОСТИ или соответствовать следующим требованиям:
a) допустимая максимальная рассеиваемая мощность резистора или сборки должна в два раза превышать мощность, рассеиваемую при максимальном НОМИНАЛЬНОМ ЗНАЧЕНИИ напряжения на щупе;
b) резистор или сборка должны выдерживать, по крайней мере, в течение 1 с двойное максимальное НОМИНАЛЬНОЕ напряжение щупа;
c) расстояние между выводами резистора или сборки должно быть, по крайней мере, не менее значения ЗАЗОРА для ДВОЙНОЙ ИЗОЛЯЦИИ при максимальном НОМИНАЛЬНОМ ЗНАЧЕНИИ напряжения щупа. Если при максимальном НОМИНАЛЬНОМ ЗНАЧЕНИИ напряжения щупа резистор или сборка нагреваются, то значение ЗАЗОРА должно быть определено для максимального РАБОЧЕГО НАПРЯЖЕНИЯ, умноженного на отношение

, где

- максимальное НОМИНАЛЬНОЕ ЗНАЧЕНИЕ температуры окружающего воздуха щупа, а

- максимальная температура вокруг резистора при максимальном НОМИНАЛЬНОМ ЗНАЧЕНИИ напряжения и максимальной температуре окружающего воздуха (температуру выражают в Кельвинах).
#Соответствие проверяют измерением и испытанием.#
(обязательное)
ИЗМЕРЕНИЕ ТОКА ЧЕРЕЗ ДОСТУПНЫЕ ЧАСТИ (СМ.
6.3)
A.1. Схема измерения постоянного тока и переменного тока частотой до 1 МГц
Ток измеряют по схеме, представленной на
рисунке A.1. Ток рассчитывают по формуле
I = U/500,
где I - сила тока, А;
U - напряжение, измеренное вольтметром, В.
Компоненты: C1 = 0,22 мкФ; C2 = 0,022 мкФ; R1 = 1500 Ом;
R2 = 500 Ом; R3 = 10 кОм; V - вольтметр
Рисунок A.1. Схема измерения постоянного тока и переменного
тока частотой до 1 МГц
Схема моделирует импеданс тела человека и учитывает зависимость физиологической реакции тела от частоты тока.
A.2. Схемы измерения постоянного тока и переменного синусоидального тока частотой до 100 Гц
Если частота измеряемого тока не превышает 100 Гц, ток допускается измерять по упрощенным схемам, представленным на
рисунке A.2. Если измерения проводят вольтметром, то ток рассчитывают по формуле
I = U/2000,
где I - ток, А;
U - напряжение, измеренное вольтметром, В.
Компоненты: А - амперметр; R = 2000 Ом; V - вольтметр
Примечание. Значение сопротивления 2000 Ом указано с учетом внутреннего сопротивления измерительного прибора.
Рисунок A.2. Схемы измерения постоянного тока и переменного
синусоидального тока частотой до 100 Гц
Схемы моделируют импеданс тела человека для частот, не превышающих 100 Гц.
A.3. Схема измерения тока для испытаний защиты от ожога при высоких частотах
Ток измеряют по схеме, представленной на
рисунке A.3. Значение тока вычисляют по формуле
I = U/500,
где I - ток, А;
U - напряжение, измеренное вольтметром, В.
Компоненты: R1 = 1500 Ом; R2 = 500 Ом; C1 =0,22 мкФ;
V - вольтметр
Рисунок A.3. Схема измерения тока для испытаний защиты
от ожога при высоких частотах
Эта схема учитывает зависимость физиологической реакции человека от частоты.
A.4. Схема измерений для влажных контактов
Для влажных контактов следует пользоваться схемой измерений, представленной на
рисунке A.4. Значение тока вычисляют по формуле
I = U/500,
где I - ток, А;
U - напряжение, измеренное вольтметром, В.
Компоненты: R1 = 375 Ом; R2 = 500 Ом; C1 = 0,22 мкФ;
V - вольтметр
Рисунок A.4. Схема измерений для влажных контактов
Эта схема моделирует импеданс тела человека при отсутствии контактного сопротивления кожи.
(обязательное)
СТАНДАРТНЫЕ ИСПЫТАТЕЛЬНЫЕ ПАЛЬЦЫ (СМ.
6.2)
Размеры оконечности пальца в миллиметрах и допуски на них приведены на
рисунке B.2.
Рисунок B.1. Жесткий испытательный палец
| | ИС МЕГАНОРМ: примечание. В официальном тексте документа, видимо, допущена опечатка: пункт [5] отсутствует. | |
Примечание. Этот испытательный палец идентичен испытательному образцу 11 по [5].
Если допуск на
рисунке B.2 не указан, то его следует считать равным:
- на угловые размеры -

,
- на линейные размеры:
до 25 мм -

;
свыше 25 мм - +/- 0,2 мм.
1 - изоляционный материал; 2 - сечение А-А; 3 - сечение В-В;
4 - ручка; 5 - ограничитель; 6 - сферическая поверхность;
7 - пример выполнения соединения деталей; 8 - вид сбоку
Рисунок B.2. Составной испытательный палец
Материал - закаленная сталь и т.п.
Оба соединения пальца могут поворачиваться на угол

, но только в одном направлении.
Использование штифта и паза - лишь один из возможных способов ограничения угла поворота не более 90°. Поэтому на
рисунке B.2 не приведены размеры штифта и паза. Конструкция пальца должна обеспечивать требуемый угол поворота.
| | ИС МЕГАНОРМ: примечание. В официальном тексте документа, видимо, допущена опечатка: пункт [5] отсутствует. | |
Примечание. Такой испытательный палец идентичен испытательному образцу В по [5].
(обязательное)
ИЗМЕРЕНИЕ ПУТЕЙ УТЕЧКИ И ЗАЗОРОВ
Ширина паза X (см.
примеры 1 -
11) зависит от СТЕПЕНИ ЗАГРЯЗНЕНИЯ в соответствии с таблицей C.1.
Таблица C.1
Соответствие между СТЕПЕНЬЮ ЗАГРЯЗНЕНИЯ и минимальной
шириной пазов
СТЕПЕНЬ ЗАГРЯЗНЕНИЯ | Минимальная ширина паза, мм |
1 | 0,25 |
2 | 1,0 |
3 | 1,5 |
Если размер соответствующих тем же условиям ЗАЗОРОВ оказывается менее 3 мм, то минимальную ширину паза допускается уменьшить до одной трети размера ЗАЗОРА.
Способы измерения ПУТЕЙ УТЕЧКИ и ЗАЗОРОВ - в соответствии с
примерами 1 -
11. В этих примерах не делается различий между сквозными прорезями и пазами, а также в типах изоляции.
При этом предполагается, что:
a) если расстояние между противоположными поверхностями паза равно или более X, то ПУТЬ УТЕЧКИ измеряют по контуру паза (см.
пример 2);
b) любые углубления замкнуты изоляционной перемычкой длиной X, помещенной наименее благоприятным образом;
c) ПУТИ УТЕЧКИ и ЗАЗОРЫ, измеренные между частями, которые могут смещаться относительно друг друга, измеряют при наименее благоприятном их расположении (см. рисунок C.1).
Пример 1 - Путь утечки проходит через выемку с параллельными или сходящимися сторонами шириной менее X на любой ее глубине.
ЗАЗОР и ПУТЬ УТЕЧКИ измеряют по прямой поперек выемки, как показано на
рисунке C.1.
Пример 2 - Путь утечки проходит через выемку с параллельными сторонами шириной, равной или более X.
ЗАЗОР измеряют по кратчайшему расстоянию, ПУТЬ УТЕЧКИ - по контуру выемки (см. рисунок C.2).
Рисунок C.2
Пример 3 - Путь утечки проходит через V-образную выемку, максимальная ширина которой более X.
ЗАЗОР измеряют по кратчайшему расстоянию, ПУТЬ УТЕЧКИ - по контуру выемки и по кратчайшему расстоянию между ее сторонами там, где это расстояние равно X (см. рисунок C.3).
Рисунок C.3
Пример 4 - Путь утечки проходит через ребро.
ЗАЗОР равен кратчайшему расстоянию по воздуху через вершину ребра. ПУТЬ УТЕЧКИ проходит по контуру ребра (см. рисунок C.4).
Рисунок C.4
Пример 5 - Путь утечки проходит через составную несклеенную перегородку с пазами с каждой стороны, ширина которых менее X.
ЗАЗОР и ПУТЬ УТЕЧКИ измеряют по кратчайшему расстоянию, указанному на рисунке C.5.
Рисунок C.5
Пример 6 - Путь утечки проходит через составную несклеенную перегородку с пазами с каждой стороны, ширина которых более или равна X.
ЗАЗОР измеряют по кратчайшему расстоянию, а ПУТЬ УТЕЧКИ - по контуру выемок, как показано на рисунке C.6.
Рисунок C.6
Пример 7 - Путь утечки проходит через составную несклеенную перегородку с пазами с каждой стороны, ширина которых более или равна X с одной стороны и меньше X с другой.
ЗАЗОР и ПУТЬ УТЕЧКИ измеряют, как показано на рисунке C.7.
Рисунок C.7
Пример 8 - Путь утечки через несклеенное соединение меньше, чем путь утечки через БАРЬЕР.
ЗАЗОР равен кратчайшему расстоянию по воздуху через вершину БАРЬЕРА (см. рисунок C.8).
Рисунок C.8
Пример 9 - Зазор между головкой болта и стенкой выемки слишком мал, чтобы его учитывать (см. рисунок C.9).
Рисунок C.9
Пример 10 - Зазор между головкой болта и стенкой выемки достаточен для того, чтобы его учитывать.
ПУТЬ УТЕЧКИ от стенки выемки до болта измеряют в том месте, где он равен X (см. рисунок C.10).
Рисунок C.10
Пример 11 - C - свободно лежащая часть.
ЗАЗОР и ПУТЬ УТЕЧКИ равны D + d.

- ЗАЗОР;

- ПУТЬ УТЕЧКИ.
(справочное)
О СООТВЕТСТВИИ МЕЖГОСУДАРСТВЕННЫХ СТАНДАРТОВ ССЫЛОЧНЫМ
МЕЖДУНАРОДНЫМ СТАНДАРТАМ
Таблица ДА.1
Обозначение и наименование международного стандарта | Степень соответствия | Обозначение и наименование соответствующего межгосударственного стандарта |
ISO 7000:2004 Графические обозначения, наносимые на аппаратуру. Указатель и краткий обзор | - | |
IEC 60060 (все части) Высоковольтная испытательная техника | - | |
IEC 60417 (все части) Графические обозначения, наносимые на аппаратуру | - | |
IEC 60529 Степени защиты, обеспечиваемой оболочками (Код IP) | MOD | 529-89) Степени защиты, обеспечиваемые оболочками (код IP) |
IEC 60664-3:2010 Координация изоляции оборудования для низковольтных систем. Часть 3: Использование покрытий для достижения координации изоляции печатных плат в сборе | - | |
<*> Соответствующий межгосударственный стандарт отсутствует. До его утверждения рекомендуется использовать перевод на русский язык данного международного стандарта или гармонизированный с ним национальный (государственный) стандарт страны, на территории которой применяется настоящий стандарт. Информация о наличии перевода данного международного стандарта в национальном фонде стандартов или в ином месте, а также информация о действии на территории страны соответствующего национального (государственного) стандарта может быть приведена в национальных информационных данных, дополняющих настоящий стандарт. Примечание. В настоящей таблице использовано следующее условное обозначение степени соответствия стандарта: - MOD - модифицированный стандарт. |