Главная // Актуальные документы // ГОСТ (Государственный стандарт)СПРАВКА
Источник публикации
М.: ИПК Издательство стандартов, 1998
Примечание к документу
С 1 июля 2003 года до вступления в силу технических регламентов акты федеральных органов исполнительной власти в сфере технического регулирования носят рекомендательный характер и подлежат обязательному исполнению только в части, соответствующей целям, указанным в
пункте 1 статьи 46 Федерального закона от 27.12.2002 N 184-ФЗ.
Введен в действие с 1 января 1978 года.
Взамен ГОСТ 9833-61 (в части размеров).
Название документа
"ГОСТ 9833-73. Государственный стандарт Союза ССР. Кольца резиновые уплотнительные круглого сечения для гидравлических и пневматических устройств. Конструкция и размеры"
(утв. и введен в действие Постановлением Госстандарта СССР от 25.05.1973 N 1322)
(ред. от 01.06.1987)
"ГОСТ 9833-73. Государственный стандарт Союза ССР. Кольца резиновые уплотнительные круглого сечения для гидравлических и пневматических устройств. Конструкция и размеры"
(утв. и введен в действие Постановлением Госстандарта СССР от 25.05.1973 N 1322)
(ред. от 01.06.1987)
Утвержден и введен в действие
Постановлением Госстандарта СССР
25 мая 1973 г. N 1322
ГОСУДАРСТВЕННЫЙ СТАНДАРТ СОЮЗА ССР
КОЛЬЦА РЕЗИНОВЫЕ УПЛОТНИТЕЛЬНЫЕ КРУГЛОГО СЕЧЕНИЯ
ДЛЯ ГИДРАВЛИЧЕСКИХ И ПНЕВМАТИЧЕСКИХ УСТРОЙСТВ
КОНСТРУКЦИЯ И РАЗМЕРЫ
Rubber toroidal sealing rings for hydraulic
and pneumatic equipment. Construction and dimensions
ГОСТ 9833-73
| | Список изменяющих документов (в ред. Изменения N 1, утв. в феврале 1979 г., Изменения N 2, утв. в августе 1982 г., Изменения N 3, утв. в июне 1987 г.) | |
ОКП 25 3111
Дата введения
1 января 1978 года
1. Разработан и внесен Министерством нефтеперерабатывающей и нефтехимической промышленности СССР.
Разработчики: Г.А. Аптекарев (руководитель темы), Е.Е. Ковалева, Ю.Н. Городничев, канд. техн. наук Т.П. Федулова, Е.А. Протасова, А.М. Верещагина, Н.Б. Луканева.
2. Утвержден и введен в действие Постановлением Государственного комитета стандартов Совета Министров СССР от 25.05.1973 N 1322.
3. Срок проверки - 1991 г.; периодичность проверки - 3 года.
4. Стандарт полностью соответствует ИСО 3601-78.
5. Взамен ГОСТ 9833-61 (в части размеров).
6. Ссылочные нормативно-технические документы
───────────────────────────────────────┬──────────────────────────
Обозначение НТД, на который дана ссылка│ Номер приложения
───────────────────────────────────────┼──────────────────────────
ИС МЕГАНОРМ: примечание.
ГОСТ 10589-87 утратил силу с 1 ноября 2017 года в связи с
от 02.03.2017 N 92-ст).
ИС МЕГАНОРМ: примечание.
Взамен ГОСТ 25347-82 Приказом Росстандарта от 18.02.2014
7. Переиздание (октябрь 1998 г.) с Изменениями N 1, 2, 3, утвержденными в феврале 1979 г., августе 1982 г., июне 1987 г. (ИУС 4-79, 12-82, 11-87).
8. Ограничение срока действия снято по Протоколу N 2-93 Межгосударственного совета по стандартизации, метрологии и сертификации (ИУС 2-93).
1. Настоящий стандарт устанавливает конструкцию и размеры резиновых уплотнительных колец круглого сечения для гидравлических, топливных, смазочных и пневматических устройств.
Рекомендации по применению и монтажу колец даны в Приложении к настоящему стандарту.
2. Кольца должны изготовляться следующих групп точности:
1 - для подвижных соединений;
2 - для подвижных и неподвижных соединений.
Примечание. Кольца группы точности 1 изготовляются по согласованию потребителя с изготовителем.
3. Диаметры сечений колец должны соответствовать указанным на черт. 1 и в
табл. 1.
Черт. 1
──────────────────────────┬────────────────────────────────────────────────
Номинальный диаметр │ Предельные отклонения для групп точности
сечения d ├───────────────────────┬────────────────────────
2 │ 1 │ 2
──────────────────────────┼───────────────────────┼────────────────────────
1,4 │ +/- 0,07 │ +/- 0,10
1,9 │ +/- 0,08 │
2,5 │ +/- 0,09 │
──────────────────────────┼───────────────────────┼────────────────────────
3,0 │ +/- 0,10 │ + 0,20
3,6 │ │ - 0,10
4,6 │ │
──────────────────────────┼───────────────────────┼────────────────────────
5,8 │ +/- 0,14 │ + 0,30
7,5 │ +/- 0,15 │ - 0,15
──────────────────────────┼───────────────────────┼────────────────────────
8,5 │ +/- 0,20 │ + 0,30
│ │ - 0,20
(Измененная редакция, Изм. N 3).
4. Внутренние диаметры колец должны соответствовать указанным на черт. 2 -
10 и в
табл. 2 -
10.
Кольца уплотнительные сечением 1,4 мм
Черт. 2
──────────────────────┬─────────────┬────────────────────────┬─────────────
Обозначение │Применяемость│ d , мм │ Масса
типоразмера кольца │ │ 1 │ 1000 шт.,
│ ├───────────┬────────────┤ кг
│ │ Номин. │Пред. откл. │
──────────────────────┼─────────────┼───────────┼────────────┼─────────────
003-005-14 │ │ 2,8 │ -0,2 │ 0,02
004-006-14 │ │ 3,8 │ ├─────────────
005-007-14 │ │ 4,7 │ │ 0,03
006-008-14 │ │ 5,7 ├────────────┼─────────────
008-010-14 │ │ 7,7 │ -0,3 │ 0,04
Кольца уплотнительные сечением 1,9 мм
Черт. 3
Таблица 3
──────────────────────┬─────────────┬────────────────────────┬─────────────
Обозначение │Применяемость│ d , мм │ Масса
типоразмера │ │ 1 │1000 шт., кг
кольца │ ├───────────┬────────────┤
│ │ Номин. │Пред. откл. │
──────────────────────┼─────────────┼───────────┼────────────┼─────────────
003-006-19 │ │ 2,8 │ -0,2 │ 0,04
004-007-19 │ │ 3,8 │ │ 0,05
005-008-19 │ │ 4,7 │ │ 0,06
006-009-19 │ │ 5,7 │ │ 0,07
──────────────────────┼─────────────┼───────────┼────────────┼─────────────
007-010-19 │ │ 6,7 │ -0,3 │ 0,08
008-011-19 │ │ 7,7 │ │ 0,09
009-012-19 │ │ 8,7 │ │ 0,09
010-013-19 │ │ 9,7 │ │ 0,10
011-014-19 │ │ 10,6 │ │ 0,11
012-015-19 │ │ 11,6 │ │ 0,12
013-016-19 │ │ 12,6 │ │ 0,13
014-017-19 │ │ 13,6 │ │ 0,14
015-018-19 │ │ 14,6 │ │ 0,15
016-019-19 │ │ 15,6 │ │ 0,16
017-020-19 │ │ 16,6 │ │ 0,17
──────────────────────┼─────────────┼───────────┼────────────┼─────────────
018-021-19 │ │ 17,5 │ -0,4 │ 0,17
019-022-19 │ │ 18,5 │ │ 0,18
020-023-19 │ │ 19,5 │ │ 0,19
021-024-19 │ │ 20,5 │ │ 0,20
022-025-19 │ │ 21,5 │ │ 0,21
023-026-19 │ │ 22,5 │ │ 0,22
024-027-19 │ │ 23,5 │ │ 0,23
025-028-19 │ │ 24,5 │ │ 0,24
──────────────────────┼─────────────┼───────────┼────────────┼─────────────
026-029-19 │ │ 25,5 │ -0,5 │ 0,24
027-030-19 │ │ 26,5 │ │ 0,25
028-031-19 │ │ 27,5 │ │ 0,26
029-032-19 │ │ 28,5 │ │ 0,27
030-033-19 │ │ 29,5 │ │ 0,28
──────────────────────┼─────────────┼───────────┼────────────┼─────────────
032-035-19 │ │ 31,0 │ -0,6 │ 0,29
033-036-19 │ │ 32,0 │ │ 0,30
034-037-19 │ │ 33,0 │ │ 0,31
035-038-19 │ │ 34,0 │ │ 0,32
036-039-19 │ │ 35,0 │ │ 0,33
037-040-19 │ │ 36,0 │ │ 0,34
038-041-19 │ │ 37,0 │ │ 0,35
──────────────────────┼─────────────┼───────────┼────────────┼─────────────
039-042-19 │ │ 38,0 │ -0,7 │ 0,36
040-043-19 │ │ 39,0 │ │ 0,37
042-045-19 │ │ 41,0 │ │ 0,38
045-048-19 │ │ 44,0 │ │ 0,41
──────────────────────┼─────────────┼───────────┼────────────┼─────────────
047-050-19 │ │ 46,0 │ -0,8 │ 0,43
048-052-19 │ │ 47,0 │ │ 0,44
050-053-19 │ │ 49,0 │ │ 0,45
──────────────────────┼─────────────┼───────────┼────────────┼─────────────
003,5-006,5-19 │ │ 3,2 │ -0,2 │ 0,05
004,5-007,5-19 │ │ 4,2 │ │ 0,05
005,5-008,5-19 │ │ 5,2 │ │ 0,06
──────────────────────┼─────────────┼───────────┼────────────┼─────────────
006,5-009,5-19 │ │ 6,2 │ -0,3 │ 0,07
007,5-010,5-19 │ │ 7,2 │ │ 0,08
008,5-011,5-19 │ │ 8,2 │ │ 0,09
009,5-012,5-19 │ │ 9,2 │ │ 0,10
010,5-013,5-19 │ │ 10,0 │ │ 0,11
011,5-014,5-18 │ │ 11,0 │ │ 0,12
012,5-015,5-19 │ │ 12,0 │ │ 0,12
013,5-016,5-19 │ │ 13,0 │ │ 0,13
014,5-017,5-19 │ │ 14,0 │ │ 0,14
015,5-018,5-19 │ │ 15,0 │ │ 0,15
016,5-019,5-19 │ │ 16,0 │ │ 0,16
Примечание. Типоразмеры колец от 021-024-19 до 050-053-19 и от 003,5-006,5-19 до 016,5-019,5-19 применять не рекомендуется.
Кольца уплотнительные сечением 2,5 мм
Черт. 4
Таблица 4
──────────────────────┬─────────────┬────────────────────────┬─────────────
Обозначение │Применяемость│ d , мм │ Масса
типоразмера │ │ 1 │1000 шт., кг
кольца │ ├───────────┬────────────┤
│ │ Номин. │Пред. откл. │
──────────────────────┼─────────────┼───────────┼────────────┼─────────────
004-008-25 │ │ 3,8 │ -0,2 │ 0,10
005-009-25 │ │ 4,7 │ │ 0,11
006-010-25 │ │ 5,7 │ │ 0,13
──────────────────────┼─────────────┼───────────┼────────────┼─────────────
007-011-25 │ │ 6,7 │ -0,3 │ 0,14
008-012-25 │ │ 7,7 │ │ 0,15
009-013-25 │ │ 8,7 │ │ 0,18
010-014-25 │ │ 9,7 │ │ 0,20
011-015-25 │ │ 10,6 │ │ 0,22
012-016-25 │ │ 11,6 │ │ 0,23
013-017-25 │ │ 12,6 │ │ 0,25
014-018-25 │ │ 13,6 │ │ 0,27
015-019-25 │ │ 14,6 │ │ 0,29
016-020-25 │ │ 15,6 │ │ 0,30
017-021-25 │ │ 16,6 │ │ 0,31
──────────────────────┼─────────────┼───────────┼────────────┼─────────────
018-022-25 │ │ 17,5 │ -0,4 │ 0,32
019-023-25 │ │ 18,5 │ │ 0,33
020-024-25 │ │ 19,5 │ │ 0,34
021-025-25 │ │ 20,5 │ │ 0,35
022-026-25 │ │ 21,5 │ │ 0,37
023-027-25 │ │ 22,5 │ │ 0,39
024-028-25 │ │ 23,5 │ │ 0,40
025-029-25 │ │ 24,5 │ │ 0,41
──────────────────────┼─────────────┼───────────┼────────────┼─────────────
026-030-25 │ │ 25,5 │ -0,5 │ 0,42
027-031-25 │ │ 26,5 │ │ 0,45
028-032-25 │ │ 27,5 │ │ 0,46
029-033-25 │ │ 28,5 │ │ 0,48
030-034-25 │ │ 29,5 │ │ 0,49
──────────────────────┼─────────────┼───────────┼────────────┼─────────────
032-036-25 │ │ 31,0 │ -0,6 │ 0,52
034-038-25 │ │ 33,0 │ │ 0,55
036-040-25 │ │ 35,0 │ │ 0,57
037-041-25 │ │ 36,0 │ │ 0,59
038-042-25 │ │ 37,0 │ │ 0,61
──────────────────────┼─────────────┼───────────┼────────────┼─────────────
040-044-25 │ │ 39,0 │ -0,7 │ 0,64
041-045-25 │ │ 40,0 │ │ 0,66
042-046-25 │ │ 41,0 │ │ 0,67
043-047-25 │ │ 42,0 │ │ 0,68
044-048-25 │ │ 43,0 │ │ 0,70
045-049-25 │ │ 44,0 │ │ 0,72
──────────────────────┼─────────────┼───────────┼────────────┼─────────────
046-050-25 │ │ 45,0 │ -0,8 │ 0,73
048-052-25 │ │ 47,0 │ │ 0,76
050-054-25 │ │ 49,0 │ │ 0,79
051-055-25 │ │ 50,0 │ │ 0,81
──────────────────────┼─────────────┼───────────┼────────────┼─────────────
052-056-25 │ │ 51,0 │ -0,9 │ 0,83
054-058-25 │ │ 53,0 │ │ 0,86
055-059-25 │ │ 54,0 │ │ 0,87
056-060-25 │ │ 55,0 │ │ 0,89
──────────────────────┼─────────────┼───────────┼────────────┼─────────────
058-062-25 │ │ 57,0 │ -1,0 │ 0,91
060-064-25 │ │ 59,0 │ │ 0,94
061-065-25 │ │ 60,0 │ │ 0,96
062-066-25 │ │ 61,0 │ │ 0,98
064-068-25 │ │ 62,5 │ │ 1,00
──────────────────────┼─────────────┼───────────┼────────────┼─────────────
065-070-25 │ │ 63,5 │ -1,1 │ 1,03
068-072-25 │ │ 66,5 │ │ 1,06
070-075-25 │ │ 68,5 │ │ 1,09
──────────────────────┼─────────────┼───────────┼────────────┼─────────────
072-078-25 │ │ 70,5 │ -1,2 │ 1,13
075-080-25 │ │ 73,5 │ │ 1,17
078-082-25 │ │ 76,5 │ │ 1,22
──────────────────────┼─────────────┼───────────┼────────────┼─────────────
080-085-25 │ │ 78,5 │ -1,3 │ 1,25
082-088-25 │ │ 80,5 │ │ 1,28
──────────────────────┼─────────────┼───────────┼────────────┼─────────────
085-090-25 │ │ 83,5 │ -1,4 │ 1,33
088-092-25 │ │ 86,5 │ │ 1,37
090-095-25 │ │ 88,5 │ │ 1,40
──────────────────────┼─────────────┼───────────┼────────────┼─────────────
092-098-25 │ │ 90,5 │ -1,5 │ 1,43
095-100-25 │ │ 93,0 │ │ 1,47
098-102-25 │ │ 96,0 │ │ 1,52
──────────────────────┼─────────────┼───────────┼────────────┼─────────────
100-105-25 │ │ 98,0 │ -1,6 │ 1,55
102-108-25 │ │ 100,0 │ │ 1,58
105-110-25 │ │ 103,0 │ │ 1,63
──────────────────────┼─────────────┼───────────┼────────────┼─────────────
108-112-25 │ │ 106,0 │ -1,7 │ 1,67
110-115-25 │ │ 108,0 │ │ 1,70
──────────────────────┼─────────────┼───────────┼────────────┼─────────────
112-118-25 │ │ 110,0 │ -1,8 │ 1,74
115-120-25 │ │ 113,0 │ │ 1,78
118-122-25 │ │ 116,0 │ │ 1,82
──────────────────────┼─────────────┼───────────┼────────────┼─────────────
120-125-25 │ │ 118,0 │ -1,9 │ 1,86
122-128-25 │ │ 120,0 │ │ 1,89
──────────────────────┼─────────────┼───────────┼────────────┼─────────────
125-130-25 │ │ 122,5 │ -2,0 │ 1,93
130-135-25 │ │ 127,5 │ │ 2,00
──────────────────────┼─────────────┼───────────┼────────────┼─────────────
135-140-25 │ │ 132,5 │ -2,2 │ 2,08
140-145-25 │ │ 137,5 │ │ 2,16
145-150-25 │ │ 142,5 │ │ 2,24
──────────────────────┼─────────────┼───────────┼────────────┼─────────────
150-155-25 │ │ 147,5 │ -2,4 │ 2,31
──────────────────────┼─────────────┼───────────┼────────────┼─────────────
004,5-008,5-25 │ │ 4,2 │ -0,2 │ 0,10
005,5-009,5-25 │ │ 5,2 │ │ 0,12
──────────────────────┼─────────────┼───────────┼────────────┼─────────────
006,5-010,5-25 │ │ 6,2 │ -0,3 │ 0,12
007,5-011,5-25 │ │ 7,2 │ │ 0,15
008,5-012,5-25 │ │ 8,2 │ │ 0,17
009,5-013,5-25 │ │ 9,2 │ │ 0,18
010,5-014,5-25 │ │ 10,0 │ │ 0,19
011,5-015,5-25 │ │ 11,0 │ │ 0,21
012,5-016,5-25 │ │ 12,0 │ │ 0,22
013,5-017,5-25 │ │ 13,0 │ │ 0,25
014,5-018,5-25 │ │ 14,0 │ │ 0,28
015,5-019,5-25 │ │ 15,0 │ │ 0,29
Примечание. Типоразмеры колец от 040-044-25 до 150-155-25 и от 004,5-008,5-25 до 015,5-019,5-25 применять не рекомендуется.
Кольца уплотнительные сечением 3,0 мм
Черт. 5
Таблица 5
──────────────────────┬─────────────┬────────────────────────┬─────────────
Обозначение │Применяемость│ d , мм │ Масса
типоразмера кольца │ │ 1 │1000 шт., кг
│ ├───────────┬────────────┤
│ │ Номин. │Пред. откл. │
──────────────────────┼─────────────┼───────────┼────────────┼─────────────
010-015-30 │ │ 9,7 │ -0,3 │ 0,28
011-016-30 │ │ 10,6 │ │ 0,30
012-017-30 │ │ 11,6 │ │ 0,32
013-018-30 │ │ 12,6 │ │ 0,35
014-019-30 │ │ 13,6 │ │ 0,37
015-020-30 │ │ 14,6 │ │ 0,39
016-021-30 │ │ 15,6 │ │ 0,41
017-022-30 │ │ 16,6 │ │ 0,44
──────────────────────┼─────────────┼───────────┼────────────┼─────────────
018-023-30 │ │ 17,5 │ -0,4 │ 0,46
019-024-30 │ │ 18,5 │ │ 0,48
020-025-30 │ │ 19,5 │ │ 0,50
022-027-30 │ │ 21,5 │ │ 0,54
023-028-30 │ │ 22,5 │ │ 0,57
024-029-30 │ │ 23,5 │ │ 0,59
025-030-30 │ │ 24,5 │ │ 0,61
──────────────────────┼─────────────┼───────────┼────────────┼─────────────
027-032-30 │ │ 26,5 │ -0,5 │ 0,66
028-033-30 │ │ 27,5 │ │ 0,68
030-035-30 │ │ 29,5 │ │ 0,72
──────────────────────┼─────────────┼───────────┼────────────┼─────────────
032-037-30 │ │ 31,0 │ -0,6 │ 0,75
033-038-30 │ │ 32,0 │ │ 0,78
035-040-30 │ │ 34,0 │ │ 0,81
036-041-30 │ │ 35,0 │ │ 0,84
038-042-30 │ │ 36,0 │ │ 0,87
──────────────────────┼─────────────┼───────────┼────────────┼─────────────
040-045-30 │ │ 39,0 │ -0,7 │ 0,92
042-048-30 │ │ 41,0 │ │ 0,98
045-050-30 │ │ 44,0 │ │ 1,04
──────────────────────┼─────────────┼───────────┼────────────┼─────────────
050-055-30 │ │ 49,0 │ -0,8 │ 1,20
051-056-30 │ │ 50,0 │ │ 1,25
──────────────────────┼─────────────┼───────────┼────────────┼─────────────
055-060-30 │ │ 54,0 │ -0,9 │ 1,30
056-061-30 │ │ 55,0 │ │ 1,35
──────────────────────┼─────────────┼───────────┼────────────┼─────────────
058-063-30 │ │ 57,0 │ -1,0 │ 1,38
060-065-30 │ │ 59,0 │ │ 1,40
063-068-30 │ │ 62,0 │ │ 1,48
──────────────────────┼─────────────┼───────────┼────────────┼─────────────
065-070-30 │ │ 63,5 │ -1,1 │ 1,50
066-071-30 │ │ 64,5 │ │ 1,55
070-075-30 │ │ 68,5 │ │ 1,60
071-076-30 │ │ 69,5 │ │ 1,65
──────────────────────┼─────────────┼───────────┼────────────┼─────────────
075-080-30 │ │ 73,5 │ -1,2 │ 1,70
──────────────────────┼─────────────┼───────────┼────────────┼─────────────
080-085-30 │ │ 78,5 │ -1,3 │ 1,80
│ │ │ │
──────────────────────┼─────────────┼───────────┼────────────┼─────────────
085-090-30 │ │ 83,5 │ -1,4 │ 1,90
090-095-30 │ │ 88,5 │ │ 2,00
──────────────────────┼─────────────┼───────────┼────────────┼─────────────
095-100-30 │ │ 93,0 │ -1,5 │ 2,10
│ │ │ │
──────────────────────┼─────────────┼───────────┼────────────┼─────────────
100-105-30 │ │ 98,0 │ -1,6 │ 2,20
102-108-30 │ │ 100,0 │ │ 2,29
105-110-30 │ │ 103,0 │ │ 2,35
──────────────────────┼─────────────┼───────────┼────────────┼─────────────
108-112-30 │ │ 105,0 │ -1,7 │ 2,40
110-115-30 │ │ 108,0 │ │ 2,47
──────────────────────┼─────────────┼───────────┼────────────┼─────────────
112-118-30 │ │ 110,0 │ -1,8 │ 2,51
115-120-30 │ │ 113,0 │ │ 2,60
──────────────────────┼─────────────┼───────────┼────────────┼─────────────
120-125-30 │ │ 118,0 │ -1,9 │ 2,70
│ │ │ │
──────────────────────┼─────────────┼───────────┼────────────┼─────────────
125-130-30 │ │ 122,5 │ -2,0 │ 2,80
130-135-30 │ │ 127,5 │ │ 2,90
──────────────────────┼─────────────┼───────────┼────────────┼─────────────
135-140-30 │ │ 132,5 │ -2,2 │ 3,00
140-145-30 │ │ 137,5 │ │ 3,10
145-150-30 │ │ 142,5 │ │ 3,20
──────────────────────┼─────────────┼───────────┼────────────┼─────────────
150-155-30 │ │ 147,5 │ -2,4 │ 3,30
──────────────────────┼─────────────┼───────────┼────────────┼─────────────
021-026-30 │ │ 20,5 │ -0,4 │ 0,52
──────────────────────┼─────────────┼───────────┼────────────┼─────────────
026-031-30 │ │ 25,5 │ -0,5 │ 0,63
029-034-30 │ │ 28,5 │ │ 0,70
──────────────────────┼─────────────┼───────────┼────────────┼─────────────
034-039-30 │ │ 33,0 │ -0,6 │ 0,80
──────────────────────┼─────────────┼───────────┼────────────┼─────────────
048-052-30 │ │ 46,0 │ -0,8 │ 1,09
──────────────────────┼─────────────┼───────────┼────────────┼─────────────
052-058-30 │ │ 51,0 │ -0,9 │ 1,20
──────────────────────┼─────────────┼───────────┼────────────┼─────────────
082-088-30 │ │ 80,5 │ -1,3 │ 1,85
──────────────────────┼─────────────┼───────────┼────────────┼─────────────
088-092-30 │ │ 85,5 │ -1,4 │ 1,97
──────────────────────┼─────────────┼───────────┼────────────┼─────────────
092-098-30 │ │ 90,5 │ -1,5 │ 2,08
098-102-30 │ │ 95,0 │ │ 2,18
Примечание. Типоразмеры колец от 010-015-30 до 019-024-30 и помещенные в конце таблицы от 021-026-30 до 098-102-30 применять не рекомендуется.
Кольца уплотнительные сечением 3,6 мм
Черт. 6
Таблица 6
──────────────────────┬─────────────┬────────────────────────┬─────────────
Обозначение │Применяемость│ d , мм │ Масса
типоразмера кольца │ │ 1 │1000 шт., кг
│ ├───────────┬────────────┤
│ │ Номин. │Пред. откл. │
──────────────────────┼─────────────┼───────────┼────────────┼─────────────
014-020-36 │ │ 13,6 │ -0,3 │ 0,55
015-021-36 │ │ 14,6 │ │ 0,58
016-022-36 │ │ 15,6 │ │ 0,61
017-023-36 │ │ 16,6 │ │ 0,65
──────────────────────┼─────────────┼───────────┼────────────┼─────────────
018-024-36 │ │ 17,5 │ -0,4 │ 0,67
019-025-36 │ │ 18,5 │ │ 0,71
020-026-36 │ │ 19,5 │ │ 0,74
021-027-36 │ │ 20,5 │ │ 0,77
022-028-36 │ │ 21,5 │ │ 0,80
023-029-36 │ │ 22,5 │ │ 0,83
024-030-36 │ │ 23,5 │ │ 0,87
025-031-36 │ │ 24,5 │ │ 0,90
──────────────────────┼─────────────┼───────────┼────────────┼─────────────
026-032-36 │ │ 25,5 │ -0,5 │ 0,93
027-033-36 │ │ 26,5 │ │ 0,96
028-034-36 │ │ 27,5 │ │ 0,99
029-035-36 │ │ 28,5 │ │ 1,02
030-036-36 │ │ 29,5 │ │ 1,06
──────────────────────┼─────────────┼───────────┼────────────┼─────────────
032-038-36 │ │ 31,0 │ -0,6 │ 1,13
034-040-36 │ │ 33,0 │ │ 1,17
035-041-36 │ │ 34,0 │ │ 1,21
036-042-36 │ │ 35,0 │ │ 1,25
038-044-36 │ │ 37,0 │ │ 1,30
──────────────────────┼─────────────┼───────────┼────────────┼─────────────
039-045-36 │ │ 38,0 │ -0,7 │ 1,33
040-046-36 │ │ 39,0 │ │ 1,36
042-048-36 │ │ 41,0 │ │ 1,43
044-050-36 │ │ 43,0 │ │ 1,49
045-051-36 │ │ 44,0 │ │ 1,52
──────────────────────┼─────────────┼───────────┼────────────┼─────────────
046-052-36 │ │ 45,0 │ -0,8 │ 1,55
048-054-36 │ │ 47,0 │ │ 1,62
049-055-36 │ │ 48,0 │ │ 1,65
050-056-36 │ │ 49,0 │ │ 1,68
──────────────────────┼─────────────┼───────────┼────────────┼─────────────
052-058-36 │ │ 51,0 │ -0,9 │ 1,74
054-060-36 │ │ 53,0 │ │ 1,81
055-061-36 │ │ 54,0 │ │ 1,84
056-062-36 │ │ 55,0 │ │ 1,87
057-063-36 │ │ 56,0 │ │ 1,90
──────────────────────┼─────────────┼───────────┼────────────┼─────────────
058-064-36 │ │ 57,0 │ -1,0 │ 1,94
059-065-36 │ │ 58,0 │ │ 1,97
060-066-36 │ │ 59,0 │ │ 2,00
062-068-36 │ │ 61,0 │ │ 2,07
063-069-36 │ │ 62,0 │ │ 2,10
064-070-36 │ │ 62,5 │ │ 2,11
──────────────────────┼─────────────┼───────────┼────────────┼─────────────
065-071-36 │ │ 63,5 │ -1,1 │ 2,14
066-072-36 │ │ 64,5 │ │ 2,18
068-074-36 │ │ 66,5 │ │ 2,24
069-075-36 │ │ 67,5 │ │ 2,27
070-076-36 │ │ 68,5 │ │ 2,31
071-077-36 │ │ 69,5 │ │ 2,35
──────────────────────┼─────────────┼───────────┼────────────┼─────────────
072-078-36 │ │ 70,5 │ -1,2 │ 2,37
074-080-36 │ │ 72,5 │ │ 2,43
075-081-36 │ │ 73,5 │ │ 2,47
076-082-36 │ │ 74,5 │ │ 2,50
078-084-36 │ │ 76,5 │ │ 2,56
──────────────────────┼─────────────┼───────────┼────────────┼─────────────
079-085-36 │ │ 77,5 │ -1,3 │ 2,59
080-086-36 │ │ 78,5 │ │ 2,63
082-088-36 │ │ 80,5 │ │ 2,69
084-090-36 │ │ 82,5 │ │ 2,75
──────────────────────┼─────────────┼───────────┼────────────┼─────────────
085-091-36 │ │ 83,5 │ -1,4 │ 2,79
086-092-36 │ │ 84,5 │ │ 2,82
088-094-36 │ │ 86,5 │ │ 2,88
089-095-36 │ │ 87,5 │ │ 2,91
090-096-36 │ │ 88,5 │ │ 2,95
──────────────────────┼─────────────┼───────────┼────────────┼─────────────
092-098-36 │ │ 90,5 │ -1,5 │ 3,01
094-100-36 │ │ 92,0 │ │ 3,06
095-101-36 │ │ 93,0 │ │ 3,09
096-102-36 │ │ 94,0 │ │ 3,12
098-104-36 │ │ 96,0 │ │ 3,18
099-105-36 │ │ 97,0 │ │ 3,22
──────────────────────┼─────────────┼───────────┼────────────┼─────────────
100-106-36 │ │ 98,0 │ -1,6 │ 3,25
102-108-36 │ │ 100,0 │ │ 3,31
104-110-36 │ │ 102,0 │ │ 3,38
105-111-36 │ │ 103,0 │ │ 3,41
──────────────────────┼─────────────┼───────────┼────────────┼─────────────
106-112-36 │ │ 104,0 │ -1,7 │ 3,44
108-114-36 │ │ 106,0 │ │ 3,50
109-115-36 │ │ 107,0 │ │ 3,54
110-116-36 │ │ 108,0 │ │ 3,57
──────────────────────┼─────────────┼───────────┼────────────┼─────────────
112-118-36 │ │ 110,0 │ -1,8 │ 3,66
114-120-36 │ │ 112,0 │ │ 3,70
115-121-36 │ │ 113,0 │ │ 3,73
118-124-36 │ │ 116,0 │ │ 3,82
──────────────────────┼─────────────┼───────────┼────────────┼─────────────
120-126-36 │ │ 118,0 │ -1,9 │ 3,89
──────────────────────┼─────────────┼───────────┼────────────┼─────────────
125-130-36 │ │ 121,5 │ -2,0 │ 4,00
130-135-36 │ │ 126,5 │ │ 4,16
──────────────────────┼─────────────┼───────────┼────────────┼─────────────
135-140-36 │ │ 131,5 │ -2,2 │ 4,32
140-145-36 │ │ 136,5 │ │ 4,48
145-150-36 │ │ 141,5 │ │ 4,66
──────────────────────┼─────────────┼───────────┼────────────┼─────────────
150-155-36 │ │ 146,5 │ -2,4 │ 4,80
155-160-36 │ │ 151,0 │ │ 4,94
──────────────────────┼─────────────┼───────────┼────────────┼─────────────
160-165-36 │ │ 156,0 │ -2,6 │ 5,10
165-170-36 │ │ 161,0 │ │ 5,26
170-175-36 │ │ 166,0 │ │ 5,42
──────────────────────┼─────────────┼───────────┼────────────┼─────────────
175-180-36 │ │ 171,0 │ -2,8 │ 5,58
180-185-36 │ │ 176,0 │ │ 5,74
185-190-36 │ │ 181,0 │ │ 5,90
──────────────────────┼─────────────┼───────────┼────────────┼─────────────
190-195-36 │ │ 186,0 │ -3,0 │ 6,06
195-200-36 │ │ 191,5 │ │ 6,24
200-205-36 │ │ 195,5 │ │ 6,37
──────────────────────┼─────────────┼───────────┼────────────┼─────────────
205-210-36 │ │ 200,5 │ -3,2 │ 6,53
210-215-36 │ │ 205,5 │ │ 6,69
──────────────────────┼─────────────┼───────────┼────────────┼─────────────
215-220-36 │ │ 210,5 │ -3,4 │ 6,85
220-225-36 │ │ 216,0 │ │ 7,02
225-230-36 │ │ 220,0 │ │ 7,15
──────────────────────┼─────────────┼───────────┼────────────┼─────────────
230-235-36 │ │ 225,0 │ -3,6 │ 7,31
235-240-36 │ │ 230,0 │ │ 7,47
240-245-36 │ │ 235,0 │ │ 7,65
──────────────────────┼─────────────┼───────────┼────────────┼─────────────
245-250-36 │ │ 240,0 │ -3,8 │ 7,79
250-255-36 │ │ 245,5 │ │ 7,97
Примечание. Типоразмеры колец от 014-020-36 до 021-027-36 и от 205-210-36 до 250-255-36 применять не рекомендуется.
Кольца уплотнительные сечением 4,6 мм
Черт. 7
Таблица 7
──────────────────────┬─────────────┬────────────────────────┬─────────────
Обозначение │Применяемость│ d , мм │ Масса
типоразмера кольца │ │ 1 │1000 шт., кг
│ ├───────────┬────────────┤
│ │ Номин. │Пред. откл. │
──────────────────────┼─────────────┼───────────┼────────────┼─────────────
028-036-46 │ │ 27,5 │ -0,5 │ 1,68
030-038-46 │ │ 29,5 │ │ 1,78
──────────────────────┼─────────────┼───────────┼────────────┼─────────────
032-040-46 │ │ 31,0 │ -0,6 │ 1,86
034-042-46 │ │ 33,0 │ │ 1,96
035-043-46 │ │ 34,0 │ │ 2,02
036-044-46 │ │ 35,0 │ │ 2,07
037-045-46 │ │ 36,0 │ │ 2,12
038-046-46 │ │ 37,0 │ │ 2,17
──────────────────────┼─────────────┼───────────┼────────────┼─────────────
040-048-46 │ │ 39,0 │ -0,7 │ 2,28
042-050-46 │ │ 41,0 │ │ 2,38
044-052-46 │ │ 43,0 │ │ 2,48
045-053-46 │ │ 44,0 │ │ 2,54
──────────────────────┼─────────────┼───────────┼────────────┼─────────────
047-055-46 │ │ 46,0 │ -0,8 │ 2,64
048-056-46 │ │ 47,0 │ │ 2,69
050-058-46 │ │ 49,0 │ │ 2,80
──────────────────────┼─────────────┼───────────┼────────────┼─────────────
052-060-46 │ │ 51,0 │ -0,9 │ 2,90
054-062-46 │ │ 53,0 │ │ 3,01
055-063-46 │ │ 54,0 │ │ 3,06
057-065-46 │ │ 56,0 │ │ 3,16
──────────────────────┼─────────────┼───────────┼────────────┼─────────────
058-066-46 │ │ 57,0 │ -1,0 │ 3,22
060-068-46 │ │ 59,0 │ │ 3,32
062-070-46 │ │ 61,0 │ │ 3,42
063-071-46 │ │ 62,0 │ │ 3,46
064-072-46 │ │ 62,5 │ │ 3,50
──────────────────────┼─────────────┼───────────┼────────────┼─────────────
065-073-46 │ │ 63,5 │ -1,1 │ 3,56
067-075-46 │ │ 65,5 │ │ 3,66
068-076-46 │ │ 66,5 │ │ 3,71
070-078-46 │ │ 68,5 │ │ 3,82
──────────────────────┼─────────────┼───────────┼────────────┼─────────────
072-080-46 │ │ 70,5 │ -1,2 │ 3,92
074-082-46 │ │ 72,5 │ │ 4,02
075-083-46 │ │ 73,5 │ │ 4,08
077-085-46 │ │ 75,5 │ │ 4,18
078-086-46 │ │ 76,5 │ │ 4,23
──────────────────────┼─────────────┼───────────┼────────────┼─────────────
080-088-46 │ │ 78,5 │ -1,3 │ 4,33
082-090-46 │ │ 80,5 │ │ 4,44
──────────────────────┼─────────────┼───────────┼────────────┼─────────────
085-092-46 │ │ 82,5 │ -1,4 │ 4,55
088-095-46 │ │ 85,5 │ │ 4,70
090-098-46 │ │ 88,5 │ │ 4,86
──────────────────────┼─────────────┼───────────┼────────────┼─────────────
092-100-46 │ │ 90,5 │ -1,5 │ 4,96
095-102-46 │ │ 92,0 │ │ 5,04
098-105-46 │ │ 95,0 │ │ 5,20
──────────────────────┼─────────────┼───────────┼────────────┼─────────────
100-108-46 │ │ 98,0 │ -1,6 │ 5,36
102-110-46 │ │ 100,0 │ │ 5,46
105-112-46 │ │ 102,0 │ │ 5,56
──────────────────────┼─────────────┼───────────┼────────────┼─────────────
108-115-46 │ │ 105,0 │ -1,7 │ 5,72
110-118-46 │ │ 108,0 │ │ 5,88
──────────────────────┼─────────────┼───────────┼────────────┼─────────────
112-120-46 │ │ 110,0 │ -1,8 │ 5,98
115-122-46 │ │ 112,0 │ │ 6,09
118-125-46 │ │ 115,0 │ │ 6,24
──────────────────────┼─────────────┼───────────┼────────────┼─────────────
120-128-46 │ │ 118,0 │ -1,9 │ 6,40
122-130-46 │ │ 120,0 │ │ 6,50
──────────────────────┼─────────────┼───────────┼────────────┼─────────────
125-135-46 │ │ 122,5 │ -2,0 │ 6,64
130-140-46 │ │ 127,5 │ │ 6,90
──────────────────────┼─────────────┼───────────┼────────────┼─────────────
135-145-46 │ │ 132,5 │ -2,2 │ 7,16
140-150-46 │ │ 137,5 │ │ 7,42
145-155-46 │ │ 142,5 │ │ 7,68
──────────────────────┼─────────────┼───────────┼────────────┼─────────────
150-160-46 │ │ 147,5 │ -2,4 │ 7,94
155-165-46 │ │ 152,0 │ │ 8,18
──────────────────────┼─────────────┼───────────┼────────────┼─────────────
160-170-46 │ │ 157,0 │ -2,6 │ 8,48
165-175-46 │ │ 162,0 │ │ 8,70
170-180-46 │ │ 167,0 │ │ 8,96
──────────────────────┼─────────────┼───────────┼────────────┼─────────────
175-185-46 │ │ 172,0 │ -2,8 │ 9,22
180-190-46 │ │ 177,0 │ │ 9,48
185-195-46 │ │ 182,0 │ │ 9,74
──────────────────────┼─────────────┼───────────┼────────────┼─────────────
190-200-46 │ │ 187,0 │ -3,0 │ 10,00
195-205-46 │ │ 191,5 │ │ 10,24
200-210-46 │ │ 196,5 │ │ 10,50
──────────────────────┼─────────────┼───────────┼────────────┼─────────────
205-215-46 │ │ 201,5 │ -3,2 │ 10,76
210-220-46 │ │ 206,5 │ │ 11,02
──────────────────────┼─────────────┼───────────┼────────────┼─────────────
215-225-46 │ │ 211,5 │ -3,4 │ 11,28
220-230-46 │ │ 216,0 │ │ 11,52
225-235-46 │ │ 221,0 │ │ 11,78
──────────────────────┼─────────────┼───────────┼────────────┼─────────────
230-240-46 │ │ 226,0 │ -3,6 │ 12,04
235-245-46 │ │ 231,0 │ │ 12,30
240-250-46 │ │ 236,0 │ │ 12,56
──────────────────────┼─────────────┼───────────┼────────────┼─────────────
245-255-46 │ │ 241,0 │ -3,8 │ 12,82
250-260-46 │ │ 245,0 │ │ 13,06
Кольца уплотнительные сечением 5,8 мм
Черт. 8
Таблица 8
──────────────────────┬─────────────┬────────────────────────┬─────────────
Обозначение │Применяемость│ d , мм │ Масса
типоразмера кольца │ │ 1 │1000 шт., кг
│ ├───────────┬────────────┤
│ │ Номин. │Пред. откл. │
──────────────────────┼─────────────┼───────────┼────────────┼─────────────
050-060-58 │ │ 49,0 │ -0,8 │ 4,55
──────────────────────┼─────────────┼───────────┼────────────┼─────────────
053-063-58 │ │ 52,0 │ -0,9 │ 4,80
055-065-58 │ │ 54,0 │ │ 4,96
056-066-58 │ │ 55,0 │ │ 5,05
──────────────────────┼─────────────┼───────────┼────────────┼─────────────
060-070-58 │ │ 59,0 │ -1,0 │ 5,38
061-071-58 │ │ 60,0 │ │ 5,46
063-073-58 │ │ 61,0 │ │ 5,54
──────────────────────┼─────────────┼───────────┼────────────┼─────────────
065-075-58 │ │ 63,5 │ -1,1 │ 5,75
070-080-58 │ │ 68,5 │ │ 6,17
071-081-58 │ │ 70,0 │ │ 6,29
──────────────────────┼─────────────┼───────────┼────────────┼─────────────
075-085-58 │ │ 73,5 │ -1,2 │ 6,58
078-088-58 │ │ 76,5 │ │ 6,83
──────────────────────┼─────────────┼───────────┼────────────┼─────────────
080-090-58 │ │ 78,5 │ -1,3 │ 7,00
──────────────────────┼─────────────┼───────────┼────────────┼─────────────
085-095-58 │ │ 83,5 │ -1,4 │ 7,41
090-100-58 │ │ 88,5 │ │ 7,83
──────────────────────┼─────────────┼───────────┼────────────┼─────────────
095-105-58 │ │ 93,0 │ -1,5 │ 8,20
──────────────────────┼─────────────┼───────────┼────────────┼─────────────
100-110-58 │ │ 98,0 │ -1,6 │ 8,62
105-115-58 │ │ 103,0 │ │ 9,03
──────────────────────┼─────────────┼───────────┼────────────┼─────────────
110-120-58 │ │ 108,0 │ -1,7 │ 9,45
──────────────────────┼─────────────┼───────────┼────────────┼─────────────
115-125-58 │ │ 113,0 │ -1,8 │ 9,86
──────────────────────┼─────────────┼───────────┼────────────┼─────────────
120-130-58 │ │ 118,0 │ -1,9 │ 10,28
──────────────────────┼─────────────┼───────────┼────────────┼─────────────
125-135-58 │ │ 122,5 │ -2,0 │ 10,65
130-140-58 │ │ 127,5 │ │ 11,06
──────────────────────┼─────────────┼───────────┼────────────┼─────────────
135-145-58 │ │ 132,5 │ -2,2 │ 11,48
140-150-58 │ │ 137,5 │ │ 11,89
145-155-58 │ │ 142,5 │ │ 12,31
──────────────────────┼─────────────┼───────────┼────────────┼─────────────
150-160-58 │ │ 147,5 │ -2,4 │ 12,72
155-165-58 │ │ 152,0 │ │ 13,10
──────────────────────┼─────────────┼───────────┼────────────┼─────────────
160-170-58 │ │ 157,0 │ -2,6 │ 13,51
165-175-58 │ │ 162,0 │ │ 13,93
170-180-58 │ │ 167,0 │ │ 14,34
──────────────────────┼─────────────┼───────────┼────────────┼─────────────
175-185-58 │ │ 172,0 │ -2,8 │ 14,76
180-190-58 │ │ 177,0 │ │ 15,17
185-195-58 │ │ 182,0 │ │ 15,59
──────────────────────┼─────────────┼───────────┼────────────┼─────────────
190-200-58 │ │ 187,0 │ -3,0 │ 16,00
195-205-58 │ │ 191,5 │ │ 16,38
200-210-58 │ │ 196,5 │ │ 18,79
──────────────────────┼─────────────┼───────────┼────────────┼─────────────
205-215-58 │ │ 201,5 │ -3,2 │ 17,21
210-220-58 │ │ 206,5 │ │ 17,62
──────────────────────┼─────────────┼───────────┼────────────┼─────────────
215-225-58 │ │ 211,5 │ -3,4 │ 18,04
220-230-58 │ │ 216,0 │ │ 18,41
225-235-58 │ │ 221,0 │ │ 18,82
──────────────────────┼─────────────┼───────────┼────────────┼─────────────
230-240-58 │ │ 226,0 │ -3,6 │ 19,24
235-245-58 │ │ 231,0 │ │ 19,65
240-250-58 │ │ 236,0 │ │ 20,07
──────────────────────┼─────────────┼───────────┼────────────┼─────────────
245-255-58 │ │ 241,0 │ -3,8 │ 20,48
250-260-58 │ │ 245,5 │ │ 20,86
──────────────────────┼─────────────┼───────────┼────────────┼─────────────
255-265-58 │ │ 250,5 │ -4,0 │ 21,27
260-270-58 │ │ 255,5 │ │ 21,69
265-275-58 │ │ 260,5 │ │ 22,10
──────────────────────┼─────────────┼───────────┼────────────┼─────────────
270-280-58 │ │ 265,5 │ -4,3 │ 22,52
275-285-58 │ │ 270,5 │ │ 22,93
280-290-58 │ │ 275,0 │ │ 23,31
285-295-58 │ │ 280,0 │ │ 23,72
──────────────────────┼─────────────┼───────────┼────────────┼─────────────
290-300-58 │ │ 285,0 │ -4,5 │ 24,14
295-305-58 │ │ 290,0 │ │ 24,55
300-310-58 │ │ 294,5 │ │ 24,92
305-315-58 │ │ 299,5 │ │ 25,34
──────────────────────┼─────────────┼───────────┼────────────┼─────────────
310-320-58 │ │ 304,5 │ -5,0 │ 25,75
315-325-58 │ │ 309,5 │ │ 26,17
320-330-58 │ │ 314,5 │ │ 26,58
325-335-58 │ │ 319,5 │ │ 27,00
330-340-58 │ │ 324,5 │ │ 27,41
335-345-58 │ │ 329,5 │ │ 27,83
340-350-58 │ │ 334,0 │ │ 28,20
345-355-58 │ │ 339,0 │ │ 28,62
──────────────────────┼─────────────┼───────────┼────────────┼─────────────
350-360-58 │ │ 344,0 │ -5,5 │ 29,03
355-365-58 │ │ 349,0 │ │ 29,45
360-370-58 │ │ 354,0 │ │ 29,86
365-375-58 │ │ 359,0 │ │ 30,28
──────────────────────┼─────────────┼───────────┼────────────┼─────────────
370-380-58 │ │ 364,0 │ -6,0 │ 30,69
375-385-58 │ │ 369,0 │ │ 31,11
380-390-58 │ │ 373,5 │ │ 31,48
390-400-58 │ │ 383,5 │ │ 32,31
400-410-58 │ │ 393,5 │ │ 33,14
420-430-58 │ │ 413,5 │ │ 34,80
430-440-58 │ │ 423,5 │ │ 35,63
440-450-58 │ │ 433,5 │ │ 36,46
450-460-58 │ │ 443,5 │ │ 37,29
460-470-58 │ │ 453,5 │ │ 38,12
480-490-58 │ │ 473,5 │ │ 39,78
500-510-58 │ │ 493,5 │ │ 41,44
──────────────────────┼─────────────┼───────────┼────────────┼─────────────
082-092-58 │ │ 80,5 │ -1,3 │ 7,16
──────────────────────┼─────────────┼───────────┼────────────┼─────────────
088-098-58 │ │ 86,5 │ -1,4 │ 7,66
──────────────────────┼─────────────┼───────────┼────────────┼─────────────
092-102-58 │ │ 90,5 │ -1,5 │ 7,99
098-108-58 │ │ 96,0 │ │ 8,49
──────────────────────┼─────────────┼───────────┼────────────┼─────────────
102-112-58 │ │ 100,0 │ -1,6 │ 8,78
──────────────────────┼─────────────┼───────────┼────────────┼─────────────
108-118-58 │ │ 106,0 │ -1,7 │ 9,28
──────────────────────┼─────────────┼───────────┼────────────┼─────────────
112-122-58 │ │ 110,0 │ -1,8 │ 9,61
118-128-58 │ │ 116,0 │ │ 10,11
Примечание. Типоразмеры колец от 082-092-58 до 118-128-58, помещенные в конце таблицы, применять не рекомендуется.
Кольца уплотнительные сечением 7,5 мм
Черт. 9
Таблица 9
──────────────────────┬─────────────┬────────────────────────┬─────────────
Обозначение │Применяемость│ d , мм │ Масса
типоразмера кольца │ │ 1 │1000 шт., кг
│ ├───────────┬────────────┤
│ │ Номин. │Пред. откл. │
──────────────────────┼─────────────┼───────────┼────────────┼─────────────
082-095-75 │ │ 79,5 │ -1,3 │ 12,08
──────────────────────┼─────────────┼───────────┼────────────┼─────────────
090-102-75 │ │ 87,5 │ -1,4 │ 13,19
092-105-75 │ │ 89,5 │ │ 13,46
──────────────────────┼─────────────┼───────────┼────────────┼─────────────
095-108-75 │ │ 92,0 │ -1,5 │ 13,81
098-110-75 │ │ 95,0 │ │ 14,23
100-112-75 │ │ 97,0 │ │ 14,50
──────────────────────┼─────────────┼───────────┼────────────┼─────────────
102-115-75 │ │ 100,0 │ -1,6 │ 14,92
105-118-75 │ │ 103,0 │ │ 15,34
──────────────────────┼─────────────┼───────────┼────────────┼─────────────
108-120-75 │ │ 105,0 │ -1,7 │ 15,62
110-122-75 │ │ 107,0 │ │ 15,89
──────────────────────┼─────────────┼───────────┼────────────┼─────────────
112-125-75 │ │ 110,0 │ -1,8 │ 16,31
115-128-75 │ │ 113,0 │ │ 16,73
118-130-75 │ │ 115,0 │ │ 17,00
120-132-75 │ │ 117,0 │ │ 17,28
──────────────────────┼─────────────┼───────────┼────────────┼─────────────
122-135-75 │ │ 120,0 │ -1,9 │ 17,70
──────────────────────┼─────────────┼───────────┼────────────┼─────────────
125-138-75 │ │ 122,5 │ -2,0 │ 18,04
128-140-75 │ │ 124,5 │ │ 18,32
130-142-75 │ │ 126,5 │ │ 18,60
──────────────────────┼─────────────┼───────────┼────────────┼─────────────
132-145-75 │ │ 128,5 │ -2,2 │ 18,88
Примечание. Типоразмеры колец от 082-095-75 до 132-145-75 применять не рекомендуется.
Кольца уплотнительные сечением 8,5 мм
Черт. 10
──────────────────────┬─────────────┬────────────────────────┬─────────────
Обозначение │Применяемость│ d , мм │ Масса
типоразмера кольца │ │ 1 │1000 шт., кг
│ ├───────────┬────────────┤
│ │ Номин. │Пред. откл. │
──────────────────────┼─────────────┼───────────┼────────────┼─────────────
135-150-85 │ │ 129,5 │ -2,2 │ 24,61
140-155-85 │ │ 134,5 │ │ 25,50
145-160-85 │ │ 139,5 │ │ 26,39
──────────────────────┼─────────────┼───────────┼────────────┼─────────────
150-165-85 │ │ 144,5 │ -2,4 │ 27,28
155-170-85 │ │ 149,5 │ │ 28,17
──────────────────────┼─────────────┼───────────┼────────────┼─────────────
160-175-85 │ │ 155,0 │ -2,6 │ 29,15
165-180-85 │ │ 160,0 │ │ 30,04
170-185-85 │ │ 165,0 │ │ 30,94
175-190-85 │ │ 170,0 │ │ 31,83
──────────────────────┼─────────────┼───────────┼────────────┼─────────────
180-195-85 │ │ 175,0 │ -2,8 │ 32,72
185-200-85 │ │ 180,0 │ │ 33,61
──────────────────────┼─────────────┼───────────┼────────────┼─────────────
190-205-85 │ │ 185,0 │ -3,0 │ 34,50
195-210-85 │ │ 191,5 │ │ 35,66
200-215-85 │ │ 196,5 │ │ 36,55
──────────────────────┼─────────────┼───────────┼────────────┼─────────────
205-220-85 │ │ 201,5 │ -3,2 │ 37,44
210-225-85 │ │ 206,5 │ │ 38,33
──────────────────────┼─────────────┼───────────┼────────────┼─────────────
215-230-85 │ │ 211,5 │ -3,4 │ 39,23
220-235-85 │ │ 216,5 │ │ 40,12
225-240-85 │ │ 221,0 │ │ 40,92
──────────────────────┼─────────────┼───────────┼────────────┼─────────────
230-245-85 │ │ 226,0 │ -3,6 │ 41,81
235-250-85 │ │ 231,0 │ │ 42,70
240-255-85 │ │ 236,0 │ │ 43,59
──────────────────────┼─────────────┼───────────┼────────────┼─────────────
245-260-85 │ │ 241,0 │ -3,8 │ 44,49
250-265-85 │ │ 245,5 │ │ 45,29
──────────────────────┼─────────────┼───────────┼────────────┼─────────────
255-270-85 │ │ 250,5 │ -4,0 │ 46,18
260-275-85 │ │ 255,5 │ │ 47,07
265-280-85 │ │ 260,5 │ │ 47,96
──────────────────────┼─────────────┼───────────┼────────────┼─────────────
280-295-85 │ │ 275,0 │ -4,3 │ 50,55
285-300-85 │ │ 280,0 │ │ 51,44
──────────────────────┼─────────────┼───────────┼────────────┼─────────────
300-315-85 │ │ 294,5 │ -4,5 │ 54,02
305-320-85 │ │ 299,5 │ │ 54,92
──────────────────────┼─────────────┼───────────┼────────────┼─────────────
320-335-85 │ │ 314,5 │ -5,0 │ 57,59
325-340-85 │ │ 319,5 │ │ 58,48
340-355-85 │ │ 334,0 │ │ 61,07
345-360-85 │ │ 339,0 │ │ 61,96
──────────────────────┼─────────────┼───────────┼────────────┼─────────────
360-375-85 │ │ 354,0 │ -5,5 │ 64,63
365-380-85 │ │ 359,0 │ │ 65,53
──────────────────────┼─────────────┼───────────┼────────────┼─────────────
380-395-85 │ │ 373,5 │ -6,0 │ 68,11
385-400-85 │ │ 380,5 │ │ 69,36
390-405-85 │ │ 383,5 │ │ 69,89
400-415-85 │ │ 393,5 │ │ 71,68
420-435-85 │ │ 413,5 │ │ 75,23
440-455-85 │ │ 433,5 │ │ 78,79
450-465-85 │ │ 443,5 │ │ 80,58
460-475-85 │ │ 453,5 │ │ 82,36
480-495-85 │ │ 473,5 │ │ 85,93
500-515-85 │ │ 493,5 │ │ 89,49
Примечание. Типоразмеры колец от 135-150-85 до 180-195-85 применять не рекомендуется.
3, 4. (Измененная редакция, Изм. N 1, 2, 3).
Обозначение типоразмера кольца строят по следующей структуре:
XXX -XXX -XX
────────┬──────── ──────────┬───────── ────────────┬────────
Диаметр штока, мм Диаметр цилиндра, мм Диаметр сечений в мм,
умноженный на 10
Масса указана для справок при условной плотности резины 1000 кг/м3. Допускается уточнять массу 1000 шт. колец в зависимости от плотности резины конкретной марки и предельных отклонений размеров колец.
Плотность конкретных марок резин, из которых изготавливают кольца - 1200 - 2100 кг/м3.
5. Для машин и узлов, находящихся в эксплуатации и серийном производстве, допускается изготовлять кольца размерами, не предусмотренными настоящим стандартом, по рабочим чертежам, согласованным в установленном порядке.
(Введен дополнительно, Изм. N 3).
Рекомендуемое
ПО ПРИМЕНЕНИЮ И МОНТАЖУ РЕЗИНОВЫХ УПЛОТНИТЕЛЬНЫХ КОЛЕЦ
1. Способы установки резиновых колец и требования
к сопрягаемым деталям
1.1. Способы установки
Без защитных колец
Черт. 1
С защитными кольцами
Черт. 2
Для резьбовых соединений
(Измененная редакция, Изм. N 1).
| | ИС МЕГАНОРМ: примечание. Взамен ГОСТ 25347-82 Приказом Росстандарта от 18.02.2014 N 29-ст с 1 июля 2015 года введен в действие ГОСТ 25347-2013. | |
1.2. Предельные отклонения диаметров сопрягаемых деталей по системе отверстия в зависимости от давления и вида соединения должны выбираться из табл. 1 в соответствии с требованиями
ГОСТ 25346-89 и ГОСТ 25347-82. Предельные отклонения на размеры канавок указаны в
табл. 1а.
──────────────┬────────────────────────────────────────────────────────────
Номинальные │ Предельные отклонения при давлении, МПа (кгс/см2)
диаметры, мм ├───────────────────┬───────────────────┬────────────────────
│ до 5 (50) │ св. 5 (50) │ св. 10 (100)
│ │ до 10 (100) │
├───────────────────┴───────────────────┴────────────────────
│ для соединений
├─────────┬─────────┬─────────┬─────────┬─────────┬──────────
│подвижных│неподвиж-│подвижных│неподвиж-│подвижных│неподвиж-
│ │ных │ │ных │ │ных
──────────────┼────┬────┼────┬────┼────┬────┼────┬────┼────┬────┼────┬─────
От 3 до 30 │ H9 │ f9 │H10 │ h9 │ H9 │ f9 │H10 │ h9 │ H9 │ f9 │H10 │ h9
──────────────┤ │ │ │ ├────┼────┤ │ ├────┼────┼────┤
Св. 30 до 50 │ │ │ │ │ H8 │ f7 │ │ │ H8 │ f7 │ H9 │
──────────────┤ │ │ │ │ │ │ │ ├────┤ │ │
Св. 50 до 80 │ │ │ │ │ │ │ │ │ H7 │ │ │
──────────────┼────┼────┼────┤ │ ├────┼────┤ │ │ │ │
Св. 80 до 120 │ H8 │ f7 │ H9 │ │ │ g6 │ H9 │ │ │ │ │
──────────────┤ │ │ │ │ │ │ │ │ ├────┤ │
Св. 120 до 180│ │ │ │ │ │ │ │ │ │ g6 │ │
──────────────┤ ├────┤ │ ├────┤ │ │ │ │ │ │
Св. 180 │ │ g6 │ │ │ H7 │ │ │ │ │ │ │
───────┬────────┬────────┬───────┬───────┬───────┬────────┬───────┬────────
b │ h │ D │ D │ d │ d │ d │ d │ d
│ │ 1 │ 2 │ 3 │ 4 │ 5 │ 6 │ 7
───────┴────────┼────────┼───────┼───────┼───────┼────────┼───────┼────────
H13 │ H9 │ H11 │ h9 │ h13 │ H11 │ H11 │ h11
(Измененная редакция, Изм. N 1, 2, 3).
1.3. Номинальные числовые значения параметров шероховатости поверхностей сопрягаемых деталей с учетом покрытий на черт. 4. Предельные отклонения параметров шероховатости - минус 40%. На поверхности не допускаются забоины, риски и другие повреждения.
Черт. 4
(Измененная редакция, Изм. N 3).
1.4. Для повышения долговечности резиновых колец рекомендуется применять покрытия рабочих поверхностей цилиндров и штоков:
стальных - твердое хромирование;
из алюминиевых сплавов - хромово-кислое анодирование или другие методы поверхностного упрочнения.
(Измененная редакция, Изм. N 1).
1.4.1. Допускается применять другие виды покрытий и отделочной обработки цилиндров и штоков при условии обеспечения работоспособности узла.
(Введен дополнительно, Изм. N 2).
1.5. Размеры канавок и посадочных мест под резиновые кольца без защитных колец рекомендуется выбирать:
для торцовых уплотнений в соответствии с
черт. 14 -
22 и в
табл. 11 -
19 (при открытых канавках внутренний диаметр канавок должен быть не более размера

, указанного в
табл. 11 -
19);
ПОСАДОЧНЫЕ МЕСТА ДЛЯ РАДИАЛЬНЫХ УПЛОТНЕНИЙ
Посадочные места под кольца с диаметром сечения

в неподвижных соединениях
--------------------------------
<*> Размер обеспечивается инструментом.
Черт. 5
мм
───────────────┬──────────┬───────────┬──────────┬──────────┬──────────────
Обозначение │ d │ d │ D │ D │ Радиальное
типоразмера │ │ 3 │ │ 1 │ биение
кольца │ │ │ │ │поверхности А
│ │ │ │ │ относительно
│ │ │ │ │поверхности Б
───────────────┼──────────┼───────────┼──────────┼──────────┼──────────────
003-005-14 │ 3 │ 3 │ 5 │ 5 │ 0,04
004-006-14 │ 4 │ 4 │ 6 │ 6 │
005-007-14 │ 5 │ 5 │ 7 │ 7 │
006-008-14 │ 6 │ 6 │ 8 │ 8 │
008-010-14 │ 8 │ 8 │ 10 │ 10 │
Посадочные места под кольца с диаметром сечения

--------------------------------
<*> Размер обеспечивается инструментом.
Черт. 6
Таблица 3
мм
─────────────────┬─────┬─────┬─────────────────┬────────────────┬──────────
Обозначение │ d │ D │ Подвижное │ Неподвижное │Радиальное
типоразмера │ │ │ соединение │ соединение │биение
кольца │ │ ├─────┬─────┬─────┼─────┬────┬─────┤поверх-
│ │ │ d │ D │ b │ d │ D │ b │ности А
│ │ │ 3 │ 1 │ │ 3 │ 1 │ │относи-
│ │ │ │ │ │ │ │ │тельно
│ │ │ │ │ │ │ │ │поверх-
│ │ │ │ │ │ │ │ │ности Б
─────────────────┼─────┼─────┼─────┼─────┼─────┼─────┼────┼─────┼──────────
003-006-19 │ 3 │ 6 │ 3 │ 6 │ 2,4 │ 3,2 │5,8 │ 2,6 │ 0,04
004-007-19 │ 4 │ 7 │ 4 │ 7 │ │ 4,2 │6,8 │ │
005-008-19 │ 5 │ 8 │ 5 │ 8 │ │ 5,2 │7,8 │ │
006-009-19 │ 6 │ 9 │ 6 │ 9 │ │ 6,2 │8,8 │ │
007-010-19 │ 7 │ 10 │ 7 │ 10 │ │ 7,2 │9,8 │ │
008-011-19 │ 8 │ 11 │ 8 │ 11 │ │ 8,2 │10,8│ │
009-012-19 │ 9 │ 12 │ 9 │ 12 │ │ 9,2 │11,8│ │
010-013-19 │ 10 │ 13 │ 10 │ 13 │ │10,2 │12,8│ │
011-014-19 │ 11 │ 14 │ 11 │ 14 │ │11,2 │13,8│ │
012-015-19 │ 12 │ 15 │ 12 │ 15 │ │12,2 │14,8│ │
013-016-19 │ 13 │ 16 │ 13 │ 16 │ │13,2 │15,8│ │
014-017-19 │ 14 │ 17 │ 14 │ 17 │ │14,2 │16,8│ │
015-018-19 │ 15 │ 18 │ 15 │ 18 │ │15,2 │17,8│ │
016-019-19 │ 16 │ 19 │ 16 │ 19 │ │16,2 │18,8│ │
017-020-19 │ 17 │ 20 │ 17 │ 20 │ │17,2 │19,8│ │
018-021-19 │ 18 │ 21 │ 18 │ 21 │ │18,2 │20,8│ │
019-022-19 │ 19 │ 22 │ 19 │ 22 │ │19,2 │21,8│ │
020-023-19 │ 20 │ 23 │ 20 │ 23 │ │20,2 │22,8│ │
021-024-19 │ 21 │ 24 │ 21 │ 24 │ │21,2 │23,8│ │
ИС МЕГАНОРМ: примечание.
Цифровое значение в графе 5 дано в соответствии с официальным текстом
документа.
022-025-19 │ 22 │ 25 │ 22 │ 2 │ │22,2 │24,8│ │
─────────────────┼─────┼─────┼─────┼─────┼─────┼─────┼────┼─────┼──────────
010,5-013,5-19 │10,5 │13,5 │ │ │ │10,7 │13,3│ 2,6 │ 0,04
011,5-014,5-19 │11,5 │14,5 │ │ │ │11,7 │14,3│ │
012,5-015,5-19 │12,5 │15,5 │ - │ - │ - │12,7 │15,3│ │
013,5-016,5-19 │13,5 │16,5 │ │ │ │13,7 │16,3│ │
014,5-017,5-19 │14,5 │17,5 │ │ │ │14,7 │17,3│ │
─────────────────┼─────┼─────┼─────┼─────┼─────┼─────┼────┼─────┼──────────
015,5-018,5-19 │15,5 │18,5 │ - │ - │ - │15,7 │18,3│ 2,6 │ 0,04
016,5-019,5-19 │16,5 │19,5 │ │ │ │16,7 │19,3│ │
─────────────────┼─────┼─────┼─────┼─────┼─────┼─────┼────┼─────┼──────────
023-026-19 │ 23 │ 26 │ 23 │ 26 │ 2,4 │23,2 │25,8│ 2,6 │ 0,04
024-027-19 │ 24 │ 27 │ 24 │ 27 │ │24,2 │26,8│ │
025-028-19 │ 25 │ 28 │ 25 │ 28 │ │25,2 │27,8│ │
026-029-19 │ 26 │ 29 │ 26 │ 29 │ │26,2 │28,8│ │
027-030-19 │ 27 │ 30 │ 27 │ 30 │ │27,2 │29,8│ │
028-031-19 │ 28 │ 31 │ 28 │ 31 │ │28,2 │30,8│ │
029-032-19 │ 29 │ 32 │ 29 │ 32 │ │29,2 │31,8│ │
030-033-19 │ 30 │ 33 │ 30 │ 33 │ │30,2 │32,8│ │
032-035-19 │ 32 │ 35 │ 32 │ 35 │ │32,2 │34,8│ │
─────────────────┼─────┼─────┼─────┼─────┼─────┼─────┼────┼─────┼──────────
033-036-19 │ 33 │ 36 │ 33 │ 36 │ 2,4 │33,2 │35,8│ 2,6 │ 0,06
034-037-19 │ 34 │ 37 │ 34 │ 37 │ │34,2 │36,8│ │
035-038-19 │ 35 │ 38 │ 35 │ 38 │ │35,2 │37,8│ │
036-039-19 │ 36 │ 39 │ 36 │ 39 │ │36,2 │38,8│ │
037-040-19 │ 37 │ 40 │ 37 │ 40 │ │37,2 │39,8│ │
038-041-19 │ 38 │ 41 │ 38 │ 41 │ │38,2 │40,8│ │
039-042-19 │ 39 │ 42 │ 39 │ 42 │ │39,2 │41,8│ │
040-043-19 │ 40 │ 43 │ 40 │ 43 │ │40,2 │42,8│ │
042-045-19 │ 42 │ 45 │ 42 │ 45 │ │42,2 │44,8│ │
045-048-19 │ 45 │ 48 │ 45 │ 48 │ │45,2 │47,8│ │
047-050-19 │ 47 │ 50 │ 47 │ 50 │ │47,2 │49,8│ │
048-052-19 │ 48 │ 52 │ 49 │ 51 │ │49,2 │50,8│ │
050-053-19 │ 50 │ 53 │ 50 │ 53 │ │50,2 │52,8│ │
─────────────────┼─────┼─────┼─────┼─────┼─────┼─────┼────┼─────┼──────────
003,5-006,5-19 │ 3,5 │ 6,5 │ - │ - │ - │ 3,7 │6,3 │ 2,6 │ 0,04
004,5-007,5-19 │ 4,5 │ 7,5 │ │ │ │ 4,7 │7,3 │ │
005,5-008,5-19 │ 5,5 │ 8,5 │ │ │ │ 5,7 │8,3 │ │
006,5-009,5-19 │ 6,5 │ 9,5 │ │ │ │ 6,7 │9,3 │ │
007,5-010,5-19 │ 7,5 │10,5 │ │ │ │ 7,7 │10,3│ │
008,5-011,5-19 │ 8,5 │11,5 │ │ │ │ 8,7 │11,3│ │
009,5-012,5-19 │ 9,5 │12,5 │ │ │ │ 9,7 │12,3│ │
Посадочные места под кольца с диаметром сечения

--------------------------------
<*> Размер обеспечивается инструментом.
Черт. 7
Таблица 4
мм
────────────────┬─────┬─────┬─────────────────┬─────────────────┬──────────
Обозначение │ d │ D │ Подвижное │ Неподвижное │Радиальное
типоразмера │ │ │ соединение │ соединение │биение
кольца │ │ ├─────┬─────┬─────┼─────┬─────┬─────┤поверх-
│ │ │ d │ D │ b │ d │ D │ b │ности А
│ │ │ 3 │ 1 │ │ 3 │ 1 │ │относи-
│ │ │ │ │ │ │ │ │тельно
│ │ │ │ │ │ │ │ │поверх-
│ │ │ │ │ │ │ │ │ности Б
────────────────┼─────┼─────┼─────┼─────┼─────┼─────┼─────┼─────┼──────────
004-008-25 │ 4 │ 8 │ 4 │ 8 │ 3,3 │ 4,3 │ 7,7 │ 3,6 │ 0,04
005-009-25 │ 5 │ 9 │ 5 │ 9 │ │ 5,3 │ 8,7 │ │
006-010-25 │ 6 │ 10 │ 6 │ 10 │ │ 6,3 │ 9,7 │ │
007-011-25 │ 7 │ 11 │ 7 │ 11 │ │ 7,3 │10,7 │ │
008-012-25 │ 8 │ 12 │ 8 │ 12 │ │ 8,3 │11,7 │ │
009-013-25 │ 9 │ 13 │ 9 │ 13 │ │ 9,3 │12,7 │ │
010-014-25 │ 10 │ 14 │ 10 │ 14 │ │10,3 │13,7 │ │
011-015-25 │ 11 │ 15 │ 11 │ 15 │ │11,3 │14,7 │ │
012-016-25 │ 12 │ 16 │ 12 │ 16 │ │12,3 │15,7 │ │
013-017-25 │ 13 │ 17 │ 13 │ 17 │ │13,3 │16,7 │ │
014-018-25 │ 14 │ 18 │ 14 │ 18 │ │14,3 │17,7 │ │
015-019-25 │ 15 │ 19 │ 15 │ 19 │ │15,3 │18,7 │ │
016-020-25 │ 16 │ 20 │ 16 │ 20 │ │16,3 │19,7 │ │
017-021-25 │ 17 │ 21 │ 17 │ 21 │ │17,3 │20,7 │ │
018-022-25 │ 18 │ 22 │ 18 │ 22 │ │18,3 │21,7 │ │
────────────────┼─────┼─────┼─────┼─────┼─────┼─────┼─────┼─────┼──────────
019-023-25 │ 19 │ 23 │ 19 │ 23 │ 3,3 │19,3 │22,7 │ 3,6 │ 0,03
020-024-25 │ 20 │ 24 │ 20 │ 24 │ │20,3 │23,7 │ │
021-025-25 │ 21 │ 25 │ 21 │ 25 │ │21,3 │24,7 │ │
022-026-25 │ 22 │ 26 │ 22 │ 26 │ │22,3 │25,7 │ │
────────────────┼─────┼─────┼─────┼─────┼─────┼─────┼─────┼─────┼──────────
009,5-013,5-25 │ 9,5 │13,5 │ 9,5 │13,5 │ 3,3 │ 9,8 │13,2 │ 3,6 │ 0,04
010,5-014,5-25 │10,5 │14,5 │10,5 │14,5 │ │10,8 │14,2 │ │
011,5-015,5-25 │11,5 │15,5 │11,5 │15,5 │ │11,8 │15,2 │ │
012,5-016,5-25 │12,5 │16,5 │12,5 │16,5 │ │12,8 │16,2 │ │
013,5-017,5-25 │13,5 │17,5 │13,5 │17,5 │ │13,8 │17,2 │ │
014,5-018,5-25 │14,5 │18,5 │14,5 │18,5 │ │14,8 │18,2 │ │
015,5-019,5-25 │15,5 │19,5 │15,5 │19,5 │ │15,8 │19,2 │ │
────────────────┼─────┼─────┼─────┼─────┼─────┼─────┼─────┼─────┼──────────
023-027-25 │ 23 │ 27 │ 23 │ 27 │ 3,3 │23,3 │26,7 │ 3,6 │ 0,06
024-028-25 │ 24 │ 28 │ 24 │ 28 │ │24,3 │27,7 │ │
025-029-25 │ 25 │ 29 │ 25 │ 29 │ │25,3 │28,7 │ │
026-030-25 │ 26 │ 30 │ 26 │ 30 │ │26,3 │29,7 │ │
027-031-25 │ 27 │ 31 │ 27 │ 31 │ │27,3 │30,7 │ │
028-032-25 │ 28 │ 32 │ 28 │ 32 │ │28,3 │31,7 │ │
029-033-25 │ 29 │ 33 │ 29 │ 33 │ │29,3 │32,7 │ │
030-034-25 │ 30 │ 34 │ 30 │ 34 │ │30,3 │33,7 │ │
032-036-25 │ 32 │ 36 │ 32 │ 36 │ │32,3 │35,7 │ │
034-038-25 │ 34 │ 38 │ 34 │ 38 │ │34,3 │37,7 │ │
036-040-25 │ 36 │ 40 │ 36 │ 40 │ │36,3 │39,7 │ │
037-041-25 │ 37 │ 41 │ 37 │ 41 │ │37,3 │40,7 │ │
038-042-25 │ 38 │ 42 │ 38 │ 42 │ │38,3 │41,7 │ │
040-044-25 │ 40 │ 44 │ 40 │ 44 │ │40,3 │43,7 │ │
041-045-25 │ 41 │ 45 │ 41 │ 45 │ │41,3 │44,7 │ │
042-046-25 │ 42 │ 46 │ 42 │ 46 │ │42,3 │45,7 │ │
043-047-25 │ 43 │ 47 │ 43 │ 47 │ │43,3 │46,7 │ │
044-048-25 │ 44 │ 48 │ 44 │ 48 │ │44,3 │47,7 │ │
045-049-25 │ 45 │ 49 │ 45 │ 49 │ │45,3 │48,7 │ │
046-050-25 │ 46 │ 50 │ 46 │ 50 │ │46,3 │49,7 │ │
048-052-25 │ 48 │ 52 │ 48 │ 52 │ │48,3 │51,7 │ │
050-054-25 │ 50 │ 54 │ 50 │ 54 │ │50,3 │53,7 │ │
051-055-25 │ 51 │ 55 │ 51 │ 55 │ │51,3 │54,7 │ │
052-056-25 │ 52 │ 56 │ 52 │ 56 │ │52,3 │55,7 │ │
054-058-25 │ 54 │ 58 │ 54 │ 58 │ │54,3 │57,7 │ │
055-059-25 │ 55 │ 59 │ 55 │ 59 │ │55,3 │58,7 │ │
056-060-25 │ 56 │ 60 │ 56 │ 60 │ │56,3 │59,7 │ │
058-062-25 │ 58 │ 62 │ 58 │ 62 │ │58,3 │61,7 │ │
060-064-25 │ 60 │ 64 │ 60 │ 64 │ │60,3 │63,7 │ │
061-065-25 │ 61 │ 65 │ 61 │ 65 │ │61,3 │64,7 │ │
062-066-25 │ 62 │ 66 │ 62 │ 66 │ │62,3 │65,7 │ │
064-068-25 │ 64 │ 68 │ 64 │ 68 │ │64,3 │67,7 │ │
065-070-25 │ 65 │ 70 │ 66 │ 69 │ │66,3 │68,7 │ │
068-072-25 │ 68 │ 72 │ 68 │ 72 │ │68,3 │71,7 │ │
070-075-25 │ 70 │ 75 │ 71 │ 74 │ │71,3 │73,7 │ │
072-078-25 │ 72 │ 78 │ 74 │ 76 │ │74,3 │75,7 │ │
075-080-25 │ 75 │ 80 │ 76 │ 79 │ │76,3 │78,7 │ │
078-082-25 │ 78 │ 82 │ 78 │ 82 │ │78,3 │81,7 │ │
080-085-25 │ 80 │ 85 │ 81 │ 84 │ │81,3 │83,7 │ │
082-088-25 │ 82 │ 88 │ 84 │ 86 │ │84,3 │85,7 │ │
085-090-25 │ 85 │ 90 │ 86 │ 89 │ │86,3 │88,7 │ │
088-092-25 │ 88 │ 92 │ 88 │ 92 │ │88,3 │91,7 │ │
090-095-25 │ 90 │ 95 │ 91 │ 94 │ │91,3 │93,7 │ │
092-098-25 │ 92 │ 98 │ 94 │ 96 │ │94,3 │95,7 │ │
095-100-25 │ 95 │ 100 │ 96 │ 99 │ │96,3 │98,7 │ │
098-102-25 │ 98 │ 102 │ 98 │ 102 │ │98,3 │101,7│ │
100-105-25 │ 100 │ 105 │ 101 │ 104 │ │101,3│103,7│ │
102-108-25 │ 102 │ 108 │ 104 │ 106 │ │104,3│105,7│ │
105-110-25 │ 105 │ 110 │ 106 │ 109 │ │106,3│108,7│ │
108-112-25 │ 108 │ 112 │ 108 │ 112 │ │108,3│111,7│ │
110-115-25 │ 110 │ 115 │ 111 │ 114 │ │111,3│113,7│ │
112-118-25 │ 112 │ 118 │ 114 │ 116 │ │114,3│115,7│ │
115-120-25 │ 115 │ 120 │ 116 │ 119 │ │116,3│118,7│ │
118-122-25 │ 118 │ 122 │ 118 │ 122 │ │118,3│121,7│ │
120-125-25 │ 120 │ 125 │ 121 │ 124 │ │121,3│123,7│ │
122-128-25 │ 122 │ 128 │ 124 │ 126 │ │124,3│125,7│ │
125-130-25 │ 125 │ 130 │ 126 │ 129 │ │126,3│128,7│ │
130-135-25 │ 130 │ 135 │ 131 │ 134 │ │131,3│133,7│ │
135-140-25 │ 135 │ 140 │ 136 │ 139 │ │136,3│138,7│ │
140-145-25 │ 140 │ 145 │ 141 │ 144 │ │141,3│143,7│ │
145-150-25 │ 145 │ 150 │ 146 │ 149 │ │146,3│148,7│ │
150-155-25 │ 150 │ 155 │ 151 │ 154 │ │151,3│153,7│ │
────────────────┼─────┼─────┼─────┼─────┼─────┼─────┼─────┼─────┼──────────
004,5-008,5-25 │ 4,5 │ 8,5 │ 4,5 │ 8,5 │ 3,3 │ 4,8 │ 8,2 │ 3,6 │ 0,04
005,5-009,5-25 │ 5,5 │ 9,5 │ 5,5 │ 9,5 │ │ 5,8 │ 9,2 │ │
006,5-010,5-25 │ 6,5 │10,5 │ 6,5 │10,5 │ │ 6,8 │10,2 │ │
007,5-011,5-25 │ 7,5 │11,5 │ 7,5 │11,5 │ │ 7,8 │11,2 │ │
008,5-012,5-25 │ 8,5 │12,5 │ 8,5 │12,5 │ │ 8,8 │12,2 │ │
Посадочные места под кольца с диаметром сечения

--------------------------------
<*> Размер обеспечивается инструментом.
Черт. 8
Таблица 5
мм
────────────────┬─────┬─────┬─────────────────┬─────────────────┬──────────
Обозначение │ d │ D │ Подвижное │ Неподвижное │Радиальное
типоразмера │ │ │ соединение │ соединение │биение
кольца │ │ ├─────┬─────┬─────┼─────┬─────┬─────┤поверх-
│ │ │ d │ D │ b │ d │ D │ b │ности А
│ │ │ 3 │ 1 │ │ 3 │ 1 │ │относи-
│ │ │ │ │ │ │ │ │тельно
│ │ │ │ │ │ │ │ │поверх-
│ │ │ │ │ │ │ │ │ности Б
────────────────┼─────┼─────┼─────┼─────┼─────┼─────┼─────┼─────┼──────────
010-015-30 │ 10 │ 15 │ 10 │ 15 │ 3,7 │10,3 │14,7 │ 4,0 │ 0,04
011-016-30 │ 11 │ 16 │ 11 │ 16 │ │11,3 │15,7 │ │
012-017-30 │ 12 │ 17 │ 12 │ 17 │ │12,3 │16,7 │ │
013-018-30 │ 13 │ 18 │ 13 │ 18 │ │13,3 │17,7 │ │
014-019-30 │ 14 │ 19 │ 14 │ 19 │ │14,3 │18,7 │ │
015-020-30 │ 15 │ 20 │ 15 │ 20 │ │15,3 │19,7 │ │
016-021-30 │ 16 │ 21 │ 16 │ 21 │ │16,3 │20,7 │ │
017-022-30 │ 17 │ 22 │ 17 │ 22 │ │17,3 │21,7 │ │
018-023-30 │ 18 │ 23 │ 18 │ 23 │ │18,3 │22,7 │ │
019-024-30 │ 19 │ 24 │ 19 │ 24 │ │19,3 │23,7 │ │
020-025-30 │ 20 │ 25 │ 20 │ 25 │ │20,3 │24,7 │ │
022-027-30 │ 22 │ 27 │ 22 │ 27 │ │22,3 │26,7 │ │
023-028-30 │ 23 │ 28 │ 23 │ 28 │ │23,3 │27,7 │ │
024-029-30 │ 24 │ 29 │ 24 │ 29 │ │24,3 │28,7 │ │
025-030-30 │ 25 │ 30 │ 25 │ 30 │ │25,3 │29,7 │ │
027-032-30 │ 27 │ 32 │ 27 │ 32 │ │27,3 │31,7 │ │
028-033-30 │ 28 │ 33 │ 28 │ 33 │ │28,3 │32,7 │ │
030-035-30 │ 30 │ 35 │ 30 │ 35 │ │30,3 │34,7 │ │
────────────────┼─────┼─────┼─────┼─────┤ ├─────┼─────┤ ├──────────
032-037-30 │ 32 │ 37 │ 32 │ 37 │ │32,3 │36,7 │ │ 0,06
033-038-30 │ 33 │ 38 │ 33 │ 38 │ │33,3 │37,7 │ │
035-040-30 │ 35 │ 40 │ 35 │ 40 │ │35,3 │39,7 │ │
036-041-30 │ 36 │ 41 │ 36 │ 41 │ │36,3 │40,7 │ │
038-042-30 │ 38 │ 42 │ 37 │ 43 │ │37,3 │42,7 │ │
040-045-30 │ 40 │ 45 │ 40 │ 45 │ │40,3 │44,7 │ │
042-048-30 │ 42 │ 48 │ 43 │ 47 │ │43,3 │46,7 │ │
045-050-30 │ 45 │ 50 │ 45 │ 50 │ │45,3 │49,7 │ │
050-055-30 │ 50 │ 55 │ 50 │ 55 │ │50,3 │54,7 │ │
051-056-30 │ 51 │ 56 │ 51 │ 56 │ │51,3 │55,7 │ │
055-060-30 │ 55 │ 60 │ 55 │ 60 │ │55,3 │59,7 │ │
056-061-30 │ 56 │ 61 │ 56 │ 61 │ │56,3 │60,7 │ │
058-063-30 │ 58 │ 63 │ 58 │ 63 │ │58,3 │62,7 │ │
060-065-30 │ 60 │ 65 │ 60 │ 65 │ │60,3 │64,7 │ │
063-068-30 │ 63 │ 68 │ 63 │ 68 │ │63,3 │67,7 │ │
065-070-30 │ 65 │ 70 │ 65 │ 70 │ │65,3 │69,7 │ │
066-071-30 │ 66 │ 71 │ 66 │ 71 │ │66,3 │70,7 │ │
070-075-30 │ 70 │ 75 │ 70 │ 75 │ │70,3 │74,7 │ │
071-076-30 │ 71 │ 76 │ 71 │ 76 │ │71,3 │75,7 │ │
075-080-30 │ 75 │ 80 │ 75 │ 80 │ │75,3 │79,7 │ │
080-085-30 │ 80 │ 85 │ 80 │ 85 │ │80,3 │84,7 │ │
085-090-30 │ 85 │ 90 │ 85 │ 90 │ │85,3 │89,7 │ │
090-095-30 │ 90 │ 95 │ 90 │ 95 │ │90,3 │94,7 │ │
095-100-30 │ 95 │ 100 │ 95 │ 100 │ │95,3 │99,7 │ │
100-105-30 │ 100 │ 105 │ 100 │ 105 │ │100,3│104,7│ │
102-108-30 │ 102 │ 108 │ 103 │ 107 │ │103,3│106,7│ │
105-110-30 │ 105 │ 110 │ 105 │ 110 │ │105,3│109,7│ │
108-112-30 │ 108 │ 112 │ 107 │ 113 │ │107,5│112,7│ │
110-115-30 │ 110 │ 115 │ 110 │ 115 │ │110,3│114,7│ │
112-118-30 │ 112 │ 118 │ 113 │ 117 │ │113,3│116,7│ │
115-120-30 │ 115 │ 120 │ 115 │ 120 │ │115,3│119,7│ │
120-125-30 │ 120 │ 125 │ 120 │ 125 │ │120,3│124,7│ │
125-130-30 │ 125 │ 130 │ 125 │ 130 │ │125,3│129,7│ │
130-135-30 │ 130 │ 135 │ 130 │ 135 │ │130,3│134,7│ │
135-140-30 │ 135 │ 140 │ 135 │ 140 │ │135,3│139,7│ │
140-145-30 │ 140 │ 145 │ 140 │ 145 │ │140,3│144,7│ │
145-150-30 │ 145 │ 150 │ 145 │ 150 │ │145,3│149,7│ │
150-155-30 │ 150 │ 155 │ 150 │ 155 │ │150,3│154,7│ │
────────────────┼─────┼─────┼─────┼─────┤ ├─────┼─────┤ ├──────────
021-026-30 │ 21 │ 26 │ 21 │ 26 │ │21,3 │25,7 │ │ 0,04
026-031-30 │ 26 │ 31 │ 26 │ 31 │ │26,3 │30,7 │ │
029-034-30 │ 29 │ 34 │ 29 │ 34 │ │29,3 │33,7 │ │
────────────────┼─────┼─────┼─────┼─────┤ ├─────┼─────┤ ├──────────
034-039-30 │ 34 │ 39 │ 34 │ 39 │ │34,3 │38,7 │ │ 0,06
048-052-30 │ 48 │ 52 │ 48 │ 52 │ │47,3 │52,7 │ │
052-058-30 │ 52 │ 58 │ 52 │ 58 │ │53,3 │56,7 │ │
082-088-30 │ 82 │ 88 │ 83 │ 87 │ │83,3 │86,7 │ │
088-092-30 │ 88 │ 92 │ 87 │ 93 │ │87,3 │92,7 │ │
092-098-30 │ 92 │ 98 │ 93 │ 97 │ │93,3 │96,7 │ │
098-102-30 │ 98 │ 102 │ 97 │ 103 │ │97,3 │102,7│ │
Посадочные места под кольца с диаметром

--------------------------------
<*> Размер обеспечивается инструментом.
Черт. 9
Таблица 6
мм
────────────────┬─────┬─────┬─────────────────┬─────────────────┬──────────
Обозначение │ d │ D │ Подвижное │ Неподвижное │Радиальное
типоразмера │ │ │ соединение │ соединение │биение
кольца │ │ ├─────┬─────┬─────┼─────┬─────┬─────┤поверх-
│ │ │ d │ D │ b │ d │ D │ b │ности А
│ │ │ 3 │ 1 │ │ 3 │ 1 │ │относи-
│ │ │ │ │ │ │ │ │тельно
│ │ │ │ │ │ │ │ │поверх-
│ │ │ │ │ │ │ │ │ности Б
────────────────┼─────┼─────┼─────┼─────┼─────┼─────┼─────┼─────┼──────────
014-020-36 │ 14 │ 20 │ 14 │ 20 │ 4,4 │14,4 │19,6 │ 4,7 │ 0,04
015-021-36 │ 15 │ 21 │ 15 │ 21 │ │15,4 │20,6 │ │
016-022-36 │ 16 │ 22 │ 16 │ 22 │ │16,4 │21,6 │ │
017-023-36 │ 17 │ 23 │ 17 │ 23 │ │17,4 │22,6 │ │
018-024-36 │ 18 │ 24 │ 18 │ 24 │ │18,4 │23,6 │ │
019-025-36 │ 19 │ 25 │ 19 │ 25 │ │19,4 │24,6 │ │
020-026-36 │ 20 │ 26 │ 20 │ 26 │ │20,4 │25,6 │ │
021-027-36 │ 21 │ 27 │ 21 │ 27 │ │21,4 │26,6 │ │
022-028-36 │ 22 │ 28 │ 22 │ 28 │ │22,4 │27,6 │ │
023-029-36 │ 23 │ 29 │ 23 │ 29 │ │23,4 │28,6 │ │
024-030-36 │ 24 │ 30 │ 24 │ 30 │ │24,4 │29,6 │ │
025-031-36 │ 25 │ 31 │ 25 │ 31 │ │25,4 │30,6 │ │
026-032-36 │ 26 │ 32 │ 26 │ 32 │ │26,4 │31,6 │ │
027-033-36 │ 27 │ 33 │ 27 │ 33 │ │27,4 │32,6 │ │
028-034-36 │ 28 │ 34 │ 28 │ 34 │ │28,4 │33,6 │ │
029-035-36 │ 29 │ 35 │ 29 │ 35 │ │29,4 │34,6 │ │
030-036-36 │ 30 │ 36 │ 30 │ 36 │ │30,4 │35,6 │ │
│ │ │ │ │ │ │ │ ├──────────
032-038-36 │ 32 │ 38 │ 32 │ 38 │ │32,4 │37,6 │ │ 0,06
034-040-36 │ 34 │ 40 │ 34 │ 40 │ │34,4 │39,6 │ │
035-041-36 │ 35 │ 41 │ 35 │ 41 │ │35,4 │40,6 │ │
036-042-36 │ 36 │ 42 │ 36 │ 42 │ │36,4 │41,6 │ │
038-044-36 │ 38 │ 44 │ 38 │ 44 │ │38,4 │43,6 │ │
039-045-36 │ 39 │ 45 │ 39 │ 45 │ │39,4 │44,6 │ │
040-046-36 │ 40 │ 46 │ 40 │ 46 │ │40,4 │45,6 │ │
042-048-36 │ 42 │ 48 │ 42 │ 48 │ │42,4 │47,6 │ │
044-050-36 │ 44 │ 50 │ 44 │ 50 │ │44,4 │49,6 │ │
045-051-36 │ 45 │ 51 │ 45 │ 51 │ │45,4 │50,6 │ │
046-052-36 │ 46 │ 52 │ 46 │ 52 │ │46,4 │51,6 │ │
048-054-36 │ 48 │ 54 │ 48 │ 54 │ │48,4 │53,6 │ │
049-055-36 │ 49 │ 55 │ 49 │ 55 │ │49,4 │54,6 │ │
050-056-36 │ 50 │ 56 │ 50 │ 56 │ │50,4 │55,6 │ │
052-058-36 │ 52 │ 58 │ 52 │ 58 │ │52,4 │57,6 │ │
054-060-36 │ 54 │ 60 │ 54 │ 60 │ │54,4 │59,6 │ │
055-061-36 │ 55 │ 61 │ 55 │ 61 │ │55,4 │60,6 │ │
056-062-36 │ 56 │ 62 │ 56 │ 62 │ │56,4 │61,6 │ │
057-063-36 │ 57 │ 63 │ 57 │ 63 │ │57,4 │62,6 │ │
058-064-36 │ 58 │ 64 │ 58 │ 64 │ │58,4 │63,6 │ │
059-065-36 │ 59 │ 65 │ 59 │ 65 │ │59,4 │64,6 │ │
060-066-36 │ 60 │ 66 │ 60 │ 66 │ │60,4 │65,6 │ │
062-068-36 │ 62 │ 63 │ 62 │ 63 │ │62,4 │67,6 │ │
063-069-36 │ 63 │ 69 │ 63 │ 69 │ │63,4 │68,6 │ │
064-070-36 │ 64 │ 70 │ 64 │ 70 │ │64,4 │69,6 │ │
065-071-36 │ 65 │ 71 │ 65 │ 71 │ │65,4 │70,6 │ │
066-072-36 │ 66 │ 72 │ 66 │ 72 │ │66,4 │71,6 │ │
068-074-36 │ 68 │ 74 │ 68 │ 74 │ │68,4 │73,6 │ │
069-075-36 │ 69 │ 75 │ 69 │ 75 │ │69,4 │74,6 │ │
070-076-36 │ 70 │ 76 │ 70 │ 76 │ │70,4 │75,6 │ │
071-077-36 │ 71 │ 77 │ 71 │ 77 │ │71,4 │76,6 │ │
072-078-36 │ 72 │ 78 │ 72 │ 78 │ │72,4 │77,6 │ │
074-080-36 │ 74 │ 80 │ 74 │ 80 │ │74,4 │79,6 │ │
075-081-36 │ 75 │ 81 │ 75 │ 81 │ │75,4 │80,6 │ │
076-082-36 │ 76 │ 82 │ 76 │ 82 │ │76,4 │81,6 │ │
078-084-36 │ 78 │ 84 │ 78 │ 84 │ │78,4 │83,6 │ │
079-085-36 │ 79 │ 85 │ 79 │ 85 │ │79,4 │84,6 │ │
080-086-36 │ 80 │ 86 │ 80 │ 86 │ │80,4 │85,6 │ │
082-088-36 │ 82 │ 88 │ 82 │ 88 │ │82,4 │87,6 │ │
084-090-36 │ 84 │ 90 │ 84 │ 90 │ │84,4 │89,6 │ │
085-091-36 │ 85 │ 91 │ 85 │ 91 │ │85,4 │90,6 │ │
086-092-36 │ 86 │ 92 │ 86 │ 92 │ │86,4 │91,6 │ │
088-094-36 │ 88 │ 94 │ 88 │ 94 │ │88,4 │93,6 │ │
089-095-36 │ 89 │ 95 │ 89 │ 95 │ │89,4 │94,6 │ │
090-096-36 │ 90 │ 96 │ 90 │ 96 │ │90,4 │95,6 │ │
092-098-36 │ 92 │ 98 │ 92 │ 98 │ │92,4 │97,6 │ │
094-100-36 │ 94 │ 100 │ 94 │ 100 │ │94,4 │99,6 │ │
095-101-36 │ 95 │ 101 │ 95 │ 101 │ │95,4 │100,6│ │
096-102-36 │ 96 │ 102 │ 96 │ 102 │ │96,4 │101,6│ │
098-104-36 │ 98 │ 104 │ 93 │ 104 │ │98,4 │103,6│ │
099-105-36 │ 99 │ 105 │ 99 │ 105 │ │99,4 │104,6│ │
100-106-36 │ 100 │ 106 │ 100 │ 106 │ │100,4│105,6│ │
102-108-36 │ 102 │ 108 │ 102 │ 108 │ │102,4│107,6│ │
104-110-36 │ 104 │ 110 │ 104 │ 110 │ │104,4│109,6│ │
105-111-36 │ 105 │ 111 │ 105 │ 111 │ │105,4│110,6│ │
106-112-36 │ 106 │ 112 │ 106 │ 112 │ │106,4│111,6│ │
108-114-36 │ 108 │ 114 │ 108 │ 114 │ │108,4│113,6│ │
109-115-36 │ 109 │ 115 │ 109 │ 115 │ │109,4│114,6│ │
110-116-36 │ 110 │ 116 │ 110 │ 116 │ │110,4│115,6│ │
112-118-36 │ 112 │ 118 │ 112 │ 118 │ │112,4│117,6│ │
114-120-36 │ 114 │ 120 │ 114 │ 120 │ │114,4│119,6│ │
115-121-36 │ 115 │ 121 │ 115 │ 121 │ │115,4│120,6│ │
118-124-36 │ 118 │ 124 │ 118 │ 124 │ │118,4│123,6│ │
120-126-36 │ 120 │ 126 │ 120 │ 126 │ │120,4│125,6│ │
125-130-36 │ 125 │ 130 │ 124 │ 131 │ │124,4│130,6│ │
130-135-36 │ 130 │ 135 │ 129 │ 136 │ │129,4│135,6│ │
135-140-36 │ 135 │ 140 │ 134 │ 141 │ │134,4│140,6│ │
140-145-36 │ 140 │ 145 │ 139 │ 146 │ │139,4│145,6│ │
145-150-36 │ 145 │ 150 │ 144 │ 151 │ │144,4│150,6│ │
150-155-36 │ 150 │ 155 │ 149 │ 156 │ │149,4│155,6│ │
155-160-36 │ 155 │ 160 │ 154 │ 161 │ │154,4│160,6│ │
160-165-36 │ 160 │ 165 │ 159 │ 166 │ │159,4│165,6│ │
165-170-36 │ 165 │ 170 │ 164 │ 171 │ │164,4│170,6│ │
170-175-36 │ 170 │ 175 │ 169 │ 176 │ │169,4│175,6│ │
175-180-36 │ 175 │ 180 │ 174 │ 181 │ │174,4│180,6│ │
180-185-36 │ 180 │ 185 │ 179 │ 186 │ │179,4│185,6│ │
185-190-36 │ 185 │ 190 │ 184 │ 191 │ │184,4│190,6│ │
190-195-36 │ 190 │ 195 │ 189 │ 196 │ │189,4│195,6│ │
195-200-36 │ 195 │ 200 │ 194 │ 201 │ │194,4│200,6│ │
200-205-36 │ 200 │ 205 │ 199 │ 206 │ │199,4│205,6│ │
205-210-36 │ 205 │ 210 │ 204 │ 211 │ │204,4│210,6│ │
210-215-36 │ 210 │ 215 │ 209 │ 216 │ │209,4│215,6│ │
215-220-36 │ 215 │ 220 │ 214 │ 221 │ │214,4│220,6│ │
220-225-36 │ 220 │ 225 │ 219 │ 226 │ │219,4│225,6│ │
225-230-36 │ 225 │ 230 │ 224 │ 231 │ │224,4│230,6│ │ 0,07
230-235-36 │ 230 │ 235 │ 229 │ 236 │ │229,4│235,6│ │
235-240-36 │ 235 │ 240 │ 234 │ 241 │ │234,4│240,6│ │
240-245-36 │ 240 │ 245 │ 239 │ 246 │ │239,4│245,6│ │
245-250-36 │ 245 │ 250 │ 244 │ 251 │ │244,4│250,6│ │
250-255-36 │ 250 │ 255 │ 249 │ 256 │ │249,4│255,6│ │
Посадочные места под кольца с диаметром сечения

--------------------------------
<*> Размер обеспечивается инструментом.
Черт. 10
Таблица 7
мм
────────────────┬─────┬─────┬─────────────────┬─────────────────┬──────────
Обозначение │ d │ D │ Подвижное │ Неподвижное │Радиальное
типоразмера │ │ │ соединение │ соединение │биение
кольца │ │ ├─────┬─────┬─────┼─────┬─────┬─────┤поверх-
│ │ │ d │ D │ b │ d │ D │ b │ности А
│ │ │ 3 │ 1 │ │ 3 │ 1 │ │относи-
│ │ │ │ │ │ │ │ │тельно
│ │ │ │ │ │ │ │ │поверх-
│ │ │ │ │ │ │ │ │ности Б
────────────────┼─────┼─────┼─────┼─────┼─────┼─────┼─────┼─────┼──────────
028-036-46 │ 28 │ 36 │ 28 │ 36 │ 5,2 │28,6 │35,4 │ 5,6 │ 0,04
030-038-46 │ 30 │ 38 │ 30 │ 38 │ │30,6 │37,4 │ │
────────────────┼─────┼─────┼─────┼─────┼─────┼─────┼─────┼─────┼──────────
032-040-46 │ 32 │ 40 │ 32 │ 40 │ 5,2 │32,6 │39,4 │ 5,6 │ 0,06
034-042-46 │ 34 │ 42 │ 34 │ 42 │ │34,6 │41,4 │ │
035-043-46 │ 35 │ 43 │ 35 │ 43 │ │35,6 │42,4 │ │
036-044-46 │ 36 │ 44 │ 36 │ 44 │ │36,6 │43,4 │ │
037-045-46 │ 37 │ 45 │ 37 │ 45 │ │37,6 │44,4 │ │
038-046-46 │ 38 │ 46 │ 38 │ 46 │ │38,6 │45,4 │ │
040-048-46 │ 40 │ 48 │ 40 │ 48 │ │40,6 │47,4 │ │
042-050-46 │ 42 │ 50 │ 42 │ 50 │ │42,6 │49,4 │ │
044-052-46 │ 44 │ 52 │ 44 │ 52 │ │44,6 │51,4 │ │
045-053-46 │ 45 │ 53 │ 45 │ 53 │ │45,6 │52,4 │ │
047-055-46 │ 47 │ 55 │ 47 │ 55 │ │47,6 │54,4 │ │
048-056-46 │ 48 │ 56 │ 48 │ 56 │ │48,6 │55,4 │ │
050-058-46 │ 50 │ 58 │ 50 │ 58 │ │50,6 │57,4 │ │
052-060-46 │ 52 │ 60 │ 52 │ 60 │ │52,6 │59,4 │ │
054-062-46 │ 54 │ 62 │ 54 │ 62 │ │54,6 │61,4 │ │
055-063-46 │ 55 │ 63 │ 55 │ 63 │ │55,6 │62,4 │ │
057-065-46 │ 57 │ 65 │ 57 │ 65 │ │57,6 │64,4 │ │
058-066-46 │ 58 │ 66 │ 58 │ 66 │ │58,6 │65,4 │ │
060-068-46 │ 60 │ 68 │ 60 │ 68 │ │60,6 │67,4 │ │
062-070-46 │ 62 │ 70 │ 62 │ 70 │ │62,6 │69,4 │ │
063-071-46 │ 63 │ 71 │ 63 │ 71 │ │63,6 │70,4 │ │
064-072-46 │ 64 │ 72 │ 64 │ 72 │ │64,6 │71,4 │ │
065-073-46 │ 65 │ 73 │ 65 │ 73 │ │65,6 │72,4 │ │
067-075-46 │ 67 │ 75 │ 67 │ 75 │ │67,6 │74,4 │ │
068-076-46 │ 68 │ 76 │ 68 │ 76 │ │68,6 │75,4 │ │
070-078-46 │ 70 │ 78 │ 70 │ 78 │ │70,6 │77,4 │ │
072-080-46 │ 72 │ 80 │ 72 │ 80 │ │72,6 │79,4 │ │
074-082-46 │ 74 │ 82 │ 74 │ 82 │ │74,6 │81,4 │ │
075-083-46 │ 75 │ 83 │ 75 │ 83 │ │75,6 │82,4 │ │
077-085-46 │ 77 │ 85 │ 77 │ 85 │ │77,6 │84,4 │ │
078-086-46 │ 78 │ 86 │ 78 │ 86 │ │78,6 │85,4 │ │
080-088-46 │ 80 │ 88 │ 80 │ 88 │ │80,6 │87,4 │ │
082-090-46 │ 82 │ 90 │ 82 │ 90 │ │82,6 │89,4 │ │
085-092-46 │ 85 │ 92 │ 84 │ 93 │ │84,6 │92,4 │ │
088-095-46 │ 88 │ 95 │ 87 │ 96 │ │87,6 │95,4 │ │
090-098-46 │ 90 │ 98 │ 90 │ 98 │ │90,6 │97,4 │ │
092-100-46 │ 92 │ 100 │ 92 │ 100 │ │92,6 │99,4 │ │
095-102-46 │ 95 │ 102 │ 94 │ 103 │ │94,6 │102,4│ │
098-105-46 │ 98 │ 105 │ 97 │ 106 │ │97,6 │105,4│ │
100-108-46 │ 100 │ 108 │ 100 │ 108 │ │100,6│107,4│ │
102-110-46 │ 102 │ 110 │ 102 │ 110 │ │102,6│109,4│ │
105-112-46 │ 105 │ 112 │ 104 │ 113 │ │104,6│112,4│ │
108-115-46 │ 108 │ 115 │ 107 │ 116 │ │107,4│115,4│ │
110-118-46 │ 110 │ 118 │ 110 │ 118 │ │110,6│117,4│ │
112-120-46 │ 112 │ 120 │ 112 │ 120 │ │112,6│119,4│ │
115-122-46 │ 115 │ 122 │ 114 │ 123 │ │114,6│122,4│ │
118-125-46 │ 118 │ 125 │ 117 │ 126 │ │117,6│125,4│ │
120-128-46 │ 120 │ 128 │ 120 │ 128 │ │120,6│127,4│ │
122-130-46 │ 122 │ 130 │ 122 │ 130 │ │122,6│129,4│ │
125-135-46 │ 125 │ 135 │ 127 │ 133 │ │127,6│132,4│ │
130-140-46 │ 130 │ 140 │ 132 │ 138 │ │132,6│137,4│ │
135-145-46 │ 135 │ 145 │ 137 │ 143 │ │137,4│142,4│ │
140-150-46 │ 140 │ 150 │ 142 │ 148 │ │142,6│147,4│ │
145-155-46 │ 145 │ 155 │ 147 │ 153 │ │147,6│152,4│ │
150-160-46 │ 150 │ 160 │ 152 │ 158 │ │152,4│157,4│ │
155-165-46 │ 155 │ 165 │ 157 │ 163 │ │157,6│162,4│ │
160-170-46 │ 160 │ 170 │ 162 │ 168 │ │162,6│167,4│ │
165-175-46 │ 165 │ 175 │ 167 │ 173 │ │167,2│172,4│ │
170-180-46 │ 170 │ 180 │ 172 │ 178 │ │172,6│177,4│ │
175-185-46 │ 175 │ 185 │ 177 │ 183 │ │177,6│182,4│ │
180-190-46 │ 180 │ 190 │ 182 │ 188 │ │182,6│187,4│ │
185-195-46 │ 185 │ 195 │ 187 │ 193 │ │187,6│192,4│ │
190-200-46 │ 190 │ 200 │ 192 │ 198 │ │192,6│197,4│ │
195-205-46 │ 195 │ 205 │ 197 │ 203 │ │197,6│202,4│ │
────────────────┼─────┼─────┼─────┼─────┼─────┼─────┼─────┼─────┼──────────
200-210-46 │ 200 │ 210 │ 202 │ 208 │ 5,2 │202,6│207,4│ 5,2 │ 0,07
205-215-46 │ 205 │ 215 │ 207 │ 213 │ │207,6│212,4│ │
210-220-46 │ 210 │ 220 │ 212 │ 218 │ │212,6│217,4│ │
215-225-46 │ 215 │ 225 │ 217 │ 223 │ │217,6│222,4│ │
220-230-46 │ 220 │ 230 │ 222 │ 228 │ │222,6│227,4│ │
225-235-46 │ 225 │ 235 │ 227 │ 233 │ │227,6│232,4│ │
230-240-46 │ 230 │ 240 │ 232 │ 238 │ │232,6│237,4│ │
235-245-46 │ 235 │ 245 │ 237 │ 243 │ │237,6│242,4│ │
240-250-46 │ 240 │ 250 │ 242 │ 248 │ │242,6│247,4│ │
245-255-46 │ 245 │ 255 │ 247 │ 253 │ │247,6│252,4│ │
250-260-46 │ 250 │ 260 │ 252 │ 258 │ │252,6│257,4│ │
Посадочные места под кольца с диаметром сечения

--------------------------------
<*> Размер обеспечивается инструментом.
Черт. 11
Таблица 8
мм
────────────────┬─────┬─────┬─────────────────┬─────────────────┬──────────
Обозначение │ d │ D │ Подвижное │ Неподвижное │Радиальное
типоразмера │ │ │ соединение │ соединение │биение
кольца │ │ ├─────┬─────┬─────┼─────┬─────┬─────┤поверх-
│ │ │ d │ D │ b │ d │ D │ b │ности А
│ │ │ 3 │ 1 │ │ 3 │ 1 │ │относи-
│ │ │ │ │ │ │ │ │тельно
│ │ │ │ │ │ │ │ │поверх-
│ │ │ │ │ │ │ │ │ности Б
────────────────┼─────┼─────┼─────┼─────┼─────┼─────┼─────┼─────┼──────────
050-060-58 │ 50 │ 60 │ 50 │ 60 │ 6,5 │50,8 │59,2 │ 7,0 │ 0,06
053-063-58 │ 53 │ 63 │ 53 │ 63 │ │53,8 │62,2 │ │
055-065-58 │ 55 │ 65 │ 55 │ 65 │ │55,8 │64,2 │ │
056-066-58 │ 56 │ 66 │ 56 │ 66 │ │56,8 │65,2 │ │
060-070-58 │ 60 │ 70 │ 60 │ 70 │ │60,8 │69,2 │ │
061-071-58 │ 61 │ 71 │ 61 │ 71 │ │61,8 │70,2 │ │
063-073-58 │ 63 │ 73 │ 63 │ 73 │ │63,8 │72,2 │ │
065-075-58 │ 65 │ 75 │ 65 │ 75 │ │65,8 │74,2 │ │
070-080-58 │ 70 │ 80 │ 70 │ 80 │ │70,8 │79,2 │ │
071-081-58 │ 71 │ 81 │ 71 │ 81 │ │71,8 │80,2 │ │
075-085-58 │ 75 │ 85 │ 75 │ 85 │ │75,8 │84,2 │ │
078-088-58 │ 78 │ 88 │ 78 │ 88 │ │78,8 │87,2 │ │
080-090-58 │ 80 │ 90 │ 80 │ 90 │ │80,8 │89,2 │ │
085-095-58 │ 85 │ 95 │ 85 │ 95 │ │85,8 │94,2 │ │
090-100-58 │ 90 │ 100 │ 90 │ 100 │ │90,8 │99,2 │ │
095-105-58 │ 95 │ 105 │ 95 │ 105 │ │95,8 │104,2│ │
100-110-58 │ 100 │ 110 │ 100 │ 110 │ │100,8│109,2│ │
105-115-58 │ 105 │ 115 │ 105 │ 115 │ │105,8│114,2│ │
110-120-58 │ 110 │ 120 │ 110 │ 120 │ │110,8│119,2│ │
115-125-58 │ 115 │ 125 │ 115 │ 125 │ │115,8│124,2│ │
120-130-58 │ 120 │ 130 │ 120 │ 130 │ │120,8│129,2│ │
125-135-58 │ 125 │ 135 │ 125 │ 135 │ │125,8│134,2│ │
130-140-58 │ 130 │ 140 │ 130 │ 140 │ │130,8│139,2│ │
135-145-58 │ 135 │ 145 │ 135 │ 145 │ │135,8│144,2│ │
140-150-58 │ 140 │ 150 │ 140 │ 150 │ │140,8│149,2│ │
145-155-58 │ 145 │ 155 │ 145 │ 155 │ │145,8│154,2│ │
150-160-58 │ 150 │ 160 │ 150 │ 160 │ │150,8│159,2│ │
155-165-58 │ 155 │ 165 │ 155 │ 165 │ │155,8│164,2│ │
160-170-58 │ 160 │ 170 │ 160 │ 170 │ │160,8│169,2│ │
165-175-58 │ 165 │ 175 │ 165 │ 175 │ │165,8│174,2│ │
170-180-58 │ 170 │ 180 │ 170 │ 180 │ │170,8│179,2│ │
175-185-58 │ 175 │ 185 │ 175 │ 185 │ │175,8│184,2│ │
180-190-58 │ 180 │ 190 │ 180 │ 190 │ │180,8│189,2│ │
185-195-58 │ 185 │ 195 │ 185 │ 195 │ │185,8│194,2│ │
190-200-58 │ 190 │ 200 │ 190 │ 200 │ │190,8│199,2│ │
195-205-58 │ 195 │ 205 │ 195 │ 205 │ │195,8│204,2│ │
200-210-58 │ 200 │ 210 │ 200 │ 210 │ │200,8│209,2│ │
205-215-58 │ 205 │ 215 │ 205 │ 215 │ │205,8│214,2│ │
210-220-58 │ 210 │ 220 │ 210 │ 220 │ │210,8│219,2│ │
215-225-58 │ 215 │ 225 │ 215 │ 225 │ │215,8│224,2│ │
220-230-58 │ 220 │ 230 │ 220 │ 230 │ │220,8│229,2│ │
225-235-58 │ 225 │ 235 │ 225 │ 235 │ │225,8│234,2│ │
230-240-58 │ 230 │ 240 │ 230 │ 240 │ │230,8│239,2│ │
235-245-58 │ 235 │ 245 │ 235 │ 245 │ │235,8│244,2│ │
240-250-58 │ 240 │ 250 │ 240 │ 250 │ │240,8│249,2│ │
245-255-58 │ 245 │ 255 │ 245 │ 255 │ │245,8│254,2│ │
250-260-58 │ 250 │ 260 │ 250 │ 260 │ │250,8│259,2│ │
255-265-58 │ 255 │ 265 │ 255 │ 265 │ │255,8│264,2│ │
260-270-58 │ 260 │ 270 │ 260 │ 270 │ │260,8│269,2│ │
265-275-58 │ 265 │ 275 │ 265 │ 275 │ │265,8│274,2│ │
270-280-58 │ 270 │ 280 │ 270 │ 280 │ │270,8│279,2│ │
275-285-58 │ 275 │ 285 │ 275 │ 285 │ │275,8│284,2│ │
280-290-58 │ 280 │ 290 │ 280 │ 290 │ │280,8│289,2│ │
285-295-58 │ 285 │ 295 │ 285 │ 295 │ │285,8│294,2│ │
290-300-58 │ 290 │ 300 │ 290 │ 300 │ │290,8│299,2│ │
295-305-58 │ 295 │ 305 │ 295 │ 305 │ │295,8│304,2│ │
300-310-58 │ 300 │ 310 │ 300 │ 310 │ │300,8│309,2│ │
305-315-58 │ 305 │ 315 │ 305 │ 315 │ │305,8│314,2│ │
310-320-58 │ 310 │ 320 │ 310 │ 320 │ │310,8│319,2│ │
315-325-58 │ 315 │ 325 │ 315 │ 325 │ │315,8│324,2│ │
320-330-58 │ 320 │ 330 │ 320 │ 330 │ │320,8│329,2│ │
325-335-58 │ 325 │ 335 │ 325 │ 335 │ │325,8│334,2│ │
330-340-58 │ 330 │ 340 │ 330 │ 340 │ │330,8│339,2│ │
335-345-58 │ 335 │ 345 │ 335 │ 345 │ │335,8│344,2│ │
340-350-58 │ 340 │ 350 │ 340 │ 350 │ │340,8│349,2│ │
345-355-58 │ 345 │ 355 │ 345 │ 355 │ │345,8│354,2│ │
350-360-58 │ 350 │ 360 │ 350 │ 360 │ │350,8│359,2│ │
355-365-58 │ 355 │ 365 │ 355 │ 365 │ │355,8│364,2│ │
360-370-58 │ 360 │ 370 │ 360 │ 370 │ │360,8│369,2│ │
365-375-58 │ 365 │ 375 │ 365 │ 375 │ │365,8│374,2│ │
370-380-58 │ 370 │ 380 │ 370 │ 380 │ │370,8│379,2│ │
375-385-58 │ 375 │ 385 │ 375 │ 385 │ │375,8│384,2│ │
380-390-58 │ 380 │ 390 │ 380 │ 390 │ │380,8│389,2│ │
────────────────┼─────┼─────┼─────┼─────┼─────┼─────┼─────┼─────┼──────────
390-400-58 │ 390 │ 400 │ 390 │ 400 │ 6,5 │390,8│399,2│ 7,0 │ 0,07
400-410-58 │ 400 │ 410 │ 400 │ 410 │ │400,8│409,2│ │
────────────────┼─────┼─────┼─────┼─────┼─────┼─────┼─────┼─────┼──────────
420-430-58 │ 420 │ 430 │ - │ - │ - │420,8│429,2│ 7,0 │ 0,07
430-440-58 │ 430 │ 440 │ │ │ │430,8│439,2│ │
440-450-58 │ 440 │ 450 │ │ │ │440,8│449,2│ │
450-460-58 │ 450 │ 460 │ │ │ │450,8│459,2│ │
460-470-58 │ 460 │ 470 │ │ │ │460,8│469,2│ │
480-490-58 │ 480 │ 490 │ │ │ │480,8│489,2│ │
500-510-58 │ 500 │ 510 │ │ │ │500,8│509,2│ │
────────────────┼─────┼─────┼─────┼─────┼─────┼─────┼─────┼─────┼──────────
082-092-58 │ 82 │ 92 │ 82 │ 92 │ 6,5 │82,8 │91,2 │ 7,0 │ 0,06
088-098-58 │ 88 │ 98 │ 88 │ 98 │ │88,8 │97,2 │ │
092-102-58 │ 92 │ 102 │ 92 │ 102 │ │92,8 │101,2│ │
098-108-58 │ 98 │ 108 │ 98 │ 108 │ │98,8 │107,2│ │
102-112-58 │ 102 │ 112 │ 102 │ 112 │ │102,8│111,2│ │
108-118-58 │ 108 │ 118 │ 108 │ 118 │ │108,8│117,2│ │
112-122-58 │ 112 │ 122 │ 112 │ 122 │ │112,8│121,2│ │
118-128-58 │ 118 │ 128 │ 118 │ 128 │ │118,8│127,2│ │
Посадочные места под кольца с диаметром сечения

--------------------------------
<*> Размер обеспечивается инструментом.
Черт. 12
Таблица 9
мм
────────────────┬─────┬─────┬─────────────────┬─────────────────┬──────────
Обозначение │ d │ D │ Подвижное │ Неподвижное │Радиальное
типоразмера │ │ │ соединение │ соединение │биение
кольца │ │ ├─────┬─────┬─────┼─────┬─────┬─────┤поверх-
│ │ │ d │ D │ b │ d │ D │ b │ности А
│ │ │ 3 │ 1 │ │ 3 │ 1 │ │относи-
│ │ │ │ │ │ │ │ │тельно
│ │ │ │ │ │ │ │ │поверх-
│ │ │ │ │ │ │ │ │ности Б
────────────────┼─────┼─────┼─────┼─────┼─────┼─────┼─────┼─────┼──────────
082-095-75 │ 82 │ 95 │ 88 │ 95 │ 8,2 │ 83 │ 94 │ 9,0 │ 0,06
090-102-75 │ 90 │ 102 │ 89 │ 103 │ │ 90 │ 102 │ │
092-105-75 │ 92 │ 105 │ 92 │ 105 │ │ 93 │ 104 │ │
095-108-75 │ 95 │ 108 │ 95 │ 108 │ │ 96 │ 107 │ │
098-110-75 │ 98 │ 110 │ 97 │ 111 │ │ 98 │ 110 │ │
100-112-75 │ 100 │ 112 │ 99 │ 113 │ │ 100 │ 112 │ │
102-115-75 │ 102 │ 115 │ 102 │ 115 │ │ 103 │ 114 │ │
105-118-75 │ 105 │ 118 │ 105 │ 118 │ │ 106 │ 117 │ │
108-120-75 │ 108 │ 120 │ 107 │ 121 │ │ 108 │ 120 │ │
110-122-75 │ 110 │ 122 │ 109 │ 123 │ │ 110 │ 122 │ │
112-125-75 │ 112 │ 125 │ 112 │ 125 │ │ 113 │ 124 │ │
115-128-75 │ 115 │ 128 │ 115 │ 128 │ │ 116 │ 127 │ │
118-130-75 │ 118 │ 130 │ 117 │ 131 │ │ 118 │ 130 │ │
120-132-75 │ 120 │ 132 │ 119 │ 133 │ │ 120 │ 132 │ │
122-135-75 │ 122 │ 135 │ 122 │ 135 │ │ 123 │ 134 │ │
125-138-75 │ 125 │ 138 │ 125 │ 138 │ │ 126 │ 137 │ │
128-140-75 │ 128 │ 140 │ 127 │ 141 │ │ 128 │ 140 │ │
130-142-75 │ 130 │ 142 │ 129 │ 143 │ │ 130 │ 142 │ │
132-145-75 │ 132 │ 145 │ 132 │ 145 │ │ 133 │ 144 │ │
Посадочные места под кольца с диаметром сечения

--------------------------------
<*> Размер обеспечивается инструментом.
Черт. 13
мм
──────────────┬─────┬────┬────────────────┬─────────────────┬──────────────
Обозначение │ d │ D │ Подвижное │ Неподвижное │ Радиальное
типоразмера │ │ │ соединение │ соединение │ биение
кольца │ │ ├─────┬─────┬────┼─────┬─────┬─────┤ поверхности
│ │ │ d │ D │ b │ d │ D │ b │А относительно
│ │ │ 3 │ 1 │ │ 3 │ 1 │ │поверхности Б
──────────────┼─────┼────┼─────┼─────┼────┼─────┼─────┼─────┼──────────────
135-150-85 │ 135 │150 │ 135 │ 150 │9,4 │136,4│148,6│10,3 │ 0,06
140-155-85 │ 140 │155 │ 140 │ 155 │ │141,4│153,6│ │
145-160-85 │ 145 │160 │ 145 │ 160 │ │146,4│158,6│ │
150-165-85 │ 150 │165 │ 150 │ 165 │ │151,4│163,6│ │
155-170-85 │ 155 │170 │ 155 │ 170 │ │156,4│168,6│ │
160-175-85 │ 160 │175 │ 160 │ 175 │ │161,4│173,6│ │
165-180-85 │ 165 │180 │ 165 │ 180 │ │166,4│178,6│ │
170-185-85 │ 170 │185 │ 170 │ 185 │ │171,4│183,6│ │
175-190-85 │ 175 │190 │ 175 │ 190 │ │176,4│188,6│ │
180-195-85 │ 180 │195 │ 180 │ 195 │ │181,4│193,6│ │
185-200-85 │ 185 │200 │ 185 │ 200 │ │186,4│198,6│ │
190-205-85 │ 190 │205 │ 190 │ 205 │ │191,4│203,6│ │
195-210-85 │ 195 │210 │ 195 │ 210 │ │196,4│208,6│ │
200-215-85 │ 200 │215 │ 200 │ 215 │ │201,4│213,6│ │
205-220-85 │ 205 │220 │ 205 │ 220 │ │206,4│218,6│ │
210-225-85 │ 210 │225 │ 210 │ 225 │ │211,4│223,6│ │
215-230-85 │ 215 │230 │ 215 │ 230 │ │216,4│228,6│ │
220-235-85 │ 220 │235 │ 220 │ 235 │ │221,4│233,6│ │
225-240-85 │ 225 │240 │ 225 │ 240 │ │226,4│238,6│ │
230-245-85 │ 230 │245 │ 230 │ 245 │ │231,4│243,6│ │
235-250-85 │ 235 │250 │ 235 │ 250 │ │236,4│248,6│ │
240-255-85 │ 240 │255 │ 240 │ 255 │ │241,4│253,6│ │
245-260-85 │ 245 │260 │ 245 │ 260 │ │246,4│258,6│ │
250-265-85 │ 250 │265 │ 250 │ 265 │ │251,4│263,6│ │
255-270-85 │ 255 │270 │ 255 │ 270 │ │256,4│268,6│ │
260-275-85 │ 260 │275 │ 260 │ 275 │ │261,4│273,6│ │
265-280-85 │ 265 │280 │ 265 │ 280 │ │266,4│278,6│ │
280-295-85 │ 280 │295 │ 280 │ 295 │ │281,4│293,6│ │
285-300-85 │ 285 │300 │ 285 │ 300 │ │286,4│298,3│ │
300-315-85 │ 300 │315 │ 300 │ 315 │ │301,4│313,6│ │
305-320-85 │ 305 │320 │ 305 │ 320 │ │306,4│318,6│ │
320-335-85 │ 320 │335 │ 320 │ 335 │9,4 │321,4│333,6│10,3 │ 0,07
325-340-85 │ 325 │340 │ 325 │ 340 │ │326,4│338,6│ │
340-355-85 │ 340 │355 │ 340 │ 355 │ │341,4│353,6│ │
345-360-85 │ 345 │360 │ 345 │ 360 │ │346,4│358,6│ │
360-375-85 │ 360 │375 │ 360 │ 375 │ │361,4│373,6│ │
365-380-85 │ 365 │380 │ 365 │ 380 │ │366,4│378,6│ │
380-395-85 │ 380 │395 │ 380 │ 395 │ │381,4│393,6│ │
385-400-85 │ 385 │400 │ 385 │ 400 │ │386,4│398,3│ │
390-405-85 │ 390 │405 │ 390 │ 405 │ │391,4│403,6│ │
400-415-85 │ 400 │415 │ 400 │ 415 │ │401,4│413,6│ │
420-435-85 │ 420 │435 │ 420 │ 435 │ │421,4│433,6│ │
440-455-85 │ 440 │455 │ 440 │ 455 │ │441,4│453,6│ │
450-465-85 │ 450 │465 │ 450 │ 465 │ │445,4│463,6│ │
460-475-85 │ 460 │475 │ 460 │ 475 │ │461,4│473,6│ │
480-495-85 │ 480 │495 │ 480 │ 495 │ │481,4│493,6│ │
500-515-85 │ 500 │515 │ 500 │ 515 │ │501,4│513,6│ │
ПОСАДОЧНЫЕ МЕСТА ДЛЯ ТОРЦОВЫХ УПЛОТНЕНИЙ
Посадочные места под кольца с диаметром сечения

--------------------------------
<*> Размер обеспечивается инструментом.
Черт. 14
мм
──────────────────────────┬────────────────────────┬───────────────────────
Обозначение типоразмера │ d │ D
кольца │ 4 │ 2
──────────────────────────┼────────────────────────┼───────────────────────
003-005-14 │ 1 │ 5
004-006-14 │ 2 │ 6
005-007-14 │ 3 │ 7
006-008-14 │ 4 │ 8
008-010-14 │ 6 │ 10
Посадочные места под кольца с диаметром сечения

--------------------------------
<*> Размер обеспечивается инструментом.
Черт. 15
Таблица 12
мм
─────────────────────────────┬──────────────────────┬──────────────────────
Обозначение │ d │ D
типоразмера кольца │ 4 │ 2
─────────────────────────────┼──────────────────────┼──────────────────────
003-006-19 │ 2 │ 7
004-007-19 │ 2 │ 7
005-008-19 │ 4 │ 9
006-009-19 │ 5 │ 10
007-010-19 │ 5 │ 10
008-011-19 │ 6 │ 11
009-012-19 │ 7 │ 12
010-013-19 │ 8 │ 13
011-014-19 │ 9 │ 14
012-015-19 │ 10 │ 15
013-016-19 │ 11 │ 16
014-017-19 │ 12 │ 17
015-018-19 │ 13 │ 18
016-019-19 │ 14 │ 19
017-020-19 │ 15 │ 20
018-021-19 │ 16 │ 21
019-022-19 │ 17 │ 22
020-023-19 │ 18 │ 23
021-024-19 │ 19 │ 24
022-025-19 │ 20 │ 25
023-026-19 │ 21 │ 26
024-027-19 │ 22 │ 27
025-028-19 │ 23 │ 28
026-029-19 │ 24 │ 29
027-030-19 │ 25 │ 30
028-031-19 │ 26 │ 31
029-032-19 │ 27 │ 32
030-034-19 │ 28 │ 33
032-035-19 │ 29 │ 34
033-036-19 │ 30 │ 35
034-037-19 │ 31 │ 36
035-038-19 │ 32 │ 37
036-039-19 │ 33 │ 38
037-040-19 │ 34 │ 39
038-041-19 │ 35 │ 40
039-042-19 │ 36 │ 41
040-043-19 │ 37 │ 42
042-045-19 │ 39 │ 44
045-048-19 │ 42 │ 47
047-050-19 │ 44 │ 49
048-052-19 │ 45 │ 50
050-053-19 │ 47 │ 52
Посадочные места под кольца с диаметром сечения

--------------------------------
<*> Размер обеспечивается инструментом.
Черт. 16
Таблица 13
мм
─────────────────────────────┬──────────────────────┬──────────────────────
Обозначение │ d │ D
типоразмера кольца │ 4 │ 2
─────────────────────────────┼──────────────────────┼──────────────────────
004-008-25 │ 2 │ 9
005-009-25 │ 3 │ 10
006-010-25 │ 4 │ 11
007-011-25 │ 5 │ 12
008-012-25 │ 6 │ 13
009-013-25 │ 7 │ 14
010-014-25 │ 8 │ 15
011-015-25 │ 8 │ 15
012-016-25 │ 9 │ 16
013-017-25 │ 10 │ 17
014-018-25 │ 11 │ 18
015-019-25 │ 12 │ 19
016-020-25 │ 13 │ 20
017-021-25 │ 14 │ 21
018-022-25 │ 15 │ 22
019-023-25 │ 16 │ 23
020-024-25 │ 17 │ 24
021-025-25 │ 18 │ 25
022-026-25 │ 19 │ 26
023-027-25 │ 20 │ 27
024-028-25 │ 21 │ 28
025-029-25 │ 22 │ 29
026-030-25 │ 23 │ 30
027-031-25 │ 24 │ 31
028-032-25 │ 25 │ 32
029-033-25 │ 26 │ 33
030-034-25 │ 27 │ 34
032-036-25 │ 29 │ 36
034-038-25 │ 31 │ 38
036-040-25 │ 33 │ 40
037-041-25 │ 34 │ 41
038-042-25 │ 35 │ 42
040-044-25 │ 37 │ 44
041-045-25 │ 38 │ 45
042-046-25 │ 39 │ 46
043-047-25 │ 40 │ 47
044-048-25 │ 41 │ 48
045-049-25 │ 42 │ 49
046-050-25 │ 43 │ 50
048-052-25 │ 45 │ 52
050-054-25 │ 47 │ 54
051-055-25 │ 48 │ 55
052-056-25 │ 49 │ 56
054-058-25 │ 51 │ 58
055-059-25 │ 52 │ 59
056-060-25 │ 53 │ 60
058-062-25 │ 55 │ 62
060-064-25 │ 57 │ 64
061-065-25 │ 58 │ 65
062-066-25 │ 59 │ 66
064-068-25 │ 60 │ 67
065-070-25 │ 61 │ 68
068-072-25 │ 64 │ 71
070-075-25 │ 66 │ 73
072-078-25 │ 68 │ 75
075-080-25 │ 71 │ 78
078-082-25 │ 74 │ 81
080-085-25 │ 76 │ 83
082-088-25 │ 78 │ 85
085-090-25 │ 81 │ 88
088-092-25 │ 84 │ 91
090-095-25 │ 86 │ 93
092-098-25 │ 88 │ 95
095-100-25 │ 91 │ 98
098-102-25 │ 93 │ 100
100-105-25 │ 95 │ 102
102-108-25 │ 97 │ 104
105-110-25 │ 100 │ 107
108-112-25 │ 103 │ 110
110-115-25 │ 105 │ 112
112-118-25 │ 107 │ 114
115-120-25 │ 110 │ 117
118-122-25 │ 113 │ 120
120-125-25 │ 115 │ 122
122-128-25 │ 117 │ 124
125-130-25 │ 120 │ 127
130-135-25 │ 125 │ 132
135-140-25 │ 130 │ 137
140-145-25 │ 135 │ 142
145-150-25 │ 140 │ 147
150-155-25 │ 145 │ 152
Посадочные места под кольца с диаметром сечения

--------------------------------
<*> Размер обеспечивается инструментом.
Черт. 17
Таблица 14
мм
─────────────────────────────┬──────────────────────┬──────────────────────
Обозначение │ d │ D
типоразмера кольца │ 4 │ 2
─────────────────────────────┼──────────────────────┼──────────────────────
010-015-30 │ 7 │ 16
011-016-30 │ 8 │ 17
012-017-30 │ 9 │ 18
013-018-30 │ 10 │ 19
014-019-30 │ 11 │ 20
015-020-30 │ 12 │ 21
016-021-30 │ 13 │ 22
017-022-30 │ 14 │ 23
018-023-30 │ 15 │ 24
019-024-30 │ 15 │ 24
020-025-30 │ 16 │ 25
021-026-30 │ 18 │ 27
022-027-30 │ 18 │ 27
023-028-30 │ 19 │ 28
024-029-30 │ 20 │ 29
025-030-30 │ 21 │ 30
026-031-30 │ 23 │ 32
027-032-30 │ 23 │ 32
028-033-30 │ 24 │ 33
029-034-30 │ 26 │ 35
030-035-30 │ 26 │ 35
032-037-30 │ 28 │ 37
033-038-30 │ 28 │ 37
034-039-30 │ 30 │ 39
035-040-30 │ 30 │ 39
036-041-30 │ 31 │ 40
038-042-30 │ 32 │ 41
040-045-30 │ 35 │ 44
042-048-30 │ 37 │ 46
045-050-30 │ 40 │ 49
048-052-30 │ 43 │ 52
050-055-30 │ 45 │ 54
051-056-30 │ 46 │ 55
055-060-30 │ 50 │ 59
056-061-30 │ 51 │ 60
058-063-30 │ 54 │ 63
060-065-30 │ 56 │ 65
063-068-30 │ 59 │ 68
065-070-30 │ 60 │ 69
066-071-30 │ 61 │ 70
070-075-30 │ 65 │ 74
071-076-30 │ 66 │ 75
075-080-30 │ 70 │ 79
080-085-30 │ 75 │ 84
082-088-30 │ 78 │ 87
085-090-30 │ 80 │ 89
088-092-30 │ 83 │ 92
090-095-30 │ 85 │ 94
092-098-30 │ 88 │ 97
095-100-30 │ 89 │ 98
098-102-30 │ 92 │ 101
100-105-30 │ 94 │ 103
102-108-30 │ 97 │ 106
105-110-30 │ 99 │ 108
110-115-30 │ 104 │ 113
112-118-30 │ 106 │ 115
115-120-30 │ 109 │ 118
120-125-30 │ 114 │ 123
125-130-30 │ 119 │ 128
130-135-30 │ 124 │ 133
135-140-30 │ 129 │ 138
140-145-30 │ 134 │ 143
145-150-30 │ 139 │ 148
150-155-30 │ 144 │ 153
Посадочные места под кольца с диаметром сечения

--------------------------------
<*> Размер обеспечивается инструментом.
Черт. 18
Таблица 15
мм
─────────────────────────────┬──────────────────────┬──────────────────────
Обозначение │ d │ D
типоразмера кольца │ 4 │ 2
─────────────────────────────┼──────────────────────┼──────────────────────
014-020-36 │ 11 │ 21
015-021-36 │ 12 │ 22
016-022-36 │ 13 │ 23
017-023-36 │ 14 │ 24
018-024-36 │ 15 │ 25
019-025-36 │ 16 │ 26
020-026-33 │ 17 │ 27
021-027-36 │ 18 │ 28
022-028-36 │ 19 │ 29
023-029-36 │ 20 │ 30
024-030-36 │ 21 │ 31
025-031-36 │ 22 │ 32
026-032-36 │ 23 │ 33
027-033-36 │ 24 │ 34
028-034-36 │ 25 │ 35
029-035-36 │ 26 │ 36
030-036-36 │ 27 │ 37
032-038-36 │ 28 │ 38
034-040-36 │ 30 │ 40
035-041-36 │ 31 │ 41
036-042-36 │ 32 │ 42
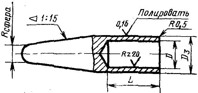
038-044-36 │ 34 │ 44
039-045-36 │ 35 │ 45
040-046-36 │ 36 │ 46
042-048-36 │ 38 │ 48
044-050-36 │ 40 │ 50
045-051-36 │ 41 │ 51
046-052-36 │ 42 │ 52
048-054-36 │ 44 │ 54
049-055-36 │ 45 │ 55
050-056-36 │ 46 │ 56
052-058-36 │ 48 │ 58
054-060-36 │ 50 │ 60
055-061-36 │ 51 │ 61
056-062-36 │ 52 │ 62
057-063-36 │ 54 │ 63
058-064-36 │ 54 │ 64
059-065-36 │ 55 │ 65
060-066-36 │ 56 │ 66
062-068-36 │ 58 │ 68
063-069-36 │ 58 │ 68
064-070-36 │ 59 │ 69
065-071-36 │ 60 │ 70
066-072-36 │ 61 │ 71
068-074-36 │ 63 │ 73
069-075-36 │ 64 │ 74
070-076-36 │ 65 │ 75
071-077-36 │ 67 │ 76
072-078-36 │ 67 │ 77
074-080-36 │ 69 │ 79
075-081-36 │ 70 │ 80
076-082-36 │ 71 │ 81
078-084-36 │ 73 │ 83
079-085-36 │ 74 │ 84
080-086-36 │ 75 │ 85
082-088-36 │ 77 │ 87
084-090-36 │ 79 │ 89
085-091-36 │ 80 │ 90
086-092-36 │ 81 │ 91
088-094-36 │ 83 │ 93
089-095-36 │ 84 │ 94
090-096-36 │ 85 │ 95
092-098-36 │ 87 │ 97
094-100-36 │ 88 │ 98
095-101-36 │ 89 │ 99
096-102-36 │ 90 │ 100
098-104-36 │ 92 │ 102
099-105-36 │ 93 │ 103
100-106-36 │ 94 │ 104
102-108-36 │ 96 │ 106
104-110-36 │ 98 │ 108
105-111-36 │ 99 │ 109
106-112-36 │ 100 │ 110
108-114-36 │ 101 │ 111
109-115-36 │ 103 │ 113
110-116-36 │ 104 │ 114
112-118-36 │ 106 │ 116
114-120-36 │ 108 │ 118
115-121-36 │ 109 │ 119
118-124-36 │ 112 │ 122
120-126-36 │ 114 │ 124
125-130-36 │ 118 │ 128
130-135-36 │ 123 │ 133
135-140-36 │ 128 │ 138
140-145-36 │ 133 │ 143
145-150-36 │ 138 │ 148
150-155-36 │ 143 │ 153
155-160-36 │ 147 │ 157
160-165-36 │ 152 │ 162
165-170-36 │ 157 │ 167
170-175-36 │ 162 │ 172
175-180-36 │ 167 │ 177
180-185-36 │ 172 │ 182
185-190-36 │ 177 │ 187
190-195-36 │ 182 │ 192
195-200-36 │ 188 │ 198
200-205-36 │ 192 │ 202
205-210-36 │ 197 │ 207
210-215-36 │ 202 │ 212
215-220-36 │ 207 │ 217
220-225-36 │ 212 │ 222
225-230-36 │ 216 │ 226
230-235-36 │ 221 │ 231
235-240-36 │ 226 │ 236
240-245-36 │ 231 │ 241
245-250-36 │ 236 │ 246
250-255-36 │ 242 │ 252
Посадочные места под кольца с диаметром сечения

--------------------------------
<*> Размер обеспечивается инструментом.
Черт. 19
Таблица 16
мм
─────────────────────────────┬──────────────────────┬──────────────────────
Обозначение │ d │ D
типоразмера кольца │ 4 │ 2
─────────────────────────────┼──────────────────────┼──────────────────────
028-036-46 │ 25 │ 37
030-038-46 │ 27 │ 39
032-040-46 │ 28 │ 40
034-042-46 │ 30 │ 42
035-043-46 │ 31 │ 43
036-044-46 │ 32 │ 44
037-045-46 │ 33 │ 45
038-046-46 │ 34 │ 46
040-048-46 │ 36 │ 43
042-050-46 │ 38 │ 50
044-052-46 │ 40 │ 52
045-053-46 │ 41 │ 53
047-055-46 │ 43 │ 55
048-056-46 │ 44 │ 56
050-058-46 │ 46 │ 58
052-060-46 │ 48 │ 60
054-062-46 │ 50 │ 62
055-063-46 │ 51 │ 63
057-065-46 │ 53 │ 65
058-066-46 │ 54 │ 66
060-068-46 │ 56 │ 68
062-070-46 │ 58 │ 70
063-071-46 │ 59 │ 71
064-072-46 │ 59 │ 71
065-073-46 │ 60 │ 72
067-075-46 │ 62 │ 74
068-076-46 │ 63 │ 75
070-078-46 │ 65 │ 77
072-080-46 │ 67 │ 79
074-082-46 │ 69 │ 81
075-083-46 │ 70 │ 82
077-085-46 │ 72 │ 84
078-086-46 │ 73 │ 85
080-088-46 │ 75 │ 87
082-090-46 │ 77 │ 89
085-092-46 │ 79 │ 91
088-095-46 │ 82 │ 94
090-098-46 │ 85 │ 97
092-100-46 │ 87 │ 99
095-102-46 │ 88 │ 100
098-105-46 │ 91 │ 103
100-108-46 │ 94 │ 106
102-110-46 │ 96 │ 108
105-112-46 │ 98 │ 110
108-115-46 │ 101 │ 113
110-118-46 │ 104 │ 116
112-120-46 │ 106 │ 118
115-122-46 │ 108 │ 120
118-125-46 │ 111 │ 123
120-128-46 │ 114 │ 126
122-130-46 │ 116 │ 128
125-135-46 │ 119 │ 131
130-140-46 │ 124 │ 136
135-145-46 │ 129 │ 141
140-150-46 │ 134 │ 146
145-155-46 │ 139 │ 151
150-160-46 │ 144 │ 156
155-165-46 │ 148 │ 160
160-170-46 │ 153 │ 165
165-175-46 │ 158 │ 170
170-180-46 │ 163 │ 175
175-185-46 │ 168 │ 180
180-190-46 │ 173 │ 185
185-195-46 │ 178 │ 190
190-200-46 │ 183 │ 195
195-205-46 │ 188 │ 200
200-210-46 │ 193 │ 205
205-215-45 │ 198 │ 210
210-220-46 │ 202 │ 215
215-225-46 │ 208 │ 220
220-230-46 │ 212 │ 224
225-235-46 │ 217 │ 229
230-240-46 │ 222 │ 234
235-245-46 │ 227 │ 239
240-250-46 │ 233 │ 245
245-255-46 │ 237 │ 249
250-260-46 │ 241 │ 253
Посадочные места под кольца с диаметром сечения

--------------------------------
<*> Размер обеспечивается инструментом.
Черт. 20
Таблица 17
мм
─────────────────────────────┬──────────────────────┬──────────────────────
Обозначение │ d │ D
типоразмера кольца │ 4 │ 2
─────────────────────────────┼──────────────────────┼──────────────────────
050-060-58 │ 45 │ 60
053-063-58 │ 48 │ 63
055-065-58 │ 50 │ 65
056-066-58 │ 51 │ 66
060-070-58 │ 55 │ 70
061-071-58 │ 57 │ 71
063-073-58 │ 57 │ 72
065-075-58 │ 60 │ 75
070-080-58 │ 65 │ 80
071-081-58 │ 66 │ 80
075-085-58 │ 70 │ 85
078-088-58 │ 73 │ 88
080-090-58 │ 75 │ 90
082-092-58 │ 76 │ 92
085-095-58 │ 80 │ 95
088-098-58 │ 82 │ 98
090-100-58 │ 85 │ 100
092-102-58 │ 86 │ 102
095-105-58 │ 89 │ 104
098-108-58 │ 92 │ 108
100-110-58 │ 94 │ 109
102-112-58 │ 96 │ 112
105-115-58 │ 99 │ 114
108-118-58 │ 102 │ 118
110-120-58 │ 104 │ 119
112-122-58 │ 106 │ 122
115-125-58 │ 109 │ 124
118-128-58 │ 112 │ 128
120-130-58 │ 114 │ 129
125-135-58 │ 118 │ 133
130-140-58 │ 123 │ 138
135-145-58 │ 128 │ 143
140-150-58 │ 133 │ 148
145-155-58 │ 138 │ 153
150-160-58 │ 143 │ 158
155-165-58 │ 148 │ 163
160-170-58 │ 153 │ 168
165-175-58 │ 158 │ 173
170-180-58 │ 163 │ 178
175-185-58 │ 168 │ 183
180-190-58 │ 173 │ 188
185-195-58 │ 178 │ 193
190-200-58 │ 183 │ 198
195-205-58 │ 187 │ 202
200-210-58 │ 192 │ 207
205-215-58 │ 197 │ 212
210-220-58 │ 202 │ 217
215-225-58 │ 207 │ 222
220-230-58 │ 211 │ 226
225-235-58 │ 216 │ 231
230-240-58 │ 221 │ 236
235-245-58 │ 226 │ 241
240-250-58 │ 231 │ 246
245-250-58 │ 236 │ 251
250-260-58 │ 241 │ 256
255-265-58 │ 246 │ 261
260-270-58 │ 251 │ 266
265-275-58 │ 256 │ 271
270-280-58 │ 261 │ 276
275-285-58 │ 266 │ 281
280-290-58 │ 270 │ 285
285-295-58 │ 275 │ 290
290-300-58 │ 280 │ 295
295-305-58 │ 285 │ 300
300-310-58 │ 290 │ 305
305-315-58 │ 295 │ 310
310-320-58 │ 300 │ 315
315-325-58 │ 305 │ 320
320-330-58 │ 310 │ 325
325-335-58 │ 315 │ 330
330-340-58 │ 320 │ 335
335-345-58 │ 325 │ 340
340-350-58 │ 329 │ 344
345-355-58 │ 334 │ 349
350-360-58 │ 339 │ 354
355-365-58 │ 344 │ 359
260-370-58 │ 349 │ 364
365-375-58 │ 354 │ 369
370-380-58 │ 359 │ 374
375-385-58 │ 364 │ 379
380-390-58 │ 369 │ 384
390-400-58 │ 379 │ 394
400-410-58 │ 389 │ 404
420-430-58 │ 409 │ 424
430-440-58 │ 419 │ 434
440-450-58 │ 429 │ 444
450-460-58 │ 439 │ 454
460-470-58 │ 449 │ 464
480-490-58 │ 469 │ 484
500-510-58 │ 489 │ 504
Посадочные места под кольца с диаметром сечения

--------------------------------
<*> Размер обеспечивается инструментом.
Черт. 21
Таблица 18
мм
─────────────────────────────┬──────────────────────┬──────────────────────
Обозначение │ d │ D
типоразмера кольца │ 4 │ 2
─────────────────────────────┼──────────────────────┼──────────────────────
082-095-75 │ 75 │ 94
090-102-75 │ 83 │ 102
092-105-75 │ 85 │ 104
095-108-75 │ 87 │ 106
098-110-75 │ 90 │ 109
100-112-75 │ 92 │ 111
102-115-75 │ 95 │ 114
105-118-75 │ 98 │ 117
108-120-75 │ 100 │ 119
110-122-75 │ 102 │ 121
112-125-75 │ 105 │ 124
115-128-75 │ 108 │ 127
118-130-75 │ 109 │ 129
120-132-75 │ 112 │ 131
122-135-75 │ 115 │ 134
125-138-75 │ 118 │ 137
128-140-75 │ 120 │ 139
130-142-75 │ 122 │ 141
132-145-75 │ 123 │ 143
Посадочные места под кольца с диаметром сечения

--------------------------------
<*> Размер обеспечивается инструментом.
Черт. 22
мм
─────────────────────────────┬──────────────────────┬──────────────────────
Обозначение │ d │ D
типоразмера кольца │ 4 │ 2
─────────────────────────────┼──────────────────────┼──────────────────────
135-150-85 │ 125 │ 146
140-155-85 │ 130 │ 151
145-160-85 │ 135 │ 156
150-165-85 │ 140 │ 161
155-170-85 │ 145 │ 166
160-175-85 │ 150 │ 171
165-180-85 │ 155 │ 176
170-185-85 │ 160 │ 181
175-190-85 │ 165 │ 186
180-195-85 │ 170 │ 191
185-200-85 │ 175 │ 196
190-205-85 │ 180 │ 201
195-210-85 │ 187 │ 208
200-215-85 │ 192 │ 213
205-220-85 │ 197 │ 218
210-225-85 │ 202 │ 223
215-230-85 │ 207 │ 228
220-235-85 │ 212 │ 233
225-240-85 │ 216 │ 237
230-245-85 │ 221 │ 242
235-250-85 │ 226 │ 247
240-255-85 │ 230 │ 251
245-260-85 │ 236 │ 257
250-265-85 │ 241 │ 262
255-270-85 │ 246 │ 267
260-275-85 │ 251 │ 272
265-280-85 │ 256 │ 277
280-295-85 │ 270 │ 291
285-300-85 │ 275 │ 296
300-315-85 │ 290 │ 311
305-320-85 │ 295 │ 316
320-335-85 │ 310 │ 331
325-340-85 │ 315 │ 336
340-355-85 │ 329 │ 350
345-360-35 │ 334 │ 355
360-375-85 │ 349 │ 370
365-380-85 │ 354 │ 375
380-395-85 │ 369 │ 390
385-400-85 │ 376 │ 397
390-405-85 │ 379 │ 400
400-415-85 │ 389 │ 410
420-435-85 │ 409 │ 430
440-455-85 │ 429 │ 450
450-465-85 │ 439 │ 460
460-475-85 │ 449 │ 470
480-495-85 │ 469 │ 490
500-515-85 │ 489 │ 510
Посадочные места под уплотнения по конусной фаске
d - уплотняемый диаметр
Черт. 23
мм
─────────────────┬────────┬───────────────────┬───────────┬────────────────
Сечение кольца │ G, │ M │R, не более│ S, не менее
d │не более│(пред. откл. + 0,1)│ │
2 │ │ │ │
─────────────────┼────────┼───────────────────┼───────────┼────────────────
1,4 │ 0,12 │ 2,0 │ 0,7 │ 4,0
─────────────────┤ ├───────────────────┼───────────┤
1,9 │ │ 2,5 │ 1,0 │
─────────────────┤ ├───────────────────┼───────────┼────────────────
2,5 │ │ 3,3 │ 1,3 │ 5,0
─────────────────┼────────┼───────────────────┼───────────┼────────────────
3,0 │ 0,15 │ 4,2 │ 2,0 │ 6,0
─────────────────┤ ├───────────────────┼───────────┼────────────────
3,6 │ │ 5,0 │ 2,5 │ 7,0
─────────────────┼────────┼───────────────────┼───────────┼────────────────
4,6 │ 0,16 │ 6,3 │ 2,5 │ 9,0
─────────────────┼────────┼───────────────────┼───────────┼────────────────
5,8 │ 0,18 │ 7,8 │ 3,0 │ 10,0
─────────────────┤ ├───────────────────┼───────────┼────────────────
7,5 │ │ 10,2 │ 3,5 │ 12,0
─────────────────┼────────┼───────────────────┼───────────┼────────────────
8,5 │ 0,20 │ 11,5 │ 4,0 │ 14,0
Посадочные места для резьбовых соединений
--------------------------------
<*> Размер обеспечивается инструментом.
Черт. 24
──────────────┬──────────┬────────┬─────────┬──────────┬───────┬─────┬─────
Обозначение │ d │ d │ d │ d │ d │ b │ h
типоразмера │ │ 5 │ 6 │ 7 │ 8 │ │
──────────────┼──────────┼────────┼─────────┼──────────┼───────┼─────┼─────
005-007-14 │М6 │ 6,5 │ 7,8 │ 4,4 │ 11 │ 2,1 │ 3,0
006-008-14 │М8х1 │ 8,5 │ 9,8 │ 6,4 │ 13 │ │
008-010-14 │М10х1 │ 10,5 │ 11,8 │ 8,4 │ 15 │ │
──────────────┼──────────┼────────┼─────────┼──────────┼───────┼─────┼─────
009-012-19 │М12х1,5 │ 12,5 │ 13,8 │ 9,7 │ 17 │ 3,2 │ 4,0
011-014-19 │М14х1,5 │ 14,5 │ 15,8 │ 11,7 │ 19 │ │
013-016-19 │М16х1,5 │ 16,5 │ 17,8 │ 13,7 │ 21 │ │
015-018-19 │М18х1,5 │ 18,5 │ 19,8 │ 15,7 │ 23 │ │
017-020-19 │М20х1,5 │ 20,5 │ 21,8 │ 17,7 │ 25 │ │
019-022-19 │М22х1,5 │ 22,5 │ 23,8 │ 19,7 │ 27 │ │
021-024-19 │М24х1,5 │ 24,5 │ 25,8 │ 21,7 │ 29 │ │
──────────────┼──────────┼────────┼─────────┼──────────┼───────┼─────┼─────
024-028-25 │М27х2 │ 27,5 │ 28,8 │ 24,0 │ 32 │ 4,5 │ 5,0
025-031-25 │М30х2 │ 30,5 │ 31,8 │ 27,0 │ 35 │ │
030-034-25 │М33х2 │ 33,5 │ 35,3 │ 30,0 │ 39 │ │
034-038-25 │М36х2 │ 36,5 │ 38,3 │ 33,0 │ 42 │ │
037-041-25 │М39х2 │ 39,5 │ 41,3 │ 36,0 │ 45 │ │
040-044-25 │М42х2 │ 42,5 │ 44,3 │ 39,0 │ 48 │ │
043-047-25 │М45х2 │ 45,5 │ 47,3 │ 42,0 │ 51 │ │
046-050-25 │М48х2 │ 48,5 │ 50,3 │ 45,0 │ 54 │ │
050-054-25 │М52х2 │ 52,5 │ 54,3 │ 49,0 │ 58 │ │
054-058-25 │М56х2 │ 56,5 │ 58,3 │ 53,0 │ 62 │ │
(Измененная редакция, Изм. N 1, 2, 3).
1.6. В подвижных пневматических устройствах должна обеспечиваться смазка трущихся поверхностей.
1.7. Скругление кромки

допускается выполнять любой кривой линией, не выходящей за пределы указанного радиуса.
(Измененная редакция, Изм. N 1, 2).
2. Рекомендации по монтажу колец
2.1. При установке резиновые кольца следует предохранять от перекосов, скручивания, механических повреждений и порезов.
Поверхности сопрягаемых деталей должны быть чистыми, не содержать абразивных продуктов и продуктов коррозии. Поверхность рекомендуется смазывать смазкой, инертной к материалу колец, или рабочими жидкостями, обладающими хорошими смазывающими свойствами.
(Измененная редакция, Изм. N 1).
2.2. Для облегчения монтажа необходимо предусмотреть заходные фаски в цилиндре, на поршне и штоке, указанные на черт. 25 а и б.
Черт. 25
Для уплотнения штока кольцами с внутренними диаметрами

более указанных в табл. 22 рекомендуется применять открытые канавки (черт. 25 в).
Таблица 22
мм
──────┬──────┬──────┬──────┬───────┬───────┬───────┬───────┬───────┬───────
d │ 1,4 │ 1,9 │ 2,5 │ 3,0 │ 3,6 │ 4,6 │ 5,8 │ 7,5 │ 8,5
2 │ │ │ │ │ │ │ │ │
──────┼──────┴──────┴──────┼───────┼───────┼───────┼───────┼───────┼───────
d │ 30 │ 45 │ 55 │ 65 │ 80 │ 110 │ 130
1 │ │ │ │ │ │ │
(Измененная редакция, Изм. N 1, 2).
2.3. Если в процессе монтажа кольцо проходит по отверстию, то, во избежание среза, делают кольцевые проточки (черт. 26). Если невозможно выполнить кольцевую проточку, то притупляют острые кромки.
Черт. 26
(Измененная редакция, Изм. N 1).
2.4. Для установки уплотнительных колец в наружные канавки рекомендуется применять конусные оправки (черт. 27).
Черт. 27
Если кольцо при монтаже проходит по резьбе, следует применять оправки, прикрывающие резьбу.
Диаметр оправки D устанавливается в зависимости от диаметра штока или поршня, а L - от расположения гнезд в соединении, в которые будет монтироваться уплотнительное кольцо. Толщина стенок конусной оправки выбирается равной 0,5 - 2 мм.
(Измененная редакция, Изм. N 1, 2).
2.5. Монтаж уплотнительных колец во внутренние канавки производят:
а) без применения инструментов, если внутренний диаметр цилиндра достаточно велик;
б) с помощью инструментов типа прямых отверток или отверток с концом, согнутым под углом 90°, при небольшом диаметре цилиндра или глубоком расположении канавки.
Инструменты для монтажа колец изготовляют из пластмассы или мягкого металла (например, алюминия или латуни) с закругленными краями.
2.6. Если монтаж колец во внутреннюю канавку затруднен, то рекомендуется применять цилиндрический ограничитель, который вводят в цилиндр до канавки со стороны, противоположной направлению ввода кольца в цилиндр.
Ограничитель представляет собой сплошной цилиндр с наружным диаметром, равным диаметру цилиндра, в который монтируется кольцо. Длину ограничителя выбирают в зависимости от расстояния до канавки (под уплотнительное кольцо) со стороны, противоположной направлению ввода кольца.
2.7. Кольца после демонтажа уплотнительного узла, находившегося в эксплуатации, повторно не применять.
(Измененная редакция, Изм. N 2).
3. Рекомендации по применению и монтажу защитных колец
3.1. Защитные кольца следует применять для предохранения от выдавливания резины в зазор под влиянием давления рабочей среды.
Защитные кольца устанавливают со стороны, противоположной направлению давления, а при двустороннем давлении - с обеих сторон уплотнительного кольца.
Защитные кольца применяют при радиальных зазорах свыше 0,02 мм при следующих условиях работы:
в подвижных соединениях при давлении свыше 10 МПа (100 кгс/см2);
в неподвижных соединениях при давлении свыше 20 МПа (200 кгс/см2);
при пульсирующем давлении свыше 10 МПа (100 кгс/см2);
в неподвижных соединениях с уплотнительными кольцами из резин на основе кремнийорганических и фторсиликоновых каучуков при давлении свыше 1 МПа (10 кгс/см2).
Допускается применять защитные кольца при меньших давлениях.
Ширина канавок под кольца должна быть увеличена на максимальную толщину защитных колец.
| | ИС МЕГАНОРМ: примечание. ГОСТ 10589-87 утратил силу с 1 ноября 2017 года в связи с введением в действие ГОСТ 10589-2016 (Приказ Росстандарта от 02.03.2017 N 92-ст). | |
3.2. Защитные кольца должны изготавливаться из фторопласта по
ГОСТ 10007-80, полиамидной смолы по ГОСТ 10589-87 или других материалов цельными, разрезными или спиральными по технической документации, утвержденной в установленном порядке. Толщина цельных защитных колец из фторопласта должна быть не менее

.
При уплотнении цилиндра или штока один из диаметров фторопластового кольца должен равняться номинальному диаметру цилиндра или штока, а другой - соответственно, равняться номинальному диаметру канавки

и

с предельными отклонениями по
табл. 1,
1а настоящего приложения.
Предельные отклонения указаны для инструмента.
Поверхность защитных колец должна быть ровной, без царапин, задиров, заусенцев.
(Измененная редакция, Изм. N 1, 3).
3.3. Неразрезные защитные фторопластовые кольца монтируют в наружные канавки таким же способом, как уплотнительные кольца, но с последующим механическим осаживанием для устранения остаточного удлинения.
Кольца осаживают при помощи конусной втулки (черт. 28) и двух полуколец (черт. 29).
Внутренние поверхности конусной втулки должны иметь параметр шероховатости не более Ra 0,16 мкм по
ГОСТ 2789-73. Размеры втулки должны выбирать в зависимости от диаметра штока или поршня, в канавку которого монтируют защитные фторопластовые кольца. Внутренний диаметр конусной втулки равен диаметру штока или поршня. Диаметр

, где h - толщина фторопластового кольца. Толщина стенки должна быть не более 8 мм.
Диаметр D
(черт. 28) равен диаметру штока или поршня, в гнезде которого устанавливают защитное кольцо; диаметр d
(черт. 29) выбирают равным диаметру штока или поршня по диаметру канавки. Ширина полуколец H должна быть равна ширине канавки без ширины фторопластового кольца.
Защитные кольца 1 и полукольца 2 устанавливают в канавки поршня (черт. 30), протаскивают несколько раз через конусную втулку до тех пор, пока они не будут проходить через нее свободно. После этого полукольца снимают и вместо них устанавливают уплотнительные кольца.
Черт. 30
Защитное кольцо после монтажа должно плотно прилегать к рабочей поверхности уплотнительного соединения (штока или цилиндра).
(Измененная редакция, Изм. N 1, 2).
3.4. Защитные кольца, установленные во внутренние канавки, расправляют конусными оправками (черт. 31).
Черт. 31
Диаметр оправки D равен диаметру уплотняемого штока.
(Измененная редакция, Изм. N 1).