Главная // Актуальные документы // ГОСТ (Государственный стандарт)СПРАВКА
Источник публикации
М.: ИПК Издательство стандартов, 2002
Примечание к документу
С 1 июля 2003 года до вступления в силу технических регламентов акты федеральных органов исполнительной власти в сфере технического регулирования носят рекомендательный характер и подлежат обязательному исполнению только в части, соответствующей целям, указанным в
пункте 1 статьи 46 Федерального закона от 27.12.2002 N 184-ФЗ.
Текст данного документа приведен с учетом
поправки, введенной в действие с 26.04.2024, опубликованной в "ИУС", N 7, 2024.
Ограничение срока действия снято по Протоколу N 5-94 Межгосударственного совета по стандартизации, метрологии и сертификации ("ИУС", N 11 - 12, 1994).
Документ
введен в действие с 01.01.1986.
Взамен ГОСТ 5100-73.
Название документа
"ГОСТ 5100-85. Межгосударственный стандарт. Сода кальцинированная техническая. Технические условия"
(утв. Постановлением Госстандарта СССР от 05.03.1985 N 478)
(ред. от 01.03.1990)
"ГОСТ 5100-85. Межгосударственный стандарт. Сода кальцинированная техническая. Технические условия"
(утв. Постановлением Госстандарта СССР от 05.03.1985 N 478)
(ред. от 01.03.1990)
Утвержден и введен в действие
Постановлением Госстандарта СССР
от 5 марта 1985 г. N 478
МЕЖГОСУДАРСТВЕННЫЙ СТАНДАРТ
СОДА КАЛЬЦИНИРОВАННАЯ ТЕХНИЧЕСКАЯ
ТЕХНИЧЕСКИЕ УСЛОВИЯ
Technical soda ash. Specifications
ГОСТ 5100-85
| | Список изменяющих документов (в ред. Изменения N 1, утв. в марте 1990 г.) | |
Дата введения
1 января 1986 года
1. Разработан и внесен Министерством химической промышленности СССР.
2. Утвержден и введен в действие Постановлением Государственного комитета СССР по стандартам от 05.03.1985 N 478.
3. Стандарт полностью соответствует стандартам ИСО 739-76 и ИСО 746-77.
Стандарт частично соответствует ИСО 740-76, ИСО 745-76 в части методов анализа.
4. Взамен ГОСТ 5100-73.
5. Ссылочные нормативно-технические документы
───────────────────────────┬──────────────────────────────────────
Обозначение НТД, │ Номер пункта, подпункта
на который дана ссылка │
───────────────────────────┼──────────────────────────────────────
ИС МЕГАНОРМ: примечание.
Взамен ГОСТ 24104-88 Постановлением Госстандарта РФ от
26.10.2001 N 439-ст с 1 июля 2002 года введен в действие
6. Ограничение срока действия снято по Протоколу N 5-94 Межгосударственного совета по стандартизации, метрологии и сертификации (ИУС 11 - 12-94).
7. Издание (август 2002 г.) с Изменением N 1, утвержденным в марте 1990 г. (ИУС 6-90).
Настоящий стандарт распространяется на техническую кальцинированную соду (углекислый натрий), предназначенную для химической, стекольной, электронной, целлюлозно-бумажной, других отраслей промышленности и поставки на экспорт.
Формула

.
Молекулярная масса (по международным атомным массам 1971 г.) - 105,9890.
(Измененная редакция, Изм. N 1).
1. ТЕХНИЧЕСКИЕ ТРЕБОВАНИЯ
1.1. Техническая кальцинированная сода должна быть изготовлена в соответствии с требованиями настоящего стандарта по технологическому регламенту, утвержденному в установленном порядке.
1.2. В зависимости от назначения техническая кальцинированная сода должна изготовляться марок А и Б:
продукт марки А используется для производства электровакуумного стекла и других целей;
продукт марки Б используется в химической, стекольной и других отраслях промышленности.
1.3. По физико-химическим показателям техническая кальцинированная сода должна соответствовать нормам, указанным в таблице.
─────────────────────────┬─────────────────────────────────────────────────
Наименование │ Норма для марки и сорта
показателя │
├────────────────────────┬────────────────────────
│Марка А ОКП 21 3111 0200│Марка Б ОКП 21 3111 0100
├───────┬───────┬────────┼───────┬───────┬────────
│Высший │Первый │ Второй │Высший │Первый │Второй
│ сорт │ сорт │сорт ОКП│ сорт │ сорт │ сорт
│ОКП 21 │ОКП 21 │21 3111 │ОКП 21 │ОКП 21 │ОКП 21
│ 3111 │ 3111 │ 0240 │ 3111 │ 3111 │ 3111
│ 0220 │ 0230 │ │ 0120 │ 0130 │ 0140
─────────────────────────┼───────┴───────┴────────┼───────┴───────┴────────
1. Внешний вид │ Гранулы белого цвета │ Порошок белого цвета
2. Массовая доля │ 99,4 │ 99,0 │ 98,5 │ 99,4 │ 99,0 │ 99,0
углекислого натрия │ │ │ │ │ │
(Na CO ), %, не менее │ │ │ │ │ │
2 3 │ │ │ │ │ │
3. Массовая доля │ 98,7 │ 98,2 │ 97,0 │ 98,9 │ 98,2 │ 97,5
углекислого натрия │ │ │ │ │ │
(Na CO ) в пересчете │ │ │ │ │ │
2 3 │ │ │ │ │ │
на непрокаленный │ │ │ │ │ │
продукт, %, не менее │ │ │ │ │ │
4. Массовая доля │ 0,7 │ 0,8 │ 1,5 │ 0,5 │ 0,8 │ 1,5
потери при │ │ │ │ │ │
прокаливании (при │ │ │ │ │ │
270 - 300) °С, %, не │ │ │ │ │ │
более │ │ │ │ │ │
5. Массовая доля │ 0,2 │ 0,5 │ 0,8 │ 0,4 │ 0,5 │ 0,8
хлоридов в пересчете │ │ │ │ │ │
на NaCl, %, не более │ │ │ │ │ │
6. Массовая доля │ 0,003│ 0,005 │ 0,008 │ 0,003 │ 0,003 │ 0,008
железа в пересчете на │ │ │ │ │ │
Fe O , %, не более │ │ │ │ │ │
2 3 │ │ │ │ │ │
7. Массовая доля │ 0,04 │ 0,04 │ 0,08 │ 0,03 │ 0,04 │ 0,08
веществ, не растворимых│ │ │ │ │ │
в воде, %, не более │ │ │ │ │ │
8. Массовая доля │ 0,04 │ 0,05 │Не │ 0,04 │ 0,05 │Не
сульфатов в пересчете │ │ │нормиру-│ │ │норми-
на Na SO , %, не более │ │ │ется │ │ │руется
2 4 │ │ │ │ │ │
9. Насыпная плотность, │ 1,1 │ 0,9 │ 0,9 │ Не нормируется
г/см3, не менее │ │ │ │
10. Гранулометрический │ │ │ │ То же
состав: │ │ │ │
остаток на сите с │Не │ 5 │ 5 │
сеткой N 2К по ГОСТ │норми- │ │ │
6613, %, не более │руется │ │ │
прохождение через сито │ 100 │ Не нормируется │
с сеткой N 1,25К по │ │ │
остаток на сите с │ 3 │ То же │
сеткой N 1К по ГОСТ │ │ │
прохождение через сито │ 7 │ 15 │ 25 │
с сеткой N 01К по ГОСТ │ │ │ │
6613, %, не более │ │ │ │
11. Магнитные │Отсут- │ Не нормируется │ То же
включения размером │ствуют │ │
более 0,25 мм │ │ │
Примечания. 1. Нормы по показателям 2, 5 - 8 таблицы даны в пересчете на прокаленное вещество.
2. Для производства электровакуумного стекла предназначена техническая кальцинированная сода марки А высшего сорта.
3. В технической кальцинированной соде, предназначенной для производства нитрита натрия, используемого для изготовления капролактама, а также производства сульфидных солей, отбеливателей и для обезжиривания деталей в электровакуумной промышленности, массовая доля масел не должна превышать 0,01%.
4. Массовые доли углекислого натрия в непрокаленном продукте и потери при прокаливании технической кальцинированной соды марок А высшего сорта, предназначенного для производства синтетических моющих средств, 1-го и 2-го сортов и Б нормируют на момент отгрузки.
5. В кальцинированной соде марки А высшего сорта, предназначенной для производства синтетических моющих средств (СМС), не нормируют массовую долю остатка на сите с сеткой N 01К по
ГОСТ 6613.
6. По согласованию с потребителем допускается выпуск кальцинированной соды марки Б с нормами по показателям: массовая доля углекислого натрия (

) - не менее 97%; массовая доля углекислого натрия в непрокаленном продукте - не менее 94%; массовая доля потери при прокаливании при 270 - 300 °С - не более 3; массовая доля хлоридов в пересчете на NaCl - не более 1,5%; массовая доля железа в пересчете на

- не более 0,03%.
1.2, 1.3. (Измененная редакция, Изм. N 1).
2. ТРЕБОВАНИЯ БЕЗОПАСНОСТИ
2.1. Техническая кальцинированная сода относится к веществам 3-го класса опасности в соответствии с
ГОСТ 12.1.007.
2.2. Аэрозоль технической кальцинированной соды при попадании на влажную кожу и слизистые оболочки глаз и носа может вызвать раздражение, а при длительном воздействии ее - дерматит.
2.3. Предельно допустимая концентрация аэрозоли кальцинированной соды в воздухе рабочей зоны производственных помещений - 2 мг/м3 по
ГОСТ 12.1.005.
2.4. Контроль воздуха рабочей зоны проводят в соответствии с
ГОСТ 12.1.007.
2.5. Производственные помещения и лаборатории, в которых проводится работа с технической кальцинированной содой, должны быть оборудованы приточно-вытяжной вентиляцией по
ГОСТ 12.4.021, обеспечивающей состояние воздуха рабочей зоны в соответствии с требованиями
ГОСТ 12.1.005.
2.6. Работающие с технической кальцинированной содой должны быть обеспечены специальной одеждой, специальной обувью и индивидуальными средствами защиты в соответствии с
ГОСТ 12.4.103.
2.7. При работе с технической кальцинированной содой необходимо соблюдать правила безопасности на рабочих местах, утвержденные в установленном порядке.
3.1. Техническую кальцинированную соду принимают партиями. Партией считают продукт, однородный по своим показателям качества, в количестве, не превышающем сменную выработку, и сопровождаемый документом о качестве.
Документ о качестве должен содержать:
наименование предприятия-изготовителя или его товарный знак;
наименование, марку и сорт продукта;
номер партии;
дату изготовления;
массу нетто;
обозначение настоящего стандарта;
результаты проведенных анализов или подтверждение о соответствии качества продукта требованиям настоящего стандарта.
3.2. Для проверки качества неупакованной технической кальцинированной соды пробы отбирают от каждого вагона или автомобиля. Для упакованной продукции отбирают 3% упаковочных единиц, но не менее трех. Для неупакованной продукции от каждой партии отбирают не менее трех точечных проб.
(Измененная редакция, Изм. N 1).
3.3. Массовую долю веществ, нерастворимых в воде, сульфатов и масел изготовитель определяет периодически, по требованию потребителей.
3.4. При получении неудовлетворительных результатов анализа хотя бы по одному из показателей проводят повторный анализ неупакованной технической кальцинированной соды на удвоенном количестве проб или на удвоенной выборке упакованного продукта.
Результаты повторного анализа распространяются на всю партию.
4.1. Отбор проб
4.1.1. Точечные пробы кальцинированной соды из мешков, контейнеров, вагонов и автомобилей отбирают щупом, погружая его на 3/4 рабочей длины.
Точечные пробы продукта с транспортерной ленты отбирают механическим пробоотборником или вручную совком.
Масса точечной пробы, отобранной из мешков, составляет не менее 0,2 кг, из контейнера, вагона и автомобиля - не менее 1 кг из каждого люка.
Масса точечной пробы технической кальцинированной соды, находящейся в движении, составляет не менее 0,5 кг на каждые продукты.
4.1.2. Отобранные точечные пробы кальцинированной соды соединяют в объединенную пробу, тщательно перемешивают. Квартованием получают среднюю пробу массой около 1,5 кг для продукта марки А и 0,5 кг для продукта марки Б, помещают ее в чистую сухую банку и плотно закрывают.
На банку со средней пробой продукта наклеивают этикетку с указанием наименования продукта, номера партии и даты отбора пробы.
4.2. Общие требования
Точность анализа контролируют по соответствующему стандартному образцу не реже одного раза в неделю. Для этого отбирают две навески стандартного образца и анализируют их одновременно со средней пробой. За результат контроля принимают модуль разности между полученным при анализе стандартного образца средним арифметическим и аттестованным значением, который не должен превышать значения допускаемых расхождений, принятых при соответствующих определениях при доверительной вероятности P = 0,95.
Для проведения анализа и приготовления растворов применяют реактивы квалификации х.ч. или ч.д.а.
Допускается применение реактивов по качеству, а также средств измерений, аппаратуры и посуды по классу точности не ниже указанных в настоящем стандарте.
Числовые значения результатов анализа каждого показателя округляют до последней значащей цифры нормы, указанной для данного показателя в таблице технических требований; промежуточные результаты параллельных определений должны содержать на одну значащую цифру больше.
Допускается применение других методов анализа, обеспечивающих установленные нормы допускаемых расхождений.
При разногласиях в оценке качества определение проводят методами настоящего стандарта.
4.1.1 - 4.2. (Измененная редакция, Изм. N 1).
4.3. Определение внешнего вида
4.3.1. Внешний вид технической кальцинированной соды определяют визуально.
4.4. Определение массовой доли углекислого натрия
4.4.1. Аппаратура, реактивы и растворы
Весы лабораторные общего назначения по ГОСТ 24104 <*>, 2-го класса точности с наибольшим пределом взвешивания 200 г.
--------------------------------
Бюретка 3-2-50-0,1 по НТД.
Кислота серная по
ГОСТ 4204, раствор

(1/2

) = 1 моль/дм3 или кислота соляная по
ГОСТ 3118, раствор

(HCl) = 1 моль/дм3 (стандартизированные по стандартному образцу состава кальцинированной соды технической или углекислому натрию в условиях титрования пробы, как указано в п. 4.4.2).
Натрий углекислый, х.ч. по
ГОСТ 83.
Стандартный образец состава соды кальцинированной технической ГСО 2404 и ГСО 2404-89п.
Метиловый оранжевый (индикатор) по ТУ 6-09-5171, водный раствор с массовой долей 0,1%.
4.4.2. Проведение анализа
Взвешивают от 2,3 до 2,5 г кальцинированной соды, взятой после определения потерь массы при прокаливании по
п. 4.5 (результат в граммах записывают с точностью до четвертого десятичного знака), помещают в коническую колбу вместимостью 250 см3, растворяют в 20 см3 воды и титруют раствором серной кислоты в присутствии метилового оранжевого до изменения окраски раствора из желтой в оранжево-розовую. Раствор сохраняют для определения массовой доли хлоридов по
п. 4.6.
Допускается титрование раствора соляной кислотой при отсутствии необходимости у потребителя определения массовой доли хлоридов.
4.4.3. Обработка результатов
Массовую долю углекислого натрия (X) в процентах вычисляют по формуле

,
где V - объем раствора серной кислоты или соляной кислоты концентрации точно 1 моль/дм3 или

(HCl) = 1 моль/дм3, израсходованный на титрование, см3;
0,05299 - масса углекислого натрия в граммах, соответствующая 1 см3 раствора серной кислоты или соляной кислоты концентрации точно

моль/дм3, г/см3;
m - масса навески кальцинированной соды, г.
За результат анализа принимают среднее арифметическое результатов двух параллельных определений, абсолютное расхождение между которыми не превышает допускаемое расхождение, равное 0,2% при доверительной вероятности P = 0,95.
4.4.1 - 4.4.3. (Измененная редакция, Изм. N 1).
4.4а. Расчетный метод (для углекислого натрия в пересчете на непрокаленный продукт).
Массовую долю углекислого натрия в пересчете на непрокаленный продукт (X') в процентах вычисляют по формуле

,
где X - массовая доля углекислого натрия, г, определенная по
п. 4.4.3;

- массовая доля потери при прокаливании, г, определенная по
п. 4.5.3.
(Введен дополнительно, Изм. N 1).
4.5. Определение потери массы при прокаливании
Весы лабораторные общего назначения по
ГОСТ 24104 2-го класса точности с наибольшим пределом взвешивания 200 г.
Шкаф сушильный, обеспечивающий температуру нагрева 250 - 300 °С.
Силикагель технический по
ГОСТ 3956, высушенный при 150 - 180 °С, или кальций хлористый по ТУ 6-09-4711, прокаленный при 250 - 300 °С.
(Измененная редакция, Изм. N 1).
4.5.2. Проведение анализа
В тигле, предварительно прокаленном при 270 - 300 °С до достижения постоянной массы, взвешивают от 5 до 6 г кальцинированной соды (результат в граммах записывают с точностью до четвертого десятичного знака). Тигель с навеской прокаливают при 270 - 300 °С до достижения постоянной массы и после охлаждения в эксикаторе взвешивают (результат в граммах записывают с точностью до четвертого десятичного знака).
4.5.3. Обработка результатов
Потери массы при прокаливании

в процентах вычисляют по формуле

,
где m - масса навески кальцинированной соды, г;

- масса навески кальцинированной соды после прокаливания, г.
За результат анализа принимают среднее арифметическое результатов двух параллельных определений, абсолютное расхождение между которыми не превышает допускаемое расхождение, равное 0,05% при доверительной вероятности P = 0,95.
(Измененная редакция, Изм. N 1).
4.6. Определение массовой доли хлоридов в пересчете на NaCl
4.6.1. Аппаратура, реактивы и растворы
Бюретка 3-2-5-0,02 или 6-2-5-0,02 по НТД.
Ртуть (II) азотнокислая 1-водная по
ГОСТ 4520 раствор

= 0,1 моль/дм3.
Натрий нитропруссидный (индикатор), водный раствор с массовой долей 10%.
(Измененная редакция, Изм. N 1).
4.6.2. Проведение анализа
К раствору после определения массовой доли углекислого натрия
(п. 4.4.2) прибавляют 1 см3 азотной кислоты, 5 - 10 капель раствора нитропруссида натрия и титруют из бюретки раствором азотно-кислой ртути до первого появления неисчезающей мути.
4.6.3. Обработка результатов
Массовую долю хлоридов в пересчете на NaCl

в процентах вычисляют по формуле

,
где V - объем концентрации точно 0,1 моль/дм3 раствора азотно-кислой ртути, израсходованный на титрование, см3;
0,00584 - масса хлористого натрия в граммах, соответствующая 1 см3 раствора азотно-кислой ртути концентрации точно

= 0,1 моль/дм3, г/см3;
m - масса навески кальцинированной соды, г.
За результат анализа принимают среднее арифметическое результатов двух параллельных определений, абсолютное расхождение между которыми не превышает допускаемое расхождение, равное 0,02% при доверительной вероятности P = 0,95.
(Измененная редакция, Изм. N 1).
4.7. Определение массовой доли железа в пересчете на

.
4.7.1. Аппаратура, реактивы и растворы
Фотоэлектроколориметр ФЭК-56М.
Весы лабораторные общего назначения по
ГОСТ 24104 3-го класса точности с наибольшим пределом взвешивания 1 кг.
Пипетки 2-2-10 (20, 25) по НТД или подобного типа.
Колбы мерные 1-100 (500, 1000)-2 по
ГОСТ 1770 или подобного типа.
Бюретка 3-2-25-0,1 по НТД или подобного типа.
Стакан Н-1-250 ТС по
ГОСТ 25336 или подобного типа.
Фильтр обеззоленный типа "синяя лента".
Аммиак водный по
ГОСТ 3760, раствор с массовой долей 10%.
Кислота соляная по
ГОСТ 3118, плотность 1,19 г/см3, раствор с массовой долей 25%.
Спирт этиловый ректификованный технический по
ГОСТ 18300.

,

-дипиридил (индикатор); раствор готовят следующим образом: 2,5 г

,

-дипиридила растворяют в 25 см3 этилового спирта и разбавляют водой до 500 см3.
Кислота аскорбиновая, водный раствор с массовой долей 5% (раствор следует предохранять от воздействия света, воздуха и тепла; пригоден не более двух недель).
Раствор железа, содержащий 1 мг

в 1 см3, готовят по
ГОСТ 4212 (раствор А).
10 см3 раствора А помещают в мерную колбу вместимостью 1000 см3, доводят его объем водой до метки и перемешивают (раствор Б); 1 см3 раствора Б содержит 0,01 мг

(годен в течение суток).
Бумага лакмусовая нейтральная.
Универсальная индикаторная бумага.
(Измененная редакция, Изм. N 1).
4.7.2. Построение градуировочного графика
Для построения градуировочного графика готовят градуировочные растворы. В стаканы вместимостью 250 см3 вводят 1,0; 2,0; 3,0; 4,0; 5,0; 6,0; 7,0; 8,0; 9,0; 10,0; 11,0 и 12,0 см3 раствора Б, что соответствует 0,01; 0,02; 0,03; 0,04; 0,05; 0,06; 0,07; 0,08; 0,09; 0,10; 0,11 и 0,12 мг

, затем приливают в каждый до 20 см3 воды, по 2 см3 25%-ного раствора соляной кислоты, по 5 см3 раствора аскорбиновой кислоты, по 5 см3 раствора

,

-дипиридила и по 35 - 40 см3 воды. Раствором аммиака по универсальной индикаторной бумаге устанавливают pH полученных растворов приблизительно до 3,5. Затем растворы переводят в мерные колбы вместимостью 100 см3, их объемы доводят водой до метки и перемешивают.
Одновременно готовят контрольный раствор, не содержащий железа. Для этого в мерную колбу вместимостью 100 см3 помещают 2 см3 25%-ного раствора соляной кислоты и 5 см3 раствора аскорбиновой кислоты, доводят водой до метки и перемешивают.
Через 30 мин измеряют оптическую плотность градуировочных растворов по отношению к контрольному раствору на фотоэлектроколориметре при длине волны 500 - 540 нм в кювете с толщиной поглощающего свет слоя 30 мм.
По полученным данным строят градуировочный график, откладывая по оси абсцисс массу железа в миллиграммах, а по оси ординат - соответствующее ей значение оптической плотности.
4.7.3. Проведение анализа
Взвешивают от 9 до 10 г кальцинированной соды (результат в граммах записывают с точностью до первого десятичного знака), помещают в стакан вместимостью 250 см3, прибавляют 50 см3 воды, осторожно нейтрализуют под часовым стеклом соляной кислотой плотностью 1,19 г/см3 в присутствии лакмусовой бумаги, добавляют 2 см3 избытка соляной кислоты, кипятят 3 - 5 мин, охлаждают, переводят в мерную колбу вместимостью 100 см3, доводят водой до метки, перемешивают и, если раствор мутный, фильтруют.
В стаканы вместимостью 250 см3 отбирают пипеткой 5 - 25 см3 анализируемого раствора, добавляют 5 см3 раствора аскорбиновой кислоты, 5 см3 раствора

,

-дипиридила, 25 см3 воды. Раствором аммиака по универсальной индикаторной бумаге устанавливают pH полученных растворов приблизительно до 3,5. Затем растворы переводят в мерные колбы вместимостью 100 см3, их объемы доводят водой до метки и перемешивают.
Одновременно готовят раствор сравнения, не содержащий железа. Для этого в мерную колбу вместимостью 100 см3 вводят пипеткой 10 - 25 см3 анализируемого раствора, добавляют 5 см3 раствора аскорбиновой кислоты, доводят водой до метки и перемешивают.
Через 30 мин измеряют оптическую плотность анализируемых растворов по отношению к раствору сравнения на фотоэлектроколориметре при длине волны 500 - 540 нм в кювете с толщиной поглощающего свет слоя 30 мм.
По полученным данным, пользуясь градуировочным графиком, определяют массу железа в анализируемых растворах.
4.7.4. Обработка результатов
Массовую долю железа в пересчете на

в процентах вычисляют по формуле

,
где

- масса железа, найденная по градуировочному графику, мг;
1,43 - коэффициент пересчета железа на

;
V - объем мерной колбы, см3;
m - масса навески кальцинированной соды, г;

- объем, взятый для анализа, см3;

- потери массы при прокаливании, определенные по
п. 4.5.3, %.
За результат анализа принимают среднее арифметическое результатов двух параллельных определений, допускаемые расхождения между которыми не должны превышать 27% относительно среднего результата определяемой величины при доверительной вероятности P = 0,95.
4.7.5. Допускается определять массовую долю железа сульфосалициловым методом по
ГОСТ 10555.
При определении массовой доли железа с сульфосалициловой кислотой подготовку пробы к анализу проводят по
п. 4.7.3.
За результат анализа принимают среднее арифметическое двух параллельных определений, относительное расхождение между которыми не превышает допускаемое расхождение, равное 27% при доверительной вероятности P = 0,95.
4.7.3 - 4.7.5. (Измененная редакция, Изм. N 1).
4.8. Определение массовой доли веществ, нерастворимых в воде
4.8.1. Аппаратура, реактивы и растворы
Шкаф сушильный, обеспечивающий температуру нагрева 100 - 120 °С.
Весы лабораторные общего назначения по
ГОСТ 24104 2-го и 3-го классов точности с наибольшими пределами взвешивания 200 г и 1 кг соответственно.
Стакан В-1-600 ТС по
ГОСТ 25336 или подобного типа.
Тигель ТФ-20-ПОР16 ХС или ТФ-32-ПОР16 ХС по
ГОСТ 25336.
Силикагель технический по
ГОСТ 3956, высушенный при 150 - 180 °С, или кальций хлористый по ТУ 6-09-4711, прокаленный при 250 - 300 °С.
Фенолфталеин (индикатор) по ТУ 6-09-53-60, спиртовой раствор с массовой долей 1%.
Спирт этиловый ректификованный технический по
ГОСТ 18300.
4.8.2. Проведение анализа
Взвешивают от 25 до 50 кг кальцинированной соды в зависимости от массовой доли нерастворимых в воде веществ (результат в граммах записывают с точностью до первого десятичного знака), небольшими порциями помещают в стакан вместимостью 600 см3, предварительно наполненный 200 см3 воды, нагретой до 50 °С. Раствор перемешивают до растворения навески, фильтруют через предварительно высушенный при (110

5) °С и взвешенный стеклянный фильтрующий тигель. Остаток на фильтре промывают водой, нагретой до 50 °С, до исчезновения щелочности по фенолфталеину. Фильтр с осадком сушат при (110

5) °С в течение 1 ч, затем взвешивают (результат в граммах записывают с точностью до четвертого десятичного знака).
4.8.3. Обработка результатов
Массовую долю веществ, нерастворимых в воде

, в процентах вычисляют по формуле

,
где

- масса нерастворимого сухого остатка, г;
m - масса навески кальцинированной соды, г;

- потери массы при прокаливании, %, определенные по
п. 4.5.3.
За результат анализа принимают среднее арифметическое двух параллельных определений, относительное расхождение между которыми не превышает допускаемое расхождение, равное 20% при доверительной вероятности P = 0,95.
4.9. Определение массовой доли сульфатов в пересчете на

4.9.1. Аппаратура, реактивы и растворы
Фотоэлектроколориметр ФЭК-56М.
Весы лабораторные общего назначения по
ГОСТ 24104 3-го класса точности с наибольшим пределом взвешивания 1 кг.
Пипетка 2-2-10 по НТД или подобного типа.
Бюретка 3-2-25-0,1 по НТД или подобного типа.
Стакан В-1-100 ТС по
ГОСТ 25336 или подобного типа.
Кислота соляная по
ГОСТ 3118, плотность 1,19 г/см3.
Раствор А, содержащий 1 мг

в 1 см3, готовят по
ГОСТ 4212.
Раствор Б, содержащий 0,1 мг

в 1 см3, готовят разбавлением водой в мерной колбе 10 см3 раствора А до 100 см3.
Кондиционирующий раствор 1 готовят следующим образом. В 500 см3 воды растворяют последовательно 120 г хлористого натрия, добавляют 10 см3 соляной кислоты, 500 см3 глицерина, 50 г хлористого бария, перемешивают, фильтруют (годен в течение 1 мес).
Кондиционирующий раствор 2 готовят следующим образом. В 500 см3 воды растворяют последовательно 120 г хлористого натрия, добавляют 10 см3 соляной кислоты, 500 см3 глицерина, перемешивают, фильтруют (годен в течение 1 мес).
Бумага лакмусовая нейтральная.
Бумага фильтровальная.
(Измененная редакция, Изм. N 1).
4.9.2. Подготовка к анализу
4.9.2.1. Построение градуировочного графика.
Для построения градуировочного графика готовят градуировочные растворы. Для этого в конические колбы вместимостью 100 см3 с меткой на 50 см3 вводят бюреткой 2,5; 5,0; 7,5; 10,0; 12,5; 15,0 см3 раствора Б, что соответствует 0,25; 0,50; 0,75; 1,00; 1,25; 1,50 мг

.
В каждую колбу добавляют воду до 50 см3, 10 см3 кондиционирующего раствора 1 и перемешивают в течение 1 мин.
Одновременно готовят раствор сравнения, не содержащий

. Для этого в коническую колбу вместимостью 100 см3 с меткой на 50 см3 помещают 50 см3 воды и 10 см3 кондиционирующего раствора 1, перемешивают в течение 1 мин.
Через 10 мин растворы встряхивают в течение 15 с и измеряют оптическую плотность градуировочных растворов по отношению к раствору сравнения на фотоэлектроколориметре при длине волны, близкой к 434 нм, в кювете с толщиной поглощающего свет слоя 50 мм.
По полученным данным строят градуировочный график, откладывая по оси абсцисс массу сульфат-иона (

) в миллиграммах, а по оси ординат - соответствующее ей значение оптической плотности.
4.9.3. Проведение анализа
Взвешивают от 3 до 8 г соды в зависимости от массовой доли сульфатов (результат взвешивания в граммах записывают с точностью до первого десятичного знака), помещают в стакан вместимостью 100 см3, приливают 30 см3 воды, осторожно нейтрализуют под часовым стеклом соляной кислотой в присутствии лакмусовой бумаги, добавляют 1 см3 избытка соляной кислоты. Раствор кипятят 2 - 3 мин. После охлаждения раствор переносят в коническую колбу вместимостью 100 см3 с меткой на 50 см3, добавляют воду до 50 см3, приливают 10 см3 кондиционирующего раствора 1, перемешивают в течение 1 мин.
Одновременно готовят раствор сравнения. Для этого взвешивают навеску кальцинированной соды, равную взятой для анализа (с отклонением не более

0,3 г от записанного результата), растворяют в соляной кислоте, как описано выше, переносят в коническую колбу вместимостью 100 см3 с меткой на 50 см3, добавляют воду до 50 см3, приливают 10 см3 кондиционирующего раствора 2, перемешивают в течение 1 мин. Через 10 мин растворы встряхивают в течение 15 с и измеряют оптическую плотность анализируемого раствора, как указано в
п. 4.9.2.1.
Массу сульфат-иона в анализируемом растворе находят по градуировочному графику.
4.9.4. Обработка результатов
Массовую долю сульфатов в пересчете на

в процентах вычисляют по формуле

,
где

- масса сульфат-иона, найденная по градуировочному графику, мг;
1,48 - коэффициент пересчета массы сульфат-иона на

;
m - масса навески кальцинированной соды, г;

- потери массы при прокаливании, определенные по
п. 4.5.3, %.
За результат анализа принимают среднее арифметическое двух параллельных определений, относительное расхождение между которыми не превышает допускаемое расхождение, равное 15% при доверительной вероятности P = 0,95.
(Измененная редакция, Изм. N 1).
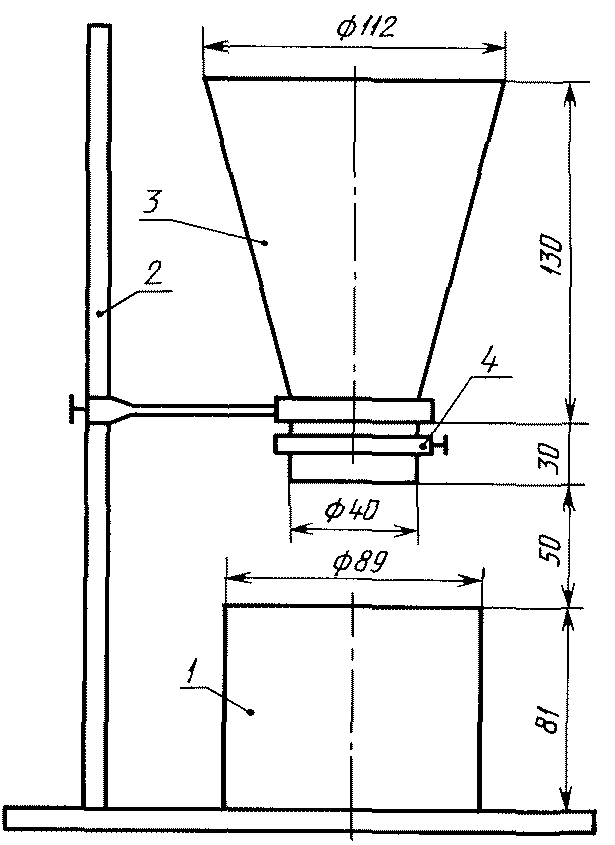
4.10а. Определение насыпной плотности
Прибор (см. чертеж), состоящий из измерительного цилиндра высотой (81

0,5) мм, диаметром (89

0,5) мм и воронки с задвижкой высотой конуса (160

1) мм, диаметром верхней части (112

0,5) мм, диаметром нижней части (40

0,5) мм. Задвижка находится на расстоянии (30

1) мм от нижнего края конуса.
Материал цилиндра - белая жесть, материал воронки - белая жесть или латунь.
Воронку укрепляют на штативе и под воронкой по центру патрубка устанавливают измерительный цилиндр. Расстояние между нижним краем воронки и цилиндром должно быть (50

1) мм.
Весы лабораторные общего назначения по
ГОСТ 24104 3-го класса точности с наибольшим пределом взвешивания 1 кг.
Линейка металлическая длиной 200 мм по
ГОСТ 427.
1 - измерительный цилиндр; 2 - штатив;
3 - воронка; 4 - задвижка
4.10а.2. Проведение анализа
От 600 до 800 г соды марки А помещают в чашку, затем насыпают в воронку без прерывания потока и сразу открывают задвижку. Сода должна свободно пересыпаться в предварительно взвешенный измерительный цилиндр (результат взвешивания в граммах записывают с точностью до второго десятичного знака). Образовавшийся при этом конус соды должен быть выше стенок измерительного цилиндра. Избыток соды снимают линейкой и цилиндр взвешивают (результат в граммах записывают с точностью до второго десятичного знака). Во время проведения определения прибор не должен подвергаться толчкам.
4.10а.3. Обработка результатов
Насыпную плотность

в граммах на кубический сантиметр вычисляют по формуле

,
где

- масса пустого цилиндра, г;

- масса цилиндра с содой, г;
V - объем цилиндра, см3.
За результат анализа принимают среднее арифметическое двух параллельных определений, относительное расхождение между которыми не превышает допускаемое расхождение, равное 5% при доверительной вероятности Р = 0,95.
4.10а - 4.10а.3. (Введены дополнительно, Изм. N 1).
4.10. Определение гранулометрического состава
Весы лабораторные общего назначения по
ГОСТ 24104 3-го класса точности с наибольшим пределом взвешивания 1 кг.
Механический ситовой анализатор модели 029 М или аппарат для механического рассева другого типа, обеспечивающий разделение фракций.
Сита с сетками N 2К, 1,25К, 1К, 01К по
ГОСТ 6613.
Составляют наборы сит (снизу вверх): набор N 1 для высшего сорта, состоящий из поддона, сита с сетками N 01К, 1К, 1,25К, крышки; набор N 2 - для 1-го и 2-го сортов, состоящий из поддона, сита с сетками N 01К и 2К.
4.10.2. Проведение анализа
Взвешивают (100,0

0,3) г кальцинированной соды, помещают на верхнее сито с сеткой N 1,25К, под которым находятся сита с сетками N 1К и N 01К, вставленные в нижнюю крышку, являющуюся дном. Верхнее сито закрывают крышкой и просеивают в течение 10 мин на механическом анализаторе.
Затем проверяют полноту рассева. Кальцинированную соду из поддона количественно переносят на предварительно взвешенное часовое стекло, сита вставляют в поддон, закрепляют в механическом анализаторе, просеивают еще в течение (2,0

0,5) мин и взвешивают массу продукта, прошедшего через сито с сеткой N 01К. Полноту рассева следует проверять до тех пор, пока масса продукта, прошедшего через сито с сеткой N 01К за 2 мин, станет менее 0,2 г.
Остаток на сите с сеткой N 1К и кальцинированную соду, прошедшую через сито с сеткой N 01К, количественно переносят на предварительно взвешенные часовые стекла и взвешивают (результаты в граммах записывают с точностью до первого десятичного знака).
Для кальцинированной соды марки А 1, 2-го сортов анализ проводят на ситах с сетками N 2К и 01К.
Масса остатка на сите с сеткой N 1К и продукт, прошедший через сито с сеткой N 01К, в граммах соответствуют их содержанию в процентах.
За результат анализа принимают среднее арифметическое результатов двух параллельных определений, допускаемые расхождения между которыми не должны превышать 1% при доверительной вероятности P = 0,95.
4.10.1, 4.10.2. (Измененная редакция, Изм. N 1).
4.11. Определение магнитных включений
4.11.1. Аппаратура и реактивы
Ручной магнит типа ПМ-5 или любой другой, обладающий магнитной индукцией не ниже 0,12 ТЛ.
Весы лабораторные общего назначения по
ГОСТ 24104 3-го класса точности с наибольшим пределом взвешивания 1 кг.
Шкаф сушильный, позволяющий регулировать температуру в диапазоне 100 - 120 °С.
Стакан Н-1-100 ТС по
ГОСТ 25336 или подобного типа.
Фильтр обеззоленный типа "белая лента".
4.11.2. Проведение анализа
100 г кальцинированной соды марки А распределяют тонким слоем на листе кальки размером 200 х 500 мм. По поверхности пробы несколько раз перемещают ручной магнит, обернутый калькой. Отобранные магнитные частицы переносят на чистый лист кальки. Продолжают перемещение магнита по пробе до тех пор, пока магнит не перестанет извлекать магнитные частицы.
Магнитные частицы с кальки помещают в стакан, приливают 50 см3 дистиллированной воды и кипятят в течение 5 - 6 мин, поддерживая уровень воды в стакане постоянным.
Частицы магнитных включений отфильтровывают на фильтр и сушат в сушильном шкафу при 105 °С в течение 1 ч.
Высушенный фильтр с магнитными частицами разворачивают, содержимое с фильтра магнитом переносят на сито с сеткой N 025К и просеивают с помощью мягкой кисточки в течение 5 - 10 мин.
Продукт считают соответствующим требованиям стандарта, если при проведении пяти параллельных определений в трех из них отсутствует остаток частиц.
4.11.1, 4.11.2. (Измененная редакция, Изм. N 1).
4.12. Определение массовой доли масел проводят по методу, указанному в Приложении.
5. УПАКОВКА, МАРКИРОВКА, ТРАНСПОРТИРОВАНИЕ И ХРАНЕНИЕ
5.1. Техническую кальцинированную соду марки А упаковывают в мягкие специализированные контейнеры типов МКР-1,0 С по ТУ 6-19-74, МКР-1,0 М по ТУ 6-19-264, МКО-1,0 С по ТУ 6-19-229 или в пятислойные бумажные мешки марок ПМ, БМ по
ГОСТ 2226.
Техническую кальцинированную соду марки Б упаковывают в четырех-, пятислойные бумажные мешки марок НМ, БМ, ПМ по
ГОСТ 2226, в мягкие специализированные контейнеры типов МКР-1,0 С по ТУ 6-19-74; МКР-1,0 М по ТУ 6-19-264; МК-1,5 Л по ОСТ 6-19-80.
Техническую кальцинированную соду, предназначенную для длительного хранения, упаковывают в мягкие специализированные контейнеры типов МКР-1,0 С по ТУ 6-19-74, МКР-1,0 М по ТУ 6-19-264.
При поставках на экспорт техническую кальцинированную соду упаковывают в четырехслойные бумажные мешки марок НМ, БМ по
ГОСТ 2226, вложенные в льно-джуто-кенафные мешки по
ГОСТ 30090, или в два четырехслойных бумажных мешка марок НМ, БМ по
ГОСТ 2226, вложенные один в другой, или в специализированные мягкие контейнеры типов МКР-1,0 М, МКР-1,0 С.
При упаковывании соды в четырехслойные бумажные мешки допускается масса не более 50 кг.
5.2. Транспортная маркировка - по
ГОСТ 14192, с нанесением манипуляционного знака "Боится сырости" и указанием классификационного шифра 923 по
ГОСТ 19433.
На тару наносят следующие обозначения:
наименование предприятия-изготовителя и его товарный знак;
наименование, марку и сорт продукта;
номер партии;
дату изготовления;
обозначение настоящего стандарта.
При повагонных отправках или отправке продукции в один адрес указанные реквизиты наносят не менее чем на четыре единицы транспортной тары. На остальные грузовые места наносят маркировку, содержащую обозначение продукта, обозначение стандарта, манипуляционный знак "Боится сырости" (на мешках).
Способ нанесения маркировки на специализированные мягкие контейнеры - вкладывание ярлыка в карман контейнера или в верхнюю часть контейнера в области подворота или другими методами.
При поставке на экспорт маркировка мешков должна соответствовать требованиям внешнеэкономической организации.
5.3. Техническую кальцинированную соду, упакованную в мешки, транспортируют всеми видами транспорта в крытых транспортных средствах в соответствии с правилами перевозок грузов, действующими на транспорте данного вида.
Транспортирование упакованного продукта по железной дороге осуществляют повагонными отправками.
Техническую кальцинированную соду, упакованную в мешки, транспортируют в пакетах. Средства скрепления пакета - по
ГОСТ 21650 или
ГОСТ 26663 (в случае применения плоских поддонов). Габаритные размеры и масса брутто транспортного пакета должны соответствовать
ГОСТ 24597.
По согласованию с потребителем кальцинированную соду марки А насыпью транспортируют в специальных вагонах (содовозах, сажевозах, цементовозах).
Техническую кальцинированную соду марки Б насыпью транспортируют в специальных вагонах грузоотправителя (грузополучателя), пригодных для перевозки сыпучих грузов, и автомобилях (содовозах, сажевозах, цементовозах), по согласованию с потребителем - в крытых вагонах.
Специализированные мягкие контейнеры по железной дороге перевозят в полувагонах и крытых вагонах.
5.1 - 5.3. (Измененная редакция, Изм. N 1).
5.4. Техническую кальцинированную соду хранят в крытых складских помещениях, силосах, бункерах, предохраняя продукт от попадания влаги.
6.1. Изготовитель гарантирует соответствие технической кальцинированной соды требованиям настоящего стандарта при соблюдении условий хранения.
6.2. Гарантийный срок хранения технической кальцинированной соды марки А - 3 мес, марки Б - 6 мес, упакованной в мягкие специализированные контейнеры - 5 лет со дня изготовления.
(Измененная редакция, Изм. N 1).
Обязательное
ОПРЕДЕЛЕНИЕ МАССОВОЙ ДОЛИ МАСЕЛ
1. Аппаратура, реактивы и растворы
Фотоэлектроколориметр ФЭК-56М.
Весы лабораторные общего назначения по
ГОСТ 24104 3-го класса точности с наибольшим пределом взвешивания 500 г.
Колбы конические вместимостью 50 см3 с притертой пробкой.
(25,0

0,5) г кальцинированной соды помещают в стакан вместимостью 250 см3 и растворяют в 100 см3 воды. Раствор переносят в делительную воронку, приливают 15 см3 толуола, плотно закрывают стеклянной пробкой, непрерывно встряхивают в течение 15 мин, отделяют слой экстракта (толуол с растворенным в нем маслом) в сухую колбу вместимостью 50 см3 и плотно закрывают колбу стеклянной пробкой. Через 15 мин измеряют оптическую плотность анализируемого экстракта по отношению к толуолу на фотоэлектроколориметре при длине волны 364 нм в кювете с толщиной поглощающего свет слоя 10 мм.
Массовую долю масел

в процентах вычисляют по формуле

,
где D - оптическая плотность;
2,3 - коэффициент, постоянный для принятой методики определения при массе навески кальцинированной соды 25 г.
За результат анализа принимают среднее арифметическое двух параллельных определений, относительное расхождение между которыми не превышает допускаемое расхождение, равное 30% при доверительной вероятности P = 0,95.
(Измененная редакция, Изм. N 1).