Главная // Актуальные документы // ГОСТ (Государственный стандарт)СПРАВКА
Источник публикации
В данном виде документ опубликован не был.
Первоначальный текст документа опубликован в издании
М.: Издательство стандартов, 1986.
Информацию о публикации документов, создающих данную редакцию, см. в справке к этим документам.
Примечание к документу
С 1 июля 2003 года до вступления в силу технических регламентов акты федеральных органов исполнительной власти в сфере технического регулирования носят рекомендательный характер и подлежат обязательному исполнению только в части, соответствующей целям, указанным в
пункте 1 статьи 46 Федерального закона от 27.12.2002 N 184-ФЗ.
Ограничение срока действия снято по Протоколу N 5-94 Межгосударственного совета по стандартизации, метрологии и сертификации ("ИУС", N 11 - 12, 1994).
Изменение N 4, утв. Постановлением Госстандарта СССР от 26.02.1990 N 268, введено в действие с 1 ноября 1990 года; в части
пункта 2.15 - с 1 июля 1991 года.
Взамен МН 524-60.
Название документа
"ГОСТ 17270-71*. Государственный стандарт Союза ССР. Рамки ножовочные ручные. Технические условия"
(утв. и введен в действие Постановлением Госстандарта СССР от 16.11.1971 N 1868)
(ред. от 26.02.1990)
"ГОСТ 17270-71*. Государственный стандарт Союза ССР. Рамки ножовочные ручные. Технические условия"
(утв. и введен в действие Постановлением Госстандарта СССР от 16.11.1971 N 1868)
(ред. от 26.02.1990)
Утвержден и введен в действие
Постановлением Государственного
комитета стандартов
Совета Министров СССР
от 16 ноября 1971 г. N 1868
ГОСУДАРСТВЕННЫЙ СТАНДАРТ СОЮЗА ССР
РАМКИ НОЖОВОЧНЫЕ РУЧНЫЕ
ТЕХНИЧЕСКИЕ УСЛОВИЯ
Frames for hand hack-saws. Specifications
ГОСТ 17270-71*
Е
| | Список изменяющих документов (в ред. Изменения N 1, утв. в июле 1975 г., Изменения N 2, утв. в сентябре 1979 г., Изменения N 3, утв. в сентябре 1985 г., Госстандарта СССР от 26.02.1990 N 268) | |
6920-0000
ОКП 39 2679
Взамен
МН 524-60
Утвержден Постановлением Государственного комитета стандартов Совета Министров СССР от 16 ноября 1971 г. N 1868. Срок введения установлен
с 1 января 1973 года
Проверен в 1985 г. Постановлением Госстандарта от 24.09.85 N 3012 срок действия продлен
до 1 января 1991 года
Переиздание (май 1986 г.) с Изменениями N 1, 2, 3, утвержденными в июле 1975 г., сентябре 1979 г., сентябре 1985 г. (ИУС 8-75, 10-79, 12-85).
Несоблюдение стандарта преследуется по закону
| | ИС МЕГАНОРМ: примечание. ГОСТ 6645-86 утратил силу на территории Российской Федерации с 1 января 2011 года в связи с введением в действие ГОСТ Р 53411-2009 (Приказ Ростехрегулирования от 15.10.2009 N 453-ст). | |
Настоящий стандарт распространяется на ручные ножовочные рамки с защитно-декоративным покрытием, предназначенные для крепления ножовочного полотна по ГОСТ 6645-86, изготовляемые для нужд народного хозяйства и для экспорта.
(в ред.
Изменения N 4, утв. Постановлением Госстандарта СССР от 26.02.1990 N 268)
(Измененная редакция, Изм. N 3).
1. ТИПЫ И ОСНОВНЫЕ РАЗМЕРЫ
1.1. Ручные ножовочные рамки должны изготовляться типов:
1 - для работы с ножовочными полотнами длиной 300 мм
(черт. 1);
2 - для работы с ножовочными полотнами длиной 250 и 300 мм
(черт. 2).
1.2. Основные размеры и обозначения ножовочных рамок должны соответствовать указанным на
черт. 1,
2 и в
табл. 1.
Госстандарта СССР от 26.02.1990 N 268)
--------------------------------
<*> Размер для справок.
Госстандарта СССР от 26.02.1990 N 268)
--------------------------------
<*> Размер для справок.
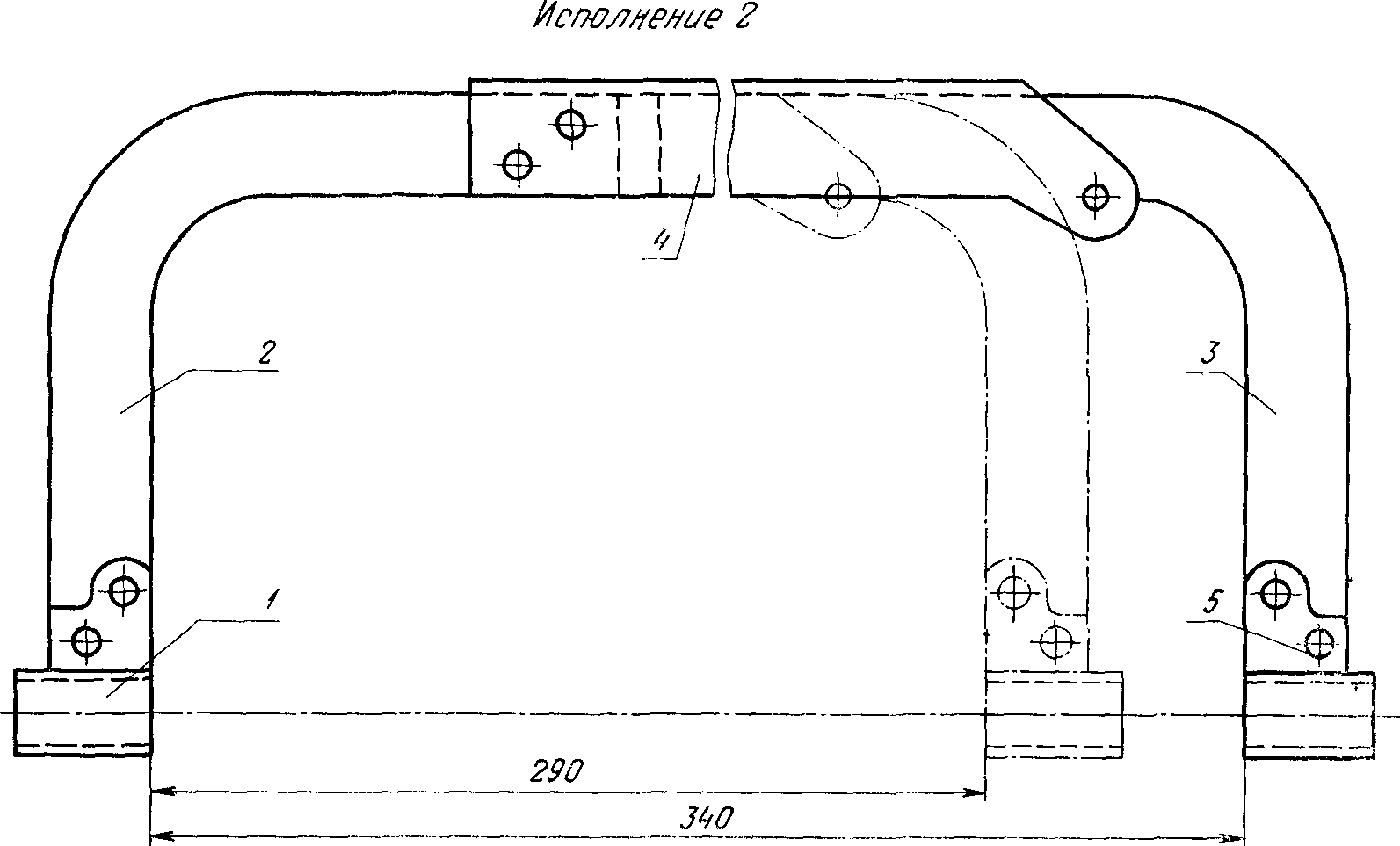
1 - колено; 2 - ручка; 3 - держатель; 4 - штырь;
5, 6 - держатели; 7 - фиксатор; 8 - шайба; 9 - гайка
Примечание.
Черт. 1,
2 конструкцию ножовочных рамок не устанавливают.
Обозначение изделия | Применяемость | Тип | Исполнение | l | h, не менее | L | l1 | B | D | d (пред. откл. по h14) | Масса, кг, не более |
Пред. откл. по  |
6920-0001 | | 1 | 1 | 300 | 90 | 340 | 100 | 32 | - | 4 | 0,80 |
6920-0010 | | 2 | 70 | 120 | - | 30 | 0,80 |
6920-0011 | | 85 | 0,80 |
6920-0002 | | 2 | 1 | 250 | 90 | 290 | 100 | 32 | - | 0,80 |
300 | 340 |
6920-0020 | | 2 | 250 | 70 | 290 | 120 | - | 30 | 0,80 |
300 | 340 |
6920-0021 | | 250 | 85 | 290 | 0,80 |
300 | 340 |
(в ред.
Изменения N 4, утв. Постановлением Госстандарта СССР от 26.02.1990 N 268)
Примечания:
1. При расположении полотна под углом по отношению колена рамки размер h следует измерять на расстоянии 1/2L.
2. В качестве штырей могут быть применены заклепки нормальной точности из углеродистой или легированной стали диаметром 3 мм.
Пример условного обозначения ножовочной рамки типа 1, исполнения 2, размером h = 70 мм, с хромовым покрытием толщиной 1 мкм и подслоем никеля толщиной 12 мкм:
Рамка 6920-0010 Н12.Х1.ГОСТ 17270-71
(Измененная редакция, Изм. N 1, 2, 3).
1.3. Конструктивные элементы ножовочных рамок указаны в
приложении (справочном).
2. ТЕХНИЧЕСКИЕ ТРЕБОВАНИЯ
2.1. Ручные ножовочные рамки должны изготовляться в соответствии с требованиями настоящего стандарта по чертежам, утвержденным в установленном порядке, а для продажи через розничную торговую сеть и по образцам, утвержденным в установленном порядке.
(п. 2.1 в ред.
Изменения N 4, утв. Постановлением Госстандарта СССР от 26.02.1990 N 268)
2.2. Основные детали ножовочных рамок должны изготовляться из следующих материалов:
| | ИС МЕГАНОРМ: примечание. Взамен ГОСТ 1050-74 Постановлением Госстандарта СССР от 24.11.1988 N 3811 с 1 января 1991 года введен в действие ГОСТ 1050-88. | |
колено, фиксатор, держатели и штырь - из стали марки 35 по ГОСТ 1050-74; колено трубчатого сечения - из стали марки 10 по ГОСТ 1050-74.
Допускается изготовление основных деталей рамок из других материалов, обеспечивающих требования настоящего стандарта.
(п. 2.2 в ред.
Изменения N 4, утв. Постановлением Госстандарта СССР от 26.02.1990 N 268)
2.3. Детали рамки, изготовленные из стали, должны иметь одно из защитно-декоративных покрытий, указанных в табл. 3.
Таблица 3
| Покрытия | |
1 | Окисное с промасливанием | Хим. Окс. прм |
Фосфатное с промасливанием | Хим. Фос. прм |
Хромовое толщиной 9 мкм | Х9 |
Окисное с последующей окраской нитроэмалью НЦ-25 (или нитроглифталевой эмалью НЦ-132) разных цветов по IV классу | (Хим. Окс. ---------------- Эм. НЦ-25 разн. цв. IV) |
2 - 4 | Цинковое толщиной 15 мкм хроматированное | Ц 15. хр. |
Хромовое толщиной 1 мкм с подслоем никеля толщиной 12 мкм, нанесенного электролитическим способом | Н 12.Х1 |
Фосфатное с последующей окраской нитроглифталевой эмалью НЦ-132 (или пентафталевой эмалью ПФ-115) разных цветов по IV классу | (Хим Фос. ---------------- Эм. НЦ-132 разн. цв. IV) |
5 - 8 | Хромовое толщиной 1 мкм с подслоем никеля, нанесенного электролитическим способом, толщиной 14 мкм и никеля, нанесенного тем же способом толщиной 7 мкм | Н 14.Н7Х1 |
Кадмиевое толщиной 12 мкм, хроматированное | Кд21.хр. |
Примечания:
1. Допускается по согласованию с потребителем применять другие защитно-декоративные металлические и неметаллические покрытия по
ГОСТ 9.306-85 и
ГОСТ 9.032-74, не уступающие по свойствам покрытиям, указанным в табл. 3.
2. Рамки, выпускаемые для продажи через розничную торговую сеть, должны иметь защитно-декоративные покрытия не ниже 2 - 4 группы условий эксплуатации.
(п. 2.3 в ред.
Изменения N 4, утв. Постановлением Госстандарта СССР от 26.02.1990 N 268)
2.4. Поверхность деревянных ручек должна быть покрыта лаком группы 7 по
ГОСТ 9825-73, нитролаком - по
ГОСТ 4976-83 или другими лаками по технической документации, утвержденной в установленном порядке.
(п. 2.4 в ред.
Изменения N 4, утв. Постановлением Госстандарта СССР от 26.02.1990 N 268)
2.5. Исключен с 1 ноября 1990 года. -
Изменение N 4, утв. Постановлением Госстандарта СССР от 26.02.1990 N 268.
| | ИС МЕГАНОРМ: примечание. Взамен ГОСТ 9.301-78 Постановлением Госстандарта СССР от 27.02.1986 N 424 с 1 июля 1987 года введен в действие ГОСТ 9.301-86. | |
2.6. Шероховатость поверхностей деталей, подвергаемых покрытиям, должна соответствовать требованиям ГОСТ 9.301-78, шероховатость ручки должна быть не более
Ra 3,2 мкм по
ГОСТ 2789-73, деревянной ручки - не более
Rzmax 100 мкм по
ГОСТ 7016-82, а деталей, не подвергаемых покрытию, по технической документации, согласованной в установленном порядке.
(в ред.
Изменения N 4, утв. Постановлением Госстандарта СССР от 26.02.1990 N 268)
2.7. Поверхности деталей с защитно-декоративным покрытием по внешнему виду, толщине покрытий и другим показателям должны соответствовать требованиям ГОСТ 9.301-78.
| | ИС МЕГАНОРМ: примечание. Взамен ГОСТ 24705-81 Приказом Ростехрегулирования от 02.03.2005 N 36-ст с 1 июля 2005 года введен в действие ГОСТ 24705-2004. | |
| | ИС МЕГАНОРМ: примечание. Взамен ГОСТ 16093-81 Приказом Ростехрегулирования от 02.03.2005 N 39-ст с 1 июля 2005 года введен в действие ГОСТ 16093-2004. | |
2.8. Резьба на деталях - по ГОСТ 24705-81, допуски на резьбовые соединения - 8g и 7H по ГОСТ 16093-81.
(в ред.
Изменения N 4, утв. Постановлением Госстандарта СССР от 26.02.1990 N 268)
Абзац исключен с 1 ноября 1990 года. -
Изменение N 4, утв. Постановлением Госстандарта СССР от 26.02.1990 N 268.
(Измененная редакция, Изм. N 1).
2.9. Поверхности деталей из прокатных материалов, не подвергаемых механической обработке, должны изготовляться с отклонениями, допускаемыми для исходного материала. Допускается в местах изгиба колена местное утоньшение и утолщение материала, не снижающие жесткость рамки, определяемую в соответствии с требованиями
п. 2.11.
(п. 2.9 в ред.
Изменения N 4, утв. Постановлением Госстандарта СССР от 26.02.1990 N 268)
2.10. Рамка должна обеспечивать отклонение от прямолинейности установленного в ней ножовочного полотна не более 1 мм.
(п. 2.10 в ред.
Изменения N 4, утв. Постановлением Госстандарта СССР от 26.02.1990 N 268)
2.11. Рамка должна иметь жесткость, характеризуемую упругой деформацией не менее 4 мм при нагрузке 750 - 800 Н (75 - 80 кгс).
(в ред.
Изменения N 4, утв. Постановлением Госстандарта СССР от 26.02.1990 N 268)
2.10, 2.11. (Измененная редакция, Изм. N 3).
2.12. Каждая ножовочная рамка для розничной продажи должна поставляться в комплекте с одним ножовочным полотном.
2.13, 2.14. Исключены с 1 ноября 1990 года. -
Изменение N 4, утв. Постановлением Госстандарта СССР от 26.02.1990 N 268.
2.15. Надежность ножовочных рамок определяется полным 95% ресурсом, равным 1000 нагружений колена рамки, с приложением нагрузки 750 Н (75 кгс), при условии испытания по
п. 2.11. Критерием предельного состояния является остаточная деформация колена более 4 мм.
(п. 2.15 введен
Изменением N 4, утв. Постановлением Госстандарта СССР от 26.02.1990 N 268)
2.16. На каждой ножовочной рамке должны быть четко нанесены:
а) товарный знак предприятия-изготовителя;
б) цена (для розничной продажи);
в) децимальное обозначение (кроме рамок для розничной продажи).
(п. 2.16 введен
Изменением N 4, утв. Постановлением Госстандарта СССР от 26.02.1990 N 268)
2.17. Остальные требования к маркировке и упаковке - по
ГОСТ 18088-83.
(п. 2.17 введен
Изменением N 4, утв. Постановлением Госстандарта СССР от 26.02.1990 N 268)
Госстандарта СССР от 26.02.1990 N 268)
3.1. Не допускается использовать ножовочную рамку с ненатянутым полотном или в условиях, когда край ножовочного полотна упирается во внутреннюю поверхность колена.
3.2. Детали разъемных соединений ножовочных рамок должны перемещаться без заеданий. При натянутом полотне и рабочих нагрузках качка разъемных соединений не допускается.
Госстандарта СССР от 26.02.1990 N 268)
5.1. Контроль жесткости рамок проводится при установленном на максимальный размер расстоянии между штырями для крепления ножовочного полотна, путем приложения нагрузки 750 - 800 Н (75 - 80) кгс по оси держателей.
При этом величина упругой деформации, измеренная по оси держателей, должна составлять не менее 4 мм.
(в ред.
Изменения N 4, утв. Постановлением Госстандарта СССР от 26.02.1990 N 268)
Остаточная деформация рамки после снятия нагрузки не допускается.
5.2. Контроль отклонения от прямолинейности ножовочного полотна, закрепленного в рамке, должен проводиться путем измерения щупом зазоров между плоской эталонной пластиной и поверхностью ножовочного полотна, не имеющей зубьев.
(в ред.
Изменения N 4, утв. Постановлением Госстандарта СССР от 26.02.1990 N 268)
5.1, 5.2. (Измененная редакция, Изм. N 3).
5.2а. Контроль размеров ножовочных рамок должен проводиться универсальными измерительными средствами.
(п. 5.2а введен
Изменением N 4, утв. Постановлением Госстандарта СССР от 26.02.1990 N 268)
5.2б. Контроль плавности перемещения и качки разъемных соединений ножовочных рамок по
п. 3.2 осуществляется вручную.
(п. 5.2б введен
Изменением N 4, утв. Постановлением Госстандарта СССР от 26.02.1990 N 268)
5.2в. Шероховатость поверхностей ножовочных рамок проверяют сравнением с образцами шероховатости поверхностей по
ГОСТ 9378-75 или образцовыми рамками, имеющими параметры шероховатости не более установленных в
п. 2.6.
(п. 5.2в введен
Изменением N 4, утв. Постановлением Госстандарта СССР от 26.02.1990 N 268)
| | ИС МЕГАНОРМ: примечание. Взамен ГОСТ 9.302-79 Постановлением Госстандарта СССР от 29.06.1988 N 2507 с 1 января 1990 года введен в действие ГОСТ 9.302-88. | |
5.3. Качество гальванических покрытий проверяют по ГОСТ 9.302-79, внешний вид лакокрасочных покрытий - по
ГОСТ 9.032-74 и
ГОСТ 22133-86.
(в ред.
Изменения N 4, утв. Постановлением Госстандарта СССР от 26.02.1990 N 268)
5.4. Исключен с 1 ноября 1990 года. -
Изменение N 4, утв. Постановлением Госстандарта СССР от 26.02.1990 N 268.
| | ИС МЕГАНОРМ: примечание. Взамен ГОСТ 1050-74 Постановлением Госстандарта СССР от 24.11.1988 N 3811 с 1 января 1991 года введен в действие ГОСТ 1050-88. | |
5.5. Испытание ножовочных рамок на работоспособность проводится путем пятикратной отрезки закрепленным на рамке ножовочным полотном образцов сечением 10 x 10 мм (или диаметром 10 мм) из углеродистой конструкционной стали по ГОСТ 1050-74 твердостью не менее HB 170.
При испытании не должно быть качки деталей в сопряжениях. После испытаний рамка не должна иметь деформации и должна быть полностью пригодна для дальнейшей эксплуатации.
(Введен дополнительно, Изм. N 3).
5.6. Испытание ножовочных рамок на надежность проводится по
п. 2.15. Рамка закрепляется на стенде или приспособлении со стороны ручки, при этом циклическая нагрузка прикладывается к концу колена в месте установки держателя (
черт. 1 и
2) в направлении к ручке. Результаты испытаний считаются удовлетворительными, если каждая испытываемая рамка не достигнет предельного состояния.
(п. 5.6 введен
Изменением N 4, утв. Постановлением Госстандарта СССР от 26.02.1990 N 268)
6. ТРАНСПОРТИРОВАНИЕ И ХРАНЕНИЕ
Госстандарта СССР от 26.02.1990 N 268)
Транспортирование и хранение ножовочных рамок - по
ГОСТ 18088-83.
7.1. Изготовитель должен гарантировать соответствие рамок требованиям настоящего стандарта при соблюдении потребителем условий эксплуатации и хранения.
7.2. Гарантийный срок - 12 мес со дня продажи через розничную торговую сеть, а для внерыночного потребления - со дня получения потребителем.
7.1, 7.2. (Измененная редакция, Изм. N 1).
Справочное
КОНСТРУКТИВНЫЕ ЭЛЕМЕНТЫ РУЧНЫХ НОЖОВОЧНЫХ РАМОК
Размеры основных конструктивных элементов ножовочных рамок должны соответствовать указанным на
черт. 1 -
21.
Тип 1
Черт. 1
Деталь 1. Колено (узел)
Тип 1
Дет. 1 - скоба (1 шт.); дет. 2 - обойма (2 шт.)
Черт. 2
Примечание. Конструктивные элементы деталей указаны на
черт. 13,
14.
Деталь 1. Колено
Тип 2
Черт. 3
Деталь 1. Колено (узел)
Тип 3
Дет. 1 - обойма (2 шт.); дет. 2 - угольник левый (1 шт.);
дет. 3 - угольник правый (1 шт.); дет. 4 - планка (1 шт.);
Черт. 4
Примечание. Конструктивные элементы деталей указаны на
черт. 19,
20 и
21.
Деталь 2. Ручка
Тип 1
Черт. 5
Деталь 2. Ручка (узел)
Типы 1 и 2
Дет. 1 - держатель (1 шт.); 2 - колпачок (1 шт.);
дет. 3 - рукоятка (1 шт.); дет. 4 - штифт 4m6x25
ГОСТ 3128-70 (1 шт.)
Черт. 6
Примечание. Конструктивные элементы деталей указаны на
черт. 15,
16 и
17.
(Измененная редакция, Изм. N 3).
Деталь 2. Ручка
Тип 2
Черт. 7
Деталь 3. Держатель
Типы 1 и 2
Черт. 8
Деталь 4. Штырь
Черт. 9
Деталь 5. Держатель
Типы 1 и 2
Черт. 10
Деталь 6. Держатель
Типы 1 и 2
Черт. 11
Деталь 7. Фиксатор
Тип 2
Черт. 12
Тип 1
Черт. 13
Тип 1
Черт. 14
Типы 1 и 2
Черт. 15
Типы 1 и 2
Черт. 16
Типы 1 и 2
Черт. 17
Деталь 1. Обойма
Тип 2
Черт. 18
h1 = 84,5 мм;
h1 = 99,5 мм
Тип 2
Черт. 19
Деталь 3. Угольник правый
h1 = 84,5 мм;
h1 = 99,5 мм
Тип 2
Черт. 20
Тип 2
Черт. 21
(Измененная редакция, Изм. N 1).