Главная // Актуальные документы // ГОСТ (Государственный стандарт)
СПРАВКА
Источник публикации
В данном виде документ опубликован не был.
Первоначальный текст документа опубликован в издании:
М.: Издательство стандартов, 1989.
Информацию о публикации документов, создающих данную редакцию, см. в справке к этим документам.
Примечание к документу
С 1 июля 2003 года до вступления в силу технических регламентов акты федеральных органов исполнительной власти в сфере технического регулирования носят рекомендательный характер и подлежат обязательному исполнению только в части, соответствующей целям, указанным в пункте 1 статьи 46 Федерального закона от 27.12.2002 N 184-ФЗ.

Ограничение срока действия снято по Протоколу Межгосударственного Совета по стандартизации, метрологии и сертификации ("ИУС", N 2, 1993).

Изменение N 4 введено в действие с 1 января 1996 года Постановлением Госстандарта РФ от 16.03.1995 N 145.

Взамен ГОСТ 1499-70 в части чушек.
Название документа
"ГОСТ 21930-76. Припои оловянно-свинцовые в чушках. Технические условия"
(утв. Постановлением Госстандарта СССР от 16.06.1976 N 1448)
(ред. от 16.03.1995)

"ГОСТ 21930-76. Припои оловянно-свинцовые в чушках. Технические условия"
(утв. Постановлением Госстандарта СССР от 16.06.1976 N 1448)
(ред. от 16.03.1995)


Содержание


Утвержден и введен в действие
Постановлением Госстандарта СССР
от 16 июня 1976 г. N 1448
ГОСУДАРСТВЕННЫЙ СТАНДАРТ СОЮЗА ССР
ПРИПОИ ОЛОВЯННО-СВИНЦОВЫЕ В ЧУШКАХ
ТЕХНИЧЕСКИЕ УСЛОВИЯ
Tin-lead solders in pigs. Specifications
ГОСТ 21930-76
Список изменяющих документов
(в ред. Изменения N 1, утв. в декабре 1982 г.,
Изменения N 2, утв. в июне 1987 г.,
Изменения N 3, утв. Постановлением
Госстандарта СССР от 06.07.1990 N 2139,
Изменения N 4, введенного в действие
Постановлением Госстандарта РФ
от 16.03.1995 N 145)
Группа В51
ОКП 17 2300
Срок действия
с 1 января 1978 года
до 1 января 1993 года
ИНФОРМАЦИОННЫЕ ДАННЫЕ
1. Разработан и внесен Министерством цветной металлургии СССР.
Исполнители: В.А. Аршинников; 3.Я. Каменецкая; А.И. Даутова.
2. Утвержден и введен в действие Постановлением Государственного комитета стандартов Совета Министров СССР от 16.06.1976 N 1448.
3. Взамен ГОСТ 1499-70 в части чушек.
4. Ссылочные нормативно-технические документы
─────────────────────────────────────────────┬────────────────────
Обозначение НТД, на который дана ссылка │ Номер пункта
─────────────────────────────────────────────┼────────────────────
ИС МЕГАНОРМ: примечание.
Взамен ГОСТ 12.0.004-79 Постановлением Госстандарта СССР
от 05.11.1990 N 2797 с 1 июля 1991 года введен в действие
ГОСТ 12.0.004-90.
ГОСТ 12.0.004-79 │ 2а.8
ИС МЕГАНОРМ: примечание.
Взамен ГОСТ 12.1.005-76 Постановлением Госстандарта СССР
от 29.09.1988 N 3388 с 1 января 1989 года введен в действие
ГОСТ 12.1.005-88.
ГОСТ 12.1.005-76 │ 2а.3; 2а.4
ГОСТ 12.1.007-762а.1; 2а.4
ГОСТ 12.3.009-762а.6
ГОСТ 12.4.003-80 │ 2а.9
ГОСТ 12.4.023-842а.9
ГОСТ 12.4.028-762а.9
ГОСТ 1429.0-772а.7
ГОСТ 1429.0-77 - ГОСТ 1429.15-774.4
ГОСТ 2991-855.1а
ГОСТ 6613-864.3
ГОСТ 10354-825.1а
ГОСТ 14192-775.2
ГОСТ 18477-795.1а
ГОСТ 21140-885.1а
ГОСТ 21399-752а.6; 5.1а
ГОСТ 21929-762а.6; 5.1а
ГОСТ 24231-804.2
ГОСТ 26645-852.2
СНиП II-92-762а.10
5. Срок действия продлен до 01.01.1993 Постановлением Госстандарта СССР от 11.06.1987 N 1996.
6. Переиздание (февраль 1987 г.) с Изменениями N 1, 2, утвержденными в декабре 1982 г., июне 1987 г. (ИУС 3-83, 9-87).
Настоящий стандарт распространяется на оловянно-свинцовые припои в чушках, применяемые для лужения и пайки деталей.
Абзац исключен с 1 января 1991 года. - Изменение N 3, утв. Постановлением Госстандарта СССР от 06.07.1990 N 2139.
(Измененная редакция, Изм. N 1, 2).
1. МАРКИ
1.1. В зависимости от химического состава оловянно-свинцовые припои изготавливаются следующих марок:
(в ред. Изменения N 3, утв. Постановлением Госстандарта СССР от 06.07.1990 N 2139)
бессурьмянистые - ПОС 90, ПОС 63, ПОС 61, ПОС 40, ПОС 30, ПОС 10, ПОС 61М, ПОСК 50-18, ПОСК 2-18;
(в ред. Изменения N 4, введенного в действие Постановлением Госстандарта РФ от 16.03.1995 N 145)
малосурьмянистые - ПОССу 61-0,5, ПОССу 50-0,5, ПОССу 40-0,5, ПОССу 35-0,5, ПОССу 30-0,5, ПОССу 25-0,5, ПОССу 18-0,5;
сурьмянистые - ПОСу 95-5, ПОССу 40-2, ПОССу 35-2, ПОССу 30-2, ПОССу 25-2, ПОССу 18-2, ПОССу 15-2, ПОССу 10-2, ПОССу 8-3, ПОССу 5-1, ПОССу 4-6, ПОССу 4-4.
Примеры условных обозначений:
Припой в чушках марки ПОС 40:
Припой Ч ПОС 40 ГОСТ 21930-76
То же, марки ПОССу 18-0,5:
Припой Ч ПОССу 18-0,5 ГОСТ 21930-76
2. ТЕХНИЧЕСКИЕ ТРЕБОВАНИЯ
2.1. Припои оловянно-свинцовые в чушках изготовляют в соответствии с требованиями настоящего стандарта по технологической инструкции, утвержденной в установленном порядке.
Химический состав припоев должен соответствовать требованиям таблицы.
(Измененная редакция, Изм. N 1, 2).
────────────┬───────┬──────────────────────────────────────────────────────────────────────────────────────
Марка припоя│Код ОКП│ Массовая доля, %
│ ├───────────────────────────────┬──────────────────────────────────────────────────────
│ │ основных компонентов │ примесей, не более
│ ├─────┬──────┬──────┬─────┬─────┼─────┬────┬────┬─────┬─────┬────┬────┬─────┬─────┬────
│ │олово│сурьма│кадмий│медь │сви- │сурь-│медь│вис-│мышь-│желе-│ни- │сера│цинк │алю- │сви-
│ │ │ │ │ │нец │ма │ │мут │як │зо │кель│ │ │миний│нец
────────────┴───────┴─────┴──────┴──────┴─────┴─────┴─────┴────┴────┴─────┴─────┴────┴────┴─────┴─────┴────
Бессурьмянистые
ПОС 90 │17 2311│89 - │ - │ - │ - │Оста-│0,10 │0,05│0,1 │0,01 │0,02 │0,02│0,02│0,002│0,002│ -
│1100 04│ 91│ │ │ │льное│ │ │ │ │ │ │ │ │ │
(в ред. Изменения N 4, введенного в действие Постановлением
Госстандарта РФ от 16.03.1995 N 145)
ПОС 63 │17 2312│62,5-│ - │ - │ - │Оста-│ 0,05│0,05│ 0,1│0,02 │ 0,02│0,02│0,02│0,002│0,002│ -
│0100 │ 63,5│ │ │ │льное│ │ │ │ │ │ │ │ │ │
(позиция введена Изменением N 4, введенным в действие
Постановлением Госстандарта РФ от 16.03.1995 N 145)
ПОС 61 │17 2312│59 - │ - │ - │ - │То же│0,10 │0,05│0,20│0,02 │ │ │ │ │ │
│1100 10│ 61│ │ │ │ │ │ │ │ │ │ │ │ │ │
(в ред. Изменения N 4, введенного в действие Постановлением
Госстандарта РФ от 16.03.1995 N 145)
ПОС 40 │17 2314│39 - │ - │ - │ - │ " │0,10 │0,05│0,20│0,02 │ │ │ │ │ │
│1100 00│ 41│ │ │ │ │ │ │ │ │ │ │ │ │ │
(в ред. Изменения N 4, введенного в действие Постановлением
Госстандарта РФ от 16.03.1995 N 145)
ПОС 30 │17 2321│29 - │ - │ - │ - │ " │0,10 │0,05│0,20│0,02 │ │ │ │ │ │
│1100 09│ 31│ │ │ │ │ │ │ │ │ │ │ │ │ │
(в ред. Изменения N 4, введенного в действие Постановлением
Госстандарта РФ от 16.03.1995 N 145)
ПОС 10 │17 2326│9 - │ - │ - │ - │ " │0,10 │0,05│0,20│0,02 │ │ │ │ │ │
│1100 06│ 10│ │ │ │ │ │ │ │ │ │ │ │ │ │
(в ред. Изменения N 4, введенного в действие Постановлением
Госстандарта РФ от 16.03.1995 N 145)
ПОС 61М │17 2312│59 - │ - │ - │1,2 -│ " │0,20 │ - │0,20│0,01 │ │ │ │ │ │
│1200 07│ 61│ │ │ 2,0│ │ │ │ │ │ │ │ │ │ │
(в ред. Изменения N 4, введенного в действие Постановлением
Госстандарта РФ от 16.03.1995 N 145)
ПОСК 50-18 │17 2313│49 - │ - │17 - │ - │ " │0,20 │0,08│0,20│0,03 │ │ │ │ │ │
│1200 02│ 51│ │ 19│ │ │ │ │ │ │ │ │ │ │ │
(в ред. Изменения N 4, введенного в действие Постановлением
Госстандарта РФ от 16.03.1995 N 145)
ПОСК 2-18 │17 2343│1,8 -│ - │17,5 -│ - │ " │0,05 │0,05│0,20│0,01 │ │ │ │ │ │
│1100 09│ 2,3│ │ 18,5│ │ │ │ │ │ │ │ │ │ │ │
(в ред. Изменения N 4, введенного в действие Постановлением
Госстандарта РФ от 16.03.1995 N 145)
Малосурьмянистые
ПОССу 61-0,5│17 2312│59 - │0,05 -│ - │ - │Оста-│ - │0,05│0,20│0,02 │0,02 │0,02│0,02│0,002│0,002│ -
│1400 01│ 61│ 0,5│ │ │льное│ │ │ │ │ │ │ │ │ │
(в ред. Изменения N 4, введенного в действие Постановлением
Госстандарта РФ от 16.03.1995 N 145)
ПОССу 50-0,5│17 2313│49 - │ │ - │ - │То же│ │0,05│0,1 │0,02 │ │ │ │ │ │
│1100 05│ 51│ │ │ │ │ │ │ │ │ │ │ │ │ │
ПОССу 40-0,5│17 2314│39 - │ │ - │ - │ " │ │0,05│0,20│0,02 │ │ │ │ │ │
│1200 08│ 41│ │ │ │ │ │ │ │ │ │ │ │ │ │
(в ред. Изменения N 4, введенного в действие Постановлением
Госстандарта РФ от 16.03.1995 N 145)
ПОССу 35-0,5│17 2315│34 - │ │ - │ - │ " │ │0,05│0,20│0,02 │ │ │ │ │ │
│1200 03│ 36│ │ │ │ │ │ │ │ │ │ │ │ │ │
(в ред. Изменения N 4, введенного в действие Постановлением
Госстандарта РФ от 16.03.1995 N 145)
ПОССу 30-0,5│17 2321│29 - │ │ - │ - │ " │ │0,05│0,20│0,02 │ │ │ │ │ │
│1200 06│ 31│ │ │ │ │ │ │ │ │ │ │ │ │ │
(в ред. Изменения N 4, введенного в действие Постановлением
Госстандарта РФ от 16.03.1995 N 145)
ПОССу 25-0,5│17 2322│24 - │ │ - │ - │ " │ │0,05│0,20│0,02 │ │ │ │ │ │
│1200 01│ 26│ │ │ │ │ │ │ │ │ │ │ │ │ │
(в ред. Изменения N 4, введенного в действие Постановлением
Госстандарта РФ от 16.03.1995 N 145)
ПОССу 18-0,5│17 2323│17 - │ │ - │ - │ " │ │0,05│0,20│0,02 │ │ │ │ │ │
│1100 10│ 18│ │ │ │ │ │ │ │ │ │ │ │ │ │
(в ред. Изменения N 4, введенного в действие Постановлением
Госстандарта РФ от 16.03.1995 N 145)
Сурьмянистые
ПОСу 95-5 │17 2311│Ос- │4,0 - │ - │ - │ - │ - │0,05│0,1 │0,04 │0,02 │0,02│0,02│0,002│0,002│0,07
│1200 01│таль-│ 5,0│ │ │ │ │ │ │ │ │ │ │ │ │
│ │ное │ │ │ │ │ │ │ │ │ │ │ │ │ │
│ │ │ │ │ │ │ │ ├────┤ │ ├────┤ │ │ ├────
ПОССу 40-2 │17 2314│39 - │1,5 - │ - │ - │Оста-│ │0,08│0,2 │0,02 │ │0,08│ │ │ │ -
│1300 05│ 41│ 2,0│ │ │льное│ │ │ │ │ │ │ │ │ │
ПОССу 35-2 │17 2315│34 - │1,5 - │ - │ - │То же│ │0,08│ │0,02 │ │ │ │ │ │
│1300 00│ 36│ 2,0│ │ │ │ │ │ │ │ │ │ │ │ │
ПОССу 30-2 │17 2321│29 - │1,5 - │ - │ - │ " │ │0,08│ │0,02 │ │ │ │ │ │
│1300 03│ 31│ 2,0│ │ │ │ │ │ │ │ │ │ │ │ │
ПОССу 25-2 │17 2322│24 - │1,5 - │ - │ - │ " │ │0,08│ │0,02 │ │ │ │ │ │
│1300 09│ 26│ 2,0│ │ │ │ │ │ │ │ │ │ │ │ │
ПОССу 18-2 │17 2323│17 - │1,5 - │ - │ - │ " │ │0,08│ │0,02 │ │ │ │ │ │
│1200 07│ 18│ 2,0│ │ │ │ │ │ │ │ │ │ │ │ │
ПОССу 15-2 │17 2324│14 - │1,5 - │ - │ - │ " │ │0,08│ │0,02 │ │ │ │ │ │
│1100 05│ 15│ 2,0│ │ │ │ │ │ │ │ │ │ │ │ │
ПОССу 10-2 │17 2326│9 - │1,5 - │ - │ - │ " │ │0,08│ │0,02 │ │ │ │ │ │
│1200 03│ 10│ 2,0│ │ │ │ │ │ │ │ │ │ │ │ │
ПОССу 8-3 │17 2326│7 - 8│2,0 - │ - │ - │ " │ │0,1 │ │0,05 │ │ │ │ │ │
│1300 00│ │ 3,0│ │ │ │ │ │ │ │ │ │ │ │ │
ПОССу 5-1 │17 2327│4 - 5│0,5 - │ - │ - │ " │ │0,08│ │0,02 │ │ │ │ │ │
│1100 01│ │ 1,0│ │ │ │ │ │ │ │ │ │ │ │ │
ПОССу 4-6 │17 2327│3 - 4│5,0 - │ - │ - │ " │ │0,1 │ │0,05 │ │ │ │ │ │
│1200 09│ │ 6,0│ │ │ │ │ │ │ │ │ │ │ │ │
ПОССу 4-4 │17 2327│3 - 4│3,0 - │ - │ - │ " │ │0,1 │ │0,05 │ │ │ │ │ │
│1300 06│ │ 4,0│ │ │ │ │ │ │ │ │ │ │ │ │
(в ред. Изменения N 3, утв. Постановлением Госстандарта СССР от 06.07.1990 N 2139)
Примечания. 1. По требованию потребителя массовая доля мышьяка в бессурьмянистых припоях марок ПОС 61, ПОС 40 и ПОС 30 должна быть не более 0,01%.
2. В сурьмянистых припоях марок ПОССу 40-2, ПОССу 30-2 и ПОССу 18-2, применяемых в автомобилестроении, допускается массовая доля меди до 0,1% и мышьяка - до 0,05%.
(Измененная редакция, Изм. N 2).
3. Содержание примесей железа, серы, никеля, цинка и алюминия обеспечивается технологией изготовления.
(примечание 3 введено Изменением N 3, утв. Постановлением Госстандарта СССР от 06.07.1990 N 2139)
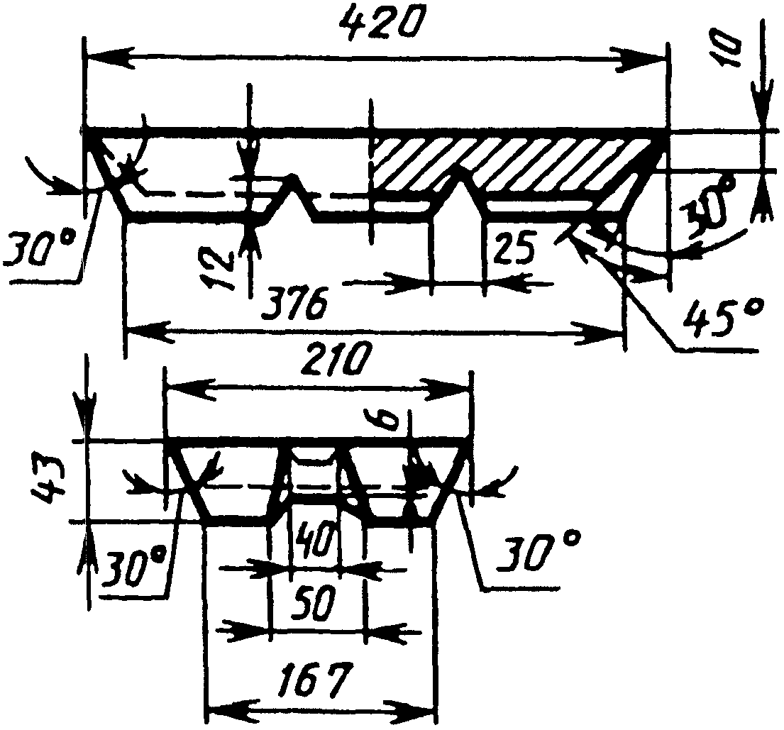
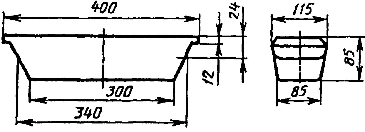
2.2. Форма чушек припоев всех марок приведена в Приложении 3. Размеры чушек, указанные в Приложении 3, приведены для конструирования и изготовления изложниц.
Допускаемые отклонения по размерам изложниц должны соответствовать 13 классу точности по ГОСТ 26645-85.
(п. 2.2 в ред. Изменения N 4, введенного в действие Постановлением Госстандарта РФ от 16.03.1995 N 145)
2.3. Поверхность чушек не должна иметь шлаковых и других инородных включений. Допускается наличие усадочных раковин и трещин.
(Измененная редакция, Изм. N 2).
2.4. Физико-механические свойства припоев приведены в справочном Приложении 1.
2.5. Области преимущественного применения припоев приведены в рекомендуемом Приложении 2.
2а. ТРЕБОВАНИЯ БЕЗОПАСНОСТИ
Раздел 2а исключен с 1 января 1991 года. - Изменение N 3, утв. Постановлением Госстандарта СССР от 06.07.1990 N 2139.
3. ПРАВИЛА ПРИЕМКИ
3.1. Припои принимают партиями. Каждая партия должна состоять из чушек одной марки и одной плавки. Масса партии не ограничивается.
Каждая партия чушек сопровождается документом о качестве, содержащим:
товарный знак или наименование и товарный знак предприятия-изготовителя;
условное обозначение припоя;
результаты химического анализа или подтверждение о соответствии качества припоя требованиям настоящего стандарта;
(в ред. Изменения N 3, утв. Постановлением Госстандарта СССР от 06.07.1990 N 2139)
номер партии;
массу нетто в килограммах;
дату изготовления;
абзац исключен с 1 января 1991 года. - Изменение N 3, утв. Постановлением Госстандарта СССР от 06.07.1990 N 2139.
(Измененная редакция, Изм. N 1, 2).
3.2. Внешнему осмотру подвергают каждую чушку партии.
3.3. Для контроля химического состава припоя от партии отбирают каждую пятидесятую чушку, но не менее пяти чушек.
На предприятии-изготовителе допускается проверку химического состава проводить на пробе, отобранной от расплавленного металла в начале, середине и конце разлива плавки.
(в ред. Изменения N 3, утв. Постановлением Госстандарта СССР от 06.07.1990 N 2139)
(Измененная редакция, Изм. N 1, 2).
Контроль содержания примесей железа, серы, никеля, цинка и алюминия в припоях всех марок изготовитель проводит в процессе изготовления.
(абзац введен Изменением N 3, утв. Постановлением Госстандарта СССР от 06.07.1990 N 2139)
3.4. При получении неудовлетворительных результатов проверки химического состава проводят повторную проверку на удвоенной выборке, взятой от той же партии.
Результаты повторных испытаний распространяются на всю партию.
4. МЕТОДЫ ИСПЫТАНИЙ
4.1. Контроль поверхности чушек производят визуальным осмотром.
4.2. Отбор проб - по ГОСТ 24231-80. Стружку, отобранную от всех чушек, измельчают до крупности частиц не более 5 мм без контрольного просева, тщательно перемешивают и сокращают квартованием до лабораторной пробы массой 200 г.
(в ред. Изменения N 4, введенного в действие Постановлением Госстандарта РФ от 16.03.1995 N 145)
Лабораторную пробу расплавляют в тигле и растирают на бельтинге до размеров частиц не более 2 мм, перемешивают и обрабатывают магнитом. Лабораторную пробу делят на две части: одну часть направляют на химический анализ, другую сохраняют на случай разногласия в оценке качества партии.
Пробы от жидкого металла отбирают в виде сплесок и стержней диаметром 8 мм, длиной 75 мм.
(в ред. Изменения N 3, утв. Постановлением Госстандарта СССР от 06.07.1990 N 2139)
4.3. Стружку припоев, содержащих свыше 2,5% сурьмы, просеивают через сетку N 08 по ГОСТ 6613-86 для определения мелкой фракции. За результат анализа принимают расчетные данные результатов анализа обеих фракций.
4.2, 4.3. (Измененная редакция, Изм. N 1, 2).
4.4. Химический состав припоев определяют по ГОСТ 1429.0-77 - ГОСТ 1429.15-77 или другими методами, обеспечивающими требуемую точность определения.
При разногласиях в оценке химического состава припоя определение его проводят по ГОСТ 1429.0-77 - ГОСТ 1429.11-77.
(Измененная редакция, Изм. N 2).
5. МАРКИРОВКА, УПАКОВКА, ТРАНСПОРТИРОВАНИЕ И ХРАНЕНИЕ
5.1. На каждой чушке припоя выбивают:
а) товарный знак предприятия-изготовителя;
б) обозначение марки припоя;
(в ред. Изменения N 3, утв. Постановлением Госстандарта СССР от 06.07.1990 N 2139)
в) номер плавки.
(Измененная редакция, Изм. N 2).
Обозначение марки припоя наносится на лицевой поверхности чушки с левой стороны цифрами, соответствующими процентному содержанию основных компонентов без указания буквенного обозначения ПОС, ПОССу, ПОСу, ПОСК. Номер плавки выбивается с правой стороны лицевой поверхности чушки.
(абзац введен Изменением N 3, утв. Постановлением Госстандарта СССР от 06.07.1990 N 2139)
Примеры нанесения обозначения марки припоя:
Припой марки ПОС 90: 90.
Припой марки ПОС 61М: 61М.
(абзац введен Изменением N 3, утв. Постановлением Госстандарта СССР от 06.07.1990 N 2139)
5.1а. Чушки припоев транспортируют без упаковывания транспортными пакетами или в контейнерах по ГОСТ 18477-79. Пакеты чушек должны быть обвязаны стальной упаковочной лентой размерами не менее 0,8 x 30 мм по ГОСТ 3560-73, скрепленной в замок. Допускается применение других средств скрепления, обеспечивающих сохранность пакета по ГОСТ 21650-76. Масса пакета не более 1250 кг. Допускается увеличение пакета до 1500 кг при условии проведения погрузки и выгрузки на подъездных путях грузоотправителя и грузополучателя, при этом пол вагона по ходу погрузчика должен выстилаться металлическими листами толщиной 3 - 4 мм.
(в ред. Изменения N 4, введенного в действие Постановлением Госстандарта РФ от 16.03.1995 N 145)
Схемы укладки и скрепления чушек припоев в пакеты приведены в Приложении 4.
(в ред. Изменения N 4, введенного в действие Постановлением Госстандарта РФ от 16.03.1995 N 145)
При транспортировании воздушным транспортом чушки упаковывают в плотные дощатые ящики типа II-1 по ГОСТ 2991-85, размерами по ГОСТ 21140-88, выстланные изнутри полиэтиленовой пленкой по ГОСТ 10354-82. Масса брутто ящиков - не более 60 кг.
(в ред. Изменения N 3, утв. Постановлением Госстандарта СССР от 06.07.1990 N 2139)
(Измененная редакция, Изм. N 1, 2).
5.2. Транспортная маркировка - по ГОСТ 14192-77.
5.3. Чушки припоев транспортируют транспортом всех видов в крытых транспортных средствах в соответствии с правилами перевозок грузов, действующими на транспорте данного вида и условиями погрузки и крепления, утвержденными Министерством путей сообщения СССР.
(в ред. Изменения N 3, утв. Постановлением Госстандарта СССР от 06.07.1990 N 2139)
5.2, 5.3. (Измененная редакция, Изм. N 1).
Разд. 6 (Исключен, Изм. N 1).
Приложение 1
Справочное
ФИЗИКО-МЕХАНИЧЕСКИЕ СВОЙСТВА ПРИПОЕВ
────────────┬───────────┬──────┬───────┬───────┬───────┬──────┬───────┬─────
Марка припоя│Температура│Плот- │Удель- │Тепло- │Времен-│Отно- │Ударная│Твер-
│ плавления,│ность,│ное │провод-│ное │си- │вяз- │дость
│ °C │г/см3 │элект- │ность, │сопро- │тель- │кость, │по
├─────┬─────┤ │росо- │ккал/см│тивле- │ное │кгс/см2│Бри-
│соли-│лик- │ │против-│x с x │ние │удли- │ │неллю
│дус │видус│ │ление, │град │разры- │нение,│ │НВ
│ │ │ │Ом x │ │ву, │% │ │
│ │ │ │мм2/м │ │кгс/мм2│ │ │
────────────┼─────┼─────┼──────┼───────┼───────┼───────┼──────┼───────┼─────
ПОС 90 │ 183 │ 220 │ 7,6 │ 0,120 │ 0,130 │ 4,9 │ 40 │ 4,2 │15,4
ПОС 61 │ 183 │ 190 │ 8,5 │ 0,139 │ 0,120 │ 4,3 │ 46 │ 3,9 │14,0
ПОС 40 │ 183 │ 238 │ 9,3 │ 0,159 │ 0,100 │ 3,8 │ 52 │ 4,0 │12,5
ПОС 10 │ 268 │ 299 │ 10,8 │ 0,200 │ 0,084 │ 3,2 │ 44 │ 3,2 │12,5
ПОС 61М │ 183 │ 192 │ 8,5 │ 0,143 │ 0,117 │ 4,5 │ 40 │ 1,1 │14,9
ПОСК 50-18 │ 142 │ 145 │ 8,8 │ 0,133 │ 0,130 │ 4,0 │ 40 │ 4,9 │14,0
ПОССу 61-0,5│ 183 │ 189 │ 8,5 │ 0,140 │ 0,120 │ 4,5 │ 35 │ 3,7 │13,5
ПОССу 50-0,5│ 183 │ 216 │ 8,9 │ 0,149 │ 0,112 │ 3,8 │ 62 │ 4,4 │13,2
ПОССу 40-0,5│ 183 │ 235 │ 9,3 │ 0,169 │ 0,100 │ 4,0 │ 50 │ 4,0 │13,0
ПОССу 35-0,5│ 183 │ 245 │ 9,5 │ 0,172 │ 0,100 │ 3,8 │ 47 │ 3,9 │13,3
ПОССу 30-0,5│ 183 │ 255 │ 8,7 │ 0,179 │ 0,090 │ 3,6 │ 45 │ 3,9 │13,2
ПОССу 25-0,5│ 183 │ 266 │ 10,0 │ 0,182 │ 0,090 │ 3,6 │ 45 │ 3,9 │13,6
ПОССу 18-0,5│ 183 │ 277 │ 10,2 │ 0,198 │ 0,084 │ 3,6 │ 50 │ 3,6 │ -
ПОСу 95-5 │ 234 │ 240 │ 7,3 │ 0,145 │ 0,110 │ 4,0 │ 46 │ 5,5 │18,0
ПОССу 40-2 │ 185 │ 229 │ 9,2 │ 0,172 │ 0,100 │ 4,3 │ 48 │ 2,8 │14,2
ПОССу 35-2 │ 185 │ 243 │ 9,4 │ 0,179 │ 0,090 │ 4,0 │ 40 │ 2,6 │ -
ПОССу 30-2 │ 185 │ 250 │ 9,6 │ 0,182 │ 0,090 │ 4,0 │ 40 │ 2,5 │ -
ПОССу 25-2 │ 185 │ 260 │ 9,8 │ 0,185 │ 0,090 │ 3,8 │ 35 │ 2,4 │ -
ПОССу 18-2 │ 186 │ 270 │ 10,1 │ 0,206 │ 0,081 │ 3,6 │ 35 │ 1,9 │11,7
ПОССу 15-2 │ 184 │ 275 │ 10,3 │ 0,208 │ 0,080 │ 3,6 │ 35 │ 1,9 │12,0
ПОССу 10-2 │ 268 │ 285 │ 10,7 │ 0,208 │ 0,080 │ 3,5 │ 30 │ 1,9 │10,8
ПОССу 8-3 │ 240 │ 290 │ 10,5 │ 0,207 │ 0,081 │ 4,0 │ 43 │ 1,7 │12,8
ПОССу 5-1 │ 275 │ 308 │ 11,2 │ 0,200 │ 0,084 │ 3,3 │ 40 │ 2,8 │10,7
ПОССу 4-6 │ 244 │ 270 │ 10,7 │ 0,208 │ 0,080 │ 6,5 │ 15 │ 0,8 │17,3
Приложение 2
Рекомендуемое
ОБЛАСТИ ПРЕИМУЩЕСТВЕННОГО ПРИМЕНЕНИЯ
ОЛОВЯННО-СВИНЦОВЫХ ПРИПОЕВ
────────────┬─────────────────────────────────────────────────────
Марка припоя│ Область применения
────────────┼─────────────────────────────────────────────────────
ПОС 90 │ Для лужения и пайки внутренних швов пищевой посуды
│и медицинской аппаратуры
ПОС 63 │ Групповая пайка печатного монтажа, пайка на
│автоматизированных линиях волной припоя, окунанием
│с протягиванием
(позиция введена Изменением N 4, введенным в действие
Постановлением Госстандарта РФ от 16.03.1995 N 145)
ПОС 61 │ Для лужения и пайки электро- и радиоаппаратуры,
│печатных схем, точных приборов с высокогерметичными
│швами, где недопустим перегрев
ПОС 40 │ Для лужения и пайки электроаппаратуры, деталей
│из оцинкованного железа с герметичными швами
ПОС 10 │ Для лужения и пайки контактных поверхностей
│электрических аппаратов, приборов, реле, для заливки
│и лужения контрольных пробок топок паровозов
ПОС 61М │ Для лужения и пайки электропаяльниками тонких
│(толщиной менее 0,2 мм) медных проволок, фольги,
│печатных проводников в кабельной, электро- и
│радиоэлектронной промышленности. Применение припоя
│при лужении и пайке в тиглях и ваннах не допускается
ПОСК 50-18 │ Для пайки деталей, чувствительных к перегреву,
│металлизированной керамики, для ступенчатой пайки
│конденсаторов
ПОССу 61-0,5│ Для лужения и пайки электроаппаратуры, пайки
│элементов печатных плат, обмоток электрических машин,
│оцинкованных радиодеталей при жестких требованиях
│к температуре
ПОССу 50-0,5│ Для лужения и пайки авиационных радиаторов, для
│пайки пищевой посуды с последующим лужением пищевым
│оловом
ПОССу 40-0,5│ Для лужения и пайки жести, обмоток электрических
│машин, для пайки монтажных элементов, моточных
│и кабельных изделий, радиаторных трубок, оцинкованных
│деталей холодильных агрегатов
ПОССу 35-0,5│ Для лужения и пайки свинцовых кабельных оболочек
│ электротехнических изделий неответственного
│назначения, тонколистовой упаковки
ПОССу 30-0,5│ Для лужения и пайки листового цинка, радиаторов
ПОССу 25-0,5│ Для лужения и пайки радиаторов
ПОССу 18-0,5│ Для лужения и пайки трубок теплообменников,
│электроламп
ПОСу 95-5 │ Для пайки в электропромышленности, для пайки
│трубопроводов, работающих при повышенных температурах
ПОССу 40-2 │ Для лужения и пайки холодильных устройств,
│тонколистовой упаковки. Припой широкого назначения
ПОССу 30-2 │ Для лужения и пайки в холодильном аппаратостроении,
│электроламповом производстве, автомобилестроении,
│для абразивной пайки
ПОССу 18-2, │ Для пайки в автомобилестроении
ПОССу 15-2, │
ПОССу 10-2 │
ПОССу 8-3 │ Для лужения и пайки в электроламповом производстве
ПОССу 5-1 │ Для лужения и пайки деталей, работающих при
│повышенных температурах, для лужения трубчатых
│радиаторов
ПОССу 4-6 │ Для пайки белой жести, для лужения и пайки деталей
│с закатанными и клепаными швами из латуни и меди,
│для шпатлевки кузовов автомобилей
ПОССу 4-4 │ Для лужения и пайки в автомобилестроении
ПОСК 2-18 │ Для лужения и пайки металлизированных и керамических
│деталей
Примечание. Малосурьмянистые припои рекомендуются для пайки цинковых и оцинкованных деталей.
Приложение 3
Справочное
ФОРМА ЧУШЕК ПРИПОЕВ ВСЕХ МАРОК
(Приложение 3 введено Изменением N 4,
введенным в действие Постановлением
Госстандарта РФ от 16.03.1995 N 145)
Черт. 1
Черт. 2
Черт. 3
Приложение 4
Справочное
(Приложение 4 введено Изменением N 4,
введенным в действие Постановлением
Госстандарта РФ от 16.03.1995 N 145)
Схема укладки и скрепления в пакеты чушек припоев,
приведенных в Приложении 3 (черт. 1 и 2)
--------------------------------
<*> Размер для справок.
Черт. 1
Схема укладки и скрепления в пакеты чушек припоев,
приведенных в Приложении 3 (черт. 3)
--------------------------------
<*> Размер для справок.
1 - упаковочная лента; 2 - замок для скрепления чушек
Черт. 2