Главная // Актуальные документы // ГОСТ (Государственный стандарт)СПРАВКА
Источник публикации
М.: ИПК Издательство стандартов, 1996
Примечание к документу
С 1 июля 2003 года до вступления в силу технических регламентов акты федеральных органов исполнительной власти в сфере технического регулирования носят рекомендательный характер и подлежат обязательному исполнению только в части, соответствующей целям, указанным в
пункте 1 статьи 46 Федерального закона от 27.12.2002 N 184-ФЗ.
Введен в действие с 1 января 1997 года.
Название документа
"ГОСТ 1293.16-93. Сплавы свинцово-сурьмянистые. Методы определения серы"
(введен в действие Постановлением Госстандарта РФ от 19.06.1996 N 388)
"ГОСТ 1293.16-93. Сплавы свинцово-сурьмянистые. Методы определения серы"
(введен в действие Постановлением Госстандарта РФ от 19.06.1996 N 388)
Введен в действие
от 19 июня 1996 г. N 388
МЕЖГОСУДАРСТВЕННЫЙ СТАНДАРТ
СПЛАВЫ СВИНЦОВО-СУРЬМЯНИСТЫЕ
МЕТОДЫ ОПРЕДЕЛЕНИЯ СЕРЫ
Lead-antimony alloys. Methods for determination
of sulphur
ГОСТ 1293.16-93
ОКС 77.120; ОКСТУ 1725
1. Разработан Восточным научно-исследовательским горно-металлургическим институтом цветных металлов (ВНИИцветмет).
Внесен Госстандартом республики Казахстан.
2. Принят Межгосударственным Советом по стандартизации, метрологии и сертификации 15 апреля 1994 г. (Отчет N 2 МГС).
За принятие проголосовали:
┌────────────────────────────────┬───────────────────────────────┐
│ Наименование государства │ Наименование национального │
│ │ органа по стандартизации │
├────────────────────────────────┼───────────────────────────────┤
│Республика Армения │Армгосстандарт │
│Республика Белоруссия │Белстандарт │
│Республика Казахстан │Госстандарт Республики Казах- │
│ │стан │
│Республика Киргизстан │Киргизстандарт │
│Республика Молдова │Молдовастандарт │
│Российская Федерация │Госстандарт России │
│Республика Туркменистан │Главгосинспекция Туркменистана │
│Республика Узбекистан │Узгосстандарт │
│Украина │Госстандарт Украины │
└────────────────────────────────┴───────────────────────────────┘
3.
Постановлением Комитета Российской Федерации по стандартизации, метрологии и сертификации от 19 июня 1996 г. N 388 межгосударственный стандарт ГОСТ 1293.16-93 введен в действие непосредственно в качестве государственного стандарта Российской Федерации с 1 января 1997 г.
4. Введен впервые.
Настоящий стандарт распространяется на свинцово-сурьмянистые сплавы марок УС, УСМ, ССуА по
ГОСТ 1292 и УС-1 по ТУ 48-6-98-86, используемые для производства аккумуляторных батарей, и устанавливает полярографический метод определения серы в интервале массовых долей 0,0006 - 0,01% и йодометрический - в интервале 0,001 - 0,01%.
В настоящем стандарте использованы ссылки на следующие стандарты:
| | ИС МЕГАНОРМ: примечание. Взамен ГОСТ 8.326-89 на территории Российской Федерации с 1 декабря 2001 года введены в действие ПР 50.2.009-94 "ГСИ. Порядок проведения испытаний и утверждения типа средств измерений" (Постановление Госстандарта России от 27.09.2001 N 394-ст). | |
ГОСТ 8.326-89 ГСИ. Метрологическая аттестация средств измерений
ГОСТ 12.1.005-88 ССБТ. Общие санитарно-гигиенические требования к воздуху рабочей зоны
ГОСТ 83-79. Натрий углекислый. Технические условия
ГОСТ 200-76. Натрий фосфорноватистокислый 1-водный. Технические условия
ГОСТ 1292-81. Сплавы свинцово-сурьмянистые. Технические условия
ГОСТ 1293.0-83. Сплавы свинцово-сурьмянистые. Общие требования к методам химического анализа
ГОСТ 2053-77. Натрий сернистый 9-водный. Технические условия
ГОСТ 4167-74. Медь двухлористая 2-водная. Технические условия
ГОСТ 5456-79. Гидроксиламина гидрохлорид. Технические условия
ГОСТ 5583-78. Кислород газообразный технический и медицинский. Технические условия
ГОСТ 9147-80. Посуда и оборудование лабораторные фарфоровые. Технические условия
ГОСТ 10652-73. Соль динатриевая этилендиамин - N, N, N', N' - тетрауксусной кислоты, 2-водная (трилон Б). Технические условия
ГОСТ 10678-76. Кислота ортофосфорная термическая. Технические условия
ГОСТ 14261-77. Кислота соляная особой чистоты. Технические условия
ГОСТ 25086-87. Цветные металлы и их сплавы. Общие требования к методам анализа
ГОСТ 25336-82. Посуда и оборудование лабораторные стеклянные. Типы, основные параметры и размеры
ГОСТ 27068-86. Натрий серноватистокислый (тиосульфат натрия) 5-водный. Технические условия
ГОСТ 29251-91. Посуда лабораторная стеклянная. Бюретки. Часть 1. Общие требования
ТУ 6-09-4711-81. Кальций хлористый плавленый. Технические условия
ТУ 6-09-5319-86. Пирогаллол марки А
ТУ 48-6-98-86. Сплав свинцово-сурьмянистый, марки УС-1 для стартерных аккумуляторных батарей. Технические условия.
3.2. За результат анализа принимают среднее арифметическое результатов двух параллельных определений, расхождение между которыми не превышает допускаемых расхождений при доверительной вероятности Р = 0,95, указанных в методиках анализа.
3.3. Контроль точности анализа осуществляют методом варьирования навесок, методом добавок, сопоставлением результатов анализа, полученных по разным стандартизованным или стандартизованной и аттестованной методикам, по стандартным образцам не реже одного раза в месяц, а также при смене реактивов, растворов, после длительного перерыва в работе.
3.3.1. Контроль точности анализа методом варьирования навесок проводят, сравнивая результаты анализов проб по регламентированной стандартом и измененной навеске. Результаты считают точными, если разность между ними не превышает 0,71 D где D - допускаемое расхождение двух результатов анализа.
3.3.2. Контроль точности анализа методом добавок осуществляется только в случае полярографического определения серы нахождением массовой доли ее в анализируемой пробе после добавления аликвотной части стандартного раствора серы к навеске до проведения анализа.
Среднее арифметическое результатов параллельных определений принимают за массовую долю серы в пробе с добавкой.
Расхождения между результатами параллельных определений в пробе с добавкой не должны превышать допускаемых.
Найденную величину добавки рассчитывают как разность между содержанием определяемого компонента в пробе с добавкой (

) и результатом анализа пробы (

).
Анализ считается точным, если найденная величина добавки отличается от введенной ее величины не более, чем на

,
где

и

- допускаемые расхождения двух результатов анализа для пробы и пробы с добавкой, соответственно.
3.3.3 Контроль точности сопоставлением результатов анализа, полученных разными методами, проводят сравнением результатов анализа одних и тех же проб, полученных по двум разным стандартизованным методикам или по стандартизованной методике и аттестованной по ГОСТ 8.010 и имеющей погрешность, не превышающую погрешность контролируемой методики анализа.
Анализ считают точным, если разность (по модулю) между результатами основного и контрольного методов не превышает

,
где

и

- допускаемые расхождения между результатами анализов основного и контрольного методов, соответственно.
3.3.4. Контроль точности анализа по стандартным образцам проводят путем анализа самого образца.
Среднее арифметическое результатов параллельных определений принимают за воспроизведенную массовую долю серы в стандартном образце.
Анализ проб считается точным, если результаты анализа стандартного образца на содержание серы отличаются от аттестованной характеристики не более, чем на 0,71D, где D - допускаемое расхождение между результатами анализа.
3.3.5. Отчет о проведении анализа должен содержать:
- данные, необходимые для характеристики пробы;
- результаты анализа;
- ссылку на настоящий стандарт;
- описание любых отклонений от нормы, замеченных при проведении анализа;
- указание на проведение в процессе анализа любых операций, не предусмотренных настоящим стандартом.
| | ИС МЕГАНОРМ: примечание. Взамен ГОСТ 8.326-89 на территории Российской Федерации с 1 декабря 2001 года введены в действие ПР 50.2.009-94 "ГСИ. Порядок проведения испытаний и утверждения типа средств измерений" (Постановление Госстандарта России от 27.09.2001 N 394-ст). | |
3.4 Допускается применять методы определения содержания серы с использованием автоматических анализаторов, аттестованных по ГОСТ 8.326, а также применять другую аппаратуру, материалы, посуду и реактивы при условии получения метрологических характеристик не хуже указанных в настоящем стандарте.
4. ТРЕБОВАНИЯ БЕЗОПАСНОСТИ
4.1. Требования безопасности - по
ГОСТ 1293.0 с дополнениями.
4.2. Свинцово-сурьмянистые сплавы, содержащие свинец, сурьму, мышьяк, пожаро- и взрывобезопасны, токсичны в расплавленном состоянии.
4.3. Свинец, мышьяк и их соединения относятся к вредным веществам 1-го класса, сурьма - 2-го класса опасности по
ГОСТ 12.1.005.
4.4. Предельно допускаемые концентрации в воздухе рабочей зоны производственных помещений свинца и его соединений - максимально разовая 0,01 мг/м3, среднесменная - 0,005 мг/м3; сурьмы - 0,5 и 0,2 мг/м3; мышьяковистого ангидрида (по мышьяку) - 0,04 и 0,01 мг/м3 по
ГОСТ 12.1.005.
4.5. Выполнение анализов с использованием ртути должно проводиться в соответствии с санитарными правилами проектирования, эксплуатации и содержания производственных лабораторных помещений, предназначенных для проведения работ со ртутью, ее соединениями и приборами с ртутным заполнением, утвержденными органами здравоохранения.
4.6. При использовании сжатых газов в процессе анализа требуется соблюдать правила устройства и безопасной эксплуатации сосудов, работающих под давлением, утвержденные Госгортехнадзором.
5. ПОЛЯРОГРАФИЧЕСКИЙ МЕТОД ОПРЕДЕЛЕНИЯ СЕРЫ
5.1. Сущность метода
Метод основан на восстановлении соединений серы до сероводорода, отгонке и поглощении его раствором щелочи в присутствии гидроксиламина солянокислого и трилона Б с последующим определением сульфид-ионов в режиме переменно-токовой полярографии с ртутным капающим электродом.
5.2. Аппаратура, реактивы и растворы
Полярограф переменного тока (ПУ-1, ПУ-2 или аналогичных типов).
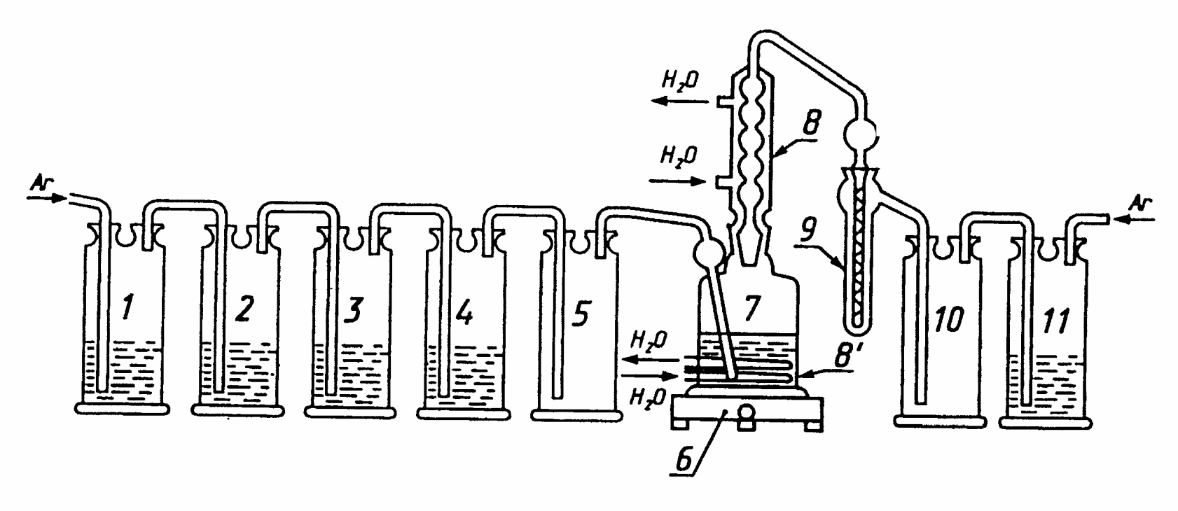
Установка для восстановления соединений серы и отгонки сероводорода (рисунок 1).
Рисунок 1. Установка для восстановления соединений серы
и отгонки сероводорода
1 - 4 - барботеры для очистки аргона;
5, 10 - предохранительные склянки; 6 - электроплитка
с терморегулятором; 7 - реакционный сосуд с
восстановительной смесью; 8, 8' - холодильники;
9 - приемник для улавливания сероводорода;
11 - барботер с дистиллированной водой
Вода бидистиллированная, полученная дополнительной перегонкой дистиллированной воды в кварцевом аппарате. Все растворы реактивов готовят на бидистиллированной воде.
Кислота серная по
ГОСТ 4204, раствор с (

) = 0,05 моль/дм3 (0,1 н.), приготовленный из фиксанала.
Калий хлористый по
ГОСТ 4234, перекристаллизованный, насыщенный раствор.
Натр едкий технический по
ГОСТ 2263, растворы 100 и 250 г/дм3.
Натрий сернистый (натрий сульфид) по
ГОСТ 2053, перекристаллизованный.
Соль динатриевая этилендиамин - N, N, N', N' - тетрауксусной кислоты (трилон Б) по
ГОСТ 10652.
Натрий фосфорноватистокислый (гипофосфит натрия) по
ГОСТ 200.
Гидроксиламина гидрохлорид по
ГОСТ 5456, раствор: 34,7 г гидроксиламина гидрохлорида разбавляют бидистиллированной водой до 250 см3.
Пирогаллол марки А по ТУ 6-09-5319, раствор 250 г/дм3 в растворе 250 г/дм3 едкого натра.
Смесь щелочная, выдержанная не менее двух суток: в мерную колбу вместимостью 1 дм3 приливают 600 см3 свежепрокипяченной и охлажденной бидистиллированной воды, прибавляют 112 г гидроокиси калия, перемешивают до растворения, раствор охлаждают и порциями прибавляют к нему 100 г трилона Б при перемешивании, разбавляют бидистиллированной водой, перемешивают и закрывают притертой пробкой.
Фон полярографический: 80 см3 щелочной смеси помещают в коническую колбу с притертой пробкой вместимостью 250 см3, приливают 20 см3 раствора гидроксиламина гидрохлорида, 150 см3 бидистиллированной воды и перемешивают.
Фон может быть использован в течение 2 суток.
Смесь восстановительная: в реакционную колбу вместимостью 1 - 1,5 дм3 приливают 730 см3 раствора соляной кислоты (1,2:1,0), прибавляют 444 г йодистого калия, 150 г фосфорноватистокислого натрия, 250 мг хлорной меди, 20 см3 ортофосфорной кислоты, перемешивают. Смесь хранят в склянке с притертой пробкой в темном месте. 150 см3 смеси, необходимые для выполнения серии определений, осторожно слитые с осадка солей, очищают от серы кипячением в реакционном сосуде (см.
рисунок 1) с продувкой аргоном со скоростью 25 - 30 пузырьков в 10 с в течение 6 - 8 ч.
Стандартные растворы сульфатной серы:
раствор А: 6,25 см3 раствора серной кислоты помещают в мерную колбу вместимостью 100 см3, доливают до метки свежепрокипяченной бидистиллированной водой и перемешивают.
1 см3 раствора А содержит 100 мкг серы;
раствор Б: 10 см3 раствора А помещают в мерную колбу вместимостью 100 см3, доводят до метки свежепрокипяченной бидистиллированной водой и перемешивают.
1 см3 раствора Б содержит 10 мкг серы;
раствор В: 10 см3 раствора Б помещают в мерную колбу вместимостью 100 см3, доводят до метки свежепрокипяченной бидистиллированной водой и перемешивают.
1 см3 раствора В содержит 1 мкг серы.
Растворы Б и В готовят в день применения.
Стандартные растворы сульфидной серы:
раствор Г: 75 мг кристаллического сернистого натрия помещают в мерную колбу вместимостью 100 см3, приливают полярографический фон до метки, перемешивают до растворения соли.
1 см3 раствора Г содержит 100 мкг серы;
раствор Д: 10 см3 раствора Г помещают в мерную колбу вместимостью 100 см3, доливают до метки полярографическим фоном и перемешивают.
1 см3 раствора Д содержит 10 мкг серы.
Растворы Г и Д готовят в день применения.
5.3. Подготовка к анализу
5.3.1. Собирают установку для восстановления серы и отгонки сероводорода в соответствии с
рисунком 1. В барботеры (1 - 3)заливают по 50 - 100 см3 щелочного раствора пирогаллола, в (4) - едкого натра, в (П) - бидистиллированную воду, (5) и (10) - предохранительные барботеры. В приемник (9) заливают 10 см3 фонового электролита. Штуцер манометра баллона с аргоном соединяют с барботером (1) резиновым шлангом, предварительно прокипяченным в растворе едкого натра (100 г/дм3) и промытым дистиллированной водой. Остальные соединения осуществляют с помощью хлорвиниловых шлангов. Холодильники (8; 8') соединяют с водопроводным краном эластичными резиновыми шлангами.
5.3.2. Проверка герметичности установки
Реакционную колбу (7), обратный холодильник (8) и приемник (9) промывают соляной кислотой и свежепрокипяченной бидистиллированной водой. Собирают установку согласно
5.3.1. В колбу (7) заливают 150 см3 предварительно очищенной восстановительной смеси, а в приемник (9) - 10 см3 полярографического фона. Через установку пропускают поток аргона со скоростью 15 - 20 пузырьков в 10 с. О герметичности установки судят по совпадению скорости прохождения пузырьков аргона в барботерах (1) и (11). Все шлифы установки должны быть слегка смазаны фосфорной кислотой или натерты спектрально чистым графитом.
Если шлифы не герметичны, их пришлифовывают тонким порошком абразива.
5.3.3. Проведение контрольного опыта
Убедившись в герметичности установки, подключают холодильник (8) к водопроводу и включают электроплитку, регулируя нагрев таким образом, чтобы смесь в реакционном сосуде закипела через 8 - 10 мин. С момента закипания восстановительной смеси отгонку сероводорода продолжают в течение 30 мин. Затем приемник (9) отсоединяют от установки, содержимое заливают в электролизер и снимают полярограмму.
Режим полярографирования на ПУ-1: амплитуда - 20 мВ; скорость развертки - 5 мВ/с; диапазон тока - 0,25 - 25; период капания - 3 с; время задержки - 1,9 с; начальное напряжение - 0,60 В. Потенциал пика сульфид-иона составляет около минус 0,8 В относительно насыщенного каломельного электрода.
Ежедневно необходимо перезаряжать анодное отделение электролизера свежим насыщенным раствором хлористого калия, так как вследствие диффузии сульфид-ионов в анодное отделение потенциал пика может постепенно сдвигаться в положительном направлении.
Высоту пика серы измеряют по вертикали, проведенной через вершину пика до пересечения с касательной, проведенной к левой ветке пика или соединяющей основания ветвей пика.
В аналогичных условиях проводят полярографирование растворов, полученных путем восстановления 0,1 - 0,2 мкг сульфатной серы и вычисляют поправку контрольного опыта

по формуле

, (1)
где m - масса серы в стандартном растворе сравнения, мкг;

- высота пика серы в контрольном опыте, мм;
Н - высота пика серы в растворе сравнения, мм.
Установку считают пригодной для работы, если поправка контрольного опыта не превышает 0,1 мкг.
Если же значение контрольного опыта больше, то проводят дополнительную очистку восстановительной смеси непосредственно в реакционном сосуде (7) в токе аргона при кипячении в течение 1 - 2 ч. Затем отсоединяют приемник, промывают его свежепрокипяченной бидистиллированной водой и заливают новую порцию полярографического фона. Отгоняют сероводород в течение 30 мин, регистрируют полярограмму контрольного опыта.
Для двух параллельных значений контрольного опыта разность высот волн сульфид-ионов не должна превышать 10% относительных, в противном случае - очистку восстановительной смеси продолжают до получения устойчивой малой величины контрольного опыта.
Значение поправки контрольного опыта проверяют ежедневно перед началом работы и после каждого перехода от отгонки больших количеств серы к отгонке малых, а также при замене баллона с аргоном, растворов в барботерах.
5.3.4. Проверка правильности работы установки
Правильность работы установки проверяют отгонкой стандартного раствора сульфатной серы. После проведения контрольного опыта восстановительную смесь охлаждают, затем в приемник (9) заливают 10 см3 полярографического фона, а через шлиф холодильника с помощью микропипетки в реакционную колбу (7) вводят 0,2 см3 стандартного раствора (Б) сульфатной серы. Сероводород отгоняют в течение 40 мин с момента включения плитки. Затем раствор из приемника переносят в электролизер и снимают полярограмму, как указано в
5.3.3.
Высоту пика на полярограмме сопоставляют с высотой пика раствора 2 мкг сульфидной серы в 10 см3 раствора (для этого отбирают микропипеткой 0,2 см3 раствора (Д) сульфидной серы, разбавляют полярографическим фоном в узком мерном цилиндре до 10 см3). Разница высот обоих пиков не должна превышать 10% отн. Если расхождение больше, а раствор сульфатной серы дает более низкие пики, то необходимо промыть холодильник свежепрокипяченной бидистиллированной водой и повторить определение. Окисление йодистоводородной кислоты из внутренней поверхности трубки обратного холодильника в то время, когда установка не работает, является частой причиной занижения результатов определения серы. Если раствор серы сульфатной дает значительно более высокие пики, то проверяют поправку контрольного опыта согласно
5.3.3.
5.4. Проведение анализа
Навеску измельченной пробы массой 0,100 г вносят через шлиф холодильника в реакционный сосуд. В приемник заливают 10 см3 полярографического фона. Присоединяют холодильник (8), включают электроплитку (6), вытесняют воздух из системы, проверяя герметичность установки, согласно
5.3.2. По мере нагревания восстановительной смеси наблюдают за растворением пробы. Скорость барботажа снижают до 10 пузырьков в 10 с в начале растворения и доводят ее до 20 - 25 пузырьков в 10 с в конце растворения пробы. После полного растворения навески отгонку сероводорода ведут из кипящей смеси в течение 30 мин. Затем отключают электроплитку, отсоединяют приемник от патрубка холодильника (8) и предохранительной склянки (10), поглотительный раствор заливают в электролизер и полярографируют сульфид-ион согласно
5.3.3.
Охлаждают реакционную колбу, патрубок холодильника и приемник дважды промывают прокипяченной бидистиллированной водой, заливают в приемник 10 см3 фонового электролита и присоединяют приемник.
В реакционный сосуд вносят 0,1 - 2,0 см3 стандартного раствора (Б) или (В) сульфатной серы (в зависимости от содержания серы в анализируемой пробе) и проводят отгонку сероводорода после закипания смеси в течение 30 мин с последующей регистрацией полярограммы в условиях, аналогичных условиям полярографирования пробы.
С одной порцией восстановительной смеси (150 см3) можно последовательно проводить определение серы в 2,5 г свинцово-сурьмянистого сплава.
5.5. Обработка результатов
5.5.1. Массовую долю серы (Х) в процентах вычисляют по формуле

, (2)
где m - масса серы в растворе сравнения, мкг;
Н - высота пика серы раствора пробы, мм;

- высота пика серы контрольного опыта, мм;

- высота пика серы раствора сравнения, мм;

- масса навески пробы, г.
5.5.2. Абсолютные значения разностей результатов двух параллельных определений (сходимость) и результатов двух анализов (воспроизводимость) с доверительной вероятностью Р = 0,95 не должны превышать значений допускаемых расхождений, указанных в таблице 1.
Таблица 1
Допускаемые расхождения
В процентах
┌──────────────────┬─────────────────────────────────────────────┐
│Массовая доля серы│Допускаемое расхождение параллельных опреде- │
│ │лений и результатов анализа │
├──────────────────┼─────────────────────────────────────────────┤
│ 0,0006 │ 0,0002 │
│ 0,0010 │ 0,0004 │
│ 0,0030 │ 0,0007 │
│ 0,0060 │ 0,0010 │
│ 0,0100 │ 0,0016 │
└──────────────────┴─────────────────────────────────────────────┘
Допускаемое расхождение для промежуточных массовых долей серы рассчитывают методом линейной интерполяции.
5.5.3. Контроль точности анализа - по
3.3.1 (масса измененной навески 0,200 г),
3.3.3 и в соответствии с
3.3.2 после добавления отмеренного пипеткой стандартного раствора сульфатной серы к пробе до проведения анализа.
Величину добавки (объем стандартного раствора) выбирают таким образом, чтобы высота пика серы увеличилась в 1,3 - 2 раза.
6. ЙОДОМЕТРИЧЕСКИЙ МЕТОД ОПРЕДЕЛЕНИЯ СЕРЫ
6.1. Сущность метода
Метод основан на сжигании навески свинцово-сурьмянистого сплава в токе кислорода при 1200 °С, поглощении образующегося диоксида серы водой и титровании сернистой кислоты раствором йода в присутствии крахмала.
6.2. Аппаратура, реактивы и растворы
Установка для определения содержания серы (рисунок 2).
Рисунок 2. Установка для определения серы
1 - 2 - барботеры для очистки кислорода;
3 - осушительная колонка; 4 - потенциометр; 5 - термопара;
6 - трубчатая печь; 7 - фарфоровая неглазурованная лодочка;
8 - фарфоровая неглазурованная трубка; 9 - пылеуловитель;
10 - микробюретка; 11 - абсорбционный аппарат
Лодочки фарфоровые неглазурованные по
ГОСТ 9147.
Стандартный образец меди, железа или стали (нелегированной) с массовой долей серы 0,002 - 0,2%.
Кислота серная по
ГОСТ 4204, разбавленная 5:100.
Калий йодистый по
ГОСТ 4232, раствор 50 г/дм3.
Калий марганцовокислый по
ГОСТ 20490, раствор 40 г/дм3 в растворе гидроокисей калия или натрия.
Калий двухромовокислый по
ГОСТ 4220, раствор с (

)=0,025 моль/дм3 (0,025 н.); готовят из фиксанала или следующим образом: 1,226 г перекристаллизованного и высушенного при температуре 170 °С двухромовокислого калия помещают в мерную колбу вместимостью 1 дм3, доливают водой до метки и перемешивают.
Кальций хлористый плавленый по ТУ 6-09-4711.
Натрий углекислый безводный по
ГОСТ 83.
Крахмал растворимый по
ГОСТ 10163, раствор 0,5 г/дм3, подкисленный соляной кислотой (15 см3 кислоты на 1 дм3 раствора).
Натрий серноватистокислый (тиосульфат натрия) по ГОСТ 2706, растворы с (

) = 0,025 моль/дм3 (0,025 н.) и 0,001 моль/дм3 (0,001 н.).
Раствор 0,025 моль/дм3 готовят за 2 - 3 суток до применения следующим образом: 6,2 г серноватистокислого натрия растворяют в 100 см3 свежепрокипяченной и охлажденной воды, прибавляют 0,2 г безводного углекислого натрия, доливают водой до 1 дм3 и тщательно перемешивают.
Концентрацию раствора устанавливают следующим образом: в коническую колбу вместимостью 250 см3 наливают 10 см3 раствора серной кислоты, 10 см3 раствора йодистого калия, отмеривают пипеткой 25 см3 раствора двухромовокислого калия и осторожно перемешивают. Колбу закрывают пришлифованной пробкой и оставляют в темном месте на 8 - 10 мин. Доливают воды до объема 70 - 80 см3 и титруют выделившийся йод раствором серноватистокислого натрия до тех пор, пока цвет раствора на станет светло-желтым, приливают 10 см3 раствора крахмала и продолжают титрование до исчезновения сине-голубой окраски.
Концентрацию раствора (

) серноватистокислого натрия вычисляют по формуле

, (3)
где V - объем раствора серноватистокислого натрия, израсходованный на титрование, см3.
Концентрацию раствора устанавливают по трем аликвотным частям раствора двухромовокислого калия.
Раствор 0,001 моль/дм3 готовят следующим образом: 10 см3 раствора с концентрацией 0,025 моль/дм3, отмеренного пипеткой, помещают в мерную колбу вместимостью 250 см3, доливают свежепрокипяченной и охлажденной водой до метки и перемешивают. Раствор готовят в день применения.
Концентрацию раствора (

) вычисляют по формуле

, (4)
Йод по
ГОСТ 4159, раствор с (

) = 0,001 моль/дм3 (0,001 н.), готовят из фиксанала или следующим образом: 0,127 г йода растворяют в 50 см3 раствора йодистого калия и разбавляют раствор водой до 1 дм3. Раствор хранят в склянке из темного стекла.
Массовую концентрацию раствора йода (титр раствора йода по сере) устанавливают по трем навескам стандартного образца с аттестованным содержанием серы. Анализ выполняют по 6.4.
Титр раствора йода по сере (Т) в г/см3 вычисляют по формуле

, (5)
где с - массовая доля серы в стандартном образце, %;
V - объем раствора йода, израсходованный на титрование, см3;
m - масса стандартного образца, г.
При отсутствии стандартного образца концентрацию раствора йода устанавливают следующим образом: в колбу вместимостью 250 см3 наливают 50 - 60 см3 воды и приливают отмеренные пипеткой 25 см3 0,001 моль/дм3 раствора йода, перемешивают и титруют 0,001 моль/дм3 раствором серноватистокислого натрия до тех пор, пока цвет раствора не станет светло-желтым, приливают 10 см3 раствора крахмала и продолжают титрование до исчезновения сине-голубой окраски.
Титр раствора йода по сере (Т), г/см3, вычисляют по формуле

, (6)
где V - объем раствора серноватистокислого натрия, израсходованный на титрование, см3;
16,03 - масса эквивалента серы.
6.3. Подготовка к анализу
6.3.1. Собирают установку для определения серы согласно
рисунку 2.
В барботеры (1 - 2) заливают 50 - 100 см3 щелочного раствора марганцовокислого калия, в (3) - засыпают на 3/4 хлористый кальций, а сверху наполняют слоем ваты; пылеуловитель (8) заполняют также ватой. Все соединения осуществляют с помощью резиновых шлангов, стеклянных трубок, вставленных в резиновые пробки.
Горизонтальная трубчатая печь (6) оборудована селитовыми стержнями, обеспечивающими нагревание до 1200 °С. Печь снабжена платино-платинородиевой термопарой (5) и гальванометром, электронным потенциометром (4) типа КСП-2.
В печь вставляется фарфоровая неглазурованная трубка (7) внутренним диаметром 15 - 20 мм и такой длины, чтобы концы ее выступали из печи на 180 - 200 мм. Трубка должна быть прокалена при 1200 °С в токе кислорода.
Фарфоровые неглазурованные лодочки длиной 70 - 130 мм, шириной 7 - 12 мм и высотой 5 - 10 мм также должны быть прокалены при 1200 °С в атмосфере кислорода и проверены на содержание серы в условиях проведения анализа; хранить их следует в эксикаторе.
Абсорбционный аппарат состоит из двух одинаковых сосудов диаметром 30 - 40 мм, высотой 250 мм, соединенных стеклянными перемычками. Внутри одного из сосудов проходит диспергатор в виде закрытой воронки (или шарика) со множеством мелких отверстий.
Перед началом выполнения определений в каждый сосуд наливают по 50 см3 воды, по 10 см3 раствора крахмала и по несколько капель раствора йода до одинакового голубого окрашивания. Один из сосудов служит для контроля при титровании в другом поглотительном сосуде.
6.3.2. Собранную установку для определения серы проверяют при 1200 °С на герметичность. Для этого открывают баллон и пропускают через систему кислород со скоростью 10 - 20 пузырьков в минуту, зажимом отсоединяют фарфоровую трубку от поглотительного сосуда и, если через 3 - 5 мин пузырьки не выделяются, установку считают герметичной.
6.3.3. Установку проверяют на наличие летучих восстановителей. Для этого в оба сосуда абсорбционного аппарата наливают по 50 см3 воды, по 10 см3 раствора крахмала и по несколько капель раствора йода до одинакового голубого окрашивания. Установку герметизируют, пропускают ток кислорода со скоростью 50 - 60 пузырьков в минуту при нагревании печи до 1200 °С. Если окраска раствора в поглотительном сосуде исчезает, то приливают по каплям раствор йода из микробюретки до тех пор, пока голубая окраска раствора не станет одинаковой по интенсивности с окраской раствора в правом сосуде.
6.4. Проведение анализа
Навеску измельченной пробы массой 1,000 г распределяют равномерно по дну предварительно прокаленной и охлажденной в эксикаторе лодочки для сжигания.
Лодочку с навеской при помощи длинного крючка из стальной проволоки диаметром 2 - 3 мм помещают в наиболее нагретую зону фарфоровой трубки. Систему быстро герметизируют, закрывая трубку пробкой. Сжигание ведут в токе кислорода, подаваемого с такой скоростью, чтобы уровень поглотительной смеси в левом сосуде абсорбционного аппарата поднимался на дополнительную высоту 1,5 - 2 см. По мере обесцвечивания раствора в поглотительном сосуде отходящими из печи газами приливают из микробюретки раствор йода с такой скоростью, чтобы голубая окраска раствора не исчезала. Сжигание серы считают законченным, если окраска раствора в поглотительном сосуде остается постоянной и одинаковой по интенсивности с окраской раствора в правом сосуде при пропускании кислорода еще в течение 1 мин.
6.5. Обработка результатов
6.5.1. Массовую долю серы (Х), %, вычисляют по формуле

, (7)
где V - объем раствора йода, израсходованный на титрование, см3;
Т - титр раствора йода по сере, г/см3;
m - масса навески пробы, г.
6.5.2. Абсолютные значения разностей результатов двух параллельных определений (d - сходимость) и результатов двух анализов (D - воспроизводимость) с доверительной вероятностью Р = 0,95 не должны превышать значений допускаемых расхождений, указанных в таблице 2.
Таблица 2
Допускаемые расхождения
В процентах
┌──────────────────────────┬──────────────────┬──────────────────┐
│ Массовая доля серы │ d │ D │
├──────────────────────────┼──────────────────┼──────────────────┤
│ 0,0010 │ 0,0004 │ 0,0005 │
│ 0,0030 │ 0,0007 │ 0,0010 │
│ 0,0060 │ 0,0010 │ 0,0014 │
│ 0,0100 │ 0,0017 │ 0,0020 │
└──────────────────────────┴──────────────────┴──────────────────┘
Допускаемые расхождения для промежуточных массовых долей серы рассчитывают методом линейной интерполяции.
6.5.3. Контроль точности анализа - по
3.3.1 (масса измененной навески 0,500 г);
3.3.3;
3.3.4.
6.6. Оформление результатов
6.6.1. Оформление результатов анализа - согласно
3.3.5.