Главная // Актуальные документы // ГОСТ (Государственный стандарт)СПРАВКА
Источник публикации
М.: Издательство стандартов, 1984
Примечание к документу
Документ утратил силу в связи с изданием
Постановления Госстроя СССР от 28.12.89 N 163.
С 1 июля 2003 года до вступления в силу технических регламентов акты федеральных органов исполнительной власти в сфере технического регулирования носят рекомендательный характер и подлежат обязательному исполнению только в части, соответствующей целям, указанным в
пункте 1 статьи 46 Федерального закона от 27.12.2002 N 184-ФЗ.
Документ
введен в действие с 1 января 1985 года.
Название документа
"ГОСТ 26071-84. Государственный стандарт Союза ССР. Стойки железобетонные вибрированные для опор воздушных линий электропередачи напряжением 0,38 кВ. Технические условия"
(утв. и введен в действие Постановлением Госстроя СССР от 22.12.1983 N 329)
"ГОСТ 26071-84. Государственный стандарт Союза ССР. Стойки железобетонные вибрированные для опор воздушных линий электропередачи напряжением 0,38 кВ. Технические условия"
(утв. и введен в действие Постановлением Госстроя СССР от 22.12.1983 N 329)
Утвержден и введен в действие
Постановлением Государственного
комитета СССР по делам строительства
от 22 декабря 1983 г. N 329
ГОСУДАРСТВЕННЫЙ СТАНДАРТ СОЮЗА ССР
СТОЙКИ ЖЕЛЕЗОБЕТОННЫЕ ВИБРИРОВАННЫЕ ДЛЯ ОПОР ВОЗДУШНЫХ
ЛИНИЙ ЭЛЕКТРОПЕРЕДАЧИ НАПРЯЖЕНИЕМ 0,38 КВ
ТЕХНИЧЕСКИЕ УСЛОВИЯ
ГОСТ 26071-84
Группа Ж33
ОКП 58 6300
Постановлением Государственного комитета СССР по делам строительства от 22 декабря 1983 г. N 329 срок введения установлен
с 1 января 1985 года
Разработан:
Министерством энергетики и электрификации СССР;
Научно-исследовательским институтом бетона и железобетона (НИИЖБ) Госстроя СССР.
Исполнители:
В.М. Ударов, канд. техн. наук (руководитель темы); Г.И. Бердичевский, д-р техн. наук; Л.Н. Зикеев, канд. техн. наук; В.И. Деньщиков.
Внесен Министерством энергетики и электрификации СССР:
Зам. министра Ф. В. Сапожников.
Утвержден и введен в действие Постановлением Государственного комитета СССР по делам строительства от 22 декабря 1983 г. N 329.
Настоящий стандарт распространяется на железобетонные предварительно-напряженные стойки, изготовляемые из тяжелого бетона методом вибрирования и предназначенные для опор воздушных линий электропередачи напряжением 0,38 кВ.
Стойки предназначены для применения:
при расчетной температуре наружного воздуха (средней температуре воздуха наиболее холодной пятидневки района строительства согласно
СНиП 2.01.01-82) до минус 55 °C включительно;
в I - VI районах по скоростному напору ветра и в I - IV и особом районах по толщине стенки гололеда согласно Правилам устройства электроустановок (ПУЭ), утвержденным Минэнерго СССР;
в газовой среде с неагрессивной степенью воздействия, грунтах и грунтовых водах с неагрессивной, слабо- и среднеагрессивной степенями воздействия на железобетонные конструкции;
при сейсмичности площадки строительства до 9 баллов включительно.
Стойки, предназначенные для эксплуатации в условиях воздействия агрессивных грунтов и грунтовых вод, должны удовлетворять дополнительным требованиям, установленным проектной документацией согласно требованиям
СНиП II-28-73 и указанным в заказе на изготовление стоек.
Показатели технического уровня, установленные настоящим стандартом, предусмотрены для высшей и первой категорий качества.
1. ОСНОВНЫЕ ПАРАМЕТРЫ И РАЗМЕРЫ
1.1. Форма и размеры стоек, а также их показатели материалоемкости должны соответствовать указанным на
черт. 1 и
2 и приведенным в
табл. 1.
1 - верхний заземляющий проводник; 2 - нижний заземляющий
проводник; 3 - монтажная петля; 4 - штырь
1 - верхний заземляющий проводник; 2 - нижний заземляющий
проводник; 4 - штырь; 5 - шайба
Марка стойки | Основные размеры стойки, мм | Расчетный изгибающий момент, кН · м (тс · м) | Расход материалов на одну стойку | Масса стойки (справочная), т | Код ОКП |
| | | | | | Бетон, м3 | Сталь, кг |
СВ95-1 | 165 | 150 | 165 | 240 | 14,7 (1,5) | 7,8 (0,8) | 0,3 | 27,9 | 0,75 | 58 6311 0084 |
СВ95-1-а | 29,9 | 58 6311 0085 |
СВ95-2 | 19,6 (2,0) | 11,8 (1,2) | 27,9 | 58 6311 0086 |
СВ95-2-а | 29,9 | 58 6311 0087 |
СВ105 | 200 | 180 | 190 | 280 | 49,0 (5,0) | 26,5 (2,7) | 0,47 | 53,2 | 1,18 | 58 6311 0281 |
Примечание. На действующем оборудовании допускается изготовлять до 1 января 1987 г. стойки длиной 9500 мм и размерами поперечного сечения:  ,  ,  ,  . |
1.2. Несущая способность стоек, характеризуемая значениями расчетных изгибающих моментов в плоскости размеров поперечного сечения

и

, приведена в
табл. 1. Расчетные поперечные сечения стоек приняты: в стойках длиной 9,5 м - на расстоянии 1,8 м от комля, длиной 10,5 м - на расстоянии 2,5 м от комля.
1.3. Стойки изготовляют с верхним и нижним заземляющими проводниками, соединенными сваркой с выпусками напрягаемой арматуры длиной 50 мм.
В случаях, предусмотренных проектной документацией, стойки могут иметь отверстия для крепления анкерных плит.
1.4. Допускается изготовлять стойки с технологическим уклоном торцевых граней, не превышающим 1:10.
1.5. Стойки обозначают марками в соответствии с требованиями
ГОСТ 23009-78.
Марка стоек состоит из одной, двух или трех буквенно-цифровых групп, разделенных дефисами.
Первая группа содержит буквенное обозначение наименования стойки СВ (стойка вибрированная) и ее длину в дециметрах. Во второй группе указывают условное обозначение несущей способности стойки.
В третьей группе марки обозначают строчными буквами: "а" - наличие в стойках закладных изделий (штырей) и отверстий для крепления проводов; "б" - наличие в стойках отверстий для крепления анкерных плит. Для стоек, предназначенных к применению в районах с расчетной температурой наружного воздуха ниже минус 40 °C или при наличии агрессивных грунтов и грунтовых вод, в третью группу марки включают также соответствующие обозначения характеристик, обеспечивающих долговечность стоек в условиях эксплуатации. Например: М - для стоек, применяемых в районах с расчетной температурой наружного воздуха ниже минус 40 °C; для стоек, применяемых в условиях воздействия агрессивных грунтов и грунтовых вод, - характеристики степени плотности бетона (П - повышенная плотность, О - особо плотный).
Пример условного обозначения (марки) стойки длиной 9500 мм с расчетным изгибающим моментом

, равным 14,7 кН · м (1,5 тс · м):
СВ95-1
То же, с расчетным изгибающим моментом

, равным 19,6 кН · м (2,0 тс · м), со штырями и отверстиями для крепления проводов и анкерных плит, применяемой в районах с расчетной температурой наружного воздуха ниже минус 40 °C:
СВ95-2-абМ.
2. ТЕХНИЧЕСКИЕ ТРЕБОВАНИЯ
2.1. Стойки следует изготовлять в соответствии с требованиями настоящего стандарта и технологической документации, утвержденной в установленном порядке, по рабочим чертежам типовых конструкций серии 3.407.1-136.
по заводской готовности;
по прочности, жесткости и трещиностойкости;
по показателям фактической прочности бетона (в проектном возрасте, передаточной и отпускной);
по морозостойкости и водонепроницаемости бетона;
к бетону, а также к материалам для приготовления бетона стоек, применяемых в условиях воздействия агрессивных грунтов и грунтовых вод;
к качеству материалов, применяемых для приготовления бетона;
к форме и размерам арматурных и закладных изделий и их положению в стойке;
к маркам сталей для арматурных и закладных изделий, в том числе для монтажных петель;
по отклонению толщины защитного слоя бетона;
по защите от коррозии;
по применению форм для изготовления стоек.
2.3. Стойки следует изготовлять из тяжелого бетона класса по прочности на сжатие В25.
2.4. Коэффициент вариации прочности бетона в партии для стоек высшей категории качества должен быть не более 9%.
2.5. Значение нормируемой передаточной прочности бетона должно быть не менее 80% класса бетона по прочности на сжатие.
2.6. Значение нормируемой отпускной прочности бетона должно быть не менее (в процентах от класса бетона по прочности на сжатие):
80 - при монтаже стоек в период с расчетной температурой наружного воздуха пятидневки в районе строительства выше минус 5 °C;
90 - то же, минус 5 °C и ниже.
2.7. Качество материалов, применяемых для приготовления бетона, должно соответствовать требованиям:
портландцемент - ГОСТ 10178-76;
сульфатостойкий портландцемент - ГОСТ 22266-76;
2.8. Марки бетона стоек по морозостойкости и водонепроницаемости должны быть не менее указанных в табл. 2.
Таблица 2
Расчетная температура наружного воздуха наиболее холодной пятидневки согласно СНиП 2.01.01-82 | Проектная марка бетона |
по морозостойкости | по водонепроницаемости |
Ниже минус 40 °C | Мрз 200 | W4 |
Ниже минус 20 до минус 40 °C включ. | Мрз 150 | W2 |
Ниже минус 5 до минус 20 °C включ. | Мрз 100 | Не нормируется |
Минус 5 °C и выше | Мрз 75 | То же |
2.9. В качестве напрягаемой арматуры стоек следует применять термомеханически и термически упрочненную сталь классов Ат-VI И Ат-IV ПО ГОСТ 10884-81.
2.10. В качестве поперечной арматуры (спирали) следует применять арматурную проволоку класса Вр-I по
ГОСТ 6727-80.
В стойках первой категории качества допускается применять арматурную проволоку класса В-1 по
ГОСТ 6727-80.
2.11. Для заземляющих проводников следует применять арматурную сталь класса А-I по
ГОСТ 5781-82.
2.12. Значения фактических отклонений напряжений в напрягаемой арматуре не должны превышать при натяжении арматуры:
электромеханическим способом ................... 68,6 МПа (700 кгс/см2)
механическим способом .......................... +/- 5%
2.13. Концы напрягаемой арматуры не должны выступать за торцевые поверхности стоек более чем на 15 мм (за исключением выпусков арматуры, указанных в
п. 1.3) и должны быть защищены от коррозии.
2.14. Значения действительных отклонений геометрических параметров стоек не должны превышать предельных, указанных в табл. 3.
Таблица 3
мм
Вид отклонения геометрического параметра | Геометрический параметр | Пред. откл. для стоек категории качества |
первой | высшей |
Отклонение от линейного размера | Длина стойки | +/- 20 | +/- 20 |
Ширина и высота поперечного сечения стойки | +/- 4 | +/- 2,5 |
Длина закладного изделия (штыря) | +/- 5 | +/- 5 |
Диаметр отверстия в стойке | +/- 2,5 | +/- 2,5 |
Положение отверстий и закладных изделий (штырей) | 5 | 3 |
Отклонение от прямолинейности | Прямолинейность профиля поверхности стойки: | | |
на длине 2500 | 3 | 3 |
на всей длине стойки | 12 | 12 |
Отклонение от перпендикулярности | Перпендикулярность оси отверстия и стойки | 0,01 длины отверстия | 0,01 длины отверстия |
2.15. Действительное отклонение толщины защитного слоя бетона до арматуры стоек высшей категории качества не должно превышать +/-3 мм.
2.16. Категория бетонных поверхностей стоек - А6.
Требования к качеству поверхностей и внешнему виду стоек (в том числе требования к допустимой ширине раскрытия технологических трещин) - по
ГОСТ 13015.0-83.
Ширина усадочных и других поверхностных технологических трещин в бетоне стоек высшей категории качества не должна превышать 0,05 мм.
3.1. Приемку стоек следует проводить партиями в соответствии с требованиями
ГОСТ 13015.1-81 и настоящего стандарта.
Число стоек в партии должно быть не более 300.
3.2. Приемку стоек по показателям их прочности, жесткости и трещиностойкости, по морозостойкости и водонепроницаемости бетона, а также по водопоглощению бетона стоек, предназначенных для применения в условиях воздействия агрессивных грунтовых вод, следует проводить по результатам периодических испытаний.
3.3. Приемку стоек по показателям прочности бетона (классу по прочности на сжатие, передаточной и отпускной прочности), соответствия арматурных и закладных изделий проектной документации, прочности сварных соединений, точности геометрических параметров, толщины защитного слоя бетона до арматуры, ширины раскрытия трещин, категории бетонной поверхности следует проводить по результатам приемо-сдаточных испытаний и контроля.
3.4. В случае, если при проверке будет установлено, что фактическая отпускная прочность бетона стоек ниже требуемой отпускной прочности, то поставку стоек потребителю следует проводить после достижения бетоном прочности, соответствующей классу бетона по прочности на сжатие.
3.5. Приемку стоек по показателям точности геометрических параметров, толщины защитного слоя бетона до арматуры, качества бетонных поверхностей, контролируемым путем измерений, следует осуществлять по результатам одноступенчатого выборочного контроля.
4. МЕТОДЫ КОНТРОЛЯ И ИСПЫТАНИЙ
4.1. Испытание стоек нагружением для определения их прочности, жесткости и трещиностойкости следует проводить по достижении бетоном класса по прочности на сжатие.
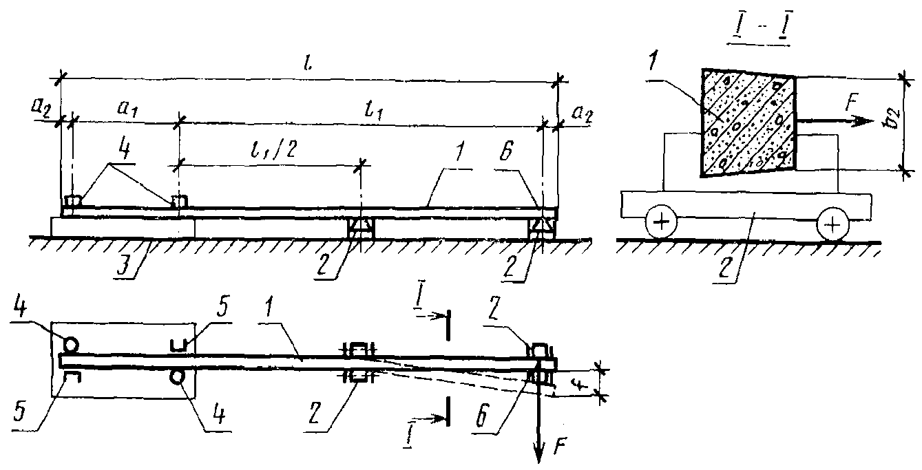
Контроль прочности, жесткости и трещиностойкости стоек следует осуществлять по ГОСТ 8829-77.
Схема опирания и загружения стойки при испытании ее нагружением приведена на
черт. 3. Основные параметры опирания и загружения стойки и значения контрольных нагрузок при проверке прочности, жесткости и трещиностойкости стоек, а также значения контрольных прогибов стоек приведены в
табл. 4.
1 - испытываемая стойка; 2 - подвижная опора;
3 - бетонная площадка; 4 - упор; 5 - фиксатор;
6 - место приложения нагрузки
Черт. 3. Схема испытания стоек нагружением
Марка стойки | Размеры, м | Контрольная нагрузка F, кН (кгс), по проверке | Контрольный прогиб стойки f, мм |
l | | | | прочности | жесткости | трещиностойкости |
СВ95-1 | 9,5 | 7,5 | 1,6 | 0,2 | 2,75(280) | 1,96(200) | 1,57(160) | 300 |
СВ95-1-а |
СВ95-2 | 9,5 | 7,5 | 1,6 | 0,2 | 3,63(370) | 2,45(250) | 1,96(200) | 350 |
СВ95-2-а |
СВ105 | 10,5 | 7,8 | 2,3 | 0,2 | 8,83(900) | 6,28(640) | 5,30(540) | 400 |
Контрольная (предельно допустимая) ширина раскрытия трещин на поверхности стоек при их испытании на трещиностойкость равна 0,1 мм для стоек, армированных арматурной сталью класса Ат-VI, и 0,25 мм для стоек, армированных арматурной сталью класса Ат-IV.
4.2. Прочность бетона стоек следует определять по ГОСТ 10180-78 на серии образцов, изготовленных из бетонной смеси рабочего состава.
При испытании стоек неразрушающими методами фактическую прочность бетона на сжатие следует определять:
ультразвуковым методом по ГОСТ 17624-78;
4.3. Морозостойкость бетона следует определять по ГОСТ 10060-76.
4.4. Водонепроницаемость бетона следует определять на серии образцов, изготовленных из бетонной смеси рабочего состава, согласно
ГОСТ 12730.0-78 и ГОСТ 12730.5-78.
4.5. Водопоглощение бетона стоек, предназначенных для применения в условиях воздействия агрессивных грунтовых вод, следует определять по
ГОСТ 12730.0-78 и
ГОСТ 12730.3-78 на серии образцов, изготовленных из бетонной смеси рабочего состава.
4.6. Методы контроля и испытаний арматурных и закладных изделий - по
ГОСТ 10922-75.
4.7. Измерение контролируемого натяжения напрягаемой арматуры производят в соответствии с требованиями
ГОСТ 22362-77.
4.8. Методы контроля и испытаний исходных сырьевых материалов, применяемых для приготовления стоек, должны соответствовать установленным стандартами или техническими условиями на эти материалы.
4.9. Размеры и отклонение от прямолинейности стоек, расположение напрягаемой арматуры, качество бетонных поверхностей стоек, толщину защитного слоя бетона до арматуры проверяют методами, установленными ГОСТ 13015-75.
5. МАРКИРОВКА, ХРАНЕНИЕ И ТРАНСПОРТИРОВАНИЕ
5.1. Маркировка стоек - по
ГОСТ 13015.2-81. На поверхности каждой стойки на расстоянии 3 м от нижнего их торца наносят контрольную метку (при изготовлении стойки) в виде вдавленного на 6 мм треугольника со сторонами размером 50 мм. Выше контрольной метки наносят маркировочные надписи и знаки.
5.2. Требования к документу о качестве стоек, поставляемых потребителю, - по
ГОСТ 13015.3-81.
5.3. Стойки следует хранить в горизонтальном положении в штабелях рассортированными по маркам.
По высоте каждый штабель должен состоять не более чем из шести рядов стоек.
Нижний ряд стоек укладывают на инвентарные подкладки на выровненном основании, последующие ряды - на инвентарные прокладки, высота которых должна быть больше высоты монтажных петель на 20 мм. Прокладки должны быть расположены рядом с монтажными петлями по вертикали одна над другой. Допускается складирование штабеля с применением прокладок толщиной не менее 30 мм и расположением монтажных петель нижнего ряда в промежутках между стойками вышележащего ряда.
5.4. При укладке стоек должна быть обеспечена их сохранность, а также возможность захвата стойки и ее свободный подъем для погрузки. Строповку следует производить инвентарными стропами или специальными захватными приспособлениями.
5.5. Погрузку, крепление и транспортирование стоек на железнодорожном транспорте следует производить в соответствии с требованиями Правил перевозок грузов и Технических условий погрузки и крепления грузов, утвержденных Министерством путей сообщения.
5.6. Перевозка стоек автомобильным транспортом должна производиться на специально оборудованных автоприцепах и опоровозах с надежным их закреплением.
5.7. Работы, связанные с погрузкой, разгрузкой и складированием, следует выполнять с соблюдением мер предосторожности, исключающих возможность повреждения стоек.
Запрещается разгружать стойки со свободным их падением и перемещать их по земле волоком.