Главная // Актуальные документы // ГОСТ (Государственный стандарт)СПРАВКА
Источник публикации
М.: Стандартинформ, 2007
Примечание к документу
Документ утратил силу с 01.07.2020 в связи с изданием
Приказа Росстандарта от 18.10.2019 N 1026-ст. Взамен введен в действие
ГОСТ ISO 4209-2-2019.
Документ
введен в действие с 1 января 2009 года.
Название документа
"ГОСТ ИСО 4209-2-2006. Межгосударственный стандарт. Шины и ободья для грузовых автомобилей и автобусов (метрические серии). Часть 2. Ободья"
(введен в действие Приказом Ростехрегулирования от 22.05.2007 N 100-ст)
"ГОСТ ИСО 4209-2-2006. Межгосударственный стандарт. Шины и ободья для грузовых автомобилей и автобусов (метрические серии). Часть 2. Ободья"
(введен в действие Приказом Ростехрегулирования от 22.05.2007 N 100-ст)
по техническому регулированию
и метрологии
от 22 мая 2007 г. N 100-ст
МЕЖГОСУДАРСТВЕННЫЙ СТАНДАРТ
ШИНЫ И ОБОДЬЯ ДЛЯ ГРУЗОВЫХ АВТОМОБИЛЕЙ И АВТОБУСОВ
(МЕТРИЧЕСКИЕ СЕРИИ)
ЧАСТЬ 2
ОБОДЬЯ
Truck and bus tyres and rims (metric series). Part 2. Rims
ISO 4209-2:2001
Truck and bus tyres and rims (metric series) - Part 2: Rims
(IDT)
ГОСТ ИСО 4209-2-2006
Группа Л62
МКС 83.160.10
43.040.50
ОКП 25 2100
Дата введения
1 января 2009 года
Цели, основные принципы и основной порядок проведения работ по межгосударственной стандартизации установлены
ГОСТ 1.0-92 "Межгосударственная система стандартизации. Основные положения" и
ГОСТ 1.2-97 "Межгосударственная система стандартизации. Стандарты межгосударственные, правила и рекомендации по межгосударственной стандартизации. Порядок разработки, принятия, применения, обновления и отмены"
1 ПОДГОТОВЛЕН Техническим комитетом по стандартизации ТК 97 "Шины пневматические для механических транспортных средств, их прицепов и авиационной техники", Обществом с ограниченной ответственностью "Научно-технический центр "Научно-исследовательский институт шинной промышленности" на основе собственного аутентичного перевода стандарта, указанного в
пункте 4
2 ВНЕСЕН Управлением технического регулирования и стандартизации Федерального агентства по техническому регулированию и метрологии
3 ПРИНЯТ Межгосударственным советом по стандартизации, метрологии и сертификации (протокол N 30 от 7 декабря 2006 г.)
За принятие стандарта проголосовали:
Краткое наименование страны по МК (ИСО 3166) 004-97 | Код страны по МК (ИСО 3166) 004-97 | Сокращенное наименование национального органа по стандартизации |
Армения | AM | Минторгэкономразвития |
Беларусь | BY | Госстандарт Республики Беларусь |
Казахстан | KZ | Госстандарт Республики Казахстан |
Кыргызстан | KG | Кыргызстандарт |
Молдова | MD | Молдова-Стандарт |
Российская Федерация | RU | Федеральное агентство по техническому регулированию и метрологии |
Таджикистан | TJ | Таджикстандарт |
Узбекистан | UZ | Узстандарт |
4 Настоящий стандарт идентичен международному стандарту ИСО 4209-2:2001 "Шины и ободья для грузовых автомобилей и автобусов (метрические серии). Часть 2. Ободья" (ISO 4209-2:2001 "Truck and bus tyres and rims (metric series) - Part 2: Rims").
При применении настоящего стандарта рекомендуется использовать вместо ссылочного международного стандарта соответствующий ему международный стандарт, сведения о котором приведены в дополнительном
приложении A
5
Приказом Федерального агентства по техническому регулированию и метрологии от 22 мая 2007 г. N 100-ст межгосударственный стандарт ГОСТ ИСО 4209-2-2006 введен в действие в качестве национального стандарта Российской Федерации с 1 января 2009 г.
6 ВВЕДЕН ВПЕРВЫЕ
Информация о введении в действие (прекращении действия) настоящего стандарта публикуется в указателе "Национальные стандарты".
Информация об изменениях к настоящему стандарту публикуется в указателе "Национальные стандарты", а текст изменений - в информационных указателях "Национальные стандарты". В случае пересмотра или отмены настоящего стандарта соответствующая информация будет опубликована в информационном указателе "Национальные стандарты"
Настоящий стандарт устанавливает обозначения и основные размеры профилей глубоких неразъемных ободьев, предназначенных для монтажа шин, используемых преимущественно на грузовых автомобилях и автобусах.
Обозначения, размеры и номинальные нагрузки шин приведены в ИСО 4209-1.
В настоящем стандарте использована нормативная ссылка на следующий международный стандарт:
ИСО 4209-1:2001 Шины и ободья для грузовых автомобилей и автобусов (метрические серии). Часть 1. Шины
3. Обозначение и маркировка
Обозначение обода должно включать в себя код номинального диаметра, код номинальной ширины обода (17,5 x 5,25) и форму бортовой закраины обода при необходимости (например, 15 x 6 J; 13 x 5,50 B).
4. Глубокие ободья с углом наклона посадочной полки 5°
4.1. Бортовая закраина обода
Обозначения форм бортовых закраин и основные размеры профилей соответствующих ободьев, а также допустимые отклонения приведены на рисунке 1 и в
таблицах 1 и
2.
--------------------------------
<a> Ширина бортовой закраины включает в себя радиус закругления кромки. Участок закраины за пределами минимальной ширины должен быть ниже самой высокой точки закраины.
<b> Размеры включают в себя минимальную огибающую монтажного ручья для монтажа шины, за исключением участков сварного шва или вентильного отверстия.
Примечание - При использовании ободьев с бескамерными шинами необходимы выступы на наружной стороне и предпочтительны выступы на внутренней стороне обода.
C, F - профили посадочных полок; 1 - отверстие под вентиль;
2 - наружная сторона автомобиля; 3 - угол наклона кромки
эквивалентен половине минимального радиуса R;
4 - внутренняя сторона автомобиля
Рисунок 1 - Профиль глубокого обода
с углом наклона посадочной полки 5°
Таблица 1
Размеры профилей ободьев с углом наклона посадочной полки 5°
В миллиметрах
Код диаметра | Код ширины | B, не менее | G +/- 1,0 | P, не менее | P1, не менее | | L | M, не более | R2, не менее |
10, 12, 13 | 3,00B | 10,0 | 14,5 | 13,0 | 15,0 | 15,0 | 16 | 28 | 7,5 |
3,50B | 10,0 | 14,5 | 15,0 | 17,0 | 15,0 | 19 | 34 | 7,5 |
4,00B | 10,0 | 14,5 | 15,0 | 17,0 | 15,0 | 19 | 45 | 7,5 |
4,50B и более | 10,0 | 14,5 | 19,5 | 19,5 | 15,0 | 22 | 45 | 7,5 |
14 и более | 3 1/2 J | 11,0 | 17,5 | 15,0 | 17,0 | | 19 | 34 | 9,5 |
4J | 11,0 | 17,5 | 15,0 | 17,0 | | 19 | 45 | 9,5 |
4 1/2 J и более | 11,0 | 17,5 | 19,5 | 19,5 | | 22 | 45 | 9,5 |
16 | 6 K и более | 11,5 | 20,0 | 19,5 | 19,5 | 20,0 | 22 | 47 | 10,5 |
<a> Минимальные значения глубины монтажного ручья H и угла наклона полки обода требуются для монтажа камерной шины. Для установки вентиля бескамерной шины требуются большие размеры. <b> Для ободьев типа J допускается уменьшение значения H до 17 мм при соответствующем изменении значения M до 43 мм. |
Таблица 2
Коды номинальной ширины обода
Код номинальной ширины обода | A, мм |
3,00 | 3 | 76,0 |
3,50 | 3 1/2 | 89,0 |
4,00 | 4 | 101,5 |
4,50 | 4 1/2 | 114,5 |
5,00 | 5 | 127,0 |
5,50 | 5 1/2 | 139,5 |
6,00 | 6 | 152,5 |
6,50 | 6 1/2 | 165,0 |
7,00 | 7 | 178,0 |
7,50 | 7 1/2 | 190,5 |
8,00 | 8 | 203,0 |
8,50 | 8 1/2 | 216,0 |
9,00 | 9 | 228,5 |
9,50 | 9 1/2 | 241,5 |
10,00 | 10 | 254,0 |
10,50 | 10 1/2 | 266,5 |
11,00 | 11 | 279,5 |
12,00 | 12 | 305,0 |
13,00 | 13 | 330,0 |
14,00 | 14 | 355,5 |
15,00 | 15 | 381,0 |
Рекомендуемые исполнения профилей ободьев и их основные размеры приведены на рисунке 2 и в
таблице 3.
--------------------------------
<*> Справочное значение.
C - профиль с наружной стороны автомобиля;
F - профиль с внутренней стороны автомобиля
Рисунок 2 - Рекомендуемое исполнение профилей полок обода
Таблица 3
Размер
E для скругленных выступов обода
Обозначение ширины обода | E, мм |
3,00 | Не менее 13 |
3,50 (3 1/2) и 4,00 (4) | Не менее 16 |
4,50 (4 1/2) и более | |
<a> Для ободьев с кодом ширины обода от 4,50 (4 1/2) до 7,00 (7) и обода с закраиной типа K допускается значение E, равное 19,5. |
4.2. Диаметр обода и длина окружности по выступу
Код номинального диаметра обода, соответствующее значение номинального посадочного диаметра обода D и длина окружности по выступу приведены в таблице 4.
Таблица 4
Код номинального диаметра обода, соответствующее значение
номинального посадочного диаметра обода D
и длина окружности по выступу
В миллиметрах
Код номинального диаметра обода | Значение посадочного диаметра обода <a> | Длина окружности по выступу |
плоскому  | скругленному <b> |
10 | 253,2 | 795,4 | 797,6 |
12 | 304,0 | 955,0 | 957,6 |
13 | 329,4 | 1034,8 | 1037,0 |
14 | 354,8 | 1114,6 | 1116,8 |
15 | 380,2 | 1194,4 | 1196,6 |
16 | 405,6 | 1274,2 | 1276,4 |
17 | 436,6 | 1371,6 | 1373,8 |
18 | 462,0 | 1451,4 | 1453,6 |
19 | 487,4 | 1531,2 | 1533,4 |
20 | 512,8 | 1611,0 | 1613,2 |
<a> Предельные отклонения приведены только для проектирования. Длину окружности полки обода измеряют рулеткой. <b> Допуск  разрешается только для профиля обода с внутренней стороны автомобиля. |
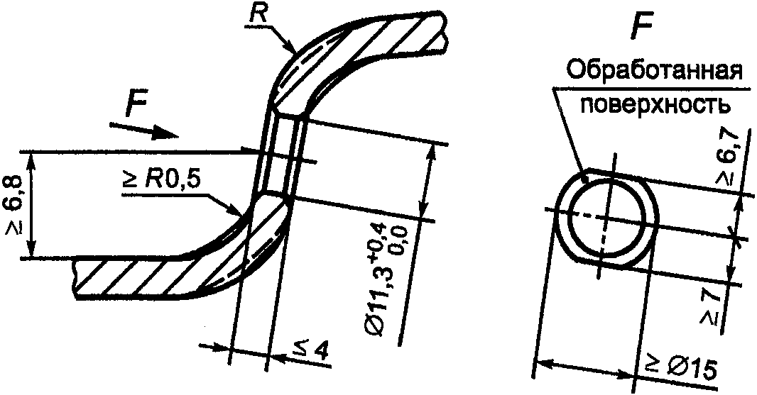
4.3. Отверстия для вентилей
Кромки отверстия для вентилей (далее - вентильное отверстие) со стороны монтажа шины должны быть скруглены или иметь фаску, а с наружной стороны обода не должны иметь заусенцев, которые могут повредить обрезиненный корпус вентиля.
Для обеспечения герметичности соединения вентиля с ободом колеса необходимо поддерживать в чистом и гладком состоянии поверхность вентильного отверстия на участке толщиной не менее 0,75 мм или составляющем не менее 25% толщины обода.
Отверстия для вентилей бескамерных шин должны соответствовать изображенным на рисунках 3 или
4 для ободьев с глубиной монтажного ручья не менее 17,3 мм. Отверстия для других вентилей должны рассматриваться дополнительно.
Рисунок 3 - Размеры вентильного отверстия
для бескамерных шин
Рисунок 4 - Исполнение поверхности
в зоне вентильного отверстия
5. Глубокие ободья с углом наклона посадочной полки 15°
Размеры профилей ободьев и соответствующие допуски приведены на рисунке 5 и в
таблицах 5 и
6.
--------------------------------
<a> Угол наклона эквивалентен половине минимального радиуса.
<b> Размеры приведены для минимального монтажного ручья обода.
<c> Сторона монтажа шины.
Рисунок 5 - Размеры профиля глубокого обода
с углом наклона посадочной полки 15°
Таблица 5
Размеры профилей глубоких ободьев с углом наклона посадочной
полки 15° и кодом номинальной ширины обода <= 9,75
В миллиметрах
Обозначение обода | A +/- 3,5 | | h, не менее | | | P, не менее |
17,5 x 5,25 | 133,5 | 24 | 7 | 4 | 55 | 25 |
19,5 x 5,25 | 27 | 56 |
22,5 x 5,25 | 30 | 8 | 57 |
17,5 x 6,00 | 152,5 | 24 | 8,5 | 11 | 60 |
19,5 x 6,00 | 27 | 62 | |
22,5 x 6,00 | 30 | 63 | 30 |
17,5 x 6,75 | 171,5 | 24 | 9 | | 25 |
19,5 x 6,75 | 27 | 14 | 64 | |
22,5 x 6,75 | 30 | | 32 |
17,5 x 7,50 | 190,5 | 24 | 9,5 | | 25 |
19,5 x 7,50 | 27 | 21 | | 30 |
22,5 x 7,50 | 30 | 10 | | 34 |
24,5 x 7,50 | |
17,5 x 8,25 | 209,5 | 24 | 9,5 | 14 | 55 | 26 |
19,5 x 8,25 | 27 | 28 | 67 | 30 |
22,5 x 8,25 | 30 | 10 | | 36 |
24,5 x 8,25 | |
19,5 x 9,00 | 228,5 | 9,5 | 68 | 30 |
22,5 x 9,00 | 10 | | 36 |
24,5 x 9,00 | |
22,5 x 9,75 | 247,5 | |
<a> Размеры приведены для минимального монтажного ручья обода. <b> При монтаже одинарных шин для легких грузовых автомобилей (индекс нагрузки <= 121) допускается значение P, равное 25 мм. Эти ободья должны быть идентифицированы. <c> Допускается увеличение размеров при условии подтверждения их испытаниями по монтажу шин. |
Таблица 6
Размеры профилей глубоких ободьев с углом наклона посадочной
полки 15° и кодом номинальной ширины обода >= 10,50
В миллиметрах
Обозначение обода | A +/- 3,5 | | h, не менее | | | P |
17,5 x 10,50 | 266,5 | 24 | 9,5 | 14 | 55 | 26 |
19,5 x 10,50 | 30 | 10 | 30 | | 34 |
22,5 x 10,50 | 70 |
19,5 x 11,75 | 298,5 | |
22,5 x 11,75 | |
19,5 x 12,25 | 311,0 | |
22,5 x 12,25 | |
19,5 x 13,00 | 330,0 | |
22,5 x 13,00 | |
19,5 x 14,00 | 355,5 | |
22,5 x 14,00 | |
19,5 x 15,00 | 381,0 | 11 | |
22,5 x 15,00 | |
20,5 x 16,00 | 406,5 | |
22,5 x 16,00 | |
20,5 x 18,00 | 457,0 | |
22,5 x 18,00 | |
<a> Размеры приведены для минимального монтажного ручья обода. <b> Допускается увеличение размеров при условии подтверждения их испытаниями по монтажу шин. |
Коды номинального диаметра глубоких ободьев с углом наклона посадочной полки 15° и их значения приведены в таблице 7.
Таблица 7
Коды номинального диаметра и соответствующие ему значения
диаметра обода
Код номинального диаметра обода | Значение диаметра обода D +/- 0,4 <a>, мм |
17,5 | 444,5 |
19,5 | 495,3 |
20,5 | 520,7 |
22,5 | 571,5 |
24,5 | 622,3 |
<a> Предельные отклонения приведены только для проектирования шин. Длину окружности посадочной полки обода определяют измерительной рулеткой. |
5.3. Вентильные отверстия обода
Размеры, расположение и исполнение вентильных отверстий обода приведены на рисунке 6 и в
таблице 8.
1 - сторона шины; 2 - наружная сторона
Рисунок 6 - Размеры вентильных отверстий ободьев
с углом наклона посадочной полки 15°
Таблица 8
Размеры вентильных отверстий для ободьев
с углом наклона посадочной полки 15°
В миллиметрах
Диаметр вентильного отверстия A | Расположение | Минимальный диаметр кольцевой плоскости в зоне установки вентиля | Толщина обода в зоне кольцевой плоскости C |
не менее | не более | B1 - со стороны шины | B2 - с наружной стороны | не менее | не более |
9,7 | 10,0 | В стенке монтажного ручья | 18,0 | 16,0 | 5,5 | 10,5 |
16,5 | 12,5 | 3,0 | 6,0 |
В основании монтажного ручья | 18,0 | 16,0 | 5,5 | 10,5 |
15,7 | 16,1 | В стенке монтажного ручья | 19,3 | 19,3 | 4,8 | 8,0 |
В основании монтажного ручья | 19,3 | 19,3 | 4,8 | 8,0 |
27,0 | 27,0 | 3,5 | 6,0 |
Примечания 1 Применение вентилей для отверстий диаметром от 9,7 до 10,0 мм при толщине обода C более 6,0 мм и для отверстий диаметром от 15,7 до 16,1 мм при толщине C обода более 8,0 мм - по согласованию с изготовителем вентилей. 2 Кольцевые плоскости для вентильного отверстия B1 и B2 должны быть параллельными с погрешностью не более 0,2 мм. 3 Шероховатость поверхности вентильного отверстия не должна быть более 3,2 мкм. |
5.3.1 Характеристики вентильных отверстий обода
5.3.1.1 Кромки вентильных отверстий со стороны шины должны быть скруглены или иметь фаску.
5.3.1.2 Кромки вентильных отверстий с наружной стороны обода не должны иметь заусенцев, которые могут повредить обрезиненный корпус вентиля.
5.3.1.3 Для обеспечения герметичности соединения вентиля с ободом для бескамерной шины необходимо поддерживать поверхность вентильного отверстия в чистом и гладком состоянии на участке, составляющем не менее 25% толщины профиля обода (рисунок 7).
1 - сторона шины; 2 - наружная сторона
Рисунок 7 - Вентильное отверстие обода
5.3.1.4 Вентильное отверстие должно быть цилиндрическим и диаметр его должен быть одинаковым по всей высоте для обеспечения герметичности вентиля при давлении в шине более 300 кПа.
5.3.1.5 Вентильное отверстие должно иметь с двух сторон концентрические кольцевые плоскости, обеспечивающие надежную герметичность соединения вентиля с ободом для бескамерной шины, что позволяет выдержать давление в шине более 300 кПа.
5.3.1.6 В ободьях для бескамерных шин угол наклона кольцевой плоскости для вставного вентиля должен обеспечивать доступ к вентилю при измерении давления в сдвоенной шине в процессе эксплуатации, а также для подкачивания воздуха в шину.
(справочное)
СВЕДЕНИЯ О СООТВЕТСТВИИ МЕЖГОСУДАРСТВЕННОГО СТАНДАРТА
ССЫЛОЧНОМУ МЕЖДУНАРОДНОМУ СТАНДАРТУ
Таблица A.1
Обозначение ссылочного международного стандарта | Обозначение и наименование соответствующего межгосударственного стандарта |
ИСО 4209-1:2001 | ГОСТ ИСО 4209-1-2006 Шины и ободья для грузовых автомобилей и автобусов (метрические серии). Часть 1. Шины |