Главная // Актуальные документы // ГОСТ (Государственный стандарт)
СПРАВКА
Источник публикации
М.: ИПК Издательство стандартов, 1999
Примечание к документу
Документ включен в Перечень стандартов, содержащих правила и методы исследований (испытаний) и измерений, в том числе правила отбора образцов, необходимые для применения и исполнения требований технического регламента Таможенного союза "О безопасности отдельных видов специализированной пищевой продукции, в том числе диетического лечебного и диетического профилактического питания" (ТР ТС 027/2012) и осуществления оценки (подтверждения) соответствия продукции (Решение Коллегии Евразийской экономической комиссии от 18.10.2012 N 191).

Документ включен в Перечень стандартов, содержащих правила и методы исследований (испытаний) и измерений, в том числе правила отбора образцов, необходимые для применения и исполнения требований технического регламента Таможенного союза "О безопасности пищевой продукции" (ТР ТС 021/2011) и осуществления оценки (подтверждения) соответствия продукции (Решение Комиссии Таможенного союза от 09.12.2011 N 880).

С 01.07.2003 до вступления в силу технических регламентов акты федеральных органов исполнительной власти в сфере технического регулирования носят рекомендательный характер и подлежат обязательному исполнению только в части, соответствующей целям, указанным в п. 1 ст. 46 Федерального закона от 27.12.2002 N 184-ФЗ.

Документ введен в действие с 01.01.1981.

Взамен ГОСТ 6076-74 в части методов определения влажности, содержания золы, экстрактивных и дубильных веществ, эфирного масла.
Название документа
"ГОСТ 24027.2-80. Межгосударственный стандарт. Сырье лекарственное растительное. Методы определения влажности, содержания золы, экстрактивных и дубильных веществ, эфирного масла"
(утв. и введен в действие Постановлением Госстандарта СССР от 06.03.1980 N 1038)


"ГОСТ 24027.2-80. Межгосударственный стандарт. Сырье лекарственное растительное. Методы определения влажности, содержания золы, экстрактивных и дубильных веществ, эфирного масла"
(утв. и введен в действие Постановлением Госстандарта СССР от 06.03.1980 N 1038)


Содержание


Утвержден и введен в действие
Постановлением Государственного
комитета СССР по стандартам
от 6 марта 1980 г. N 1038
МЕЖГОСУДАРСТВЕННЫЙ СТАНДАРТ
СЫРЬЕ ЛЕКАРСТВЕННОЕ РАСТИТЕЛЬНОЕ
МЕТОДЫ ОПРЕДЕЛЕНИЯ ВЛАЖНОСТИ, СОДЕРЖАНИЯ ЗОЛЫ,
ЭКСТРАКТИВНЫХ И ДУБИЛЬНЫХ ВЕЩЕСТВ, ЭФИРНОГО МАСЛА
Methods for determination of moisture, ash content,
extractive and tannin materials, essential oil
ГОСТ 24027.2-80
Группа Р69
Взамен ГОСТ 6076-74
в части методов
определения влажности,
содержания золы,
экстрактивных и дубильных
веществ, эфирного масла
Постановлением Государственного комитета СССР по стандартам от 6 марта 1980 г. N 1038 срок введения установлен
с 1 января 1981 года
Ограничение срока действия снято по протоколу N 5-94 Межгосударственного Совета по стандартизации, метрологии и сертификации (ИУС 11-12-94)
Настоящий стандарт распространяется на лекарственное растительное сырье и устанавливает методы определения влажности, содержания золы, экстрактивных, дубильных веществ и эфирного масла.
1. МЕТОД ОПРЕДЕЛЕНИЯ ВЛАЖНОСТИ
1.1. Метод определения влажности основан на определении потери в массе за счет гигроскопической влаги и летучих веществ при высушивании сырья до абсолютно сухого состояния.
1.2. Отбор проб
1.2.1. Отбор проб - по ГОСТ 24027.0-80.
1.3. Аппаратура, материалы и реактивы
Для проведения испытания применяют:
шкаф сушильный лабораторный по НД;
весы лабораторные по ГОСТ 24104-88;
весы аналитические по ГОСТ 24104-88;
разновесы по ГОСТ 7328-82;
эксикатор по ГОСТ 25336-82;
совочек;
ножницы;
стаканчики для взвешивания (бюксы) с притертой крышкой по ГОСТ 25336-82;
щипцы тигельные;
вазелин технический;
кальций хлористый плавленый по НД.
1.4. Подготовка к испытанию
Аналитическую пробу быстро измельчают ножницами или секатором до размера частиц около 10 мм, перемешивают и берут две навески массой по 3 - 5 г, взвешенные с погрешностью не более 0,01 г. Каждую навеску помещают в предварительно взвешенную вместе с крышкой и пронумерованную бюксу.
При пересчете содержания золы и действующих веществ на абсолютно сухое сырье определяют потерю в массе при высушивании в пробах, подготовленных для соответствующих испытаний. При этом одновременно с навесками для определения золы и действующих веществ берут две навески сырья массой по 1 - 2 г, взвешенные с погрешностью не более 0,0005 г.
1.5. Проведение испытания
В сушильный шкаф, нагретый до 100 - 105 °C, быстро помещают подготовленные бюксы с навесками вместе со снятыми крышками. При этом температура в шкафу падает. Время, в течение которого сырье должно сушиться, отсчитывают с момента, когда температура в шкафу достигает 100 - 105 °C. Высушивание проводят до постоянной массы.
Постоянная масса считается достигнутой, если разница между двумя последующими взвешиваниями после 30 мин высушивания и 30 мин охлаждения в эксикаторе не превышает 0,01 г.
При пересчете содержания золы и действующих веществ на абсолютно сухое сырье высушивание проводят до тех пор, пока разница между двумя последующими взвешиваниями не будет превышать 0,0005 г.
Первое взвешивание корней, семян, плодов и коры проводят через 3 ч, листьев, цветков и трав - через 2 ч. Бюксы с навесками вынимают из шкафа тигельными щипцами и помещают на 30 мин для охлаждения в эксикатор, на дне которого находится безводный хлористый кальций. Охлажденные бюксы закрывают крышками и взвешивают. Хлористый кальций периодически прокаливают или заменяют новым.
Проводят два параллельных определения.
1.6. Обработка результатов
Влажность сырья (X) в процентах вычисляют по формуле
где m - масса сырья до высушивания, г;
m1 - масса сырья после высушивания, г.
За окончательный результат испытания принимают среднее арифметическое результатов двух параллельных определений, вычисленных до десятых долей процента, допускаемое расхождение между которыми не должно превышать 0,5%.
2. МЕТОД ОПРЕДЕЛЕНИЯ СОДЕРЖАНИЯ ЗОЛЫ
2.1. Метод определения содержания золы основан на определении несгораемого остатка неорганических веществ, остающегося после сжигания и прокаливания сырья. Золу делят на:
золу общую, представляющую собой сумму минеральных веществ, свойственных растению, и посторонних минеральных примесей (земля, песок, камешки, пыль);
золу, нерастворимую в 10%-ной соляной кислоте, представляющую собой остаток после обработки общей золы соляной кислотой и состоящую главным образом из кремнезема.
2.2. Отбор проб
2.2.1. Отбор проб - по ГОСТ 24027.0-80.
2.3. Аппаратура и реактивы
Для проведения испытания применяют:
весы лабораторные по ГОСТ 24104-88;
весы аналитические по ГОСТ 24104-88;
разновесы по ГОСТ 7328-82;
сито по ТУ 23.2.2068-89;
тигли фарфоровые по ГОСТ 9147-80;
кальций хлористый плавленый по НТД;
эксикатор по ГОСТ 25336-82;
горелку газовую или электроплитку бытовую по НТД;
печь муфельную;
баню водяную;
стекла часовые;
фильтр беззольный;
кислоту азотную по ГОСТ 4461-77;
аммоний азотнокислый, ч.д.а., 10%-ный раствор;
кислоту соляную по ГОСТ 3118-77, х.ч., 10%-ный раствор;
перекись водорода (пергидроль) по ГОСТ 10929-76, 5%-ный раствор;
серебро азотнокислое по ГОСТ 1277-75, ч.д.а., 2%-ный раствор;
воду дистиллированную по ГОСТ 6709-72;
мельницу электрическую лабораторную по НТД.
2.4. Подготовка к испытанию
Аналитическую пробу сырья измельчают и просеивают сквозь сито с отверстиями диаметром 2 мм.
В предварительно прокаленный до постоянной массы фарфоровый тигель берут навеску массой 1 - 3 г для определения общей золы и 5 г для определения золы, нерастворимой в 10%-ной соляной кислоте. Навеску взвешивают с погрешностью не более 0,0005 г.
2.5. Проведение испытания
Сырье в тигле осторожно обугливают над слабым пламенем газовой горелки, стараясь, чтобы пламя не касалось дна тигля, или на электроплитке. При этом на нее помещают асбестовую сетку. После полного обугливания сырья тигель переносят в муфельную печь для сжигания угля и полного прокаливания остатка. Прокаливание ведут при красном калении (550 - 650 °C) до постоянной массы, избегая сплавления золы и спекания ее со стенками тигля. По окончании прокаливания, тигель охлаждают в течение 2 ч, затем ставят в эксикатор, на дне которого находится безводный хлористый кальций, охлаждают и взвешивают. Постоянная масса считается достигнутой, если разница между двумя последующими взвешиваниями не превышает 0,0005 г.
Если после охлаждения остаток еще содержит частицы угля, то к нему прибавляют несколько капель 5%-ного раствора перекиси водорода, концентрированной азотной кислоты или 10%-ного раствора азотнокислого аммония, выпаривают под тягой на водяной бане и вновь прокаливают до тех пор, пока остаток примет равномерную окраску. В случае необходимости такую операцию повторяют несколько раз.
Для определения содержания золы, нерастворимой в 10%-ном растворе соляной кислоты, в тигель с общей золой приливают 15 см3 10%-ного раствора соляной кислоты (плотность 1,050 г/см3); тигель покрывают часовым стеклом и нагревают на кипящей водяной бане в течение 10 мин. Затем тигель снимают и после остывания содержимое фильтруют через беззольный фильтр. Тигель, часовое стекло и фильтр промывают дистиллированной водой до прекращения появления мути в промывных водах от капли 2%-ного раствора нитрата серебра. Фильтр помещают в тигель, высушивают, осторожно сжигают в тигле после чего тигель прокаливают до постоянной массы остатка.
Проводят два параллельных определения.
2.6. Обработка результатов
Содержание общей золы (X1) в процентах в абсолютно сухом сырье вычисляют по формуле
где m1 - масса золы, г;
m2 - масса сырья, г;
W - потеря в массе при высушивании сырья, %.
Содержание золы, не растворимой в 10%-ном растворе соляной кислоты (X2), в процентах в абсолютно сухом сырье вычисляют по формуле
где m1 - масса золы, г;
m - масса золы фильтра (если золы последнего более 0,002 г);
m2 - масса сырья, г;
W - потеря в массе при высушивании сырья, %.
За окончательный результат испытания принимают среднее арифметическое результатов двух параллельных определений, вычисленных до сотых долей процента для сырья с содержанием золы (общей или нерастворимой) не более 5% и до десятых долей процента - для сырья с содержанием золы (общей или нерастворимой) более 5%, допускаемые расхождения между которыми не должны превышать 0,1% для сырья с содержанием общей или нерастворимой золы 5% и 0,5% для сырья с содержанием общей или нерастворимой золы более 5%.
3. МЕТОД ОПРЕДЕЛЕНИЯ СОДЕРЖАНИЯ ЭКСТРАКТИВНЫХ ВЕЩЕСТВ
3.1. Отбор проб
3.1.1. Отбор проб - по ГОСТ 24027.0-80.
3.2. Аппаратура и материалы
Для проведения испытания применяют:
весы лабораторные по ГОСТ 24104-88;
чашки фарфоровые диаметром 7 - 9 см по ГОСТ 9147-80;
баню водяную;
эксикатор по ГОСТ 25336-82;
колбу коническую вместимостью 250 см3 по ГОСТ 25336-82;
пипетки вместимостью 25 см3 по НТД;
холодильник стеклянный лабораторный по ГОСТ 25336-82;
сита по ТУ 23.2.2068-89;
мельницу электрическую лабораторную по НТД.
3.3. Подготовка к испытанию
Аналитическую пробу сырья измельчают и просеивают сквозь сито с отверстиями диаметром 1 мм, после чего отбирают навеску массой 1 г.
3.4. Проведение испытания
Навеску сырья помещают в коническую колбу, приливают 50 см3 растворителя, указанного в нормативно-техническом документе на конкретное сырье, колбу закрывают пробкой, взвешивают с погрешностью не более 0,01 г и оставляют на 1 ч. Затем колбу соединяют с обратным холодильником, нагревают до кипения и поддерживают слабое кипение жидкости в течение 2 ч. После охлаждения колбу с содержимым вновь закрывают той же пробкой, взвешивают и потерю в массе дополняют тем же растворителем. Содержимое тщательно взбалтывают и фильтруют через сухой бумажный фильтр в сухую колбу вместимостью 150 - 200 см3. 25 см3 фильтрата пипеткой переносят в фарфоровую чашку диаметром 7 - 9 см, предварительно высушенную при 100 - 105 °C до постоянной массы и взвешенную на аналитических весах, выпаривают на водяной бане досуха, сушат при температуре 100 - 105 °C в течение 3 ч, затем охлаждают в течение 30 мин в эксикаторе, на дне которого находится безводный хлористый кальций и взвешивают.
Проводят два параллельных определения.
3.5. Обработка результатов
Содержание экстрактивных веществ (X3) в процентах в абсолютно сухом сырье вычисляют по формуле
где m - масса сухого остатка в чашке, г;
m1 - масса сырья, г;
W - потеря в массе при высушивании сырья, г.
За окончательный результат испытания принимают среднее арифметическое результатов двух параллельных определений.
4. МЕТОД ОПРЕДЕЛЕНИЯ СОДЕРЖАНИЯ ДУБИЛЬНЫХ ВЕЩЕСТВ
4.1. Отбор проб
4.1.1. Отбор проб - по ГОСТ 24027.0-80.
4.2. Аппаратура, материалы и реактивы
Для проведения испытания применяют:
весы лабораторные по ГОСТ 24104-88;
весы аналитические по ГОСТ 24104-88;
разновесы по ГОСТ 7328-82;
сито по ТУ 23.2.2068-89 с отверстиями диаметром 3 мм;
колбы конические вместимостью 500 и 750 см3 по ГОСТ 25336-82;
баню водяную;
бюретки вместимостью 25 - 50 см3 по НТД;
пипетки вместимостью 2, 20, 25 см3 по НТД;
фильтры стеклянные;
склянки оранжевого стекла с притертыми пробками;
вату медицинскую по ГОСТ 5556-81;
воду дистиллированную по ГОСТ 6709-72;
индиго-5,6-дисульфокислоты динатриевую соль (индигокармин);
калий йодистый по ГОСТ 4232-74;
кислоту серную по ГОСТ 4204-77;
кислоту соляную по ГОСТ 3118-77;
крахмал растворимый по ГОСТ 10163-76;
калий марганцовокислый по ГОСТ 5777-84;
натрия тиосульфат кристаллический по ГОСТ 244-76;
калий двухромовокислый по ГОСТ 4220-75, х.ч.;
натрий углекислый безводный по ГОСТ 83-79, х.ч.;
мельницу электрическую лабораторную по НТД.
4.3. Подготовка к испытанию
Для приготовления 0,1 н. раствора марганцовокислого калия 3,3 г марганцовокислого калия растворяют в 1000 см3 воды и кипятят в течение 10 мин. Колбу закрывают пробкой, оставляют на двое суток в темном месте, затем фильтруют через стеклянный фильтр.
Для установки титра раствора марганцовокислого калия точно отмеривают из бюретки 25 см3 приготовленного раствора в склянку с притертой пробкой, содержащую 20 см3 раствора йодида калия. Подкисляют 2 см3 разведенной серной кислоты, закрывают пробкой, смоченной раствором йодида калия, и оставляют в течение 10 мин в темном месте. Разбавляют 200 см3 воды, обмывая пробку водой, и выделившийся йод титруют 0,1 н. раствором тиосульфата натрия до обесцвечивания (индикатор - крахмал).
Поправочный коэффициент (K) вычисляют по формуле
где V0 - объем раствора тиосульфата натрия, израсходованного на титрование, см3;
V - объем раствора марганцовокислого калия, взятого для установки титра (25 см3);
K0 - поправочный коэффициент раствора тиосульфата натрия.
Для приготовления разведенной серной кислоты к 5 частям воды осторожно приливают 1 часть концентрированной серной кислоты.
Для приготовления раствора йодистого калия 10 г реактива растворяют в свежепрокипяченной и охлажденной воде и разбавляют такой же водой до 100 см3. Раствор должен быть бесцветным. Раствор необходимо хранить в банках оранжевого стекла с притертыми пробками в защищенном от света месте.
Для приготовления 0,1 н. раствора тиосульфата натрия 26 г тиосульфата натрия и 0,1 г углекислого натрия растворяют в свежепрокипяченной и охлажденной воде и доводят такой же водой до 1000 см3. Раствору дают стоять 10 суток в защищенном от света месте. При наличии осадка жидкость сифонируют.
Титр раствора тиосульфата натрия устанавливают по двухромовокислому калию. Для этого около 0,15 г перекристаллизованного из горячей воды и высушенного при 130 - 150 °C до постоянной массы мелкорастертого двухромовокислого калия взвешивают с погрешностью не более 0,0002 г и растворяют в 50 см3 воды в склянке с притертой пробкой. Прибавляют 2 г йодистого калия, растворенного в 10 см3 воды, 5 см3 соляной кислоты, закрывают пробкой, смоченной раствором йодистого калия, и оставляют в темном месте в течение 10 мин. Разбавляют 200 см3 воды, обмывая пробку водой, и титруют приготовленным раствором тиосульфата натрия до зеленовато-желтого окрашивания. Затем приливают 2 - 3 см3 раствора крахмала и продолжают титровать до перехода синей окраски в светло-зеленую.
Поправочный коэффициент (K0) вычисляют по формуле
где 0,004904 - количество двухромовокислого калия, содержащегося в 1 см3 0,1 н. раствора, г;
a - навеска двухромовокислого калия, г;
V - объем раствора тиосульфата, см3.
Для приготовления индигосульфокислоты 1 г индигокармина растворяют в 25 см3 концентрированной серной кислоты, затем прибавляют еще 25 см3 концентрированной серной кислоты и разбавляют дистиллированной водой до 1000 см3, осторожно приливая раствор в воду.
От аналитической пробы сырья, измельченного и просеянного сквозь сито с отверстиями диаметром 3 мм, берут навеску массой 2 г с погрешностью не более 0,001 г.
4.4. Проведение испытания
Сырье помещают в коническую колбу вместимостью 500 см3, заливают 250 см3 нагретой до кипения воды и нагревают с обратным холодильником на кипящей водяной бане в течение 30 мин при периодическом перемешивании. Жидкость отстаивают, охлаждая до комнатной температуры, и декантируют около 100 см3 в коническую колбу вместимостью 200 - 250 см3 через вату, чтобы частицы сырья не попали в колбу. Затем отбирают пипеткой 25 см3 полученной жидкости в другую коническую колбу вместимостью 750 см3, добавляют 500 см3 воды, 25 см3 раствора индигосульфокислоты и титруют при постоянном перемешивании 0,1 н. раствором калия марганцовокислого до золотисто-желтого окрашивания, сравнивая его с окраской раствора контрольного испытания.
Для проведения контрольного испытания в коническую колбу вместимостью 750 см3 наливают 525 см3 дистиллированной воды, добавляют 25 см3 раствора индигосульфокислоты и титруют при постоянном перемешивании 0,1 н. раствором марганцовокислого калия до золотисто-желтого окрашивания.
4.5. Обработка результатов
Содержание дубильных веществ (X4) в процентах в абсолютно сухом сырье вычисляют по формуле
где V - объем точно 0,1 н. раствора марганцовокислого калия, израсходованного на титрование извлечения, см3;
V1 - объем точно 0,1 н. раствора марганцовокислого калия, израсходованного на титрование в контрольном анализе, см3;
0,004157 - количество дубильных веществ, соответствующее 1 см3 точно 0,1 н. раствора марганцовокислого калия (в пересчете на танин), г;
m - масса сырья, г;
W - потеря в массе при высушивании сырья, %;
250 - вместимость мерной колбы, см3;
25 - объем жидкого извлечения, взятого для титрования, см3.
5. МЕТОД ОПРЕДЕЛЕНИЯ СОДЕРЖАНИЯ ЭФИРНОГО МАСЛА
5.1. Сущность метода заключается в перегонке из растительного сырья с водяным паром эфирного масла и последующем измерении его объема, выраженного в процентах по отношению к абсолютно сухому сырью.
Определение проводят методом 1, 2а или 2б. Метод 2б используют в тех случаях, когда сырье содержит эфирные масла, которые при перегонке претерпевают изменения, образуют эмульсию, легко загустевают или имеют плотность, близкую к единице или больше единицы.
Масса навески сырья взятого для анализа, степень его измельчения, время перегонки - по нормативно-техническому документу на конкретное растительное сырье.
5.2. Отбор проб
5.2.1. Отбор проб - по ГОСТ 24027.0-80.
5.3. Определение содержания эфирного масла методом 1 (Гинзбурга)
5.3.1. Аппаратура, материалы и реактивы
Для проведения испытания применяют:
весы лабораторные по ГОСТ 24104-88;
мельницу электрическую лабораторную по НТД;
колбу широкогорлую круглодонную вместимостью 1000 см3 по ГОСТ 25336-82;
колбу плоскодонную вместимостью 1000 см3 по ГОСТ 25336-82;
электроплитку бытовую по НТД;
холодильник стеклянный лабораторный по ГОСТ 25336-82;
приемник Гинзбурга с градуированной частью объемом 2,5 см3 и ценой деления 0,025 см3;
пробку резиновую;
ножницы;
ацетон по ГОСТ 2603-79, ч.д.а.
5.3.2. Проведение испытания
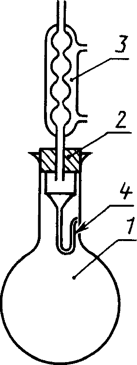
Навеску измельченного сырья помещают в широкогорлую круглодонную или плоскодонную колбу, наливают 300 см3 воды и закрывают резиновой пробкой с обратным шариковым холодильником. В пробке снизу укрепляют металлические крючки, на которые при помощи тонкой проволоки подвешивают градуированный приемник так, чтобы конец холодильника находился точно под воронкообразным расширением приемника на расстоянии около 1 мм, не касаясь его. Приемник должен свободно помещаться в горле колбы, не прикасаясь к стенкам горла, и отстоять от уровня воды не менее чем на 50 мм (черт. 1). Колбу с содержимым нагревают до кипения и поддерживают его в течение времени, указанного в нормативно-техническом документе на конкретное сырье.
Прибор для определения содержания эфирного масла методом 1
1 - колба; 2 - резиновая пробка; 3 - холодильник;
4 - градуированный приемник
Черт. 1
Пары воды и эфирного масла конденсируются в холодильнике и жидкость стекает в приемник. Масло отстаивается в градуированном колене приемника, а вода через меньшее колено приемника вытекает обратно в колбу.
Объем масла в градуированной части приемника определяют после окончания перегонки и охлаждения колбы до комнатной температуры. Прибор после шести - восьми определений промывают ацетоном, затем водой.
5.3.3. Обработка результатов
Содержание эфирного масла (X5) в процентах в абсолютно сухом сырье вычисляют по формуле
где V - объем эфирного масла, см3;
m - масса сырья, г;
W - потеря в массе при высушивании сырья, %.
5.4. Определение содержания эфирного масла методом 2а (Клевенджера)
5.4.1. Аппаратура и материалы
Для проведения испытания применяют:
прибор для определения эфирного масла (черт. 2);
весы лабораторные по ГОСТ 24104-88;
колбу круглодонную широкогорлую вместимостью 1000 см3 по ГОСТ 25336-82;
электромельницу;
мельницу электрическую лабораторную по НД.
Прибор для определения содержания эфирного масла методами
2а и 2б (Клевенджера)
1 - колба; 2 - паропроводная изогнутая трубка;
3 - холодильник; 4 - градуированный приемник; 5 - спускной
кран; 6 - расширение приемника; 7 - боковая трубка
приемника; 8 - резиновый шланг; 9 - сливная трубка
Черт. 2
5.4.2. Подготовка к испытанию
Перед каждым определением прибор очищают, пропуская пар в течение 15 - 20 мин.
5.4.3. Проведение испытания
Навеску измельченного растительного сырья помещают в колбу, приливают 300 см3 воды, колбу соединяют через шлиф с паропроводящей трубкой и заполняют водой градуированную и сливную трубки через кран при помощи резинового шланга, оканчивающегося воронкой. Содержимое колбы нагревают до кипения и кипятят с интенсивностью, при которой скорость стекания дистиллята должна быть 60 - 65 капель в минуту в течение времени, указанного в нормативно-техническом документе на конкретное сырье. Через 5 мин после окончания перегонки замеряют объем эфирного масла в градуированной части приемника. Для этого открывают кран и спускают часть дистиллята до уровня градуированной трубки.
5.4.4. Обработка результатов
Содержание эфирного масла (X5) в процентах в абсолютно сухом сырье вычисляют по формуле
где V - объем эфирного масла, см3;
m - масса сырья, г;
W - потеря в массе при высушивании сырья, %.
5.5. Определение содержания эфирного масла методом 2б
5.5.1. Аппаратура и реактивы
Для проведения испытания применяют аппаратуру, указанную в п. 5.4.1, и декалин.
5.5.2. Проведение испытания
Навеску измельченного растительного сырья помещают в колбу, приливают 300 см3 воды, колбу соединяют через шлиф с паропроводной трубкой и заполняют водой градуированную и сливную трубки через кран при помощи резинового шланга, оканчивающегося воронкой. Затем через воздушную трубку при помощи пипетки приливают в приемник около 0,5 мл декалина и точно измеряют объем взятого декалина, опуская уровень жидкости в градуированную часть трубки. Далее испытание проводят по п. 5.4.3.
Проводят два параллельных определения.
5.5.3. Обработка результатов
Содержание эфирного масла (X5) в процентах в абсолютно сухом сырье вычисляют по формуле
где V - объем раствора масла в декалине, см3;
V1 - объем декалина, см3;
m - масса навески сырья, г;
W - потеря в массе при высушивании сырья, %.
За окончательный результат испытаний принимают среднее арифметическое результатов двух параллельных определений, вычисленное до сотых долей процента.