Главная // Актуальные документы // ГОСТ (Государственный стандарт)
СПРАВКА
Источник публикации
М.: ИПК Издательство стандартов, 1996
Примечание к документу
С 01.07.2003 до вступления в силу технических регламентов акты федеральных органов исполнительной власти в сфере технического регулирования носят рекомендательный характер и подлежат обязательному исполнению только в части, соответствующей целям, указанным в п. 1 ст. 46 Федерального закона от 27.12.2002 N 184-ФЗ.

Документ введен в действие с 01.01.1995.

Взамен ГОСТ 13637.9-77.
Название документа
"ГОСТ 13637.9-93. Межгосударственный стандарт. Галлий. Метод определения фосфора"
(введен в действие Постановлением Госстандарта России от 02.06.1994 N 160)


"ГОСТ 13637.9-93. Межгосударственный стандарт. Галлий. Метод определения фосфора"
(введен в действие Постановлением Госстандарта России от 02.06.1994 N 160)


Содержание


Введен в действие
Постановлением Комитета
Российской Федерации
по стандартизации,
метрологии и сертификации
от 2 июня 1994 г. N 160
МЕЖГОСУДАРСТВЕННЫЙ СТАНДАРТ
ГАЛЛИЙ
МЕТОД ОПРЕДЕЛЕНИЯ ФОСФОРА
Gallium.
Method for the determination of phosphorus
ГОСТ 13637.9-93
Группа В59
ОКСТУ 1709
Дата введения
1 января 1995 года
Предисловие
1. РАЗРАБОТАН Межгосударственным техническим комитетом 104 "Полупроводниковая и редкометаллическая продукция. Особочистые металлы", Государственным институтом редких металлов (гиредмет)
ВНЕСЕН Госстандартом России
2. ПРИНЯТ Межгосударственным Советом по стандартизации, метрологии и сертификации (протокол N 4-93 от 19 октября 1993 г.)
За принятие проголосовали:
Наименование государства
Наименование национального органа по стандартизации
Республика Армения
Армгосстандарт
Республика Беларусь
Белстандарт
Республика Казахстан
Госстандарт Республики Казахстан
Республика Молдова
Молдовастандарт
Российская Федерация
Госстандарт России
Туркменистан
Туркменгосстандарт
Республика Узбекистан
Узгосстандарт
Украина
Госстандарт Украины
3 Постановлением Комитета Российской Федерации по стандартизации, метрологии и сертификации от 02.06.94 N 160 межгосударственный стандарт ГОСТ 13637.9-93 введен в действие непосредственно в качестве государственного стандарта Российской Федерации с 01.01.95
4. ВЗАМЕН ГОСТ 13637.9-77
ИНФОРМАЦИОННЫЕ ДАННЫЕ
ССЫЛОЧНЫЕ НОРМАТИВНО-ТЕХНИЧЕСКИЕ ДОКУМЕНТЫ
Обозначение НТД, на который дана ссылка
Номер пункта, раздела
ИС МЕГАНОРМ: примечание.
Взамен ГОСТ 5208-81 Приказом Росстандарта от 22.11.2013 N 1837-ст с 1 января 2015 года введен в действие ГОСТ 5208-2013.
ГОСТ 5208-81
ИС МЕГАНОРМ: примечание.
Взамен ГОСТ 11125-78 Постановлением Госстандарта СССР от 18.12.1984 N 4502 с 1 января 1986 года введен в действие ГОСТ 11125-84.
ГОСТ 11125-78
ИС МЕГАНОРМ: примечание.
Взамен ГОСТ 24104-88 Постановлением Госстандарта России от 26.10.2001 N 439-ст с 1 июля 2002 года введен в действие ГОСТ 24104-2001.
ГОСТ 24104-88
Настоящий стандарт устанавливает методы экстракционно-фотометрического и визуально-фотометрического определения фосфора в галлии в интервале массовых долей от 1·10-5 до 1·10-4%.
1. ОБЩИЕ ТРЕБОВАНИЯ
ИС МЕГАНОРМ: примечание.
В официальном тексте документа, видимо, допущена опечатка: возможно, имеется в виду ГОСТ 13637.0, а не ГОСТ 13638.0.
Общие требования к методам анализа и требования безопасности - по ГОСТ 13638.0.
2. МЕТОД ЭКСТРАКЦИОННО-ФОТОМЕТРИЧЕСКОГО ОПРЕДЕЛЕНИЯ ФОСФОРА
2.1. Сущность метода
Метод основан на предварительном переведении галлия в раствор в аналитическом автоклаве, экстракции хлорида галлия эфиром, избирательной экстракции фосфора смесью н-бутанола с хлороформом и последующем определении его в виде восстановленной молибдофосфорной гетерополикислоты.
2.2. Аппаратура, реактивы и растворы
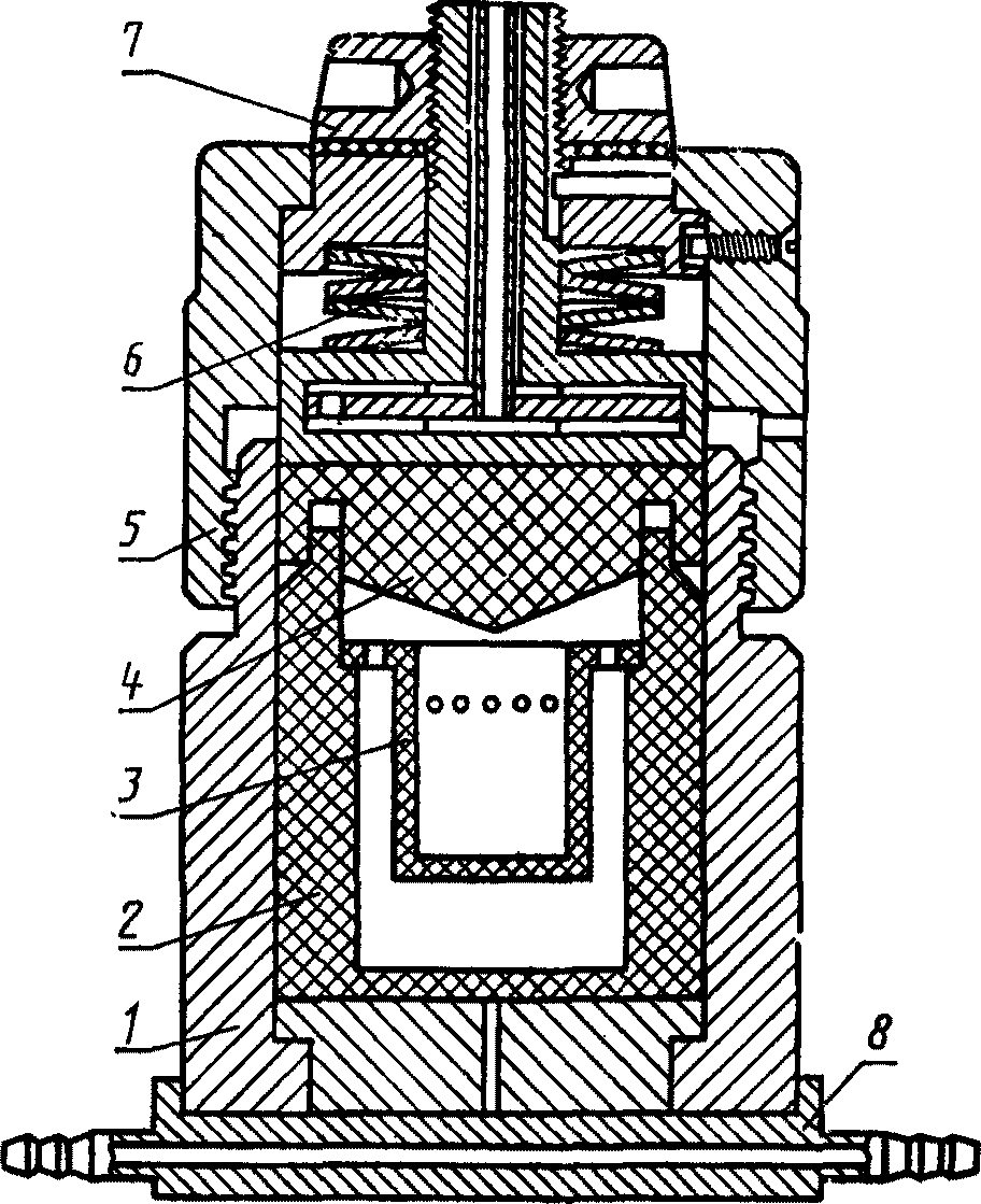
Автоклав аналитический М167 конструкции Гиредмета или аналогичный (чертеж). При работе с автоклавом следует строго соблюдать прилагаемую к нему инструкцию по эксплуатации.
ИС МЕГАНОРМ: примечание.
Взамен ГОСТ 24104-88 Постановлением Госстандарта России от 26.10.2001 N 439-ст с 1 июля 2002 года введен в действие ГОСТ 24104-2001.
Весы лабораторные 1-го класса по ГОСТ 24104.
Шкаф сушильный с терморегулятором, обеспечивающий температуру нагрева до 250 °C.
1 - корпус автоклава, 2 - реакционная емкость, 3 - сборник,
4 - крышка реакционной емкости, 5 - крышка корпуса
автоклава, 6 - запорное устройство, 7 - натяжная гайка,
8 - донный холодильник
Вентилятор комнатный.
Пинцет из оргстекла или фторопласта.
Фотоэлектроколориметр ФЭК-56 или аналогичный.
Воронки делительные вместимостью 50 см3.
Колбы мерные вместимостью 25; 100 см3 и 1 дм3.
Пипетки с делениями вместимостью 1; 5 и 10 см3.
Фильтры бумажные "красная лента" диаметром 70 мм.
Цилиндры мерные вместимостью 10; 25 см3.
Кислота соляная особой чистоты по ГОСТ 14261, концентрированная и концентрацией 6 моль/дм3.
Вода деионизованная с удельным электросопротивлением 10 - 20 МОм·см.
Аммоний молибденовокислый по ГОСТ 3765, водный раствор концентрацией 100 г/дм3.
Хлороформ технический по ГОСТ 20015.
ИС МЕГАНОРМ: примечание.
Взамен ГОСТ 5208-81 Приказом Росстандарта от 22.11.2013 N 1837-ст с 1 января 2015 года введен в действие ГОСТ 5208-2013.
Спирт бутиловый нормальный технический по ГОСТ 5208.
Эфир диэтиловый, насыщенный раствором соляной кислоты концентрацией 6 моль/дм3.
Смесь для экстрагирования: смесь бутилового спирта и хлороформа в объемном соотношении 3:7.
Глицерин по ГОСТ 6259.
Олово двухлористое 2-водное, раствор в глицерине концентрацией 100 г/дм3 (растворение проводят при нагревании на водяной бане).
Калий фосфорнокислый однозамещенный по ГОСТ 4198.
Раствор фосфора основной: 0,438 г калия фосфорнокислого однозамещенного растворяют в воде, переносят в мерную колбу вместимостью 1 дм3, доводят водой до метки и перемешивают.
1 см3 раствора содержит 100 мкг фосфора.
Раствор фосфора рабочий: 10 см3 основного раствора фосфора заливают в мерную колбу вместимостью 100 см3, доливают водой до метки и перемешивают.
1 см3 рабочего раствора содержит 10 мкг фосфора.
Более разбавленные рабочие растворы фосфора готовят последовательным разбавлением водой в объемном отношении 1:9 в день употребления.
2.3. Проведение анализа
2.3.1. Навеску пробы галлия массой 2 г помещают во фторопластовый вкладыш - сборник аналитического автоклава (см. чертеж), приливают 5 см3 воды. Вкладыш с содержимым устанавливают пинцетом в реакционной емкости, в которую предварительно заливают 20 см3 соляной кислоты концентрированной. Реакционную емкость закрывают крышкой и герметизируют в металлическом корпусе автоклава. Автоклав помещают в предварительно прогретый сушильный шкаф и выдерживают при температуре 200 °C в течение 3 ч. Автоклав вынимают из сушильного шкафа, охлаждают до комнатной температуры с помощью донного холодильника, разгерметизируют, извлекают реакционную емкость, протирают ее снаружи ватой, смоченной водой, а затем спиртом. Открывают крышку, вынимают пинцетом вкладыш-сборник.
2.3.2. Раствор из вкладыша-сборника переносят в мерный цилиндр вместимостью 10 см3 и доводят объем до 10 см3 раствором соляной кислоты концентрацией 6 моль/дм3. Раствор из цилиндра переносят в делительную воронку. Галлий экстрагируют тремя порциями эфира по 10 см3 в течение 2 мин. Эфирный слой отбрасывают, а водную фазу переносят в делительную воронку, приливают 8 см3 раствора аммония молибденовокислого, 10 см3 смеси для экстрагирования. Встряхивают воронку в течение 2 мин. Органическую фазу (нижний слой) фильтруют через бумажный фильтр в колбу, прибавляют одну каплю раствора двухлористого олова и перемешивают. Измеряют оптическую плотность раствора на фотоэлектроколориметре в кювете с толщиной поглощающего слоя 50 мм при длине волны 630 нм. В качестве растворов сравнения используют смесь для экстрагирования. Массу фосфора в пробе определяют по градуировочному графику.
Параллельно через все стадии анализа проводят два контрольных опыта. Величина поправки контрольного опыта не должна превышать 0,02 мкг фосфора.
2.3.3. Построение градуировочного графика
ИС МЕГАНОРМ: примечание.
В официальном тексте документа, видимо, допущена опечатка: пункт 2.2.2 отсутствует. Возможно, имеется в виду пункт 2.3.2.
В ряд делительных воронок вносят 0,00; 0,02; 0,05; 0,10; 0,20; 0,50; 1,0 см3 рабочего стандартного раствора фосфора, что соответствует 0,0; 0,2; 0,5; 1,0; 2,0; 5,0; 10,0 мкг фосфора. Добавляют до 10 см3 раствора соляной кислоты концентрацией 6 моль/дм3, 8 см3 аммония молибденовокислого, 10 см3 смеси для экстрагирования. Встряхивают воронки в течение 2 мин. Органическую фазу фильтруют в колбу, прибавляют 1 каплю раствора двухлористого олова; перемешивают. Оптическую плотность полученных растворов измеряют как в п. 2.2.2. Градуировочный график строят, нанося по оси абсцисс массу фосфора в мкг, а по оси ординат соответствующие значения оптической плотности растворов фосфора за вычетом оптической плотности нулевого раствора.
Обработку результатов ведут в соответствии с п. 4.
3. МЕТОД ВИЗУАЛЬНО-ФОТОМЕТРИЧЕСКОГО ОПРЕДЕЛЕНИЯ ФОСФОРА
3.1. Сущность метода
Метод основан на реакции образования молибдофосфорной гетерополикислоты с последующим восстановлением ее в солянокислой среде аскорбиновой кислотой в присутствии сурьмяновиннокислого калия, экстракционном концентрировании в изоамиловом спирте и последующем визуально-фотометрическом определении фосфора.
Галлий предварительно удаляют из раствора экстракцией его хлорида эфиром.
3.2. Аппаратура, реактивы и растворы
Аппаратура, реактивы и растворы по п. 2.2 с дополнением:
Плитка электрическая лабораторная мощностью 400 Вт.
Стаканы кварцевые вместимостью 50 см3.
Стекло часовое диаметром 50 мм.
Цилиндры для колориметрирования высотой 180 мм и диаметром 15 мм.
Кислота соляная особой чистоты по ГОСТ 14261, концентрированная и концентрацией 2 и 6 моль/дм3.
Кислота аскорбиновая, водный раствор концентрацией 17,6 г/дм3.
Аммоний молибденовокислый по ГОСТ 3765, водный раствор концентрацией 40 г/дм3.
Калий сурьмяновиннокислый, водный раствор концентрацией 3 г/дм3.
Спирт изоамиловый по ГОСТ 5830.
ИС МЕГАНОРМ: примечание.
Взамен ГОСТ 11125-78 Постановлением Госстандарта СССР от 18.12.1984 N 4502 с 1 января 1986 года введен в действие ГОСТ 11125-84.
Кислота азотная особой чистоты по ГОСТ 11125.
Смесь азотной и соляной кислот: готовят перед употреблением смешиванием объемов кислот, взятых в отношении 1:5.
3.3. Проведение анализа
ИС МЕГАНОРМ: примечание.
В официальном тексте документа, видимо, допущена опечатка: пункт 2.2.1 отсутствует.
3.3.1. Навеску галлия массой 1 г растворяют, как указано в п. 2.2.1 или 3.3.2.
3.3.2. Навеску галлия массой 1 г помещают в кварцевый стакан, приливают 5 см3 раствора соляной кислоты концентрацией 6 моль/дм3, ополаскивают металл, кислоту осторожно сливают и отбрасывают.
В стакан приливают 10 см3 смеси кислот, накрывают часовым стеклом и проводят растворение навески при слабом нагревании. Полученный раствор упаривают досуха. Сухой остаток растворяют в 5 см3 соляной кислоты концентрацией 6 моль/дм3, раствор переводят в делительную воронку, стакан ополаскивают еще 5 см3 раствора соляной кислоты той же концентрации, все переводят в делительную воронку.
Галлий экстрагируют 10 см3 эфира в течение 2 мин. Экстракцию повторяют, эфирный слой отбрасывают, а водную фазу переносят в стакан и упаривают досуха. Сухой остаток растворяют в 2 см3 раствора соляной кислоты концентрацией 2 моль/дм3, раствор переводят в цилиндр для колориметрирования, смывая небольшим количеством воды, затем добавляют 0,25 см3 раствора молибденовокислого аммония, 0,5 см3 раствора аскорбиновой кислоты, 0,1 см3 раствора сурьмяновиннокислого калия, доводят водой объем до 10 см3. После добавления каждого реактива содержимое тщательно перемешивают. Добавляют 1 см3 изоамилового спирта, встряхивают в течение 30 с и сравнивают интенсивность окраски органического слоя со шкалой растворов сравнения через 5 мин. Одновременно через все стадии анализа проводят два контрольных опыта.
3.3.3. Приготовление шкалы сравнения
В цилиндры для колориметрирования вводят 0,00; 0,05; 0,10; 0,15; 0,20; 0,40; 0,60; 1,00 см3 рабочего раствора фосфора (содержащего 1 мкг/см3 фосфора), что соответствует 0,00; 0,05; 0,10; 0,15; 0,20; 0,40; 0,60; 1,00 мкг фосфора. Добавляют по 2 см3 раствора соляной кислоты концентрацией 2 моль/дм3, 0,25 см3 раствора аммония молибденовокислого, 0,5 см3 раствора аскорбиновой кислоты, 0,1 см3 раствора сурьмяновиннокислого калия, доводят водой объем до 10 см3. После добавления каждого реактива содержимое тщательно перемешивают. Добавляют 1 см3 изоамилового спирта, встряхивают в течение 30 с. Интенсивность окраски органического слоя шкалы растворов сравнения используют для определения фосфора через 5 мин.
4. ОБРАБОТКА РЕЗУЛЬТАТОВ
4.1. Массовую долю фосфора (X) в процентах вычисляют по формуле
где m1 - масса фосфора в пробе, мкг,
m2 - средняя масса фосфора в контрольном опыте, мкг,
m - масса навески галлия, г.
4.2. За результат анализа принимают среднее арифметическое значение двух результатов параллельных определений, проведенных из отдельных навесок.
Допускаемые расхождения двух результатов параллельных определений и двух результатов анализа (разность большего и меньшего) с доверительной вероятностью P = 0,95 приведены в таблице.
Массовая доля фосфора, %
Допускаемое расхождение, %
1,0·10-5
0,3·10-5
5,0·10-5
2,0·10-5
1,0·10-4
0,3·10-4
Допускаемое расхождение для промежуточных массовых долей фосфора рассчитывают методом линейной интерполяции.
4.3. Контроль правильности анализа проводят методом добавок по ГОСТ 25086.