Главная // Актуальные документы // ГОСТ (Государственный стандарт)
СПРАВКА
Источник публикации
М.: Стандартинформ, 2014
Примечание к документу
Документ введен в действие с 1 января 2013 года.
Название документа
"ГОСТ ISO 9873-2011. Межгосударственный стандарт. Инструменты стоматологические ручные. Зеркала и ручки к ним многоразового использования"
(введен в действие Приказом Росстандарта от 13.12.2011 N 1269-ст)

"ГОСТ ISO 9873-2011. Межгосударственный стандарт. Инструменты стоматологические ручные. Зеркала и ручки к ним многоразового использования"
(введен в действие Приказом Росстандарта от 13.12.2011 N 1269-ст)


Содержание


Введен в действие
Приказом Федерального агентства
по техническому регулированию
и метрологии
от 13 декабря 2011 г. N 1269-ст
МЕЖГОСУДАРСТВЕННЫЙ СТАНДАРТ
ИНСТРУМЕНТЫ СТОМАТОЛОГИЧЕСКИЕ РУЧНЫЕ
ЗЕРКАЛА И РУЧКИ К НИМ МНОГОРАЗОВОГО ИСПОЛЬЗОВАНИЯ
Dental hand instruments. Reusable mirrors and handles
(ISO 9873:1998, IDT)
ГОСТ ISO 9873-2011
МКС 11.060.20
Дата введения
1 января 2013 года
Предисловие
Цели, основные принципы и порядок проведения работ по межгосударственной стандартизации установлены ГОСТ 1.0-92 "Межгосударственная система стандартизации. Основные положения" и ГОСТ 1.2-2009 "Межгосударственная система стандартизации. Стандарты межгосударственные, правила и рекомендации по межгосударственной стандартизации. Правила разработки, принятия, применения, обновления и отмены"
Сведения о стандарте
1 ПОДГОТОВЛЕН Федеральным государственным унитарным предприятием "Всероссийский научно-исследовательский институт стандартизации и сертификации в машиностроении" (ВНИИНМАШ)
2 ВНЕСЕН Федеральным агентством по техническому регулированию и метрологии
3 ПРИНЯТ Межгосударственным советом по стандартизации, метрологии и сертификации (протокол от 29 ноября 2011 г. N 40)
За принятие проголосовали:
Краткое наименование страны по МК (ИСО 3166) 004-97
Код страны по МК (ИСО 3166) 004-97
Сокращенное наименование национального органа по стандартизации
Беларусь
BY
Госстандарт Республики Беларусь
Казахстан
KZ
Госстандарт Республики Казахстан
Киргизия
KG
Кыргызстандарт
Россия
RU
Росстандарт
Таджикистан
TJ
Таджикстандарт
Узбекистан
UZ
Узстандарт
4 Приказом Федерального агентства по техническому регулированию и метрологии от 13 декабря 2011 г. N 1269-ст межгосударственный стандарт ГОСТ ISO 9873-2011 введен в действие в качестве национального стандарта Российской Федерации с 1 января 2013 г.
5 Настоящий стандарт идентичен международному стандарту ISO 9873:1998 Dental hand instruments - Reusable mirrors and handles (Инструменты стоматологические ручные. Зеркала и ручки к ним многоразового использования).
Сведения о соответствии межгосударственных стандартов ссылочным международным стандартам приведены в дополнительном приложении ДА.
Степень соответствия - идентичная (IDT).
Стандарт подготовлен на основе применения ГОСТ Р ИСО 9873-2006
6 ВВЕДЕН ВПЕРВЫЕ
Информация об изменениях к настоящему стандарту публикуется в ежегодном информационном указателе "Национальные стандарты", а текст изменений и поправок - в ежемесячном информационном указателе "Национальные стандарты". В случае пересмотра (замены) или отмены настоящего стандарта соответствующее уведомление будет опубликовано в ежемесячном информационном указателе "Национальные стандарты". Соответствующая информация, уведомление и тексты размещаются также в информационной системе общего пользования - на официальном сайте Федерального агентства по техническому регулированию и метрологии в сети Интернет
Введение
Настоящий стандарт является прямым применением международного стандарта ISO 9873:1998 "Инструменты стоматологические ручные. Зеркала и ручки к ним многоразового использования", подготовленного Техническим комитетом ISO/ТК 106 "Зубоврачебное дело", Подкомитетом 4 "Стоматологические инструменты".
Настоящий стандарт определяет типовые требования для стоматологических смотровых и расширительных инструментов, обычно используемых в мире. Однако существуют и используются другие типы зеркал, которые имеют другую конструкцию и/или изготовлены из других материалов. Среди них - зеркала с пластиковыми корпусами и стержнями, зеркала с отражающими поверхностями из полированного металла (в отличие от покрытой стеклянной поверхности), зеркала с конусными соединительными элементами, зеркала одноразового использования. Стандартизация этих типов может представлять предмет будущей работы.
1 Область применения
Настоящий стандарт устанавливает требования и методы испытаний для зеркал многократного использования с нанесенным на стекло отражающим слоем и металлическим корпусом и для металлических ручек, применяемых в стоматологии для осмотра ротовой полости.
2 Нормативные ссылки
В настоящем стандарте использованы ссылки на следующие стандарты.
ISO 68-1:1998 ISO general purpose screw threads - Basic profile - Part 1: Metric screw threads (Резьбы по ИСО винтовые общего назначения. Основной профиль. Часть 1. Метрические винтовые резьбы)
ISO 724:1993 ISO general-purpose metric screw threads - Basic dimensions (Резьбы по ИСО метрические общего назначения. Основные размеры)
ISO 965-1:1998 ISO general purpose metric screw threads - Tolerances - Part 1: Principles and basic data (Резьбы ИСО метрические общего назначения. Допуски. Часть 1. Принципы и основные данные)
ISO 1942-3:1989 Dental vocabulary - Part 3: Dental instruments (Стоматология. Словарь. Часть 3. Стоматологические инструменты)
ISO 3696:1987 Water for analytical laboratory use - Specification and test methods (Вода для лабораторного анализа. Технические требования и методы испытаний)
ISO 7153-1:1991 Surgical instruments - Metallic materials - Part 1: Stainless steel (Инструменты хирургические. Металлические материалы. Часть 1. Нержавеющая сталь)
ISO 13402:1995 Surgical and dental hand instruments - Determination of resistance against autoclaving, corrosion and thermal exposure (Инструменты хирургические и стоматологические ручные. Определение стойкости к стерилизации в автоклаве, коррозии и воздействию тепла)
3 Термины и определения
В настоящем стандарте применены термины по ISO 1942-3, а также следующие термины с соответствующими определениями:
3.1 зеркало (mirror): Инструмент, состоящий из головки зеркала и ручки и предназначенный для осмотра ротовой полости или общего осмотра.
3.2 головка зеркала (mirror head): Узел, включающий стеклянную отражающую поверхность, корпус, упаковку (если имеется) и стержень.
3.3 стержень (stem): Часть головки зеркала, соединяющая стекло и корпус с ручкой.
3.4 отражающая поверхность (reflecting surface): Слой, нанесенный на стекло зеркала, для отражения света.
3.5 задняя отражающая поверхность (reflecting back surface): Отражающий слой, нанесенный на заднюю поверхность стекла зеркала так, чтобы изображение было видно через стекло.
3.6 передняя отражающая поверхность (reflecting front surface): Отражающий слой, нанесенный на переднюю поверхность стекла зеркала так, чтобы изображение было видно без прохождения стеклянного слоя.
3.7 плоское зеркало (plane mirror): Стоматологическое зеркало, отражающая поверхность которого плоская.
3.8 увеличивающее зеркало (magnifying mirror): Стоматологическое зеркало, отражающая поверхность которого вогнутая, для увеличения изображения наблюдаемого объекта.
3.9 видимая поверхность (viewing surface): Поверхность стекла зеркала, исключая фаски, не закрытая металлическим корпусом (см. рисунок 1, диаметр d2).
3.10 искажение (distortion): Деформация изображения из-за оптического дефекта (дефектов).
4 Общие требования
4.1 Размеры
4.1.1 Общая длина
Максимальная общая длина головки зеркала с ручкой должна быть 178 мм. Если зеркало может быть отделено от ручки для стерилизации, максимальная длина 178 мм применима к каждой из отдельных частей.
4.1.2 Размеры соединений между стержнем и ручкой
Размер соединительной резьбы между стержнем и ручкой должен быть M2,5 в соответствии с ISO 724. Допуск для стержня должен быть 6e, для ручки - 6H, в соответствии с ISO 965-1. Длина резьбы должна соответствовать указанной на рисунке 1.
4.1.3 Размеры корпуса и видимой поверхности зеркала
Стоматологические зеркала должны иметь размеры, указанные на рисунке 1 и в таблице 1.
Размеры в миллиметрах
--------------------------------
<1> См. ISO 724.
<2> Следует установить, см. 6.3.
<3> В собранном виде.
Рисунок 1 - Стоматологическое зеркало
Таблица 1
Головка зеркала и видимая поверхность
Размеры в миллиметрах
Предпочтительные размеры и обозначения
Номинальный диаметр d1
d2
Обозначения размеров, используемые в настоящее время
16
d1 минус не более 2,5 мм
1
18
2
20
3
22
4
24
5
26
d1 минус не более 3 мм
6
28
7
30
8
Примечание 1 - Размер головки зеркала основан на номинальном диаметре d1 корпуса, каждый последующий размер возрастает на 2 мм.
Примечание 2 - Предпочтительные размеры рекомендуются для обозначений всех стоматологических приложений.
4.1.4 Положение головки зеркала относительно стержня
Головка зеркала должна быть расположена так, чтобы продольная ось стержня делила корпус пополам, обеспечивая его симметричное крепление относительно плоской поверхности стекла/корпуса зеркала. Визуальный осмотр - в соответствии с 5.1.
4.2 Материалы
4.2.1 Стекло зеркала
Стекло зеркала должно быть изготовлено из полированного стекла без видимых дефектов типа волн, сколов, царапин и других изъянов, видимых невооруженным глазом.
Стекло или покрытие передней отражающей поверхности стекла не должно иметь никаких пятен или других дефектов после проведения испытаний по 5.2 - 5.5.
4.2.2 Корпус зеркала
Корпус зеркала должен быть изготовлен из коррозионно-стойкого металла, например из нержавеющей стали или цветного сплава с покрытием. Металл не должен иметь никаких видимых признаков коррозии после проведения испытаний по 5.2 - 5.5. Любое видимое пятно на металле следует рассматривать как коррозию.
4.2.3 Ручка зеркала
Ручки зеркала должны быть изготовлены из нержавеющей стали в соответствии с ISO 7153-1, хромированного цветного сплава или других металлических материалов, обеспечивающих выполнение требований 4.3.6.
4.3 Другие требования
4.3.1 Корпус головки зеркала
Корпус должен иметь формованный край без видимых острых граней, шипов или других неровностей, который должен быть ниже уровня видимой поверхности стекла.
Визуальный осмотр - в соответствии с 5.1.
Стекло должно быть установлено и закреплено в корпусе в таком положении, чтобы никакое перемещение не могло произойти при нормальных условиях эксплуатации. Отражающая поверхность и, если применяется, упаковочный материал в пределах корпуса головки зеркала не должны иметь никаких дефектов после испытаний по 5.2 - 5.5.
4.3.2 Отражающие поверхности
Отражающие поверхности должны позволять видеть рассматриваемое изображение через всю видимую поверхность.
Визуальный осмотр - в соответствии с 5.1.
4.3.3 Номинальное увеличение
Номинальное увеличение увеличивающих зеркал должно быть от 2,8 до 3,3.
Номинальное увеличение M вычисляется по формуле
M = 250/f,
где f - фокусное расстояние, мм;
250 - наименьшее расстояние для отчетливого изображения, мм.
Испытание - в соответствии с 5.6.2
4.3.4 Искажения
Не должно быть никаких видимых искажений отражающей поверхности плоского или увеличительного зеркала после проведения испытаний по 5.7.
4.3.5 Прочность соединения корпуса со стержнем
Соединение корпуса зеркала со стержнем должно выдерживать испытательную нагрузку без видимого ослабления или деформации в соответствии с 5.8.
4.3.6 Ручка зеркала
Все наружные поверхности ручки должны быть без видимых дефектов.
Ручка не должна иметь никаких признаков коррозии или дефектов после проведения испытаний по 5.4 и 5.5.
Полые ручки не должны выделять никаких пузырьков воздуха при проведении испытаний по 5.9.
Визуальный осмотр - в соответствии с 5.1.
5 Методы испытаний
5.1 Визуальный осмотр
Визуальный осмотр проводят при нормальном освещении без увеличения.
5.2 Последовательность испытаний
Испытания 5.3 - 5.5 выполняют последовательно и непрерывно следующим образом:
- 50 циклов для головки зеркала в соответствии с 5.3;
- пять циклов для инструмента в целом (головки зеркала с ручкой) в соответствии с 5.4;
- пять циклов для инструмента в целом (головки зеркала с ручкой) в соответствии с 5.5.
После завершения испытаний 5.3 - 5.5 инструмент вытирают и тщательно протирают мягкой сухой тканью. Проверяют наличие любых признаков коррозии или других дефектов в соответствии с 5.1.
5.3 Испытание водой и сухим нагревом
5.3.1 Материалы
Дистиллированная или деионизированная вода 3-й степени чистоты в соответствии с ISO 3696.
5.3.2 Аппаратура
5.3.2.1 Емкость из коррозионно-стойкого материала (из нержавеющей стали или из хромированного металла).
5.3.2.2 Печь сухого нагрева, обеспечивающая температуру (175 +/- 5) °C.
5.3.3 Проведение испытания
Головку зеркала помещают в дистиллированную или деионизированную воду (5.3.1) комнатной температуры и выдерживают ее там 10 мин. Вынимают головку зеркала из жидкости, помещают в печь сухого нагрева (5.3.2.2) температурой (175 +/- 5) °C и выдерживают ее там 15 мин.
Удаляют головку зеркала из печи сухого нагрева и охлаждают ее на воздухе до комнатной температуры.
Цикл повторяют 50 раз.
Примечание - Это испытание должно гарантировать, что нет никаких повреждений отражающей поверхности из-за попадания воды.
5.4 Испытание автоклавированием
Испытание автоклавированием проводят пять раз в соответствии с ISO 13402.
5.5 Температурные испытания
Температурные испытания проводят пять раз в соответствии с ISO 13402.
5.6 Определения номинального увеличения зеркала
5.6.1 Аппаратура (см. рисунок 2)
В отверстие A диаметром 10 мм помещают перекрещивающиеся проволоки и располагают источник света позади устройства. Белую карточку B, размеченную на квадраты, устанавливают относительно отверстия A так, чтобы изображение перекрещивающихся проволок было в той же самой горизонтальной плоскости, что и перекрещивающиеся проволоки.
Рисунок 2 - Устройство для определения номинального
увеличения
5.6.2 Проведение испытаний
Зеркало (с ручкой или без) помещают, как показано на рисунке 2, и двигают вперед или назад до достижения резкого изображения в центральном квадрате карточки B. Измеряют фокусное расстояние f между зеркалом и карточкой B с точностью до +/- 1 мм. Вычисляют номинальное увеличение M в соответствии с 4.3.3.
5.7 Искажения
5.7.1 Аппаратура (см. рисунок 3)
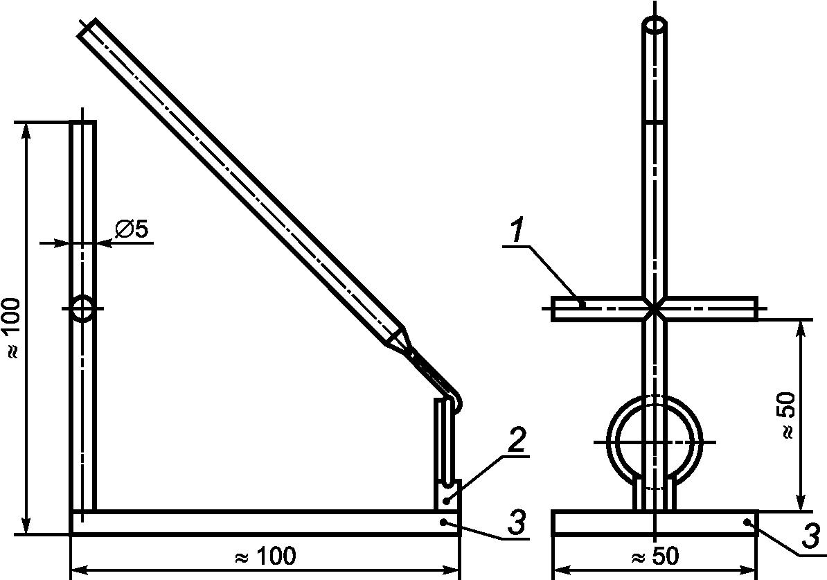
Стойка устройства состоит из стержня диаметром 5 мм с горизонтальной перекладиной в своей средней части. Опора 2 имеет углубление, в которое устанавливают головку зеркала.
1 - перекладина; 2 - опора; 3 - основание
Рисунок 3 - Устройство для проверки искажений (см. 4.3.4)
5.7.2 Проведение испытаний
Головку зеркала вворачивают в ручку и устанавливают на подставку с ручкой в той же самой вертикальной плоскости, что и стойка устройства. Наблюдают за отражающей поверхностью из положения непосредственно над вертикальной стойкой и перемещают ручку до получения видимого изображения пересечения стойки с перекладиной.
Перемещают зеркало вертикально вверх и вниз, удерживая его на одной линии со стойкой устройства, и наблюдают за любыми возможными искажениями изображения перекладины и стойки.
Повторяют проверку после размещения листа миллиметровой бумаги на перекладине устройства. Еще раз наблюдают за любыми возможными искажениями изображения миллиметровой бумаги.
5.8 Проверка прочности соединения корпуса со стержнем
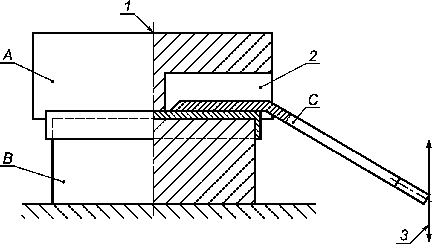
5.8.1 Аппаратура (см. рисунок 4)
Компоненты A и B представляют собой две цилиндрические металлические детали такой формы, чтобы они внешними и внутренними контурами соответствовали корпусу и стержню зеркала. Паз в детали A изготовляют на 3 мм шире, чем стержень в месте соединения с корпусом. Глубина паза должна быть достаточной, чтобы гарантировать отсутствие контакта стержня зеркала C со стенками паза в процессе испытания.
ИС МЕГАНОРМ: примечание.
Фрагмент текста, выделенный в официальном тексте документа двойной вертикальной линией, расположенной на полях напротив соответствующего текста, в электронной версии документа выделен одинарной вертикальной линией справа от текста.
1 - зажим; 2 - паз; 3 - приложение нагрузки
Рисунок 4 - Устройство для зажимания корпуса зеркала
5.8.2 Проведение испытания
Соединенные между собой корпус и стержень C прикручивают к ручке и прочно зажимают деталями A и B. Прикладывают к ручке изгибающий момент, равный 1,25 Н·м в двух направлениях, под углом 90° к плоскости корпуса зеркала (см. рисунок 4).
5.9 Испытание на герметичность полых ручек
5.9.1 Аппаратура
Испытательный прибор состоит из термостойкого сосуда, содержащего прозрачное масло с минимальной температурой воспламенения 220 °C [1] и номинальной кинематической вязкостью 16,5 мм23 при 100 °C [2] в количестве, достаточном для полного погружения ручки зеркала.
5.9.2 Проведение испытаний
Масло нагревают до (180 +/- 5) °C, а затем полностью погружают ручку зеркала в масло на 2 мин. Никакие воздушные пузыри не должны выделяться в течение этого времени.
6 Маркировка
6.1 Головка зеркала
Головка зеркала должна иметь несмываемую маркировку, содержащую:
a) наименование изготовителя или торговую марку;
b) обозначение размера головки зеркала (см. таблицу 1).
Кроме того, на головку зеркала допускается наносить следующую информацию:
c) букву "P" для плоского или "M" для увеличивающего зеркала;
d) обозначение настоящего стандарта.
6.2 Ручка зеркала
Ручка зеркала должна иметь несмываемую маркировку, содержащую:
a) наименование изготовителя или торговую марку.
Кроме того, на ручку зеркала допускается наносить следующую информацию:
b) обозначение настоящего стандарта.
6.3 Упаковка
Каждая упаковка должна иметь маркировку, содержащую:
a) наименование изготовителя или торговую марку;
b) обозначение размера головки зеркала (см. таблицу 1);
c) надпись "плоское" или "увеличивающее";
d) угол головки зеркала;
e) номер партии.
Кроме того, на упаковку допускается наносить следующую информацию:
f) букву "P" для плоского или "M" для увеличивающего зеркала;
g) обозначение настоящего стандарта.
Приложение ДА
(справочное)
СВЕДЕНИЯ О СООТВЕТСТВИИ МЕЖГОСУДАРСТВЕННЫХ СТАНДАРТОВ
ССЫЛОЧНЫМ МЕЖДУНАРОДНЫМ СТАНДАРТАМ
Таблица ДА.1
Обозначение и наименование ссылочного международного стандарта
Обозначение и наименование международного стандарта другого года издания
Степень соответствия
Обозначение и наименование межгосударственного стандарта
ISO 68-1:1998 Резьбы по ИСО винтовые общего назначения. Основной профиль. Часть 1. Метрические винтовые резьбы
-
MOD
ГОСТ 9150-2002 (ИСО 68-1-1998) Основные нормы взаимозаменяемости. Резьба метрическая. Профиль
ISO 724:1993 Резьбы по ИСО метрические общего назначения. Основные размеры
-
MOD
ГОСТ 24705-2004 (ИСО 724-1993) Основные нормы взаимозаменяемости. Резьба метрическая. Основные размеры
ISO 965-1:1998 Резьбы ИСО метрические общего назначения. Допуски. Часть 1. Принципы и основные данные
-
MOD
ГОСТ 16093-2004 (ИСО 965-1-1998, ИСО 965-3-1998) Основные нормы взаимозаменяемости. Резьба метрическая. Допуски. Посадки с зазором
ISO 1942-3:1989 Стоматология. Словарь. Часть 3. Стоматологические инструменты
-
-
ISO 3696:1987 Вода для лабораторного анализа. Технические требования и методы испытаний
-
-
ISO 7153-1:1991 Инструменты хирургические. Металлические материалы. Часть 1. Нержавеющая сталь
ISO 7153-1:1988 Инструменты хирургические. Металлические материалы. Часть 1. Нержавеющая сталь
MOD
ГОСТ 30208-94 (ИСО 7153-1-88) Инструменты хирургические. Металлические материалы. Часть 1. Нержавеющая сталь (ISO 7153-1:1988, MOD)
ISO 13402:1995 Инструменты хирургические и стоматологические ручные. Определение стойкости к стерилизации в автоклаве, коррозии и воздействию тепла
-
IDT
ГОСТ ISO 13402-2011 Инструменты хирургические и стоматологические ручные. Определение устойчивости к автоклавированию, коррозии и тепловому воздействию. Методы испытаний
<*> Соответствующий межгосударственный стандарт отсутствует. До его утверждения рекомендуется использовать перевод на русский язык данного международного стандарта. Перевод данного международного стандарта находится в Федеральном информационном фонде технических регламентов и стандартов.
Примечание - В настоящем стандарте использованы следующие условные обозначения степени соответствия стандартов:
- MOD - модифицированные стандарты;
- IDT - идентичные стандарты.
Библиография
[1]
ISO 2592:1973
Petroleum products - Determination of flash and fire points - Cleveland open cup method (Нефтепродукты. Определение температур вспышки и воспламенения. Метод с применением прибора Кливленда с открытым тиглем)
[2]
ISO 3104:1994
Petroleum products - Transparent and opaque liquids - Determination of kinematic viscosity and calculation of dynamic viscosity. (Нефтепродукты. Прозрачные и непрозрачные жидкости. Определение кинематической вязкости и расчет динамической вязкости)