Главная // Актуальные документы // ГОСТ (Государственный стандарт)СПРАВКА
Источник публикации
М.: Стандартинформ, 2016
Примечание к документу
Документ
введен в действие с 1 января 2018 года.
Название документа
"ГОСТ ISO 14579-2015. Межгосударственный стандарт. Винты с цилиндрической головкой и звездообразным углублением под ключ"
(введен в действие Приказом Росстандарта от 31.05.2016 N 452-ст)
"ГОСТ ISO 14579-2015. Межгосударственный стандарт. Винты с цилиндрической головкой и звездообразным углублением под ключ"
(введен в действие Приказом Росстандарта от 31.05.2016 N 452-ст)
агентства по техническому
регулированию и метрологии
от 31 мая 2016 г. N 452-ст
МЕЖГОСУДАРСТВЕННЫЙ СТАНДАРТ
ВИНТЫ С ЦИЛИНДРИЧЕСКОЙ ГОЛОВКОЙ
И ЗВЕЗДООБРАЗНЫМ УГЛУБЛЕНИЕМ ПОД КЛЮЧ
Hexalobular socket head cap screws
(ISO 14579:2011, IDT)
ГОСТ ISO 14579-2015
ОКП 16100
Дата введения
1 января 2018 года
Цели, основные принципы и основной порядок проведения работ по межгосударственной стандартизации установлены
ГОСТ 1.0-92 "Межгосударственная система стандартизации. Основные положения" и
ГОСТ 1.2-2009 "Межгосударственная система стандартизации. Стандарты межгосударственные, правила и рекомендации по межгосударственной стандартизации. Правила разработки, принятия, применения, обновления и отмены"
1 ПОДГОТОВЛЕН Федеральным государственным унитарным предприятием "Всероссийский научно-исследовательский институт стандартизации и сертификации в машиностроении" (ВНИИНМАШ) и Федеральным государственным унитарным предприятием "Центральный ордена Трудового Красного Знамени научно-исследовательский автомобильный и автомоторный институт "НАМИ" (ФГУП "НАМИ") на основе собственного перевода на русский язык англоязычной версии стандарта, указанного в
пункте 5
2 ВНЕСЕН Федеральным агентством по техническому регулированию и метрологии (Росстандарт)
3 ПРИНЯТ Межгосударственным советом по стандартизации, метрологии и сертификации (протокол от 27 октября 2015 г. N 81-П)
За принятие стандарта голосовали:
Краткое наименование страны по МК (ИСО 3166) 004-97 | Код страны по МК (ИСО 3166) 004-97 | Сокращенное наименование национального органа по стандартизации |
Азербайджан | AZ | Азстандарт |
Армения | AM | Минэкономики Республики Армения |
Беларусь | BY | Госстандарт Республики Беларусь |
Грузия | GE | Грузстандарт |
Казахстан | KZ | Госстандарт Республики Казахстан |
Киргизия | KG | Кыргызстандарт |
Молдова | MD | Молдова-Стандарт |
Россия | RU | Росстандарт |
Таджикистан | TJ | Таджикстандарт |
Туркменистан | TM | Главгосслужба "Туркменстандартлары" |
Узбекистан | UZ | Узстандарт |
Украина | UA | Минэкономразвития Украины |
4
Приказом Федерального агентства по техническому регулированию и метрологии от 31 мая 2016 г. N 452-ст межгосударственный стандарт ГОСТ ISO 14579-2015 введен в действие в качестве национального стандарта Российской Федерации с 1 января 2018 г.
5 Настоящий стандарт идентичен международному стандарту ISO 14579:2011 "Винты с цилиндрической головкой и звездообразным углублением под ключ" ("Hexalobular socket head cap screws", IDT).
Международный стандарт разработан техническим комитетом ISO/TC 2 "Крепежные изделия" Международной организации по стандартизации (ISO).
Официальные экземпляры международного стандарта, на основе которого подготовлен настоящий межгосударственный стандарт, и международных стандартов, на которые даны ссылки, имеются в Федеральном информационном фонде технических регламентов и стандартов.
При применении настоящего стандарта рекомендуется использовать вместо ссылочных международных стандартов соответствующие им межгосударственные стандарты, сведения о которых приведены в дополнительном
приложении ДА
6 ВВЕДЕН ВПЕРВЫЕ
Информация об изменениях к настоящему стандарту публикуется в ежегодном информационном указателе "Национальные стандарты" (по состоянию на 1 января текущего года), а текст изменений и поправок - в ежемесячном информационном указателе "Национальные стандарты". В случае пересмотра (замены) или отмены настоящего стандарта соответствующее уведомление будет опубликовано в ежемесячном информационном указателе "Национальные стандарты". Соответствующая информация, уведомление и тексты размещаются также в информационной системе общего пользования - на официальном сайте Федерального агентства по техническому регулированию и метрологии в сети Интернет
Настоящий стандарт устанавливает характеристики винтов с цилиндрической головкой и звездообразным углублением под ключ с резьбой от М2 до М20 для изделий класса точности A.
В случаях, когда необходимы характеристики, отличающиеся от установленных в настоящем стандарте, они могут быть выбраны из действующих международных стандартов, например ISO 261, ISO 888, ISO 898-1, ISO 965-2, ISO 965-3, ISO 3506-1 и ISO 4759-1.
Следующие нормативные документы обязательны при применении настоящего стандарта. Для датированных ссылок применять только указанные ниже стандарты. Для недатированных ссылок применять последнее издание ссылочных документов (включая все изменения).
ISO 225 Fasteners - Bolts, screws, studs and nuts - Symbols and descriptions of dimensions (Изделия крепежные - Болты, винты, шпильки и гайки - Символы и обозначения размеров)
ISO 261 ISO general purpose metric screw threads - General plan (Резьбы метрические ISO общего назначения - Общий вид)
ISO 898-1 Mechanical properties of fasteners made of carbon steel and alloy steel - Part 1: Bolts, screws and studs with specified property classes - Coarse thread and fine pitch thread (Механические свойства крепежных изделий из углеродистых и легированных сталей - Часть 1: Болты, винты и шпильки установленных классов прочности - Крупная и мелкая резьба)
ISO 965-2 ISO general purpose metric screw threads - Tolerances - Part 2: Limits of sizes for general purpose external and internal screw threads - Medium quality (Резьбы метрические ISO общего назначения - Допуски - Часть 2: Предельные размеры для наружной и внутренней резьб общего назначения - Средний класс точности)
ISO 965-3 ISO general purpose metric screw threads - Tolerances - Part 3: Deviations for constructional threads (Резьбы метрические ISO общего назначения - Допуски - Часть 3: Отклонения для конструкционных резьб)
ISO 3269 Fasteners - Acceptance inspection (Изделия крепежные - Приемочный контроль)
ISO 3506-1 Mechanical properties of corrosion-resistant stainless steel fasteners - Part 1: Bolts, screws and studs (Механические свойства крепежных изделий из коррозионно-стойкой нержавеющей стали - Часть 1: Болты, винты и шпильки)
ISO 4042 Fasteners - Electroplated coatings (Изделия крепежные - Электролитические покрытия)
ISO 4753 Fasteners - Ends of parts with external ISO metric thread (Изделия крепежные - Концы деталей с наружной метрической резьбой)
ISO 4759-1 Tolerances for fasteners - Part 1: Bolts, screws, studs and nuts - Product grades A, B and C (Изделия крепежные. Допуски - Часть 1: Болты, винты, шпильки и гайки. Классы точности A, B и C)
ISO 6157-1 Fasteners - Surface discontinuities - Part 1: Bolts, screws and studs for general requirements (Изделия крепежные - Дефекты поверхности - Часть 1: Болты, винты и шпильки общего назначения)
ISO 6157-3 Fasteners - Surface discontinuities - Part 3: Bolts, screws and studs for special requirements (Изделия крепежные - Дефекты поверхности - Часть 3: Болты, винты и шпильки специального назначения)
ISO 8839 Mechanical properties of fasteners - Bolts, screws, studs and nuts made of non ferrous metals (Механические свойства крепежных изделий - Болты, винты, шпильки и гайки из цветных металлов)
ISO 8992 Fasteners - General requirements for bolts, screws, studs and nuts (Изделия крепежные - Общие требования для болтов, винтов, шпилек и гаек)
ISO 10664 Hexalobular internal driving feature for bolts and screws (Углубление звездообразное под ключ для болтов и винтов)
ISO 10683 Fasteners - Nonelectrolytically applied zinc flake coatings (Изделия крепежные - Неэлектролитические цинк-ламельные покрытия)
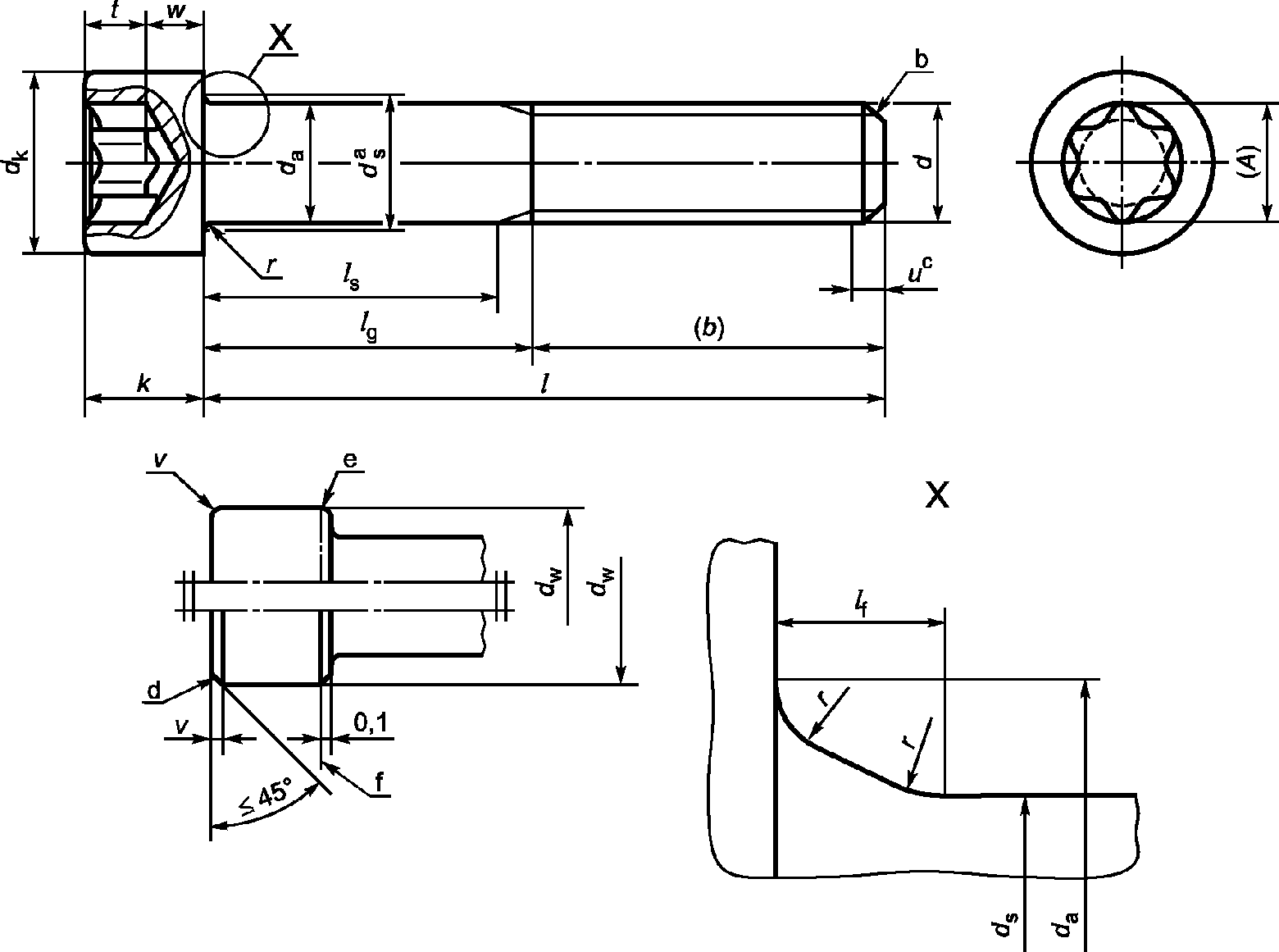
Максимальные размеры зоны перехода от стержня к головке:
lf, max = 1,7 rmax
rmax = (da, max - ds, max)/2
--------------------------------
<a> Размер ds является действительным, если установлен размер ls.
<b> Для типоразмеров <= М4 допускается выполнять конец без фаски по ISO 4753.
<c> Участок неполной резьбы u <= 2P.
<d> Верхняя кромка головки скруглена или с фаской по выбору изготовителя.
<e> Нижняя кромка головки может быть скруглена или с фаской до размера dw и должна быть без заусенцев.
<f> Базовая линия для dw.
Таблица 1
В миллиметрах
Продолжение таблицы 1
Продолжение таблицы 1
Символы и обозначения размеров по ISO 225.
4. Технические требования
Технические требования в соответствии с таблицей 2.
Таблица 2
Технические требования и ссылочные стандарты
Материал | Сталь | Нержавеющая сталь | Цветной металл |
Общие требования | Обозначение стандарта | ISO 8992 |
Резьба | Допуски | 5g6g для класса прочности 12.9/12.9; для других классов прочности: 6g |
Обозначение стандарта | ISO 261, ISO 965-2, ISO 965-3 |
Механические свойства | Класс прочности | < М3: по согласованию | | По согласованию |
>= М3: 8.8, 9.8, 10.9,  | A3-70, A5-70 |
Обозначение стандарта | | ISO 3506-1 | ISO 8839 |
Допуски | Класс точности | A |
Обозначение стандарта | ISO 4759-1 |
Звездообразное углубление | Обозначение стандарта | ISO 10664 |
Отделка - покрытие | Без покрытия | Без покрытия | Без покрытия |
Требования к электролитическим покрытиям по ISO 4042 | - | Требования к электролитическим покрытиям по ISO 4042 |
Требования к неэлектролитическим цинк-ламельным покрытиям по ISO 10683 | |
Дополнительные требования или другая отделка или покрытие должны быть согласованы между поставщиком и заказчиком |
Дефекты поверхности | Допустимые дефекты поверхности по ISO 6157-1, а для класса прочности  по ISO 6157-3 | - | - |
Приемка | Приемочный контроль по ISO 3269 |
<a> Для винтов, испытание на растяжение которых невозможно, действительными являются требования по твердости по всему сечению болта. <b> Для винтов, изготовленных резанием, допускаются: для размеров <= М12 класс прочности A1-70, для размеров > М12 класс прочности A1-50, с соответствующей маркировкой. |
Пример - Винт с цилиндрической головкой и звездообразным углублением под ключ, с резьбой М5, номинальной длиной l = 20 мм и класса прочности 8.8 обозначается следующим образом:
Винт с цилиндрической головкой и звездообразным углублением
под ключ ГОСТ ISO 14579 - М5х20 - 8.8
(справочное)
МАССА ВИНТОВ ИЗ УГЛЕРОДИСТЫХ СТАЛЕЙ
В таблице А.1 приведена приблизительная масса винтов из углеродистой стали со стандартными длинами, указанная только для справки.
Таблица А.1
Резьба d | М2 | М2,5 | М3 | М4 | М5 | М6 | М8 | М10 | М12 | (М14) | М16 | (М18) | М20 |
Номинальная длина l | Приблизительная масса винтов из углеродистой стали в кг на 1000 штук |
3 | 0,155 | | | | | | | | | | | | |
4 | 0,175 | 0,345 | | | | | | | | | | | |
5 | 0,195 | 0,375 | 0,67 | | | | | | | | | | |
6 | 0,215 | 0,405 | 0,71 | 1,50 | | | | | | | | | |
8 | 0,255 | 0,465 | 0,80 | 1,65 | 2,45 | | | | | | | | |
10 | 0,295 | 0,525 | 0,88 | 1,80 | 2,70 | 4,70 | | | | | | | |
12 | 0,355 | 0,585 | 0,96 | 1,95 | 2,95 | 5,07 | 10,9 | | | | | | |
16 | 0,415 | 0,705 | 1,16 | 2,25 | 3,45 | 5,75 | 12,1 | 20,9 | | | | | |
20 | 0,495 | 0,825 | 1,36 | 2,65 | 4,01 | 6,53 | 13,4 | 22,9 | 32,1 | | | | |
25 | | 0,975 | 1,61 | 3,15 | 4,78 | 7,59 | 15,0 | 25,4 | 35,7 | 48,0 | 71,3 | | |
30 | | | 1,86 | 3,65 | 5,55 | 8,30 | 16,9 | 27,9 | 39,3 | 53,0 | 77,8 | 111 | 128 |
35 | | | | 4,15 | 6,32 | 9,91 | 18,9 | 30,4 | 42,9 | 58,0 | 84,4 | 120 | 139 |
40 | | | | 4,65 | 7,09 | 11,0 | 20,9 | 32,9 | 46,5 | 63,0 | 91,0 | 129 | 150 |
45 | | | | | 7,86 | 12,1 | 22,9 | 36,1 | 50,1 | 68,0 | 97,6 | 138 | 161 |
50 | | | | | 8,63 | 13,2 | 24,9 | 39,3 | 54,5 | 73,0 | 106 | 147 | 172 |
55 | | | | | | 14,3 | 26,9 | 42,5 | 58,9 | 78,0 | 114 | 156 | 183 |
60 | | | | | | 15,4 | 28,9 | 45,7 | 63,4 | 84,0 | 122 | 165 | 194 |
65 | | | | | | | 31,0 | 48,9 | 67,8 | 90,0 | 130 | 174 | 205 |
70 | | | | | | | 33,0 | 52,1 | 71,3 | 96,0 | 138 | 183 | 216 |
80 | | | | | | | 37,0 | 58,5 | 80,2 | 108 | 154 | 203 | 241 |
90 | | | | | | | | 64,9 | 89,1 | 120 | 170 | 223 | 266 |
100 | | | | | | | | 71,2 | 98,0 | 132 | 186 | 243 | 291 |
110 | | | | | | | | | 107 | 144 | 202 | 263 | 316 |
120 | | | | | | | | | 116 | 156 | 218 | 283 | 341 |
130 | | | | | | | | | | 168 | 234 | 303 | 366 |
140 | | | | | | | | | | 180 | 250 | 323 | 391 |
150 | | | | | | | | | | | 266 | 343 | 416 |
160 | | | | | | | | | | | 282 | 363 | 441 |
180 | | | | | | | | | | | | 403 | 491 |
200 | | | | | | | | | | | | | 541 |
(справочное)
СВЕДЕНИЯ О СООТВЕТСТВИИ ССЫЛОЧНЫХ МЕЖДУНАРОДНЫХ СТАНДАРТОВ
МЕЖГОСУДАРСТВЕННЫМ СТАНДАРТАМ
Таблица ДА.1
Сведения о соответствии ссылочных международных стандартов
межгосударственным стандартам
Обозначение ссылочного международного стандарта | Степень соответствия | Обозначение и наименование межгосударственного стандарта |
ISO 225 | - | |
ISO 261 | MOD | ГОСТ 8724-2002 (ИСО 261-98) <**> Основные нормы взаимозаменяемости. Резьба метрическая. Диаметры и шаги |
ISO 898-1 | IDT | ГОСТ ISO 898-1-2014 Механические свойства крепежных изделий из углеродистых и легированных сталей. Часть 1. Болты, винты и шпильки установленных классов прочности с крупным и мелким шагом резьбы |
ISO 965-2 | - | |
ISO 965-3 | MOD | ГОСТ 16093-2004 (ИСО 965-1:1998, ИСО 965-3:1998) <**> Основные нормы взаимозаменяемости. Резьба метрическая. Допуски. Посадки с зазором |
ISO 3269 | IDT | |
ISO 3506-1 | IDT | ГОСТ ISO 3506-1-2014 Механические свойства крепежных изделий из коррозионно-стойкой нержавеющей стали. Часть 1. Болты, винты и шпильки |
ISO 4042 | IDT | |
ISO 4753 | NEQ | |
ISO 4759-1 | IDT | ГОСТ ISO 4759-1-2015 "Изделия крепежные. Допуски. Часть 1. Болты, винты, шпильки и гайки. Классы точности A, B и C" |
ISO 6157-1 | IDT | ГОСТ ISO 6157-1-2015 "Изделия крепежные. Дефекты поверхности. Часть 1. Болты, винты и шпильки общего назначения" |
ISO 6157-3 | IDT | ГОСТ ISO 6157-3-2014 "Изделия крепежные. Дефекты поверхности. Часть 3. Болты, винты и шпильки специальные" |
ISO 8839 | IDT | ГОСТ EN 28839-2015 "Механические свойства крепежных изделий. Болты, винты, шпильки и гайки из цветных металлов" |
ISO 8992 | IDT | ГОСТ ISO 8992-2015 "Изделия крепежные. Общие требования для болтов, винтов, шпилек и гаек" |
ISO 10664 | - | |
ISO 10683 | - | |
<*> Соответствующий межгосударственный стандарт отсутствует. До его утверждения рекомендуется использовать перевод на русский язык данного международного стандарта. Перевод данного международного стандарта находится в Федеральном информационном фонде технических регламентов и стандартов. <**> Внесенные технические отклонения обеспечивают выполнение требований настоящего стандарта. Примечание - В настоящей таблице использованы следующие условные обозначения степени соответствия стандартов: - IDT - идентичные стандарты; - MOD - модифицированные стандарты; - NEQ - неэквивалентные стандарты. |
--------------------------------
ISO 888, Bolts, screws and studs - Nominal lengths, and thread lengths for general purpose bolts