Главная // Актуальные документы // ГОСТ (Государственный стандарт)
СПРАВКА
Источник публикации
М.: Стандартинформ, 2015
Примечание к документу
Текст данного документа приведен с учетом поправки, опубликованной в "ИУС", N 9, 2018; поправки, опубликованной в "ИУС", N 11, 2019.

Документ введен в действие с 1 октября 2015 года с правом досрочного применения.
Название документа
"ГОСТ 33142-2014. Межгосударственный стандарт. Дороги автомобильные общего пользования. Битумы нефтяные дорожные вязкие. Метод определения температуры размягчения. Метод "Кольцо и Шар"
(введен в действие Приказом Росстандарта от 29.05.2015 N 528-ст)

"ГОСТ 33142-2014. Межгосударственный стандарт. Дороги автомобильные общего пользования. Битумы нефтяные дорожные вязкие. Метод определения температуры размягчения. Метод "Кольцо и Шар"
(введен в действие Приказом Росстандарта от 29.05.2015 N 528-ст)


Содержание


Введен в действие
Приказом Федерального
агентства по техническому
регулированию и метрологии
от 29 мая 2015 г. N 528-ст
МЕЖГОСУДАРСТВЕННЫЙ СТАНДАРТ
ДОРОГИ АВТОМОБИЛЬНЫЕ ОБЩЕГО ПОЛЬЗОВАНИЯ
БИТУМЫ НЕФТЯНЫЕ ДОРОЖНЫЕ ВЯЗКИЕ
МЕТОД ОПРЕДЕЛЕНИЯ ТЕМПЕРАТУРЫ РАЗМЯГЧЕНИЯ.
МЕТОД "КОЛЬЦО И ШАР"
Automobile roads of general use. Viscous road
petroleum bitumens. Determination of the softening
point. Ring and Ball method
ГОСТ 33142-2014
МКС 93.080.020
Дата введения
1 октября 2015 года
с правом досрочного применения
Предисловие
Цели, основные принципы и основной порядок проведения работ по межгосударственной стандартизации установлены в ГОСТ 1.0-92 "Межгосударственная система стандартизации. Основные положения" и ГОСТ 1.2-2009 "Межгосударственная система стандартизации. Стандарты межгосударственные, правила и рекомендации по межгосударственной стандартизации. Правила разработки, принятия, применения, обновления и отмены".
Сведения о стандарте
1 РАЗРАБОТАН Автономной некоммерческой организацией "Научно-исследовательский институт транспортно-строительного комплекса" (АНО "НИИ ТСК"), Межгосударственным техническим комитетом по стандартизации МТК 418 "Дорожное хозяйство"
2 ВНЕСЕН Федеральным агентством по техническому регулированию и метрологии (Росстандарт)
3 ПРИНЯТ Межгосударственным советом по стандартизации, метрологии и сертификации (протокол от 5 декабря 2014 г. N 46)
За принятие проголосовали:
Краткое наименование страны по МК (ИСО 3166) 004-97
Код страны по МК (ИСО 3166) 004-97
Сокращенное наименование национального органа по стандартизации
Азербайджан
AZ
Азстандарт
Армения
AM
Минэкономики Республики Армения
Беларусь
BY
Госстандарт Республики Беларусь
Казахстан
KZ
Госстандарт Республики Казахстан
Киргизия
KG
Кыргызстандарт
Россия
RU
Росстандарт
Таджикистан
TJ
Таджикстандарт
Узбекистан
UZ
Узстандарт
4 Приказом Федерального агентства по техническому регулированию и метрологии от 29 мая 2015 г. N 528-ст межгосударственный стандарт ГОСТ 33142-2014 введен в действие в качестве национального стандарта Российской Федерации с 1 октября 2015 г.
5 ВВЕДЕН ВПЕРВЫЕ
Информация об изменениях к настоящему стандарту публикуется в ежегодном информационном указателе "Национальные стандарты", а текст изменений и поправок - в ежемесячном информационном указателе "Национальные стандарты". В случае пересмотра (замены) или отмены настоящего стандарта соответствующее уведомление будет опубликовано в ежемесячном информационном указателе "Национальные стандарты". Соответствующая информация, уведомление и тексты размещаются также в информационной системе общего пользования - на официальном сайте Федерального агентства по техническому регулированию и метрологии в сети Интернет.
1 Область применения
Настоящий стандарт распространяется на вязкие дорожные нефтяные битумы (далее - битумы), предназначенные в качестве вяжущего материала при строительстве, реконструкции и ремонте дорожных покрытий и устанавливает метод определения температуры размягчения битумов по кольцу и шару от 30 °C до 80 °C.
2 Нормативные ссылки
В настоящем стандарте использованы нормативные ссылки на следующие межгосударственные стандарты:
ГОСТ 12.1.004-91 Система стандартов безопасности труда. Пожарная безопасность. Общие требования
ГОСТ 12.1.005-88 Система стандартов безопасности труда. Общие санитарно-гигиенические требования к воздуху рабочей зоны
ГОСТ 12.1.007-76 Система стандартов безопасности труда. Вредные вещества. Классификация и общие требования безопасности
ГОСТ 12.1.044-89 Система стандартов безопасности труда. Пожаровзрывоопасность веществ и материалов. Номенклатура показателей и методы их определения
ГОСТ 12.4.131-83 Халаты женские. Технические условия
ГОСТ 12.4.132-83 Халаты мужские. Технические условия
ГОСТ 427-75 Линейки измерительные металлические. Технические условия
ГОСТ 859-2001 Медь. Марки
ГОСТ 2517-2012 Нефть и нефтепродукты. Методы отбора проб
ГОСТ 3722-81 Подшипники качения. Шарики. Технические условия
ГОСТ 6034-74 Декстрины. Технические условия
ГОСТ 6259-75 Реактивы. Глицерин. Технические условия
ГОСТ 6613-86 Сетки проволочные тканые с квадратными ячейками. Технические условия
ГОСТ 6709-72 Вода дистиллированная. Технические условия
ГОСТ 6823-2000 Глицерин натуральный сырой. Общие технические условия
ГОСТ 6824-96 Глицерин дистиллированный. Технические условия
ГОСТ 15527-2004 Сплавы медно-цинковые (латуни), обрабатываемые давлением. Марки
ГОСТ 17711-93 Сплавы медно-цинковые (латуни) литейные. Марки
ГОСТ 21235-75 Тальк и талькомагнезит молотые. Технические условия
ГОСТ 21241-89 Пинцеты медицинские. Общие технические требования и методы испытаний
ГОСТ 28846-90 Перчатки и рукавицы. Общие технические условия
ГОСТ 33133-2014 Дороги автомобильные общего пользования. Битумы нефтяные дорожные вязкие. Технические требования
Примечание - При пользовании настоящим стандартом целесообразно проверить действие ссылочных стандартов в информационной системе общего пользования - на официальном сайте Федерального агентства по техническому регулированию и метрологии в сети Интернет или по ежегодному информационному указателю "Национальные стандарты", который опубликован по состоянию на 1 января текущего года, и по выпускам ежемесячного информационного указателя "Национальные стандарты" за текущий год. Если ссылочный стандарт заменен (изменен), то при пользовании настоящим стандартом следует руководствоваться заменяющим (измененным) стандартом. Если ссылочный стандарт отменен без замены, то положение, в котором дана ссылка на него, применяется в части, не затрагивающей эту ссылку.
3 Термины и определения
В настоящем стандарте применены термины по ГОСТ 33133.
4 Требования к средствам измерений, вспомогательным устройствам, материалам и реактивам
При проведении испытания по определению температуры размягчения битума применяют следующие средства измерений, вспомогательные устройства, материалы и реактивы:
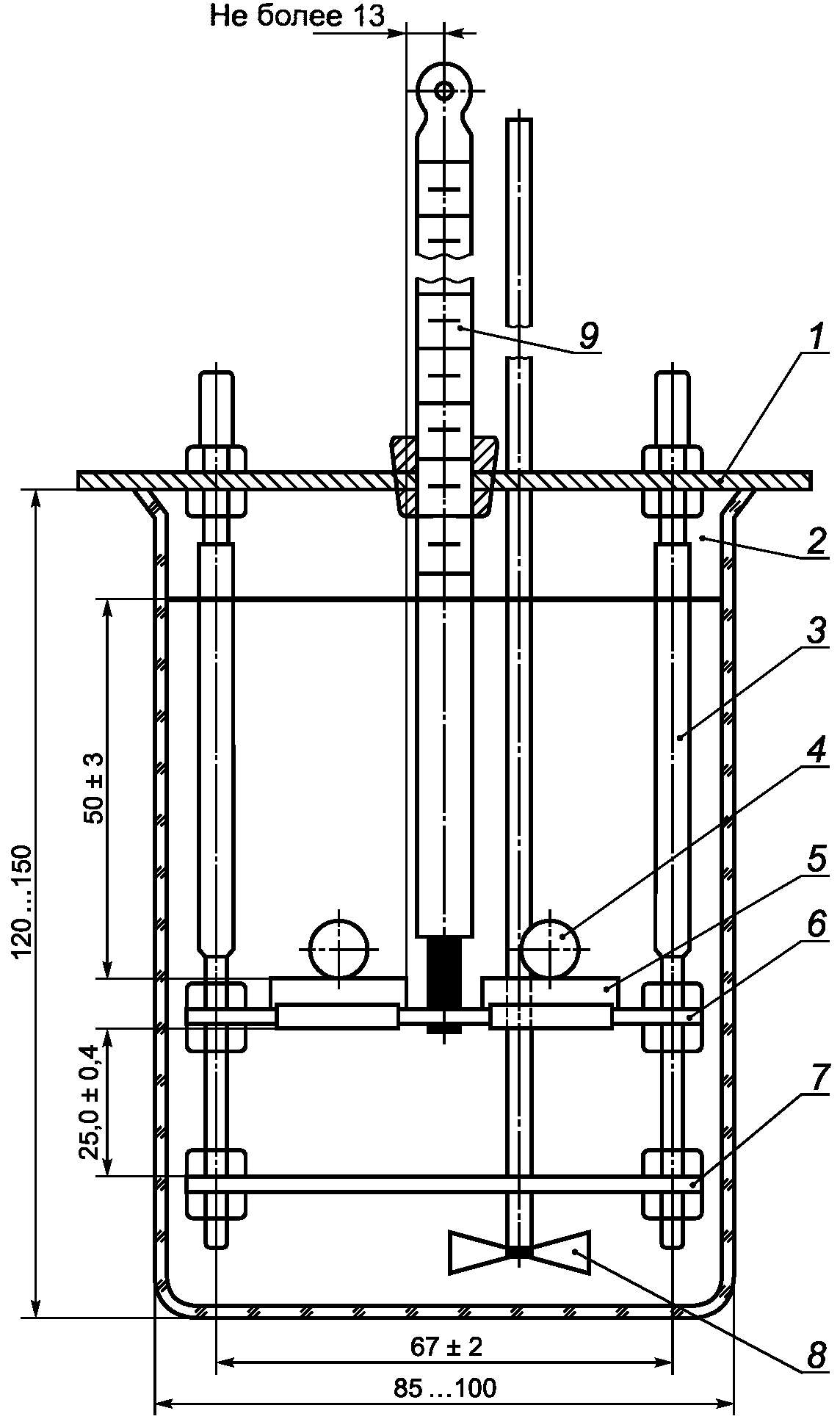
- аппарат для определения температуры размягчения битума в соответствии с рисунком А.1 (приложение А);
- стакан (баня) из термостойкого стекла диаметром не менее 85 мм и высотой не менее 120 мм;
- два латунных по ГОСТ 15527, ГОСТ 17711 или медных по ГОСТ 859 ступенчатых кольца в соответствии с рисунком А.2 (приложение А);
- пластинки металлические в соответствии с рисунками А.3 и А.4 (приложение А), расстояние между которыми составляет (25,0 +/- 0,4) мм;
- штатив, поддерживающий пластинки в горизонтальном положении;
- две направляющие латунные по ГОСТ 15527, ГОСТ 17711 или медные по ГОСТ 859 накладки для центрирования стальных шариков в соответствии с рисунком А.5 (приложение А);
- шарики стальные по ГОСТ 3722 с диаметром (9,525 +/- 0,050) мм и массой (3,50 +/- 0,05) г каждый;
- заливаемая полированная металлическая или стеклянная пластинка в соответствии с рисунком А.6 (приложение А);
- термометр с диапазоном температур измеряемой величины от 0 °C до плюс 80 °C, ценой деления 0,1 °C и погрешностью измерения не более 0,2 °C, внешним диаметром стержня от 6 до 8 мм, или аналогичный прибор, позволяющий проводить измерения в указанном диапазоне температур, с требуемой точностью.
Примечание - Термометр устанавливают в корпус аппарата (рисунок А.1) таким образом, чтобы нижняя точка его резервуара была на одном уровне с нижней поверхностью колец и удалена от них не более чем на 13 мм. Не допускается касание термометром ступенчатых и направляющих колец.
- сито с металлической сеткой N 07 по ГОСТ 6613 или другие сита с аналогичными размерами сетки;
- нож для срезания битума;
- линейка металлическая по ГОСТ 427;
- горелка газовая или плитка электрическая с регулировкой нагрева;
- мешалка пропеллерная, магнитная и другие виды мешалок (устройств) для перемешивания и обеспечения равномерности нагрева по высоте бани;
- подставка под баню в виде металлической сетки с асбестовым покрытием;
- глицерин по ГОСТ 6823, ГОСТ 6824, ГОСТ 6259;
- декстрин по ГОСТ 6034;
- тальк по ГОСТ 21235;
- пинцет по ГОСТ 21241;
- секундомер с точностью отсчета времени 0,1 с;
- стакан фарфоровый или металлический для расплавления битума;
- палочка стеклянная или металлическая для перемешивания битума;
- вода дистиллированная по ГОСТ 6709.
Примечание - Все металлические части испытательной аппаратуры должны быть изготовлены из нержавеющих материалов.
5 Метод испытаний
Настоящий метод испытаний заключается в определении температуры, при которой битум, залитый и остывший внутри колец заданных размеров, в условиях испытания размягчается и, перемещаясь под действием веса стального шарика, касается нижней пластинки.
6 Требования безопасности и охраны окружающей среды
6.1 Битумы относятся к 4-му классу опасности и являются малоопасными веществами по степени воздействия на организм человека.
6.2 При работе с битумом необходимо соблюдать требования техники безопасности, указанные в ГОСТ 12.1.007, и требования противопожарной безопасности в соответствии с ГОСТ 12.1.004.
6.3 Предельно допустимая концентрация паров углеводородов битумов в воздухе рабочей зоны производственных помещений - 300 мг/м3 в соответствии с ГОСТ 12.1.005.
6.4 При работе с битумами используют одежду специальную защитную по ГОСТ 12.4.131 или ГОСТ 12.4.132. Для защиты рук используют перчатки по ГОСТ 28846.
6.5 Битумы согласно ГОСТ 12.1.044 относятся к трудногорючим жидкостям.
6.6 Испытанный битум утилизируют в соответствии с рекомендациями завода-изготовителя, указанными в стандарте организации на материал.
7 Требования к условиям испытаний
При проведении испытаний должны соблюдаться следующие условия для помещений, в которых проводится испытание битума:
- температура воздуха (21 +/- 4) °C;
- относительная влажность воздуха не более 80%.
8 Подготовка к выполнению испытаний
8.1 При подготовке к выполнению испытания проводят следующие мероприятия:
- отбор проб;
- подготовка образцов;
- подготовка и настройка оборудования к испытаниям.
8.1.1 Отбор проб
Отбор проб производят в соответствии с ГОСТ 2517.
8.1.2 Подготовка образцов
При подготовке образцов для испытания необходимо осуществить следующие операции:
- образец битума доводят до подвижного состояния и обезвоживают, сначала нагревая его в сушильном шкафу до температуры (105 +/- 5) °C, затем, не допуская локальных перегревов, доводят температуру битума при постоянном перемешивании стеклянной или металлической палочкой до температуры на (90 +/- 10) °C выше температуры размягчения, но не ниже 120 °C и не выше 160 °C. Время нагревания битума при указанных условиях не должно превышать 50 мин.
Примечание - Температура в сушильном шкафу в момент нагрева образца не должна превышать 160 °C. Чтобы разогреть за заявленное время образец объемом более 1 л, его рекомендуется сначала разделить на образцы объемом менее 1 л, например с помощью разогретого ножа;
- расплавленный до подвижного состояния и обезвоженный битум процеживают через сито и затем тщательно перемешивают стеклянной или металлической палочкой до полного удаления пузырьков воздуха;
- два ступенчатых кольца подогревают в сушильном шкафу при температуре на (90 +/- 10) °C выше ожидаемой температуры размягчения битума;
- битум наливают с некоторым избытком в два ступенчатых кольца, помещенные на полированную или стеклянную пластинку, покрытую смесью декстрина с глицерином (1:3) или талька с глицерином (1:3), при этом следует избегать образования пузырьков воздуха. Допускается применение других разделительных средств;
- после охлаждения колец с битумом на воздухе в течение 30 мин при температуре (21 +/- 4) °C избыток битума гладко срезают нагретым ножом вровень с краями колец.
8.1.3 Подготовка и настройка оборудования к измерениям
Подготовка и настройка оборудования к измерениям проводится согласно инструкции по эксплуатации.
8.2 Допускается применять оборудование другой конструкции по основным размерам рабочей части и условиям проведения испытаний, соответствующие требованиям настоящего стандарта.
9 Порядок выполнения испытаний
Для выполнения определения температуры размягчения битума по кольцу и шару необходимо осуществить следующие действия:
- кольца с битумом помещают в отверстия верхней пластинки аппарата;
- в среднее отверстие верхней пластинки вставляют термометр так, чтобы нижняя точка ртутного резервуара была на одном уровне с нижней поверхностью битума в кольцах;
- штатив с испытуемым битумом в кольцах и направляющими накладками помещают в стеклянный стакан (баню), заполненный дистиллированной водой, температуру которой необходимо поддерживать (5 +/- 1) °C, уровень воды над поверхностью колец (50 +/- 3) мм;
- по истечении 15 мин штатив вынимают из бани, на каждое кольцо с направляющей накладкой кладут пинцетом стальной шарик, охлажденный в бане до (5 +/- 1) °C, и опускают подвеску обратно в баню, избегая появления пузырьков воздуха на поверхности битума;
- при использовании в качестве нагревательного прибора электроплит или газовых плит прямого нагрева под баню подкладывают металлическую сетку с асбестовым покрытием;
- устанавливают баню на нагревательный прибор так, чтобы плоскость колец была строго горизонтальной. Температура воды в бане после первых 3 мин подогрева должна подниматься со скоростью (5,0 +/- 0,5) °C в 1 мин. При проведении испытания необходимо обеспечивать равномерность нагревания бани по высоте при помощи мешалки (устройства) для перемешивания;
- для каждого кольца и шарика отмечают температуру, при которой выдавливаемый шариком битум коснется нижней пластинки или при которой шарик прерывает луч света, если используется автоматическая или полуавтоматическая аппаратура.
Примечание - Если шарик продавливает (прорывает) битум, то результат признается некорректным и испытание повторяют в соответствии с 8.2. Если при повторном испытании продавливание повторяется, то отмечают это в результате.
Время с момента начала подготовки образца до окончания испытания не должно превышать 4 ч.
10 Обработка результатов испытаний
10.1 За температуру размягчения битума принимают среднеарифметическое значение двух параллельных определений, округленное до 0,2 °C.
Расхождения результатов определений не должно превышать 1 °C. Если разница между двумя параллельными определениями превысит указанные значения, то результат признается некорректным и испытание повторяют в соответствии с 8.2.
10.2 Сходимость метода
Два результата испытания, полученные на одних и тех же пробах битума и испытательном оборудовании, признаются достоверными (с вероятностью 95%), если разница между ними не превышает 1 °C.
10.3 Воспроизводимость метода
Два результата испытания, полученные в разных лабораториях на одной и той же пробе битума, признаются достоверными (с вероятностью 95%), если разница между ними не превышает 2 °C.
11 Оформление результатов испытаний
Результат испытания оформляют в виде протокола, который должен содержать:
- идентификацию испытуемого образца по паспорту;
- дату проведения испытаний;
- дату отбора проб;
- наименование организации, проводившей испытания;
- ссылку на настоящий стандарт и отклонения от его требований;
- ссылку на акт отбора проб;
- информацию о применяемом испытательном оборудовании;
- температуру размягчения.
12 Контроль точности результатов измерений
Точность результатов измерений обеспечивается:
- соблюдением требований настоящего стандарта;
- проведением периодической оценки метрологических характеристик средств измерений;
- проведением периодической аттестации оборудования.
Лицо, проводящее измерения, должно быть ознакомлено с требованиями настоящего стандарта.
Приложение А
(рекомендуемое)
ОБОРУДОВАНИЕ И ВСПОМОГАТЕЛЬНЫЕ УСТРОЙСТВА
1 - крышка; 2 - стеклянный стакан; 3 - штатив; 4 - шарик;
5 - ступенчатое кольцо; 6 - верхняя пластина; 7 - нижняя
пластина; 8 - мешалка пропеллерная; 9 - термометр
Рисунок А.1 - Схема аппарата для определения температуры
размягчения битума
Рисунок А.2 - Ступенчатое кольцо
Рисунок А.3 - Верхняя пластинка
Рисунок А.4 - Нижняя пластинка
Рисунок А.5 - Накладка для концентрического
размещения шарика
Рисунок А.6 - Заливающая полированная пластинка