Главная // Актуальные документы // ГОСТ (Государственный стандарт)СПРАВКА
Источник публикации
М.: Стандартинформ, 2016
Примечание к документу
Документ
введен в действие с 1 января 2017 года.
Название документа
"ГОСТ 33360-2015. Межгосударственный стандарт. Топлива остаточные. Определение прямогонности. Метод определения общего осадка"
(введен в действие Приказом Росстандарта от 31.08.2015 N 1257-ст)
"ГОСТ 33360-2015. Межгосударственный стандарт. Топлива остаточные. Определение прямогонности. Метод определения общего осадка"
(введен в действие Приказом Росстандарта от 31.08.2015 N 1257-ст)
Введен в действие
агентства по техническому
регулированию и метрологии
от 31 августа 2015 г. N 1257-ст
МЕЖГОСУДАРСТВЕННЫЙ СТАНДАРТ
ТОПЛИВА ОСТАТОЧНЫЕ. ОПРЕДЕЛЕНИЕ ПРЯМОГОННОСТИ
МЕТОД ОПРЕДЕЛЕНИЯ ОБЩЕГО ОСАДКА
Residual fuel oils. Test for straight-run.
Method for determination of total sediment
ГОСТ 33360-2015
Дата введения
1 января 2017 года
Цели, основные принципы и порядок проведения работ по межгосударственной стандартизации установлены в
ГОСТ 1.0-92 "Межгосударственная система стандартизации. Основные положения" и
ГОСТ 1.2-2009 "Межгосударственная система стандартизации. Стандарты межгосударственные, правила, рекомендации по межгосударственной стандартизации. Правила разработки, принятия, применения, обновления и отмены"
1 РАЗРАБОТАН Межгосударственным техническим комитетом по стандартизации МТК 31 "Нефтяные топлива и смазочные материалы", Открытым акционерным обществом "Всероссийский научно-исследовательский институт по переработке нефти" (ОАО "ВНИИ НП")
2 ВНЕСЕН Федеральным агентством по техническому регулированию и метрологии (Росстандарт)
3 ПРИНЯТ Межгосударственным советом по стандартизации, метрологии и сертификации (протокол от 22 июля 2015 г. N 78-П)
За принятие проголосовали:
Краткое наименование страны по МК (ИСО 3166) 004-97 | Код страны по МК (ИСО 3166) 004-97 | Сокращенное наименование национального органа по стандартизации |
Армения | AM | Минэкономики Республики Армения |
Беларусь | BY | Госстандарт Республики Беларусь |
Казахстан | KZ | Госстандарт Республики Казахстан |
Киргизия | KG | Кыргызстандарт |
Россия | RU | Росстандарт |
Таджикистан | TJ | Таджикстандарт |
4
Приказом Федерального агентства по техническому регулированию и метрологии от 31 августа 2015 г. N 1257-ст межгосударственный стандарт ГОСТ 33360-2015 введен в действие в качестве национального стандарта Российской Федерации с 1 января 2017 г.
5 Стандарт разработан на основе ГОСТ Р 50837.6-95
6 ВВЕДЕН ВПЕРВЫЕ
Информация об изменениях к настоящему стандарту публикуется в ежегодном информационном указателе "Национальные стандарты", а текст изменений и поправок - в ежемесячном информационном указателе "Национальные стандарты". В случае пересмотра (замены) или отмены настоящего стандарта соответствующее уведомление будет опубликовано в ежемесячном информационном указателе "Национальные стандарты". Соответствующая информация, уведомление и тексты размещаются также в информационной системе общего пользования - на официальном сайте Федерального агентства по техническому регулированию и метрологии в сети Интернет
1.1 Настоящий стандарт устанавливает метод определения общего осадка в остаточных топливах с максимальной вязкостью 55 мм2/с при температуре 100 °C и в смесях дистиллятных топлив, содержащих остаточные компоненты.
Максимальная массовая доля осадка для остаточных топлив равна 0,50%, для смесей дистиллятных топлив, содержащих остаточные компоненты, - 0,40%.
1.2 Значительное количество осадка в остаточных топливах является следствием загрязнений и создает трудности при сжигании топлив. Осадок может скапливаться на дне резервуаров при хранении топлив, на фильтровальных сетках или форсунках, может забивать трубопроводы при подаче топлива из резервуаров к форсункам.
В настоящем стандарте использованы нормативные ссылки на следующие межгосударственные стандарты:
ГОСТ 400-80 Термометры стеклянные для испытаний нефтепродуктов. Технические условия
ГОСТ 1770-74 (ИСО 1042-83, ИСО 4788-80) Посуда мерная лабораторная стеклянная. Цилиндры, мензурки, колбы, пробирки. Общие технические условия
ГОСТ 9871-75 Термометры стеклянные ртутные электроконтактные и терморегуляторы. Технические условия
ГОСТ 12525-77 Цетан эталонный. Технические условия
ГОСТ 25336-82 Посуда и оборудование лабораторные стеклянные. Типы, основные параметры и размеры
Примечание - При пользовании настоящим стандартом целесообразно проверить действие ссылочных стандартов в информационной системе общего пользования - на официальном сайте Федерального агентства по техническому регулированию и метрологии в сети Интернет или по ежегодному информационному указателю "Национальные стандарты", который опубликован по состоянию на 1 января текущего года, и по выпускам ежемесячного информационного указателя "Национальные стандарты" за текущий год. Если ссылочный стандарт заменен (изменен), то при пользовании настоящим стандартом следует руководствоваться заменяющим (измененным) стандартом. Если ссылочный стандарт отменен без замены, то положение, в котором дана ссылка на него, применяется в части, не затрагивающей эту ссылку.
В настоящем стандарте применены следующие термины с соответствующими определениями:
3.1 общий осадок: Сумма нерастворимых в нефтяном растворителе органических и неорганических веществ, которые отделяются от образца при его фильтровании в условиях, предусмотренных настоящим стандартом.
3.2 термическое старение: Старение образца при температуре 100 °C в течение 24 ч в условиях сохранения равновесия между углеводородными составляющими остаточных топлив.
3.3 химическое старение: Старение образца при температуре 100 °C в течение 1 ч после разбавления образца гексадеканом (1 см3 гексадекана на 10 г образца).
3.4 стабильность при старении: Способность образца сохранять стабильность в условиях термического старения, которая характеризуется общим содержанием осадка, полученным после термического старения образца.
3.5 стабильность при ускоренном старении: Способность образца сохранять стабильность в условиях химического старения, которая характеризуется общим содержанием осадка, полученным после химического старения образца.
Определяют массу промытого и высушенного осадка, полученного при фильтровании 10 г образца (без предварительного старения или с предварительным термическим или химическим старением) с помощью специальной аппаратуры.
5.2 Пробу перед испытанием тщательно перемешивают миксером на высокой скорости в течение 30 с. Высоковязкие топлива или топлива с большим содержанием парафинов перед перемешиванием нагревают. Температура нагревания должна быть на 15 °C выше температуры плавления образца, но не должна превышать 80 °C.
6. Аппаратура, реактивы, материалы
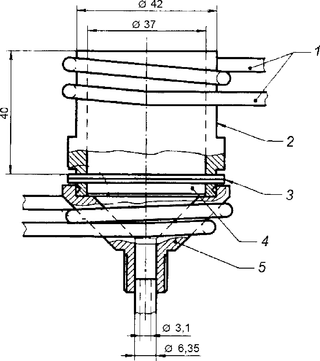
6.1 Аппарат для фильтрования (рисунок 1), состоящий из двух фильтровальных блоков
(рисунок 2), выполненных из меди или латуни с медными или бронзовыми соединениями, и колбы с тубусом, обеспечивающим остаточное давление 61,3 кПа.
1 - источник нагревания; 2 - генератор пара; 3 - кран,
регулирующий подачу пара; 4 - датчик температуры;
5 - фильтровальный блок; 6 - трубки для нагревания
или охлаждения; 7 - кран, регулирующий подачу охлаждающей
воды; 8 - выпускная линия; 9 - вакуумметр; 10 - вакуумный
насос; 11 - колба для создания вакуума (колба Бюхнера)
Рисунок 1 - Схема аппарата для фильтрования
1 - медные трубки для нагревания или охлаждения наружным
диаметром 4 - 8 мм, внутренним диаметром 2 - 6 мм;
2 - корпус фильтровального стакана; 3 - стекловолоконный
фильтр; 4 - пористый фильтр; 5 - воронка
Рисунок 2 - Фильтровальный блок
6.2 Термометр частичного погружения по
ГОСТ 400, обеспечивающий измерение температуры в диапазоне 95 °C - 103 °C с ценой деления 0,5 °C, максимальной высотой 220 мм.
6.3 Термометр общего назначения, обеспечивающий измерение температуры в диапазоне 0 °C - 100 °C с ценой деления 1 °C.
6.4 Шкаф сушильный, поддерживающий температуру (110 +/- 1) °C и обеспечивающий испарение растворителя без возгорания и взрыва.
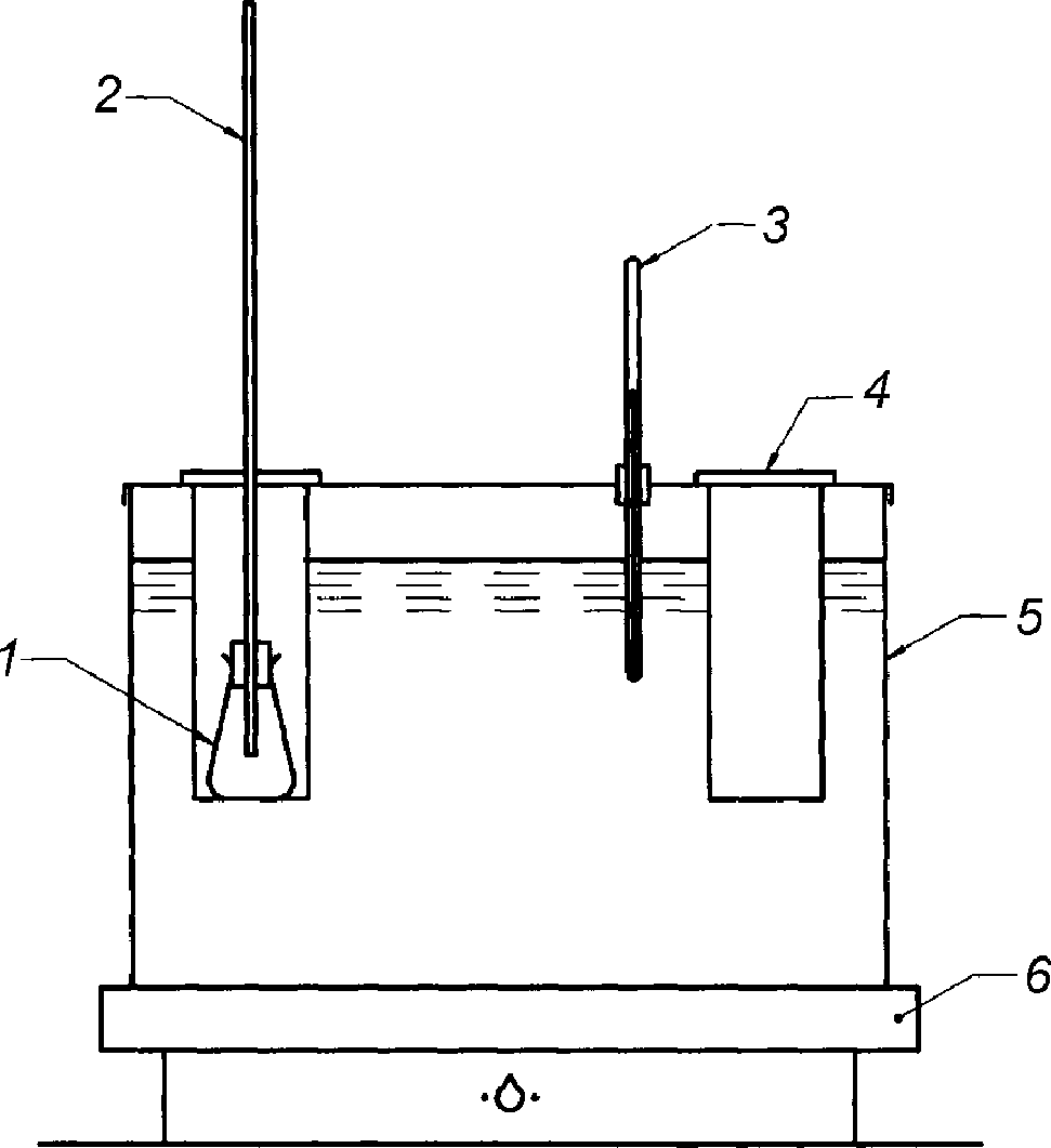
6.5 Баня масляная для старения образцов, обеспечивающая нагревание до температуры (100 +/- 5) °C, имеющая гнездо для стакана диаметром 55 мм, высотой 120 мм (см. рисунок 3).
1 - колба; 2 - конденсаторная трубка; 3 - термометр;
4 - стакан диаметром 55 мм, высотой 120 мм;
5 - масляная баня; 6 - нагревательная плитка
Рисунок 3 - Баня для старения образцов
6.6 Цилиндры мерные по
ГОСТ 1770 вместимостью 50 см
3 с ценой деления 0,1 см
3.
6.7 Микробюретка по
ГОСТ 1770 вместимостью не менее 5 см
3 и ценой деления не более 0,02 см
3.
6.8 Стаканы для взвешивания высокие и низкие по
ГОСТ 25336.
6.9 Трубка конденсаторная стеклянная наружным диаметром 8 мм, длиной 400 мм.
6.10 Плитка электрическая.
6.11 Фильтр пористый стеклянный соответствующего размера типа ФКП по
ГОСТ 25336.
6.12 Колба коническая по
ГОСТ 25336 вместимостью 50 см
3 с узким горлом и плотно подогнанной корковой пробкой.
6.13 Фильтры стекловолоконные Ватман типа GF/A диаметром 47 мм.
6.14 Миксер для перемешивания пробы, обеспечивающий скорость перемешивания 400 мин-1.
6.16 Воронка стеклянная вместимостью от 5 до 10 см
3 с выпускным отверстием (0,40 + 0,02) мм для добавления гексадекана (см.
8.3.1). Допускается использовать другие стандартные воронки (например, типа В или ВПр по
ГОСТ 25336).
6.17 Плитка нагревательная, температуру которой контролируют контактным термометром длиной 25 мм, находящимся на подвижной подставке, с магнитной мешалкой.
6.18 Термометр контактный по
ГОСТ 9871, обеспечивающий измерение температуры в диапазоне от 0 °C до 200 °C.
6.19 Источник пара температурой 100 °C.
6.20 Насос вакуумный, обеспечивающий остаточное давление 61,3 кПа.
6.21 Вакуумметр, обеспечивающий измерение остаточного давления с точностью +/- 2 кПа (15 мм рт. ст.).
6.22 Шприц вместимостью 25 см3 с ценой деления 0,5 см3.
6.23 Пинцет.
6.24 Портативный тепловой воздушный подогреватель для нагревания микробюреток до 20 °C (при необходимости).
6.25 Блок металлический (медный или латунный) диаметром 40 мм, высотой 40 мм с отверстием в центре, диаметр которого на 1 мм больше диаметра нижней части контактного термометра.
6.26 Лопаточка полипропиленовая с выемками на концах длиной 200 мм для снятия осадка.
6.27 Пробки корковые для воздушного конденсатора.
6.28 Стержень стеклянный длиной 150 мм, диаметром 3 мм.
6.31 Растворитель с объемными долями н-гептана 85% и толуола 15%.
6.32 Гексадекан (цетан) по ГОСТ 12525.
Примечание - Гексадекан хранят при температуре окружающей среды или выдерживают перед испытанием при температуре окружающей среды. Следует поддерживать температуру емкости или микробюретки с гексадеканом, используя воздушный кондиционер или водяную баню температурой не выше 20 °C.
6.33 Весы, обеспечивающие взвешивание с погрешностью не более 0,0002 г.
Примечание - Допускается использовать аппаратуру, обеспечивающую точность измерения не ниже указанной и реактивы квалификации не ниже указанной.
7. Подготовка к испытанию
Перед каждым испытанием два стекловолоконных фильтра выдерживают в сушильном шкафу в течение 20 мин при температуре 110 °C. Быстро переносят каждый фильтр отдельно в пронумерованные бюксы для взвешивания и охлаждают в эксикаторе до температуры окружающей среды. Взвешивают каждый фильтр без бюкса с точностью до 0,0002 г.
Примечание - Поверхность фильтра очень хрупкая, что требует осторожности в обращении. Поверхность каждого фильтра визуально проверяют на отсутствие мельчайших дефектов.
7.2 Подготовка аппарата
7.2.1 Проверяют стеклянный пористый фильтр. При обнаружении загрязнений его кипятят в ароматическом растворителе. Фильтр меняют, если после кипячения более 2% площади фильтра загрязнено шлаками.
7.2.2 Фильтровальный блок должен быть чистым и высушенным перед испытанием. Подготовленные по
7.1 стекловолоконные фильтры укладывают на стеклянный пористый фильтр нижней стороной, используя пинцет (бюксы для взвешивания N 1 - нижний фильтр, бюксы для взвешивания N 2 - верхний фильтр).
Подают на фильтровальный блок небольшой вакуум для прижатия стекловолоконных фильтров к стеклянному пористому фильтру. Включают вакуумный насос и пропускают через аппарат пар (температура 100 °C) в течение 8 - 10 мин.
8.1 Проведение испытания без предварительного старения пробы
Взвешивают в стаканчике примерно 11 г образца остаточного топлива или 10,5 г образца смеси дистиллятов с точностью до 0,01 г.
Переносят содержимое стаканчика, не касаясь стенок фильтра, в центр прогретого фильтра.
Взвешивают снова стаканчик с точностью до 0,01 г. Перенесенное количество исследуемого образца должно быть (10,0 +/- 0,5) г.
Если фильтрование образца не закончится за 25 мин, испытание не продолжают, а повторяют на (5,0 +/- 0,3) г образца. Если и в этом случае фильтрование не закончится за 25 мин, записывают результат: "Время фильтрования превышает 25 мин".
Примечание - Для высоковязких образцов или образцов, содержащих значительное количество осадка, фильтрование проводят поэтапно, используя небольшие порции образца или добавляя образец по каплям. Это является необходимым условием для обеспечения фильтрования плохо фильтрующихся образцов. Для образцов с низкой скоростью фильтрования следует поддерживать разрежение (40 +/- 2) кПа в течение 25 мин.
8.1.2 Промывка фильтра
После окончания фильтрования и высушивания фильтра продолжают его нагревание и вакуумирование еще 5 мин. Прекращают подачу пара и охлаждают аппарат, пропуская через змеевики воду. Тщательно промывают фильтр двумя порциями по (25 +/- 1) см
3 растворителя
(6.32), разбрызгивая его из шприца или градуированной бутыли с тонким носиком для удаления со стенок верхней части фильтра прилипших частиц образца.
Осторожно удаляют верхнюю часть фильтровальной установки и промывают края фильтра растворителем. Затем промывают всю площадь фильтра до тех пор, пока нижний фильтр не будет иметь светлую окраску.
Примечание - Если образец фильтруется очень быстро, перед первой промывкой растворителем можно отключить вакуум, чтобы вся поверхность фильтра была промыта. Для следующей процедуры подключают вакуум.
8.1.3 Продолжают вакуумирование после промывания фильтра еще примерно 5 мин. Затем пинцетом поочередно снимают каждый фильтр и переносят его на предметном стекле в сушильный шкаф, нагретый до 110 °C. Высушивают в течение 20 мин. Затем осторожно переносят фильтры в пронумерованные бюксы. Нижний светлоокрашенный фильтр помещают в бюкс для взвешивания N 1, верхний фильтр - в бюкс для взвешивания N 2. Охлаждают фильтры до температуры окружающей среды, помещая бюксы для взвешивания в эксикатор. Взвешивают фильтры с точностью до 0,0002 г.
8.2 Проведение испытания с предварительным термическим старением образца
8.2.1 Помещают в коническую колбу (25 +/- 1) г образца. Подсоединяют конденсаторную трубку с помощью корковой пробки и помещают колбу с образцом в баню, нагретую до температуры (100,0 + 0,5) °C на (24,00 +/- 0,25) ч.
Удаляют из бани колбу с образцом. Удаляют конденсаторную трубку и закрывают колбу резиновой пробкой. Затем колбу сильно встряхивают до тех пор, пока весь осадок не будет равномерно распределен по всему объему колбы.
Переворачивают колбу и осматривают стенки и дно. Если на стенках и дне колбы остается налипший осадок, его удаляют лопаточкой. Встряхивают колбу снова и не позже чем через 1 мин приступают к выполнению процедур по
8.1.1 -
8.1.3.
8.3 Проведение испытания с предварительным химическим старением пробы
8.3.1 Взвешивают в коническую колбу (25,0 +/- 0,2) г гомогенизированного образца, помещают в колбу магнитную мешалку. Устанавливают колбу в центре электрической плитки и нагревают образец до разжижения при перемешивании со скоростью 200 мин
-1. Через 10 мин, продолжая перемешивание, из микробюретки со скоростью 1,0 см
3/мин медленно добавляют в колбу (2,5 +/- 0,2) см
3 гексадекана.
Примечание - Асфальтены, выпадающие хлопьями при добавлении гексадекана и нарушающие гомогенность системы, трудно пептизируются снова и могут быть причиной получения ошибочных результатов. Это происходит при локальном сверхразбавлении, вызывающем образование и выпадение хлопьев, поэтому следует строго контролировать скорость процесса прибавления гексадекана к пробе. С целью такого контроля микробюретку располагают на высоте 5 - 10 мм сбоку от входного отверстия воронки, диаметр которого равен (0,40 + 0,02) мм. Гексадекан при этом под воздействием силы тяжести стекает через воронку каплями, в результате чего он медленно и равномерно поступает в исследуемую пробу. Гексадекан можно вносить в образец с помощью калиброванной пипетки или бюретки. Допускается использовать стандартные воронки с превышением допустимых критериев (см.
6.16).
8.3.2 Смесь образца с гексадеканом переливают в чистую колбу вместимостью 50 см3 и с помощью корковой пробки подсоединяют к ней конденсаторную трубку. Помещают колбу в масляную баню при температуре (100,0 +/- 0,5) °C и выдерживают (60 +/- 2) мин.
8.3.3 Вынимают колбу из бани, удаляют конденсаторную трубку, закрывают колбу резиновой пробкой и энергично встряхивают ее до тех пор, пока весь осадок не будет равномерно распределен по объему колбы, что проверяют визуально, переворачивая колбу. Оставшийся осадок со стенок и дна колбы удаляют лопаточкой. Встряхивают колбу снова и не позднее чем через 1 мин приступают к выполнению процедур по
8.1.1 -
8.1.3.
9.1 Массовую долю осадка S, %, вычисляют по формуле

(1)
где m5 - масса верхнего фильтра после фильтрации, мг;
m4 - масса верхнего фильтра перед фильтрацией, мг;
m3 - масса нижнего фильтра после фильтрации, мг;
m2 - масса нижнего фильтра перед фильтрацией, мг;
m1 - масса образца, г.
9.2 Результаты испытания образцов без предварительного старения пробы записывают как Sа; с предварительным термическим старением пробы - Sб; с предварительным химическим старением пробы - Sв.
9.3 Массовую долю осадка методом горячей фильтрации записывают как среднеарифметическое значение результатов двух параллельных определений с точностью до 0,01%. Если при проведении испытания использована проба массой 5 г, результат записывают как массовую долю общего осадка 5 г. Если фильтрация не закончилась в течение 25 мин, записывают результат "Время фильтрования превышает 25 мин".
Для оценки результатов испытания (с 95%-ной вероятностью) для массовой доли осадка не более 0,50% используют следующие критерии.
10.1 Повторяемость (сходимость) r
Расхождение результатов последовательных испытаний, полученных одним оператором на одной и той же аппаратуре при постоянных рабочих условиях на идентичном испытуемом материале в течение длительного времени при нормальном и правильном выполнении метода, может превышать следующее значение только в одном случае из двадцати

(2)
где X - среднеарифметическое значение двух определений, % масс.
10.2 Воспроизводимость R
Расхождение между двумя единичными и независимыми результатами испытаний, полученными разными операторами в разных лабораториях на идентичном испытуемом материале в течение длительного времени при нормальном и правильном выполнении метода, может превышать следующее значение только в одном случае из двадцати

(3)
где X - среднеарифметическое значение двух определений, % масс.
10.3 Критерием прямогонности остаточных топлив без предварительного старения и с предварительным старением является массовая доля общего осадка не более 0,15% и разность между этими массовыми долями общего осадка не более 0,03%.
Примечание - Значение данного критерия определяют, если результат определения ксилольного эквивалента более 25/30 или результат определения толуольного эквивалента более 30. При этом, если общий осадок, определенный по настоящему методу, соответствует вышеуказанному условию (см.
10.3), то остаточный продукт может быть отнесен к прямогонному.