Главная // Актуальные документы // ГОСТ (Государственный стандарт)СПРАВКА
Источник публикации
М.: Стандартинформ, 2015
Примечание к документу
Документ
введен в действие с 1 апреля 2016 года.
Название документа
"ГОСТ 32987-2014 (EN 15103:2009). Межгосударственный стандарт. Биотопливо твердое. Определение насыпной плотности"
(введен в действие Приказом Росстандарта от 21.04.2015 N 284-ст)
"ГОСТ 32987-2014 (EN 15103:2009). Межгосударственный стандарт. Биотопливо твердое. Определение насыпной плотности"
(введен в действие Приказом Росстандарта от 21.04.2015 N 284-ст)
по техническому регулированию
и метрологии
от 21 апреля 2015 г. N 284-ст
МЕЖГОСУДАРСТВЕННЫЙ СТАНДАРТ
БИОТОПЛИВО ТВЕРДОЕ
ОПРЕДЕЛЕНИЕ НАСЫПНОЙ ПЛОТНОСТИ
Solid biofuel. Determination of bulk density
(EN 15103:2009, MOD)
ГОСТ 32987-2014
(EN 15103:2009)
Дата введения
1 апреля 2016 года
Цели, основные принципы и основной порядок проведения работ по межгосударственной стандартизации установлены
ГОСТ 1.0-92 "Межгосударственная система стандартизации. Основные положения" и
ГОСТ 1.2-2009 "Межгосударственная система стандартизации. Стандарты межгосударственные, правила и рекомендации по межгосударственной стандартизации. Правила разработки, принятия, применения, обновления и отмены"
1 ПОДГОТОВЛЕН Федеральным государственным унитарным предприятием "Всероссийский научно-исследовательский центр стандартизации, информации и сертификации сырья, материалов и веществ" (ФГУП "ВНИЦСМВ") на основе собственного аутентичного перевода на русский язык стандарта, указанного в
пункте 5
2 ВНЕСЕН Федеральным агентством по техническому регулированию и метрологии (Росстандарт)
3 ПРИНЯТ Межгосударственным советом по стандартизации, метрологии и сертификации (протокол от 20 октября 2014 г. N 71-П)
За принятие проголосовали:
Краткое наименование страны по МК (ИСО 3166) 004-97 | Код страны по МК (ИСО 3166) 004-97 | Сокращенное наименование национального органа по стандартизации |
Азербайджан | AZ | Азстандарт |
Армения | AM | Минэкономики Республики Армения |
Беларусь | BY | Госстандарт Республики Беларусь |
Киргизия | KG | Кыргызстандарт |
Россия | RU | Росстандарт |
Таджикистан | TJ | Таджикстандарт |
4
Приказом Федерального агентства по техническому регулированию и метрологии от 21 апреля 2015 г. N 284-ст межгосударственный стандарт ГОСТ 32987-2014 (EN 15103:2009) введен в действие в качестве национального стандарта Российской Федерации с 1 апреля 2016 г.
5 Настоящий стандарт является модифицированным по отношению к европейскому региональному стандарту EN 15103:2009 Solid biofuels - Determination of bulk density (Биотоплива твердые. Определение насыпной плотности) путем изменения отдельных фраз (слов, значений показателей, ссылок), которые выделены в тексте курсивом. В настоящий стандарт не включено приложение A европейского регионального стандарта EN 15103:2009, поскольку в данном приложении приведена неполная информация об исследованиях эффекта уплотнения биотоплива вследствие удара. Получить данные об исследованиях можно из документа, приведенного в
разделе Библиография.
Европейский региональный стандарт EN 15103:2009 разработан Европейским комитетом по стандартизации (CEN) ТК 335 - "Биотопливо твердое".
Перевод с английского языка (en).
Степень соответствия - модифицированная (MOD)
6 ВВЕДЕН ВПЕРВЫЕ
Информация об изменениях к настоящему стандарту публикуется в ежегодном информационном указателе "Национальные стандарты", а текст изменений и поправок - в ежемесячном информационном указателе "Национальные стандарты". В случае пересмотра (замены) или отмены настоящего стандарта соответствующее уведомление будет опубликовано в ежемесячном информационном указателе "Национальные стандарты". Соответствующая информация, уведомление и тексты размещаются также в информационной системе общего пользования - на официальном сайте Федерального агентства по техническому регулированию и метрологии в сети Интернет
Насыпная плотность является важным показателем при осуществлении поставок биотоплива в объемных единицах измерения и, наряду с низшей теплотой сгорания, позволяет оценить его удельную энергоемкость. Информация о насыпной плотности дает возможность рассчитать требуемую вместимость транспортных средств для перевозки топлива и хранилищ для его складирования.
При выборе складского помещения для хранения биотоплива следует учитывать условия хранения (высоту штабеля, влажность помещения), которые, как правило, сильно отличаются от условий, в которых находится проба при определении насыпной плотности с помощью стандартного контейнера.
Для определения насыпной плотности в соответствии с методом, изложенным в настоящем стандарте, выбирают один из двух стандартных контейнеров - объемом 5 или 50 л. В связи с ограниченными объемами этих контейнеров настоящий стандарт распространяется не на все твердые биотоплива. Настоящий стандарт не распространяется, например, на древесное полено, неизмельченную кору, кипованное биотопливо и крупные брикеты. Насыпную плотность таких топлив рассчитывают исходя из их массы и объема контейнера или вагона, в котором их перевозят.
Настоящий стандарт устанавливает метод определения насыпной плотности с уплотнением сыпучего материала вследствие удара. Применение именно этого метода объясняется несколькими причинами. При ударе происходит некоторое уменьшение объема топлива вследствие его уплотнения, которое наблюдается и в реальных условиях производства и применения биотоплива. Как правило, в реальных условиях биотопливо транспортируется и хранится в больших контейнерах или бункерах. При этом большая масса приводит к повышению давления и к оседанию топлива, чему дополнительно может способствовать вибрация при транспортировке. Кроме того, на практике погрузка и разгрузка часто осуществляется при значительной высоте падения биотоплива, что приводит к большему уплотнению за счет большей кинетической энергии падающих частиц биотоплива. Таким образом, метод с уплотнением биотоплива вследствие удара дает результаты, которые более соответствуют реальной насыпной плотности, чем метод без уплотнения. Это особенно важно в случае, когда массу поставляемого биотоплива оценивают по вместимости транспортного средства, что практикуется во многих странах.
Исследования показывают, что уплотнение вследствие удара, в зависимости от вида биотоплива, составляет величину от 6 до 18% [1].
Настоящий стандарт распространяется на все виды твердого биотоплива с максимальным размером кусков 100 мм и устанавливает метод определения насыпной плотности с использованием стандартного контейнера.
Насыпная плотность не является абсолютной величиной, поэтому для получения сравнимых результатов условия ее определения должны быть стандартизированы.
Примечания
1 Максимальный размер кусков определяют как размер отверстия сита, через которое проходит не менее 95% массы материала.
2 Насыпная плотность твердого биотоплива зависит от различных факторов, таких как вибрация, удары, давление, разложение биомассы, высыхание и увлажнение. Поэтому измеренная величина насыпной плотности может отличаться от реальной насыпной плотности твердого биотоплива в условиях его транспортировки, хранения и отгрузки.
В настоящем стандарте использованы нормативные ссылки на следующие межгосударственные стандарты:
ГОСТ EN 14774-1-2013 Биотопливо твердое. Определение содержания влаги. Метод с применением сушки в сушильном шкафу. Часть 1. Общая влага. Стандартный метод <*>
--------------------------------
<*> На территории Российской Федерации действует ГОСТ Р 54186-2010 (ЕН 14774-1:2009) "Биотопливо твердое. Определение содержания влаги высушиванием. Часть 1. Общая влага. Стандартный метод".
ГОСТ 32975.2-2014 (EN 14774-2:2009) Биотопливо твердое. Определение содержания влаги высушиванием. Часть 2. Общая влага. Ускоренный метод
Примечание - При пользовании настоящим стандартом целесообразно проверить действие ссылочных стандартов в информационной системе общего пользования - на официальном сайте Федерального агентства по техническому регулированию и метрологии в сети Интернет или по ежегодному информационному указателю "Национальные стандарты", который опубликован по состоянию на 1 января текущего года, и по выпускам ежемесячного информационного указателя "Национальные стандарты" за текущий год. Если ссылочный стандарт заменен (изменен), то при пользовании настоящим стандартом следует руководствоваться заменяющим (измененным) стандартом. Если ссылочный стандарт отменен без замены, то положение, в котором дана ссылка на него, применяется в части, не затрагивающей эту ссылку.
В настоящем стандарте применены термины по
ГОСТ 33104.
Обозначения, используемые в настоящем стандарте:
(BD)r - насыпная плотность на рабочее состояние топлива, кг/м3;
(BD)d - насыпная плотность в пересчете на сухое состояние топлива, кг/м3.
Wtr - массовая доля общей влаги рабочего топлива, %;
m1 - масса пустого контейнера, кг;
m2 - масса контейнера с пробой, кг;
V - внутренний объем контейнера, м3.
Стандартный контейнер установленного размера и формы заполняют пробой и взвешивают. Насыпную плотность рассчитывают исходя из массы нетто и внутреннего объема контейнера. Рассчитанная величина относится к биотопливу с содержанием влаги, равным содержанию влаги испытуемой пробы.
6.1 Стандартные контейнеры
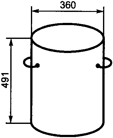
Контейнер цилиндрической формы из ударопрочного материала с гладкой поверхностью, устойчивый к деформации для предотвращения изменений формы и объема, водонепроницаемый, с наружными захватами для облегчения работы и с соотношением высоты и диаметра в пределах от 1,25 до 1,50.
Большой контейнер имеет внутренний объем 50 л (0,05 м
3). Допускаемое отклонение объема - 1 л (2%). Внутренний диаметр цилиндра 360 мм, внутренняя высота 491 мм (см. рисунок 1). Отклонение от указанных параметров допускается, если при этом сохраняется соотношение высоты и диаметра, указанное в
6.1.1.
Рисунок 1 - Измерительный контейнер (большой)
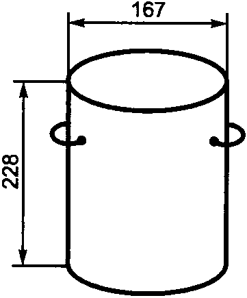
Малый контейнер имеет внутренний объем 5 л (0,005 м
3). Допускаемое отклонение объема - 0,1 л (2%). Внутренний диаметр цилиндра 167 мм, внутренняя высота 228 мм (см. рисунок 2). Отклонение от указанных параметров допускается, если при этом сохраняется соотношение высоты и диаметра, указанное в
6.1.1.
Рисунок 2 - Измерительный контейнер (малый)
6.2 Весы
Весы с пределом допускаемой погрешности +/- 10 г при использовании больших контейнеров.
Весы с пределом допускаемой погрешности +/- 1 г при использовании малых контейнеров.
6.3 Бруски
а) Брусок из древесины твердых пород длиной приблизительно 600 мм с поперечным сечением 50 x 50 мм для удаления излишка материала из контейнера.
б) Прочный брусок высотой 150 мм для фиксации высоты падения контейнера.
Гладкая доска (например, ДСП) толщиной приблизительно 15 мм и достаточных размеров, чтобы контейнер свободно поместился на ней при сбрасывании.
7. Отбор и подготовка проб
Отбор проб проводят по
[2]. Если необходимо, проба может быть разделена по
ГОСТ 33255. Объем пробы должен превышать объем контейнера на 30%.
Примечание - Следует обращать внимание на то, чтобы влага была равномерно распределена по всей пробе.
8.1 Определение внутреннего объема контейнера
Перед проведением испытаний топлива определяют массу и внутренний объем контейнера. Взвешивают пустой, чистый и сухой контейнер на весах (см.
6.2.1,
6.2.2). Затем целиком заполняют контейнер водой, содержащей несколько капель смачивающего вещества (например, жидкое мыло), и снова взвешивают. Вода должна иметь температуру 10 - 20 °C. Внутренний объем контейнера (
V) рассчитывают исходя из массы воды, заполняющей контейнер, и ее плотности 1000 кг/м
3 и округляют до 0,00001 м
3 для большого контейнера или до 0,000001 м
3 для малого контейнера.
Примечания
1 Влиянием температуры на плотность воды пренебрегают.
2 Внутренний объем контейнера регулярно проверяют.
8.2 Выбор контейнера
Большие контейнеры (см.
6.1.2) используют для всех видов биотоплива, включенных в область распространения настоящего стандарта. Для биотоплива с размером кусков не более 12 мм и пеллет диаметром, не превышающим 12 мм, применяют малый контейнер (см.
6.1.3).
8.3 Проведение измерений
Измерения проводят следующим образом:
а) пробу биотоплива засыпают в контейнер с высоты от 200 до 300 мм над верхним краем контейнера, пока не образуется конус максимально возможной высоты.
Примечание - Перед использованием контейнера необходимо убедиться, что он сухой и чистый;
б) заполненный контейнер подвергают ударам для уплотнения пробы. Для этого роняют контейнер с высоты 150 мм, позволяя ему свободно падать на доску (см.
6.4). В месте падения контейнера доска должна быть чистой. Падение контейнера на доску должно быть вертикальным. Повторяют данную процедуру еще два раза. Затем заполняют пробой пустое пространство в контейнере в соответствии с
перечислением а) 8.3.
Примечание - Для соблюдения требования, касающегося высоты падения контейнера, рекомендуется заполненный контейнер поставить на прочный брусок высотой 150 мм [см.
перечисление б) 6.3], а затем переместить его в горизонтальной плоскости, сдвинув с бруска, и уронить. Допускается использовать другие приспособления для проведения данной операции в соответствии с требованиями настоящего стандарта;
| | ИС МЕГАНОРМ: примечание. В официальном тексте документа, видимо, допущена опечатка: имеется в виду перечисление а) пункта 6.3, а не пункта 6.3.1. | |
в) удаляют лишнее топливо с помощью бруска [см.
перечисление а) 6.3.1], перемещая брусок над контейнером с упором на его края и делая при этом возвратно-поступательные движения. Крупные куски биотоплива, препятствующие свободному перемещению бруска, удаляют вручную. Если при этом на поверхности топлива образуются большие каверны, их заполняют топливом и повторяют процедуру удаления излишков;
г) взвешивают контейнер с топливом;
д) высыпают топливо из контейнера, смешивая его с неиспользованной частью пробы, и повторяют измерение по
перечислениям а) -
г) 8.3 еще раз;
е) определяют массовую долю влаги в пробе по
ГОСТ EN 14774-1 и
ГОСТ 32975.2 непосредственно после определения насыпной плотности.
9.1 Насыпная плотность на рабочее состояние топлива
Насыпную плотность на рабочее состояние топлива (BD)r, выраженную в кг/м3, рассчитывают по формуле

. (1)
Результат каждого отдельного определения вычисляют и округляют до первого десятичного знака после запятой. За окончательный результат принимают среднее арифметическое значение результатов параллельных испытаний и округляют его до ближайшего значения, кратного 10 кг/м3.
9.2 Насыпная плотность в пересчете на сухое состояние топлива
Насыпную плотность на сухое состояние топлива (BD)d, выраженную в кг/м3, рассчитывают по формуле

. (2)
Примечание - Формула (2) не учитывает эффект сжатия или расширения биомассы с разной степенью высыхания, который обычно приводит к значительным изменениям результатов испытания. Для древесного биотоплива этот эффект наблюдается при содержании влаги менее точки насыщения, составляющей величину около 25%, в зависимости от вида древесины. Поэтому сравнивать результаты определения насыпной плотности различных проб биотоплива одного вида можно только при близких содержаниях влаги в этих пробах. Сравнение результатов испытаний проб с разным содержанием влаги показывает, что ниже точки насыщения изменение содержания влаги на 1% приводит к изменению объема на 0,7%
[2]. Данный корректирующий фактор может быть использован при пересчете результатов на одинаковое содержание влаги для их сравнения.
10.1 Повторяемость
Результаты двух параллельных определений насыпной плотности рабочего топлива (проведенных в течение краткого промежутка времени, но не одновременно), выполненных в одной и той же лаборатории одним исполнителем с использованием одной и той же аппаратуры на двух представительных порциях, отобранных от одной и той же пробы, не должны отличаться друг от друга более чем на следующие значения:
- для проб с насыпной плотностью менее 300 кг/м3 . . . . . . . . . . . . . . . | 3,0%; |
- для проб с насыпной плотностью 300 кг/м3 и более . . . . . . . . . . . . . . | 2,0%. |
10.2 Воспроизводимость
Результаты определения насыпной плотности рабочего топлива, каждый из которых представляет собой средний арифметический результат двух параллельных определений, выполненных в двух различных лабораториях на представительных порциях, отобранных от одной и той же пробы, не должны отличаться друг от друга более чем на следующие значения:
- для проб с насыпной плотностью меньше 300 кг/м3 . . . . . . . . . . . . . . | 6,0%; |
- для проб с насыпной плотностью, равной и большей 300 кг/м3 . . . . | 4,0%. |
Протокол испытаний должен содержать:
а) идентификацию лаборатории и дату проведения испытаний;
б) идентификацию продукции или испытуемой пробы по
[2];
в) ссылку на настоящий стандарт;
г) размеры использованного контейнера;
д) описание любого отклонения от требований настоящего стандарта;
е) описание особенностей, замеченных во время испытаний, которые могли повлиять на их результат;
ж) результаты испытаний на рабочее состояние топлива согласно
9.1 с указанием массовой доли общей влаги рабочего топлива (обязательно) или на сухое состояние топлива согласно
9.2 (желательно).
| Hartmann H.,  , Daugbjerg Jensen P., Temmerman M., Rabler F., Jirjis R., Hersener J.-L., Rathbauer J.: Method for Bulk Density Determination of Solid Biofuels. In: Van Swaaij W.P.M.,  , Helm P., Grassi A. (Eds.): 2 nd World Coference and Technology Exhibition on Biomass for Energy, Industry and Climate Protection, Rome, 10 - 14 May 2004, pp. 662 - 665 |
| ЕН 14778:2011 EN 14778:2011 | Биотопливо твердое. Отбор проб Solid biofuels - Sampling |