Главная // Актуальные документы // ГОСТ (Государственный стандарт)СПРАВКА
Источник публикации
М.: Стандартинформ, 2015
Примечание к документу
Документ
введен в действие с 1 апреля 2016 года.
Название документа
"ГОСТ 33255-2015 (EN 14780:2011). Межгосударственный стандарт. Биотопливо твердое. Методы подготовки проб"
(введен в действие Приказом Росстандарта от 03.08.2015 N 1059-ст)
"ГОСТ 33255-2015 (EN 14780:2011). Межгосударственный стандарт. Биотопливо твердое. Методы подготовки проб"
(введен в действие Приказом Росстандарта от 03.08.2015 N 1059-ст)
Введен в действие
агентства по техническому
регулированию и метрологии
от 3 августа 2015 г. N 1059-ст
МЕЖГОСУДАРСТВЕННЫЙ СТАНДАРТ
БИОТОПЛИВО ТВЕРДОЕ
МЕТОДЫ ПОДГОТОВКИ ПРОБ
Solid biofuels. Methods for sample preparation
(EN 14780:2011, MOD)
ГОСТ 33255-2015
(EN 14780:2011)
Дата введения
1 апреля 2016 года
Цели, основные принципы и порядок проведения работ по межгосударственной стандартизации установлены
ГОСТ 1.0-92 "Межгосударственная система стандартизации. Основные положения" и
ГОСТ 1.2-2009 "Межгосударственная система стандартизации. Стандарты межгосударственные, правила и рекомендации по межгосударственной стандартизации. Правила разработки, принятия, применения, обновления и отмены"
1 ПОДГОТОВЛЕН Техническим комитетом по стандартизации ТК 179 "Твердое минеральное топливо" на основе собственного аутентичного перевода на русский язык стандарта, указанного в
пункте 4
2 ВНЕСЕН Федеральным агентством по техническому регулированию и метрологии (Росстандарт)
3 ПРИНЯТ Межгосударственным советом по стандартизации, метрологии и сертификации по переписке (протокол от 27 марта 2015 г. N 76-П)
За принятие проголосовали:
Краткое наименование страны по МК (ИСО 3166) 004-97 | Код страны по МК (ИСО 3166) 004-97 | Сокращенное наименование национального органа по стандартизации |
Армения | AM | Минэкономики Республики Армения |
Беларусь | BY | Госстандарт Республики Беларусь |
Киргизия | KG | Кыргызстандарт |
Россия | RU | Росстандарт |
Таджикистан | TJ | Таджикстандарт |
4 Настоящий стандарт модифицирован по отношению к европейскому региональному стандарту EN 14780:2011 Solid biofuels - Methods for sample preparation (Биотопливо твердое. Методы подготовки проб) путем изменения отдельных фраз, слов, значений показателей, ссылок, которые выделены в тексте курсивом.
Европейский региональный стандарт разработан Европейским комитетом по стандартизации (CEN) ТК 335 "Биотопливо твердое".
Перевод с английского языка (en).
Степень соответствия - модифицированная (MOD)
5
Приказом Федерального агентства по техническому регулированию и метрологии от 03 августа 2015 г. N 1059-ст межгосударственный стандарт ГОСТ 33255-2015 (EN 14780:2011) введен в действие в качестве национального стандарта Российской Федерации с 1 апреля 2016 г.
6 ВВЕДЕН ВПЕРВЫЕ
Информация об изменениях к настоящему стандарту публикуется в ежегодном информационном указателе "Национальные стандарты", а текст изменений и поправок - в ежемесячном информационном указателе "Национальные стандарты". В случае пересмотра (замены) или отмены настоящего стандарта соответствующее уведомление будет опубликовано в ежемесячном информационном указателе "Национальные стандарты". Соответствующая информация, уведомление и тексты размещаются также в информационной системе общего пользования - на официальном сайте Федерального агентства по техническому регулированию и метрологии в сети Интернет
Твердое биотопливо - важнейший ресурс возобновляемых источников энергии. Производство, торговля и использование биотоплива нуждаются в государственной стандартизации. Отбор и подготовку проб биотоплива проводят по следующим документам:
- CEN/TS 14778-1:2005 Биотопливо твердое. Отбор проб. Часть 1. Методы отбора проб;
- CEN/TS 14778-2:2005 Биотопливо твердое. Отбор проб. Часть 2. Методы отбора проб зернистых материалов, перевозимых грузовыми автомобилями;
- CEN/TS 14779:2005 Биотопливо твердое. Отбор проб. Общие требования.
Настоящий стандарт разработан для применения в процессе производства и торговли твердым биотопливом, а также поставщиками, контролирующими организациями и испытательными лабораториями.
Настоящий стандарт устанавливает методы подготовки (сокращения, измельчения, деления и усреднения) объединенных и общих проб для получения лабораторных и аналитических проб и используется при испытаниях твердого биотоплива следующих видов:
- мелкие зернистые материалы правильной формы с размером частиц не более 10 мм, которые могут быть отобраны с использованием совка или щупа (например, опилки, оливковые косточки и древесные пеллеты);
- крупнозернистые материалы неправильной формы с размером частиц не более 200 мм, которые могут быть отобраны с использованием вил или лопаты (например, древесная щепа, ореховая скорлупа, щепа из отходов леса и не увязанная в кипы солома);
- крупные материалы с номинальным верхним размером частиц более 200 мм.
Методы, приведенные в настоящем стандарте, используют при подготовке проб для определения насыпной плотности, механической прочности, гранулометрического состава, массовой доли влаги, зольности, показателей плавкости золы, теплоты сгорания, химического состава и определения примесей. Стандарт не предназначен для отбора проб очень большого объема, необходимых для определения свойств зашлаковывания.
В настоящем стандарте использованы нормативные ссылки на следующие межгосударственные стандарты:
ГОСТ EN 14774-1-2013 Биотопливо твердое. Определение содержания влаги. Метод с применением сушки в сушильном шкафу. Часть 1. Общая влага. Стандартный метод <1>
--------------------------------
<1> На территории Российской Федерации действует ГОСТ Р 54186-2010 (ЕН 14774-1:2009) "Биотопливо твердое. Определение содержания влаги высушиванием. Часть 1. Общая влага. Стандартный метод".
ГОСТ 32975.2-2014 (EN 14774-2:2009) Биотопливо твердое. Определение содержания влаги высушиванием. Часть 2. Общая влага. Ускоренный метод
ГОСТ 32989.1-2014 (EN 15149-1:2010) Биотопливо твердое. Определение гранулометрического состава. Часть 1. Метод ситового анализа на качающихся ситах с размером отверстий 3,15 мм и более
ГОСТ 32989.2-2014 (EN 15149-2:2010) Биотопливо твердое. Определение гранулометрического состава. Часть 2. Метод с применением вибрационных сит с размером отверстий 3,15 мм и менее
ГОСТ 32989.3-2014 (CEN/TS 15149-3:2006) Биотопливо твердое. Определение гранулометрического состава. Часть 3. Метод с применением вращающихся сит
Примечание - При пользовании настоящим стандартом целесообразно проверить действие ссылочных стандартов в информационной системе общего пользования на официальном сайте Федерального агентства по техническому регулированию и метрологии в сети Интернет или по ежегодному информационному указателю "Национальные стандарты", который опубликован по состоянию на 1 января текущего года, и по выпускам ежемесячного информационного указателя "Национальные стандарты" за текущий год. Если ссылочный стандарт заменен (изменен), то при пользовании настоящим стандартом следует руководствоваться заменяющим (измененным) стандартом. Если ссылочный стандарт отменен без замены, то положение, в котором дана ссылка на него, применяется в части, не затрагивающей эту ссылку.
В настоящем стандарте применены термины по
ГОСТ 33104, а также следующие термины с соответствующими определениями:
3.1 объединенная проба: Проба, состоящая из требуемого числа точечных проб, отобранная от партии или части партии.
Примечание - Точечная проба может быть сокращена перед добавлением в объединенную пробу.
3.2 общая проба: Проба, отобранная для проведения более чем одного предполагаемого испытания.
3.3 аналитическая проба: Часть лабораторной пробы, измельченная до размера частиц 1 мм и менее, используемая для определения показателей химического и физического анализов.
3.4 точечная проба: Количество топлива, единовременно извлеченное в процессе однократного движения устройства для отбора проб.
3.5 лабораторная проба: Объединенная проба или ее часть, точечная проба или ее часть, а также любая другая проба, отправленная в лабораторию для испытаний.
3.6 партия: Определенное количество топлива, для которого установлены показатели качества.
Примечание - См. также
термин "подпартия".
3.7 сокращение пробы: Уменьшение массы пробы или части пробы.
3.8 проба для определения влаги: Проба, взятая специально для определения содержания общей влаги.
3.9 номинальный верхний размер: Размер отверстия сита, используемого для определения гранулометрического состава твердого биотоплива, через которое проходит не менее 95% массы материала.
3.10 проба: Количество материала, представительно отобранное от большего количества этого материала, качество которого необходимо установить.
3.12 измельчение пробы: Уменьшение номинального верхнего размера частиц пробы или части пробы.
3.13 подпартия: Часть партии, которая подлежит опробованию.
Пример - Рассмотрим электростанцию, которая получает 20 грузовиков древесной щепы ежедневно. Содержимое каждого грузовика испытывают на влагу. Содержимое одного грузовика, выбранного наугад, - для проведения остальных испытаний. В этом примере партия - количество поставляемого в день топлива (20 грузовиков), а подпартия - 1 грузовик.
3.14 навеска пробы: Часть лабораторной пробы, необходимая для проведения одного определения.
3.15 часть пробы: Порция пробы.
4. Принципы обработки проб
Главная задача подготовки проб заключается в делении ее на одну или несколько частей, каждая из которых меньше, чем первоначальная проба.
Главный принцип состоит в сохранении исходного состава отобранной пробы на всех этапах пробоподготовки.
Каждая часть пробы должна быть представительна по отношению к исходной пробе. Для этого каждая частица пробы до сокращения должна иметь равную вероятность попасть в подпартию в ходе сокращения. При подготовке проб используют два основных метода:
- сокращение пробы путем деления;
- измельчение пробы.
Необходимо избегать потери мелких частиц в ходе подготовки проб.
При подготовке пробы для определения массовой доли влаги сокращение следует проводить методом, не противоречащим требованиям ГОСТ EN 14774-1 и
ГОСТ 32975.2. Для определения массовой доли влаги рекомендуется брать отдельную пробу (из-за возможности изменения содержания влаги при подготовке пробы).
При работе с материалами, которые должны быть испытаны на содержание влаги, необходимо исключить значительное нагревание и риск высыхания пробы.
5. Требования к оборудованию
5.1 Оборудование для сокращения пробы
5.1.1 Сократитель
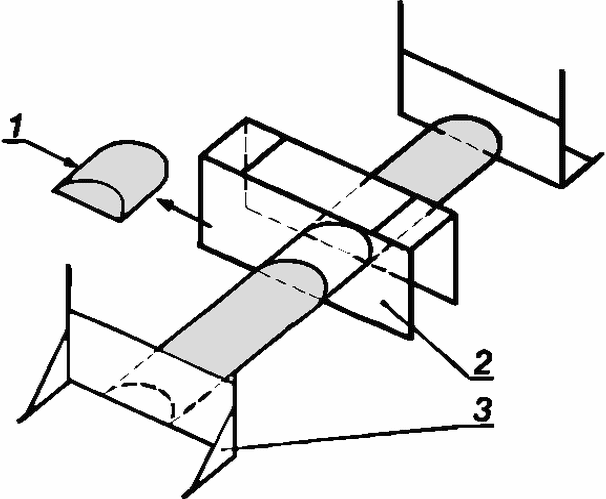
Сократитель должен иметь не менее 16 прорезей с прилегающими канавками для направления материала в различные емкости, ширина которых должна быть не менее чем в 2,5 раза больше номинального верхнего размера частиц материала, который должен быть сокращен с помощью сократителя пробы (см. рисунок 1).
1 - прорезь, ширина которой в 2,5 раза превышает номинальный
верхний размер материала
Рисунок 1 - Пример сократителя пробы
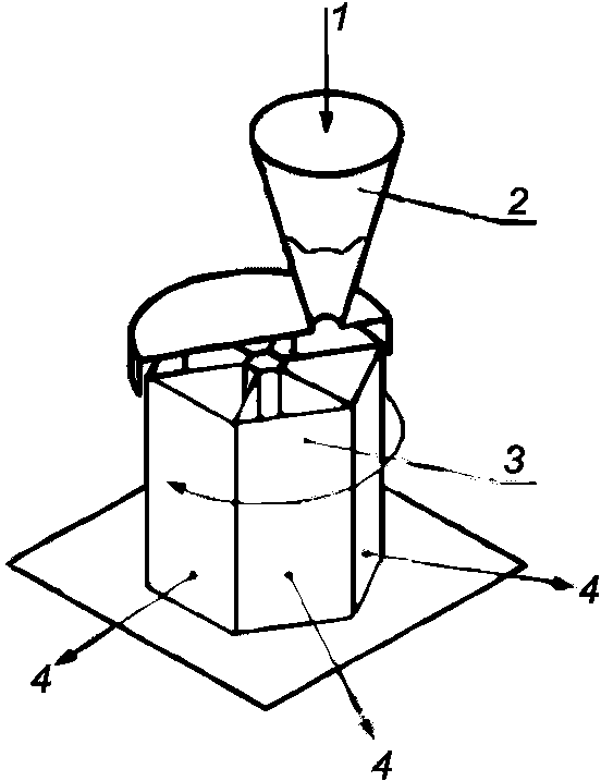
5.1.2 Вращающийся делитель пробы
Вращающийся делитель пробы имеет подающий механизм расположенный так, чтобы делитель совершил не менее 20 оборотов до тех пор, пока проба будет разделена. На рисунке 2 приведен пример устройства вращающегося делителя.
1 - подающий механизм; 2 - воронка; 3 - вращающийся
приемник; 4 - разделитель проб
Рисунок 2 - Пример вращающегося делителя
Внутренние размеры оборудования, куда подается проба, должен быть не менее чем в 2,5 раза шире номинального верхнего размера материала, который должен быть обработан.
5.1.3 Лопаты и совки
Лопата или совок, используемый для ручного сокращения массы пробы, должен иметь плоское дно, достаточно высоко поднятые кромки для предотвращения скатывания частиц и должен быть не менее чем в 2,5 раза шире номинального верхнего размера материала, который должен быть обработан. Примеры лопаты и совка - см. рисунки 3 и
4 соответственно.
d - номинальный основной размер
Рисунок 3 - Пример лопаты
1 - длина совка; А-А - ширина совка
5.2 Оборудование для измельчения пробы
5.2.1 Мельница грубой резки или древесная дробилка
Мельницы грубой резки используют для резки материалов длиной от 10 до 30 мм (в зависимости от вида биотоплива или анализа, который должен быть выполнен). Оборудование должно иметь минимальный осушающий эффект как за счет нагревания материала, так и за счет продувки воздухом. Оборудование должно обеспечивать предотвращение потери пыли или загрязнение материала частицами металла и должно легко чиститься. Мельницу для измельчения без экранов можно использовать при малых количествах материала.
Примечание - Для предотвращения потери влаги в ходе процесса измельчения скорость движения жерновов должна быть минимальной.
5.2.2 Мельница мелкой резки
Мельницу используют для измельчения биотоплива размером от 10 до 30 мм до размера менее 1 мм (в зависимости от биотоплива и анализа, который должен быть выполнен). Мельницы должны быть снабжены ситами с размерами ячеек, позволяющими рассеивать материал с выделением необходимого числа фракций материала определенного размера. Может быть использовано другое оборудование при условии, что оно спроектировано таким образом, чтобы не забиваться обрабатываемым материалом. Следует избегать использования мельниц, которые срезают верхние части стеблей, содержащие значительное количество элементов, которые должны быть определены в ходе анализа.
Примечание - Рабочая камера мельницы может быть использована без какого-либо специального приспособления для удаления пыли при наличии пылевых фильтров (рукавный фильтр) между мельницей и принимающим контейнером. Указанный тип мельниц подходит для окончательного измельчения жестких, деревянных материалов после предварительного измельчения.
5.2.3 Топор
Топор используют для раскалывания деревянных бревен максимальной толщиной 30 мм, которые должны быть измельчены в мельнице для резки, снабженной 30 мм ситами.
5.2.4 Ручная пила
Ручную пилу используют для отпиливания деревянных бревен максимальной толщиной 30 мм, которые должны быть измельчены в мельнице для резки, снабженной 30 мм ситами.
Примечание - Цепные пилы могут загрязнить пробу маслом с цепи и не могут быть использованы. Механические пилы не следует использовать для распиловки во избежание риска потери влаги в пробе за счет нагревания материала от трения.
5.3 Сита
Проволочное сито с размером ячеек 1,00 мм используют для определения номинального верхнего размера частиц подготовленных образцов, а также сито с размером ячеек 0,25 мм, если требуется проба с таким номинальным верхним размером частиц материала.
5.4 Весы
Весы с погрешностью взвешивания 0,1% массы взвешиваемого материала (пробы или навески).
6. Принципы сокращения проб
При каждой стадии сокращения
(рисунок 5) должна быть сохранена требуемая масса пробы, в противном случае проведенная выборка не будет характеризовать исходную пробу материала. В
таблице 1 приведены минимальные массы сокращенной пробы после каждой стадии сокращения массы в зависимости от номинального верхнего размера частиц и насыпной плотности исходного материала. Однако необходимо учитывать, что масса пробы после стадии сокращения должна быть значительно больше, чем требуется для испытаний, которые должны быть проведены. Дополнительные требования к массе испытуемой пробы приведены в стандартах на методы испытаний твердого биотоплива.
Рисунок 5 - Схема сокращения
Таблица 1
Минимальная масса сокращенной пробы
Номинальный верхний размер, мм | Минимальная масса пробы, г |
Насыпная плотность исходного материала, кг/м3 |
менее 200 | от 200 до 500 включ. | св. 500 |
>= 100 | 10000 | 150000 | 20000 |
50 | 1000 | 2000 | 3000 |
30 | 300 | 500 | 1000 |
10 | 150 | 250 | 500 |
5 | 50 | 100 | 200 |
<= 2 | 20 | 50 | 100 |
7. Методы сокращения общих проб
При подготовке лабораторных проб из общей пробы должны быть использованы методы, обеспечивающие получение лабораторных проб массой, соответствующей значениям, установленным в
таблице 1.
7.1 Придание пробе конической формы и квартование
Метод используют для таких материалов, как опилки и древесная щепа, которые могут быть отобраны лопатой. Метод подходит для сокращения проб из этих материалов массой до 1 кг. Все общие пробы размещают на чистой, твердой поверхности с образованием конуса, размещая каждую порцию на поверхности предыдущей. Биотопливо должно ссыпаться со всех сторон конуса и случайно распределяться, в результате чего различные по размеру частицы оказываются хорошо перемешаны. Процесс формирования конуса повторяется три раза. Третий конус разравнивают лопатой, заглубляемой вертикально в верх конуса для формирования плоского навала, который должен иметь форму круга и толщину не более чем на лопасть лопаты. Плоский навал квартуют (разделяют на четыре части) вдоль двух диагоналей, расположенных под прямым углом, заглублением лопаты вертикально в навал (для этой операции можно использовать лист металла) (рисунок 6). Пару противоположных четвертей отбрасывают. Повторяют формирование конуса и процесс квартования до получения пробы требуемой массы.

1 - точечная проба
Рисунок 6 - Квартование
7.2 Сокращение на сократителе проб
Метод используют для материалов, которые могут быть пропущены через сократитель без его закупоривания. Метод неприменим для соломы, коры или других материалов, содержащих удлиненные частицы, или для влажных материалов. Хрупкие материалы следует обрабатывать осторожно вручную, чтобы избежать переизмельчения материалов. Общую пробу высыпают в сократитель так, чтобы она распределилась по всей емкости сократителя случайным образом. Загружать биотопливо следует медленно, чтобы не произошло закупоривания. Биотопливо, которое поступило в один из контейнеров, отбрасывают. Процесс повторяют до получения пробы необходимой массы. Пример сократителя проб приведен на
рисунке 1.
7.3 Сокращение квартованием с применением пластин
Метод используют, когда общая проба должна быть разделена на малое число лабораторных проб. Общую пробу размещают на чистой, твердой поверхности и гомогенизируют перемешиванием совком. Используя лопату, распределяют материал полосой, перемешивая пробу перемещением материала по длине. По поверхности материала размечают полосы, длина которых должна быть не менее чем 10:1. Пластину помещают вертикально на каждом конце полосы. Отбирают лабораторную пробу взятием не менее 20 порций из мест, равномерно расположенных по всей длине полосы. Выбирают порцию материала, используя две пластины, держа их вертикально к полосе, и выбирают весь материал между пластинами. Две пластины следует располагать на одинаковом расстоянии друг от друга каждый раз, так чтобы каждая порция материала содержала одинаковое количество материала. Расстояние между пластинами выбирают так, чтобы обеспечить получение лабораторной пробы требуемого размера (рисунок 7).

1 - точечная проба, 2 - рамка для отбора проб, 3 - конечные
пластины
Рисунок 7 - Сокращение квартованием с применением пластин
7.4 Сокращение квартованием с применением лопаты
Метод используют для материалов, отличных от соломы, и можно использовать, когда общая проба должна быть разделена на несколько лабораторных проб. Формирование массы пробы аналогично методу перемешивания полос с использованием пластин. Отбираемые лабораторные пробы должны иметь требуемую массу. Емкости для проб располагают вблизи полос. Лопата должна иметь такие размеры, чтобы в каждую лабораторную пробу было отобрано не менее 20 заполненных лопат (если каждая лабораторная проба была массой m (кг), то лопата не должна иметь вместимость более чем m/20 кг). Материал отбирают из мест, равномерно расположенных по всей полосе, не оставляя мелких частиц.
7.5 Ручное сокращение
Метод используют для опилок и другого биотоплива с частицами малого размера, которые могут быть обработаны при помощи совка. Общую пробу размещают на чистой, твердой поверхности и гомогенизируют ее, перемешивая совком. Совком формируют общую пробу в прямоугольник толщиной, не превышающей более чем в три раза номинальный верхний размер материала, и размечают поверхность прямоугольника с помощью совка не менее чем на 20 квадратов. Используют совок и режущую пластину для того, чтобы взять точечную пробу от каждого из 20 квадратов, погружая совок до дна навала, и формируют требуемую лабораторную пробу (рисунок 8).
Рисунок 8 - Ручное сокращение пробы
7.6 Вращающийся делитель
Механический метод сокращения массы пробы на ротационном делителе описан в
5.1.2, а пример конструкции делителя - на
рисунке 2.
8. Метод сокращения лабораторных проб
8.1 Начальное сокращение пробы
Если масса лабораторной пробы превышает минимальную массу, приведенную в
таблице 1, она может быть сокращена с использованием одного из методов, описанных в
разделе 7.
8.2 Определение начальной массы
Определение начальной массы лабораторной пробы проводят до начала любых перемещений или обработки, во избежание потери влаги или пыли, взвешиванием с погрешностью не менее 0,1% массы взвешиваемого материала.
Записывают эту массу как m1 (г).
8.3 Предварительное высушивание
Предварительное высушивание проб проводят как для минимизации потери влаги в последующих процессах подготовки проб, так и для облегчения процессов подготовки проб и минимизации биологической активности материала. Проба должна быть высушена в сушильном шкафу при температуре, не превышающей 40 °C.
Примечание - Если содержание влаги исходного образца несущественно, например, если проба предназначена для определения гранулометрического состава или "влажная аналитическая проба" является выборкой, вычисление потери влаги можно не проводить.
Все части пробы (включая те, что высушены в сушильном шкафу) помещают в лотки с глубиной слоя не более нескольких частиц. Пробы выдерживают не менее 24 ч в лаборатории, пока они не достигнут равновесия с температурой и влажностью лаборатории.
Примечание - Выдерживание в течение 24 ч крупных материалов в лабораторных условиях недостаточно для достижения равновесия содержания влаги во всех частицах. Содержание влаги контролируют путем размещения пробы или части пробы на электронных весах в течение времени выдержки в лабораторных условиях.
Если требуется информация о потере влаги в ходе предварительного высушивания, например в пробах для определения общей влаги, определяют массу пробы после завершения предварительного высушивания, используя те же весы, что и при взвешивании в
8.2, и записывают ее массу как
m2 (г).
Вычисляют потерю влаги в ходе предварительного высушивания - массовую долю внешней влаги Wex, % масс, по формуле

(1)
где m1 - исходная масса пробы, г;
m2 - масса пробы после предварительного высушивания, г.
Результат рассчитывают до 0,01% и округляют до 0,1%.
8.4 Грубое измельчение (сокращение размера частиц до 30 мм)
Если материал содержит частицы, остающиеся на 30 мм сите:
- используют сито с ячейками 30 мм для разделения пробы на крупную фракцию (остаток на сите с ячейками 30 мм) и мелкую фракцию (подрешетный продукт сита с ячейками 30 мм);
- крупную фракцию измельчают мельницей для разрезания так, чтобы крупная фракция проходила через сито с ячейками 30 мм.
Примечание - В зависимости от материала можно использовать другие мельницы, отличные от мельницы для грубого разрезания;
- гомогенизируют пробу крупной и мелкой фракций.
Вышеупомянутые процедуры можно использовать для достижения сокращения размера менее чем до 30 мм с использованием соответствующих мельниц для разрезания и сит.
Примечание - Размалывая пробу, можно получить частицы требуемого размера при одновременной гомогенизации пробы.
8.5 Сокращение массы материала размером менее 30 мм
Для сокращения массы пробы может быть использован один из ручных методов, описанных ниже. Массы проб, полученные при сокращении, должны удовлетворять требованиям, установленным в
таблице 1.
Для взвешивания используют весы точностью взвешивания до 0,1% масс.
Определяют массы контейнеров, в которые должна быть помещена проба до начала разделения.
8.5.1 Отбор пригоршнями
Метод отбора пригоршнями используют для соломы и похожих материалов. Размещают всю пробу в герметичной упаковке и гомогенизируют ее перемешиванием (встряхиванием) несколько раз. Берут несколько пригоршней и помещают их поочередно в два пакета. Оставшийся материал гомогенизируют, вновь отбирают материал пригоршней и добавляют поочередно в 2 пакета. Процесс повторяется, пока весь материал в упаковке не будет использован. Не менее 20 пригоршней должны быть помещены в каждые из двух пакетов.
8.5.2 Придание конической формы и квартование
Метод используют для таких материалов, как опилки и древесная щепа, которые могут быть обработаны с помощью лопаты. Данный метод описан в
разделе 7.
8.5.3 Сокращение с использованием сократителя
Метод используют для материалов, которые могут быть пропущены через сократитель без его закупоривания. Данный метод не используют для проб, содержащих удлиненные частицы, он описан в
разделе 7.
8.5.4 Сокращение квартованием с использованием пластин
Метод используют для всех материалов. Данный метод описан в
разделе 7.
8.5.5 Сокращение квартованием с применением лопаты
Метод используют для материалов, отличных от соломы. Данный метод описан в
разделе 7.
8.5.6 Ручное разделение проб
Метод используют для таких материалов, как опилки, которые могут быть обработаны при помощи совка.
Следует просеять содержимое емкости без промедления, если пробу отбирают для определения содержания влаги или другого испытания, для которого потеря влаги недопустима.
Определяют массу каждой пробы и записывают эту массу как m1.
Если пробу используют как исследуемую часть, она должна иметь массу не менее чем минимальная масса, указанная в соответствующем методе испытания.
8.6 Измельчение материала размером от 30 до 1 мм и менее
Когда требуется проба материала с максимальным размером частиц примерно 1 мм, следует использовать мельницу для измельчения всей пробы разрезанием до необходимого размера частиц. Процесс проводят в несколько этапов.
Примечания
1 В зависимости от материала можно использовать мельницы, отличающиеся от мельницы для измельчения удлиненных частиц.
2 Измельчением с использованием мельницы и сит можно получить требуемый размер частиц, а также одновременно гомогенизировать пробу.
Пример - Если масса пробы должна быть уменьшена вначале рассевом на 5 мм сите и затем на 1 мм сите, необходимо:
- использовать 5 мм сито для разделения пробы на крупную фракцию (оставшуюся на 5 мм сите) и мелкую фракцию (прошедшую через 5 мм сито);
- обработать крупную фракцию, используя мельницу, оборудованную 5 мм ситом;
- гомогенизировать пробы крупной и мелкой фракций;
- обработать крупную фракцию, используя мельницу с ситом 1 мм;
- гомогенизировать крупную и мелкую фракции пробы.
Если материал содержит семена или гранулы, существует риск, что они будут вращаться в мельнице или застревать в сите. Аналогично, если материал содержит солому, некоторая часть соломы может застревать в сите и не проходить через него. Следует очистить мельницу после того, как размалывание закончено. Если некоторые такие частицы будут найдены, их перетирают вручную до тех пор, пока они не пройдут через сито, и добавляют материал к пробе.
Полученную пробу разравнивают в лотке глубиной несколько миллиметров и выдерживают ее не менее 4 ч в лаборатории до тех пор, пока она не достигнет равновесия с температурой и влажностью в помещении лаборатории.
Пробу, приготовленную настоящим методом, используют как аналитическую пробу, и ее масса должна быть не менее 50 г.
Материал, который был подвергнут операциям уменьшения размера, описанным в настоящем подразделе, нельзя использовать для определения общей влаги.
8.7 Сокращение массы материала размером до 1 мм
Материал с размером частиц менее 1 мм помещают в емкость и перемешивают шпателем до однородного состояния для взятия требуемого количества. Для обеспечения требуемой представительности размер пробы, взятой для дальнейшего размалывания, должен быть достаточно большим.
В случае наличия в пробе примесей (песок и пр.) необходимо использовать механические делители.
8.8 Уменьшение размера материала от 1 до 0,25 мм
Для получения пробы с максимальным размером частиц 0,25 мм используют мельницу для измельчения всей пробы до требуемого размера. Перемалывание материала осуществляют малыми порциями для предотвращения увеличения генерации тепла (каждую порцию рассеивают на 0,25 мм сите).
Примечание - В зависимости от материала можно использовать другие мельницы, отличные от мельницы для измельчения удлиненных частиц.
9. Хранение и маркировка проб
Пробы должны храниться в плотно закрытых контейнерах. Каждая проба должна иметь маркировку, содержащую идентификацию пробы.