Главная // Актуальные документы // ГОСТ (Государственный стандарт)
СПРАВКА
Источник публикации
М.: Стандартинформ, 2016
Примечание к документу
Документ введен в действие с 1 апреля 2017 года.
Название документа
"ГОСТ 33672-2015. Межгосударственный стандарт. Автомобильные транспортные средства. Шипы противоскольжения. Технические требования и методы испытаний"
(введен в действие Приказом Росстандарта от 30.05.2016 N 437-ст)

"ГОСТ 33672-2015. Межгосударственный стандарт. Автомобильные транспортные средства. Шипы противоскольжения. Технические требования и методы испытаний"
(введен в действие Приказом Росстандарта от 30.05.2016 N 437-ст)


Содержание


Введен в действие
Приказом Федерального
агентства по техническому
регулированию и метрологии
от 30 мая 2016 г. N 437-ст
МЕЖГОСУДАРСТВЕННЫЙ СТАНДАРТ
АВТОМОБИЛЬНЫЕ ТРАНСПОРТНЫЕ СРЕДСТВА
ШИПЫ ПРОТИВОСКОЛЬЖЕНИЯ
ТЕХНИЧЕСКИЕ ТРЕБОВАНИЯ И МЕТОДЫ ИСПЫТАНИЙ
Motor vehicles. Antiskid studs.
Technical requirements and test methods
ГОСТ 33672-2015
МКС 43.040.50
83.160.10
Дата введения
1 апреля 2017 года
Предисловие
Цели, основные принципы и основной порядок проведения работ по межгосударственной стандартизации установлены ГОСТ 1.0-92 "Межгосударственная система стандартизации. Основные положения" и ГОСТ 1.2-2009 "Межгосударственная система стандартизации. Стандарты межгосударственные, правила и рекомендации по межгосударственной стандартизации. Правила разработки, принятия, применения, обновления и отмены"
Сведения о стандарте
1 РАЗРАБОТАН Федеральным государственным унитарным предприятием "Центральный ордена Трудового Красного Знамени научно-исследовательский автомобильный и автомоторный институт "НАМИ" (ФГУП "НАМИ")
2 ВНЕСЕН Межгосударственным техническим комитетом по стандартизации МТК 56 "Дорожный транспорт"
3 ПРИНЯТ Межгосударственным советом по стандартизации, метрологии и сертификации (протокол от 10 декабря 2015 г. N 48-2015)
За принятие голосовали:
Краткое наименование страны по МК (ИСО 3166) 004-97
Код страны по МК (ИСО 3166) 004-97
Сокращенное наименование национального органа по стандартизации
Армения
AM
Минэкономики Республики Армения
Беларусь
BY
Госстандарт Республики Беларусь
Киргизия
KG
Кыргызстандарт
Россия
RU
Росстандарт
Таджикистан
TJ
Таджикстандарт
4 Приказом Федерального агентства по техническому регулированию и метрологии от 30 мая 2016 г. N 437-ст межгосударственный стандарт ГОСТ 33672-2015 введен в действие в качестве национального стандарта Российской Федерации с 1 апреля 2017 г.
5 ВВЕДЕН ВПЕРВЫЕ
Информация об изменениях к настоящему стандарту публикуется в ежегодном информационном указателе "Национальные стандарты", а текст изменений и поправок - в ежемесячном информационном указателе "Национальные стандарты". В случае пересмотра (замены) или отмены настоящего стандарта соответствующее уведомление будет опубликовано в ежемесячном информационном указателе "Национальные стандарты". Соответствующая информация, уведомление и тексты размещаются также в информационной системе общего пользования - на официальном сайте Федерального агентства по техническому регулированию и метрологии в сети Интернет
1. Область применения
Настоящий стандарт распространяется на шипы противоскольжения (далее - шипы) для ошиповки пневматических зимних шин автомобильных транспортных средств (далее - АТС) категорий M, N, O по Сводной резолюции [1].
2. Нормативные ссылки
В настоящем стандарте использованы нормативные ссылки на следующие межгосударственные стандарты:
ГОСТ 2.201-80 Единая система конструкторской документации. Обозначение изделий и конструкторских документов
ГОСТ 2.314-68 Единая система конструкторской документации. Указание на чертежах о маркировании и клеймении изделий
ГОСТ 9.301-86 Единая система защиты от коррозии и старения. Покрытия металлические и неметаллические неорганические. Общие требования
ГОСТ 9.302-88 Единая система защиты от коррозии и старения. Покрытия металлические и неметаллические неорганические. Методы контроля
ГОСТ 9.303-84 Единая система защиты от коррозии и старения. Покрытия металлические и неметаллические неорганические. Общие требования к выбору
ГОСТ 577-68 Индикаторы часового типа с ценой деления 0,01 мм. Технические условия
ГОСТ 3882-74 (ИСО 513-75) Сплавы твердые спеченные. Марки
ГОСТ 4754-97 Шины пневматические для легковых автомобилей, прицепов к ним, легких грузовых автомобилей и автобусов особо малой вместимости. Технические условия
ГОСТ 5513-97 Шины пневматические для грузовых автомобилей, прицепов к ним, автобусов и троллейбусов. Технические условия
ГОСТ 6507-90 Микрометры. Технические условия
ГОСТ 18321-73 Статистический контроль качества. Методы случайного отбора выборок штучной продукции
ГОСТ 18833-73 Головки измерительные рычажно-зубчатые. Технические условия
ГОСТ 20017-74 (ИСО 3738-1-82) Сплавы твердые спеченные. Метод определения твердости по Роквеллу
ГОСТ 23667-85 Контроль неразрушающий. Дефектоскопы ультразвуковые. Методы измерения основных параметров
ГОСТ 29329-92 Весы для статического взвешивания. Общие технические требования
Примечание - При пользовании настоящим стандартом целесообразно проверить действие ссылочных стандартов в информационной системе общего пользования - на официальном сайте Федерального агентства по техническому регулированию и метрологии в сети Интернет или по ежегодному информационному указателю "Национальные стандарты", который опубликован по состоянию на 1 января текущего года, и по выпускам ежемесячного информационного указателя "Национальные стандарты" за текущий год. Если ссылочный стандарт заменен (изменен), то при пользовании настоящим стандартом следует руководствоваться заменяющим (измененным) стандартом. Если ссылочный стандарт отменен без замены, то положение, в котором дана ссылка на него, применяется в части, не затрагивающей эту ссылку.
3. Термины и определения
В настоящем стандарте применены следующие термины с соответствующими определениями:
3.1 выступ износостойкого элемента шипа: Нормальное расстояние от поверхности корпуса шипа, со стороны установки износостойкого элемента, до максимально выступающей точки износостойкого элемента.
3.2 длина шипа: Наибольший размер шипа вдоль его оси, перпендикулярный фланцу шипа.
3.3 зимняя шина: Автомобильная шина, у которой рисунок протектора покрышки, материал протектора или конструкция специально рассчитаны для обеспечения повышенного сцепления с обледенелым или покрытым снегом дорожным покрытием.
3.4 износостойкий элемент шипа: Деталь шипа, непосредственно взаимодействующая с дорожным покрытием.
3.5 корпус шипа: Деталь шипа, удерживающая износостойкий элемент в протекторе покрышки шины.
3.6
протектор покрышки: Наружная резиновая часть покрышки пневматической шины, как правило, с рельефным рисунком, обеспечивающая сцепление с дорогой и предотвращающая каркас от повреждений.
[ГОСТ 22374-77, статья 7]
3.7 сила удержания износостойкого элемента в корпусе шипа: Сила, направленная вдоль оси износостойкого элемента, обеспечивающая неподвижное соединение износостойкого элемента шипа относительно его корпуса.
3.8 сила удержания шипа в протекторе покрышки шины: Сила, направленная вдоль оси шипа, обеспечивающая неподвижное соединение корпуса шипа относительно элемента протектора покрышки шины, в котором он установлен (без учета упругой деформации материала покрышки шины).
3.9 схема ошиповки: Графическое изображение мест расположения шипов или отверстий под них в элементах протектора покрышки зимней шины.
3.10 фланец шипа: Элемент корпуса шипа, служащий для удержания шипа в протекторе покрышки шины.
3.11 шип противоскольжения (шип): Твердый профилированный стержень, состоящий из корпуса и износостойкого элемента и устанавливаемый в элементе протектора покрышки зимней шины для повышения сцепления шины с обледенелым или покрытым снегом дорожным покрытием.
3.12 элемент протектора покрышки шины: Часть протектора покрышки шины, сформированная его рисунком.
4. Классификация, обозначение и размеры
4.1 Шипы подразделяют:
а) по назначению:
- л - для легковых шин;
- лг - для легких грузовых шин;
- г - для грузовых шин;
б) по количеству фланцев:
- одно-, двух-, трех- и более фланцевые в соответствии с рисунком 1;
в) по материалу корпуса:
- металлические;
- неметаллические;
- комбинированные.
Рисунок 1 - Виды шипов по количеству фланцев
4.2 Обозначение шипов, применяемое в конструкторской документации (далее - КД), утвержденной в установленном порядке, должно соответствовать ГОСТ 2.201 или системе обозначения изделий, установленной в автомобильной промышленности.
4.3 Условное обозначение шипов, применяемое, например, в инструкциях к шипам, в переписке, может иметь следующую структуру:
XX XX X X
─┬─ ─┬─ ─┬─ ─┬─
│ │ │ │
│ │ │ └───── Материал корпуса
│ │ │
│ │ └───────── Количество фланцев
│ │
│ └───────────── Длина шипа
└─────────────────── Диаметр наибольшего фланца и назначение шипа
Условное обозначение материала корпуса шипа:
С - сталь; П - пластик; А - алюминий; К - керамика.
Пример условного обозначения шипа диаметром наибольшего фланца 8 мм, для легких грузовиков, с длиной шипа 12 мм, числом фланцев 2 и материалом комбинированного корпуса шипа - сталь + пластик
8лг - 12 - 2С + П по ГОСТ _________.
4.4 Рекомендуемые размеры шипов с предельно допустимыми отклонениями и их назначение должны соответствовать рисунку 2 и таблице 1.
D - диаметр наибольшего фланца; L - длина шипа
Рисунок 2 - Рекомендуемые размеры шипа
с предельно допустимыми отклонениями
Таблица 1
Рекомендуемые размеры шипов и их назначение
Диаметр наибольшего фланца D, мм
Назначение шипа
Длина шипа L, мм
6,5
л
8 - 12
лг
12 - 15
8,0
л
10 - 16
лг
11 - 16
г
12 - 20
9,0
л
10 - 16
лг
12 - 16
г
12 - 24
10,0
лг
10 - 16
г
12 - 24
11,0
г
15 - 30
12,0
13,0
15,0
г
18 - 30
16,0
5. Технические требования
5.1 Шипы предназначены для ошиповки зимних пневматических шин, имеющих характеристики по ГОСТ 4754, ГОСТ 5513 и стандартам <1>, действующим на территории государств - членов Таможенного союза, предназначенных для эксплуатации преимущественно на обледенелых и покрытых снегом дорогах различных категорий во всех климатических зонах.
--------------------------------
<1> На территории Российской Федерации действуют ГОСТ Р 51893-2002 "Шины пневматические. Общие технические требования безопасности", ГОСТ Р 52899-2007 "Шины пневматические для грузовых механических транспортных средств и прицепов. Технические условия", ГОСТ Р 52900-2001 "Шины пневматические для легковых механических автомобилей и прицепов к ним. Технические условия", ГОСТ Р 54916-2012 "Шины пневматические ошипованные. Основные показатели качества".
5.2 Шипы изготовляют в соответствии с требованиями настоящего стандарта по КД.
5.3 Износостойкие элементы шипа изготовляют из сплава ВК-8 по ГОСТ 3882 или из материала, аналогичного ему по твердости и пределу прочности на изгиб.
5.4 Корпус стального шипа должен иметь надежную антикоррозионную защиту по ГОСТ 9.301 и ГОСТ 9.303, предотвращающую появление коррозии при хранении и транспортировании.
5.5 На корпусе шипа не допускается наличие острых кромок, трещин, деформаций, сколов, заусенцев и механических повреждений. Допускается наличие следа от разъема пресс-оснастки (пресс-формы), не выводящего шип за предельно допускаемые габаритные размеры. Отслоение и шелушение покрытия шипов не допускаются.
5.6 Выступ износостойкого элемента шипа за пределы протектора покрышки (с обеспечением отсутствия выступа корпуса шипа над протектором покрышки) должен быть:
- (1,2 +/- 0,3) мм - для легковых шин;
- (1,7 +/- 0,3) мм - для легких грузовых шин;
- (2,5 +/- 0,3) мм - для грузовых шин.
5.7 Крепление износостойкого элемента в корпусе шипа должно обеспечивать надежное удержание его во время гарантийного срока эксплуатации по 8.1.
Сила удержания износостойкого элемента в корпусе шипа должна быть не менее 1000 Н (102 кгс).
5.8 Сила удержания шипа в протекторе покрышки шины должна быть не менее:
- 150 Н (15,3 кгс) - для легковых шин;
- 200 Н (20,4 кгс) - для легких грузовых шин;
- 400 Н (40,8 кгс) - для грузовых шин.
5.9 Масса шипа, г, как правило, должна быть не более:
- 1,6 - для легковых шин;
- 2,8 - для легких грузовых шин;
- 3,5 - 10 - для грузовых шин.
Допустимо использование шипов иной массы, если результаты испытаний, проведенных независимой аккредитованной лабораторией, подтвердят, что шины с такими шипами, не вызывают больший износ дорожного покрытия, чем шины с шипами, соответствующие установленному требованию к массе шипа, и при этом не ухудшаются сцепные свойства.
5.10 Маркировка
5.10.1 Маркировка шипов указывается на ярлыке или упаковке, выполняется по стандарту <1>, действующему на территории государств - членов Таможенного союза, или содержит следующие данные:
- конструкторское обозначение шипов;
- дата изготовления (месяц, год).
--------------------------------
<1> На территории Российской Федерации действует ГОСТ Р 53602-2009 "Составные части транспортных средств. Маркировка. Общие технические требования".
На ярлыке (упаковке) должны быть приведены:
- отметка о приемке службой технического контроля (далее - СТК) предприятия-изготовителя;
- номер и дата документа соответствия.
5.10.2 Содержание, способ маркировки и место нанесения должны соответствовать ГОСТ 2.314 и устанавливаться в КД на шипы.
5.11 Упаковка
5.11.1 Упаковка шипов должна обеспечивать их сохранность при хранении в сухих неотапливаемых помещениях и транспортировании любым видом транспорта без прямого воздействия влаги.
5.11.2 Вид упаковки шипов указывают в КД предприятия-изготовителя.
6. Правила приемки
6.1 Шипы на соответствие требованиям настоящего стандарта подвергают, в общем случае, проверке СТК, периодическим и типовым испытаниям.
6.2 Шипы для проверки СТК и для периодических испытаний должны быть представлены способом "россыпь" по ГОСТ 18321.
6.3 СТК принимает шипы партиями. Партией считают шипы одного обозначения, в количестве, как правило, не более 500 000 шт. и сопровождаемые одним товаросопроводительным документом, содержащим:
- конструкторское обозначение, наименование и количество шипов в партии;
- номер партии;
- дату изготовления (месяц, год).
6.3.1 СТК при проверке подвергает выборочному контролю: массу шипа, размеры, внешний вид (наличие сколов, выкрашиваний, трещин и деформаций), наличие и однородность защитного покрытия.
6.3.2 Количество шипов, подвергаемых проверке СТК, зависит от объема партии и должно составлять не менее 0,01% от объема партии, но не менее 10 шипов.
6.3.3 Среди шипов, подвергнутых проверке СТК, в зависимости от количества проверенных шипов (объема партии), не должно быть более 4% шипов, но не более 2 шт., не удовлетворяющих требованиям КД на шипы.
6.3.4 При получении неудовлетворительных результатов испытаний при выборочном контроле хотя бы по одному из показателей СТК проводит по нему повторные испытания на удвоенной выборке.
Критерии качества шипов должны соответствовать 6.3.3.
6.4 Периодическим испытаниям подвергают шипы из партии, прошедшей контроль СТК.
6.4.1 Периодические испытания проводит изготовитель, как правило, не реже одного раза в квартал по материалу корпуса и материалу износостойкого элемента (по результатам входного контроля) и по усилию удержания износостойкого элемента.
6.4.2 Для проверки силы удержания износостойкого элемента в корпусе шипа из партии, прошедшей проверку СТК, отбирают шипы в количестве не менее 10 шт.
6.4.3 Среди шипов, подвергнутых периодическим испытаниям, не должно быть более 2 шт., не удовлетворяющих требованиям КД на шипы.
6.4.4 При получении неудовлетворительных результатов испытаний должна быть проведена повторная проверка на удвоенном количестве образцов из той же партии.
Критерии качества шипов должны соответствовать 6.4.3.
6.5 Если шипы не выдержали проверку СТК или периодические испытания, отгрузку шипов приостанавливают до выявления причин возникновения дефектов и их устранения.
6.6 Типовые испытания изготавливаемых шипов проводят с целью оценки эффективности и целесообразности вносимых изменений в их конструкцию, материал или технологический процесс их изготовления. Необходимость проведения типовых испытаний и их объем устанавливает предприятие - разработчик шипов в зависимости от степени вносимых изменений.
7. Методы испытаний
7.1 Проверку внешнего вида покрытия шипа проводят визуальным осмотром в сравнении с контрольным образцом и требованиями КД.
7.2 Размеры шипов определяют микрометром по ГОСТ 6507, глубиномером - по ГОСТ 18833 и специальными калибрами или шаблонами, обеспечивающими необходимую точность.
7.3 Качество материала, из которого изготовлены корпус шипа и его износостойкий элемент проверяют в лабораториях <1>, аттестованных в установленном порядке.
--------------------------------
<1> Предприятие (организация), испытательный центр, специальная лаборатория, подразделение предприятия (организации) и т.п., осуществляющие испытания.
7.4 Качество антикоррозионного покрытия проверяют по ГОСТ 9.302.
7.5 Контроль твердости износостойкого элемента проводят по ГОСТ 20017 на приборе по ГОСТ 23667.
7.6 Силу удержания износостойкого элемента в корпусе шипа проверяют по методике, приведенной в приложении А.
7.7 Силу удержания шипа в протекторе покрышки шины проверяют по методике, приведенной в приложении Б.
7.8 Методика измерения выступа износостойкого элемента шипа за пределы протектора покрышки приведена в приложении Г.
7.9 Массу шипа определяют взвешиванием на весах по ГОСТ 29329 <2> и вычисляют как частное от арифметического деления результата взвешивания не менее 20 шипов.
--------------------------------
<2> На территории Российской Федерации действует ГОСТ Р 53228-2008 "Весы неавтоматического действия. Часть 1. Метрологические и технические требования. Испытания".
8. Гарантия изготовителя
8.1 Изготовитель шипов гарантирует работоспособность шипов в эксплуатации до износа выступа износостойкого элемента шипа за пределы протектора покрышки не более чем на 30%.
8.2 Гарантийный срок хранения шипов - 12 мес с момента их продажи.
Приложение А
(рекомендуемое)
ОПРЕДЕЛЕНИЕ СИЛЫ УДЕРЖАНИЯ
ИЗНОСОСТОЙКОГО ЭЛЕМЕНТА В КОРПУСЕ ШИПА
А.1 Сущность метода
Метод основан на выдавливании износостойкого элемента из корпуса шипа.
А.2 Требования к оборудованию
Пресс любого типа, обеспечивающий усилие, не менее чем удвоенное усилие удержания износостойкого элемента в корпусе шипа, и подставка.
А.3 Порядок проведения испытаний
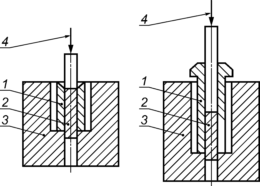
Шипы, отобранные для испытаний, разрезают в соответствии с рисунком А.1.
Рисунок А.1 - Линия разреза
В плоскости разреза А-А появляется отверстие под элемент шипа согласно рисунку А.2.
Рисунок А.2 - Заготовка для проверки силы удержания
износостойкого элемента в корпусе шипа
Допускается проводить подготовку шипов методом сверления отверстия в корпусе шипа. Отобранные образцы подготавливают согласно рисунку А.2.
Образец устанавливают на подставку, закрепленную на прессе, и выдавливают износостойкий элемент из корпуса согласно рисунку А.3.
1 - корпус шипа; 2 - износостойкий элемент;
3 - подставка; 4 - направление выдавливания
Рисунок А.3 - Определение силы удержания
износостойкого элемента в корпусе шипа
Приложение Б
(рекомендуемое)
ОПРЕДЕЛЕНИЕ СИЛЫ УДЕРЖАНИЯ ШИПА ПРОТИВОСКОЛЬЖЕНИЯ,
УСТАНОВЛЕННОГО В ПРОТЕКТОРЕ ПОКРЫШКИ ШИНЫ, ДЛЯ ЛЕГКОВЫХ,
ЛЕГКИХ ГРУЗОВЫХ И ГРУЗОВЫХ ШИН
Б.1 Определение силы удержания шипа с износостойким элементом в протекторе покрышки шины
Б.1.1 Требования к оборудованию, средствам измерений, вспомогательным устройствам
Б.1.1.1 Стенд для измерения силы удержания шипа противоскольжения, установленного в протекторе покрышки шины, должен быть оснащен цифровым динамометром и развивать усилие не менее 500 Н (51 кгс).
Б.1.1.2 Датчик силы должен иметь диапазон измерения от 0 до 500 Н (51 кгс) с погрешностью +/- 1 Н (0,1 кгс).
Б.1.1.3 Электронный динамометр должен иметь регистрацию максимального усилия с погрешностью не более 1%, в диапазоне от 0 до 500 Н (51 кгс).
Б.1.1.4 Зажим, устанавливаемый на выступающую из протектора покрышки шины часть шипа, должен обеспечивать силу сцепления с ним, не менее:
- 200 Н (20,4 кгс) - для легковых шин;
- 250 Н (25,5 кгс) - для легких грузовых шин;
- 450 Н (45,9 кгс) - для грузовых шин.
Б.1.2 Условия проведения испытаний
Б.1.2.1 В тестируемую шину должны быть установлены не менее 20 шипов в разных секторах протектора покрышки шины из расчета не менее одного шипа на каждый ряд схемы ошиповки.
Б.1.3 Подготовка к проведению измерений
Б.1.3.1 Подготовленные корпуса шипов запрессовывают в элемент протектора покрышки шины.
Б.1.3.2 Установленные в протектор покрышки шины корпуса шипов не должны выступать и быть притопленными за поверхность протектора покрышки шины более чем на 0,3 мм [при условии, что длина корпуса шипа меньше его длины в сборе на (1 +/- 0,0) мм].
Б.1.4 Порядок проведения измерений
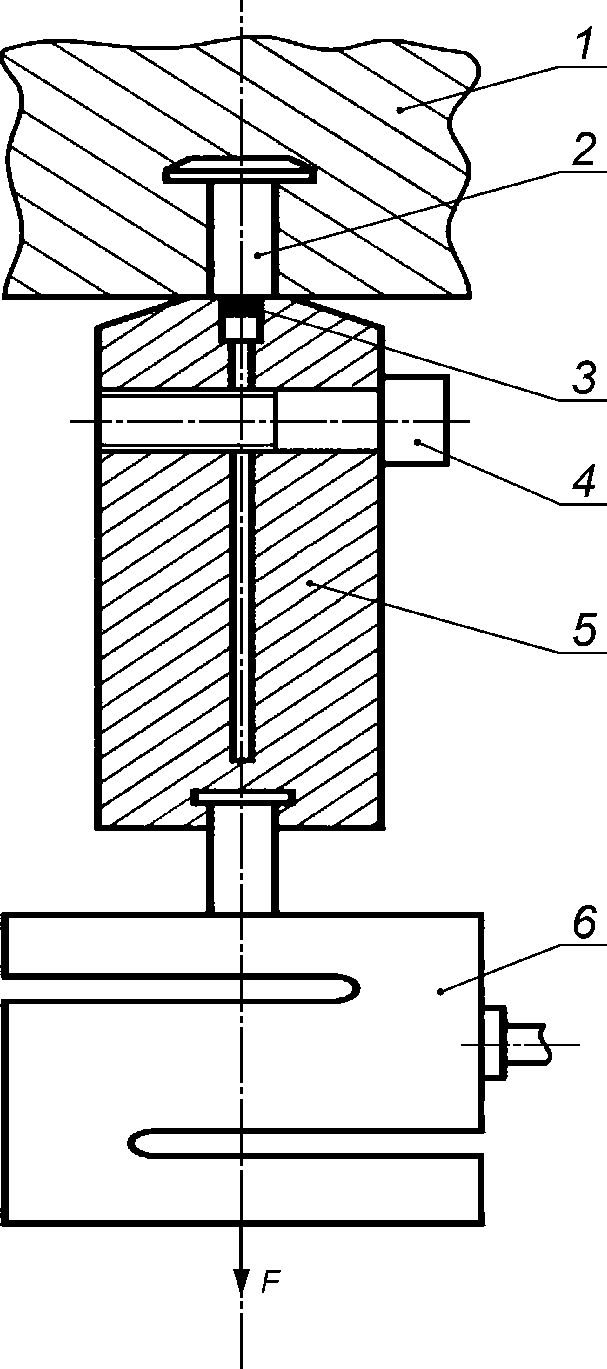
Б.1.4.1 Шину устанавливают на стенд согласно рисунку Б.1.
1 - элемент протектора покрышки шины; 2 - корпус шипа;
3 - выступающая над протектором покрышки шины часть
тестируемого шипа; 4 - зажимной болт; 5 - зажим;
6 - тензодатчик цифрового динамометра;
F - сила прикладываемой нагрузки
Рисунок Б.1 - Схема испытательной установки для определения
силы удержания шипа в протекторе покрышки шины
Б.1.4.2 На выступающую над протектором покрышки шины часть 3 тестируемого шипа 2 крепят зажим 5, обеспечивающий необходимую силу сцепления с ним, для удержания прикладываемой к зажиму силы, и через датчик силы 6 прикладывают нагрузку.
Б.1.4.3 Вектор силы нагрузки F должен быть направлен вдоль оси тестируемого шипа 2, установленного в протекторе покрышки шины 1 с погрешностью не более +/- 0,5°. Увеличение нагрузки проводят плавно, со скоростью 2 Н/с, либо дискретно через 10 Н (20,4 кгс). После каждой ступени дискретного нагружения необходима выдержка в течение 10 с на релаксацию.
ИС МЕГАНОРМ: примечание.
В официальном тексте документа, видимо, допущена опечатка. Возможно, имеется в виду Приложение В, а не Приложение Г.
Б.1.4.4 В момент начала движения испытуемого шипа относительно элемента протектора покрышки шины максимальные показания оператор регистрирует с помощью цифрового динамометра (на рисунке Б.2 не показан) и заносит их в протокол. Форма протокола приведена в приложении Г.
Схема испытательной установки представлена на рисунке Б.1.
Б.2 Определение силы удержания шипа без износостойкого элемента в протекторе покрышки шины
Б.2.1 Условия проведения испытаний
Б.2.1.1 Для испытаний отбирают корпуса шипов в количестве не менее 20 шт. без износостойкого элемента. В отверстии корпусов шипов нарезают резьбу согласно рисунку Б.2.
Рисунок Б.2 - Корпус шипа без износостойкого элемента
Б.2.2 Подготовка к проведению измерений
Б.2.2.1 Подготовленные корпуса шипов запрессовывают в элемент протектора покрышки шины.
Б.2.2.2 Установленные в протектор покрышки шины корпуса шипов не должны выступать и быть притопленными за поверхность протектора покрышки шины более чем на 0,3 мм [при условии, что длина корпуса шипа меньше его длины в сборе на (1 +/- 0,0) мм].
Б.2.3 Порядок проведения измерений
Б.2.3.1 Шину устанавливают на стенд согласно рисунку Б.3.
1 - элемент протектора покрышки шины; 2 - корпус шипа;
3 - крючок; 4 - динамометр; 5 - грузы;
F - сила нагрузки грузов
Рисунок Б.3 - Схема испытательной установки для измерения
силы удержания шипа в протекторе покрышки шины
Б.2.3.2 В корпус шипа ввинчивают крючок, обеспечивающий жесткую связь между корпусом шипа и динамометром, соответствующим требованиям ГОСТ 29329 <1> и имеющим максимальное усилие до 500 Н (50 кгс).
--------------------------------
<1> На территории Российской Федерации действует ГОСТ Р 53228-2008 "Весы неавтоматического действия. Часть 1. Метрологические и технические требования. Испытания".
Б.2.3.3 Грузы навешивают последовательно через 10 Н (1 кгс). Вектор силы нагрузки грузов должен быть направлен с погрешностью не более +/- 0,5° вдоль оси тестируемого шипа, установленного в тест-шине. После каждой ступени нагружения дается выдержка в течение 10 с на релаксацию.
ИС МЕГАНОРМ: примечание.
В официальном тексте документа, видимо, допущена опечатка. Возможно, имеется в виду Приложение В, а не Приложение Г.
Б.2.3.4 В момент начала движения испытуемого шипа относительно элемента протектора покрышки шины оператор регистрирует с помощью цифрового динамометра максимальные показания и заносит их в протокол. Форма протокола приведена в приложении Г.
Схема испытательной установки представлена на рисунке Б.3.
Приложение В
(рекомендуемое)
ФОРМА ПРОТОКОЛА ИСПЫТАНИЙ ПО ОПРЕДЕЛЕНИЮ СИЛЫ УДЕРЖАНИЯ
ШИПА ПРОТИВОСКОЛЬЖЕНИЯ В ПРОТЕКТОРЕ ПОКРЫШКИ ШИНЫ
УТВЕРЖДАЮ
___________________________________________________
должность руководителя испытательной лаборатории <1>
_____________________
личная подпись
______________________
инициалы, фамилия
М.П.
Дата
Протокол испытаний
по определению силы удержания шипа противоскольжения
в протекторе покрышки шины
на измерительном стенде "____________________________"
от ___________ 201_ г. N ____
Характеристика автошины:
Модель __________________________________________________________________
Страна-производитель ______________________________________________________
Фирма-производитель ______________________________________________________
Давление в автошине, MPa __________________________________________________
Высота протектора покрышки шины, мм ______________________________________
Температура воздуха, °C ____________________________________________________
Характеристика шипа ______________________________________________________
Вид измерения
Порядковый номер измерения
1
2
3
4
5
6
7
8
9
10
11
12
13
14
15
16
17
18
19
20
Выступ износостойкого элемента шипа над протектором покрышки шины, мм
Сила удержания шипа в протекторе покрышки шины, Н
Заключение _______________________________________________________________
__________________________________________________________________________
Испытания провел (должностное лицо):
______________________
должность
_______________________
личная подпись
______________________
инициалы, фамилия
Дата ________________________
<1> Предприятие (организация), испытательный центр, специальная лаборатория, подразделение предприятия (организации) и т.п., осуществляющие испытания.
Приложение Г
(рекомендуемое)
ИЗМЕРЕНИЕ ВЫСТУПА ИЗНОСОСТОЙКОГО ЭЛЕМЕНТА
ШИПА ЗА ПРЕДЕЛЫ ПРОТЕКТОРА ПОКРЫШКИ
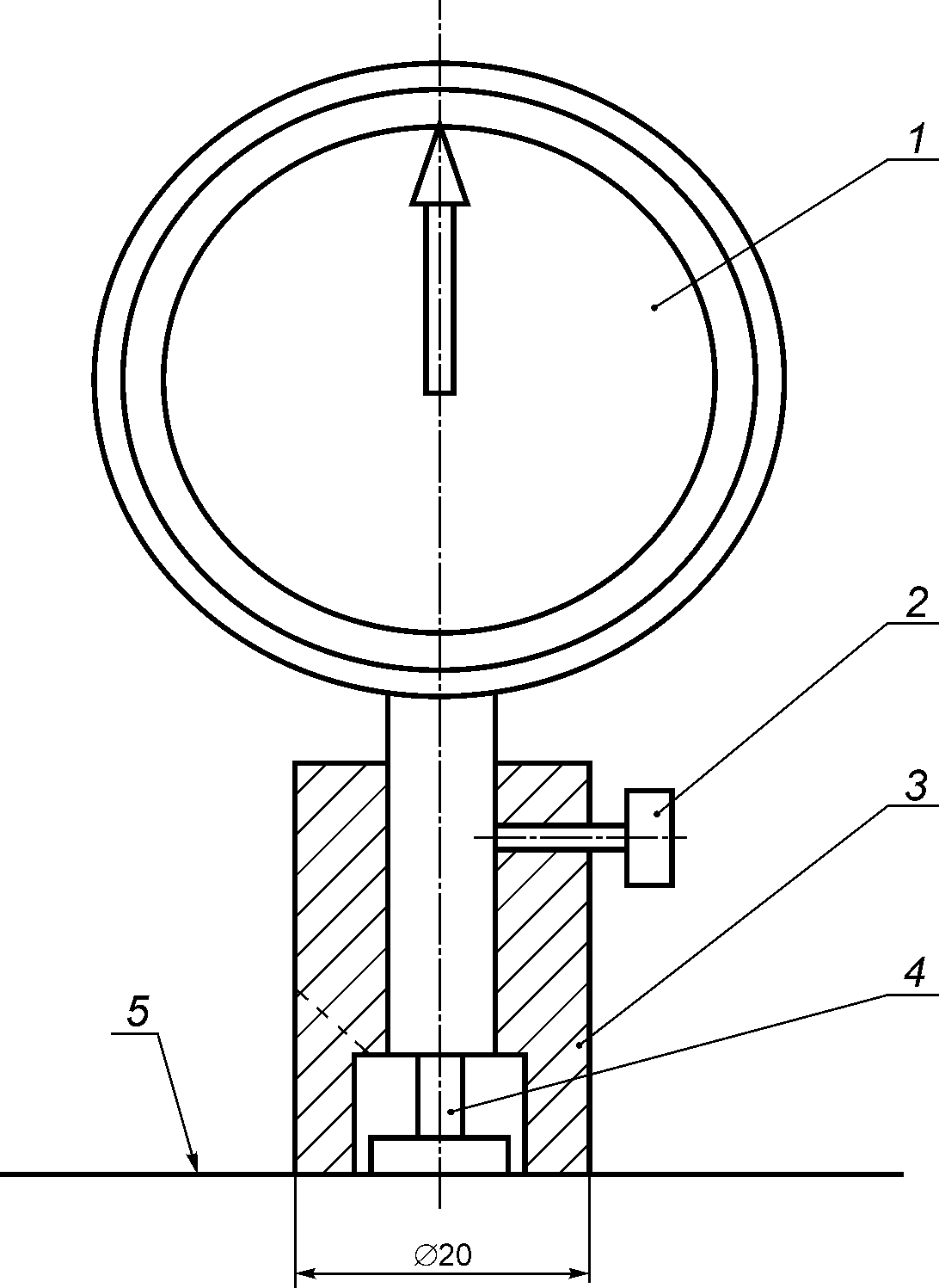
Г.1 Требования к оборудованию, средствам измерений, вспомогательным устройствам
Г.1.1 Индикатор ИЧ-10 по ГОСТ 577 для измерения выступа износостойкого элемента шипа над протектором покрышки шины должен быть оснащен наконечником в виде фланца 4 с наружным диаметром 11,4 мм, охваченным по наружному диаметру ограничительной оправкой 3 с наружным диаметром 20 мм, торцевая плоскость которой, с погрешностью +/- 0,03 мм, должна быть в торцевой плоскости 5 фланца 4 при нулевом показании индикатора. Индикатор с наконечником в виде фланца и оправкой представлен на рисунке Г.1.
Г.1.2 Точность измерителя выступов износостойких элементов шипов - +/- 0,01 мм. Возможно использование иного инструмента для проведения измерений выступа износостойкого элемента шипа при условии регистрации <1> такого инструмента в порядке, установленном законодательством государств - членов Таможенного союза, и обеспечивающего измерение выступа износостойкого элемента шипа не ниже заданной точности.
--------------------------------
<1> На территории Российской Федерации регистрация осуществляется в Государственном реестре средств измерений.
Г.2 Требования к тестируемой шине
Г.2.1 Тестируется новая, не бывшая в употреблении, шина. Тест-шина не должна иметь выпрессовок в местах проведения замеров выступов износостойких элементов шипов.
Г.2.2 Время выдержки шины, после установки или корректировки шипов, должно составлять не менее 24 ч при температуре не ниже плюс 15 °C.
Г.3 Порядок проведения процедуры измерений
Г.3.1 Для измерений берется одна шина на производственную партию, где партия - 1 паллета. Количество шин в паллете зависит от измеряемого типоразмера шины и может варьироваться от 10 до 30 шт.
Г.3.2 Для отдельно взятой шины замеру подлежат 20 рядом стоящих шипов, находящихся в пределах площади, охватывающей 20 шипов по всей ширине протектора покрышки, в любом его месте.
Г.3.3 Выступ износостойкого элемента тестируемого шипа над протектором покрышки шины измеряют индикатором ИЧ-10 по ГОСТ 577 или иным инструментом для проведения измерений выступа износостойкого элемента шипа, который удовлетворяет требованиям Г.1.1.
Г.3.4 Усилие прижатия оправки индикатора к протектору покрышки шины при измерении должно быть 15 - 20 Н.
Г.3.5 Результатом измерения является средняя величина выступа износостойкого элемента, вычисленная исходя из замера 20 измеряемых шипов на одной шине.
1 - индикатор; 2 - стопорный винт; 3 - ограничительная
оправка; 4 - наконечник индикатора - фланец; 5 - торцевая
плоскость оправки 3 и фланца 4 индикатора
Рисунок Г.1 - Измерительный индикатор ИЧ-10
с наконечником в виде фланца и ограничительной
оправкой для измерения выступа износостойкого
элемента шипа над протектором покрышки шины
БИБЛИОГРАФИЯ
[1] Сводная резолюция о конструкции транспортных средств (СР.3)
Принята Комитетом по внутреннему транспорту Европейской экономической комиссии ООН, пересмотр 3, поправка 1, 2014 г.