Главная // Актуальные документы // ГОСТ (Государственный стандарт)
СПРАВКА
Источник публикации
М.: Стандартинформ, 2017
Примечание к документу
Документ введен в действие с 1 января 2018 года.

Взамен ГОСТ 6563-75.
Название документа
"ГОСТ 6563-2016. Межгосударственный стандарт. Изделия технические из благородных металлов и сплавов. Технические условия"
(введен в действие Приказом Росстандарта от 04.05.2017 N 354-ст)

"ГОСТ 6563-2016. Межгосударственный стандарт. Изделия технические из благородных металлов и сплавов. Технические условия"
(введен в действие Приказом Росстандарта от 04.05.2017 N 354-ст)


Содержание


Введен в действие
Приказом Федерального агентства
по техническому регулированию
и метрологии
от 4 мая 2017 г. N 354-ст
МЕЖГОСУДАРСТВЕННЫЙ СТАНДАРТ
ИЗДЕЛИЯ ТЕХНИЧЕСКИЕ ИЗ БЛАГОРОДНЫХ МЕТАЛЛОВ И СПЛАВОВ
ТЕХНИЧЕСКИЕ УСЛОВИЯ
Technical articles made from noble metals
and alloys. Specifications
ГОСТ 6563-2016
МКС 77.150.99
ОКП 19 9500
Дата введения
1 января 2018 года
Предисловие
Цели, основные принципы и основной порядок проведения работ по межгосударственной стандартизации установлены в ГОСТ 1.0-2015 "Межгосударственная система стандартизации. Основные положения" и ГОСТ 1.2-2015 "Межгосударственная система стандартизации. Стандарты межгосударственные, правила и рекомендации по межгосударственной стандартизации. Правила разработки, принятия, обновления и отмены"
Сведения о стандарте
1 РАЗРАБОТАН Межгосударственным техническим комитетом по стандартизации МТК 304 "Благородные металлы, сплавы, промышленные и ювелирные из них; вторичные ресурсы, содержащие благородные металлы", Акционерным обществом "Екатеринбургский завод по обработке цветных металлов" (АО "ЕЗ ОЦМ")
2 ВНЕСЕН Федеральным агентством по техническому регулированию и метрологии
3 ПРИНЯТ Межгосударственным советом по стандартизации, метрологии и сертификации (протокол от 31 августа 2016 г. N 90-П)
За принятие проголосовали:
Краткое наименование страны по МК (ИСО 3166) 004-97
Код страны по МК (ИСО 3166) 004-97
Сокращенное наименование национального органа по стандартизации
Беларусь
BY
Госстандарт Республики Беларусь
Киргизия
KG
Кыргызстандарт
Россия
RU
Росстандарт
Таджикистан
TJ
Таджикстандарт
Узбекистан
UZ
Узстандарт
4 Приказом Федерального агентства по техническому регулированию и метрологии от 4 мая 2017 г. N 354-ст межгосударственный стандарт ГОСТ 6563-2016 введен в действие в качестве национального стандарта Российской Федерации с 1 января 2018 г.
5 ВЗАМЕН ГОСТ 6563-75
Информация об изменениях к настоящему стандарту публикуется в ежегодном информационном указателе "Национальные стандарты", а текст изменений и поправок - в ежемесячном информационном указателе "Национальные стандарты". В случае пересмотра (замены) или отмены настоящего стандарта соответствующее уведомление будет опубликовано в ежемесячном информационном указателе "Национальные стандарты". Соответствующая информация, уведомление и тексты размещаются также в информационной системе общего пользования - на официальном сайте Федерального агентства по техническому регулированию и метрологии в сети Интернет (www.gost.ru)
1. Область применения
Настоящий стандарт распространяется на технические изделия из благородных металлов и сплавов на их основе (далее - изделия), в том числе лабораторную посуду и принадлежности, применяемые в различных отраслях промышленности и науки.
2. Нормативные ссылки
В настоящем стандарте использованы нормативные ссылки на следующие межгосударственные стандарты:
ГОСТ OIML R 76-1-2011 Государственная система обеспечения единства измерений. Весы неавтоматического действия. Часть 1. Метрологические и технические требования. Испытания
ГОСТ 3479-85 Бумага папиросная. Технические условия
ГОСТ 6835-2002 Золото и сплавы на его основе. Марки
ГОСТ 6836-2002 Серебро и сплавы на его основе. Марки
ГОСТ 12225-80 <1> Палладий. Методы анализа
--------------------------------
ИС МЕГАНОРМ: примечание.
Взамен ГОСТ Р 54313-2011 Приказом Росстандарта от 15.11.2018 N 1010-ст с 1 апреля 2019 года введен в действие ГОСТ Р 54313-2018.
<1> В Российской Федерации дополнительно действуют ГОСТ Р 52951-2008, ГОСТ Р 54313-2011, ГОСТ Р 54335-2011.
ГОСТ 12226-80 <2> Платина. Методы анализа
--------------------------------
<2> В Российской Федерации действуют ГОСТ Р 52519-2006, ГОСТ Р 52520-2006, ГОСТ Р 52521-2006.
ГОСТ 12556.1-82 Сплавы платино-родиевые. Метод определения родия
ГОСТ 12556.2-82 Сплавы платино-родиевые. Методы спектрального анализа
ГОСТ 12559.1-82 Сплавы платино-иридиевые. Метод определения иридия
ГОСТ 12559.2-82 Сплавы платино-иридиевые. Методы спектрального анализа
ГОСТ 13462-2010 Палладий и сплавы на его основе. Марки
ГОСТ 13498-2010 Платина и сплавы на ее основе. Марки
ГОСТ 14192-96 Маркировка грузов
ГОСТ 15150-69 Машины, приборы и другие технические изделия. Исполнения для различных климатических районов. Категории, условия эксплуатации, хранения и транспортирования в части воздействия климатических факторов внешней среды
ГОСТ 22864-83 <3> Благородные металлы и их сплавы. Общие требования к методам анализа
--------------------------------
<3> В Российской Федерации дополнительно действует ГОСТ Р 52599-2006.
ГОСТ 27973.0-88 <4> Золото. Общие требования к методам анализа
--------------------------------
<4> В Российской Федерации дополнительно действует ГОСТ Р 52599-2006.
ГОСТ 27973.1-88 <5> Золото. Методы атомно-эмиссионного анализа
--------------------------------
<5> В Российской Федерации дополнительно действует ГОСТ Р 53372-2009.
ГОСТ 27973.2-88 <1> Золото. Метод атомно-эмиссионного анализа с индукционной плазмой
--------------------------------
<1> В Российской Федерации дополнительно действует ГОСТ Р 53372-2009.
ГОСТ 27973.3-88 <2> Золото. Метод атомно-абсорбционного анализа
--------------------------------
<2> В Российской Федерации дополнительно действует ГОСТ Р 53372-2009.
ИС МЕГАНОРМ: примечание.
В официальном тексте документа, видимо, допущена опечатка: стандарт имеет номер ГОСТ 28058-2015, а не ГОСТ 28058-2016.
ГОСТ 28058-2016 Золото в слитках. Технические условия
ГОСТ 28353.0-89 <3> Серебро. Общие требования к методам анализа
--------------------------------
<3> В Российской Федерации дополнительно действует ГОСТ Р 52599-2006.
ГОСТ 28353.1-89 <4> Серебро. Метод атомно-эмиссионного анализа
--------------------------------
<4> В Российской Федерации дополнительно действуют ГОСТ Р 56142-2014, ГОСТ Р 56307-2014.
ГОСТ 28353.2-89 <5> Серебро. Метод атомно-эмиссионного анализа с индукционной плазмой
--------------------------------
<5> В Российской Федерации дополнительно действует ГОСТ Р 56306-2014.
ГОСТ 28353.3-89 <6> Серебро. Метод атомно-абсорбционного анализа
--------------------------------
<6> В Российской Федерации дополнительно действует ГОСТ Р 56308-2014.
ИС МЕГАНОРМ: примечание.
В официальном тексте документа, видимо, допущена опечатка: стандарт имеет номер ГОСТ 28595-2015, а не ГОСТ 28595-2016.
ГОСТ 28595-2016 Серебро в слитках. Технические условия
ГОСТ 31290-2005 Платина аффинированная. Технические условия
ГОСТ 31291-2005 Палладий аффинированный. Технические условия
Примечание - При пользовании настоящим стандартом целесообразно проверить действие ссылочных стандартов в информационной системе общего пользования - на официальном сайте Федерального агентства по техническому регулированию и метрологии в сети Интернет или по ежегодно издаваемому информационному указателю "Национальные стандарты", который опубликован по состоянию на 1 января текущего года, и по выпускам ежемесячного информационного указателя "Национальные стандарты" за текущий год. Если ссылочный стандарт заменен (изменен), то при пользовании настоящим стандартом следует руководствоваться заменяющим (измененным) стандартом. Если ссылочный стандарт заменен без замены, то положение, в котором дана ссылка на него, применяется в части, затрагивающей эту ссылку.
3. Термины и определения
В настоящем стандарте применены следующие термины с соответствующими определениями:
3.1 вмятина: Дефект поверхности в виде произвольно расположенного углубления различной формы и величины с пологими краями.
3.2 заусенец: Дефект поверхности, представляющий собой острый в виде гребня выступ, образовавшийся при резке металла.
3.3 матовость: Дефект поверхности в виде участка с уменьшением или отсутствием блеска.
3.4 плена: Дефект поверхности в виде отслоения, чаще всего языкообразной формы, вытянутого в направлении деформации и соединенного с основным металлом одной стороной.
3.5 постороннее включение: Дефект поверхности в виде включения инородного тела (частицы) различной формы и величины.
3.6 раковина: Дефект поверхности в виде одиночного углубления вытянутой или точечной формы от выкрашивания посторонних включений или вскрытия газового пузыря.
3.7 расслоение: Дефект поверхности в виде отделения слоя (слоев) металла, ориентированного вдоль направления деформации.
3.8 риска: Дефект поверхности в виде продольного углубления или выступа различной длины и направления.
3.9 след зачистки: Дефект поверхности в виде участка с повышенной шероховатостью, образовавшейся после зачистки изделия абразивным инструментом.
3.10 трещина: Дефект поверхности, представляющий собой несквозной разрыв металла.
4. Классификация, основные параметры и размеры
4.1 Изделия в зависимости от назначения подразделяют:
- на лабораторную посуду;
- лабораторные принадлежности и аппаратуру;
- аппаратуру для электролиза.
4.2 Лабораторную посуду в зависимости от формы и назначения подразделяют:
- на тигли;
- крышки;
- чашки;
- стаканы;
- пробирки (чехлы).
4.3 Лабораторные принадлежности и аппаратуру в зависимости от формы и назначения подразделяют:
- на лодочки;
- ящики для сжигания;
- ложки;
- шпатели;
- капилляры;
- наконечники для пинцетов и щипцов;
- мешалки;
- тигли для вискозиметра, дериватографа и термографии;
- шарики для вискозиметра.
4.4 Аппаратуру для электролиза в зависимости от формы и назначения подразделяют:
- на электроды сетчатые цилиндрические, плоские, со спиралью;
- электроды из фольги;
- электроды проволочные;
- электроды дисковые;
- электроды тарельчатые;
- электроды пластинчатые.
4.5 Форма и размеры изделий, а также предельные отклонения размеров должны соответствовать указанным на рисунках и приведенным в таблицах приложения А.
Примечание - По согласованию с потребителем допускается изготовлять изделия другой формы и/или размеров.
4.5.1 Предельные отклонения размеров, не указанные в приложении А, должны быть +/- IT16/2.
4.5.2 Масса изделий должна быть рассчитана по номинальным размерам. Отклонение фактической массы изделий от массы, рассчитанной по номинальным размерам, не должно превышать +/- 5%.
4.5.3 Для определения массы изделий из сплавов на основе платины, значения массы, указанные в таблицах, должны быть умножены на:
- 1,004 - для сплава марки ПлИ 90-10;
- 1,002 - для сплава марки ПлИ 95-5;
- 0,952 - для сплава марки ПлРд 93-7;
- 0,932 - для сплава марки ПлРд 90-10;
- 0,994 - для сплава марки ПлЗл 95-5.
4.6 Структура условного обозначения изделий приведена в приложении Б.
5. Технические требования
5.1. Основные показатели и характеристики (свойства)
5.1.1 Изделия должны соответствовать требованиям настоящего стандарта и быть изготовлены по технологическому регламенту, утвержденному в установленном порядке.
5.1.2 Изделия должны быть изготовлены из металлов и сплавов с химическим составом по ГОСТ 6835, ГОСТ 6836, ГОСТ 13462, ГОСТ 13498, ГОСТ 28058, ГОСТ 28595, ГОСТ 31290, ГОСТ 31291.
Примечание - По согласованию с потребителем допускается изготавливать изделия из других металлов или сплавов на основе благородных металлов.
5.1.3 На поверхности изделий не допускаются загрязнения.
5.1.4 Поверхность изделий не должна иметь плен, трещин, раковин, расслоений, заусенцев, вмятин и посторонних включений. Допускаются матовость, следы зачистки, риски, не выводящие изделия за предельные отклонения по размерам.
5.1.5 Рекомендуемые области применения технических изделий из платины и сплавов на ее основе и химико-аналитические операции, при которых допускается их использование, приведены в приложении В.
5.1.6 Условия эксплуатации технических изделий из благородных металлов и сплавов должны соответствовать требованиям приложения Г.
5.2. Маркировка, упаковка
5.2.1 На каждом изделии должно быть нанесено клеймо с указанием:
- марки сплава;
- последней цифры номера изделия.
Место нанесения маркировки - в соответствии с рисунками приложения А.
Примечание - Изделия N 106-1, 106-2, 117-1, 117-2, 117-3, 117-4, 120-1, 120-2, 120-3, 120-4 маркируют ниже отбортовки.
5.2.2 Изделия должны быть обернуты в папиросную бумагу по ГОСТ 3479 и уложены в сплошные деревянные (пластиковые) ящики.
Свободное пространство в ящике заполняют мягким упаковочным материалом, предохраняющим изделия от механических повреждений.
Могут быть применены другие виды упаковки и материалы, обеспечивающие сохранность изделий при транспортировании и хранении.
Транспортная маркировка - по ГОСТ 14192, с указанием манипуляционного знака "Хрупкое. Осторожно".
5.2.3 Ящики пломбируют или опечатывают. Пломба (печать) должна иметь четкий оттиск.
5.2.4 Каждую партию изделий сопровождают документом о качестве, содержащим:
- товарный знак или наименование и товарный знак предприятия-изготовителя;
- условное обозначение изделия;
- номер партии;
- химический состав, %;
- количество изделий в партии, шт.;
- массу партии, г;
- месяц и год изготовления;
- штамп контроля качества.
Документ о качестве вкладывают в пакет с сопроводительной документацией.
6. Правила приемки
6.1 Изделия принимают партиями. Партия должна состоять из изделий одного типоразмера, одного химического состава. Масса партии не ограничивается.
6.2 Контролю на соответствие требованиям 4.5, 5.1.3, 5.1.4, 5.2.1 подвергают каждое изделие.
6.3 Для проверки химического состава на соответствие требованиям 5.1.2 изготовитель отбирает пробу от каждой плавки, потребитель - одно изделие от партии.
Допускается принимать химический состав изделий по сопроводительным документам предприятия-изготовителя.
6.4 При несоответствии требованиям 5.1.2 проводят повторные испытания на удвоенной выборке или пробе, отобранной от той же плавки. Для оценки соответствия требованиям 5.1.2 в этом случае принимают результаты повторных испытаний.
6.5 Контролю упаковки подвергают каждое упаковочное место.
7. Методы контроля
7.1 Качество поверхности изделий проверяют путем осмотра без применения увеличительных приборов.
7.2 Проверку размеров изделий производят измерительным инструментом, обеспечивающим требуемую точность.
7.3 Химический состав определяют по ГОСТ 12225, ГОСТ 12226, ГОСТ 12556.1, ГОСТ 12556.2, ГОСТ 12559.1, ГОСТ 12559.2, ГОСТ 22864, ГОСТ 27973.0, ГОСТ 27973.1, ГОСТ 27973.2, ГОСТ 27973.3, ГОСТ 28353.0, ГОСТ 28353.1, ГОСТ 28353.2, ГОСТ 28353.3 или другими методами, обеспечивающими требуемую точность.
7.4 Массу изделий определяют на весах, удовлетворяющих требованиям ГОСТ OIML R 76-1 и обеспечивающих точность взвешивания в соответствии с правилами учета драгоценных металлов.
7.5 Маркировку и упаковку проверяют внешним осмотром.
8. Транспортирование и хранение
8.1 При транспортировании и хранении изделия должны быть защищены от механических воздействий, действия влаги и агрессивных сред.
8.2 Транспортирование, хранение и учет изделий проводят в соответствии с правилами хранения, транспортирования и учета драгоценных металлов.
Условия хранения в части воздействия климатических факторов - 1 (Л) по ГОСТ 15150, условия транспортирования - 3 по ГОСТ 15150.
9. Гарантии изготовителя
Изготовитель гарантирует соответствие изделий требованиям настоящего стандарта при соблюдении условий транспортирования и хранения, установленных настоящим стандартом.
Приложение А
(обязательное)
ФОРМА И РАЗМЕРЫ ТЕХНИЧЕСКИХ ИЗДЕЛИЙ ИЗ БЛАГОРОДНЫХ МЕТАЛЛОВ
И СПЛАВОВ НА ИХ ОСНОВЕ
А.1 Лабораторная посуда
Форма и размеры лабораторной посуды приведены на рисунках А.1.1 - А.1.25 и в таблицах А.1.1 - А.1.21.
Рисунок А.1.1 - Высокий тигель из платины (Изделие N 100)
Таблица А.1.1
Размеры высоких тиглей из платины
Размеры в миллиметрах
Номер изделия
Вместимость, см3
Диаметр тигля D
Диаметр дна d
Высота тигля H
Толщина дна s0
Толщина стенки s
Масса, г
100-1
4
18
12
20
0,22
0,14
3,4
100-1/1 <*>
0,33
0,21
5,1
100-2
6
20
13
25
0,24
0,15
5,4
100-2/1 <*>
0,36
0,23
8,1
100-3
9
24
16
26
0,27
0,17
8,0
100-3/1 <*>
0,41
0,26
12,0
100-4
12
26
18
30
0,28
0,19
10,5
100-4/1 <*>
0,42
0,29
15,8
100-5
15
28
19
33
0,30
0,21
13,0
100-5/1 <*>
0,45
0,32
19,5
100-6
18
30
20
36
0,35
0,24
18,0
100-6/1 <*>
0,53
0,36
27,0
100-7
25
32
21
40
0,37
0,26
24,0
100-7/1 <*>
0,56
0,39
36,0
100-8
32
35
24
42
0,40
0,28
26,4
100-8/1 <*>
0,60
0,42
39,6
100-9
40
38
26
45
0,45
0,31
36,0
100-10
54
42
28
50
0,45
0,31
44,0
100-11
90
50
33
60
0,60
0,52
95,0
100-12
145
60
40
70
0,75
0,63
170,0
100-13
310
72
50
100
1,00
0,78
365,0
<*> Тигли с утолщенной стенкой, равной 1,5s, и дном, равным 1,5s0.
Примечание - По согласованию с потребителем допускается изготовлять тигли из сплавов на основе платины.
Рисунок А.1.2 - Крышка к высокому тиглю из платины
(Изделие N 101)
Таблица А.1.2
Размеры крышек к высоким тиглям из платины
Размеры в миллиметрах
Номер изделия
Диаметр крышки D
Диаметр дна d
Высота крышки h
Длина крышки K
Толщина крышки s
Масса, г
101-1
22
17
2,0
25
0,15
1,4
101-2
23
19
28
1,7
101-3
28
23
33
2,2
101-4
31
25
2,5
36
2,6
101-5
33
27
39
3,2
101-6
35
29
40
3,3
101-7
37
31
43
3,8
101-8
40
34
46
4,4
101-9
42
37
49
5,1
101-10
46
41
53
5,9
101-11
55
48
4,0
63
0,20
12,6
101-12
65
58
74
16,3
101-13
78
71
5,0
87
0,25
31,4
Рисунок А.1.3 - Высокий тигель из серебра (Изделие N 102)
Таблица А.1.3
Размеры высоких тиглей из серебра
Размеры в миллиметрах
Номер изделия
Вместимость, см3
Диаметр тигля D
Диаметр дна d
Высота тигля H
Толщина дна s0
Толщина стенки s
Масса, г
102-1
4
18
12
20
0,44
0,27
3,6
102-2
6
20
13
25
0,48
0,34
6,0
102-3
9
24
16
26
0,54
0,38
8,6
102-4
12
26
18
30
0,56
0,38
11,5
102-5
15
28
19
33
0,60
0,41
14,0
102-6
18
30
20
36
0,68
0,50
18,0
102-7
25
33
21
40
0,74
0,57
26,0
102-8
32
36
24
42
0,76
0,58
29,0
102-9
40
39
26
45
0,88
0,66
39,0
102-10
54
43
28
50
0,96
0,68
49,0
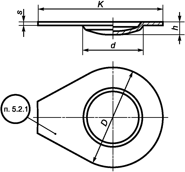
Рисунок А.1.4 - Крышка к высокому тиглю из серебра
(Изделие N 103)
Таблица А.1.4
Размеры крышек к высоким тиглям из серебра
Размеры в миллиметрах
Номер изделия
Диаметр крышки D
Диаметр дна d
Высота крышки h
Длина крышки K
Толщина крышки s
Масса, г
103-1
22
17
2,0
25
0,25
1,2
103-2
23
19
28
1,4
103-3
28
23
33
1,8
103-4
31
25
2,5
36
2,3
103-5
33
27
39
2,7
103-6
35
29
40
2,8
103-7
37
31
43
3,2
103-8
40
34
46
3,6
103-9
42
37
49
4,1
103-10
46
71
53
5,1
Рисунок А.1.5 - Высокий тигель из золота (Изделие N 104)
Таблица А.1.5
Размеры высоких тиглей из золота
Размеры в миллиметрах
Номер изделия
Вместимость, см3
Диаметр тигля D
Диаметр дна d
Высота тигля H
Толщина дна s0
Толщина стенки s
Масса, г
104-1
4
18
12
20
0,22
0,14
3,1
104-2
6
20
13
25
0,24
0,15
4,9
104-3
9
24
16
26
0,27
0,17
7,3
104-4
12
26
18
30
0,28
0,19
9,6
104-5
15
28
19
33
0,30
0,21
12,0
104-6
18
30
20
36
0,34
0,24
15,0
104-7
25
32
21
40
0,37
0,26
22,0
Примечание - По согласованию с потребителем допускается изготовлять тигли с утолщенной стенкой, равной 1,5s, и дном, равным 1,5s0.
Рисунок А.1.6 - Крышка к высокому тиглю из золота
(Изделие N 105)
Таблица А.1.6
Размеры крышек к высоким тиглям из золота
Размеры в миллиметрах
Номер изделия
Диаметр крышки D
Диаметр дна d
Высота крышки h
Длина крышки K
Толщина крышки s
Масса, г
105-1
22
17
2,0
25
0,15
1,2
105-2
23
19
28
1,5
105-3
28
23
33
2,0
105-4
31
25
2,5
36
2,4
105-5
33
27
39
2,9
105-6
35
29
40
3,1
105-7
37
31
43
3,4
Рисунок А.1.7 - Высокий тигель с усиленной кромкой
(отбортовкой) из платины (Изделие N 106)
Таблица А.1.7
Размеры высоких тиглей с усиленной кромкой (отбортовкой)
из платины
Размеры в миллиметрах
Номер изделия
Вместимость, см3
Диаметр тигля D
Диаметр дна d
Высота тигля H
Толщина дна s0
Толщина стенки s
Масса, г
106-1
4
18
12
20
0,22
0,14
4,0
106-1/1 <*>
0,33
0,21
6,0
106-2
6
20
13
25
0,24
0,15
6,0
106-2/1 <*>
0,36
0,23
9,0
106-3
9
24
16
26
0,27
0,17
9,0
106-3/1 <*>
0,41
0,26
13,5
106-4
12
26
18
30
0,28
0,19
12,0
106-4/1 <*>
0,42
0,29
18,0
106-5
15
28
19
33
0,30
0,21
15,0
106-5/1 <*>
0,45
0,32
22,5
106-6
18
30
20
36
0,34
0,24
19,0
106-6/1 <*>
0,53
0,36
28,5
106-7
25
32
21
40
0,37
0,26
26,0
106-7/1 <*>
0,56
0,39
39,0
106-8
32
35
24
42
0,40
0,28
30,0
106-8/1 <*>
0,60
0,42
45,0
106-9
40
38
26
45
0,45
0,31
40,0
106-10
54
42
28
50
0,45
0,32
50,0
<*> Тигли с утолщенной стенкой, равной 1,5s, и дном, равным 1,5s0.
Примечание - По согласованию с потребителем допускается изготовлять тигли из сплавов на основе платины.
Рисунок А.1.8 - Широкий тигель из платины или серебра
(Изделие N 107)
Таблица А.1.8
Размеры тиглей широких из платины или серебра
Размеры в миллиметрах
Номер изделия
Вместимость, см3
Диаметр тигля D
Диаметр дна d
Высота тигля H
Толщина дна s0
Толщина стенки s
Масса, г
Из платины
107-1
9
28
14
22
0,28
0,23
9,0
107-2
20
38
19
28
0,37
0,27
20,0
107-3
27
42
22
30
0,40
0,29
26,0
Из серебра
107-4
9
28
14
22
0,56
0,44
9,0
107-5
20
38
19
28
0,74
0,54
20,0
107-6
27
42
22
30
0,80
0,65
27,0
Примечания
1 Крышки к широким тиглям подбирают из крышек к высоким тиглям:
тиглю N 107-1 соответствует крышка N 101-5;
тиглю N 107-2 соответствует крышка N 101-9;
тиглю N 107-3 соответствует крышка N 101-10;
тиглю N 107-4 соответствует крышка N 103-5;
тиглю N 107-5 соответствует крышка N 103-9;
тиглю N 107-6 соответствует крышка N 103-10.
2 По согласованию с потребителем допускается изготовлять тигли из платины и сплавов на ее основе с утолщенной стенкой, равной 1,5s, и дном, равным 1,5s0.
Рисунок А.1.9 - Микротигель из платины или золота
(Изделие N 108)
Таблица А.1.9
Размеры микротиглей из платины или золота
Размеры в миллиметрах
Номер изделия
Вместимость, см3
Диаметр тигля D
Диаметр дна d
Высота тигля H
Толщина дна s0
Толщина стенки s
Масса, г
Из платины
108-1
0,3
8
5
8,5
0,17
0,11
0,5
108-2
0,7
10
6
11
1,0
108-3
1,2
12
8
14
1,5
108-4
2,3
15
10
17
2,1
Из золота
108-5
0,3
8
5
8,5
0,17
0,11
0,5
108-6
0,7
10
6
11
0,9
108-7
1,2
12
8
14
1,3
108-8
2,3
15
10
17
1,9
Рисунок А.1.10 - Крышка к микротиглю из платины или золота
(Изделие N 109)
Таблица А.1.10
Размеры крышек к микротиглям из платины или золота
Размеры в миллиметрах
Номер изделия
Диаметр крышки D
Диаметр дна d
Высота крышки h
Длина крышки K
Толщина крышки s
Масса, г
Из платины
109-1
10
1
1,5
9
0,15
0,3
109-2
13
9
1,8
10
0,5
109-3
15
11
2,0
12
0,7
109-4
18
14
15
1,0
Из золота
109-5
10
7
1,5
9
0,15
0,3
109-6
13
9
1,8
10
0,5
109-7
15
11
2,0
12
0,6
109-8
18
14
15
0,9
Рисунок А.1.11 - Тигель с поддоном и отверстиями в дне
из платины (Изделие N 110)
Таблица А.1.11
Размеры тиглей с поддоном и отверстиями в дне из платины
Размеры в миллиметрах
Номер изделия
Диаметр тигля D
Диаметр дна d
Высота тигля H
Высота поддона h
Толщина дна тигля и поддона s0
Толщина стенки s
Масса, г
110-1
26
18
26
6
0,40
0,30
19,0
110-2
32
18
38
7
26,0
Примечание - Тиглю 110-1 соответствует крышка 101-4; тиглю 110-2 соответствует крышка 101-7.
Масса 34,0 г
Рисунок А.1.12 - Конический тигель с крышкой (Изделие N 111)
Масса 40,0 г
Рисунок А.1.13 - Конический тигель с крышкой (Изделие N 112)
Масса 28,0 г
Рисунок А.1.14 - Конический тигель с отверстиями в дне
(Изделие N 113)
Рисунок А.1.15 - Чашка со сферическим дном
из платины или серебра (Изделия N 115 и N 116)
Таблица А.1.12
Размеры чашек со сферическим дном из платины или серебра
Размеры в миллиметрах
Номер изделия
Вместимость, см3
Диаметр чашки D
Высота чашки H
Толщина дна s0
Толщина стенки s
Масса, г
Из платины
115-1
16
37
20
0,20
0,16
8,5
115-2
32
47
24
0,24
0,17
16,0
115-3
63
60
29
0,28
0,19
28,0
115-4
100
70
34
0,30
0,21
43,0
115-5
160
80
40
0,32
0,22
61,0
115-6
225
90
45
0,33
0,24
80,0
115-7
325
100
52
0,34
0,24
105,0
115-8
450
110
58
0,38
0,27
150,0
115-9
550
120
60
0,40
0,27
180,0
115-10
825
142
70
0,40
0,28
255,0
115-11
1200
156
78
0,45
0,30
355,0
Из серебра
116-1
16
37
20
0,40
0,30
8,5
116-2
32
47
24
0,48
0,32
16,0
116-3
63
60
29
0,56
0,37
29,0
116-4
100
70
34
0,60
0,39
42,0
116-5
160
80
40
0,64
0,44
60,0
116-6
225
90
45
0,66
0,48
82,0
116-7
325
100
52
0,70
0,48
105,0
116-8
450
110
58
0,80
0,53
150,0
116-9
550
120
60
0,82
0,54
175,0
116-10
825
142
70
0,84
0,62
255,0
116-11
1200
156
78
0,90
0,66
355,0
Примечание - По согласованию с потребителем допускается изготовлять чашки из платины и сплавов на ее основе с утолщенной стенкой, равной 1,5s, и дном, равным 1,5s0.
Рисунок А.1.16 - Чашка со сферическим дном с усиленной
кромкой (отбортовкой) из платины (Изделие N 117)
Таблица А.1.13
Размеры чашек со сферическим дном с усиленной кромкой
(отбортовкой) из платины
Размеры в миллиметрах
Номер изделия
Вместимость, см3
Диаметр чашки D
Высота чашки H
Толщина дна s0
Толщина стенки s
Масса, г
117-1
16
37
20
0,20
0,16
10,0
117-1/1 <*>
0,30
0,24
15,0
117-2
32
47
24
0,24
0,17
18,0
117-2/1 <*>
0,36
0,26
27,0
117-3
63
60
29
0,28
0,19
32,0
117-3/1 <*>
0,42
0,29
48,0
117-4
100
70
34
0,30
0,21
50,0
117-4/1 <*>
0,45
0,32
75,0
117-5
160
80
40
0,32
0,22
68,0
117-5/1 <*>
0,48
0,32
102,0
117-6
225
90
45
0,33
0,24
88,0
117-6/1 <*>
0,50
0,36
132,0
117-7
325
100
52
0,34
0,24
115,0
117-7/1 <*>
0,51
0,36
173,0
117-8
450
110
58
0,38
0,27
162,0
117-8/1 <*>
0,57
0,41
243,0
117-9
550
120
60
0,40
0,27
194,0
117-10
825
142
70
0,40
0,28
281,0
117-11
1200
156
78
0,45
0,30
365,0
<*> Чашки с утолщенной стенкой, равной 1,5s, и дном, равным 1,5s0.
Примечание - По согласованию с потребителем допускается изготовлять чашки из сплавов на основе платины.
Рисунок А.1.17 - Чашка из платины или серебра
(Изделия N 118 и N 119)
Таблица А.1.14
Размеры чашек из платины или серебра
Размеры в миллиметрах
Номер изделия
Вместимость, см3
Диаметр чашки D
Высота чашки H
Толщина дна s0
Толщина стенки s
Масса, г
Из платины
118-1
18
40
18
0,20
0,16
10,0
118-1/1 <*>
0,30
0,24
15,0
118-2
34
52
20
0,24
0,18
19,0
118-2/1 <*>
0,36
0,27
28,5
118-3
65
63
25
0,26
0,19
32,0
118-3/1 <*>
0,39
0,28
48,0
118-4
115
75
31
0,28
0,21
51,0
118-4/1 <*>
0,42
0,32
76,5
118-5
200
90
35
0,30
0,21
72,0
118-5/1 <*>
0,45
0,32
108,0
118-6
280
100
41
0,30
0,22
88,0
118-6/1 <*>
0,45
0,33
132,0
118-7
400
115
45
0,34
0,24
135,0
118-8
550
127
51
0,36
0,25
165,0
Из серебра
119-1
18
40
18
0,40
0,30
10,0
119-2
34
52
20
0,48
0,36
19,0
119-3
65
63
25
0,56
0,40
31,0
119-4
115
75
31
0,56
0,41
47,0
119-5
200
90
35
0,62
0,45
72,0
119-6
280
100
41
0,65
0,43
90,0
119-7
400
115
45
0,70
0,48
133,0
119-8
550
127
51
0,72
0,48
162,0
<*> Чашки с утолщенной стенкой, равной 1,5s, и дном, равным 1,5s0.
Рисунок А.1.18 - Чашка с усиленной кромкой (отбортовкой)
из платины (Изделие N 120)
Таблица А.1.15
Размеры чашек с усиленной кромкой (отбортовкой) из платины
Размеры в миллиметрах
Номер изделия
Вместимость, см3
Диаметр чашки D
Высота чашки H
Толщина дна s0
Толщина стенки s
Масса, г
120-1
18
40
18
0,20
0,16
11,0
120-1/1 <*>
0,30
0,24
17,0
120-2
34
52
20
0,24
0,18
21,0
120-2/1 <*>
0,36
0,27
32,0
120-3
65
63
25
0,26
0,19
33,0
120-3/1 <*>
0,39
0,29
50,0
120-4
115
75
31
0,28
0,21
52,0
120-4/1 <*>
0,42
0,32
78,0
120-5
200
90
35
0,30
0,21
78,0
120-5/1 <*>
0,45
0,32
117,0
120-6
280
100
41
0,30
0,22
95,0
120-6/1 <*>
0,45
0,33
143,0
120-7
400
115
45
0,34
0,24
144,0
120-7/1 <*>
0,51
0,36
216,0
120-8
550
127
51
0,36
0,24
179,0
<*> Чашки с утолщенной стенкой, равной 1,5s, и дном, равным 1,5s0.
Примечание - По согласованию с потребителем допускается изготовлять чашки из сплавов на основе платины.
Рисунок А.1.19 - Чашка для сжигания из платины
(Изделие N 121)
Таблица А.1.16
Размеры чашек для сжигания из платины
Размеры в миллиметрах
Номер изделия
Вместимость, см3
Диаметр чашки D
Высота чашки H
Толщина дна s0
Толщина стенки s
Масса, г
121-1
10
35
12
0,24
0,18
10,0
121-2
45
50
23
23,0
Рисунок А.1.20 - Чашка коническая из платины (Изделие N 122)
Таблица А.1.17
Размеры чашек конических из платины
Размеры в миллиметрах
Номер изделия
Вместимость, см3
Диаметр чашки D
Диаметр дна d
Высота чашки H
Толщина дна s0
Толщина стенки s
Масса, г
122-1
30
50
45
15
0,25
0,19
18,0
122-2
58
60
54
18
26,0
122-3
80
70
61
21
32,0
Рисунок А.1.21 - Цилиндрический стакан
из платины или серебра (Изделие N 126)
Таблица А.1.18
Размеры цилиндрических стаканов из платины или серебра
Размеры в миллиметрах
Номер изделия
Вместимость, см3
Диаметр стакана D
Высота стакана H
Толщина дна s0
Толщина стенки s
Масса, г
Из платины
126-1
100
40
80
0,33
0,28
68,0
126-2
150
45
96
0,40
0,33
110,0
126-3
240
55
106
0,43
0,40
175,0
126-4
480
75
113
0,48
0,44
285,0
126-5
950
100
125
0,60
0,55
560,0
Из серебра
126-6
100
40
80
0,90
0,77
92,0
126-7
150
45
96
0,90
0,77
125,0
126-8
240
55
106
0,90
0,77
175,0
126-9
480
75
113
1,00
0,83
285,0
126-10
950
100
125
1,00
0,83
425,0
Рисунок А.1.22 - Конический стакан из платины или серебра
(Изделие N 127)
Таблица А.1.19
Размеры конических стаканов из платины или серебра
Размеры в миллиметрах
Номер изделия
Вместимость, см3
Диаметр стакана D
Диаметр дна d
Высота стакана H
Толщина дна s0
Толщина стенки s
Масса, г
Из платины
127-1
20
32
25
40
2,00
1,00
135,0
127-2
45
40
30
60
235,0
127-3
90
48
35
80
365,0
Из серебра
127-4
20
32
25
40
2,00
1,00
65,0
127-5
45
40
30
60
115,0
127-6
90
48
35
80
180,0
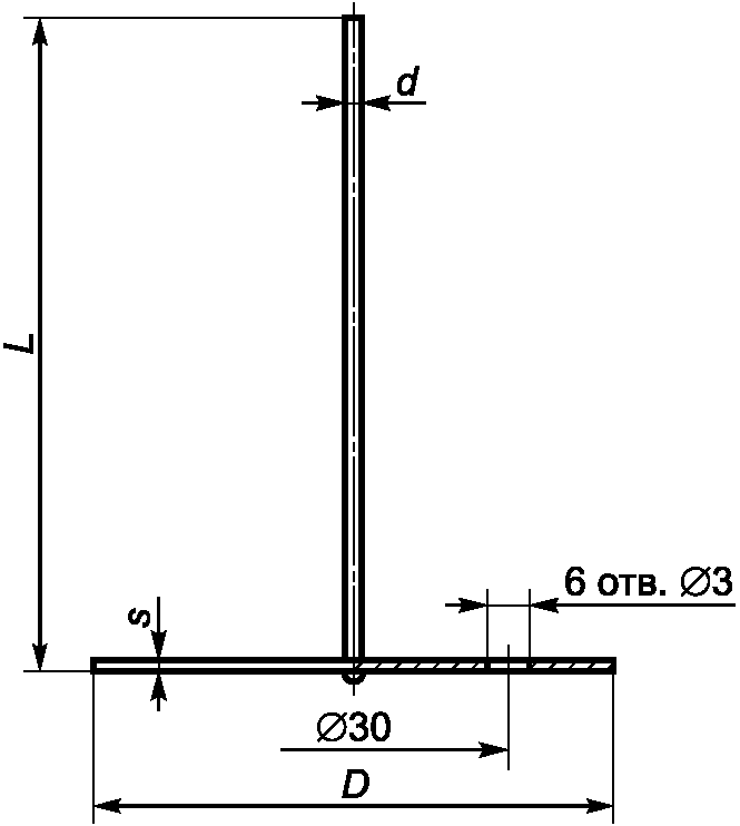
Рисунок А.1.23 - Пробирка из платины, палладия, золота,
серебра и платинородиевого сплава марки ПлРд 93-7
(Изделие N 131)
Таблица А.1.20
Размеры пробирок
Размеры в миллиметрах
Номер изделия
Диаметр изделия D
Толщина стенки s
Длина изделия L
Масса изделия из платины, г
131-1
2,0
0,10
25
0,3
131-2
50
0,6
131-3
0,20
1,2
131-4
2,6
1,6
131-5
0,30
2,3
131-6
3,0
40
2,2
131-7
0,20
50
1,9
131-8
4,0
0,30
25
1,9
131-9
6,0
0,50
550
102,0
131-10
8,0
350
89,0
131-11
10,0
100
32,4
131-12
200
64,4
131-13
12,0
80
30,9
131-14
14,0
200
91,5
131-15
15,0
200
97,5
131-16
16,0
100
52,0
131-17
17,0
1,00
350
379,0
131-18
430
465,0
131-19
20,0
0,50
200
132,0
131-20
25,0
200
166,0
Примечания
1 Изделия N 131-1 - 131-8 изготовляют без развальцовки.
2 Изделия N 131-1 - 131-10 не маркируют.
Рисунок А.1.24 - Крышка из золота (Изделие N 132)
Рисунок А.1.25 - Крышка из золота (Изделие N 133)
Таблица А.1.21
Размеры крышек из золота
Размеры в миллиметрах
Номер изделия
Диаметр крышки D
Диаметр дна d
Высота крышки h
Толщина дна s0
Толщина крышки s
Масса, г
132-1
50
38
9
0,30
0,23
14,0
132-2
50
38
0,40
0,32
19,0
132-3
66
51
0,40
0,30
30,0
133
70
54
12
0,80
0,43
52,0
А.2 Лабораторные принадлежности и аппаратура
Форма и размеры лабораторных принадлежностей и аппаратуры приведены на рисунках А.2.1 - А.2.28 и в таблицах А.2.1 - А.2.13.
Рисунок А.2.1 - Лодочка для элементного анализа из платины
(Изделие N 200)
Таблица А.2.1
Размеры лодочек для элементного анализа
Размеры в миллиметрах
Номер изделия
Ширина изделия B
Высота изделия H
Длина изделия L
Толщина стенки s
Масса, г
200-1
8
10
40
0,25
5,6
200-2
50
6,7
200-3
60
8,4
200-4
70
9,4
200-5
10
40
6,0
200-6
50
7,2
200-7
60
9,0
200-8
70
10,0
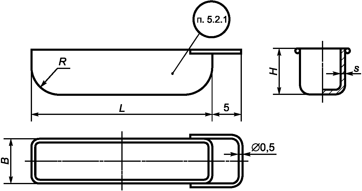
Рисунок А.2.2 - Лодочка для сжигания из платины
(Изделие N 201)
Таблица А.2.2
Размеры лодочек для сжигания
Размеры в миллиметрах
Номер изделия
Ширина изделия B
Высота изделия H
Длина изделия L
Толщина стенки s
Масса, г
201-1
10
10
40
0,25
6,5
201-2
50
7,5
201-3
60
9,2
201-4
70
10,5
Рисунок А.2.3 - Микролодочка из платины (Изделие N 202)
Таблица А.2.3
Размеры микролодочек
Размеры в миллиметрах
Номер изделия
Ширина изделия B
Высота изделия H
Длина изделия L
R
Толщина стенки s
Масса, г
202-1
5
4
15
1,5
0,25
1,0
202-2
18
2,0
1,2
202-3
20
1,4
202-4
25
2,5
1,6
202-5
6
5
30
2,4
Рисунок А.2.4 - Ящик для сжигания из платины (Изделие N 203)
Таблица А.2.4
Размеры ящиков для сжигания
Размеры в миллиметрах
Номер изделия
Ширина изделия B
Высота изделия H
Длина изделия A
Толщина стенки и дна s
Масса, г
203-1
30
10
50
0,25
16,0
203-2
35
55
20,0
203-3
40
60
23,0
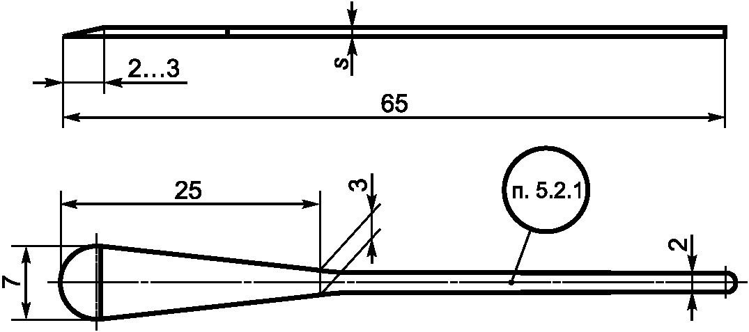
Рисунок А.2.5 - Ложка из платины (Изделие N 207)
Таблица А.2.5
Размеры ложек из платины
Размеры в миллиметрах
Номер изделия
Диаметр черпака D
Высота черпака H
Толщина стенки черпака s
Длина ручки L
Длина рукоятки l
Масса, г
207-1
10
5
0,50
40
25
3,0
207-2
12
6
3,8
207-3
16
7,5
50
35
5,8
207-4
20
10
8,5
Примечание - Пайка ручки к черпаку производится припоем марки ЗлПдПл 60-30-10 по ГОСТ 6835. Масса припоя:
для изделий N 207-1 и 207-2 не более 0,5 г, в том числе золота - 0,3 г, палладия - 0,2 г;
для изделий N 207-3 и 207-4 не более 0,7 г, в том числе золота - 0,4 г, палладия - 0,2 г.
Рисунок А.2.6 - Ложка-шпатель из платины (Изделие N 208)
Таблица А.2.6
Размеры ложек-шпателей из платины
Размеры в миллиметрах
Номер изделия
Толщина изделия s
Высота черпака H
Толщина стенки черпака C
Масса, г
208-1
1,50
8
1,50
67,0
208-2
3,00
12
2,00
120,0
Рисунок А.2.7 - Лабораторный шпатель из платины или серебра
(Изделия N 209-1, 210-1)
Рисунок А.2.8 - Лабораторный шпатель из платины или серебра
(Изделия N 209-2, 210-2)
Рисунок А.2.9 - Лабораторный шпатель из платины или серебра
(Изделия N 209-3, 210-3)
Рисунок А.2.10 - Лабораторный шпатель из платины или серебра
(Изделия N 209-4, 210-4)
Рисунок А.2.11 - Лабораторный шпатель из платины или серебра
(Изделия N 209-5, 210-5)
Рисунок А.2.12 - Лабораторный шпатель из платины или серебра
(Изделия N 209-6, 210-6)
Рисунок А.2.13 - Лабораторный шпатель из платины или серебра
(Изделия N 209-7, 210-7)
Рисунок А.2.14 - Лабораторный шпатель из платины или серебра
(Изделия N 209-8, 210-8)
Рисунок А.2.15 - Лабораторный шпатель из платины или серебра
(Изделия N 209-9, 210-9)
Рисунок А.2.16 - Лабораторный шпатель из платины или серебра
(Изделия N 209-10, 210-10)
Рисунок А.2.17 - Лабораторный шпатель из платины или серебра
(Изделия N 209-11, 210-11)
Рисунок А.2.18 - Лабораторный шпатель из платины или серебра
(Изделия N 209-12, 210-12)
Рисунок А.2.19 - Лабораторный шпатель из платины или серебра
(Изделия N 209-13, 210-13)
Рисунок А.2.20 - Лабораторный шпатель из платины или серебра
(Изделия N 209-14, 210-14)
Таблица А.2.7
Размеры лабораторных шпателей из платины или серебра
Размеры в миллиметрах
Номер изделия
Толщина изделия s
Масса, г
Из платины
209-1
0,80
8,5
209-2
1,00
8,3
209-3
0,80
8,8
209-4
0,65
7,2
209-5
1,00
17,7
209-6
9,9
209-7
10,5
209-8
9,8
209-9
7,6
209-10
1,00
4,4
209-11
4,5
209-12
4,7
209-13
4,3
209-14
2,50
55,0
Из серебра
210-1
1,20
6,1
210-2
1,50
6,1
210-3
1,20
6,4
210-4
1,00
5,3
210-5
1,50
13,0
210-6
7,3
210-7
7,8
210-8
7,3
210-9
5,6
210-10
1,50
3,2
210-11
3,3
210-12
3,5
210-13
3,2
210-14
3,00
32,2
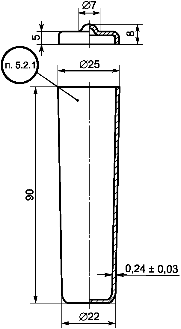
Рисунок А.2.21 - Капилляр из платины (Изделие N 211)
Таблица А.2.8
Размеры капилляров
Размеры в миллиметрах
Номер изделия
Наружный диаметр D
Внутренний диаметр d <*>
Длина изделия L
Масса, г
211-1
1,95
0,80
300
16,0
211-2
2,25
0,85
120
9,0
211-3
6,94
6,70
26
1,2
211-4
8,40
8,20
26
1,4
<*> Предельное отклонение по диаметру +/- 0,03 мм.
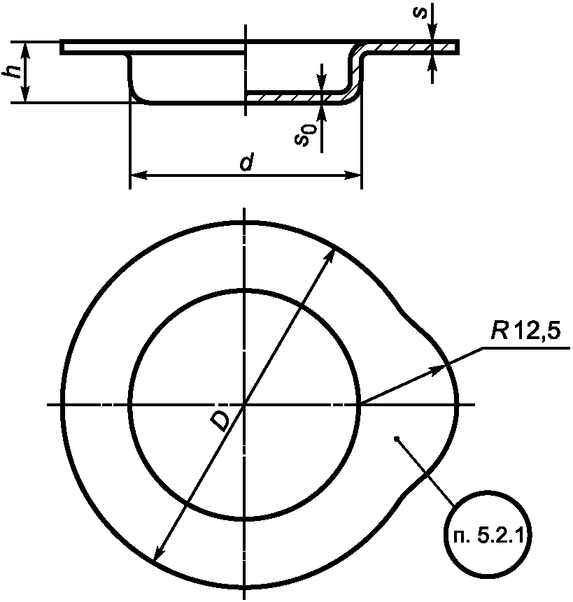
Рисунок А.2.22 - Тигель для вискозиметра из платины
и сплавов марок ПлИ 90-10, ПлРд 93-7, ПлРд 90-10
(Изделие N 217 <1>)
--------------------------------
<1> Изделие N 416 по ГОСТ 6563-75.
Таблица А.2.9
Размеры тиглей для вискозиметра
Размеры в миллиметрах
Номер изделия
Вместимость, см3
D
H
s0
s
a
b
h
Масса из платины, г
217-1
15
25
38
1,00
0,70
2,0
2,0
6
54,5
217-2
40
35
50
1,00
0,80
3,0
4
112,5
217-3
1,10
1,00
2,0
6
136,3
217-4
50
39
47
0,50
0,50
1,0
1,0
13
74,0
217-5
65
40
60
1,10
1,00
2,0
2,0
10
187,0
217-6
75
41
61
0,60
0,60
118,2
217-7
60
41,5
50
0,80
0,80
2,5
3,5
5
134,0
217-8
75
42
61
1,00
1,00
2,0
3,0
10
199,4
217-9
70
1,50
1,50
292,0
217-10
100
85
2,00
1,00
292,6
217-11
45
70
1,10
1,00
245,7
217-12
71,2
1,00
0,80
205,2
217-13
110
80
1,20
1,10
301,2
217-14
95
47
61
1,00
1,00
227,1
216-15
195
50
110
1,20
1,10
3,0
450,7
217-16
185
55
90
1,50
1,50
2,0
558,9
217-17
180
60
70
1,50
1,00
4,5
5,0
377,8
217-18
1070
100
150
2,00
2,00
4,0
15
2311,0
217-19
675
100
100
3,00
3,00
2432,0
Рисунок А.2.23 - Шарик со стержнем для вискозиметра
из платины и сплавов марок ПлИ 90-10 и ПлРд 90-10
(Изделие N 218 <1>)
--------------------------------
<1> Изделие N 418 по ГОСТ 6563-75.
Таблица А.2.10
Размеры шариков со стержнем для вискозиметра
Размеры в миллиметрах
Номер изделия
Диаметр шарика D
Диаметр стержня d
Длина стержня l
Масса из платины, г
218-1
10
3,0
100
27,0
218-2
12
35,0
218-3
15
3,5
59,0
218-4
16
67,0
218-5
17
76,0
218-6
20
4,0
117,0
218-7
22
147,0
218-8
25
204,0
218-9
25
200
229,0
Рисунок А.2.24 - Наконечники для пинцетов из платины
(Изделие N 219 <2>)
--------------------------------
<2> Изделие N 505 по ГОСТ 6563-75.
Рисунок А.2.25 - Наконечники для щипцов из платины
(Изделие N 220 <1>)
--------------------------------
<1> Изделие N 506 по ГОСТ 6563-75.
Таблица А.2.11
Размеры наконечников для пинцетов и щипцов
(изделия N 219, 220)
Размеры в миллиметрах
Номер изделия
L
H
C
r
Масса одной пары, г
219
15
3,0
4,0
1,7
2,4
220-1
15
6,0
5,0
2,5
5,9
220-2
18
4,5
4,5
2,2
5,5
220-3
30
7,0
7,0
3,5
14,8
220-4
40
7,0
7,0
3,5
20,0
220-5
60
10,0
10,0
5,0
44,0
Рисунок А.2.26 - Мешалка с винтовыми лопастями из платины
и сплавов марок ПлРд 93-7 и ПлРд 90-10 (Изделие N 221 <2>)
--------------------------------
<2> Изделие N 507 по ГОСТ 6563-75.
Таблица А.2.12
Размеры мешалки с винтовыми лопастями
Размеры в миллиметрах
Номер изделия
Длина мешалки L
Масса из платины, г
221-1
140
64,1
221-2
250
93,7
Рисунок А.2.27 - Тигель с крышкой для дериватографа
из платины и сплава марки ПлРд 93-7 (Изделие N 222 <1>)
--------------------------------
<1> Изделие N 508 по ГОСТ 6563-75.
Таблица А.2.13
Размеры тиглей с крышками для дериватографа
Размеры в миллиметрах
Номер изделия
D
H
d
d1
d2
h
Масса из платины, г
тигля
крышки
222-1
10,0
12,5
7,5
-
-
-
4,9
-
222-2
11,0
14,0
10,0
-
-
-
6,0
-
222-3
14,0
17,5
10,5
-
-
-
8,4
-
222-4
17,5
22,5
13,0
-
-
-
12,5
-
222-5
20,0
22,5
15,5
-
-
-
16,3
-
222-6
-
-
-
11,0
8,5
1,5
-
0,8
222-7
-
-
-
12,0
9,5
1,5
-
1,2
222-8
-
-
-
15,5
12,5
2,0
-
1,6
222-9
-
-
-
19,5
16,0
2,5
-
2,4
222-10
-
-
-
21,0
18,5
2,5
-
3,4
Примечание - Тиглю N 222-1 соответствует крышка N 222-6; тиглю N 222-2 соответствует крышка N 222-7; тиглю N 222-3 соответствует крышка N 222-8; тиглю N 222-4 соответствует крышка N 222-8; тиглю N 222-5 соответствует крышка N 222-9; тиглю N 222-5 соответствует крышка N 222-10.
Масса 8,3 г
Рисунок А.2.28 - Тигель для термографии из платины
(Изделие N 223 <1>)
--------------------------------
<1> Изделие N 509 по ГОСТ 6563-75.
А.3 Аппаратура для электролиза
Форма и размеры аппаратуры для электролиза приведены на рисунках А.3.1 - А.3.13 и в таблицах А.3.1 - А.3.3.
1 - сетка; 2 - стеклянные изоляторы (3 шт.)
на платиновой проволоке
Рисунок А.3.1 - Сетчатый цилиндрический электрод из платины
(Изделие N 300)
1 - сетка
Рисунок А.3.2 - Сетчатый электрод со спиралью из платины
(Изделие N 301)
1 - сетка; 2 - стеклянные изоляторы (3 шт.)
на платиновой проволоке
Рисунок А.3.3 - Микроэлектрод из платины (Изделие N 302)
1 - сетка
Рисунок А.3.4 - Электрод к электродиализаторам из платины
(Изделие N 303)
1 - сетка
Рисунок А.3.5 - Сетчатый плоский электрод из платины
(Изделие N 304)
1 - фольга
Рисунок А.3.6 - Электрод из фольги со спиральным анодом
из платины (Изделие N 305)
Рисунок А.3.7 - Проволочный электрод со спиралью из платины
(Изделие N 310)
Таблица А.3.1
Размеры электродов из платины
(изделия N 300, 301, 302, 303, 304, 305, 310)
Размеры в миллиметрах
Номер изделия
d
d1
d2
Масса, г
катода
анода
300-1
1,0
1,4
-
17,0
-
300-2
1,2
1,8
-
23,0
-
300-3
1,0
-
1,2
-
13,0
300-4
1,2
-
1,5
-
16,0
301-1
1,0
1,4
-
18,2
301-2
-
-
1,2
-
8,3
302-1
0,4
0,6
-
1,3
-
302-2
-
0,6
-
1,0
303
0,5
1,0
-
9,5
304
1,0
1,0
-
8,0
305-1
0,9
1,2
-
8,5
-
305-2
-
-
0,9
-
6,5
310
1,5
-
-
15,0
Примечания
1 Катоду N 300-1 соответствует анод N 300-3; катоду N 300-2 соответствует анод N 300-4.
2 В изделиях N 300-1, 300-2, 300-3, 300-4, 301-1, 302-1, 302-2, 303, 304 используется сетка из платиновой проволоки диаметром 0,10-0,01 мм, 1024 отверстия на 1 см2.
3 В изделиях N 300-2, 302-2 используются стеклянные изоляторы, прикрепляемые к электроду платиновой проволокой диаметром 0,8 и 0,3 мм соответственно.
4 В изделии N 305 используется фольга толщиной 0,05 мм.
5 В изделиях N 300-1, 300-2, 301-1, 302-1, 302-2 допускается прогиб сетки по образующей цилиндра.
Рисунок А.3.8 - Дисковый электрод из платины (Изделие N 311)
Рисунок А.3.9 - Тарельчатый электрод из платины
(Изделие N 312)
Рисунок А.3.10 - Дисковый электрод из платины
(Изделие N 316)
Таблица А.3.2
Размеры дисковых и тарельчатых электродов из платины
(изделия N 311, 312, 316)
Размеры в миллиметрах
Номер изделия
D
s
d
L
Масса, г
311
40
0,35
1,2
105
12,0
312
0,40
13,5
316-1
4
1,00
1,0
80
1,6
316-2
5
0,20
0,3
30
0,2
316-3
1,00
1,0
80
1,8
316-4
6
250
4,8
316-5
10
0,30
0,3
30
0,6
316-6
1,00
1,0
35
2,3
316-7
20
2,00
2,0
80
18,7
Рисунок А.3.11 - Пластинчатый электрод из платины
(Изделие N 317)
Рисунок А.3.12 - Пластинчатый электрод из платины
(Изделие N 318)
Рисунок А.3.13 - Пластинчатый электрод из платины
(Изделие N 319)
Таблица А.3.3
Размеры пластинчатых электродов из платины
(изделия N 317, 318, 319)
Размеры в миллиметрах
Номер изделия
B
A, H
s
d
L
Масса, г
317-1
5
5
0,20
1,0
25
0,4
317-2
10
0,30
0,3
40
0,4
317-3
0,60
1,0
30
1,0
317-4
10
0,30
0,3
40
0,7
317-5
0,60
0,8
22
1,4
317-6
1,00
1,0
85
3,4
317-7
1,50
2,0
210
17,0
317-8
15
25
1,00
2,0
100
13,8
317-9
20
15
2,00
3,5
162
43,8
317-10
25
20
1,50
3,0
135
34,0
317-11
30
50
1,00
2,0
200
42,4
318
10
32
0,30
1,2
115
4,2
319-1
10
10
0,30
0,3
30
0,7
319-2
0,60
0,6
15
1,4
319-3
1,50
2,0
350
26,8
А.4 Предельные отклонения на размеры технических изделий
Предельные отклонения на размеры технических изделий приведены в таблицах А.4.1 - А.4.6.
Таблица А.4.1
Предельные отклонения на толщину тиглей, чашек, стаканов
из платины, сплавов на ее основе и золота
(изделия N 100, 104, 106, 107, 108, 110, 115, 117,
118, 120, 121, 122, 126, 127, 217, 222)
В миллиметрах
Толщина стенки s
Толщина дна s0
Номин.
Пред. откл.
Номин.
Пред. откл.
До 0,17 включ.
+/- 0,03
До 0,20 включ.
+/- 0,02
Св. 0,17 до 0,21 включ.
+/- 0,04
Св. 0,20 до 0,55 включ.
+/- 0,03
Св. 0,21 до 0,31 включ.
+/- 0,05
Св. 0,55 до 1,00 включ.
+/- 0,04
Св. 0,31 до 0,41 включ.
+/- 0,06
Св. 1,00 до 1,50 включ.
+/- 0,05
Св. 0,41 до 0,51 включ.
+/- 0,07
Св. 1,50
+/- 0,10
Св. 0,51 до 0,60 включ.
+/- 0,08
Св. 0,60 до 0,90 включ.
+/- 0,10
Св. 0,90
+/- 0,20
Таблица А.4.2
Предельные отклонения на толщину тиглей, чашек из серебра
(изделия N 102, 107, 116, 119)
В миллиметрах
Толщина стенки s
Толщина дна s0
Номин.
Пред. откл.
Номин.
Пред. откл.
До 0,20 включ.
+/- 0,04
До 0,55 включ.
+/- 0,03
Св. 0,20 до 0,40 включ
+/- 0,05
Св. 0,55 до 0,80 включ.
+/- 0,04
Св. 0,40 до 0,50 включ.
+/- 0,06
Св. 0,80
+/- 0,05
Св. 0,50 до 0,60 включ.
+/- 0,08
Св. 0,60 до 0,90 включ.
+/- 0,10
Св. 0,90
+/- 0,20
Таблица А.4.3
Предельные отклонения на толщину стаканов из серебра
(изделия N 126, 127)
В миллиметрах
Толщина стенки s
Толщина дна s0
Номин.
Пред. откл.
Номин.
Пред. откл.
До 0,80 включ.
+/- 0,05
До 0,90 включ.
+/- 0,03
Св. 0,80 до 0,90 включ.
+/- 0,06
Св. 0,90 до 1,50 включ.
+/- 0,04
Св. 0,90
+/- 0,20
Св. 1,50
+/- 0,05
Таблица А.4.4
Предельные отклонения на толщину крышек, пробирок и чехлов
из платины, сплавов на ее основе, золота и серебра, лодочек,
микролодочек, ложек, наконечников для пинцетов и щипцов
из платины (изделия N 101, 103, 105, 109, 131, 132, 133,
200, 201, 202, 203, 207, 219, 220)
В миллиметрах
Толщина крышки s
Номин.
Пред. откл.
До 0,20 включ.
+/- 0,02
Св. 0,20 до 0,30 включ.
+/- 0,03
Св. 0,30 до 0,40 включ.
+/- 0,04
Св. 0,40
+/- 0,05
Таблица А.4.5
Предельные отклонения на толщину ложек-шпателей,
лабораторных шпателей из платины и серебра
(изделия N 208, 209, 210)
В миллиметрах
Толщина s
Номин.
Пред. откл.
До 0,80 включ.
+/- 0,04
Св. 0,80 до 1,50 включ.
+/- 0,05
Св. 1,50 до 2,00 включ.
+/- 0,06
Св. 2,00 до 2,50 включ.
+/- 0,08
Св. 2,50
+/- 0,10
Таблица А.4.6
Предельные отклонения на толщину дисковых, тарельчатых
и пластинчатых электродов из платины
(изделия N 311, 312, 316, 317, 318, 319)
В миллиметрах
Толщина s
Номин.
Пред. откл.
До 0,35 включ.
+/- 0,03
Св. 0,35 до 0,60 включ
+/- 0,04
Св. 0,60 до 1,00 включ
+/- 0,06
Св. 1,00 до 1,50 включ.
+/- 0,08
Св. 1,50
+/- 0,10
Приложение Б
(обязательное)
СТРУКТУРА УСЛОВНОГО ОБОЗНАЧЕНИЯ ТЕХНИЧЕСКИХ ИЗДЕЛИЙ
ИЗ БЛАГОРОДНЫХ МЕТАЛЛОВ И СПЛАВОВ
Наименование изделия │ X │ XX │ ГОСТ 6563-2016 │
────────────────────────────────┘ │ │ │
Марка металла, сплава │ │ │
──────────────────────────────────────────┘ │ │
Номер изделия │ │
─────────────────────────────────────────────────────┘ │
Обозначение настоящего стандарта │
──────────────────────────────────────────────────────────────────────┘
Примеры условных обозначений
Высокий тигель из платины марки Пл 99,9, изделие N 100-7:
Тигель высокий Пл 99,9 100-7 ГОСТ 6563-2016
Чашка со сферическим дном из серебра марки Ср 99,99, изделие N 116-5:
Чашка со сферическим дном Ср 99,99 116-5 ГОСТ 6563-2016
Чашка с усиленной кромкой (отбортовкой) с утолщенной стенкой и дном из платины марки Пл 99,9, изделие N 120-6/1:
Чашка с усиленной кромкой Пл 99,9 120-6/1 ГОСТ 6563-2016
Катод сетчатого цилиндрического электрода из платины марки Пл 99,9, изделие N 300-1:
Катод Пл 99,9 300-1 ГОСТ 6563-2016
Тигель для дериватографа из сплава марки ПлРд 93-7, изделие N 222-3:
Тигель для дериватографа ПлРд 93-7 222-3 ГОСТ 6563-2016
Приложение В
(рекомендуемое)
ПРИМЕНЕНИЕ ТЕХНИЧЕСКИХ ИЗДЕЛИЙ ИЗ ПЛАТИНЫ
И СПЛАВОВ НА ЕЕ ОСНОВЕ
В.1 Рекомендуемые области применения технических изделий из платины и сплавов на ее основе приведены в таблице В.1.
Таблица В.1
Тип изделия
Область применения
Высокие тигли
Высокие тигли с усиленной кромкой
Широкие тигли
Микротигли
Крышки к тиглям
Вскрытие проб сплавлением, спеканием, кислотным разложением.
Выпаривание, высушивание, озоление и прокаливание проб
Чашки
Чашки с усиленной кромкой
Чашки со сферическим дном
Чашки со сферическим дном и усиленной кромкой
Ящики для сжигания
Вскрытие проб сплавлением, спеканием, кислотным разложением.
Выпаривание, высушивание, озоление и прокаливание проб.
Перекристаллизация из расплавов и растворов
Конические тигли с крышкой
Вскрытие проб спеканием со смесью хлорида аммония и карбоната кальция
Тигли с поддоном и отверстиями в дне
Фильтрование осадков, фильтрование с отсасыванием
Лодочки для сжигания
Лодочки для элементного анализа
Микролодочки
Сожжение проб органических веществ в элементном анализе
Лабораторные шпатели
Ложки-шпатели
Перемешивание проб в операциях кислотного разложения, сплавления, спекания
Капилляры
Неорганический микроанализ, анализ горючих газов сожжением
Сетчатые цилиндрические электроды
Сетчатые электроды со спиралью
Микроэлектроды
Весовой электроанализ, кулонометрия с постоянным потенциалом
Сетчатые электроды
Пластинчатые электроды
Электродиализ
Проволочные электроды
Вольтамперометрия, амперометрическое титрование, электрофорез
Дисковые электроды
Кондуктометрия, вольтамперометрия
Наконечники для пинцетов и щипцов
Все операции, связанные с нагревом платиновой посуды
Примечания - Форму и размер изделия выбирают в соответствии с характером аналитического процесса и массой пробы.
В.2 Химико-аналитические операции, при которых допускается использование технических изделий из платины
В.2.1 Платиновую посуду и изделия применяют при химико-аналитических операциях во фторидных системах.
В.2.1.1 Платиновые тигли, чашки, колбы, шпатели применяют при разложении фтористоводородной кислотой (смесью фтористоводородной и хлорной кислот) природных и промышленных силикатных материалов:
- пород, минералов, стекол, керамических материалов, цемента и др.;
- руд, минералов и концентратов бериллия, ниобия, тантала, титана, циркония, редкоземельных элементов, урана, хрома, а также технологических продуктов на основе оксидов перечисленных элементов;
- сухих остатков природных и сточных вод, зол растительных и животных тканей, аэрозолей, минеральной части почв и т.д.
Потери платины в процессе разложения с фтористоводородной кислотой возможны в пределах до нескольких десятков микрограмм за одну операцию.
В.2.1.2 При кислотном разложении природных и промышленных материалов во фторидных системах с использованием изделий допускается применение следующих бинарных смесей кислот:
- фтористоводородная - хлористоводородная кислота;
- фтористоводородная - хлорная кислота;
- фтористоводородная - серная кислота;
- фтористоводородная - азотная кислота, свободная от примесей хлоридов;
а также тройных смесей кислот:
- фтористоводородная - азотная - серная кислота и
- фтористоводородная - азотная - хлорная кислота.
Категорически запрещается использование систем с хлористоводородной кислотой в присутствии окислителей, в том числе нитратов, пиролюзита и других окислителей, вызывающих выделение хлора, разрушающего платину.
Непременное условие применения систем с хлорной кислотой - отсутствие в аналитических пробах восстановителей: органических веществ, гипофосфитов, соединений сурьмы (III) и других восстановителей, вызывающих разложение хлорной кислоты с взрывом.
Потери платины при кислотном разложении в бинарных и тройных смесях кислот не должны превышать от 1 до 3 мг включительно за одну операцию.
В.2.1.3 В операциях сплавления с солями и комплексными соединениями фтористоводородной кислоты: фторидами и бифторидами калия и аммония, фторосиликатом натрия, фтороборатом натрия, смесью фторида калия или фторида натрия с пиросульфатом калия или натрия, а также при обработке проб смесью борной кислоты с фторидами натрия или лития при температуре до 1000 °C используют платиновые тигли и чашки.
В.2.1.4 При вскрытии фторосодержащих неорганических материалов методом пирогидролиза используют платиновые лодочки и трубки.
В.2.2 Платиновую посуду и изделия применяют при химико-аналитических операциях в сульфатных системах:
- для разложения оксидов, фторидов, карбонатов, фосфатов, боридов, некоторых силикатов и ряда других соединений нагреванием с серной кислотой;
- вскрытия многочисленных минералов титана, ниобия, тантала, ванадия, вольфрама, циркония, алюминия, хрома и др., в том числе рутила, титаномагнетита, ильменита, колумбита, танталита, некоторых шпинелей;
- разложения прокаленных оксидов титана, ниобия, тантала, циркония, железа, алюминия, бериллия и др. сплавлением с бисульфатами и пиросульфатами аммония, натрия и калия.
Потери платины при сплавлении с бисульфатами и пиросульфатами щелочных металлов составляют от 1 до 3 мг включительно за одну операцию.
В.2.3 При вскрытии проб спеканием и сплавлением с карбонатами щелочных металлов: карбонатом натрия, карбонатом натрия-калия, гидрокарбонатом натрия и гидрокарбонатом калия применяют тигли из платины.
При температуре ниже 1300 °C потери платины не превышают от 1 до 2 мг включительно за одно сплавление.
В.2.4 При вскрытии проб силикатных пород и минералов, минералов и руд титана, ниобия, тантала, циркония, марганца, хрома и др. природных и многих промышленных материалов сплавлением с бурой, борным ангидридом, метаборатом лития, а также при вскрытии проб сплавлением со смесью буры и соды используют тигли из платины и сплава платины с золотом (ПлЗл 95-5).
Потери платины при сплавлении с боратными плавнями - около 2 мг за одну операцию, при сплавлении со смесью буры и соды - от 2 до 5 мг включительно за одну операцию.
В.2.5 Платиновую посуду применяют при выпаривании и концентрировании проб природных вод, технологических растворов, органических растворителей, минеральных кислот, а также перекристаллизации реактивов.
В.2.6 Платиновые тигли и чашки при необходимости используют для определения зольности органических и биологических материалов, почв и др., а также при озолении этих материалов в целях последующего определения химического состава золы.
Приложение Г
(обязательное)
ОСНОВНЫЕ ТРЕБОВАНИЯ
К УСЛОВИЯМ ЭКСПЛУАТАЦИИ ТЕХНИЧЕСКИХ ИЗДЕЛИЙ
ИЗ БЛАГОРОДНЫХ МЕТАЛЛОВ И СПЛАВОВ
Г.1 Меры предосторожности при термических операциях
Г.1.1 Нагрев платиновой посуды можно проводить в электрических печах в окислительной (воздушной) среде или в среде водорода, а также открытым пламенем с помощью горелок.
Г.1.2 Посуду из платины можно прокаливать только на несветящемся пламени газовой горелки. Нельзя прокаливать платину на светящемся или коптящем пламени, а также в зоне внутреннего конуса пламени.
Г.1.3 Не допускается нагрев изделий из платины в печах с карборундовыми нагревательными элементами, а также на ацетиленовых горелках и в среде, содержащей углерод.
Г.1.4 Процесс озоления и последующего прокаливания органических веществ, в том числе бумажных фильтров, следует проводить при условии постепенного нагревания при достаточном количестве воздуха.
Г.1.5 Новые платиновые изделия необходимо ставить в печь так, чтобы они не соприкасались, так как при температуре свыше 1000 °C может произойти их слипание.
Г.1.6 При всех операциях, связанных с нагревом платиновой посуды, используют пинцеты и щипцы с платиновыми наконечниками.
Г.1.7 Посуду из серебра нельзя прокаливать и нагревать в электрических печах при температуре свыше 700 °C.
Г.2 Меры предосторожности против повреждения технических изделий
Г.2.1 Не допускается прокаливать в платиновой посуде:
- соединения металлов, образующих с платиной легкоплавкие сплавы: ртуть, свинец, олово, золото, благородные металлы, медь, цинк, кадмий, алюминий, висмут, железо, а также соединения этих элементов, которые в присутствии восстановителей (материал фильтра, окись углерода, водород пламени) легко восстанавливаются до металлов;
- неметаллы, образующие с платиной соединения, повреждающие посуду: серу, селен, теллур, фосфор, углерод, мышьяк, сурьму, бор;
- кремниевую кислоту при температуре свыше 1200 °C.
Г.2.2 Не допускается применять:
- при пользовании посудой из платины в качестве плавней - пероксид натрия, гидроксиды щелочных металлов, смесь карбонатов щелочных металлов с серой и серноватистокислым натрием при температуре свыше 500 °C;
- при пользовании посудой из платины для кислотного разложения - фосфорную кислоту, хлористоводородную кислоту в присутствии азотной кислоты, пиролюзита и других окислителей, вызывающих выделение хлора.
Не допускается использование платиновой посуды в операциях с царской водкой, хлорной и бромной водой, в операциях хлорирования и других, связанных с выделением свободных галоидов;
- при пользовании посудой из серебра в качестве плавней - углекислый натрий, тиосульфат натрия, пиросульфат калия, нитрат калия. Можно использовать в качестве плавней пероксид натрия, едкий натр, а также смесь пероксида натрия и углекислого натрия в соотношении 5:1.
Г.3 Очистка технических изделий
Г.3.1 Очистку платиновой посуды следует проводить:
- кипячением с дистиллированной водой и хлористоводородной кислотой (1:1);
- сплавлением с гидросульфатом или пиросульфатом калия;
- сплавлением с содой и кипячением с разбавленным раствором хлористоводородной кислоты после выщелачивания сплава;
- сплавлением с фтороборатом калия;
- сплавлением с двойной солью хлорида магния и аммония при температуре 1100 °C - 1200 °C.
Г.3.2 Очистку электродов следует проводить:
- интенсивным промыванием по окончании электролиза дистиллированной водой, затем спиртом;
- платиновых электродов с осадком меди, цинка, окиси свинца - азотной кислотой.
Г.4 Сохранение формы и внешнего вида изделий
Г.4.1 Для правки тиглей и чашек из благородных металлов следует использовать деревянные матрицы соответствующей формы.
Г.4.2 Для полировки платиновых изделий следует использовать тальк, тонкодисперсную кремнекислоту и песок; предпочтительная фракция 0,043 мм.