Главная // Актуальные документы // ГОСТ (Государственный стандарт)СПРАВКА
Источник публикации
М.: Стандартинформ, 2018
Примечание к документу
Текст данного документа приведен с учетом
поправки, опубликованной в "ИУС", N 5, 2019.
Документ
введен в действие с 01.06.2018.
Название документа
"ГОСТ 34373-2017 (ISO 13802:2015). Межгосударственный стандарт. Пластмассы. Верификация маятникового копра для испытания на удар. Испытание на ударную вязкость по Шарпи, Изоду и при ударном растяжении"
(введен в действие Приказом Росстандарта от 12.12.2017 N 1940-ст)
"ГОСТ 34373-2017 (ISO 13802:2015). Межгосударственный стандарт. Пластмассы. Верификация маятникового копра для испытания на удар. Испытание на ударную вязкость по Шарпи, Изоду и при ударном растяжении"
(введен в действие Приказом Росстандарта от 12.12.2017 N 1940-ст)
Приказом Федерального агентства
по техническому регулированию
и метрологии
от 12 декабря 2017 г. N 1940-ст
МЕЖГОСУДАРСТВЕННЫЙ СТАНДАРТ
ПЛАСТМАССЫ
ВЕРИФИКАЦИЯ МАЯТНИКОВОГО КОПРА ДЛЯ ИСПЫТАНИЯ НА УДАР
ИСПЫТАНИЕ НА УДАРНУЮ ВЯЗКОСТЬ
ПО ШАРПИ, ИЗОДУ И ПРИ УДАРНОМ РАСТЯЖЕНИИ
Plastics. Verification of pendulum impact-testing
machines. Charpy, Izod and tensile impact-testing
(ISO 13802:2015, MOD)
ГОСТ 34373-2017
(ISO 13802:2015)
Дата введения
1 июня 2018 года
Цели, основные принципы и основной порядок проведения работ по межгосударственной стандартизации установлены в
ГОСТ 1.0-2015 "Межгосударственная система стандартизации. Основные положения" и
ГОСТ 1.2-2015 "Межгосударственная система стандартизации. Стандарты межгосударственные, правила и рекомендации по межгосударственной стандартизации. Правила разработки, принятия, обновления и отмены"
1 ПОДГОТОВЛЕН Автономной некоммерческой организацией "Центр нормирования, стандартизации и классификации композитов" (АНО "Стандарткомпозит") при участии Объединения юридических лиц "Союз производителей композитов" ("Союзкомпозит") и Акционерного общества "Институт пластмасс имени Г.С. Петрова" на основе собственного перевода на русский язык англоязычной версии стандарта, указанного в
пункте 5
2 ВНЕСЕН Федеральным агентством по техническому регулированию и метрологии
3 ПРИНЯТ Межгосударственным советом по стандартизации, метрологии и сертификации (протокол от 30 ноября 2017 г. N 52-2017)
За принятие проголосовали:
Краткое наименование страны по МК (ИСО 3166) 004-97 | Код страны по МК (ИСО 3166) 004-97 | Сокращенное наименование национального органа по стандартизации |
Армения | AM | Минэкономики Республики Армения |
Беларусь | BY | Госстандарт Республики Беларусь |
Киргизия | KG | Кыргызстандарт |
Россия | RU | Росстандарт |
Узбекистан | UZ | Узстандарт |
4 Приказом Федерального агентства по техническому регулированию и метрологии от 12 декабря 2017 г. N 1940-ст межгосударственный стандарт ГОСТ 34373-2017 (ISO 13802:2015) введен в действие в качестве национального стандарта Российской Федерации с 1 июня 2018 г.
5 Настоящий стандарт модифицирован по отношению к международному стандарту ISO 13802:2015 "Пластмассы. Верификация маятникового копра для испытания на удар. Испытание на ударную прочность по Шарпи, Изоду и при ударном растяжении" ("Plastics - Verification of pendulum impact-testing machines - Charpy, Izod and tensile impact-testing", MOD).
Дополнительные фразы, слова, показатели и их значения, включенные в текст настоящего стандарта, выделены курсивом.
Ссылки на международные стандарты, которые не приняты в качестве межгосударственных стандартов, заменены ссылками на соответствующие межгосударственные стандарты.
Сведения о соответствии ссылочных межгосударственных стандартов международным стандартам, использованным в качестве ссылочных в примененном международном стандарте, приведены в дополнительном
приложении ДА
6 ВВЕДЕН ВПЕРВЫЕ
Информация об изменениях к настоящему стандарту публикуется в ежегодном информационном указателе "Национальные стандарты", а текст изменений и поправок - в ежемесячном информационном указателе "Национальные стандарты". В случае пересмотра (замены) или отмены настоящего стандарта соответствующее уведомление будет опубликовано в ежемесячном информационном указателе "Национальные стандарты". Соответствующая информация, уведомление и тексты размещаются также в информационной системе общего пользования - на официальном сайте Федерального агентства по техническому регулированию и метрологии в сети Интернет (www.gost.ru)
Настоящий стандарт устанавливает интервалы и методы верификации испытательных маятниковых копров (далее по тексту копров), используемых для испытаний на ударную вязкость по Шарпи и Изоду, а также для испытаний на ударную прочность при растяжении по
ГОСТ 4647,
ГОСТ 19109 и
ГОСТ 34250-2017 (ИСО 8256:2004) соответственно.
Стандарт также распространяется на верификацию маятниковых копров с записывающим инструментом, так как их геометрические и физические характеристики идентичны характеристикам маятниковых копров без записывающего инструмента.
Настоящий стандарт не распространяется на проверку зависимости сила/работа маятниковых копров с записывающим инструментом.
Настоящий стандарт распространяется на испытательные маятниковые копры различной конструкции и характеристик, с геометрическими и физическими характеристиками, указанными в
разделе 5.
В стандарте приведено описание методов проверки геометрических и физических характеристик различных частей испытательных копров. Проверка отдельных геометрических характеристик на собранном копре часто сопряжена с серьезными затруднениями. Поэтому предполагается, что изготовитель несет ответственность за контроль таких свойств и выравнивание опорных плоскостей копра для обеспечения надлежащей верификации копров в соответствии с данным стандартом.
Описанные методы необходимо использовать после установки, ремонта, перемещения копров или для их периодической верификации.
Маятниковый копр, верифицированный в соответствии с настоящим стандартом и признанный годным, можно использовать для проведения испытаний образцов различных типов с надрезом и без надреза.
В приложении A приведены
требования к конструкции маятниковых копров, используемых для определения ударной вязкости по Шарпи.
В приложении B приведены
требования к конструкции маятниковых копров, используемых для определения ударной вязкости по Изоду.
В приложении C приведены
требования к конструкции маятниковых копров, используемых для определения ударной прочности при растяжении.
В
приложении D приведен расчет отношения массы станины к массе маятника, требуемый для исключения ошибок в определении энергии удара.
В
приложении E рассматривается замедление маятника в процессе удара.
В
приложении F указаны требования к конструкции одного типа калибровочного шаблона для проверки выравнивания бойка и опор/подставок для образца в маятниковых копрах для испытаний на ударную вязкость по Шарпи.
В настоящем стандарте использованы нормативные ссылки на следующие межгосударственные стандарты:
ГОСТ 19109-84 Пластмассы. Определение ударной вязкости по Изоду
ГОСТ 34250-2017 (ИСО 8256:2004) Пластмассы. Метод определения прочности при ударном растяжении
Примечание - При пользовании настоящим стандартом целесообразно проверить действие ссылочных стандартов в информационной системе общего пользования - на официальном сайте Федерального агентства по техническому регулированию и метрологии в сети Интернет или по ежегодному информационному указателю "Национальные стандарты", который опубликован по состоянию на 1 января текущего года, и по выпускам ежемесячного информационного указателя "Национальные стандарты" за текущий год. Если ссылочный стандарт заменен (изменен), то при пользовании настоящим стандартом следует руководствоваться заменяющим (измененным) стандартом. Если ссылочный стандарт отменен без замены, то положение, в котором дана ссылка на него, применяется в части, не затрагивающей эту ссылку.
В настоящем стандарте используются следующие термины и определения:
3.1 верификация (verification): Подтверждение соответствия калибровки копра установленным требованиям с помощью откалиброванных эталонов или стандартных эталонных материалов.
3.2 калибровка (calibration): Комплекс операций, которые при заданных условиях устанавливают взаимосвязь между показаниями измерительного прибора или измерительной системы и значениями, отвечающими соответствующим стандартам, или известными значениями, полученными из таких стандартов.
3.3 период колебания маятника Tp, с (period of oscillation of the pendulum): Период единичного полного колебания маятника, колеблющегося в среднем с углом колебаний менее 5° в каждую сторону от вертикали.
3.4
центр удара (centre of percussion): Точка на маятнике, в которой воздействие перпендикулярно плоскости его качания не вызывает силовой реакции на ось вращения маятника.
3.5
длина маятника Lp, м (pendulum length): Расстояние между осью вращения маятника и центром удара
(3.4). Это расстояние от оси качания эквивалентного теоретического маятника, у которого масса сконцентрирована в точке, которая дает тот же период колебаний,
Tp, как и фактический маятник.
3.6 гравитационная длина Lm, м (gravity length): Расстояние между осью качания маятника и центром тяжести маятника.
3.7 длина колебания LG, м (gyration length): Расстояние от оси качания маятника до точки, в которой должна быть сконцентрирована масса маятника, mp, для получения такого же самого момента инерции, как и у маятника.
3.8
длина удара LI, м (impact length): Расстояние между осью качания маятника и точкой нанесения удара по центру лицевой поверхности образца для испытания.
3.9
угол спуска
, град (release angle): Угол относительно вертикали, от которого маятник начинает движение.
Примечание - Обычно маятник бьет по образцу в самой нижней точке движения

. В этом случае угол спуска является также углом падения
[рисунок 1 b)].
3.10 скорость удара vI, м/с (impact velocity): Скорость маятника в момент удара.
3.11 потенциальная энергия E, Дж (potential energy): Потенциальная энергия маятника в его начальном положении, относительно его положения при ударе.
3.12 энергия удара W, Дж (impact energy): Энергия, затраченная на деформацию, разрушение и проталкивание между опорами испытуемого образца.
3.13 станина (frame): Часть копра, на которой установлены подшипник маятника, опоры, зажимной патрон и/или зажимы, измерительный инструмент и механизм для взвода и спуска маятника.
Примечание - Массу станины, mp, выражают в килограммах.
3.14 основание (base): Часть станины копра, расположенная ниже горизонтальной плоскости опор.
3.15 опора (anvil): Часть копра, которая служит для правильной установки испытуемого образца относительно бойка и крепления образца. Она принимает на себя основную нагрузку при ударе бойка по образцу.
3.16 подставка для испытуемого образца (test specimen supports): Часть копра, которая служит для правильной установки испытуемого образца относительно центра удара маятника, бойка и опор.
3.17 боек (striker): Часть маятника, входящая в контакт с образцом.
| | ИС МЕГАНОРМ: примечание. В официальном тексте документа, видимо, допущена опечатка: имеется в виду Приложение D, а не Г. | |
3.18
период колебания станины TF, с (period of oscillation of the frame): Период естественно затухающих горизонтальных колебаний станины. Он характеризует колебания станины, вибрирующей несмотря на жесткость (устойчивость) крепления, например стола и/или фундамента (которые могут включать, например, амортизирующий материал)
(приложение Г).
3.19 масса маятника mPmax, кг (mass of the pendulum): Масса самого тяжелого используемого маятника.
3.20
эталонный образец для испытаний на ударную вязкость по Изоду/Шарпи (Izod/Charpy impact reference specimen): Образец квадратного сечения (10,00 +/- 0,02) x (10,00 +/- 0,02) мм, длиной (80,00 +/- 0,05) мм, изготовленный из нержавеющей стали.
3.21 эталонный образец половинной высоты для испытаний на ударную вязкость по Шарпи (half-height Charpy impact reference specimen): Образец прямоугольного сечения высотой (5,00 +/- 0,02) мм, шириной (10,00 +/- 0,02) мм, длиной (80,00 +/- 0,05) мм, изготовленный из нержавеющей стали.
3.22 эталонный образец для испытаний на ударную прочность при растяжении (tensile impact reference specimen): Образец прямоугольного сечения высотой (10,00 +/- 0,02) мм, шириной (4,00 +/- 0,02) мм, длиной (80,00 +/- 0,05) мм, изготовленный из нержавеющей стали.
Для проверки геометрических и физических характеристик узлов копра на соответствие требованиям, указанным в настоящем стандарте, используют угольники, штангенциркули, уровни, динамометры, тензодатчики или тензометры, устройства отсчета времени.
Данные измерительные приборы должны обладать достаточной точностью для измерений параметров в пределах допусков, приведенных в
разделе 6 (таблица 4).
5 Описание маятникового копра
5.1 Виды маятниковых копров
Настоящий стандарт распространяется на три различных вида маятниковых копров. В
приложении A приведены конструкция и характеристики маятникового копра, используемого для испытаний на ударную вязкость по Шарпи. На
рисунке A.1 показан типичный пример маятникового копра для испытаний на ударную вязкость по Шарпи. Значения параметров, требующие проверки, указаны в
таблице A.1. Условия испытания приведены в
ГОСТ 4647.
В
приложении B приведены конструкция и характеристики маятникового копра, используемого для испытаний на ударную вязкость по Изоду. На
рисунке B.1 показан типичный пример маятникового копра для испытаний на ударную вязкость по Изоду. Значения параметров, требующие проверки, указаны в
таблице B.1. Условия испытания приведены в
ГОСТ 19109.
В
приложении C приведены конструкция и характеристики маятникового копра, используемого для испытаний на ударную прочность при растяжении. На
рисунках C.1 и
C.2 показаны типичные примеры маятниковых копров для испытаний на ударную прочность при растяжении. Значения параметров, требующие проверки, указаны в
таблице C.1. Условия испытаний приведены в
ГОСТ 34250-2017 (ИСО 8256:2004).
5.2 Основные составные части маятникового копра
Маятниковый копер состоит из:
5.2.1 Станина - основная часть копра, на которой закреплен маятник.
5.2.1.1 Подшипники.
5.2.1.2 Механизм взвода и спуска маятника.
5.2.1.3 Основание.
5.2.2 Маятник
5.2.2.1 Штанга маятника или комбинированная (двухкомпонентная) конструкция.
5.2.2.2 Боек с заостренным ножом для испытаний на ударную вязкость по Шарпи и Изоду, с ударными поверхностями или зажимами для испытаний на ударную прочность при растяжении [
ГОСТ 34250-2017 (ИСО 8256:2004) методы A и B соответственно].
5.2.2.3 Дополнительные грузы (в зависимости от комплектации) для увеличения потенциальной энергии маятника.
Примечание - Существует несколько конструкций маятников. Все они могут использоваться, если отвечают требованиям настоящего стандарта.
5.2.3 Опоры, подставки для испытуемого образца, зажимы и/или держатели образцов
5.2.3.1 Опоры и подставки для образцов для испытаний на ударную вязкость по Шарпи
Опоры и подставки для образцов располагаются по одной с каждой стороны плоскости качания маятника. Опоры устанавливаются перпендикулярно подставкам и перпендикулярно плоскости качания маятника. Образец должен лежать на подставках, а опоры - принимать на себя основную нагрузку от удара по образцу.
Примечание - В подставках допускается наличие выемок под облой на образцах.
5.2.3.2 Зажимы для испытаний на ударную вязкость по Изоду.
5.2.3.3 Зажимы или держатели для испытаний на ударную прочность при растяжении [
ГОСТ 34250-2017 (ИСО 8256:2004) методы A и B].
5.2.3.4 Траверсы для испытаний на ударную прочность при растяжении [
ГОСТ 34250-2017 (ИСО 8256:2004), методы A и B].
5.2.4 Оборудование для индикации поглощенной энергии (циферблат и контрольная стрелка или электронное считывающее устройство)
6 Процедура верификации маятниковых копров
6.1 Параметры копров, устанавливаемые производителями
Есть несколько важных параметров маятниковых копров, которые могут быть установлены изготовителем только при производстве.
6.1.1 Центр удара.
6.1.2 Ось качания маятника.
6.1.3 Плоскость качания маятника.
6.1.4 Массу станины.
Таблица 1
Параметры маятниковых копров, устанавливаемые производителем
Параметр | Значение |
1 Центр удара, мм | В центре бойка +/- 2,5 |
2 Ось качания маятника <*> | Параллельность опорной плоскости в пределах +/- 2/1000 |
3 Плоскость качания относительно оси качания | 90° +/- 0,1° к оси качания |
4 Масса станины, кг | Не менее 40-кратной массы самого тяжелого используемого маятника или с болтовым креплением к тяжелому и прочному лабораторному столу (в этом случае допускается не менее 12-кратной массы самого тяжелого используемого маятника) |
<*> Опорная плоскость конкретного копра может варьироваться в зависимости от производителя. |
Если отношение массы станины к массе самого тяжелого маятника mF/mPmax менее 40, станину крепят болтами к прочному лабораторному столу.
Очень часто копры поставляются без информации о соотношении массы станины и маятника. Поэтому следует крепить станины болтами к прочному лабораторному столу и выравнивать подкладочными пластинами.
6.2 Верификация станины копра по месту заключается в следующем (см. таблицу 4)
6.2.1 Установка
Копер устанавливают на прочное основание (прочную скамью или лабораторный стол) в месте, свободном от вибраций. Если копер оснащен винтами регулировки выравнивания, после выравнивания винты фиксируют для поддержания положения станины и обеспечения жесткости конструкции. В процессе испытаний на удар не должно происходить заметного перемещения станины на опоре. При использовании самого тяжелого маятника не допускаются перемещения ни копра, ни стола под ним.
Маятник блокируют, на основание устанавливают уровень. Маятник спускают и по уровню контролируют любые смещения пузырька уровня. Любые смещения пузырька требуют более точной установки и надежного крепления копра.
6.2.2 Выравнивание
Выравнивают опорную плоскость в направлении качания маятника и перпендикулярно плоскости качания. Копер устанавливают таким образом, чтобы опорная плоскость была горизонтальна в пределах 2/1000.
6.2.3 Осевой люфт подшипников маятника
Предельный люфт в подшипниках маятника в осевом направлении не должен превышать 0,25 мм.
6.2.4 Радиальный люфт подшипников маятника
Радиальный люфт в подшипниках маятника определяют приложением нагрузки (2,0 +/- 0,2) Н в направлениях перпендикулярных плоскости качания маятника. Общий люфт в радиальном направлении не должен превышать 0,05 мм.
6.2.5 Механизм взвода и спуска маятника
Механизм спуска маятника в его начальной позиции проверяют визуально. Правильно работающий механизм спуска ходит легко и позволяет сбрасывать маятник без начального импульса, задержки, боковой вибрации или любых других помех, способных привести к потере энергии.
6.2.6 Свободно висящая позиция маятника
В свободно висящей позиции маятника нож бойка должен находиться в пределах 6,35 мм от позиции касания эталонного образца.
6.2.7 Контакт между образцом и ножом бойка (Изод/Шарпи)
У копров для испытаний по Изоду и Шарпи боек должен контактировать с эталонным образцом для испытаний на ударную вязкость по Изоду/Шарпи (см.
3.20) по всей ширине образца.
Один из методов верификации данного требования описан ниже.
Эталонный образец для испытаний на ударную вязкость по Изоду/Шарпи плотно обертывают тонкой бумагой (например, с помощью липкой ленты) и устанавливают на опоры или в зажимы. Нож бойка плотно оборачивают копировальной бумагой рабочей стороной наружу (не к ножу). Из равновесной позиции маятник поднимают на несколько градусов и спускают до контакта с эталонным образцом для испытаний на ударную вязкость по Изоду/Шарпи, препятствуя повторному контакту бойка с образцом. Отметка, оставленная копировальной бумагой на бумаге, которой обернут образец, должна проходить через весь образец.
Данное испытание можно проводить одновременно с проверкой угла контакта между бойком и образцом для испытаний на ударную вязкость по Изоду/Шарпи.
6.2.8 Потенциальная энергия E
В
таблице 2 приведены значения номинальной потенциальной энергии маятников, обычно используемые в копрах для испытаний на ударную вязкость по Изоду/Шарпи и для испытаний на ударную прочность при растяжении. Потенциальная энергия
E не должна отличаться от номинального значения, указанного в
таблице 2, более чем на 1%.
Таблица 2
Основные характеристики маятниковых копров для испытаний
на ударную вязкость по Шарпи и Изоду и ударную прочность
при растяжении
Номинальная потенциальная энергия E, Дж | Тип испытания | Скорость маятника в момент удара, v1, м/с | Максимально допустимые потери на трение без испытуемого образца, % |
0,5 | Ударная вязкость по Шарпи | 2,9 (+/- 10%) | 4 |
1,0 | 2 |
2,0 | Ударная вязкость по Шарпи, ударная прочность при растяжении | 1 |
4,0 | 0,5 |
5,0 | Ударная вязкость по Шарпи | 0,5 |
7,5 | Ударная вязкость по Шарпи, ударная прочность при растяжении | 3,8 (+/- 10%) | 0,5 |
15 |
25 |
50 |
1,0 | Ударная вязкость по Изоду | 3,5 (+/- 10%) | 2 |
2,75 | 1 |
5,5 | 0,5 |
11 | 0,5 |
22 | 0,5 |
Потенциальную энергию E определяют следующим образом:
Маятник подвешивают к весам или динамометру на произвольном расстоянии от оси качания
LH. Проверяют, чтобы линия от оси качания до центра тяжести маятника была горизонтальной [см.
рисунок 1 a)].
Измеряют вертикальную силу FH, Н, на расстоянии LH и расстояние LH, м, с точностью +/- 1,0%.
Вычисляют горизонтальный момент маятника MH, Н·м, относительно оси качания, по формуле
Измеряют угол спуска

(см.
рисунок 1 б)] с точностью

, которая соответствует 1/400 относительной погрешности потенциальной энергии
E, и, если возможно, угол удара

с точностью +/- 0,25°. Для начальных углов 140°, 150° и 160°

составит 0,39°, 0,54° и 0,81° соответственно.
Потенциальную энергию маятника E, Дж, вычисляют по формуле

, (2)
| | ИС МЕГАНОРМ: примечание. В официальном тексте документа, видимо, допущена опечатка: имеется в виду формула (1), а не (2). | |
где
MH - горизонтальный момент маятника [см.
формулу (2)], Н·м;

- угол удара в градусах;

- угол спуска в градусах.
Примечания
1 В большинстве маятниковых копров используют угол удара 0°, для которого

.
2 В некоторых случаях может потребоваться снять маятник с копра для определения его момента MH описанным методом.
a) Величины для определения горизонтального момента
b) Величины для калибровки шкалы и расчета
потенциальной энергии
1 - ось качания; 2 - вертикальная сила FH; 3 - центр удара;
4 - угол подъема

;
5 - угол спуска

;
6 - произвольное
расстояние от оси качания, на котором маятник удерживается
весами или динамометром LH
Рисунок 1 - Величины, необходимые для верификации
энергии маятника
Длину маятника Lp устанавливает изготовитель в процессе производства. При обычных условиях она не изменяется, но ее необходимо проверять после ремонта или замены частей маятника и при процедуре калибровки.
Длину маятников определяют с точностью, приведенной в
таблице 3.
Таблица 3
Пример минимального количества колебаний для определения
Tp
Длина маятника Lp, м | Период колебаний маятника Tp, с | Погрешность измерения времени, с | Минимальное число колебаний n |
0,225 | 0,95 | 0,10 | 50 |
0,01 | 10 |
0,390 | 1,25 | 0,10 | 50 |
0,01 | 10 |
Примечание - Ручные секундомеры обладают погрешностью измерения времени 0,1 с. Для более точного измерения времени требуются встроенные электронные таймеры. |
Длину маятника верифицируют путем измерения периода колебаний маятника (время качания) Tp. Маятник поднимают на высоту, обеспечивающую среднее максимальное отклонение на 5° и измеряют время полного колебания в секундах. Определяют период колебаний как среднеарифметическое значение четырех результатов измерения.
Длину маятника Lp, м, определяют по формуле

, (3)
где g - ускорение свободного падения, м/с2;
Примечание - Ускорение свободного падения принимают равным 9,81 м/с2. Если ускорение свободного падения в данной местности существенно отличается от указанного, допускается использовать известное значение.
Tp - период колебаний маятника, с;

- принимают равным 9,87.
Таким образом,

.
Значение Tp определяют с точностью +/- 0,5%.
6.2.10 Длина удара LI
Длина удара
LI (см.
3.8) равна длине маятника
Lp +/- 1%.
Определение длины маятника
Lp см.
6.2.9.
6.2.11 Скорость маятника в момент удара vI
Скорость маятника в момент удара
vI должна иметь одно из значений, указанных в
таблице 4.
Скорость удара vI, м/с, определяют по формуле

, (4)
где g - ускорение свободного падения. Его принимают равным 9,81 м/с2;
LI - длина удара, м;

- угол удара, град;

- угол спуска, град.
Примечание - В большинстве случаев угол удара равен 0° и

.
6.3 Маятниковые копры для испытаний на ударную вязкость по Шарпи
Контроль и верификация маятниковых копров для испытания на ударную вязкость по Шарпи (см.
рисунок A.1 и
таблицу A.1, приложение A) включают проверку следующего:
6.3.1 Позиция опор относительно ножа бойка
Зазор между опорами и бойком или любой частью маятника, проходящей между опорами, должен быть достаточным для обеспечения беспрепятственного удаления сломанного образца из копра и предотвращения повторного столкновения маятника с образцом. Любые концевые упоры, используемые для размещения образца на опорах, не должны препятствовать перемещению образца в процессе испытания.
6.3.2 Контакт между бойком маятника и образцом
6.3.3 Угол между линией контакта бойка маятника и горизонтальной осью эталонного образца для испытаний на ударную вязкость по Шарпи/Изоду (см.
рисунок A.1).
6.3.4 Угол ножа бойка

.
6.3.5 Радиус ножа бойка R1.
6.3.6 Параллельность (ориентация) опор p1.
6.3.7 Радиус закругления опор R2.
6.3.8 Угол конусности опор

.
6.3.9 Угол ската опор

.
6.3.10 Угол между поверхностями опор и подставок для испытуемого образца

.
6.3.11 Расстояние между опорами
Примечание - Расстояние между опорами изменяют в зависимости от типа образца.
6.3.12 Расположение надреза
Если имеются средства для определения положения образцов, необходимо удостовериться в том, что плоскость симметрии надреза находится в пределах +/- 0,5 мм от центра просвета между опорами для образца.
Примечание - Измерительный прибор для проверки расстояния между опорами и их выравнивания относительно ножа бойка показан в
приложении E.
6.4 Маятниковые копры для испытаний на ударную вязкость по Изоду
Контроль и верификация маятниковых копров для испытания на ударную вязкость по Изоду (см.
рисунок B.1 и
таблицу B.1, приложение B) включает проверку следующего:
6.4.1 Линия контакта бойка
Боек должен отвечать всем требованиям, перечисленным ниже.
6.4.2.1 Радиус R1. Кромка ножа бойка должна иметь закругленную цилиндрическую поверхность, ось которой горизонтальна и перпендикулярна плоскости движения маятника.
6.4.2.2 Угол относительно продольной оси эталонного образца для испытаний на ударную вязкость по Шарпи/Изоду

. При контакте с эталонным образцом для испытаний на ударную вязкость по Шарпи/Изоду нож бойка должен быть отцентрирован и должен выступать за обе стороны эталонного образца для испытаний на ударную вязкость по Шарпи/Изоду.
6.4.2.3 Параллельность p1 поверхности эталонного образца для испытаний на ударную вязкость по Шарпи/Изоду (по всей ширине).
Зажимы (неподвижная и подвижная губки) для фиксации образцов (см.
рисунок B.1) должны отвечать всем требованиям, приведенным ниже.
6.4.3.1 Параллельность рабочих поверхностей губок зажимов по горизонтали и вертикали. После фиксации эталонного образца для испытаний на ударную вязкость по Шарпи/Изоду губки зажимов должны быть параллельны как в горизонтальном, так и в вертикальном направлении p3.
6.4.3.2 Горизонтальность верхней поверхности губок зажимов относительно опорной плоскости p2.
6.4.3.3 Угол между рабочими поверхностями губок зажимов и верхней поверхностью зажимов

.
Примечание - Для проверки износа поверхности губок используют угольник и фонарь. Любые просветы между угольником и неподвижной губкой зажимов указывают на то, что губка изношена и подлежит замене.
6.4.3.4 Радиус закругления неподвижной губки зажимов. Проверяют закругление неподвижной губки зажимов, на которой происходит изгиб R2.
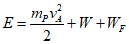
6.4.3.5 Позиция ножа бойка над верхней поверхностью держателя D1.
6.4.4 Расположение образца и бойка
После установки и фиксации в зажимах эталонного образца следует выполнять следующие условия:
a) верхняя поверхность неподвижной губки должна быть параллельна опорной плоскости копра в пределах 3/1000;
b) продольная ось образца должна быть перпендикулярна в пределах +/- 0,5° верхней поверхности неподвижной губки зажимов;
c) надрез, со стороны которого бьет нож бойка, должен быть перпендикулярен плоскости качания маятника, а плоскость симметрии надреза должна совпадать с верхней поверхностью неподвижной губки зажимов в пределах +/- 0,1 мм;
d) при контакте с образцом нож бойка должен выступать за края образца с обеих сторон и быть перпендикулярным продольной оси образца в пределах +/- 2° и параллельным лицевой поверхности образца по всей ширине образца в пределах +/- 0,025 мм (= 0,36°).
6.4.5 Рабочие поверхности губок зажимов
После фиксации образца губки зажимов должны быть параллельны как в горизонтальном, так и в вертикальном направлении в пределах 4/1000.
6.5 Приборы для испытаний на ударную прочность при растяжении
[ГОСТ 34250-2017 (ИСО 8256:2004)]
Контроль и верификация копров для испытания на ударную прочность при растяжении (см.
рисунки C.1 и
C.2 и
таблицу C.1, приложение C) включают проверку следующих характеристик:
6.5.1 Зажимы образцов в копре для испытаний на ударную прочность при растяжении
6.5.1.1 Метод A
Поверхности креплений зажимов образца должны быть компланарны (лежать в одной плоскости).
Зажимы образца должны быть параллельны оси качания маятника.
При использовании эталонного образца для испытаний на ударную прочность при растяжении центры контактных зон траверсы и бойка должны лежать в плоскости, горизонтальной в пределах +/- 2° и +/- 0,5 мм плоскости качания маятника.
6.5.1.2 Метод B
При правильной фиксации эталонный образец для испытаний на ударную прочность при растяжении должен находиться в плоскости качания маятника с отклонением не более +/- 0,5 мм, его продольная ось должна быть параллельна в пределах 4/1000 плоскости качания маятника.
Контактные поверхности траверсы, которые крепятся к эталонному образцу, должны быть компланарны и параллельны с допуском в пределах 5/1000 оси качания маятника.
6.5.2 Зажимы образцов для испытаний на ударное растяжение
Губки зажимов, между которыми зажимаются образцы типов 1, 2, 3 и 4 [см.
ГОСТ 34250-2017 (ИСО 8256:2004), таблицу 2 и рисунок 3], должны обеспечивать надежное крепление образцов, чтобы не допустить их выскальзывания в момент удара по образцу. Зажимы могут быть закреплены на станине или на бойке, а также на траверсе. Конструкция зажимов не должна приводить к преждевременному разрушению образца.
Губки зажимов могут иметь насечку. Размер насечки выбирают с учетом твердости и прочности материала образца и толщины образца. Края губок с насечкой должны иметь закругление вблизи испытуемого образца с радиусом, заходящим за первую насечку.
Для образцов типа 5 [см.
ГОСТ 34250-2017 (ИСО 8256:2004), таблицу 2 и рисунок 3], которые удерживаются в зажимах только за счет внедрения, требуется пара зубчатых губок различной высоты. Пара губок, выбранных для испытания, должна иметь высоту большую, чем толщина образца, но меньшую, чем 120-кратная толщина образца.
6.5.3 Выравнивание
При правильной фиксации образец должен находиться в плоскости качания маятника с отклонением не более +/- 0,5 мм.
6.5.4 Масса траверсы
В зависимости от энергии используемого маятника следует использовать траверсы различной массы. С помощью взвешивания необходимо удостовериться, что масса траверсы отвечает пределам, установленным в таблице 1
ГОСТ 34250-2017 (ИСО 8256:2004).
6.6 Системы индикации энергии
6.6.1 Типы шкал
Копры градуируют в единицах угла подъема

[см.
рисунок 1 б)] или в единицах поглощенной энергии удара
W, Дж, связанных друг с другом формулой

, (5)
где
MH - горизонтальный момент маятника по
формуле (1), Н·м;

- угол подъема в градусах;

- начальный угол в градусах.
Примечание - Целесообразно иметь шкалу, проградуированную как в джоулях поглощенной энергии, так и в градусах. Кроме того, для настройки и калибровки копра и измерения потерь из-за трения целесообразно иметь возможность изменять начальный угол.
6.6.2 Верификация аналогового индикаторного оборудования включает проверку следующих характеристик:
a) градуировка шкалы;
b) контрольная стрелка.
Шкалу градуируют в единицах измерения угла подъема

или поглощенной энергии
Wi.
Толщина градуировочных рисок на шкале должна быть одинаковой, а ширина контрольной стрелки должна примерно равняться ширине градуировочной риски. Контрольная стрелка должна обеспечивать считывание показаний без параллакса.
Разрешение r индикатора получают из соотношения между шириной контрольной стрелки и расстоянием между центрами двух смежных градуировочных рисок (минимальное деление шкалы). Рекомендуемые соотношения - 1:4, 1:5 или 1:10. Для оценки с точностью до 0,1 минимального деления шкалы расстояние между рисками должно быть не менее 2,5 мм.
Минимальное деление шкалы должно приблизительно равняться 1% номинальной поглощенной энергии и обеспечивать оценку энергии с инкрементом не менее 0,25% от номинальной поглощенной энергии.
6.6.3 Ошибка показаний поглощенной энергии Wi на аналоговых индикаторных системах
a) Проверяют градуировочные метки на шкале, отвечающие значениям поглощенной энергии 10, 20, 30, 50 и 80% от диапазона номинальной потенциальной энергии.
b) На копре проводят испытание без образца и по контрольной стрелке снимают нулевые показания (WS,1). Данный результат записывают. Он не должен превышать +/- 2,5% от потенциальной энергии E.
c) Маятник подвешивают так, чтобы стрелка указывала на нулевое показание (
WS,1), и измеряют соответствующий угол подъема

.
d) Маятник подвешивают так, чтобы контрольная стрелка становилась на метки каждой из вышеуказанных калибровочных позиций, и измеряют соответствующие углы подъема

для каждой позиции.
e) Поглощенную энергию Wi, Дж, вычисляют по формуле

. (6)
Примечание - Погрешности, указанные для
L1,
FH,

и

, позволяют определить
Wi с точностью до 0,3% верхнего предела шкалы.
g) Вычисляют среднеарифметическое значение трех определений. Разница между отдельными результатами и средним значением не должна превышать наибольшего из следующих значений: 1% энергии, соответствующей определенному значению шкалы, или 1% от верхнего предела шкалы.
6.6.4 Верификация цифрового индикаторного оборудования включает проверку следующих характеристик:
Шкала должна быть проградуирована в единицах измерения углов или энергии.
Под разрешением шкалы подразумевается инкремент последней активной цифры цифрового индикатора при условии, что индикация колеблется в пределах одного инкремента. Если показания колеблются более чем на один инкремент, разрешение подбирают так, чтобы оно было равно половине амплитуды колебания.
Разрешение должно быть не менее 0,25% от величины номинальной поглощенной энергии.
Для копров, оснащенных цифровыми дисплеями, настройки индикации должны соответствовать потенциальной энергии маятника, установленного на копре.
6.7.1 Виды потерь
Энергия, поглощаемая вследствие трения, включает потери в индикаторном устройстве или в электронных датчиках углового сдвига, потери из-за сопротивления воздуха и потери из-за трения в подшипниках маятника.
6.7.2 Определение потерь из-за трения в индикаторном устройстве
Если копер оснащен индикаторным устройством, потери из-за трения в нем Wf,P определяют следующим образом:
a) Выполняют контрольное испытание без образца для получения первого показания
Wf,1.
b) Без сброса контрольной стрелки снова спускают маятник из первоначального положения и получают второй результат измерения
Wf,2.
d) Вычисляют среднее значение трех измерений Wf,1 и Wf,2.
e) Вычисляют потери на трение контрольной стрелки Wf,P на одно качание путем вычитания среднего значения второго показания Wf,2 от среднего значения первого показания Wf,1, то есть
Wf,P = Wf,1 - Wf,2. (7)
6.7.3 Определение потерь из-за сопротивления воздуха и трения в подшипниках маятника
Потери из-за сопротивления воздуха и трения в подшипниках маятника определяют следующим способом:
a) Если копер оснащен циферблатом с контрольной стрелкой, операцию проводят, как описано в
6.6.2 для получения значения
Wf,2. Маятник спускают для свободного колебания. В начале десятого колебания вперед после измерения
Wf,2 контрольную стрелку перемещают таким образом, чтобы по завершении колебания она сдвинулась по шкале только на несколько делений. Показания записывают как
Wf,3.
c) Вычисляют среднее значение трех измерений Wf,2 и Wf,3.
d) Вычисляют потерю энергии из-за сопротивления воздуха и трения в подшипниках маятника Wf,AB для одного колебания по формуле

. (8)
Примечание - Для измерения движений маятника часто используют электронные датчики угла. Данные устройства являются либо бесконтактными (и, следовательно, без трения) оптоэлектронными устройствами, либо потери на трение в них входят в Wf,AB.
6.7.4 Вычисление суммарных потерь энергии из-за трения
Вычисляют общую потерю энергии на трение Wf по формуле

. (9)
6.7.5 Максимально допустимые потери на трение
Общие потери на трение за одно качание не должны превышать установленных значений, приведенных в
таблице 2.
Общие потери энергии
Wf, вычисленные по
формуле (9), отнимаются от энергии удара, измеренной с испытательным образцом, но только в случаях, если
Wf превышает 0,5% потенциальной энергии
E, то есть только для маятников с потенциальной энергией менее 4 Дж (см.
таблицу 4).
Таблица 4
Основные характеристики испытательных копров,
верифицируемые через регулярные интервалы времени
Наименование параметра | Обозначение | Единицы измерения | Значение |
Жесткость установки | | | Отсутствие вибраций |
Уровень параллельно плоскости качания | | | Горизонтальность в пределах 2/1000 |
Уровень перпендикулярно плоскости качания | | | Горизонтальность в пределах 2/1000 |
Осевой люфт подшипников | | мм | 0,25 |
Радиальный люфт подшипников | | мм | 0,05 |
Спуск маятника | | - | Отсутствие потерь энергии |
Свободно висящая позиция - без грузов | | мм | +/- 5,0 |
Свободно висящая позиция - с максимальным грузом | | мм | +/- 5,0 |
Контакт между ножом бойка и образцом (Изод/Шарпи) | | - | Полный контакт |
Потенциальная энергия | E | Дж | +/- 1% от номинального значения |
Длина маятника | Lp | м | 0,225 - 0,390 |
Длина удара | LI | м | +/- 1% длины маятника |
Скорость при ударе | vI | м/с | |
Угол спуска | | град | |
Угол удара | | град | |
Характеристики копров для испытаний на ударную вязкость по Шарпи |
Позиция станины/маятника: | | | |
Позиция опор относительно ножа бойка | D1 | мм | Отклонение от симметричности не более 0,5 |
Нож маятника бойка: | | | |
Угол кромки ножа | | град | 30 +/- 1 |
Радиус ножа бойка | R1 | мм | 2,0 +/- 0,5 |
Подставки для испытуемого образца: | | | |
Параллельность (ориентация) длинной оси испытуемого образца и опорной плоскости (при наличии) | p1 | | Параллельность в пределах 4/1000 |
Радиус изгиба опор | R2 | мм | 1 +/- 0,1 |
Угол конусности опор | | град | 10 +/- 1 |
Угол ската опор | | град | 5 +/- 1 |
Угол между подставками и опорами | | град | 90 +/- 0,1 |
Расстояние между опорами у копров для испытаний по Шарпи | | мм | +/- 0,5 от установленного |
Контакт между бойком и образцом у копров для испытаний по Шарпи | | | Полный контакт |
Угол контакта | | | Перпендикулярность в пределах +/- 2° |
Характеристики копров для испытания на ударную вязкость по Изоду |
Позиция станины/маятника: | | | |
Позиция ножа бойка над верхней поверхностью подставки для испытуемого образца | | мм | 22 +/- 0,2 |
Линия контакта | | | Полный контакт |
Нож бойка: | | | |
Радиус | R1 | мм | 0,8 +/- 0,2 |
Ширина | | | По центру |
Угол относительно продольной оси эталонного образца | | град | 90 +/- 2,0 |
Параллельность поверхности эталонного образца (по всей ширине) | | | +/- 0,025 |
Контакт с эталонным образцом | | | Проверяют полный контакт |
Зажимы для фиксации образцов, для испытания по Изоду | | | |
Параллельность по горизонтали и вертикали | p3 | мм | +/- 0,5 |
Горизонтальность верхней поверхности зажимов | p2 | | +/- 3/1000 |
Угол между рабочей поверхностью неподвижной губки и верхней поверхностью зажимов | | град | 90 +/- 0,5 |
Радиус закругления неподвижной губки зажимов, на которой происходит изгиб | R2 | мм | 0,2 +/- 0,1 |
Линия контакта, неподвижная губка | | | Проверяют полный контакт |
Характеристики копров для испытания на ударное растяжение |
Маятник: | | | |
Параллельность рабочих поверхностей зажимов и траверсы | p1 | | +/- 4/1000 |
Угол между поверхностями зажимов и плоскостью качания | p2 | град | 90 +/- 1 |
Симметрия поверхности зажимов относительно плоскости качания | S1 | мм | +/- 0,5 |
Позиция испытуемого образца: | | | |
Симметрия относительно плоскости качания | S2 | мм | +/- 0,5 |
Угол относительно плоскости качания | p3 | град | +/- 0,2 |
Траверсы: | | | |
Массы траверс - см. ГОСТ 34250-2017 (ИСО 8256:2004), таблица 1 | | | |
Копры подлежат верификации при перемещении в другое место, проведении на них серьезного ремонта или регулировок, а также при возникновении сомнений в точности получаемых результатов. Верификацию следует проводить с регулярными интервалами в зависимости от конструкции копра, его природы и интенсивности использования.
Примечания
1 Для копров в хорошем техническом состоянии и используемых в надлежащих рабочих условиях рекомендуемый интервал составляет два года.
2 В период между двумя последовательными верификациями для копров в хорошем техническом состоянии и используемых в надлежащих рабочих условиях рекомендуется проводить частичную верификацию с интервалом один год. При частичной верификации рекомендуется проверять состояние маятника (на соответствие
6.3); подшипников (на соответствие
6.2.3 и
6.2.4); потери из-за трения (на соответствие
6.7); боек (на соответствие
6.4.1,
6.4.2,
6.4.3,
6.5.1 и
6.5.2).
3 В
таблице 4 приведены характеристики, подлежащие первоначальной (изготовителем) или регулярной (после ремонта, перемещения и т.п.) верификации.
4 Верификация копров должна проводиться сотрудниками уполномоченной организации.
После завершения полной верификации составляют протокол. Протокол должен содержать следующую информацию:
a) название и адрес верифицирующего органа;
b) название и адрес заказчика;
c) описание копра, включая:
1) изготовителя;
2) тип или модель;
3) серийный номер;
4) тип или типы испытаний, или
5) номинальную потенциальную энергию каждого маятника;
d) расположение копра;
e) дату верификации;
f) номер настоящего межгосударственного стандарта;
g) подробную информацию о любых проводившихся ремонтах или регулировках;
h) средние значения
Wf,1,
Wf,2 и
Wf,3 (см.
6.7);
i) заключение о соответствии или несоответствии требованиям
раздела 6;
j) дату.
(обязательное)
ТРЕБОВАНИЯ К КОНСТРУКЦИИ МАЯТНИКОВЫХ КОПРОВ, ИСПОЛЬЗУЕМЫХ
ДЛЯ ИСПЫТАНИЙ НА УДАРНУЮ ВЯЗКОСТЬ ПО ШАРПИ
Потенциальная энергия
E не должна отличаться более чем на 10% от номинального значения, указанного в
первом столбце таблицы 2.
Таблица A.1
Характеристики маятниковых копров для испытаний
на ударную вязкость по Шарпи
Параметр | | Единицы измерения | Значение |
1 Позиция станины/маятника: | | | |
2 Позиция подставки для испытуемого образца относительно ножа бойка | D1 | мм | +/- 10 |
3 Нож бойка маятника: | | | |
4 Угол кромки ножа | | град | 30 +/- 1 |
5 Радиус ножа бойка | R1 | мм | 2,0 +/- 0,5 |
6 Подставки для испытуемого образца и опоры для образцов: | | | |
7 Параллельность (ориентация) длинной оси испытуемого образца и опорной плоскости (при наличии) | p1 | мм | Параллельность в пределах 4/1000 |
8 Радиус изгиба опор | R2 | мм | 1 +/- 0,1 |
9 Угол конусности опор | | град | 10 +/- 1 |
10 Угол ската опор | | град | 5 +/- 1 |
11 Угол между подставками и опорами | | град | 90 +/- 0,1 |
12 Расстояние между опорами у копров для испытаний по Шарпи | | | +/- 0,5 от установленного |
13 Контакт между бойком и образцом у копров для испытаний по Шарпи | | | Полный контакт |
14 Угол контакта | | | Перпендикулярность в пределах +/- 2° |
1 - циферблат; 2 - станина копра; 3 - ось качания;
4 - подшипники маятника; 5 - контрольная стрелка;
6 - ручка маятника; 7 - боек; 8 - передний край ножа бойка;
9 - упоры; 10 - опоры; 11 - опорная плита; 12 - ширина
бойка; 13 - центр удара бойка; 14 - эталонный образец;
15 - линия контакта; 16 - центральная линия образца;
17 - опорная плоскость
Рисунок A.1. Пример маятникового копра
для испытаний на ударную вязкость по Шарпи
(обязательное)
ТРЕБОВАНИЯ К КОНСТРУКЦИИ МАЯТНИКОВЫХ КОПРОВ, ИСПОЛЬЗУЕМЫХ
ДЛЯ ИСПЫТАНИЙ НА УДАРНУЮ ВЯЗКОСТЬ ПО ИЗОДУ
Таблица B.1
Характеристики маятниковых копров для испытаний
на ударную вязкость по Изоду
Параметр | | Единицы измерений | Значение |
1 Нож бойка: | | | |
2 Радиус | R1 | мм | 0,8 +/- 0,2 |
3 Угол относительно продольной оси испытуемого образца | | град | 90 +/- 2 |
4 Параллельность поверхности эталонного образца (по всей ширине) | p1 | мм | +/- 0,05 |
5 Позиция станины/маятника: | | | |
6 Горизонтальность верхней поверхности зажимов | p1 | - | +/- 3/1000 |
7 Угол между рабочей поверхностью неподвижной губки и верхней поверхностью зажимов | | град | 90 +/- 0,5 |
8 Высота точки удара от верхней поверхности неподвижной губки зажимов | D1 | мм | 22 +/- 0,2 |
9 Рабочие поверхности губок зажимов: | | | |
10 Параллельность по горизонтали и вертикали | p3 | мм | +/- 0,05 |
11 Радиус закругления неподвижной губки зажимов, на которой происходит изгиб | R2 | мм | 0,2 +/- 0,1 |
1 - подшипники маятника; 2 - циферблат; 3 - станина;
4 - образец; 5 - опорная плита с зажимами; 6 - ось вращения;
7 - контрольная стрелка; 8 - ручка маятника; 9 - боек;
10 - нож бойка; 11 - опорная плита; 12 - направление удара;
13 - верхняя поверхность зажимов; 14 - неподвижная губка
зажимов; 15 - подвижная губка зажимов
Примечание - Подвижная и неподвижная губки вместе образуют зажимы для крепления образца.
Рисунок B.1 - Пример маятникового копра
для испытаний на ударную вязкость по Изоду
(обязательное)
ТРЕБОВАНИЯ К КОНСТРУКЦИИ МАЯТНИКОВЫХ КОПРОВ, ИСПОЛЬЗУЕМЫХ
ДЛЯ ИСПЫТАНИЙ НА УДАРНОЕ РАСТЯЖЕНИЕ
Таблица C.1
Характеристики маятниковых копров для испытаний
на ударное растяжение
Параметр | | Единицы измерений | Значение |
1 Маятник: | | | |
2 Параллельность рабочих поверхностей зажимов и траверсы | p1 | - | +/- 4/1000 |
3 Угол между поверхностями зажимов и плоскостью качания | p2 | град | 90 +/- 1 |
4 Симметрия поверхности зажимов относительно плоскости качания | S1 | мм | +/- 0,5 |
5 Позиция образца: | | | |
6 Симметрия относительно плоскости качания | S2 | мм | +/- 0,5 |
7 Угол относительно плоскости качания | p3 | град | +/- 0,2 |
8 Траверсы: | | | |
9 Массы траверс - см. ГОСТ 34250-2017 (ИСО 8256:2004), таблица 1 | | | |
Примечание - Параметры копров для испытаний на ударную прочность при растяжении, зависящие от позиции испытуемого образца, могут быть измерены только на эталонных образцах с идеально прямыми углами. Образцы, изготовленные методом литья под давлением, непригодны для этой цели из-за закругления их углов.
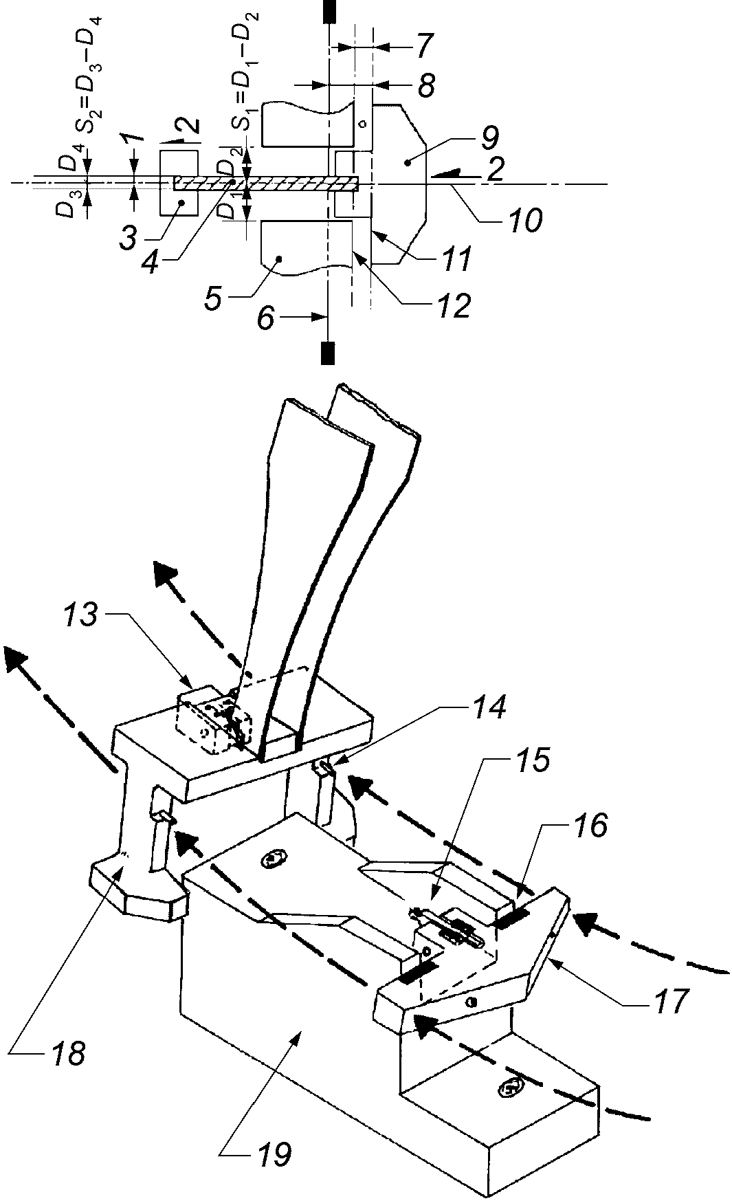
1 - станина; 2 - ручка маятника; 3 - боек; 4 - образец;
5 - опора для траверсы; 6 - траверса; 7 - копланарность;
8 - поверхность бойка; 9 - параллельность, p1;
10 - параллельность, p2; 11 - ось вращения; 12 - губка
зажимов; 13 - плоскость качания; 14 - направление удара;
15 - лицевая сторона траверсы
Рисунок C.1 - Пример копра для испытаний на ударное
1 - копланарность; 2 - направление удара; 3 - передняя часть
маятника; 4 - образец; 5 - опора; 6 - ось качания;
7 - параллельность, p1; 8 - параллельность, p2; 9 - зажим
траверсы; 10 - плоскость качания; 11 - лицевая сторона
траверсы; 12 - лицевая сторона опоры; 13 - незакрепленный
зажим образца; 14 - штифт для других приспособлений
для фиксации незакрепленной траверсы во время обратного
хода; 15 - разрушенный образец; 16 - закаленная накладка
(для предотвращения деформации); 17 - незакрепленная
траверса/зажим образца; 18 - передняя часть маятника;
19 - основание
Рисунок C.2 - Относительное положение маятника и зажимов
после разрушения образца в копре для испытаний на ударное
(справочное)
ОТНОШЕНИЕ МАССЫ СТАНИНЫ К МАССЕ МАЯТНИКА
D.1 Максимальное значение энергии WF, передаваемое станине копра в процессе удара, можно оценить, допуская, что при ударе упруго закрепленная станина может свободно перемещаться. Период удара очень короткий по сравнению с периодом колебания TF станины.
Пренебрегая моментом разрушенного образца и используя принцип сохранения момента, получают
mFvF =
mP(
vI -
vA), (D.1)
где mF - масса станины, кг;
mP - масса маятника, кг;
vF - максимальная скорость станины сразу же после удара, м/с;
vI - скорость удара, м/с;
vA - скорость маятника сразу же после удара, м/с.
и энергии, поглощенной станиной

,
что дает

(D.2)
Из принципа сохранения энергии следует

, (D.3)
откуда получают

, (D.4)
где W - энергия удара.
Подстановка
формулы (D.4) в
формулу (D.2) дает отношение масс станины и маятника, выраженное в единицах относительной энергии удара образца и относительной энергии, поглощенной станиной

. (D.5)
Энергия, поглощаемая станиной, не должна превышать 0,5% E.
Отношение масс
mF/
mP показано на
рисунке D.1 для
WF/
E = 0,005 и 0,01, то есть энергия, поглощенная станиной, составляет 0,5 и 1%
E (см. также
таблицу D.1).
Таблица D.1
Минимальное соотношение масс станины и маятника
в зависимости от измеренной максимальной относительной
энергии удара Wmax/Emax, допускающее погрешность
относительной энергии

не более 0,5%
Wmax/Emax, % | 40 | 50 | 60 | 70 | 80 |
mF/mP,max | 10 | 18 | 28 | 42 | 62 |
Рисунок D.1 - Отношение массы станины к массе маятника
в зависимости от относительного поглощения энергии образцом
W/E для двух значений относительной энергии, поглощаемой
станиной WF/E
Рекомендуется использовать соотношение масс mF/mP,max, равное 40, которое подходит для измерения энергий удара до 70% потенциальной энергии самого тяжелого маятника, например, Wmax = 35 Дж для Emax = 50 Дж.
Для предотвращения резонансной передачи энергии от маятника к станине в процессе одиночного качания без образца период колебаний станины должен удовлетворять следующему неравенству
где TF - период колебаний станины, с;
TP - период колебаний маятника, с.
Примечание - Широко используемые маятники имеют период колебаний TP от 0,9 до 1,3 с, поэтому их станины требуют достаточно жесткого крепления, чтобы период их собственных колебаний составлял менее 0,13 и 0,19 с соответственно.
Жесткость закрепленной станины SF должна удовлетворять неравенству

. (D.7)
Используя рекомендованное соотношение масс
mP/
mP,max, равное 40, и комбинируя
формулы (D.6) и
(D.7), получают

, (D.8)
где SF - жесткость станины, Н·м;
mP,max - масса самого тяжелого маятника, кг;
TP - период колебаний маятника, с.
Примечание - Жесткость станины SF можно определять, например, по смещению c, вызываемому известной горизонтальной силой FF (SF = FF/s), действующей на станину в направлении удара. Также период колебаний станины TF можно вывести и из резонансной вибрации, возбуждаемой импульсом, действующим в направлении удара и контролируемым подходящим регистрирующим устройством.
(справочное)
ЗАМЕДЛЕНИЕ МАЯТНИКА ПРИ УДАРЕ
E.1 Тангенциальная скорость маятника vA, м/с, при заданной длине удара сразу же после удара может быть выражена формулой

, (E.1)
где vI - скорость удара, м/с;
W - энергия удара, Дж;
E - потенциальная энергия маятника, Дж.
На
рисунке E.1 показаны значения
vA в зависимости от энергии удара и величины ударной вязкости для образцов с надрезом и без надреза и (испытание на ударную вязкость по Шарпи по
ГОСТ 4647) для различных маятников.
Рисунок E.1 - Скорость маятника после удара в зависимости
от энергии удара и величины ударной вязкости образцов
без надреза и с надрезом и при испытаниях на ударную
вязкость по Шарпи
Скорости после удара приведены для значений от 10 до 80% потенциальной энергии
E, которая может быть поглощена отдельным маятником [от 20 до 80% для испытаний на ударную прочность при растяжении по
ГОСТ 34250-2017 (ИСО 8256:2004)].
Кроме того, в пределах диапазона энергии, приведенного выше, всегда используют маятник с максимально возможной потенциальной энергией.
Данное требование показано сплошной линией на
рисунке E.1. Вследствие данного требования диапазон скоростей в копре для испытания на ударную вязкость по Шарпи существенно уменьшается. Замедление из-за работы, затраченной на удар образца, ограничивается до 5 - 10% скорости удара.
Данное требование гарантирует, что испытания с использованием маятников с различной потенциальной энергией будут проводиться приблизительно с одинаковой скоростью.
(справочное)
ШАБЛОН ДЛЯ ПРОВЕРКИ МАЯТНИКОВ ДЛЯ ИСПЫТАНИЙ
НА УДАРНУЮ ВЯЗКОСТЬ ПО ШАРПИ
F.1 На
рисунках F.1 -
F.3 показаны примеры использования шаблона для проверки маятников для испытаний на ударную вязкость по Шарпи.
Материал: коррозионно-стойкая или нержавеющая сталь
Размеры в миллиметрах
Рисунок F.1 - Форма и размеры шаблона
a) Погрешность, вызванная чрезмерным поворотом шаблона
b) Погрешность определяют по наличию на ноже бойка
отметки от ребра шаблона
1 - ось качания маятника; 2 - образец; 3 - шаблон;
4 - плоскость качания маятника, перпендикулярная продольной
оси испытуемого образца; 5 - плоскость качания маятника,
не перпендикулярная продольной оси испытуемого образца
Рисунок F.2 - Пример использования шаблона, показанного
не перпендикулярна продольной оси испытуемого образца
(правая сторона рисунка)
a) Погрешность, вызванная контактом ножа бойка
с краями шаблона
b) Погрешность определяют по отсутствию метки
от ножа бойка в вырезе шаблона
1 - ось качания маятника; 2 - образец; 3 - шаблон;
4 - плоскость симметрии ножа бойка в плоскости
качания маятника; 5 - плоскость симметрии ножа
бойка вне плоскости качания маятника
Рисунок F.3 - Пример использования шаблона, показанного
находится не в плоскости качания маятника
(правая сторона рисунка)
(справочное)
СВЕДЕНИЯ О СООТВЕТСТВИИ ССЫЛОЧНЫХ МЕЖГОСУДАРСТВЕННЫХ
СТАНДАРТОВ МЕЖДУНАРОДНЫМ СТАНДАРТАМ, ИСПОЛЬЗОВАННЫМ
В КАЧЕСТВЕ ССЫЛОЧНЫХ В ПРИМЕНЕННОМ МЕЖДУНАРОДНОМ СТАНДАРТЕ
Таблица ДА.1
Обозначение ссылочного межгосударственного стандарта | Степень соответствия | Обозначение и наименование ссылочного международного стандарта |
| NEQ | ISO 179-1:2010 "Пластмассы. Определение ударной прочности по Шарпи. Часть 1. Неинструментальный метод испытания на удар" |
| MOD | ISO 180:2000 "Пластмассы. Определение ударной вязкости по Изоду" |
| MOD | ISO 8256:2004 "Пластмассы. Определение предела прочности на растяжение при ударных нагрузках" |
Примечание - В настоящей таблице использованы следующие условные обозначения степени соответствия стандартов: - MOD - модифицированные стандарты; - NEQ - неэквивалентные стандарты. |
УДК 678.5.01:620.172(083.74) | | MOD |
Ключевые слова: пластмассы, установка, проверка (верификация), маятниковый копер, испытания на ударную вязкость по Шарпи, испытания на ударную вязкость по Изоду, испытания на ударную прочность при растяжении |